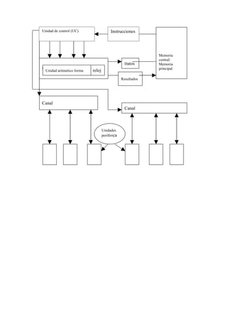
Unidad de control (UC)                   Instrucciones




                                                             Memoria
                                                             central/
                                                  Datos      Memoria
Unidad de procesamiento                                      principal
 Unidad aritmético forma   reloj
                                                Resultados




Canal
                                                  Canal



                                   Unidades
                                   periférica
                                   s

Doc1

  • 1.
    Unidad de control(UC) Instrucciones Memoria central/ Datos Memoria Unidad de procesamiento principal Unidad aritmético forma reloj Resultados Canal Canal Unidades periférica s