! 
 t $
#t 
   !   
       
     
      $
!  !%  
$
Información importante para el usuario
Debido a la variedad de usos de los productos descritos en esta publicación, las
personas responsables de la aplicación y uso de este equipo de control deben
asegurarse de que se hayan seguido todos los pasos necesarios para que cada
aplicación y uso cumplan con todos los requisitos de rendimiento y seguridad,
incluyendo leyes, reglamentaciones, códigos y normas aplicables.
Los ejemplos de ilustraciones, gráficos, programas y esquemas mostrados, en esta
guía tienen la única intención de ilustrar el texto. Debido a las muchas variables y
requisitos asociados con cualquier instalación particular, Allen-Bradley no puede
asumir responsabilidad u obligación (incluyendo responsabilidad de propiedad
intelectual) por el uso real basado en los ejemplos mostrados en esta publicación.
La publicación de Allen-Bradley SGI-1.1, Safety Guidelines for the Application,
Installation, and Maintenance of Solid State Control (disponible en la oficina de
Allen-Bradley local), describe algunas diferencias importantes entre equipos
transistorizados y dispositivos electromecánicos, las cuales deben tomarse en
consideración al usar productos tales como los descritos en esta publicación.
Está prohibida la reproducción total o parcial de los contenidos de esta publicación
de propiedad exclusiva sin el permiso escrito de Allen-Bradley Company, Inc.
En este manual hacemos anotaciones para advertirle sobre consideraciones de
seguridad:
Identifica información o prácticas o circunstancias que pueden producir
lesiones personales o incluso la muerte, daños materiales o pérdidas
económicas.
Las notas de “Atención” le ayudan a:
• identificar un peligro
• evitar un peligro
• reconocer las consecuencias
Nota Identifica información crítica para una correcta aplicación y entendimiento
del productol.
SLC 500, SLC 5/01, SLC 5/02, SLC 5/03, SLC 5/04, MicroLogix, PanelView, RediPANEL, Dataliner, DH+,
Data Highway Plus son marcas comerciales de Allen-Bradley Company, Inc.
Gateway 2000 es una marca comercial de Gateway 2000, Inc.
VERSA es una marca comercial de Nippon Electric Co. Information Systems Inc.
Tabla de contenido
i
Tabla de contenido
Prefacio P-1
. . . . . . . . . . . . . . . . . . . . . . . . . . . . . . . . . . . . . . . . . . . . . . . . . . . . . . . . . . . . . . . . . .
Quién debe usar este manual P-2
. . . . . . . . . . . . . . . . . . . . . . . . . . . . . . . . . . . . . . . . . . . . . . . . . .
Propósito de este manual P-2
. . . . . . . . . . . . . . . . . . . . . . . . . . . . . . . . . . . . . . . . . . . . . . . . . . . . .
Contenido de este manual P-3
. . . . . . . . . . . . . . . . . . . . . . . . . . . . . . . . . . . . . . . . . . . . . . . .
Documentación asociada P-5
. . . . . . . . . . . . . . . . . . . . . . . . . . . . . . . . . . . . . . . . . . . . . . . . .
Técnicas comunes usadas en este manual P-6
. . . . . . . . . . . . . . . . . . . . . . . . . . . . . . . . . . . . . . . .
1 Instrucciones básicas 1–1
. . . . . . . . . . . . . . . . . . . . . . . . . . . . . . . . . . . . . . . . . . . . . . . . . . . . .
Instrucciones de bit 1–1
. . . . . . . . . . . . . . . . . . . . . . . . . . . . . . . . . . . . . . . . . . . . . . . . . .
Instrucciones del temporizador/contador 1–2
. . . . . . . . . . . . . . . . . . . . . . . . . . . . . . . . . .
Acerca de las instrucciones básicas 1–2
. . . . . . . . . . . . . . . . . . . . . . . . . . . . . . . . . . . . . . . . . . . . .
Descripción general de las instrucciones de bit 1–3
. . . . . . . . . . . . . . . . . . . . . . . . . . . . . . . . . . .
Archivos de datos de salida y entrada (archivos O:0 e I:1) 1–3
. . . . . . . . . . . . . . . . . . . . . . .
Archivo de estado (archivo S2:) 1–4
. . . . . . . . . . . . . . . . . . . . . . . . . . . . . . . . . . . . . . . . . . .
Archivo de datos de bit (B3:) 1–5
. . . . . . . . . . . . . . . . . . . . . . . . . . . . . . . . . . . . . . . . . . . . . .
Archivos de datos de temporizador y contador (T4: y C5:) 1–5
. . . . . . . . . . . . . . . . . . . . . .
Archivo de datos de control (R6:) 1–6
. . . . . . . . . . . . . . . . . . . . . . . . . . . . . . . . . . . . . . . . . .
Archivo de datos enteros (N7:) 1–7
. . . . . . . . . . . . . . . . . . . . . . . . . . . . . . . . . . . . . . . . . . . .
Examine si cerrado (XIC) 1–9
. . . . . . . . . . . . . . . . . . . . . . . . . . . . . . . . . . . . . . . . . . . . . . . . . . . .
Examine si abierto (XIO) 1–9
. . . . . . . . . . . . . . . . . . . . . . . . . . . . . . . . . . . . . . . . . . . . . . . . . . . .
Active la salida (OTE) 1–10
. . . . . . . . . . . . . . . . . . . . . . . . . . . . . . . . . . . . . . . . . . . . . . . . . . . . .
Enclavamiento de salida (OTL) y desenclavamiento de salida (OTU) 1–11
. . . . . . . . . . . . . . . .
Cómo usar OTL 1–11
. . . . . . . . . . . . . . . . . . . . . . . . . . . . . . . . . . . . . . . . . . . . . . . . . . . . . . .
Cómo usar OTU 1–11
. . . . . . . . . . . . . . . . . . . . . . . . . . . . . . . . . . . . . . . . . . . . . . . . . . . . . . .
One–Shot Rising (OSR) 1–12
. . . . . . . . . . . . . . . . . . . . . . . . . . . . . . . . . . . . . . . . . . . . . . . . . . . .
Cómo introducir parámetros 1–12
. . . . . . . . . . . . . . . . . . . . . . . . . . . . . . . . . . . . . . . . . . . . .
Ejemplos 1–12
. . . . . . . . . . . . . . . . . . . . . . . . . . . . . . . . . . . . . . . . . . . . . . . . . . . . . . . . . .
Descripción general de las instrucciones de temporizador 1–15
. . . . . . . . . . . . . . . . . . . . . . . . . .
Cómo introducir parámetros 1–15
. . . . . . . . . . . . . . . . . . . . . . . . . . . . . . . . . . . . . . . . . . . . .
Valor del acumulador (.ACC) 1–15
. . . . . . . . . . . . . . . . . . . . . . . . . . . . . . . . . . . . . . . . .
Valor preseleccionado (.PRE) 1–15
. . . . . . . . . . . . . . . . . . . . . . . . . . . . . . . . . . . . . . . . .
Base de tiempo 1–15
. . . . . . . . . . . . . . . . . . . . . . . . . . . . . . . . . . . . . . . . . . . . . . . . . . . . .
Precisión del temporizador 1–16
. . . . . . . . . . . . . . . . . . . . . . . . . . . . . . . . . . . . . . . . . . . .
Estructura de direccionamiento 1–16
. . . . . . . . . . . . . . . . . . . . . . . . . . . . . . . . . . . . . . . . . . .
Ejemplos de direccionamiento 1–17
. . . . . . . . . . . . . . . . . . . . . . . . . . . . . . . . . . . . . . . . .
Temporizador a la conexión (TON) 1–18
. . . . . . . . . . . . . . . . . . . . . . . . . . . . . . . . . . . . . . . . . . .
Manual de referencia del juego de instrucción
ii
Uso de los bits de estado 1–18
. . . . . . . . . . . . . . . . . . . . . . . . . . . . . . . . . . . . . . . . . . . . . . . .
Temporizador a la desconexión (TOF) 1–19
. . . . . . . . . . . . . . . . . . . . . . . . . . . . . . . . . . . . . . . . .
Uso de los bits de estado 1–19
. . . . . . . . . . . . . . . . . . . . . . . . . . . . . . . . . . . . . . . . . . . . . . . .
Temporizador retentivo (RTO) 1–21
. . . . . . . . . . . . . . . . . . . . . . . . . . . . . . . . . . . . . . . . . . . . . . .
Uso de los bits de estado 1–21
. . . . . . . . . . . . . . . . . . . . . . . . . . . . . . . . . . . . . . . . . . . . . . . .
Uso de los contadores 1–23
. . . . . . . . . . . . . . . . . . . . . . . . . . . . . . . . . . . . . . . . . . . . . . . . . . . . . .
Elementos del archivo de datos del contador 1–23
. . . . . . . . . . . . . . . . . . . . . . . . . . . . . . . . .
Cómo introducir parámetros 1–23
. . . . . . . . . . . . . . . . . . . . . . . . . . . . . . . . . . . . . . . . . . . . .
Valor acumulado (.ACC) 1–23
. . . . . . . . . . . . . . . . . . . . . . . . . . . . . . . . . . . . . . . . . . . . .
Valor preseleccionado (PRE) 1–24
. . . . . . . . . . . . . . . . . . . . . . . . . . . . . . . . . . . . . . . . . .
Estructura de direccionamiento 1–24
. . . . . . . . . . . . . . . . . . . . . . . . . . . . . . . . . . . . . . . . . . .
Ejemplos 1–25
. . . . . . . . . . . . . . . . . . . . . . . . . . . . . . . . . . . . . . . . . . . . . . . . . . . . . . . . . .
Cómo funcionan los contadores 1–26
. . . . . . . . . . . . . . . . . . . . . . . . . . . . . . . . . . . . . . . . . . .
Conteo progresivo (CTU) 1–26
. . . . . . . . . . . . . . . . . . . . . . . . . . . . . . . . . . . . . . . . . . . . . . . . . . .
Uso de los bits de estado 1–27
. . . . . . . . . . . . . . . . . . . . . . . . . . . . . . . . . . . . . . . . . . . . . . . .
Conteo regresivo (CTD) 1–28
. . . . . . . . . . . . . . . . . . . . . . . . . . . . . . . . . . . . . . . . . . . . . . . . . . . .
Uso de los bits de estado 1–28
. . . . . . . . . . . . . . . . . . . . . . . . . . . . . . . . . . . . . . . . . . . . . . . .
Contador de alta velocidad (HSC) 1–29
. . . . . . . . . . . . . . . . . . . . . . . . . . . . . . . . . . . . . . . . . . . .
Operación del contador de alta velocidad 1–29
. . . . . . . . . . . . . . . . . . . . . . . . . . . . . . . . . . .
Elementos de datos del contador de alta velocidad 1–31
. . . . . . . . . . . . . . . . . . . . . . . . . . . .
Ejemplo de aplicación 1–32
. . . . . . . . . . . . . . . . . . . . . . . . . . . . . . . . . . . . . . . . . . . . . . .
Ejemplo de aplicación – Archivo 2
(consulta del bit DN en el programa principal) 1–33
. . . . . . . . . . . . . . . . . . . . . .
Ejemplo de aplicación – Archivo 3 (ejecución de lógica HSC) 1–33
. . . . . . . . . . . . . . .
Restablecimiento (RES) 1–34
. . . . . . . . . . . . . . . . . . . . . . . . . . . . . . . . . . . . . . . . . . . . . . . . . . . .
Instrucciones básicas del ejemplo de aplicación de la perforadora de papel 1–35
. . . . . . . . . . . .
Cómo añadir archivo 2 1–35
. . . . . . . . . . . . . . . . . . . . . . . . . . . . . . . . . . . . . . . . . . . . . . . . . .
Cómo añadir el archivo 6 1–37
. . . . . . . . . . . . . . . . . . . . . . . . . . . . . . . . . . . . . . . . . . . . . . . .
2 Instrucciones de comparación 2–1
. . . . . . . . . . . . . . . . . . . . . . . . . . . . . . . . . . . . . . . . . . . . .
Instrucciones de comparación 2–1
. . . . . . . . . . . . . . . . . . . . . . . . . . . . . . . . . . . . . . . . . .
Acerca de las instrucciones de comparación 2–2
. . . . . . . . . . . . . . . . . . . . . . . . . . . . . . . . . . . . . .
Descripción general de las instrucciones de comparación 2–2
. . . . . . . . . . . . . . . . . . . . . . . . . . .
Uso de direcciones de palabra indexadas 2–2
. . . . . . . . . . . . . . . . . . . . . . . . . . . . . . . . . . . . .
Uso de direcciones de palabra indirectas 2–2
. . . . . . . . . . . . . . . . . . . . . . . . . . . . . . . . . . . . .
Igual (EQU) 2–3
. . . . . . . . . . . . . . . . . . . . . . . . . . . . . . . . . . . . . . . . . . . . . . . . . . . . . . . . . . . . . . .
No igual (NEQ) 2–3
. . . . . . . . . . . . . . . . . . . . . . . . . . . . . . . . . . . . . . . . . . . . . . . . . . . . . . . . . . . .
Menor que (LES) 2–4
. . . . . . . . . . . . . . . . . . . . . . . . . . . . . . . . . . . . . . . . . . . . . . . . . . . . . . . . . .
Menor o igual que (LEQ) 2–4
. . . . . . . . . . . . . . . . . . . . . . . . . . . . . . . . . . . . . . . . . . . . . . . . . . . .
Mayor que (GRT) 2–5
. . . . . . . . . . . . . . . . . . . . . . . . . . . . . . . . . . . . . . . . . . . . . . . . . . . . . . . . . .
Mayor o igual que (GEQ) 2–5
. . . . . . . . . . . . . . . . . . . . . . . . . . . . . . . . . . . . . . . . . . . . . . . . . . . .
Tabla de contenido
iii
Comparación con máscara para igual (MEQ) 2–6
. . . . . . . . . . . . . . . . . . . . . . . . . . . . . . . . . . . . .
Cómo introducir parámetros 2–6
. . . . . . . . . . . . . . . . . . . . . . . . . . . . . . . . . . . . . . . . . . . . . .
Prueba de límite (LIM) 2–7
. . . . . . . . . . . . . . . . . . . . . . . . . . . . . . . . . . . . . . . . . . . . . . . . . . . . .
Cómo introducir parámetros 2–7
. . . . . . . . . . . . . . . . . . . . . . . . . . . . . . . . . . . . . . . . . . . . . .
Estado verdadero/falso de la instrucción 2–7
. . . . . . . . . . . . . . . . . . . . . . . . . . . . . . . . . .
Ejemplo de aplicación de instrucciones de comparación en la perforadora de papel 2–9
. . . . . . .
Cómo iniciar una subrutina en archivo 7 2–9
. . . . . . . . . . . . . . . . . . . . . . . . . . . . . . . . . . . . .
3 Instrucciones matemáticas 3–1
. . . . . . . . . . . . . . . . . . . . . . . . . . . . . . . . . . . . . . . . . . . . . . . .
Instrucciones matemáticas 3–1
. . . . . . . . . . . . . . . . . . . . . . . . . . . . . . . . . . . . . . . . . . . . .
Acerca de las instrucciones matemáticas 3–3
. . . . . . . . . . . . . . . . . . . . . . . . . . . . . . . . . . . . . . . .
Descripción general de las instrucciones matemáticas 3–3
. . . . . . . . . . . . . . . . . . . . . . . . . . . . . .
Cómo introducir parámetros 3–3
. . . . . . . . . . . . . . . . . . . . . . . . . . . . . . . . . . . . . . . . . . . . . .
Uso de las direcciones de palabra indexadas 3–3
. . . . . . . . . . . . . . . . . . . . . . . . . . . . . . . . . .
Uso de las direcciones de palabra indirectas 3–4
. . . . . . . . . . . . . . . . . . . . . . . . . . . . . . . . . .
Actualizaciones de los bits de estado aritmético 3–4
. . . . . . . . . . . . . . . . . . . . . . . . . . . . . . .
Bit de interrupción por overflow, S:5/0 3–4
. . . . . . . . . . . . . . . . . . . . . . . . . . . . . . . . . . . . . .
Cambios del registro matemático S:13 y S:14 3–4
. . . . . . . . . . . . . . . . . . . . . . . . . . . . . . . . .
Uso del archivo de datos de punto (coma) flotante (F:8) 3–5
. . . . . . . . . . . . . . . . . . . . . . . .
Añadir (ADD) 3–6
. . . . . . . . . . . . . . . . . . . . . . . . . . . . . . . . . . . . . . . . . . . . . . . . . . . . . . . . . . . . .
Actualizaciones de bits de estado aritmético 3–6
. . . . . . . . . . . . . . . . . . . . . . . . . . . . . . . . . .
Restar (SUB) 3–7
. . . . . . . . . . . . . . . . . . . . . . . . . . . . . . . . . . . . . . . . . . . . . . . . . . . . . . . . . . . . . .
Actualizaciones de los bits de estado aritmético 3–7
. . . . . . . . . . . . . . . . . . . . . . . . . . . . . . .
Adición y sustracción de 32 bits 3–8
. . . . . . . . . . . . . . . . . . . . . . . . . . . . . . . . . . . . . . . . . . . . . . .
Bit de selección de overflow matemático S:2/14 3–8
. . . . . . . . . . . . . . . . . . . . . . . . . . . . . . .
Ejemplo de adición de 32 bits 3–9
. . . . . . . . . . . . . . . . . . . . . . . . . . . . . . . . . . . . . . . . . .
Multiplicar (MUL) 3–11
. . . . . . . . . . . . . . . . . . . . . . . . . . . . . . . . . . . . . . . . . . . . . . . . . . . . . . . .
Actualizaciones de los bits de estado aritmético 3–11
. . . . . . . . . . . . . . . . . . . . . . . . . . . . . .
Cambios del registro matemático, S:13 y S:14 3–11
. . . . . . . . . . . . . . . . . . . . . . . . . . . . . . .
Dividir (DIV) 3–12
. . . . . . . . . . . . . . . . . . . . . . . . . . . . . . . . . . . . . . . . . . . . . . . . . . . . . . . . . . . .
Actualizaciones de los bits de estado aritmético 3–12
. . . . . . . . . . . . . . . . . . . . . . . . . . . . . .
Cambios del registro matemático, S:13 y S:14 3–12
. . . . . . . . . . . . . . . . . . . . . . . . . . . . . . .
Ejemplo 3–12
. . . . . . . . . . . . . . . . . . . . . . . . . . . . . . . . . . . . . . . . . . . . . . . . . . . . . . . . . .
División doble (DDV) 3–13
. . . . . . . . . . . . . . . . . . . . . . . . . . . . . . . . . . . . . . . . . . . . . . . . . . . . . .
Actualizaciones de los bits de estado aritmético 3–13
. . . . . . . . . . . . . . . . . . . . . . . . . . . . . .
Cambios del registro matemático, S:13 y S:14 3–13
. . . . . . . . . . . . . . . . . . . . . . . . . . . . . . .
Borrar (CLR) 3–14
. . . . . . . . . . . . . . . . . . . . . . . . . . . . . . . . . . . . . . . . . . . . . . . . . . . . . . . . . . . . .
Actualizaciones de los bits de estado aritmético 3–14
. . . . . . . . . . . . . . . . . . . . . . . . . . . . . .
Raíz cuadrada (SQR) 3–14
. . . . . . . . . . . . . . . . . . . . . . . . . . . . . . . . . . . . . . . . . . . . . . . . . . . . . . .
Actualizaciones de los bits de estado aritmético 3–14
. . . . . . . . . . . . . . . . . . . . . . . . . . . . . .
Cómo escalar con parámetros (SCP) 3–15
. . . . . . . . . . . . . . . . . . . . . . . . . . . . . . . . . . . . . . . . . . .
Manual de referencia del juego de instrucción
iv
Cómo introducir parámetros 3–15
. . . . . . . . . . . . . . . . . . . . . . . . . . . . . . . . . . . . . . . . . . . . .
Actualizaciones de los bits de estado aritmético 3–16
. . . . . . . . . . . . . . . . . . . . . . . . . . . . . .
Ejemplos de aplicación 3–16
. . . . . . . . . . . . . . . . . . . . . . . . . . . . . . . . . . . . . . . . . . . . . . . . .
Ejemplo 1 3–16
. . . . . . . . . . . . . . . . . . . . . . . . . . . . . . . . . . . . . . . . . . . . . . . . . . . . . . . . .
Ejemplo 2 3–17
. . . . . . . . . . . . . . . . . . . . . . . . . . . . . . . . . . . . . . . . . . . . . . . . . . . . . . . . .
Escala de datos (SCL) 3–18
. . . . . . . . . . . . . . . . . . . . . . . . . . . . . . . . . . . . . . . . . . . . . . . . . . . . . .
Ejemplo 3–18
. . . . . . . . . . . . . . . . . . . . . . . . . . . . . . . . . . . . . . . . . . . . . . . . . . . . . . . . . .
Cómo introducir parámetros 3–18
. . . . . . . . . . . . . . . . . . . . . . . . . . . . . . . . . . . . . . . . . . . . .
Actualizaciones de los bits de estado aritmético 3–19
. . . . . . . . . . . . . . . . . . . . . . . . . . . . . .
Ejemplo de aplicación 1 – Conversión de una señal de entrada analógica de
4 mA–20 mA en una variable de proceso PID 3–19
. . . . . . . . . . . . . . . . . . . . . . .
Cómo calcular la relación lineal 3–20
. . . . . . . . . . . . . . . . . . . . . . . . . . . . . . . . . . . . . . . .
Ejemplo de aplicación 2 – Cómo escalar una entrada analógica para controlar
una salida analógica 3–20
. . . . . . . . . . . . . . . . . . . . . . . . . . . . . . . . . . . . . . . . . . .
Cómo calcular la relación lineal 3–21
. . . . . . . . . . . . . . . . . . . . . . . . . . . . . . . . . . . . . . . .
Cómo calcular la relación lineal desplazada 3–22
. . . . . . . . . . . . . . . . . . . . . . . . . . . . . .
Absoluto (ABS) 3–24
. . . . . . . . . . . . . . . . . . . . . . . . . . . . . . . . . . . . . . . . . . . . . . . . . . . . . . . . . . .
Cómo introducir los parámetros 3–24
. . . . . . . . . . . . . . . . . . . . . . . . . . . . . . . . . . . . . . . . . .
Actualizaciones de los bits de estado aritmético 3–24
. . . . . . . . . . . . . . . . . . . . . . . . . . . . . .
Calcular (CPT) 3–25
. . . . . . . . . . . . . . . . . . . . . . . . . . . . . . . . . . . . . . . . . . . . . . . . . . . . . . . . . . .
Cómo introducir parámetros 3–25
. . . . . . . . . . . . . . . . . . . . . . . . . . . . . . . . . . . . . . . . . . . . .
Actualizaciones de los bits de estado aritmético 3–25
. . . . . . . . . . . . . . . . . . . . . . . . . . . . . .
Ejemplo de aplicación 3–26
. . . . . . . . . . . . . . . . . . . . . . . . . . . . . . . . . . . . . . . . . . . . . . . . . .
Intercambio (SWP) 3–27
. . . . . . . . . . . . . . . . . . . . . . . . . . . . . . . . . . . . . . . . . . . . . . . . . . . . . . . .
Cómo introducir parámetros 3–27
. . . . . . . . . . . . . . . . . . . . . . . . . . . . . . . . . . . . . . . . . . . . .
Arco seno (ASN) 3–28
. . . . . . . . . . . . . . . . . . . . . . . . . . . . . . . . . . . . . . . . . . . . . . . . . . . . . . . . . .
Actualizaciones de los bits de estado aritmético 3–28
. . . . . . . . . . . . . . . . . . . . . . . . . . . . . .
Arco coseno (ACS) 3–29
. . . . . . . . . . . . . . . . . . . . . . . . . . . . . . . . . . . . . . . . . . . . . . . . . . . . . . . .
Actualizaciones de los bits de estado aritmético 3–29
. . . . . . . . . . . . . . . . . . . . . . . . . . . . . .
Arco tangente (ATN) 3–29
. . . . . . . . . . . . . . . . . . . . . . . . . . . . . . . . . . . . . . . . . . . . . . . . . . . . . . .
Actualizaciones de los bits de estado aritmético 3–29
. . . . . . . . . . . . . . . . . . . . . . . . . . . . . .
Coseno (COS) 3–30
. . . . . . . . . . . . . . . . . . . . . . . . . . . . . . . . . . . . . . . . . . . . . . . . . . . . . . . . . . . .
Actualizaciones de los bits de estado aritmético 3–30
. . . . . . . . . . . . . . . . . . . . . . . . . . . . . .
Logaritmo natural (LN) 3–30
. . . . . . . . . . . . . . . . . . . . . . . . . . . . . . . . . . . . . . . . . . . . . . . . . . . . .
Actualizaciones de los bits de estado aritmético 3–30
. . . . . . . . . . . . . . . . . . . . . . . . . . . . . .
Logaritmo a la base 10 (LOG) 3–31
. . . . . . . . . . . . . . . . . . . . . . . . . . . . . . . . . . . . . . . . . . . . . . .
Actualizaciones de los bits de estado aritmético 3–31
. . . . . . . . . . . . . . . . . . . . . . . . . . . . . .
Seno (SIN) 3–31
. . . . . . . . . . . . . . . . . . . . . . . . . . . . . . . . . . . . . . . . . . . . . . . . . . . . . . . . . . . . . . .
Actualizaciones de los bits de estado aritmético 3–31
. . . . . . . . . . . . . . . . . . . . . . . . . . . . . .
Tangente (TAN) 3–32
. . . . . . . . . . . . . . . . . . . . . . . . . . . . . . . . . . . . . . . . . . . . . . . . . . . . . . . . . . .
Actualizaciones de los bits de estado aritmético 3–32
. . . . . . . . . . . . . . . . . . . . . . . . . . . . . .
Tabla de contenido
v
X a la potencia de Y (XPY) 3–33
. . . . . . . . . . . . . . . . . . . . . . . . . . . . . . . . . . . . . . . . . . . . . . . . .
Actualizaciones de los bits de estado aritmético 3–33
. . . . . . . . . . . . . . . . . . . . . . . . . . . . . .
Instrucciones matemáticas en el ejemplo de aplicación de la perforadora de papel 3–34
. . . . . . .
Cómo añadir el archivo 7 3–35
. . . . . . . . . . . . . . . . . . . . . . . . . . . . . . . . . . . . . . . . . . . . . . . .
4 Instrucciones de manejo de datos 4–1
. . . . . . . . . . . . . . . . . . . . . . . . . . . . . . . . . . . . . . . . . .
Instrucciones de manejo de datos 4–1
. . . . . . . . . . . . . . . . . . . . . . . . . . . . . . . . . . . . . . . .
Acerca de las instrucciones de manejo de datos 4–2
. . . . . . . . . . . . . . . . . . . . . . . . . . . . . . . . . . .
Convertir en BCD (TOD) 4–3
. . . . . . . . . . . . . . . . . . . . . . . . . . . . . . . . . . . . . . . . . . . . . . . . . . . .
Actualizaciones de los bits de estado aritmético 4–3
. . . . . . . . . . . . . . . . . . . . . . . . . . . . . . .
Cambios del registro matemático, S:13 y S:14 4–3
. . . . . . . . . . . . . . . . . . . . . . . . . . . . . . . .
Ejemplo 1 4–4
. . . . . . . . . . . . . . . . . . . . . . . . . . . . . . . . . . . . . . . . . . . . . . . . . . . . . . . . . .
Ejemplo 2 4–4
. . . . . . . . . . . . . . . . . . . . . . . . . . . . . . . . . . . . . . . . . . . . . . . . . . . . . . . . . .
Convertir de BCD (FRD) 4–6
. . . . . . . . . . . . . . . . . . . . . . . . . . . . . . . . . . . . . . . . . . . . . . . . . . . .
Actualizaciones de los bits de estado aritmético 4–6
. . . . . . . . . . . . . . . . . . . . . . . . . . . . . . .
Cambios del registro matemático, S:13 y S:14 4–7
. . . . . . . . . . . . . . . . . . . . . . . . . . . . . . . .
Ejemplo 1 4–7
. . . . . . . . . . . . . . . . . . . . . . . . . . . . . . . . . . . . . . . . . . . . . . . . . . . . . . . . . .
Ejemplo 2 4–8
. . . . . . . . . . . . . . . . . . . . . . . . . . . . . . . . . . . . . . . . . . . . . . . . . . . . . . . . . .
Radianes en grados (DEG) 4–10
. . . . . . . . . . . . . . . . . . . . . . . . . . . . . . . . . . . . . . . . . . . . . . . . . .
Cómo introducir parámetros 4–10
. . . . . . . . . . . . . . . . . . . . . . . . . . . . . . . . . . . . . . . . . . . . .
Actualizaciones de los bits de estado aritmético 4–10
. . . . . . . . . . . . . . . . . . . . . . . . . . . . . .
Grados en radianes (RAD) 4–11
. . . . . . . . . . . . . . . . . . . . . . . . . . . . . . . . . . . . . . . . . . . . . . . . . .
Cómo introducir los parámetros 4–11
. . . . . . . . . . . . . . . . . . . . . . . . . . . . . . . . . . . . . . . . . .
Actaulizaciones de los bits de estado aritmético 4–11
. . . . . . . . . . . . . . . . . . . . . . . . . . . . . .
Descodificar 4 a 1 de 16 (DCD) 4–12
. . . . . . . . . . . . . . . . . . . . . . . . . . . . . . . . . . . . . . . . . . . . . .
Cómo introducir parámetros 4–12
. . . . . . . . . . . . . . . . . . . . . . . . . . . . . . . . . . . . . . . . . . . . .
Actualizaciones de los bits de estado aritmético 4–12
. . . . . . . . . . . . . . . . . . . . . . . . . . . . . .
Codificar 1 de 16 a 4 (ENC) 4–13
. . . . . . . . . . . . . . . . . . . . . . . . . . . . . . . . . . . . . . . . . . . . . . . . .
Cómo introducir parámetros 4–13
. . . . . . . . . . . . . . . . . . . . . . . . . . . . . . . . . . . . . . . . . . . . .
Actualizaciones de los bits de estado aritmético 4–14
. . . . . . . . . . . . . . . . . . . . . . . . . . . . . .
Instrucciones para copiar el archivo (COP) y llenar el archivo (FLL) 4–15
. . . . . . . . . . . . . . . . .
Uso de COP 4–15
. . . . . . . . . . . . . . . . . . . . . . . . . . . . . . . . . . . . . . . . . . . . . . . . . . . . . . . . . .
Cómo introducir parámetros 4–15
. . . . . . . . . . . . . . . . . . . . . . . . . . . . . . . . . . . . . . . . . .
Uso de FLL 4–17
. . . . . . . . . . . . . . . . . . . . . . . . . . . . . . . . . . . . . . . . . . . . . . . . . . . . . . . . . .
Cómo introducir parámetros 4–17
. . . . . . . . . . . . . . . . . . . . . . . . . . . . . . . . . . . . . . . . . .
Descripción general de las instrucciones de mover y lógicas 4–19
. . . . . . . . . . . . . . . . . . . . . . . .
Cómo introducir parámetros 4–19
. . . . . . . . . . . . . . . . . . . . . . . . . . . . . . . . . . . . . . . . . . . . .
Uso de direcciones de palabra indexadas 4–19
. . . . . . . . . . . . . . . . . . . . . . . . . . . . . . . . . . . .
Actualizaciones de los bits de estado aritmético 4–19
. . . . . . . . . . . . . . . . . . . . . . . . . . . . . .
Uso de direcciones de palabra indirectas 4–19
. . . . . . . . . . . . . . . . . . . . . . . . . . . . . . . . . . . .
Cambios del registro matemático, S:13 y S:14 4–19
. . . . . . . . . . . . . . . . . . . . . . . . . . . . . . .
Manual de referencia del juego de instrucción
vi
Mover (MOV) 4–20
. . . . . . . . . . . . . . . . . . . . . . . . . . . . . . . . . . . . . . . . . . . . . . . . . . . . . . . . . . . .
Cómo introducir parámetros 4–20
. . . . . . . . . . . . . . . . . . . . . . . . . . . . . . . . . . . . . . . . . . . . .
Actualizaciones de los bits de estado aritmético 4–20
. . . . . . . . . . . . . . . . . . . . . . . . . . . . . .
Mover con máscara (MVM) 4–21
. . . . . . . . . . . . . . . . . . . . . . . . . . . . . . . . . . . . . . . . . . . . . . . . .
Cómo introducir parámetros 4–21
. . . . . . . . . . . . . . . . . . . . . . . . . . . . . . . . . . . . . . . . . . . . .
Actualizaciones de los bits de estado aritmético 4–21
. . . . . . . . . . . . . . . . . . . . . . . . . . . . . .
Operación 4–22
. . . . . . . . . . . . . . . . . . . . . . . . . . . . . . . . . . . . . . . . . . . . . . . . . . . . . . . . .
Y (AND) 4–23
. . . . . . . . . . . . . . . . . . . . . . . . . . . . . . . . . . . . . . . . . . . . . . . . . . . . . . . . . . . . . . . .
Tabla de verdad 4–23
. . . . . . . . . . . . . . . . . . . . . . . . . . . . . . . . . . . . . . . . . . . . . . . . . . . .
Actualizaciones de los bits de estado aritmético 4–23
. . . . . . . . . . . . . . . . . . . . . . . . . . . . . .
O (OR) 4–24
. . . . . . . . . . . . . . . . . . . . . . . . . . . . . . . . . . . . . . . . . . . . . . . . . . . . . . . . . . . . . . . . . .
Tabla de verdad 4–24
. . . . . . . . . . . . . . . . . . . . . . . . . . . . . . . . . . . . . . . . . . . . . . . . . . . .
Actualizaciones de los bits de estado aritmético 4–24
. . . . . . . . . . . . . . . . . . . . . . . . . . . . . .
O exclusivo (XOR) 4–25
. . . . . . . . . . . . . . . . . . . . . . . . . . . . . . . . . . . . . . . . . . . . . . . . . . . . . . . .
Tabla de verdad 4–25
. . . . . . . . . . . . . . . . . . . . . . . . . . . . . . . . . . . . . . . . . . . . . . . . . . . .
Actualizaciones de los bits de estado aritmético 4–25
. . . . . . . . . . . . . . . . . . . . . . . . . . . . . .
No (NOT) 4–26
. . . . . . . . . . . . . . . . . . . . . . . . . . . . . . . . . . . . . . . . . . . . . . . . . . . . . . . . . . . . . . .
Tabla de verdad 4–26
. . . . . . . . . . . . . . . . . . . . . . . . . . . . . . . . . . . . . . . . . . . . . . . . . . . .
Actualizaciones de los bits de estado aritmético 4–26
. . . . . . . . . . . . . . . . . . . . . . . . . . . . . .
Negar (NEG) 4–27
. . . . . . . . . . . . . . . . . . . . . . . . . . . . . . . . . . . . . . . . . . . . . . . . . . . . . . . . . . . . .
Actualizaciones de bits de estado aritmético 4–27
. . . . . . . . . . . . . . . . . . . . . . . . . . . . . . . . .
Descripción general de las instrucciones FIFO y LIFO 4–28
. . . . . . . . . . . . . . . . . . . . . . . . . . . .
Cómo introducir parámetros 4–28
. . . . . . . . . . . . . . . . . . . . . . . . . . . . . . . . . . . . . . . . . . . . .
Efectos en el registro de índice S:24 4–29
. . . . . . . . . . . . . . . . . . . . . . . . . . . . . . . . . . . . . . .
Carga FIFO (FFL)
Descarga FIFO (FFU) 4–30
. . . . . . . . . . . . . . . . . . . . . . . . . . . . . . . . . . . . . . . . . . . . . . . . . .
Carga LIFO (LFL)
Descarga LIFO (LFU) 4–32
. . . . . . . . . . . . . . . . . . . . . . . . . . . . . . . . . . . . . . . . . . . . . . . . . .
Instrucciones de manejo de datos en el ejemplo de aplicación de la perforadora de papel 4–34
.
Añadir el archivo 7 4–34
. . . . . . . . . . . . . . . . . . . . . . . . . . . . . . . . . . . . . . . . . . . . . . . . . . . . .
5 Instrucciones de flujo de programa 5–1
. . . . . . . . . . . . . . . . . . . . . . . . . . . . . . . . . . . . . . . . .
Instrucciones de control de flujo de programa 5–1
. . . . . . . . . . . . . . . . . . . . . . . . . . . . . .
Acerca de las instrucciones de control de flujo de programa 5–2
. . . . . . . . . . . . . . . . . . . . . . . . .
Salto (JMP) y etiqueta (LBL) 5–3
. . . . . . . . . . . . . . . . . . . . . . . . . . . . . . . . . . . . . . . . . . . . . . . . .
Cómo introducir parámetros 5–3
. . . . . . . . . . . . . . . . . . . . . . . . . . . . . . . . . . . . . . . . . . . . . .
Uso de JMP 5–3
. . . . . . . . . . . . . . . . . . . . . . . . . . . . . . . . . . . . . . . . . . . . . . . . . . . . . . . . . . .
Uso de LBL 5–4
. . . . . . . . . . . . . . . . . . . . . . . . . . . . . . . . . . . . . . . . . . . . . . . . . . . . . . . . . . .
Saltar a subrutina (JSR), subrutina (SBR), y retornar (RET) 5–5
. . . . . . . . . . . . . . . . . . . . . . . . .
Cómo anidar archivos de subrutina 5–5
. . . . . . . . . . . . . . . . . . . . . . . . . . . . . . . . . . . . . . . . .
Uso de JSR 5–6
. . . . . . . . . . . . . . . . . . . . . . . . . . . . . . . . . . . . . . . . . . . . . . . . . . . . . . . . . . . .
Tabla de contenido
vii
Uso de SBR 5–7
. . . . . . . . . . . . . . . . . . . . . . . . . . . . . . . . . . . . . . . . . . . . . . . . . . . . . . . . . . .
Uso de RET 5–7
. . . . . . . . . . . . . . . . . . . . . . . . . . . . . . . . . . . . . . . . . . . . . . . . . . . . . . . . . . .
Restablecimiento de control maestro (MCR) 5–8
. . . . . . . . . . . . . . . . . . . . . . . . . . . . . . . . . . . . .
Operación del procesador SLC 5–9
. . . . . . . . . . . . . . . . . . . . . . . . . . . . . . . . . . . . . . . . . . . .
Fin temporal (TND) 5–10
. . . . . . . . . . . . . . . . . . . . . . . . . . . . . . . . . . . . . . . . . . . . . . . . . . . . . . .
Suspender (SUS) 5–11
. . . . . . . . . . . . . . . . . . . . . . . . . . . . . . . . . . . . . . . . . . . . . . . . . . . . . . . . . .
Cómo introducir parámetros 5–11
. . . . . . . . . . . . . . . . . . . . . . . . . . . . . . . . . . . . . . . . . . . . .
Entrada inmediata con máscara (IIM) 5–12
. . . . . . . . . . . . . . . . . . . . . . . . . . . . . . . . . . . . . . . . . .
Cómo introducir parámetros 5–12
. . . . . . . . . . . . . . . . . . . . . . . . . . . . . . . . . . . . . . . . . . . . .
Ejemplo 5–12
. . . . . . . . . . . . . . . . . . . . . . . . . . . . . . . . . . . . . . . . . . . . . . . . . . . . . . . . . .
Salida inmediata con máscara (IOM) 5–13
. . . . . . . . . . . . . . . . . . . . . . . . . . . . . . . . . . . . . . . . . .
Cómo introducir parámetros 5–13
. . . . . . . . . . . . . . . . . . . . . . . . . . . . . . . . . . . . . . . . . . . . .
Ejemplo 5–13
. . . . . . . . . . . . . . . . . . . . . . . . . . . . . . . . . . . . . . . . . . . . . . . . . . . . . . . . . .
Regenerar I/S (REF) 5–14
. . . . . . . . . . . . . . . . . . . . . . . . . . . . . . . . . . . . . . . . . . . . . . . . . . . . . . .
Uso de un procesador SLC 5/02 5–14
. . . . . . . . . . . . . . . . . . . . . . . . . . . . . . . . . . . . . . . . . .
Uso de procesadores SLC 5/03 y SLC 5/04 5–14
. . . . . . . . . . . . . . . . . . . . . . . . . . . . . . . . . .
Instrucciones de control de flujo de programa en el ejemplo de aplicación de la
perforadora de papel 5–15
. . . . . . . . . . . . . . . . . . . . . . . . . . . . . . . . . . . . . . . . . . . . . . . . . . .
Cómo añadir el archivo 2 5–15
. . . . . . . . . . . . . . . . . . . . . . . . . . . . . . . . . . . . . . . . . . . . . . . .
6 Instrucciones específicas de aplicación 6–1
. . . . . . . . . . . . . . . . . . . . . . . . . . . . . . . . . . . .
Instrucciones específicas de aplicación 6–1
. . . . . . . . . . . . . . . . . . . . . . . . . . . . . . . . . . .
Acerca de las instrucciones específicas de aplicación 6–2
. . . . . . . . . . . . . . . . . . . . . . . . . . . . . .
Descripción general de las instrucciones de desplazamiento de bit 6–3
. . . . . . . . . . . . . . . . . . . .
Cómo introducir los parámetros 6–3
. . . . . . . . . . . . . . . . . . . . . . . . . . . . . . . . . . . . . . . . . . .
Efectos en el registro de índice S:24 6–4
. . . . . . . . . . . . . . . . . . . . . . . . . . . . . . . . . . . . . . . .
Desplazamiento de bit izquierdo (BSL)
Desplazamiento de bit derecho (BSR) 6–5
. . . . . . . . . . . . . . . . . . . . . . . . . . . . . . . . . . . . . . .
Uso de BSL 6–5
. . . . . . . . . . . . . . . . . . . . . . . . . . . . . . . . . . . . . . . . . . . . . . . . . . . . . . . .
Uso de BSR 6–6
. . . . . . . . . . . . . . . . . . . . . . . . . . . . . . . . . . . . . . . . . . . . . . . . . . . . . . . .
Descripción general de las instrucciones de secuenciador 6–8
. . . . . . . . . . . . . . . . . . . . . . . . . . .
Efectos en el registro de índice S:24 6–8
. . . . . . . . . . . . . . . . . . . . . . . . . . . . . . . . . . . . . . . .
Aplicaciones que requieren más de 16 bits 6–8
. . . . . . . . . . . . . . . . . . . . . . . . . . . . . . . . . . .
Salida de secuenciador (SQO)
Comparación de secuenciador (SQC) 6–9
. . . . . . . . . . . . . . . . . . . . . . . . . . . . . . . . . . . . . . .
Cómo introducir parámetros 6–9
. . . . . . . . . . . . . . . . . . . . . . . . . . . . . . . . . . . . . . . . . . . . . .
Uso de SQO 6–11
. . . . . . . . . . . . . . . . . . . . . . . . . . . . . . . . . . . . . . . . . . . . . . . . . . . . . . .
Uso de SQC 6–12
. . . . . . . . . . . . . . . . . . . . . . . . . . . . . . . . . . . . . . . . . . . . . . . . . . . . . . .
Carga de secuenciador (SQL) 6–14
. . . . . . . . . . . . . . . . . . . . . . . . . . . . . . . . . . . . . . . . . . . . . . . .
Cómo introducir parámetros 6–14
. . . . . . . . . . . . . . . . . . . . . . . . . . . . . . . . . . . . . . . . . . . . .
Operación 6–16
. . . . . . . . . . . . . . . . . . . . . . . . . . . . . . . . . . . . . . . . . . . . . . . . . . . . . . . . .
Manual de referencia del juego de instrucción
viii
Instrucciones específicas de aplicación en el ejemplo de aplicación de la
perforadora de papel 6–17
. . . . . . . . . . . . . . . . . . . . . . . . . . . . . . . . . . . . . . . . . . . . . . . . . . .
7 Cómo usar las instrucciones del contador de alta velocidad 7–1
. . . . . . . . . . . . . . . . .
Instrucciones del contador de alta velocidad 7–1
. . . . . . . . . . . . . . . . . . . . . . . . . . . . . . .
Acerca de las instrucciones del contador de alta velocidad 7–2
. . . . . . . . . . . . . . . . . . . . . . . . . .
Descripción general de las instrucciones del contador de alta velocidad 7–3
. . . . . . . . . . . . . . . .
Elementos del archivo de datos del contador 7–3
. . . . . . . . . . . . . . . . . . . . . . . . . . . . . . . . . .
Uso de bits de estado 7–3
. . . . . . . . . . . . . . . . . . . . . . . . . . . . . . . . . . . . . . . . . . . . . . . . .
Contador de alta velocidad (HSC) 7–6
. . . . . . . . . . . . . . . . . . . . . . . . . . . . . . . . . . . . . . . . . . . . .
Cómo introducir parámetros 7–6
. . . . . . . . . . . . . . . . . . . . . . . . . . . . . . . . . . . . . . . . . . . . . .
Uso del contador progresivo y el contador regresivo con restablecimiento
y retención 7–8
. . . . . . . . . . . . . . . . . . . . . . . . . . . . . . . . . . . . . . . . . . . . . . . . . . . . . . . .
Operación 7–8
. . . . . . . . . . . . . . . . . . . . . . . . . . . . . . . . . . . . . . . . . . . . . . . . . . . . . . . . . .
Contador progresivo 7–9
. . . . . . . . . . . . . . . . . . . . . . . . . . . . . . . . . . . . . . . . . . . . . . . . . .
Contador progresivo con restablecimiento y retención 7–10
. . . . . . . . . . . . . . . . . . . . . .
Uso del contador bidireccional y el contador bidireccional con restablecimiento y
retención 7–10
. . . . . . . . . . . . . . . . . . . . . . . . . . . . . . . . . . . . . . . . . . . . . . . . . . . . . . . . .
Operación 7–11
. . . . . . . . . . . . . . . . . . . . . . . . . . . . . . . . . . . . . . . . . . . . . . . . . . . . . . . . .
Contador bidireccional (impulso/dirección) 7–12
. . . . . . . . . . . . . . . . . . . . . . . . . . . . . .
Contador bidireccional con restablecimiento y retención (impulso/dirección) 7–13
. . . .
Contador bidireccional (conteo progresivo/regresivo) 7–13
. . . . . . . . . . . . . . . . . . . . . .
Contador bidireccional con restablecimiento y retención
(conteo progresivo/regresivo) 7–14
. . . . . . . . . . . . . . . . . . . . . . . . . . . . . . . . . . . .
Uso del contador bidireccional con restablecimiento y retención con codificador
(encoder) de cuadratura 7–14
. . . . . . . . . . . . . . . . . . . . . . . . . . . . . . . . . . . . . . . . . . . . .
Operación 7–15
. . . . . . . . . . . . . . . . . . . . . . . . . . . . . . . . . . . . . . . . . . . . . . . . . . . . . . . . .
Contador bidireccional (codificador [encoder]) 7–17
. . . . . . . . . . . . . . . . . . . . . . . . . . . .
Contador bidireccional con restablecimiento y retención
(codificador [encoder]) 7–17
. . . . . . . . . . . . . . . . . . . . . . . . . . . . . . . . . . . . . . . . .
Carga del contador de alta velocidad (HSL) 7–18
. . . . . . . . . . . . . . . . . . . . . . . . . . . . . . . . . . . . .
Cómo introducir parámetros 7–18
. . . . . . . . . . . . . . . . . . . . . . . . . . . . . . . . . . . . . . . . . . . . .
Operación 7–18
. . . . . . . . . . . . . . . . . . . . . . . . . . . . . . . . . . . . . . . . . . . . . . . . . . . . . . . . . . . .
Restablecimiento del contador de alta velocidad (RES) 7–21
. . . . . . . . . . . . . . . . . . . . . . . . . . . .
Operación 7–21
. . . . . . . . . . . . . . . . . . . . . . . . . . . . . . . . . . . . . . . . . . . . . . . . . . . . . . . . . . . .
Acumulador de restablecimiento del contador de alta velocidad (RAC) 7–22
. . . . . . . . . . . . . . .
Cómo introducir parámetros 7–22
. . . . . . . . . . . . . . . . . . . . . . . . . . . . . . . . . . . . . . . . . . . . .
Operación 7–22
. . . . . . . . . . . . . . . . . . . . . . . . . . . . . . . . . . . . . . . . . . . . . . . . . . . . . . . . . . . .
Habilitación (HSE) e inhabilitación (HSD) de interrupción del contador de alta velocidad 7–23
Uso de HSE 7–23
. . . . . . . . . . . . . . . . . . . . . . . . . . . . . . . . . . . . . . . . . . . . . . . . . . . . . . . . . .
Operación 7–23
. . . . . . . . . . . . . . . . . . . . . . . . . . . . . . . . . . . . . . . . . . . . . . . . . . . . . . . . .
Tabla de contenido
ix
Uso de HSD 7–24
. . . . . . . . . . . . . . . . . . . . . . . . . . . . . . . . . . . . . . . . . . . . . . . . . . . . . . . . . .
Operación 7–24
. . . . . . . . . . . . . . . . . . . . . . . . . . . . . . . . . . . . . . . . . . . . . . . . . . . . . . . . .
Actualización del acumulador de imagen del contador de alta velocidad (OTE) 7–24
. . . . . . . . .
Operación 7–24
. . . . . . . . . . . . . . . . . . . . . . . . . . . . . . . . . . . . . . . . . . . . . . . . . . . . . . . . . . . .
Lo que ocurre con el HSC cuando pasa al modo de marcha REM 7–25
. . . . . . . . . . . . . . . . . . . .
Ejemplo 1 7–26
. . . . . . . . . . . . . . . . . . . . . . . . . . . . . . . . . . . . . . . . . . . . . . . . . . . . . . . . .
Ejemplo 2 7–27
. . . . . . . . . . . . . . . . . . . . . . . . . . . . . . . . . . . . . . . . . . . . . . . . . . . . . . . . .
Ejemplo 3 7–28
. . . . . . . . . . . . . . . . . . . . . . . . . . . . . . . . . . . . . . . . . . . . . . . . . . . . . . . . .
Instrucciones del contador de alta velocidad en el ejemplo de aplicación de la
perforadora de papel 7–29
. . . . . . . . . . . . . . . . . . . . . . . . . . . . . . . . . . . . . . . . . . . . . . . . . . .
8 Instrucciones de comunicación 8–1
. . . . . . . . . . . . . . . . . . . . . . . . . . . . . . . . . . . . . . . . . . . .
Instrucciones de comunicación 8–1
. . . . . . . . . . . . . . . . . . . . . . . . . . . . . . . . . . . . . . . . .
Acerca de las instrucciones de comunicación 8–2
. . . . . . . . . . . . . . . . . . . . . . . . . . . . . . . . . . . . .
Descripción general de la instrucción de mensaje 8–3
. . . . . . . . . . . . . . . . . . . . . . . . . . . . . . . . .
Operación 8–3
. . . . . . . . . . . . . . . . . . . . . . . . . . . . . . . . . . . . . . . . . . . . . . . . . . . . . . . . . . . . .
Bits del archivo de estado relacionados 8–4
. . . . . . . . . . . . . . . . . . . . . . . . . . . . . . . . . . . . . .
Opciones de configuración disponibles 8–5
. . . . . . . . . . . . . . . . . . . . . . . . . . . . . . . . . . . . . .
Cómo introducir parámetros 8–5
. . . . . . . . . . . . . . . . . . . . . . . . . . . . . . . . . . . . . . . . . . . . . .
Uso de los bits de estado 8–6
. . . . . . . . . . . . . . . . . . . . . . . . . . . . . . . . . . . . . . . . . . . . . . . . .
Diagrama de temporización para una instrucción MSG exitosa del SLC 5/02 8–7
. . . . . . . . . . .
Configuración del bloque de control 8–9
. . . . . . . . . . . . . . . . . . . . . . . . . . . . . . . . . . . . . . . .
Ejemplos de aplicación para procesadores SLC 5/02 8–11
. . . . . . . . . . . . . . . . . . . . . . . . . . . . . .
Ejemplo 1 8–11
. . . . . . . . . . . . . . . . . . . . . . . . . . . . . . . . . . . . . . . . . . . . . . . . . . . . . . . . . . . .
Ejemplo 2 – Archivo de programa 2 del procesador SLC 5/02 8–12
. . . . . . . . . . . . . . . . . . .
Archivo de programa 2 del procesador SLC 5/01 a nodo 3 8–14
. . . . . . . . . . . . . . . . . . .
Ejemplo 3 8–15
. . . . . . . . . . . . . . . . . . . . . . . . . . . . . . . . . . . . . . . . . . . . . . . . . . . . . . . . . . . .
Ejemplo 4 8–16
. . . . . . . . . . . . . . . . . . . . . . . . . . . . . . . . . . . . . . . . . . . . . . . . . . . . . . . . . . . .
Descripción general de la instrucción de mensaje 8–18
. . . . . . . . . . . . . . . . . . . . . . . . . . . . . . . .
Operación 8–18
. . . . . . . . . . . . . . . . . . . . . . . . . . . . . . . . . . . . . . . . . . . . . . . . . . . . . . . . . . . .
Bits del archivo de estado relacionados 8–19
. . . . . . . . . . . . . . . . . . . . . . . . . . . . . . . . . . . . .
Opciones de configuración disponibles 8–20
. . . . . . . . . . . . . . . . . . . . . . . . . . . . . . . . . . . . .
Cómo introducir parámetros 8–21
. . . . . . . . . . . . . . . . . . . . . . . . . . . . . . . . . . . . . . . . . . . . .
Uso de los bits de estado 8–22
. . . . . . . . . . . . . . . . . . . . . . . . . . . . . . . . . . . . . . . . . . . . . . . .
Configuraciones del bloque de control 8–24
. . . . . . . . . . . . . . . . . . . . . . . . . . . . . . . . . . . . .
Diagrama de temporización para una instrucción exitosa del SLC 5/03 ó SLC 5/04 8–26
. . . . . .
Códigos de error de la instrucción MSG 8–30
. . . . . . . . . . . . . . . . . . . . . . . . . . . . . . . . . . . . . . . .
Manual de referencia del juego de instrucción
x
Ejemplos de configuraciones usando la instrucción de mensaje 8–32
. . . . . . . . . . . . . . . . . . . . .
Uso de la lógica de escalera 8–33
. . . . . . . . . . . . . . . . . . . . . . . . . . . . . . . . . . . . . . . . . . . . . .
Ejemplo 1 8–33
. . . . . . . . . . . . . . . . . . . . . . . . . . . . . . . . . . . . . . . . . . . . . . . . . . . . . . . . .
Ejemplo 2 8–35
. . . . . . . . . . . . . . . . . . . . . . . . . . . . . . . . . . . . . . . . . . . . . . . . . . . . . . . . .
Ejemplo 3 8–37
. . . . . . . . . . . . . . . . . . . . . . . . . . . . . . . . . . . . . . . . . . . . . . . . . . . . . . . . .
Ejemplo 4 8–39
. . . . . . . . . . . . . . . . . . . . . . . . . . . . . . . . . . . . . . . . . . . . . . . . . . . . . . . . .
Uso de mensajes locales 8–41
. . . . . . . . . . . . . . . . . . . . . . . . . . . . . . . . . . . . . . . . . . . . . . . . .
Ejemplo 1 – Lectura local de un 500CPU 8–41
. . . . . . . . . . . . . . . . . . . . . . . . . . . . . . . .
Ejemplo 2 – Lectura local de un 485CIF 8–42
. . . . . . . . . . . . . . . . . . . . . . . . . . . . . . . . .
Ejemplo 3 – Lectura local de un PLC-5 8–43
. . . . . . . . . . . . . . . . . . . . . . . . . . . . . . . . . .
Uso de mensajes remotos 8–45
. . . . . . . . . . . . . . . . . . . . . . . . . . . . . . . . . . . . . . . . . . . . . . . .
Ejemplo 1 – Comunicación con procesadores A–B usando un 1785-KA5 8–45
. . . . . . .
Procesador SLC 5/04 (A) a procesador SLC 5/03 (C) vía 1785-KA5 8–45
. . . . . . . . . . .
Comentarios 8–45
. . . . . . . . . . . . . . . . . . . . . . . . . . . . . . . . . . . . . . . . . . . . . . . . . . . . . . .
Procesador SLC 5/03 (C) a procesador SLC 5/04 (A) vía 1785-KA5 8–46
. . . . . . . . . . .
Comentarios 8–46
. . . . . . . . . . . . . . . . . . . . . . . . . . . . . . . . . . . . . . . . . . . . . . . . . . . . . . .
Procesador SLC 5/03 (C) a un PLC-5 (B) vía 1785-KA5 8–47
. . . . . . . . . . . . . . . . . . . .
Comentarios 8–47
. . . . . . . . . . . . . . . . . . . . . . . . . . . . . . . . . . . . . . . . . . . . . . . . . . . . . . .
Ejemplo 2 – Comunicación con procesadores A–B usando dos 1785-KA 8–48
. . . . . . .
Procesador SLC 5/04 (B) a procesador PLC5 (C) vía dos 1785-KA 8–48
. . . . . . . . . . . .
Comentarios 8–48
. . . . . . . . . . . . . . . . . . . . . . . . . . . . . . . . . . . . . . . . . . . . . . . . . . . . . . .
Procesador SLC 5/04 (B) a procesador SLC 5/04 (A) vía dos 1785-KA 8–49
. . . . . . . .
Comentarios 8–49
. . . . . . . . . . . . . . . . . . . . . . . . . . . . . . . . . . . . . . . . . . . . . . . . . . . . . . .
Ejemplo 3 – Transferencia vía canal 0 DH-485 del procesador SLC 5/04 8–50
. . . . . . .
Procesador SLC 5/04 (A) a procesador SLC 5/03 (D) vía un procesador
SLC 5/04 (C) (transferencia usando canal 0 DH-485) 8–50
. . . . . . . . . . . . . . . . .
Comentarios 8–50
. . . . . . . . . . . . . . . . . . . . . . . . . . . . . . . . . . . . . . . . . . . . . . . . . . . . . . .
Procesador SLC 5/03 (D) a procesador SLC 5/04 (A) vía un procesador
SLC 5/04 (C) (transferencia usando canal 0 DH-485) 8–51
. . . . . . . . . . . . . . . . .
Comentarios 8–51
. . . . . . . . . . . . . . . . . . . . . . . . . . . . . . . . . . . . . . . . . . . . . . . . . . . . . . .
Procesador SLC 5/03 (D) a PLC-5 (B) vía un procesador SLC 5/04
(transferencia usando canal 0 DH-485) 8–52
. . . . . . . . . . . . . . . . . . . . . . . . . . . .
Comentarios 8–52
. . . . . . . . . . . . . . . . . . . . . . . . . . . . . . . . . . . . . . . . . . . . . . . . . . . . . . .
Mensajes remotos (SLC 5/03 a un SLC 500, SLC 5/01 ó SLC 5/02) 8–53
. . . . . . . . . . .
Ejemplo 4 – Transferencia vía canal 0 DF1 del procesador SLC 5/04 8–54
. . . . . . . . . .
Procesador SLC 5/04 (A) a procesador SLC 5/04 (D) vía dos procesadores
SLC 5/04 (transferencia usando canal 0 DF1) 8–54
. . . . . . . . . . . . . . . . . . . . . . .
Comentarios 8–54
. . . . . . . . . . . . . . . . . . . . . . . . . . . . . . . . . . . . . . . . . . . . . . . . . . . . . . .
Ejemplo 5 – Transferencia vía canal 0 DH+ del procesador SLC 5/04 8–55
. . . . . . . . . .
Procesador SLC 5/04 (A) a procesador SLC 5/04 (C) vía un solo procesador
SLC 5/04 (transferencia usando canal 0 DF1) 8–55
. . . . . . . . . . . . . . . . . . . . . . .
Comentarios 8–55
. . . . . . . . . . . . . . . . . . . . . . . . . . . . . . . . . . . . . . . . . . . . . . . . . . . . . . .
Tabla de contenido
xi
Procesador SLC 5/04 (C) a procesador SLC 5/04 (A) vía un solo procesador
SLC 5/04 (transferencia usando canal 0 DF1) 8–56
. . . . . . . . . . . . . . . . . . . . . . .
Comentarios 8–56
. . . . . . . . . . . . . . . . . . . . . . . . . . . . . . . . . . . . . . . . . . . . . . . . . . . . . . .
Procesador SLC 5/04 (C) a procesador SLC 5/04 (B) cuando la transferencia
está habilitada 8–56
. . . . . . . . . . . . . . . . . . . . . . . . . . . . . . . . . . . . . . . . . . . . . . . .
Comentarios 8–56
. . . . . . . . . . . . . . . . . . . . . . . . . . . . . . . . . . . . . . . . . . . . . . . . . . . . . . .
Ejemplo 6 – Transferencia usando un integrado pirámide para encaminar
una instrucción de mensaje 8–57
. . . . . . . . . . . . . . . . . . . . . . . . . . . . . . . . . . . . . .
Procesador SLC 5/04 (B) a procesador SLC 5/04 (A) via un integrador
de pirámide usando el encaminamiento PI 8–57
. . . . . . . . . . . . . . . . . . . . . . . . . .
Comentarios 8–57
. . . . . . . . . . . . . . . . . . . . . . . . . . . . . . . . . . . . . . . . . . . . . . . . . . . . . . .
Ejemplo 7 – 8–58
. . . . . . . . . . . . . . . . . . . . . . . . . . . . . . . . . . . . . . . . . . . . . . . . . . . . . . .
Procesador SLC 5/03 a un procesador SLC 5/03
(transferencia usando dos 1785-KA5) 8–58
. . . . . . . . . . . . . . . . . . . . . . . . . . . . .
Comentarios 8–58
. . . . . . . . . . . . . . . . . . . . . . . . . . . . . . . . . . . . . . . . . . . . . . . . . . . . . . .
Comunicaciones de servicio (SVC) 8–60
. . . . . . . . . . . . . . . . . . . . . . . . . . . . . . . . . . . . . . . . . . .
Uso de un procesador SLC 5/02 8–60
. . . . . . . . . . . . . . . . . . . . . . . . . . . . . . . . . . . . . . . . . .
Uso de un procesador SLC 5/03 ó SLC 5/04 8–60
. . . . . . . . . . . . . . . . . . . . . . . . . . . . . . . . .
Servicio de canal 8–61
. . . . . . . . . . . . . . . . . . . . . . . . . . . . . . . . . . . . . . . . . . . . . . . . . . . . . .
Ejemplo de aplicación 8–61
. . . . . . . . . . . . . . . . . . . . . . . . . . . . . . . . . . . . . . . . . . . . . . .
9 Instrucción proporcional integral derivativa 9–1
. . . . . . . . . . . . . . . . . . . . . . . . . . . . . . . . .
Descripción general 9–1
. . . . . . . . . . . . . . . . . . . . . . . . . . . . . . . . . . . . . . . . . . . . . . . . . . . . . . . . .
El concepto PID 9–2
. . . . . . . . . . . . . . . . . . . . . . . . . . . . . . . . . . . . . . . . . . . . . . . . . . . . . . . . . . .
La ecuación PID 9–3
. . . . . . . . . . . . . . . . . . . . . . . . . . . . . . . . . . . . . . . . . . . . . . . . . . . . . . . . . . .
Cómo introducir parámetros 9–3
. . . . . . . . . . . . . . . . . . . . . . . . . . . . . . . . . . . . . . . . . . . . . .
Indicadores de instrucción PID 9–9
. . . . . . . . . . . . . . . . . . . . . . . . . . . . . . . . . . . . . . . . . . . . . . . .
Configuración del bloque de control 9–11
. . . . . . . . . . . . . . . . . . . . . . . . . . . . . . . . . . . . . . . . . . .
Errores de tiempo de ejecución 9–12
. . . . . . . . . . . . . . . . . . . . . . . . . . . . . . . . . . . . . . . . . . . . . . .
Escala PID y E/S analógicas 9–14
. . . . . . . . . . . . . . . . . . . . . . . . . . . . . . . . . . . . . . . . . . . . . . . . .
Uso de la instrucción SCL 9–14
. . . . . . . . . . . . . . . . . . . . . . . . . . . . . . . . . . . . . . . . . . . . . . .
Uso de la instrucción SCP 9–15
. . . . . . . . . . . . . . . . . . . . . . . . . . . . . . . . . . . . . . . . . . . . . . .
Ejemplo 9–15
. . . . . . . . . . . . . . . . . . . . . . . . . . . . . . . . . . . . . . . . . . . . . . . . . . . . . . . . . .
Notas de aplicación 9–18
. . . . . . . . . . . . . . . . . . . . . . . . . . . . . . . . . . . . . . . . . . . . . . . . . . . . . . . .
Rangos de entrada/salida 9–18
. . . . . . . . . . . . . . . . . . . . . . . . . . . . . . . . . . . . . . . . . . . . . . . .
Escalado a unidades de ingeniería 9–18
. . . . . . . . . . . . . . . . . . . . . . . . . . . . . . . . . . . . . . . . .
Banda muerta (DB) de intersección con cero 9–20
. . . . . . . . . . . . . . . . . . . . . . . . . . . . . . . .
Alarmas de salida 9–20
. . . . . . . . . . . . . . . . . . . . . . . . . . . . . . . . . . . . . . . . . . . . . . . . . . . . . .
Límite de salida con bloqueo de acción integral 9–21
. . . . . . . . . . . . . . . . . . . . . . . . . . . . . .
Modo manual 9–21
. . . . . . . . . . . . . . . . . . . . . . . . . . . . . . . . . . . . . . . . . . . . . . . . . . . . . . . . .
Estado de renglón PID 9–22
. . . . . . . . . . . . . . . . . . . . . . . . . . . . . . . . . . . . . . . . . . . . . . . . . .
Alimentación hacia adelante o bias 9–23
. . . . . . . . . . . . . . . . . . . . . . . . . . . . . . . . . . . . . . . .
Manual de referencia del juego de instrucción
xii
Salidas de tiempo proporcional 9–23
. . . . . . . . . . . . . . . . . . . . . . . . . . . . . . . . . . . . . . . . . . .
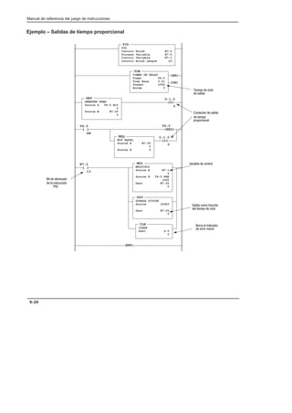
Ejemplo – Salidas de tiempo proporcional 9–24
. . . . . . . . . . . . . . . . . . . . . . . . . . . . . . .
Sintonización PID 9–25
. . . . . . . . . . . . . . . . . . . . . . . . . . . . . . . . . . . . . . . . . . . . . . . . . . . . .
Procedimiento 9–25
. . . . . . . . . . . . . . . . . . . . . . . . . . . . . . . . . . . . . . . . . . . . . . . . . . . . .
Cómo verificar el escalado del sistema continuo 9–27
. . . . . . . . . . . . . . . . . . . . . . . . . . .
Cómo determinar el tiempo de actualización del lazo inicial 9–28
. . . . . . . . . . . . . . . . .
10 Instrucciones ASCII 10–1
. . . . . . . . . . . . . . . . . . . . . . . . . . . . . . . . . . . . . . . . . . . . . . . . . . . . . .
Instrucciones ASCII 10–1
. . . . . . . . . . . . . . . . . . . . . . . . . . . . . . . . . . . . . . . . . . . . . . . . .
Descripción general de ASCII 10–2
. . . . . . . . . . . . . . . . . . . . . . . . . . . . . . . . . . . . . . . . . . . . . . .
Descripción general del parámetro de protocolo 10–3
. . . . . . . . . . . . . . . . . . . . . . . . . . . . . . . . .
Cómo usar el tipo de archivo de datos ASCII 10–4
. . . . . . . . . . . . . . . . . . . . . . . . . . . . .
Cómo usar el tipo de archivo de datos de cadena (ST 10–4
. . . . . . . . . . . . . . . . . . . . . . .
Cómo introducir parámetros 10–6
. . . . . . . . . . . . . . . . . . . . . . . . . . . . . . . . . . . . . . . . . . . . .
Prueba de búfer por línea (ABL) 10–7
. . . . . . . . . . . . . . . . . . . . . . . . . . . . . . . . . . . . . . . . . . . . . .
Cómo introducir parámetros 10–7
. . . . . . . . . . . . . . . . . . . . . . . . . . . . . . . . . . . . . . . . . . . . .
Ejemplo 10–7
. . . . . . . . . . . . . . . . . . . . . . . . . . . . . . . . . . . . . . . . . . . . . . . . . . . . . . . . . .
Número de caracteres en búfer (ACB) 10–8
. . . . . . . . . . . . . . . . . . . . . . . . . . . . . . . . . . . . . . . . .
Cómo introducir parámetros 10–8
. . . . . . . . . . . . . . . . . . . . . . . . . . . . . . . . . . . . . . . . . . . . .
Ejemplo 10–9
. . . . . . . . . . . . . . . . . . . . . . . . . . . . . . . . . . . . . . . . . . . . . . . . . . . . . . . . . .
Cadena a entero (ACI) 10–10
. . . . . . . . . . . . . . . . . . . . . . . . . . . . . . . . . . . . . . . . . . . . . . . . . . . .
Ejemplo 10–10
. . . . . . . . . . . . . . . . . . . . . . . . . . . . . . . . . . . . . . . . . . . . . . . . . . . . . . . . .
Borrado del búfer ASCII de recepción y/o transmisión (ACL) 10–11
. . . . . . . . . . . . . . . . . . . . .
Cómo introducir parámetros 10–11
. . . . . . . . . . . . . . . . . . . . . . . . . . . . . . . . . . . . . . . . . . . .
Ejemplo 10–11
. . . . . . . . . . . . . . . . . . . . . . . . . . . . . . . . . . . . . . . . . . . . . . . . . . . . . . . . .
Concatenado de cadenas (ACN) 10–12
. . . . . . . . . . . . . . . . . . . . . . . . . . . . . . . . . . . . . . . . . . . . .
Cómo introducir parámetros 10–12
. . . . . . . . . . . . . . . . . . . . . . . . . . . . . . . . . . . . . . . . . . . .
Ejemplo 10–12
. . . . . . . . . . . . . . . . . . . . . . . . . . . . . . . . . . . . . . . . . . . . . . . . . . . . . . . . .
Extracción de cadena (AEX) 10–13
. . . . . . . . . . . . . . . . . . . . . . . . . . . . . . . . . . . . . . . . . . . . . . . .
Cómo introducir parámetros 10–13
. . . . . . . . . . . . . . . . . . . . . . . . . . . . . . . . . . . . . . . . . . . .
Ejemplo 10–13
. . . . . . . . . . . . . . . . . . . . . . . . . . . . . . . . . . . . . . . . . . . . . . . . . . . . . . . . .
Líneas de comunicación (AHL) 10–14
. . . . . . . . . . . . . . . . . . . . . . . . . . . . . . . . . . . . . . . . . . . . .
Cómo introducir parámetros 10–14
. . . . . . . . . . . . . . . . . . . . . . . . . . . . . . . . . . . . . . . . . . . .
Ejemplo 10–15
. . . . . . . . . . . . . . . . . . . . . . . . . . . . . . . . . . . . . . . . . . . . . . . . . . . . . . . . .
Entero a cadena (AIC) 10–16
. . . . . . . . . . . . . . . . . . . . . . . . . . . . . . . . . . . . . . . . . . . . . . . . . . . . .
Ejemplo 10–16
. . . . . . . . . . . . . . . . . . . . . . . . . . . . . . . . . . . . . . . . . . . . . . . . . . . . . . . . .
Lectura de caracteres ASCII (ARD) 10–17
. . . . . . . . . . . . . . . . . . . . . . . . . . . . . . . . . . . . . . . . . .
Cómo introducir parámetros 10–17
. . . . . . . . . . . . . . . . . . . . . . . . . . . . . . . . . . . . . . . . . . . .
Ejemplo 10–17
. . . . . . . . . . . . . . . . . . . . . . . . . . . . . . . . . . . . . . . . . . . . . . . . . . . . . . . . .
Diagrama de temporización para una instrucción exitosa
ARD, ARL, AWA y AWT 10–19
. . . . . . . . . . . . . . . . . . . . . . . . . . . . . . . . . . . . . . . . . .
Tabla de contenido
xiii
Lectura ASCII de línea (ARL) 10–20
. . . . . . . . . . . . . . . . . . . . . . . . . . . . . . . . . . . . . . . . . . . . . .
Cómo introducir parámetros 10–20
. . . . . . . . . . . . . . . . . . . . . . . . . . . . . . . . . . . . . . . . . . . .
Ejemplo 10–20
. . . . . . . . . . . . . . . . . . . . . . . . . . . . . . . . . . . . . . . . . . . . . . . . . . . . . . . . .
Búsqueda de cadena (ASC) 10–22
. . . . . . . . . . . . . . . . . . . . . . . . . . . . . . . . . . . . . . . . . . . . . . . . .
Cómo introducir parámetros 10–22
. . . . . . . . . . . . . . . . . . . . . . . . . . . . . . . . . . . . . . . . . . . .
Ejemplo 10–22
. . . . . . . . . . . . . . . . . . . . . . . . . . . . . . . . . . . . . . . . . . . . . . . . . . . . . . . . .
Comparación de cadena ASCII (ASR) 10–23
. . . . . . . . . . . . . . . . . . . . . . . . . . . . . . . . . . . . . . . .
Cómo introducir parámetros 10–23
. . . . . . . . . . . . . . . . . . . . . . . . . . . . . . . . . . . . . . . . . . . .
Ejemplo 10–23
. . . . . . . . . . . . . . . . . . . . . . . . . . . . . . . . . . . . . . . . . . . . . . . . . . . . . . . . .
Escritura ASCII con anexo (AWA) 10–24
. . . . . . . . . . . . . . . . . . . . . . . . . . . . . . . . . . . . . . . . . . .
Cómo introducir parámetros 10–24
. . . . . . . . . . . . . . . . . . . . . . . . . . . . . . . . . . . . . . . . . . . .
Ejemplo 10–24
. . . . . . . . . . . . . . . . . . . . . . . . . . . . . . . . . . . . . . . . . . . . . . . . . . . . . . . . .
Cómo usar la indirección en línea 10–26
. . . . . . . . . . . . . . . . . . . . . . . . . . . . . . . . . . . . . . . .
Ejemplos 10–26
. . . . . . . . . . . . . . . . . . . . . . . . . . . . . . . . . . . . . . . . . . . . . . . . . . . . . . . . .
Escritura ASCII (AWT) 10–27
. . . . . . . . . . . . . . . . . . . . . . . . . . . . . . . . . . . . . . . . . . . . . . . . . . .
Cómo introducir parámetros 10–27
. . . . . . . . . . . . . . . . . . . . . . . . . . . . . . . . . . . . . . . . . . . .
Ejemplo 10–27
. . . . . . . . . . . . . . . . . . . . . . . . . . . . . . . . . . . . . . . . . . . . . . . . . . . . . . . . .
Códigos de error de instrucción ASCII 10–29
. . . . . . . . . . . . . . . . . . . . . . . . . . . . . . . . . . . . . . . .
Tabla de conversión ASCII 10–31
. . . . . . . . . . . . . . . . . . . . . . . . . . . . . . . . . . . . . . . . . . . . . . . . .
11 Cómo comprender las rutinas de interrupción 11–1
. . . . . . . . . . . . . . . . . . . . . . . . . . . . . .
Rutinas de interrupción 11–1
. . . . . . . . . . . . . . . . . . . . . . . . . . . . . . . . . . . . . . . . . . . . . .
Descripción general de la rutina de fallo de usuario 11–2
. . . . . . . . . . . . . . . . . . . . . . . . . . . . . . .
Datos de archivo de estado guardados 11–2
. . . . . . . . . . . . . . . . . . . . . . . . . . . . . . . . . . . . . .
Cómo crear una subrutina de fallo de usuario 11–3
. . . . . . . . . . . . . . . . . . . . . . . . . . . . . . . .
Operación del procesador SLC 11–3
. . . . . . . . . . . . . . . . . . . . . . . . . . . . . . . . . . . . . . . .
Operación del procesador MicroLogix 11–3
. . . . . . . . . . . . . . . . . . . . . . . . . . . . . . . . . .
Ejemplo de aplicación de la rutina de interrupción de usuario 11–4
. . . . . . . . . . . . . . . . . . .
Rutina de fallo – Archivo de subrutina 3 11–4
. . . . . . . . . . . . . . . . . . . . . . . . . . . . . . . . .
Archivo de subrutina 4 – Ejecutado para error 0020 11–5
. . . . . . . . . . . . . . . . . . . . . . . .
Archivo de subrutina 5 – Ejecutado para error 0034 11–6
. . . . . . . . . . . . . . . . . . . . . . . .
Descripción general de la interrupción temporizada seleccionable 11–7
. . . . . . . . . . . . . . . . . . .
Procedimiento de programación básico para la función STI 11–7
. . . . . . . . . . . . . . . . . . . . .
Operación 11–8
. . . . . . . . . . . . . . . . . . . . . . . . . . . . . . . . . . . . . . . . . . . . . . . . . . . . . . . . . . . . . . .
Contenido de la subrutina STI 11–8
. . . . . . . . . . . . . . . . . . . . . . . . . . . . . . . . . . . . . . . . . . . .
Latencia de interrupción y coincidencias de interrupción 11–9
. . . . . . . . . . . . . . . . . . . . . . .
Procesadores SLC 11–9
. . . . . . . . . . . . . . . . . . . . . . . . . . . . . . . . . . . . . . . . . . . . . . . . . .
Microcontrolador 11–9
. . . . . . . . . . . . . . . . . . . . . . . . . . . . . . . . . . . . . . . . . . . . . . . . . . .
Prioridades de interrupción 11–10
. . . . . . . . . . . . . . . . . . . . . . . . . . . . . . . . . . . . . . . . . . . . .
Datos de archivo de estado guardados 11–11
. . . . . . . . . . . . . . . . . . . . . . . . . . . . . . . . . . . . .
Parámetros STI 11–11
. . . . . . . . . . . . . . . . . . . . . . . . . . . . . . . . . . . . . . . . . . . . . . . . . . . . . . . . . .
Manual de referencia del juego de instrucción
xiv
Instrucciones STD y STE 11–16
. . . . . . . . . . . . . . . . . . . . . . . . . . . . . . . . . . . . . . . . . . . . . . . . . .
Inhabilitación temporizada seleccionable – STD 11–16
. . . . . . . . . . . . . . . . . . . . . . . . . . . .
Habilitación temporizada seleccionable – STE 11–16
. . . . . . . . . . . . . . . . . . . . . . . . . . . . . .
Ejemplo de zona STD/STE 11–16
. . . . . . . . . . . . . . . . . . . . . . . . . . . . . . . . . . . . . . . . . . . . .
Inicio temporizado seleccionable (STS) 11–18
. . . . . . . . . . . . . . . . . . . . . . . . . . . . . . . . . . . . . . .
Descripción general de la interrupción de entrada discreta 11–19
. . . . . . . . . . . . . . . . . . . . . . . .
Procedimiento de programación básico para la función DII 11–19
. . . . . . . . . . . . . . . . . . . .
Ejemplo 11–20
. . . . . . . . . . . . . . . . . . . . . . . . . . . . . . . . . . . . . . . . . . . . . . . . . . . . . . . . .
Operación 11–21
. . . . . . . . . . . . . . . . . . . . . . . . . . . . . . . . . . . . . . . . . . . . . . . . . . . . . . . . . . . . . .
Modo de contador 11–21
. . . . . . . . . . . . . . . . . . . . . . . . . . . . . . . . . . . . . . . . . . . . . . . . . . . .
Modo de evento 11–21
. . . . . . . . . . . . . . . . . . . . . . . . . . . . . . . . . . . . . . . . . . . . . . . . . . . . . .
Contenido de la subrutina DII 11–22
. . . . . . . . . . . . . . . . . . . . . . . . . . . . . . . . . . . . . . . . . . .
Latencia de interrupción y coincidencias de interrupción 11–22
. . . . . . . . . . . . . . . . . . . . . .
Prioridades de interrupción 11–23
. . . . . . . . . . . . . . . . . . . . . . . . . . . . . . . . . . . . . . . . . . . . .
Datos de archivo de estado guardados 11–23
. . . . . . . . . . . . . . . . . . . . . . . . . . . . . . . . . . . . .
Reconfigurabilidad 11–24
. . . . . . . . . . . . . . . . . . . . . . . . . . . . . . . . . . . . . . . . . . . . . . . . . . . .
Ejemplo 11–24
. . . . . . . . . . . . . . . . . . . . . . . . . . . . . . . . . . . . . . . . . . . . . . . . . . . . . . . . .
Parámetros DII 11–25
. . . . . . . . . . . . . . . . . . . . . . . . . . . . . . . . . . . . . . . . . . . . . . . . . . . . . . . . . .
Ejemplo de aplicación de interrupción de entrada discreta 11–28
. . . . . . . . . . . . . . . . . . . . .
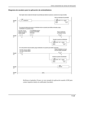
Diagrama de escalera para la aplicación de embotelladora 11–29
. . . . . . . . . . . . . . . . . .
Descripción general de interrupción de E/S 11–30
. . . . . . . . . . . . . . . . . . . . . . . . . . . . . . . . . . . .
Procedimiento de programación básico para la función de interrupción de E/S 11–30
. . . . .
Operación 11–31
. . . . . . . . . . . . . . . . . . . . . . . . . . . . . . . . . . . . . . . . . . . . . . . . . . . . . . . . . . . . . .
Contenido de la subrutina de interrupción (ISR) 11–31
. . . . . . . . . . . . . . . . . . . . . . . . . . . . .
Latencia de interrupción y coincidencias de interrupción 11–31
. . . . . . . . . . . . . . . . . . . . . .
Prioridades de interrupción 11–33
. . . . . . . . . . . . . . . . . . . . . . . . . . . . . . . . . . . . . . . . . . . . .
Datos de archivo de estado guardados 11–34
. . . . . . . . . . . . . . . . . . . . . . . . . . . . . . . . . . . . .
Parámetros de interrupción de E/S 11–35
. . . . . . . . . . . . . . . . . . . . . . . . . . . . . . . . . . . . . . . . . . .
Inhabilitación de interrupción de E/S (IID) y habilitación de interrupción de E/S (IIE) 11–37
. .
Inhabilitación de interrupción de E/S – IID Habilitación de interrupción
de E/S – IIE 11–37
. . . . . . . . . . . . . . . . . . . . . . . . . . . . . . . . . . . . . . . . . . . . . . . . . . . . . .
Operación IID 11–38
. . . . . . . . . . . . . . . . . . . . . . . . . . . . . . . . . . . . . . . . . . . . . . . . . . . . .
Operación IIE 11–38
. . . . . . . . . . . . . . . . . . . . . . . . . . . . . . . . . . . . . . . . . . . . . . . . . . . . .
Ejemplo de zona IID/IIE 11–39
. . . . . . . . . . . . . . . . . . . . . . . . . . . . . . . . . . . . . . . . . . . .
Restablecimiento de interrupción pendiente (RPI) 11–40
. . . . . . . . . . . . . . . . . . . . . . . . . . . . . . .
Cómo introducir parámetros 11–40
. . . . . . . . . . . . . . . . . . . . . . . . . . . . . . . . . . . . . . . . . . . .
Subrutina de interrupción (INT) 11–41
. . . . . . . . . . . . . . . . . . . . . . . . . . . . . . . . . . . . . . . . . . . . .
Tabla de contenido
xv
12 Cómo comprender los protocolos de comunicación 12–1
. . . . . . . . . . . . . . . . . . . . . . . .
Protocolo de comunicación DH-485 12–2
. . . . . . . . . . . . . . . . . . . . . . . . . . . . . . . . . . . . . . . . . . .
Protocolo de la red DH-485 12–2
. . . . . . . . . . . . . . . . . . . . . . . . . . . . . . . . . . . . . . . . . . . . . .
Rotación del testigo DH-485 12–2
. . . . . . . . . . . . . . . . . . . . . . . . . . . . . . . . . . . . . . . . . .
Inicialización de la red DH-485 12–3
. . . . . . . . . . . . . . . . . . . . . . . . . . . . . . . . . . . . . . . .
Consideraciones de software 12–3
. . . . . . . . . . . . . . . . . . . . . . . . . . . . . . . . . . . . . . . . . . . . .
Número de nodos 12–3
. . . . . . . . . . . . . . . . . . . . . . . . . . . . . . . . . . . . . . . . . . . . . . . . . . .
Establecimiento de direcciones de nodo 12–4
. . . . . . . . . . . . . . . . . . . . . . . . . . . . . . . . .
Establecimiento de la velocidad en baudios del procesador 12–4
. . . . . . . . . . . . . . . . . .
Establecimiento de la dirección de nodo máxima 12–4
. . . . . . . . . . . . . . . . . . . . . . . . . .
Número máximo de dispositivos de comunicación 12–4
. . . . . . . . . . . . . . . . . . . . . . . . .
Parámetros de configuración DH-485 12–5
. . . . . . . . . . . . . . . . . . . . . . . . . . . . . . . . . . .
Protocolo de comunicación de Data Highway Plus 12–7
. . . . . . . . . . . . . . . . . . . . . . . . . . . . . . .
Ejemplo 12–7
. . . . . . . . . . . . . . . . . . . . . . . . . . . . . . . . . . . . . . . . . . . . . . . . . . . . . . . . . .
Ejemplo 12–8
. . . . . . . . . . . . . . . . . . . . . . . . . . . . . . . . . . . . . . . . . . . . . . . . . . . . . . . . . .
Parámetros de configuración de canal 1 de DH+
(procesadores SLC 5/04 únicamente) 12–9
. . . . . . . . . . . . . . . . . . . . . . . . . . . . . .
Descripción general de la palabra de estado global 12–10
. . . . . . . . . . . . . . . . . . . . . . . . . . .
Bit de habilitación de transmisión de palabra de estado global S:34/3
(SLC 5/04 con OS401) 12–11
. . . . . . . . . . . . . . . . . . . . . . . . . . . . . . . . . . . . . . . .
Bit de habilitación de recepción de palabra de estado global S:34/4
(SLC 5/04 con OS401) 12–12
. . . . . . . . . . . . . . . . . . . . . . . . . . . . . . . . . . . . . . . .
Comunicación de PLC–5 a SLC 500 usando los comandos MSG de tipo PLC–2 12–14
. . .
Cómo los procesadores PLC-5 direccionan datos 12–15
. . . . . . . . . . . . . . . . . . . . . . . . . . . .
Cómo usar el archivo CIF SLC 500 (emulación PLC-2) 12–15
. . . . . . . . . . . . . . . . . . . . . . .
Programación para manejar las diferencias de direccionamiento de palabra/byte 12–16
. . .
Cómo enviar un mensaje de tipo PLC-2 a un procesador PLC-5 usando el
direccionamiento SLC de “palabra” (S:2/8 = 0) 12–16
. . . . . . . . . . . . . . . . . . . . .
Cómo enviar un mensaje de tipo PLC-2 a un procesador PLC-5 usando el
direccionamiento de “byte” (S:2/8 = 1) 12–16
. . . . . . . . . . . . . . . . . . . . . . . . . . .
Ejemplo – Cómo enviar un mensaje de tipo PLC-2 a procesadores PLC-5
usando procesadores SLC direccionados por “palabra” (S:2/8 = 0) 12–17
. . . . .
Ejemplo – Cómo enviar un mensaje de tipo PLC-2 a un procesador PLC-5
usando procesadores direccionados por “byte) (S:2/8 = 1) 12–17
. . . . . . . . . . . .
Procesadores SLC 5/03 y SLC 5/04 a comunicación PLC-5 usando comandos
MSG SLC 500 ó PLC-5 12–18
. . . . . . . . . . . . . . . . . . . . . . . . . . . . . . . . . . . . . . . . . . . .
Protocolo de comunicación RS-232 12–19
. . . . . . . . . . . . . . . . . . . . . . . . . . . . . . . . . . . . . . . . . .
Protocolo de full–duplex DF1 12–19
. . . . . . . . . . . . . . . . . . . . . . . . . . . . . . . . . . . . . . . . . . .
Parámetros de configuración de canal 0 de duplex total DF1 12–20
. . . . . . . . . . . . . . . .
Protocolo maestro/esclavo de half–duplex DF1 12–23
. . . . . . . . . . . . . . . . . . . . . . . . . . . . .
Parámetros de configuración de canal 0 del esclavo de half–duplex DF1 12–24
. . . . . . .
Parámetros de configuración de canal 0 del maestro de half–duplex DF1 12–25
. . . . . .
Manual de referencia del juego de instrucción
xvi
Consideraciones cuando comunica como esclavo DF1 en un vínculo de múltiples
conexiones 12–30
. . . . . . . . . . . . . . . . . . . . . . . . . . . . . . . . . . . . . . . . . . . . . . . . . . . . . .
Cómo usar módems que tienen capacidad para protocolos de comunicación DF1 12–31
. . . . . .
Módems de línea telefónica 12–31
. . . . . . . . . . . . . . . . . . . . . . . . . . . . . . . . . . . . . . . . . . . . .
Módems manuales 12–31
. . . . . . . . . . . . . . . . . . . . . . . . . . . . . . . . . . . . . . . . . . . . . . . . .
Módems de contestación automática 12–31
. . . . . . . . . . . . . . . . . . . . . . . . . . . . . . . . . . .
Módems de desconexión automática 12–32
. . . . . . . . . . . . . . . . . . . . . . . . . . . . . . . . . . .
Módems de discado automático 12–32
. . . . . . . . . . . . . . . . . . . . . . . . . . . . . . . . . . . . . . .
Módems con líneas arrendadas 12–32
. . . . . . . . . . . . . . . . . . . . . . . . . . . . . . . . . . . . . . .
Módems con discado DTR 12–32
. . . . . . . . . . . . . . . . . . . . . . . . . . . . . . . . . . . . . . . . . . . . . .
Módems controladores de línea (corto alcance) 12–33
. . . . . . . . . . . . . . . . . . . . . . . . . . . . .
Módems de radio 12–34
. . . . . . . . . . . . . . . . . . . . . . . . . . . . . . . . . . . . . . . . . . . . . . . . . . . . .
Módems de vínculo por satélite 12–35
. . . . . . . . . . . . . . . . . . . . . . . . . . . . . . . . . . . . . . . . . .
Operación de línea de control de módem en los procesadores SLC 5/03 y SLC 5/04 12–35
. . . .
Full–duplex DF1 12–35
. . . . . . . . . . . . . . . . . . . . . . . . . . . . . . . . . . . . . . . . . . . . . . . . . . . . .
Half–duplex DF1 12–36
. . . . . . . . . . . . . . . . . . . . . . . . . . . . . . . . . . . . . . . . . . . . . . . . . . . . .
Parámetros de retardo de transmisión RTS y retardo de desactivación RTS 12–37
. . . . . . . . . . .
Protocolo de comunicación ASCII 12–38
. . . . . . . . . . . . . . . . . . . . . . . . . . . . . . . . . . . . . . . . . . .
Configuración de parámetro de canal 0 ASCII 12–38
. . . . . . . . . . . . . . . . . . . . . . . . . . .
Cómo usar las características de transferencia 12–39
. . . . . . . . . . . . . . . . . . . . . . . . . . . . . . . . . .
Transferencia DH+ a DH-485 – (Todos los procesadores SLC 5/04) 12–39
. . . . . . . . . . . . .
Transferencia DF1 a DH+ – (Procesadores SLC 5/04 OS401 y posteriores) 12–39
. . . . . . .
Transferencia de E/S remota (Procesadores SLC 5/03 OS302 y SLC 5/04 OS401) 12–39
. .
Consideraciones cuando la transferencia DF1 a DH+ se habilita 12–40
. . . . . . . . . . . . . . . .
Cómo entrar en línea con un procesador SLC 5/04 usando el full–duplex DF1 12–40
. .
Cómo transmitir un mensaje usando el full–duplex DF1 hacia un procesador
SLC 5/04 con la transferencia DF1 a DH+ habilitada 12–40
. . . . . . . . . . . . . . . .
Cómo transmitir un mensaje usando el full–duplex DF1 desde un procesador
SLC 5/04 con la transferencia DF1 a DH+ habilitada 12–40
. . . . . . . . . . . . . . . .
Cómo comunicar desde un procesador SLC 5/04 usando
direccionamiento PLC-2 12–40
. . . . . . . . . . . . . . . . . . . . . . . . . . . . . . . . . . . . . . .
13 Cómo localizar y corregir fallos 13–1
. . . . . . . . . . . . . . . . . . . . . . . . . . . . . . . . . . . . . . . . . . .
Cómo borrar fallos automáticamente 13–1
. . . . . . . . . . . . . . . . . . . . . . . . . . . . . . . . . . . . . . . . . .
Procesadores SLC 13–1
. . . . . . . . . . . . . . . . . . . . . . . . . . . . . . . . . . . . . . . . . . . . . . . . . . . . .
Controladores MicroLogix 1000 13–2
. . . . . . . . . . . . . . . . . . . . . . . . . . . . . . . . . . . . . . . . . .
Cómo borrar fallos manualmente (procesadores SLC) 13–3
. . . . . . . . . . . . . . . . . . . . . . . . . . . . .
Cómo usar la rutina de fallo 13–3
. . . . . . . . . . . . . . . . . . . . . . . . . . . . . . . . . . . . . . . . . . . . . .
Mensajes de fallo 13–4
. . . . . . . . . . . . . . . . . . . . . . . . . . . . . . . . . . . . . . . . . . . . . . . . . . . . . . . . . .
Fallos del controlador MicroLogix 1000 13–5
. . . . . . . . . . . . . . . . . . . . . . . . . . . . . . . . . . . .
Errores de encendido 13–6
. . . . . . . . . . . . . . . . . . . . . . . . . . . . . . . . . . . . . . . . . . . . . . . .
Errores de ida a marcha 13–7
. . . . . . . . . . . . . . . . . . . . . . . . . . . . . . . . . . . . . . . . . . . . . .
Tabla de contenido
xvii
Errores de marcha 13–8
. . . . . . . . . . . . . . . . . . . . . . . . . . . . . . . . . . . . . . . . . . . . . . . . . .
Error de carga 13–10
. . . . . . . . . . . . . . . . . . . . . . . . . . . . . . . . . . . . . . . . . . . . . . . . . . . . .
Fallos del procesador SLC 13–11
. . . . . . . . . . . . . . . . . . . . . . . . . . . . . . . . . . . . . . . . . . . . . .
Errores de encendido 13–11
. . . . . . . . . . . . . . . . . . . . . . . . . . . . . . . . . . . . . . . . . . . . . . .
Errores de ida a marcha 13–12
. . . . . . . . . . . . . . . . . . . . . . . . . . . . . . . . . . . . . . . . . . . . . . . .
Errores de marcha 13–13
. . . . . . . . . . . . . . . . . . . . . . . . . . . . . . . . . . . . . . . . . . . . . . . . . . . .
Errores de instrucción de programa de usuario 13–17
. . . . . . . . . . . . . . . . . . . . . . . . . . . . . .
Cómo localizar y corregir fallos de los procesadores SLC 5/03 y SLC 5/04 13–23
. . . . . . . . . . .
Cómo encender la pantalla LED 13–23
. . . . . . . . . . . . . . . . . . . . . . . . . . . . . . . . . . . . . . . . .
Cómo identificar errores del procesador durante la descarga de un
sistema de operación 13–23
. . . . . . . . . . . . . . . . . . . . . . . . . . . . . . . . . . . . . . . . . . . . . . .
A Archivo de estado del controlador MicroLogix 1000 A–1
. . . . . . . . . . . . . . . . . . . . . . . .
Descripción general del archivo de estado A–2
. . . . . . . . . . . . . . . . . . . . . . . . . . . . . . . . . . . . . . .
Descripciones de archivo de estado A–3
. . . . . . . . . . . . . . . . . . . . . . . . . . . . . . . . . . . . . . . . . . . .
B Archivo de estado SLC B–1
. . . . . . . . . . . . . . . . . . . . . . . . . . . . . . . . . . . . . . . . . . . . . . . . . . .
Descripción general del archivo de estado B–2
. . . . . . . . . . . . . . . . . . . . . . . . . . . . . . . . . . . . . . .
Convenciones usadas en las pantallas B–5
. . . . . . . . . . . . . . . . . . . . . . . . . . . . . . . . . . . . . . .
C Uso de memoria y tiempos de ejecución de instrucción C–1
. . . . . . . . . . . . . . . . . . . . .
Tiempos de ejecución de instrucción y uso de memoria de instrucción C–2
. . . . . . . . . . . . . . . . .
Controladores MicroLogix 1000 C–2
. . . . . . . . . . . . . . . . . . . . . . . . . . . . . . . . . . . . . . . . . . .
Latencia de interrupción de usuario C–5
. . . . . . . . . . . . . . . . . . . . . . . . . . . . . . . . . . . . . . . . .
Cómo estimar el uso de memoria para el sistema de control MicroLogix 1000 C–6
. . . . . . .
Hoja de trabajo de tiempo de ejecución del controlador MicroLogix 1000 C–7
. . . . . . . . . .
Descripción general del uso de memoria para los procesadores SLC C–8
. . . . . . . . . . . . . . . . . .
Tiempos de ejecución de instrucción y uso de memoria de instrucción C–9
. . . . . . . . . . . . . . . . .
Procesadores fijos y SLC 5/01 C–9
. . . . . . . . . . . . . . . . . . . . . . . . . . . . . . . . . . . . . . . . . . . . .
Ejemplo C–11
. . . . . . . . . . . . . . . . . . . . . . . . . . . . . . . . . . . . . . . . . . . . . . . . . . . . . . . . . .
Cómo estimar el uso de memoria total del sistema usando un procesador
compacto o SLC 5/01 C–12
. . . . . . . . . . . . . . . . . . . . . . . . . . . . . . . . . . . . . . . . . . . . . . .
Continuación de procesadores fijos y SLC 5/01 C–13
. . . . . . . . . . . . . . . . . . . . . . . . . . .
Ejemplo C–13
. . . . . . . . . . . . . . . . . . . . . . . . . . . . . . . . . . . . . . . . . . . . . . . . . . . . . . . . . .
Continuación de procesadores fijos y SLC 5/01 C–14
. . . . . . . . . . . . . . . . . . . . . . . . . . .
Ejemplo C–14
. . . . . . . . . . . . . . . . . . . . . . . . . . . . . . . . . . . . . . . . . . . . . . . . . . . . . . . . . .
Procesador SLC 5/02 C–15
. . . . . . . . . . . . . . . . . . . . . . . . . . . . . . . . . . . . . . . . . . . . . . . . . . .
Ejemplo C–18
. . . . . . . . . . . . . . . . . . . . . . . . . . . . . . . . . . . . . . . . . . . . . . . . . . . . . . . . . .
Continuación de procesador SLC 5/02 C–19
. . . . . . . . . . . . . . . . . . . . . . . . . . . . . . . . . .
Cómo estimar el uso de memoria total del sistema usando un procesador
SLC 5/02 C–19
. . . . . . . . . . . . . . . . . . . . . . . . . . . . . . . . . . . . . . . . . . . . . . . . . . . . . . . . .
Continuación de procesador SLC 5/02 C–20
. . . . . . . . . . . . . . . . . . . . . . . . . . . . . . . . . .
Manual de referencia del juego de instrucción
xviii
Ejemplo C–20
. . . . . . . . . . . . . . . . . . . . . . . . . . . . . . . . . . . . . . . . . . . . . . . . . . . . . . . . . .
Continuación de procesador SLC 5/02 C–21
. . . . . . . . . . . . . . . . . . . . . . . . . . . . . . . . . .
Instrucciones que tienen direcciones indexadas C–21
. . . . . . . . . . . . . . . . . . . . . . . . . . . . . .
Instrucciones que tienen direcciones de archivo de datos M0 y M1 C–21
. . . . . . . . . . . . . . .
Ejemplo C–21
. . . . . . . . . . . . . . . . . . . . . . . . . . . . . . . . . . . . . . . . . . . . . . . . . . . . . . . . . .
Procesador SLC 5/03 C–22
. . . . . . . . . . . . . . . . . . . . . . . . . . . . . . . . . . . . . . . . . . . . . . . . . . .
Ejemplo C–27
. . . . . . . . . . . . . . . . . . . . . . . . . . . . . . . . . . . . . . . . . . . . . . . . . . . . . . . . . .
Tiempos de ejecución de punto (coma) flotante del procesador SLC 5/03 C–28
. . . . . . .
Continuación de procesador SLC 5/03 C–30
. . . . . . . . . . . . . . . . . . . . . . . . . . . . . . . . . .
Cálculo aproximado del uso de memoria del sistema usando un procesador
SLC 5/03 C–30
. . . . . . . . . . . . . . . . . . . . . . . . . . . . . . . . . . . . . . . . . . . . . . . . . . . . . . . . .
Continuación de procesador SLC 5/03 C–31
. . . . . . . . . . . . . . . . . . . . . . . . . . . . . . . . . .
Ejemplo C–31
. . . . . . . . . . . . . . . . . . . . . . . . . . . . . . . . . . . . . . . . . . . . . . . . . . . . . . . . . .
Continuación de procesador SLC 5/03 C–32
. . . . . . . . . . . . . . . . . . . . . . . . . . . . . . . . . .
Comparación de palabra de usuario entre el procesador SLC 5/03 ó
SLC 5/04 y el procesador SLC 5/02 C–32
. . . . . . . . . . . . . . . . . . . . . . . . . . . . . . . . . . . .
Palabras de instrucción C–32
. . . . . . . . . . . . . . . . . . . . . . . . . . . . . . . . . . . . . . . . . . . . . . .
Continuación de procesador SLC 5/03 C–33
. . . . . . . . . . . . . . . . . . . . . . . . . . . . . . . . . .
Palabras de datos – Archivos 0 y 1 C–33
. . . . . . . . . . . . . . . . . . . . . . . . . . . . . . . . . . . . .
Palabras de datos – Archivo 2 C–33
. . . . . . . . . . . . . . . . . . . . . . . . . . . . . . . . . . . . . . . . .
Palabras de datos – Archivo 3 a 255 C–33
. . . . . . . . . . . . . . . . . . . . . . . . . . . . . . . . . . . .
Continuación de procesador SLC 5/03 C–34
. . . . . . . . . . . . . . . . . . . . . . . . . . . . . . . . . .
Instrucciones con direcciones indexadas C–34
. . . . . . . . . . . . . . . . . . . . . . . . . . . . . . . . . . . .
Instrucciones con direcciones de archivo de datos M0 y M1 C–34
. . . . . . . . . . . . . . . . . . . .
Ejemplo C–34
. . . . . . . . . . . . . . . . . . . . . . . . . . . . . . . . . . . . . . . . . . . . . . . . . . . . . . . . . .
Procesador SLC 5/04 C–35
. . . . . . . . . . . . . . . . . . . . . . . . . . . . . . . . . . . . . . . . . . . . . . . . . . .
Ejemplo C–40
. . . . . . . . . . . . . . . . . . . . . . . . . . . . . . . . . . . . . . . . . . . . . . . . . . . . . . . . . .
Tiempos de ejecución de punto (coma) flotante del procesador SLC 5/04 C–41
. . . . . . .
Continuación de procesador SLC 5/04 C–43
. . . . . . . . . . . . . . . . . . . . . . . . . . . . . . . . . .
Cálculo aproximado del uso de memoria del sistema usando un
procesador SLC 5/04 C–43
. . . . . . . . . . . . . . . . . . . . . . . . . . . . . . . . . . . . . . . . . . . . . . .
SLC 5/04 Processor Continued C–44
. . . . . . . . . . . . . . . . . . . . . . . . . . . . . . . . . . . . . . . .
Instrucciones con direcciones indexadas C–44
. . . . . . . . . . . . . . . . . . . . . . . . . . . . . . . . . . . .
Instrucciones con direcciones de archivo de datos M0 y M1 C–44
. . . . . . . . . . . . . . . . . . . .
Ejemplo C–44
. . . . . . . . . . . . . . . . . . . . . . . . . . . . . . . . . . . . . . . . . . . . . . . . . . . . . . . . . .
Instrucciones con direcciones indirectas a nivel de palabra C–45
. . . . . . . . . . . . . . . . . . . . .
Ejemplos C–46
. . . . . . . . . . . . . . . . . . . . . . . . . . . . . . . . . . . . . . . . . . . . . . . . . . . . . . . . . .
Instrucciones con direcciones a nivel de bit C–47
. . . . . . . . . . . . . . . . . . . . . . . . . . . . . . . . .
Tiempos de ejecución de instrucción C–48
. . . . . . . . . . . . . . . . . . . . . . . . . . . . . . . . . . . .
Ejemplo C–48
. . . . . . . . . . . . . . . . . . . . . . . . . . . . . . . . . . . . . . . . . . . . . . . . . . . . . . . . . .
Tabla de contenido
xix
D Tiempo de escán estimado D–1
. . . . . . . . . . . . . . . . . . . . . . . . . . . . . . . . . . . . . . . . . . . . . . .
Ciclo de operación del procesador D–2
. . . . . . . . . . . . . . . . . . . . . . . . . . . . . . . . . . . . . . . . . . . . .
Tiempos de acceso para los datos M0/M1 D–3
. . . . . . . . . . . . . . . . . . . . . . . . . . . . . . . . . . . .
Latencia de interrupción D–4
. . . . . . . . . . . . . . . . . . . . . . . . . . . . . . . . . . . . . . . . . . . . . . . . . . . . .
Cómo calcular la latencia de interrupción para SLC 5/03 D–5
. . . . . . . . . . . . . . . . . . . . . . . .
Interrupción temporizada seleccionable D–5
. . . . . . . . . . . . . . . . . . . . . . . . . . . . . . . . . . . . .
Interrupción de entrada discreta D–5
. . . . . . . . . . . . . . . . . . . . . . . . . . . . . . . . . . . . . . . . . . . .
Interrupción de evento de E/S D–5
. . . . . . . . . . . . . . . . . . . . . . . . . . . . . . . . . . . . . . . . . . . . .
Cómo calcular la latencia de interrupción para SLC 5/04 D–6
. . . . . . . . . . . . . . . . . . . . . . . .
Interrupción temporizada seleccionable D–6
. . . . . . . . . . . . . . . . . . . . . . . . . . . . . . . . . . . . .
Interrupción de entrada discreta D–6
. . . . . . . . . . . . . . . . . . . . . . . . . . . . . . . . . . . . . . . . . . . .
Interrupción de evento de E/S D–6
. . . . . . . . . . . . . . . . . . . . . . . . . . . . . . . . . . . . . . . . . . . . .
Ejemplo – Interrupción temporizada seleccionable del procesador SLC 5/03 D–7
. . . . . . . .
Ejemplo – Interrupción temporizada seleccionable del procesador SLC 5/04 D–7
. . . . . . . .
Hojas de trabajo de tiempo de escán D–8
. . . . . . . . . . . . . . . . . . . . . . . . . . . . . . . . . . . . . . . . . . . .
Definición de terminología de la hoja de trabajo D–8
. . . . . . . . . . . . . . . . . . . . . . . . . . . . . . .
Hoja de trabajo A – Cómo estimar el tiempo de escán del controlador fijo D–9
. . . . . . . . . .
Hoja de trabajo B – Cómo estimar el tiempo de escán del procesador 1747-L511 ó
1747-l514 D–11
. . . . . . . . . . . . . . . . . . . . . . . . . . . . . . . . . . . . . . . . . . . . . . . . . . . . . . . .
Hoja de trabajo C – Cómo estimar el tiempo de escán del procesador 1747-L524 D–13
. . . .
Hoja de trabajo D – Cómo calcular el tiempo de escán del procesador 1747-L532 D–16
. . .
Hoja de trabajo E – Cómo calcular el tiempo de escán del procesador 1747-L542 D–19
Procesador SLC 5/03 D–22
. . . . . . . . . . . . . . . . . . . . . . . . . . . . . . . . . . . . . . . . . . . . . . . .
Procesador SLC 5/04 D–23
. . . . . . . . . . . . . . . . . . . . . . . . . . . . . . . . . . . . . . . . . . . . . . . .
Ejemplo de cálculo de tiempo de escán D–24
. . . . . . . . . . . . . . . . . . . . . . . . . . . . . . . . . . . . . . . .
Ejemplo: Hoja de trabajo B – Cómo calcular el tiempo de escán de una aplicación
del procesador 1747-L511 ó 1747-L514 D–26
. . . . . . . . . . . . . . . . . . . . . . . . . . . . . . . .
Continúa en la página siguiente D–26
. . . . . . . . . . . . . . . . . . . . . . . . . . . . . . . . . . . . . . . .
E Referencias de instrucciones de programación E–1
. . . . . . . . . . . . . . . . . . . . . . . . . . . . .
Modos de direccionamiento válidos y tipos de archivo E–2
. . . . . . . . . . . . . . . . . . . . . . . . . . . . .
Cómo comprender los modos de direccionamientos diferentes E–3
. . . . . . . . . . . . . . . . . . .
Direccionamiento directo E–3
. . . . . . . . . . . . . . . . . . . . . . . . . . . . . . . . . . . . . . . . . . . . . .
Direccionamiento indexado E–3
. . . . . . . . . . . . . . . . . . . . . . . . . . . . . . . . . . . . . . . . . . . .
Direccionamiento indirecto E–3
. . . . . . . . . . . . . . . . . . . . . . . . . . . . . . . . . . . . . . . . . . . .
Direccionamiento indirecto indexado E–3
. . . . . . . . . . . . . . . . . . . . . . . . . . . . . . . . . . . .
F Organización y direccionamento del archivo de datos F–1
. . . . . . . . . . . . . . . . . . . . . .
Descripción de la organización del archivo F–2
. . . . . . . . . . . . . . . . . . . . . . . . . . . . . . . . . . . . . .
Descripción general del archivo de procesador F–2
. . . . . . . . . . . . . . . . . . . . . . . . . . . . . . . .
Archivos de programa F–3
. . . . . . . . . . . . . . . . . . . . . . . . . . . . . . . . . . . . . . . . . . . . . . . .
Archivos de datos F–3
. . . . . . . . . . . . . . . . . . . . . . . . . . . . . . . . . . . . . . . . . . . . . . . . . . . .
Manual de referencia del juego de instrucción
xx
Acceso y almacenamiento de los archivos de procesador F–4
. . . . . . . . . . . . . . . . . . . . . . . . . . .
Descarga F–5
. . . . . . . . . . . . . . . . . . . . . . . . . . . . . . . . . . . . . . . . . . . . . . . . . . . . . . . . . . . . . .
Operación normal F–6
. . . . . . . . . . . . . . . . . . . . . . . . . . . . . . . . . . . . . . . . . . . . . . . . . . . . . . .
Apagado F–6
. . . . . . . . . . . . . . . . . . . . . . . . . . . . . . . . . . . . . . . . . . . . . . . . . . . . . . . . . . . . . .
Encendido F–7
. . . . . . . . . . . . . . . . . . . . . . . . . . . . . . . . . . . . . . . . . . . . . . . . . . . . . . . . . . . .
Cómo direccionar los archivos de datos F–8
. . . . . . . . . . . . . . . . . . . . . . . . . . . . . . . . . . . . . . . . .
Cómo especificar direcciones lógicas F–8
. . . . . . . . . . . . . . . . . . . . . . . . . . . . . . . . . . . . . . .
Direccionamiento de E/S para un controlador de E/S fijo F–10
. . . . . . . . . . . . . . . . . . . .
Direccionamiento de E/S para un controlador modular F–12
. . . . . . . . . . . . . . . . . . . . . .
Cómo especificar direcciones indexadas F–13
. . . . . . . . . . . . . . . . . . . . . . . . . . . . . . . . . . . .
Ejemplo de direccionamiento indexado F–13
. . . . . . . . . . . . . . . . . . . . . . . . . . . . . . . . . .
Cómo crear datos para direcciones indexadas F–14
. . . . . . . . . . . . . . . . . . . . . . . . . . . . .
Intersección de los límites de archivo F–14
. . . . . . . . . . . . . . . . . . . . . . . . . . . . . . . . . . .
Ejemplo F–15
. . . . . . . . . . . . . . . . . . . . . . . . . . . . . . . . . . . . . . . . . . . . . . . . . . . . . . . . . .
Cómo monitorizar las direcciones indexadas F–15
. . . . . . . . . . . . . . . . . . . . . . . . . . . . . . . .
Ejemplo F–16
. . . . . . . . . . . . . . . . . . . . . . . . . . . . . . . . . . . . . . . . . . . . . . . . . . . . . . . . . .
Instrucciones de archivo F–16
. . . . . . . . . . . . . . . . . . . . . . . . . . . . . . . . . . . . . . . . . . . . . .
Efectos de interrupciones de programa en el registro de índice S:24 F–16
. . . . . . . . . . .
Cómo especificar una dirección indirecta F–17
. . . . . . . . . . . . . . . . . . . . . . . . . . . . . . . . . . .
Ejemplos F–17
. . . . . . . . . . . . . . . . . . . . . . . . . . . . . . . . . . . . . . . . . . . . . . . . . . . . . . . . . .
Cómo crear datos para direcciones indirectas F–18
. . . . . . . . . . . . . . . . . . . . . . . . . . . . .
Intersección de los límites de archivo F–18
. . . . . . . . . . . . . . . . . . . . . . . . . . . . . . . . . . .
Cómo monitorizar las direcciones indirectas F–18
. . . . . . . . . . . . . . . . . . . . . . . . . . . . . .
Instrucciones de archivo de direccionamiento – Cómo usar el indicador
de archivo (#) F–19
. . . . . . . . . . . . . . . . . . . . . . . . . . . . . . . . . . . . . . . . . . . . . . . . . . . . .
Instrucciones de desplazamiento de bit F–19
. . . . . . . . . . . . . . . . . . . . . . . . . . . . . . . . . .
Instrucciones de secuenciador F–20
. . . . . . . . . . . . . . . . . . . . . . . . . . . . . . . . . . . . . . . . .
Instrucciones de copiar archivo y llenar archivo F–21
. . . . . . . . . . . . . . . . . . . . . . . . . . .
Constantes numéricas F–22
. . . . . . . . . . . . . . . . . . . . . . . . . . . . . . . . . . . . . . . . . . . . . . . . . . .
Archivos de datos M0 y M1 – Módulos de E/S especiales F–23
. . . . . . . . . . . . . . . . . . . . . . . . . .
Cómo direccionar los archivos M0–M1 F–23
. . . . . . . . . . . . . . . . . . . . . . . . . . . . . . . . . . . .
Restricciones relativas al uso de las direcciones de archvivo de datos M0-M1 F–23
. . . . . .
Cómo monitorizar direcciones de bit F–24
. . . . . . . . . . . . . . . . . . . . . . . . . . . . . . . . . . . . . . .
Procesadores SLC 5/02, SLC 5/03 y SLC 5/04 con la monitorización de
M0 y M1 inhabilitada F–24
. . . . . . . . . . . . . . . . . . . . . . . . . . . . . . . . . . . . . . . . . .
Procesadores SLC 5/03 y SLC 5/04 con la monitorización de
M0 y M1 habilitada F–24
. . . . . . . . . . . . . . . . . . . . . . . . . . . . . . . . . . . . . . . . . . .
Cómo transferir datos entre los archivos de procesador y archivos M0 ó M1 F–25
. . . . . . .
Tiempo de acceso F–26
. . . . . . . . . . . . . . . . . . . . . . . . . . . . . . . . . . . . . . . . . . . . . . . . . . . . . .
Cómo minimizar el tiempo de escán F–26
. . . . . . . . . . . . . . . . . . . . . . . . . . . . . . . . . . . . . . .
Cómo capturar los datos de archivo M0–M1 F–27
. . . . . . . . . . . . . . . . . . . . . . . . . . . . . . . . .
Tabla de contenido
xxi
Módulos de E/S especiales con memoria retentiva F–28
. . . . . . . . . . . . . . . . . . . . . . . . . . . .
Archivos de datos G – Módulos de E/S especiales F–29
. . . . . . . . . . . . . . . . . . . . . . . . . . . . . . . .
Cómo editar los datos de archivo G F–30
. . . . . . . . . . . . . . . . . . . . . . . . . . . . . . . . . . . . . . . .
G Sistemas numéricos G–1
. . . . . . . . . . . . . . . . . . . . . . . . . . . . . . . . . . . . . . . . . . . . . . . . . . . . . .
Números binarios G–2
. . . . . . . . . . . . . . . . . . . . . . . . . . . . . . . . . . . . . . . . . . . . . . . . . . . . . . . . . .
Valores decimales positivos G–2
. . . . . . . . . . . . . . . . . . . . . . . . . . . . . . . . . . . . . . . . . . . . . . .
Valores decimales negativos G–3
. . . . . . . . . . . . . . . . . . . . . . . . . . . . . . . . . . . . . . . . . . . . . .
Números hexadecimales G–5
. . . . . . . . . . . . . . . . . . . . . . . . . . . . . . . . . . . . . . . . . . . . . . . . . . . . .
Ejemplo G–5
. . . . . . . . . . . . . . . . . . . . . . . . . . . . . . . . . . . . . . . . . . . . . . . . . . . . . . . . . . .
Ejemplo G–6
. . . . . . . . . . . . . . . . . . . . . . . . . . . . . . . . . . . . . . . . . . . . . . . . . . . . . . . . . . .
Máscara hexadecimal G–7
. . . . . . . . . . . . . . . . . . . . . . . . . . . . . . . . . . . . . . . . . . . . . . . . . . . . . . .
Aritmética de punto (coma) flotante binario G–8
. . . . . . . . . . . . . . . . . . . . . . . . . . . . . . . . . . . . . .
H Programas de ejemplo de aplicación H–1
. . . . . . . . . . . . . . . . . . . . . . . . . . . . . . . . . . . . . .
Ejemplo de aplicación de la perforadora de papel H–2
. . . . . . . . . . . . . . . . . . . . . . . . . . . . . . . . .
Descripción general de la operación de la perforadora de papel H–3
. . . . . . . . . . . . . . . . . . . . . .
Operación del mecanismo del taladro H–3
. . . . . . . . . . . . . . . . . . . . . . . . . . . . . . . . . . . . . . .
Operación del transportador H–3
. . . . . . . . . . . . . . . . . . . . . . . . . . . . . . . . . . . . . . . . . . . . . . .
Cálculo y advertencia de la broca H–4
. . . . . . . . . . . . . . . . . . . . . . . . . . . . . . . . . . . . . . . . . .
Programa de escalera de la perforadora de papel H–5
. . . . . . . . . . . . . . . . . . . . . . . . . . . . . . . . . .
Ejemplo de aplicación del secuenciador activado por tiempo H–20
. . . . . . . . . . . . . . . . . . . . . . .
Programa de escalera de secuenciador activado por tiempo H–21
. . . . . . . . . . . . . . . . . . . . . . . . .
Ejemplo de aplicación del secuenciador activado por evento H–23
. . . . . . . . . . . . . . . . . . . . . . . .
Programa de escalera de secuenciador activado por eventos H–24
. . . . . . . . . . . . . . . . . . . . . . . .
Ejemplo de aplicación de activación/desactivación del circuito H–26
. . . . . . . . . . . . . . . . . . . . . .
Programa de escalera de activación/desactivación del circuito H–27
. . . . . . . . . . . . . . . . . . . . . .
Manual de referencia del juego de instrucción
xxii
Prefacio
P-1
Prefacio
Lea este prefacio para familiarizarse con el resto del manual. Proporciona
información acerca de:
• quién debe usar este manual
• el propósito de este manual
• las convenciones usadas en este manual
Juego de instrucciones del manual de referencia
P-2
Quién debe usar este manual
Use este manual si es responsable del diseño, instalación, programación o
localización y corrección de fallos los sistemas de control que emplean los pequeños
controladores de lógica de Allen-Bradley.
Debe poseer un entendimiento básico de los productos SLC 500t. Si no lo tiene,
póngase en contacto con su representante local Allen-Bradley para obtener la
instrucción técnica correcta antes de usar este producto.
Propósito de este manual
Este manual constituye una guía de referencia de los procesadores SLC 500 y los
controladores MicoLogix 1000. Este manual:
• proporciona el archivo de estado
• proporciona las instrucciones usadas en sus programas de lógica de escalera
• suplementa la ayuda en línea disponible en el terminal
Prefacio
P-3
Contenido de este manual
     
)!
*)! # ')'5*!+ !*+)! 0 #%  *+
$%,# $!3% !% # ),'  #+)* ')
(,  *! ) # $%,#
 %*+),!%* 2*!*
*)! 5$ ,*) #* !%*+),!%*  #5! 
*#) ') ,%!%*  )$'#1  )#3*
%+ 0 +$')!1!5%

%*+),!%* 
$')!5%
*)! #* !%*+),!%*  $')!5% #*
,#* # ')$!+% $')) #* -#)*  +*
 %*+),!%* $+$2+!*
*)! #* !%*+),!%* $+$2+!* (, #
')$!+% )#!1) ')!%*  2#,# 0
$+$2+!* % '#)* !%!-!,#*

%*+),!%*  $% 
+*
*)! 5$ )#!1) #* !%*+),!%*  $%
 +* !%#,0% #* !%*+),!%*  $-) 0
#5!*  !%*+),!%*  0 
%*+),!%*  #, 
'))$
*)! #* !%*+),!%*  #5!  *#)
(, +% # #, 0 ,!5% # '))$
%*+),!%*  '#!!5%
*'4!
*)! #* !%*+),!%* *!* % #
*'#1$!%+  !+ *,%!) 0 
5$ ,*) #* !%*+),!%*
# %+)  #+
-#!
*)! #* ,+) $*  # !%*+),!5%  #+
-#! 0 *,* !%*+),!%* *!*
%*+),!%* 
$,%!!5%
*)! # !%*+),!5%  $,%!!5% 
$%* *)-!! 0 *,* ')2$+)* *!*
%*+),!5% 
*)! # %'+ ,!5% ')2$+)*
*!* 0 )$+ # #(,  %+)# ') #*
')*)*     0 

 %*+),!%*  *)! #* !%*+),!%*  0 *,* ,**

*)!'!5%  #* ),+!%* 
!%+)),'!5%
*)! #* !%+)),'!%* +$')!1*
*#!%#* # !%+)),'!5%  %+) !*)+
 !%+)),'!%*   0 *,* ')2$+)*
*!*

*)!'!5%  #* ')+#*
 $,%!!5%
/'#! #* +!'* !)%+*  ')+#* 
$,%!!5% ,** % #* ')*)* 


#!1!5% 0 ))!5% 
##*
/'#! 5$ # !%+)')+) 0 ))!) ')#$*
% # *+.) 0 ')*)
Preface
Juego de instrucciones del manual de referencia
P-4
Capítulo Título Contenido
0$ 
' +%  ()% 
%$)'%%'  '%% , 
('  %( %( #-%'( - #$%'( $%'# 1$
 $1()  #%%(  '%(%' ) #%( 
(/$ +% (  * %( -  ' %$( 
$%%  ( ()# ' %( %$)'%%'(  '%% ,

0$  ' +%  ()% 
('  %( %( #-%'( - #$%'( $%'# 1$
 $1()  #%%(  '%(%' ) #%( 
(/$ )((  * % -  ' %$(  $%% 
( ()# ' %( '%(%'(  
0$ 
 #%(  !* 1$ 
$()'* %$( - *(% 
##%' 
'%%' %$     ##%'   *(*' % -
) #%(  !* 1$  $()'* 1$ # 0$
('  1#% () #'  *(% )%)  ##%'  
*$ ( ()#
0$ 
1#% *'  ) #% 
(/$
'%%' %$ )$   $)''* 1$ $%'# 1$
 ) #%  (%  - %!(  /*%
' () #' %( ) #%(  (/$
0$ 
'$ (  $()'* 1$ 
'%'# 1$
'%%' %$ *$  ()  $()'* %$( %$ (*(
'/#)'%( - ) %(  ' +% +/ %(
0$  
'$ . 1$ -
 ' %$# $)%  ' +%
 )%(
'%%' %$ )( '  ' +%(  )%(
'$% %( %'#)%(  ' +% - 1#% '' -
 # $' )%(
0$    ()#( $*#0' %(
('  %( ( ()#(  $*#' 1$ , #
 $'  -  # #/(  %'#)%  *$)%
%# %)$)
0$  
'%'#(  !#% 
  1$
'%%' %$ !#%(    %$( +$.(
' $()'* %$(  %$)%'  ) +% 
(*$ %' - (.# $)%   )
Prefacio
P-5
Documentación asociada
Los documentos siguientes contienen información adicional acerca de los productos
SLC de Allen-Bradley. Para obtener un ejemplar, póngase en contacto con su
oficina o distribuidor local de Allen-Bradley.
Para obtener Lea este documento
Una descripción general de la familia de productos SLC
500
Descripción general del sistema SLC 500
Una presentación de APS para los usuarios
principiantes, la cual contiene conceptos básicos con un
enfoque en tareas y ejercicios sencillos, y que permite al
lector comenzar a programar casi inmediatamente.
Comienzo rápido de APS para usuarios
principiantes
Una manual de procedimientos y referencia para el
personal técnico que usa la utilidad de importación/
exportación APS para convertir los archivos APS a
ASCII y, a su vez, de ASCII a archivos APS
Manual de usuario de
importación/exportación APS
Una guía de instrucción técnica y referencia rápida de
APS
Guía de referencia rápida del programaĆ dor
de software SLC 500, no. de publicación
ABTĆ1747ĆTSJ50ESĊ disponible en
PASSPORT al precio de US$50.00
Una guía de procedimientos comunes usadas en APS
Guía de procedimientos comunes del
software SLC 500, no. de publicación
ABTĆ1747ĆTSJ50ESĊdisponible en
PASSPORT al precio de $50.00
Un manual de procedimientos para el personal técnico
que usa APS para desarrollar aplicaciones de control
Manual del usuario del software de
programación avanzada (APS) de Rockwell
Una descripción de cómo instalar y usar su controlador
programable SLC 500 
Manual de instalación y operación para
controladores programables de tipo con
hardware fijo, no. de catálogo 1747ĆNM001
Una descripción de cómo instalar y usar su controlador
programable SLC 500   
Manual de instalación y operación para
controladores programables de tipo con
hardware modular, no. de publicación
1747Ć6.2ES
Una descripción de cómo instalar y usar sus controladores
MicroLogix 1000. Este manual también contiene datos de
archivo de estado e información del juego de instrucciones
para los microcontroladores
Manual del usuario de controladores
MicroLogix 1000, no. de publicación
1761Ć6.3ES
Una lista completa de documentación actual de
AllenĆBradley, incluyendo instrucciones de pedido.
También indica la disponibilidad de los documentos en
CDĆROM o multilingües
AllenĆBradley Publication Index, no. de
publicación SD499
Un glosario de términos y abreviaturas de la
automatización industrial
Glosario de automatización industrial
AllenĆBradley, no. de publicación AGĆ7.1ES
Preface
Juego de instrucciones del manual de referencia
P-6
Técnicas comunes usadas en este manual
Las convenciones siguientes se usan en todo este manual:
• Las listas con viñetas proporcionan información, no pasos de procedimento.
• Las listas numeradas proporcionan pasos secuenciales o información de
jerarquía.
• El texto que aperece en estos caracteres indica palabras o frases que
usted debe escribir.
• El texto itálico se usa para destacar.
• Los nombres de las teclas corresponden a los nombres indicados y aparecen en
letras negritas y mayúsculas dentro de corchetes (por ejemplo, [ENTER]). Un
icono de la tecla de función corresponde a el nombre de la tecla de función que
debe presionar, tal como
CONFIG
OFFLINE
CONFIG
SAVE 
EXIT
F8
.
La tabla siguiente resume las convenciones usadas para diferenciar entre las
posiciones del interruptor de llave SLC 5/03 y SLC 5/40, los modos del procesador
y la presentación en pantalla real en la línea de estado de APS.
Referencias de la posición
del interruptor de llave
Referencias al modo de
procesador
Referencias a la línea de
estado
Instrucciones básicas
1–1
1 Instrucciones básicas
Este capítulo contiene información general acerca de las instrucciones generales y
explica cómo funcionan en su programa de aplicación. Cada una de estas
instrucciones básicas incluye información acerca de:
• cómo aparecen los símbolos de instrucción
• cómo usar la instrucción
Además, la última sección contiene un ejemplo de aplicación para una perforadora
de papel que muestra las instrucciones básicas en uso.
Instrucciones de bit
Instrucción
Propósito Página
Mnemónico Nombre
Propósito Página
XIC               !   1-9
XIO               !    1-9
OTE             1-10
OTL y
OTU
     
     
 
         !    
              ! 
              
         !     
             !  
              !
  
1-11
OSR     #

         1-12
Preface
Manual de referencia del juego de instrucciones
1–2
Instrucciones del temporizador/contador
Instrucción
Propósito Página
Mnemónico Nombre
Propósito Página
TON ! 
 #
          
  #    
1-18
TOF ! 
  #
          
  #    
1-19
RTO !  $

          
  #        $
      #        
       #   
1-21
CTU             #
          
    #          
     #   
1-26
CTD             # 
         
    #          
     #   
1-28
HSC    
  
         
          
1-29
RES               
  !       
!  
1-34
Acerca de las instrucciones básicas
Estas instrucciones, cuando se usan en programas de escalera, representan circuitos
de lógica cableados usados para el control de una máquina o equipo.
Las instrucciones básicas se dividen en tres grupos: bit, temporizador y contador.
Antes de aprender acerca de las instrucciones en cada uno de estos grupos, le
recomendamos que lea la descripción general que precede dicho grupo:
• Descripción general de las instrucciones de bit
• Descripción general de las instrucciones de temporizador
• Descripción general de las instrucciones de contador
Instrucciones básicas
1–3
Descripción general de las instrucciones de bit
Estas instrucciones operan en un solo bit de datos. Durante la operación, el
procesador puede establecer o restablecer el bit, según la continuidad lógica de los
renglones de escalera. Puede direccionar un bit tantas veces como requiera su
programa.
Nota No se recomienda usar la misma dirección con instrucciones de salida múltiples.
Las instrucciones de bit se usan con los archivos de datos siguientes:
Archivos de datos de salida y entrada (archivos O:0 e I:1)
Estos representan salidas y entradas externas. Los bits en archivo 1 se usan para
representar las entradas externas. En la mayoría de los casos, una sola palabra de 16
bits en estos archivos corresponderá a una ubicación de ranura en su controlador con
los números de bit correspondientes a números de terminal de entrada o salida. Los
bits de la palabra no usados no están disponibles para su uso.
La tabla a continuación explica el formato de direccionamiento para salidas y
entradas. Anote que el formato especifica e como el número de ranura y s como el
número de palabra. Cuando trabaje con instrucciones de archivo, haga referencia al
elemento como e.s (ranura y palabra) tomados juntos.
Formato Explicación
O 
I  $
: !$   !
O:e.s/b e
.$! 
 $ '$

 '$  )    '    - ,$ 
 $$ %% %   -'!  $!%!$ %
$ '$% !%$!$% %! $ '$%   '$% % 
% ' +(!  
I:e.s/b .
!$  $ #'$! %-! % % %$! ' .$!  $
%. !  !  !  '- 
s
.$! 
$
#'$! %  .$!   $% ! %% ( 
$  $ '$  ! /  $ !  *$%
%%  $% .%
/ !$  
b
.$! 
$ 
 $% / 
% /
Preface
Manual de referencia del juego de instrucciones
1–4
Ejemplos (aplicables al controlador ilustrado en página FĆ12):
O:3/15 Salida 15, ranura 3
O:5/0 Salida 0, ranura 5
O:10/11 Salida 11, ranura 10
I:7/8 Entrada 8, ranura 7
I:2.1/3 Entrada 3, ranura 2, palabra 1
Direcciones de palabra:
O:5 Palabra de salida 0, ranura 5
O:5.1 Palabra de salida 1, ranura 5
I:8 Palabra de entrada, ranura 8
Valores predeterminados: Su dispositivo de programación mostrará una dirección de una
manera más formal. Por ejemplo, cuando asigna la dirección O:5/0, el dispositivo de
programación la mostrará como O:5.0/0 (archivo de salida, ranura 5, palabra 0, terminal 0).
Archivo de estado (archivo S2:)
No puede añadir ni eliminar elementos del archivo de estado. El archivo de estado
del controlador MicroLogix 1000 se explica en apéndice A y el archivo de estado
del procesador SLC 500 se explica en apéndice B. Puede direccionar varios bits y
palabras según lo siguiente:
Formato Explicación
S Archivo de estado
: Delimitador de elemento
S:e/b e Número de
elemento
Rangos de 0Ć15 en un controlador fijo o SLC 5/01, 0Ć32 en un
procesador SLC 5/02, 0Ć83 en un SLC 5/03 OS300, 0-96 en
un SLC 5/03 OS301 y posterior y 5/04 OS400 y 0Ć164 en un
SLC 5/04. Estos son elementos de 1 palabra. 16 bits por
cada elemento
/ Delimitador de bit
b Número de
bit
Ubicación del bit dentro del elemento. Rangos de 0Ć15.
Ejemplos:
S:1/15 Elemento 1, bit 15. Este es el bit de primer paso que puede
usar para iniciar instrucciones en su programa.
S:3 Elemento 3. El byte inferior de este elemento es el tiempo de
escán actual. El byte superior es el tiempo de escán de control
(watchdog).
Instrucciones básicas
1–5
Archivo de datos de bit (B3:)
El archivo 3 constituye el archivo de bit, usado principalmente para instrucciones de
bit (lógica de relé), registros de desplazamiento y secuenciadores. El tamaño
máximo del archivo es 256 elementos de 1 palabra, un total de 4096 bits. Puede
direccionar los bits especificando el número de elemento (0 a 255) y el número de
bit (0 a 15) dentro del elemento. También puede direccionar los bits numerándolos
secuencialmente, 0 a 4095.
Además, puede direccionar los elementos de este archivo.
Formato Explicación Ejemplos
B !%  #  #
Bf:e/b f
(!  !% (!    !%
!#!  (!  !% #!
)  $ $!   ! $!
# 
B3:3/14
#  # 
: #!  #
e
(! 
#
  ) # 
#   !  #
!  #
B3:252/00
#  # 
/ #!  #
b
(! 
#
'  # #! 
#   )
B3:9
# ) #
Formato Explicación Ejemplos
Bf/b
B
f
/
#   #!!
#   #!!
#   #!!
B3/62
# 
b
(! 
#
' $!  # #!
 !%   ) 
B3/4032
# 
Archivos de datos de temporizador y contador (T4: y C5:)
Vea las páginas 1–16 y 1–24 respectivamente para obtener los formatos de
direccionamiento.
Preface
Manual de referencia del juego de instrucciones
1–6
Archivo de datos de control (R6:)
Estas instrucciones usan varios bits de control. Estos son elementos de 3 palabras
usados con desplazamiento de bit, FIFO, LIFO, instrucciones de secuenciador e
instrucciones ASCII ABL, ACB, AHL, ARD, ARL, AWA y AWT. La palabra 0 es
la palabra de estado, la palabra 1 indica la longitud de datos almacenados y la
palabra 2 indica la posición. Esto se muestra en la figura siguiente.
En el elemento de control hay ocho bits de estado y un byte de código de error. Un
controlador fijo y un elemento de control SLC 5/01 tienen seis bits. Los bits EU y
EM no son usados por el procesador.











0
1
2
Pal.
/.)+45 ' #22'),/ ' $+4 / #2%*+6/ 
.+%#/2 ' $+4 / 0/3+%+:. 
Elemento de control
Bits direccionables Palabras direccionables
  #$+,+4#%+:.
  #$+,+4#%+:. ' '3%#2)#
  ('%45#/
  /.)+45
  /3+%+:.
   :+)/ ' '22/2
  
  +,# 6#%9#
 
  22/2
  '3%#2)# '30,#8#-+'.4/ ' $+4 3/,#-'.4'
  .*+$+%+:.
  .%/.42#/  3/,#-'.4'
34' '3 ', $+4 ' -#2%*# ! $+4  0#2# +.3425%%+/.'3 
, %:+)/ ' '22/2 3' -5'342# '.  7 ./
'3 +2'%%+/.#$,'
Asigne direcciones de control según lo siguiente:
Formato Explicación
R 2%*+6/ ' %/.42/,
Rf:e f
;-'2/ ' #2%*+6/ ;-'2/ '3 ', #2%*+6/ 02''4'2-+.#/ ' 05'' 53#2
5. .;-'2/ ' #2%*+6/ '.42'  3' 05'' 53#2 3+ 3' 2'15+'2'
#,-#%'.#-+'.4/ #+%+/.#,
: ',+-+4#/2 ' ','-'.4/
e
;-'2/ '
','-'.4/
#.)/3 '   34/3 3/. ','-'.4/3 '  0#,#$2#3 '#
,# (+)52# #.4'2+/2
Instrucciones básicas
1–7
Ejemplo: R6:2       
             
Rf:e.s/b  Rf:e    
.        
s    
/      
b   
R6:2/15 ! R6:2/EN    !
R6:2/14 ! R6:2/EU     !   
R6:2/13 ! R6:2/DN     
R6:2/12 ! R6:2/EM    
R6:2/11 ! R6:2/ER   
R6:2/10 ! R6:2/UL    
R6:2/9 ! R6:2/IN     !
R6:2/8 ! R6:2/FD     
R6:2.1 ! R6:2.LEN   
R6:2.2 ! R6:2.POS    !
R6:2.1/0       
R6:2.2/0      
Archivo de datos enteros (N7:)
Use estas direcciones (al nivel de bit) según las requiera su programa. Estos son
elementos de 1 palabra direccionables al nivel de elemento y bit.
Preface
Manual de referencia del juego de instrucciones
1–8
Asigne las direcciones de enteros según lo siguiente:
Formato Explicación
N   $#
Nf:e/b
f
(   ( #   $  ( 
 $ ) # % %# # # !% $ 
: $  $
e
( 
$
#  )  #$# # $#     $#
  $
/ $  $
b
( 
$
'  $ $  $ #  ) 
Ejemplos:
N7:2 $    $#
N7:2/8 $  $    $#
N10:36 $     $#    # 
%   $#   %#%
Instrucciones básicas
1–9
Examine si cerrado (XIC)
Use la instrucción XIC en su programa de escalera para determinar si un bit está
activado. Cuando la instrucción se ejecuta, si la dirección de bit está activada (1),
entonces la instrucción es evaluada como verdadera. Cuando la instrucción se
ejecuta, si el bit direccionado está desactivado (0), entonces la instrucción evaluada
como falsa.
Estado de dirección de bit Instrucción XIC
  
   
Ejemplos de dispositivos que se activan o desactivan incluyen:
• un botón pulsador cableado a una entrada (direccionado como I:0/4)
• una salida cableada a una luz piloto (direccionada como O:0/2)
• un temporizador que controla una luz (direccionado como T4:3/DN)
Examine si abierto (XIO)
Use una instrucción XIO en su programa de escalera para determinar si un bit está
desactivado. Cuando la instrucción se ejecuta, si el bit direccionado está
desactivado (0), entonces la instrucción es evaluada como verdadera. Cuando la
instrucción se ejecuta, si el bit direccionado está activado (1), entonces la
instrucción es evaluada como falsa.
Estado de dirección de bit Instrucción XIO
   
  
Ejemplos de dispositivos que se activan o desactivan incluyen:
• sobrecarga del motor normalmente cerrada (N.C.) cableada a una entrada
(I:O/10)
• una salida cableada a una luz piloto (direccionada como O:0/4)
• un temporizador que controla una luz (direccionado como T4:3/DN)
3
3 3
3
3
3
] [
      
3
3 3
3
3
3
]/[
Manual de referencia del juego de instrucciones
1–10
Active la salida (OTE)
Use una instrucción OTE en su programa de escalera para activar/desactivar un bit
cuando las condiciones de renglón son evaluada como verdaderas/falsas
respectivamente.
Un ejemplo de un dispositivo que se activa y desactiva es una salida cableada a una
luz piloto (direccionada como O:0/4).
Las instrucciones OTE se restablecen cuando:
• Entra o regresa al modo de marcha REM o prueba REM o cuando se restaura la
alimentación eléctrica.
• El OTE se programa dentro de una zona de restablecimiento de control maestro
(MCR) inactiva o falsa.
Nota Un bit que está establecido dentro de una subrutina usando una instrucción OTE
permanece establecido hasta que la subrutina se escanee nuevamente.
3
3 3
3
3
3
( )
Instrucciones básicas
1–11
Enclavamiento de salida (OTL) y
desenclavamiento de salida (OTU)
OTL y OTU son instrucciones de salida retentivas. OTL sólo puede activar un bit,
en cambio, OTU sólo puede desactivar un bit. Estas instrucciones se usan
generalmente en parejas, con ambas instrucciones direccionando el mismo bit.
Su programa puede examinar un bit controlador por instrucciones OTL y OTU
tantas veces como sea necesariol.
Bajo las condiciones de error irrecuperable, las salidas físicas se desactivan.
Una vez corregidas las condiciones de error, el controlador reanuda la
operación usando el valor de la tabla de datos de la operación.
Cómo usar OTL
Cuando asigna una dirección a la instrucción OTL que corresponde a la dirección de
una salida física, el dispositivo de salida cableado a este terminal de tornillo está
activado cuando el bit está establecido (activado o habilitado).
Cuando las condiciones de renglón se convierten en falsas (después de ser
verdaderas), el bit permanece establecido y el dispositivo de salida correspondiente
permanece activado.
Una vez habilitada, la instrucción de enclavamiento indica al controlador que active
el bit direccionado. Desde ese momento en adelante, el bit permanece activado,
pese a la condición del renglón, hasta que el bit esté desactivado (típicamente por
una instrucción OTU en otro renglón).
Cómo usar OTU
Cuando asigna una dirección a la instrucción OTU que corresponde a la dirección de
una salida física, el dispositivo de salida cableado a este terminal de tornillo está
desactivado cuando el bit está restablecido (desactivado o inhabilitado).
La instrucción de desenclavamiento indica al controlador que desactive el bit
direccionado. Desde ese momento en adelante, el bit permanece desactivado, pese a
la condición del renglón, hasta que esté activado (típicamente por una instrucción
OTL en otro renglón).
3
3 3
3
3
3
(L)
(U)
Manual de referencia del juego de instrucciones
1–12
One–Shot Rising (OSR)
La instrucción OSR es una instrucción de entrada retentiva que ocasiona un evento
durante una sola vez. Use la instrucción OSR cuando un evento debe comenzar
basado en el cambio de estado del renglón de falso a verdadero.
Cuando las condiciones de renglón precedentes de la instrucción OSR van de falsas
a verdaderas, la instrucción OSR será verdadera durante un escán. Después de
completarse un escán, la instrucción OSR se hace falsa, aun cuando las condiciones
de renglón precedentes permanecen verdaderas. La instrucción OSR sólo volverá a
hacerse verdadera si las condiciones de renglón precedentes efectúan una transición
de falso a verdadero.
El controlador le permite usar una instrucción OSR por cada salida en un renglón.
Cómo introducir parámetros
La dirección asignada a la instrucción OSR no es la dirección de ONE–SHOT
mencionada por su programa, ni indica el estado de la instrucción OSR. Esta
dirección permite que la instrucción OSR recuerde su estado de renglón anterior.
Use una dirección de bit desde el archivo de datos del bit o enteros. El bit
direccionado está establecido (1) durante un escán cuando las condiciones de
renglón precedentes de la instrucción OSR son verdaderas (aun cuando la
instrucción OSR se hace falsa); el bit está restablecido (0) cuando las condiciones de
renglón precedentes de la instrucción OSR se hacen falsas.
Nota La dirección de bit que usa para esta instrucción debe ser única. No la use en otros
lugares del programa.
No use una dirección de entrada o salida para programar el parámetro de dirección
de la instrucción OSR.
Ejemplos
Los renglones siguientes ilustran el uso de las instrucciones OSR. Los cuatro
primeros renglones se aplican a los procesadores SLC 500 y SLC 5/01. El quinto
renglón abarca la bifurcación de salida y se aplica a los procesadores SLC 5/02,
SLC 5/03 y SLC 5/04 y controladores MicroLogix 1000.
3
3 3
3
3
3
[OSR]
Instrucciones básicas
1–13
TOD
TO BCD
Source Tf:0.ACC
Dest O:3
              
              
      !          
                
     #         
Procesadores SLC 600 y SLC 50/1
] [
I:1.0
0
[OSR]
B3
0
( )
O:3.0
0
] [
I:1.0
0
[OSR]
B3
0
            
             !
              $
      !    !    
               
          
] [
I:1.0
0
[OSR]
B3
0
( )
O:3.0
0
] [
I:1.0
0
[OSR]
B3
0
( )
O:3.0
1
( )
O:3.0
0
( )
O:3.0
1
Uso de una instrucción OSR en una bifurcación
(Procesadores SLC 500 y SLC 5/01)
            
    
        !  
         !
Los procesadores SLC 500 y SLC 5/01 le permiten usar una instrucción OSR por
cada renglón.
Preface
Manual de referencia del juego de instrucciones
1–14
Cuando use un procesador SLC 500 ó SLC 5/01, no ubique condiciones de
entrada después de la instrucción OSR en un renglón. Puede ocurrir una
operación inesperada.
( )
O:3.0
0
]/[
B3
1
[OSR]
B3
3
( )
O:3.0
1
] [
B3
2
] [
I:1.0
0
[OSR]
B3
0
Procesadores SLC 5/02, SLC 5/03 y LSC 5/04 y controladores MicroLogix 1000
Los procesadores SLC 5/02, SLC 5/03 y SLC 5/04 y controladores MicroLogix
1000 le permiten usar una instrucción OSR por cada salida en un renglón.
Instrucciones básicas
1–15
Descripción general de las instrucciones de temporizador
Cada dirección de temporizador se compone de un elemento de 3 palabras. Palabra
0 es la palabra de control, palabra 1 almacena el valor preseleccionado y palabra 2
almacena el valor acumulado.
EN TT DN Uso interno
15 14 13
Valor preseleccionado
Valor de acumulador
Pal. 0
Pal. 1
Pal. 2
Bits direccionables Palabras direccionables
  #  #'
  #  !%'  #!
  #  #$
  ! !
  ! $$
 # # $#  $ #!   !
Cómo introducir parámetros
Valor del acumulador (.ACC)
Este es el tiempo transcurrido desde el último restablecimiento del temporizador.
Cuando está habilitado, el temporizador lo actualiza constantemente.
Valor preseleccionado (.PRE)
Especifica el valor que el temporizador debe alcanzar antes de que el controlador
establezca el bit de efectuado. Cuando el valor acumulado sea igual o mayor que el
valor preseleccionado, el bit de efectuado estará establecido. Puede usar este bit
para controlar un dispositivo de salida.
Los valores preseleccionados y acumulados para temporizadores tienen un rango
desde 0 hasta +32,767. Si el valor preseleccionado o acumulador de temporizador
es un número negativo, ocurre un error de tiempo de ejecución.
Base de tiempo
La base de tiempo determina la duración de cada intervalo de base de tiempo. Para
los procesadores fijos y SLC 5/02, la base de tiempo ha sido establecido a 0.01
segundo. Para los procesadores SLC 5/02, SLC 5/03, SLC 5/04 y los controladores
MicroLogix 1000, la base de tiempo es seleccionable como 0.01 (10 ms) segundo ó
1.0 segundo.
Preface
Manual de referencia del juego de instrucciones
1–16
Precisión del temporizador
La precisión del temporizador se refiere al tiempo transcurrido entre el momento en
que una instrucción de temporizador está habilitada y el momento en que el
intervalo temporizado se ha completado. La inexactitud causada por el escán de
programa puede ser mayor que la base de tiempo del temporizador. También debe
considerar el tiempo necesario para activar el dispositivo de salida.
La precisión de temporización es ± 0.01 a +0 segundos, con un escán de programa
de hasta 2.5 segundos. El temporizador de 1 segundo mantiene la precisión con un
escán de programa de hasta 1.5 segundos. Si sus programas pueden exceder 1.5 ó
2.5 segundos, repita el renglón de instrucción del temporizador para que el renglón
sea escaneado dentro de estos límites.
Nota La temporización podría resultar inexacta si las instrucciones de salto (JMP),
etiqueta (LBL), salto a subrutina (JSR) o subrutina (SBR) saltan el renglón que
contiene una instrucción de temporizador mientras que el temporizador esté
temporizando. Si la duración de salto es menor de 2.5 segundos, no se pierde
ningún tiempo; si la duración de salto excede 2.5 segundos, ocurre un error de
temporización no detectable. Cuando se usan subrutinas, es necesario que un
temporizador esté ejecutado a un mínimo de cada 2.5 segundos para evitar un error
de temporización.
Estructura de direccionamiento
Direccione bits y palabras usando el formato Tf:e.s/b
Explicación
T !%  # !'!
f
)!  !% !  !!    )! !#!*
    $ $! $ )! #! * ! #
  ) )!  !% %(   !  #!!
! 
: #!  #
e
)! 
#
#  #   ! !  !!
   !  *  !  #!!
!   !   * 
 #  !
 $#
 #!  #
 #
Instrucciones básicas
1–17
Ejemplos de direccionamiento
• T4:0/15 ó T4:0/EN Bit de habilitación
• T4:0/14 ó T4:0/TT Bit de temporización del temporizador
• T4:0/13 ó T4:0/DN Bit de efectuado
• T4:0.1 ó T4:0.PRE Valor preseleccionado del temporizador
• T4:0.2 ó T4:0.ACC Valor acumulado del temporizador
• T4:0.1/0 ó T4:0.PRE/0 Bit 0 del valor preseleccionado
• T4:0.2/0 ó T4:0.ACC/0 Bit 0 del valor acumulado
Preface
Manual de referencia del juego de instrucciones
1–18
Temporizador a la conexión (TON)
Use la instrucción TON para activar o desactivar una salida después de que el
temporizador haya estado activado durante un intervalo de tiempo preseleccionado.
La instrucción TON comienza a contar los intervalos de la base de tiempo cuando
las condiciones de renglón se hacen verdaderas. Con tal que las condiciones de
renglón permanezcan verdaderas, el temporizador ajusta su valor acumulado (ACC)
durante cada evaluación hasta alcanzar el vazor predeterminado (PRE). Cuando las
condiciones de renglón se hacen falsas, el valor acumulado se reinicializa sin
importar si el temporizador ha sobrepasado el límite de tiempo.
Uso de los bits de estado
Este bit Se establece cuando
Y permanece establecido
hasta ocurrir uno de los
siguientes eventos
Bit de efectuado del
temporizador DN ! 
 #    
$   #
 
   '
   
Bit de temporización del
temporizador TT ! 
   '
 # $  #
    
#  
   '
      
!  !  !
 !
Bit de habilitación del
temporizador EN ! 
   '
 #
   '
   
Cuando el procesador cambia del modo de marcha REM o prueba REM al modo de
programa REM o la alimentación eléctrica del usuario se pierde durante la tempori-
zación de la instrucción, pero no ha alcanzado su valor preseleccionado, ocurre lo
siguiente:
• El bit de habilitación del temporizador (EN) permanece establecido.
• El bit de temporización del temporizador (TT) permanece establecido.
• El valor acumulado (ACC) permanece sin cambio.
Se puede ocurrir lo siguiente al regresar al modo de marcha REM o prueba REM:
Condición Resultado
  ' #
 !   !
 !    !
 #  !%  !  
  '   
 !  !%  !
 !   !%  !
 #  !%  !  
3
3 3
3
3
3
(EN)
(DN)
TON
TIMER ON DELAY
Timer T4:0
Time Base 0.01
Preset 120
Accum 0
 !'
Instrucciones básicas
1–19
Temporizador a la desconexión (TOF)
Use la instrucción TOF para activar o desactivar una salida después de que su
renglón ha estado desactivado durante un intervalo de tiempo preseleccionado. La
instrucción TOF comienza a contar los intervalos de la base de tiempo cuando el
renglón efectúa una transición de verdadero a falso. Con tal que las condiciones
permanezcan falsas, el temporizador incrementa su valor acumulado (ACC) durante
cada escán hasta alcanzar el valor preseleccionado (PRE). El valor acumulado se
restablecerá cuando las condiciones de renglón se hagan verdaderas, sin importar si
el tiempo en el temporizador se ha agotado.
Uso de los bits de estado
Este bit Se establece cuando
Y permanece establecido
hasta ocurrir uno de los
siguientes eventos
Bit de efectuado del
temporizador DN   
      
    
      
      
      
       
Bit de temporización del
temporizador TT   
      
    
       
     
      
       
      
  
Bit de habilitación del
temporizador EN   
      
    
      
   
Cuando la operación del procesador cambia del modo de marcha REM o prueba
REM al modo de programa REM o cuando se pierde la alimentación eléctrica del
usuario durante la temporización de una instrucción de retardo con temporizador
desactivado, pero no ha alcanzado su valor preseleccionado, ocurre lo siguiente:
• El bit de habilitación del temporizador (EN) permanece establecido.
• El bit de temporización del temporizador (TT) permanece establecido.
• El bit de efectuado del temporizador (DN) permanece establecido.
• El valor acumulado (ACC) permanece sin cambio.
3
3 3
3
3
3
(EN)
(DN)
TOF
TIMER OFF DELAY
Timer T4:1
Time Base 0.01
Preset 120
Accum 0
Preface
Manual de referencia del juego de instrucciones
1–20
Se puede ocurrir lo siguiente al regresar al modo de marcha REM o prueba REM:
Condición Resultado
     
     
         
      
       
     
     
      
      
           
    
La instrucción de restablecimiento (RES) no se puede usar con las
instrucciones TOF porque RES siempre pone a cero los bits de estado así como
el valor acumulado. (Vea la página 1-34.)
Nota El TOF temporiza dentro de una pareja MCR inactiva.
Instrucciones básicas
1–21
Temporizador retentivo (RTO)
Use la instrucción RTO para activar o desactivar una salida después que el
temporizador haya estado desactivado durante un intervalo de tiempo
preseleccionado. La instrucción RTO es una instrucción retentiva que comienza a
contar los intervalos de base de tiempo cuando las condiciones de renglón se hacen
verdaderas.
La instrucción RTO retiene su valor acumulado cuando ocurre cualquiera de los
eventos siguientes:
• Las condiciones de renglón se hacen falsas.
• Cambia la operación del procesador del modo de marcha REM o prueba REM
al modo de programa REM.
• Se corta la alimentación eléctrica del procesador (siempre que se mantenga una
batería auxiliar).
• Ocurre un fallo.
Cuando regresa el procesador al modo de marcha REM o prueba REM y/o las
condiciones de renglón se hacen verdaderas, la temporización continúa desde el
valor acumulado retenido. Los temporizadores retentivos miden el período
acumulativo durante el cual las condiciones de renglón son verdaderas mediante la
retención de su valor acumulado.
Uso de los bits de estado
Este bit Se establece cuando
Y permanece establecido
hasta ocurrir uno de los
siguientes eventos
Bit de efectuado del
temporizador DN   
        
     
  
      
  
Bit de temporización del
temporizador TT   
      
       
     
    
      
         
        
Bit de habilitación del
temporizador EN   
      
   
      
     
Nota Para restablecer el valor acumulado del temporizador retentivo y los bits de estado
después de que el renglón RTO se hace falso, debe programar una instrucción de
restablecimiento (RES) con la misma dirección en otro renglón.
3
3 3
3
3
3
(EN)
(DN)
RTO
RETENTIVE TIMER ON
Timer T4:2
Time Base 0.01
Preset 120
Accum 0
Preface
Manual de referencia del juego de instrucciones
1–22
Cuando el procesador cambia del modo de marcha REM o prueba REM al modo de
programa REM o fallo REM, o cuando se pierde la alimentación eléctrica del
usuario durante la temporización del temporizador, pero todavía sin alcanzar el valor
preseleccionado, ocurre lo siguiente:
• El bit de habilitación (EN) del temporizador permanece establecido.
• El bit de temporización (TT) del temporizador permanece establecido.
• El valor acumulado (ACC) permanece sin cambio.
Puede ocurrir lo siguiente al regresar al modo de marcha REM o prueba REM o
cuando se restaura la alimentación eléctrica:
Condición Resultado
Instrucciones básicas
1–23
Uso de los contadores
Elementos del archivo de datos del contador
Cada dirección de contador se compone de un elemento de archivo de datos de 3
palabras. Palabra 0 es la palabra de control y contiene los bits de estado de la
instrucción. Palabra 1 es el valor preseleccionado. Palabra 2 es el valor acumulado.
La palabra de control para las instrucciones de contador incluye seis bits de estado,
según lo indicado a continuación:
CU CD DN OV UN UA Uso interno
15 14 13 12 11 10 09 08 07 06 05 04 03 02 01 00
Valor preseleccionado
Valor acumulado
Pal. 0
Pal. 1
Pal. 2
Bits direccionables Palabras direccionables
  %+   % !# 
  %+   % #
 %  %
  #$ 
  
$ %$ %% $   $ %# *  $  # $
  %  '# (
  %  # (
  %)+  ' # 
     %#  #  $ %
Para obtener información acerca de la instrucción del contador de alta velocidad del
controlador MicroLogix 1000, vea el capítulo 7.
Cómo introducir parámetros
Valor acumulado (.ACC)
Este es el número de transiciones de falso a verdadero que han ocurrido desde el
último restablecimiento del contador.
Preface
Manual de referencia del juego de instrucciones
1–24
Valor preseleccionado (PRE)
Especifica el valor que el contador debe alcanzar antes que el controlador establezca
el bit de efectuado. Cuando el valor del acumulador se hace igual o mayor que el
valor preseleccionado, se establece el bit de estado efectuado. Puede usar este bit
para controlar un dispositivo de salida.
Los valores preseleccionados y acumulados para los contadores oscilan entre
–32,768 hasta +32,767 y se almacen como enteros con signos. Los valores
negativos se almacenan en forma de complemento de dos.
Estructura de direccionamiento
Asigne direcciones de contador usando el formato Cf:e.s/b
Explicación
C $ 
f
)      # ! # #     
!$ #   )   $  #
!% %# ! $ $    )
)   ( # !  #  $  #
  ' 
: $   $
e
) 
$
#$ # #  $ #   !#
  # ! # #   
 # *    #  $  #
  '    #  * 
 $  !
# %$
 $   $
 $
Instrucciones básicas
1–25
Ejemplos
• C5:0/15 ó C5:0/CU Bit de habilitación de conteo progresivo
• C5:0/14 ó C5:0/CD Bit de habilitación de conteo regresivo
• C5:0/13 ó C5:0/DN Bit de efectuado
• C5:0/12 ó C5:0/OV Bit de overflow
• C5:0/11 ó C5:0/UN Bit de underflow
• C5:0/10 ó C5:0/UA Bit de actualización del valor acumulado (HSC en el
controlador fijo solamente)
• C5:0.1 ó C5:0PRE Valor preseleccionado del contador
• C5:0.2 ó C5:0.ACC Valor acumulado del contador
• C5:0.1/0 ó C5:0.PRE/0 Bit del valor preseleccionado
• C5:0.2/0 ó C5:0.ACC/0 Bit 0 del valor acumulado
Preface
Manual de referencia del juego de instrucciones
1–26
Cómo funcionan los contadores
La figura siguiente muestra cómo funciona un contador. El valor del contador debe
permanecer dentro del rango de ±32768 a +32767. Si el valor de conteo excede
+32767 ó desciende a menos de ±32768, se establece un bit de overflow (OV) o
underflow (UN) de estado del contador.
Un contador se puede poner a cero usando la instrucción de restablecimiento (RES).
Underflow Overflow
-32,768 +32,767
    
0
    
      


Conteo progresivo (CTU)
El CTU es una instrucción que cuenta las transiciones de renglón de falso a
verdadero. Las transiciones de renglón pueden ser provocadas por eventos
ocurriendo en el programa (de la lógica nterna o dispositivos de campo externos)
tales como piezas que pasan por un detector o que activan un interruptor de límite.
Cuando las condiciones de renglón para una instrucción CTU efectúan una
transición de falso a verdadero, el valor acumulado se incrementa en uno, siempre
que el renglón que contiene la instrucción CTU se evalúe entre estas transiciones.
La capacidad del contador para detectar transiciones de falso a verdadero depende
de la velocidad (frecuencia) de la señal de entrada.
Nota La duración activada y desactivada de un señal de entrada no debe ser más rápida
que el tiempo de escán 2x (se entiende un ciclo de trabajo de 50%).
El valor acumulado se retiene cuando las condiciones de renglón vuelven a hacerse
falsas. El conteo acumulado se retiene hasta que sea puesto a cero por una
instrucción de restablecimiento (RES) que tenga la misma dirección que el contador.
3
3 3
3
3
3
(CU)
(DN)
CTU
COUNT UP
Counter C5:0
Preset 120
Accum 0
Instrucciones básicas
1–27
Uso de los bits de estado
Este bit Se establece cuando
Y permanece establecido
hasta ocurrir uno de los
siguientes eventos
Bit de overflow de conteo
progresivo OV
 * 
 ,%( +#+% #  
 )   -
%$* $/ %$*$% ) )
+$*%
) !+* +$ $)*(+ .$
 %$  # )#  ( .$
'+  $)*(+ .$  
  %$*% ) (+ 
+$ ,%( #$%( % + '+
 %$ +$ $)*(+ .$

Bit de efectuado DN  *   ,%( +#+% ) + %
#-%( '+  ,%(
() %$%
 ,%( +#+% ) 
#$%( '+  ,%(
() %$%
Bit de habilitación de conteo
progresivo CU
 *  
) %$  %$)  ($.$
)%$ ,(()
) %$  %$)  ($.$
) $ ))   )
  * +$ $)*(+ .$ 
%$  # )#  ( .$ '+ 
$)*(+ .$ 
El valor acumulado se retiene después que la instrucción CTU se hace falsa, o
cuando la alimentación eléctrica se corta y luego se restaura al controlador.
Además, el estado activado o desactivado de los bits de contador efectuado,
overflow y underflow es retentivo. El valor acumulado y los bits de control se
restablecen cuando se habilita la instrucción RES correcta. Los bits CU siempre se
establecen antes de introducir los modos de marcha REM o prueba REM.
Preface
Manual de referencia del juego de instrucciones
1–28
Conteo regresivo (CTD)
El CTD es una instrucción que cuenta las transiciones de renglón de falso a
verdadero. Las transiciones de renglón pueden ser causadas por eventos que
ocurren en el programa, tales como piezas pasando por un detector o accionando un
final de carrera.
Cuando las condiciones de renglón para una instrucción CTD han efectuado una
transición de falo a verdadeo, el valor acumulado se disminuye en un conteo,
siempre que el renglón que contiene la instrucción CTD se evalúe entre estas
transiciones.
Los conteos acumulados se retienen cuando las condiciones de renglón se hacen
falsas nuevamente. El conteo acumulado se retiene hasta que sea puesto a cero por
una instrucción de restablecimiento (RES) que tiene la misma dirección que el
contador restablecido.
Uso de los bits de estado
Este bit Se establece cuando
Y permanece establecido
hasta ocurrir uno de los
siguientes eventos
Bit de underflow de conteo
regresivo UN
 * 
 ,%( +#+% #  
 )   -
%$* $/ %$*$% (() ,0
#$* ) ) +$*%
+$ $)*(+ .$  %$ 
# )#  ( .$ '+ 
$)*(+ .$  ) !+* 
  %$*% )
$(#$*% #$%( % +
'+  %$ +$
$)*(+ .$ 
Bit de efectuado DN  *   ,%( +#+% ) + %
#-%( '+  ,%(
() %$%
 ,%( +#+% ) 
#$%( '+  ,%(
() %$%
Bit de habilitación de conteo
regresivo CD
 *  
) %$  %$)  ($.$
)%$ ,(()
) %$  %$)  ($.$
) $ ))   )
  * +$ $)*(+ .$ 
%$  # )#  ( .$ '+ 
$)*(+ .$ 
El valor acumulado se retiene después de que la instrucción CTD se hace falsa, o
cuando la alimentación eléctrica al controlador se corta y luego se restaura.
Además, el estado activado o desactivado de los bits de contador efectuado,
overflow y underflow es retentivo. El valor acumulado y los bits de control se
restablecen cuando se habilita la instrucción RES correcta. Los bits CD siempre se
establecen antes de introducir los modos de marcha REM o prueba REM.
3
3 3
3
3
3
(CD)
(DN)
CTD
COUNT DOWN
Counter C5:1
Preset 120
Accum 0
$)*(+ .$  )
Instrucciones básicas
1–29
Contador de alta velocidad (HSC)
El contador de alta velocidad constituye una variación del contador CTU. La
instrucción HSC se habilita cuando la lógica de renglón es verdadera y se inhabilita
cuando la lógica de renglón es falsa.
Para obtener información acerca de la instrucción del contador de alta velocidad del
controlador MicroLogix 1000, vea el capítulo 7.
Nota La instrucción HSC cuenta transiciones que ocurren en el terminal de entrada I:0/0.
La instrucción HSC no cuenta las transiciones de renglón. Habilita o inhabilita el
renglón HSC para habilitar o inhabilitar el conteo de transiciones que ocurren en la
terminal de entrada I:0/0. Recomendamos colocar la instrucción HSC en un
renglón incondicional. No coloque la instrucción XIC con la dirección I:0/0 en
serie con la instrucción HSC ya que los conteos se perderán.
El HSC es una contador CTU especial para uso con los procesadores SLC fijos y
SLC 5/01 de 24 VCC. Los bits de estado y valores acumulados del HSC son no
retentivos.
Nota Esta instrucción proporciona el conteo de alta velocidad para los controladores de
E/S fijos con entradas de 24 VCC. Se permite una sola instrucción HSC por cada
controlador. Para usar la instrucción, debe cortar el puente según se indica a
continuación. Se recomienda un cable blindado para reducir el ruido a la entrada.
Operación del contador de alta velocidad
Para la operación del contador de alta velocidad, hay que realizar los pasos
siguientes:
1. Desconecte la alimentación eléctrica del controlador fijo.
2. Quite el envolvente del SLC 500.
3. Localice y corte el cable del puente J2. No lo quite completamente, pero
asegúrese que los extremos del cable del puente cortado no hagan contacto
entre sí.
3
3
HIGH SPEED COUNTER
Counter C5:0
Preset 120
Accum 0
(CU)
(DN)
HSC
Manual de referencia del juego de instrucciones
1–30


              
             
   
4. Vuelva a poner la cubierta.
Nota Ahora la entrada I:0/0 funciona en modo de alta velocidad. La dirección del bit de
habilitación del contador de alta velocidad es C5:0/CU. Cuando las condiciones de
renglón son verdaderas, se establece C5:0/CU y se cuentan las transiciones que
ocurren en la entrada I:0/0.
Para comenzar el conteo de alta velocidad, cargue un valor preseleccionado en
C5:0.PRE y habilite el renglón de contador. Para contar un valor preseleccionado,
realice uno de los pasos siguientes:
• Cambie al modo de marcha REM o prueba REM de otro modo.
• Encienda el procesador en modo de marcha REM.
• Restablezca el HSC usando la instrucción RES.
La recarga automática ocurre cuando el HSC por sí mismo establece el bit DN a la
interrupción.
Cada transición de entrada que ocurre en entrada I:0/0 causa que el HSC acumulado
se incremente. Cuando el valor acumulado es igual que el valor preseleccionado, se
establece el bit de efectuado (C5:0/DN), el valor acumulado se pone a cero y el
valor preseleccionado (C5:0.PRE) se carga en el HSC como preparación para la
próxima transición de alta velocidad en la entrada I:0/0.
Su programa de escalera debe consultar el bit de efectuado (C5:0/DN) para
determinar el estado del HSC. Una vez que el bit de efectuado haya sido detectado
como establecido, el programa de escalera debe poner a cero el bit C5:0/DN (usando
la instrucción OTU de desenclavamiento) antes de que el HSC acumulado vuelva a
alcanzar el valor preseleccionado; en caso contrario, el bit de overflow (C5:0/OV) se
establecerá.
Instrucciones básicas
1–31
El HSC es diferente que los contadores CTU y CTD. El CTU y CTD son
contadores de software. El HSC es un contador de hardware y funciona
asincrónicamente al escán del programa de escalera. El valor acumulado HSC
(C5:0.ACC) normalmente se actualiza cada vez que el renglón HSC es evaluado en
el programa de escalera. Esto significa que el valor del acumulador de hardware
HSC se transfiere al acumulador de software HSC. Use solamente la instrucción
OTE para transferir este valor. La instrucción HSC pone a cero inmediatamente el
bit C5:0/UA a continuación de la actualización acumulada.
Muchos conteos HSC pueden ocurrir entre las evaluaciones HSC, los cuales
provocarían la inexactitud del bit C5:0.ACC cuando éste sea usado en un programa
de escalera. Para permitir un valor acumulado HSC exacto, el bit de acumulado de
actualización (C5:0/UA) causa que C5:0.ACC sea actualizado inmediatamente al
estado del acumulador de harware cuando se establece.
Use la instrucción RES para restablecer el contador de alta velocidad en dirección
C5:0. La instrucción HSC pone a cero el bit de estado, el acumulador y carga el
valor preseleccionado durante:
• el encendido
• entrada en el modo de marcha REM
• un restablecimiento
Elementos de datos del contador de alta velocidad
La dirección C5:0 es el elemento de 3 palabras del contador HSC.
CU CD DN OV UN UA No usado
15 14 13 12 11 10 09 08 07 06 05 04 03 02 01 00
Valor preseleccionado
Valor de acumulador
CU = Bit de habilitación de conteo progresivo
CD = Bit de habilitación de conteo regresivo
DN = Bit de efectuado
OV = Bit de overflow
UN = Bit de underflow
UA = Actualización de acumulador (HSC solamente)
Pal. 0
Pal. 1
Pal. 2
Manual de referencia del juego de instrucciones
1–32
• La palabra 0 contiene los bits de estado siguientes de la instrucción HSC:
– El bit 10 (UA) actualiza la palabra de acumulador del HSC para reflejar el
estado inmediato del HSC cuando es verdadero.
– El bit 12 (OV) indica la ocurrencia de un overflow de HSC.
– El bit 13 (DN) indica si el valor preseleccionado de HSC ha sido alcanzado.
– El bit 15 (CU) muestra el estado de habilitación/inhabilitación de la
instrucción HSC.
• La palabra 1 contiene el valor preseleccionado que se carga en el HSC cuando
se ejecuta la instrucción RES, o cuando se establece el bit de efectuado o
cuando se efectúa el encendido inicial.
• La palabra 2 contiene el valor del acumulador HSC. Esta palabra es actualizada
cada vez que la instrucción HSC es evaluada y cuando el bit del acumulador de
actualización es establecido usando una instrucción OTE. Este acumulador es
de sólo lectura. Cualquier valor escrito en el acumulador resulta sobrescrito por
el contador de alta velocidad durante la evaluación de instrucción,
restablecimiento o introducción del modo de marcha REM.
Ejemplo de aplicación
En las figuras siguientes, cada uno de los renglones 1, 18 y 31 del archivo de
programa principal consiste en una instrucción XIC direccionada al bit de efectuado
HSC y una instrucción JSR. Estos renglones consultan el estado del bit de
efectuado HSC. Cuando el bit de efectuado es establecido a cualquiera de estos
puntos de encuesta, la ejecución del programa se mueve al archivo de subrutina 3,
ejecutando la lógica HSC. Después de la ejecución de la lógica HSC, el bit de
efectuado es puesto a cero por una instrucción de desenclavamiento y la ejecución
de programa retorna al archivo de programa principal.
Instrucciones básicas
1–33
Ejemplo de aplicación – Archivo 2 (consulta del bit DN en el programa principal)
] [
C5:0
DN
JUMP TO SUBROUTINE 3
Rung 1
Rung 2
Rung 18 ] [
C5:0
DN
Rung 17
Rung 19
Rung 30
Rung 31
Rung 32
] [
C5:0
DN
JSR
JUMP TO SUBROUTINE 3
JSR
JUMP TO SUBROUTINE 3
JSR
] [ ] [ ] [ ( )
] [ ] [ ] [ ( )
] [ ] [ ] [ ( )
] [ ] [ ] [ ( )
] [ ] [ ] [ ( )
Ejemplo de aplicación – Archivo 3 (ejecución de lógica HSC)
RET
RETURN
(U)
C5:0
DN
] [
Rung 1
Rung 20
Rung 21
Rung 0 ( )
] [ ] [ ] [ ( )
Preface
Manual de referencia del juego de instrucciones
1–34
Restablecimiento (RES)
Use una instrucción RES para restablecer un temporizador o contador. Cuando se
habilita la instrucción RES, restablece la instrucción de retardo del temporizador a la
conexión (TON), temporizador retentivo (RTO), conteo progresivo (CTU) o conteo
regresivo (CTD) con la misma dirección que la instrucción RES.
Usando una instrucción RES para un: El procesador restablece el:
 
  #! # ! #'    
$   
 
 
 

$   
 
  
 
 
 
 
$   
 
 
 
 
 
 
%  $  ( !
Nota Si usa esta instrucción para restablecer el acumulador HSC del controlador
MicroLogix 1000, vea la página 7-21.
Cuando restablece un contador, si la instrucción RES está habilitada y el renglón de
contador está habilitado, se pone a cero el bit CU o CD.
Si el valor preseleccionado del contador es negativo, la instrucción RES establece el
valor acumulado a cero. Esto, a su vez, causa que el bit de efectuado sea establecido
por una instrucción de conteo regresivo o conteo progresivo.
Ya que la instrucción RES restablece el valor acumulado y los bits de
efectuado, temporización y habilitados, no use la instrucción RES para
restablecer una dirección de temporizador usada en una instrucción TOF. En
caso contrario, puede ocurrir la operación inesperada de la máquina o lesiones
al personal.
3
3 3
3
3
3
(RES)
! #'  !
Instrucciones básicas
1–35
Instrucciones básicas del ejemplo de aplicación de la
perforadora de papel
Esta sección proporciona renglones de escalera para mostrar el uso de las
instrucciones básicas. Los renglones forman parte del ejemplo de aplicación de la
perforadora de papel descrito en el apéndice H. Usted añadirá el programa principal
en el archivo 2, además de añadir una subrutina al archivo 6.
Cómo añadir archivo 2
Los renglones ilustrados en la página siguiente son definidos como la lógica de
“arranque” del programa. Determinan las condiciones necesarias para arrancar la
máquina monitorizando los botones pulsadores de arranque y paro. Cuando se
presiona el botón pulsador de arranque, habilita al transportador a moverse e inicia
la rotación de la broca. Cuando se presiona el botón pulsador de paro, inhabilita el
movimiento del transportador y detiene el motor de la perforadora.
La lógica de arranque también verifica la retracción completa de la perforadora (a la
posición original) y el desgaste excesivo de la broca (determinado en otra parte del
programa) antes de permitir el movimiento del transportador.
Manual de referencia del juego de instrucciones
1–36
Renglón 2:0
Estos renglones iniciarán el movimiento del transportador cuando se presione el
botón pulsador. No obstante, hay otras condiciones que se deben cumplir antes de
iniciar el transportador. Estas son: la broca debe estar en su posición
completamente retraída (original) y la broca no debe sobrepasar su vida útil máxima.
Estos renglones también detendrán el transportador cuando se presione el botón
pulsador o cuando la vida útil de la broca haya sido excedida.
| Botón |Pos. BOTON Enclav. |
| ARRANQUE |orig. LS detención MARCHA |
| máquina |
| I:1.0 I:1.0 I:1.0 B3:0 |
|–+––––] [––––––––] [–––––+––––]/[–––––––––––––––––––––––––––––––––––––( )–––––|
| | 6 5 | 7 0 |
| | Enclav. | |
| | MARCHA | |
| | máquina | |
| | B3:0 | |
| +––––] [––––––––––––––––+ |
| 0 |
Renglón 2:1
| Enclav. Motor |
| MARCHA perf. ACTIV. |
| máquina |
| B3:0 O:3.0 |
|––––] [––––––––––––––––––––––––––––––––––––––––––––––––+––––––––––––( )–––––+–|
| 0 | 1 | |
| | Arranque/detención| |
| | transportador | |
| | | |
| | B3:0 O:3.0 | |
| +––[OSR]–––––(L)–––––+ |
| 1 0 |
Renglón 2:2
Detenga el transportador si existen condiciones que desenclaven el bit de
desenclavamiento de MARCHA de la máquina.
| Enclav. | Conveyor |
| MARCHA | Start/Stop |
| máquina | |
| B3:0 O:3.0 |
|––––]/[–––––––––––––––––––––––––––––––––––––––––––––––––––––––––––––––(U)–––––|
| 0 0 |
Instrucciones básicas
1–37
Cómo añadir el archivo 6
Esta subrutina controla el movimiento ascendente y descendente de la broca para la
perforadora.
Manual de referencia del juego de instrucciones
1–38
Renglón 6:0
Esta sección de la lógica de escalera controla el movimiento ascendente/descendente
de la broca para la perforadora.
Cuando el transportador posiciona el libro debajo de la broca, se establece el bit
de INICIO DE LA SECUENCIA DE PERFORACION. Este renglón usa dicho bit para iniciar
la operación de perforación. Ya que el bit es establecido para la operación de
perforación completa, se requiere que el OSR pueda desactivar la señal de avance
para que la perforadora se retraiga.
| Inicio |Subr perf.| Avance |
| sec. | OSR | perforadora|
| perfor. | |
| B3:2 B3:3 O:3.0 |
|––––] [–––––––[OSR]–––––––––––––––––––––––––––––––––––––––––––––––––––(L)–––––|
| 0 0 3 |
Renglón 6:1
Cuando la broca haya perforado el libro, el cuerpo de la broca activará el final de
carrera de la PROFUNDIDAD DE PERFORACION. Al ocurrir esto, se desactiva la señal de
AVANCE DE LA PERFORADORA y se activa la señal de RETRACCION DE LA PERFORADORA.
| Prof. Avance |
| perforadora LS perforadora |
| I:1.0 O:3.0 |
|–+––––] [––––––––––––––––+–––––––––––––––––––––––––––––––––––––+––––(U)–––––+–|
| | 4 | | 3 | |
| | Primer |Posición | | Retracc. | |
| | paso |orig. LS | | perforadora|
| | S:1 I:1.0 | | O:3.0 | |
| +––––] [––––––––]/[–––––+ +––––(L)–––––+ |
| 15 5 2 |
Renglón 6:2
Cuando la broca se retrae (después de efectuar una perforación), el cuerpo de la
broca activará el final de carrera de POSICION ORIGINAL DE LA BROCA. Al ocurrir
esto, se desactiva la señal de RETRACCION DE LA BROCA, el bit de INICIO DE LA
SECUENCIA DE PERFORACION se activa para indicar el fin del proceso de perforación y
el transportador vuelve a iniciarse.
| Posición |Retracción Retracción |
| orig. LS |perforadora perforadora |
| I:1.0 O:3.0 O:3.0 |
|––––] [––––––––] [––––––––––––––––––––––––––––––––––+–––––––––––––––(U)–––––+–|
| 5 2 | 2 | |
| | Inicio | |
| | secuencia | |
| | perforadora| |
| | B3:2 | |
| +–––––––––––––––(U)–––––+ |
| | 0 | |
| | Enclav. |Arranque/ | |
| | MARCHA |detención | |
| | máquina |transport. | |
| | B3:0 O:3.0 | |
| +––––] [––––––––(L)–––––+ |
| 0 0 |
Instrucciones de comparación
2–1
2 Instrucciones de comparación
Este capítulo contiene información general acerca de instrucciones de comparación
y explica cómo funcionan en su programa de aplicación. Cada una de las
instrucciones de comparación incluye información acerca de:
• cómo debe aparecer el símbolo de instrucción
• cómo usar la instrucción
Además, la última sección contiene un ejemplo de aplicación para una perforadora
de papel que muestra el uso de instrucciones de comparación.
Instrucciones de comparación
Instrucción
Propósito Página
Mnemónico Nombre
Propósito Página
EQU              2-3
NEQ                     2-3
LES                    2-4
LEQ   
  
                
 
2-4
GRT               2Ć4
GEQ                       
 
2-5
MEQ   
  
 
              
          
         
           
2-6
LIM                
     
2-7
Manual de referencia del juego de instrucciones
2–2
Acerca de las instrucciones de comparación
Las instrucciones de comparación se usan para probar parejas de valores para
establecer condiciones de la continuidad lógica de un renglón. Como ejemplo,
digamos que una instrucción LES se presenta con dos valores. Si el primer valor es
menor que el segundo, la instrucción de comparación es verdadera.
Para aprender más acerca de las instrucciones de comparación, le recomendamos
que lea la sección Descripción general de las instrucciones de comparación, a
continuación.
Descripción general de las instrucciones de
comparación
La información general siguiente se aplica a las instrucciones de comparación.
Uso de direcciones de palabra indexadas
Al usar las instrucciones de comparación, tiene la opción de usar direcciones de
palabra indexadas para parámetros de instrucción especificando direcciones de
palabra. El direccionamiento indexado se trata en el apéndice F de este manual.
Uso de direcciones de palabra indirectas
Tiene la opción de usar direcciones indirectas a nivel de palabra y a nivel de bit para
instrucciones especificando direcciones de palabra cuando usa los procesadores SLC
5/03 OS302 y SLC 5/04 OS401. Vea el apéndice F para obtener más información.
Instrucciones de comparación
2–3
Igual (EQU)
Use la instrucción EQU para probar si dos valores son iguales. Si la fuente A y la
fuente B son iguales, la instrucción es lógicamente verdadera. Si estos valores no
son iguales, la instrucción es lógicamente falsa.
La fuente A debe ser una dirección. La fuente B puede ser una constante de
programa o una dirección. Los enteros negativos se almacenan de forma
complementaria de dos.
No igual (NEQ)
Use la instrucción NEQ para probar si dos valores no son iguales. Si la fuente A y
la fuente B no son iguales, la instrucción es lógicamente verdadera. Si los dos
valores son iguales, la instrucción es lógicamente falsa.
La fuente A debe ser una dirección. La fuente B puede ser un constante de
programa o una dirección. Los enteros negativos se almacenan de forma
complementaria de dos.
3
3 3
3
3
3
EQU
EQUAL
Source A
Source B
      
3
3 3
3
3
3
NEQ
NOT EQUAL
Source A
Source B
Manual de referencia del juego de instrucciones
2–4
Menor que (LES)
Use la instrucción LES para probar si un valor (fuente A) es menor que otro (fuente
B). Si la fuente A es menor que el valor en la fuente B, la instrucción es
lógicamente verdadera. Si el valor en la fuente A es mayor o igual que el valor en la
fuente B, la instrucción es lógicamente falsa.
La fuente A debe ser una dirección. La fuente B puede ser una constante de
programa o una dirección. Los enteros negativos se almacenan de forma
complementaria de dos.
Menor o igual que (LEQ)
Use la instrucción LEQ para probar si un valor (fuente A) es menor o igual que otro
(fuente B). Si la fuente A es menor o igual que el valor en la fuente B, la
instrucción es lógicamente verdadera. Si el valor en la fuente A es mayor que el
valor en la fuente B, la instrucción es lógicamente falsa.
La fuente A debe ser una dirección. La fuente B puede ser una constante de
programa o una dirección. Los enteros negativos se almacenan de forma
complementaria de dos.
3
3 3
3
3
3
LES
LESS THAN
Source A
Source B
      
3
3 3
3
3
3
LEQ
LESS THAN OR EQUAL
Source A
Source B
Instrucciones de comparación
2–5
Mayor que (GRT)
Use la instrucción GRT para probar si un valor (fuente A) es mayor que otro (fuente
B). Si la fuente A es mayor que el valor en la fuente B, la instrucción es
lógicamente verdadera. Si el valor en la fuente A es menor o igual que el valor en la
fuente B, la instrucción es lógicamente falsa.
La fuente A debe ser una dirección. La fuente B puede ser un constante de
programa o una dirección. Los enteros negativos se almacenan de forma
complementaria de dos.
Mayor o igual que (GEQ)
Use la instrucción GEQ para probar si un valor (fuente A) es mayor o igual que otro
(fuente B). Si la fuente A es mayor o igual que el valor en la fuente B, la
instrucción es lógicamente verdadera. Si el valor en la fuente A es menor que el
valor en la fuente B, la instrucción es lógicamente falsa.
La fuente A debe ser una dirección. La fuente B puede ser un constante de
programa o una dirección. Los enteros negativos se almacenan de forma
complementaria de dos.
3
3 3
3
3
3
GRT
GREATER THAN
Source A
Source B
      
3
3 3
3
3
3
GEQ
GRTR THAN OR EQUAL
Source A
Source B
Manual de referencia del juego de instrucciones
2–6
Comparación con máscara
para igual (MEQ)
Use la instrucción MEQ para comparar datos en una dirección de fuente contra
datos en una dirección de comparación. El uso de esta instrucción permite que una
palabra separada enmascare porciones de datos.
Cómo introducir parámetros
• Fuente es la dirección del valor que desea comparar.
• Máscara es la dirección de la máscara mediante la cual la instrucción mueve
datos. La máscara puede ser un valor hexadecimal.
• Comparación es un valor de entero or la dirección de la referencia.
Si los 16 bits de datos en la dirección de fuente son iguales a los 16 bits de datos en
la dirección de comparación (menos los bits con máscara), la instrucción es
verdadera. La instrucción se hace falsa en el momento en que detecta una
desigualdad. Los bits en la palabra de máscara enmascaran los datos al
restablecerse; transmiten datos al establecerse.
3
3 3
3
3
3
MEQ
MASKED EQUAL
Source
Mask
Compare
Instrucciones de comparación
2–7
Prueba de límite (LIM)
Use la instrucción LIM para probar los valores dentro o fuera de un rango
especificado, según cómo usted haya establecido los límites.
Cómo introducir parámetros
Los valores de límite bajo, prueba y límite alto pueden ser direcciones de palabra o
constantes restringidos a las combinaciones siguientes:
• Si el parámetro de prueba es una constante de programa, los parámetros de
límite bajo y límite alto deben ser direcciones de palabra.
• Si el parámetro de prueba es una dirección de palabra, los parámetros de límite
bajo y límite alto pueden ser una constante de programa o una dirección de
palabra.
Estado verdadero/falso de la instrucción
Si el límite bajo tiene un valor igual o menor que el límite alto, la instrucción es
verdadera cuando el valor de prueba se encuentra entre los límites o cuando es igual
a cualquiera de los límites. Si el valor de prueba se encuentra fuera de los límites, la
instrucción es falsa, según se indica a continuación.
Ejemplo - límite bajo menor que el límite alto:
Límite
bajo
Límite
alto
La instrucción es verdadera
cuando el valor de prueba es
La instrucción es falsa
cuando el valor de prueba es
     
Falso Verdadero Falso
–32,768
Límite bajo Límite alto
+ 32,767
3
3 3
3
3
3
LIM
LIMIT TEST
Low Lim
Test
High Lim
Preface
Manual de referencia del juego de instrucciones
2–8
Si el límite bajo tiene un valor mayor que el límite alto, la instrucción es falsa
cuando el valor de prueba se encuentra entre los límites. Si el valor de prueba es
igual a cualquiera de los límites o se encuentra fuera de los límites, la instrucción es
verdadera, según se indica a continuación.
Ejemplo - límite bajo mayor que el límite alto:
Límite
bajo
Límite
alto
La instrucción es verdadera
cuando el valor de prueba es
La instrucción es falsa
cuando el valor de prueba es
   
   
Falso
Verdadero Verdadero
–32,768
Límite bajo
Límite alto
+ 32,767
Instrucciones de comparación
2–9
Ejemplo de aplicación de instrucciones de comparación
en la perforadora de papel
Esta sección proporciona renglones de escalera para demostrar el uso de
instrucciones de comparación. Los renglones son parte del ejemplo de aplicación de
la perforadora de papel descrito en el apéndice H.
Cómo iniciar una subrutina en archivo 7
Esta sección de la escalera registra las pulgadas totales de papel que ha perforado la
broca actual. A medida que vaya desgastándose la broca actual, una luz se ilumina
en el panel de operador (abajo) para advertirle al operador que debe cambiar la
broca.
 
-+-  -)* 
#( )) ))(

#( )) )/

#.'/#  !)+
#$%( ,, $(   )) #(  , - )
)
 )


 0,/$-#
Manual de referencia del juego de instrucciones
2–10
Renglón 7:0
Este renglón examina el número de milésimas de 1/4 pulg. que se han acumulado
durante la vida útil de la broca actual. Si la broca ha perforado entre
100,000–101,999 incrementos de 1/4 pulg. de papel, la bombilla de “cambiar la broca”
se ilumina constantemente. Cuando el valor es entre 102,000–103,999, la bombilla de
“cambiar la broca” parpadea cada 1.28 segundos. Cuando el valor alcanza 105,000, la
bombilla de “cambiar la broca” parpadea y la bombilla de “cambiar la broca ahora” se
ilumina.
| Milésimas 100,000 |
| de 1/4 pulg. incrementos |
| de 1/4 pulg. |
| han |
| ocurrido |
| +GEQ–––––––––––––––+ B3:1 |
|–––––––+–+GRTR THAN OR EQUAL+–––––––––––––––––––––––––––––––––––––––( )–––––+–|
| | |Source A N7:11| 0 | |
| | | 0| | |
| | |Source B 100| | |
| | | | | |
| | +––––––––––––––––––+ | |
| | Milésimas 102,000 | |
| | de 1/4 pulg. incrementos | |
| | de 1/4 pulg | |
| | han | |
| | ocurrido | |
| | +GEQ–––––––––––––––+ B3:1 | |
| +–+GRTR THAN OR EQUAL+–––––––––––––––––––––––––––––––––––––––( )–––––+ |
| | |Source A N7:11| 1 | |
| | | 0| | |
| | |Source B 102| | |
| | | | | |
| | +––––––––––––––––––+ | |
| | Milésimas cambiar la | |
| | de 1/4 pulg. broca | |
| | AHORA | |
| | +GEQ–––––––––––––––+ O:3.0 | |
| +–+GRTR THAN OR EQUAL+–––––––––––––––––––––––––––––––––––––––( )–––––+ |
| | |Source A N7:11| 6 | |
| | | 0| | |
| | |Source B 105| | |
| | | | | |
| | +––––––––––––––––––+ | |
| | 100,000 |102,000 cambiar | |
| | incrementos|incrementos la broca | |
| | de 1/4 pulg|de 1/4 pulg pronto | |
| | han |han | |
| | ocurrido |ocurrido | |
| | B3:1 B3:1 O:3.0 | |
| +–+–––––––––––––––––––––––] [––––––––]/[––––––––––––––––+––––( )–––––+ |
| | 0 1 | 4 |
| | 100,000 |102,000 |1.28 | |
| | incrementos|increm. |segundo | |
| | de 1/4 pulg|de 1/4 plg|bit de | |
| | han |han |reloj de | |
| | ocurridod |ocurrido |mar. libre | |
| | B3:1 B3:1 S:4 | |
| +–––––––––––––––––––––––] [––––––––] [––––––––] [–––––+ |
| 0 1 7 |
Instrucciones matemáticas
3–1
3 Instrucciones matemáticas
Este capítulo contiene información general acerca de instrucciones matemáticas y
explica cómo funcionan en su programa de lógica. Cada una de las instrucciones
matemáticas incluye información acerca de:
• cómo aparece el símbolo de instrucción
• cómo usar la instrucción
Además, la última sección contiene un ejemplo de aplicación para una perforadora
de papel que muestra el uso de las instrucciones matemáticas.
Instrucciones matemáticas
Instrucción
Propósito Page
Mnemónico Nombre
Propósito Page
ADD !  !           
    
3-6
SUB              
    
3-7
MUL              
    
3-11
DIV               
          
3-12
DDV               
           
   
3-13
CLR              3-14
SQR                 
      
3-14
SCP    
 
              
             $

3-15
#
Preface
Manual de referencia del juego de instrucciones
3–2
Instrucción
Propósito Página
Mnemónico Nombre
Propósito Página
SCL #   $#   $# ! $ #  
(  $ %! # '   !$# 
 #
3-18
ABS $# $  %! $#   $# '  
!$#   #
3-24
CPT $! %* $  !) '   !$#  
#
3-25
SWP !   '#  ' #  $ *!  +
  !  $ !%  # #!
  
3Ć27
ASN !   #  !   $ *! '  
!$#  !   #
3Ć28
ACS !   #  !   $ *! '  
!$#  !   #
3-29
ATN ! ##  #  ! ##  $ *! ' 
 !$#  !   #
3Ć29
COS   #    $ *! '   !+
$#   #
3Ć30
LN !# #$!  #  !# #$!  %!   $# '
    #
3Ć30
LOG !#  

 #  !#      %!  
$# '   !$#   #
3-31
SIN   #    $ *! '   !$#+
   #
3-31
TAN #  #  ##  $ *! '  
!$#   #
3-32
XPY    #   % $ %!   # '   !$#
  #
3Ć33
Instrucciones matemáticas
3–3
Acerca de las instrucciones matemáticas
La mayor parte de las instrucciones toman dos valores de entrada, realizan la
función matemática y colocan el resultado en un lugar de memoria asignado.
Por ejemplo, las instrucciones ADD y SUB toman un par de valores de entrada, los
añaden o los restan y colocan el resultado en el destino especificado. Si el resultado
de la operación excede el valor permitido, un bit de overflow o underflow se
establece.
Para aprender más acerca de las instrucciones matemáticas, le recomendamos que
lea la Descripción general de las instrucciones matemáticas que sigue.
Descripción general de las instrucciones matemáticas
La información general siguiente se aplica a las instrucciones matemáticas.
Cómo introducir parámetros
• La fuente es la(s) dirección(es) del(los) valor(es) en que se realiza una
operación matemática, lógica o de movimiento. Esto puede ser direcciones de
palabra o constantes de programa. Una instrucción que tiene dos operandos de
fuente no aceptan constantes de programa en ambos operandos.
• El destino es la dirección del resultado de la operación. Los enteros con signo
se almacenan de forma complementaria de dos y se aplican a los parámetros de
fuente y destino.
Al usar un procesador SLC 5/03 OS301, OS302 ó un procesador SLC 5/04
OS400, OS401, se pueden usar los valores del punto (coma) flotante y de
cadena (especificados al nivel de palabra). Refiérase al apéndice E para obtener
tipos adicionales de direccionamiento válido.
Uso de las direcciones de palabra indexadas
Tiene la opción de usar direcciones de palabra indexadas para parámetros de
instrucción especificando direcciones de palabra (excepto los procesadores fijos y
SLC 5/01). El direccionamiento indexado se trata en el apéndice F.
Preface
Manual de referencia del juego de instrucciones
3–4
Uso de las direcciones de palabra indirectas
Tiene la opción de usar direcciones indirectas a nivel de palabra y a nivel de bit para
instrucciones especificando direcciones de palabra cuando usa procesadores SLC
5/03 OS302 y SLC 5/04 OS401. Vea el apéndice C para obtener más información.
Actualizaciones de los bits de estado aritmético
Los bits de estado aritmético se encuentran en la palabra 0, bits 0–3 en el archivo de
estado del controlador. Después de la ejecución de una instrucción, los bits de
estado aritmético en el archivo de estado son actualizados:
Con este bit: El controlador:
     
! ! !    !    !    !
   
  $ % 
 #  !#   # ! #(  
! #    ! !
    
 # $  !#'!  # ! #(  
$  (
   
 # $ $  #  !#'!  #
! #(   $  (
Bit de interrupción por overflow, S:5/0
El bit de error menor (S:5/0) se establece a la detección de un overflow matemático
o división entre 0. Si este bit se establece a la ejecución de una instrucción END o
una instrucción de fin temporal (TND) o una regeneración de E/S (REF), se
establece el código 0020 de error mayor recuperable.
En las aplicaciones donde ocurre un overflow matemático o una división entre 0,
puede evitar un fallo CPU usando la instrucción de desenclavamiento (OTU) con la
dirección S:5/0 en su programa. El renglón se debe encontrar entre el punto de
overflow y la instrucción END, TND o REF.
Cambios del registro matemático S:13 y S:14
La palabra de estado S:13 contiene la palabra de mínimo significado de los valores
de 32 bits de las instrucciones MUL y DDV. Contiene el resto para las instrucciones
DIV y DDV. También contiene los cuatro primeros dígitos BCD para las
instrucciones de conversión desde BCD (FRD) y conversión a BCD (TOD).
Instrucciones matemáticas
3–5
La palabra S:14 contiene la palabra de máximo significado para los valores de 32
bits de las instrucciones MUL y DDV. Contiene el cociente no redondeado para las
instrucciones DIV y DDV. También contiene el dígito más significativo (dígito 5)
para las instrucciones TOD y FRD.
Uso del archivo de datos de punto (coma) flotante (F8:)
Este tipo de archivo es válido para los procesadores SLC 5/03 OS301, OS302 y SLC
5/04 OS400, OS401. Estos son elementos de 2 palabras y direccionables solamente
al nivel de elemento.
Asigne las direcciones de punto (coma) flotante de esta manera:
Formato Explicación
F %)  #(!'   '!'
Ff:e f
+ %  %)  !+ %   %) #%'% ! ! !+ %
 %) !'%   #( (%   %$(%  ! !'
!
:  '%   !'
e
+ % 
 !'
! (! %!    ' !  !'  
#% + %   ' ! *'!
Ejemplos:
F8:2  !'  %)  #(!'   '!'
F10:36  !'  %)  #(!'   '!'   %)  
!   (! %)  #(!'   '!' #%  ((%
Preface
Manual de referencia del juego de instrucciones
3–6
Añadir (ADD)
Use la instrucción ADD para añadir un valor (fuente A) a otro valor (fuente B) y
coloque el resultado en el destino.
Actualizaciones de bits de estado aritmético
Con este bit: El procesador:
Acarreo (C)
se establece si el acarreo es generado; si no, se restablece (entero).
Se pone a cero para el punto (coma) flotante.
Overflow (V)
se establece si overflow es detectado en el destino; en caso contrario,
se restablece. Durante overflow, el indicador de error menor también se
establece. Para el punto (coma) flotante, el valor de overflow se coloca
en el destino. Para un entero, el valor -32,768 ó 32,767 se coloca en el
destino. Excepción: si está usando un procesador SLC 5/02, SLC 5/03
ó SLC 5/04 o un controlador MicroLogix 1000 y tiene S:2/14 (bit de
selección de overflow matemático) establecido, entonces el overflowe
sin signo o y truncado permanece en el destino.
Cero (Z) se establece si el resultado es cero; en caso contrario, se restablece.
Signo (S) se establece si el resultado negativo; en caso contrario, se restablece.
3
3 3
3
3
3
ADD
ADD
Source A
Source B
Dest
Instrucción de salida
Instrucciones matemáticas
3–7
Restar (SUB)
Use la instrucción SUB para restar un valor (fuente B) del otro (fuente A) y coloque
el resultado en el destino.
Actualizaciones de los bits de estado aritmético
Con este bit: El procesador:
Acarreo (C)
se establece si el acarreo es generado; en caso contrario, se restablece
(entero). Se pone a cero para el punto (coma) flotante.
Overflow (V)
se establece si es underflow; en caso contrario, se restablece. Durante
underflow, el indicador de error menor también se establece. Para el
punto (coma) flotante, el valor de overflow se coloca en el destino. Para
un entero, el valor -32,768 ó 32,767 se coloca en el destino.
Excepción: si está usando un procesador SLC 5/02, SLC 5/03 ó SLC
5/04 o un controlador MicroLogix 1000 y tiene S:2/14 (bit de selección
de overflow matemático) establecido, entonces el overflower sin signo y
truncado permanece en el destino.
Cero (Z) se establece si el resultado es cero; en caso contrario, se restablece.
Sign (S) se establece si el resultado negativo; en caso contrario, se restablece.
3
3 3
3
3
3
SUB
SUBTRACT
Source A
Source B
Dest
Instnrucción de salida
Manual de referencia del juego de instrucciones
3–8
Adición y sustracción de 32 bits
Tiene la opción de realizar adición y sustracción de entero con signo de 16 ó 32 bits.
Esto es facilitado por el bit de archivo de estado S:2/14 (bit de selección de overflow
matemático).
Bit de selección de overflow matemático S:2/14
Establezca este bit cuando desee usar la adición y sustracción de 32 bits. Cuando
S:2/14 está establecido y el resultado de una instrucción ADD, SUB, MUL, DIV o
NEG no se puede representar en la dirección de destino (debido al underflow u
overflow matemático):
• El bit de overflow S:0/1 se establece.
• El bit de interrupción por overflow S:5/0 se establece.
• La dirección de destino contiene los 16 bits menos significativos truncados y sin
signo del resultado.
Nota Para las instrucciones MUL, DIV, de entero y todas las instrucciones de punto
(coma) flotante con un destino de entero, el cambio de estado se realiza
inmediatamente una vez establecido S:2/14.
Cuando S:2/14 se restablece (condición predeterminada) y el resultado de una
instrucción ADD, SUB, MUL, DIV o NEG no se puede representar en la dirección
de destino (debio al underflow u overflow matemático):
• El bit de overflow S:0/1 se establece.
• El bit de interrupción por overflow S:5/0 se establece.
• La dirección de destino contiene 32767 si el resultado es positivo o –32768 si el
resultado es negativo.
Nota Además, los procesadores SLC 5/03 y SLC 5/04 validan el estado de bit S:2/14
solamente al final de un escán para instrucciones ADD, SUB y NEG.
Anote que el estado de bit S:2/14 no afecta la instrucción DDV. Tampoco afecta el
contenido del registro matemático cuando usa las instrucciones MUL y DIV.
Nota Los procesadores SLC 5/03 y SLC 5/04 solamente interrogan este bit al pasar al
modo de marcha y final de escán. Use la función de monitorización de datos para
efectuar esta selección antes de introducir el modo de marcha.
3
3 3
3
Instrucciones matemáticas
3–9
Ejemplo de adición de 32 bits
El ejemplo siguiente muestra cómo se añade un entero signado de 16 bits a un
entero signado de 32 bits. Recuerde que S:2/14 debe estar establecido para la
adición de 32 bits.
Anote que el valor de los 16 bits más significativos (B3:3) del número de 32 bits se
incrementa en 1 si el bit de acarreo S:0/0 está estabelcido y se disminuye en 1 si el
número añadido (B3:1) es negativo.
Para evitar la ocurrencia de un error mayor al final del escán, debe desenclavar el bit
de interrupción por overflow S:5/0 según se muestra.
Preface
Manual de referencia del juego de instrucciones
3–10
(U)
S:5
0
END
] [
B3
0
[OSR]
B3
1
,' $ ) $3 * !
-))' () , *'$'
*1   * 2' 
   $ )*,$+' *
'$'    
SUB
SUBTRACT
Source A B3:3
0000000000000011
Source B 1
Dest B3:3
0000000000000011
ADD
ADD
Source A B3:1
0101010110101000
Source B B3:2
0001100101000000
Dest B3:2
0001100101000000
ADD
ADD
Source A 1
Source B B3:3
0000000000000011
Dest B3:3
0000000000000011
] [
S:0
0
] [
B3
31
Añadir el valor de 16 bits B3:1 al valor de 32 bits B3:3 B3:2
Operación de adición Binario Hex Decimal
B3:3 B3:2
B3:1
B3:3 B3:2
0000 0000 0000 0011 0001 1001 0100 0000
0101 0101 1010 1000
0000 0000 0000 0011 0110 1110 1110 1000
0003 1940
55A8
0003 6EE8
203,072
21,928
225,000
Addend
Addend
Sum
À
 , ))' * )'
 *+$'  *
2'    
   *  +-'
   *+$'  *
)*+'    
$ +    '-)$'.
  * *$- ()
-+) $ ',))  ,
))') %0') $ $ $
*1
À
$ *('*+-'  ()' )%3 %,*+) -$')* %$*   +* *'$%+ $ -$') %$  , +)'  +* *
)- $ -$') )' ' !/ %'*+)' ') #%($'    !/ *  /   /   /   /   /    
Nota de aplicación: Puede usar el renglón de arriba con una instrucción DDV y un
contador para calcular el valor promedio de B3:1.
Instrucciones matemáticas
3–11
Multiplicar (MUL)
Use la instrucción MUL para multiplicar un valor (fuente A) por el otro (fuente B) y
coloque el resultado en el destino.
Actualizaciones de los bits de estado aritmético
Con este bit: El procesador:
Acarreo (C) siempre se restablece.
Overflow (V)
se establece si el overflow se detecta en el destino; en caso contrario,
se restablece. Durante el overflow, el indicador de error menor también
se establece. El valor -32,768 ó 32,767 se coloca en el destino.
Excepción: si usa un procesador SLC 5/02, SLC 5/03 ó SLC 5/04 ó un
controlador MicroLogix 1000 y tiene S:2/14 (bit de selección de overflow
matemático) establecido, el overflow sin signo y truncado permanece en
el destino. Para los destinos de punto (coma) flotante, el resultado de
overflow permanece en el destino.
Cero (Z) se establece si el resultado es cero; en caso contrario, se restablece.
Signo (S)
se establece si el resultado es negativo; en caso contrario, se
restablece.
Cambios del registro matemático, S:13 y S:14
Entero – Contiene el resultado con signo de 32 bits de la operación de
multiplicación. Este resultado es válido durante el overflow.
Punto (coma) flotante – El registro matemático no se cambia.
3
3 3
3
3
3
MUL
MULTIPLY
Source A
Source B
Dest
Instrucción de salida
Preface
Manual de referencia del juego de instrucciones
3–12
Dividir (DIV)
Use la instrucción DI:V para dividir un valor (fuente A) entre otro (fuente B). El
cociente redondeado se coloca a su vez en el destino. Si el residuo es 0.5 ó mayor,
el redondear toma lugar en el destino. El cociente no redondeado se almacena en la
palabra más significativa del registro matemático. El resto se coloca en la palabra
menos significativa del registro matemático.
Actualizaciones de los bits de estado aritmético
Con este bit: El procesador:
Acarreo (C) siempre se restablece.
Overflow (V)
se establece si la división entre cero u overflow se detecta en el destino;
en caso contrario, se restablece. Durante el overflow, el indicador de
error menor también se establece. El valor 32,767 se coloca en el
destino. Excepción: si usa un procesador SLC 5/02, SLC 5/03 ó SLC
5/04 ó un controlador MicroLogix 1000 y tiene S:2/14 (bit de selección
de overflow matemático) establecido, el overflow sin signo y truncado
permanece en el destino. Para los destinos de punto (coma) flotante, el
resultado de overflow permanece en el destino.
Cero (Z)
se establece si el resultado es cero; si no, se restablece; no definido si
overflow está establecido.
Signo (S)
se establece si el resultado es negativo; si no, se restablece; no definido
si el overflow está establecido.
Cambios del registro matemático, S:13 y S:14
Entero – El cociente no redondeado se coloca en la palabra más significante y el
residuo se coloca en la palabra menos significativa.
Punto (coma) flotante – El registro matemático no se cambia.
Ejemplo
El residuo de 11/2 es 0.5, por lo tanto, el cociente se redondea a 6 y se almacena en
el destino. El cociente no redondeado, lo cual es 5, se almacena en S:14 y el
residuo, lo cual es 1, se almacena en S:13.
3
3 3
3
3
3
DIV
DIVIDE
Source A
Source B
Dest
Instrucción de entrada
DIV
DIVIDE
Source A N7:0
11
Source B N7:1
2
Dest N7:2
6
dónde: N7:0 = 11
N7:1 = 2
N7:2 = 6
resultado: S:14 = 5
S:13 = 1
Instrucciones matemáticas
3–13
División doble (DDV)
El contenido de 32 bits del registro matemático se divide entre el valor de fuente de
16 bits y el cociente redondeado se coloca en el destino. Si el residuo es 0.5 ó
mayor, se redondea el destino.
Típicamente esta instrucción sigue una instrucción MUL que crea un resultado de
32 bits.
Actualizaciones de los bits de estado aritmético
Con este bit: El procesador:
   #! # #$
 ' 
# #$ # # #+   #  #%$ # (    
+       #  $  # #$ %$ 
 ' $* # #$           
  #      #$ 
  # #$ #  #%$ #   #  $  # #$
 
# #$ #  #%$ # $  #  $  #
#$   #   ' #$) #$ 
Cambios del registro matemático, S:13 y S:14
Inicialmente contiene el dividendo de la operación DDV. A la ejecución de
instrucción, el cociente no redondeado se coloca en la palabra más significativa del
registro matemático. El residuo se coloca en la palabra menos significativa del
registro matemático.
3
3 3
3
3
3
DDV
DOUBLE DIVIDE
Source
Dest
#$%+  #
Preface
Manual de referencia del juego de instrucciones
3–14
Borrar (CLR)
Use la instrucción CLR para poner a cero el valor de destino de una palabra.
Actualizaciones de los bits de estado aritmético
Con este bit: El procesador:
      
      
      
      
Raíz cuadrada (SQR)
Cuando esta instrucción es evaluada como verdadera, la raíz cuadrada del valor
absoluto de la fuente es calculada y el resultado redondeado se coloca en el destino.
La instrucción calcula la raíz cuadrada de un número negativo sin overflow ni fallos.
En las aplicaciones donde el valor de fuente puede ser negativo, use una instrucción
de comparación para evaluar el valor de fuente para determinar si el destino puede
ser inválido.
Actualizaciones de los bits de estado aritmético
Con este bit: El procesador:
  
      
      

      
  
         
 
      
3
3 3
3
3
3
CLR
CLEAR
Dest
!   
3
3 3
3
SQR
SQUARE ROOT
Source
Dest
!
Instrucciones matemáticas
3–15
Cómo escalar con parámetros (SCP)
Use la instrucción SCP para producir un valor de salida escalado que tiene una
relación lineal entre los valores de entrada y escalados. Esta instrucción tiene
capacidad para valores de entero y punto (coma) flotante.
Use la fórmula siguiente para convertir los datos de entrada analógicos en unidades
de ingeniería:
y = mx + b
Donde:
y = salida escalada
m = pendiente (escala máx. – escala mín.) / (entrada máx. – entrada mín.)
x = valor de entrada
b = offset (intersección y) = escala mín. – (entrada min. × inclinación)
Nota La entrada mínima, entrada máxima, escala mínima y escala máxima se usan para
determinar los valores de inclinación y offset. El valor de entrada puede salir de
los límites de entrada especificados sin requerir la puesta en orden. Por ejemplo, el
valor de salida con escala no se encontrará necesariamente fijado entre los valores
mínimos y máximos escalados.
Cómo introducir parámetros
Introduzca los parámetros siguientes al programar esta instrucción:
• El valor de entrada puede ser una dirección de palabra o una dirección de
elementos de datos de punto (coma) flotante.
• Los valores mínimos y máximos de entrada determinan el rango de datos que
aparece en el parámetro de valor de entrada. El valor puede ser una dirección
de palabra, una constante de entero, elemento de datos de punto (coma) flotante
o una constante de punto (coma) flotante.
• Los valores mínimos y máximos escalados determinan el rango de datos que
aparece en el parámetro de salida con escala. El valor puede ser una dirección
de palabra, una constante de entero, elemento de datos de punto (coma) flotante
o una constante de punto (coma) flotante.
• El valor de salida escalado puede ser una dirección de palabra o una dirección
de elementos de punto (coma) flotante.
3
3
SCP
SCALE W/PARAMETERS
Input
Input Min.
Input Max.
Scaled Min.
Scaled Max.
Scaled Output
Preface
Manual de referencia del juego de instrucciones
3–16
Actualizaciones de los bits de estado aritmético
Con este bit: El procesador:
      
  
                  
       
                   
  
               
 
Ejemplos de aplicación
Ejemplo 1
En el primer ejemplo, un módulo de combinación de E/S analógica (1746-NIO4I) se
encuentra en la ranura 1 del chasis. Un transductor de presión está conectado a la
entrada 0 y deseamos leer el valor en unidades de ingeniería. El transductor de
presión mide presiones de 0–1000 lbs/pul2 y proporciona una señal de 0–10 V al
módulo analógico. Para una señal de 0–10 V, el módulo analógico proporciona un
rango entre 0–32,767. El renglón de programa siguiente colocará un número entre
0–1000 en N7:20 basado en la señal de entrada proveniente del transductor de
presión en el módulo analógico.
Renglón 2:0
| +SCP––––––––––––––––––––+ |
|––––––––––––––––––––––––––––––––––––––––––––––––––––+SCALE W/PARAMETERS +–|
| |Input I:1.0| |
| | 0| |
| |Input Min. 0| |
| | | |
| |Input Max. 32767| |
| | | |
| |Scaled Min. 0| |
| | | |
| |Scaled Max. 1000| |
| | | |
| |Scaled Output N7:20| |
| | 0| |
| +–––––––––––––––––––––––+ |
Instrucciones matemáticas
3–17
Ejemplo 2
En el segundo ejemplo, un módulo de combinación de E/S analógica (1764-NIO4I)
se encuentra en ranura 1 del chasis. Deseamos controlar la válvula proporcional
conectada a la salida 0. La válvula requiere una señal de 4–20 mA para controlar el
tamaño de su abertura (0–100%). (Suponga que hay presente lógica adicional en el
programa que calcula el tamaño de abertura de la válvula en porcentaje y coloca un
número entre 0–100 en N7:21.) El módulo analógico proporciona una señal de
salida de 4–20 mA para un número entre 6242–31,208. El renglón de programa
siguiente conducirá una salida analógica para proporcionar una señal de 4–20 mA a
la válvula proporcional (N7:21) basado en un número entre 0–100.
Renglón 2:1
| +SCP––––––––––––––––––––+ |
|––––––––––––––––––––––––––––––––––––––––––––––––––––+SCALE W/PARAMETERS +–|
| |Input N7:21| |
| | 0| |
| |Input Min. 0| |
| | | |
| |Input Max. 100| |
| | | |
| |Scaled Min. 6242| |
| | | |
| |Scaled Max. 31208| |
| | | |
| |Scaled Output O:1.0| |
| | 0| |
| +–––––––––––––––––––––––+ |
Manual de referencia del juego de instrucciones
3–18
Escala de datos (SCL)
Cuando esta instrucción es verdadera, el valor en la dirección de fuente se multiplica
por el valor del régimen. El resultado redondeado se añade al valor de offset y se
coloca en el destino.
Ejemplo
SCL
SCALE
Source N7:0
100
Rate [/10000] 25000
Offset 127
Dest N7:1
377
    
      
     
    
Nota Cuando ocurre un underflow u overflow en el archivo de destino, el bit de error
menor S:5/0 debe estar restablecido por el programa. Esto debe ocurrir antes del
final del escán actual para evitar que el código de error mayor 0020 sea instruido.
Esta instrucción puede provocar un overflow antes de la adición del offset.
Anote que a veces el término régimen significa pendiente. La función de régimen se
limita al rango –3.2768 a 3.2767. Por ejemplo, –32768/10000 a +32767/10000.
Cómo introducir parámetros
El valor para los parámetros siguientes es entre –32,768 a 32,767.
• La fuente es una dirección de palabra.
• El régimen (o pendiente) es el valor positivo o negativo que usted introduce
dividido entre 10,000. Puede ser una constante de programa o una dirección de
palabra.
• El offset puede ser una constante de programa o una dirección de palabra.
3
3 3
3
SCL
SCALE
Source
Rate [/10000]
Offset
Dest
Instrucciones matemáticas
3–19
Actualizaciones de los bits de estado aritmético
Con este bit: El procesador:
))  * )*)-
-) #. 
* *+# * ,% -) #. * ++ % * %+)) * )*+#
,)%+ ,% -) #. # +  ))) $%)   +$2% * *+# 0
# -#)    4   * # % # *+%  ')*%  ,%
-) #. * -)  %+* 0 *',2*  # '#4% # -#) 
 *+
À
)  * *+# ,% # -#)  *+% * )
!% 
* *+# * # -#)  *+% * %!+- % * %+)) *
)*+#
À  # )*,#+  # ,%+ $,#+'# ') # )2!$% - %+)  * $0) (,   # %*+),4% 
')- ,% -) #. 0 ,* ,% )))   +  ))) $%) 0 #   % # *+% *+ ,))
%'%%+$%+ #  *+ +,#
Ejemplo de aplicación 1 – Conversión de una señal de entrada analógica de 4 mA–20 mA
en una variable de proceso PID
Valor con esĆ
cala
Valor de entrada
 
%+) $3%
  
%+) $1/
  

*# $1/
*# $3%
Manual de referencia del juego de instrucciones
3–20
Cómo calcular la relación lineal
Use las ecuaciones siguientes para expresar las relaciones lineales entre el valor de
entrada y el valor con escala resultante:
     $ !  #! % !' + #
'   %   (  #! %  #! (
   −        =   )   
#   (  #! ( % !'
   ×   =  
Ejemplo de aplicación 2 – Cómo escalar una entrada analógica para controlar una salida
analógica
   

   
      
 
 
 %
 (
#! ( #! %
Instrucciones matemáticas
3–21
Cómo calcular la relación lineal
Use las ecuaciones siguientes para calcular las unidades con escala:
       ! $  +  !
    %$    '  ! %$  ! '
          =   (  
 !    '  ! ' $ 
 −  ×    =  
Los valores de offset y régimen anteriores son correctos para la instrucción SCL.
No obstante, si la entrada excede 13,107, la instrucción provoca un overflow. Por
ejemplo:
     ×     # 
     
Observe que ocurrió un overflow aunque el valor final era correcto. Esto ocurrió
porque se generó una condición de overflow durante el cálculo de régimen.
Para evitar un overflow, recomendamos desplazar la relación lineal a lo largo del eje
del valor de entrada y reducir los valores.
El diagrama siguiente muestra la relación lineal desplazada. El valor de entrada
mínima de 3,277 se resta del valor de entrada máximo de 16,384, lo que resulta en el
valor de 13,107.
Manual de referencia del juego de instrucciones
3–22
   

   
     
 
 
# (
# *
$ * #!' $ ( #!'
Cómo calcular la relación lineal desplazada
Use las ecuaciones siguientes para calcular las unidades escaladas:
     %   $  )  #$
)  # (  # *  $ (  $ *
  −      −  =   +  
#$  # *  $ *  )
   ×   =
Instrucciones matemáticas
3–23
En este ejemplo, la instrucción SCL se introduce en el programa de lógica de
escalera tal como sigue:
SCL
SCALE
Source N7:0
Rate [/10000] 24997
Offset 0
Dest O:2.0
SUB
SUBTRACT
Source A I:1.0
Source B 3277
Dest N7:0
Preface
Manual de referencia del juego de instrucciones
3–24
Absoluto (ABS)
Use la instrucción ABS para calcular el valor absoluto de la fuente y colocar el
resultado en el destino. Esta instrucción tiene capacidad para los valores de entero y
punto (coma) flotante. Use esta instrucción con procesadores SLC 5/03 OS302 y
SLC 5/04 OS401.
Cómo introducir los parámetros
Introduzca los parámetros siguientes al programar esta instrucción:
• La fuente puede ser una dirección de palabra, una constante de entero,
elemento de datos de punto (coma) flotante o una constante de punto (coma)
flotante.
• El destino sólo puede ser una dirección de palabra o un elemento de datos de
punto (coma) flotante.
Actualizaciones de los bits de estado aritmético
Con este bit: El procesador:
    !  ! !
$ % 
!  ! !  # $  #   !
! !    !   $   
  
! ! #  $  ! !    !    !
!
  !  ! !
3
3
ABSOLUTE VALUE
Source
Dest
ABS
! #  !
Instrucciones matemáticas
3–25
Calcular (CPT)
La instrucción CPT efectúa operaciones de copiar, aritméticas, lógicas y conversión.
Usted define la operación en la expresión y el resultado se escribe en el destino. El
CPT usa funciones para operar en uno o más valores en la expresion para efectuar
operaciones tales como:
• convertir de un formato de número a otro
• manejar los números
• efectuar funciones trigonométricas
Use esta instrucción con los procesadores SLC 5/03 OS302 y SLC 5/04 OS401.
Las instrucciones que se pueden usar en la expresión incluyen:
+, –, *, | (DIV), SQR, – (NEG), NOT, XOR, OR, AND, TOD, FRD, LN,
TAN, ABS, DEG, RAD, SIN, COS, ATN, ASN, ACS, LOG y ** (XPY).
Nota El tiempo de ejecución de una instrucción CPT es mayor que el de una sola
operación aritmética y usa más palabras de instrucción.
Cómo introducir parámetros
Introduzca los parámetros siguientes al programar esta instrucción:
• El destino puede ser una dirección de palabra o la dirección de un elemento de
datos de punto (coma) flotante.
• La expresión es cero o más líneas, con hasta 28 caracters por línea, hasta 255
caracteres.
Actualizaciones de los bits de estado aritmético
Con este bit: El procesador:
                   
  
                 

                   
                  
Los bits anteriores son puestos a cero al inicio de la instrucción CPT. Vea S:34/2
para información acerca del manejo especial de los bits de estado aritmético al usar
un punto (coma) flotante.
3
3
COMPUTE
Dest
Expression
CPT
Manual de referencia del juego de instrucciones
3–26
Ejemplo de aplicación
Este ejemplo de aplicación usa el teorema de Pitágoras para calcular la longitud de
la hipotenusa de un triángulo cuando se conocen los dos catetos. Use la ecuación
siguiente:
c2 = a2 + b2
El renglón 2:0 usa instrucciones matemáticas estándar para implementar el teorema de
Pitágoras. El renglón 2:1 usa la instrucción CPT para obtener el mismo resultado.
Renglón 2:0
| +XPY–––––––––––––––+ |
|–––––––––––––––––––––––––––––––––––––––––––––––––––––+–+X TO POWER OF Y +–+–|
| | |Source A N7:1| | |
| | | 3| | |
| | |Source B 2| | |
| | | | | |
| | |Dest N7:3| | |
| | | 0| | |
| | +––––––––––––––––––+ | |
| | +XPY–––––––––––––––+ | |
| +–+X TO POWER OF Y +–+ |
| | |Source A N7:2| | |
| | | 4| | |
| | |Source B 2| | |
| | | | | |
| | |Dest N7:4| | |
| | | 0| | |
| | +––––––––––––––––––+ | |
| | +ADD–––––––––––––––+ | |
| +–+ADD +–+ |
| | |Source A N7:3| | |
| | | 0| | |
| | |Source B N7:4| | |
| | | 0| | |
| | |Dest N7:5| | |
| | | 0| | |
| | +––––––––––––––––––+ | |
| | +SQR–––––––––––––––+ | |
| +–+SQUARE ROOT +–+ |
| |Source N7:5| |
| | 0| |
| |Dest N7:0| |
| | 0| |
| +––––––––––––––––––+ |
Renglón 2:1
| +CPT––––––––––––––––––––––––+ |
|––––––––––––––––––––––––––––––––––––––––––––––––+COMPUTE +–|
| |Dest N10:0| |
| | 0| |
| |Expression | |
| |SQR ((N7:1 ** 2) + (N7:2 **| |
| |2)) | |
| +–––––––––––––––––––––––––––+ |
Renglón2:2
| |
|–––––––––––––––––––––––––––––––––––––+END+––––––––––––––––––––––––––––––––––––|
| |
donde c = (a2 + b2)
Ǹ
Ǹ(N7:1)2 + (N7:2)2
N10:0 =
Instrucciones matemáticas
3–27
Intercambio (SWP)
Use esta instrucción para intercambiar los bytes bajos y altos de un número de
palabras especificado en un archivo de bit, entero, ASCII o cadena. Use esta
instrucción con los procesadores SLC 5/03 OS302 y SLC 5/04 OS401.
Cómo introducir parámetros
Introduzca los parámetros siguientes al programar esta instrucción:
• La fuente sólo puede ser una dirección de palabra indexada.
• La longitud es una referencia al número de palabras que van a intercambiarse,
pese al tipo de archivo. La dirección se limita a constantes de entero. Para los
archivos de tipo bit, entero y ASCII, el rango de longitud es de 1 a 128. Para el
archivo de tipo cadena, el rango de longitud es de 1 a 41. Anote que esta
instrucción se restringe a un solo elemento de cadena y no puede cruzar un
límite de elemento de cadena.
El ejemplo siguiente muestra cómo funciona la instrucción SWP..
Antes:
ST10:1 = abcdefghijklmnopqrstuvwxyz
Después:
ST10:1 = badcfehgjilknmporqtsvuxwzy
3
3
SWAP
Source
Length
SWP
    
SWAP
Source #ST10:1.1
Length 13
SWP
Preface
Manual de referencia del juego de instrucciones
3–28
Arco seno (ASN)
Use la instrucción ASN para tomar el arco seno de un número (fuente en radianes) y
almacenar el resultado (en radianes) en el destino. La fuente debe ser mayor o igual
que –1 y menor o igual que 1. El valor resultante en el destino siempre es mayor o
igual que –π/2 y menor o igual que π/2 donde π = 3.141592. Use esta instrucción
con los procesadores SLC 5/03 OS302 y SLC 5/04 OS401.
Actualizaciones de los bits de estado aritmético
Con este bit: El procesador:
      
  
                  
      
                   
  
               
 
3
3
ARC SINE
Source
Dest
ASN
Instrucciones matemáticas
3–29
Arco coseno (ACS)
Use la instrucción ACS para tomar el arco seno de un número (fuente en radianes) y
almacenar el resultado (en radianes) en el destino. La fuente debe ser mayor o igual
que –1 y menor o igual que 1. El valor resultante en el destino siempre es mayor o
igual que 0 y menor o igual que π , donde π = 3.141592. Use esta instrucción con
los procesadores SLC 5/03 OS302 y SLC 5/04 OS401.
Actualizaciones de los bits de estado aritmético
Con este bit: El procesador:
      
  
                  
         
                   
      
Arco tangente (ATN)
Use la para tomar el arco tangente de un número (fuente) y almacenar el resultado
(en radianes) en el destino. El valor resultante en el destino siempre es mayor o
igual que –π /2 y menor o igual que π/2, donde π = 3.141592. Use esta instrucción
con los procesadores SLC 5/03 OS302 y SLC 5/04 OS401.
Actualizaciones de los bits de estado aritmético
Con este bit: El procesador:
      
  
                  
         
                   
  
               
 
3
3
ARC COSINE
Source
Dest
ACS
    
3
3
ARC TANGENT
Source
Dest
ATN
Preface
Manual de referencia del juego de instrucciones
3–30
Coseno (COS)
Use la instrucción COS para tomar el coseno de un número (fuente en radianes) y
almacenar el resultado (en radianes) en el destino. La fuente debe ser mayor o igual
que –205887.4 y menor o igual que 205887.4. La óptima exactitud se obtiene
cuando la fuentes es mayor que –2 π y menor que 2 π, donde π = 3.141592. El
valor resultante en el destino siempre es mayor o igual que –1 y menor o igual que
1. Use esta instrucción con los procesadores SLC 5/03 OS302 y SLC 5/04 OS401.
Actualizaciones de los bits de estado aritmético
Con este bit: El procesador:
      
  
                  
         
                   
      
Logaritmo natural (LN)
Use la instrucción LN para tomar el logaritmo natural del valor en la fuente y
almacenar el resultado en el destino. La fuente debe ser mayor que cero. El valor
resultante en el destino siempre es mayor que o igual que –87.33654 y menor o
igual que 88.72284. Use esta instrucción con los procesadores SLC 5/03 OS302 y
SLC 5/04 OS401.
Actualizaciones de los bits de estado aritmético
Con este bit: El procesador:
      
  
                  
         
                   
      
3
3
COSINE
Source
Dest
COS
    
3
3
NATURAL LOG
Source
Dest
LN
Instrucciones matemáticas
3–31
Logaritmo a la base 10 (LOG)
Use la instrucción LOG para tomar el logaritmo de base 10 del valor en la fuente y
almacenar el resultado en el destino. La fuente debe ser mayor que cero. El valor
resultante en el destino siempre es mayor o igual que –37.92978 y menor o igual
que 38.53184. Use esta instrucción con los procesadores SLC 5/03 OS302 y SLC
5/04 OS401.
Actualizaciones de los bits de estado aritmético
Con este bit: El procesador:
      
  
                  
         
                   
      
Seno (SIN)
Use la instrucción SIN para tomar el seno de un número (fuente en radianes) y
almacenar el resultado en el destino. La fuente debe ser mayor o igual que
–205887.4 y menor o igual que 205887.4. La óptima exactitud se obtiene cuando la
fuente es mayor que –2 π y menor que 2 π, donde π = 3.141592. El valor resultante
en el destino siempre es mayor que o igual que –1 y menor o igual que 1. Use esta
instrucción con los procesadores SLC 5/03 OS302 y SLC 5/04 OS401..
Actualizaciones de los bits de estado aritmético
Con este bit: El procesador:
      
  
                  
         
                   
      
3
3
LOG BASE 10
Source
Dest
LOG
    
3
3
SINE
Source
Dest
SIN
Preface
Manual de referencia del juego de instrucciones
3–32
Tangente (TAN)
Use la instrucción TAN para tomar la tangente de un número (fuente en radianes) y
almacenar el resultado en el destino. El valor de la fuente debe ser mayor o igual
que –102943.7 y menor o igual que 102943.7. La óptima exactitud se obtiene
cuando la fuente es mayor que –2 π y menor que 2 π, donde π = 3.141592. El valor
resultante en el destino es un número real o infinito. Use esta instrucción con los
procesadores SLC 5/03 OS302 y SLC 5/04 OS401..
Actualizaciones de los bits de estado aritmético
Con este bit: El procesador:
      
  
                  
         
                   
      
3
3
TANGENT
Source
Dest
TAN
Instrucciones matemáticas
3–33
X a la potencia de Y (XPY)
Use la instrucción XPY para elevar un valor (fuente A) a una potencia (fuente B) y
almacenar el resultado en el destino. Si el valor en la fuente A es negativo, la
exponente (fuente B) debe ser un número entero. Si no es un número entero, el bit
de overflow se establece y el valor absoluto de la base se usa en el cálculo. Use esta
instrucción con los procesadores SLC 5/03 OS302 y SLC 5/04 OS401.
La instrucción XPY usa el algoritmo siguiente:
XPY = 2 ** (Y * log2 (X))
Si cualquiera de las operaciones intermedias en este algoritmo provoca un overflow,
se establece el bit de estado de overflow aritmético (S:01/).
Actualizaciones de los bits de estado aritmético
Con este bit: El procesador:
      
  
                  
         
                   
      
3
3
X TO POWER OF Y
Source A
Source B
Dest
XPY
Manual de referencia del juego de instrucciones
3–34
Instrucciones matemáticas en el ejemplo de aplicación
de la perforadora de papel
Esta sección proporciona renglones de escalera para demostrar el uso de
instrucciones matemáticas. Los renglones son parte del ejemplo de aplicación de la
perforadora de papel descrito en el apéndice H. Usted va a añadir a la subrutina en
archivo 7 que se comenzó en el capítulo 2.
Instrucciones matemáticas
3–35
Cómo añadir el archivo 7
Renglón 7:1
Este renglón restablece el número de incrementos de 1/4 pulg. y las milésimas de 1/4
pulg. cuando se activa el interruptor de llave de “restablecimiento de cambio de la
broca”. Esto debe ocurrir a continuación de cada cambio de la broca.
| interruptor Milésimas |
| de llave de 1/4 pulg. |
| de restablecimiento |
| de cambio de broca |
| I:1.0 +CLR–––––––––––––––+ |
|––––] [––––––––––––––––––––––––––––––––––––––––––––––+–+CLEAR +–+–|
| 8 | |Dest N7:11| | |
| | | 0| | |
| | +––––––––––––––––––+ | |
| | incrementos | |
| | de 1/4 pulg. | |
| | | |
| | +CLR–––––––––––––––+ | |
| +–+CLEAR +–+ |
| |Dest N7:10| |
| | 0| |
| +––––––––––––––––––+ |
Renglón 7:6
Mantenga un total actualizado de cuántas pulgadas de papel han sido perforadas con
la broca actual. Cada vez que se perfora un orificio, añada el espesor (en 1/4
pulg.) al total actualizado (registrado en 1/4 pulg.) El OSR es necesario porque el
ADD se ejecuta cada vez que el renglón es verdadero y el cuerpo de la perforadora
activaría el interruptor de límite de PROFUNDIDAD DE BROCA durante más de un escán
de programa. El entero N7:12 es el valor convertido por entero del interruptor
preselector rotatorio en las entradas I:3/11 – I:3/14.
| Prof. |Desgaste de herramienta Incrementos |
| de broca | OSR 1 de 1/4 pulg. |
| LS |
| I:1.0 B3:1 +ADD–––––––––––––––+ |
|––––] [–––––––[OSR]––––––––––––––––––––––––––––––––––––––+ADD +–|
| 4 8 |Source A N7:12| |
| | 1| |
| |Source B N7:10| |
| | 0| |
| |Dest N7:10| |
| | 0| |
| +––––––––––––––––––+ |
Manual de referencia del juego de instrucciones
3–36
Renglón 7:7
Cuando el número de incrementos de 1/4 pulg. sobrepasa 1000, determine cuántos
incrementos han sobrepasado 1000 y almacene N7:20, añada 1 al total de 1000
incrementos de 1/4 pulg. y reinicialice el acumulador de incrementos de 1/4 pulg. a
la cantidad de incrementos que habían sobrepasado 1000.
| Incrementos |
| de 1/4 pulg. |
| |
| +GEQ–––––––––––––––+ +SUB–––––––––––––––+ |
|–+GRTR THAN OR EQUAL+––––––––––––––––––––––––––––––––+–+SUBTRACT +–+–|
| |Source A N7:10| | |Source A N7:10| | |
| | 0| | | 0| | |
| |Source B 1000| | |Source B 1000| | |
| | | | | | | |
| +––––––––––––––––––+ | |Dest N7:20| | |
| | | 0| | |
| | +––––––––––––––––––+ | |
| | Milésimas | |
| | de 1/4 pulg. | |
| | +ADD–––––––––––––––+ | |
| +–+ADD +–+ |
| | |Source A 1| | |
| | | | | |
| | |Source B N7:11| | |
| | | 0| | |
| | |Dest N7:11| | |
| | | 0| | |
| | +––––––––––––––––––+ | |
| | | |
| | | |
| | | |
| | Incrementos | |
| | de 1/4 pulg. | |
| | +MOV–––––––––––––––– | |
| +–+MOVE +–+ |
| |Source N7:20| |
| | 0| |
| |Dest N7:10| |
| | 0| |
| +––––––––––––––––––+ |
|–––––––––––––––––––––––––––––––––––––+END+––––––––––––––––––––––––––––––––––––|
Instrucciones de manejo de datos
4–1
4 Instrucciones de manejo de datos
Este capítulo contiene información general acerca de las instrucciones de manejo de
datos y explica cómo funcionan en su programa de aplicación. Cada una de las
instrucciones incluye información acerca de:
• cómo aparece el símbolo de instrucción
• cómo usar la instrucción
Además, la última sección contiene un ejemplo de aplicación para una perforadora
de papel que muestra el uso de las instrucciones de manejo de datos.
Instrucciones de manejo de datos
Instrucción
Propósito Página
Mnemónico Nombre
Propósito Página
TOD         !        
$      
4-3
FRD         !   !   $ 
    
4-6
DEG   
  
   !    $ 
 !     
4-10
RAD   
  
   !    $ 
 !     
4-11
DCD    
 
 !           
          
4-12
ENC     

 ! !       !     
!  !        %# $
!       '  
        
 
4-13
COP y FLL    $
  
  !'       
!         !'
 !   !    '  
  
4Ć15
 (   % !
Preface
Manual de referencia del juego de instrucciones
4–2
Instrucción
Propósito Página
Mnemónico Nombre
Propósito Página
MOV          4-20
MVM  
 
          
#    
4-21
AND  !   #   4-23
OR  !   #    4-24
XOR   !   #     4-25
NOT   !   #   4-26
NEG              

4-27
FFL y FFU   
  
 #          
         %
             
 %         
           
   
4-30
LFL y LFU   
  
 #          
         %
             
         
$             %
  
4-32
Acerca de las instrucciones de manejo de datos
Use estas instrucciones para convertir información, manejar datos en el controlador
y realizar operaciones de lógica.
En este capítulo se encuentra una descripción general antes de los grupos de
instrucciones. Antes de aprender las instrucciones en cada uno de estos grupos, le
recomendamos que lea la descripción general. Este capítulo contiene las
descripciones generales siguientes:
• Descripción general de las instrucciones de mover y lógicas
• Descripción general de las instrucciones FIFO y LIFO
Instrucciones de manejo de datos
4–3
Convertir en BCD (TOD)
Use esta instrucción para convertir enteros de 16 bits en valores BCD.
Con los procesadores fijos y SLC 5/01, el destino sólo puede ser el registro
matemático. Con los procesadores SLC 5/02, SLC 5/03 y SLC 5/04 y controladores
MicroLogix 1000, el parámetro de destino puede ser una dirección de palabra en
cualquier archivo o puede ser el registro matemático, S:13 y S:14.
Si el valor de entero que introduce es negativo, el valor absoluto del número se usa
para la conversión.
Actualizaciones de los bits de estado aritmético
Con este bit: El procesador:
))'  *%() * )*+$
-) $'. 
* *+$ * $ )*,$+'  * %0')   $ '-) $'. )*,$+
 , ))') %')
)'  * *+$ * $ -$')  *+' * )'
!' 
* *+$ * $ ($)  ,+ * !+-  *' '+))' *
)*+$
Cambios del registro matemático, S:13 y S:14
Contiene el resultado BCD de 5 dígitos de la conversión. Este resultado es válido
en el overflow.
3
3 3
3
3
3 3
3
TOD
TO BCD
Source
Dest
TOD
TO BCD
Source
Dest S:13
00000000
*+),1  *$
)'*')*  
  0   0 '+)'$2
')* )''!/ 
*+),1  *$
)'*')* #'* 0
Preface
Manual de referencia del juego de instrucciones
4–4
Ejemplo 1
El valor de entero 9760 almacenado en N7:3 se convierte en BCD y la equivalente
de BCD se almacena en N10:0. El máximo valor BCD posible es 9999.
TOD
TO BCD
Source N7:3
9760
Dest N10:0
9760
        
   
9 7 6 0
9 7 6 0
N7:3 Decimal 0010 0110 0010 0000
N10:0 BCD de 4 dígitos 1001 0111 0110 0000
Ejemplo 2
El valor de entero 32760 almacenado en N7:3 se convierte en BCD. El valor BCD
de 5 dígitos se almacena en el registro matemático. Los 4 dígitos inferiores del
valor BCD se mueven a la palabra de salida O:2 y el dígito restante se mueve a
través de una máscara a la palabra de salida O:3.
Cuando usa el registro matemático como el parámetro de destino en la instrucción
TOD, el máximo valor BCD posible es 32767. Sin embargo, para los valores BCD
mayores de 9999, el bit de overflow se establece lo que también resulta en el
establecimiento del bit de error menor S:5/0. Su programa de escalera puede
desenclavar S:5/0 antes del final del escán para evitar el error mayor 0020, según se
hizo en este ejemplo.
3
3 3
3
3
3
3 3
3
3
Instrucciones de manejo de datos
4–5
TOD
TO BCD
Source N7:3
32760
Dest S:13
00032760
(U)
S:5
0
] [
S:0
1
  (   #
%#$    $

MOV
MOVE
Source S:13
10080
Dest O:2.0
10080
MVM
MASKED MOVE
Source S:14
3
Mask 000F
Dest O:3.0
3
] [
0 0 0 3 2 7 6 0
3 2 7 6 0
0 0
15
15
N7:3 Decimal
BCD de 5 dígitos S:13 y S:14
S:14 S:13
#$ ! ! %)    # %$  
 $      *$ #   # %# 
#  ( 
$   
 
   
   
$ 
 '
Preface
Manual de referencia del juego de instrucciones
4–6
Convertir de BCD (FRD)
Use esta instrucción para convertir los valores BCD en valores enteros. Con los
procesadores fijos y SLC 5/01, la fuente sólo puede ser el registro matemático. Con
los procesadores SLC 5/02, SLC 5/03 y SLC 5/04 y controladores MicroLogix
1000, el parámetro de fuente puede ser una dirección de palabra en cualquier
archivo de datos o puede ser el registro matemático, S:13.
Actualizaciones de los bits de estado aritmético
Con este bit: El procesador:
++ (  ,# )+ , + ,-%  
/ +!%(0 
, ,-%  ,# .' /%(+ *. '( ,   , ('-# ' ' % !. '- ( ,# %
/%(+ *. /  ('/ +-#+ , 2(+    ' ,( ('-++#( ,
+ ,-%   % (/ +!%(0 + ,.%- ' .' ++(+  '(+
 +(  , ,-%  ,# % /%(+   ,-#'( ,  +(
#'(  ,# )+ , + ,-%  
Nota Recomendamos que siempre proporcione filtro de lógica de escalera para todos los
dispositivos de entrada BCD antes de realizar la instrucción FRD. La mínima
diferencia en el retardo del filtro de entrada de punto a punto puede provocar un
overflow de la instrucción FRD debido a la conversión de un dígito que no sea
BCD.
3
3
3
3 3
3
FRD
FROM BCD
Source
Dest
FRD
FROM BCD
Source S:13
00000000
Dest
',-+.#3'  ,%#
+( ,(+ ,    
2   2 ('-+(%(+ , #+(4
(#1 
',-+.#3'  ,%#
+( ,(+ , !#$(, 2
Instrucciones de manejo de datos
4–7
]/[
S:1
15
EQU
EQUAL
Source A N7:1
0
Source B I:0.0
0
MOV
MOVE
Source I:0.0
0
Dest N7:1
0
FRD
FROM BCD
Source I:0.0
0
Dest N7:2
0
En el ejemplo de arriba, los dos renglones causan que el procesador verifique que el
valor en I:0 siga siendo el mismo durante dos escanes consecutivos antes de ejecutar
el FRD. Esto evita que el FRD convierta un valor que no sea BCD durante un
cambio del valor de entrada.
Nota Para convertir números mayores de 9999 BCD, la fuente debe ser el registro
matemático (S:13). Debe restablecer el bit de error menor (S:5.0) para evitar un
error.
Cambios del registro matemático, S:13 y S:14
Se usan como la fuente para convertir todo el rango de números de un registro.
Ejemplo 1
El valor BCD 9760 en la fuente N7:3 se convierte y se almacena en N10:0. El
máximo valor de fuente es 9999, BCD.
       
    
9 7 6 0
9 7 6 0 N7:3 BCD de 4 dígitos 1001 0111 0110 0000
N10:0 Decimal 0010 0110 0010 0000
FRD
FROM BCD
Source N7:3
9760
Dest N10:0
9760
3
3
3
Preface
Manual de referencia del juego de instrucciones
4–8
Ejemplo 2
El valor BCD 32760 en el registro matemático se convierte y se almacena en N7:0.
El máximo valor de fuente es 32767, BCD.
0 0 0 3 2 7 6 0
3 2 7 6 0
0 0
15
15 BCD de 5 dígitos
S:14 S:13
0000 0000 0000 0011 0010 0111 0110 0000
N7:0 Decimal 0111 1111 1111 1000
FRD
FROM BCD
Source S:13
00032760
Dest N7:0
32760
       
  
Usted debe convertir los valores BCD en enteros antes de manejarlos en su
programa de escalera. Si no convierte los valores, el procesador los maneja como
enteros y su valor se pierde.
Nota Si el registro matemático (S:13 y S:14) se usa como la fuente para la instrucción
FRD y el valor BCD no excede 4 dígitos, asegúrese de borrar la palabra S:14 antes
de ejecutar la instrucción FRD. Si S:14 no se borra y un valor se contiene en esta
palabra procedente de otra instrucción matemática ubicada en otra parte del
programa, se colocará un valor decimal incorrecto en la palabra de destino.
3
3
3
3
3
3
Instrucciones de manejo de datos
4–9
A continuación se muestra cómo borrar S:14 antes de ejecutar la instrucción FRD:
CLR
CLEAR
Dest S:14
0
FRD
FROM BCD
Source S:13
00001234
Dest N7:0
1234
   
     

MOV
MOVE
Source N7:2
4660
Dest S:13
4660
] [
I:1
0 0001 0010 0011 0100
0000 0100 1101 0010
Cuando la condición de entrada se establece (1), un valor BCD (transferido de un
interruptor preselector rotatorio de 4 dígitos, por ejemplo) se mueve de la palabra
N7:2 al registro matemático. La palabra de estado S:14 se borra para asegurar que
los datos no deseados no estén presentes cuando se ejecute la instrucción FRD.
Preface
Manual de referencia del juego de instrucciones
4–10
Radianes en grados (DEG)
Use esta instrucción para convertir los radianes (fuente) en grados y almacenar el
resultado en el destino. La fórmula siguiente se aplica:
Fuente 180/Π
donde Π = 3.141592
Use esta instrucción con los procesadores SLC 5/03 OS302 y SLC 5/04 OS401.
Cómo introducir parámetros
• La fuente es el entero y/o los valores de punto (coma) flotante.
• El destino es la dirección de la palabra donde se almacenan los datos.
Actualizaciones de los bits de estado aritmético
Con este bit: El procesador:
      
  
                  
          
                   
  
               
 
3
3
Radians to Degrees
Source
Dest
DEG
Instrucciones de manejo de datos
4–11
Grados en radianes (RAD)
Use esta instrucción para convertir los grados (fuente) en radianes y almacenar el
resultado en el destino. La fórmula siguiente se aplica:
Fuente Π/180
donde Π = 3.141592
Use esta instrucción con los procesadores SLC 5/03 OS302 y SLC 5/04 OS401.
Cómo introducir los parámetros
• La fuente es el entero y/o los valores de punto (coma) flotante.
• El destino es la dirección de la palabra donde se almacenan los datos.
Actaulizaciones de los bits de estado aritmético
Con este bit: El procesador:
      
  
                  
          
                   
  
               
 
3
3
Degress to Radians
Source
Dest
RAD
Manual de referencia del juego de instrucciones
4–12
Descodificar 4 a 1 de 16 (DCD)
Una vez ejecutada, esta instrucción establece un bit de la palabra de destino. El bit
que se activa depende del valor de los cuatro primeros bits de la palabra de fuente.
Vea la tabla siguiente.
Use esta instrucción para multiplexar los datos en aplicaciones tales como
interruptores preselectores rotatorios, teclados y conmutación de banco.
    
Bit 15–04 03 02 01 00 15 14 13 12 11 10 09 08 07 06 05 04 03 02 01 00
x 0 0 0 0 0 0 0 0 0 0 0 0 0 0 0 0 0 0 0 1
x 0 0 0 1 0 0 0 0 0 0 0 0 0 0 0 0 0 0 1 0
x 0 0 1 0 0 0 0 0 0 0 0 0 0 0 0 0 0 1 0 0
x 0 0 1 1 0 0 0 0 0 0 0 0 0 0 0 0 1 0 0 0
x 0 1 0 0 0 0 0 0 0 0 0 0 0 0 0 1 0 0 0 0
x 0 1 0 1 0 0 0 0 0 0 0 0 0 0 1 0 0 0 0 0
x 0 1 1 0 0 0 0 0 0 0 0 0 0 1 0 0 0 0 0 0
x 0 1 1 1 0 0 0 0 0 0 0 0 1 0 0 0 0 0 0 0
x 1 0 0 0 0 0 0 0 0 0 0 1 0 0 0 0 0 0 0 0
x 1 0 0 1 0 0 0 0 0 0 1 0 0 0 0 0 0 0 0 0
x 1 0 1 0 0 0 0 0 0 1 0 0 0 0 0 0 0 0 0 0
x 1 0 1 1 0 0 0 0 1 0 0 0 0 0 0 0 0 0 0 0
x 1 1 0 0 0 0 0 1 0 0 0 0 0 0 0 0 0 0 0 0
x 1 1 0 1 0 0 1 0 0 0 0 0 0 0 0 0 0 0 0 0
x 1 1 1 0 0 1 0 0 0 0 0 0 0 0 0 0 0 0 0 0
x 1 1 1 1 1 0 0 0 0 0 0 0 0 0 0 0 0 0 0 0
Cómo introducir parámetros
• La fuente es la dirección que contiene la información de descodificación de bit.
Sólo los cuatro primeros bits (0–3) se usan en la instrucción DCD. Los bits
restantes se pueden usar para otras necesidades de aplicaciones específicas.
Cambie el valor de los cuatro primeros bits de esta palabra para seleccionar un
bit de la palabra de destino.
• El destino es la dirección de la palabra donde se almacenan los datos.
Actualizaciones de los bits de estado aritmético
Permanecen sin cambios.
3
3
3
3 3
3
DCD
DECODE 4 to 1 of 16
Source
Dest
Instrucciones de manejo de datos
4–13
Codificar 1 de 16 a 4 (ENC)
Cuando el renglón es verdadero, esta instrucción de salida busca la fuente desde el
bit mínimo hasta el bit máximo y busca el primer bit establecido. La posición de bit
correspondiente es escribe al destino como entero según se muestra en la tabla
siguiente:
 
Bit 15 14 13 12 11 10 09 08 07 06 05 04 03 02 01 00 15–04 03 02 01 00
x x x x x x x x x x x x x x x 1 x 0 0 0 0
x x x x x x x x x x x x x x 1 0 x 0 0 0 1
x x x x x x x x x x x x x 1 0 0 x 0 0 1 0
x x x x x x x x x x x x 1 0 0 0 x 0 0 1 1
x x x x x x x x x x x 1 0 0 0 0 x 0 1 0 0
x x x x x x x x x x 1 0 0 0 0 0 x 0 1 0 1
x x x x x x x x x 1 0 0 0 0 0 0 x 0 1 1 0
x x x x x x x x 1 0 0 0 0 0 0 0 x 0 1 1 1
x x x x x x x 1 0 0 0 0 0 0 0 0 x 1 0 0 0
x x x x x x 1 0 0 0 0 0 0 0 0 0 x 1 0 0 1
x x x x x 1 0 0 0 0 0 0 0 0 0 0 x 1 0 1 0
x x x x 1 0 0 0 0 0 0 0 0 0 0 0 x 1 0 1 1
x x x 1 0 0 0 0 0 0 0 0 0 0 0 0 x 1 1 0 0
x x 1 0 0 0 0 0 0 0 0 0 0 0 0 0 x 1 1 0 1
x 1 0 0 0 0 0 0 0 0 0 0 0 0 0 0 x 1 1 1 0
1 0 0 0 0 0 0 0 0 0 0 0 0 0 0 0 x 1 1 1 1
Cómo introducir parámetros
• La fuente es la dirección de la palabra que va a codificar (encode). Sólo un bit
de esta palabra se debe activar a la vez. Si hay más de un bit establecido en la
fuente, los bits de destino estarán establecidos en el bit menos significante
establecido. Si se usa una fuente de cero, todos los bits de destino estarán
restablecidos y el bit de cero se establecerá.
• El destino es la dirección que contiene la información de codificación (encode)
de bit. Los bits 4–15 del destino están restablecidos por la instrucción ENC.
3
ENC
ENCODE 1 of 16 to 4
Source
Dest
Preface
Manual de referencia del juego de instrucciones
4–14
Actualizaciones de los bits de estado aritmético
Los bits de estado aritmético se encuentran en la palabra 0, bits 0–3 en el archivo de
estado del controlador. Después de la ejecución de una instrucción, los bits de
estado aritmético en el archivo de estado se actualizan:
Con este bit: El controlador:
  !!   !  !#
  %! 
 #  '  $ #  #   #!!
 !#  #  %! #'#    
#
  !   #   %!  #  !
     !  !#
Instrucciones de manejo de datos
4–15
Instrucciones para copiar el archivo (COP)
y llenar el archivo (FLL)
El archivo de tipo destino determina el número de palabras que una instrucción
transfiere. Por ejemplo, si el archivo de tipo destino es un contador y el archivo de
tipo fuente es un entero, se transfieren tres palabras de entero por cada elemento en
el archivo de tipo contador.
Después de la ejecución de una instrucción COP o FLL, el registro de índice S:24 se
pone a cero.
Uso de COP
Esta instrucción copia bloques de datos de un lugar a otro. No usa bits de estado. Si
usted necesita un bit de habilitación, programe una instrucción de salida (OTE) en
paralelo usando un bit interno como la dirección de salida. La ilustración siguiente
muestra cómo se manejan los datos de instrucción de archivo.
  
    
Cómo introducir parámetros
Introduzca los parámetros siguientes al programar esta instrucción:
• La fuente es la dirección del archivo que desea copiar. Debe usar el indicador
de archivo (#) en la dirección. Cuando se usa un procesador SLC 5/03 OS301,
OS302 ó SLC 5/04 OS401, se soportan los valores de punto (coma) flotante y
cadena.
• El destino es la dirección inicial donde la instrucción almacena la copia. Debe
usar el indicador de archivo (#) en la dirección. Cuando usa un procesador SLC
5/03 OS301, OS302 ó SLC 5/04 OS401, se soportan los valores de punto
(coma) flotante y cadena.
3
3
3
3 3
3
COP
COPY FILE
Source
Dest
Length
FLL
FILL FILE
Source
Dest
Length
Preface
Manual de referencia del juego de instrucciones
4–16
• La longitud es el número de elementos en el archivo que desea copiar.
– Para los procesadores SLC, si el archivo de tipo destino es 3 palabras
por elemento (temporizador o contador), puede especificar una longitud
máxima de 42. Si el archivo de tipo destino es 1 palabra por elemento,
puede especificar una longitud máxima de 128 palabras.
– Vea la tabla siguiente respecto a los controladores MicroLogix 1000:
Si el archivo de tipo
destino es un/una:
entonces puede especificar una
longitud máxima de:
 
 
  
 
  
  
 
  
Nota Las longitudes máximas se aplican cuando la fuente es del mismo tipo de
archivo.
Todos los elementos son copiados del archivo de fuente al archivo de destino cada
vez que se ejecuta la instrucción. Los elementos se copian en orden ascendiente.
Si su archivo de tipo destino es un archivo de temporizador, contador o control,
asegúrese que las palabras de fuente correspondientes a las palabras de estado de su
archivo de destino contengan ceros.
Asegúrese de especificar con precisión la dirección inicial y la longitud del bloque
de datos que está copiando. La instrucción no sobrescribirá un límite de archivo
(por ejemplo, entre archivos N16 y N17) en el destino. Ocurre un error si se intenta
una sobrescritura del límite de archivo.
Puede realizar desplazamientos de archivo especificando una dirección de elemento
de fuente que tiene uno o más elementos que la dirección de elemento de destino
dentro del mismo archivo. Esto desplaza los datos a direcciones de elemento
inferiores.
Instrucciones de manejo de datos
4–17
Uso de FLL
Esta instrucción carga elementos de un archivo con una constante de programa o
valor de una dirección de elemento.
La instrucción llena las palabras de un archivo con un valor de fuente. No usa bits
de estado. Si usted necesita un bit de habilitación, programe una salida en paralelo
que usa una dirección de almacenamiento. La ilustración siguiente muestra cómo se
manejan los datos de instrucción de archivo.
 

      
Cómo introducir parámetros
Introduzca los parámetros siguientes al programar esta instrucción:
• La fuente es la constante de programa o la dirección de elemento. El indicador
de archivo (#) no se requiere para una dirección de elemento. Cuando usa un
procesador SLC 5/03 OS301, OS302 ó SLC 5/04 OS401, se soportan los
valores de punto (coma) flotante y cadena.
• El destino es la dirección inicial de destino del archivo que desea llenar. Debe
usar el indicador de archivo (#) en la dirección. Cuando usa un procesador SLC
5/03 OS301, OS302 ó SLC 5/04 OS401, se soportan los valores de punto
(coma) flotante y cadena.
Preface
Manual de referencia del juego de instrucciones
4–18
• La longitud es el número de elementos en el archivo que desea copiar.
– Para los procesadores SLC, si el archivo de tipo destino es de 3 palabras
por elemento (temporizador o contador), puede especificar una longitud
máxima de 42. Si el archivo de tipo destino es de 1 palabra por
elemento, puede especificar una longitud máxima de 128 palabras.
– Vea la tabla siguiente respecto a los controladores MicroLogix 1000:
Si el archivo de tipo
destino es un/una:
entonces puede especificar na
longitud máxima de:
 
 
  
 
  
  
 
  
Todos los elementos se llenan del mismo valor de fuente (típicamente una
constante) en el archivo de destino especificado durante cada escán en que el
renglón es verdadero. Los elementos se llenan en orden ascendente.
La instrucción no sobrescribirá un límite de archivo (por ejemplo, entre archivos
N16 y N17) en el destino. Ocurre un error si se intenta sobrescribir un límite de
archivo.
Instrucciones de manejo de datos
4–19
Descripción general de las
instrucciones de mover y lógicas
La información general siguiente se aplica a las instrucciones de mover y lógicas.
Cómo introducir parámetros
• La fuente es la dirección del valor en que la operación de mover o lógica se
debe efectuar. La fuente puede ser una dirección de palabra o una constante de
programa, a menos que se describa lo contrario. Si la instrucción tiene dos
operandos de fuente, no acepta constantes de programa en ambos operandos.
Cuando usa un procesador SLC 5/03 OS301, OS302 ó SLC 5/04 OS400,
OS401, se soportan los valores de punto (coma) flotante y cadena.
• El destino es la dirección de resultado de una operación de mover o logica.
Debe ser una dirección de palabra.
Uso de direcciones de palabra indexadas
Tiene la opción de usar direcciones de palabra indexadas como parámetros de
instrucción especificando las direcciones de palabra. El direccionamiento indexado
se trata en el apéndice C.
Actualizaciones de los bits de estado aritmético
Si los bits de estado aritmético se encuentran en la palabra 0, bits 0–3 en el archivo
de estado del controlador. Después de la ejecución de una instrucción, se actualizan
los bits de estado aritmético en el archivo de estado.
Uso de direcciones de palabra indirectas
Tiene la opción de usar direcciones indirectas a nivel de palabra y a nivel de bit para
instrucciones especificando las direcciones de palabra cuando usa un procesador
SLC 5/03 OS302 y SLC 5/04 OS401. Vea el apéndice C para obtener más
información,
Cambios del registro matemático, S:13 y S:14
Las instrucciones de mover y lógicas no afectan el registro matemático.
Preface
Manual de referencia del juego de instrucciones
4–20
Mover (MOV)
Esta instrucción de salida mueve el valor de fuente al lugar de destino. Siempre que
el renglón permanezca verdadero, la instrucción mueve los datos durante cada
escán.
Cómo introducir parámetros
Introduzca los parámetros siguientes al programar esta instrucción:
• La fuente es la dirección o constante de los datos que desea mover.
• El destino es la dirección a la cual la instrucción mueve los datos.
Nota de aplicación: Si desea mover una palabra de datos sin afectar los
indicadores matemáticos, use una instrucción de copiar (COP) con una longitud de 1
palabra en vez de la instrucción MOV.
Actualizaciones de los bits de estado aritmético
Con este bit: El controlador:
      !  ! !
  $ %  !  ! !
    
! ! !  !# !    !    !
!
   
! ! !  !# ! $   ! !
!  !    ! !
3
3
3
3 3
3
MOV
MOVE
Source
Dest
! #'  !
Instrucciones de manejo de datos
4–21
Mover con máscara (MVM)
La instrucción MVM es una instrucción de palabra que mueve datos de un lugar de
fuente a un destino y permite que porciones de los datos de destino estén
enmascarados por una palabra separada. Siempre que el renglón permanenzca
verdadero, la instrucción mueve los datos durante cada escán.
Cómo introducir parámetros
Introduzca los parámetros siguientes al programar esta instrucción:
• La fuente es la dirección de los datos que desea mover.
• La máscara es la dirección de la máscara por la cual la instrucción mueve los
datos; la máscara puede ser un valor hexadecimal (constante).
• El destino es la dirección a la cual la instrucción mueve los datos.
Actualizaciones de los bits de estado aritmético
Con este bit: El controlador:
      !  ! !
  $ %  !  ! !
    
! ! !  !# !    !    !
!
   
! ! !  !# ! $  !     !
!
3
3
3
3 3
3
MVM
MASKED MOVE
Source
Mask
Dest
! #  !
Manual de referencia del juego de instrucciones
4–22
Operación
Cuando un renglón que contiene esta instrucción es verdadero, los datos en la
dirección de fuente pasan por la máscara a la dirección de destino. Vea la
ilustración siguiente:
1 1 1 1 1 1 1 1 1 1 1 1 1 1 1 1
B3:2 antes de mover
0 1 0 1 0 1 0 1 0 1 0 1 0 1 0 1
fuente B3:0
1 1 1 1 0 0 0 0 1 1 1 1 0 0 0 0
Máscara F0F0
0 1 0 1 1 1 1 1 0 1 0 1 1 1 1 1
B3:2 después de mover
MVM
MASKED MOVE
Source B3:0
Mask F0F0
Dest B3:2
Enmascare los datos restableciendo los bits en la máscara; transfiera los datos
estableciendo los bits en la máscara a uno. Los bits de la máscara pueden ser fijos
por un valor constante o los puede variar asignándoles una dirección directa a la
máscara. Los bits en el destino que corresponden a ceros en la máscara no se
modifican.
Instrucciones de manejo de datos
4–23
Y (AND)
El valor en la fuente A recibe la instrucción AND bit por bit con el valor en la
fuente B y luego se almacena en el destino.
Tabla de verdad
Destino = A y B
A B Destino
  
  
  
  
Las fuentes A y B pueden ser una dirección de palabra o una constante; sin
embargo, ambas fuentes no pueden ser una constante. El destino debe ser una
dirección de palabra.
Nota de aplicación: Cuando introduce constantes, puede usar el operador del signo
“” para cambiar la raíz de la introducción. Por ejemplo, en lugar de introducir –1
como una constante, podría introducir B1111111111111111 ó HFFFF.
Actualizaciones de los bits de estado aritmético
Con este bit: El controlador:
      !  ! !
  $ %  !  ! !
    
! ! !  !# !    !     !
!
   
! ! !   ! !$ ! ! 
!     ! !
3
3
3
3 3
3
AND
BITWISE AND
Source A
Source B
Dest
! #'  !
Preface
Manual de referencia del juego de instrucciones
4–24
O (OR)
El valor en la fuente A recibe la instrucción O bit por bit con el valor en la fuente B
y luego se almacena en el destino.
Tabla de verdad
Destino = A o B
A B Destino
  
  
  
  
Las fuentes A y B pueden ser una dirección de palabra o una constante; sin
embargo, ambas fuentes no pueden ser una constante. El destino debe ser una
dirección de palabra.
Nota de aplicación: Cuando introduce constantes, puede usar el operador del signo
“” para cambiar la raíz de la introducción. Por ejemplo, en lugar de introducir –1
como una constante, podría introducir B1111111111111111 ó HFFFF.
Actualizaciones de los bits de estado aritmético
Con este bit: El controlador:
      !  ! !
  $ %  !  ! !
    
! ! !  !# !    !    !
!
   
! ! !  !# ! $  ! !
!$ ! !  !     !
!
3
3
3
3 3
3
OR
BITWISE INCLUS OR
Source A
Source B
Dest
! #'  !
Instrucciones de manejo de datos
4–25
O exclusivo (XOR)
El valor en la fuente A recibe la instrucción de O exclusivo bit por bit con el valor
en la fuente B y luego se almacena en el destino.
Tabla de verdad
Destino = A X o B
A B Destino
  
  
  
  
Las fuentes A y B pueden ser una dirección de palabra o una constante; sin
embargo, ambas fuentes no pueden ser una constante. El destino debe ser una
dirección de palabra.
Nota de aplicación: Cuando introduce constantes, puede usar el operador del signo
“” para cambiar la raíz de la introducción. Por ejemplo, en lugar de introducir –1
como una constante, podría introducir B1111111111111111 ó HFFFF.
Actualizaciones de los bits de estado aritmético
Con este bit: El controlador:
      !  ! !
  $ %  !  ! !
    
! ! !  !# !    !     !
!
   
! ! !  !# ! $  ! !
!$ ! !  !     !
!
3
3
3
3 3
3
XOR
BITWISE EXCLUS OR
Source A
Source B
Dest
! #'  !
Preface
Manual de referencia del juego de instrucciones
4–26
No (NOT)
El valor de fuente recibe la instrucción NOT bit por bit y luego se almacena en el
destino (complemento de uno).
Tabla de verdad
Destino = NOT A
A Destino
 
 
La fuente y el destino deben ser direcciones de palabra.
Nota de aplicación: Cuando introduce constantes, puede usar el operador del signo
“” para cambiar la raíz de la introducción. Por ejemplo, en lugar de introducir –1
como una constante, podría introducir B1111111111111111 ó HFFFF.
Actualizaciones de los bits de estado aritmético
Con este bit: El controlador:
      !  ! !
  $ %  !  ! !
    
! ! !  !# !    !     !
!
   
! ! !  !# ! $  ! !
!$ ! !  !     !
!
3
3
3
3 3
3
NOT
NOT
Source
Dest
! #'  !
Instrucciones de manejo de datos
4–27
Negar (NEG)
Use la instrucción NEG para cambiar el signo de la fuente y luego colóquelo en el
destino. El destino contiene el complemento de dos de la fuente. Por ejemplo, si la
fuente es 5, el destino sería –5.
La fuente y el destino deben ser direcciones de palabra.
Actualizaciones de bits de estado aritmético
Con este bit: El controlador:
 (( 
) '%  ( ) )  + ,( #- % ) %*((( )
()*#
 ,( #- 
) )*# ) ) +% ,( #- % ) %*(( )
()*# # ,( #- )1# +(( )    ) # +%*
+(%* # ,( #- # %(  ((( $%( *$0% )
)*# # ,#(  ) # % # )*%   
)*/ )*# # ,( #- % )!% . *(+%
'($% % # )*%
( #) )*%)  '+%* $ #*%* # ()+#* 
,( #- '($% % # )*%
 ( 
) )*# ) # ()+#* ) ( % ) %*((( )
()*#
 !% 
) )*# ) # ()+#* ) %!*, % ) %*((( )
()*#
3
3
3
3 3
3
NEG
NEGATE
Source
Dest
%)*(+1%  )#
Preface
Manual de referencia del juego de instrucciones
4–28
Descripción general de las instrucciones FIFO y LIFO
Las instrucciones FIFO cargan palabras en un archivo y las descargan en el mismo
orden en que fueron cargadas. La primera palabra que llega es la primera palabra
que sale.
Las instrucciones LIFO cargan palabras en un archivo y las descargan en el orden
inverso en que fueron cargadas. La última palabra que llega es la primera palabra
que sale.
Cómo introducir parámetros
Introduzca los parámetros siguienes al programar estas instrucciones:
• La fuente es una dirección de palabra o constante (–32,768 a 32,767) que se
convierte en el próximo valor en la pila.
• El destino es una dirección de palabra que almacena el valor que sale de la pila.
Esta instrucción Descarga el valor a partir de la:
      
          
• FIFO/LIFO es la dirección de la pila. Debe ser una dirección de palabra
indexada en el archivo de bit, entrada, salida o entero. Use la misma dirección
FIFO para las instrucciones FFL y FFU asociadas; use la misma dirección LIFO
para las instrucciones LFL y LFU asociadas.
• La longitud especifica el máximo número de palabras en la pila. Para los
procesadores SLC se trata de 128 palabras y 105 palabras para los controladores
MicroLogix 1000.
• La posición es el próximo lugar disponible donde la instrucción carga datos en
la pila. Este valor cambia después de cada operación de carga o descarga.
Direccione el valor de posición mnemónicamente (POS).
• El control es una dirección de archivo de control. Los bits de estado, la
longitud de pila y el valor de posición se almacenan en este elemento. No use la
dirección de archivo de control para otras instrucciones.
Instrucciones de manejo de datos
4–29
Los bits de estado de la estructura de control son direccionados
mnemónicamente. Estos incluyen:
– Bit de vacío EM (bit 12) lo establece el procesador para indicar que la
pila está vacía.
– Bit de efectuado DN (bit 13) lo establece el procesador para indicar que
la pila está llena. Esto inhibe la carga en la pila.
– Bit de habilitación FFU/LFU EU (bit 14) se establece en una transición
de falso a verdadero del renglón FFU/LFU y se restablece en una transición
de verdadero a falso.
– Bit de habilitación FFL/LFL EN (bit 15) se establece en una transición
de falso a verdadero del renglón FFL/LFL y se restablece en una transición
de verdadero a falso.
Efectos en el registro de índice S:24
El valor presente en S:24 se sobrescribe con el valor de posición cuando ocurre una
transición de falso a verdadero del renglón FFL/FFU o LFL/LFU. Para el FFL/LFL,
el valor de posición determinar a la introduccción de la instrucción se coloca en
S:24. Para el FFU/LFU, el valor de posición determinado a la salida de la
instrucción se coloca en S:24.
Cuando el bit DN se establece, una transición de falso a verdadero del renglón
FFL/LFL no cambia el valor de posición ni el valor del registro de índice. Cuando
el bit EM se establece, la transición de falso a verdadero del renglón FFU/LFU no
cambia el valor de posición ni el valor del registro de índice.
Preface
Manual de referencia del juego de instrucciones
4–30
Carga FIFO (FFL)
Descarga FIFO (FFU)
Las instrucciones FFL y FFU se usan conjuntamente. La instrucción FFL carga
palabras en un archivo creado por el usuario que se llama una pila FIFO. La
instrucción FFU descarga palabras de la pila FIFO en el mismo orden en que fueron
cargadas.
Parámetros de instrucción han sido programados en las instrucciones FFL–FFU
ilustradas abajo.
(EU)
(EM)
(DN)
FFL
FIFO LOAD
Source N7:10
FIFO #N7:12
Control R6:0
Length 34
Position 9
FFU
FIFO UNLOAD
FIFO #N7:12
Dest N7:11
Control R6:0
Length 34
Position 9
 ! #%  ! 
!     
!%   
N7:12 0
N7:13 1
N7:14 2
3
4
5
6
7
8
9
33
  !  !
!!    
       
!   
Instrucciones FFL-FFU
Carga y descarga de pila #N7:12
N7:10
N7:11
Posición
Destino
Fuente
 ! #%    !
       %$
!% !  # !
 ! !
N7:45
(EN)
(DN)
(EM)
Operación de la instrucción FFL: Cuando las condiciones de renglón cambian de
falso a verdadero, el bit de habilitación FFL (EN) se establece. Esto carga el
contenido de la fuente, N7:10, en el elemento de pila indicado por el número de
posición 9. Luego el valor de posición se incrementa.
La instrucción FFL carga un elemento a cada transición de falso a verdadero del
renglón hasta que la pila se llene (34 elementos). Luego el procesador establece el
bit de efectuado (DN) inhibiendo así la continuación de la carga.
3
3
3 3
(EN)
(DN)
(EM)
FFL
FIFO LOAD
Source
FIFO
Control
Length
Position
(EU)
(DN)
(EM)
FFU
FIFO UNLOAD
FIFO
Dest
Control
Length
Position
! #!  !
Instrucciones de manejo de datos
4–31
Operación de la instrucción FFU: Cuando las condiciones de renglón cambian de
falsas a verdaderas, el bit de habilitación FFU (EU) se establece. Esto descarga el
contenido del elemento a la posición de pila 0 en el destino, N7:11. Todos los datos
en la pila se desplazan un elemento hacia la posición 0 y el elemento numerado más
alto se pone a cero.
La instrucción FFU descarga un elemento en cada transición de falso a verdadero
del renglón hasta que la pila se vacía. Luego el procesador establece el bit vacío
(EM).
Preface
Manual de referencia del juego de instrucciones
4–32
Carga LIFO (LFL)
Descarga LIFO (LFU)
Las instrucciones LFL y LFU se usan conjuntamente. La instrucción LFL carga
palabras en un archivo creado por el usuario que se llama una pila LIFO. La
instrucción LFU descarga palabras de la pila LIFO en el mismo orden en que fueron
cargadas.
Los parámetros de instrucción han sido programados en las instrucciones LFL–LFU
ilustradas abajo.
(DN)
(EN)
(DN)
(EM)
LFL
LIFO LOAD
Source N7:10
LIFO #N7:12
Control R6:0
Length 34
Position 9
(EU)
(EM)
LFU
LIFO UNLOAD
LIFO #N7:12
Dest N7:11
Control R6:0
Length 34
Position 9
N7:12 0
N7:13 1
N7:14 2
3
4
5
6
7
8
9
33
N7:10
N7:11
Posición
Destino
Fuente
N7:45
 ! #%   ! 
!     
!%   
  ! ! !
        
   !   
Instrucciones LFL-LFU
Carga y descarga de pila #N7:12
 ! #%     ! 
      %$
!% !  # !
 ! !
Operación de la instrucción LFL: Cuando las condiciones de renglón cambian de
falso a verdadero, el bit de habilitación LFL (EN) se establece. Esto carga el
contenido de la fuente, N7:10, en el elemento de pila indicado por el número de
posición 9. Luego el valor de posición se incrementa.
La instrucción LFL carga un elemento a cada transición de falso a verdadero del
renglón hasta que la pila se llene (34 elementos). Luego el procesador establece el
bit de efectuado (DN) inhibiendo así la continuación de la carga.
3
3
3 3
(EN)
(DN)
(EM)
LFL
LIFO LOAD
Source
LIFO
Control
Length
Position
(EU)
(DN)
(EM)
LFU
LIFO UNLOAD
LIFO
Dest
Control
Length
Position
! #!  !
Instrucciones de manejo de datos
4–33
Operación de la instrucción LFU: Cuando las condiciones de renglón cambian de
falso a verdadero, el bit de habilitación LFU (EU) se establece. Esto descarga el
contenido del elemento a la posición de pila 0 en el destino, N7:11. Todos los datos
en la pila se desplazan un elemento hacia la posición 0 y el elemento numerado más
alto se pone a cero.
La instrucción LFU descarga un elemento a cada transición de falso a verdadero del
renglón hasta que la pila esté vacía. Luego el procesador establece el bit vacío
(EM).
Manual de referencia del juego de instrucciones
4–34
Instrucciones de manejo de datos en el ejemplo de
aplicación de la perforadora de papel
Esta sección proporciona renglones de escalera para demostrar el uso de las
instrucciones de manejo de datos. Los renglones son parte del ejemplo de
aplicación de la perforadora de papel descrito en el apéndice H. Usted los añadirá a
la subrutina en el archivo 7 que se inició en el capítulo 2.
Añadir el archivo 7
Renglón 7:3
Este renglón mueve el valor del interruptor preselector rotatorio BCD de un solo
dígito en un registro de entero interno. Esto se realiza para alinear correctamente
las cuatro señales de entrada BCD antes de ejecutar la instrucción de BCD a entero
(FRD). El interruptor preselector rotatorio se usa para permitirle al operador
introducir el espesor del papel que va a perforar. El espesor se introduce en
incrementos de 1/4 pulg. Esto proporciona un rango de 1/4 pulg. a 2.25 pulg.
| BCD bit 0 |FRD bit 0 |
| I:1.0 N7:14 |
|––––––––––––––––––––––––––––––––––––––––––––––––––––+––––] [––––––––( )–––––+–|
| | 11 0 | |
| | BCD bit 1 |FRD bit 1 | |
| | I:1.0 N7:14 | |
| +––––] [––––––––( )–––––+ |
| | 12 1 | |
| | BCD bit 2 |FRD bit 2 | |
| | I:1.0 N7:14 | |
| +––––] [––––––––( )–––––+ |
| | 13 2 | |
| | BCD bit 3 |FRD bit 3 | |
| | I:1.0 N7:14 | |
| +––––] [––––––––( )–––––+ |
| 14 3 |
Instrucciones de manejo de datos
4–35
Renglón 7:4
Este renglón convierte el valor del interruptor preselector rotatorio BCD de BCD en
entero. Esto se realiza porque el procesador opera en valores de entero. Este
renglón también neutraliza el rebote del interruptor preselector rotatorio para
asegurar que la conversión ocurra sólo en valores BCD válidos. Anote que los valores
BCD no válidos pueden ocurrir cuando el operador está cambiando el interruptor
preselector rotatorio BCD. Eso es debido a las diferencias de retardo de propagación
del filtro de entrada entre los 4 circuitos de entrada que proporcionan el valor de
entrada BCD.
| primer valor de
| bit de entrada BCD valor BCD
| transf. del escán neutralizado
| anterior
| S:1 +EQU–––––––––––––––+ +FRD–––––––––––––––+ |
|–+––––]/[–––––+EQUAL +–+–––––––––––+FROM BCD +–+––––+––––|
| | 15 |Source A N7:13| | |Source N7:14| | | |
| | | 0| | | 0000| | | |
| | |Source B N7:14| | | 0000| | | |
| | | 0| | |Dest N7:12| | | |
| | +––––––––––––––––––+ | | 1| | | |
| | | Math +––––––––––––––––––+ | | |
| | | Math Math | | |
| | | Overflow Error | | |
| | | Bit Bit | | |
| | | S:0 S:5 | | |
| | +––––] [––––––––––––––(U)––––––––+ | |
| | 1 0 | |
| | valor de | |
| | entrada BCD | |
| | de este | |
| | escán | |
| | +MOV–––––––––––––––+ | |
| +––––––––––––––––––––––––––––––––––––––––––––––––––+MOVE +–+ |
| |Source N7:14| |
| | 0| |
| |Dest N7:13| |
| | 0| |
| +––––––––––––––––––+ |
Renglón 7:5
Este renglón asegura que el operador no pueda seleccionar un espesor de papel
de 0. Si eso se permitiera, el cálculo de la vida útil de la broca podría
anularse lo que resultaría en orificios de calidad insatisfactoria causados
por una broca sin filo. Por lo tanto, el espesor de papel mínimo que será usado
para calcular el desgaste de la broca es de 1/4 pulg.
| valor valor |
| BCD BCD |
| neutralizado neutralizado |
| +EQU–––––––––––––––+ +MOV–––––––––––––––+ |
|–+EQUAL +––––––––––––––––––––––––––––––––––––+MOVE +–|
| |Source A N7:12| |Source 1| |
| | 1| | | |
| |Source B 0| |Dest N7:12| |
| | | | 1| |
| +––––––––––––––––––+ +––––––––––––––––––+ |
Manual de referencia del juego de instrucciones
4–36
Instrucciones de flujo de programa
5–1
5 Instrucciones de flujo de programa
Este capítulo contiene información general acerca de las instrucciones de flujo de
programa y explica cómo funcionan en su programa de aplicación. Cada una de las
instrucciones incluye información acerca de:
• cómo aparece el símbolo de instrucción
• cómo usar la instrucción
Además, la última sección contiene un ejemplo de aplicación para una perforadora
de papel que muestra el uso de las instrucciones de control de flujo de programa.
Instrucciones de control de flujo de programa
Instrucción
Propósito Página
Mnemónico Nombre
Propósito Página
JMP y LBL   

            $
     
5Ć3
JSR, SBR,
y RET
    
  
   
 
         5Ć5
MCR   
   
              
 $        
5-8
TND                $ 
  
5-10
SUS      #    
 $      ! $
 $      
5-11
IIM    
  
            5-12
IOM   
  
            5-13
REF   5-14
Manual de referencia del juego de instrucciones
5–2
Acerca de las instrucciones de control de flujo de
programa
Use estas instrucciones para controlar la secuencia en que se ejecuta su programa.
Las instrucciones de control le permiten cambiar el orden en que el procesador
realiza un escán de un programa de escalera. Estas instrucciónes típicamente se
usan para minimizar el tiempo de escán, crear un programa más eficiente y para
localizar y corregir fallos de un programa de escalera.
Instrucciones de flujo de programa
5–3
Salto (JMP) y etiqueta (LBL)
Use estas instrucciones conjuntamente para saltar porciones del programa de
escalera.
Si el renglón que contiene la
instrucción de salto es:
El programa:
            
            
            
        
El saltar hacia adelante a una etiqueta ahorra el tiempo de escán del programa
eliminando un segmento de programa hasta que sea necesario. El saltar hacia atrás
le permite al controlador ejecutar segmentos de programa repetidamente.
Nota Tenga cuidado de no saltar hacia atrás excesivamente. El temporizador de control
(watchdog) podría sobrepasar el límite de tiempo y causar un fallo del controlador.
Use un contador, temporizador o el registro de “escán de programa” (registro de
estado de sistema, palabra S:3, bits 0–7) para limitar el tiempo que se pasa
realizando lazos dentro de las instrucciones JMP/LBL.
Cómo introducir parámetros
Introduzca un número de etiqueta decimal de 0 a 999. Puede colocar hasta:
• 256 etiquetas en cada archivo de subrutina para los procesadores SLC
• 1,000 etiquetas para los controladores MicroLogix 1000 en cada archivo de
subrutina.
Uso de JMP
La instrucción JMP causa que el controlador salte renglones. Puede saltar a la
misma etiqueta desde una o más instrucciones JMP.
3
3
3 3
3
3
(JMP)
]LBL[
Manual de referencia del juego de instrucciones
5–4
Uso de LBL
Esta instrucción de entrada es el blanco de las instrucciones JMP que tienen el
mismo número de etiqueta. Debe programar esta instrucción como la primera
instrucción de un renglón. Esta instrucción no tiene bits de control.
Puede programar saltos múltiples a la misma etiqueta asignando el mismo número
de etiqueta a instrucciones JMP múltiples. Sin embargo, los números de etiqueta
deben ser únicos.
Nota No salte (JMP) en una zona MCR. Las instrucciones programadas dentro de la
zona MCR a partir de la instrucción LBL hasta la instrucción ’END MCR’ siempre
serán evaluadas como si la zona MCR fuera verdadera, sin importar el estado
verdadero de la instrucción “Start MCR”.
Instrucciones de flujo de programa
5–5
Saltar a subrutina (JSR), subrutina (SBR),
y retornar (RET)
Las instrucciones JSR, SBR y RET se usan para indicar al controlador que ejecute
un archivo de subrutina separado dentro del programa de escalera y retornar a la
instrucción siguiente a la instrucción JSR.
Nota Si usa la instrucción SBR, ésta debe ser la primera instrucción en el primer renglón
en el archivo de programa que contiene la subrutina.
Use una subrutina para almacenar secciones repetidas de lógica de programa que se
debe ejecutar desde varios puntos dentro de su programa de aplicación. Una
subrutina ahorra memoria porque se programa sólo una vez.
Actualice E/S críticas dentro de subrutinas usando las instrucciones de entrada y/o
salida inmediata (IIM, IOM), especialmente si la aplicación requiere subrutinas
anidadas o largas. En caso contrarior, el controlador no actualizará la E/S hasta que
llegue al final del programa principal (después de ejecutar todas las subrutinas).
Las salidas controladas dentro de una subrutina permanecen en su último
estado hasta que la subrutina se vuelva a ejecutar.
Cómo anidar archivos de subrutina
El anidar subrutinas le permite dirigir el flujo de programa desde el programa
principal hasta una subrutina y luego a otra subrutina. Las reglas siguientes se
aplican al anidar subrutinas:
Puede anidar hasta ocho niveles de subrutinas. Si usa una subrutina STI, una
subrutina de interrupción HSC o una rutina de fallo del usuario, puede anidar
subrutinas hasta tres niveles desde cada subrutina.
• Con los procesadores fijos y SLC 5/01, puede anidar subrutinas hasta cuatro
niveles.
JSR
JUMP TO SUBROUTINE
SBR file number
SBR
SUBROUTINE
RET
RETURN
.
.
.
Preface
Manual de referencia del juego de instrucciones
5–6
• Con los procesadores SLC 5/02, SLC 5/03, SLC 5/04 y controladores
MicroLogix 1000, puede anidar subrutinas hasta ocho niveles. Si usa una
subrutina STI, subrutina de interrupción provocada por evento de E/S, una
rutina de fallo del usuario o una subrutina de interrupción HSC, puede anidar
subrutinas hasta tres niveles desde cada subrutina.
La ilustración siguiente muestra cómo se pueden anidar las subrutinas.
JSR
6
JSR
7
SBR
RET
SBR SBR
JSR
8
RET RET
Ejemplo de cómo anidar subrutinas hasta el nivel 3
principal
Programa
Archivo de subrutina 6
Nivel 1
Archivo de subrutina 7
Nivel 2
Archivo de subrutina 8
Nivel 3
Ocurrirá un error si se llaman más niveles de subrutinas que los permitidos
(overflow de pila de subrutina) o si se ejecutan más retornos que niveles de llamada
existentes (underflow de pila de subrutina).
Uso de JSR
Cuando la instrucción JSR se ejecuta, el controlador salta a la instrucción de
subrutina (SBR) al inicio del archivo de subrutina destino y reanuda la ejecución
desde aquel punto. No puede saltar en una parte de una subrutina con excepción de
la primera instrucción en ese archivo.
Debe programar cada subrutina en su propio archivo de programa asignando un
número de archivo único:
• 3–255 para los procesadores SLC
• 4–15 para los controladores MicroLogix 1000
Fijo y específico del SLC 5/01 – La instrucción JSR no se debe programar en
bifurcaciones de salida anidadas. Un error de compilador se ocurrirá si se encuentra
un renglón que contenga salidas múltiples con lógica condicional y una instrucción
JSR.
Instrucciones de flujo de programa
5–7
Uso de SBR
La subrutina de destino se identifica por el número de archivo que usted introdujo
en la instrucción JSR. Esta instrucción sirve como etiqueta o identificador de un
archivo de programa designado como un archivo de subrutina normal.
Esta instrucción no tiene bits de control. Siempre se evalúa como verdadera. La
instrucción se debe programar como la primera instrucción en el primer renglón de
una subrutina. El uso de esta instrucción es opcional; sin embargo, recomendamos
su uso para obtener mayor claridad.
Uso de RET
Esta instrucción de salida indica el fin de ejecución de subrutina o el fin del archivo
de subrutina. Causa que el controlador reanude la ejecución en la instrucción
siguiente a la instrucción JSR. Si se involucra una secuencia de subrutinas anidadas,
la instrucción causa que el procesador retorne la ejecución de programa a la
subrutina anterior.
El renglón que contiene la instrucción RET puede ser condicional si este renglón
precede el final de la subrutina. De esta manera el controlador elimina el resto de
una subrutina sólo si su condición de renglón es verdadera.
Sin instrucción RET, la instrucción END (siempre presente en la subrutina) retorna
automáticamente la ejecución de programa a la instrucción siguiente a la instrucción
JSR en el archivo de escalera que llama.
Nota La instrucción RET termina la ejecución de la subrutina DII (procesadores SLC
5/03 y SLC 5/04), la subrutina STI, la subrutina de interrupción provocada por
evento de E/S y el indicador de error del usuario cuando se usa un procesador SLC
5/02, SLC 5/03 ó SLC 5/04.
Preface
Manual de referencia del juego de instrucciones
5–8
Restablecimiento de control maestro (MCR)
Use las instrucciones MCR conjuntamente para crear zonas de programa que
desactivan todas las salidas no retentivas en la zona. Los renglones dentro de la
zona MCR todavía son escaneados, pero el tiempo de escán se reduce debido al
estado falso de las salidas no retentivas.
Si el renglón MCR que inicia la
zona es:
El controlador:
               
          
                 
          

Las zonas MCR le permiten habilitar o inhabilitar segmentos de su programa; por
ejemplo, las aplicaciones de receta.
Cuando programe las instrucciones MCR, observe lo siguiente:
• Debe terminar la zona con una instrucción MCR no condicional.
• No puede anidar una zona MCR dentro de otra.
• No salte a una zona MCR. Si la zona es falsa, el saltar a ella activa la zona.
• Siempre coloque la instrucción MCR como la última instrucción en un renglón.
Nota La instrucción MCR no substituye un relé cableado de control maestro que
proporciona la capacidad de detención de emergencia. Todavía debe instalar un
relé cableado de control maestro para proporcionar la interrupción de alimentación
eléctrica de E/S en casos de emergencia.
Si inicia instrucciones tales como temporizadores o contadores en una zona
MCR, la operación de instrucción se detiene cuando la zona se inhabilita.
Vuelva a programar operaciones críticas fuera de la zona si fuese necesario.
3
3
3 3
3
3
(MCR)
Instrucciones de flujo de programa
5–9
Operación del procesador SLC
No salte (JMP) a una zona MCR. Las instrucciones programadas dentro de la zona
MCR, que comienzan con una instrucción LBL y terminan con la instrucción ’END
MCR’, siempre serán evaluadas como si la zona MCR fuera verdadera, sin importar
el estado verdadero de la instrucción “Start MCR”. Si la zona es falsa, el saltar a
ella activa la zona desde la LBL hasta el final de la zona.
Si inicia instrucciones tales como temporizadores o contadores en una zona
MCR, la operación de instrucción se detiene cuando la zona se inhabilita.
Vuelva a programar operaciones críticas fuera de la zona si fuese necesario.
El temporizador TOF se activará (cuando se coloque) dentro de una zona
MCR falsa.
La instrucción MCR no sustituye el relé cableado de control maestro.
Recomendamos que el sistema de controlador programable incluya un relé de
cableado de control maestro e interruptores de parada de emergencia para
proporcionar la interrupción de alimentación eléctrica de E/S. Los
interruptores de parada de emergencia se pueden monitorizar pero no deben
ser controlados por el programa de escalera. Cablee estos dispositivos según lo
descrito en el manual de instalación.
Específico de SLC 5/03 y SLC 5/04 – Cuando está en línea y existe en su
programa una instrucción MCR desigual, la instrucción END sirve como la
segunda instrucción MCR no condicional y todos los renglones siguientes a la
primera instrucción MCR se ejecutan por medio del estado de instrucción
MCR actual.
Puede guardar el programa cuando está en línea si existen instrucciones MCR
desatendidas. Sin embargo, si está fuera de línea y existen instrucciones MCR
desatendidas, ocurrirá un error.
Manual de referencia del juego de instrucciones
5–10
Fin temporal (TND)
Cuando el renglón de esta instrucción es verdadero, previene que el procesador
realice un escán del resto del archivo de programa, actualiza la E/S y reanuda el
escaneado a partir del renglón 0 del programa principal (archivo 2). Si la
instrucción de este renglón es falsa, el procesador sigue realizando el escán hasta la
próxima instrucción TND o el comando END. Use esta instrucción para depurar
progresivamente un programa o eliminar condicionalmente el resto de su archivo de
programa o subrutinas existentes.
Nota Si usa esta instrucción dentro de una subrutina anidada, se termina la ejecución de
todas las subrutinas anidadas.
Controladores MicroLogix 1000
No ejecute esta instrucción desde la rutina de fallo de error del usuario (archivo 3),
rutina de interrupción del contador de alta velocidad (archivo 4) ni la rutina de
interrupción temporizada seleccionable (archivo 5) ya que ocurrirá un error.
3
3
3 3
3
3
(TND)
Instrucciones de flujo de programa
5–11
Suspender (SUS)
Cuando esta instrucción se ejecuta, causa que el procesador entre en el modo de
Suspend/Idle y almacena la identificación de suspender en palabra 7 (S:7) del
archivo de estado. Todas las salidas se desactivan.Suspender (SUS)
Use esta instrucción para capturar e identificar condiciones específicas para la
depuración de programas y la localización y corrección de fallos de sistemas.
Cómo introducir parámetros
Introduzca un número de identificación de suspender de –32,768 a +32,767 al
programar la instrucción.
Cuando la instrucción SUS se ejecuta, la identificación programada así como la
identificación del archivo de programa desde el cual se ejecuta la instrucción SUS se
colocan en el archivo de estado del sistema.
3
3
3 3
3
3
SUS
SUSPEND
Suspend ID
Manual de referencia del juego de instrucciones
5–12
Entrada inmediata con máscara (IIM)
Esta instrucción le permite actualizar datos antes del escán de entrada normal.
Cuando la instrucción IIM se habilita, el escán de programa se interrumpe. Los
datos de una ranura de E/S especificada se transfieren a través de una máscara al
archivo de datos de entrada poniendo así los datos a la disposición de instrucciones
siguientes a la instrucción IIM en el programa de escalera.
Para la máscara, 1 en la posición de un bit de entrada transfiere datos desde la fuente
hasta el destino. 0 inhibe que los datos se transfieran desde la fuente hasta el
destino.
Cómo introducir parámetros
Ranura – Especifique el número de ranura de entrada y el número de palabra
perteneciente a la ranura. No es necesario especificar la palabra 0 de una ranura.
Los procesadores fijos y SLC 5/01 pueden tener hasta 8 palabras asociadas con la
ranura. Los procesadores SLC 5/02, SLC 5/03 y SLC 5/04 pueden tener hasta 32
palabras asociadas con la ranura (0–31).
Para todos los controladores MicroLogix 1000 especifique I1:0.0. Para los
controladores de E/S 16, I1:0/0–9 son válidos e I1:0/10–15 se consideran como
entradas no usadas. (No existen físicamente.) Para los controladores de E/S 32,
I1:0/0–15 e I1:1/0–3 son válidos. Especifique I1:1 si desea actualizar
inmediatamente los cuatro últimos bits de entrada.
Ejemplo
 !     
 !     
 !     
Máscara – Especifique una constante hexadecimal o dirección de registro.
Longitud – Para los procesadores SLC 5/03 y SLC 5/04, este parámetro se usa para
transferir más de una palabra por ranura.
3
3
3 3
3
3
IMMEDIATE INPUT w MASK
Slot
Mask
IMMEDIATE INPUT w MASK
Slot
Mask
Length
IIM
 !%  !
   $   $
! # 
IIM
 !%  !
    $
Instrucciones de flujo de programa
5–13
Salida inmediata con máscara (IOM)
Esta instrucción le permite actualizar las entradas antes del escán de salida normal.
Cuando la instrucción IOM se habilita, el escán de programa se interrumpe para
transferir datos a una ranura de E/S especificada a través de una máscara. Luego el
escán de programa se reanuda.
Para la máscara, un 1 en la posición de bit de salida transfiere datos desde la fuente
hasta el destino. 0 inhibe que los datos se transfieran desde la fuente hasta el
destino.
Cómo introducir parámetros
Ranura – Especifique el número de ranura y el número de palabra perteneciente a
la ranura. No es necesario especificar la palabra 0 de una ranura. Los procesadores
fijos y SLC 5/01 pueden tener hasta 8 palabras asociadas con la ranura. Los
procesadores SLC 5/02, SLC 5/03 y SLC 5/04 pueden tener hasta 32 palabras
asociadas con la ranura (0–31).
Para todos los controladores MicroLogix 1000, especifique O0:0.0. Para los
controladores de E/S 16, O0:0/0–5 son válidos y O0:0/6–15 se consideran como
salidas no usadas. (No existen físicamente.) Para los controladores de E/S 32,
O0:0/1–11 son válidos y O0:0/12–15 se consideran como salidas no usadas.
Ejemplo
       
       
       
Máscara – Especifique una constante hexadecimal o dirección de registro.
Longitud – Para los procesadores SLC 5/03 y SLC 5/04 este parámetro se usa para
transferir más de una palabra por ranura.
3
3
3 3
3
3
IMMEDIATE OUTPUT w MASK
Slot
Mask
Length
IMMEDIATE OUTPUT w MASK
Slot
Mask
IOM
 !%  
   $   $
!  # 
IOM
 !%  
    $
Manual de referencia del juego de instrucciones
5–14
Regenerar I/S (REF)
Uso de un procesador SLC 5/02
La instrucción REF no tiene parámetros de programación. Cuando se evalúa como
verdadero, el escán de programa se interrumpe para ejecutar el escán de E/S y
porporcionar servicio a porciones de comunicación del ciclo de operación (escritura
de salidas, servicios de comunicación, lectura de entradas). Luego el escán se
reanuda en la instrucción siguiente a la instrucción REF.
No se le permite colocar una instrucción REF en una subrutina DII, subrutina STI,
subrutina de E/S o subrutina de fallo del usuario.
Los temporizadores de control (watchdog) y de escán son restablecidos al
ejecutar la instrucción REF. Debe asegurarse que la instrucción REF no se
coloque dentro de un lazo de programa sin fin.
No coloque una instrucción REF dentro de un lazo de programa a menos que
el programa se analice detenidamente.
Uso de procesadores SLC 5/03 y SLC 5/04
La operación de la instrucción REF en el procesador SLC 5/03 y SLC 5/04 es la
misma que para el procesador SLC 5/02. Sin embargo, al usar un procesador SLC
5/03 ó SLC 5/04 también puede seleccionar un canal de comunicación específico
para el cual desea servicio.
• Procesador SLC 5/03
– el canal 0 esfull duplex DF1/RS-23 ó DH-485
– el canal 1 es DH-485
• El procesador SLC 5/04
– el canal 0 es DH-485, full duplex DF1 ó ASCII
– el canal 1 es DH+
3
3
3
(REF)
    
REF
I/O REFRESH
Channel 0
Channel 1
Instrucciones de flujo de programa
5–15
Instrucciones de control de flujo de programa en el
ejemplo de aplicación de la perforadora de papel
Esta sección proporciona renglones de escalera para demostrar el uso de las
instrucciones de control de flujo de programa. Los renglones son parte del ejemplo
de aplicación de la perforadora de papel descrito en el apéndice H. Va a añadir al
programa principal en el archivo 2. Los nuevos renglones son necesarios para
llamar las otras subrutinas que contienen la lógica necesaria para hacer funcionar la
máquina.
Cómo añadir el archivo 2
Renglón 2:3
Este renglón llama la subrutina de secuencia de la perforadora. Esta subrutina
maneja la operación de una secuencia de perforación y vuelve a arrancar el
transportador cuando se termina la secuencia de perforación.
| +JSR–––––––––––––––+ |
|–––––––––––––––––––––––––––––––––––––––––––––––––––––––––+JUMP TO SUBROUTINE+–|
| |SBR file number 6| |
| +––––––––––––––––––+ |
Renglón 2:4
Este renglón llama la subrutina que registra la cantidad de desgaste de la broca
actual.
| +JSR–––––––––––––––+ |
|–––––––––––––––––––––––––––––––––––––––––––––––––––––––––+JUMP TO SUBROUTINE+–|
| |SBR file number 7| |
| +––––––––––––––––––+ |
Renglón 2:5
Existe una lógica de inicialización en la subrutina DII (archivo 4) que se debe
ejecutar antes de la primera interrupción DII. Así este renglón permite que el
DII esté inicializado saltando a la subrutina DII cuando el procesador entre
en el modo RUN.
| Primera |
| transferencia |
| S:1 +JSR–––––––––––––––+ |
|––––] [––––––––––––––––––––––––––––––––––––––––––––––––––+JUMP TO SUBROUTINE+–|
| 15 |SBR file number 4| |
| +––––––––––––––––––+ |
Manual de referencia del juego de instrucciones
5–16
Instrucciones específicas de aplicación
6–1
6 Instrucciones específicas de
aplicación
Este capítulo contiene información general acerca de las instrucciones específicas de
aplicación y explica cómo funcionan en su programa de aplicación. Cada una de las
instrucciones incluye información acerca de:
• cómo aparece el símbolo de instrucción
• cómo usar la instrucción
Además, la última sección contiene un ejemplo de aplicación para una perforadora
de papel que muestra el uso de las instrucciones específicas de aplicación.
Instrucciones específicas de aplicación
Instrucción
Propósito Página
Mnemónico Nombre
Propósito Página
BSL y BSR  !  
 !
 !  
 
            
 !   $      
   %         
 !    !    !
    
6-5
SQO y
SQC
 
 
  $ 
 
       
        #  
     
6-9
SQL    
 
           
         $
6-14
Manual de referencia del juego de instrucciones
6–2
Acerca de las instrucciones específicas de aplicación
Estas instrucciones simplifican el programa de escalera permitiéndole a usted usar
una sola instrucción o un par de instrucciones para efectuar operaciones complejas
comunes.
En este capítulo se encuentra una descripción general antes de cada grupo de
instrucciones. Antes de aprender acerca de las instrucciones en cada uno de estos
grupos, le recomendamos que lea la descripción general. Este capítulo contiene las
descripciones generales siguientes:
• Descripción general de las instrucciones de desplazamiento de bit
• Descripción general de las instrucciones del secuenciador
Instrucciones específicas de aplicación
6–3
Descripción general de las instrucciones de
desplazamiento de bit
La información general siguiente se aplica a las instrucciones de desplazamiento de
bit.
Cómo introducir los parámetros
Introduzca los parámetros siguientes al programar estas instrucciones:
• El archivo es la dirección del fichero de bit que desea manejar. Debe usar el
indicador de archivo (#) en la dirección de fichero de bit.
• El control es el elemento de control que almacena el byte de estado de la
instrucción, el tamaño del fichero (en número de bits). Anote que la dirección
de control no se debe usar para otras instrucciones.
El elemento de control se muestra abajo.
EN DN ER UL No usada
15 13 11 10 00
Tamaño del fichero de bit (número de bits)
Reservada
Pal. 0
Pal. 1
Pal. 2
Los bits de estado del elemento de control se pueden direccionar
mnemónicamente. Entre éstos se incluyen:
– El bit de descarga UL (bit 10) almacena el estado del bit salido del
fichero cada vez que la instrucción se habilita.
– El bit de error ER (bit 11), cuando se establece, indica que la instrucción
ha detectado un error tal como la introducción de un número negativo para
la longitud o posición. Evite usar el bit de salida cuando este bit esté
establecido.
– El bit de efectuado DN (bit 13), cuando se establece, indica que el
fichero de bit se ha desplazado una posición.
– El bit de habilitación EN (bit 15) está establecido en una transición de
falso a verdadero del renglón e indica que la instrucción está habilitada.
Manual de referencia del juego de instrucciones
6–4
Cuando el registro se desplaza y las condiciones de entrada se hacen falsas, los
bits de habilitación, efectuado y error se restablecen.
• El bit de dirección es la dirección del bit de fuente que la instrucción inserta en
la primera (más baja) posición de bit (BSL) o en la última (más alta) posición de
bit (BSR).
• La longitud (tamaño del arreglo de bit) es el número de bits en el fichero de bit,
hasta 2048 bits. Un valor de longitud de 0 causa que el bit de entrada se
transfiera al bit UL.
– Para los procesadores SLC la longitud es 2048
– Para los controladores MicroLogix 1000 la longitud es 1680
Un valor de longitud que indica más allá del fin del archivo programado causa
la ocurrencia de un error mayor de tiempo de ejecución. Si modifica un valor de
longitud con su programa de escalera, asegúrese que el valor modificado sea
válido.
La instrucción invalida todos los bits más allá del último bit en el fichero (según se
define por la longitud) hasta el próximo límite de palabra.
Nota Si una dirección de elemento STring se usa para el parámetro del archivo, la
longitud máxima en un procesador SLC 5/03 y SLC 5/04 es 672 bits. Además, los
límites del elemento STring no se pueden cruzar.
Efectos en el registro de índice S:24
La operación de desplazamiento pone a cero el registro de índice S:24.
Instrucciones específicas de aplicación
6–5
Desplazamiento de bit izquierdo (BSL)
Desplazamiento de bit derecho (BSR)
BSL y BSR son instrucciones de salida que cargan bit por bit los datos en un fichero
de bit. Los datos son desplazados a través del fichero y luego son descargados bit
por bit.
Uso de BSL
Cuando el renglón va de falso a verdadero, el procesador establece el bit de
habilitación (EN bit 15) y el bloque de datos se desplaza a la izquierda (a un número
de bit superior) por una posición de bit. El bit especificado en la dirección de bit se
desplaza a la primera posición de bit. El último bit se desplaza fuera del fichero y se
almacena en el bit de descarga (UL bit 10). El desplazamiento se realiza
inmediatamente.
Para la operación de ajuste automático de línea, establezca la posición de la
dirección de bit en el último bit del fichero o en el bit UL, según sea aplicable.
3
3
3 3
3
3
(EN)
(DN)
BSR
BIT SHIFT RIGHT
File #B3:2
Control R6:15
Bit AddressI:23/06
Length 38
(EN)
(DN)
BSL
BIT SHIFT LEFT
File #B3:1
Control R6:14
Bit AddressI:22/12
Length 58
Manual de referencia del juego de instrucciones
6–6
La ilustración siguiente muestra cómo funciona la instrucción de desplazamiento de
bit izquierdo.
(EN)
(DN)
BSL
BIT SHIFT LEFT
File #B3:1
Control R6:14
Bit Address I:22/12
Length 58
19 18 17 16
35 34 33
51 50 49 48
67 66 65 64
32
23 22 21 20
39 38 37
55 54 53 52
71 70 69 68
36
27 26 25 24
43 42 41
59 58 57 56
73 72
40
31 30 29 28
47 46 45
63 62 61 60
44
NO VALIDO
#  % 
 
%  %

%  $#
  
    % $ $ $!' %
! # % $ %  $% % 
Si desea desplazar más de un bit por escán, debe crear un lazo en la aplicación
usando las instrucciones JMP, LBL y CTU.
Uso de BSR
Cuando el renglón va de falso a verdadero, el procesador establece el bit de
habilitación (EN bit 15) y el bloque de datos se desplaza a la derecha (a un número
de bit superior) por una posición de bit. El bit especificado en la dirección de bit se
desplaza a la última posición de bit. El primer bit se desplaza fuera del fichero y se
almacena en el bit de descarga (UL bit 10) en el byte de estado del elemento de
control. El desplazamiento se completa inmediatamente.
Para la operación de ajuste automático de línea, establezca la posición de la
dirección de bit en el primer bit del fichero o en el bit UL, según sea aplicable.
Instrucciones específicas de aplicación
6–7
La ilustración siguiente muestra cómo funciona la instrucción de desplazamiento de
bit derecho.
(EN)
(DN)
BSR
BIT SHIFT RIGHT
File #B3:2
Control R6:15
Bit Address I:23/06
Length 38
35 34 33
51 50 49 48
67 66 65 64
32
39 38 37
55 54 53 52
69 68
36
43 42 41
59 58 57 56
40
47 46 45
63 62 61 60
44
INVALID
  $
 
$  %$
 
$  #
  
 !%  $# # #  $
 $ # $ #$ $ 
Si desea desplazar más de un bit por escán, debe crear un lazo en la aplicación
usando las instrucciones JMP, LBL y CTU.
Manual de referencia del juego de instrucciones
6–8
Descripción general de las instrucciones de
secuenciador
La información general siguiente se aplica a las instrucciones de secuenciador.
Efectos en el registro de índice S:24
El valor presente en el registro de índice S:24 se sobrescribe cuando la instrucción
de secuenciador es verdadera. El valor del registro de índice será igual al valor de
posición de la instrucción.
Aplicaciones que requieren más de 16 bits
Cuando la aplicación requiere más de 16 bits, use instrucciones de secuenciador
múltiple en paralelo.
Nota Refiérase al apéndice H para ejemplos de aplicación que usan las instrucciones de
secuenciador.
Nota Si se usa una dirección de elemento STring para el parámetro de archivo, la
longitud máxima en un procesador SLC 5/03 y SLC 5/04 es 41 palabras.
Además,no se pueden cruzar los límites del elemento STring.
Instrucciones específicas de aplicación
6–9
Salida de secuenciador (SQO)
Comparación de secuenciador (SQC)
Estas intstrucciones transfieren datos de 16 bits a direcciones de palabra para el
control de operaciones secuenciales de la máquina.
Cómo introducir parámetros
Introduzca los parámetros siguientes al programar estas instrucciones:
• El archivo es la dirección del archivo de secuenciador. Debe usar el indicador
de archivo (#) para esta dirección.
Los datos del archivo de secuenciador se usan de la manera siguiente:
Instrucción El archivo de secuenciador almacena:
      

        
 
• La máscara (SQO, SQC) es un código hexadecimal o la dirección de la palabra
o archivo de máscara a través de la cual la instrucción mueve datos. Establezca
los bits de máscara para transferir datos y restablezca los bits de máscara para
enmascarar datos. Use una palabra o archivo de máscara si desea cambiar la
máscara según los requisitos de aplicación.
Si la máscara es un archivo, su longitud será igual a la longitud del archivo de
secuenciador. Los dos archivos registran automáticamente.
• La fuente es la dirección de la palabra o archivo de entrada para un SQC de la
cual la instrucción obtiene datos para comparación con su archivo de
secuenciador.
• El destino es la dirección de la palabra o archivo de salida para un SQC a la
cual la instrucción mueve datos de su archivo de secuenciador.
3
3
3 3
3
3
SQO
SEQUENCER OUTPUT
File #B10:1
Mask 0F0F
Dest O:14
Control R6:20
Length 4
Position 2
(EN)
(DN)
SQC
SEQUENCER COMPARE
File #B10:11
Mask FFF0
Source I:03
Control R6:21
Length 4
Position 2
(FD)
(EN)
(DN)
Manual de referencia del juego de instrucciones
6–10
Nota Puede direccionar la máscara, fuente o destino de una instrucción de secuenciador
como palabra o archivo. Si la direcciona como archivo (usando # de indicador de
archivo), la instrucción pasa automáticamente por el archivo de fuente, máscara o
destino.
• El control (SQO, SQC) es la estructura de control que almacena el byte de
estado de la instrucción, la longitud del archivo de secuenciador y la posición
instantánea en el archivo. No debe usar la dirección de control para otras
instrucciones.
EN DN ER FD
15 13 11 08 00
Longitud del archivo de secuenciador
Posición
Pal. 0
Pal. 1
Pal. 2
Los bits de estado de la estructura de control incluyen:
– El bit de encontrado FD (bit 08) – SQC solamente. Cuando el estado de
todos los bits sin máscara en la dirección de fuente corresponden a los de la
palabra de referencia, el bit FD está establecido. Este bit se evalúa cada
vez que la instrucción SQC es evaluada mientras el renglón sea verdadero.
– El bit de error ER (bit 11) se establece cuando el procesador detecta un
valor de posición negativo, o un valor de longitud negativo o de cero. Esto
resulta en un error mayor si no se borra antes de la ejecución de la
instrucción END o TND.
– El bit de efectuado Bit DN (bit 13) lo establece la instrucción SQO o
SQC después de operar en la última palabra en el archivo de secuenciador.
Se restablece en la próxima transición de renglón de falso a verdadero
después de que el renglón se haga falso.
– El bit de habilitación EN (bit 15) lo establece una transición de renglón
de falso a verdadero e indica que la instrucción SQO o SQC se ha
habilitado.
• La longitud es el número de pasos del archivo de secuenciador a partir de la
posición 1. El número máximo que puede introducir es 255 palabras (104
palabras cuando usa los controladores MicroLogix 1000). La posición 0 es la
posición de arranque. La instrucción se restablece (se ajusta automáticamente)
a la posición 1 durante cada ciclo completado.
La dirección asignada para un archivo de secuenciador es paso cero. Las
instrucciones de secuenciador usan la longitud + 1 palabra de archivos de la
tabla de datos para cada archivo indicado en la instrucción. Esto se aplica a la
fuente, máscara y/o destino si se direccionan como archivos.
Un valor de longitud que indica más allá del fin del archivo programado causa
la coincidencia de un error mayor de tiempo de ejecución. Si modifica un valor
de longitud con su programa de escalera, asegúrese que el valor modificado sea
válido.
Instrucciones específicas de aplicación
6–11
• La posición es la ubicación o paso de palabra en el archivo de secuenciador al
cual/desde el cual la instrucción mueve datos.
Un valor de longitud que indica más allá del final del archivo programado
provoca un error mayor de tiempo de ejecución. Si modifica un valor de
longitud con su programa de escalera, asegúrese que el valor modificado sea
válido.
Nota de aplicación: Puede usar la instrucción de restablecimiento (RES) para
restablecer un secuenciador. Todos los bits de control (excepto FD) se pondrán a
cero. La posición también se pondrá a cero. Programe la dirección de su registro de
control en el RES (por ej., R6:0).
Uso de SQO
Esta instrucción de salida pasa por el archivo de secuenciador cuyos bits han sido
enviados para controlar varios dispositivos de salida.
Cuando el renglón va de falso a verdadero, la instrucción se incrementa hasta el
próximo paso (palabra) en el archivo de secuenciador. Los datos almacenados en
éste se transfieren a través de una máscara a la dirección de destino especificada en
la instrucción. Los datos actuales se escriben en la palabra de destino
correspondiente durante cada escán en que el renglón permanece verdadero.
El bit de efectuado se establece cuando la última palabra del archivo de
secuenciador se transfiere. En la próxima transición de renglón de falso a
verdadero, la instrucción restablece la posición al paso uno.
Si la posición es igual a cero al momento de arranque, cuando usted conmuta el
procesador del modo de programa al modo de marcha, la operación de la instrucción
dependerá de si el renglón es verdadero o falso en el primer escán.
• Si es verdadero, la instrucción transfiere el valor al paso cero.
• Si es falso, la instrucción espera la primera transición de renglón de falso a
verdadero y transfiere el valor al paso uno.
Los bits enmascaran datos cuando se restablecen y transfieren datos cuando se
establecen. La instrucción no cambia el valor en la palabra de destino a menos que
usted establezca los bits de máscara. La máscara puede ser fija o variable. Será
variable si introduce una dirección de elemento o una dirección de archivo para
cambiar la máscara con cada paso.
Preface
Manual de referencia del juego de instrucciones
6–12
La ilustración siguiente indica cómo funciona la instrucción SQO.
SQO
SEQUENCER OUTPUT
File #B10:1
Mask 0F0F
Dest O:14.0
Control R6:20
Length 4
Position 2
(EN)
(DN)
0000 0101 0000 1010
0
7
8
15
0000 1111 0000 1111
0
7
8
15
0000 0000 0000 0000
1010 0010 1111 0101
1111 0101 0100 1010
0101 0101 0101 0101
0000 1111 0000 1111
0
1
2
3
4
Paso
B10:1
2
3
4
5
Palabra
00
01
02
03
04
05
06
07
08
09
10
11
12
13
14
15
Activ.
Activ.
Activ.
Activ.
Salidas externas
asociadas con O:14
Destino O:14.0
Valor de máscara 0F0F
Archivo de salida de secuenciador #B10:1
Paso actual
Uso de SQC
Cuando el estado de todos los bits sin máscara en la palabra de fuente corresponden
a los de la palabra de referencia, la instrucción establece el bit de encontrado (FD)
en la palabra de control. En caso contrarior, el bit de encontrado (FD) se pone a
cero.
Los bits enmascaran datos cuando se restablecen y transfieren datos cuando se
establecen.
La máscara puede ser fija o variable. Si introduce un código hexadecimal, la
máscara es fija. Si introduce una dirección de elemento o una dirección de archivo
para cambiar la máscara con cada paso, la máscara es variable.
Cuando el renglón va de falso a verdadero, la instrucción se incrementa al próximo
paso (palabra) en el archivo de secuenciador. Los datos almacenados en éste se
transfieren a través de una máscara y se comparan contra los datos de fuente para
determinar igualdad. Si los datos de fuente son iguales a los datos de referencia, el bit
FD se establece en el contador de control de SQC. Los datos actuales se comparan
contra la fuente durante cada escán en que el renglón es evaluado como verdadero.
Instrucciones específicas de aplicación
6–13
Las aplicaciones de la instrucción SQC incluyen diagnósticos de máquina. La
ilustración siguiente explica cómo funciona la instrucción SQC.
0010 0100 1001 1101
1111 1111 1111 0000
0010 0100 1001 1010
0
1
2
3
4
Paso
B10:11
12
13
14
15
Palabra
Palabra de entrada I:3.0
Valor de máscara FFF0
Archivo de ref. de secuenciador #B10:11
(EN)
(DN)
SQC
SEQUENCER COMPARE
File #B10:11
Mask FFF0
Source I:3.0
Control R6:21
Length 4
Position 2
(FD)
      !   !%   
! !      $ 
  !   
    $       # !
          
! ! !    $
Manual de referencia del juego de instrucciones
6–14
Carga de secuenciador (SQL)
La instrucción SQL almacena datos de 16 bits en un archivo de carga de
secuenciador a cada paso de la operación del secuenciador. La fuente de estos datos
puede ser una dirección de palabra de E/S o de almacenamiento, una dirección de
archivo o una constante.
Cómo introducir parámetros
Introduzca los parámetros siguientes al programar esta instrucción:
• El archivo es la dirección del archivo de secuenciador. Debe usar el indicador
de archivo (#) para esta dirección.
• La fuente puede ser una dirección de palabra, dirección de archivo o una
constante (–32768 a 32767).
Si la fuente es una dirección de archivo, la longitud de archivo es igual a la
longitud del archivo de carga de secuenciador. Los dos archivos pasarán
automáticamente según el valor de posición.
• La longitud es el número de pasos del archivo de carga de secuenciador (y
también de la fuente si la fuente es una dirección de archivo), a partir de la
posición 1. El número máximo que puede introducir es 255 palabras (104
palabras cuando usa los controladores MicroLogix 1000). La posición 0 es la
posición de arranque. La instrucción se restablece (se ajusta automáticamente)
a la posición 1 durante cada ciclo completado.
La dirección de posición asignada para un archivo de secuenciador es el paso
cero. Las instrucciones de secuenciador usan la longitud más una palabra de
datos para cada archivo con referencia en la instrucción. Esto se aplica a la
fuente si se direcciona como archivo.
Un valor de longitud que indica más allá del fin del archivo programado
provoca un error mayor de tiempo de ejecución. Si modifica un valor de
longitud con su programa de escalera, asegúrese que el valor modificado sea
válido.
• La posición es la ubicación o paso de palabra en el archivo de secuenciador a la
cual se mueven los datos.
Un valor de longitud que indica más allá del fin del archivo programado
provoca un error mayor de tiempo de ejecución. Si modifica un valor de
longitud con su programa de escalera, asegúrese que el valor modificado sea
válido.
3
3
3 3
(EN)
(DN)
SQL
SEQUENCER LOAD
File
Source
Control
Length
Position
Instrucciones específicas de aplicación
6–15
• El control es una dirección de archivo de control. Los bits de estado, valor de
longitud y valor de posición se almacenan en este elemento. No use la
dirección de archivo de control para otras instrucciones.
El elemento de control se muestra abajo:
EN DN ER
15 14 13 12 11 10 09 08 07 06 05 04 03 02 01 00
Longitud
Posición
Pal. 0
Pal. 1
Pal. 2
Los bits de estado de la estructura de control incluyen:
– El bit de error ER (bit 11) se establece cuando el procesador detecta un
valor de posición negativo, o un valor de longitud negativo o de cero.
Para los procesadores SLC, esto resulta en un error mayor si no se pone a
cero antes de la ejecución de la instrucción END o TND.
Para los controladores MicroLogix 1000, cuando el bit ER se establece
también se establece el bit de error (S5:2). Ambos bits se deben poner a
cero.
– El bit de efectuado DN (bit 13) se establece después de que la instrucción
haya operado en la última palabra en el archivo de carga de secuenciador.
Se restablece en la próxima transición de renglón de falso a verdadero
después de que el renglón se haga falso.
– El bit de habilitación EN (bit 15) se establece en una transición de falso
a verdadero del renglón SQL y se restablece en una transición de verdadero
a falso.
Preface
Manual de referencia del juego de instrucciones
6–16
Operación
Los parámetros de instrucción han sido programados en la instrucción SQL ilustrada
abajo. La palabra de entrada I:1.0 es la fuente. Los datos en esta palabra son
cargados en el archivo de entero #N7:30 por la instrucción de carga de secuenciador.
(EN)
(DN)
SQL
SEQUENCER LOAD
File #N7:30
Source I:1.0
Control R6:4
Length 4
Position 2
0000 0101 0000 1010
0
7
8
15
0000 0000 0000 0000
1010 0010 1111 0101
0000 0101 0000 1010
0000 0000 0000 0000
0000 0000 0000 0000
0
1
2
3
4
Paso
N7:30
31
32
33
34
Palabra
00
01
02
03
04
05
06
07
08
09
10
11
12
13
14
15
Activ.
Activ.
Activ.
Activ.
Entradas externas
asociadas con I:1.0
Fuente I:1.0
Archivo de carga de secuenciador #N7:30
Paso actual
Cuando las condiciones de renglón cambian de falso a verdadero, el bit de
habilitación SQL (EN) se establece. El elemento de control R6:4 se incrementa a la
próxima posición en el archivo de secuenciador y carga el contenido de la fuente
I:1.0 en esta ubicación. La instrucción SQL sigue cargando los datos actuales en
esta ubicación durante cada escán en que el renglón permanece verdadero. Cuando
el renglón se vuelve falso, el bit de habilitación (EN) se pone a cero.
La instrucción carga los datos en un nuevo elemento de archivo a cada transición de
falso a verdadero del renglón. Cuando se completa el paso 4, el bit de efectuado
(DN) se establece. La operación avanza a la posición 1 en la próxima transición de
falso a verdadero del renglón después de la posición 4.
Si la fuente fuera una dirección de archivo tal como #N7:40, los archivos #N7:40 y
#N7:30 tendrían una longitud de 5 (0–4) y rastrearían conjuntamente por los pasos
según el valor de posición.
Instrucciones específicas de aplicación
6–17
Instrucciones específicas de aplicación en el ejemplo de
aplicación de la perforadora de papel
Esta sección proporciona renglones de escalera para demonstrar el uso de las
instrucciones específicas de aplicación. Los renglones son parte del ejemplo de
aplicación de la perforadora de papel descrito en el apéndice H. Usted iniciará una
rubrutina en el archivo 4.
Esta porción de la subrutina indica al transportador dónde detenerse para permitir la
perforación de un orificio. Las instrucciones de secuenciador se usan para
almacenar las posiciones de parada del transportador y cargar la “próxima” posición
de parada en la palabra preseleccionada DII. (La interrupción de entrada discreta,
DII, se usa para contar impulsos precedentes del codificador [encoder] que está
conectado al transportador.) Las posiciones de parada se usan para almacenar y
acceder cada una de las tres configuraciones de orificios.
 
/-/  /+, 
%*$ -(( ++*

%*$ -(( +1

%0)1%( #+-
% '*.. *   -(( %*$ ./ +(
+(
 +(


2.1/ %

-# +.
,-#+-!+.
*/--0,/+-
.( /+- !
,-#+- 3*
-#+-!+-
Manual de referencia del juego de instrucciones
6–18
Renglón 4:0
Este renglón restablece los secuenciadores de conteo de orificios cada vez que el
procesador entra en el modo RUN. Esto asegura que el primer valor preseleccionado se
cargue en la DII preseleccionada a cada entrada en el modo de marcha.
| Primer secuenciador |
| paso de 3 orificios |
| preseleccionado|
| +INT––––––––––––––––––––+ S:1 R6:4 |
|–+INTERRUPT SUBROUTINE +––––] [––––––––––––––––––––––––––––––+–––(RES)––––+–|
| +–––––––––––––––––––––––+ 15 | | |
| | secuenc. | |
| | de 5 orif. | |
| | preselecc. | |
| | R6:5 | |
| +–––(RES)––––+ |
| | | |
| | secuenc. | |
| | de 7 orif. | |
| | preselecc. | |
| | R6:6 | |
| +–––(RES)––––+ |
| |
Renglón 4:2
Este renglón registra el número de orificio que se perfora y carga la próxima DII
correcta preseleccionada basada en el conteo de orificios. Este renglón solamente
está activo cuando el “interruptor selector de orificio” está en la posición de “3
orificios”. El secuenciador usa el paso 0 como un paso nulo al restablecerse. Usa el
último paso como “continuar infinitivamente” en espera del “fin de manual”. El mover
0 a S:49 le indica a la DII que dispare una interrupción cuando el borde trasero del
libro actual se detecta.
| bit 0 |bit 1 secuenciador |
| del interr. |del interr. de 3 orificios |
| selector |selector preseleccionado |
| de orificio |de orificio |
| I:1.0 I:1.0 +SQO–––––––––––––––+ |
|––––]/[––––––––] [–––––––––+––––––––––––––––––––––+SEQUENCER OUTPUT +–(EN)–+–|
| 9 10 | |File #N10:0+–(DN) | |
| | |Mask FFFF| | |
| | |Dest S:50| | |
| | |Control R6:4| | |
| | |Length 4| | |
| | |Position 0| | |
| | +––––––––––––––––––+ | |
| | | |
Instrucciones específicas de aplicación
6–19
| | | |
| | forzar que el | |
| | secuenciador | |
| | incremente en | |
| | el próximo escán | |
| | R6:4 | |
| +–––––––––––––––––––––––––(U)––––––––––––––––––––+ |
| | EN | |
Renglón 4:3
Este renglón es idéntico al renglón anterior con la excepción de que sólo está
activado cuando el “interruptor selector de orificio” está en la posición de “5
orificios”.
| bit 0 |bit 1 secuenciador |
| del interr. |del interr. de 5 orificios |
| selector de |selector de preseleccionado |
| orificio |orificio |
| I:1.0 I:1.0 +SQO–––––––––––––––+ |
|––––] [––––––––]/[–––––––––+––––––––––––––––––––––+SEQUENCER OUTPUT +–(EN)–+–|
| 9 10 | |File #N10:5+–(DN) | |
| | |Mask FFFF| | |
| | |Dest S:50| | |
| | |Control R6:5| | |
| | |Length 6| | |
| | |Position 0| | |
| | +––––––––––––––––––+ | |
| | | |
| | forzar que el | |
| | secuenciador | |
| | incremente en | |
| | el próximo escán | |
| | R6:5 | |
| +–––––––––––––––––––––––––(U)––––––––––––––––––––+ |
| | EN | |
Manual de referencia del juego de instrucciones
6–20
Renglón 4:4
Este renglón is idéntico a los 2 renglones anteriores con la excepción de que sólo
está activado cuando el “interruptor selector de orificio” está en la posición de “7
orificios”.
| bit 0 |bit 1 secuenciador |
| del interr. |del interr. de 7 orificios |
| selector de |selector de preseleccionado |
| orificio |orificio |
| I:1.0 I:1.0 +SQO–––––––––––––––+ |
|––––] [––––––––] [–––––––––+––––––––––––––––––––––+SEQUENCER OUTPUT +–(EN)–+–|
| 9 10 | |File #N10:12+–(DN) | |
| | |Mask FFFF| | |
| | |Dest S:50| | |
| | |Control R6:6| | |
| | |Length 8| | |
| | |Position 0| | |
| | +––––––––––––––––––+ | |
| | forzar que el | |
| | secuenciador | |
| | incremente en | |
| | el próximo escán | |
| | R6:6 | |
| +–––––––––––––––––––––––––(U)––––––––––––––––––––+ |
| | EN | |
Cómo usar las instrucciones del contador de alta velocidad
7–1
7 Cómo usar las instrucciones del
contador de alta velocidad
Este capítulo contiene información general acerca de las instrucciones del contador
de alta velocidad y explica cómo funcionan en su programa de aplicación. Cada una
de las instrucciones incluye información acerca de:
• cómo aparece el símbolo de instrucción
• cómo usar la instrucción
Además, la última sección contiene un ejemplo de aplicación para una perforadora
de papel que muestra el uso de las instrucciones del contador de alta velocidad.
Instrucciones del contador de alta velocidad
Mnemónico Nombre Propósito Página
HSC    
  
   #     
        ! 
        
           
    #      
7Ć6
HSL      
   
       
       
       
7Ć18
RES
   
   
  
           
     
7Ć21
RAC
   
   
   
  
           
         
7Ć22
HSE
HSD
    #
    
  
    #
    
  
        #  
    #     
       !   
        
   
7-23
OTE
  !   
     
    
          
        !  
    
7Ć24
Manual de referencia del juego de instrucciones
7–2
Acerca de las instrucciones del contador de alta
velocidad
Las instrucciones del contador de alta velocidad usadas en su programa de escalera
configuran, controlan y monitorizan el contador de hardware del controlador. El
acumulador de hardware del contador incrementa o decrementa en respuesta a
señales de entrada externas. Cuando el contador de alta velocidad está habilitado, el
contador de tabla de datos C5:0 es usado por el programa de escalera para
monitorizar el acumulador y estado del contador de alta velocidad. El contador de
alta velocidad opera independientemente del escán de controlador.
Cuando use el contador de alta velocidad, asegúrese de ajustar debidamente los
filtros de entrada.
Antes de aprender estas instrucciones, lea la descripción general que sigue en la
próxima página.
Cómo usar las instrucciones del contador de alta velocidad
7–3
Descripción general de las instrucciones del contador
de alta velocidad
Use las instrucciones del contador de alta velocidad para detectar y almacenar
impulsos estrechos (rápidos) y para iniciar otras operaciones de control basadas en
los valores preseleccionados. Estas operaciones de control incluyen la ejecución
automática e inmediata de la rutina de interrupción del contador de alta velocidad
(archivo 4) y la actualización inmediata de salidas basada en una configuración de
fuente y máscara que usted ha establecido.
Elementos del archivo de datos del contador
Las instrucciones del contador de alta velocidad hacen referencia al contador C5:0. La
instrucción HSC se fija a C5:0. Se compone de tres palabras. La palabra 0 es la
palabra de estado que contiene 15 bits de estado. La palabra 1 es el valor preselec-
cionado. La palabra 2 es el valor acumulador. Una vez asignado a la instrucción HSC,
C5:0 no está disponible como dirección para otras instrucciones de contador.
CU CD DN OV UN UA HP LP IV IN IH IL PE LS IE
15 14 13 12 11 10 09 08 07 06 05 04 03 02 01 00
Valor preseleccionado
Valor de acumulador
CU = Bit de habilitación de conteo progresivo
CD = Bit de habilitación de conteo regresivo
DN = Bit de alto valor preseleccionado alcanzado
OV = Bit de overflow ocurrido
UN = Bit de underflow ocurrido
UA = Bit de actualización de acumulador de contador de alta velocidad
HP = Bit de alto valor preseleccionado ≥ de acumuladorÀ
LP = Bit de bajo valor preseleccionado ≤ de acumulador
IV = Bit de overflow ha causado interrupción de contador de alta velocidadÀ
IN = Bit de underflow ha causado interrupción de contador de velocidadÀ
IH = Bit de alto valor preseleccionado ha causado interrupciónÀ
IL = Bit de bajo valor preseleccionado ha causado interrupciónÀ
PE = Bit de interrupción pendiente de contador de alta velocidadÀ
LS = Bit de interrupción perdida de contador de alta velocidadÀ
IE = Bit de habilitación de interrupción de contador de alta velocidadÀ
Pal. 0
Pal. 1
Pal. 2
Palabra
de estado
À                    
Los valores preseleccionados y acumulados del contador se almacenan como
enteros signados.
Uso de bits de estado
Los bits de estado del contador de alta velocidad son retentivos. Cuando el contador
de velocidad se configura por primera vez, los bits 3–7, 14 y 15 se restablecen y el
bit 1 (IE) se establece.
Manual de referencia del juego de instrucciones
7–4
• El bit de habilitación del contador progresivo CU (bit 15) se usa con todos
los tipos de contadores de alta velocidad. Si la instrucción HSC es verdadera, el
bit CU se pone a uno. Si la instrucción HSC es falsa, el bit CU se pone a cero.
No escriba a este bit.
• El bit de habilitación del contador regresivo CD (bit 14) se usa con los
contadores bidireccionales (modos 3–8). Si la instrucción HSC es verdadera, el
bit CD se pone a uno. Si la instrucción HSC es falsa, el bit CD se pone a cero.
No escriba a este bit.
• Bit de valor alto preseleccionado alcanzado DN (bit 13) Para los contadores
progresivos (modos 1 y 2), este bit es un bit de enclavamiento disparado por
flanco. Este bit se establece cuando el valor alto preseleccionado se alcanza.
Puede restablecer este bit con una instrucción OTU o ejecutando una
instrucción RAC o RES.
El bit DN es un bit reservado para todas las otras opciones del contador (modos
3–8).
• Bit de overflow ocurrido OV (bit 12) Para los contadores progresivos (modos
1 y 2), este bit está establecido por el controlador cuando el valor alto
preseleccionado se alcanza si el bit DN se ha establecido.
Para los contadores bidireccionales (modos 3–8), el bit OV está establecido por
el controlador después de la transición del acumulador de hardware de 32,767 a
–32,768. Puede restablecer este bit con una instrucción OTU o ejecutando una
instrucción RAC o RES para los contadores progresivos y bidireccionales.
• El bit de underflow ocurrido UN (bit 11) es un bit reservado para los
contadores progresivos (modos 1 y 2). No escriba a este bit.
Nota Para los contadores bidireccionales (modos 3–8), el bit UN está establecido por
el controlador cuando el acumulador de hardware hace una transición de
–32,768 a +32,767. Puede restablecer este bit con una instrucción o ejecutando
una instrucción RAC o RES.
• El bit de actualización del acumulador del contador de alta velocidad UA
(bit 10) se usa con una instrucción OTE para actualizar el valor del acumulador
de imagen de instrucción con el valor del acumulador de hardware. (La
instrucción HSC también realiza esta operación cada vez que el renglón con la
instrucción HSC es evaluado como verdadero.)
• El bit de acumulador  valor alto preseleccionado HP (bit 9) es un bit
reservado para todos los contadores progresivos (modos 1 y 2). No escriba a
este bit. (Excepción – puede establecer o restablecer este bit durante la
configuración inicial de la instrucción HSC. Vea la página 7–6 para obtener
más información.)
Para los contadores bidireccionales (modos 3–8), si el acumulador de hardware
se hacer mayor o igual que el valor alto preseleccionado, el bit HP se restablece.
Si el acumulador de hardware se hace menor que el valor alto preseleccionado,
el bit HP será restablecido por el controlador.
Cómo usar las instrucciones del contador de alta velocidad
7–5
• El bit de acumulador ≤ valor bajo preseleccionado LP (bit 8) es un bit
reservado para todos los contadores progresivos. No escriba a este bit.
(Excepción – puede establecer o restablecer este bit durante la configuración
inicial de la instrucción HSC. Vea la página 7–6 para obtener más información.
Para los contadores bidireccionales, si el acumulador de hardware se hace
menor o igual que el valor bajo preseleccionado, el bit LP será establecido por el
controlador. Si el acumulador de hardware se hace mayor que el valor bajo
preseleccionado, el bit LP será restablecido por el controlador.
• El bit de interrupción del contador de alta velocidad causada por overlow
IV (bit 7) se establece para identificar un overflow como la causa de una rutina
de interrupción del contador de alta velocidad. Los bits IN, IH e IL serán
restablecidos por el controlador cuando el bit IV se establezca. Examine este bit
al inicio de la rutina de interrupción del contador de alta velocidad (archivo 4)
para determinar el porqué de la interrupción ocurrida.
• El bit de interrupción del usuario causada por underflow IN (bit 6) se
establece para identificar un underflow como la causa de una ejecución de la
rutina de interrupción del contador de alta velocidad. Los bits IV, IH e IL serán
restablecidos por el controlador cuando el bit IN se establezca. Examine este bit
al inicio de la rutina de interrupción del contador de alta velocidad (archivo 4)
para determinar el porqué de la interrupción ocurrida.
• El bit de interrupción del usuario causada por el valor alto preseleccionado
alcanzado IH (bit 5) se establece para identificar un valor alto
preseleccionado alcanzado como la causa de ejecución de la rutina de
interrupción del contador de alta velocidad. Los bits IV, IN e IL serán
restablecidos por el controlador cuando el bit IH se establezca. Examine este bit
al inicio de la rutina de interrupción del contador de alta velocidad (archivo 4)
para determinar el porqué de la interrupción ocurrida.
• El bit de interrupción del contador de alta velocidad causada por valor
bajo preseleccionado alcanzado IL (bit 4) se establece para identificar un
valor bajo preseleccionado alcanzado como la causa de ejecución de la rutina de
interrupción del contador de alta velocidad. Los bits IV, IN e IH serán
restablecidos por el controlador cuando el bit IL se establezca. Examine este bit
al inicio de la rutina de interrupción del contador de alta velocidad (archivo 4)
para determinar el porqué de la interrupción ocurrida.
• Bit de interrupción pendiente del contador de alta velocidad PE (bit 3) es
establece para indicar que una interrupción del contador de alta velocidad
espera la ejecución. Este bit es puesto a cero por el controlador cuando la rutina
de interrupción del contador de alta velocidad comienza a ejecutar. Este se
restablece si una instrucción RAC o RES se ejecuta. No escriba a este bit.
• El bit de interrupción perdida del contador de alta velocidad LS (bit 2) se
establece si una interrupción del contador de alta velocidad ocurre mientras que
el bit PE esté establecido. Puede restablecer este bit con una instrucción OTU o
ejecutando una instrucción RAC o RES.
• El bit de habilitación de interrupción del contador de alta velocidad IE
(bit 1) se establece cuando la interrupción del contador de alta velocidad se
habilita para marchar cuando ocurre una condición de interrupción del contador
de alta velocidad. Se restablece cuando la interrupción se inhabilita. Este bit
también se establece cuando el contador de alta velocidad se configura por
primera vez. No escriba a este bit.
Manual de referencia del juego de instrucciones
7–6
Contador de alta velocidad (HSC)
Use esta instrucción para configurar el contador de alta velocidad. Solamente una
instrucción HSC se puede usar en un programa. El contador de alta velocidad no
opera hasta que la primera ejecución verdadera de la instrucción HSC. Cuando el
renglón HSC es falso, el contador de alta velocidad está inhabilitado para contar,
pero todas las otras características HSC funcionan.
La dirección de contador de la instrucción se fija a C5:0.
Después de la configuración del HSC, el acumulador de imagen (C5:0.ACC) se
actualiza con el valor del acumulador de hardware actual cada vez que la instrucción
HSC se evalúa como verdadera o falsa.
Cómo introducir parámetros
Introduzca los parámetros siguientes al programar esta instrucción:
• El tipo indica el contador seleccionado. Refiérase a la página 7–7 para hacer su
selección del contador de alta velocidad. Cada tipo está disponible con
funciones de restablecimiento y retención.
• El valor alto preseleccionado es el valor acumulado que dispara una acción
especificada por el usuario tal como la actualización de salidas o la generación
de una interrupción del contador de alta velocidad.
• El acumulador es el número de conteos acumulados.
La terminología siguiente se usa en la tabla siguiente para indicar el estado del
conteo:
• Progresivo↑ – aumenta en 1 cuando la entrada se activa (margen).
• Regresivo↑ – disminuye en 1 cuando la entrada se activa (margen).
• Restablecimiento↑ – pone el acumulador a cero cuando la entrada se activa
(margen).
• Retención – inhabilita que el contador de alta velocidad cuente durante la
activación de la entrada (nivel).
• Conteo – aumenta o disminuye en 1 cuando la entrada se activa (margen).
• Dirección – permite conteos progresivos cuando la entrada está desactivada y
conteos regresivos cuando la entrada está activada (nivel).
• A – impulso de entrada en un codificador (encoder) (cuadratura) incremental
(margen/nivel).
• B – impulso de entrada en un codificador (encoder) (cuadratura) incremental
(margen/nivel).
• Z – restablecimiento del impulso en un codificador (encoder) (cuadratura)
incemental (margen/nivel).
• ↑ – la señal está activa en la margen ascendente solamente (desactivado a
activado)
HSC
HIGH SPEED COUNTER
Type
Counter C5:0
High Preset 0
Accum 0
(CD)
(CU)
(DN)
Cómo usar las instrucciones del contador de alta velocidad
7–7
La tabla siguiente lista la tecla de función que debe presionar para seleccionar el
tipo de contador de alta velocidad deseado.
Tipo de contador de alta
velocidad y tecla de
Funcionalidad del contador Terminal de entrada usada
velocidad y tecla de
función
Funcionalidad del contador
de alta velocidad I/0 I/1 I/2 I/3

     
  
↑      

  !

     
     
 !   
↑  
#
↑

 ! 
    
  ! 
↑     
 ! 
  !
  
    
  !    
 !   
↑ 
#
↑

 ! 
    
   ! 
↑ ↑    
 ! 
  !
  
    
   !  
   ! 
 
↑ ↑
#
↑

 
    
    
     
 
  !
  
    
    
  !   
  
Una diferencia entre los contadores progresivos y los contadores bidireccionales es
que los valores de acumulador y preseleccionados de los contadores bidireccionales
no son cambiados por el contador de alta velocidad cuando los valores preselec-
cionados se alcanzan. Las instrucciones RAC y HSL se deben usar para esta
función. Los contadores progresivos ponen a cero el acumulador y vuelven a cargar
los valores altos preseleccionados cuando el valor preseleccionado se alcanza.
Preface
Manual de referencia del juego de instrucciones
7–8
Uso del contador progresivo y el contador regresivo con restablecimiento
y retención
Los contadores progresivos se usan cuando el parámetro que se mide es
unidireccional, tal como el material que se alimenta en una máquina o un tacómetro
que registra el número de impulsos realizados durante un plazo determinado.
Ambos tipos de contadores progresivos operan de la misma manera, excepto que el
contador progresivo con restablecimiento y retención usa entradas externas 2 y 3.
Para el contador progresivo, cada cambio del estado desactivado a activado de la
entrada I:0/0 añade 1 al acumulador hasta que se alcance el valor alto
predeterminado. Luego el acumulador se pone automáticamente a cero. El
contador progresivo opera en el rango de 0 a +32,767 inclusivamente y se puede
poner a cero usando la instrucción de restablecimiento (RES).
Cuando la instrucción HSC se ejecuta como verdadera por primera vez:
• El acumulador C5:0.ACC se carga en el acumulador de hardware.
• El valor alto preseleccionado C5:0.PRE se carga en el valor alto
preseleccionado de hardware.
Operación
Si usted mueve los datos al valor alto predeterminado sin usar la instrucción HSL
(con MOV) después de la configuración del contador de alta velocidad, los datos se
cargan en la imagen de instrucción pero no se cargan en el hardware. El valor alto
preseleccionado modificado no se carga en el hardware hasta que el valor alto
preseleccionado de hardware existente se alcance o hasta que una instrucción RAC o
RES se ejecute.
El valor alto preseleccionado cargado en el hardware debe ser entre 1 y 32,767
inclusivamente o un error de INVALID PRESETs LOADED TO HIGH SPEED
COUNTER (37H) ocurre. Todo valor entre –32,768 y +32,767, ambos valores
inclusive, se puede cargar en el acumulador de hardware.
La condición siguiente Ocurre cuando
Cómo usar las instrucciones del contador de alta velocidad
7–9
Cuando se alcanza un valor alto preseleccionado, los conteos se pierden.
• Los acumuladores de hardware e instrucción se restablecen.
• El valor alto preseleccionado de instrucción se carga en el valor alto
preseleccionado de hardware.
• El bit DN se establece.
• El archivo de interrupción del contador de alta velocidad (archivo de programa
4) se ejecuta si la interrupción se habilita. El bit IH se establece y los bits IL,
IV e IN se establecen.
Si el bit DN ya está establecido cuando se alcanza un valor alto preseleccionado, el
bit OV está establecido.
Las tablas siguientes resumen los estados de entrada necesarios para que la acción
del contador de alta velocidad se lleve a cabo:
Contador progresivo
Estado de entrada
Acción del
Conteo de
entrada
(E/S)
Dirección
de entrada
(I/1)
RestableciĆ
miento de
entrada (I/2)
Retención
de entrada
(I/3)
Renglón
HSC
Acción del
contador de alta
velocidad
Preface
Manual de referencia del juego de instrucciones
7–10
Contador progresivo con restablecimiento y retención
Estado de entrada
Acción del
Conteo de
entrada
(E/S)
Dirección
de entrada
(I/1)
RestableciĆ
miento de
entrada (I/2)
Retención
de entrada
(I/3)
Renglón
HSC
Acción del
contador de alta
velocidad
  
 

  
  
  
  


 
  
  
  
 
 

 
  
  
  
  
 

  
  
  

  
  
  
 
 

      
 

    
Uso del contador bidireccional y el contador bidireccional con
restablecimiento y retención
Los contadores bidireccionales se usan cuando el parámetro que se mide puede
incrementar o disminuir. Por ejemplo, un paquete que entra y sale de una tolva de
almacenamiento se cuenta para regular el flujo a través del área.
Los contadores bidireccionales operan de la misma manera, excepto la operación de
entradas 1 y 0. Para los tipos de impulso y dirección, la entrada 0 proporciona el
impulso y la entrada 1 proporciona la dirección. Para los tipos progresivos y
regresivos, la entrada 0 proporciona el conteo progresivo y la entrada 1 proporciona
el conteo regresivo. Ambos tipos están disponibles con y sin restablecimiento y
retención. Refiérase a la página 7–7 para obtener más información acerca de los
tipos de contador bidireccional.
Para los contadores bidireccionales, se usan los valores altos y bajos
preseleccionados. El valor bajo preseleccionado debe ser menor que el valor alto
preseleccionado o de lo contrario ocurrirá un error INVALID PRESETs LOADED
TO HIGH SPEED COUNTER (37H).
Los contadores bidireccionales operan en el rango de –32,768 a +32,767 inclusive y
se pueden poner a cero usando la instrucción de restablecimiento (RES).
Cómo usar las instrucciones del contador de alta velocidad
7–11
Operación
Cuando la instrucción HSC se ejecuta como verdadera por primera vez, el:
• Valor bajo preseleccionado de hardware se establece a –32,768.
• Acumulador de instrucción se carga en el acumulador de hardware.
• Valor alto preseleccionado de instrucción se carga en el valor alto
preseleccionado de hardware.
Después de la primera ejecución verdadera de instrucción HSC, los datos se pueden
transferir únicamente al acumulador de hardware vía una instrucción RES o RAC, o
a los valores alto y bajo preseleccionados de hardware vía la instrucción HSL.
Todo valor de acumulador de instrucción entre –32,768 y +32,767 inclusive se
puede cargar en el hardware. El valor alto preseleccionado debe ser mayor que el
valor bajo preseleccionado o un error INVALID PRESETs LOADED TO HIGH
SPEED COUNTER (37H) ocurre.
La condición siguiente Ocurre cuando
                
                
       
    
               
            
    
               
              
Cuando un valor alto preseleccionado se alcanza, el:
• Bit HP se establece.
• Un archivo de interrupción del contador de alta velocidad (archivo de programa
4) se ejecuta si la interrupción se ejecuta. El bit IH se establece y los bits IL, IV
e IN se restablecen.
En contra de los contadores progresivos, el valor de acumulador no se restablece y
el valor alto preseleccionado no se carga desde la imagen hacia el registro del valor
alto preseleccionado de hardware.
La condición siguiente Ocurre cuando
Preface
Manual de referencia del juego de instrucciones
7–12
Cuando el valor bajo preseleccionado se alcanza, el:
• Bit LP se establece.
• Archivo de interrupción del contador de alta velocidad (archivo de programa 4)
se ejecuta si la interrupción se habilita. El bit IL se establece y los bits IH, IV e
IN se restablecen.
Un overflow ocurre cuando el acumulador de hardware hace una transición de
+32,767 a –32,768. Cuando un overflow ocurre, el:
• Bit OV se establece.
• Archivo de interrupción del contador de alta velocidad (archivo de programa 4)
se ejecuta si la interrupción se habilita. El bit IV se establece y los bits IH, IL e
IN se restablecen.
Un underflow ocurre cuando el acumulador de hardware hace una transición de
–32,768 a +32,767. Cuando un underflow ocurre, el:
• Bit UN se establece.
• Archivo de interrupción del contador de alta velocidad (archivo de programa 4)
se ejecuta si la interrupción se habilita. El bit IV se establece y los bits IH, IL e
IN se restablecen.
Las tablas siguientes resumen los estados de entrada necesarios para que la acción
del contador de alta velocidad correspondiente se lleve a cabo:
Contador bidireccional (impulso/dirección)
Estado de entrada
Acción del
Conteo de
entrada
(E/S)
Dirección
de entrada
(I/1)
RestableciĆ
miento de
entrada (I/2)
Retención
de entrada
(I/3)
Renglón
HSC
Acción del
contador de alta
velocidad
Cómo usar las instrucciones del contador de alta velocidad
7–13
Contador bidireccional con restablecimiento y retención (impulso/dirección)
Estado de entrada
Acción del
Conteo de
entrada
(E/S)
Dirección
de entrada
(I/1)
RestableciĆ
miento de
entrada (I/2)
Retención
de entrada
(I/3)
Renglón
HSC
Acción del
contador de alta
velocidad
  
 
  
  
  
  
    


  
 
 
  
  
  
      
 
  
  
  
  
 

 
  
  
  
  
 

  
  
  

  
  
  
 
 

      
 

   
Contador bidireccional (conteo progresivo/regresivo)
Estado de entrada
Conteo
progresivo
de entrada
(E/S)
Conteo
regresivo
de entrada
(I/1)
Renglón
HSC
Acción del
contador de alta
velocidad
Preface
Manual de referencia del juego de instrucciones
7–14
Contador bidireccional con restablecimiento y retención (conteo progresivo/regresivo)
Estado de entrada
Acción del
Conteo de
entrada
(E/S)
Dirección
de entrada
(I/1)
RestableciĆ
miento de
entrada (I/2)
Retención
de entrada
(I/3)
Renglón
HSC
Acción del
contador de alta
velocidad
  
 
  
  
  
  
  
  
    


  
  
  
  
 
  
  
  
      
 
  
  
  
  
 

 
  
  
  
  
 

  
  
  
  
  
  
  
  
  
 
 

      
 

   
Cuando los impulsos de entrada progresivos y regresivos ocurren simultáneamente,
el contador de alta velocidad cuenta progresivamente y luego regresivamente.
Uso del contador bidireccional con restablecimiento y retención con
codificador (encoder) de cuadratura
El codificador (encoder) de cuadratura se usa para determinar la dirección de
rotación y la posición de rotación; por ejemplo, para un torno. El contador
bidireccional cuenta la rotación del codificador (encoder) de cuadratura.
Los contadores bidireccionales operan dentro del rango de –32,768 a +32,767
inclusive y se pueden poner a cero usando la instrucción de restablecimiento (RES).
La figura siguiente muestra un condificador (encoder) de cuadratura conectado a
entradas 0, 1 y 2. La dirección de conteo es determinada por el ángulo de fase entre
A y B. Si A precede B, el contador incrementa. Si B precede A, el contador se
reduce.
El contador se puede restablecer usando la entrada Z. Las salidas Z de los
codificadores (encoders) típicamente porporcionan un impulso por revolución.
Cómo usar las instrucciones del contador de alta velocidad
7–15
  


     
  
    
          



  
  
   
Operación
Para los contadores bidireccionales, se usan los valores altos y bajos
preseleccionados. El valor bajo preseleccionado debe ser menor que el valor alto
preseleccionado o de lo contrario ocurrirá un error INVALID PRESETs LOADED TO
HIGH SPEED COUNTER (37H).
Cuando la instrucción HSC se ejecuta como verdadera por primera vez, el. . .
• Valor bajo preseleccionado de hardware se establece a –32,768.
• Acumulador de instrucción se carga en el acumulador de hardware.
• Valor alto preseleccionado de instrucción se carga en el valor alto
preseleccionado de hardware.
Todo valor de acumulador de instrucción entre –32,768 y +32,767 inclusive se
puede cargar en el hardware.
Después de la primera ejecución verdadera de la instrucción HSC, los datos sólo se
pueden transferir al acumulador de hardware vía una instrucción RES o RAC, o a
los valores alto y bajo preseleccionado de hardware vía la instrucción HSL.
Preface
Manual de referencia del juego de instrucciones
7–16
La condición siguiente Ocurre cuando
                
                
       
    
               
            
    
               
              
Cuando se alcanza un valor alto preseleccionado, el. . .
• Bit HP se establece.
• Archivo de interrupción del contador de alta velocidad (archivo de programa 4)
se ejecuta si la interrupción se ejecuta. El bit IH se establece y los bits IL, IV e
IN se restablecen.
A diferencia de los contadores progresivos, el valor de acumulador no se restablece
y el valor alto preseleccionado no se carga desde la imagen hacia el registro del
valor alto preseleccionado de hardware.
La condición siguiente Ocurre cuando
   
                
                
  
      
  
                
            
  
               
             
Cuando el valor bajo preseleccionado se alcanza, el:
• Bit LP se establece.
• El archivo de interrupción del contador de alta velocidad (archivo de programa
4) se ejecuta si la interrupción se habilita. El bit IL se establece y los bits IH,
IV e IN se restablecen.
Un overflow ocurre cuando el acumulador de hardware hace una transición de
+32,767 a –32,768. Cuando un overflow ocurre, el. . .
• Bit OV se establece.
• Archivo de interrupción del contador de alta velocidad (archivo de programa 4)
se ejecuta si la interrupción se habilita. El bit IV se establece y los bits IH, IL e
IN se restablecen.
Cómo usar las instrucciones del contador de alta velocidad
7–17
Un underflow ocurre cuando el acumulador de hardware hace una transición de
–32,768 a +32,767. Cuando un underflow ocurre, el. . .
• Bit UN se establece.
• Archivo de interrupción del contador de alta velocidad (archivo de programa 4)
se ejecuta si la interrupción se habilita. El bit IV se establece y los bits IH, IL e
IN se restablecen.
Las tablas siguientes resumen los estados de entrada necesarios para que la acción
del contador de alta velocidad correspondiente se lleve a cabo:
Contador bidireccional (codificador [encoder])
Estado de entrada Acción del
Entrada A
(E/S)
Entrada B
(I/1)
Renglón
HSC
Acción del
contador de alta
velocidad
     
     
     
     
  
Contador bidireccional con restablecimiento y retención (codificador [encoder])
Estado de entrada
Acción del
Conteo de
entrada
(E/S)
Dirección
de entrada
(I/1)
RestableciĆ
miento de
entrada (I/2)
Retención
de entrada
(I/3)
Renglón
HSC
Acción del
contador de alta
velocidad
       
       

 
   
 

       
       
       
  À     
  
À                 !  !
Manual de referencia del juego de instrucciones
7–18
Carga del contador de alta velocidad (HSL)
Esta instrucción le permite establecer los valores bajo y alto preseleccionados, las
fuentes baja y alta de salida y la máscara de salida. Cuando un valor alto o bajo
preseleccionado se alcanza, usted puede actualizar inmediatamente las salidas
seleccionadas.
Si usa la instrucción HSL con el contador progresivo, el valor alto preseleccionado
debe ser ≥ 1 y ≤ +32,767 o de lo contrarior ocurrirá un error INVALID PRESETs
LOADED TO HIGH SPEED COUNTER (37H). Para los contadores bidireccionales,
el valor alto preseleccionado debe ser mayor que el valor bajo preseleccionado o de
lo contrarior ocurrirá un error INVALID PRESETs LOADED TO HIGH SPEED
COUNTER (37H).
El contador indincado por esta instrucción tiene la misma dirección que el contador
de instrucción HSC y se fija a C5:0.
Cómo introducir parámetros
Introduzca los parámetros siguientes al programar esta instrucción:
• La fuente es una dirección que identifica la primera de cinco palabras de datos
usadas por el HSL. La fuente puede ser un elemento de archivo de entero o
binario.
• La longitud es el número de elementos que comienzan de la fuente. Este
número siempre es 5.
Operación
La instrucción HSL le permite configurar el contador de alta velocidad para que
actualice instantánea y automáticamente las salidas externas cuando un valor alto o
bajo preseleccionado se alcanza. Las salidas físicas se actualizan automáticamente
en menos de 30 µs. (El tiempo de encendido físico de las salidas no se incluye en
este total.) Luego la imagen de salida se actualiza automáticamente a la próxima
encuesta para interrupciones del usuario o instrucción IOM, cualquiera que ocurra
primero.
Con esta instrucción, puede cambiar el valor alto preseleccionado para los
contadores progresivos o los valores alto y bajo preseleccionados para los
contadores bidireccionales durante la operación. Tambien puede modificar la
confinguración de máscara de salida durante la operación.
La dirección de fuente es un elemento de archivo de entero o binario. Por ejemplo,
si N7:5 se selecciona como la dirección de fuente, los parámetros adicionales para la
ejecución de esta instrucción aparecerían tal como se muestra en la tabla siguiente.
HSL
HSC LOAD
Counter C5:0
Source
Length 5
(DN)
(CU)
Cómo usar las instrucciones del contador de alta velocidad
7–19
Ubicación
de la
imagen de
parámetro
Contador
progresivo
solamente
Contadores
bidireccionales
Descripción
 
2,+ 
,%#
2,+ 
,%#
'-# # *.3 !+.)(  #-, ' % +#/( 
,%# )%+  , ('-+(%(
#-, 
#-, 
#-,  0 
 #-, 
 
.'- 
,%#
.'- %- 
,%#
('-( )+(!+,#/( % ,-(  #-, ' ,-
)%+ , ,+#  -+/3,  % 2,+ '
%, ,%#, +%,
 
%(+ %-(
)+,%4
#('(
%(+ %-(
)+,%4
#('(
('-( )+(!+,#/( .'( % ..%(+
%'1 ,- /%(+ % .'-  ,%# ,
,+#  -+/3,  % 2,+  ,%#  %,
,%#, +%, 0 .' ,2' , +%#1  %
,.+.-#'  +#/( 
  ,+/(
.'- $ 
,%#
('-( +!+,#/( % ,-(  #-, ' ,-
)%+ , ,+#  -+/3,  % 2,+  %,
,%#, +%,
  ,+/(
%(+ $(
)+,%4
#('(
('-( )+(!+,#/( .'( % ..%(+
%'1 ,- /%(+ % .'-  ,%# ,
,+#  -+/3,  % 2,+  ,%#  %,
,%#, +%, 0 .' ,2' , +%#1  %
,.+.-#'  +#/( 
Los bits en la máscara de salida corresponden directamente a las salidas físicas. Si
un bit se establece a 1, la salida correspondiente puede cambiarse por el contador de
alta velocidad. Si un bit se establece a 0, la salida correspondiente no puede ser
cambiada por el contador de alta velocidad.
Los bits en las fuentes alta y baja también corresponden directamente a las salidas
físicas. La fuente alta se aplica cuando el valor alto preseleccionado se alcanza. La
fuente baja se aplica cuando el valor bajo preseleccionado se alcanza. Los estados
de salida final se determinan aplicando la fuente de salida sobre la máscara y
actualizando solamente las salidas sin máscara (las que tienen un número 1 en la
configuración del bit de máscara).
Siempre puede cambiar el estado de las salidas por medio del programa del usuario o
el dispositivo de programación sin importar la máscara de salida. El contador de alta
velocidad sólo modifica salidas y bits de imagen de salida seleccionados según las
configuraciones de fuente y bit de máscara cuando los valores preseleccionados se
alcanzan. El último dispositivo que cambia la imagen de salida (por ej., el programa
del usuario o contador de alta velocidad) determina la configuración de salida real.
Los forzados anulan el control de salida desde el contador de alta velocidad o
desde la imagen de salida. Los forzados se pueden aplicar a las entradas del
contador de alta velocidad. Las entradas forzadas son reconocidas por el
contador de alta velocidad (por ej., una entrada de conteo forzada a
desactivado y activado incrementa el acumulador de alta velocidad).
Manual de referencia del juego de instrucciones
7–20
El hardware del contador de velocidad se actualiza inmediatemente cuando la
instrucción HSL se ejecuta sin importar el tipo de contador de alta velocidad
(contador progresivo o contador bidireccional). Para los contadores progresivos, no
se hace caso de los dos últimos registros ya que el valor bajo preseleccionado no se
aplica.
Si un fallo ocurre a causa de la instrucción HSL, los parámetros HSL no se cargan
en el hardware del contador de alta velocidad. Puede usar más de una instrucción
HSL en su programa. Las instrucciones HSL pueden tener ubicaciones de imagen
diferentes para los parámetros adicionales.
No cambie un valor preseleccionado y una fuente/máscara de salida con la
misma instrucción HSL cuando el acumulador se acerca al valor
preseleccionado anterior.
Si el contador de alta velocidad se habilita y la instrucción HSL se evalúa como
verdadera, los parámetros del contador de alta velocidad en la instrucción
HSL se aplican inmediatemente sin detener la operación del contador de alta
velocidad. Si la misma instrucción HSL se usa para cambiar la
máscara/fuente y valor preseleccionado controlados por el contador de alta
velocidad, la máscara/fuente se cambia primero y el valor preseleccionado se
cambia segundo. (El valor preseleccionado se cambia dentro de 40 µs después
de la máscara/fuente.) Si el valor preseleccionado original se alcanza después
de que la nueva máscara/fuente se aplique pero antes de que el valor
preseleccionado nuevo se aplique, las salidas nuevas se aplicarán
inmediatamente.
Cómo usar las instrucciones del contador de alta velocidad
7–21
Restablecimiento del contador de alta velocidad (RES)
La instrucción RES le permite escribir un cero en el acumulador de hardware y en el
acumulador de imagen.
El contador indicado por esta instrucción tiene la misma dirección que el contador
de instrucción HSC y se introduce como C0.
Operación
La ejecución de esta instrucción inmediatamente:
• elimina las interrupciones pendientes del contador de alta velocidad
• restablece los acumuladores de hardware e instrucción
• restablece los bits de estado PE, LS, OV, UN y DN
• carga el valor alto preseleccionado de instrucción y el valor alto
preseleccionado de hardware (si el contador de alta velocidad se ha configurado
como un contador progresivo)
• restablece los bits de estado IL, IT, IN o IV
Puede tener más de una instrucción RES en su programa.
RES
C5:0
Manual de referencia del juego de instrucciones
7–22
Acumulador de restablecimiento del contador de alta
velocidad (RAC)
Esta instrucción le permite escribir un valor específico al acumulador de hardware y
al acumulador de imagen.
El contador indicado por esta instrucción tiene la misma dirección que el contador
de instrucción HSC y se fija a C5:0.
Cómo introducir parámetros
Introduzca los parámetros siguientes al programar esta instrucción:
• La fuente representa el valor que se carga en el acumulador. La fuente puede
ser una constante o una dirección.
Operación
La ejecución del RAC:
• elimina las interrupciones pendientes del contador de alta velocidad
• restablece los bits de estado PE, LS, OV UN y DN
• carga un valor de acumulador nuevo en la imagen de hardware e instrucción
• carga el valor alto preseleccionado de instrucción en el valor alto
preseleccionado de hardware (si el contador de alta velocidad se ha configurado
como un contador progresivo)
• restablece los bits de estado IL, IT, IN o IV
La fuente puede ser una constante o cualquier elemento entero en los archivos 0–7.
Los acumuladores de hardware e instrucción se actualizan con el valor de
acumulador nuevo inmediatamente al momento de ejecución de la instrucción.
Puede tener más de una instrucción RZC por programa indicando la misma fuente o
fuentes diferentes.
RAC
RESET TO ACCUM VALUE
Counter C5:0
Source
Cómo usar las instrucciones del contador de alta velocidad
7–23
Habilitación (HSE) e inhabilitación (HSD) de interrupción
del contador de alta velocidad
Estas instrucciones habilitan o inhabilitan la interrupción del contador de alta
velocidad cuando se alcanza un valor alto preseleccionado, un valor bajo
preseleccionado, un overflow o un underflow. Use el HSD y HSE conjuntamente
para proporcionar ejecución precisa a su aplicación.
El contador indicado por estas instrucciones tiene la misma dirección que el
contador de instrucción y se fija a C5:0.
Uso de HSE
Operación
Cuando la interrupción del contador de alta velocidad se habilita, la subrutina del
usuario (archivo de programa 4) se ejecuta cuando:
• Se alcanza un valor alto o bajo preseleccionado.
• Ocurre un overflow o underflow.
Cuando, en el modo de un solo escán de prueba y en una condición de operación
pasiva, la interrupción del contador de alta velocidad se retarda hasta que el próximo
disparo de escán se reciba del dispositivo de programación. El acumulador del
contador de alta velocidad cuenta durante el reposo.
El estado predeterminado de la interrupción del contador de alta velocidad se
habilita (el bit IE se establece a 1).
Si la rutina de interrupción del contador de alta velocidad se ejecuta y otra
interrupción del contador de alta velocidad ocurre, la segunda interrupción del
contador de alta velocidad se guarda pero se considera como pendiente. (El bit PE
se establece.) La segunda interrupción se ejecuta inmediatamente después que la
primera finalice su ejecución. Si una interrupción del contador de alta velocidad
ocurre mientras una interrupción del contador de alta velocidad está pendiente, se
perderá la interrupción del contador de alta velocidad más reciente y se establecerá
el bit LS.
HSE
HSC INTERRUPT ENABLE
COUNTER C5:0
HSD
HSC INTERRUPT DISABLE
COUNTER C5:0
Manual de referencia del juego de instrucciones
7–24
Uso de HSD
Operación
La instrucción HSD inhabilita la interrupción del contador de alta velocidad
evitando así que la subrutina de interrupción se ejecute.
Si el HSE se ejecuta después del establecimiento del bit pendiente, la interrupción se
ejecuta inmediatamente.
Esta instrucción HSD no cancela una interrupcion, sino que resulta en el
establecimiento del bit pendiente (C5:0/3) cuando:
• Se alcanza un valor alto o bajo preseleccionado.
• Ocurre un overflow o underflow.
Actualización del acumulador de imagen del contador
de alta velocidad (OTE)
Cuando se direcciona una instrucción del bit OTE para el contador de alta velocidad
(C5:0), causa que el bit UA se establezca. Cuando este bit se establece, el valor en
el acumulador de hardware se escribe al valor en el acumulador de imagen
(C5:0.ACC). Esto le proporciona acceso real al valor del acumulador de hardware.
Esto es adicional a la transferencia automática desde el acumulador de hardware
hacia el acumulador de imagen que ocurre cada vez que la instrucción HSC se
evalúa.
Operación
Esta instrucción transfiere el acumulador de hardware al acumulador de instrucción.
Cuando la instrucción OTE/UA se ejecuta como verdadera, el acumulador de
hardware se carga en el acumulador de imagen de instrucción (C5:0.ACC).
( )
C5:0
UA
Cómo usar las instrucciones del contador de alta velocidad
7–25
Lo que ocurre con el HSC cuando pasa al modo de
marcha REM
Una vez inicializada, la instrucción HSC retiene su estado anterior cuando pasa por
un cambio de modo o la desconexión y reconexión de la alimentación eléctrica.
Esto significa que se retienen el acumulador HSC (C5:0.ACC) y los valores altos
preseleccionados. Las salidas bajo el control directo del HSC también retienen su
estado anterior. Los bits del valor bajo preseleccionado alcanzado y del valor bajo
preseleccionado alcanzado (Co/LP y C0/HP) también se retienen. Son examinados
por la instrucción HSC durante la primera evaluación verdadera del contador de alta
velocidad en el modo de marcha REM para diferenciar entre un modo de marcha
REM y una modificación externa o inicial del acumulador (C5:0.ACC).
A la primera ejecución verdadera de la instrucción HSC después del paso a marcha,
el valor bajo preseleccionado se inicializa a –32,768 y la máscara de salida y las
configuraciones de salida baja se incializan a cero. Use la instrucción HSL durante
el primer paso para restaurar cualesquier valores necesarios para su aplicación.
Puede modificar el comportamiento del contador de alta velocidad a la introducción
del modo de marcha REM ajustando los parámetros HSC antes de la primera
ejecución verdadera de la instrucción HSC. El siguiente ejemplo de renglones de
escalera demuestra las varias maneras de ajustar los parámetros HSC.
Manual de referencia del juego de instrucciones
7–26
Ejemplo 1
Para introducir el modo de marcha REM y hacer que las salidas HSC, ACC y
subrutina de interrupción reanuden su estado anterior, aplique lo siguiente:
(Renglón 2:0)
No requiere acción. (Recuérdese de que todas las instrucciones
OUT se ponen a cero cuando se introduce el modo de marcha REM.
Use las instrucciones SET/RST en lugar de las instrucciones
OUT en la lógica condicional que requier retención.)
| S:1 +HSL–––––––––––––––+ |
|––][–––––––––––––––––––––––––––––––––––+HSC LOAD +–|
| 15 |Counter C5:0| |
| |Source N7:0| |
| |Length 5| |
| +––––––––––––––––––+ |
Renglón 2:1
| +HSC––––––––––––––––––––+ |
|–––––––––––––––––––––––––––––+HIGH SPEED COUNTER +–(CU)–|
| |Type Encoder(Res,Hld) +–(CD) |
| |Counter C5:0+–(DN) |
| |High Preset 1000| |
| |Accum 0| |
| +–––––––––––––––––––––––+ |
Cómo usar las instrucciones del contador de alta velocidad
7–27
Ejemplo 2
Para introducir el modo de marcha REM y retener el valor HSC ACC mientras que
hace que las salidas HSC y la subrutina de interrupción se reanuden, aplique lo
siguiente:
Renglón 2:0
Desenclave los bits C5:0/HP y C5:0/LP durante el primer escán ANTES de
la ejecución de la instrucción HSC por primera vez.
| S:1 +HSL–––––––––––––––+ |
|––][––––––––––––––––––––––––––––––––––––––––––+HSC LOAD +– |
| 15 |Counter C5:0| |
| |Source N7:0| |
| |Length 5| |
| +––––––––––––––––––+ |
Renglón 2:1
| S:1 C5:0 |
|––][–––––––––––––––––––––––––––––––––––––––––––––––––––––+–(U)––+|––|
| 15 | HP | |
| | C5:0 | |
| +––(U)––+ |
| LP |
Renglón 2:2
| +HSC––––––––––––––––––––+ |
|–––––––––––––––––––––––––––––––––––––+HIGH SPEED COUNTER +–(CU)–|
| |Type Encoder (Res,Hld)+–(CD) |
| |Counter C5:0+–(DN) |
| |High Preset 1000| |
| |Accum 0| |
| +–––––––––––––––––––––––+ |
Manual de referencia del juego de instrucciones
7–28
Ejemplo 3
Para introducir el modo de marcha REM y hacer que el HSC ACC y la subrutina de
interrupción reanuden su estado anterior a la vez que se inicializan externamente las
salidas HSC, aplique lo siguiente:
Renglón 2:0
Desenclave o enclave los bits de salida bajo el control HSC durante el
primer escán después de la ejecución por primera vez de la instrucción
HSC. (Nota: usted podría colocar este renglón antes de la instrucción
HSC; sin embargo, no se recomienda.)
| S:1 +HSL–––––––––––––––+ |
|––][–––––––––––––––––––––––––––––––––––––––––––+HSC LOAD +–|
| 15 |Counter C5:0| |
| |Source N7:0| |
| |Length 5| |
| +––––––––––––––––––+ |
Renglón 2:1
| +HSC––––––––––––––––––––+ |
|–––––––––––––––––––––––––––––––––––––+HIGH SPEED COUNTER +–(CU)–|
| |Type Encoder (Res,Hld)+–(CD) |
| |Counter C5:0+–(DN) |
| |High Preset 1000| |
| |Accum 0| |
| +–––––––––––––––––––––––+ |
Renglón 2:2
Este renglón se programa con el conocimiento de una máscara HSL de
0007 (se usan salidas 0–2) e inicializa las salidas HSC a cada
introducción del modo de marcha REM. Las salidas O/0 y O/1 están
desactivadas mientras que la salida O/2 está activada.
| S:1 O:0 |
|––][––––––––––––––––––––––––––––––––––––––––––––––––––––+––(U)––+|––|
| 15 | 0 | |
| | O:0 | |
| +––(U)–––+ |
| | 1 | |
| | O:0 | |
| +––(L)–––+ |
| 2 |
Cómo usar las instrucciones del contador de alta velocidad
7–29
Instrucciones del contador de alta velocidad en el
ejemplo de aplicación de la perforadora de papel
Los renglones de escalera en esta sección demuestran el uso de la instrucción HSC
en el ejemplo de aplicación de la perforadora de papel iniciado en el capítulo 4.
Refiérase al apéndice G para obtener el ejemplo de aplicación entero de la
perforadora de papel.

#)

 
%

 
 $#$  
$)    
    
#$$  ## $($  
$)  $  
$
$($
$)  $# $   #    
!%$)    $# $   #    
  ' 
*  %$%
   
#
#
El archivo de programa principal (archivo 2) inicializa la instrucción HSC,
monitoriza los botones de arranque y parada de la máquina y llama otras subrutinas
necesarias para hacer funcionar la máquina. Refiérase a los comentarios que
preceden cada renglón para obtener información adicional.
Manual de referencia del juego de instrucciones
7–30
Renglón 2:0
Inicializa el contador de alta velocidad cada vez que el modo de marcha
REM se introduce. El área de datos del contador de alta velocidad
corresponde con la dirección de arranque (dirección de fuente) de la
instrucción HSL. La instrucción HSC se inhabilita durante cada entrada
en el modo de marcha REM hasta la primera vez que se ejecute como
verdadera. (El valor alto preseleccionado fue “enclavijado” a la
inicialización para evitar que una interrupción de valor alto
preseleccionado ocurra durante el proceso de inicialización.)
| Primer Máscara de salida |
| paso (use sólo el bit 0 |
| por ej. O:0/0) |
| S:1 +MOV–––––––––––––––+ |
|––––] [–––––––––––––––––––––––––––––––––––––+–+MOVE +–+–|
| 15 | |Source 1| | |
| | | | | |
| | |Dest N7:5| | |
| | | 0| | |
| | +––––––––––––––––––+ | |
| | Conf. de salida alta| |
| | (desactiva O:0/0) | |
| | | |
| | +MOV–––––––––––––––+ | |
| +–+MOVE +–+ |
| | |Source 0| | |
| | | | | |
| | |Dest N7:6| | |
| | | 0| | |
| | +––––––––––––––––––+ | |
| | Valor alto preselec.| |
| |(cuenta al próx. orif)| |
| | |
| | +MOV–––––––––––––––+ | |
| +–+MOVE +–+ |
| | |Source 32767| | |
| | | | | |
| | |Dest N7:7| | |
| | | 0| | |
| | +––––––––––––––––––+ | |
| | Conf. de salida baja| |
| | (activa O:0/0 | |
| | a cada restab.) | |
| | |
| | +MOV–––––––––––––––+ | |
| +–+MOVE +–+ |
| | |Source 1| | |
| | | | | |
| | |Dest N7:8| | |
| | | 0| | |
| | +––––––––––––––––––+ | |
| | Valor bajo preselec.| |
| | (causa valor bajo | |
| | preselec. inicial | |
| | a cada restab.) | |
| | |
| | +MOV–––––––––––––––+ | |
| +–+MOVE +–+ |
| | |Source 0| | |
| | | | | |
| | |Dest N7:9| | |
| | | 0| | |
| | +––––––––––––––––––+ | |
| | | |
Cómo usar las instrucciones del contador de alta velocidad
7–31
| | | |
| | Contador alta veloc.| |
| | | |
| | +HSL–––––––––––––––+ | |
| + –+HSC LOAD +–+ |
| |Counter C5:0| |
| |Source N7:5| |
| |Length 5| |
| +––––––––––––––––––+ |
Los renglones 2.0 y 2.2 se requieren para escribir varios parámetros al área de archivo
de datos del contador de alta velocidad. Estos dos renglones están acondicionados
por el bit de primer paso durante un escán cuando el controlador va del programa
REM al modo de marcha REM.
Renglón 2:1
Esta instrucción HSC no se coloca en la subrutina de interrupción del
contador de alta velocidad. Si esta instrucción se colocara en la
subrutina de interrupción, el contador de alta velocidad nunca se
activaría ni se inicializaría (porque una interrupción debe ocurrir
primero para realizar un escán de la subrutina de interrupción del
contador de alta velocidad.
| Contador de alta velocidad|
| +HSC––––––––––––––––––––+ |
|––––––––––––––––––––––––––––––––––––––+HIGH SPEED COUNTER +–(CU)–|
| |Type Encoder (Res,Hld)+–(CD) |
| |Counter C5:0+–(DN) |
| |High Preset 1250| |
| |Accum 1| |
| +–––––––––––––––––––––––+ |
Renglón 2:2
Fuerza que ocurra una interrupción del valor bajo preseleccionado del
contador de alta velocidad a cada entrada al modo de marcha REM. Una
interrupción sólo puede ocurrir en la transición del acumulador del
contador de alta velocidad a un valor preseleccionado (restablecimiento
del acumulador a 1, y luego a 0). Esto se hace para permitir que los
secuenciadores de la subrutina de interrupción del contador de alta
velocidad se inicialicen. El orden de la inicialización del contador de
alta velocidad es: (1) carga de parámetros del contador de alta
velocidad (2) ejecución de la instrucción HSL (3) ejecución de la
instrucción HSC verdadera (4) (opcional) forzar que ocurra una
interrupción del contador de alta velocidad..
| Primer Contador de alta velocidad|
| paso |
| S:1 +RAC––––––––––––––––––+ |
|––––] [––––––––––––––––––––––––––––––––––+–+RESET TO ACCUM VALUE +–+–|
| 15 | |Counter C5:0| | |
| | |Source 1| | |
| | | | | |
| | +–––––––––––––––––––––+ | |
| | Contador de | |
| | alta velocidad | |
| | C5:0 | |
| +–––(RES)–––––––––––––––––+ |
Manual de referencia del juego de instrucciones
7–32
El contador de alta velocidad se usa para controlar la posición del transportador. El
contador de alta velocidad cuenta los impulsos proporcionados por el codificador
(encoder) del transportador vía las entradas I:0/0 e I:0.1 de hardware. Las entradas
I:0/2 (restablecimiento) e I:0/3 (retención) de hardware están conectadas a un
interruptor fotoeléctrico para asegurar que la instrucción HSC cuente únicamente los
impulsos de codificador (encoder) cuando haya un manual enfrente de la
perforadora y que el contador de alta velocidad se restablezca a la punta de cada
manual.
El contador de alta velocidad pone a cero el bit de salida de propulsión del
transportador cada vez que se alcanza un valor alto preseleccionado. Como
resultado, la unidad propulsora decelera y detiene el motor del transportador. El
contador de alta velocidad borra la entrada en microsegundos asegurando así
exactitud y repetibilidad.
El contador de alta velocidad establece el bit de salida de la unidad propulsora del
transportador (O:0/0) cada vez que un valor bajo preseleccionado se alcanza. Como
resultado, la unidad propulsora acelera y mantiene el motor del transportador.
Cuando el manual ha recorrido la distancia especificada establecida por el valor alto
preseleccionado del contador de alta velocidad, la subrutina de interrupción del
contador de alta velocidad indica al programa principal que realice la secuencia de
perforación. Para obtener más información respecto a la subrutina de interrupción
usada en este programa, refiérase al ejemplo de aplicación en el capítulo 9.
Este ejemplo usa el codificador (encoder) de cuadratura con la instrucción de
restablecimiento y retención. El acumulador del contador de alta velocidad
incrementa y decrementa según la relación de cuadratura de las entradas A y B
(I:0/0 e I:01) del codificador (encoder). El acumulador se pone a cero cuando el
restablecimiento está activado o cuando la instrucción RES se ejecuta. Todos los
valores preseleccionados se introducen como un offset relativo a la punta de un
manual. Los valores preseleccionados para las configuraciones de orificio se
almacenan en las instrucciones SQO. (Refiérase al capítulo 6 para obtener la
instrucción SQO.) La entrada de restablecimiento externo (I:0/2) del contador de
alta velocidad y la entrada de retención externa (I:0/3) están cableadas en paralelo
para evitar que el contador de alta velocidad cuente mientras el restablecimiento esté
activo.
Se pueden ajustar los retardos del filtro de entrada para las entradas A y B (I:0/0 e
I:0/1) del contador de alta velocidad así como las entradas de restablecimiento y
retención (I:0/2 e I:0/3) del contador de alta velocidad.
Cómo usar las instrucciones del contador de alta velocidad
7–33
Renglón 4:5
Ocurrió una interrupción debido al valor bajo preseleccionado
alcanzado.
| C5:0 +RET–––––––––––––––+–|
|––––][––––––––––––––––––––––––––––––––––––––––––+RETURN + |
| IL +––––––––––––––––––+ |
Renglón 4:6
Indica al programa principal (archivo 2) que inicialice la secuencia de
perforación. El contador de alta velocidad ya ha detenido el
transportador en la posición correcta usando sus datos de configuración
de salida del valor alto preseleccionado (borrar O:0/0). Esto ocurrió
microsegundos después de alcanzar el valor alto preseleccionado (justo
antes de introducir esta subrutina de interrupción del contador de alta
velocidad). La subrutina de secuencia de perforación restablece el bit
de inicio de secuencia de perforación y establece el bit de la unidad
propulsora del transportador (O:0/0) una vez finalizada la secuencia de
perforación.
| interrupción ocurrió | Inicio de secuencia de perforación |
| debido al valor alto | |
| preseleccionado alcanzado | |
| C5:0 B3 |
|––––] [––––––––––––––––––––––––––––––––––––––––––––––––––––––(L)–––––|
| IH 32 |
Renglón 4:7
| |
|–––––––––––––––––––––––––––––––+END+–––––––––––––––––––––––––––––––––|
| |
Manual de referencia del juego de instrucciones
7–34
Instrucciones de comunicación
8–1
8 Instrucciones de comunicación
Este capítulo contiene información general acerca de las instrucciones de
comunicación. Cada una de las instrucciones incluye información acerca de:
• cómo aparece el símbolo de instrucción
• cómo usar la instrucción
• un ejemplo de aplicación y diagramas de temporización
Además, la operación de la palabra de estado global (S:99) se proporciona.
Instrucciones de comunicación
Instrucción
Propósito Página
Mnemónico Nombre
Propósito Página
MSG     
  
           
            
               
               
      
8-3
SVC   
  
               
              
            
            
   
8-60
Manual de referencia del juego de instrucciones
8–2
Acerca de las instrucciones de comunicación
Use la instrucción de mensaje para enviar y recibir datos de otros procesadores y
dispositivos. Use la instrucción SVC para mejorar el rendimiento de comunicación
de su procesador.
En este capítulo se encuentra una descripción general antes de cada tipo de
instrucción:
• Instrucción de mensaje para el procesador SLC 5/02
• Instrucción de mensaje para los procesadores SLC 5/03 y SLC 5/04
• Instrucción de comunicación de servicio para el procesador SLC 5/02
• Instrucción de comunicación de servicio para los procesadores SLC 5/03
y SLC 5/04
(EN)
(DN)
(ER)
MSG
READ/WRITE MESSAGE
Read/write
Target Device
Control Block
Control Block Length 7
    
Instrucciones de comunicación
8–3
Descripción general de
la instrucción de mensaje
Esta es una instrucción de salida que le permite transferir datos desde un nodo hacia
otro por la red DH-485. El procesador SLC 5/02 puede dar servicio a una
instrucción de mensaje en cualquier momento, aunque el procesador puede retener
varios mensajes “habilitados y en espera”. Los mensajes en espera reciben servicio
uno a la vez en orden secuencial (primero que llega, primero que sale)
Operación
La instrucción se puede programar como mensaje de escritura o lectura. El
dispositivo receptor puede ser otro procesador SLC 500 en la red, o un dispositivo
que no sea SLC 500, usando el archivo común de interface (archivo 9 485CIF en los
procesadores SLC 500). El protocolo 485CIF también se usa para los mensajes de
tipo PLC-2.
Los datos asociados con una instrucción de escritura de mensaje no se envían
cuando usted habilita la instrucción. En cambio, se envían al final del escán o
cuando una instrucción de comunicación de servicio (SVC) o regeneración (REF) se
habilita en su programa de escalera. En algunos casos esto significa que debe
guardar en un búfer los datos en su aplicación.
Cuando selecciona el SLC-500 como el dispositivo receptor, la comunicación se
puede realizar entre:
• un procesador SLC 5/02 y cualquier otro procesador de la familia SLC 500
• un procesador SLC 5/03 y cualquier otro procesador de la familia SLC 500
• un procesador SLC 5/04 y cualquier otro procesador de la familia SLC 500
3
Manual de referencia del juego de instrucciones
8–4
Bits del archivo de estado relacionados
Hay tres bits del archivo de estado que están relacionados con la instrucción MSG:
• Bit de comando entrante pendiente (S:2/5) – Este bit se establece cuando el
procesador determina que otro nodo en la red ha solicitado información o le ha
proporcionado un comando. Este bit se puede establecer en cualquier momento.
Este bit se pone a cero cuando el procesador atiende la solicitud (o comando).
Use este bit como condición de una instrucción SVC para mejorar la capacidad
de comunicación de su procesador.
• Bit de respuesta de mensaje pendiente (S:2/6) – Este bit se establece cuando
otro nodo en la red ha proporcionado la información que solicitó en la
instrucción MSG de su procesador. Este bit se pone a cero cuando el
procesador almacena la información y actualiza su instrucción MSG.
Use este bit como condición de una instrucción SVC para mejorar la capacidad
de comunicación de su procesador.
• Bit de comando de mensaje saliente pendiente (S:2/7) – Este bit se establece
cuando uno o más mensajes en su programa se habilitan y esperan, pero no hay
un mensaje que se esté transmitiendo en este momento. Tan pronto comienza la
transmisión de un mensaje, el bit se pone a cero. Después de la transmisión, el
bit se vuelve a establecer si hay más mensajes en espera, o permanece en cero si
no hay más mensajes en espera.
Use este bit como condición de una instrucción SVC para mejorar la capacidad
de comunicación de su procesador.
Es posible que desee usar el bit S:2/15, selección de servicio de comunicaciones.
Refiérase al apéndice B en este manual para obtener más información.
Instrucciones de comunicación
8–5
Opciones de configuración disponibles
Las siguientes opciones de configuración están disponibles con el procesador
SLC 5/02:
• Lectura/escritura de dispositivos semejantes en una red local a otro procesador
SLC 500
• Lectura/escritura de dispositivos semejantes en una red local a un 485CIF
(emulación PLC2)
Refiérase al apéndice D para obtener parámetros válidos al programar la instrucción
de mensaje.
Cómo introducir parámetros
Después de colocar la instrucción MSG en un renglón, especifique si el mensaje es
de lectura o escritura. Luego especifique el dispositivo receptor y el bloque de
control para la instrucción MSG.
• Lectura/escritura – La lectura indica que el procesador local (el procesador en
que se encuentra la instrucción) está recibiendo datos; la escritura indica que el
procesador está enviando datos.
• El dispositivo receptor identifica el tipo de dispositivo que recibirá los datos.
Las opciones válidas son:
– 500CPU, si el dispositivo recpetor es otro procesador SLC
– 485CIF, si el dispositivo receptor es un procesador que no sea SLC
(emulador PLC2)
• El bloque de control es una dirección de archivo de entero que usted
selecciona. Es un archivo de 7 elementos que contiene los bits de estado, la
dirección del archivo receptor y otros datos asociados con la instrucción de
mensaje.
• La longitud del bloque de control se fija a siete elementos. Este campo no se
puede modificar.
Nota La longitud del bloque de control MSG incrementa de 7 a 14 palabras al
cambiarse de un programa de procesador SLC 5/02 a un programa de
procesador SLC 5/03 ó SLC 5/04. Asegúrese que haya un mínimo de 7
palabras no usadas siguientes cada bloque de control MSG en su programa.
Manual de referencia del juego de instrucciones
8–6
Uso de los bits de estado
Read/Write: READ ignore if timed out: 0 TO
Target Device: 500CPU to be retried: 0 NR
Control Block: N7:0 awaiting execution: 0 EW
Local Destination File Address: ***
Target Node: 0 error: 0 ER
Target File Address: *** message done: 0 DN
Message Length in elements *** message transmitting: 0 ST
message enabled: 0 EN
control bit address: N7:0/8
ERROR CODE: 0
Error Code Desc:
La columna derecha en la ilustración de arriba indica los diversos bits de estado
asociados con la instrucción MSG del SLC 5/02.
• Bit de tiempo sobrepasado TO (bit 08) Puede establecer este bit en su
aplicación para eliminar una instrucción de mensaje activo del control del
procesador. La aplicación debe proporcionar su propio valor de límite de
tiempo sobrepasado. Un ejemplo aparecen la página 8–15.
• El bit no respuesta NR (bit 09) se establece si el procesador receptor no
responde a la primera solicitud de mensaje. El bit NR se restablece cuando el
bit ER, DN o ST se establece.
• El bit habilitado y en espera EW (bit 10) se establece después de que el bit
de habilitación se ha establecido y el mensaje está en espera de ser enviado.
• El bit de error ER (bit 12) se establece cuando la transmisión de mensaje está
con fallo. El bit ER se restablece la próxima vez que el renglón asociado va de
falso a verdadero.
• El bit de efectuado DN (bit 13) se establece cuando el mensaje se ha
transmitido exitosamente. El bit DN se restablece la próxima vez que el renglón
asociado va de falso a verdadero.
• El bit de arranque ST (bit 14) se establece cuando el procesador acusa recibo
desde el dispositivo receptor. El bit ST se restablece cuando el bit DN, ER o
TO se establece.
• El bit de habilitación EN (bit 15) se establece cuando las condiciones del
renglón se hacen verdaderas y la instrucción se ejecuta. Permanece establecido
hasta que la transmisión de mensaje se finaliza y el renglón se hace falso.
Instrucciones de comunicación
8–7
Diagrama de temporización para una instrucción MSG
exitosa del SLC 5/02
La sección siguiente describe el diagrama de temporización para una instrucción
MSG del SLC 5/02.
 $ 
 
  
  
    
 !  %
     
  #!



















Ä
À Á Â
1. Cuando el renglón MSG se hace verdadero y el MSG es escaneado, el bit EN se
establece y permanece establecido hasta que el bit DN, ER o TO se establezca.
El bit EW está establecido, lo que indica que la instrucción MSG ha sido
colocada en la cola MSG. (El procesador SLC 5/02 siempre tiene espacio en la
cola MSG.) La cola trabaja en base al concepto primero en llegar–primero en
salir y así permite al procesador recordar el orden en que las instrucciones MSG
se habilitaron. Anote que el programa no tiene acceso a la cola MSG del SLC
5/02.
2. En el siguiente final de escán o instrucción de comunicación de servicio (SVC),
el procesador SLC 5/02 determina si debe examinar la cola MSG en busca de
una tarea. El procesador toma una decisión según el estado de bit S:2/15, las
solicitudes de comunicación DH-485 de otros nodos y si hay otra instrucción
MSG anterior en ejecución. Si el procesador 5/02 determina que no debe
acceder a la cola, los bits EN y EW permanecen establecidos hasta el próximo
final de escán o SVC.
Manual de referencia del juego de instrucciones
8–8
Si el procesador SLC 5/02 determina que hay una tarea de hacer, usa la primera
entrada de la cola de mensaje para construir un paquete DH-485. Si un paquete
se puede construir exitosamente, se coloca en el búfer de transmisión. Si un
paquete no se puede construir con éxito, el bit ER se establece y un código se
coloca en el bloque MSG para informarle del error.
Si ésta fuera una instrucción de escritura MSG, los datos de fuente serían
transferidos al búfer de transmisión en este momento.
Luego el procesador SLC 5/02 sale del final de escán o la porción SVC del
escán. La función de comunicación de fondo del procesador envía el paquete
transmitido con búfer al nodo receptor que ha especificado en su instrucción
MSG.
3. Si el nodo receptor recibe exitosamente el paquete DH-485, envía un ACK
(acuse de recibo). El ACK causa que el procesador ponga a cero el bit EW y
establezca el bit ST. Observe que el nodo recpetor todavía no ha examinado el
paquete DH-485 para determinar si entiende su solicitud.
Una vez establecido el bit ST, el procesador espera infinitamente una respuesta
del nodo receptor. No es necesario que el nodo receptor responda dentro de un
plazo de tiempo determinado. En este momento no se dará servicio a ninguna
instrucción MSG.
Nota Si el nodo receptor está con fallo o desconecta y vuelve a conectar la
alimentación eléctrica durante el plazo de tiempo de una transacción MSG,
usted nunca recibirá una respuesta. Es por eso que se recomienda el uso de una
instrucción de temporizador conjuntamente con el bit TO. Refiérase al ejemplo
en la página 8–15.
El paso 4 no se muestra en el diagrama de temporización.
4. Si no recibe un ACK, el paso 3 no ocurre. Un NAK (ningún acuse de recibo) se
recibe en su lugar. Cuando esto ocurre, el bit ST permanece puesto a cero. Un
NAK indica que:
• el nodo receptor no existe,
• no responde,
• está demasiado ocupado o
• recibe un paquete DH-485 alterado.
Cuando un NAK ocurre, el bit EW se pone a cero y el bit NR se establece
durante un escán. La próxima vez que la instrucción MSG es escaneada, el bit
ER se establece y el bit NR se pone a cero. Esto indica que la instrucción MSG
está con fallo. Observe que si el nodo receptor está demasiado ocupado, el bit
ER no se establece. En cambio, la instrucción MSG vuelve a hacer cola para la
retransmisión.
Instrucciones de comunicación
8–9
5. Después del recibo exitoso del paquete, el nodo receptor envía un paquete de
respuesta. El paquete de respuesta contendrá una de las respuestas siguientes:
• He realizado exitosamente su solicitud de escritura.
• He realizado exitosamente su solicitud de lectura y le presento aquí los
datos.
• No he realizado su solicitud; tiene un error.
Al próximo final de escán o SVC, después de la respuesta del nodo receptor, el
procesador SLC 5/02 examina el paquete DH-485 del dispositivo receptor. Si la
respuesta contiene “He realizado exitosamente su solicitud de escritura”, el bit
DN se establece y el bit ST se pone a cero. La función de la instrucción MSG
ha sido completada. Si el renglón MSG es falso, el bit EN se pone a cero la
próxima vez que la instrucción MSG es escaneada.
Si la respuesta contiene “He realizado exitosamente su solicitud de lectura y le
presento aquí los datos”, los datos se escriben a la tabla de datos, el bit DN se
establece y el bit ST se pone a cero. La función de la instrucción MSG ha sido
completada. Si el renglón MSG es falso, el bit EN se pone a cero la próxima
vez que la instrucción MSG es escaneada.
Si la respuesta contiene “No he realizado su solicitud; tiene un error”, el bit ER
se establece y el bit ST se pone a cero. La función de la instrucción MSG ha
sido completada. Si el renglón MSG es falso, el bit EN se pone a cero la
próxima vez que la instrucción MSG es escaneada.
Configuración del bloque de control
La configuración del bloque de control se ilustra abajo si usted selecciona un
500CPU como el dispositivo receptor:
EN ST DN ER EW NR TO Error Code
15 14 13 12 11 10 09 08 07 06 05 04 03 02 01 00
Node Number
Reserved for length in words
Configuración del bloque de control - 500CPU
Pal.
0
1
2
File Number
File Type (S, B, T, C, R, N)
Element Number
Reserved
3
4
5
6
Preface
Manual de referencia del juego de instrucciones
8–10
La configuración del bloque de control se ilustra abajo si usted selecciona un 485
CIF como el dispositivo receptor:
EN ST DN ER EW NR TO Error Code
15 14 13 12 11 10 09 08 07 06 05 04 03 02 01 00
Node Number
Reserved for length in words
Configuración del bloque de control - 485 CIF
Pal.
0
1
2
Offset words
Not used
Not used
Not used
3
4
5
6
Instrucciones de comunicación
8–11
Ejemplos de aplicación para procesadores SLC 5/02
Ejemplo 1
El ejemplo de aplicación 1 muestra cómo puede implementar la operación continua
de una instrucción de mensaje.
 #  #  #!$)  $  #  #$  
#!$)   # %  #  #)  !
$  #!$)   #   !) ' # !!
!) #$
 #  !!!  #( %!'  #  #) #
!! !) #$    !!!
] [
B3
1
(U)
N7:0
15*
(EN)
(DN)
(ER)
MSG
READ/WRITE MESSAGE
Read/write WRITE
Target Device 500CPU
Control Block N7:0
Control Block Length 7
END
] [
N7:0
13*
] [
N7:0
12*
0
1
2
 #  # 
 #!$)

 
 
 
Notas de operación
Manual de referencia del juego de instrucciones
8–12
Ejemplo 2 – Archivo de programa 2 del procesador SLC 5/02
El ejemplo de aplicación 2 involucra un procesador SLC 5/02 y un procesador SLC
5/01 comunicándose en una red DH-485. El enclavamiento se proporciona para
verificar la transferencia de datos y para detener ambos procesadores en el caso de
fallo de comunicación.
Un dispositivo de detección de temperatura, conectado como entrada al procesador
SLC 5/02, controla la operación activada/desactivada de un ventilador de
enfriamiento, conectado como salida al procesador SLC 5/01. Los programas de
escalera de SLC 5/02 y SLC 5/01 se explican en la figura en la página 8–14.
Instrucciones de comunicación
8–13
(U)
B3
0
(EN)
(DN)
(ER)
MSG
READ/WRITE MESSAGE
Read/write WRITE
Target Device 500CPU
Control Block N10:0
Control Block Length 7
END

 +*  *+'  $
*+),1 
  
  
]/[
N7:0
0
(L)
B3
0
( )
N7:0
1
(RES)
T4:0
(EN)
(DN)
TON
TIMER ON DELAY
Timer T4:0
Time Base 0.01
Preset 400
Accum 0
*('*+-' 
+)  **') 
+%()+,)
] [
S:1
15
] [
S:4
6

] [
B3
0
(L)
N7:0
0
] [
S:1
15
] [
I:1.0
5
(EN)
(DN)
(ER)
MSG
READ/WRITE MESSAGE
Read/write READ
Target Device 500CPU
Control Block N11:0
Control Block Length 7
] [
N10:0
13*
] [
T4:0
DN
] [
N11:0
13*
(U)
B3
0
(RES)
T4:0
(U)
N7:0
0
(U)
N11:0
15*
(U)
N10:0
15*
* '+*  '()1 ()  $ (0  * ,+




+   $ ($)
 %*# *'
() $ '+)'$ $
-+$')
+   $ ($)
 %*# *+
* $ + 
$-%+'
%(')/') 
* ,'*
*+),1  *)+,)
 %*# *
)'* $ )!-'
 ,+ . )(+') *'
 
'' )(+') 
' +, $ %*# 
($)
*+),1  $+,) 
%*# * )'*
$ )!-'  *+' .
)(+') *'  
'' )(+') 
' +, $ %*# 
($)
$-%+'  *+
*+),1  $)%
'+  $ ($1
* $ +  $-2
%+'  
()%
*+$' ,)+
%0*  * ,'*
+  ()%) (*'
+  ()%) (*'
+  )$'#    %*
+  +,' 
*)+,)  %*#
+  +,'
 $+,) 
%*#

(L)
B3
10
Preface
Manual de referencia del juego de instrucciones
8–14
Archivo de programa 2 del procesador SLC 5/01 a nodo 3
Notas de operación acerca de los programas SLC 5/02 y SLC 5/01
Procesador SLC 5/02: N7:0/0 está enclavado; el temporizador
T4:0 está restablecido, B3/0 está desenclavado (renglón 1) y
luego enclavado (renglón 3). El procesador SLC 5/01: N7:0/0
está desenclavado; el temporizador T4:0 está restablecido.
Operación de instrucción de mensaje: La instrucción de
escritura de mensaje en el procesador SLC 5/02 se inicia cada
1280 ms por el bit de reloj S:4/5. El bit de efectuado de la
instrucción de escritura de mensaje inicia la instrucción de
lectura de mensaje.
B3/0 enclava la instrucción de escritura de mensaje. B3/0 se
desenclava cuando el bit de efectuado de la instrucción de
lectura de mensaje se establece, siempre que el bit de
enclavamiento N7:0/0 esté restablecido.
Fallo de comunicación: En el procesador SLC 5/02, el bit B3/10
se establece si el bit de enclavamiento N7:0.0 permanece
establecido (1) durante más de 4 segundos. En el procesador
SLC 5/01, el bit B3/10 se establece si el bit de enclavamiento
N7:0/0 permanece establecido (1) durante más de 4 segundos.
Su aplicación puede detectar este evento, tomar la acción
apropiada y luego desenclavar el bit B3/10.
(U)
N7:0
0
END
0
( )
B3
1
(RES)
T4:0
(EN)
(DN)
TON
TIMER ON DELAY
Timer T4:0
Time Base 0.01
Preset 400
Accum 0
] [
N7:0
0
] [
S:1
15
Bit de primer paso
[OSR]
B3
0
] [
T4:0
DN
] [
B3
1
(U)
N7:0
0
(RES)
T4:0
( )
O:1.0
0
] [
N7:0
1
1
3
6
Bit 0 de la palabra de
mensaje. Este es el bit
de enclavamiento.
Temporizador de 4
segundos
Instrucción de
enclavamiento - Esta
alarma notifica a la
aplicación si el bit de
enclavamiento N7:0/0 no
se establece después de
4 segundos.
O:1/0 activa el
ventilador de
enfriamiento.
Bit 1 de la palabra de
mensaje. Usado para
control del ventilador.
Parámetros de instrucción de mensaje: N7:0 es la palabra de
mensaje. Es la dirección de archivo receptor (procesador
SLC 5/01) y la fuente local y direcciones de destino (procesador
SLC 5/02) en las instrucciones de mensaje.
N7:0/0 de la palabra de mensaje es el bit de enclavamiento; se
escribe al procesador 5/01 como 1 (establecido) y se lee del
procesador SLC 5/01 como 0 (restablecido).
N7:0/1 de la palabra de mensaje controla la operación del
ventilador de enfriamiento; se escribe al procesador SLC 5/01
como 1 (establecido) si se requiere enfriamiento o como 0
(restablecido) si no se requiere enfriamiento. Se lee del
procesador SLC 5/01 como 1 ó 0.
Palabra N7:0 debe tener un valor de 1 ó 3 durante la ejecución
de escritura de mensaje. N7:0 debe tener un valor de 0 ó 2
durante la ejecución de lectura de mensaje.
Inicialización de programa: El bit de primer paso S:1/15
inicializa los programas de escalera en la entrada al modo de
marcha.
(L)
B3
10
4
5
2
Instrucciones de comunicación
8–15
Ejemplo 3
El ejemplo de aplicación 3 le muestra cómo usar el bit de límite de tiempo
sobrepasado para inhabilitar una instrucción de mensaje activa. En este ejemplo,
una salida se activa después de cinco ensayos fallidos (duración de dos segundos)
para transmitir un mensaje.
El bit de límite de tiempo sobrepasado se enclava (renglón 4)
después de 2 segundos. Esto borra la instrucción de mensaje del
control de procesador en el próximo escán. Luego la instrucción
de mensaje vuelve a habilitarse para el segundo ensayo de
transmisión. Después de 5 ensayos, O:1/0 se enclava.
Un ensayo exitoso de transmisión restablece el contador,
desenclava O:1/0 y desenclava B3/1.
END
0 [LBL]
1
(EN)
(DN)
(ER)
MSG
READ/WRITE MESSAGE
Read/write WRITE
Target Device 500CPU
Control Block N7:0
Control Block Length 7
]/[
T4:0
DN
(EN)
(DN)
TON
TIMER ON DELAY
Timer T4:0
Time Base 0.01
Preset 200
Accum 0
] [
B3
1
(CU)
(DN)
CTU
COUNT UP
Counter C5:0
Preset 5
Accum 0
(JMP)
1
N7:0
8
(RES)
C5:0
(L)
N7:0
(U)
B3
1
(L)
O:1.0
0
] [
B3
1
] [
T4:0
DN
] [
C5:0
DN
] [
N7:0
13*
1
2
3
5
6
7
* Bits de estado de la
instrucción MSG:
8 = TO
13 = DN
Temporizador de 2
segundos. Cada ensayo
de transmisión tiene una
duración de 2 segundos.
El contador permite 5
ensayos.
N7:0/8 es el bit de límite
de tiempo sobrepasado
de la instrucción de
mensaje (/TO)
Borre la palabra de
control y salte hacia atrás
a renglón 0 para otro
ensayo.
El quinto ensayo enclava
O0:1/0.
B3/1 está enclavado
(externo de este
ejemplo) para iniciar la
instrucción de
mensaje.
] [
T4:0
DN
4
] [
Notas de operación
8
CLR
CLEAR
Dest N7:0
0
(U)
O:1.0
0
*
] [
N7:0
12
Manual de referencia del juego de instrucciones
8–16
Ejemplo 4
El ejemplo de aplicación 4 le muestra como vincular las instrucciones de mensaje
para transmitir en serie, uno tras otro. En este ejemplo una escritura MSG es
seguida por una lectura MSG, lo que provoca la transmisión en serie.
Instrucciones de comunicación
8–17
END
Renglón 2:0
]/[
N7:0
12
(EN)
(DN)
TON
TIMER ON DELAY
Timer T4:0
Time Base 0.01
Preset 600
Accum 0
] [
S:1
15
(L)
N7:0
] [
N7:0
15
] [
T4:0
DN
Renglón 2:1
Renglón 2:2
Renglón 2:5
Renglón 2:6
Renglón 2:4
8
CLR
CLEAR
Dest N7:0
0
(U)
N7:0
15
]/[
N7:0
13
]/[
N7:20
12
] [
N7:20
15
]/[
N7:20
13
(EN)
(DN)
TON
TIMER ON DELAY
Timer T4:1
Time Base 0.01
Preset 600
Accum 0
(L)
N7:20
] [
T4:1
DN 8
Renglón 2:3
] [
N7:0
12
(EN)
(DN)
(ER)
MSG
READ/WRITE MESSAGE
Read/write READ
Target Device 500CPU
Control Block N7:20
Control Block Length 7
] [
N7:0
13
] [
N7:20
12
] [
N7:0
13
CLR
CLEAR
Dest N7:20
0
+, * $3 '%0  .* %+#+   ,* $ %''  %*!  '  (''  *' $ ,   $
(*%* +,*-3 
1,' $ * $3 ,*'*
+, * $3 +,$ $ .$'*  $2%,  ,%(' +'*(+'  -' + -+ - (*'+'*   3 
  +, * $3 / * $3   ' +' +*'+ ('*)- (- ,*'-* $ .$'*  $ %('  .$'* $
$2%,  ,%(' +'*(+'  $ $')-  +,*-3 
 +,*-3  + ,.  $ ,* $ %''  %*!  '  ' + *)-* ''+  ,*
 +,*-3  + ,. -' $ +,*-3  ,*'* + $0
+, * $3 *+,$ ,'+ $+ +,*-'+  -' $ 4$,% +,*-3  + ! $0' 
($*  ',*'$ + '** (* + -** )- $'+ ,+    /  + ('   *'
(EN)
(DN)
(ER)
MSG
READ/WRITE MESSAGE
Read/write WRITE
Target Device 500CPU
Control Block N7:0
Control Block Length 7
Manual de referencia del juego de instrucciones
8–18
Descripción general de la
instrucción de mensaje
Los datos asociados con una instrucción de escritura de mensaje se almacena en un
búfer cuando usted habilita la instrucción. El SLC 5/03 con OS300 tiene cuatro
búferes de transmisión. El SLC 5/03 con procesadores OS301, OS302 y SLC 5/04
con procesadores OS400, OS401 dan servicio a un máximo de cuatro instrucciones
de mensaje por canal para un máximo de ocho instrucciones de mensaje.
Operación
SLC 5/03 OS300 – Si una instrucción MSG ha entrado en uno de los cuatro búferes
de transmisión “independientes del canal” y está esperando ser transmitida, su
bloque de control tendrá los bits de estado EN y EW establecidos. Si más de cuatro
instrucciones MSG se habilitan a la vez, una cola de overflow “dependiente del
canal” se usa para almacenar los bloques de encabezado de instrucción MSG (no los
datos para una escritura MSG) a partir de la quinta instrucción hasta la
décimocuarta.
SLC 5/03 con OS301, OS302 y SLC 5/04 con OS400, OS401 – Si una instrucción
MSG ha entrado en uno de los cuatro búferes de transmisión “dependientes del
canal” y está esperando ser transmitida, su bloque de control tendrá los bits de
estado EN y EW establecidos. Si más de cuatro instrucciones MSG para aquel canal
se habilitan a la vez, una cola de overflow “dependiente del canal” se usa para
almacenar los bloques de encabezado de instrucción MSG (no los datos para una
escritura MSG) a partir de la quinta instrucción a la décimocuarta.
Esta instrucción, la cual hace cola en orden FIFO, tendrá el bit de estado de bloque
de control EN establecido. Si más de 14 instrucciones MSG se habilitan a la vez
para un solo canal, el bit de estado de bloque de control WQ se establece ya que es
posible que no haya espacio disponible para poner la instrucción en cola. Esta
instrucción se debe a volver a escanear hasta que haya espacio en la cola de
overflow.
Nota Si habilita sistemáticamente más instrucciones MSG que las que pueden recibir los
búferes, el orden en que las instrucciones MSG hacen en cola es determinado por el
orden en que son escaneadas. Esto significa que las instrucciones MSG más
cercanas del inicio del programa hacen cola regularmente y las instrucciones MSG
más adelantes del programa pueden no entrar en la cola.
Puede usar el control de límite de tiempo sobrepasado semejante a la instrucción
MSG del SLC 5/02 ó puede usar el control de límite de tiempo sobrepasado
incorporado. Si el valor del límite de tiempo sobrepasado se establece a 0, lo que
constituye el valor predeterminado, la funcionabilidad es semejante a la instrucción
MSG del SLC 5/02. La diferencia de ésta es que el renglón se debe volver a
escanear después del establecimiento del bit TO. Luego debe restablecer el bit TO y
volver a ejecutar la instrucción MSG. Le recomendamos que establezca el valor del
límite de tiempo sobrepasado interno a un número que no sea 0.
3
3
READ/WRITE MESSAGE
Type
Read/write
Target Device
Local/Remote
Control Block
Control Block Length 14
(EN)
(DN)
(ER)
    
MSG
Instrucciones de comunicación
8–19
Cuando usa un procesador SLC 5/03 ó SLC 5/04, la instrucción de mensaje:
• inicia lecturas y escrituras a través de canal 0 del RS-232 cuando es configurado
para los protocolos siguientes:
– Punto a punto DF1
– Esclavo DF1
– DH-485, o
• inicia lecturas y escrituras a través de:
– canal 1 de DH-485 (procesadores SLC 5/03 únicamente)
– canal 1 de DH+ (procesadores SLC 5/04 únicamente)
Bits del archivo de estado relacionados
   
           
           
       

       

    
 
    
 
             
Refiérase al apéndice B en este manual para obtener más información acerca de los
bits del archivo de estado de mostrados previamente.
Manual de referencia del juego de instrucciones
8–20
Opciones de configuración disponibles
Las siguientes opciones de configuración están disponibles cuando se usa un
procesador SLC 5/03 ó SLC 5/04. Refiérase al apéndice D para obtener parámetros
válidos al programar la instrucción de mensaje.
• Lectura/escritura de dispositivos semejantes en una red local a otro procesador
SLC 500
• Lectura/escritura de dispositivos semejantes en una red local a un 485CIF
• Lectura/escritura de dispositivos semejantes en una red local a un PLC-5 À
• Lectura/escritura de dispositivos semejantes en una red remota a otro
procesador SLC 500
• Lectura/escritura de dispositivos semejantes en una red remota a un 485CIF
(emulación PLC2)
• Lectura/escritura de dispositivos semejantes en una red remota a un procesador
PLC-5 À
À
Instrucciones de comunicación
8–21
Cómo introducir parámetros
Introduzca los parámetros siguientes al programar esta instrucción:
• Lectura/escritura – La lectura indica que el procesador local (el procesador en
que se encuentra la instrucción) está recibiendo datos; la escritura indica que
está enviando datos.
• El dispositivo receptor identifica el tipo de dispositivo que recibirá datos. Las
opciones válidas son:
– el 500CPU si el dispositivo receptor es otro procesador SLC
– el 485CIF si el dispositivo receptor es un dispositivo que no sea SLC en la
red DH-485
– el PLC-5 si el dispositivo receptor acepta comandos PLC-5
• Local o remoto identifica si el mensaje es enviado a un dispositivo en una red
local DH-485 ó DH+, o a un dispositivo remoto en otra red a través de un
puente. Las opciones válidas son:
– Local si el dispositivo receptor se encuentra en una red local
– Remoto si el dispositivo receptor se encuentra en una red remota
• El bloque de control es una dirección de archivo de entero que usted
selecciona. Es un archivo de entero de 14 palabras que contiene bits de estado,
dirección de archivo receptor y otros datos asociados con la instrucción de
mensaje.
• La longitud del bloque de control se fija a 14 elementos. Este campo no se
puede modificar.
Nota La longitud del bloque de control MSG incrementa de 7 a 14 palabras al
cambiarse de un programa de procesador SLC 5/02 a un programa de
procesador SLC 5/03 ó SLC 5/04. Asegúrese que haya un mínimo de 7
palabras no usadas después de cada bloque de control MSG en su programa.
Manual de referencia del juego de instrucciones
8–22
Uso de los bits de estado
La columna derecha en la ilustración siguiente alista los varios bits de estado
asociados con la instrucción SLC 5/03 y SLC 5/04.
Type: Peer–to–Peer
Read/Write: READ ignore if timed out: 0 TO
Target Device: 500CPU to be retried: 0 NR
Local/Remote: Local awaiting execution: 0 EW
Control Block: N10:0 continuous run: 0 CO
Channel: 1 error: 0 ER
Target Node: 2 message done: 0 DN
message transmitting: 0 ST
message enabled: 0 EN
Destination File Addr: N7:0 waiting for queue space: 0 WQ
Target Source File Address: N7:50
Message Length In Elements: 10
Message Timeout (seconds): 5
ERROR CODE: 0 control bit address: N10:0/8
Error Code Desc:
• Bit del límite de tiempo sobrepasado TO (palabra 0, bit 08) Establezca este
bit en su aplicación para eliminar una instrucción de mensaje activa del control
de procesador. Puede usar su propia rutina de control de límite de tiempo
sobrepasado semejante a la instrucción MSG del SLC 5/02 o puede usar el
control de límite de tiempo sobrepasado interno. Le recomendamos que use el
control de límite de tiempo sobrepasado incorporado porque simplifica el
programa del usuario.
Si usa su propia rutina de control de límite de tiempo sobrepasado, el valor del
límite de tiempo sobrepasado (palabra 8) se debe poner a cero. Si la instrucción
MSG no se completa dentro del plazo de tiempo especificado y el bit DN no se
establece, usted debe establecer el bit TO (bit 8 de palabra 0) y volver a realizar
un escán de la instrucción MSG, de lo contrario el mensaje llevará un búfer
activo hasta que el procesador se detenga y se vuelva a arrancar. Después de la
ejecución de la instrucción MSG, el procesador establece el bit ER (bit 12) y
retorna el código de error 37H. Vuelva a iniciar la instrucción MSG
restableciendo el bit TO y volviendo a ejecutar la instrucción MSG.
Si usa el control de límite de tiempo sobrepasado interno, establezca el valor del
límite de tiempo sobrepasado (palabra 8) entre 1 y 255 segundos. Cuando el
límite de tiempo sobrepasado ocurre, el bit TO y el bit ER (bit 12 de palabra 0)
se establecen y el procesador retorna el código de error 37H. Vuelva a iniciar la
instrucción MSG restableciendo el bit TO y volviendo a ejecutar la instrucción
MSG.
• Bit no respuesta NR (bit 09) se establece si el procesador receptor responde a
la instrucción con un acuse de recibo negativo. Esto significa que el dispositivo
receptor no puede dar servicio al paquete en ese momento y se debe volver a
intentar. El bit NR se restablece cuando el bit ER, DN o ST se establece.
Recomendamos no intentar controlar este bit. Se usa para funciones DH-485 y
se presenta a título informativo únicamente.
Instrucciones de comunicación
8–23
• El bit habilitado y en espera EW (bit 10) se establece después de que el bit
de habilitación se ha establecido y el mensaje se almacena en el búfer y espera
ser enviado en el búfer. Recomendamos no intentar controlar este bit. Se
presenta a título informativo únicamente.
• Operación continua CO (bit 11) Establezca este bit si desea enviar la
instrucción MSG de manera continua. Recomendamos que el control del límite
de tiempo sobrepasado interno se use para esta opción y que el renglón sea
incondicionalmente verdadero. Use este bit para activar y desactivar el modo.
Nota No intente establecer ni restablecer los otros bits en la palabra de control.
Este modo operará continuamente siempre que el renglón sea escaneado
continuamente. Si la instrucción tiene error, vuelve a intentar automáticamente
hasta tener éxito. Si sobrepasa el límite de tiempo y se vuelve a escanear, el
modo se detendrá. El bit ER se debe poner a cero para reanudar la operación.
• El bit de error ER (bit 12) se establece cuando la transmisión de mensaje está
con fallo. El bit ER se restablece la próxima vez que el renglón asociado vaya
de falso a verdadero.
• El bit de efectuado DN (bit 13) se establece cuando el mensaje se transmite
con éxito. El bit DN se restablece la próxima vez que el renglón asociado vaya
de falso a verdadero.
• El bit de arranque ST (bit 14) se establece cuando el procesador acusa recibo
del dispositivo receptor. El bit ST se restablece cuando el bit DN, ER o TO se
establece. Recomendamos no intentar controlar este bit. Se presenta a título
informativo únicamente.
• El bit de habilitación EN (bit 15) se establece cuando las condiciones de
renglón se hacen verdaderas y la instrucción se ejecuta. Permanece establecido
hasta que la transmisión de mensaje se haya completado y el renglón se haga
falso.
• El bit de espera de espacio en la cola WQ (Word 7, bit 0) se establece
cuando no hay espacio en la cola activa para escribir o leer datos. Este bit se
pone a cero cuando hay espacio disponible en al cola activa. Recomendamos
no intentar controlar este bit. Se presenta a título informativo únicamente.
Nota Cuando el bit WQ se establece, o cuando sólo se establece el bit EN, y usted usa
una instrucción de escritura MSG, sus datos de fuente no tienen búfer. Si su
aplicación requiere datos con búfer (o “fotografía”), espere hasta que el bit EW se
establezca antes de sobrescribir sus datos de fuente.
• EN = 1 y EW = 1 cuando MSG entra en el búfer
• EN = 1 cuando MSG entra en cola
• WQ = 1 cuando la cola (que retiene 10 MSG) está llena:
búfer – retiene 4 mensajes con los datos
cola – almacena el puntero (lista de espera)
Nota Si su programa contiene cuatro instrucciones de mensaje con el bit de operación
continua (CO) establecido, la instrucción de mensaje de la rutina de fallo no se
ejecutará.
Preface
Manual de referencia del juego de instrucciones
8–24
La cantidad de datos transferidos por una instrucción MSG es determinada por el
tamaño del tipo de datos de destino. El límite es 206 bytes de datos. Si una lectura
se usa, entonces el tipo de datos en el procesador determina el número de elementos.
Si una escritura se usa, entonces el tipo de datos en el dispositivo remoto determina
el número de elementos. Por ejemplo, si una lectura de contadores desde un
dispositivo remoto se efectúa y el destino en el procesador es un archivo de entero,
entonces el número máximo de elementos que se pueden solicitar es 103. Los datos
provienen de las 103 primeras palabras del archivo de temporizador remoto.
Configuraciones del bloque de control
La configuración del bloque de control se muestra abajo si selecciona un 500CPU o
un PLC-5 como el dispositivo receptor:
EN ST DN ER CO EW NR TO Error Code
15 14 13 12 11 10 09 08 07 06 05 04 03 02 01 00
Node Number
Reserved for length in words
Pal.
0
1
2
File Number
File Type (O, I, S, B, T, C, R, N, F, St, A)
Element Number
Subelement Number
3
4
5
6
Reserved (Internal Messaging Bits)
Message Timer Preset
WQ
Message Timer Scaled Zero
Message Timer Accumulator
7
8
9
10
11
Reserved (Internal use only)
Lectura o escritura, local o remota a un 500CPU o PLCĆ5
Reserved (Internal use only) 12
Reserved (Internal use only) 13
Instrucciones de comunicación
8–25
La configuración del bloque de control se muestra abajo si selecciona un 485 CIF
como el dispositivo receptor:
EN ST DN ER CO EW NR TO Error Code
15 14 13 12 11 10 09 08 07 06 05 04 03 02 01 00
Node Number
Reserved for length in words
Pal.
0
1
2
Offset in Words
Not Used
Not Used
Not Used
3
4
5
6
Reserved (Internal Messaging Bits)
Message Timer Preset
WQ
Message Timer Scaled Zero
Message Timer Accumulator
7
8
9
10
11
Reserved (Internal use only)
Lectura o escritura, local o remota a un 485CIF
Reserved (Internal use only) 12
13
Reserved (Internal use only)
Manual de referencia del juego de instrucciones
8–26
Diagrama de temporización para una instrucción exitosa
del SLC 5/03 ó SLC 5/04
La sección siguiente describe el diagrama de temporización para una instrucción
MSG del SLC 5/03 ó SLC 5/04.
 $ 
 
  
  
   
  ! 
    
   #!























  
1. Cuando el renglón MSG se hace verdadero y el MSG es escaneado, si hay
espacio en cualquiera de los cuatro búferes MSG activos, los bits EN y EW es
establecen. Si esta fuera una instrucción de escritura MSG, los datos de fuente
sería transferidos al búfer MSG en este momento. Si no hay espacio en los
cuatro búferes MSG, pero hay disponible una posición en la cola MSG de 10
posiciones, sólo el bit EN se establece. La cola MSG de 10 posiciones trata los
datos primeros en llegar y así permite al procesador SLC 5/03 ó SLC 5/04
recordar el orden en que las instrucciones MSG se habilitaron. Anote que el
programa no tiene acceso a la cola MSG de SLC 5/03 ó SLC 5/04.
Si no hay espacio en ninguno de los cuatro búferes MSG ni en la cola MSG de
10 posiciones, sólo el bit WQ se establece. Observe que cuando el bit WQ se
establece, la instrucción MSG se debe volver a escanear más adelante cuando
haya espacio en los cuatro búferes MSG o la cola MSG de 10 posiciones.
Instrucciones de comunicación
8–27
Una vez establecido el bit EN, permanece establecido hasta que el proceso
entero MSG se haya finalizado y el bit DN, ER o TO se establezca. El valor del
límite de tiempo sobrepasado MSG comienza a temporizar cuando el bit EN
se establece. Si el período del límite de tiempo sobrepasado vence antes de que
la instrucción MSG finalice su función, el bit ER se establece y un código se
coloca en el bloque MSG para informarle del error del límite de tiempo
sobrepasado.
Si decide establecer el bit CO, su instrucción MSG residirá de manera
permanente en uno de los cuatro búferes MSG activos. La instrucción MSG
continuará volviendo a transmitir sus datos cada vez que el bit DN o ER se
establece. Si esta fuera una instrucción de escritura MSG, sus datos de fuente se
actualizarían durante cada ciclo MSG.
2. Al próximo final de escán o SVC, el procesador SLC 5/03 ó SLC 5/04
determina si debe examinar la cola MSG en busca de una tarea. El procesador
toma su decisión según en el estado de los bits S:2/15, S:33/7, S:33/5, S:33/6,
solicitudes de comunicación de la red desde otros nodos y si hay instrucciones
MG anteriores que ya están en progreso. Si el procesador SLC 5/03 determina
que no debe acceder a la cola, la instrucción MSG permanece tal como era.
(Los bits EN y EW permanecen establecidos o sólo el bit EN se establece, o de
lo contrario sólo el bit WQ se establece hasta el próximo final de escán o SVC.
Si solamente el bit WQ se establece, la instrucción MSG se debe volver a
escanear.)
Si el procesador SLC 5/03 ó SLC 5/04 determina que hay una “tarea de
desempeñar”, descargar las entradas de la cola MSG en los búferes MSG hasta
que todos los cuatro búferes estén llenos. Cada búfer MSG contiene un paquete
de red válido. Si un paquete no se puede construir exitosamente de la cola
MSG, el bit ER se establece y un código se coloca en el bloque MSG para
informarle de un error. Cuando una instrucción MSG se carga en un búfer
MSG, los bits EN y EW se establecen.
Luego el procesador SLC 5/03 ó SLC 5/04 sale al final de escán o la porción
SVC del escán. La función de comunicación de fondo del procesador envía los
paquetes a los nodos receptores que especificó en su instrucción MSG. Según el
estado de los bits S:2/14, S:33/7, S:33/5 y S:33/6, puede tener hasta cuatro
instrucciones MSG activas en todo momento.
3. Si el nodo receptor recibe exitosamente el paquete, envía un ACK (un acuso de
recibo). El ACK causa que el procesador ponga a cero el bit EW y establezca el
bit ST. El nodo receptor todavía no ha examinado el paquete para determinar si
entiende su solicitud. Observe que el nodo receptor no tiene que responder
dentro de un plazo de tiempo determinado.
Nota Si el nodo receptor está con fallo o desconecta y vuelve a conectar la
alimentación eléctrica durante este plazo de tiempo de una transacción MSG,
nunca recibirá una respuesta. Es por eso que recomendamos el uso del valor
del límite de tiempo sobrepasado MSG en su instrucción MSG.
Manual de referencia del juego de instrucciones
8–28
El paso 4 no se muestra en el diagrama de temporización.
4. Si no recibe un ACK, el paso 3 no ocurre. Un NAK (ningún acuso de recibo) se
recibe en su lugar. Cuando esto ocurre, el bit ST permanece puesto a cero. Un
NAK indica que:
• el nodo receptor no existe,
• no responde,
• está demasiado ocupado o
• recibe un paquete DH-485 alterado.
Cuando un NAK ocurre, el bit EW se pone a cero y el bit NR se establece para
un escán. La próxima vez que la instrucción MSG es escaneada, el bit ER se
establece y el bit NR se pone a cero. Esto indica que la instrucción MSG está
con fallo. Anote que si el nodo receptor está demasiado ocupado, el bit ER no
se establece. En cambio, la instrucción MSG vuelve a hacer cola para la
retransmisión.
5. Después del recibo exitoso del paquete, el nodo receptor envía un paquete de
respuesta. El paquete de respuesta contendrá una de las respuestas siguientes:
• He realizado exitosamente su solicitud de escritura.
• He realizado exitosamente su solicitud de lectura y le presento aquí los
datos.
• No he realizado su solicitud; tiene un error.
Al próximo final de escán o SVC, después de la respuesta del nodo receptor, el
procesador SLC 5/02 examina el paquete DH-485 del dispositivo receptor. Si la
respuesta contiene “He realizado exitosamente su solicitud de escritura”, el bit
DN se establece y el bit ST se pone a cero. La función de la instrucción MSG
ha sido completada. Si el renglón MSG es falso, el bit EN se pone a cero la
próxima vez que la instrucción MSG es escaneada.
Si la respuesta contiene “He realizado exitosamente su solicitud de lectura y le
presento aquí los datos”, los datos se escriben a la tabla de datos, el bit DN se
establece y el bit ST se pone a cero. La función de la instrucción MSG ha sido
completada. Si el renglón MSG es falso, el bit EN se pone a cero la próxima
vez que la instrucción MSG es escaneada.
Si la respuesta contiene “No he realizado su solicitud; tiene un error”, el bit ER
se establece y el bit ST se pone a cero. La función de la instrucción MSG ha
sido completada. Si el renglón MSG es falso, el bit EN se pone a cero la
próxima vez que la instrucción MSG es escaneada.
Instrucciones de comunicación
8–29
Los cuatro búferes son compartidos entre el canal 0 y el canal 1 para los
procesadores SLC 5/03 OS300. Para los procesadores SLC 5/03 OS301, OS302 y
SLC 5/04 OS400, OS401, hay cuatro búferes MSG por canal. Cada canal tiene su
propia cola MSG de diez posiciones. El procesador SLC 5/03 ó SLC 5/04 descarga
las dos colas MSG en los búferes MSG equitativamente al final de escán o SVC.
Esto permite que ambos canales tengan el mismo acceso a las comunicaciones. Si
usted programa una instrucción SVC que es configurada para dar servicio solamente
a un canal, entonces dicho canal tendrá su cola MSG descargada en los búferes
MSG (hasta el próximo final de escán o SVC cuando ambos canales se volverán a
descargar equitativamente).
Preface
Manual de referencia del juego de instrucciones
8–30
Códigos de error de la instrucción MSG
Cuando una condición de error ocurre, el código de error y su descripción se indican
en la pantalla.
Código de
error
Descripción de la condición de error
02H
El nodo receptor está ocupado. La instrucción MSG se volverá a cargar
automáticamente. Si hay otros mensajes que esperan, el mensaje se coloca en la
parte inferior de la pila.
03H El nodo receptor no puede responder porque el mensaje es demasiado grande.
04H
El nodo receptor no puede responder porque no entiende los parámetros de
comando O BIEN es posible que el bloque de control haya sido modificado
inadvertidamente.
05H El procesador local está fuera de línea (posible situación de nodo duplicado).
06H El nodo receptor no puede responder porque la función solicitada no está disponible.
07H El nodo receptor no responde.
08H El nodo receptor no puede responder.
09H La conexión del módem local ha sido perdida.
0AH El búfer no está disponible para recibir la respuesta SRD.
OBH El nodo receptor no acepta este tipo de instrucción MSG.
0CH
Recibió un restablecimiento del vínculo principal (una fuente posible es del maestro
DF1).
10H
El nodo receptor no puede responder a causa de parámetros de comando
incorrectos o comando sin capacidad.
11H El archivo local tiene protección de archivo constante.
12H Un error del protocolo de configuración de canal local existe.
13H Error de configuración MSG local en los parámetros MSG remotos.
14H El variador de comunicación local no es compatible con la instrucción MSG.
15H Un error del parámetro de configuración de canal local existe.
16H
La dirección receptora o del puente local es mayor que la dirección máxima de
nodo.
17H El servicio local no es compatible.
18H La difusión (dirección de nodo 255) no es compatible.
37H El mensaje sobrepasó el límite de tiempo en un procesador local.
38H El mensaje inhabilitó la respuesta del vínculo pendiente.
50H El nodo receptor agotó su memoria.
60H El nodo receptor no puede responder porque el archivo está protegido.
E7H
El nodo receptor no puede responder porque la longitud solicitada es demasiado
larga.
EBH El nodo receptor no puede responder porque el nodo receptor ha negado el acceso.
Instrucciones de comunicación
8–31
Código de
error
Descripción de la condición de error

                  
 
                 

               
    !     

               
    !      
             
Nota Para los usuarios del juego de protocolo y comando 177-6.5.16 DH, DH+,
DH-485:
El código de error MSG representa el campo STS de la respuesta a su instrucción
MSG. Los códigos E0 – EF representan los códigos EXT STS 0 – F. Los códigos
F0 – FC representan los códigos EXT STS 10 – 1C.
Manual de referencia del juego de instrucciones
8–32
Ejemplos de configuraciones usando la instrucción de
mensaje
La instrucción siguiente proporciona ejemplos para enviar comandos entre los
dispositivos compatibles con DH-485 y DF1 de dúplex completo y los dispositivos
compatibles con DH+.
Esta sección proporciona una variedad de ejemplos de aplicación usando la
instrucción MSG.
• Lógica de escalera usando:
– la operación continua de la instrucción de mensaje
– la instrucción de mensaje de regeneración automática
– el bit de límite de tiempo sobrepasado para inhabilitar una instrucción
de mensaje activa
– la transmisión en serie
• Mensajes locales vía:
– la lectura local de un 500CPU
– la lectura local de un 485CIF
– la lectura local de un PLC-5
• Mensajes remotos usando:
– un sólo módulo de interface de comunicación 1785-KA5
– dos módulos de comunicación 1785-KA
– los procesadores SLC con transferencia al canal 0
– un integrador de pirámide
– dos módulos de interface de comunicación 1785-KA5
– “saltos” múltiples usando dos módulos de interface de comunicación
1785-KA5
Instrucciones de comunicación
8–33
Uso de la lógica de escalera
Ejemplo 1
Hay dos métodos para configurar una instrucción de mensaje que lee o escribe datos
hacia/desde su nodo receptor de manera continua. El método más indicado y más
eficiente es establecer el bit continuo (CO) de la instrucción de mensaje. Con este
bit establecido, el mensaje reside permanentemente en uno de los cuatro búferes de
mensaje del procesador SLC 5/03 ó SLC 5/04 y solicita/envía datos al nodo receptor
continuamente. La única restricción de este método es que usted puede tener
solamente hasta cuatro instrucciones de mensajes continuamente configuradas. Si
tiene instrucciones de mensaje configuradas de esta manera, otras instrucciones de
mensaje en su programa de escalera tomarán más tiempo para completarse porque
en efecto ha reducido el número de búferes de mensaje disponibles.
El segundo método se llama una instrucción de mensaje de regeneración automática.
El efecto es semejante al establecer el bit continuo (CO) donde la instrucción de
mensaje lee o escribe datos hacia/desde su nodo receptor de manera continua. Sin
embargo, en vez de residir permanentemente en un búfer de mensaje, el mensaje de
regeneración automática se elimina de su búfer de mensaje. Este método es muy
útil si tiene más de cuatro mensajes que necesita operar continuamente o si desea
que estos mensajes configurados continuamente compartan espacio de búfer con
otras instrucciones de mensaje en su programa. Aunque este método tiene el mismo
efecto que el establecimiento del bit CO, anote que será más lento que un mensaje
continuo verdadero (con el bit CO establecido).
N7:0
––]/[–––
10
À

Manual de referencia del juego de instrucciones
8–34
El ejemplo de aplicación 1 muestra cómo puede implementar la operación continua
de una instrucción de mensaje. Este ejemplo usa un valor del límite de tiempo
sobrepasado de mensaje interno que no sea cero.
Renglón 2:0
Esta es la manera correcta de programar un mensaje continuo en un procesador
5/03 ó 5/04. Este mensaje residirá permanentemente en uno de los 4 búferes de
transmisión de mensaje. Puede activar o desactivar el mensaje continuo
estableciendo/restableciendo B3/0. Sin embargo, debe desenclavar el bit de
HABILITACION de mensaje cada vez que active el bit de MENSAJE CONTINUO – esto
permite que la instrucción se vuelva a cargar en un búfer de mensaje.
| +MSG––––––––––––––––––––+ |
|–––––––––––––––––––––––––––––––––––––––––––––––+READ/WRITE MESSAGE +–(EN)–|
| |Type PEER–TO–PEER+–(DN) |
| |Read/Write READ+–(ER) |
| |Target Device 500CPU| |
| |Local/Remote LOCAL| |
| |Control Block N7:0| |
| |Control Block Length 14| |
| +–––––––––––––––––––––––+ |
Renglón 2:1
| Bit |
| MSG |
| continuo |
| B3 N7:0 |
|––] [––––––––––––––––––––––––––––––––––––––––––––––––+––––––––––––( )–––––+–|
| 0 | 11 | |
| | Bit MSG | |
| | continuo | |
| | B3 N7:0 | |
| |––[OSR]–––––(U)–––––+ |
| | 1 | 15 |
| | | |
| | N7:0 | |
| +––] [ –––| |
| 8 |
Renglón 2:2
| |
|–––––––––––––––––––––––––––––––––––––+END+––––––––––––––––––––––––––––––––––––|
| |
À
N7:0
––]/[–––
10
À
Instrucciones de comunicación
8–35
Ejemplo 2
Este ejemplo muestra dos instrucciones de mensaje configuradas para funcionar
continuamente por el método de regeneración automática. Este ejemplo usa un
valor del límite de tiempo sobrepasado de mensaje interno distinto de cero.
Renglón 2:0
Este es otro método para programa un mensaje que lee o escribe su destino de
manera continua. Denominamos este método un método de regeneración automática
porque en vez de usar el bit CONTINUO (CO), volvemos a iniciar el mensaje
manualmente cuando los bits de EFECTUADO o ERROR se establecen. Use este método
si tiene más de 4 mensajes que necesite operar a la vez de manera continua.
| Bit activado/ Mensaje 1 |
| desactivado de mensaje 1 |
| B3 +MSG––––––––––––––––––––+ |
|––––] [––––––––––––––––––––––––––––––––––––––––+READ/WRITE MESSAGE +–(EN)–|
| 0 |Type PEER–TO–PEER+–(DN) |
| |Read/Write READ+–(ER) |
| |Target Device 500CPU| |
| |Local/Remote LOCAL| |
| |Control Block N7:0| |
| |Control Block Length 14| |
| +–––––––––––––––––––––––+ |
Renglón 2:1
| Bit de EFECTUADO Bit de HABILITACION |
| de mensaje 1 de mensaje 1 |
| N7:0 N7:0 |
|–+––––] [–––––+–––––––––––––––––––––––––––––––––––––––––––––––––––––(U)–––––|
| | 13 | 15 |
| | Bit ERROR | |
| | mensaje 1 | |
| | N7:0 | |
| +––––] [–––––+ |
| 12 |
Renglón 2:2
| Bit activado/ Mensaje 2 |
| desactivado de mensaje 2 |
| B3 +MSG––––––––––––––––––––+ |
|––––] [––––––––––––––––––––––––––––––––––––––––+READ/WRITE MESSAGE +–(EN)–|
| 1 |Type PEER–TO–PEER+–(DN) |
| |Read/Write READ+–(ER) |
| |Target Device 500CPU| |
| |Local/Remote LOCAL| |
| |Control Block N7:40| |
| |Control Block Length 14| |
| +–––––––––––––––––––––––+ |
N7:40
––]/[–––
10
À

Manual de referencia del juego de instrucciones
8–36
Renglón 2:3
| Bit de EFECTUADO Bit de HABILITACION |
| de mensaje 2 de mensaje 2 |
| N7:40 N7:40 |
|–+––––] [–––––+–––––––––––––––––––––––––––––––––––––––––––––––––––––(U)–––––|
| | 13 | 15 |
| | Bit ERROR | |
| | mensaje 2 | |
| | N7:40 | |
| +––––] [–––––+ |
| 12 |
Renglón 2:4
| |
|–––––––––––––––––––––––––––––––––––––+END+––––––––––––––––––––––––––––––––––––|
| |
À
N7:0
––]/[–––
10
À
Instrucciones de comunicación
8–37
Ejemplo 3
El ejemplo de aplicación 3 le muestra cómo usar el bit de límite de tiempo
sobrepasado para inhabilitar una instrucción de mensaje activa. En este ejemplo,
una salida se activa después de cinco intentos sin éxito (de 2 segundos de duración)
de transmitir un mensaje. Este ejemplo usa un valor del límite de tiempo
sobrepasado de mensaje interno distinto de cero.
Renglón 2:0
En el programa, una vez establecido B3/1, la instrucción de mensaje intenta 5
veces completarse exitosamente. Si se completa en menos de 5 intentos,
desenclavará B3/1. Si, después de 5 intentos, el mensaje todavía no se ha
completado, una salida se activa y B3/1 se desenclava. Para volver a intentar
este mensaje, sólo establezca B3/1 a 1.
| Bit de |
| disparo MSG |
| del usuario |
| B3 +MSG––––––––––––––––––––+ |
|––––] [–––––––––––––––+––––––––––––––––––––––+READ/WRITE MESSAGE +–(EN)–+–|
| 1 | |Type PEER–TO–PEER+–(DN) | |
| | |Read/Write READ+–(ER) | |
| | |Target Device 500CPU| | |
| | |Local/Remote LOCAL| | |
| | |Control Block N7:0| | |
| | |Control Block Length 14| | |
| | +–––––––––––––––––––––––+ | |
| | B3 C5:0 | |
| +––[OSR]––+––(RES)–––––+––––––––––––––––––––––––––––––+ |
| 0 | | |
| | El mensaje | |
| | no se | |
| | completó | |
| | O:3 | |
| +––––(U)–––––+ |
| 0 |
Renglón 2:1
| Bit de ERROR |
| de mensaje |
| N7:0 +CTU–––––––––––––––+ |
|––––] [–––––––––––––––––––––––––––––––––––––––+–+COUNT UP +–(CU)–+–|
| 12 | |Counter C5:0+–(DN) | |
| | |Preset 5| | |
| | |Accum 5| | |
| | +––––––––––––––––––+ | |
| | Bit de HABILITACION | |
| | de mensaje | |
| | N7:0 | |
| +––––(U)––––––––––––––––––––+ |
| 15 |
Manual de referencia del juego de instrucciones
8–38
Renglón 2:2
| El mensaje |
| no se |
| completó |
| C5:0 O:3 |
|––] [––––––––––––––––––––––––––––––––––––––––––––––––––––––––––+––––(L)–––––+–|
| DN | 0 | |
| | Bit de | |
| | disparo MSG| |
| | del usuario| |
| | B3 | |
| +––––(U)–––––+ |
| 1 |
Renglón 2:3
| Bit de | Bit de |
| EFECTUADO | disparo MSG |
| de mensaje| del usuario |
| N7:0 B3 |
|––––] [–––––––––––––––––––––––––––––––––––––––––––––––––––––––––––––––(U)–––––|
| 13 1 |
Renglón 2:4
| |
|–––––––––––––––––––––––––––––––––––––+END+––––––––––––––––––––––––––––––––––––|
| |
À
N7:0
––]/[–––
10
À
Instrucciones de comunicación
8–39
Ejemplo 4
El ejemplo de aplicación 4 le muestra cómo vincular las instrucciones de mensaje
para transmitir en serie, una tras otra. En este ejemplo, una escritura MSG es
seguida por una lectura MSG, lo que provoca la transmisión en serie. Este ejemplo
usa un valor del límite de tiempo sobrepasado de mensaje interno distinto de cero.
Renglón 2:0
Este programa demuestra cómo encadenar las instrucciones de mensaje, es decir,
habilitar un segundo mensaje una vez completado con éxito el primero. Este
ejemplo intenta continuamente escribir datos a un nodo de red y luego leer dados
de un nodo de red.
Este renglón habilita que el mensaje de ESCRITURA inicie cuando vaya de PROGRAMA
a EJECUCION.
| Bit de | Bit de HABILITACION |
| primer paso | de escritura de mens.|
| S:1 N7:0 |
|––––] [–––––––––––––––––––––––––––––––––––––––––––––––––––––––––––––––(U)–––––|
| 15 15 |
Renglón 2:1
| +MSG––––––––––––––––––––+ |
|–––––––––––––––––––––––––––––––––––––––––––––––+READ/WRITE MESSAGE +–(EN)–|
| |Type PEER–TO–PEER+–(DN) |
| |Read/Write WRITE+–(ER) |
| |Target Device 500CPU| |
| |Local/Remote LOCAL| |
| |Control Block N7:0| |
| |Control Block Length 14| |
| +–––––––––––––––––––––––+ |
Renglón 2:2
Si el mensaje de ESCRITURA tiene error, siga ensayando el mensaje de ESCRITURA
hasta que se complete con éxito. No ensaye el mensaje de LECTURA hasta que haya
una ESCRITURA exitosa.
| Bit ERROR | Bit de HABILITACION |
| escr. mens. | de escritura de mens.|
| N7:0 N7:0 |
|––––] [–––––––––––––––––––––––––––––––––––––––––––––––––––––––––––––––(U)–––––|
| 12 15 |
Renglón 2:3
Una vez completado con éxito el mensaje de ESCRITURA, habilite el mensaje de
LECTURA.
| Bit de EFECTUADO |
| de escritura de mensaje |
| N7:0 +MSG––––––––––––––––––––+ |
|––––] [––––––––––––––––––––––––––––––––––––––––+READ/WRITE MESSAGE +–(EN)–|
| 13 |Type PEER–TO–PEER+–(DN) |
| |Read/Write READ+–(ER) |
| |Target Device 500CPU| |
| |Local/Remote LOCAL| |
| |Control Block N7:20| |
| |Control Block Length 14| |
| +–––––––––––––––––––––––+ |
N7:20
––]/[–––
10
À
N7:20
––]/[–––
10
À

Manual de referencia del juego de instrucciones
8–40
Renglón 2:4
Si el mensaje de LECTURA tiene error, siga ensayando el mensaje de LECTURA hasta
que se haya completado con éxito. No vuelva a ensayar la ESCRITURA hasta que
haya una LECTURA exitosa.
| Bit ERROR | Bit de HABILITACION |
| lec. mens.| de lectura de mensaje |
| N7:20 N7:20 |
|––––] [–––––––––––––––––––––––––––––––––––––––––––––––––––––––––––––(U)–––––|
| 12 15 |
Renglón 2:5
Una vez que los mensajes de ESCRITURA y LECTURA se hayan completado
exitosamente, vuelva a iniciar la secuencia de mensaje desenclavando el bit de
habilitación del mensaje de ESCRITURA.
| Bit EFEC. |Bit EFEC. | Bit de HABILITACION |
| lec. mens.|esc. mens.| de escritura de mensaje |
| N7:20 N7:0 N7:0 |
|––––] [––––––––] [––––––––––––––––––––––––––––––––––––––––––––––––––(U)–––––|
| 13 13 15 |
Renglón 2:6
| |
|–––––––––––––––––––––––––––––––––––––+END+––––––––––––––––––––––––––––––––––––|
| |
À
Instrucciones de comunicación
8–41
Uso de mensajes locales
Ejemplo 1 – Lectura local de un 500CPU
Type: Peer–to–Peer
Read/Write: READ ignore if timed out: 0 TO
Target Device: 500CPU to be retried: 0 NR
Local/Remote: Local awaiting execution: 0 EW
Control Block: N10:0 continuous run: 0 CO
Channel: 1 error: 0 ER
Target Node (decimal): 2 message done: 0 DN
message transmitting: 0 ST
message enabled: 0 EN
Destination File Addr: N7:0 waiting for queue space: 0 WQ
Target Source File Address: N7:50
Message Length In Elements: 10
Message Timeout (seconds): 5
ERROR CODE: 0 control bit address: N10:0/8
Error Code Desc:
En la pantalla anterior, el procesador SLC 5/03 ó SLC 5/04 lee 10 elementos del
archivo N7 del nodo receptor, a partir de la palabra N7:50. Las 10 palabras se
colocan en su archivo de entero a partir de la palabra N7:0. Si pasan cinco segundos
sin respuesta, el bit de error N10:0/12 se establece, lo que indica que la instrucción
ha sobrepasado el límite de tiempo. El dispositivo en el nodo 2 entiende el
protocolo de la familia del procesador SLC 500 (SLC 500, SLC 5/01, SLC 5/02,
SLC 5/03 y SLC 5/04).
Tecla de función Descripción
* * -!!+/*-
.+!%% !' )7(!-* ! )* * !' +-*!. *- ,0! -!%! !' (!).! '
-)#* 14'% * !.  .+!%% ' %-!%6)  
- 0) '!/0-  !./%)* 5./ !. ' %-!%6) !) !' +-*!. *- %)%% *-
,0! 1  -!%%- '*. /*.
%-!%6) ! -$%1* - 0) !.-%/0- 0!)/! 5./ !. ' %-!%6) !' +-*!. *- %)%% *-
,0! 1 !)1%- '*. /*.
*. /%+*. ! -$%1* 14'% *. .*)             3 
- 0) '!/0- 0!)/! 5./ !. ' %-!%6) !) !' +-*!. *- -!!+/*-
,0! 1  !)1%- '*. /*.
%-!%6) -!!+/*- - 0) !.-%/0-  !./%)* 5./ !. ' %-!%6) !' +-*!. *- -!!+/*-
,0! 1  -!%%- '*. /*.
*. /%+*. ! -$%1* 14'% *. .*)             3 
*)#%/0 ! (!).!
!%)! ' '*)#%/0 !' (!).! !) !'!(!)/*. *. !'!(!)/*. ! 0)
+'- .! '%(%/)  0) '*)#%/0 (42%( !  *. !'!(!)/*. !
/-!. +'-. .! '%(%/)  0) '*)#%/0 (42%( !
Preface
Manual de referencia del juego de instrucciones
8–42
Tecla de función Descripción
Límite de tiempo
sobrepasado del
mensaje
Define la longitud del temporizador de mensaje en segundos. Un límite
de tiempo sobrepasado de 0 segundos significa que no hay temporizador
y que el mensaje esperará indefinidamente una respuesta. El rango
válido es 0Ć255 segundos.
Canal
Identifica el canal físico usado para la comunicación de mensaje.
Canales disponibles:
SLC 5/03 - (0, RS-232) o (1, DH-485)
SLC 5/04 - (0, RS-232) o (1, DH+)
Ejemplo 2 – Lectura local de un 485CIF
Type: Peer–to–Peer
Read/Write: READ ignore if timed out: 0 TO
Target Device: 485CIF to be retried: 0 NR
Local/Remote: Local awaiting execution: 0 EW
Control Block: N10:0 continuous run: 0 CO
Channel: 1 error: 0 ER
Target Node (decimal): 2 message done: 0 DN
message transmitting: 0 ST
message enabled: 0 EN
Destination File Addr: N7:0 waiting for queue space: 0 WQ
Target Offset: 20
Message Length In Elements: 5
Message Timeout (seconds): 15
ERROR CODE: 0 control bit address: N10:0/8
Error Code Desc:
En la ilustración anterior, los procesadores SLC 5/03 ó SLC 5/04 leen cinco
elementos (palabras) del archivo CIF del nodo receptor, a partir de la palabra 20 (o
byte 20 para los dispositivos que no sean SLC 500). Los cinco elementos se
colocan en su archivo de enteros a partir de palabra N7:0. Si 15 segundos pasan sin
respuesta, el bit de error N10:0/12 se establece, lo que indica que la instrucción ha
sobrepasado el límite de tiempo. El dispositivo en el nodo 2 entiende el protocolo
485CIF (emulación de PLC-2).
Tecla de función Descripción
Nodo receptor
Especifica el número de nodo del procesador que recibe el mensaje. El
rango válildo es 0Ć31.
Para una lectura (destino), ésta es la dirección en el procesador iniciador
que va a recibir los datos.
Dirección de archivo Para una escritura (fuente), ésta es la dirección en el procesador
iniciador que va a enviar los datos.
Los tipos de archivo válidos son: S, B, T, C, R, N, I, O, M0, M1, F, ST y A
Offset receptor
Para una lectura o escritura, éste es el valor offset de palabra en el
archivo de interface común (offset de byte para dispositivos distintos de
SLC).
Instrucciones de comunicación
8–43
Tecla de función Descripción
Longitud de mensaje
Cuando usa una instrucción de mensaje 485CIF, la longitud de mensaje
es el número de palabras de 16 bits. Puede especificar 1 a 103
elementos (palabras de información).
Límite de tiempo
sobrepasado del
mensaje
Define la longitud del temporizador de mensaje en segundos. Un límite
de tiempo sobrepasado de 0 segundos significa que no hay temporizador
y que el mensaje esperará indefinidamente una respuesta. El rango
válido es 0Ć255 segundos.
Canal
Identifica el canal físico usado para la comunicación de mensaje.
Canales disponibles:
SLC 5/03 - (0, RS-232) o (1, DH-485)
SLC 5/04 - (0, RS-232) o (1, DH+)
Ejemplo 3 – Lectura local de un PLC-5
Type: Peer–to–Peer
Read/Write: READ ignore if timed out: 0 TO
Target Device: PLC5 to be retried: 0 NR
Local/Remote: Local awaiting execution: 0 EW
Control Block: N10:0 continuous run: 0 CO
Channel: 1 error: 0 ER
Target Node (decimal): 2 message done: 0 DN
message transmitting: 0 ST
message enabled: 0 EN
Destination File Addr: N7:0 waiting for queue space: 0 WQ
Target Src/Dst File Address: N7:50
Message Length In Elements: 10
Message Timeout (seconds): 5
ERROR CODE: 0 control bit address: N10:0/8
Error Code Desc:
En la ilustración anterior, el procesador SLC 5/03 ó SLC 5/04 lee 10 elementos del
archivo N7 del nodo receptor 2 a partir de la palabra N7:50. Las 10 palabras se
colocan en su archivo de entero a partir de la palabra N7:0. Si cinco segundos pasan
sin respuestas, el bit de error N10:0/12 se establece, lo que indica que la instrucción
ha sobrepasado el límite de tiempo. El dispositivo en el nodo 2 entiende el
protocolo del procesador PLC-5.
Tecla de función Descripción
Nodo receptor
Especifica el número de nodo del procesador que recibe el mensaje. El
rango válildo es 0Ć31. (Especifica la dirección DHĆ485.)
Para una lectura (destino), ésta es la dirección en el procesador iniciador
que va a recibir los datos.
Dirección de archivo Para una escritura (fuente), ésta es la dirección en el procesador
iniciador que va a enviar los datos.
Los tipos de archivo válidos son: S, B, T, C, R, N, I, O, F, ST y A.
Preface
Manual de referencia del juego de instrucciones
8–44
Tecla de función Descripción
Para una lectura (fuente), ésta es la dirección en el procesador receptor
que va a enviar los datos.
Dirección receptora Para una escritura (destino), ésta es la dirección en el procesador
receptor que va a recibir los datos.
Los tipos de archivo válidos son: S, B, T, C, R, N, I, O, F, ST y A.
Longitud de mensaje
Define la longitud del mensaje en elementos. Los elementos de una
palabra se limitan a una longitud máxima de 1-103. Los elementos de
tres palabras se limitan a una longitud máxima de 1-37.
Límite de tiempo
sobrepasado del
mensaje
Define la longitud del temporizador de mensaje en segundos. Un límite
de tiempo sobrepasado de 0 segundos significa que no hay temporizador
y que el mensaje esperará indefinidamente una respuesta. El rango
válido es 0Ć255 segundos.
Canal
Identifica el canal físico usado para la comunicación de mensaje.
Canales disponibles:
SLC 5/03 - (0, RS-232) o (1, DH-485)
SLC 5/04 - (0, RS-232) o (1, DH+)
Instrucciones de comunicación
8–45
Uso de mensajes remotos
Ejemplo 1 – Comunicación con procesadores A–B usando un 1785-KA5
   ' %. ,$'
 
'+)'$ ') %' ,$) !
  
'+)'$ ') %' ,$) !
  
 !+###. ! )! 
  , #'
+
 !+###. ! )!  
 , #'
/ 
' ' 
'+
' '
'+
 ' '
'+
' '
#*('*#+#-' 
#*('*#+#-' 
#*('*#+#-' 
 !+###. ! )! 
  , #'
+
' '  / 
Procesador SLC 5/04 (A) a procesador SLC 5/03 (C) vía 1785-KA5
Type: Peer–to–Peer
Read/Write: Read
Target Device: 500 CPU
Local/Remote: Remote
Control Block: user specified
Channel: 1
Target Node (decimal): 2
Remote Bridge Link Id dec: 1
Remote Bridge Node Address dec: 0
Local Bridge Node Address dec: 6
Destination/Source File Addr: user specified
Target Src/Dst File Address: user specified
Message Length In Elements: 11
Message Timeout (seconds): 5
Comentarios
El canal se establece a 1 ya que el comando original es iniciado por un procesador
SLC 5/04 en la red DH+ (identificación de red 2).
El nodo receptor es el procesador SLC 5/03 a dirección de nodo 2.
La identificación de red del puente remoto es la identificación de red de la red
remota DH-485 con el procesador SLC 5/03 (identificación de red 1).
Manual de referencia del juego de instrucciones
8–46
La dirección de nodo del puente remoto se establece a 0 (no usado) porque la
comunicación es de un dispositivo con capacidades de Internet a otro dispositivo
con capacidades de Internet.
La dirección de nodo del puente local se establece a 6 porque esta es la dirección
de nodo de la red DH+ usada por el módulo de interface de comunicación
1785-KA5.
Procesador SLC 5/03 (C) a procesador SLC 5/04 (A) vía 1785-KA5
Type: Peer–to–Peer
Read/Write: Read
Target Device: 500 CPU
Local/Remote: Remote
Control Block: user specified
Channel: 1
Target Node (decimal): 1
Remote Bridge Link Id dec: 1
Remote Bridge Node Address dec: 0
Local Bridge Node Address dec: 7
Destination/Source File Addr: user specified
Target Src/Dst File Address: user specified
Message Length In Elements: 11
Message Timeout (seconds): 5
Comentarios
El canal se establece a 1 ya que el comando original es iniciado por un procesador
SLC 5/03 en la red DH-485 (identificación de red 1).
El nodo receptor es el procesador SLC 5/04 en la dirección de nodo 1.
La identificación de vínculo del puente remoto es el vínculo con el procesador
SLC 5/04 (identificación de red 2).
La dirección de nodo del puente remoto se establece a 0 (no usado) porque la
comunicación es de un dispositivo con capacidades de Internet a otro dispositivo
con capacidades de Internet.
La dirección de nodo del puente local se establece a 7 porque ésta es la dirección
de nodo de la red DH-485 usada por el módulo de interface de comunicación
1785-KA5.
Instrucciones de comunicación
8–47
Procesador SLC 5/03 (C) a un PLC-5 (B) vía 1785-KA5
Type: Peer–to–Peer
Read/Write: Write
Target Device: PLC5
Local/Remote: Remote
Control Block: user specified
Channel: 1
Target Node (decimal): 3
Remote Bridge Link Id dec: 2
Remote Bridge Node Address dec: 0
Local Bridge Node Address dec: 7
Destination/Source File Addr: user specified
Target Src/Dst File Address: user specified
Message Length In Elements: 11
Message Timeout (seconds): 5
Comentarios
El canal se establece a 1 ya que el comando original es iniciado por un procesador
SLC 5/03 en la red DH-485 (identificación de red 1).
El nodo receptor es el procesador PLC-5 a dirección de nodo 3.
La identificación de vínculo del puente remoto es el vínculo con el procesador
PLC–5 (identificación de red 2).
La dirección de nodo del puente remoto se establece a 0 (no usado) porque la
comunicación es de un dispositivo con capacidades de Internet a otro dispositivo
con capacidades de Internet.
La dirección de nodo del puente local se establece a 7 porque ésta es la dirección
de nodo de la red DH-485 usada por el módulo de interface de comunicación
1785-KA5.
Manual de referencia del juego de instrucciones
8–48
Ejemplo 2 – Comunicación con procesadores A–B usando dos 1785-KA
   $# -)!$
  
$#($!$ $)! 
  
 ) $
+
 ) $
$#($!$ $)! 
  
+
$$ 
$(
$$
$(
$$ 
$(
   $# -)!$
  
$$ 
  
$$ 
  .
(  +,
$$
$(
 '%$' ( *$ 
 '%$' ( *$ 
 '%$' ( *$ 
Procesador SLC 5/04 (B) a procesador PLC5 (C) vía dos 1785-KA
Type: Peer–to–Peer
Read/Write: Write
Target Device: PLC5
Local/Remote: Remote
Control Block: user specified
Channel: 1
Target Node (decimal): 0
Remote Bridge Link Id dec: 0
Remote Bridge Node Address dec: 131
Local Bridge Node Address dec: 8
Destination/Source File Addr: user specified
Target Src/Dst File Address: user specified
Message Length In Elements: 10
Message Timeout (seconds): 0
Comentarios
El canal se establece a 1 porque el comando original es iniciado por un procesador
SLC 5/04 en la red DH+.
El nodo receptor es el procesador PLC-5 a dirección de nodo 0. (En realidad, esta
es la dirección de nodo 3, pero la dirección de nodo se establece a 0 porque la
dirección de nodo del puente remoto maneja la estructura de direccionamiento.)
La identificación de vínculo del puente remoto siempre se establece a 0 cuando se
usa esta estructura de direccionamiento.
Instrucciones de comunicación
8–49
La dirección de nodo del puente remoto se establece a 131. La dirección de nodo
del puente remoto consiste en el dígito más significativo (octal) del 1785-KA (220)
remoto más la dirección del nodo receptor. Por ejemplo, 200 + 3 = 203 octales (131
decimal).
La dirección de nodo del puente local se establece a 8 porque esta es la
equivalente decimal del segundo dígito menos significante de la dirección 1785-KA
(10 octal).
Procesador SLC 5/04 (B) a procesador SLC 5/04 (A) vía dos 1785-KA
Type: Peer–to–Peer
Read/Write: Write
Target Device: 500 CPU
Local/Remote: Remote
Control Block: user specified
Channel: 1
Target Node (decimal): 0
Remote Bridge Link Id dec: 0
Remote Bridge Node Address dec: 146
Local Bridge Node Address dec: 8
Destination/Source File Addr: user specified
Target Src/Dst File Address: user specified
Message Length In Elements: 10
Message Timeout (seconds): 0
Comentarios
El canal se establece a 1 porque el comando original es iniciado por un procesador
SLC 5/04 en la red DH+.
El nodo receptor es el procesador SLC 5/04 en la dirección de nodo 0. (En
realidad, esta es dirección de nodo 22, pero la dirección de nodo se establece a 0
porque la dirección de nodo del puente remoto maneja la estructura de
direccionamiento.)
La identificación de vínculo del puente remoto siempre se establece a 0 cuando se
usa esta estructura de direccionamiento.
La dirección de nodo del puente remoto se establece a 146. La dirección de nodo
del puente remoto consiste en el dígito más significante (octal) del 1785-KA remoto
más la dirección del nodo receptor. Por ejemplo, 200 + 22 = 222 octal (146
decimal).
La dirección de nodo del puente local se establece a 8 porque esta es la
equivalente decimal del segundo dígito menos significativo de la dirección
1785-KA (10 octal).
Manual de referencia del juego de instrucciones
8–50
Ejemplo 3 – Transferencia vía canal 0 DH-485 del procesador SLC 5/04
  
(',*(%!(* (!-%* !
  
(',*(%!(* (!-%* !
  
!',$#$  $/' ! *! 
  -!$(
+
!',$#$  $/'
! *!  
 -!$(
0 
(',*(%!(* (!-%* !
  
(!(
( ,
(!( 
( ,
('.*,$!(* !
$','*#   0
 (!(
( ,
(!(
( ,
0 
(!( 
0
$+)(+$,$.( 
$+)(+$,$.( 
$+)(+$,$.( 
$+)(+$,$.( 
Procesador SLC 5/04 (A) a procesador SLC 5/03 (D) vía un procesador SLC 5/04 (C)
(transferencia usando canal 0 DH-485)
Type: Peer–to–Peer
Read/Write: Read
Target Device: 500 CPU
Local/Remote: Remote
Control Block: user specified
Channel: 1
Target Node (decimal): 2
Remote Bridge Link Id dec: 1
Remote Bridge Node Address dec: 0
Local Bridge Node Address dec: 2
Destination/Source File Addr: user specified
Target Src/Dst File Address: user specified
Message Length In Elements: 10
Message Timeout (seconds): 5
Comentarios
El canal se establece a 1 porque el comando original es iniciado por un procesador
SLC 5/04 en la red DH+.
El nodo receptor es el procesador SLC 5/03 en la dirección de nodo 2.
La identificación de vínculo del puente remoto es el vínculo con el procesador
SLC 5/04 (canal 0, identificación de red 1).
La dirección de nodo del puente remoto se establece a 0 (no usado) porque la
comunicación es de un dispositivo con capacidades de Internet a otro dispositivo
con capacidades de Internet.
La dirección de nodo del puente local se establece a 2 porque esta es la dirección
de nodo DH+.
Instrucciones de comunicación
8–51
Procesador SLC 5/03 (D) a procesador SLC 5/04 (A) vía un procesador SLC 5/04 (C)
(transferencia usando canal 0 DH-485)
Type: Peer–to–Peer
Read/Write: Read
Target Device: 500 CPU
Local/Remote: Remote
Control Block: user specified
Channel: 1
Target Node (decimal): 3
Remote Bridge Link Id dec: 2
Remote Bridge Node Address dec: 0
Local Bridge Node Address dec: 1
Destination/Source File Addr: user specified
Target Src/Dst File Address: user specified
Message Length In Elements: 10
Message Timeout (seconds): 5
Comentarios
El canal se establece a 1 porque el comando original es iniciado por un procesador
SLC 5/03 en la red DH-485.
El nodo receptor es el procesador SLC 5/04 en la dirección de nodo 1.
La identificación de vínculo del puente remoto es el vínculo con el procesador
SLC 5/04 (canal 1, identificación de red 2).
La dirección de nodo del puente remoto se establece a 0 (no usado) porque la
comunicación es de un dispositivo con capacidades de Internet a otro dispositivo
con capacidades de Internet.
La dirección de nodo del puente local se establece a 1 porque ésta es la dirección
de nodo DH-485.
Manual de referencia del juego de instrucciones
8–52
Procesador SLC 5/03 (D) a PLC-5 (B) vía un procesador SLC 5/04
(transferencia usando canal 0 DH-485)
Type: Peer–to–Peer
Read/Write: Write
Target Device: PLC5
Local/Remote: Remote
Control Block: user specified
Channel: 1
Target Node (decimal): 3
Remote Bridge Link Id dec: 2
Remote Bridge Node Address dec: 0
Local Bridge Node Address dec: 1
Destination/Source File Addr: user specified
Target Src/Dst File Address: user specified
Message Length In Elements: 10
Message Timeout (seconds): 5
Comentarios
El canal se establece a 1 porque el comando original es iniciado por un procesador
SLC 5/03 en la red DH-485.
El nodo receptor es el procesador PLC-5 en la dirección de nodo 3.
La identificación de vínculo del puente remoto es el vínculo con el procesador
SLC 5/04 (canal 1, identificación de red 2).
La dirección de nodo del puente remoto se establece a 0 (no usado) porque la
comunicación es de un dispositivo con capacidades de Internet a otro dispositivo
con capacidades de Internet.
La dirección de nodo del puente local se establece a 1 porque ésta es la dirección
de nodo DH-485.
Instrucciones de comunicación
8–53
Mensajes remotos (SLC 5/03 a un SLC 500, SLC 5/01 ó SLC 5/02)
La ilustración siguiente muestra la conectividad para un mensaje remoto.
)(-+)!)+ ')!.+ ! 
 
 

)(-+)!)+ ')!.+ ! 
 
)(-+)!)+ ')!.+ ! 
 
)'*.-!)+
%(!.,-+%  
 
 
 
)(-+)!)+ ')!.+ ! 
 
!(-%# !
+!  
!(-%#%  %1(
! +! 
!(-%#%  %1( ! +! 

)!) )!)

)!)

)!) 

2 )( '1!.)
 2
)!)
)!)
!(-%# ! +! 
 )( '1!.)
 2
)!) 
  ) -
)!)

)!) )!) 
)($%-.! '0/%' !  +! 2    '   *%,
! +
)!) 
)!) 
 ) -
Los siguientes pies de gráfico representan los parámetros de direccionameinto
de un SLC 5/03 a un procesador SLC 5/02 remoto.
 Estes es el nodo original de la instrucción MSG. No tiene que especificar
esta dirección.
 Esta es la dirección de nodo del puente local.
 Esta es la dirección de nodo remoto del puente local. No tiene que
especificar esta dirección.
 Esta es la dirección de nodo del puente remoto.
 Esta es la dirección de nodo del puente remoto. No tiene que especificar
esta dirección.
 Esta es la identificación de red remota.
Esta es la dirección de nodo receptor.
Manual de referencia del juego de instrucciones
8–54
Ejemplo 4 – Transferencia vía canal 0 DF1 del procesador SLC 5/04
'+)'$ ') %' ,$) !
  
'+)'$ ') %' ,$) !
  
'+)'$ ') %' ,$) !
  
'+)'$ ') %' ,$) !
  
 !+###. ! )!  
  , #'
+
 !+###. ! )! 
  , #'
+

' ' 
'+

' ' 
'+

' '
'+

' '
'+
   
 !+###. ! )!  
 , #'

/ 
#*('*#+#-'  #*('*#+#-'  #*('*#+#-'  #*('*#+#-' 
Procesador SLC 5/04 (A) a procesador SLC 5/04 (D) vía dos procesadores SLC 5/04
(transferencia usando canal 0 DF1)
Type: Peer–to–Peer
Read/Write: Read
Target Device: 500 CPU
Local/Remote: Remote
Control Block: user specified
Channel: 1
Target Node (decimal): 63
Remote Bridge Link Id: 1
Remote Bridge Node Address dec: 0
Local Bridge Node Address dec: 2
Destination/Source File Addr: user specified
Target Src/Dst File Address: user specified
Message Length In Elements: 10
Message Timeout (seconds): 5
Nota La configuración incorrecta puede causar que los datos sean escritos o leídos de un
procesador no seleccionado. Asegúrese que todos parámetros e identificaciones de
vínculo de canal se establezcan correctamente.
Comentarios
El canal se establece a 1 porque el comando original es iniciado por un procesador
SLC 5/04 en la red DH+.
El nodo receptor es el procesador SLC 5/04 a dirección de nodo 77 (63 decimales).
La identificación de vínculo del puente remoto es el vínculo con el procesador
SLC 5/04 (identificación de vínculo 1).
La dirección de nodo del puente remoto se establece a 0 (no usado) porque canal
0 es dúplex total DF1.
La dirección de nodo del puente local se establece a 2 porque ésta es la dirección
de nodo DH+.
Instrucciones de comunicación
8–55
Ejemplo 5 – Transferencia vía canal 0 DH+ del procesador SLC 5/04
%*(#( $+#( 
  
%*(#( $+#( 
  
%*(#( $+#( 
  
 %*!-%  (   
  +
+
 %*!-%  (   
  +

.

*
 
*
   
 
*
)')*,  )')*,  )')*, 
Nota El dispositivo B tiene S:34/5 establecido a 1.
Procesador SLC 5/04 (A) a procesador SLC 5/04 (C) vía un solo procesador SLC 5/04
(transferencia usando canal 0 DF1)
Type: Peer–to–Peer
Read/Write: Read
Target Device: 500 CPU
Local/Remote: Remote
Control Block: user specified
Channel: 1
Target Node: 0
Remote Bridge Link Id dec: 1
Remote Bridge Node Address: 0
Local Bridge Node Address: 2
Destination/Source File Addr: user specified
Target Src/Dst File Address: user specified
Message Length In Elements: 10
Message Timeout (seconds): 5
Comentarios
El canal se establece a 1 porque el comando original es iniciado por un procesador
SLC 5/04 en la red DH+.
El nodo receptor es el procesador SLC 5/04 en la dirección de nodo 0 (dúplex total
DF1).
La identificación de vínculo del puente remoto es el vínculo con el procesador
SLC 5/04 (identificación de vínculo 1).
La dirección de nodo del puente remoto se establece a 0 (no usado) porque canal
0 es dúplex total DF1.
La dirección de nodo del puente local se establece a 2 porque ésta es la dirección
de nodo DH+.
Manual de referencia del juego de instrucciones
8–56
Procesador SLC 5/04 (C) a procesador SLC 5/04 (A) vía un solo procesador SLC 5/04
(transferencia usando canal 0 DF1)
Type: Peer–to–Peer
Read/Write: Read
Target Device: 500 CPU
Local/Remote: Local
Control Block: user specified
Channel: 0
Target Node (decimal): 63
Destination/Source File Addr: user specified
Target Src/Dst File Address: user specified
Message Length In Elements: 10
Message Timeout (seconds): 5
Comentarios
El canal se establece a 0 porque el comando original es iniciado por un procesador
SLC 5/04 conectado vía dúplex total DF1.
El nodo receptor es el procesador SLC 5/04 en la dirección nodo 63 decimales (77
octal).
Procesador SLC 5/04 (C) a procesador SLC 5/04 (B) cuando la transferencia está habilitada
Type: Peer–to–Peer
Read/Write: Read
Target Device: 500 CPU
Local/Remote: Local
Control Block: user specified
Channel: 0
Target Node (decimal): 2
Destination/Source File Addr: user specified
Target Src/Dst File Address: user specified
Message Length In Elements: 10
Message Timeout (seconds): 5
Comentarios
El canal se establece a 1 porque el comando original es iniciado por un procesador
SLC 5/04 en la red DH+.
El nodo receptor es el procesador SLC 5/04 en la dirección de nodo DH+ 29
decimal (34 octal).
Instrucciones de comunicación
8–57
Ejemplo 6 – Transferencia usando un integrado pirámide para encaminar una instrucción
de mensaje
!$$ '$ 
  
!$$  
'$  
!)!  $ 
  '
+


 

%)! 
%)! 

!)!  $ 
  '
+
%#%(  %#%( 
Procesador SLC 5/04 (B) a procesador SLC 5/04 (A) via un integrador de pirámide usando
el encaminamiento PI
Type: Peer–to–Peer
Read/Write: Read
Target Device: 500 CPU
Local/Remote: Remote
Control Block: user specified
Channel: 1
Target Node: 7
Remote Bridge Link Id dec: 1
Remote Bridge Node Address: 0
Local Bridge Node Address: 13
Destination/Source File Addr: user specified
Target Src/Dst File Address: user specified
Message Length In Elements: 15
Message Timeout (seconds): 5
Comentarios
El canal se establece a 1 porque el comando original es iniciado por un procesador
SLC 5/04 en la red DH+.
El nodo receptor es el procesador SLC 5/04 en la dirección de nodo 7.
La identificación de vínculo del puente remoto es el vínculo con el procesador
SLC 5/04 (identificación de vínculo 1).
La dirección de nodo del puente remoto se establece a 0 (no usado) porque la
comunicación es de un dispositivo con capacidades de Internet a otro dispositivo
con capacidades de Internet.
La dirección de nodo del puente local se establece a 13 decimal (15 octal) porque
ésta es la dirección de nodo DH+.
Manual de referencia del juego de instrucciones
8–58
Ejemplo 7 –
/   %$ #.*%
  /
%$)'%%' #%*' 
  
 *!%
/ 
 *!%
%$)'%%' #%*' 
  
+
%% 
%)
%%
%)
%% 
%)
/   %$ #.*%
  /
%% 
  
%% 
  /
) ! ,-
%%
%)
!(%(!)!+% 
!(%(!)!+% 
Procesador SLC 5/03 a un procesador SLC 5/03 (transferencia usando dos 1785-KA5)
Type: Peer–to–Peer
Read/Write: Read or Write
Target Device: 485CIF or 500 CPU
Local/Remote: Remote
Control Block: user specified
Channel: 1
Target Node: 2
Remote Bridge Link Id: 8
Remote Bridge Node Address: 0
Local Bridge Node Address: 20
Destination/Source File Addr: user specified
Target Src/Dst File Address: user specified
Message Length In Elements: user specified
Message Timeout (seconds): 10
Comentarios
El canal se establece a 1 porque el comando es enviado en el canal RS485 del 5/03
en la identificación de vínculo 4.
El nodo receptor se establece a 2 porque esta es la dirección DH-485 en la que el
dispositivo de destino reside en el vínculo de destino (identificación de vínculo 8).
Instrucciones de comunicación
8–59
La identificación de red del puende remoto se establece a 8 porque la red de
destino es DH-485.
La dirección de nodo del puente remoto se establece a 0 (no usado) porque la
comunicación es de un dispositivo con capacidades de Internet a otro dispositivo
con capacidades de Internet.
La dirección de nodo del puente local se establece a 20 porque es el dispositivo de
puente (identificación de vínculo 4) por el cual el comando debe ser enviado
(dispositivo D).
Preface
Manual de referencia del juego de instrucciones
8–60
Comunicaciones de servicio (SVC)
Uso de un procesador SLC 5/02
La instrucción SVC es una instrucción de salida que no tiene parámetros de
programación. Cuando se evalúa como verdadera, el escán de programa se
interrumpe para ejecutar la porción de comunicaciones de servicio del ciclo de
operación. Luego el escán se reanuda en la instrucción siguiente a la instrucción
SVC. Use esta instrucción para mejorar el rendimiento de comunicación de su
procesador SLC 5/02.
No se le permite colocar una instrucción SVC en una subrutina de interrupción STI,
interrupción de E/S ni fallo del usuario.
Los bits siguientes le permiten personalizar o monitorizar el servicio de
comunicaciones. Refiérase al capítulo 1 de este manual para obtener información
adicional acerca del archivo de estado.
• S:2/5 DH-485 Comando entrante pendiente
• S:2/6 DH-485 Respuesta de mensaje pendiente
• S:2/7 DH-485 Comando de mensaje saliente pendiente
• S:2/15 DH-485 Selección de servicio de comunicaciones
Uso de un procesador SLC 5/03 ó SLC 5/04
Cuando usa un procesador SLC 5/03 ó SLc 5/04, la instrucción SVC opera según lo
expuesto anteriormente. Estos procesadores le permiten seleccionar un canal de
comunicación específico (0, 1 ó ambos) al que se debe dar servicio. No se le
permite colocar una instrucción SVC en una subrutina de fallo, DII, STI ni evento
de E/S.
Los bits de estado siguientes le permiten personalizar o monitorizar el servicio de
comunicaciones. Refiérase al apéndice B de este manual para obtener información
adicional acerca del archivo de estado.
Canal 1 Canal 0
                 
    !   
 
  !     
      
   
      
 
3
3
3
(SVC)
 !  
 !  
SVC
SERVICE COMMUNICATIONS
Channel 0
Channel 1
Instrucciones de comunicación
8–61
   
        

      

        

       
Servicio de canal
Cuando un canal no ha sido seleccionado para recibir servicio por parte de la
instrucción SVC, dicho canal recibe servicio normalmente al final del escán.
Ejemplo de aplicación
La instrucción SVC se usa cuando desea ejecutar una función de comunicación, tal
como la transmisión de un mensaje, antes de la porción de comunicación de servicio
normal del escán de operación. El ejemplo siguiente muestra cómo usar
selectivamente la instrucción SVC.
] [
S:2
7
(SVC)
   
 

Puede colocar este renglón después de una instrucción de escritura de mensaje.
S:2/7 se establece cuando la instrucción de mensaje se habilita y está esperando
(siempre que no se transmita un mensaje). Cuando S:2/7 se establece, la instrucción
SVC se evalúa como verdadera y el escán de programa se interrumpe para ejecutar
la porción de comunicaciones de servicio del escán de operación. Luego el escán se
reanuda en la instrucción siguiente a la instrucción SVC.
Este ejemplo sencillo asume que el bit de selección de servicio de comunicaciones
S:2/15 se ha puesto a cero y que ésta es la única instrucción MSG activa.
Nota Puede programar la instrucción SVC sin condiciones a través de los renglones.
Esta es la técnica normal de programación para la instrucción SVC.
El procesador SLC 5/03 ó SLC 5/04 puede pasar una instrucción MSG a través de
una red remota a su destino receptor. (Puede hacer un salto por una red.) El
procesador SLC 5/03 ó SLC 5/04 también puede pasar una instrucción MSG a la red
que existe en el otro lado del puente local.
Manual de referencia del juego de instrucciones
8–62
Instrucción proporcional integral derivativa
9–1
9 Instrucción proporcional integral
derivativa
Este capítulo describe la instrucción proporcional integral derivativa (PID).
Descripción general
Esta es una instrucción de salida que controla las características físicas tales como la
temperatura, presión, nivel líquido o régimen de caudal usando lazos de proceso.
La instrucción PDI normalmente controla un lazo cerrado usando entradas de un
módulo de entrada análogico y proporcionando una salida a un módulo de salida
analógico. Para el control de temperatura, usted puede convertir la salida analógica
a una salida activada/desactivada de tiempo proporcional para impulsar una unidad
de calefacción o enfriamiento. Un ejemplo aparecen en las páginas 9–15 a 9–17.
La instrucción PID se puede operar en el modo temporizado o el modo STI. En el
modo temporizado, la instrucción actualiza su salida periódicamente a un régimen
seleccionado por el usuario. En el modo STI, la instrucción se debe colocar en una
subrutina de interrupción STI. Entonces actualiza su salida cada vez que se realiza
un escán de la subrutina STI. El intervalo de tiempo STI y el régimen de
actualización de lazo deben ser idénticos para que la ecuación se ejecute
correctamente.
3
3
3
PID
PID
Control Block
Process Variable
Control Variable
Control Block Length 23
Preface
Manual de referencia del juego de instrucciones
9–2
El concepto PID
El control en lazo cerrado PID retiene una variable de proceso a un punto de ajuste
deseado. Un ejemplo del régimen de caudal/nivel de fluido se muestra abajo.
∑ ∑
Ecuación
PID
Alimentación hacia
adelante o bias
Salida
de
Detector
de nivel
Variable de
proceso
Error
Punto de ajuste
Régimen de caudal
Válvula de control
control
La ecuación PID controla el proceso enviando una señal de salida a la válvula de
control. Cuanto más grande sea el error entre el punto de ajuste y la entrada de
variable de proceso, tanto más grande es la señal de salida y vice versa. Un valor
adicional (alimentación hacia adelante o bias) se puede añadir a la salida de control
como offset. El resultado del cálculo PID (variable de control) impulsará la variable
de proceso que controla hacia el punto de ajuste.
Instrucción proporcional integral derivativa
9–3
La ecuación PID
La instrucción PID usa el algoritmo siguiente:
Ecuación estándar con ganancias dependientes:
Salida + KC [(E) ) 1ńTI ŕ(E)dt ) TD · D(PV)ńdt] ) bias
Las constantes de ganancia estándar son:
Término Rango (bajo a alto) Referencia
!! 
!$$ 
     !%!
     !%!
À
$#$!
+$ ! 
$% ! 
     !'% #$ $#,!
     !'% #$ $#,!
À
!$
+$ !  $+ !      !'%
     !'%
À
$((
À  #  % $!%    )   '!    $% !   ) $!  $'$* 
% %!  
El término (régimen) derivativo proporciona la uniformización por medio de un
filtro de paso bajo. La frecuencia de corte del filtro es 16 veces mayor que la
frecuencia de ángulo del término derivativo.
Cómo introducir parámetros
Normalmente, la instrucción PID se coloca en un renglón sin lógica condicional. La
salida permanece a su último valor cuando el renglón es falso. El término integral
también se borra cuando el renglón es falso.
Nota La instrucción PID es un tipo de algortimo PID de sólo entero y no le permite
introducir valores de punto (coma) flotante para sus parámetros. Por lo tanto, si
intenta mover un valor de punto (coma) flotante a uno de los parámetros PID
usando la lógica de escalera, ocurrirá una conversión de punto (coma) flotante a
entero.
Manual de referencia del juego de instrucciones
9–4
Durante la programación, usted introduce las direcciones del bloque de control,
variable de proceso y variable de control después de colocar la instrucción PID en
un renglón:
• El bloque de control es un archivo que almacena los datos requeridos para
operar la instrucción. La longitud de archivo se fija a 23 palabras y se debe
introducir como dirección de archivo de entero. Por ejemplo, la introducción de
N10:0 asignará los elementos N10:0 a N10:22. La configuración del bloque de
control se ilustra en la página 9–11.
No escriba a las direcciones de bloque de control con otras instrucciones en su
programa excepto según lo descrito más adelante en este capítulo. Si vuelve a
usar un bloque de datos que fue asignado anteriormente para otro uso, es buena
práctica poner primero a cero los datos. Recomendamos que use un archivo de
datos único para contener sus bloques de control PID. Por ejemplo N10:0. Esto
evita el reuso imprevisto de las direcciones de bloque de control PID por otras
instrucciones en su programa.
• La variable de proceso PV es una dirección de elemento que almacena el
valor de entrada de proceso. Esta dirección puede ser la ubicación de la palabra
de entrada analógica donde el valor de la entrada A/D se almacena. Este valor
también podría ser un valor de entero si decide escanear su valor de entrada de
antemano al rango 0–16383.
• La variable de control CV es una dirección de elemento que almacena la
salida de la instrucción PID. El valor de salida tiene un rango de 0 a 16383;
16383 es el 100%. Esto es normalmente un valor de entero para que usted
pueda escalar el rango de entrada PID según el rango analógico específico que
su aplicación requiere.
La ilustración a continuación muestra una instrucción PID con direcciones típicas
para estos parámetros introducidos:
PID
PID
Control Block N10:0
Process Variable N10:28
Control Variable N10:29
Control Block Length 23
Instrucción proporcional integral derivativa
9–5
auto/manual: MANUAL∗ time mode Bit: 1 TM
mode: TIMED ∗ auto/manual bit: 1 AM
control: E=SP–PV ∗ control mode bit: 0 CM
setpoint (SP): 0 0output limiting enabled bit: 0 OL
process (PV): 0 ∗ reset and gain range: 0 RG
scaled error: 0 ∗ scale setpoint flag: 0 SC
deadband: 0 loop update time too fast: 0 TF
output (CV): 0 %∗ derivitive (rate) action: 0 DA
DB, set when error is in DB: 0 DB
loop update: 0 [.01 secs] output alarm, upper limit: 0 UL
gain: 0 [/10] output alarm, lower limit: 0 LL
reset: 0 [/10 m/r] setpoint out of range: 0 SP
rate: 0 [/100 min] process var out of range: 0 PV
min scaled: 0 PID done: 0 DN
max scaled: 0
output (CV) limit: NO ∗ PID enabled: 0 EN
output (CV) min: 0 %
output (CV) max: 0 %
La columna izquierda en la ilustración anterior enumera otros parámetros de
instrucción PID que debe introducir.
• Automático/manual AM (palabra 0, bit 1) alterna entre automático y
manual. Automático indica que el PID controla la salida. (El bit se ha puesto a
cero.) Manual indica que el usuario establece el valor de salida. (El bit está
establecido.) Cuando haga ajustes, le recomendamos que efectúe los cambios
en el modo manual, seguido por un retorno al modo automático. El límite de
salida también se aplica en el modo manual.
• El modo TM (word 0, bit 0) alterna los valores temporizados y STI.
Temporizado indica que el PID actualiza su salida al régimen especificado en el
párametro de actualización del lazo.
Nota Cuando usa el modo temporizado, el tiempo de escán de su procesador debe ser
un mínimo de diez veces más rápido que el tiempo de actualización del lazo para
evitar inexactitudes o perturbaciones.
STI indica que el PID actualiza su salida cada vez que se escanea. Cuando
selecciona STI, la instrucción PID debe ser programada en una subrutina de
interrupción STI, y la rutina STI debe tener un intervalo de tiempo igual al
ajuste del parámetro de “actualización del lazo” PID. Establezca el período STI
en la palabra S:30. Por ejemplo, si el tiempo de actualización del lazo contiene
el valor 10 (para 100 ms), entonces el intervalo de tiempo STI también debe ser
igual a 10 (para 10 ms).
• El control CM (palabra 0, bit 2) alterna los valores E=SP–PV y E=PV–SP.
La acción directa (E=PV–SP) causa que la salida CV incremente cuando la
salida PV es mayor que el punto de ajuste SP (por ejemplo, una aplicación de
enfriamiento). La acción inversa (E=SP–PV) causa que la salida CV
incremente cuando la salida PV sea menor que el punto de ajuste SP (por
ejemplo, una aplicación de calefacción).
Manual de referencia del juego de instrucciones
9–6
– El punto de ajuste SP (palabra 2) es el punto de control deseado de la
variable del proceso. Puede cambiar este valor con las instrucciones en su
programa de escalera. Escriba el valor en la tercera palabra en el bloque de
control (por ejemplo, escriba el valor en N10:2 si su bloque de control es
N10:0). Sin escala, el rango de este valor es 0–16383. En caso contrario,
el rango es de escala mínima (palabra 8) a escala máxima (palabra 7),
– La ganancia Kc (palabra 3) es la ganancia proporcional, con un rango de
0.1 a 25.5 La regla general es establecer esta ganancia a la mitad del valor
necesario para causar que la salida oscile cuando los términos de
restablecimiento y régimen (abajo) se ponen a cero.
Específico para SLC 5/03 y SLC 5/04 – El rango válido es 0 a 32767. Esta
palabra no es afectada por el bit RG.
– El restablecimiento Ti (palabra 4) es la ganancia integral, con un rango de
0.1 a 25.5 minutos por repetición. La regla general es establecer el tiempo
de restablecimiento para que sea igual al período natural medido en la
calibración de ganancia de arriba.
Específico para SLC 5/03 y SLC 5/04 – El rango válido es 0 a 32767
minutos/repetición. Anote que el valor 1 añadirá el término integral
mínimo posible en la ecuación PID.
– Régimen Td (palabra 5) es el término derivativo. El rango de ajuste es
0.01 a 2.55 minutos. La regla general es establecer este valor a 1/8 del
tiempo integral de arriba.
Específico para SLC 5/03 and SLC 5/04 – El rango válido es 0 a 32767
minutos.
– Escala máxima Smax (palabra 7) – Si el punto de ajuste debe ser leído en
unidades de ingeniería, entonces este parámetro corresponde al valor del
punto de ajuste en unidades de ingeniería cuando la entrada de control es
16383. El rango válido es ±16383 a +16383.
Específico para SLC 5/03 y SLC 5/04 – El rango válido es ±32768 a
+32767.
– Escala mínima Smin (palabra 8) – Si el punto de ajuste debe ser leído en
unidades de ingeniería, este parámetro corresponde al valor del punto de
ajuste en unidades de ingeniería cuando la entrada de control es cero. El
rango válido es ±16383 a +16383.
Específico SLC 5/03 y SLC 5/04 – El rango válido ±32768 a 32767.
Nota La escala Smin – Smax le permite introducir el punto de ajuste en unidades
de ingeniería. La banda muerta, error y PV se mostrarán en unidades de
ingeniería. Todavía se espera que el PV de la variable de proceso se
encuentre dentro del rango de 0 a 16383. El uso de Smin – Smax no
minimiza la resolución PV PID.
Instrucción proporcional integral derivativa
9–7
Específico para SLC 5/03 y SLC 5/04: Los errores con escala mayores que
+32767 ó menores que ±32768 no se pueden representar. Si el error con
escala es mayor que +32767, se representa como +32767. Si el error con
escala es menor que ±32768, se representa como ±32768.
– La banda muerta DB (palabra 9) es un valor no negativo. La banda
muerta se extiende sobre y debajo el punto de ajuste según el valor que
usted introduce. La banda muerta se introduce en la intersección con cero
de la variable de proceso PV y el punto de ajuste SP. Esto significa que la
banda muerta estará en efecto sólo después que la variable de proceso PV
entre en la banda muerta y pase a través del punto de ajuste SP.
El rango válido es 0 a la escala máxima ó 0 a 16383 cuando no hay escala.
– Actualización del lazo (palabra 13) es el intervalo de tiempo entre los
cálculos PID. La entrada es en intervalos de 0.01 segundo. La regla
general es introducir un tiempo de actualización del lazo cinco a diez veces
más rápido que el período natural de la carga (determinado poniendo los
parámetros de restablecimiento y régimen a cero y luego incrementando la
ganancia hasta que la salida comience a oscilar). En el modo STI, este
valor debe ser igual al valor de intervalo de tiempo STI de S:30.
El rango válido es 1 a 2.55 segundos.
Específico para SLC 5/03 y SLC 5/04 – El rango válido es 0.01 a 10.24
segundos.
– El proceso con escala PV (palabra 14) se usa para la muestra en pantalla
únicamente. Este es el valor con escala de la variable de proceso (la
entrada analógica). Sin escala, el rango de este valor es 0–16383. Si no, el
rango es de escala mínimia (palabra 8) a escala máxima (palabra 7).
– Error con escala (palabra 15) se usa para visualización solamente. Este es
el error de escala según es seleccionado por el parámetro de modo de
control. Rango: escala máxima a –escala mínima, ó 16383 a –16383
cuando no hay escala.
Nota Específico para SLC 5/03 y SLC 5/04: Los errores con escala mayores que
+32767 ó menores que ±32768 no se pueden representar. Si el error con
escala es mayor que +32767, se representa como +32767. Si el error con
escala es menor que ±32768, se representa como ±32768.
Preface
Manual de referencia del juego de instrucciones
9–8
– La salida CV% (palabra 16) muestra la salida CV real de 0 a 16383 en
términos de porcentaje. (El rango es 0 a 100%.) Si usted seleccionó el
modo AUTO con la tecla de llave F1, es para la visualización únicamente.
Si seleccionó el modo manual y usa un monitor de datos APS, puede
cambiar la salida CV% y el cambio se aplicará a CV. El escribir a la salida
CV% con su programa de usuario o un dispositivo de programación no
inteligente no afectará el CV. Cuando usa un dispositivo que no sea APS,
debe escribir directamente a CV que tiene un rango de 0 a 16383.
• El límite de salida (CV) OL (palabra 0, bit 3) alterna entre Sí y No.
Seleccione Sí, si desea limitar la salida a los valores mínimos y máximos.
salida CV%
SI (1)
límite de salida CV% seleccionado
NO (0)
límite de salida CV% cancelado
#       
     #  
       
           #$
   
•          
  !
•          #
     
      
        
    # 
           #$
         
   #  
        
        
       
          
 
•         
 !
•          #
      
      
        
    # 
          
          
#
Instrucción proporcional integral derivativa
9–9
Indicadores de instrucción PID
auto/manual: AUTO ∗ time mode Bit: 1 TM
mode: STI ∗ auto/manual bit: 0 AM
control: E=SP–PV ∗ control mode bit: 0 CM
setpoint (SP): 500 0output limiting enabled bit: 1 OL
process (PV): 0 ∗ reset and gain range: 0 RG
scaled error: 0 scale setpoint flag: 0 SC
deadband: 5 loop update time too fast: 0 TF
output (CV): 0 %∗ derivitive (rate) action: 0 DA
DB, set when error is in DB: 0 DB
loop update: 50 [.01 secs] output alarm, upper limit: 0 UL
gain: 25 [/10] output alarm, lower limit: 0 LL
reset: 10 [/10 m/r] setpoint out of range: 0 SP
rate: 1 [/100 min] process var out of range: 0 PV
min scaled: 0 PID done: 0 DN
max scaled: 1000
output (CV) limit: NO ∗ PID enabled: 0 EN
output (CV) min: 0 %
output (CV) max: 0 %
La columna derecha de la pantalla anterior muestra varios indicadores asociados con
la instrucción PID. La sección siguiente describe estos indicadores:
• El bit de modo de tiempo TM (palabra 0, bit 0) especifica el modo PID. Se
establece cuando el modo TEMPORIZADO está en efecto. Se pone a cero
cuando el modo STI está en efecto. Este bit se puede establecer o poner a cero
por medio de instrucciones en su programa de escalera.
• El bit manual/automático AM (palabra 0, bit 01) especifica la operación
automática cuando se pone a cero y la operación manual cuando se establece.
Este bit puede ser establecido o poner a cero por medio de instrucciones en su
programa de escalera.
• El bit de modo de control CM (palabra 0, bit 02) se pone a cero si el control
es E=SP–PV. Se establece si el control es E=PV–SP. Este bit se puede
establecer o poner a cero por medio de instrucciones en su programa de
escalera.
• El bit de límite de salida habilitado OL (palabra 0, bit 03) se establece
cuando ha seleccionado limitar la variable de control usando la tecla de función
[F4]. Este bit se puede establecer o poner a cero por medio de instrucciones en
su programa de escalera.
• Específico para SLC 5/03 y SLC 5/04 – Bit de mejoramiento de
restablecimiento y rango de ganancia RG (palabra 0, bit 4) Cuando se
establece, este bit causa que el valor de restablecimiento de minuto/repetición y
el multiplicador de ganancia sean mejorados por un factor de 10 (multiplicador
de restablecimiento de .01 y multiplicador de ganancia de .01).
Ejemplo con el juego de bit 4 El valor de restablecimiento de 1 indica que el
valor integral de 0.01 minutos/repetición (0.6 segundos/repetición) se aplicará al
algoritmo integral PID. El valor de ganancia de 1 indica que el error será
multiplicado en 0.01 y aplicado al algoritmo PID.
Manual de referencia del juego de instrucciones
9–10
Cuando se pone a cero, este bit permite que el valor de restablecimiento de
minutos/repetición y el valor del multiplicador de ganancia sean evaluados en
las mismas unidades que la instrucción 5/02 PID (multiplicador de
restablecimiento de 0.1 y multiplicador de ganancia de 0.1).
Ejemplo con el juego de bit 4 El valor de restablecimiento de 1 indica que el
valor integral de 0.01 minutos/repetición (0.6 segundos/repetición) se aplicará al
algoritmo integral PID. El valor de ganancia de 1 indica que el error será
multiplicado en 0.01 y aplicado al algoritmo PID.
Observe que el multiplicador de régimen no es afectado por esta selección. (La
edición inicial del software, versión 4.0, puede no permitirle introducir este bit.
Sin embargo, puede alterar el estado de este bit directamente en el bloque de
control.)
• El indicador de punto de ajuste de escala SC (palabra 0, bit 05) se pone a
cero cuando se especifican los valores de escala del punto de ajuste.
• El tiempo de actualización del lazo demasiado rápido TF (palabra 0, bit
06) está establecido por el algoritmo PID si el tiempo de actualización del lazo
que ha especificado no puede ser realizado por el programa en cuestión (debido
a límites de tiempo de escán).
Si este bit está establecido, trate de corregir el problema actualizando su lazo
PID a un régimen más lento o moviendo la instrucción PID a una rutina de
interrupción STI. Las ganancias de restablecimiento y régimen aparecerán con
error si la instrucción funciona con este bit establecido.
• Bit de acción de derivativa (régimen) DA (palabra 0, bit 07) Cuando está
establecido, este bit causa que el cálculo de derivativa (régimen) sea evaluado
en el error en vez del PIV. Cuando se pone a cero, este bit permite que el
cálculo de derivativa (régimen) sea evaluado de la misma manera que la
instrucción 5/02 PID (donde la derivativa se realiza en el PIV). Este bit es
usado únicamente por los procesadores SLC 5/03 y SLC 5/04.
• DB, establecido cuando el error está en DB (palabra 0, bit 08) se establece
cuando la variable de proceso se encuentra dentro del rango de banda muerta de
intersección con 0.
• La alarma de salida, límite superior UL (palabra 0, bit 09) se establece
cuando el CV de de salida de control calculado excede el límite CV superior.
• La alarma de salida, límite inferior LL (palabra 0, bit 10) se establece
cuando el CV de salida de control calculado es menor que el límite CV inferior.
• El punto de ajuste fuera de rango SP (palabra 0, bit 11) se establece cuando
el punto de ajuste excede el valor con escala máximo o es menor que el valor
con escala mínimo.
• La variable de proceso fuera de rango PV (palabra 0, bit 12) se establece
cuando la variable de proceso sin escala (o sin procesar) excede 16838 ó es
menor que cero.
• El PID efectuado DN (palabra 0, bit 13) se establece en escanes donde el
algoritmo PID se calcula. Se calcula al régimen de actualización del lazo.
• El PID habilitado EN (palabra 0, bit 15) se establece mientras que el
renglón de la instrucción PID se habilita.
Instrucción proporcional integral derivativa
9–11
Configuración del bloque de control
La longitud del bloque de control se fija a 23 palabras y se debe programar como
archivo de entero. Los indicadores de instrucción PID (palabra 0) y otros
parámetros se ubican de la manera siguiente:
EN DN PV SP LL UL DB DA TF SC RG OL CM AM TM
15 14 13 12 11 10 09 08 07 06 05 04 03 02 01 00
PID Sub Error Code (MSbyte)
Setpoint SP
Configuración del bloque de control
Palabra
0
1
2
Gain KC
Reset Ti
Rate Td
3
4
5
6
*
*
*
*
*
7
8
9
10
11
12
Setpoint Max (Smax)
Setpoint Min (Smin)
Deadband
INTERNAL USE DO NOT CHANGE
Output Max
Output Min
*
*
*
*
*
13
14
15
16
Loop Update
Scaled Process Variable
Scaled Error SE
Output CV% (0–100%)
*
17
18
19
20
21
22
INTERNAL USE
DO NOT CHANGE
À                   
OL, CM,
AM, TM À
Feed Forward Bias
*
MSW Integral Sum 5/03 MSW Integral Sum
LSW Integral Sum 5/03 LSW Integral Sum
Á
Á
Á           
No altere el estado de un valor de bloque de control PID a menos que entienda
completamente la función y el efecto relacionado en su proceso.
Preface
Manual de referencia del juego de instrucciones
9–12
Errores de tiempo de ejecución
El código de error 0036 aparece en el archivo de estado cuando ocurre un error de
tiempo de ejecución de instrucción PID. El código 0036 abarca las condiciones de
error PID siguientes, cada una de las cuales ha sido asignada a un valor de código de
un solo byte exclusivo que aparece en el MSbyte de la segunda palabra del bloque
de control.
Código de error Descripción de la(s) condición(es) de error Acción correctiva
11H SLC 5/02 SLC 5/03 y SLC 5/04 SLC 5/02 SLC 5/03 y SLC 5/04
 !  $%(-
,  ( Dt   ,
 !  $%(-
,  ( Dt  
  $! 
$%(,  (
Dt    Dt  
  $! 
$%(,  (
Dt    Dt  
 !  $%(-
,  ( Dt  
 !  $%(-
,  ( Dt  
12H SLC 5/02 SLC 5/03 y SLC 5/04 SLC 5/02 SLC 5/03 and SLC 5/04
 
! !   Kc 
 ,
 
! !   Kc  
  
! !   Kc a
  Kc  
  
! !   Kc 
  Kc
 
! !   Kc  
13H SLC 5/02 SLC 5/03 y SLC 5/04 SLC 5/02 SLC 5/03 and SLC 5/04
 $
#$$ 
Ti  
 $
#$$ 
Ti  
   $-
 #$$  Ti
a   Ti  
   $-
 #$$  Ti
   Ti
14H SLC 5/02 SLC 5/03 y SLC 5/04 SLC 5/02 SLC 5/03 y SLC 5/04
 $
* Td  
 $
* Td  
  
$ * Td
   Td  
  
$ * Td
   Td
21H
(SLC 5/02 solamente)
 $   %#$   # )' Smax     ,
 $   %#$   # )' Smax    
  !$   %#$   # )' Smax 
    Smax    
22H
(SLC 5/02 solamente)
 $   %#$   # + Smin     ,
 $   %#$   # + Smin    
  !$   %#$   # + Smin 
    Smin  Smax    
23H %$  %#$   # +
Smin  !%$  %#$   # )' Smax
  !%$  %#$   # + Smin 
    Smin  Smax    
SLC 5/03 y SLC 5/04   +
Instrucción proporcional integral derivativa
9–13
Código de error Descripción de la(s) condición(es) de error Acción correctiva
31H  +)  )  +$*%  !+)* -
Smin  +$*%  !+)* SP  Smax %
 $% +)  )  +$*%  !+)* -
  +$*%  !+)* SP   
$*%$) +($*  !+ 1$ $    .% 
%+(( )* ((%( - ) )*  *   (
  %'+  %$*(%  $ #(% +($* 
!+ 1$ )+) + $*  .%  ) )
$*(%+ +$ +$*%  !+)*  .% $,/ % 
.%  %$* $2 !+*$% %$  +)%  +$*%
 !+)* $*( %( - ) )*  *   (
  %'+  %$*(%
 +)  )  +$*%  !+)* $*%$)
#   +$*%  !+)* SP a Smin  SP 
Smax %
 $% +)  )  +$*%  !+)* $*%$)
#   +$*%  !+)* SP    SP   
41H ) ) %$  1$  )
$
) ) %$  1$  )
$
 Banda muerta   1  Banda muerta   1 #   banda
muerta    banda
muerta  (Smax -
Smin)  
#   banda
muerta a   banda
muerta  
 Banda muerta 
(Smax Ć Smin) % $
 Banda muerta 

 Banda muerta 
 )0 % (
 
51H  Límite de salida alta   1
) Límite de salida alta  
#   límite de salida alta 
  límite de salida alta  
52H  Límite de salida baja   1
) Límite de salida baja  
#   límite de salida baja    límite de
salida baja  límite de salida alta  
53H Límite de salida baja  límite de salida alta #   límite de salida baja a   límite de
salida baja  límite de salida alta  
60H     )*/ ) $% $*(%+ % %( )3
+$ ,.  .%  + $*((+# % %( +$
$*((+ 1$    +  )+ ,. ) $*((+#3
  %(  $*((+ 1$  
 $ +$ #0$ #%  *() .%)  $ )+
(%(# +$% $  (%(# ( $  % ( ,%
 )+(+* $ +$% $ +$ ( ,%  $*((+ 1$
  - +$% $  ( ,%  )+(+* $ 
 *(( )+ (%(#  )( -  # $(
 %)  $ # $*%  %) .%)
Preface
Manual de referencia del juego de instrucciones
9–14
Escala PID y E/S analógicas
Para la instrucción SLC 500 PID, la escala numérica para la variable de proceso
(PV) y la variable de control (CV) es 0 a 16383. Para usar unidades de ingeniería,
tal como PSI o grados, primero debe escalar sus rangos de E/S analógicas dentro de
la escala numérica de arriba. Para hacerlo, use la instrucción de escala (SCL) y siga
los pasos descritos a continuación.
1. Escale su entrada analógica calculando la pendiente (o régimen) del rango de
entrada analógica al rango PV (0 a 163873). Por ejemplo, una entrada
analógica con un rango de 4 a 20 mA tiene un rango decimal de 3277 a 16384.
El rango decimal debe ser escalado por todo el rango de 0 a 16383 para uso
como PV.
2. Escale el CV para que se distribuya de manera equitativa por todo el rango de
salida analógica. Por ejemplo, una salida analógica que tiene una escala de 4 a
20 mA, tiene un rango decimal de 5242 a 31208. En este caso, 0 a 16383 debe
ser escalado por todo el rango de 6242 a 31208.
Una vez que ha escalado sus rangos de E/S analógicas hacia/desde la instrucción
PID, puede introducir las unidades de ingeniería mínimas y máximas que se
aplican a su aplicación. Por ejemplo, si el rango de entrada analógica de 4 a 20
mA representa 0 a 300 PSI, puede introducir 0 y 300 como los parámetros
mínimos (Smin) y máximos (Smax) respectivamente. La variable de proceso,
error, punto de ajuste y banda muerta se mostrarán en unidades de ingeniería en
la pantalla del motor de datos PID. El punto de ajuste y la banda muerta se
pueden introducir en la instrucción PID usando unidades de ingeniería.
Las ecuaciones siguientes muestran la relación lineal entre el valor de entrada y el
valor con escala resultante.
Valor con escala = (valor de entrada pendiente x) + offset
Pendiente = (escala m áx. ± escala mín.) / (entrada máx. ± entrada mín.)
Offset = escala mín. ± (entrada mín pendiente x)
Uso de la instrucción SCL
Use los valores siguientes en una instrucción SCL para escalar los rangos de
entrada analógica comunes para las variables de proceso PID.
Parámetro 4 a 20 mA 0 a 5 V 0 a 10 V
Instrucción proporcional integral derivativa
9–15
Use los valores siguientes en una instrucción SCL para escalar las variables de
control a salidas analógicas comunes.
Parámetro 4 a 20 mA 0 a 5 V 0 a 10 V
    
   
Uso de la instrucción SCP
Use los valores siguientes en una instrucción SCP para escalar sus entradas
analógicas al rango PV y escalar el rango CV a su salida analógica.
Parámetro 4 a 20 mA 0 a 5 V 0 a 10 V
     
        
     
          
Use los valores siguientes en una instrucción SCP para escalar variables de control
a salidas analógicas comunes.
Parámetro 4 a 20 mA 0 a 5 V 0 a 10 V
     
          
     
       
Ejemplo
El diagrama de escalera siguiente muestra un lazo PID típico que se programa en el
modo STI. Este ejemplo se proporciona principalmente para mostrar las técnicas de
escala correctas. Muestra una entrada analógica de 4 a 20 mA y una salida
analógica de 4 a 20 mA. Se usan los parámetros siguientes se usan:
• Archivo de subrutina STI (S:31) = 3
• Punto de ajuste STI (S:30) = 10
• Bit de habilitación STI (S:2/1) = 1
Manual de referencia del juego de instrucciones
9–16
SCL
SCALE
Source I:1.0
0
Rate [/10000] 12499
Offset –4096
Dest N10:28
0
LES
LESS THAN
Source A I:1.0
0
Source B 3277
GRT
GREATER THAN
Source A I:1.0
0
Source B 16384
MOV
MOVE
Source 3277
Dest I:1.0
0
IIM
IMMEDIATE IN w MASK
Slot I:1.0
Mask FFFF
(L)
B3
0
 0

 0

 0

 0

 0

'(#' #'  #' ') %)  * #  (  0 %) ' *  (#) $!- (#  #' /!(' 
    '(# ' '# $ *( #'  #*'0 .)  #  ' '()#'  ,  #' ('
  *!(# ' $) )'  #(# )  $#! $ (  #0 )  # %) #)0
# ')(
MOV
MOVE
Source 16384
Dest I:1.0
0
(L)
B3
1
# +'*#
 )( %) ' *  '  '  (  , ') '(# '  *   $#'#   '()0  '(#' * #' '
 )  #  ##!(#  %)  # '     !(' %)  # # '   '    
PID
PID
Control Block N10:0
Process Variable N10:28
Control Variable N10:29
Control Block Length 23
'(  0 () - !(!(  (  0 )' $
Instrucción proporcional integral derivativa
9–17
IOM
IMMEDIATE OUT w MASK
Slot O:1.0
Mask FFFF
END
+

+
 
SCL
SCALE
Source N10:29
0
Rate [/10000] 15239
Offset 6242
Dest O:1.0
0
 '#   %#   $  %# !#  $%#+  $  $%#+  #%(    !#(
%#  #       $% ' #  $# $  #        #!#$%  #
)#  $ $# !# !# #  $*  $ +      
$% #+ %( %%  %#%  $ +  $ !$ ! #  ' #  
'#   %#  
La rutina STI debe tener un intervalo de tiempo equivalente al establecimiento del
parámetro de “actualización del lazo” PID.
Manual de referencia del juego de instrucciones
9–18
Notas de aplicación
Los párrafos siguientes tratan:
• Los rangos de entrada/salida
• La escala a unidades de ingeniería
• La banda muerta de intersección con cero
• Las alarmas de salida
• El límite de salida con bloque de acción integral
• El modo manual
• La alimentación hacia adelante
• Las salidas de tiempo de proporcional
Rangos de entrada/salida
El módulo de entrada que mide la variable de proceso (PV) debe tener un rango
binario completo de escala de 0 a 16383. Si este valor es menor que 0 (bit 15
establecido), un valor de cero se usará para PV y el bit de “variable de proceso fuera
de rango” se establecerá (bit 12 de palabra 0 en el bloque de control). Si la variable
de proceso es  16383 (bit 14 establecido), un valor de 16383 se usará para PV y el
bit de “variable de proceso fuera de rango” se establecerá.
La variable de control, calculada por la instrucción PID, tiene el mismo rango de 0 a
16383. La salida de control (palabra 16 del bloque de control) tiene el rango de 0 a
100%. Puede establecer límites inferiores y superiores para los valores de salida
calculados de la instrucción (donde un límite superior de 100% corresponde a un
límite de variable de control de 16383).
Escalado a unidades de ingeniería
La escala le permite introducir el punto de ajuste y los valores de banda muerta de
intersección con cero en unidades de ingeniería y mostrar la variable de proceso y
valores de error en las mismas unidades de ingeniería. Recuerde que la variable de
proceso PV todavía debe estar dentro del rango 0–16383. Sin embargo, el PV será
mostrado en unidades de ingeniería.
Instrucción proporcional integral derivativa
9–19
Seleccione la escala según lo siguiente:
1. Introduzca los valores de escala máximos y mínimos Smax y Smin en el bloque
de control PID. Refiérase al bloque de control de la instrucción PID en la
página 9–11. El valor Smin corresponde a un valor analógico de cero para la
lectura más baja de la variable de proceso, y Smax corresponde a un valor
analógico de 16383 para la lectura más alta. Estos valores reflejan los límites
de proceso. La escala del punto de ajuste es seleccionada introduciendo un
valor que no sea cero para uno o ambos parámetros. Si introduce el mismo
valor para ambos parámetros, la escala del punto de ajuste se inhabilita.
Por ejemplo, si mide un rango de temperatura de escala completa de –73 (PV=0) a
+1156° C (PV=16383), introduzca un valor de –73 para Smin y 1156 para Smax.
Recuerde que las entradas en la instrucción PID deben ser 0 a 16383. Las
conversiones de señales podrían ser así:
%!   ! ±   + ° 
   !! ! #!    
  # #         
! #    $ ±   + ° 
2. Introduzca el punto de ajuste (palabra 2) y la banda muerta (palabra 9) en las
mismas unidades con escala. Lea también la variable de proceso con escala y el
error con escala en estas unidades. El porcentaje de salida de control (palabra
16) se muestra como porcentaje del rango de 0 a 16383. El valor real
transferido a la salida CV siempre es entre 0 y 16383.
Cuando selecciona la escala, la instrucción escala el punto de ajuste, banda muerta,
variable de proceso y error. Debe considerar el efecto de todas estas variables
cuando cambia la escala.
Preface
Manual de referencia del juego de instrucciones
9–20
Banda muerta (DB) de intersección con cero
La banda muerta ajustable le permite seleccionar un rango de error encima y debajo
del punto de ajuste donde la salida no se cambia siempre que el error permanezca
dentro de este rango. Esto le permite controlar la precisión con que la variable
corresponde el punto de ajuste sin cambiar la salida.
+DB
SP
-DB
Rango de
Tiempo
error
La intersección con cero es el control de banda muerta que permite que la
instrucción use el error para propósitos de cálculo mientras que la variable de
proceso cruce en la banda muerta hasta que cruce el punto de ajuste. Una vez que
cruza el punto de ajuste (el error cruza cero y cambia la señal) y siempre que
permanezca en la banda muerta, la instrucción considera que el valor de error es
cero para propósitos de cálculo.
Seleccione la banda muerta introduciendo un valor en la palabra de almacenamiento
de la banda muerta (palabra 9) en el bloque de control. La banda muerta se extiende
encima y debajo del punto de ajuste según el valor que usted introduce. Un valor de
cero inhibe esta característica. La banda muerta tiene las mismas unidades con
escala que el punto de ajuste si selecciona la escala.
Alarmas de salida
Puede establecer una alarma de salida en la salida de control (CO) a un valor
seleccionado encima y/o debajo de un porcentaje de salida seleccionado. Cuando la
instrucción detecta que la salida (CO) ha excedido el valor, establece un bit de
alarma (bit 10 para el límite inferior, bit 9 para el límite superior) en palabra 0 del
bloque de control PID. Los bits de alarma están restablecidos por la instrucción
cuando la salida (CO) retorna dentro de los límites. La instrucción no evita que la
salida (CO) exceda los valores de alarma a menos que usted seleccione el límite de
salida.
Seleccione alarmas de salida superiores e inferiores introduciendo un valor para la
alarma superior (palabra 11) y la alarma inferior (palabra 12). Los valores de
alarma son especificados como porcentaje de la salida. Si no desea alarmas,
introduzca cero y 100% respectivamente para los valores de alarma inferiores y
superiores y no haga caso de los bits de alarma.
Instrucción proporcional integral derivativa
9–21
Límite de salida con bloqueo de acción integral
Puede establecer un límite de salida (porcentaje de salida) en la salida de control.
Cuando la instrucción detecta que la salida (CO) ha excedido un límite, establece un
bit de alarma (bit 10 para el límite inferior, bit 9 para el límite superior) en palabra 0
del bloque de control PID y previene que la salida (CO) exceda el valor de límite.
La instruccion limita la salida (CO) a 0 y 100% si elige no limitarla.
Seleccione límites de salida superiores e inferiores estableciendo el bit de
habilitación de límite (bit 3 de la palabra de control 0) e introduciendo un límite
superior (palabra 11) y un límite inferior (palabra 12). Los valores de límite son un
porcentaje (0 a 100%) de la salida de control (CO).
La diferencia entre seleccionar alarmas de salida y límites de salida es que debe
seleccionar el límite de salida para habilitar el límite. Los valores de límite y alarma
se almacenan en las mismas palabras. El introducir estas palabras habilita las
alarmas, pero no el límite. El introducir estos valores y el establecer el bit de
habilitación de límite habilita el límite y las alarmas.
El bloqueo de acción integral es una característica que evita que el término integral
se haga excesivo cuando la salida (CO) alcanza un límite. Cuando la suma de los
términos PID y bias en la salida (CO) alcanzan el límite, la instrucción deja de
calcular la suma integral hasta que la salida (CO) retorne dentro del rango. La suma
integral se contiene en palabras 17 y 18 del bloque de control.
Modo manual
En el modo manual, el algortimo PID no calcula el valor de la variable de control.
En cambio, usa el valor como entrada para ajustar la suma integral (palabras 17 y
18) para que se realice una transferencia sin perturbaciones al volver a entrar en el
modo AUTOMATICO.
En el modo manual, el programador le permite introducir un valor CV nuevo de 0 a
100%. Este valor se convierte en un número de 0 a 16383 y se escribe a la dirección
de variable de control. Si usa un módulo de salida analógico para esta dirección,
debe guardar (compilar) el programa con la opción de protección de archivo
establecida a Ninguna. Esto le permite escribir a la tabla de datos de salida. Si no
efectúa esta operación de guardar, no podrá establecer el nivel de salida en el modo
manual. Si su programa de escalera establece el nivel de salida manual, diseñe su
programa de escalera para escribir a la dirección CV cuando está en el modo
manual. Anote que este número se encuentra en el rango de 0 a 16383, no de 0 a
100. El escribir al porcentaje CV (palabra 16) con su programa de escalera no tiene
efecto en el modo manual.
El ejemplo en la página siguiente muestra cómo puede controlar manualmente la
salida de variable de control (CV) con su programa de escalera.
Preface
Manual de referencia del juego de instrucciones
9–22
Estado de renglón PID
Si el renglón PID es falso, la suma integral (palabras 17 y 18) se pone a cero y CV
permanece en su último estado.
Notas de operación
! !'%%(#'% #%'% %'%  
,'    (! -(  !'% 
  %! 
! '-! #(%      #'
 )%  !'%%(#'% #%'% %'%
! !'%%(#'% '% #%  
(' +' !(     
(' +'     !(
   !  )% !'%( ! 
!'%%(#'% #%'% %'%
   ! (! +( !'% 
   %-!  )%  !'% 
    %-!  $(  !'%  
!'%(-! 
   #%!'    '(*
(' +' !' #%  !'%(-! 
] [
N7:10
1
[OSR]
B3
0
( )
B3
3
MUL
MULTIPLY
Source A N7:0
Source B 16384
Dest N7:2
LIM
LIMIT TEST
Low Lim 0
Test N7:0
High Lim 100
FRD
FROM BCD
Source I1:1.0
Dest N7:0
DDV
DOUBLE DIVIDE
Source 100
Dest N7:8
] [
I:2.0
0
(U)
S:5
0
] [
I:2.0
1
Acepta CV
Error - fuera de rango
Auto
] [
I:2.0
2
Manual
(L)
N7:10
1
(U)
N7:10
1
Bit A/M
Bit A/M
A/M Bit
LIM
LIMIT TEST
Low Lim 101
Test N7:0
High Lim –1
Instrucción proporcional integral derivativa
9–23
Alimentación hacia adelante o bias
Las aplicaciones que involucran demoras de transporte pueden requerir que se añada
un bias a la salida CV en espera de una perturbancia. Este bias se puede realizar
usando el procesador LSC 5/02, SLC 5/03 ó SLC 5/04 escribiendo un valor al
elemento de bias de alimentación hacia adelante, el séptimo elemento (palabra 6) en
el archivo de bloque de control. (Vea la página 9–11.) El valor que escribe se
añadirá a la salida para así permitir que se efectúe una acción de alimentación hacia
adelante. Puede añadir un bias escribiendo un valor entre ±16383 y +16383 a
palabra 6 con su terminal de programación o programa de escalera.
Salidas de tiempo proporcional
Para aplicaciones de calentamiento o enfriamiento, la salida analógica de variable de
control típicamente es convertida en una salida de tiempo proporcional. Aunque
esto no se puede realizar directamente en el procesador SLC 5/02, SLC 5/03 ó SLC
5/04, puede usar el programa en la página siguiente para convertir la variable de
control en una salida de tiempo proporcional. En este programa, el tiempo de ciclo
es el valor preseleccionado del temporizador T4:0. El tiempo de ciclo se relaciona
con el % a tiempo de la manera siguiente:
T4:0.PRE es el tiempo de ciclo
salida 100% a tiempo
% a tiempo
Manual de referencia del juego de instrucciones
9–24
Ejemplo – Salidas de tiempo proporcional
(L)
O:1.0
0
(U)
O:1.0
0
(RES)
T4:0
(EN)
(DN)
TON
TIMER ON DELAY
Timer T4:0
Time Base 0.01
Preset 1000
Accum 0
NEQ
NOT EQUAL
Source A N7:25
0
Source B 0
GRT
GREATER THAN
Source A T4:0.ACC
0
Source B N7:25
0
MUL
MULTIPLY
Source A N7:1
0
Source B T4:0.PRE
1000
Dest N7:25
0
DDV
DOUBLE DIVIDE
Source 16383
Dest N7:25
0
CLR
CLEAR
Dest S:5
0
PID
PID
Control Block N7:2
Process Variable N7:0
Control Variable N7:1
Control Block Length 23
END
] [
T4:0
DN
] [
N7:2
13
Instrucción proporcional integral derivativa
9–25
Sintonización PID
La sintonización PID requiere el conocimiento del control de proceso. Si no tiene
experiencia, sería útil obtener instrucción técnica acerca de la teoría y métodos de
control de proceso usados por su empresa.
Existen varias técnicas que se pueden usar para sintonizar un lazo PID. El método
de ajuste PID siguiente es general y es limitado respecto al manejo de
perturbaciones de carga. Cuando sintoniza, le recomendamos que efectúe cambios
en el modo MANUAL, seguido por un retorno a AUTOMATICO. El límite de
salida se aplica en el modo MANUAL.
Nota Este método requiere que la instrucción PID controle una aplicación no crítica
respecto a la seguridad personal y daños al equipo.
Procedimiento
1. Cree su programa de escalera. Asegúrese que haya escalado correctamente su
entrada analógica en el rango de la variable de proceso PV y que haya escalado
correctamente su variable de control CV a su salida analógica.
2. Conecte su equipo de control de proceso a los módulos analógicos. Cargue el
programa en el procesador. Deje el procesador en el modo de programa.
Asegúrese que todas las posibilidades de movimiento de la máquina hayan sido
consideradas en cuanto a la seguridad personal y daños al equipo. Es posible
que la salida CV pueda oscilar entre 0 y 100% durante la sintonización.
Si desea verificar el escalado de su sistema continuo y/o determinar el tiempo de
actualización del lazo inicial del sistema, pase al procedimiento en la página 9–27.
3. Introduzca los valores siguientes: el valor de punto de ajuste inicial SP, un Ti de
restablecimiento de 0, un régimen Td de 0, una ganancia Kc de 1 y una
actualización de lazo de 5.
Establezca el modo PID a STI o temporizado, según su diagrama de escalera. Si
STI es seleccionado, asegúrese que el tiempo de actualización del lazo sea igual
al intervalo de tiempo STI.
Introduzca los establecimientos opcionales aplicables (límite de salida, alarma
de salida, escalado Smax – Smin, alimentación hacia adelante).
4. Prepárese para registrar el CV, PV, entrada analógica o salida analógica a
medida que vaya variándose con el transcurso de tiempo con respecto al valor
del punto de ajuste SP.
Manual de referencia del juego de instrucciones
9–26
5. Coloque la instrucción PID en el modo MANUAL, luego coloque el procesador
en el modo de marcha.
6. Mientras monitoriza la pantalla PID, ajuste el proceso manualmente escribiendo
al valor de porcentaje CO.
7. Cuando perciba tener el proceso bajo control manual, coloque la instrucción
PID en el modo AUTOMATICO.
8. Ajuste la ganancia a medida que vaya observando la relación de la salida con el
punto de ajuste durante el transcurso de tiempo.
Cuando usa el procesador SLC 5/02, los ajustes de ganancia perturban el
proceso cuando cambia los valores. Para evitar esta perturbación, cambie al
modo MANUAL antes de efectuar el cambio de ganancia y luego retorne al
modo AUTOMATICO. Cuando usa el procesador SLC 5/03 ó SLC 5/04, los
cambios de ganancia no perturban el proceso; por lo tanto, no es necesario
cambiar al modo MANUAL.
9. Cuando observe que el proceso está oscilando arriba y abajo del punto de ajuste
de una manera uniforme, registre la duración de 1 ciclo. Eso es, obtenga el
período natural del proceso.
Período natural ≅ 4x tiempo muerto
Registre el valor de ganancia. Retorne al modo MANUAL (detenga el proceso
si fuese necesario).
10. Establezca el tiempo de actualización del lazo (y el intervalo de tiempo STI si es
aplicable) a un valor de 5 a 10 veces más rápido que el período natural.
Por ejemplo, si el tiempo de ciclo es 20 segundos y usted elige establecer el
tiempo de actualización del lazo a 10 veces más rápido que la velocidad natural,
establezca el tiempo de actualización del lazo a 200, lo que resultará en una
velocidad de 2 segundos.
11. Establezca el valor de ganancia Kc a 1/2 de la ganancia necesaria para obtener
el período natural del proceso. Por ejemplo, si el valor de ganancia registrado
en el paso 9 fue 80, establezca la ganancia a 40.
12. Establezca el término de restablecimiento Ti para que éste se aproxime al
período natural. Si el período natural es 20 segundos, como en nuestro ejemplo,
se establecerá el término de restablecimiento a 3 (0.3 minutos por repetición se
aproximan a 20 segundos).
13. Ahora establezca el régimen Td para que éste sea igual a un valor de 1/8 del
término de restablecimiento. Para nuestro ejemplo, el valor 4 será usado para
proporcionar un término de régimen de 0.04 minutos por repetición.
Instrucción proporcional integral derivativa
9–27
14. Coloque el proceso en el modo AUTOMATICO. Si tiene un proceso ideal, la
sintonización PID será finalizada.
15. Para efectuar ajustes de este punto en adelante, coloque la instrucción PID en el
modo MANUAL, introduzca el ajuste y retorne la instrucción PID al modo
AUTOMATICO.
Esta técnica de cambiar al modo MANUAL y luego retornar al modo
AUTOMATICO asegura que la mayor parte del “error de ganancia” se elimine
al momento de realizar cada ajuste. Esto le permite observar inmediatamente
los efectos de cada ajuste. El alternar el renglón PID permite que la instrucción
PID se reinicie eliminando así toda la “acumulación integral”. Es posible que
desee alternar el renglón PID como falso a medida que vaya sintonizando para
eliminar los efectos de los ajustes de sintonización anteriores.
Cómo verificar el escalado del sistema continuo
Para asegurarse que el proceso sea lineal y que el equipo esté correctamente
conectado y escalado, realice lo siguiente:
1. Coloque la instrucción PID en el modo manual e introduzca los parámetros
siguientes:
• escriba: 0 para Smin
• escriba: 100 para Smax
• escriba: 0 para CO%
2. Introduzca el modo de marcha REM y verifique que PV=0.
3. Escriba: 20 en CO%
4. Registre el PV = _______
5. Escriba: 40 en CO%.
6. Registre el PV = _______
7. Escriba: 60 en CO%.
8. Registre el PV = _______
9. Escriba: 80 en CO%.
10. Registre el PV = _______
Manual de referencia del juego de instrucciones
9–28
11. Los valores que ha registrado deben tener un offset del CO% con la misma
cantidad. Esto prueba la linealidad del proceso. El ejemplo siguiente muestra
una progresión de offset de quince.
CO 20% = PV 35%
CO 40% = PV 55%
CO 60% = PV 75%
CO 80% = PV 95%
Si los valores que ha registrado no tienen el offset con la misma cantidad:
• El escalado es incorrecto, o
• el proceso no es lineal, o
• el equipo no está conectado y/o configurado correctamente.
Haga las correcciones necesarias y repita los pasos 2–10.
Cómo determinar el tiempo de actualización del lazo inicial
Para determinar el tiempo de actualización del lazo aproximado que se debe usar
para su proceso, realice lo siguiente:
1. Coloque los valores de aplicación normales en Smin y Smax.
2. Escriba: 50 en CO%.
3. Escriba: 60 en CO% y active inmediatamente su cronómetro.
4. Observe el PV. Cuando el PV comience a cambiar, pare el cronómetro.
Registre este valor. Esto constituye el tiempo muerto.
5. Multiplique el tiempo muerto por 4. Este valor se aproxima al período natural.
Por ejemplo, si:
tiempo muerto = 3 segundos, entonces 4  3 = 12 segundos (≅ período natural)
6. Divida el valor obtenido en el paso 5 entre 10. Use este valor como el tiempo
de actualización del lazo. Por ejemplo, si:
período natural = 12 segundos, entonces 12 10 = 1.2 segundos.
Por lo tanto, el valor 120 se introducirá como el tiempo de actualización del
lazo.
(120 10 ms = 1.2 segundos)
Instrucción proporcional integral derivativa
9–29
7. Introduzca los valores siguientes: El valor SP de punto de ajuste inicial, un Ti
de restablecimiento de 0, un Td de régimen de 0, un Kc de ganancia de 1 y el
tiempo de actualización del lazo determinado en el paso 17.
Establezca el modo PID a STI o temporizado, según su diagrama de escalera. Si
selecciona STI, asegúrese que el tiempo de actualización del lazo sea igual al
intervalo de tiempo STI.
Introduzca los posicionamientos opcionales aplicables (límite de salida, alarma
de salida, escalado Smax – Smin, alimentación hacia adelante).
8. Retorne a la página 9–25 y finalice el procedimiento de sintonización a partir
del paso 4.
Manual de referencia del juego de instrucciones
9–30
Instrucciones ASCII
10–1
10 Instrucciones ASCII
Este capítulo contiene información general acerca de las instrucciones ASCII y
explica cómo funcionan en su programa de aplicación. Cada una de las
instrucciones incluye información acerca de:
• cómo aparece el símbolo de instrucción
• cómo usar la instrucción
Instrucciones ASCII
Instrucción
Propósito Página
Mnemónico Nombre
Propósito Página
ABL    '
 %
  '     '
   #  $    %
10-7
ACB ' 
  '
  '      ' 10-8
ACI    !     !  10-10
ACL   '
   
# 
  '   #   10-11
ACN  

     10-12
AEX   (

         
  !
10-13
AHL %  (
  
    %   
 
10-14
AIC    !  !     10-16
ARD   
  
    '   #  (
   
10-17
'   $
Preface
Manual de referencia del juego de instrucciones
10–2
Instrucción
Propósito Página
Mnemónico Nombre
Propósito Página
ARL   

           !
       
10-20
ASC   !

    10-22
ASR   
  
     10-23
AWA   
  
          
      
10-24
AWT         10-27
Descripción general de ASCII
Las instrucciones ASCII están disponibles en los procesadores SLC 5/03 OS301 y
superiores y todos los procesadores SLC 5/04. Existen dos tipos de instrucciones
ASCII:
• Control de puerto ASCII – esto incluye instrucciones que usan o modifican el
canal de comunicación para la recepción o transmisión de datos. Cuando usa
estas instrucciones, la configuración del sistema debe estar establecida en el
“modo de usuario”.
(ABL, ACB, ACL, AHL*, ARD, ARL, AWA*, AWT*)
* – significa que debe estar en el modo de usuario o sistema
Las instrucciones de control de puerto ASCII se colocan en cola según el orden
de ejecución y dependen la una de la otra para ejecutarse (excepto ACL, la cual
se ejecuta inmediatamente). Por ejemplo, si tiene una ARD (instrucción de
lectura ASCII) y luego una AWT (instrucción de escritura ASCII), el bit de
efectuado o el bit de error de la ARD debe estar establecido antes de que AWT
pueda comenzar ejecutarse (aun cuando AWT se ha habilitado durante la
ejecución de ARD por parte del procesador). Una segunda instrucción de
control de puerto ASCII no puede comenzar a ejecutarse hasta que la primera se
haya finalizado. Sin embargo, el procesador no espera la finalización de una
instrucción de control de puerto ASCII antes de que siga ejecutando su
programa de escalera.
• Control de cadena ASCII – esto incluye instrucciones que manejan los datos de
cadena. (ACI, ACN, AEX, AIC, ASC, ASR)
Las instrucciones de control de cadena ASCII se ejecutan inmediatamente.
Nunca se colocan en cola para esperar su ejecución.
Instrucciones ASCII
10–3
Descripción general del parámetro de protocolo
A continuación aparecen los parámetros de protocolo ASCII que usted estableció
vía las pantallas de configuración de canal 0 en el software de programación.
Descripción Especificación
#
#+)% %+)   
   .   # -#)
')+)$% * 
+*  ))%(,
# -#) ')+)$% *  . % * ',
$)
+*  ')
* '%* %#,.%   .  # -#)
')+)$% * 
)
#+)% %+) % ,% $') . ) # -#)
')+)$% * % ,%
+*  +*
#+)% %+) .  # -#) ')+)$% *

)+)*  +)$%0%
 ')$+ % ,)) !*+  )+)* 
 %*+),0%  ,* #(,* ') +)$%)
# #% +,  % # -#) ')+)$%
* 
)+)* /*
 ')$+ % ,)) !*+  )+)* 
 %*+),0%  / #* )+)* # %#
  % ') *)-) $ )+)* 
+)$%0% ') # *'*+- )'+) # -#)
')+)$% *
Preface
Manual de referencia del juego de instrucciones
10–4
Cómo usar el tipo de archivo de datos ASCII
Estos son elementos de 1 palabra. Asigne las direcciones ASCII así:
Formato Explicación
A $  
Af:e/b
f     $      $   ' ! # #! 
:   
e
  

  ' ! ! #     
/   
b
  

%         '
Ejemplos:
A9:2    $   
A10:0/7      $   
Cómo usar el tipo de archivo de datos de cadena (ST)
Este tipo de archivo es válido para los procesadores SLC 5/03 OS301, OS302 y SLC
5/04 OS400, OS401. Estos son elementos de 42 palabras. Puede direccionar las
longitudes de cadena añadiendo un .LEN a cualquier dirección de cadena (por
ejemplo, ST17:1.LEN). Los números del archivo de datos de cadena válidos son
9–255.
Las longitudes de cadena deben estar entre 0 y 82. Por lo general, las longitudes
fuera de este rango causan que el procesador establezca el bit de error ASCII
(S:5/15) y la instrucción no se ejecuta.
Nota Configura los caracteres añadidos o fin de línea vía la pantalla de configuración de
canal. Los caracteres añadidos predeterminados son el retorno del carro y
alimentación de línea; el carácter de fin de línea (terminación) predeterminado es
un retorno de carro.
Todas las instrucciones, menos ACL y AHL, entrarán en error si el puerto se
inhabilita.
Instrucciones ASCII
10–5
Asigne direcciones de cadena así:
Formato Explicación
ST   
STf:e.s/b f )     )   $ * # !% %#
: $   $
e
) 
$
  * #$ # #  $ #   !#
 $# !  $ 
. $   #%$
#
) 
#%$
  *   #   $% 
/ $   $
b )  $
(  $ $  $    *
  $    $  #$' #! 
!  !   $ #  
Ejemplos:
ST9:2 $    
ST10:2.3/8 $  #%$   $
Manual de referencia del juego de instrucciones
10–6
Cómo introducir parámetros
El elemento de control para las instrucciones ASCII incluye ocho bits de estado, un
byte de código de error y dos palabras de carácter:
EN EU DN EM ER UL IN FD| Error Code
15 14 13 12 11 10 9 8 7 6 5 4 3 2 1 0
Number of characters for sending or receiving (LEN)
Number of characters sent or received (POS)
EN = Enable Bit
EU = Queue Bit
DN = Asynchronous Done Bit
EM = Synchronous Done Bit
ER = Error Bit
UL = Unload Bit
IN = Running Bit (Este bit es el bit IN en el archivo
de datos de control [R6:].)
FD = Found Bit
Word 0
Word 1
Word 2
• El bit encontrado FD (bit 8) indica que la instruccion ha encontrado el fin de
caracteres o caracteres de terminación en el búfer (se aplica a las instrucciones
ABL y ACB).
• El bit de marcha IN (bit 9) indica que una instrucción puesta en cola se está
ejecutando.
• El bit de descarga UL (bit 10) detiene la operación de instrucción antes (puede
estar puesta en cola) o durante la ejecución. Si este bit se establece durante la
ejecución de una instrucción, los datos ya procesados se envían al destino.
Anote que la instrucción no se elimina de la cola; los datos remanentes
simplemente no se procesan. Usted establece este bit.
• El bit de error ER (bit 11) indica que un error ocurrió durante la ejecución de
la instrucción, tal como un cambio de modo vía canal 1 ó la instrucción fue
cancelada usando el bit UL o la instrucción ACL.
• El bit de efectuado sincrónico EM (bit 12) se establece concurrentemente a
un escán de programa para indicar la finalización de una instrucción ASCII.
• El bit de efectuado asincrónico DN (bit 13) se establece en la parte opuesta de
un escán de programa cuando una instrucción completa su operación
exitosamente. Anote que una instrucción puede demorar más que un escán de
programa para terminar la ejecución.
• El bit de cola EU (bit 14) indica que una instrucción ASCII ha sido colocada
en la cola ASCII. Esta acción se demora si la cola ya está llena. La cola puede
contener hasta 16 instrucciones.
• El bit de habilitación EN (bit 15) indica que una instrucción se ha habilitado
debido a una transición de falso a verdadero. Este bit permanece establecido
hasta que la instrucción haya terminado la ejecución de errores.
Instrucciones ASCII
10–7
Prueba de búfer por línea (ABL)
Use la instrucción ABL para determinar el número total de caracteres en el búfer de
entrada, hasta e incluyendo los caracteres de fin de línea (terminación). Esta
instrucción busca dos caracteres de terminación que usted configura vía la pantalla
de configuración de puerto ASCII. Durante una transición de falso a verdadero, el
procesador comunica el número de caracteres en el campo POS del bloque de
control ASCII. El puerto en serie debe estar configurado para el modo de usuario.
Cómo introducir parámetros
Introduzca los parámetros siguientes al programar esta instrucción:
• El canal es el número del puerto RS-232 (canal 0).
• El control es el área que almacena el registro de control requerido para operar
la instrucción.
• Los caracteres son el número de caracteres en el búfer que el procesador
encuentra (0–1024). Este parámetro se muestra en pantalla solamente y reside
en la palabra 2 del bloque de control.
• El error muestra el código de error hexadecimal que indica por qué el bit ER se
ha establecido en el archivo de datos de control (R6:). Vea la página 10–29 para
obtener descripciones del código de error.
Ejemplo
ABL
ASCII TEST FOR LINE
Channel
Control
I:1
10
Characters
0
R6:32
EN
DN
ER
          
          
      
0
Error
Cuando el renglón cambia de falso a verdadero, se establece el bit de habilitación
(EN). La instrucción se coloca en la cola de instrucción ASCII, el bit de cola (EU)
se establece y el escán de programa continúa. Luego, la instrucción se ejecuta fuera
del escán de programa. Sin embargo, si la cola está vacía, la instrucción se ejecuta
inmediatamente. Al ejecutarse, se establece el bit de marcha.
3
3
ASCII TEST FOR LINE
Channel
Control
Characters 0
Error
(EN)
(DN)
ABL
(ER)
Manual de referencia del juego de instrucciones
10–8
El procesador determina el número de caracteres (hasta e incluyendo los caracteres
de fin de línea/terminación) y coloca este valor en el campo de posición. El bit de
efectuado (DN) se establece.
Si cero aparece en el campo POS, es indicación de que se encontraron caracteres de
fin de línea/terminación. El bit de encontrado (FD) se establece si el campo de
posición se estableció a un valor que no sea cero.
Cuando el programa escanea la instrucción y encuentra el bit de efectuado (DN)
establecido, el procesador establece el bit de efectuado sincrónico (EM). El bit EM
sirve como bit de efectuado secundario correspondiente al escán de programa.
El bit de error (ER) se establece durante la ejecución de la instrucción si:
• la instrucción se cancela – puerto en serie no en el modo de usuario
• la instrucción se cancela debido a un cambio de modo de canal
• el bit de descarga (UL) se establece y la instrucción no se ejecuta
Número de caracteres
en búfer (ACB)
Use la instrucción ACB para determinar los caracteres totales en el búfer. En una
transición de falso a verdadero, el procesador determina el número total de
caracteres y lo registra en el campo de posición del bloque de control ASCII. El
puerto en serie debe estar en el modo de usuario.
Cómo introducir parámetros
Introduzca los parámetros siguientes al programar esta instrucción:
• El canal es el número del puerto RS-232 (canal 0).
• El control es el área que almacena el registro de control requerido para operar
la instrucción.
• Los caracteres son el número de caracteres en el búfer que el procesador
encuentra (0–1024). Este parámetro se muestra en pantalla solamente y reside
en ;a palabra 2 del bloque de control.
• El error muestra el código de error hexadecimal que indica por qué el bit ER se
ha establecido en el archivo de datos de control (R6:). Vea la página 10–29 para
obtener descripciones del código de error.
3
3
ASCII CHARS IN BUFFER
Channel
Control
Characters 0
Error
(EN)
(DN)
ACB
(ER)
Instrucciones ASCII
10–9
Ejemplo
ACB
ASCII CHARS IN BUFFER
Channel
Control
I:1
10
Characters
0
R6:32
EN
DN
ER
         
          
      
0
Error
Cuando el renglón va de falso a verdadero, el bit de habilitación (EN) se establece.
Cuando la instrucción se coloca en la cola ASCII, el bit de cola (EU) se establece.
El bit de marcha (RN) se establece cuando la instrucción se está ejecutando. El bit
de efectuado (DN) se establece al momento en que la instrucción se finaliza.
El procesador determina el número de caracteres en el búfer y coloca este valor en el
campo de posición del bloque de control. El bit de efectuado (DN) se establece. Si
aparece cero en el campo de caracteres, indica que no se encontraron caracteres.
Cuando el programa escanea la instrucción y encuentra el bit de efectuado (DN)
establecido, el procesador establece el bit sincrónico (EM). El bit EM sirve como
bit de efectuado secundario correspondiente al escán de programa.
El bit de error (ER) se establece durante la ejecución de la instrucción si:
• la instrucción se cancela – puerto en serie no está en el modo de usuario
• la instrucción se cancela debido a un cambio de modo de canal
• el bit de descarga (UL) se establece y la instrucción no se ejecuta
Preface
Manual de referencia del juego de instrucciones
10–10
Cadena a entero (ACI)
Use la instrucción ACI para convertir una cadena ASCII en un valor entero entre
–32,768 y 32,767.
Ejemplo
ACI
STRING TO INTEGER
Source
Destination
I:1
10


ST38:90
N7:123
75
  $'$  $    %+ % 
#($       ' $# *  -
!  $%' #   
El procesador busca la fuente (tipo de archivo ST) para localizar el primer carácter
entre 0 y 9. Todos los caracteres numéricos son extraídos hasta alcanzar un carácter
no numérico o el fin de la cadena. La acción se realiza solamente si caracteres
numéricos se encuentran. Si la cadena contiene una longitud inválida ( 0 ó  82),
el bit de error ASCII S:5/15 se establece. Comas y señales (+, –) se permiten en la
cadena. Sin embargo, solamente el signo menos se muestra en la tabla de datos.
Luego la cadena numérica extraída se convierte en entero. El bit de error ASCII
S:5/15 se establece si un overflow numérico ocurre o si la cadena contiene una
longitud de cadena inválida. Se obtiene el valor de 32,767 como el resultado.
Esta instrucción también establece los indicadores aritméticos (encontrados en
palabra 0, bits 0–3 en el archivo de estado de procesador S:0):
Con este bit: El procesador:
  $$#  %+ $%$(#
  ($ #) 
% %  %  ( #$ $# % '$ '$  $#
(+ #
  $#  % %  %  ( #$ $# % $#
  #  % %  %  $%' # % (#
3
3
ACI
STRING TO INTEGER
Source
Dest
%$',  %
Instrucciones ASCII
10–11
Borrado del búfer ASCII de
recepción y/o transmisión (ACL)
Use esta instrucción para borrar un búfer ASCII. Las instrucciones ASCII son
eliminadas de la cola y luego el bit de error (ER) se establece. Esta instrucción se
ejecuta inmediamente al momento de transición del renglón a un estado verdadero.
La instrucción funcionará cuando el canal se encuentre en el modo de usuario o el
modo de sistema. En el modo de sistema, sólo el borrado del búfer de transmisión
operará y únicamente si DF1 se detecta como el protocolo del modo de sistema.
Cómo introducir parámetros
Introduzca los parámetros siguientes al programar esta instrucción:
• El canal es el número del puerto RS-232 (canal 0).
• El borrado del búfer de recepción borra el búfer de recepción y elimina las
instrucciones ARD y ARL de la cola. El bit de error (ER) se establece en cada
una de estas instrucciones.
• El borrado del búfer de transmisión borra el búfer de transmisión y elimina
las instrucciones AWA y AWT de la cola. El bit de error (ER) se establece en
cada una de estas instrucciones.
Cuando el borrado del búfer de recepción y el borrado del búfer de transmisión
se establece a Sí, todas las instrucciones se eliminan de la cola.
Ejemplo
ACL
ASCII CLEAR BUFFER
Channel
Clear Receive Buffer
I:1
10


0
Y
N
Clear Send Buffer
            
           
Cuando el renglón se hace verdadero, el(los) búfer(es) seleccionado(s) se borra(n) y
la(s) instrucción(es) ASCII se elimina(n) de la cola de instrucción ASCII.
3
3
ACL
ASCII CLEAR BUFFER
Channel
Clear Receive Buffer
Clear Send Buffer
Manual de referencia del juego de instrucciones
10–12
Concatenado de cadenas (ACN)
La instrucción ACN combina dos cadenas usando cadenas ASCII como operandos.
La segunda cadena se añade a la primera y el resultado se almacena en el destino.
Cómo introducir parámetros
Introduzca los parámetros siguientes al programar esta instrucción:
• La fuente A es la primera cadena en el procedimiento concatenado.
• La fuente B es la segunda cadena en el procedimiento concatenado.
• El destino es el lugar donde el resultado de la fuente A y B se almacena.
Ejemplo
ACN
STRING CONCATENATE
Source A
Source B
I:1
10


ST37:42
ST38:91
ST52:76
Destination
        ! 
        
        
Solamente los 82 primeros caracteres (0–81) se escriben al destino. Si el resultado
es  0 ó  82, el bit de error ASCII S:5/15 se establece.
3
3
ACN
STRING CONCATENATE
Source A
Source B
Dest
Instrucciones ASCII
10–13
Extracción de cadena (AEX)
Use la instrucción AEX para crear una cadena nueva tomando una porción de una
cadena existente y enlazándola a una cadena nueva.
Cómo introducir parámetros
Introduzca los parámetros siguientes al programar esta instrucción:
• La fuente es la cadena existente. El valor de fuente no es afectado por esta
instrucción.
• El índice es la posición inicial (de 1 a 82) de la cadena que desea extraer. (Un
índice de 1 indica el carácter del extremo izquierdo de la cadena.)
• El número es el número de caracteres (de 1 a 82) que desea extraer, a partir de
la posicion indexada. Si el índice más el número son mayores que los
caracteres totales en la cadena de fuente, la cadena de destino tendrá los
caracteres desde el índice hasta el final de la cadena de fuente.
• El destino es el elemento de cadena (ST) donde desea almacenar la cadena
extraída.
Ejemplo
AEX
STRING EXTRACT
Source
Index
I:1
10


Number
Destination
ST38:40
42
10
ST52:75
         
         
  !      
Las condiciones siguientes causan que el procesador establezca el bit de error ASCII
(S:5/15):
• longitud de fuente inválida o longitud de cadena de cero
• valores de índice o número fuera de rango
• valor de índice mayor que la longitud de la cadena de fuente
3
3
STRING EXTRACT
Source
Index
Number
Dest
AEX
#
Manual de referencia del juego de instrucciones
10–14
La cadena destino no se cambia en ninguna de las condiciones de error anteriores.
Sin embargo, el destino se cambiará si el valor de índice más el valor de número son
mayores que la longitud de cadena. Anote que el bit de error ASCII (S:5/15) no se
establece.
Líneas de comunicación (AHL)
Use la instrucción AHL para establecer o restablecer las líneas de control de
comunicación RS-232 Terminal de datos lista (DTR) y Petición de envío (RTS) para
su módem. En una transición de falso a verdadero, el procesador usa las dos
máscaras para determinar si va a establecer o restablecer las líneas DTR y RTS, o si
no las va a cambiar. Esta instrucción operará cuando el puerto está en cualquier
modo o está inhabilitado.
Nota Asegúrese que el control de módem automático usado por el puerto no sea
incompatible con esta instrucción.
Cómo introducir parámetros
Introduzca los parámetros siguientes al programar esta instrucción:
• El canal es el número del puerto RS-232 (canal 0).
• La máscara AND es el tipo de máscara usada para restablecer las líneas de
control DTR y RTS. El bit 0 corresponde a la línea DTR y el bit 1 corresponde
a la línea de control RTS. Un 1 en el bit de máscara causa que la línea se
restablezca; un 0 deja la línea sin cambio. Anote que los valores de máscara no
tienen una correspondencia de uno a uno con las líneas de control del módem.
• La máscara OR es el tipo de máscara usada para establecer las líneas de
control DTR y RTS. El bit 0 corresponde a la línea DTR y el bit 1 corresponde
a la línea de control RTS. Un 1 en el bit de máscara causa que la línea se
establezca; un 0 deja la línea sin cambio. Anote que los valores de máscara no
tienen una correspondencia de uno a uno con las líneas de control del módem.
• El control es el área que almacena el registro de control necesario para operar
la instrucción.
3
3
ASCII HANDSHAKE LINES
Channel
AND Mask
OR Mask
Control
Channel Status
Error
AHL
(EN)
(DN)
(ER)
Instrucciones ASCII
10–15
• El estado de canal muestra el estado actual (0000 a 001F) de las líneas de
handshake para el canal especificado anteriormente. Este campo es de
visualización solamente y reside en la palabra 2 del elemento de control.
• El error muestra el código de error hexadecimal que indica por qué el bit ER se
estableció en el archivo de datos de control (R6:). Vea la página 10–29 para
obtener descripciones del código de error.
Ejemplo: Lo siguiente muestra el estado de canal como 001F.
      
%%)     
    
'
-!

 #%$( '
 ', '
 * $( '  '
',! '
Ejemplo
AHL
ASCII HANDSHAKE LINES
Channel
AND Mask
I:1
10


OR Mask
Control
0
ABCD
DACB
Channel Status
R6:23
001F
EN
DN
ER
  %!(%  !'%  '  ', ' 
'    ,%   ' #% %%% 
-!    '  *    ,%  
'! '+  -!  *  Error 00
El bit de error (ER) se establece durante la ejecución de la instrucción si:
• la instrucción se cancela debido a un cambio de modo de canal
• el bit de descarga (UL) se establece y la instrucción no se ejecuta
Manual de referencia del juego de instrucciones
10–16
Entero a cadena (AIC)
La instrucción AIC convierte un valor entero (–32,768 y 32,767) en una cadena
ASCII. La fuente puede ser una constante o una dirección de entero.
Ejemplo
AIC
INTEGER TO STRING
Source
Destination
I:1
10


867
ST38:42
           
           
3
3
AIC
INTEGER TO STRING
Source
Dest
!
Instrucciones ASCII
10–17
Lectura de caracteres ASCII (ARD)
Use la instrucción ARD para leer caracteres desde el búfer y almacenarlos en una
cadena. Para repetir la operación, el renglón debe ir de falso a verdadero.
Cómo introducir parámetros
Introduzca los parámetros siguientes al programar esta instrucción:
• El canal es el número del puerto RS-232 (canal 0).
• El destino es el elemento de cadena donde desea almacenar los caracteres.
• El control es la dirección del bloque de control usado para almacenar datos
para la instrucción ARD.
• La longitud de cadena (.LEN) es el número de caracteres que desea leer desde
el búfer. El máximo es 82 caracteres. Si especifica una longitud mayor que 82,
sólo los 82 primeros caracteres serán leídos. (Un cero retorna el valor
predeterminado de 82.) Esta es la palabra 1 en el bloque de control.
• Los caracteres leídos (.POS) son el número de caracteres que el procesador ha
transferido del búfer a la cadena (0 a 82). Este campo se actualiza durante la
ejecución de la instrucción y es de visualización solamente. Esta es la palabra 2
en el bloque de control.
• El error muestra el código de error hexadecimal que indica por qué el bit ER se
estableció en el archivo de datos de control (R6:). Vea la página 10–29 para
obtener descripciones del código de error.
Ejemplo
ARD
ASCII READ
Channel
Destination
I:1
10
Control
0
ST52:76
R6:23
String Length 50
Characters Read
EN
DN
ER
         !
         !
   
Error 00
0
3
3
ASCII READ
Channel
Dest
Control
String Length
Characters Read
Error
(EN)
(DN)
ARD
(ER)
Manual de referencia del juego de instrucciones
10–18
Cuando el renglón va de falso a verdadero, el bit de habilitación (EN) se establece.
Cuando la instrucción se coloca en la cola ASCII, el bit de cola (EU) se establece.
El bit de marcha (RN) se establece cuando la instrucción se está ejecutando. El bit
DN se establece una vez completada la instrucción.
Una vez que el número de caracteres solicitado está en el búfer, los caracteres se
transfieren a la cadena destino. El número de caracteres transferido se coloca en el
campo POS del bloque de control. El número en el campo de lectura de caracteres
se actualiza continuamente y el bit de efectuado (DN) no se establece sino hasta que
todos los caracteres hayan sido leídos.
Cuando el programa escanea la instrucción y encuentra el bit de efectuado (DN)
establecido, el procesador establece el bit de efectuado síncrono (EM). El bit EM
sirve como bit de efectuado secundario correspondiente al escán de programa.
El bit de error (ER) se establece durante la ejecución de la instrucción si:
• la instrucción se cancela – el puerto en serie no está en el modo de usuario
• el módem está desconectado (la selección de línea de control es diferente a “NO
HANDSHAKING”)
• la instrucción se cancela debido a un cambio de modo de canal
• el bit de descarga (UL) está establecido. La instrucción deja de ejecutar, pero
los caracteres recibidos se envían al destino.
• un ACL para borrar el búfer de recepción se ejecuta, eliminando así la
instrucción ARD de la cola ASCII.
Instrucciones ASCII
10–19
Diagrama de temporización para una instrucción exitosa ARD, ARL, AWA y
AWT
         
,  ,
$  $,  
$     
$  $%
$   
  
$  $% #+   










 -  , #  
 -  #$%, #      *'$    
 -  %,   #$%, #   !$
 -  #$%,  # # !  ! ( #!%*#  $  %,
 -  , #  #
 -  #$%,  #$)    # #$) %$


$
Manual de referencia del juego de instrucciones
10–20
Lectura ASCII de línea (ARL)
Use la instrucción ARL para leer caracteres desde el búfer, hasta e incluyendo los
caracteres de fin de línea (terminación), y almacenarlos en una cadena. Los
caracteres de fin de línea son especificados vía la pantalla de configuración ASCII.
Cómo introducir parámetros
Introduzca los parámetros siguientes al programar esta instrucción:
• El canal es el número del puerto RS-232 (canal 0).
• El destino es el elemento de cadena donde desea almacenar los caracteres.
• El control es la dirección del bloque de control usado para almacenar datos
para la instrucción ARL.
• La longitud de cadena (LEN) es el número de caracteres que desea leer desde
el búfer. El máximo es 82 caracteres. Si especifica una longitud mayor que 82,
solamente los 82 primeros caracteres serán leídos y transferidos al destino. (Un
0 retorna al valor predeterminado de 82.) Esta es la palabra 1 en el bloque de
control.
• Los caracteres leídos (POS) son el número de caracteres que el procesador ha
transferido del búfer a la cadena (0 a 82). Este campo es de visualización
solamente y reside en la palabra 2 del bloque de control.
• El error muestra el código de error hexadecimal que indica por qué el bit ER se
estableció en el archivo de datos de control (R6:). Vea la página 10–29 para
obtener descripciones del código de error.
Ejemplo
ARL
ASCII READ LINE
Channel
Destination
I:1
10


Control
0
ST52:72
R6:23
String Length
Characters Read
18
0
EN
DN
ER
         
          
$  !   
Error 00
3
3
ASCII Read Line
Channel
Dest
Control
String Length
Characters Read
Error
(EN)
(DN)
ARL
(ER)
#
Instrucciones ASCII
10–21
Cuando el renglón va de falso a verdadero, el bit de habilitación (EN) de elemento
de control se establece. Cuando la instrucción se coloca en la cola ASCII, el bit de
cola (EU) se establece. El bit de marcha (RN) se establece cuando la instrucción se
está ejecutando. El bit DN se establece a la finalización de la instrucción.
Una vez que el número de caracteres solicitado está en el búfer, todos los caracteres
(incluyendo los caracteres de fin de línea) se transfieren a la cadena destino. El
número de caracteres transferido se almacena en la palabra POS del bloque de
control. El número en el campo de caracteres leídos se actualiza continuamente y el
bit de efectuado (DN) no se establece hasta que todos los caracteres hayan sido
leídos. Excepción: Si el procesador encuentra caracteres de terminación antes de
finalizar la lectura, el bit de efectuado (DN) se establece y el número de caracteres
encontrado se almacena en la palabra POS del bloque de control.
Cuando el programa escanea la instrucción y encuentra el bit de efectuado (DN)
establecido, el procesador establece el bit síncrono (EM). El bit EM sirve como bit
de efectuado secundario correspondiente al escán de programa. El bit de error (ER)
se establece durante la ejecución de la instrucción si:
• la instrucción es cancelada – el puerto en serie no está en el modo de usuario
• el módem está desconectado (la selección de línea de control es diferente a “NO
HANDSHAKING”)
• la instrucción se cancela debido a un cambio de modo de canal
• el bit de descarga (UL) está establecido. La instrucción deja de ejecutar, pero
los caracteres recibidos se envían al destino.
• un ACL para borrar el búfer de recepción se ejecuta eliminando así la
instrucción ARD de la cola ASCII.
Nota Para obtener información acerca de la temporización de esta instrucción, refiérase
al diagrama de temporización en la página 10–19.
Manual de referencia del juego de instrucciones
10–22
Búsqueda de cadena (ASC)
Use la instrucción ASC para buscar una cadena existente en coincidencia con la
cadena fuente.
Cómo introducir parámetros
Introduzca los parámetros siguientes al programar esta instrucción:
• La fuente es la cadena que desea encontrar cuando examina la cadena fuente.
• El índice es la posición inicial (de 1 a 82) de la porción de la cadena que desea
encontrar. (Un índice de 0 indica el carácter del extremo izquierdo de la
cadena.)
• La búsqueda es la cadena que desea examinar.
• El resultado es un entero donde el procesador almacena la posición de cada
cadena de búsqueda donde la cadena fuente comienza. Si no hay ninguna
coincidencia, no ocurren cambios.
Ejemplo
ASC
STRING SEARCH
Source
Index
I:1
10
Search
Result
ST38:40
35
ST52:80
N10:0


    !  !   !#  !
        !  #!
  !        !
   !     
Las condiciones siguientes causan que el procesador establezca el bit de error ASCII
(S:5/15).
• longitud de cadena inválida o longitud de cadena de cero
• valor de índice fuera de rango
• valor de índice mayor que la longitud de la cadena fuente
El destino no cambia en ninguna de las condiciones anteriores.
3
3
STRING SEARCH
Source
Index
Search
Result
ASC
 !$
Instrucciones ASCII
10–23
Comparación de cadena ASCII (ASR)
Use la instrucción ASR para comparar dos cadenas ASCII. El sistema busca una
coincidencia en longitud y caracteres en mayúscula/minúscula. Si dos cadenas son
idénticas, el renglón es verdadero; si existen diferencias, el renglón es falso.
Cómo introducir parámetros
Introduzca los parámetros siguientes al programar esta instrucción:
• La fuente A es la cadena uno que se va a comparar.
• La fuente B es la cadena dos que se va a comparar.
Ejemplo
ASR
ASCII STRING COMPARE
Source A
Source B
O:1
1
ST37:42
ST38:90
          
         
Una longitud de cadena inválida causa que el procesador establezca el bit de error
ASCII S:5/15 y el renglón se hace falso.
3
3
ASCII STRING COMPARE
Source A
Source B
ASR
Manual de referencia del juego de instrucciones
10–24
Escritura ASCII con anexo (AWA)
Use la instrucción AWA para escribir caracteres desde una cadena fuente a un
dispositivo externo. Esta instrucción añade los dos caracteres anexos que usted
configura en la pantalla de configuración ASCII. Los caracteres predeterminados
son un retorno de carro y un avance de línea anexados al final de la cadena. Cuando
usa esta instrucción, también puede realizar la indirección en línea. Vea la página
10–26 para obtener más información.
Cómo introducir parámetros
Introduzca los parámetros siguientes al programar esta instrucción:
• El canal es el número del puerto RS-232 (canal 0).
• La fuente es el elemento de cadena que desea escribir.
• El control es el área que almacena el registro de control requerido para operar
la instrucción.
• La longitud de cadena (.LEN) es el número de caracters que desea escribir
desde la cadena fuente (0 a 82). Si introduce un 0, toda la cadena se escribirá.
Esta es la palabra 1 en el bloque de control.
• Los caracteres enviados (.POS) son el número de caracteres que el procesador
ha enviado al área de pantalla (0 a 82). Este campo se actualiza continuamente
durante la ejecución de la instrucción. Este valor puede ser mayor que la
longitud de cadena si los caracteres anexados o valores insertados de la
indirección en línea se usan. Si la longitud de cadena es mayor que 82, la
cadena escrita al destino será truncada a 82 caracteres. Esta es la palabra 2 en el
bloque de control.
• El error muestra el código de error hexadecimal que indica por qué el bit ER se
estableció en el archivo de datos de control (R6:). Vea la página 10–29 para
obtener descripciones del código de error.
Ejemplo
AWA
ASCII WRITE APPEND
Channel
Source
I:1
10


Control
0
ST37:42
R6:23
String Length
Characters Sent
25
0
EN
DN
ER
  !        $  
       # % 
     !  !   
 #   %   Error 00
3
3
ASCII WRITE APPEND
Channel
Source
Control
String Length
Characters Sent
Error
(EN)
(DN)
AWA
(ER)
 !
Instrucciones ASCII
10–25
Cuando el renglón va de falso a verdadero, el bit de habilitación de elemento de
control (EN) se establece. Cuando la instrucción se coloca en la cola ASCII, el bit
de cola (EU) se establece. El bit de marcha (RN) se establece cuando la instrucción
se está ejecutando. El bit DN se establece al final de la instrucción.
El sistema envía 25 caracteres desde el inicio de la cadena ST37:42 al dispositivo de
pantalla y luego envía caracteres anexos configurados por el usuario. El bit de
efectuado (DN) se establece y un valor de 27 está presente en la palabra .POS del
bloque de control ASCII.
Cuando el programa escanea la instrucción y encuentra el bit de efectuado (DN)
establecido, el procesador establece el bit de efectuado síncrono (EM) para servir
como bit de efectuado secundario correspondiente al escán de programa.
El bit de error (ER) se establece durante la ejecución de la instrucción si:
• la instrucción se cancela – el puerto en serie no está en el modo de usuario
• el módem está desconectado (la selección de línea de control es diferente a “NO
HANDSHAKING”)
• la instrucción se cancela debido a un cambio de modo de canal
• el bit de descarga (UL) está establecido. La instrucción deja de ejecutar, pero
los caracteres recibidos se envían al destino.
• un ACL para borrar el búfer de recepción se ejecuta, eliminando así la
instrucción ARD de la cola ASCII.
Nota Para obtener información acerca de la temporización de esta instrucción, refiérase
al diagrama de temporización en la página 10–19.
Manual de referencia del juego de instrucciones
10–26
Cómo usar la indirección en línea
Esto le permite insertar valores enteros y de punto (coma) flotante en cadenas
ASCII. El bit de marcha (RN) se debe establecer antes de que el valor de cadena se
pueda usar.
Las condiciones siguientes se aplican al realizar la indirección en línea:
• todos los archivos válidos enteros (N) y de punto (coma) flotante (F) se pueden
usar. Los rangos válidos incluyen 7, 8 y 9–255.
• los tipos de archivo no son sensibles al uso de mayúsculas/minúsculas y pueden
incluir dos puntos (:) o un punto y coma (;)
• los valores positivos y ceros delanteros no se imprimen. Los valores negativos
se imprimen con un signo menos delantero.
Ejemplos
Para los ejemplos siguientes:
N7:0 = 250
N7:1 = –37
F8:0 = 2.015000
F8:1 = 0.873000
Indirección en línea válida:
• Entrada: El caudal actual es [N7:0] GPH y contiene [F8:0] PPM de
contaminantes.
Salida: El caudal actual es 250 GPH y contiene 2.015000 PPM de
contaminantes.
• Entrada: La posición actual es [N5:1] a la velocidad de [F8:1] RPM.
Salida: La posición actual es –37 a la velocidad de 0.873000 RPM.
Indirección en línea no válida:
• Entrada: La posición actual es [N5:1] a la velocidad de [F8:1] RPM.
Salida: La posición actual es [N5:1] a la velocidad de 0.873000 RPM.
Nota La truncación ocurre en la cadena de salida si la indirección causa que la salida
exceda 80 caracteres. Los caracteres anexos siempre se aplican a la salida.
Instrucciones ASCII
10–27
Escritura ASCII (AWT)
Use la instrucción AWT para escribir caracteres desde una cadena fuente a un
dispositivo externo. Para repetir la instrucción, el renglón debe ir de falso a
verdadero. Cuando usa esta instrucción, también puede realizar la indirección en
línea. Vea la página 10–26 para obtener más información.
Cómo introducir parámetros
Introduzca los parámetros siguientes al programar esta instrucción:
• El canal es el número del puerto RS-232 (canal 0).
• La fuente es el elemento de cadena que desea escribir.
• El control es el área que almacena el registro de control requerido para operar
la instrucción.
• La longitud de cadena (.LEN) es el número de caracteres que desea escribir
desde la cadena fuente (0 a 82). Si introduce un 0, toda la cadena se escribirá.
• Los caracteres enviados (.POS) son el número de caracteres que el procesador
ha enviado al área de pantalla (0 a 82). Este campo se actualiza solamente
después de que toda la cadena se ha enviado (no se almacena el total corriente
para cada carácter). Este campo es de visualización solamente. Este valor
puede ser mayor que la longnitud de cadena si los caracteres anexados o valores
insertados de la indirección en línea se usan. Si la longitud de cadena es mayor
que 82, la cadena escrita al destino será truncada a 82 caracteres.
• El error muestra el código de error hexadecimal que indica por qué el bit ER se
estableció en el archivo de datos de control (R6:). Vea la página 10–29 para
obtener descripciones del código de error.
Ejemplo
AWT
ASCII WRITE
Channel
Source
I:1
10
Control
0
ST37:20
R6:23
String Length
Characters Sent
40
EN
DN
ER
         
      
  
Error
3
3
ASCII WRITE
Channel
Source
Control
String Length
Characters Sent
Error
(EN)
(DN)
AWT
(ER)
Manual de referencia del juego de instrucciones
10–28
Cuando el renglón va de falso a verdadero, el bit de habilitación (EN) de elemento
de control se establece. Cuando la instrucción se coloca en la cola ASCII, el bit de
cola (EU) se establece. El bit de marcha (RN) se establece cuando la instrucción se
está ejecutando.
Cuarenta caracteres desde la cadena ST37:40 son enviados a través del canal 0. El
bit de efectuado (DN) se establece cuando la instrucción se está ejecutando. El bit
DN se establece al final de la instrucción.
Cuando el programa escanea la instrucción y encuentra el bit de efectuado (DN)
establecido, el procesador establece el bit de efectuado síncrono (EM) para servir
como bit de efectuado secundario correspondiente al escán del programa.
El bit de error (ER) se establece durante la ejecución de la instrucción si:
• la instrucción se cancela – el puerto en serie no está en el modo de usuario
• el módem está desconectado (la selección de línea de control no es “NO
HANDSHAKING”)
• la instrucción se cancela debido a un cambio de modo de canal
• el bit de descarga (UL) está establecido. La instrucción deja de ejecutar, pero
los caracteres recibidos se envían al destino.
• un ACL para borrar el búfer de recepción se ejecuta eliminando así la
instrucción ARD de la cola ASCII.
Nota Para obtener información acerca de la temporización de esta instrucción, refiérase
al diagrama de temporización en la página 10–19.
Instrucciones ASCII
10–29
Códigos de error de instrucción ASCII
Los códigos de error siguientes indican por qué el bit de error (ER) se establece en
el archivo de datos de control (R6:).
Código de
error (HEX)
Condiciones que resultan en el
establecimiento del bit ER
Acción recomendada

$(9( ,,),  $(-.,/$8( -
)'* .8 1$.)-' (. 
$(/( , +/ ,$

 )* ,$8( () - */  )'* .,
*),+/  '8 ' -.4 !/ ,  6( 
 ,$!$+/   )   '8 ' 
(  )'/($$8( $  ( -.4
)(!$/,) *, )'/($$8( )( 
'8 ' - 6( - 
.)-:*),.),: . $8( 2 
.)-: -. $'$ (.):$-.)  (
  ( -., .$0- *, +/  '8 '
-.5 ( 6( 

 .,(-'$-$8( () - */  )'* .,
*),+/  - 7 ),,) *, (0$, -
* ,$8
 ,$!$+/  '8 ' 2 - )( 1$)( -  
 )   '8 '

) */  , $3,  ,  *$8(  
*),+/  (  )'/($$8( -.4
)(!$/,) *,  '))  -$-. '
/ 0  )(!$/,,  ( 
)'/($$8( *,  '))  /-/,$)

 )'/($$8(  '))  -$-. '
 -  . .8 /,(.  $(. (.) 
, $3,  .,(-'$-$)( 
 ,$!$+/ +/  '8 ' -.5 ( 6(  2
- )'/($+/ )( )- $-*)-$.$0)-
(  -,$)-

) */  ! ./,  ,  *$8( )
.,(-'$-$8(  *),+/ 
)(!$/,$8(  ( # -$)
 -.$0 06  ' (9 
)(!$/,$8(  (
/ 0  )(!$/,,  ' (9 
)(!$/,$8(  ( 2 , $(. (. 
)* ,$8(

) */  , $3,  -,$./, 
 $)  /( .,(-'$-$8(  (
*,), -)
/ 0  (0$,  .,(-'$-$8(

 )'/($$8(  -)$$. () -
)'*.$ )(  )(!$/,$8(  (
./ (  -.4 )(!$/,) *,
: '$ (.,- +/ $(. (. /(
.,(-'$-$8(  ) /( )(.,) 
)'/($$8(  '8 '
)(!$/,  (  *,  9* 1
.).

 $.   -,  - -. $8 )
+/  ./0)  % /$)(  
$(-.,/$8(
$(/( , +/ ,$
Preface
Manual de referencia del juego de instrucciones
10–30
Código de
error (HEX)
Acción recomendada
Condiciones que resultan en el
establecimiento del bit ER

  % $ % !#   
$ '* $  -#  '* 
( #   ,   !  $
$%# $  ( 
%# )   %  
'* ( #%%  !#,

  %    %  $
'*  -# %'  ( # 
 ,   !  $ $%# $
 ( 
%# )   %  
'* ( #%%  !#,

  % $ %    
    %#  $  -#
%'  ' # ( #  
%+      
 %  !  $
$%# $  ( 
%# )   % '* (
#%%  !#,
  $%#,      ##

     #,   
 
 ##
Instrucciones ASCII
10–31
Tabla de conversión ASCII
La tabla siguiente lista las conversiones decimales, hexadecimales, octales y ASCII.
Columna 1 Columna 2 Columna 3 Columna 4
DEC HEX OCT ASC DEC HEX OCT ASC DEC HEX OCT ASC DEC HEX OCT ASC
00
01
02
03
04
05
06
07
08
09
10
11
12
13
14
15
16
17
18
19
20
21
22
23
24
25
26
27
28
29
30
31
00
01
02
03
04
05
06
07
08
09
0A
0B
0C
0D
0E
0F
10
11
12
13
14
15
16
17
18
19
1A
1B
1C
1D
1E
1F
000
001
002
003
004
005
006
007
010
011
012
013
014
015
016
017
020
021
022
023
024
025
026
027
030
031
032
033
034
035
036
037
NUL
SOH
STX
ETX
EOT
ENQ
ACK
BEL
BS
HT
LF
VT
FF
CR
SO
SI
DLE
DC1
DC2
DC3
DC4
NAK
SYN
ETB
CAN
EM
SUB
ESC
FS
GS
RS
US
32
33
34
35
36
37
38
39
40
41
42
43
44
45
46
47
48
49
50
51
52
53
54
55
56
57
58
59
60
61
62
63
20
21
22
23
24
25
26
27
28
29
2A
2B
2C
2D
2E
2F
30
31
32
33
34
35
36
37
38
39
3A
3B
3C
3D
3E
3F
040
041
042
043
044
045
046
047
050
051
052
053
054
055
056
057
060
061
062
063
064
065
066
067
070
071
072
073
074
075
076
077
SP
!

#
$
%

'
(
)
*
+
,
-
.
/
0
1
2
3
4
5
6
7
8
9
:
;

=

?
64
65
66
67
68
69
70
71
72
73
74
75
76
77
78
79
80
81
82
83
84
85
86
87
88
89
90
91
92
93
94
95
40
41
42
43
44
45
46
47
48
49
4A
4B
4C
4D
4E
4F
50
51
52
53
54
55
56
57
58
59
5A
5B
5C
5D
5E
5F
100
101
102
103
104
105
106
107
110
111
112
113
114
115
116
117
120
121
122
123
124
125
126
127
130
131
132
133
134
135
135
137
@
A
B
C
D
E
F
G
H
I
J
K
L
M
N
O
P
Q
R
S
T
U
V
W
X
Y
Z
[

]
^
_
96
97
98
99
100
101
102
103
104
105
106
107
108
109
110
111
112
113
114
115
116
117
118
119
120
121
122
123
124
125
126
127
60
61
62
63
64
65
66
67
68
69
6A
6B
6C
6D
6E
6F
70
71
72
73
74
75
76
77
78
79
7A
7B
7C
7D
7E
7F
140
141
142
143
144
145
146
147
150
151
152
153
154
155
156
157
160
161
162
163
164
165
166
167
170
171
172
173
174
175
176
177

a
b
c
d
e
f
g
h
i
j
k
l
m
n
o
p
q
r
s
t
u
v
w
x
y
z
{
.
}
~
DEL
Manual de referencia del juego de instrucciones
10–32
Cómo comprender las rutinas de interrupción
11–1
11 Cómo comprender las
rutinas de interrupción
Este capítulo contiene información general acerca de rutinas de interrupción y
explica cómo funcionan en su programa de lógica. Cada rutina de interrupción
incluye:
• una descripción general
• el procedimiento de programación
• la descripción operacional
• la descripción del bit asociado
Además, cada rutina de interrupción contiene un ejemplo de aplicación que muestra
el uso de la rutina de interrupción.
Rutinas de interrupción
Instrucción
Propósito Página
Mnemónico Nombre
Propósito Página
    
 
    #         $
 
11-2
STI  #

  
     !    
        #    
           
11-7
DII  # 
  
          
     #      
            
  #       
11-19
ISR  #      #       
     #        
           
11-30
Preface
Manual de referencia del juego de instrucciones
11–2
Descripción general de la
rutina de fallo de usuario
La rutina de fallo de usuario le proporciona la opción de evitar una parada del
procesador cuando ocurre un fallo de usuario específico. El archivo se ejecuta
cuando ocurre cualquier fallo de usuario recuperable o no recuperable. El archivo
no se ejecuta para fallos de no usuario.
Esto se efectúa programando una subrutina de escalera y luego especificando dicha
subrutina como la rutina de fallo en palabra S:29 en el archivo de estado. Usted
puede manejar un número de fallos de usuario de esta manera según se muestra en el
ejemplo de la página 11–4.
Los fallos son clasificados como fallos de usuario recuperables o no recuperables y
fallos no atribuibles al usuario. Una lista completa de los fallos aparece en el
apéndice A y B para los controladores MicroLogix 1000 y los procesadores SLC
respectivamente.
Fallo de no usuario Fallo de usuario no recuperable
Fallo de usuario
recuperable
      
  
          
  Nota:        
        
          
  
      
      
   
Datos de archivo de estado guardados
Los datos en las palabras siguientes se guardaron durante la entrada a la subrutina de
fallo de usuario y se volvieron a escribir cuando salieron de la subrutina.
• Indicadores aritméticos S:0
• Registro matemático S:13 y S:14
• Registro de índice S:24
3
3
3
3
Cómo comprender las rutinas de interrupción
11–3
Cómo crear una subrutina de fallo de usuario
Para usar la subrutina de fallo de usuario:
1. Cree un archivo de subrutina:
• El rango válido del procesador SLC es 3–255
• MicroLogix 1000 designa el archivo 3
2. Introduzca el número de archivo en palabra S:29 del archivo de estado.
Nota No se requiere ninguna acción para los usuarios de MicroLogix 1000. S:29 está
reservado
Operación del procesador SLC
La coincidencia de fallos de usuario recuperables y no recuperbles causa que el
procesador lea S:29 y ejecute el número de subrutina contenido en S:29. Si el fallo
es recuperable, la rutina se puede usar para corregir el problema y poner a cero el bit
de fallo S:1/13. Luego el procesador continúa en el modo de marcha REM.
La rutina no se ejecuta para los fallos no atribuibles al usuario.
Las palabras S:20 y S:21 se pueden examinar en su rutina de fallo para precisar el
número de archivo y renglón donde el fallo ocurrió. Si el fallo ocurrió fuera del
escán de escalera, este valor contendrá el número de renglón donde la instrucción
TND, END o REF esté ubicada. Use las palabras S:20 y S:21 con su rutina de fallo
de protección al momento de encendido para determinar el punto exacto en que
ocurrió la parada de alimentación eléctrica anterior. Refiérase al apéndice B para
obtener más información acerca del bit de fallo de protección al momento de
encendido S:1/9.
Nota Para los procesadores SLC 5/02, es necesario guardar su programa con la prueba
de un solo paso seleccionada para que S:20 y S:21 se activen.
Para los procesadores SLC 5/03 y SLC 5/04, si su programa contiene cuatro
instrucciones de mensaje con el bit de operación continua (CO) establecido, la
instrucción de mensaje de la rutina de fallo no se ejecutará.
Operación del procesador MicroLogix
La coincidencia de fallos de usuario recuperables y no recuperables causa que el
archivo 3 se ejecute. Si el fallo es recuperable, la rutina se puede usar para corregir
el problema y poner a cero el bit de fallo S:1/13. Luego el procesador continúa en el
modo de marcha REM.
La rutina no se ejecuta para los fallos no atribuibles al usuario.
Manual de referencia del juego de instrucciones
11–4
Ejemplo de aplicación de la rutina de interrupción de usuario
Digamos que tiene un programa en que desea controlar los errores mayores 0020
(MINOR ERROR AT END OF SCAN) y 0034 (NEGATIVE VALUE IN
TIMER PRE OR ACC) bajo las condiciones siguientes:
• Evitar una parada del procesador si el bit de interrupción por overflow S:5/0
está establecido. Permitir una parada del procesador cuando S:5/0 se establece
más de cinco veces.
• Evitar una parada del procesador si el valor de acumulador del temporizador
T4:0 se hace negativo. Poner a cero el valor de acumulador negativo. Activar
una salida para indicar que el acumulador se ha hecho negativo una vez o más.
• Permitir una parada del procesador para todos los otros fallos de usuario.
Un posible método de realizar lo anterior se muestra en los ejemplos siguientes. La
rutina de fallo de usuario se designa como archivo 3.
Cuando ocurre un error de usuario recuperable o no recuperable, el procesador
escanea el archivo de subrutina 3. El procesador salta al archivo 4 si el código de
error es 0020 y salta al archivo 5 si el código de error es 0034. Para todos los otros
errores recuperables y no recuperables, el procesador sale de la rutina de fallo y
detiene la operación en el modo de fallo.
Rutina de fallo – Archivo de subrutina 3
END
EQU
EQUAL
Source A S:6
0
Source B 32    
 #%  
#$   
 
JSR
JUMP TO SUBROUTINE
SBR file number 4
JSR
JUMP TO SUBROUTINE
SBR file number 5
EQU
EQUAL
Source A S:6
0
Source B 52    
 #%  
#$   
 
    !
Cómo comprender las rutinas de interrupción
11–5
Archivo de subrutina 4 – Ejecutado para error 0020
END
SBR
SUBROUTINE
RET
RETURN
GRT
GREATER THAN
Source A C5:0.ACC
0
Source B 5
(CU)
(DN)
CTU
COUNT UP
Counter C5:0
Preset 120
Accum 0
(U)
S:5
0
] [
S:5
0
(U)
C5:0
CU
(U)
S:1
13
RET
RETURN
] [
S:5
0
Si el bit de interrupción por overflow está establecido, S:5/0 se establece y el
contador C5:0 incrementa.
Si el conteo de C5:0 es 5 ó menor, el bit de interrupción por overflow S:5/0 se pone
a cero, el bit de error mayor detenido S:1/13 se pone a cero y el procesador
permanece en el modo de marcha REM. Si el conteo es mayor que 5, el procesador
establece S:5/0 y S:1/13 y entra en el modo de fallo.
Este archivo de subrutina también se ejecuta si el bit de error de registro de control
S:5/2 se establece. En dicho caso, el procesador se pone en el modo de fallo.
Manual de referencia del juego de instrucciones
11–6
Archivo de subrutina 5 – Ejecutado para error 0034
END
(U)
S:1
13
RET
RETURN
SBR
SUBROUTINE
LES
LESS THAN
Source A T4:0.ACC
0
Source B 0
CLR
CLEAR
Dest T4:0.ACC
0
( )
O:3.0
3
Si el valor de acumulador del temporizador T4:0 es negativo, el bit de error mayor
detenido S:1/13 se desenclava evitando así que el procesador entre en el modo de
fallo. Simultáneamente, el valor de acumulador T4:0 ACC se pone a cero y la salida
O:3.0/3 se activa. El código de fallo 0034 se muestra en el archivo de estado.
Si el valor preseleccionado del temporizador T4:0 es negativo, S:1/13 permanece
establecido y el procesador entra en el modo de fallo (O:3.0/3 se restablece si se
estableció anteriormente). Además, si el valor preseleccionado o de acumulador de
cualquier otro temporizador en el programa es negativo, S:1/13 se establece y el
procesador entra en el modo de fallo. Si se estableció anteriormente, O:3.0/3 se
restablece.
Cómo comprender las rutinas de interrupción
11–7
Descripción general de la interrupción
temporizada seleccionable
Esta función le permite interrumpir el escán del procesador automáticamente, de
manera periódica, para escanear una archivo de subrutina especificado. Después, el
procesador reanuda la ejecución a partir del punto en que fue interrumpida.
Esta sección describe:
• El procedimiento de programación STI
• La operación STI
• Los parámetros STI
• Las instrucciones STD y STE
• La instrucción STS
Procedimiento de programación básico para la función STI
Para usar la función STI en su archivo de aplicación:
1. Cree un archivo de subrutina e introduzca los renglones de escalera deseados.
Este es su archivo de subrutina STI.
• El rango válido de los procesadores SLC es 2–355
• Los controladores MicroLogix 1000 designan archivo 5
2. Procesadores SLC
Introduzca el número de archivo de subrutina STI en la palabra S:31 del archivo
de estado. Refiérase a la página B–57 de este manual para obtener más
información. Un número de archivo de cero inhabilita la función STI.
3. Introduzca el punto de ajuste (el tiempo entre interrupciones sucesivas) en la
palabra S:30 del archivo de estado. Refiérase a la página A–17 para los
controladores MicroLogix 1000 ó la página B–57 para los procesadorss SLC a
fin de obtener más información.
• Para el SLC 5/02 y los controladores MicroLogix 1000, el rango es
10–2550 ms (introducidos en incrementos de 10 ms). Un punto de ajuste
de cero inhabilita la función STI.
• Para los procesadores SLC 5/03 y SLC 5/04, el rango es de 1–32,767 ms
(introducidos en incrementos de 1 ms). Un punto de ajuste de cero
inhabilita la función STI. Refiérase al apéndice B de este manual para
obtener más información acerca del bit de resolución STI S:2/10.
3
3
3
3
Manual de referencia del juego de instrucciones
11–8
Nota El valor del punto de ajuste debe ser mayor que el tiempo de ejecución del archivo
de subrutina STI, de lo contrario un bit de error menor se establece. Para todos los
procesadores, el bit de pendiente STI y el bit de sobremarcha STI se establecerán.
Además, para los procesadores SLC 5/03 y SLC 5/04 y los controladores
MicroLogix 1000, el bit último STI se puede establecer.
Operación
Después de que usted restaura el programa y entra en el modo de marcha REM, el
STI comienza la operación según lo siguiente:
1. El temporizador STI comienza a temporizar.
2. Cuando el intervalo STI caduca, el temporizador STI se restablece, el escán del
procesador se interrumpe y el archivo de subrutina STI se escanea.
3. Si otra interrupción STI ocurre durante la ejecución de la subrutina STI, el bit
de pendiente STI se establece.
4. Si el temporizador STI caduca durante el estado pendiente de un STI, el bit de
perdido STI se establece. (Para los procesadores SLC 5/02, el bit de
sobremarcha se establece.)
5. Cuando el escán de subrutina STI se finaliza, el escán del archivo de programa
principal se reanuda al punto en que se detuvo, a menos que haya un STI
pendiente. En dicho caso, la subrutina se vuelve a escanear inmediatamente.
6. El ciclo se repite.
A título de identificación de su subrutina STI, incluya una instrucción INT como la
primera instrucción en el primer renglón del archivo.
Contenido de la subrutina STI
La subrutina STI contiene los renglones de su lógica de aplicacion. Puede
programar toda instrucción dentro de la subrutina STI con la excepción de una
instrucción TND, REF o SVC. Las instrucciones IIM o IOM son necesarias en una
subrutina STI si su aplicación requiere la actualización inmediata de puntos de
entrada o salida. Termine la subrutina STI con una instrucción RET.
La profundidad de pila JSR se limita a 3. Puede llamar otras subrutinas a un nivel
de profundidad de 3 desde una subrutina STI.
Cómo comprender las rutinas de interrupción
11–9
Latencia de interrupción y coincidencias de interrupción
La latencia de interrupción es el intervalo entre el límite de tiempo sobrepasado y el
inicio de la subrutina de interrupción. Las interrupciones STI pueden ocurrir en
cualquier punto en su programa, pero no necesariamente al mismo punto en
interrupciones sucesivas. Las tablas siguientes muestran la interacción entre una
interrupción y el ciclo de operación del procesador.
Procesadores SLC
SLC 5/02 STI
SLC 5/03 y SLC 5/04
STI con el bit S:33/8
establecido
SLC 5/03 y SLC 5/04
STI con el bit S:33/8
puesto a cero
     
 
     
 
     
 
     
 
     
 
     
 
     
 
     
 
     
 
   
   
     
   
   
   
     
     
 
     
 
Microcontrolador
STI
      
       
     
Processor Overhead
Communications
Output Scan
Program Scan
Input Scan
          
  
Controller Overhead
Communication
Output Scan
Program Scan
Input Scan
Preface
Manual de referencia del juego de instrucciones
11–10
Observe que el tiempo de ejecución se añade directamente al tiempo de escán
global. Durante el período de latencia, el procesador está efectuando operaciones
que no pueden ser interrumpidas por la función de interrupción STI.
Los períodos de latencia son:
• Las interrupciones de los procesadores SLC 5/02 y los controladores
MicroLogix 1000 reciben servicio dentro de 2.4 ms como máximo.
• Procesadores SLC 5/03 y SLC 5/04 – Si una interrupción ocurre mientras que el
procesador realiza una actualización de ranura de palabras múltiples y su
subrutina de interrupción accede a la misma ranura, la transferencia de palabras
múltiples se finaliza antes de realizar el acceso de ranura de subrutina de
interrupción. El bit de control de latencia de interrupción (S:33/8) funciona de
la manera siguiente:
– Cuando el bit se establece (1), las interrupciones reciben servicio dentro del
tiempo de latencia de interrupción. Refiérase al apéndice B para obtener
más información acerca de cómo calcular la latencia de interrupción.
– Cuando el bit se pone a cero (0), los INT reciben servicio por renglón,
ranura y tiempo de ejecución de paquete.
El estado predeterminado se borra (0). Para determinar la latencia de
interrupción con S:33/8 puesto a cero, debe calcular el tiempo de ejecución de
cada renglón en su programa. Use el tiempo de ejecución calculado más largo
más 500 µs como su latencia de interrupción máxima.
Prioridades de interrupción
Las prioridades de interrupción para los procesadores son:
Controlador MicroLogix 1000 Procesador SLC 5/02 Procesador SLC 5/03 y SLC 5/04
                       
      
     
 
       
     
 
     
     
 
     
Una interrupción que se está ejecutando sólo puede ser interrumpida por una
interrupción con una prioridad más alta.
Cómo comprender las rutinas de interrupción
11–11
Datos de archivo de estado guardados
Los datos en las palabras siguientes se guardaron durante la entrada en la subrutina
STI y se volvieron a escribir cuando salieron de la subrutina STI.
• Indicadores aritméticos S:0
• Registro matemático S:13 y S:14
• Registro de índice S:24
Parámetros STI
Los parámetros siguientes son asociados con la función STI. Estos parámetros
tienen direcciones de archivo de estado que se describen aquí y también en el
apéndice A y apéndice B de este manual.
• Número de archivo STI (palabra S:31) – Este puede ser cualquier número de
3–255. Un valor de cero inhabilita la función STI. Un número inválido genera
el fallo 0023. Esta palabra no se aplica a los controladores MicroLogix 1000.
• Punto de ajuste (palabra S:30) – Este es el tiempo entre el punto de inicio de
escanes sucesivos del archivo STI. Puede ser cualquier valor de 10 a 2550
milisegundos. Usted introduce un valor de 1 a 255, lo que resulta en un punto
de ajuste de 10–2550 ms. Un valor de cero inhabilita la función STI. Un
tiempo inválido genera el fallo 0024.
Si el STI se inicia en el modo de marcha REM cargando los registros de estado,
la interrupción comienza a temporizar desde el final del escán de programa en
que los registros de estado se cargaron.
Específico para SLC 5/03 y SLC 5/04 – Si S:2/10 está establecido, el tiempo se
da en incrementos de 1 ms. Si este bit se pone a cero, el tiempo se da en
incrementos de 10 ms.
• Bit de pendiente STI (S:2/0) – Este bit se establece cuando el temporizador
STI ha sobrepasado el límite de tiempo y la rutina STI está esperando su
ejecución. Este bit se restablece al inicio de la rutina STI, ejecución de una
instrucción STS verdadera, momento de encendido o salida del modo de marcha
REM o de prueba.
Específico para SLC 5/02 – El bit de pendiente STI no se establecerá si el
temporizador STI caduca durante la ejecución de la rutina de fallo.
Específico para SLC 5/03 y SLC 5/04 – Este bit se establece si el temporizador
STI caduca durante la ejecución de la subrutina DII o la rutina de fallo.
Manual de referencia del juego de instrucciones
11–12
• Bit de habilitación STI (S:2/1) – El valor predeterminado es 1 (establecido).
Cuando un número de archivo entre 3 y 255 está presente en la palabra S:31 y
un valor de punto de ajuste entre 1 y 255 está presente en la palabra S:30, un bit
de habilitación establecido permite el escán del archivo STI. Si el bit está
restablecido por una instrucción STD, el escán del archivo STI ya no ocurre. Si
el bit está establecido por una instrucción STE o STS, el escán se permite
nuevamente. El bit de habilitación sólo habilita/inhabilita el escán de la
subrutina STI. No afecta el temporizador STI. La instrucción STS afecta el bit
de habilitación y el temporizador STI. El estado predeterminado se habilita. Si
este bit se establece o se restablece usando la instrucción STE, STD o STS, la
habilitación/inhabilitación se realiza inmediatamente. Si este bit se establece en
el programa de usuario utilizando una instrucción que no sea STE, STD o STS,
se realiza durante el próximo final de escán.
Controlador MicroLogix 1000 – Este bit se establece o se restablece usando una
instrucción STS, STE o STD. Si se establece, permite la ejecución del STI si el
punto de ajuste STI S:30 no es cero. Si se ha puesto a cero, cuando ocurre una
interrupción, la subrutina STI no se ejecuta y el bit de pendiente STI se
establece.
Específico para SLC 5/02 – Si está establecido o restablecido por el programa
de usuario o comunics., no se activará sino hasta el próximo final de escán.
Específico para SLC 5/03 y SLC 5/04 – Si este bit está establecido o
restablecido por el programa de usuario o comunics., se activará al momento de
caducidad del temporizador STI o durante el próximo final de escán (cualquiera
que ocurra primero).
• Bit de ejecución STI (S:2/2) – Este bit se establece cuando el archivo STI está
siendo escaneado y se pone a cero cuando el escán se finaliza. El bit también se
pone a cero al momento de encendido y a la entrada en el modo de marcha
REM.
• Bit de selección de resolución STI (S:2/10) – Este bit se pone a cero
predeterminadamente. Cuando se ha puesto a cero, este bit selecciona un
incremento de 10 ms para el valor de punto de ajuste STI (S:30). Cuando se
establece, este bit selecciona un incremento de 1 ms para el valor de punto de
ajuste (S:30). Para programar esta característica, use la función del monitor de
datos para establecer/poner a cero este bit o direccione este bit con su programa
de escalera.
Este bit es configurable por el usuario y se activa durante una transición de
modo PROG REM a REM RUN.
• Bit de sobremarcha (S:5/10) – Este bit de error menor se establece cuando el
temporizador STI caduca mientras que la rutina STI se está ejecutando o está
inhabilitada y mientras que el bit dependiente esté establecido. Cuando esto
ocurre, el temporizador STI continúa funcionando a la velocidad presente en la
palabra S:30. Si el bit de sobremarcha se establece, tome la acción correctiva
que indica su aplicación y luego ponga a cero el bit.
Cómo comprender las rutinas de interrupción
11–13
• Bit de STI perdida (Word S:36/9) – Este bit se establece cuando una
interrupción STI ocurre mientras que el bit de STI pendiente también está
establecido. Cuando está establecido, le comunicará que una interrupción STI
se ha perdido. Por ejemplo, la interrupción se pierde porque una interrupción
anterior ya estaba pendiente y esperando su ejecución. Examine este bit en su
programa de usuario y tome la acción apropiada si su aplicación no puede
tolerar esta condición. Luego ponga a cero el bit con su programa de usuario
para prepararse para la próxima instancia posible de este error.
Use los renglones siguientes para inicializar y medir la cantidad de tiempo entre dos
ejecuciones de subrutina STI consecutivas. El temporizador de 10 µs también está
disponible en la interrupción DII y la interrupción de E/S. Este ejemplo de
aplicación también se puede usar para la interrupción de E/S de evento o la
interrupción DII reemplazando S:43 con S:44 ó S:45 respectivamente.
Lista de programa Archivo de procesador: FREESTI.ACH Renglón 2:0
Renglón 2:0
Coloque este renglón en el primer renglón de su programa de escalera principal
(archivo 2 renglón 0). Este renglón asegura que la medida de interrupción se
inicialice cada vez que se entre en el modo de marcha.
| 1er Indica la |
| paso inicialización |
| de medida |
| |
| S:1 B3 |
|––––] [––––––––––––––––––––––––––––––––––––––––––––––+––––(U)–––––––––––––––+–|
| 15 | 0 | |
| | Clear | |
| | 10 uS | |
| | ”tick” | |
| | Register | |
| | +MOV–––––––––––––––+ | |
| +–+MOVE +–+ |
| |Source 0| |
| | | |
| |Dest N10:2| |
| | 0| |
| +––––––––––––––––––+ |
el programa de escalera continúa en la página siguiente
Manual de referencia del juego de instrucciones
11–14
Renglón 4:0
Este renglón mide el tiempo entre las ejecuciones de subrutina de interrupción
consecutivas. El entero N10:2 contiene el número de “tics” de 10 microsegundos
que han ocurrido. Anote que la cantidad mayor de tiempo que se puede medir
es de 0.32767 segundos.
| Determine el número |
| de “tics” de 10 ms |
| Cuando medida desde el último |
| válida |
| B3 +SUB–––––––––––––––+ |
|––––––––+––––] [–––––+––––––––––––+SUBTRACT +–+––––––––––––––––––––+–|
| | 0 | |Source A S:43| | | |
| | | | 0| | | |
| | | |Source B N10:1| | | |
| | | | 0| | | |
| | | |Dest N10:2| | | |
| | | | 0| | | |
| | | +––––––––––––––––––+ | | |
| | | | | |
| | | | | |
| | | Si rodante ha | | |
| | | ocurrido en la Normalice el | | |
| | | base de tiempo resultado | | |
| | | S:0 +ADD–––––––––––––––+ | | |
| | +––––] [–––––+ADD +–+ | |
| | 3 |Source A 32767| | |
| | | | | |
| | |Source B N10:2| | |
| | | 0| | |
| | |Dest N10:2| | |
| | | 0| | |
| | +––––––––––––––––––+ | |
| | | |
| | | |
| | Almacene el valor | |
| | actual en el | |
| | último valor | |
| | +MOV–––––––––––––––+ | |
| +––––––––––––––––––––––––––––––––––––––––––––––+MOVE +–+ |
| | |Source S:43| | |
| | | 0| | |
| | |Dest N10:1| | |
| | | 0| | |
| | +––––––––––––––––––+ | |
| | | |
| | | |
| | Ponga a cero el | |
| | bit de error | |
| | S:5 | |
| +–––––––––––––––––––––––––––––––––––––––––––––––––(U)–––––––––––––––+ |
| 0 |
el programa de escalera continúa en la página siguiente
Cómo comprender las rutinas de interrupción
11–15
Renglón 4:99
Coloque este renglón en el último renglón de su subrutina de interrupción. Así
su subrutina de interrupción sabrá cuándo el valor N10:2 es válido.
| |
| |
| Indique la |
| medida válida |
| B3 |
|––––––––––––––––––––––––––––––––––––––––––––––––––––––––––––––––––––––(L)–––––|
| 0 |
Nota El bit de selección de overflow matemático (S:2/14) se debe establecer antes de
entrar en el modo de MARCHA.
Manual de referencia del juego de instrucciones
11–16
Instrucciones STD y STE
Las instrucciones STD y STE se usan para crear zonas en las que las interrupciones
STI no pueden ocurrir.
Inhabilitación temporizada seleccionable – STD
Cuando es verdadera, esta instrucción restablece el bit de habilitación STI y evita
que la subrutina STI se ejecute. Cuando el renglón se hace falso, el bit de
habilitación STI permanece establecido hasta que una instrucción STS o STE se
ejecute. El temporizador STI continúa funcionando mientras que el bit de
habilitación esté restablecido.
Habilitación temporizada seleccionable – STE
Esta instrucción, al momento de una transición del renglón de falso a verdadero,
establece el bit de habilitación STI y permite la ejecución de la subrutina STI.
Cuando el renglón se hace falso, el bit de habilitación STI permanece establecido
hasta que una instrucción STD verdadera se ejecute. Esta instrucción no tiene
efecto sobre la operación del temporizador STI o punto de ajuste. Cuando el bit de
habilitación está establecido, la primera ejecución de la subrutina STI puede ocurrir
en cualquier fracción del ciclo de temporización hasta un ciclo de temporización
completo subsiguiente.
Ejemplo de zona STD/STE
En el programa siguiente, la función STI está activa. Las instrucciones STD y STE
en los renglones 6 y 12 se incluyen en el programa de escalera para evitar que se
ejecute la subrutina STI en cualquier punto en los renglones 7 a 11.
La instrucción STD (renglón 6) restablece el bit STI y la instrucción STE (renglón
12) vuelve a establecer el bit de habilitación. El temporizador STI incrementa y
puede sobrepasar el límite de tiempo en la zona STD, lo que establece el bit de
pendiente S:2/0 y el bit de sobremarcha S:5/10.
El bit de primer paso S:1/15 y la instrucción STE en el renglón 0 se incluyen para
asegurar que la función STI se inicialice después de una desactivación y
reactivación de alimentación eléctrica. Usted debe incluir este renglón cuando su
programa contenga una zona STD/STE o una instrucción STD.
3
3
3
3
SELECTABLE TIMED DISABLE
STD
STE
SELECTABLE TIMED ENABLE
Cómo comprender las rutinas de interrupción
11–17
] [
S:1
15
( )
  
  
   
  

END
0
STD
SELECTABLE TIMED DISABLE
STE
SELECTABLE TIMED ENABLE
] [ ] [
( )
] [ ] [
( )
] [ ] [
STE
SELECTABLE TIMED ENABLE
( )
] [ ] [
1
2
3
4
5
6
7
8
9
10
11
12
13
14
15
16
17
Archivo de
programa 3
Manual de referencia del juego de instrucciones
11–18
Inicio temporizado seleccionable (STS)
Use la instrucción STS para condicionar el inicio del temporizador STI cuando entra
en el modo de marcha REM en vez de comenzar automáticamente. También puede
usarla para configurar o cambiar el número de archivo o punto de ajuste/frecuencia
de la rutina STI que se va a ejecutar cuando el temporizador STI caduca.
Esta instrucción no es necesaria para configurar una aplicación de interrupción STI
básica.
La instrucción STS le exige introducir dos parámetros: el número de archivo STI y
el punto de ajuste STI. Al momento de ejecución verdadera del renglón, esta
instrucción introduce el número de archivo y punto de ajuste en el archivo de estado
(S:31, S:30), sobrescribiendo así los datos existentes. Simultáneamente, el
temporizador STI se restablece y comienza a temporizar; al momento de sobrepasar
el límite de tiempo, la ejecución de subrutina STI ocurre. Cuando el renglón se hace
falso, la función STI permanece habilitada en el punto de ajuste y número de
archivo que introdujo en la instrucción STS.
Nota Específico para SLC 5/03 y SLC 5/04 – La instrucción STS usa el establecimiento
del bit de resolución STI S:2/10 para determinar la base de tiempo que se va a usar
al momento de la ejecución de la instrucción STS.
3
3
3
3
STS
SELECTABLE TIMED START
File
Time [x 10ms]
Cómo comprender las rutinas de interrupción
11–19
Descripción general de la interrupción
de entrada discreta
Use la interrupción de entrada discreta (DII) para las aplicaciones de procesamiento
a alta velocidad o para cualquier aplicación que necesite responder a un evento de
manera rápida. Esta instrucción permite que el procesador ejecute una subrutina de
escalera cuando la configuración de bit de entrada de una tarjeta de E/S discreta
corresponda a un valor de comparación que usted ha ya programado.
El archivo de estado contiene seis valores de bit y seis valores de palabra usados
para programar y monitorizar la función DII. La DII no requiere instrucciones de
lógica de escalera para su configuración. Usted programa la DII para examinar la
configuración de bit de entrada de una sola ranura de E/S cualquiera, la cual
contiene una tarjeta de entrada discreta (tal como IG16, IV16, IB8, IB32). Cuando
la configuración de bit de entrada corresponde al valor de comparación, el
acumulador se incrementa. El acumulador DII cuenta hasta el valor preseleccionado
y, una vez generada la interrupción, ajusta inmediatamente la línea de manera
automática y comienza a contar desde cero.
Durante el escán de la subrutina DII, usted puede volver a configurar la DII para que
busque un evento completamente distinto. Esto facilita la secuencia DII. La DII
puede ser programada para comparar cada punto de entrada a un estado alto (1) o
bajo (0). El acumulador se incrementa al momento de la transición de entrada que
provoca que los puntos de entrada correspondan al valor de comparación.
Si su aplicación requiere actualización inmediata de los puntos de entrada o salida,
entonces son necesarias las instrucciones IIM o IOM. Finalice la subrutina DII con
una instrucción RET.
Procedimiento de programación básico para la función DII
Para usar la función DII con su archivo de programa principal, haga lo siguiente:
1. Cree un archivo de subrutina (rango de 3 a 255) e introduzca los renglones de
escalera deseados. Este es su archivo de subrutina DII.
2. Introduzca el número de ranura de entrada (palabra S:47).
3. Introduzca la máscara de bit (palabra S:48).
4. Introduzca el valor de comparación (palabra S:49).
5. Introduzca el valor preseleccionado (palabra S:50).
3
3
Manual de referencia del juego de instrucciones
11–20
6. Introduzca el número de subrutina DII en la palabra S:46 del archivo de estado.
(Vea la página B–69.) Un valor de cero inhabilita la función DII.
Nota Usuarios de PLC – La diferencia principal entre la DII y la PII PLC 5/40 es que la
DII requiere que todas las transiciones declaradas ocurran antes de generar un
conteo; en cambio, la PII requiere que solamente una de las transiciones
declaradas ocurra. Además, en la DII, al término “conteo” se le denomina
“predeterminado”.
Ejemplo
La DII puede ser programada para contar los artículos en un transportador de alta
velocidad. Cada vez que 100 artículos pasan por un fotointerruptor, la subrutina DII
se ejecuta. Luego la subrutina DII usa las instrucciones de E/S inmediatas para
embalar los productos.
Cómo comprender las rutinas de interrupción
11–21
Operación
Después de restaurar su programa y entrar en el modo de marcha REM, la DII
comienza su operación así:
Modo de contador
Este modo está activo cuando el valor preseleccionado (S:50) contiene un valor
mayor que 1.
1. La DII lee el primer byte de datos de entrada de una tarjeta de entrada discreta
seleccionada por lo menos una vez cada 100 µs.À Anote que esta “encuesta” de
los datos de entrada no afecta el tiempo de escán del procesador.
2. Cuando los datos de entrada corresponden al valor con máscara programado, el
acumulador se incrementa en uno. El próximo conteo ocurre cuando los datos
de entrada hacen la transición a datos sin correspondencia y luego retornan a los
con correspondencia.
3. Cuando el acumulador alcanza o excede el valor preseleccionado, entre 1 y
32,767, la interrupción es generada y el acumulador se pone a cero.
4. La subrutina DII se ejecuta.
5. El ciclo se repite.
Modo de evento
Este modo está activo cuando el valor preseleccionado (S:50) contiene 0 ó 1.
1. La DII lee el primer byte de datos de entrada de una tarjeta de entrada discreta
seleccionada por lo menos una vez cada 100 µs.À Anote que esta “encuesta” de
los datos de entrada no afectan el tiempo de escán del procesador.
2. Cuando los datos de entrada corresponden al valor con máscara programado, la
interrupción es generada.
3. La subrutina DII se ejecuta.Á
4. El ciclo se repite.À
À                             
     
Á
Preface
Manual de referencia del juego de instrucciones
11–22
Contenido de la subrutina DII
Para identificar su subrutina DII, use la instrucción INT como la primera instrucción
en su primer renglón.
La subrutina DII contiene los renglones de su lógica de aplicación. Puede programa
cualquier instrucción dentro de la subrutina DII excepto una instrucción TND, REF
o SVC. Las instrucciones IIM o IOM son necesarias en una subrutina DII si su
aplicación requiere la actualización inmediata de los puntos de entrada o salida.
Finalice la subrutina DII con una instrucción RET.
La profundidad de pila JSR se limita a 3. Puede llamar otras subrutinas hasta una
profundidad de 3 niveles desde una subrutina DII.
Latencia de interrupción y coincidencias de interrupción
La latencia de interrupción es el intervalo entre la detección DII y el inicio de la
subrutina de interrupción. Las interrupciones DII pueden ocurrir a cualquier punto
en su programa, pero no necesariamente al mismo punto en interrupciones
sucesivas. Las interrupciones pueden ocurrir entre instrucciones en su programa,
dentro del escán de E/S (entre ranuras) o entre el servicio de paquetes de
comunicaciones. La tabla siguiente muestra la interacción entre una interrupción y
el ciclo de operación del procesador.
DII
DII con el bit S:33/8
establecido
DII con el bit S:33/8
establecido
      
 
      
 
      
 
      
 
      
 
      
 
      
 
      
 
      
 
   
   
      
   
   
   
      
      
 
      
 
Si una interrupción ocurre mientras el procesador SLC 5/03 ó SLC 5/04 está
realizando una actualización de ranura de palabras múltiples y su subrutina de
interrupción obtiene acceso a la misma ranura, la transferencia de palabras múltiples
se completa antes de realizar el acceso a la ranura de subrutina de interrupción.
Processor Overhead
Communications
Output Scan
Program Scan
Input Scan
Cómo comprender las rutinas de interrupción
11–23
Observe que el tiempo de ejecución DII se añade directamente al tiempo de escán
global. Durante el período de latencia, el procesador está realizando operaciones
que no pueden ser perturbadas por la función de interrupción DII. El bit de control
de latencia de interrupción (S:33/8) funciona de la manera siguiente:
• Cuando el bit se establece (1), las interrupciones reciben servicio en menos
de 500 µs.
• Cuando el bit se pone a cero (0), el servicio en menos de 500 µs no se espera.
Cuando S:33/8 se pone a cero (0), las interrupciones de usuario ocurren entre
los renglones y las actualizaciones de ranura de E/S.
El estado predeterminado se borra (0). Para determinar la latencia de interrupción
con S:33/8 puesto a cero, debe calcular el tiempo de ejecución de cada renglón en su
programa. Refiérase al apéndice B para obtener más información acerca de cómo
calcular la latencia de interrupción.
Prioridades de interrupción
Las prioridades de interrupción para los procesadores SLC 5/03 y SLC 5/04 son:
1. La rutina de fallo de usuario
2. La interrupción de entrada discreta (DII)
3. La subrutina STI
4. La subrutina de interrupción de E/S
La ejecución de una subrutina de interrupción sólo puede ser interrumpida por la
rutina de fallo.
Datos de archivo de estado guardados
Los datos en las palabras siguientes se guardan cuando entran en la subrtuina DII y
se vuelven a escribir cuando salen de la subrutina DII.
• Indicadores aritméticos S:0
• Registro matemático S:13 y S:14
• Registro de índice S:24
Manual de referencia del juego de instrucciones
11–24
Reconfigurabilidad
Puede reconfigurar la DII total o parcialmente, según el (los) parámetro(s) que
seleccione. Puede reconfigurar algunos de los parámetros simplemente por medio
de sobrescribir el valor anterior usando el valor nuevo. Otros valores le requieren
que establezcan el bit de reconfiguración además de escribir el valor nuevo. La DII
es no retentiva y siempre se reconfigura al entrar en el modo de marcha REM.
Refiérase a la próxima sección “Parámetros DII” para obtener detalles acerca de
cómo reconfigurar cada parámetro.
Ejemplo
La DII puede ser programada para contar artículos en un transportador de alta
velocidad. Cada vez que 100 artículos pasan por un fotointerruptor, la subrutina DII
se ejecuta. Luego la subrutina DII usa las instrucciones de E/S inmediatas para
embalar los productos.
Si desea variar el número de artículos que se embalan juntos, simplemente cambie el
número en el parámetro preseleccionado DII usando una instrucción de
transferencia.
Cómo comprender las rutinas de interrupción
11–25
Parámetros DII
Los parámetros siguientes son asociados con la función DII. Estos parámetros
tienen direcciones de archivo de estado que se describen aquí y en el apéndice B.
• Bit de DII pendiente (S:2/11) – Cuando se establece, este bit indica que el
acumulador DII (S:52) es igual a la DII preseleccionada (S:50) y que el número
de archivo de escalera especificado por el número de archivo DII (S:46) espera
su ejecución. Se pone a cero cuando el número de archivo DII (S:46) comienza
a ejecutarse o cuando sale del modo de marcha REM o prueba REM.
• Bit de habilitación DII (S:2/12) – Para programar esta característica, use la
función de monitor de datos para establecer/poner a cero este bit o direccione
este bit con su programa de escalera. Este bit se establece en su condición
predeterminada. Si se establece, permite la ejecución de la subrutina DII si el
archivo DII (s:46) no es cero. Si se pone a cero, cuando ocurre la interrupción,
la subrutina DII no se ejecuta y el bit de DII pendiente se establece. La función
DII continúa funcionando cuando el archivo DII (S:46) no sea cero. Si el bit
pendiente se establece, el bit de habilitación se examina al próximo final de
escán.
• Bit de ejecución DII (S:2/13) – Cuando se establece, este bit indica que la
interrupción DII ha ocurrido y que la subrutina DII se está ejecutando. Este bit
se pone a cero al finalizarse la rutina DII, encendido o entrada en el modo de
marcha REM.
• Bit de overflow DII (S:5/12) – Este bit se establece siempre que la
interrupción DII ocurra cuando todavía está ejecutando la subrutina DII o
cuando la interrupción DII ocurra mientras esté pendiente o inhabilitada.
• Bit de reconfiguración (S:33/10) – Cuando este bit se establece (1), indica
que en el próximo final de escán (END, TND o REF), salida de la rutina de
fallo, salida de STI ISR, salida del evento ISR o la próxima salida de DII ISR,
ocurrirá lo siguiente:
– El acumulador DII se borra,
– los valores a las palabras de estado S:47 a S:50 se aplican,
– el bit pendiente se pone a cero, y
– el bit de reconfiguración DII se pone a cero.
• Bit de DII perdida (S:36/8) – Este bit se establece si una interrupción DII
ocurre mientras que el bit de DII pendiente esté establecido.
• Número de archivo (palabra S:46) – Usted introduce un número de archivo
(3 a 255) que se usa como la subrutina de interrupción de entrada discreta.
Escriba un valor de 0 para inhabilitar la función. Este valor se aplica al
momento de detección de un bit de reconfiguración DII, cada salida de DII ISR
y cada final de escán (END, TND o REF). Un cero inhabilita la operación.
Manual de referencia del juego de instrucciones
11–26
• Número de ranura (palabra S:47) – Usted introduce el número de ranura (1
a 30) que se usa como la subrutina de interrupción de entrada discreta. Un valor
de cero inhabilita la función. Este valor se aplica al momento de detección del
bit de reconfiguración DII o a la entrada en el modo de marcha REM.
• Máscara de bit (palabra S:48) – Usted introduce el valor mapeado por bit
que corresponde a los bits que desea monitorizar en el módulo de E/S discretas.
Sólo los bits 0 a 7 se usan en la función DII. El establecer un bit indica que
desea incluir el bit en la comparación de la configuración de bit de la tarjeta de
E/S discretas contra el valor de comparación DII (S:49). Este valor se aplica al
momento de detección del bit de reconfiguración DII, cada salida de DII ISR y
cada final de escán (END, TND o REF).
• Valor de comparación (palabra S:49) – Usted introduce un valor mapeado
de bit que corresponde a la configuración de bit que debe ocurrir en la tarjeta de
E/S discretas para que un conteo o interrupción ocurra. Sólo los 0 a 7 se usan
en la función DII. El bit se debe establecer (1) o se debe poner a cero (0) para
satisfacer la condición de comparación para dicho bit. Una interrupción o
conteo será generada al momento de transición del último bit del valor de
comparación. Este valor se aplica al momento de detección del bit de
reconfiguración DII, cada salida de DII ISR y cada final de escán (END, TND o
REF).
Para proporcionar protección contra la modificación accidental del monitor de
datos para su selección, programe una instrucción MOV incondicional que
contenga el valor preseleccionado de la DII a S:50.
• Valor preseleccionado (palabra S:50) – Cuando este valor es igual a 0 ó 1,
una interrupción es generada cada vez que la comparación especificada en las
palabras S:48 y S:49 se satisface. Cuando este valor es entre 2 y 32767, un
conteo ocurre cada vez que la comparación de bit se satisface. Una interrupción
será generada cuando el valor de acumulador alcance 1 ó exceda el valor
preseleccionado. Este valor se aplica al momento de detección del bit de
reconfiguración DII, cada salida de DII ISR y cada final de escán (END, TND o
REF).
Para proporcionar protección conatra la modificacion accidental del monitor de
datos para su selección, programe una instrucción MOV incondicional que
contenga el valor preseleccionado de la DII a S:50.
• Máscara de retorno (palabra S:51) – La máscara de retorno se actualiza
inmediatamente antes de entrar en la subrutina DII. Este valor contiene el mapa
de bit de la última transición de bit que causó la interrupción. Si hay más de
una transición de bit durante el mismo período de muestreo DII de 100 ms, se
incluirá en la máscara de retorno. Este bit es puesto a cero por el procesador al
momento de salir de la subrutina DII. Use este valor para validar la última
transición de interrupción que causó que la configuración de entrada
correspondiera al valor de comparación. O use este valor dentro de la DII de su
subrutina para ayudar a determinar/validar la posición de la secuencia cuando
usted esté reconfigurando (secuenciando) la DII de manera dinámica.
Cómo comprender las rutinas de interrupción
11–27
• Acumulador (palabra S:52) – El acumulador DII contiene el número de
conteos que ha ocurrido. Cuando un conteo ocurre y el acumulador es mayor o
igual que el valor preseleccionado, una interrupción DII es generada y el
acumulador se borra.
Para aplicaciones que miden la velocidad de impulsos DII entrantes mientras
que use una STI (interrupción temporizada seleccionable), el SLC 5/03 OS301 y
los superiores actualizan el acumulador DII antes de ejecutar el primer renglón
de la subrutina STI.
Manual de referencia del juego de instrucciones
11–28
Ejemplo de aplicación de interrupción de entrada discreta
Los ejemplos siguientes muestran cómo usar la interrupción de entrada discreta para
controlar una aplicación de alta velocidad. En el ejemplo, la DII se usa para
asegurar que todas las botellas que salen de una máquina para llenar y tapar tengan
sus tapas instaladas.
El interruptor de proximidad de botella se usa como la entrada DII. Cuando una
botella pasa el interruptor de proximidad, el procesador SLC 5/03 ó SLC 5/04
ejecuta la subrutina DII. En la subrutina el procesador lee el estado del interruptor
de proximidad de la tapa. Si la tapa se instala, el solenoide del distribuidor no se
activa, permitiendo así que la botella continúe en la línea. Si la tapa hace falta, el
solenoide del distribuidor se activa y causa que la botella defectuosa se desvíe en el
distribuidor hacia el recipiente de botellas rechazadas.
    
    

 
  

Los parámetros siguientes se usan para programar la DII para la aplicación anterior:
• Bit de control de latencia de interrupción S:33/8 = 1
• Archivo S:46 = 3
• Ranura S:47 = 1
• Máscara S:48 = 00000001
• Comparación S:49 = 00000001
• Preseleccionado S:50 = 1
Cómo comprender las rutinas de interrupción
11–29
Diagrama de escalera para la aplicación de embotelladora
Actualice la posición del distribuidor
Actualice la posición del distribuidor.
INT
I/O INTERRUPT
]/[
I:1.0
8
RET
RETURN
END
IIM
IMMEDIATE IN w MASK
Slot I:1.0
Mask 0100
!

 !                        
!

               !         
     !  
] [
I:1.0
8
] [
O:2.0
0
(U)
O:2.0
0
IOM
IMMEDIATE OUT w MASK
Slot O:2.0
Mask 0001
!

                !        
(L)
O:2.0
0
IOM
IMMEDIATE OUT w MASK
Slot O:2.0
Mask 0001
!

!

Bit 8 es el interruptor de proximidad
Ponga el distribuidor
en la posición normal
Si el interr. de prox.
detecta una capa de
botella instalada
Y si el distribuidor está en
la posición para botellas
rechazadas
Ponga el distribuidor en la posiĆ
ción para botellas rechazadas
Si el interr. de prox. detecta
una capa de botella faltante
Refiérase al apéndice H para ver otro ejemplo de aplicación usando el DII para
contar impulsos desde un codificador (encoder).
Manual de referencia del juego de instrucciones
11–30
Descripción general de interrupción
de E/S
Esta función permite que un módulo de E/S especial interrumpa el ciclo de
operación normal del procesador para escanear un archivo de subrutina
especificado. La operación de interrupción para un módulo específico se describe
en el manual de usuario para el módulo.
No todos los módulos de E/S especiales tienen la capacidad para generar
interrupciones de E/S. Refiérase al manual de usuario del módulo de E/S especial
específico para ver si proporciona esta característica. Por ejemplo, no puede usar un
módulo de E/S discretas estándar para efectuar una interrupción provocada por un
evento de E/S.
Esta sección describe:
• La operación de E/S
• Los parámetros de interrupción de E/S
• Las instrucciones IID e IIE
• La instrucción RPI
• La instrucción INT
Procedimiento de programación básico para la
función de interrupción de E/S
• Cuando configura la ranura del módulo de E/S especial con el dispositivo de
programación, asegúrese de programar el número de archivo de programa
“ISR” (subrutina de interrupción) (rango de 3 a 255) que desea que el
procesador ejecute cuando el módulo genere una interrupción. Los módulos de
E/S especiales que crean interrupciones se deben configurar en las ranuras de
E/S con los números más inferiores.
• Cree el archivo de subrutina que ha especificado como el número ISR en la
configuración de ranura del módulo de E/S.
3
3
3
Cómo comprender las rutinas de interrupción
11–31
Operación
Cuando restaura su programa y entra en el modo de marcha REM, la interrupción de
E/S comienza la operación así:
1. El módulo de E/S especial determina que necesita servicio y genera una petición
de interrupción al procesador SLC.
2. El procesador se interrumpe y el archivo de subrutina de interrupción (ISR)
especificado se escanea.
3. Cuando el escán SIR se completa, esto se le comunica al módulo de E/S
especial. Esto le informa al módulo de E/S especial que se permite generar una
interrupción nueva.
4. El procesador reanuda la operación normal en el punto en que se interrumpió.
Contenido de la subrutina de interrupción (ISR)
La instrucción de subrutina de interrupción (INT) debe ser la primera instrucción en
su ISR. Esta identifica el archivo de subrutina como una subrutina de interrupción
de E/S.
La ISR contiene los renglones de su lógica de aplicación. Puede programar
cualquier instrucción dentro de una ISR excepto una instrucción TND, REF o SVC.
Las instrucciones IIM o IOM son necesarias en una ISR si su aplicación requiere la
actualización inmediata de los puntos de entrada o salida. Finalice la ISR con una
instrucción RET (retorno).
La profundidad de la pila JSR se limita a 3. Es decir, puede llamar otras subrutinas
hasta un nivel de profundidad de 3 desde una ISR.
Latencia de interrupción y coincidencias de interrupción
La latencia de interrupción es el intervalo entre la petición del módulo de E/S por
servicio y el inicio de la subrutina de interrupción. Las interrupciones de E/S
pueden ocurrir en cualquier punto en su programa, pero no necesariamente en el
mismo punto en interrupciones sucesivas. Las interrupciones sólo pueden ocurrir
entre instrucciones en su programa, dentro del escán de E/S (entre ranuras) o entre el
servicio de los paquetes de comuniación. La tabla siguiente muestra la interacción
entre una interrupción y el ciclo de operación del procesador.
Preface
Manual de referencia del juego de instrucciones
11–32
Interrupciones de E/S
SLC 5/02
Interrupciones de E/S
5/03 y 5/04 con el bit
S:33/8 establecido
Interrupciones de E/S
5/03 y 5/04 con el bit
S:33/8 puesto a cero
      
 
      
 
      
 
      
 
      
 
      
 
      
 
      
 
      
 
   
   
      
   
      
 
   
      
      
 
      
 
Anote que el tiempo de ejecución ISR se añade directamente al tiempo de escan
global. Durante el período de latencia, el procesador está realizando operaciones
que no pueden ser perturbadas por la función de interrupción STI. Los períodos de
latencia son:
• Las interrupciones SLC 5/02 reciben servicio dentro de 2.4 ms máximos.
• Procesadores SLC 5/03 y SLC 5/04 – Si una interrupción ocurre mientras que el
procesador esté realizando una actualización de ranura de palabras múltiples y
su subrutina de interrupción obtiene acceso a la misma ranura, la transferencia
de palabras múltiples se finaliza antes de realizar el acceso a la ranura de
subrutina de interrupción. El bit de control de latencia de interrupción (S:33/8)
funciona así:
– Cuando el bit se establece (1), las interrupciones reciben servicio dentro del
tiempo de latencia de interrupción. Refiérase al apéndice B para obtener
más información acerca de cómo calcular la latencia de interrupción.
– Cuando S:33/8 se pone a cero (0), las interrupciones de usuario ocurren
entre los renglones y las actualizaciones de ranura de E/S.
El estado predeterminado se borra (0). Para determinar la latencia de
interrupción con S:33/8 puesto a cero, debe calcular el tiempo de ejecución de
cada renglón en su programa.
Processor Overhead
Communications
Output Scan
Program Scan
Input Scan
Cómo comprender las rutinas de interrupción
11–33
Prioridades de interrupción
Las prioridades de interrupción son las siguientes:
Procesador SLC 5/02 Procesadores SLC 5/03 y SLC 5/04
       
         
          
       
La ejecución de una interrupción sólo puede ser interrumpida por una interrupción
con una prioridad más alta.
La interrupción de E/S no puede interrumpir la ejecución de un rutina de fallo, la
ejecución de una subrutina DII, la ejecución de una subrutina STI ni la ejecución de
una subrutina de interrupción de E/S. Si una interrupción de E/S ocurre durante la
ejecución de una rutina de fallo, subrutina DII o STI, el procesador espera hasta que
las interrupciones de prioridad más alta sean escaneadas completamente. Luego la
subrutina de interrupción de E/S se escanea.
Nota Específico para SLC 5/02 – Es importante comprender que el bit de E/S pendiente
asociado con la ranura de interrupción permanezca puesto a cero durante el tiempo
que el procesador espera la finalización de la rutina de fallo o la subrutina STI.
Nota Específico para SLC 5/03 y SLC 5/04 – El bit de E/S pendiente siempre es establece
cuando la interrupción ocurre. Puede examinar el estado de estos bits dentro de sus
rutinas de interrupción de prioridad alta.
Si una fallo mayor ocurre durante la ejecución de la subrutina de interrupción de
E/S, la ejecución se cambia inmediatamente a la rutina de fallo. Si el fallo fue
recuperado por la rutina de fallo, la ejecución se reanuda en el punto en que se
detuvo en la subrutina de interrupción de E/S. De lo contrario, se entra en el modo
de fallo.
Si una interrupción DII ocurre durante la ejecución de la subrutina de interrupción
de E/S, la ejecución se cambia inmediatamente a la subrutina DII. Cuando la
subrutina DII se escanea completamente, la ejecución se reanuda en el punto en que
se detuvo en la subrutina de interrupción de E/S.
Si el temporizador STI caduca durante la ejecución de la subrutina de interrupción
de E/S, la ejecución se cambia inmediatamente a la subrutina STI. Cuando la
subrutina STI se escanea completamente, la ejecución se reanuda en el punto en que
se detuvo en la subrutina de interrupción de E/S.
Manual de referencia del juego de instrucciones
11–34
Si dos o más peticiones de interrupción de E/S son detectadas por el procesador en
el mismo instante o mientras que éste espera la finalización de una subrutina de
interrupción de prioridad más alta o igual, la subrutina de interrupción asociada con
el módulo de E/S especial en el número de ranura más bajo se escanea primero. Por
ejemplo, si la ranura 2 (ISR 20) y la ranura 3 (ISR 11) solicitan el servicio de
interrupción simultáneamente, el procesador primero escanea ISR 20
completamente, luego escanea ISR 11 completamente.
Datos de archivo de estado guardados
Los datos en las palabras siguientes se guardan cuando entran en la subrutina de
interrupción de E/S y se vuelven a escribir cuando salen de la subrutina de
interrupción de E/S.
• Indicadores aritméticos S:0
• Registro matemático S:13 y S:14
• Registro de índice S:24
Cómo comprender las rutinas de interrupción
11–35
Parámetros de interrupción de E/S
Los parámetros de interrupción de E/S siguientes tienen direcciones de archivo de
estado. Se describen aquí y también en el apéndice B de este manual.
• Número ISR – Especifica el número de archivo de subrutina que se va a
ejecutar cuando una interrupción de E/S es generada por un módulo de E/S.
Los números ISR no son parte del archivo de estado, sino que son parte de la
configuración de E/S para cada ranura en el sistema SLC.
• Habilitaciones de ranura de E/S (palabras S:11 y S:12) – Estas palabras
son mapeadas de bit a 30 ranuras de E/S. Los bits S:11/1 a S:12/14 hacen
referencia a ranuras 1 a 30. Los bits S:11/0 y S:12/15 son reservados.
El bit de habilitación asociado con una ranura de interrupción se debe establecer
cuando una interrupción ocurre. De lo contrario, ocurrirá un fallo mayor. Los
cambios efectuados a estos bits usando la función del monitor de datos se
activarán durante el próximo final de escán.
• Bits de interrupción de E/S pendiente (palabras S:25 y S:26) – Estas
palabras son mapeadas a las 30 ranuras de E/S. Los bits S:25/1 a S:26/14 hacen
referencia a las ranuras 1 a 30. Los bits S:25/0 y S:26/15 son reservados. El bit
de pendiente asociado con una ranura de interrupción se establece cuando el bit
de habilitación de interrupción de ranura de E/S se pone a cero al momento de
una petición de interrupción o cuando una instrucción RPI asociada se ejecuta.
El bit de pendiente para la ejecución de una subrutina de interrupción de E/S
permanece puesto a cero cuando la ISR es interrumpida por una rutina DII, STI
o de fallo.
Específico para SLC 5/02 – De igual manera, el bit de pendiente permanece
puesto a cero si el servicio de interrupción se solicita al momento en que una
interrupción de prioridad más alta o igual se está ejecutando (rutina de fallo, STI
u otra ISR).
Específico para SLC 5/03 y SLC 5/04 – Este bit se establece si el servicio de
interrupción se solicita al momento en que una interrupción de prioridad más
alta o igual se está ejecutando (rutina de fallo, DII, STI u otra ISR).
• Habilitaciones de interrupción de E/S (palabras S:27 y S:28) – Estas
palabras son mapeadas de bit a las 30 ranuras de E/S. Los bits S:27/1 a S:28/14
hacen referencia a las ranuras 1 a 30. Los bits S:27/0 y S:28/15 son reservados.
El bit de habilitación asociado con una ranura de interrupción se debe establecer
cuando la interrupción ocurre a fin de permitir que la ISR correspondiente se
ejecute. De lo contrario, la ISR no se ejecuta y el bit de interrupción de ranura
de E/S pendiente asociado se establece.
Específico para SLC 5/02 – Los cambios efectuados a estos bits usando la
función del monitor de datos o instrucción de escalera se activan durante el
próximo final de escán.
Específico para SLC 5/03 y SLC 5/04 – Los cambios efectuados a estos bits
usando la función del monitor de datos o instrucción de escalera se activan
inmediatamente.
Manual de referencia del juego de instrucciones
11–36
• Ejecución de interrupción de E/S (palabra S:32) – Esta palabra contiene el
número de ranura del módulo de E/S especial que generó la ejecución actual de
ISR. Este valor se pone a cero cuando la ISR se completa, se entra en el modo
de marcha o al momento de encendido. Puede interrogar esta palabra dentro de
su subrutina DII o STI o rutina de fallo si desea saber si estas interrupciones de
prioridad más alta han interrumpido la ejecución de ISR. También puede usar
este valor para discernir la identidad de ranura de interrupción cuando realiza
multiplex de dos o más interrupciones de módulos de E/S especiales a la misma
ISR.
Cómo comprender las rutinas de interrupción
11–37
Inhabilitación de interrupción de E/S (IID) y
habilitación de interrupción de E/S (IIE)
Estas instrucciones generalmente se usan conjuntamente para evitar que
interrupciones de E/S ocurran durante las porciones de tiempo crítico o secuencia
crítica de su programa principal o subrutina. La función de interrupción provocada
por un evento de E/S se usa con los módulos de E/S especiales que tienen capacidad
de generar una interrupción.
Inhabilitación de interrupción de E/S – IID
Habilitación de interrupción de E/S – IIE
Use estas instrucciones conjuntamente para crear una zona en su archivo de
programa de escalera principal o archivo de subrutina en que las interrupciones de
E/S no pueden ocurrir. Ambas instrucciones se activan inmediatamente al momento
de la ejecución. Tiene que especificar una subrutina que debe ejecutarse a la
recepción de dicha interrupción.
Específico para SLC 5/02 – El establecimiento/puesta a cero de los bits de
habilitación de interrupción de E/S (S:27 y S:28) con un dispositivo de
programación o instrucción estándar tal como MVM se activa al FINAL del escán
únicamente.
Específico para SLC 5/03 y SLC 5/04 – El establecimiento/puesta a cero de los bits
de habilitación de interrupción de E/S (S:27 y S:28) con un dispositivo de
programación o instrucción estándar tal como MVM se activa inmediatamente.
3
3
3
3
3
I/O INTERRUPT DISABLE
Slots: 1,2,7
IID
I/O INTERRUPT ENABLE
Slots: 1,2,7
IIE
Manual de referencia del juego de instrucciones
11–38
Operación IID
Cuando es verdadera, esta instrucción pone a cero los bits de habilitación de
interrupción de E/S (S:27/1 a S:28/14) correspondientes al parámetro de ranuras de
la instrucción (ranuras 1, 2, 7 en el ejemplo anterior). Las subrutinas de
interrupción de las ranuras afectadas no podrán ejecutarse cuando se efectúa una
petición de interrupción. En cambio, los bits de E/S pendientes (S:25/1 a S:26/14)
se establecen. La ISR no se ejecuta hasta que una instrucción IIE con el mismo
parámetro de ranura se ejecute o hasta el final del escán durante el cual usted usa un
dispositivo de programación para establecer el bit de archivo de estado
correspondiente.
Operación IIE
Cuando es verdadera, esta instrucción establece los bits de habilitación de
interrupción de E/S (S:27/1 a S:28/14) correspondientes al parámetro de ranuras de
la instrucción (ranuras 1, 2, 7 en el ejemplo anterior). Las subrutinas de
interrupción de las ranuras afectadas recuperarán la capacidad de ejecutarse cuando
se efectúe una petición de interrupción. Si una interrupción estaba pendiente
(S:25/1 a S:26/14) y la ranura pendiente corresponde al parámetro de ranuras IIE, la
ISR asociada con dicha ranura se ejecutará inmediatamente.
Cómo comprender las rutinas de interrupción
11–39
Ejemplo de zona IID/IIE
En el programa siguiente, las ranuras 1, 2 y 7 tienen la capacidad de generar
interrupciones de E/S. Las instrucciones IID e IIE en los renglones 6 y 12 se
incluyen para evitar que las ISR de interrupción de E/S se ejecuten como resultado
de las peticiones de interrupción desde las ranuras 1, 2 ó 7. Esto permite que los
renglones 7 a 11 se ejecuten sin interrupción.
] [
S:1
15
( )
 (/!
 ! (%%
!'% 
!'%(!
  
END
0
] [ ] [
( )
] [ ] [
( )
] [ ] [
( )
] [ ] [
1
2
3
4
5
6
7
8
9
10
11
12
13
14
15
16
17
Archivo de programa 2
IID
I/O INTERRUPT DISABLE
Slots: 1,2,7
IIE
I/O INTERRUPT ENABLE
Slots: 1,2,7
IIE
I/O INTERRUPT ENABLE
Slots: 1,2,7
 '  #% % #   +  !'%(/!  ! 
%!/!   !(+! #% (%% $(  (!/! 
!'%%(#/!    ! #(.  
!*/! + %!*/!    !'/! .'%
 !(% (! %!/!  !' (! ( #%% 
!'! (! ,!   (! !'%(/! 
 !'%(/!  !  %!/! #!  %  ' 
'/!  !'%%(#/!    ! 
%!(%  +     +     !'%(/!
 !  %!/!  ' '   '  (!
!'%%(#/!    '' #%  #%%
!'% .' ('  %!!   !'%%(#/!
'%- %   #!!'     +
   '%-!   !'%%(#!
%   #!!' %%-! %) 
 !'  (/!  %!/!    %!(% ! 
!0 %  %!(% -  % %) #% %
(!  ' 0'# #!!'  '!
Manual de referencia del juego de instrucciones
11–40
Restablecimiento de
interrupción pendiente (RPI)
Esta instrucción restablece el estado pendiente de las ranuras especificadas e
informa a los módulos de E/S correspondientes que usted ha cancelado las
peticiones de interrupción de ésos. Esta instruccion no se requiere para configurar
una aplicación de interrupción de E/S básica.
Cuando es verdadera, esta instrucción pone a cero los bits de E/S pendientes (S:25/1
a S:26/14) correspondientes al parámetro de ranuras de la instrucción. Además, el
procesador comunica a los módulos de E/S especiales en dichas ranuras que su
petición de interrupción fue cancelada. Después de esta comunicación, la ranura
puede volver a solicitar el servicio de interrupción. Esta instrucción no afecta los
bits de habilitación de interrupción de ranura de E/S (S:27/1 a S:28/14).
Cómo introducir parámetros
Introduzca los números de ranura de E/S (1 a 30) involucrados. Ejemplos:
6 indica la ranura 6
6,8 indica las ranuras 6 y 8
6–8 indica las ranuras 6, 7 y 8
1–30 indica todas las ranuras
3
3
3
3
3
RESET PENDING INTERRUPT
Slots: 1–30
RPI
Cómo comprender las rutinas de interrupción
11–41
Subrutina de interrupción (INT)
Use la instrucción INT en las subrutinas de interrupción provocadas por un evento
de E/S (ISR) y STI para propósitos de identificación. El uso de esta instrucción es
opcional.
Esta instrucción no tiene bits de control y siempre es evaluada como verdadera.
Cuando es usada, la INT debe ser programada como la primera instrucción del
primer renglón de la ISR.
3
3
3
3
3
3
INT
INTERRUPT SUBROUTINE
Manual de referencia del juego de instrucciones
11–42
Cómo comprender los protocolos de comunicación
12–1
12 Cómo comprender los
protocolos de comunicación
Use la información en este capítulo para comprender las diferencias en los
protocolos de comunicación. Existe capacidad para los protocolos siguientes:
• DH-485
Todos los procesadores SLC 500 pueden comunicar en la red DH-485
Existen varios dispositivos de puente y gateway para crear un interface del canal
SLC 500 DH-485 a otros dispositivos tal como la tarjeta 2760-RB (con el
cartucho de protocolo 2760 SFC3), 1770-KF3, 1747-KE y 1785-KA5. Cuando
usa los dispositivos de puente o gateway, refiérase a la documentación de
usuario específica para configurar su sistema.
• DH+
El SLC 5/04 tiene capacidad para la comunicación y conectividad DH+ a una
red DH+.
• Full–duplex DF1 y maestro/esclavo DF1
Los procesadores SLC 5/03 y SLC 5/04 y el controlador MicroLogix 1000
tienen capacidad para los protocolos DF1 desde sus conexiones RS-232.
• ASCII
Los procesadores SLC 5/03 OS301, OS302 y SLC 5/04 OS400, OS401 tienen
capacidad para el protocolo ASCII definido por el usuario.
• uso de las características de transferencia
Manual de referencia del juego de instrucciones
12–2
Protocolo de comunicación DH-485
La red DH-485 ofrece:
• la interconexión de 32 dispositivos
• capacidad de maestros múltiples
• control de acceso de paso de testigo
• la capacidad de añadir o eliminar nodos sin perturbar la red
• una longitud de red máxima de 1219 m (4,000 pies)
Protocolo de la red DH-485
La sección siguiente describe el protocolo usado para controlar transferencias de
mensaje en la red DH-485. El protocolo tiene capacidad para dos clases de
dispositivos: iniciadores y contestadores. Todos los iniciadores en la red tienen la
oportunidad de iniciar transferencias de mensaje. Se usa un algoritmo de paso de
testigo para determinar cuál iniciador tiene el derecho de transmitir.
Rotación del testigo DH-485
Un nodo que retiene el testigo puede enviar paquetes válidos a la red. El parámetro
de retención de testigo determina el número de transmisiones (más reintentos) cada
vez que el nodo recibe el testigo.
Después que un nodo envía un paquete de mensaje, intenta dar el testigo a su
sucesor enviando un paquete de “paso de testigo”. Si no ocurre actividad de red, el
iniciador intenta encontrar un sucesor nuevo.
El rango de dirección de nodo para un iniciador es 0-31. El rango de dirección de
nodo para todos los contestadores es 1-31. Ha de existir por lo menos un iniciador
en la red.
Nota La dirección máxima que el iniciador busca antes de ajustar la línea
automáticamente a cero es el valor en el parámetro configurable “dirección de
nodo máxima”. El valor predeterminado de este parámetro es 31 para todos los
iniciadores y contestadores.
Nota Los procesadores fijos, SLC 5/01, SLC 5/02, SLC 5/03 y SLC 5/04 no permiten que
la dirección de nodo cero se aplique. Si intenta aplicar un cero, la dirección de
nodo uno se convierte en la dirección de nodo del procesador. La dirección de nodo
de cero es reservada para un dispositivo de programación tal como la terminal
portátil (HHT) o computadora personal utilizando software de programación.
3
3
3
3
3
Cómo comprender los protocolos de comunicación
12–3
Inicialización de la red DH-485
La inicialización de la red comienza cuando un período de inactividad excede el
tiempo de un “límite de tiempo sobrepasado de vínculo muerto”. Cuando el “límite
de tiempo sobrepasado de vínculo muerto” se excede, generalmente el iniciador con
la dirección más baja reclama el testigo.
La construcción de una red comienza cuando el iniciador que reclamó el testigo trata
de pasar el testigo al nodo sucesor. Si el intento de pasar el testigo falla, o si el
iniciador no tiene un sucesor establecido (por ejemplo, al momento de encendido),
comienza una búsqueda lineal de un sucesor a partir del nodo de arriba. Vuelve
automáticamente al nodo 0 cuando alcanza el valor de dirección de nodo máximo.
Cuando el iniciador encuentra otro iniciador activo, pasa el testigo a dicho nodo, el
cual a su vez repite el proceso hasta que el testigo sea pasado por toda la red al
primer nodo. En ese momento, la red estará en el estado de operación normal.
Consideraciones de software
Consideraciones de software incluyen la configuración de la red y los parámetros
que se pueden establecer según los requisitos específicos de la red. A continuación
aparecen factores de configuración que tienen un efecto importante en el
rendimiento de la red:
• el número de nodos en la red
• las direcciones de los nodos
• la velocidad en baudios
• la selección de dirección de nodo máxima
• SLC 5/03 solamente – el factor de retención de testigo
• el número máximo de dispositivos de comunicación
Las secciones siguientes explican consideraciones de la red y describen maneras
para seleccionar parámetros para el rendimiento de red óptimo (velocidad).
Número de nodos
El número de nodos en la red afecta de manera directa el tiempo de transferencia de
datos entre los nodos. Los nodos innecesarios (tal como una segunda terminal de
programación que no se usa) disminuyen la velocidad de transferencia de datos. El
número máximo de nodos en la red es 32.
Manual de referencia del juego de instrucciones
12–4
Establecimiento de direcciones de nodo
El mejor rendimiento de red se logra cuando las direcciones de nodo comienzan en
0 y son asignadas en orden secuencial. Los procesadores SLC 500 retornan a la
dirección de nodo predeterminada 1. La dirección de nodo se almacena en el
archivo de estado del procesador (S:15L). Los procesadores no pueden ser el nodo
0. Además, a los iniciadores tales como las computadoras personales se les deben
asignar las direcciones con los números más bajos a fin de minimizar el tiempo
requerido para inicializar la red.
Si algunos de los nodos están conectados temporalmente, no les asigne direcciones.
Simplemente cree los nodos según se necesiten y elimínelos cuando ya no sean
necesarios.
Establecimiento de la velocidad en baudios del procesador
El mejor rendimiento de red se logra a la velocidad en baudios más alta, la cual es
19200 Kbaud. Todos los dispositivos deben tener la mismo velocidad en baudios.
La velocidad en baudios predeterminada para los dispositivos SLC 500 es 19200
Kbaud. La velocidad en baudios se almacena en el archivo de estado del procesador
(S:15H).
Establecimiento de la dirección de nodo máxima
El parámetro de dirección de nodo máxima se debe establecer al nivel más bajo
posible. Esto minimiza cantidad de tiempo usada para solicitar sucesor al inicializar
la red. Si todos los nodos son direccionados en secuencia desde 0, y la dirección de
nodo máxima es igual a la dirección del nodo direccionado más alto, la rotación de
testigo se mejora por la cantidad de tiempo requerida para transmitir un paquete de
petición de sucesor más el valor de límite de tiempo sobrepasado de la ranura.
Número máximo de dispositivos de comunicación
Los procesadores fijos SLC 500 y SLC 5/01 pueden ser seleccionados por un
máximo de dos iniciadores simultáneamente. El usar más de dos iniciadores para
seleccionar los mismos procesadores fijos SLC 500 y SLC 5/01 simultáneamente
pueden causar límites de tiempo sobrepasados de comunicación.
Cómo comprender los protocolos de comunicación
12–5
Parámetros de configuración DH-485
Cuando el canal 0 ó 1 está configurado para el modo de sistema como DH-485
maestro, se pueden cambiar los siguientes parámetros:
Parámetro Descripción
' +$  #0() $ ('+$ %' *($ *)*'$
!$  #
* $(
!)'# #)' ! '/ #  $*#  0#      -   !
'/ # %')' #$ (  
 ' 0#  #$$
() ( !  ' 0#  #$$ ! %'$($' # ! ' 2  ! '#$
+.! $ (  ! +!$' %')' #$ ( 
 ' 0#  #$$
., 
() ( !  ' 0#  #$$ .,   *# %'$($' ) +$ ! '#$
+.! $ (  ! +!$' %')' #$ ( 
)$'  ')# 0#
 )() $
)' # ! #1'$  )'#( $#( %' ) ( %' )*' 
'$) 0#  )() $ 2  ! #'#)' () +!$' %' ) * (*
%'$($' #'#) ! %   )') #)$ 1) ! 2  ! '#$
+.! $ (   ! +!$' %')' #$ (  $( %'$($'(   -
  ().# ()! $( # .'
Preface
Manual de referencia del juego de instrucciones
12–6
Los dispositivos siguientes usan la red DH-485:
No. de catálogo Descripción
Requisito de
instalación
Función Publicación
1746ĆBAS Módulo BASIC Chasis SLC Proporciona un interface para los
dispositivos SLC 500 a dispositivos
extranjeros. Programe en BASIC para
crear interface con los 3 puertos (2
RSĆ232 y 1 DHĆ485) a impresoras,
módems o la red DHĆ485 para
rcolección de datos.
1746Ć6.1ES
1746Ć6.2ES
1746Ć6.3ES
1747ĆKE Módulo de
interface
DHĆ485/DF1
Chasis SLC Proporcionar un interface sin
aislamiento DHĆ485 para SLC 500 a
computadoras principales sobre RSĆ232
usando el protocolo DF1 de duplex total
o medio. Habilita la programación
remota usando su software de
programación a un procesador SLC 500
o la red DHĆ485 a través de módems.
Perfecto para aplicaciones RTU/SCADA
de bajo costo.
1747Ć6.12
1770ĆKF3 Módulo de
interface
DHĆ485/DF1
Escritorio
autónomo
Proporciona un interface DHĆ485 aislado
para dispositivos SLC 500 a
computadoras principales sobre RSĆ232
usando el protocolo DF1 de fuplex total
o medio. Habilita la programación
remota usando su software de
programación a un procesador SLC 500
o la red DHĆ485 a través de módems.
1770Ć6.5.18
1784ĆKR Módulo de
interface PC
DHĆ485
Bus de
computadora
IBM XT/AT
Proporciona un puerto DHĆ485 aislado
en la parte posterior de la computadora.
Cuando se usa con el software APS,
mejora la velocidad de comunicación y
elimina el uso del convertidor de
interface personal (1747ĆPIC). El
variador estándar le permite escribir
programas C para aplicaciones de
adquisición de datos.
1784Ć2.23ES
6001Ć6.5.5
1785ĆKA5 Gateway
DH+/DH485
Chasis de E/S
(1771) PLC
Proporciona comunicación entre
estaciones en las redes PLCĆ5 (DH+) y
SLC 500 (DHĆ485).
1785Ć6.5.5ES
1785Ć1.21ES
2760ĆRB Módulo de
interface flexible
Chasis (1771)
PLC
Proporciona un interface para SLC 500
(usando el cartucho de protocolo
2760ĆSFC3) a otros procesadores PLC y
dispositivos de AĆB. Están disponibles
tres puertos configurables para
proporcionar interface con los sistemas
de código de barras, visión, RF,
Dataliners y PLC.
2760ĆND001
Cómo comprender los protocolos de comunicación
12–7
Protocolo de comunicación de Data Highway Plus
La red Data Highway Plus emplea la comunicación entre dispositivos semejantes
con un sistema de paso de testigo para rotar el maestro del vínculo entre un máximo
de 64 nodos. Puesto que este método no requiere la encuesta (polling), ayuda a
proporcionar un transporte de datos fiable y eficiente. Las características de la red
DH+:
• programación remota de los procesadores PLC-2, PLC-3, PLC-5 y SLC 500 en
su red
• conexiones directas a los procesadores PLC-5 y terminales de programación
industriales
• reconfiguración y expansión fáciles si desea añadir más nodos en el futuro
• una velocidad de comunicación de 57.6 Kbaud
La red DH+ usa límites de tiempo sobrepasados establecidos en fábrica para
reinicializar la comunicación de paso de testigo si el testigo se pierde debido a un
nodo defectuoso.
Ejemplo
El ejemplo siguiente muestra la conectividad de un procesador SLC 5/04 a un
procesador PLC-5 usando el protocolo DH+. Se usa una velocidad de comunicación
de 57.6 Kbaud.
# +
 
)(.,)), # 
')/,  
(   !)'*.% # !)(
 )  #  )
-/*#,%), !)( !/+/%#, #
)- -%$/%#(.#-
•  0
•  0 
•  0
•  0
Manual de referencia del juego de instrucciones
12–8
Ejemplo
El ejemplo siguiente muestra un protocolo DH+ usando dos controladores SLC 5/04
con las velocidades altas de 115.2 Kbaud ó 230 Kbaud.
Nota Las velocidades de comunicación DH+ de 115.2 Kabaud y 230 Kbaud no están
disponibles para la terminal de programación. En el ejemplo siguiente la terminal
de programación está conectada al puerto en serie del procesador SLC 5/04 para
entrar en la velocidad en baudios más alta. Este método usa la característica de
transferencia de DF1 a DH+. Para obtener más información acerca de la
transferencia, vea el capítulo 8.
 +
Cómo comprender los protocolos de comunicación
12–9
Parámetros de configuración de canal 1 de DH+ (procesadores SLC 5/04 únicamente)
Cuando el modo de sistema es DH+ para canal 1, los parámetros siguientes se
pueden cambiar:
Parámetro Descripción
!$  # * $(
!)'# #)' ! +!$   $*#  /#   
  ,    ! +!$' %')' #$ (  
# )' #!  %'$' /# (/!$ %* $*# '
# *# '  $# *' %'  *
(0'( * )$$( !$(  (%$( ) +$( # (* ' 
().# $# *'$( %' !  ( +!$  
$*#  /#
 ' /#  #$$
! '#$ +-! $ (  $)! ! +!$' %')' #$
( 
 ! ) /#  )'#( ( /#  %!'
 ()$ !$!À !)'# #)'  ,  ! +!$' %')' #$ ( 
 ! ) /#  '% /#  %!' 
()$ !$!À !)'# #)'  ,  ! +!$' %')' #$ ( 
À () %'-)'$ ()-  (%$# ! %' !$( %'$($'(     ($!#)
Manual de referencia del juego de instrucciones
12–10
Descripción general de la palabra de estado global
Cuando un procesador pasa el testigo DH+ al próximo nodo, también envía una
palabra de 16 bits denominada la palabra de estado global (GSW). Cada nodo en la
red observa el mensaje de paso de testigo, pero solamente el “próximo” nodo en la
red acepta el testigo. Sin embargo, si todos los nodos en la red leen la palabra de
estado global enviada con cada paso de testigo y la guardan en memoria. Cada
procesador en la red DH+ tiene una tabla en memoria en que guardar la(s) palabra(s)
de estado global que recibe de otros nodos. En cada archivo de estado del
procesador SLC 5/04, hay un destino para:
• La palabra de transmisión global
Esta palabra se ubica en memoria a S:99. Si, en su programa de escalera, usted
transfiere datos a esta ubicación de memoria, se transmitirán cada vez que el
procesador pasa el testigo DH. Tome nota que todos los otros nodos DH+
observarán estos datos.
• Archivo de estado global
Este archivo se ubica en memoria a S:100 a S:163 y representa una ubicación de
memoria para cada uno de los 64 nodos posibles en la red DH+. A medida que
otros nodos vayan transmitiendo información de estado global con sus pasos de
testigo, el procesador SLC 5/04 recolecta esta información y la guarda en el
archivo de estado global. La ubicación de memoria S:100 corresponde al nodo
#0 (octal), S:101 corresponde al nodo #1 (octal) y S:163 corresponde a nodo
#77 (octal).
Una palabra del archivo de estado global de cada nodo se actualiza durante cada
paso de testigo. Esto puede funcionar como mensaje de difusión de alta velocidad,
el cual es útil para el paso de estado y la sincronización de procesadores.
Si el bit de habilitación de transmisión de palabra de estado global (S:34/3) y el bit
de recepción de palabra de estado global (S:34/4) nunca se establecen, puede usar el
archivo de estado global (S:100 a S:163) para otros usos de almacenamiento. Si
estos bits se usan y luego se restablecen, el área en el archivo de estado de sistema
nunca será alterada por el procesador SLC 5/04, aun después de una desactivación y
reactivación de la alimentación eléctrica del procesador.
Nota El archivo de estado de sistema debe tener una longitud de por lo menos 164
palabras para que se realicen transmisiones y recepciones de palabra de estado
global. Esto significa que un programa de usuario para uso con OS400 no tendrá
capacidad para la característica de palabra de estado global.
Cómo comprender los protocolos de comunicación
12–11
Bit de habilitación de transmisión de palabra de estado global S:34/3
(SLC 5/04 con OS401)
La transmisión de la palabra de estado global es habilitada estableciendo el bit
S:33/3 en el archivo de estado. Si este bit está establecido (1), el procesador
transmite los datos en S:99 con cada paso de testigo DH+. Si este bit no está
establecido (0), el procesador pasa el testigo y no añade la palabra de estado global.
Este bit es configurable dinámicamente y el posicionamiento predeterminado es
cero. Considere las pautas siguientes al usar el bit de habilitación de transmisión de
palabra de estado global:
• Si este bit no está establecido, el paso de testigo DH+ transmitido desde el canal
1 no contendrá bytes de palabra de estado global.
• Si este bit está establecido, pero el SLC 5/04 no está en el modo de MARCHA,
marcha REMota o en uno de los tres modos de prueba, el paso de testigo DH+
transmitido contendrá una palabra de estado global a 2 bytes de 0x0000.
• Si este bit está establecido y el SLC 5/04 está en el modo de MARCHA, marcha
REMota o en uno de los tres modos de prueba, el paso de testigo DH+
transmitido contendrá una GSW de 2 bytes igual al valor en S:99 (palabra de
estado global). La palabra también se coloca en el archivo de estado global de
64 palabras (S:100 a S:163) en la ubicación que corresponde a la dirección de
nodo DH+ asociada con el procesador SLC 5/04.
Por ejemplo, si el procesador SLC 5/04 está funcionando en la dirección octal
22 (18 decimales), la GSW transmitida se escribe a palabra S:118.
• Solamente una palabra de estado global de 2 bytes se puede transmitir, aun
cuando la red DH+ tiene capacidad hasta para 4 bytes. La longitud no es
seleccionable, sino que tiene 2 bytes para ser compatible 100% con los
procesadores PLC–5.
• La palabra en el archivo de estado global correspondiente a la dirección DH+
del procesador SLC 5/04 se establecerá a 0x0000 si se efectúa algo para inhibir
la transmisión de la palabra de estado global desde S:99. Esto incluye:
– el borrado de S:33/4, bit de habilitación de transmisión de palabra de
estado global
– la colocación del SLC 5/04 en un modo que no sea el modo de marcha
ni el modo de prueba
– la inhabilitación de canal 1
– un error que ocurre en la red DH+ causando que el LED de canal 1
parpadee rojo o se haga rojo sólido (esto podrá ser causado por una
dirección de nodo duplicada).
– el no tener un programa de usuario OS401 cargado al procesador
SLC 5/04
• Si S:34/3 no está establecido a partir del tiempo en que el SLC 5/04 se enciende,
la palabra correspondiente a su dirección DH+ en el archivo de estado global
nunca se escribirá durante el final de escán.
Manual de referencia del juego de instrucciones
12–12
Bit de habilitación de recepción de palabra de estado global (S:34/4
(SLC 5/04 con OS401)
La recepción de las palabras de estado global de otros procesadores en la red se
habilita estableciendo el bit S:33/4 en el archivo de estado. Si éste es establecido
(1), el procesador llena el archivo de estado global con palabras de estado global
transmitidas por otros procesadores en la red. Si este bit no está establecido (0), el
procesador no hace caso de la actividad de palabra de estado global en la red. Este
bit es configurable dinámicamente y el posicionamiento predeterminado es cero.
Tome nota que la transmisión y recepción de palabras de estado global no dependen
la una de la otra.
Considere las pautas siguientes al usar el bit de habilitación de recepción de palabra
de estado global:
• Si este bit no está establecido, el archivo de estado global (S:110 a S:163) no se
actualizará con el paso de la información de la palabra de estado global a la red.
• Un error que ocurre en la red DH+ para causar que el LED de canal 1 parpadee
rojo o se haga rojo sólido inhabilita las recepciones de la palabra de estado
global. (Esto podría ser causado por una dirección de nodo duplicada.)
• La capacidad para el archivo de estado global (S:100–S:163) se habilita cuando
las cuatro condiciones siguientes se cumplen:
– el canal 1 se configura para comunicación de protocolo DH+
– el archivo de estado de sistema tiene una longitud de por lo menos 164
palabras
– el bit de habilitación de recepción de palabra de estado global (S:34/3)
está establecido
– la operación en la red DH+ está funcionando (LED de canal 1 es verde)
• El único modo de procesador en que la recepción de la palabra de estado global
no funcionará es durante la carga de un programa.
Cómo comprender los protocolos de comunicación
12–13
Tome nota que todas las 164 palabras se actualizarán durante cada final de escán.
La tabla siguiente describe los estados posibles de la dirección de nodo DH+ y el
valor escrito a la palabra de estado global (S:99).
Estado de la dirección de nodo DH+
Valor escrito en S:99 por el
procesador SLC 5/04
     %       #
    %        
  $     !    
#
    %       $  
$        !    
 $        #  $   
  !   $      
    %       $  
$        !    
 $       !  ! $ 
 $      !   $  
 $    $     ! 
!   
    %       $  
'  $        !    
 $       !  ! $ 
 $      !   $  $
      $   $ ! 
• Si el archivo de estado global (S:100-S:163) está funcionando y luego el canal 1
se inhabilita, todo el archivo de estado global se pone a cero.
• Si el archivo de estado global (S:100-S:163) está funcionando y el bit S:34/4 se
restablece, todo el archivo de estado global se pone a cero excepto por la
palabra que corresponde a la dirección de nodo DH+ de canal 1.
• Si el archivo de estado global (S:100-S:163) está funcionando y luego ocurre un
error de la red DH+, todo el archivo de estado global se pone a cero. Si el
procesador SLC 5/04 se recupera del error por sí mismo, la actualización del
archivo de estado global se reanuda automáticamente.
• Si el archivo de estado global (S:100-S:163) está funcionando y luego un
programa de usuario con un archivo de estado de sistema con menos de 164
palabras se carga, el procesador SLC 5/04 detecta esto antes de intentar la
actualización del archivo de estado global. Es decir, no resulta ninguna
corrupción del programa de usuario si todos los otros criterios se cumplen para
dar capacidad a la característica de la tabla de recepción de GSW.
Nota El procesador SLC 5/04 mantiene una tabla de palabra de estado global corriente a
pesar de la habilitación de la operación de la tabla de nodo activo DH+ de canal 1
(estableciendo S:34/1). Para ver la tabla de palabra de estado global usando su
software de programación, S:34/1 debe estar establecido además de cumplir con
todos los requisitos anteriores.
Preface
Manual de referencia del juego de instrucciones
12–14
Comunicación de PLC–5 a SLC 500 usando los comandos
MSG de tipo PLC–2
Los procesadores SLC 5/03 pueden enviar MSG a un procesador de dos maneras:
Si usa esta versión:
Use esta instrucción MSG para
comunicar a un procesador PLCĆ5:
   
$!  %* + 
 $  *  #$
#*
    ' ! #$ #
• $! +  )$  ! 
• $!  %* + 
 $  *   !(
 
Programe una instrucción de mensaje PLC-5 como tipo PLC-2 cuando acceda a un
procesador SLC 500.
Las lecturas y escrituras PLC-2 no protegidas no se emplean realmente como “no
protegidas” en el procesador SLC. Están sujetas a los sistemas de protección de
archivo del SLC. Por ejemplo, se rechazarán si una carga está en progreso o si el
archivo de interface común (CIF) ya está abierto por otro dispositivo. Estos tipos de
comandos de lectura y escritura son de alguna manera “universales” ya que se
emplean en muchos otros controladores programables de Allen-Bradley.
En realidad, el CIF es como cualquiera de los otros archivos de datos SLC excepto
que es designado como el archivo destino para todos los comandos de lectura no
protegida y escritura no protegida del PLC-2 que son recibidos por el SLC. Siempre
es archivo #9. El CIF puede ser definido como tipos de bit, entero, temporizador,
contador o datos de control. Sin embargo, solamente los archivos de bit o entero se
deben usar para facilitar el direccionamiento.
Usted no puede usar la instrucción de mensaje SLC 5/02 para enviar un mensaje a
través del módulo 1785-KA5. No obstante, puede usar la instrucción de mensaje
SLC 5/03 para enviar un mensaje al módulo 1785-KA5. El procesador SLC 5/03
tiene la capacidad de responder a peticiones de lectura/escritura de datos cuando el
1785-KA5 está en el “modo de encaminador”. Los procesadores fijo SLC 500, SLC
5/01 y SLC 5/02 no pueden responder a peticiones de lectura/escritura de datos.
Cuando el 1785-KA5 está en el modo de gateway, todos los procesadores SLC 500
pueden responder a peticiones de lectura/escritura de datos de Data Highway Plus.
Nota El archivo #9 debe ser creado y definido al momento de programar el SLC. El
archivo #9 también debe ser lo suficientemente grande para incluir el espacio de
direccionamiento de lectura y escritura no protegidas. De lo contrario, todas las
lecturas y escrituras no protegidas serán rechazadas por el SLC.
Cómo comprender los protocolos de comunicación
12–15
Cómo los procesadores PLC-5 direccionan datos
Cuando usted programa cualquier tipo de instrucción MSG en el PLC-5, la
“dirección de destino” se introduce en octal. El procesador PLC-5 automáticamente
traduce la dirección octal a una dirección de byte doblando el equivalente decimal.
Por lo tanto, 0108 se hace 16 y 1778 se hace 254. No puede introducir una dirección
octal con menos de 0108 en una instrucción de mensaje PLC-5.
Cómo usar el archivo CIF SLC 500 (emulación PLC-2)
El CIF se puede considerar como búfer de datos entre todos los otros archivos de
datos SLC y el canal DH-485. El SLC debe ser programado usando la lógica de
escalera para transferir datos entre el CIF y los otros archivos de datos mostrados
aquí.
 #  $ #
 '  
$%  ! $
#$%  ! $
 ' 
  
# 
   
 
'
El CIF se puede manejar designando áreas a las cuales se debe escribir y áreas desde
las cuales se debe leer. Si desee saber cuándo los datos han cambiado en el CIF, use
la lógica de escalera para programar bits de comunicación en sus datos CIF.
Nota Aunque el formato de las lecturas y escrituras no protegidas es el mismo que el
usado en otros procesadores PLC, el empleo del parámetro de dirección es
diferente. En los productos PLC de Allen-Bradley, la dirección es interpretada
como una dirección de byte. En algunos productos SLC 500, la dirección es
interpretada como una dirección de palabra.
• Los procesadores SLC 500 y SLC 5/01 usan el direccionamiento de palabra
exclusivamente.
• El SLC 5/02, antes de los procesadores FRN 3 de serie C, también usan el
direccionamiento de palabra exclusivamente.
• Los procesadores SLC 5/02, SLC 5/03 y SLC 5/04 tienen un bit de selección,
S:2/8, que permite la selección del direccionamiento de palabra o byte.
• El DTAM para el SLC usa el direccionamiento de palabra exclusivamente.
Preface
Manual de referencia del juego de instrucciones
12–16
Programación para manejar las diferencias de direccionamiento de
palabra/byte
Los procesadores SLC 500 usan el direccionamiento de palabra y los procesadores
PLC-5 usan el direccionamiento de byte. Un byte en el procesador PLC-5 es el
equivalente de dos palabras en el procesador SLC 500.
La sección siguiente describe las diferencias entre el direccionamiento de palabra y
byte cuando se envían mensajes a/de un procesador PLC-5 vía comandos PLC-2.
Cómo enviar un mensaje de tipo PLC-2 a un procesador PLC-5 usando el
direccionamiento SLC de “palabra” (S:2/8 = 0)
La “dirección de destino” octal de la instrucción de mensaje PLC-5 debe ser entre
0108 y 1778. Este rango corresponde a la palabra 16 a la palabra 254 (palabras
pares solamente) cuando S:2/8 es igual a cero.
Cómo enviar un mensaje de tipo PLC-2 a un procesador PLC-5 usando el
direccionamiento de “byte” (S:2/8 = 1)
Nota El modo de direccionamiento de byte se selecciona en el SLC estableciendo el bit
S:2/8 a 1. El valor predeterminado es S:2/8 = 0 para el direccionamiento de
palabra. Este bit de selección no está disponible en los procesadores fijos SLC ni
SLC 5/01. Este establecimiento se aplica al byte/palabra de offset.
La “dirección de destino” octal de la instrucción de mensaje PLC-5 debe ser entre
0108 y 3778. El rango corresponde a la palabra 8 a la palabra 254 cuando S:2/8 es
igual a 1.
Dirección de destino (octal) Dirección SLC
Dirección de destino (octal)
PLCĆ5 MSG Modo de palabra (S:2/8=0) Modo de byte (S:2/8=1)
 
 
  
 
 
El valor máximo para el parámetro de “número de elementos” de instrucción del
procesador PLC-5 de tipo PLC-2 es 41 para un procesador SLC 5/02 y 110 para un
procesador SLC 5/03 (se suponen elementos de 1 palabra).
Cómo comprender los protocolos de comunicación
12–17
Ejemplo – Cómo enviar un mensaje de tipo PLC-2 a procesadores PLC-5 usando
procesadores SLC direccionados por “palabra” (S:2/8 = 0)
Como ejemplo, escriba 10 palabras de N7 en un PLC-5 a un SLC 5/02:
1. Configure la dirección fuente en la instrucción de mensaje como N7:0.
2. Configure el “medir elementos” a 10.
3. Configure el “tipo de comando” como “escritura no protegida PLC-2”.
4. Configure la “dirección de destino” como 0108. Esto corresponde a la dirección
SLC, N9:16.
Ya que 10 palabras se escribirán, asegúrese que el archivo N9 en el SLC sea creado
por lo menos a N9:25.
Se supone que la instrucción de mensaje será configurada para un destino remoto ya
que es necesario que exista un puente entre el PLC-5 y el SLC 5/02, tal como un
1784-KA5 (en el modo gateway) vinculando una red DH+ y DH-485.
Ejemplo – Cómo enviar un mensaje de tipo PLC-2 a un procesador PLC-5 usando
procesadores direccionados por “byte) (S:2/8 = 1)
Como ejemplo, escriba 10 palabras de N7 en un PLC-5 a un SLC 5/02:
1. Configure la dirección fuente en la instrucción de mensaje como N7:0.
2. Configure el “tamaño en elementos” a 10.
3. Configure el “tipo de comando” como “escritura no protegida PLC-2”.
4. Configure la “dirección de destino” como 0108. Esto corresponde a la dirección
SLC, N9:7.
Ya que 10 palabras se escribirán, asegúrese que el archivo N9 en el SLC sea creado
por lo menos a N9:17.
Preface
Manual de referencia del juego de instrucciones
12–18
Procesadores SLC 5/03 y SLC 5/04 a comunicación PLC-5 usando
comandos MSG SLC 500 ó PLC-5
Los procesadores SLC 5/03 OS301 y SLC 5/04 OS400 tienen capacidad para los
comandos MSG de tipo PLC-5. Esto elimina la necesidad de programar MSG de
tipo PLC-2.
Cuando desea obtener acceso a: Programe la instrucción MSG como:
  !
      
! 
  ! 
 
 
  
Los procesadores SLC 5/03 OS301 y SLC 5/04 aceptan los comandos MSG de tipo
PLC-5 para leer y escribir archivos de datos de estado, bit, temporizador, control,
entero, punto (coma) flotante, cadena y ASCII. Sin embargo, los procesadores SLC
5/03 OS301 y SLC 5/04 no aceptan comandos MSG de tipo PLC-5 para leer o
escribir desde/hacia archivos de entrada y salida debido a la diferencia entre la
estructura de direccionamiento de chasis/grupo del procesador PLC-5 y la estructura
de direccionamiento de ranura/palabra del SLC 500. Además, el procesador PLC-5
actualmente no acepta comandos MSG de SLC 500.
Cuando programa una instrucción MSG de tipo PLC-5, los tipos de datos de fuente
y destino deben coincidir. A título de consistencia en la transferencia de datos, le
recomendamos que los tipos de datos de destino y fuente coincidan cuando
transfiera datos entre los procesadors PLC-5 y los procesadores SLC 5/03 OS301 y
SLC 5/04.
Cuando programa una instrucción MSG SLC, no tienen que coincidir los tipos de
datos de fuente y destino.
El tipo de datos de destino determina el número de palabras por elemento que se
debe transferir. Por ejemplo, el destino T4:0 y la fuente N7:0 con una longitud de 3
resultan en una transferencia de 9 palabras enteras debido a un tamaño de elemento
de temporizador de 3 palabras por elemento.
Cómo comprender los protocolos de comunicación
12–19
Protocolo de comunicación RS-232
Los procesadores SLC 5/03 y SLC 5/04 tienen capacidad para el protocolo de
duplex total DF1 y el protocolo maestro/esclavo de duplex medio DF1 vía la
conexión RS-232 a una computadora principal (usando canal DF1). Los detalles de
estos protocolos se encuentran en el Manual de usuario del juego de protocolo y
comando Data Highway/Data Highway Plus/DH-485, publicación 1770-6.5.16ES.
Para obtener más información acerca de cómo usar los procesadores SLC 500 en
aplicaciones SCADA, vea la:
• Guía de selección del sistema SCADA, publicación AG-2.1ES
• Guía de aplicación del sistema SCADA, publicacion AG-6.5.8ES
Protocolo de full–duplex DF1
El protocolo full–duplex DF1 (también conocido como protocolo de punto a punto
DF1) se proporciona para aplicaciones en que la comunicación de punto a punto
RS-232 es necesaria. Este tipo de protocolo tiene capacidad para transmisiones
simultáneas entre dos dispositivos en ambas direcciones. Puede usar el canal 0
como puerto de programación o como puerto de dispositivos semejantes usando la
instrucción MSG.
En el modo full–duplex, el procesador SLC 5/03 ó SLC 5/04 puede enviar y recibir
mensajes. Cuando el procesador envía mensajes, lo hace en forma de respuestas
incorporadas, las cuales son símbolos transmitidos dentro de un paquete de mensaje.
Cuando el procesador SLC 5/03 ó SLC 5/04 recibe mensajes, sirve como dispositivo
final – un dispositivo que detiene la transmisión de paquetes de datos. El
procesador no hace caso de las direcciones de destino y fuente recibidas en los
paquetes de datos. Sin embargo, el procesador cambia estas direcciones en la
respuesta que transmite como respuesta a cualquier paquete de datos de comando
que ha recibido.
Ya que los procesadores SLC 5/03 y SLC 5/04 se consideran como “dispositivos
finales” (la transmisión del paquete de datos se detiene en el procesador), no se hace
caso de las direcciones de destino y fuente en el paquete de datos. Si usa un módem
con el canal 0 DF1 en el modofull–duplex, éste debe tener capacidad de funcionar
en el modo de full–duplex. Típicamente, un módem de marcado se usa para la
comunicación por líneas telefónicas.
3
3 3
Preface
Manual de referencia del juego de instrucciones
12–20
Parámetros de configuración de canal 0 de duplex total DF1
Cuando el variador del modo de sistema es un duplex total DF1 para canal 0, los
parámetros siguientes se pueden cambiar:
Parámetro Descripción
Archivo diagnóstico Reservado para uso futuro.
Velocidad en
baudios
Alterna entre la velocidad de comunicación de 110, 300, 600, 1200, 2400,
4800, 9600 y 19200. El valor predeterminado es 1200.
Paridad Alterna entre Ninguna y Par. El valor predeterminado es Ninguna.
Bits de detención Alterna entre 1, 1.5 y 2. El valor predeterminado es 1.
Detección de
paquete duplicado
Alterna entre inhabilitado y habilitado. El valor predeterminado es
Habilitado.
Detección de error Alterna entre CRC y BCC. El valor predeterminado es CRC.
Límite de tiempo
sobrepasado ACK
El rango válido es 2-65535 (en incrementos de 20 ms). El valor
predeterminado es 50.
Reintentos NAK El rango válido es 0-255. El valor predeterminado es 3.
Reintentos ENQ El rango válido es 0-255. El valor predeterminado es 3.
Línea de control
Alterna entre Sin comunicación y módem de full-duplex El valor
predeterminado es Sin handshaking.
Respuestas
incorporadas
Alterna entre Habilitado y Detección automática. El valor predeterminado
es Habilitado.
ID de fuente
Especifique la dirección del transmisor en este campo. El rango válido es
0-254. El valor predeterminado es 9.
Cómo comprender los protocolos de comunicación
12–21
 ! 
$
$
# !  !   
 % 
 
%
 
%
# !  !
 
%
 % 
#
  
 % 
 
%
Manual de referencia del juego de instrucciones
12–22
1
1
Full–duplex (red)
 2 
1
$%*)$' %' # %!
$# %   !!' -
'' #)' $# *#
'  ! +. 1
1*!$  #)'
 2
$%!$' 
+0#*!$
 2 
() $# *' 1# %' ) * ! $%*)$' %' # %! !!  /(  *#
' '$)  ' '$) %* )#' *# /, $   #$$( 
  
 2 
#! 
2
#! 
2
  
 2 
 2
Cómo comprender los protocolos de comunicación
12–23
Protocolo maestro/esclavo de half–duplex DF1
El protocolo maestro/esclavo de half–duplex DF1 proporciona una red de múltiples
conexiones de un solo maestro/esclavos múltiples. A diferencia del full–duplex
DF1, la comunicación se realiza en una dirección a la vez. Puede usar canal 0 como
puerto de programación o como puerto de dispositivos semejantes usando la
instrucción MSG.
El dispositivo maestro inicia toda la comunicación “encuestando” cada dispositivo
esclavo. El dispositivo esclavo solamente puede transmitir paquetes de datos
cuando es encuestado por el maestro. Es la responsabilidad del maestro encuestar
cada esclavo de manera sistemática y secuencial para recolectar datos. Durante una
secuencia de encuesta, el maestro encuesta un esclavo repetidamente hasta que el
esclavo indique que ya no tiene paquetes de transmitir. Luego el maestro transmite
los paquetes de datos por dicho esclavo.
Varios productos de Allen-Bradley tienen capacidad para el protocolo maestro de
half–duplex. Incluyen el módulo 177-KGm (para controladores PLC-2) y los
procesadores PLC-5/11, -5/20, -5/30, -5/40, -5/40L, -5/60, -5/60L, -5/80, -5/20E,
-5/40E y -5/80E. El software ControlView y ControlView 300 también tiene
capacidad para el protocolo maestro de half–duplex con la opción SCADA
(6190-SCA).
Típicamente, el maestro tiene dos tablas separadas – una para los esclavos en línea y
otra para los esclavos fuera de línea. Los esclavos en línea son encuestados de
manera sistemática. Los esclavos fuera de línea son encuestados de vez en cuando
para verificar si uno ha entrado en línea.
Un dispositivo maestro tiene capacidad para el encaminamiento de paquetes de
datos desde un esclavo al otro.
El half–duplex DF1 tiene capacidad hasta para 255 dispositivos esclavos (dirección
0 a 254) con dirección 255 reservada para multidifusiones maestras. Los tipos de
módem de half–duplex o full–duplex se pueden usar para la red de half-duplex DF1.
El SLC 5/03 tiene capacidad para la recepción de multidifusiones. El SLC 5/03 no
puede iniciar una multidifusión.
Preface
Manual de referencia del juego de instrucciones
12–24
Parámetros de configuración de canal 0 del esclavo de half–duplex DF1
Cuando el modo de sistema es el esclavo de half–duplex DF1 para el canal 0, los
parámetros siguientes se pueden cambiar:
Parámetro Descripción
,#$0) $(5-.$)  - ,0) *, /-) !/./,)
 )$ ( /$)-
. ,( (.,  0 )$  )'/($$5(    
     2    0), *,  . ,'$() -

,$ . ,( (., $(/( 2 ,  0), *,  . ,'$() - $(/(
$.-   . ($5( . ,( (.,   2   0), *,  . ,'$() - 
$, $5(  -.$5(  ,() 03$) -    $'  0), *,  . ,'$() - 
 . $5(  *+/ .
. ,( (., $$. (#$$.  0), *,  . ,'$() -
$$.
 . $5(  ,,), . ,( (.,  2   0), *,  . ,'$() - 
 .,)   -.$0$5(

 * ,'$. -  $)(,  0),  , .,)   -.$0$5( 
( $(, ' (.)-   '-  ,() 03$) -     0),
*,  . ,'$() - 
 .,)  .,(-'$-$5( 
 * ,'$. -  $)(,  0),  , .,)  .,(-'$-$5(  (
$(, ' (.)-   '-  ,() 03$) -     0),
*,  . ,'$() - 
4'$.  .$ '*)
-), *-)  (/ -.
 * ,'$. -  $)(,  0),  4'$.  .$ '*) -), *-) 
(/ -. ' -.,) ( $(, ' (.)-   '-  0),
*,  . ,'$() -   ,() 03$) -   
 .,)  .$ '*) 
.,(-'$-$5( *, 0$
 * ,'$. -  $)(,  , .,)  .$ '*)  .,(-'$-$5( *, 0$
 ( $(, ' (.)-   '-  ,() 03$) -   
 $(. (.)-  ' (-%
 * ,'$. -  $)(,  0),  , $(. (.)-  ' (-%   ,()
03$) -    0), *,  . ,'$() - 
4(   )(.,)
. ,( (., $(/( )'/($$5( #!/* 1 )( *),.),
)(.$(/ 2#!/* 1 -$( *),.), )(.$(/  0),
*,  . ,'$() - $(/( )'/($$5(
/*, -$5(  . ,( (., 4 2 )  0), *,  . ,'$() - )
Cómo comprender los protocolos de comunicación
12–25
Parámetros de configuración de canal 0 del maestro de half–duplex DF1
Cuando el variador del modo de sistema es el maestro de medio duplex DF1 para
canal 0, los parámetros siguientes se pueden cambiar:
Parámetro Descripción
Archivo diagnóstico Reservado para uso futuro.
Velocidad en baudios Alterna entre la velocidad de comunicación de 110, 300, 600,
1200, 2400, 4800, 9600 y 19200.
Paridad Alterna entre Ninguna y Par. El valor predeterminado es Ninguna.
Bits de detención Alterna entre 1, 1.5 y 2. El valor predeterminado es 1.
Dirección de estación El rango válido es 0-254 decimal. El valor predeterminado es 1.
Detección de paquete
duplicado
Alterna entre Habilitada e Inhabilitada. El valor predeterminado es
Habilitada.
Detección de error Alterna entre CRC y BCC. El valor predeterminado es CRC.
Límite de tiempo
sobrepasado ACK
El permite seleccionar el valor de límite de tiempo sobrepasado
ACK en incrementos de 20 ms. El rango válido es 0-65535.
Retardo de desactivación
RTS
Le permite seleccionar el valor de retardo de desactivación RTS
en incrementos de 20 ms. El rango válido es 0-65535. El valor
predeterminado es 0.
Reintentos de mensaje Le permite seleccionar el valor de reintentos de mensaje. El rango
válido es 0-255. El valor predeterminado es 3.
Retardo de transmisión RTS
Le permite seleccionar el valor de retardo de transmisión RTS en
incrementos de 20 ms. El rango válido es 0-65535. El valor
predeterminado es 0.
Retardo de tiempo de
transmisión previa
Le permite seleccionar el valor de retardo de tiempo de
transmisión previa RTS en incrementos de 20 ms. El rango válido
es 0-65535.
Línea de control Alterna entre Ninguna comunicación, Módem de full-duplex y
half-duplex sin portadora continua.
Modo de encuesta
Alterna entre Basado en mensaje (no permite que el esclavo inicie
mensajes), Basado en mensaje (permite que el esclavo inicie
mensajes), Estándar (transferencia de un solo mensaje por escán
de nodo) y Estándar (transferencia de mensajes múltiples por
escán de nodo)
Encuesta de prioridad - baja Le permite seleccionar la dirección baja del rango de encuesta de
prioridad. El rango válido es 0-255.
Encuesta normal - baja Le permite seleccionar la dirección baja del rango de encuesta
normal. El rango válido es 0-255.
Encuesta de prioridad - alta Le permite seleccionar la dirección alta del rango de encuesta de
prioridad. El rango válido es 0-254.
Encuesta normal - alta Le permite seleccionar la dirección alta del rango de encuesta
normal. El rango válido es 0-254.
Tiempo de espera del
mensaje de respuesta
Le permite seleccionar el establecimiento del tiempo de espera del
mensaje de respuesta en incrementos de 20 ms. El rango válido
es 0-65535.
Tamaño del grupo de
encuesta normal
Le permite seleccionar el tamaño del grupo de encuesta normal.
El rango válido es 0-255.
Manual de referencia del juego de instrucciones
12–26
'
' ' ' ' '
(
! $   
  $  
 % 
! #   
  '% 
$   (
$    %
 ! # 
 
$   ' # $
 $ # $#
%$  ! $  
 #$ 
  $  
 % 
! #   
  '% 
$   (
$    %
 ! # 
 
$    
    
'% 
$   (
Cómo comprender los protocolos de comunicación
12–27
Módem
-
 $%#'## #
#'%# #% !#( % 
$%##%  
#'%# *  ,
#'*%  #'%# %-
' ('# 
$%#'## # 
!'%#
#'%# #% !#( % 
$%##%   #
!,( #  '%
 -
,( #  '%-
  -
#$ #%  )+( #
     
Vínculo de múltiples
conexiones DHĆ485
 - 
,!
Preface
Manual de referencia del juego de instrucciones
12–28
Módem
$ $
%
   
  ! 
  
   $  
    
!  
    
  ! 
  
Half-duplex DF1 con
encaminamiento de
esclavo a esclavo
#
Cómo comprender los protocolos de comunicación
12–29
+!
+!
,
 $%#'## #
#'%# *  +
#'*%  #'%#
%' ('#
 $%#'## # 
!'%#
Half-duplex DF1 con
DHĆ485 de punto a punto

     
#'%# #% !#( %
 $%##%
 
#'%# #% !#( % 
$%##%   #
!+( #  '%
 ,  )#
#'%# #%  
#!$'#  
  
+( #  '%
 ,
Manual de referencia del juego de instrucciones
12–30
Consideraciones cuando comunica como esclavo DF1 en un vínculo de
múltiples conexiones
Cuando hay comunicación entre su software de programación y un procesador SLC
5/03 ó entre dos procesadores SLC 5/03 vía una conexión de esclavo a esclavo en un
vínculo de múltiples conexiones, los dispositivos dependen de un maestro DF1 para
que les dé a cada uno permiso de transmitir oportunamente. A medida que el
número de esclavos vaya incrementando en el vínculo (hasta 255) el tiempo entre
las encuestas de su software de programación o el procesador SLC 5/03 también
incrementa. Este incremento de tiempo puede aumentar si usa velocidades en
baudios bajas.
A medida que estos períodos de tiempo aumentan, puede ser necesario cambiar los
valores siguientes para evitar la pérdida de comunicación:
• software de programación – valores de límite de tiempo de encuesta
sobrepasado y límite de tiempo de respuesta sobrepasado
• procesador SLC 5/03 – valores de límite de tiempo de encuesta sobrepasado y
límite de tiempo sobrepasado de propietario de recurso/archivo de edición
Si usa instrucciones MSG entre los procesadores SLC 5/03, también es posible que
el valor de límite de tiempo sobrepasado MSG en el bloque de control tenga que ser
cambiado para comunicación de esclavo a esclavo fiable en la red de múltiples
conexiones.
Cómo comprender los protocolos de comunicación
12–31
Cómo usar módems que tienen capacidad para
protocolos de comunicación DF1
Los tipos de módems que puede usar con el procesador SLC 5/03 incluyen módems
de línea telefónica, módems de marcado DTR, controladores de línea, módems de
radio y módems de vínculo por satélite.
Módems de línea telefónica
Lo siguiente explica cómo usar los módems de línea telefónica con protocolos de
comunicación DF1.
Nota Los módems de línea telefónica tienen capacidad para la comunicación
bidireccional simultánea requerida para el full–duplex DF1. Para la operación
correcta con módems de full–duplex DF1, siempre seleccione la comunicación de
módem de full–duplex. Para la operación correcta con el esclavo DF1, seleccione
“módem de half–duplex con portadora continua” a menos que no desee cortar la
comunicación automáticamente su usa líneas arrendadas. En tal caso, puede usar
el “módem de half–duplex sin portadora continua”.
Módems manuales
Estos son típicamente módems acoplados acústicamente. La conexión está
establecida por una persona en cada extremo de la línea telefónica. Estas personas
insertan los auriculares en un acoplador acústico para finalizar la conexión.
Módems de contestación automática
Estos módems no atendidos se conectan directamente a las líneas telefónicas. Según
la versatilidad del módem, es posible que usted pueda programarlo bajo varias
condiciones. Sin embargo, el módem típicamente debe afirmar DSR para indicar
que está conectado al DTE y usted debe programarlo para que conteste solamente si
detecta DTR. Una vez que el módem contesta una llamada y establece una señal de
portadora con el módem remoto, es posible que active la señal DCD.
Manual de referencia del juego de instrucciones
12–32
Módems de desconexión automática
Típicamente, los módems que tienen capacidad para la contestación automática de
datos también tienen capacidad para la desconexión automática donde el DTE puede
forzar que el módem corte la conexión dejando caer el DTR por un momento.
Estos módems generalment se cuelgan por sí mismos si se pierde el vínculo de
portadora con un módem de distancia. Sin embargo, si un módem determinado no
se cuelga, el procesador SLC 5/03, si está configurado correctamente, forzará la
desconexión interrumpiendo el DTR si DCD se interrumpe (es decir, el vínculo de
portadora del módem se pierde) durante más de 10 segundos. Cuando use el
full–duplex DF1, seleccione la comunicación de “módem de full–duplex”. Cuando
use el half–duplex DF1, seleccione la comunicación de “módem de half–duplex con
portadora continua” para habilitar esta operación.
Módems de discado automático
Los procesadores SLC 5/03 y SLC 5/04 tienen capacidad para la operación de discado
automático normal. El discado automático más común se encuentra en el uso de los
módems Hayes y los módems compatibles con Hayes que aceptan cadenas en serie
especiales para su DTE local, que son parte del conjunto de comandos Hayes. Estas
cadenas también se pueden usar para iniciar el discado a un número telefónico
especificado además de programar otros parámetros operacionales. Use la instrucción
de escritura ASCII para iniciar un marcado automático de cadena de módem. El bit de
archivo de estado S:5/14 permite que su programa detecte una conexión. Refiérase a su
manual de usuario de software de programación para obtener más información acerca
de las instrucciones y bits de archivo de estado.
Módems con líneas arrendadas
También conocidos como conexiones de línea privada, estos vínculos de
comunicación usan una línea de teléfono dedicada arrendada de la compañía
telefónica. Pueden ser vínculos de punto a punto o maestro a esclavos múltiples (es
decir, multicaídas).
Módems con discado DTR
Estos módems inician el discado de un número previamente programado cuando
DTR efectúa una transición de activado a desactivado. Para programar la cadena de
inicialización y el número telefónico de módem en la memoria interna del módem,
use una terminal ficticia (o PC con software de emulación de terminal tal como
Procomm, Window’s Terminal o PBASE). A continuación aparece un ejemplo de
cómo programar un módem de discado DTR usando su software de programación.
Cómo comprender los protocolos de comunicación
12–33
Para programar un Multimodem V32 de Multi–Tech Systems, Inc., haga lo siguiente:
1. Establezca los valores en la memoria del módem a los valores predeterminados.
Introduzca la cadena siguiente:
ATW1Z
   
 
 
 (.
 
'(  #' * #'   !!#  !.!  #' * #'
$(!#'
2. Para inicializar el módem, introduzca la cadena siguiente:
ATD4140000000TN0$BA0$SB1200$MB1200$D1W0
      
   
 
 (.
À  
! /!#' ( .#'  !!# (## #
( .# 
  )'(  )# '(*#
  '(   $)(#  '   )
  '(   $)(#  ( -##   )
  (  '# 

!  !## $!( '(#' #!#' 
!!#  !.!
À !$ + ,  #  /!# ( .# %) ' '
3. Una vez que usted ha programado el módem, active la señal DTR para que
disque el número o desactive la señal DTR para terminar la llamada (colgar).
Módems controladores de línea (corto alcance)
También llamados módems de corto alcance, estos dispositivos no modulan los
datos de serie. En cambio, acondicionan la señal para operar en un medio fisico
diferente (tal como RS-485) para que las longitudes de transmisión extensas
(generalmente de algunos kilómetros) tengan capacidad. Si un variador de línea
tiene capacidad para un puerto compatible de RS232-DCE, usted probablemente
puede usarlo con el canal RS-232 de los procesadores SLC 5/03 y SLC 5/04.
Si los controladores de línea se deben usar con el full–duplex DF1, es necesario que
tengan capacidad para un circuito de full–duplex (también conocido como circuito
de 4 cables).
Manual de referencia del juego de instrucciones
12–34
Los controladores de línea con capacidad de full–duplex (circuito de 4 cables)
también son preferidos con el half–duplex DF1 porque el maestro puede tener su
propio canal dedicado para comunicarse con los esclavos.
Si un controlador de línea sólo tiene capacidad para circuitos de half–duplex
(circuito de 2 cables), el maestro así como los esclavos usan la comunicación
RTS/CTS para realizar una transmisión. Esto introduce una demora cuando el
maestro realiza una transmisión.
Típicamente, cuando configure el SLC 5/03 y SLC 5/04 para el esclavo de
half–duplex DF1, use el “módem de half–duplex sin portadora continua”.
Módems de radio
También puede usar los procesadores SLC 5/03 y SLC 5/04 con un vínculo de radio
vía módems de radio. Esto establece un vínculo de múltiples conexiones dedicado.
Los vínculos de radio frecuentemente se usan en zonas donde no existe acceso a
líneas telefónicas o donde su uso es muy costoso.
Los módems de radio se pueden comprar como unidad de radio/módem integral o
configurados usando un módem y radio comprados separadamente. Si se compra
separadamente, la radio necesita una señal de entrada para regular el transmisor. En
muchos casos, RTS se puede usar como dicha entrada.
El canal de serie SLC 5/03 y SLC 5/04, cuando está configurado para el esclavo de
half–duplex DF1, tiene un retardo ajustable entre el momento en que RTS se
enciende y cuando los datos son transmitidos. De este modo se pueden usar los
módems de radio con una amplia gama de requisitos de temporización, hasta los
tipos que no proporcionan una señal CTS verdadera al DTE conectado a sí mismos.
El módem de radio que usted escoge para crear un interface con un módulo de
comunicación RS-232 de Allen-Bradley usando el protocolo de half–duplex debe
poseer las características siguientes. Debe:
• tener capacidad para la comunicación RS-232 estándar descrita anteriormente y
en el manual de módulo de comunicación RS-232 de Allen-Bradley
• tener capacidad para la velocidad de transmisión a que opera su módulo de
comunicación RS-232 de Allen-Bradley
• poder operar en un vínculo de radio de múltiples conexiones de half–duplex
• poder crear un interface con un dispositivo de comunicación asíncrono
• poder funcionar en un modo “transparente”, que permita que los datos pasen
sobre el vínculo sin ser modificados.
Cómo comprender los protocolos de comunicación
12–35
Para optimizar el rendimiento, seleccione un módem que tenga un retardo RTS-CTS
mínimo. Este retardo de tiempo es determinado generalmente por el tiempo
necesario para activar el módem y estabilizar la portadora.
Módems de vínculo por satélite
El interface con estos módems es semejante a los interfaces de módems de radio.
Operación de línea de control de módem en los
procesadores SLC 5/03 y SLC 5/04
Lo siguiente explica la operación de los procesadores SLC 5/03 y SLC 5/04 cuando
configura el canal RS232 para las aplicaciones siguientes.
Full–duplex DF1
Cuando configura los procesadores SLC 5/03 y SLC 5/04 para el full–duplex DF1,
la operación de línea de control siguiente se realiza:
Comunicación no seleccionada — El DTR siempre está activo y el RTS siempre
está inactivo. Las recepciones y transmisiones toman lugar a pesar de los estados de
entradas DSR, CTS o DCD. Esta selección solamente se debe hacer cuando los
procesadores SLC 5/03 y SLC 5/04 están conectados directamente a otro dispositivo
DTE.
Módem de full–duplex seleccionado — El DTR y el RTS siempre están activos
excepto durante los períodos siguientes. Si DSR se activa, DTR y RTS se
interrumpen durante 1 a 2 segundos y luego se reactivan. El bit de módem perdido
(S:5/14) se activa inmediatamente. Mientras DSR esté inactivo, no se hace caso del
estado de DCD. No se realizan recepciones ni transmisiones.
Si DCD se desactiva mientras DSR esté activo, las recepciones no se permiten. Si
DCD permanece inactivo durante 9 a 10 segundos, DTR se establece activo hasta
que DSR se desactive. En este momento, el bit de módem perdido también se
establece. Si DSR no se desactiva, DTR se vuelve a levantar dentro de 5 a 6
segundos.
La transmisión requiere que todas las tres salidas (CTS, DCD y DSR) estén activas.
Cuando DSR y DCD están activos, el bit de módem perdido se restablece.
Manual de referencia del juego de instrucciones
12–36
Half–duplex DF1
Cuando configura los procesadores SLC 5/03 y SLC 5/04 para el half–duplex DF1,
la operación de línea de control siguiente se realiza:
Handshaking no seleccionadol DTR siempre está activo y RTS siempre está
inactivo. Las recepciones y transmisiones toman lugar a pesar de los estados de
entradas DSR, CTS o DCD. Esta selección solamente se debe hacer cuando los
procesadores SLC 5/03 y SLC 5/04 están conectados directamente a otro dispositivo
DTE.
Módem de half–duplex con portadora continua seleccionado — DTR siempre
está activo y RTS solamente está activo durante las transmisiones (y cualesquiera
retardos programados antes o después de transmisiones). El manejo de DCD y DSR
es idéntico al manejo del módem de full–duplexl. Las transmisiones requieren que
CTS y DSR estén activos.
Módem de half–duplex sin portadora continua seleccionado — Esto es idéntico
al módem de half–duplex con portadora continua excepto que la monitorización de
CDC no se realiza. DCD todavía es necesario para las recepciones pero no es
requerido para las transmisiones. Las transmisiones todavía requieren CTS y DSR.
El bit de módem perdido se establece solamente cuando DSR esté inactivo.
Cómo comprender los protocolos de comunicación
12–37
Parámetros de retardo de transmisión RTS y retardo de
desactivación RTS
Por medio de su software de programación, los parámetros de retardo de transmisión
RTS y retardo de desactivación RTS le ofrecen la flexibilidad de seleccionar el
control de módem durante transmisiones. Estos parámetros se aplican únicamente
cuando usted selecciona un módem de half–duplex con o sin portadora continua.
Para uso con módems de half–duplex que requieren tiempo suplementario para
“regular” su transmisor aun después de activar CTS, el retardo de transmisión RTS
especifica, en incrementos de milisegundo, la cantidad de tiempo de retardo después
de activar RTS que se debe esperar antes de verificar si CTS ha sido activado por el
módem. Si CTS todavía no está activo, RTS permanece activo y ocurrirá la
transmisión siempre que CTS se active antes de transcurrido un segundo. Después
de un segundo, si CTS todavía no se ha activado, RTS se establece inactivo y la
transmisión se cancela.
Para los módem que no proporcionan ninguna señal CTS, ligue RTS a CTS y use el
retardo más breve posible sin perder la operación segura.
Nota Si se selecciona un retardo de transmisión RTS de 0, la transmisión comienza
cuando CTS se activa. Si CTS no se activa en menos de 1 segundo después del
levantamiento de RTS, RTS se establece inactivo y la transmisión se cancela.
Ciertos módems interrumpen su vínculo de portadora cuando RTS se pierde, aun
cuando la transmisión todavía no se ha terminado. El parámetro de retardo de
desactivación RTS especifica, en incrementos de 20 milisegundos, el retardo entre el
momento en que el último carácter en serie se envía al módem y cuando RTS se
desactiva. Esto le proporciona al módem tiempo suplementario para transmitir el
último carácter de un paquete.
Preface
Manual de referencia del juego de instrucciones
12–38
Protocolo de comunicación ASCII
Los procesadores SLC 5/03 OS301, OS302 y SLC 5/04 OS400, OS401 tienen
capacidad para protocolo ASCII definido por el usuario configurando RS-232 (canal
0) para el modo de usuario. En el modo de usuario, todos los datos recibidos se
colocan en un búfer. Para obtener acceso a los datos, use las instrucciones ASCII en
su programa de escalera. Vea el capítulo 10 para obtener más información acerca de
las instrucciones ASCII. También puede enviar datos de cadena ASCII a la mayoría
de los dispositivos añadidos que aceptan el protocolo ASCII.
Nota Solamente las instrucciones ASCII se pueden usar cuando el modo de usuario se
configura. Si usa una instrucción de mensaje (MSG) que hace referencia a canal 0,
ocurrirá un error.
Configuración de parámetro de canal 0 ASCII
Cuando el controlador de modo de usuario es ASCII genérico para canal 0, los
parámetros siguientes se pueden cambiar:
Parámetro Descripción
Archivo diagnóstico Reservado para uso futuro.
Velocidad en
baudios
Alterna entre la velocidad de comunicación de 110, 300, 600, 1200, 2400,
4800, 9600 y 19200. El valor predeterminado es 1200.
Paridad Alterna entre Ninguna, Impar y Par. El valor predeterminado es Ninguna.
Bits de detención Alterna entre 1, 1.5 y 2. El valor predeterminado es 1.
Bits de datos Alterna entre 7 y 8. El valor predeterminado es 8.
Modo de eliminación
Alterna entre Ignorar, CRT e impresora. El valor predeterminado es
Ignorar. Este parámetro depende de la habilitación del parámetro Echo.
Echo
Alterna entre Habilitado e Inhabilitado. El valor predeterminado es
Inhabilitado.
Retardo de
desactivación RTS
Le permite seleccionar el valor de retardo de desactivación RTS en
incrementos de 20 ms. El rango válido es 0-65535 (en incrementos de
20 ms). El valor predeterminado es 0.
Retardo de
transmisión RTS
Le permite seleccionar el valor de retardo de transmisión RTS en
incrementos de 20 ms. El rango válido es 0-65535 (en incrementos de
20 ms). El valor predeterminado es 0.
Línea de control
Alterna entre Ninguna comunicación, half-duplex con portadora continua,
half-duplex sin portadora continua y Módem de full-duplex. El valor
predeterminado es Ninguna comunicación.
XON/XOFF
Alterna entre Habilitado e Inhabilitado. El valor predeterminado es
Inhabilitado.
Terminación 1
Terminación 2
Especifique FF para carácter sin terminación.
Añadir 1
Añadir 2
Especifique FF para carácter no añadido.
Cómo comprender los protocolos de comunicación
12–39
Cómo usar las características de transferencia
Hay tres tipos de transferencia disponibles en los procesadores SLC 5/03 y SLC
5/04. Su operación y bits asociados se describen a continuación.
Transferencia DH+ a DH-485 – (Todos los procesadores SLC 5/04)
Este tipo permite que el SLC 5/04 sirva como puente entre una red DH+ y una red
DH-485. Cuando el bit S:34/0 se restablece, los paquetes de comunicación que
entran en el canal 0 (configurado para DH-485), los cuales no están destinados para
el procesador SLC 5/04, vuelven a ser enviados desde del canal 1 en la red DH+.
Además, los paquetes de comunicación que entran en el canal 1 (DH+), los cuales
no están destinados para el procesador SLC 5/04, vuelven a ser enviados desde el
canal 0 en la red DH-485. Esta actividad tendrá algún efecto en el tiempo de escán
del programa de escalera del procesador SLC 5/04, pero estos efectos no son
significativos ya que solamente un paquete de transferencia es encaminado
nuevamente durante cada escán.
Transferencia DF1 a DH+ – (Procesadores SLC 5/04 OS401 y posteriores)
Este tipo le permite conectar una computadora al puerto en serie del procesador SLC
5/04 (canal 0 configurada para el full–duplex DF1) y acceder a cualquier nodo en la
red DH+ sin importar la velocidad en baudios de la red DH+. También puede
conectar un módem al puerto en serie para discar en cualquier nodo en la red DH+.
Transferencia de E/S remota (Procesadores SLC 5/03 OS302 y SLC 5/04
OS401)
Este tipo permite que el sistema SLC 5/04 sirva como puente entre la red DH+ y la
red de E/S remota compatible con el módulo de E/S remotas 1747-SN. La
transferencia se habilita cuando el bit S:34/5 se establece. Esto permite que las
computadoras personales en la red DH+ carguen y descarguen aplicaciones a
dispositivos tales como PanelView 550, PanelView 900 ó Panel View 1200 y
DataLiners en la red de E/S remotas.
Manual de referencia del juego de instrucciones
12–40
Consideraciones cuando la transferencia DF1 a DH+ se habilita
Considere la siguiente información cuando use la transferencia DF1 a DH+.
Cómo entrar en línea con un procesador SLC 5/04 usando el full–duplex DF1
Si desea entrar en línea usando el full–duplex DF1, asegúrese que la dirección
destino bajo la pantalla de configuración en línea de duplex total esté establecida al
canal 1 de la dirección de nodo DH+ del procesador SLC 5/04 destino. Si la direc-
ción destino no se ha establecido y el procesador SLC 5/04 tiene la característica de
transferencia de DF1 a DH+ habilitada, los paquetes de comando del software de
programación puede ir a un procesador diferente del procesador SLC 5/04.
Cómo transmitir un mensaje usando el full–duplex DF1 hacia un procesador SLC 5/04 con
la transferencia DF1 a DH+ habilitada
Si el procesador SLC 5/04 receptor tiene la transferencia habilitada, asegúrese que el
parámetro del nodo destino esté establecido a la dirección DH+ canal 1 del
procesador SLC 5/04.
Cómo transmitir un mensaje usando el full–duplex DF1 desde un procesador SLC 5/04 con
la transferencia DF1 a DH+ habilitada
Si usa un procesador con la transferencia DF1 a DH+ habilitada para transmitir
mensajes desde el canal 0 (configurado para el full–duplex DF1), debe asegurarse
que la dirección del nodo DH+ del procesador SLC 5/04 aparezca en la dirección
fuente DF1 bajo la pantalla de configuración de modo de sistema de canal 0. Si la
dirección no se establece correctamente, las respuestas retornando al procesador
SLC 5/04 pueden ser enviadas a otros nodos en la red DH+.
Cómo comunicar desde un procesador SLC 5/04 usando direccionamiento PLC-2
Si usa un procesador SLC 5/04 con la transferencia DF1 a DH+ habilitada y trata de
transmitir un mensaje desde el canal 0 usando las instrucciones de MENSAJE, no
use el tipo de mensaje 485 CIF. Use los tipos de mensaje 500CPU o PLC5. Si
intenta usar el tipo de mensaje 485 CIF, el procesador SLC 5/04 que transmite el
mensaje no recibirá respuestas del nodo con el que está tratando de comunicarse.
Cómo localizar y corregir fallos
13–1
13 Cómo localizar y corregir fallos
Este capítulo enumera los códigos de fallo de errores mayores, indica las causas
posibles de los fallos y recomienda la acción correctiva. Este capítulo también
explica los fallos de carga del sistema de operación para los procesadores SLC 5/03
y SLC 5/04 y los controladores MicroLogix 1000.
Cómo borrar fallos automáticamente
La sección siguiente describe las maneras diferentes para borrar un fallo
automáticamente usando su software de programación.
Procesadores SLC
• Establezca la anulación de fallo al bit de encendido S:1/8 en el archivo de
estado para borrar el fallo cuando se desconecta y se vuelve a conectar la
alimentación eléctrica siempre que el programa de usuario no esté alterado.
• Establezca uno de los bits de carga automática S:1/0, S:1/11 ó S:1/12 en el
archivo de estado del programa en un EEPROM para transferir
automáticamente un programa nuevo sin fallo desde el módulo de memoria
hacia el RAM cuando se desconecta y se vuelve a conectar la alimentación
eléctrica.
Refiérase al apéndice B en este manual para obtener más información acerca de los
bits de estado S:1/13, S:1/8, S:1/10, S:1/11, S:1/12, S:5/0–7 y S:36/0–7.
Nota Usted puede declarar su propio fallo mayor específico para la aplicación
escribiendo su propio valor único a S:6 y luego estableciendo el bit S:1/13.
Manual de referencia del juego de instrucciones
13–2
Controladores MicroLogix 1000
Puede borrar un fallo automáticamente cuando desconecta y vuelve a conectar la
alimentación eléctrica al controlador estableciendo uno o ambos de los bits de
estado siguientes en el archivo de estado:
• Anulación de fallo al bit de encendido (S:1/8)
• Bit de marcha permanente (S:1/12)
El borrar un fallo usando el bit de marcha permanente (S:1/12) causa que el
controlador entre inmediatamente en el modo de marcha REM. Asegúrese de
entender completamente el uso de este bit antes de integrarlo en su programa.
Refiérase a la página A–5 para obtener más información. También refiérase al
capítulo 3 para obtener información relativa a los datos retentivos.
Nota Usted puede declarar su propio fallo mayor específico a la aplicación escribiendo
su propio valor único a S:6 y luego estableciendo el bit S:1/13 para evitar el uso
repetido de los códigos definidos por el sistema. La gama de valores
recomendados para los fallos definidos por el usuario es FF00 a FFOF.
Cómo localizar y corregir fallos
13–3
Cómo borrar fallos manualmente (procesadores SLC)
La sección siguiente describe las maneras diferentes de borrar un fallo manualmente
cuando usa un procesador SLC.
• Borre manualmente el bit de fallo mayor S:1/13 y los bits de error menor y
mayor S:5/0–7 en el archivo de estado usando un dispositivo de programación o
un módulo de acceso de la tabla de datos. Posicione el procesador en el modo
de programa REM. Corrija la condición que causa el fallo, luego retorne el
procesador al modo de marcha REM o a uno de los módos de prueba REM.
• Específico para SLC 5/03 y SLC 5/04 – Alterne el interruptor de llave de
MARCHA a PROGrama y luego retorne a MARCHA.
Específico para SLC 5/03 y SLC 5/04 – El borrar estos bits con el interruptor de
llave en la posición MARCHA causa que el procesador entre inmediatamente
en el modo de marcha.
Si usted está en línea con un procesador SLC 5/03 ó SLC 5/04 con el
interruptor de llave en la posición de MARCHA y presiona la tecla de función
de borrado de fallo mayor, se le advierte que el procesador entrará en el modo
de marcha un vez borrado el fallo.
Cómo usar la rutina de fallo
Procesadores SLC
Al designar un archivo de subrutina, la coincidencia de fallos de usuario
recuperables o no recuperables causa que la subrutina designada se ejecute durante
un escán. Si el fallo es recuperable, la subrutina se puede usar para corregir el
problema y poner a cero el bit de fallo S:1/13. Luego el procesador continúa en el
modo de marcha. Si el fallo no es recuperable, la subrutina puede transmitir un
mensaje por medio de la instrucción de mensaje a otro nodo DH-485 con
información de código de error y/o efectúa una parada metódica del proceso.
La subrutina no se ejecuta para los fallos no atribuibles al usuario. La rutina de fallo
de usuario se trata en el capítulo 11.
Manual de referencia del juego de instrucciones
13–4
Controladores MicroLogix 1000
La ocurrencia de fallos de usuario recuperables y no recuperables causa que el
archivo 3 se ejecute. Si el fallo es recuperable, la subrutina se puede usar para
corregir el problema y poner a cero el bit de fallo S:1/13. Luego el controlador
continúa en el modo de marcha REM. La subrutina no se ejecuta para los fallos no
atribuibles al usuario.
Mensajes de fallo
Esta sección contiene mensajes de fallo que puede ocurrir durante la operación de
los controladores MicroLogix 1000 y los procesadores SLC. Cada tabla enumera la
descripción del código de error, la causa probable y la acción correctiva
recomendada.
Cómo localizar y corregir fallos
13–5
Fallos del controlador MicroLogix 1000
Los fallos de controlador se dividen en los tipos siguientes:
• errores de encendido
• errores ida a marcha
• errores de marcha
• errores de carga
Preface
Manual de referencia del juego de instrucciones
13–6
Errores de encendido
Código de
error (hex)
Mensaje de advertencia Descripción Acción recomendada
    
 
+ /1.(1, /1%31,*-%. 2
$1( - + ,,.1* %+
$.-31.+%.1 23. .$411
• + ,.,-3. % -$-%*%. 2* +
*-3114/$*=- % +*,-3$*=-
+;$31*$ .$411*= - ,%*. %
4- $1(
• 2* + /1.(1, % 4241*. 23:
+31%. + ,.,-3. %
-$-%*%. + /1.(1,
/1%31,*-%. 2 $1(
• 4+5  $1(1 + /1.(1, 8
-31 - + ,.%. % ,1$)

• .,4-042 $.- 24
1/12-3-3 +.$+ %
++-1%+8 2* + 11.1 /12*23
    + $.-31.+%.1 2 123#+$*= *-2
/1%,-3 %#*%.  4- -3.1-.
14*%.2. . 4- '++. % )1%61 *-31
-. * + /1.(1, % 4241*.
$1(%. + $.-31.+%.1 2 5:+*%. +.2
%3.2 *-*$*+2 $1(%.2 $.- + /1.
(1, 2 42- + #*3 % %3.2
13-3*5.2 /1%*%.2    2 23
#+$ * + /1.(1, % 4241*. 2
-. 5:+*%. + /1.(1, /1%31,*
-%. 2 $1(
• '*;12  +2 /432 %
$.-7*=-  3*11 $.112/.-
%*-32 - + $/34+. 
• .,4-042 $.- 24
1/12-3-3 +.$+ %
++-1%+8 2* + 11.1 /12*23
  ! 

+ /1.(1, % 4241*. 23:
+31%. 8 + /1.(1,
/1%31,*-%. 2 $1(
• 41-3 + %2$.-7*=- 8 1$.-
7*=- % + +*,-3$*=- +;$31*$
2 /.2*#+ 04 .$411*1 4- /1.
#+, % 14*%. 13 % %2$.
-$31 8 5.+51  $.-$31 +
+*,-3$*=- +;$31*$ 4 /1.(1
, /4% 21 5:+*%. /1. +.2
%3.2 13-3*5.2 21:- /1%*%.2
• .,4-042 $.- 24
1/12-3-3 +.$+ %
++-1%+8 2* + 11.1 /12*23
      

.2 1$)*5.2 % %3.2 -31%
2+*% 3,/.1*9%.1 $.-3%.1
-31. #*-1*. $.-31.+ 8 23%.
23:- +31%.2
• 2$.-$3 8 54+5 $.-$31 +
+*, +;$31*$  24 4-*%%
• 1(4 24 /1.(1, 8 54+5 
*-*$*+*91 +.2 %3.2 -$21*.2
• -$*-% + 2*23,
• .,4-042 $.- 24
1/12-3-3 +.$+ %
++-1%+8 2* + 11.1 /12*23
Cómo localizar y corregir fallos
13–7
Errores de ida a marcha
Código de
error (hex)
Mensaje de advertencia
Descripción
Acción recomendada
    
 # 
/ 62*7:%5) ()/ '21752/%(25 ,%
()7)'7%(2 81% '21(-'-A1 -19=/-(%
()1752 ()/ ,%5(:%5) 2 62*7:%5)
()6386 () *-1%/-%5 )/ 352')62 ()
)1')1(-(2 ()6386 () /26 
35-0)526 6)+81(26 () 23)5%'-A1
• )6'21)'7) ; 98)/9% '21)'7%5 /%
%/-0)17%'-A1 )/'75-'% % 68 81-(%(
• %5+8) 68 352+5%0% ; 98)/9% %
-1-'-%/-%5 /26 (%726 1)')6%5-26
• 1'-)1(% )/ 6-67)0%
• 2081?48)6) '21 68 5)35)6)1C
7%17) /2'%/ () //)1C5%(/); 6- )/
)5525 3)56-67)
    
# 
/ 62*7:%5) ()/ '21752/%(25 ,%
()7)'7%(2 81% '21(-'-A1 -19=/-(%
()1752 ()/ ,%5(:%5) (85%17) )/
352')62 () )1')1(-(2 ()1752 ()
/26  35-0)526 6)+81(26 ()
23)5%'-A1
• )6'21)'7) ; 98)/9% '21)'7%5 /%
%/-0)17%'-A1 )/'75-'% % 68
81-(%(
• %5+8) 68 352+5%0% ; 98)/9% %
-1-'-%/-%5 /26 (%726 1)')6%5-26
• 1'-)1(% )/ 6-67)0%
• 2081?48)6) '21 68
5)35)6)17%17) /2'%/ ()
//)1C5%(/); 6- )/ )5525 3)56-67)
    / 352+5%0% '%5+%(2 12 ,% 6-(2
'21*-+85%(2 3%5% 81
0-'52'21752/%(25
- ()6)% 86%5 81 0-'52'21752/%(25
'21 )/ 352+5%0% 98)/9% %
'21*-+85%5 68 '21752/%(25 '21 
2  6)/)''-21) 2/  
   !   
  #
  
/ 6-67)0% 6) ,% )1')1(-(2 )1 )/
02(2 () 0%5',%  / -7
 )67= )67%/)'-(2 ; /% 587-1%
() *%//2 () 868%5-2 6) ).)'87%
%17)6 () '20)1%5 )/ 35-0)5 )6'=1
()/ 352+5%0%
• )67%/)'% )/ -7  6- )6
'2,)5)17) '21 /26 5)48-6-726 ()
68 %3/-'%'-A1 ; 5)7251) )/ 02(2
% 0%5',%  2
• 321+% % ')52   )/ -7 ()
*%//2 0%;25
 !  
  # 
  $ 
!1 352+5%0% 12 '203%7-/) 6)
'%5+A / 352+5%0% 12 7-)1) )/
1B0)52 '255)'72 () %5',-926 2 12
7-)1) /26 %5',-926 () (%726 ()
7%0%@2 '255)'72 / 352+5%0%
35)()7)50-1%(2 6) '%5+%
• )5-*-48) /% '21*-+85%'-A1 ;
%6)+B5)6) 48) )/ 352')6%(25
'255)'72 ,%;% 6-(2
6)/)''-21%(2
• - ()6)% 86%5 81 0-'52C
'21752/%(25 '21 )/ 352+5%0%
98)/9% % '21*-+85%5 68
'21752/%(25 '21  2 
6)/)''-21) 2/
Preface
Manual de referencia del juego de instrucciones
13–8
Errores de marcha
Código de
error (hex)
Mensaje de advertencia
Descripción
Acción recomendada
0004 RUNTIME MEMORY
INTEGRITY ERROR
Mientras que el controlador estaba en
el modo de MARCHA o cualquier
modo de prueba, el ROM o RAM se
alteró. Si el programa de usuario es
válido, el programa y los datos iniciaĆ
les cargados al controlador se usan y el
bit de datos retentivos perdidos (S:5/8)
se establece. Si el programa de
usuario es válido, error 0003 ocurre.
• Desconecte y vuelva a conectar
la alimentación eléctrica a su
unidad.
• Cargue su programa y vuelva a
inicializar los datos necesarios.
• Encienda el sistema.
• Comníquese con su
representante local de
AllenĆBradley si el error persiste.
0020 MINOR ERROR AT END OF
SCAN, SEE S:5
Un bit de fallo menor (bits 0-7) en
S:5 se estableció al final de escán.
Entre en la pantalla de archivo de
estado, borre el fallo y retorne al
modo de marcha REM.
0022 WATCHDOG TIMER
EXPIRED, SEE S:3
El tiempo de escán de programa
excedió el valor del límite de
tiempo sobrepasado del
temporizador de control
(watchdog) (S:3H).
• Revise si el programa se ha
atrapado en un lazo y corrija el
problema.
• Incremente el valor del límite de
tiempo sobrepasado del tempoĆ
rizador de control (watchdog) en
el archivo de estado.
0024 INVALID STI INTERRUPT
SETPOINT, SEE S:30
Un intervalo STI inválido existe (no
entre 0 y 255).
Establezca el intervalo STI entre
los valores de 0 y 255.
0025 TOO MANY JSRs IN STI
SUBROUTINE
Hay más de 3 subrutinas anidadas
en la subrutina STI (archivo 5).
Corrija el programa de usuario para
cumplir con los requisitos y
restricciones de la instrucción JSR, y
luego vuelva a cargar el programa y
entre en el modo de marcha REM.
0027 TOO MANY JSRs IN FAULT
SUBROUTINE
Hay más de 3 subrutinas anidadas
en la rutina de fallo (archivo 3).
Corrija el programa de usuario para
cumplir con los requisitos y
restricciones de la instrucción JSR, y
luego vuelva a cargar el programa y
entre en el modo de marcha REM.
002A INDEXED ADDRESS TOO
LARGE FOR FILE
El programa hace referencia a un
elemento más allá de un límite de
archivo a través del direccionaĆ
miento indexado.
Corrija el programa de usuario
para que no exceda los límites de
archivo.
002B TOO MANY JSRs IN HSC Hay más de 3 subrutinas anidadas
en la rutina del contador de alta
velocidad (archivo 4).
Corrija el programa de usuario para
cumplir con los requisitos y
restricciones de la instrucción JSR, y
luego vuelva a cargar el programa y
entre en el modo de marcha REM.
0030 SUBROUTINE NESTING
EXCEEDS LIMIT OF 8
Hay más de 8 subrutinas anidadas
en el archivo de programa principal
(archivo 2).
Corrija el programa de usuario para
cumplir con los requisitos y restricĆ
ciones para el archivo de programa
principal, y luego vuelva a cargar el
programa y entre en el modo de
marcha REM.
Cómo localizar y corregir fallos
13–9
Código de
error (hex)
Acción recomendada
Descripción
Mensaje de advertencia
0031 UNSUPPORTED
INSTRUCTION DETECTED
El programa contiene una
instrucción(es) que no es
compatible con el
microcontrolador. Por ejemplo,
MSG, SVC o PID.
Modifique el programa para que
todas las instrucciones sean
respaldadas por el controlador, y
luego vuelva a cargar el programa
y entre en el modo de marcha
REM.
0032 SQO/SQC CROSSED DATA
FILE BOUNDARIES
Un parámetro de longitud/posición
de instrucción del secuenciador
indica un punto más allá del final
de un archivo de datos.
Corrija el programa para asegurar
que los parámetros de longitud y
posición no indiquen un punto más
allá del archivo de datos. Vuelva a
cargar el programa y entre en el
modo de marcha REM.
0033 BSL/BSR/FFL/FFU/LFL/LFU
CROSSED DATA FILE
BOUNDARIES
El parámetro de longitud de una
instrucción BSL, BSR, FFL, FFU,
LFL o LFU indica un punto más
allá del final de un archivo de
datos.
Corrija el programa para asegurar
que el parámetro de longitud no
indique un punto más allá del
archivo de datos. Vuelva a cargar
el programa y entre en el modo de
marcha REM.
0034 NEGATIVE VALUE IN TIMER
PRESET OR ACCUMULATOR
Un valor negativo se cargó a un
valor preseleccionado de
temporizador o acumulador.
Si el programa transfiere valores a
la palabra acumulada o
preseleccionada de un
temporizador, asegúrese que estos
valores no sean negativos. Corrija
el programa, vuelva a cargar y
entre en el modo de marcha REM.
0035 ILLEGAL INSTRUCTION
(TND) IN INTERRUPT FILE
El programa contiene una
instrucción de fin temporal (TND)
en archivo 3, 4 ó 5 cuando se usa
como subrutina de interrupción.
Corrija el programa, vuelva a
cargar y entre en el modo de
marcha REM.
0037 INVALID PRESETS LOADED
TO HIGH-SPEED COUNTER
Un cero (0) o un valor preseleccioĆ
nado alto negativo se cargó en el
contador (C5:0) cuando el HSC
era un contador progresivo o el
valor preseleccionado alto era más
bajo o igual que el valor preselecĆ
cionado bajo cuando el HSC era
un contador bidireccional.
• Verifique que los valores
preseleccionados sean válidos.
• Corrija el programa, vuelva a
cargar y entre en el modo de
marcha REM.
0038 SUBROUTINE RETURN
INSTRUCTION (RET) IN
PROGRAM FILE 2
Una instrucción RET se encuentra
en el archivo de programa principal
(archivo 2).
Elimine la instrucción RET, vuelva
a cargar el programa y entre en el
modo de marcha REM.
Preface
Manual de referencia del juego de instrucciones
13–10
Código de
error (hex)
Mensaje de advertencia
Descripción
Acción recomendada
0040 OUTPUT VERIFY WRITE
FAILURE
Cuando las salidas fueron escritas
y leídas por el controlador, la
lectura falló. Es posible que fuera
causado por ruido.
• Refiérase a las pautas de
conexión a tierra corresponĆ
dientes en el capítulo 1.
• Encienda el sistema.
• Comuníquese con su
representante local de
AllenĆBradley si el error persiste.
0041 EXTRA OUTPUT BIT(S)
TURNED ON
Un bit de salida adicional se
estableció cuando se restableció el
bit de selección de bit adicional
(S:0/8) en el archivo de estado.
Para los controladores de 16
puntos, esto incluye los bits 6-15.
Para los controladores de 32
puntos, esto incluye los bits 12-15.
• Establezca S:0/8 o cambie su
aplicación para  que estos
bits se activen.
• Corrija el programa, vuelva a
cargar y entre en el modo de
marcha REM.
Error de carga
Código de
error (hex)
Mensaje de advertencia
Descripción
Acción recomendada
0018 USER PROGRAM IS
INCOMPATIBLE WITH
OPERATING SYSTEM
Un programa no compatible se
cargó. El programa no tiene el
número correcto de archivos o no
tiene los archivos de datos de
tamaño correcto. El programa
predeterminado se carga.
• Verifique la configuración y
asegúrese que el procesador
correcto haya sido
seleccionado.
• Si desea usar un microcontroĆ
lador con el programa, vuelva a
configurar su controlador con
MPS o APS (seleccione Bol.
1761).
Cómo localizar y corregir fallos
13–11
Fallos del procesador SLC
Los fallos del procesador se dividen en los tipos siguientes:
• errores de encendido
• errores de ida a marcha
• errores de marcha
• errores de instrucción del programa de usuario
Errores de encendido
Código de
error (hex)
Descripción Causa probable Acción recomendada
0001     • 
• '
• %* !  !
• !   * 
! *   
  !# 
• !  !*
(!  !
• (  !) 
  %
   ## 
    !
    !) ! 
 !'!   *
   ##  
!'!!   
!     
0002 )!  !  
   !
$!  $
• 
• '
• %* !  !
• !   * 
! *   
 !# 
• !  !*
(!  !
   ## 
    !
    !) ! 
 !'!   *
   ##  
!'!!   
!     
0003     * 
  !  !(
    ! 
     
 *    !'
!
#    * 
      !
  * 

0007  !  !  
*  
 *    !'
!
#    * 
      !
  *
Preface
Manual de referencia del juego de instrucciones
13–12
Código de
error (hex)
Descripción Causa probable Acción recomendada
0008 ## #  $ %(# %#   ## # $!#  $ %(#
##/  
•  
• #,! 
•  )/  %##  ##%
• %  $!#$/ 
$ #%$/   $  
#$ %'$
• %  %/
$%
##  !#  '' 
##  !# # * %
 $#  #%#.$% 
# % ,%    /
  # !# ' '#  ##
% ,%%  !# # *
%#      #
  !#  ''  ###
 .$   $
#!#$%%  
0009 ## #  #(# %#   ## # $!#  #(#
##/  
•  
• #,! 
•  )/  ##%  %##
• %  $!#$/ 
$ #%$/   $  
#$ %'$
• %  %/
-%# $%
##  !#  '' 
##  !# # * %
 $#  #%#.$% 
# % ,%    /
  # !# ' '#  ##
% ,%%  !# # *
%#      #
  !#  ''  ###
 .$   $
#!#$%%  
Errores de ida a marcha
Código de
error (hex)
Descripción Causa probable Acción recomendada
0010  !# $ #  !   
'  #'$/ ## 
 '  #'$/  !# $ #
 $  !%    ' 
#'$/ !#    !# #
 $##  
.$   $ #!#$1
%%     !# ##
   %+/ !# $
!# $ #
0011  #'  !# #
% 0#  $%,
$%
$%, !#$%  !# # 
 !% %# 
'  ##  !# #
''  !# ##   $ %(#
 !# #/  !# 
! #  
0012  !# #  $# % 
## #   #
•  
• #,! 
•  )/  ##%  %##
• %  $!#$/  $ #1
%$/  $ $$  
#$ %'$
• %  %/
$%
##  !#  '' 
##  !# # * % 
 ## # !#$$% $0#$ 
$#  $ %(  !# #/
 !#  ! #  !#
$## # * ##  !# #
0013 •  /   #
## $%, $%
•  /   $%,
$% $0  ##
! #  !# #
•   $% $ %$  $%
$%, $%   !# #
!#  /   #
## $%, $%
•  %  $%  /
  $%, $% 
 !# #   
/   # $
$%   !# # 
  #  !# $ #
• $%  /   #
  !# $ #
• #  !# # $ 
!# $ #   / 
 #
Cómo localizar y corregir fallos
13–13
Código de
error (hex)
Descripción Causa probable Acción recomendada
0014 )))  ) !- !%+)% • ,!
• )#2$'
• %/!6% !%))+  +!))
• #+  *,')*!6%  *)8
+%*!6% % #* *#!* %
)* !%,+!-* 
• ,%+  #!$ #3 !%*,!!%+
))! # ')#$ -,#- 
)) # '))$ 0 ,+ !
# ))) ')*!*+ *7)* 
,*) # *+.)  '))$!6%
 ') ')  ')
*))##) 0 )) # '))$
0015 )))  ) !- 
%!,)!6%
• ,!
• )#2$'
• %/!6% !%))+  +!))
• #+  *,')*!6%  *)8
+%*!6% % #* *#!* %
)* !%,+!-* 
• ,%+  #!$ #3 !%*,!!%+
))! # ')#$ -,#- 
)) # '))$ 0 ,+ !
# ))) ')*!*+ *7)* 
,*) # *+.)  '))$!6%
 ') ')  ')
*))##) 0 )) # '))$
0016 )+!6%  %%!
*',3*  # '3)! 
#!$%+!6% #3+)! /!*+
,% %!!6%  ))) ,)%+ #
%%! ,% # !+   *
*+# 0 ,)) ,% !%+)),'8
!6% # *,$!%!*+) #3+)!
,)%+ # *+ % $) 
# !+  *+    *!
*+#! ') # '))$ 
,*,)! !3)* # '4+,# 
') +%) +##* ) 
# ')!6% # !+  *+
  
• *+#1 # !+   *! *
*  )%+ % #*
)(,!*!+*  '#!!6% 0
)+)% # $  $)  
• '%  )   # !+ 
## $0) %+*  (, *
#% # !%# # ')!$)
*2%  '))$
0017 *!,# # '))$ 
,*,)! # $6,#
 $$)! 
# !+   * *+#! 0 #
'))$  ,*,)! # $6,#
 $$)! % ))*'% #
'))$  ,*,)!  
)%*!) # '))$ 
$6,#  $$)!    0
$! # $  $) 
0018 ))$  ,*,)! % $'8
+!# *!,# # +!' 
*!*+$  ')!6% *+ )))
+$!3% ', ')) ,)%+
# %%!
# '))$  ,*,)! *
$*! -%1 0 % *
', ,+) % # *!*+$ 
')!6% +,#
$%4(,* % *, )')*%+%+
 ') +%) !%)$!6% )8
  *!*+$*  ')!6% !*8
'%!#* ') # ')*) 
0019 % %7$)  +!(,+ ,'#!
* ++6
% !%*+),!6%  +!(,+
,'#!  #+%+ * %%+)6
% ,% *,),+!%
• ,!+ # +!(,+ ,'#! 
• 5 ,% +!(,+
Errores de marcha
Código de
error (hex)
Descripción Causa probable Acción recomendada
001F % ')#$  !%+)! #
'))$ ,))!6 ,)%+ ,%
**!6%  !!6% % #4%
% ),! '3)!  $,%!!6%
 *%/!6% 0 )%/!6% 
#!$ #3 ,))!6 ,)%+ ,%
**!6%  !!6% % #4%
,#-  )) # '))$ 0
-,#-  !%+),!) #* $!*
0004 % )))  $$)! ,))!6
,)%+ # $  $) 
• ,!
• )#2$'
• %/!6%  +!))
• #+  *,')*!6%  *)8
+%*!6% % #* *#!* %
)* !%,+!-* 
• ,%+  #!$ #3 !%*,!!%+
))! # ')#$ -,#- 
)) # '))$ 0 ,+
, ,*) # )+)4*+! 
) ,+$2+! % ,% $6,#
 $$)! ') -#-)  ))
# '))$ ,+$2+!$%+ 0
%+)) % # $  $)
Preface
Manual de referencia del juego de instrucciones
13–14
Código de
error (hex)
Descripción Causa probable Acción recomendada
0020 Un bit de error menor se
establece al final del escán.
Refiérase a los bits de error
menor S:5 (byte inferior
solamente).
• Un overflow de instrucción
matemática o FRD ha ocurrido,
• un error de instrucción de
registro de desplazamiento o
secuenciador se detectó,
• un error mayor se detectó
durante la ejecución de una
rutina de fallo de usuario, o
• las direcciones de archivo
M0-M1 fueron indicadas en el
programa de usuario para una
ranura inhabilitada.
Corrija el problema de
programación, vuelva a cargar el
programa y entre en el modo de
marcha. Vea también los bits de
error menor S:5 en el apéndice B.
0021 Un fallo de alim. eléc. remota de
un chasis de E/S de expansión
ha ocurrido.
Nota: Un sistema modular que
encuentra una condición de
sobretensión o sobreintensidad
en cualquiera de sus fuentes de
alim. eléc. puede provocar
cualquiera de los códigos de
error de E/S indicados en las
páginas 13-18 a 13-21 (en vez
de código 0021). La condición
de sobretensión o sobreintensiĆ
dad se indica por un LED de
fuente de alim. eléc. apagado.
Procesadores fijos y FRN 1
a 4 SLC 5/01 - si el fallo de
alim. eléc. remota ocurrió
mientras que el procesaĆ
dor estaba en el modo de
marcha REM, error 0021
causará que el bit de error
mayor detenido (S:1/13) se
ponga a cero durante el
próximo encendido del
chasis local.
Procesador SLC 5/02 y
procesadores FRN 5 SLC
5/01 - no es necesario
desconectar y volver a
conectar la alim. eléc. para
reanudar el modo de
marcha REM. Una vez que
el chasis está reconectado
a la alim. eléc., el CPU
vuelve a iniciar el sistema.
!
Procesadores compactos y FRN1
A 4 SLC 5/01: la alimentación
eléctrica se interrumpió o la
alimentación eléctrica se redujo
momentáneamente bajo los
valores especificados para un
chasis de expansión.
Procesadores SLC 5/02 y
procesadores FRN 5 SLC 5/01:
Este código de error está
presente solamente mientras la
alimentación eléctrica no se
aplica a un chasis de expansión.
Este es el único código que se
pone a cero automáticamente. El
fallo se borrará cuando la
alimentación eléctrica se vuelva a
aplicar al chasis de expansión.
Procesadores fijos y FRN 1 a 4
SLC 5/01: Desconecte y vuelva
a conectar la alimentación
eléctrica al chasis local.
Procesadores SLC 5/02 y
procesadores FRN 5 SLC 5/01:
Vuelva a aplicar la alimentación
eléctrica al chasis de expansión.
Cómo localizar y corregir fallos
13–15
Código de
error (hex)
Descripción Causa probable Acción recomendada
0022 # +!$'  *3%  %+)#
.+   ,*,)!  *!
/!
• # +!$'  %+)#
.+  * *+#!5
$*!  ') #
'))$  ,*,)! 
• # '))$  ,*,)! *
+)'5 % ,% #1
• %)$%+ # #4$!+  +!$'
*)'* # %+)#
.+  % # ) !- 
*+   
• ))! # ')#$ #
'))$  ,*,)!
0023 ) !-  !%+)),'!5% 
!%-3#!  % /!*+%+
• % %6$)  ) !- 
!%+)),'!5%  , *!%
% # ) !- *+ ') #
) !-  *,),+!% % ,
) 
• # %6$)  ) !- 
!%+)),'!5%  *!% )
  5 
• % !#!+ # ',%+  ,*+ 
!%+)),'!5%    0 # %
 ) !-   % # ) !-
 *+ 
• ) ,% ) !-  *,),+!% 
!%+)),'!5%  ') # % 
) !- *!% % # ) !-
 *+   # % 
) !- %  *)   5 
0024 %+)-#  !%+)),'!5% 
!%-3#! $0) (,  $* 
%+!-
# ',%+  ,*+  *
%,%+) ,)  #* #4$!+*
$0) (,  $*  %+!-
• % !#!+ # ',%+  ,*+ 
!%+)),'!5%    0 # %
 ) !-   % # ) !-
 *+ 
• ) ,% ),+!%  !%+)),'!5%
 ') # %  ) !-
!%! % # ) !- 
*+   # % 
) !- %  *)   5 
0025 /*  '),%! 
'!###$*  ') # ),+!%

% !%*+),!5%  *+3
##$% ,% %6$)  ) !-
*!%  ,% ),+!% 
))! # '))$  ,*,)!
') ,$'#!) % #* )(,!*!+* 0
)*+)!!%* ') # !%*+),!5%
 0 #, -,#-  )) #
'))$ 0 ,+
0026 /*  '),%! 
'!###$*  ') ,%
),+!%  !%+)),'!5%  
% !%*+),!5%  *+3
##$% ,% %6$)  ) !-
*!%  ,% ),+!% 
!%+)),'!5%  
))! # '))$  ,*,)!
') ,$'#!) % #* )(,!*!+* 0
)*+)!!%* ') # !%*+),!5%
 0 #, -,#-  )) #
'))$ 0 ,+
0027 /*  '),%! 
'!###$*  ') ,%
),+!%  ##  ,*,)!
% !%*+),!5%  *+3
##$% ,% %6$)  ) !-
*!%  ,% ),+!%  ## 
,*,)!
))! # '))$  ,*,)!
') ,$'#!) % #* )(,!*!+* 0
)*+)!!%* ') # !%*+),!5%
 0 #, -,#-  )) #
'))$ 0 ,+
0028 #)  ) !-  ),+!%  ##
 2')+!5%  %%! %
-3#!  % /!*+%+
• % %6$)  ) !- 
),+!%  ## * )5 % #
) !-  *+ ') #
) !-  ),+!%  ## %
, ) 4*!$%+ 
• # %6$)  ) !- )
)   5 
• % !#!+ # %6$)  ) !-
 ),+!%  ##   % #
) !-  *+ 
• ) ,% ),+!%  ## ') #
%6$)  ) !- !%! %
# ) !-  *+   #
%  ) !- %  *) 
 5
Preface
Manual de referencia del juego de instrucciones
13–16
Código de
error (hex)
Descripción Causa probable Acción recomendada
0029  **  $ *5
/ +,2 -*  ,'' $
+('  *!.'  ,'+
* '    $ 6$,%'
*!.'
!
El procesador SLC 5/02
usa un valor de índice de
cero para la instrucción
con fallo siguiente a la
recuperación de error.
$ (*' *% +,2 !'
**+  - $%,'
,*.3+ $ *'%,'
/' $ -$ + -,*
-*  $'+ $4%,+ (*%,'+
'+ $4%,+ +'    $ 6$,%'
$%,' $ 6$,%' *!.' 
,'+ *' ('* $ -+-*'
'**# 0 .-$.  * * $
(*' *%  -+-*' +,
(*'$% ' (- +* '** '
+*'  $ ($* 
* +,*'  4  
002A  **  *5
/ +,2 -* $ *!.'
 ,'+ ' +(4'
$ (*' *% +,2 !'
**+  - $%,' 
,*.3+ $ *'%,'
/' $ -$ + -,*
-* $ $4%,  *!.'
'**# $ (*' *%  -+-*'
+  %2+ +('  ,'+
-+' $ %(  %%'* '
.-$.  -** $ (*' *%
(*%,' $ *-1'  $4%,+
 *!.' -$.  * * $
(*' *%  -+-*' +,
(*'$% ' (- +* '** '
+*'  $ ($* 
* +,*'  4  
002B /+, - 6%*'  *!.' '
.2$' (* - *5
*,
$ 6%*'  *!.' /+, (*'
' + $ ,('  *!.' '**,'
' $ 6%*'  *!.' ' /+,
*)- $ ,('  *!.' ' *
$ 6%*'  *!.'
002C $ $%,'  *5
*,' ' +,2 -* 
$'+ $4%,+ $ *!.'  ,'+
$ $%,' *,%,
' ' /+, (*' $ ,(' 
*!.' + '**,' 0 /+,
* $ $%,' *,%,
'
002D /+, - +-$%,' 
*5 *,' ' '
.2$'
 ! **  -
+-$%,' '**,%, '
- ** *, ! +'
,-  - *!.' 
'**# $+ **+ 0 *,,
002E -*  ,*  ' .2$  *-*  +,2 .4 '
- ,*#,   ' +*,
+,2 (*+,
% $ *-*  ,* 
- ,*#,   +*,
002F *!.'  ,**-(5  '
.2$' ' ' /+,,
•  6%*'  *!.' 
,**-(5  - + '
$ *!.'  +,' (*' $
*!.'  +-*-, ' -
*' '
• $ 6%*'  *!.' 
,**-(5  + ' *
  5 
!$, $ -5 
+*' - *'  +,
-5 ' % $ .$'*  -
*!.'  +$* .2$'
Cómo localizar y corregir fallos
13–17
Errores de instrucción de programa de usuario
Código de
error (hex)
Descripción Causa probable Acción recomendada
0030 Se intentó saltar un archivo de
subrutina anidado en exceso.
Este código también puede
significar que un problema tiene
posibles rutinas recursivas.
• Más que el máximo de 4 (8 si
usa un procesador 5/02 ó
5/03) niveles de subrutinas
anidadas es llamado en el
programa de usuario, o
• la(s) subrutina(s) llama(n)
subrutina(s) de un nivel
anterior.
Corrija el programa de usuario
para cumplir con los requisitos y
restricciones para la instrucción
JSR y luego vuelva a cargar el
programa y ejecute.
0031 Se detectó una referencia de
instrucción no compatible.
El tipo o nivel de serie del
procesador no tiene capacidad
para un instrucción que reside en
el programa de usuario, o usted
ha programado una constante
como el primer operando de una
instrucción de comparación.
• Reemplace el procesador con
uno que tenga capacidad para
el programa de usuario, o
• modifique el programa de
usuario para que todas las
instrucciones sean respaldaĆ
das por el procesador, y luego
vuelva a programar y ejecute.
0032 Un parámetro de longitud/
posición de instrucción de
secuenciador indica más allá del
final de un archivo de datos.
El programa está haciendo
referencia a un elemento fuera
del límite de archivo establecido
por la instrucción de
secuenciador.
Corrija el programa de usuario o
asigne más espacio de archivo
de datos usando el mapa de
memoria, y luego vuelva a cargar
y ejecute.
0033 El parámetro de longitud de una
instrucción LFU, LFL, FFU, FFL,
BSL o BSR indica más allá del
final de un archivo de datos.
El programa está haciendo
referencia a un elemento fuera
del límite de archivo establecido
por la instrucción.
Corrija el programa de usuario o
asigne más espacio de archivo
de datos usando el mapa de
memoria, y luego vuelva a cargar
y ejecute.
0034 Un valor negativo para un
acumulador de temporizador o
valor preseleccionado fue
detectado.
Procesadores fijos con entrada
de 24 VCC solamente: un HSC
preseleccionado negativo o de
cero se detectó en una
instrucción HSC.
El valor acumulador o preselecĆ
cionado de un temporizador en el
programa de usuario se detectó
como negativo.
Si el programa de usuario
transfiere valores a la palabra
acumulada o preseleccionada de
un temporizador, asegúrese que
estos valores no puedan ser
negativos. Corrija el programa
de usuario, vuelva a cargar y
ejecute.
0034
(relacionado con
la instrucción
fija 5/01 HSC)
Un HSC preseleccionado
negativo o de cero se detectó en
una instrucción HSC.
El valor preseleccionado para la
instrucción HSC está fuera del
rango válido. El rango válido es
1-32767.
Si el programa de usuario
transfiere valores a la palabra
acumulada o preseleccionada de
un temporizador, asegúrese que
estos valores no puedan ser
negativos. Corrija el programa
de usuario, vuelva a cargar y
ejecute.
0035 La instrucción TND, SV o REF se
llama dentro de una rutina de
interrupción o fallo de usuario.
Una instrucción TND, SVC o REF
se usa en una rutina de
interrupción o fallo de usuario.
Esto es ilegal.
Corrija el programa de usuario,
vuelva a cargar y ejecute.
Preface
Manual de referencia del juego de instrucciones
13–18
Código de
error (hex)
Descripción Causa probable Acción recomendada
0036 ! )% ! )+  ( #% (!
#%+ '%  !'%(-!  
! )% ! )+  %- !
(! !'%(-!  #% 
#%%   ((%  #% 
((% ),  (!-!  !'%
 ' #% ' !'%(-!
 -   '%' ! 
#,'(   ' !(
0038 ! !'%(-!    ''-
! (! %) $( !  (!
(%('!
! !'%(-!   % ! 
#%%  #%!#
%%  #%%   ((%
)()  %% * ('
xx3A (%%- (! !'!'  %% 
(! %)  ' #%'
 !'!'- %%  (!
%-! !%' ( ! (!
%) $( '! #%'-! 
%)  ' !'!'
 !  #%'-! * %!'!'
 (!-!
1f39 ! !'(  ! ! )+
 ''- ! (! %) 
!
 #% % #%   '
 ! !'! (! )%
!')  %  *% $( 
%$(  #% % #% 
  !'  ' 
! ! (  )%
!)+ * %%  ' 
((%
Cómo localizar y corregir fallos
13–19
CODIGOS DE ERROR: * )+)* .. %
#* 4!* *!,!%+* )')*%+% # %5$)
 )%,) % .!$# ! # )%,) ')!*
% * ', +)$!%) #* )+)* .. *
%-!)+% %  ') #* %+)#)* !* /
 ') #* %+)#)* $,#)* !2)*
 # +#  # ) 
FALLOS DE E/S RECUPERABLES
')*)*      /  
*#$%+ , *  #* ##*   *%
),')#* ) ),'))#* ,*+ 
!% !#!+) # )%,) .. *'!! % # ),+!%
 ##  ,*,)! ! % !% !#!+ # )%,) ..
# ')*) *+)1 % ## # !%# # *1%
Nota: % +)+   $,/ 3 ',
,*) (, # ')*) !%!(, # .!*+%!
 ,% ))) % # )%,)  ,%(, # +)+
3 ,) !%*+# % ,% )%,) !*+!%+
 
Ran. xx
0 00
1 01
2 02
3 03**
4 04
5 05
6 06
7 07
Ran. xx
8 08
9 09
10 0A
11 0B
12 0C
13 0D
14 0E
15 0F
Ran. xx
16 10
17 11
18 12
19 13
20 14
21 15
22 16
23 17
Ran. xx
24 18
25 19
26 1A
27 1B
28 1C
29 1D
30 1E
1F*
NUMEROS DE RANURA (xx) EN HEXADECIMAL
Errores de E/S
Código de
error (hex)
Descripción Causa probable Acción recomendada
xx50 % )))  +*   *!* *
++
• ,!
• )#1$'
• %.!4% !%))+  +!))
• #+  *,')*!4%  *)6
+%*!4% % #* *#!* %
)* !%,+!-* 
• ,%+  #!$%+!4%
#2+)! !%*,!!%+
))! # ')#$ )) # ##
/ -,#-  %+)) % # $ 
$) 
xx51 % )))  +!$'  ,!4%
0+* * ++ % ,%
$4,#  
! 2*+ * ,% $4,#  
!*)+* * +)+  ,%
')#$  ),! ! 2*+ * ,%
$4,#   *'!# )!2)*
# $%,#  ,*,)! ))*'%6
!%+ ') +%) # ,*
')#
*%+ / -,#-  %+)
# #!$%+!4% #2+)! #
*!*+$ ! * % ))! #
')#$ )$'# # $4,#
xx52 % $4,# )(,)! ') #
'))$  ,*,)! * ++
$ #+%+  (,!+
% $4,#   %!,)
') ,% )%,) +)$!%
 #+   *! #!$!%
• % !#!+ # )%,) % #
) !-  *+   /
   
• !%*)+ # $4,# )(,)! %
# )%,)
Preface
Manual de referencia del juego de instrucciones
13–20
Código de
error (hex)
Descripción Causa probable Acción recomendada
xx53 )# '(/    ! )
$#!   ) )
#!# # )' - ' (( %)
 ) ( ) !2) # 
 '(# '( 2#
(!0 $) ' %) )
!2) #   ' 
'( #
•  )   # '(/
#) $ ) !2)#
$# - ) !2)# $'( #
•  !2) #   ' 
'( # $# '1 !'!#
•  (  )  
*#  '(#   -
   #   # - )(
• %)(  !2) # #   # -
)( #
• !#%)  #)2 
 $ %)  )- 
!2! - )# *) * 
  $#! - )(
•  )'( $ %) 
!2) # '  '( #
#  # !-# - )(
'$1# $    
((2 (   !## 
! # $) # ) ''
*1#
 '' ' !2) #'    ( (#' ' )'  
'' *1# *   -   
xx54  !2) # %)# $ 
$#!  )')# ' ((
%) '  ($# #(#
 !2) #    ) )
(! '  ($# (
%)  #)# $ 
) $#  )')#
• !$   !2) # # 
!2) # #(# #   #
- )( #
• !  #)2 
 $  ) *) * 
  $#! - )(
xx55  !2) #   '(#
%)# $  $#! 
)')# ' (( %) ( )
#(# #(#  
'( 2# (!0 $)
' %) ) *# 
(( '$ ' #(#
•  0'( ' ) !2) #  
'(#  #(#   '
(  #(#
' ##  
#)2  
•  0'( ' ) !2) #  
'$   #(# # 
(( ' #(#
•  0'( ' ) !2) #  
'(# !$ / # # )
!2) # #  #(#  
' ## )# # 
 # - )( #
• !  #)2 
 $ %) #'$# 
!2) # ,'(( )#
*) *    $#! -
)(
•  0'( ' ) !2) #  
'$  0'  !)
 )')# $ # !2) #
xx56  #)2  ''
'$   $#! 
)')# ' (( #!#
#(
 #)2  ''
'$ $#  )')# #
#'$#  +
#  #)2 
'' *) *   
$#! - )(
xx57  !2) #   '$ # 
'$##  ) #!# 
!!#   #%) #!$(#
(#  1!(  (!$#
%)#
 !2) #   '$ #
'$#  $#'# (#
 (!$# $!(#
'#( - *) *  #(
  !  0  ''  '(#
# #  $# ! 0'
 !)  )')#  !2) #
  '$  ) '
'# !$ .  !2) #
xx58  !2) #   '$ 
# )  # 0#  (
  #  (( ' '( 
   -(  '(# 
!2) #
0'  !)  )')#
 !2) #   '$ 
'#( - *) *  #(
  !  0  ''  '(#
# #  $# ! 0'
 !)  )')#  !2) #
  '$  ) '
'# !$ .  !2) #
Cómo localizar y corregir fallos
13–21
Código de
error (hex)
Descripción Causa probable Acción recomendada
xx59  !3) #   '$ # 
'$##  ) #!# #!#
 .# (#  1!( 
(!$# %)#
 !3) #   '$ #
 .3 ) #!# ' 
$#'# (#  (!$#
$!(#
0'  !)  )')#
 !3) #   '$ 
) ' '# !$ .
 !3) #
xx5A # !  ()$3 
+
 0'( ' ) !3) #  
'(# ' ((  ) $# !
 )#  0'( ' ) !3) #
  '$  0' 
!)  )')#  !3) #
'#( - *) *  #(
  !  0  '' %)
' - ) $# !  )# -
'4'  )' ' $/('
 #,3  ( )'
 0'( ' ) !3) #  
'$  0'  !) 
)')#  !3) # ) '
'# !$ .  !3) #
xx5B #  #)3  *#
  (!2#  *# 
$#!  )')# , 
$  !3) #
*# ' #(# $ 
!3) #  '( )
0'  !)  )')#
 !3) #   '$ 
) *  #)  *#
'4 # '()#   !)  -
)# *) *   - )(
xx5C #  #)3  *#
   (!2#  *#
  $#!  )')#
,  $  !3) #
#' *#'  '#
#(#' $  !3) # 
'( )
0'  !)  )')# 
!3)#   '$ )* 
#)  *#  '4
# '()#   !) )#
*)*   - )(
xx5D '*#  ()$3
'# (# # ' #!$(  # 
$#'#
!3) # '$   
'# (# '*# -  $#'#
# ( $ $  #
0'  !)  )')# 
!3)#   '$ $
(! )/' $#'#'
( $ $  )'# 
!3)# !  $#'# 
)# %) ( $ $ 
!3)#
xx5E #  #(# # '#(+
 $#'#  
#(+  #(# #  
 $#'#  (#
) *    $#!
)'# '#(+  $##
$# 
xx60
a
xx6F
( ) # !-#
)$  '$1# $ 
!3) #  
 
xx70
a
xx7F
( ) # !-# #
)$  '$1# $ 
!3) #  
 
xx90 # !  ()$3  )
)  (
 !3) # '$  
'# (3 '*# )( 
 (3  ) )
0'  !)  )')#
 !3) # '$  
) ' '# !$ .
 !3) #
xx91  )  ( 
 #
 !3) # '$   
) )  ( 
 #
'#( - *) *  #(
  !  0  ''  '(#
# #  $# ! 0'
 !)  )')#  !3) #
'$   ) '
'# !$ .  !3) #
Preface
Manual de referencia del juego de instrucciones
13–22
Código de
error (hex)
Descripción Causa probable Acción recomendada
xx92 #  ! 
!*    *
#   $ !!
 *  # 
*    
 *      
!
  *  #
 *   
  *    
'      
 *  ! 
*  #
!  ##  
  % !
xx93  %  (  
*    
     
*     * 
  
'      
 *    
xx94  *   !!
  !  
!* '! !
      
 ! !'  
  *    
 !
 *   !  
  !  
!* '!  
*    !
    ! 
*     ! 
 !* '!   
 %  *  
)
• !  *    %
! 
• )  *  
*    
  *  
     
 ##   
 % !
Cómo localizar y corregir fallos
13–23
Cómo localizar y corregir fallos de los procesadores
SLC 5/03 y SLC 5/04
El único modo de comunicación entre usted y el procesador entre el momento en
que usted conecta la alimentación eléctrica al procesador SLC 5/03 ó SLC 5/04 y el
momento en que éste pueda establecer comunicación con un dispositivo de
programación conectado, es por medio de la pantalla LED.
Cómo encender la pantalla LED
Cuando se aplica la alimentación eléctrica, todos los LED parpadean
momentáneamente y luego se apagan. Esta es parte de la secuencia de encendido
normal. Luego del autodiagnóstico del procesador, todos los LED volverán a
parpadear momentáneamente. Si el programa de usuario está en un estado de
marcha, el LED de MARCHA se ilumina. Si un fallo existe dentro del procesador,
el LED FLT se ilumina.
Cómo identificar errores del procesador durante la descarga de un sistema
de operación
El proceso de descarga dura aproximadamente 45 segundos. Durante este período,
observe la pantalla LED para ver la información de estado. Durante el progreso de
la descarga, los LED de MARCHA y FLT permanece apagados. Los LED de
RS232, DH485 ó DH+, FORCE y BATT se iluminan en una secuencia previamente
definida. Si la descarga se realiza exitosamente, los LED anteriores se iluminan.
Si ocurre un error durante el proceso de descarga de un módulo de memoria del tipo
sistema de operación o durante el proceso de autodiagnóstico de encendido normal,
el LED FLT se ilumina y los cuatro LED se parpadean intermitentemente a una
velocidad de 2 segundos.
Preface
Manual de referencia del juego de instrucciones
13–24
La tabla siguiente describe las posibles combinaciones LED que se muestran
alternadamente cada vez qie los LED se iluminen parpadeando.
Visualización de LED ILUMINADO Descripción
      1 + .#*+ , ))')  )-) +$
       1 +
.#*+ , $0%#+  +#%(' *')(*'  '+)'$
-+'!  )-)
   .#*+ , ))')  
   
$ '+#' $ %1,$'  %%')# $ *#*+% 
'()#1 *+/ $+)'
     1 +
$ *#*+%  '()#1 *)!$ ' * '%(+#$
' $ )-)
      1 +
 #++1 *)!) $ *#*+%  '()#1  $
%%')#  *)#+,) ()'+!#
     $$'  $* 
     
$$' ,)+ $ +)*%#*#1 $ *#*+%  '()#1
*)!$
       1 +
$ *#*+%  '()#1 *+/ ,*+ '  *#'
$+)'
Archivo de estado del controlador MicroLogix 1000
A–1
A Archivo de estado del
controlador MicroLogix 1000
Este apéndice enumera:
• el archivo de estado del controlador MicroLogix 1000
• los tiempos de ejecución de instrucción y el uso de memoria de instrucción
Este apéndice trata las funciones del archivo de estado de los controladores
MicroLogix 1000.
Manual de referencia del juego de instrucciones
A–2
Descripción general del archivo de estado
El archivo de estado le permitir monitorizar cómo funciona el sistema de operación
y le permite dirigirlo de la manera que usted desea que funcione. Esto se efectúa
usando el archivo de estado para establecer bits de control y monitorizar los fallos
de hardware y software y otra informacióin de estado.
Nota No escriba a palabras reservadas en el archivo de estado. Si va a escribir a los
datos de archivo de estado, primero es imprescindible que entienda a fondo la
función.
El archivo de estado S: contiene las palabras siguientes:
      
S:0 Indicadores aritméticos A-3
S:1L (byte bajo) Estado/control del modo de controlador (bajo) A-4
S:1H (byte alto) Estado/control del modo de controlador (alto) A-4
S:2L (byte bajo) Estado/control del modo alterno de controlador (bajo) A-7
S:2H (byte alto) Estado/control del modo alterno de controlador (alto) A-7
S:3L (byte bajo) Tiempo de escán actual A-9
S:3H (byte alto) Tiempo de escán de control (watchdog) A-9
S:4 Base de tiempo A-10
S:5 Bits de error menor A-10
S:6 Código de error mayor A-12
S:7 Código de suspensión A-16
S:8 a S:12 Reservado A-16
S:13, S:14 Registro matemático A-16
S:15L (byte bajo) Reservado A-16
S:15H (byte alto) Velocidad en baudios A-16
S:16 a S:21 Reservado A-17
S:22 Tiempo de escán observado máximo A-17
S:23 Reservado A-17
S:24 Registro de índice A-17
S:25 a S:29 Reservado A-17
S:30 Punto de ajuste STI A-17
S:31 y S:32 Reservado A-17
Archivo de estado del controlador MicroLogix 1000
A–3
Descripciones de archivo de estado
Las tablas siguientes describen las funciones del archivo de estado a partir de la
dirección S:0 hasta la dirección S:32.
Cada bit de estado se clasifica como uno de los siguientes:
• Estado — Use estas palabras, bytes o bits para monitorizar la operación del
controlador o la información de estado del controlador. El programa de usuario
o el dispositivo de programación raras veces escribe a la información (a menos
que usted desee restablecer o borrar una función tal como un bit de monitor).
• Configuración dinámica — Use estas palabras, bytes o bits para seleccionar
opciones de controlador mientras esté en línea con el controlador.
• Configuración estática — Use estas palabras, bytes o bits para seleccionar
opciones de controlador mientras que esté en el modo de programa fuera de
línea antes de descargar el programar de usuario.
        
  #$
#%,% $ *
 $% 
$+
$  #$ #%,% $ $  ' $ ! #
  %#  # $!,$   - 
%#$ $%# $ %+%$ * 
  % $  $%  $% $ %$
!# '+ $%  $ %
%#$ $%# $ %+%$ * 
  % $   !# #
 ## $% $% % $ $% ! #   %#  # $ 
## !#$% %+% $ # 
  %##   % !# !$%  # 
$% % $ '   - %+%
$ $    #%    % # 
% '   %##!  -
 #  !# #  ' # #  
$ #$%#   - $ #
 '# ( $% $% % $ $% ! #   %#  #
  #$%   !#-
%+%  $ !%  $ $%   
 %##   % !# !$%  # 
  % $ $%  % 
%##!- ! # '# (  %, $
$%    )!-  %  
,#$     #%  
 % #  % '   %##! 
-  #  !# #  ' #
#   $ #$%#  
- $ #
Preface
Manual de referencia del juego de instrucciones
A–4
Dirección Descripción
Clasificación
Bit
S:0/2 Cero Estado Este bit es establecido por el controlador cuando
el resultado de una determinada operación
matemática o de manejo de datos es cero. De
lo contrario, el bit permanece puesto a cero.
Cuando una rutina STI, contador de alta
velocidad o fallo interrumpe la ejecución normal
del programa, el valor original de S:0/2 se
restaura cuando la ejecución se reanuda.
S:0/3 Signo Estado Este bit es establecido por el controlador cuando
el resultado de una determinada operación
matemática o de manejo de datos es negativo.
De lo contrario, el bit permanece puesto a cero.
Cuando una rutina STI, contador de alta
velocidad o fallo interrumpe la ejecución normal
del programa, el valor original de S:0/3 se
restaura cuando la ejecución se reanuda.
S:0/4 a
S:0/7
Reservado
S:0/8 Configuración
de E/S de
extensión
Configuración
estática
Este bit debe ser establecido por el usuario
cuando se escribe a salidas no usadas. Si las
salidas restablecidas y no usadas se activan,
el controlador estará con fallo (41H).
S:0/9 a
S:0/15
Reservado
S:1/0 a
S:1/4
Estado/control
del modo de
Estado Los bits 0-4 funcionan así:
0 0000 = (0) Descarga remota en progreso
0 0001 (1) M d d
S:1/4 del modo de
controlador
0 0000 (0) Descarga remota en progreso
0 0001 = (1) Modo de programa remoto
0 0011 = (3) Pausa de suspen. (operación sido
detenida por la ejec de instr SUS)
detenida por la ejec. de instr. SUS)
0 0110 = (6) Modo de marcha remota
0 0111 = (7) Modo continuo de prueba remota
0 0111 = (7) Modo continuo de prueba remota
0 1000 = (8) Modo de un solo escán de
prueba remota
S:1/5 Forzados
habilitados
Estado Este bit es establecido por el controlador (1) para
indicar que los forzados siempre son habilitados.
S:1/6 Forzados
instalados
Estado Este bit es establecido por el controlador para
indicar que los forzados han sido establecidos
por el usuario.
S:1/7 Comms
activos
Estado Este bit es establecido por el controlador
cuando el controlador recibe datos válidos de
su canal RSĆ223. Si el controlador no recibe
datos válidos durante 10 segundos a través de
este canal, el bit se restablece.
S:1/8 Anulación de
fallo al
encendido
Configuración
estática
Una vez establecido, este bit causa que el
controlador ponga a cero el bit de error mayor
detenido S:1/13 y los bits de error menor S:5/0 a
S:5/7 al momento de encendido si el procesador
había estado anteriormente en el modo de
marcha REM y había estado con fallo. Luego, el
controlador intenta entrar en el modo de marcha
REM. Establezca este bit usando la función de
monitor de datos fuera de línea únicamente.
Archivo de estado del controlador MicroLogix 1000
A–5
Dirección Descripción
Clasificación
Bit
 $$' 
(*',4 
'
' -*4
+,2,
-' +, , + +,$ 0 $ $%,4
$3,* + +', 0 + .-$.  ',*
%,*+ $ ',*'$'* +,3  $ %'' 
%*!  $ ',*'$'* #-, $ *-,
 $$'  -+-*' ,+  $ #-4 $
(*%* +2 $ (*' *% +, , $
'(4  ('*  *' $ ,  **'* %0'*
,'  (* *-* $ '(*4
 $ %''  %*!   $ *-, 
$$'  -+-*' ' *+,$ $ ,  
*+-$,*2 $ %''  $$'
*' *% $ $4   *-,  $$' 
-+-*'  $  '*% -' #-, $
*-,  $$'  (*',4  ' 
4 '  $$'  **'* %0'* ', $
.$'*  
 

+*.'
 *!
(*%,
' -*4
+,2,
 .1 +,$' +, , -+ )- $
',*'$'* ('   *'  0  
,+  ,,* ,**  $ %'' 
 -' $ $%,4 $3,* +
($ - '-** + - *+,$%,'
+(*'  +, , ' + +,$ $
',*'$'* +   $ %'' ,*'*
 $ )- + ',* ,+  !*
(*' $ $%,4 $3,*  %'+ )-
$ ',*'$'* +,-.*  $ %''  (*-
  $ ',*'$'* +,  $ %'' 
(*-  -' + ,**-%(4 $
$%,4 $3,* $ ',*'$'* ,* 
$ %''  (*' *%  -' + ($ $
$%,4 $3,*
+, , -$ $'+ $$'+ /+,,+ $ %'%,'
 ( *
El establecer el bit de marcha
permanente causa que el controlador
entre en el modo de marcha REM si
un restablecimiento inesperado
ocurre, independientemente del
modo en que el controlador estaba
antes de ocurrir el restablecimiento.
Los restablecimientos inesperados
pueden ocurrir debido a ruido
electromagnético, conexión
incorrecta a tierra o un fallo de
hardware interno del controlador.
Asegúrese que su aplicación haya
sido diseñada para manejar esta
situación de manera segura.
!
Preface
Manual de referencia del juego de instrucciones
A–6
Dirección Descripción
Clasificación
Bit
  %%% *%
'!
!(%.!
!, 
' '  ' #%  !'%%
(!  !(!'% (! %%% *% 
!'%% !'% ! (! !.!   
#%    .   !'!%, (!
. $(  #( (% #% !'% 
!.!   (!  '   
'  !'%%
•  '   ! (! '
(%   ',! ') *
')    
•  !'% !  %('!    ((% !
  ')  ', !   
%   #% '! - $(  . 
%   %('!   !'!' (!
%(#%.!   !.!    
%('!    ((% '% ! $( 
%(#%.!  !% #!  %
  (!  .  % !' 
%   %('!     . 
%   %('!   ! !'! 
.      %('! '% ! $( !
 #%% !'!(%  #%.! 
!'%%    %('!   !  '
  '    ! !
(! ' (% *      
')
(! (' #!  %  '   (!
(! #')  #%% .!   
!'%%      #%% 
% ' ( )% (! )%    (
'+   !  #%%   %
#% !%% (! %%% *% #- #% 
#.!    !% #% 
#.! ! %(#%
!#!!' !'  )% (
Nota: Una vez que existe un estado de fallo
mayor, usted debe corregir la condición que
causó el fallo y también debe poner a cero
este bit a fin de que el controlador acepte un
intento de cambio de modo (en marcha REM o
prueba REM). Además ponga a cero S:6 para
evitar tener un codigo de error sin condición de
fallo.
Nota: No vuelva a usar códigos de error que
sean definidos más adelante en este apéndice
como códigos de error específicos para la
aplicación. En cambio, cree sus propios
códigos únicos. Esto evita que usted confunda
los errores de aplicación con los errores de
sistema. Recomendamos usar los códigos de
error FFOO a FFOF para indicador los errores
mayores específicos para la aplicación.
Archivo de estado del controlador MicroLogix 1000
A–7
     
 

S:1/14 Bloqueo OEM Configuración
estática
Con este bit usted puede controlar el acceso a
un archivo de controlador.
estática
Para programar esta característica, seleccione
Acceso futuro no permitido cuando guarde el
programa.
Una vez que este bit se pone a cero, indica
que todo dispositivo de programación
compatible puede acceder al programa de
escalera (siempre que las condiciones de
contraseña se cumplan).
S:1/15 Primer paso Estado Use este bit para inicializar el programa según
lo requiera la aplicación. Cuando este bit es
establecido por el controlador, indica que el
primer escán del programa de usuario está en
progreso (después del encendido en el modo
de MARCHA o luego de entrar en un modo de
marcha REM o prueba REM). El controlador
pone a cero este bit luego del primer escán.
Este bit se establece durante la ejecución de la
rutina de fallo de protección. Refiérase a S:1/9
para obtener más información.
S:2/0 STI pendiente Estado Una vez establecido, este bit indica que el
temporizaodr STI ha sobrepasado el límite de
tiempo y que la rutina STI está esperando la
ejecución. El bit se pone a cero cuando
comienza la rutina STI, programa de escalera,
salida del modo de marcha REM o prueba, o
ejecución de una instrucción STS verdadera.
S:2/1 STI habilitado Estado y
configuración
estática
Este bit puede ser establecido o restablecido
usando la instrucción STS, STE o STD. Si es
establecido, permite la ejecución de la STI si el
punto de ajuste STI S:30 es distinto de cero.
Si está puesto a cero, cuando una interrupción
ocurre, la subrutina STI no se ejcuta y el bit de
STI pendiente se establece. El temporizador
STI continúa funcionando cuando este bit se
inhabilita. La instrucción STD pone a cero este
bit.
Si este bit es establecido o restablecido
editando el archivo de estado en línea, la STI
no es afectada. Si este bit se establece, el bit
permite la ejecución de la STI. Si este bit se
restablece editando el archivo de estado fuera
de línea, el bit no permite la ejecución de la STI.
S:2/2 Ejecución de
STI
Estado Una vez establecido, este bit indica que el
temporizador STI ha sobrepasado el límite de
tiempo y que la subrutina STI se está
ejecutando. Este bit se pone a cero cuando se
finaliza la rutina STI, progorama de escalera o
modo de marcha REM o prueba.
S:2/3 a
S:2/13
Reservado
Preface
Manual de referencia del juego de instrucciones
A–8
Dirección Descripción
Clasificación
Bit
S:2/14 Selección de
overflow
matemático
Configuración
dinámica
Establezca este bit cuando vaya a usar las
instrucciones de adición y resta de 32 bits.
Cuando S:2/14 es establecido y el resultado
de una instrucción ADD, SUB, MUL o DIV no
se puede representar en la dirección de
destino (underflow u overflow),
• el bit de overflow S:0/1 se establece,
• el bit de interrupción por overflow S:5/0 se
establece,
• y la dirección de destino contiene los 16
bits sin signo truncados y menos
significativos del resultado.
La condición de fallo de S:2/14 se restablece
(0). Cuando S:2/14 es restablecido y el
resultado de una instrucción ADD, SUB, MUL
o DIV no se puede representar en la dirección
de destino (underflow u overflow),
• el bit de overflow S:0/1 se establece,
• el bit de interrupción por overflow S:5/0
se establece,
• y la dirección de destino contiene 32767 si
el resultado es positivo o -32768 si el
resultado es negativo.
Nota: el estado del bit S:2/14 no afecta la
instrucción DDV. Además, no afecta el
contenido del registro matemático cuando se
usan las instrucciones MUL y DIV.
Para programar esta característica, use la
función de monitor de datos para establecer o
poner a cero este bit. Para proporcionar
protección contra modificaciones accidentales
del monitor de datos de su selección,
programe una instrucción OTL incondicional a
la dirección S:2/14 para asegurar la nueva
operación de overflow matemático. Programe
una instrucción incondicional OTU a la
dirección S:2/14 para asegurar la operación
original de overflow matemático.
S:2/15 Reservado
Archivo de estado del controlador MicroLogix 1000
A–9
     
 

   #% 
)/$ *+
)*%  ,%(  )* .*  $%(# +/$*% * #%
*($)+(( +($* +$  %  (%(# $
 %  (%(# $+.
•  )/$  (%(#  )(
• actividades de mantenimienbto
•  )/$  ) 
•  )(,  % (  $  %#+$  0$
 ,%(  .* ) +)*%  (% %( 
%$*(%%( +($*  )/$
$# *#$* $*)   !+ 0$ 
($0$   ( ,%  (%(# ( ,%
 (%(# ( $  ) ) +$*% $
$*  .* ) $(#$*%   #)
 $  $ $(#$*%)   #)  $* 
 * #% *($)+((  $  )/$  )*
,%( ) +  ,%( $  %$*(% -*%
  ) ((/ +$ ((%( #.%(  %$*(%
-*%  +)+( % 0 %  
 ()%+0$  ,%(  *#%  )/$ ) 
  #)   #) !#%  ,%(  $ '+
 #) $ *($)+((% )  $%  %
 (%(#
   #% 
)/$ 
%$*(%
-*%
%$ +( 0$
 $/# 
)* ,%(  .* %$* $  $1#(%  * )
  #) '+ ) (# * %+(( ( +($* +$
 %  (%(#  ,%( (*(# $% )
   #) (% +)* + $(#$*(% 
  )+$%) %  )# $+ (%   )1$
% ('+ (    0$   ,%(  )/$
 (%(#   ) +  ,%(  %$*(%
-*% ) ((/ +$ ((%( #.%( 
%$*(% -*%
Preface
Manual de referencia del juego de instrucciones
A–10
Dirección Descripción
Clasificación
Bit
S:4 Base de
tiempo
Estado Todos los 16 bits de esta palabra son
evaluadas por el controlador. El valor de esta
palabra es puesto a cero al momento de
encendido en el modo de marcha REM o
cuando se entra en el modo de marcha REM o
prueba REM. Desde ese punto en adelante,
se incrementa cada 10 ms.
Nota de aplicación: Usted puede escribir
cualquier valor a S:4. Comenzará a
incrementarse a partir de dicho valor.
Usted puede usar cualquier bit individual de
esta palabra en el programa de usuario como
bit de reloj de ciclo de trabajo de 50%. Las
velocidades de reloj para S:4/0 a S:4/15 son:
20, 40, 80, 160, 320, 640, 1280, 2560, 5120,
10240, 20480, 40960, 81920, 163840, 327680 y
655360 ms.
La aplicación que usa el bit debe ser evaluada
a una velocidad dos veces más rápida que la
velocidad de reloj del bit. En el ejemplo
siguiente, el bit S:4/3 alterna cada 80 ms, lo
cual produce una velocidad de reloj de 160
ms. Para mantener la exactitud de este bit en
su aplicación, la instrucción que usa el bit
S:4/3 (O:1/0 en este caso) debe ser evaluada
por lo menos una vez cada 79.999 ms
160 ms
ciclo de S:4/3
S:4/3 y la salida
O:1/0 alternan cada
80 ms. O:1/0 debe
ser evaluado por lo
menos una vez cada
79.999 ms.
] [
S:4
3
( )
O:1
0
en 160 ms
S:5 Bits de error
menor
Los bits de esta palabra son establecidos por
el controlador para indicar que ha ocurrido un
error menor en el programa de escalera. Los
errores menores, bits 0 a 7, retornan al error
mayor 0020H si un bit se detecta como
establecido al final del escán. Estos bits se
ponen a cero automáticamente durante una
desconexión y reconexión de la alimentación
eléctrica.
Archivo de estado del controlador MicroLogix 1000
A–11
     
 

S:5/0 Interrupción
por overflow
Configuración
dinámica
Cuando este bit es establecido por el controlador,
indica que un overflow matemático ha ocurrido
en el programa de escalera. Vea S:0/1 para
obtener más información.
Si este bit se establece al ejecutar la
instrucción END o TND, se declarará el error
mayor (0020). Para evitar la ocurrencia de
este tipo de error mayor, examine el estado de
este bit después de una instrucción
matemática (ADD, SUB, MUL, DIV, DDV, NEG,
SCL, TOD o FRD), tome la acción más
indicada y luego ponga a cero el bit S:5/0
usando una instrucción OTU con S:5/0.
S:5/1 Reservado
S:5/2 Error de
registro de
control
Configuración
dinámica
Las instrucciones LFU, LFL, FFU, FFL, BSL,
BSR, SQO, SQC y SQL pueden generar este
error. Cuando el bit S:5/2 es establecido, indica
que el bit de error de una palabra de control
usada por la instrucción ha sido establecido.
Si este bit se establece al ejecutarse la
instrucción END o TND, se declarará el error
mayor (002). Para evitar la coincidencia de
este tipo de error mayor, examine el estado de
este bit después de una instrucción de registro
de control, tome la acción más indicada y
luego ponga a cero el bit S:5/02 usando una
instrucción OTU con S:5/2.
S:5/3 Error mayor
detectado
durante la
ejecución de la
rutina de fallo
de usuario
Configuración
dinámica Una vez establecido, este código de error
mayor (S:6) representa el error mayor que
ocurrió durante el procesamiento de la rutina
de fallo debido a otro error mayor.
S:5/4 a
S:5/7
Reservado
S:5/8 Datos
retentivos
perdidos
Estado Este bit es establecido cuando los datos
retentivos se pierden. Este bit permanece
establecido hasta que usted lo ponga a cero.
Mientras sea establecido, este bit causa que el
controlador falle antes del primer escán
verdadero del programa.
S:5/9 Reservado
S:5/10 STI perdido Estado Este bit es establecido cuando el temporizador
STI caduca mientras que la rutina STI se esté
ejecutando o sea inhabilitada  el bit pendiente
(S:2/0) ya es establecido.
S:5/11 a
S:5/12
Reservado
S:5/13 Selec. de filtro
de entrada
modificada
Estado Este bit es establecido cuando la selección de
filtro de entrada en el controlador se hace
compatible con el hardware.
Preface
Manual de referencia del juego de instrucciones
A–12
Dirección Descripción
Clasificación
Bit
  
 
! $
  * 
  
!     # # *
%  !   # !
       ( !    
*      !+  
 ! '! !#! !    !
      
! *!    !  !!
!  ! !   
  %
 #!  # # *   
 '   # ! #*     
 !   $   * 

Nota de aplicación #   !#
     !)   
* !  # $ +    
# !    
 #  $      #  
 #!#          #
 # 
!!   ! ! !
!    #!  #!#  
# !  # !
! ! !  !!  *
   ! #   ! '!
!#! !  )! !
•   !  
•   !     
•   !   
•   !  ! 
Cada fallo se clasifica como uno de los siguientes:
• No atribuible al usuario — Un fallo causado por varias condiciones que
detienen la ejecución del programa de escalera. La rutina de fallo de usuario no
se ejecuta cuando este fallo ocurre.
• No recuperable — Un fallo causado por el usuario que se puede recuperar. La
rutina de fallo de usuario se ejecuta cuando este fallo ocurre. Sin embargo, el
fallo no se puede borrar.
• Recuperable — Un fallo causado por el usuario que se puede recuperar en la
rutina de fallo de usuario restableciendo el bit de error mayor detenido (S:1/13).
La rutina de fallo de usuario se ejecuta cuando este fallo ocurre.
Archivo de estado del controlador MicroLogix 1000
A–13
Clasificación de fallo
Usuario
DirecĆ
ción
Código
de error
(hex)
Errores de encendido
No
usuario
No
recuperable
Recuperable
S:6 0001
  $
# *
X
0002
 #$$
#  %*
X
0003
   #$(
$
X
0008
  $ $ 
#$' %*
X
0009
  $ $ 
' %*
X
Clasificación de fallo
Usuario
DirecĆ
ción
Código
de error
(hex)
Errores de ida a marcha
(GTR)
À
No
usuario
No
recuperable
Recuperable
S:6 0005
# $# $$# #

X
0010
   # 
# %  
$
X
0016
 #$  $*
  # %)# 
% )  $*
)$  #
#$  %#% 
  %#  %
*  ) 
$# $$# #  %$
   %#% #
%$*   $* 

X
À # #     % %  $   %!%        
%!%           %
Preface
Manual de referencia del juego de instrucciones
A–14
Clasificación de error
Usuario
DirecĆ
ción
Código
de error
(hex)
Errores de marcha
No
usuario
No
recuperable
Recuperable
S:6 0004 + #..,. # '+0#%.' # *#*,.' #
0'#*-, # #(#!1!':+ ,!1..':
X
0020 + #..,. *#+,. ) $'+) #) #/!7+
#$'8./#   
X
0022 ) 0#*-,.'6,. # !,+0.,) 30!,%
!1!: #$'8./#   
X
0024 1+0, # (1/0# # '+0#..1-!':+  +,
27)', #$'8./#   
X
0025 5 1+ #4!#/, #  #+ ) /1 .10'+
 .!'2, 
X
0027
5 1+ #4!#/, #  #+ ) /1 .10'+
# $)), .!'2, 
X
002A  '.#!!':+ '+#4 #/ #*/',
%.+# -. #) .!'2,
X
002B
5 1+ #4!#/, #  #+ ) /1 .10'+
#) !,+0,. # )0 2#),!' .!'2,

X
0030 ) +'*'#+0, # /1 .10'+ #4!## 1+
)9*'0# # .!'2, 
X
0031 + '+/0.1!!':+ /'+ !-!' /#
#0#!0:
X
0032 + '+/0.1!!':+  !.16: ),/
)9*'0#/ # .!'2, # 0,/
X
0033
 '+/0.1!!':+     
,  !.16: ),/ )9*'0#/ # .!'2, #
0,/
X
0034
+ 2),. +#%0'2, -. 1+ !1*1),.
# 0#*-,.'6,. , 2),.
-.#/#)#!!',+, /# #0#!0:
X
0035 + '+/0.1!!':+ ')#%)  ,!1..': #+
#) .!'2, # '+0#..1-!':+
X
0037
),.#/ -.#/#)#!!',+,/ '+27)',/ /#
!.%.,+ #+ #) !,+0,. # )0
2#),!'
X
0038 + '+/0.1!!':+  /# #0#!0: #+ #)
.!'2, # -.,%.* 
X
Archivo de estado del controlador MicroLogix 1000
A–15
Clasificación de fallo
Usuario
DirecĆ
ción
Código
de error
(hex)
Errores de marcha
No
usuario
No
recuperable
Recuperable
0040
         
 
X
0041
       
 
X
Clasificación de fallo
Usuario
DirecĆ
ción
Código
de error
(hex)
Errores de descarga
No
usuario
No
recuperable
Recuperable
S:6 0018
     
       
X
Preface
Manual de referencia del juego de instrucciones
A–16
Dirección Bit Clasificación Descripción
S:7 Código de
suspensión
Estado Cuando un valor distino de cero aparece en S:7,
indica que la instrucción SUS identificada por
este valor ha sido evaluada como verdadera y
que el modo de pausa de suspensión está
vigente. Esto precisa las condiciones en la
aplicación que casuaron el modo de pausa de
suspensión. Este valor no es borrado por el
controlador.
Use la instrucción SUS con la localización y
corrección de fallos de encendido o como
diagnóstico de tiempo de ejecución para la
detección de errores de sistema.
S:8 a S:12 Reservado
S:13 a S:14 Registro
matemático
Estado Use este registro doble para producir operaciones
de división y multiplicación con signo de 32 bits,
operaciones de división de precisión o división
doble y conversiones BCD de 5 dígitos.
Estas dos palabras se usan conjuntamente con
las instrucciones matemáticas MUL, DIV, DDV,
FRD y TOD. El valor de registro matemático es
evaluado a la ejecución de la instrucción y
permanece válido hasta la ejecución de la
próxima instrucción MUL, DIV, DDV, FRD o TOD
en el programa de usuario.
Una explicación de cómo funciona el registro
matemático se incluye con las definiciones de
instrucción.
Si usted almacena valores de datos con signo de
32 bits, debe manejar este tipo de datos sin
ayuda de un tipo de datos de 32 bits asignado.
Por ejemplo, combine B3:0 y B3:1 para crear un
valor de datos con signo de 32 bits.
Recomendamos que comience todos los valores
de 32 bits en límite de palabra par o impar para
facilitar la aplicación y visualización. Además,
recomendamos que diseñe, documente y vea el
contenido de los datos con signo de 32 bits en la
raíz hexadecimal o binaria.
Cuando una rutina STI, contador de alta velocidad
o fallo interrumpe la ejecución normal del programa,
el valor original del registro matemático se restaura
cuando la ejecución se reanuda.
S:15L Reservado
S:15H Velocidad
en baudios
Estado Indica la vel. en baudios actual del controlador:
• 300
• 600
• 1200
• 2400
• 9600 (predeterminado)
• 19200
Archivo de estado del controlador MicroLogix 1000
A–17
     
 

    !.!-1 *
 %!(+* !
!.5)
*.!-1 *
*)%#0-%8)
%)5(%
./ +'- %) % !' %)/!-1'* *.!-1 *
(52%(* !)/-! '*. %'*. ! +-*#-(
*).!0/%1*.
*.!-1 *
(52%(* ./! 1'*- %) % !) %)-!(!)/*. !  (. !'
/%!(+* /-).0--% * !) !' %'* ! +-*#-( (5.
!2/!).* !' *)/-*' *- !%6-.!    +-
*/!)!- (5. %)*-(%8) !- !' %'* !
+-*#-( ' *)/-*' *- *(+- !' 1'*- !
  9'/%(* !.5) ' 1'*- *)/!)% * !)   %
!' *)/-*' *- !/!-(%) ,0! !' 1'*- !' 9'/%(*
!.5) !. (3*- ,0! !' 1'*- '(!) * !)
  !' 1'*- !' 9'/%(* !.5) .! !.-%!   
 -!.*'0%8) !' 1'*- ! /%!(+* ! !.5)
*.!-1 * !.   ± (. *- !!(+'* !' 1'*-
 %) % ,0!  (. 0!-*) *.!-1 *. *(*
!' %'* ! +-*#-( (5. '-#*
)/!--*#0! !./! 1'*- 0.) * ' 0)%8) !
(*)%/*- ! /*. .% )!!.%/ !/!-(%)- *
1!-%%- !' /%!(+* ! !.5) (5. !2/!).* !'
+-*#-(
 !.!-1 *
 !#%./-* !
7) %!
./ * ./ +'- %) %) !' *.!/ ! !'!(!)/* 0. *
!) !' %-!%*)(%!)/* %) !2 *
7) %!
0) * 0) -0/%)  *)/ *- ! '/
1!'*%  * ''* %)/!--0(+! ' !!0%8) )*-('
!' +-*#-( !' 1'*- *-%#%)' ! !./! -!#%./-* .!
-!./0- 0) * ' !!0%8) .! -!)0 
 /*
 
!.!-1 *
  0)/* !
0./! 
*)%#0-%8)
%)5(%
./! %)/-* 0! ' .! ! /%!(+* ,0! .! 1 
0.- !) ' %)/!--0+%8) /!(+*-%4  .!'!%*)'!
 ' /%!(+* +0! ! /!)!- 0) '7(%/! !  
 (. ./* !. !) %)-!(!)/*. !  (. +*-
'* /)/* '*. 1'*-!. 15'% *. .*) !   0
-0/%)  !!0/ ' 1'*- ,0! %)/-* 0* .-%
0) 1'*- ! !-* +- %)$%'%/- ' 
- +-*+*-%*)- +-*/!%8) *)/- (* %%%*)!.
% !)/'!. ! (*)%/*- ! /*. ! .0 .!'!%8)
+-*#-(! 0) %)./-0%8)  %)*) %%*)' ,0!
*)/!)# !' 1'*- !' +0)/* ! 0./! ! .0  
  * +-*#-(! 0) %)./-0%8)     +-
!1%/- ' *+!-%8) 
% '  .! %)%% (%!)/-. !./5 !) !' (* * !
(-$  -#) * '*. -!#%./-*. ! !./ * '
%)/!--0+%8) *(%!)4  /!(+*-%4-  +-/%- !'
%)' !' !.5) ! +-*#-( !) ,0! '*. -!#%./-*.
! !./ * .! -#-*)
    !.!-1 *
Manual de referencia del juego de instrucciones
A–18
Archivo de estado SLC
B–1
B Archivo de estado SLC
Este apéndice enumera:
• el archivo de estado del procesador SLC
• los tiempos de ejecución de instrucción y uso de memoria de instrucción
Este apéndice trata las funciones de archivo de estado de los procesadores fijos,
SLC 5/01, SLC 5/02, SLC 5/03 y SLC 5/04. Los procesadores SLC 5/02, SLC 5/03
y SLC 5/04 funcionan como los procesadores compactos y SLC 5/01. También
disponen de funciones adicionales enumeradas en la tabla de la página B–3. Los
procesadores SLC 5/03 y SLC 5/04 disponen de funciones adicionales enumeradas
en las tablas de las páginas B–3 y B–4.
Preface
Manual de referencia del juego de instrucciones
B–2
Descripción general del archivo de estado
El archivo de estado le permite monitorizar cómo funciona su sistema de operación
y le permite dirigir cómo desea que funcione. Esto se realiza usando el archivo de
estado para configurar interrupciones, cargar programas de módulo de memoria y
monitorizar los fallos de hardware y software.
Nota No escriba a los datos de archivo de estado a menos que la palabra o bit se
enumera como configuración dinámica/estática en las descripciones siguientes. Si
usted va a escribir a los datos de archivo de estado, es imprescindible que primero
entienda a fondo la función.
El archivo de estado S: contiene las palabras siguientes:
Palabra
Función (se aplica a todos los
procesadores)
Página
S:0 Indicadores aritméticos BĆ6
S:1 Estado/control del modo de procesador BĆ8
S:2 Bits STI/comms. DH485 BĆ17
S:3L Tiempo de escán actual/último BĆ24
S:3H Tiempo de escán de control (watchdog) BĆ26
S:4 Reloj de marcha libre BĆ26
S:5 Bits de error menor BĆ27
S:6 Código de erro mayor BĆ33
S:7, S:8 Código de suspensión/archivo de suspensión BĆ44
S:9, S:10 Nodos activos (DHĆ485) BĆ44
S:11, S;12 Habilitaciones de ranura de E/S BĆ45
S:13, S:14 Registro matemático BĆ47
S:15L Dirección de nodo B-48
S:15H Velocidad en baudios B-49
Archivo de estado SLC
B–3
Palabra
Función (se aplica a los procesadores
SLC 5/02, SLC 5/03 y SLC 504)
Página
S:16, S:17
Prueba de un paso - Inicio del paso en -
Renglón/archivo
B
S:18, S:19
Prueba de un paso - Punto de interrupción -
Renglón/archivo
BĆ51
S:20, S:21 Prueba - Fallo/parada - Renglón/archivo BĆ52
S:22 Tiempo de escán observado máximo BĆ53
S:23 Tiempo de escán promedio BĆ54
S:24 Registro de índice BĆ54
S:25, S:26 Interrupción de E/S pendiente BĆ55
S:27, S28 Interrupción de E/S habilitada BĆ56
S:29 No. de archivo de rutina de fallo de usuario BĆ56
S:30
Punto de ajuste de interrupción temporizada
seleccionable
BĆ57
S:31
No. de archivo de interrupción temporizada
seleccionable
BĆ57
S:32 Ejecución de interrupción E/O BĆ58
Palabra
Función (se aplica a los procesadores
SLC 5/03 y SLC 5/04)
Página
S:33 Estado de proc.extendido y palabra de control BĆ58
S:34
Transferencia inhabilitada (SLC 5/04
solamente)
B-65
S:35 Tiempo del último escán de 1 ms BĆ66
S:36 Bits de error menor extendidos BĆ67
S:37 Reloj/año de calendario BĆ68
S:38 Reloj/mes de calendario BĆ68
S:39 Reloj/día de calendario BĆ68
S:40 Reloj/horas de calendario BĆ68
S:41 Reloj/minutos de calendario BĆ68
S:42 Reloj/segundos de calendario BĆ68
S:43
Tiempo de interrupción STI (SLC 5/03 y SLC
5/04)
B-69
S:44
Tiempo de interrupción de evento (SLC 5/03 y
SLC 5/04)
B-69
S:45 Tiempo de interr. DII (SLC 5/03 y SLC 5/04) B-69
S:46 Interr. de entrada discreta - No. de archivo BĆ69
S:47 Interr. de entrada discreta - No. de ranura BĆ70
S:48 Interr. de entrada discreta - Máscara de bit BĆ70
Preface
Manual de referencia del juego de instrucciones
B–4
Palabra
Función (se aplica a los procesadores
SLC 5/03 y SLC 5/04)
Página
S:49
Interr. de entrada discreta - Valor de
comparación
BĆ71
S:50
Interr. de entrada discreta - Valor
preseleccionado
BĆ71
S:51
Interr. de entrada discreta - Máscara de
retorno
BĆ72
S:52 Interr. de entrada discreta - Acumulador BĆ72
S:53 y S:54 Reservado B-72
S:55 Tiempo del último escán DII BĆ72
S:56 Tiempo de escán DII máximo observado BĆ72
S:57 Número de catálogo del sistema de operación BĆ73
S:58 Serie del sistema de operación BĆ73
S:59 FRN del sistema de operación BĆ73
S:60 Número de catálogo del procesador BĆ73
S:61 Serie del procesador BĆ73
S:62 Revisión del procesador BĆ73
S:63 Tipo de programa de usuario BĆ73
S:64
Indice de funcionabilidad del programa de
usuario
BĆ73
S:65 Tamaño de RAM de usuario BĆ73
S:66 Tamaño de EEPROM rápido BĆ73
S:67 y S:68 Nodos activos de canal 0 B-74
Palabra
Función (se aplica a los
procesadores SLC 5/04)
Página
S:69 a S:82 Reservado B-74
S:83 a S:86
Nodos activos DH+ (procesador SLC 5/04 de
canal 1 solamente)
B-74
S:87 a S:98 Reservado B-74
S:99 Palabra de estado global BĆ74
S:100 a S:163 Archivo de estado global BĆ74
Archivo de estado SLC
B–5
Convenciones usadas en las pantallas
Las tablas siguientes describen las funciones del archivo de estado, a partir de la
dirección S:0 hasta la dirección S:163. Una viñeta (S) indica que la función se
aplica al procesador especificado.
Las clasificaciones siguientes se usan:
• Estado – Use estas palabras, bytes o bits para monitorizar las opciones del
procesador o información de estado del procesador. La información se escribe
raras veces al programa de usuario o a los dispositivos de programación (a
menos que usted desee restablecer o borrar una función tal como un bit de error
menor).
• Configuración dinámica – Use estas palabras, bytes o bits para seleccionar
opciones del procesador durante el modo de MARCHA.
• Configuración estática – Use estas palabras, bytes o bits para seleccionar
opciones del procesador antes de entrar en el modo de MARCHA. Note que
algunas opciones se deben seleccionar en el modo de programa fuera de línea
antes de restaurar el programa de usuario.
Preface
Manual de referencia del juego de instrucciones
B–6
Dirección Clasificación Descripción
Comp.,
5/01
5/02 5/03 5/04
S:0 Indicadores aritméticos
!  !  (! ! $#! 
  ! !#(!   #) 
## ! #) ' )  
 !   !  !! !
  $ ! #   )
! #) ' )  
 !       ! #
• • • •
S:0/0 Estado Bit de acarreo
!  ! !    ! ! #
    ! ' !   
       #!   
!  ! $#  #) '
! !
• • • •
# # #   #     
 #  #)      
 $     ! !#  # 
#) ! #
• • •
# #  #  #)
   !#     $   
 ! !#  #  #) !
#
• •
S:0/1 Estado Bit de overflow
!  ! !    !
#  !#  #  )
'  !   !  
       #!   
# !  ! !   
 #)  $ %  ( !
! ( !  
• • • •
# # #   #     
 #  #)      
 $     ! !#  # 
#) ! #
• • •
# # #   #     
 #  #)      
 $     ! !#  # 
#) ! #
• •
Archivo de estado SLC
B–7
Dirección Clasificación Descripción
Fijo,
5/01
5/02 5/03 5/04
S:0/2 Estado Bit de cero
      
     
!      
       

• • • •
        
     
        
  
• • •
        
     
        
  
• •
S:0/3 Estado Bit de signo
       
     !
        
      
• • • •
        
     
        
  
• • •
        
     
        
  
• •
S:0/4 a
S:0/15
NA Reservado • • • •
Preface
Manual de referencia del juego de instrucciones
B–8
Dirección Clasificación Descripción
Fijo,
5/01
5/02 5/03 5/04
S:1/0
a
S:1/4
Estado Modo/estado/control de procesador
+. /.  #0* +** .4
    . -$ -)+/ *
,-+$-.+
    +!+ ! ,-+$-) -)+/+
( )+!+ ! #((+ 2./
0*!+ ( /  .
./(  +* ( )+!+
 
     +!+ ! #((+ ! ,0. !
.0.,*.5* ( +,- 5* %
.!+ !/*! ,+- ( ' 06
5* ! 0* *./-0 5*
 2./ 0*!+ ( /
 . ./(  +* (
)+!+  
     +!+ ! )- % -)+/
     +!+ +*/*0+ ! ,-0
-)+/
     +!+ ! 0* .+(+ . 3* !
,-0 -)+/
• • • •
    * .+(+ ,.+ ! ,-0
-)+/ ,.+ %./
Nota: Todos los modos en los procesadores comĆ
pactos, SLC 5/01 y SLC 5/02 se consideran como
remotos porque no tienen un interruptor de llave.
     . -$ * ,-+$-.+
*/--0,/+- !
((1-)
     +!+ ! -)  (
)+!+ ! #((+ 2./ 0*!+
( /  . ./( 
+* ( )+!+  
     0. ! .0.,*.5*  (
)+!+ ! #((+ 2./ 0*!+
( /  . ./(  +*
( )+!+   */--0,/+-
! ((1
       ( )+!+ ! #((+
2./ 0*!+ ( / 
. ./(  +* ( )+!+
  */--0,/+- !
((1
+!+. (+. +/-+. 1(+-. ,- (+. /.  ./3*
-.-1!+.
• •
Archivo de estado SLC
B–9
Dirección Clasificación Descripción
Fijo,
5/01
5/02 5/03 5/04
S:1/5 Estado Bit de forzados habilitados
+, , + +,$' ('* $ (*'+'* +
-+, ! !$,' '*0'+  - (*' *%
 +$*  $' ',**'* $ , (*%
(-+,'  *' $   '*0'   $
(*'+'* + $-% ',-%, -'
$'+ '*0'+ + !$,
• • • •
S:1/6 Estado Bit de forzados instalados
+, , + +,$' ('* $ (*'+'* +
-+, ! +,$' '*0'+  - (*' *%
 +$* '+ '*0'+ (- +,* ' '
+,* !$,'+  $'+ ',**' $ ,
(*% (-+,'  *' $   '*0'
  $ (*'+'* (*( -' $'+
'*0'+ +' +,$'+ (*' ' !$,'+
• • • •
S:1/7 Estado Bit de comunicación activa (canal 1)
+, , + +,$' ('* $ (*'+'*
-' !/ ('* $' %'+ ',*' '' (*+,
 $ * 4' $ $   $' ',**'*
$ , (*% (-+,'  *' -' $
'' +,1 ,.' + - (*,(, *''6
'  - *  (+'  ,+, ' 6 
• • • •
S:1/8 Configuración
dinámica
Bit de anulación de fallo al encendido
-' + +,$' +, , -+ )- $
(*'+'* ('   *' $ ,  **'* %/'*
,'  / $'+ ,+  **'* %'*   
  $ %'%,'  ' + $ (*'+6
'* !3 +,'  $ %''  %*!  /
!3 +,' ' $$' - ' $ (*'+'*
,, ,**  $ %''  %*! 
-' +, , (*% (-+,'  *' .$'*
(*,*%' $ (*'+'* (*%  -
+,'  $$' %/'* $ %'%,'  '
* (*' *%* +, *,*3+, +,6$0
+, , -+' $ -5  %','*  ,'+
• • • •
S:1/9 Configuración
dinámica
Bit de fallo de protección de encendido
-' +, , + +,$ / $ $% $2
+ +', / *', %,*+ $
(*'+'* +,1  $ %''  %*! 
$ (*'+'* #-, $ *-,  $$' ,+
 $ #-5 $ (*%* +1 $ (*' *%
,'+ -+, , $ '(5  ('* 
*' $ ,  **'* %/'* ,'  (*
*-* $ '(*5  $ %''  %*!
  $ *-,  $$' ' *+,$6  $ ,
 *+-$,*1 $ %''  $$'
* (*' *%* +, *,*3+, -+ $ -5
 %','*  ,'+ / (*' *% $ $5   *-,6
 $$'   '*% $ #-,* $ *-, 
$$'  (*',5  '  $ 5 ' 
$$'  **'* %/'* ',**1 $ .$'*  
• • •
Preface
Manual de referencia del juego de instrucciones
B–10
Dirección Clasificación Descripción
Fijo,
5/01
5/02 5/03 5/04
S:1/10 Configuración
estática
Bit de carga de módulo de memoria al
momento de ocurrir un error de memoria
! # #! !     !  #
    +#    
 !  !  # #   
    ! !  
        
! #   !  # #
        #     
!   !, #   #  
    !#   + !
    ! #!      
 *   !  #  #
   + ) 
!  !     $ 
!       +# 
  # # +#    !
! #     ! #
       !  
   #! #    
 +#    !  !  
 !  # !      
  
#  !( #!     
+#      !  
 # +    ! #   
  !    
   
%!  # +#   
#  ! !    $ 
!      #!#    
   +#    !   !
!      ! !   
  # 
     !   *! !'
!  #!  #+    !
#        +# 
 
• • • •
Archivo de estado SLC
B–11
Dirección Clasificación Descripción
Fijo,
5/01
5/02 5/03 5/04
S:1/11 Configuración
estática
Bit de siempre cargar módulo de memoria
(# ' '  '# (' $(
#%%% ( $%#%!  $%##% # (
$%#%!  !,(#  !!#% ')#
* )#)#  ')%  !', +'% 
$%##%  $#')#  $%#%!,
#  %# #'(,  !('% 
!##  $%##% $(+  #
$% ( $%##%     * 

%#%!$%(
 
%  
 # $(+ 
$%#%!$%(
 
 # $(+ 
!%  
(  
%  
%#%!  
%  
%#%!  
%  
%#%!  
%#%!  
Modo después
del encendido
Modo antes
de la parada
%
%#%!
(
 # $(+ 
!%
 # $(+ 
 #
  
%!
  
  
%!
Modo después del
encendido (misma
posición de
interruptor de llave
Modo antes
de la parada
• •
•
•
•
Preface
Manual de referencia del juego de instrucciones
B–12
Dirección Clasificación Descripción
Fijo,
5/01
5/02 5/03 5/04
continuación
de S:1/11
Nota: Todos los modos en los procesadores
compactos, SLC 5/01 y SLC 5/02 se
consideran como remotos porque no tienen un
interruptor de llave.
 (!   ! !     
       
        $
   '  #   ' 
 (!   #  
   %  !
$        '
  '  
!  %     
       !! 
   (!     
         
  !  
El proceso de sobrescritura,
incluyendo las tablas de datos, se
repite cada vez que usted
desconecta y vuelve a conectar la
alimentación eléctrica.
!
      
 $    !  !( 
     !  
   (!  
• • • •
  !     
    
• •
Archivo de estado SLC
B–13
Dirección Clasificación Descripción
Fijo,
5/01
5/02 5/03 5/04
S:1/12 Configuración
estática
Bit de carga de módulo de memoria y marcha
     !  !  ! (
    !   '!
    $   (
         
'     
  %       (    (
     !    
    #' $ #'   

!   
   
!   
 
 
 
Modo después
del encendido
Modo antes
de la parada

!

 !
 
 !
 
  


  

Modo después del enĆ
cendido (misma posiĆ
ción de interr. de llave
Modo antes
de la parada
• •
•
•
•
Preface
Manual de referencia del juego de instrucciones
B–14
Dirección Clasificación Descripción
Fijo,
5/01
5/02 5/03 5/04
continuación
de S:1/12
Nota: Todos los modos en los procesadores
fijos, SLC 5/01 y SLC 5/02 se consideran
como remotos porque no tienen un interruptor
de llave.
 /%   !% %#$ #$  
#  $  $   
#$  #$   # *
#  $#.   )  $#. 
 /%  # )  #
#    $, # %
* #  #  $ $#. 
$#. #$
%  $, # #$  
  #$    %#% 
   /%   #   #
#$  $  # #  
  %  
Ejemplo de aplicación: #$*  )
  !% # % %$+$$
) # %$ %$  #(/ )
(/  $/ ,$ +#
 !% (  #  /% 
  $  # #  
  %  
Si usted deja el módulo de memoria
instalado, el proceso de sobrescriĆ
tura, incluyendo las tablas de datos,
se repite cada vez que desconecta y
vuelve a conectar la alimentación
eléctrica. El modo se cambia a
marcha REM durante cada
desconexión y reconexión de la
alimentación eléctrica.
!
  #$ $-#$
#$* #$ $ %#  %/ 
$  $# %  
   /%   #$
$-#$ # # $ 0$
% %#$ * )  # 
'   %#$# /%# 
 %#$ # #$ $-#$ 
$ # $%*#  / 
 /     # # #$ 
/
• • • •
#$ %   ## # #
 $#  
• •
Archivo de estado SLC
B–15
Dirección Clasificación Descripción
Fijo,
5/01
5/02 5/03 5/04
S:1/13 Configuración
dinámica
Bit de error mayor detenido
      
     ! 
    $  
   $    
$       
$       
  
•       
 !      
• • • •
•         
    #  
$       
    $ 
        
$     
   $   
         $ 
        
$        
     $
         
     
   !    
 
• • •
       
     $ 
      
   $  
 %    
       
 !      
     !
#   $
Nota Una vez que existe un estado de fallo
mayor, usted debe corregir la condición que
causa el fallo y también debe poner a cero
este bit para que el procesador acepte un
intento de cambio de modo (a programa REM,
marcha REM o prueba REM). Además, ponga
a cero S:6 para evitar tener un código de error
sin condición de fallo.
Nota: No vuelva a usar los códigos de error
definidos en la lista de códigos de error SLC
en el capítulo 16 como códigos de error
específicos para la aplicación. En cambio,
cree sus propios códigos únicos. Esto evita
que usted confunda los errores de aplicación
con errores de sistema. Recomendamos el
uso de los códigos de error FFOO a FFOF
para indicar los errores mayores específicos
para la aplicación.
• • • •
Preface
Manual de referencia del juego de instrucciones
B–16
Dirección Clasificación Descripción
Fijo,
5/01
5/02 5/03 5/04
continuación
de S:1/13
,% ,*+ '%  ) # +  
,*% ,% *'*+-  ') )$4% #
$  ')*) $  ## 
') )$ $)!  *,*'%*4%  ',*
* 5% # $ %+)) # ')*) ,
$-) ,% -#)   . *+#)   % #
') )$  *#) ') %)) ,% )))
$.) *'2 ') # '#4%
, ))) #* ##*   . 
*%+% . -#-%  %+) #
%+)),'+)  ##- )$ . #,  
   
Si usted pone a cero este bit con el
interruptor de llave en MARCHA, el
procesador entra inmediatamente en
el modo de MARCHA.
!
• •
S:1/14 Estado Bit de acceso negado (bloqueo OEM)
*+ ', ')$+)  % ) # * ,+,)
 ,% )!-  ')*) *+#/ *+
+ ') % ) # * *+ % (, ,%
*'*+-  ') )$4%  *'%) 
,% ' ))*'%%+ # )!- 
')*) % $$) ') $%+)/) #
') )$  *#)  % )1 # * 
,% *'*+-  ') )$4% (, %
*'%   ,% ' ))*'%%+ #
)!-  ')*)
) ') )$) *+ )+)2*+ *#%
0 * ,+,) % ')$+ # ,)) #
') )$ ) ')')%) ')+4%
%+) $%* %+#*  $%+)
 +*  # *#4% ') )$ ,%
%*+),4%  %%%# % # )4%
  ') % ) # * ,+,) ) )$
,% %*+),4%  %%%# % #
)4%   ') ')$+) # * ,+,)
,% *+ + * '%  ) % (,
+ *'*+-  ') )$4% $'+#
', ) # ') )$  *#)
*$') (, #* %%*  %+)*3
* ,$'#%
• • • •
,% # * * %  # *'*+- 
') )$4%     ', % )
# ') )$  *#) * ,%%* +#*
$ $  $ ))  $$)
)*+,)4%  ') )$ . +)%*)% 
$4,#  $$) * ')$+% %'%6
%+$%+  *+ *#4% *+ ,%4%
% + ,% *'*+- $
Archivo de estado SLC
B–17
Dirección Clasificación Descripción
Fijo,
5/01
5/02 5/03 5/04
S:1/15 Estado Bit de primer paso
% %  $  *$ %' $!$
%/ ! $#'$  .  ' ! %
 % %! !$  $!%!$  
#'  $$ %+  $!$  '%'$!
%+  $!$%! %',%    ! 
 !!    !   $   !!
 $   ! $'   
$!%!$ !   $! %  %',% 
$$ %+ 
' ! %  % !   $!   #' 
$!$ ! %+   $$ %+  '
!!  $'   ! $  
• • • •
%  % % '$   '. 
 $'   !  $!.    !
,$%   $ ! $ +%
 !$. 
• • •
S:2/0 Estado Bit de STI (interrupción temporizada
seleccionable) pendiente
' ! % %! %    #' 
!$*!$   %!$%!  - 
! ) #'  $'   %$  '. 
%  % !   $! ' ! ! * 
$'     ! %  !! 
$   ! '.  '   %$'.
 ($$
• • •
       ! % % % 
!$*!$  ' '$   '.
  $'   !
•
%  % % %  !$*!$ 
' '$   '.   %'$' 
 ! $'   !
• •
Preface
Manual de referencia del juego de instrucciones
B–18
Dirección Clasificación Descripción Fijo,
5/01
5/02 5/03 5/04
S:2/1 Configuración
estática
Bit de STI (interrupción temporizada
seleccionable) habilitada
*+ !+ * *+# % *, %!!4% ')+)6
$!%  ,% * *+#! ') # !%*+),6
!4%    ! * *+#! ')$!+ #
,!4%  #  *! # ) !-    / #
',%+  ,*+    *% !*+!%+*  )
! *+1 ',*+  ) ,% ,)) ,% !%+6
)),'!4% # *,),+!%  % * ,+ / # !+
  '%!%+ * *+# # +$')!0)
 %+!%5 ,%!%% ,% *+1 !% !#!6
+  !%*+),!4%  '%  ) *+ !+
• • •
Configuración
dinámica
* # ,%!4% # $%!+)  +* ') *+#6
) / '%)  ) *+ !+  !)!% *+ !+
% *, '))$  #4!  *#) *+ !+
* *+# % *, %!!4% ')+)$!% 
,% * *+#! ') # !%*+),!4%  
 ! * *+#! ')$!+ # ,!4% 
#  *! # ) !-  '#)  / -#!
 '#)  *% !*+!%+*  ) ! *+1
',*+  ) # *,),+!%  % * ,+ / #
!+   '%!%+ * *+# #
+$')!0) %+!%5 ,%!%% 
!%*+),!4%  '%  ) *+ !+
• •
S:2/2 Estdo Bit de ejecución STI (interrupción
temporizada seleccionable)
,% * *+#! *+ !+ !%! (, #
+$')!0)  *)'* # #3$!+ 
+!$' / (, # *,),+!%  * *+1 ,+6
% +,#$%+ *+ !+ * '%  )
,% * +)$!% # ),+!%  %%!  
# %+) % # $  $)  
Ejemplo de ejecución: *+ ',
.$!%) *+ !+ % *, ),+!%  ## ')
+)$!%) *! *,  * *+ ,+%
,% ,))!4 # ##
• • •
S:2/3 Configuración
estática
Bit de límite de archivo de dirección. de índice
,% *+1 ',*+  ) # )!*+)  3%!6
 ', !%.) *#$%+ %+) # $!*$
) !-  +*  # !)!4%  * *'6
!! ,% * *+#! # )!*+) 
3%! ', !%.) % +* ')+* * #
) !-  +*   # !%# # 5#+!$
) !-  +* #) *+ !+ *
*#!% ,% * ,) # '))$
• • •
* ')*)*   /   #
')$!+% !%.) *   # 5#+!$ ) !- 
+*
+ $%$* $!) *+ !+ % #
$ ,)  #3% *#$%+ ,) #
'))$) *',2*  $!) # !+
• •
Archivo de estado SLC
B–19
Dirección Clasificación Descripción
Fijo,
5/01
5/02 5/03 5/04
S:2/4 Configuración
estática
Bit de guardado con prueba de un solo paso
habilitado
' ! % !$$  ' -  !!  ' 
$'  ' %!! %! ! %+ %!  
!$$! ,   #' !% $%$!% 
'$-      ! ' !   ' !
% %  $!$ ' ' ! $ 
 !!  $'  ' %!! %!  %
%$! %       ' ! %
%! %' $!$ $#'$ 
$%   %$'-  )% !$ $ -
 !$ !  %  % %! 
 '$$  $!$$
• • •
Nota: Este bit no se aplica a los procesadores
SLC 5/03 y SLC 5/04 ya que su funcionaĆ
bilidad siempre está disponible y no requiere
selección de tiempo de compilación especial.
• •
S:2/5 Estado Bit de comando entrante pendiente (canal 1)
%  % % ' !  $!%!$
$  #' !$! !!   $ 
%!!  !$- !   $!!$! !
' ! ! %  % ' %$ 
!! ! ! %  % !   $!
' !  $!%!$   %$(!  
- ! ! !
% %  !! ! -  ' 
 %$'-  $ !$$   
!' !  $!%!$
• • •
S:2/6 Estado Bit de respuesta de mensaje pendiente
(canal 1)
%  % % ' ! !$! !!  
$  $!!$! !   !$- #' '%
%!-    %$'-   $!%!$
%  % !   $! ' !  $!%!$
    !$- ) '* 
 %$'- 
% %  !! ! -  ' 
 %$'-  $ !$$   
!' -  $!%!$
• • •
Preface
Manual de referencia del juego de instrucciones
B–20
Dirección Clasificación Descripción
Fijo,
5/01
5/02 5/03 5/04
S:2/7 Status Bit de comando de mensaje de salida
pendiente (canal 1)
Este bit se establece cuando hay uno o más
mensajes habilitados y de espera en el
programa, pero no se transmite un mensaje. En
cuanto comienza la transmisión de un mensaje,
el bit se pone a cero. Después de la
transmisión, el bit se vuelve a establecer si hay
otros mensajes de espera. Permanece puesto a
cero si no hay más mensajes de espera.
Use este bit como condición de una instrucción
SVC para mejorar la comunicación del
procesador.
• • •
S:2/8 Configuración
dinámica
Modo de direccionamiento CIF (archivo de
interface común)
Se aplica a los procesadores SLC 5/02, SLC
5/03 y SLC 5/04.
Este bit controla el modo usado por los procesaĆ
dores SLC 5/02, SLC 5/03 y SLC 5/04 para
direccionar elementos en el archivo CIF (archivo
de datos 9) cuando se procesa una petición de
comunicación.
Modo de dirección de palabra - vigente cuando
el bit se pone a cero (0): Este es el modo
predeterminado compatible con otros dispositivos
SLC 500 en la red DHĆ485.
Modo de dirección de byte - vigente cuando el
bit se establece (1): Este modo se usa cuando
los procesadores SLC 5/02, SLC 5/03 y SLC
5/04 reciben un mensaje desde un dispositivo en
la red, posiblemente por un puente o gateĆ way.
Este establecimiento es compatible con la
comunicación de interprocesador PLC de
AllenĆBradley.
• • •
S:2/9 Configuración
estática
Comparación de programa de módulo de
memoria
Cuando este bit es establecido dentro de un
programa válido contenido en un módulo de
memoria, no se permite la modificación de los
archivos de programa de usuario NVRAM. Esto
incluye los comandos de edición en línea,
descarga de programa y borrado de memoria.
Use esta característica para evitar que un
dispositivo de programación modifique el
programa NVRAM desde el programa contenido
en el módulo de memoria. Si un módulo de
memoria se instala con este bit establecido y un
programa de usuario NVRAM diferente es
contenido en NVRAM, el procesador no entra en
el modo de marcha. Usted debe transferir el
programa de módulo de memoria a NVRAM
para entrar en el modo de marcha.
• •
Archivo de estado SLC
B–21
Dirección Clasificación Descripción
Fijo,
5/01
5/02 5/03 5/04
S:2/10 Configuración
estática
Bit de selección de resolución STI
(1 ms ó 10 ms)
*+ !+ *+1 ',*+  ) ')+)$!%5
$%+ ,% *+1 ',*+  ) *+ !+ ,*
,% *  +!$'   $* ') # -#) #
',%+  ,*+    ) $'# # -#)
,* ,% ',%+  ,*+    $*
,% * *+#! *+ !+ ,* ,% * 
+!$'   $* ') # ',%+  ,*+ 
  ) $'# # -#) ,* ,% ',%+ 
,*+   $* ) '))$) *+
)+)2*+! ,* # ,%!3%  $%!+)  +*
') *+#) '%)  )  !)!%) *+
!+ % # '))$  *#)
• •
S:2/11 Estado Bit de interrupción de entrada discreta
pendiente
,% * *+#! *+ !+ !%! (, #
,$,#)    * !,# # -#) 
')+)$!%   / (, # %4$) 
) !-  *#) *'!! ') #
%4$)  ) !-    *') *,
,!3%  '%  ) ,% # %4$)
 ) !-    $!%0  ,+)* 
,% *# # $  $)   
'), 
• •
S:2/12 Configuración
dinámica
Bit de interrupción de entrada discreta
habilitada
) '))$) *+ )+)2*+! ,* #
,%!3%  $%!+)  +* ') *+#)
'%)  )  !)!%) *+ !+ % #
'))$  *#) *+ !+ * *+#
% *, %!!3% ')+)$!% ! *
*+#! ')$!+ # ,!3%  #
*,),+!%  *! # ) !-    * !*+!%
 ) ! *+1 ',*+  ) ,% ,))
# !%+)),'!3% # *,),+!%  % * ,+ /
# !+   '%!%+ * '!)  ,%!3%
 %+!%4 ,%!%% ,% # ) !- 
  * !*+!%+  ) ! # !+ '%!%+
* *+# # !+  !#!+!3% * .$!%
# ')3.!$ !%#  *1%
• •
S:2/13 Estado Bit de ejec. de interrupción de entrada discreta
,% * *+#! *+ !+ !%! (, #
!%+)),'!3%   ,))! / (, # *,),+!% 
* *+1 ,+% *+ !+ * '%  )
,% * +)$!% # ),+!%  ,)%+ #
%%!   # %+) % # $  $) 

Ejemplo de aplicación: *+ ',
.$!%) *+ !+ % # ),+!%  ## ')
+)$!%) *! #  *+ ,+1%*
,% ,))!3 # ##
• •
Preface
Manual de referencia del juego de instrucciones
B–22
Dirección Clasificación Descripción
Fijo,
5/01
5/02 5/03 5/04
S:2/14 Configuración
dinámica
Bit de selección de overflow matemático
Se aplica a los procesadores SLC 502, SLC
5/03 y SLC 5/04.
Establezca este bit cuando usted vaya a a
usar la adición o resta de 32 bits. Cuando
S:2/14 es establecido y el resultado de una
instrucción ADD, SUB, MUL o DIV no se
puede representar en la dirección de destino
(underflow u overflow),
• el bit de overflow S:0/1 se establece,
• el bit de interrupción por overflow S:5/0 se
establece, y
• la dirección de destino contiene los 16 bits
sin signo truncados y menos significativos
del resultado.
La condición predeterminada de S:2/14 se
restablece (0). Cuando S:2/14 se restablece y
el resultado de una instrucción ADD, SUB,
MUL o DIV no se puede representar en la
dirección de destino (underflow u overflow),
• el bit de overflow S:0/1 se establece,
• el bit de interrupción por overflow S:5/0 se
establece, y
• la dirección de destino contiene 32767 si el
resultado es positivo o -32768 si el
resultado es negativo.
Nota: El estado de bit S:2/14 no afecta la
instrucción DDV. Además, no afecta el
contenido del registro matemático cuando se
usan instrucciones MUL y DIV.
Para programar esta característica, use la
función de monitor de datos para establecer o
pone a cero este bit. Para proporcionar
protección contra la modificación accidental de
monitor de datos de su selección, programe
una instrucción OTL incondicional en la
dirección S:2/14 para asegurar la operación de
overflow matemático nuevo. Programe una
instrucción incondicional OTU en la dirección
S:2/14 para asegurar la operación de overflow
matemático original.
Vea el capítulo 3 de este manual para obtener
un ejemplo de matemática de 32 bits con
signo .
• • •
Archivo de estado SLC
B–23
Dirección Clasificación Descripción
Fijo,
5/01
5/02 5/03 5/04
S:2/15 Configuración
dinámica
Bit de selección de servicio de
comunicaciones (canal 1 de DH+ para SLC
5/04) (canal 1 DH485 para SLC 5/03)
• • •
Cuando este bit es establecido, solamente una
petición/comando de comunicación puede recibir
servicio por END, TND, REF o SVC. Cuando se
pone a cero, todas las peticiones/comandos de
comunicación de entrada o salida pueden recibir
servicio según END, TND, REF o SVC. Cuando
se pone a cero, la transferencia de comunicación
se incrementa. Sin embargo, el tiempo de escán
se incrementa si varias peticiones/comandos de
comunicación se reciben en el mismo escán.
Una petición/comando de comunicación consiste
en un comando de entrada, una respuesta de
mensaje o un comando de mensaje de salida.
Vea S:2/5, S:2/6 y S:2/7 y S:33/7 (procesadores
SLC 5/03 y SLC 5/04).
Para programar esta característica, use la
función de monitor de datos para establecer o
poner a cero este bit. Para proporcionar
protección contra la modificación accidental del
monitor de datos de su selección, programe una
instrucción OTL incondicional en la dirección
S:2/15 para asegurar la operación de una
petición/comando o programe una instrucción
OTU incondicional en la dirección S:2/15 para
asegurar la operación de peticiones/comandos
múltiples. Como alternativa, su programa puede
cambiar el estado de este bit usando la lógica de
escalera si la aplicación requiere la selección
dinámica de esta función.
Ejemplo de aplicación: Digamos que usted
tiene un sistema que consiste en un
procesador SLC 5/02, SLC 5/03 ó SLC 5/04,
un programador APS y un DTAM. El tiempo
de escán del programa para el programa de
usuario es sumamente extenso. Por eso, el
dispositivo de programación o DTAM tarda
muchísimo tiempo para actualizar la pantalla.
Usted puede mejorar este tiempo de
actualización poniendo a cero S:2/15.
En tal caso, el tiempo adicional tomado por el
procesador para dar servicio a toda la
comunicación al final del escán es de
insignificante en comparación con el tiempo
requerido para finalizar un escán. Usted
podría incrementar la transferencia de
comunicación aun más usando una instrucción
SVC. Vea el capítulo 8 en este manual para
obtener más información.
Preface
Manual de referencia del juego de instrucciones
B–24
Dirección Clasificación Descripción
Fijo,
5/01
5/02 5/03 5/04
S:3L Estado Tiempo de escán de 10 ms actual/último
! +!$'  () -) ! #$' */#)$ )%$
)'#(*'' *'#) *# !$  %'$' #
!$  %'$' #!*-
• ! (/# ! %'$'  (!'
• ! !%.
• ! (/#   -
• ! ('+$ %' ! %*')$  $*#0#
! +!$'  -) ( %$#  '$ %$' !
%'$($' *'#)  (/# *()$ #)( 
!  *0#  '#!0#  ! '+$ 
%'$' '+$  %'$' %'#%! $
*#$ ')$'#  ! #()'*0#  (
( %*#)$ # !#) ! -) ( #'#)
  ( ! #)  )%$
)'#(*''$ #  !$  %'$' 
() +!$' ( *! ! +!$' # ! $#)'$!
,)$   ( !' *# ''$' -$'
 $#)'$! ,)$  *(*'$ 0$
 
 '($!*0# ! +!$'  )%$  (/# (
  ±  (  %!$ ! +!$' # *
  ( # )'#(*''$ ( ! #$ !
!$  %'$'
Nota: Cuando las instrucciones SVC o REF
son contenidos en el programa, este valor
parecer ser irregular cuando usted lo
monitoriza con un dispositivo de
programación. Esto se debe a que las
instrucciones SVC o REF permiten que este
valor se lea en medio del escán mientras
todavía se está incrementando.
• •
• • •
Archivo de estado SLC
B–25
Dirección Clasificación Descripción
Fijo,
5/01
5/02 5/03 5/04
continuación
de S:3L
(JMP)
]LBL[
1
1
LES
LESS THAN
Source A N7:0
Source B 5
MOV
MOVE
Source S:3
Dest N7:0
AND
BITWISE AND
Source A 255
Source B N7:0
Dest N7:0
Ejemplo de aplicación:  )
       
! !       !
 !   !    $ %
' %       %   
      
$!!      
 !   *!
  
!          % 
#   ) ! 
     $      ) 
!    ±      ( 
!
Preface
Manual de referencia del juego de instrucciones
B–26
Dirección Clasificación Descripción
Fijo,
5/01
5/02 5/03 5/04
S:3H Configuración
dinámica
Byte de tiempo de escán de control
(watchdog)
Este valor de byte contiene el número de tics
de 10 ms que se permite que ocurran durante
un ciclo de programa. El valor predeterminado
es 10 (100 ms), pero usted puede incremenĆ
tarlo a 250 (2.5 segundos) o disminuirlo a 2,
según lo requiera la aplicación. Si el valor de
escán de programa S:3L es igual al valor de
control (watchdog), un error mayor de control
(watchdog) se realiza (código 0022). Este
valor se aplica a cada END, TND o REF.
• • • •
S:4 Estado Reloj de marcha libre
Solamente los 8 primeros bytes (valor de byte)
de esta palabra son evaluados por el
procesador. Este valor se pone a cero al
momento de encendido en el modo de marcha
REM.
Usted puede usar cualquier bit individual de
este byte en el programa de usuario como bit
de reloj de ciclo de trabajo de 50%. Las
velocidades de reloj para S:4/0 a S:4/7 son:
20, 40, 80, 160, 320, 640, 1280 y 2560 ms
La aplicación que usa el bit se debe evaluar a
una velocidad dos veces más rápida que la
velocidad de reloj del bit. Esto se ilustra en el
ejemplo siguiente para los procesadores
SLC 5/02, SLC 5/03 y SLC 5/04.
•
Archivo de estado SLC
B–27
Continuación Clasificación Descripción
Fijo,
5/01
5/02 5/03 5/04
continuación
de S:4
Configuración
dinámica
Todos los 16 bits de esta palabra son
evaluados por el procesador. El valor de esta
palabra se pone a cero al momento de
encendido en el modo de marcha REM o
cuando entra en el modo de marcha REM o
prueba REM. A partir de entonces, se
incrementa cada 10 ms.
• • •
( )
] [
Nota de aplicación: Usted puede escribir
cualquier valor a S:4. Comenzará a
incrementarse a partir de este valor.
Puede usar cualquier bit individual de esta
palabra en el programa de usuario como bit
de reloj de ciclo de trabajo de 50%. Las
velocidades de reloj para S:4/0 a S:4/15 son:
20, 40, 80, 160, 320, 640, 1280, 2560,
5120, 10240, 20480, 40960, 81920,
163840, 327680 y 655360 ms
La aplicación que usa el bit se debe evaluar a
una velocidad dos veces más rápida que la
velocidad de reloj del bit. En el ejemplo
siguiente, el bit S:4/3 alterna cada 80 ms, lo
cual produce una velocidad de reloj de
160 ms. Para mantener la exactitud de este
bit en la aplicación, la instrucción que usa el
bit S:4/3 (en este caso O:1/0) se debe evaluar
por lo menos una vez cada 79.999 ms.
160 ms
ciclo de S:4/3: 160 ms
El S:4/3 y la salida
O:1/0 alternan cada
80 ms. O:1/0 se debe
evaluar por lo menos
una vez cada
79.999 ms.
S:4
3
O:1
0
S:5 Bit de error menor
Los bits de esta palabra son establecidos por
el procesador para indicar que un error menor
ha ocurrido en el programa de escalera. Los
errores menores, bits 0 a 7, vuelve a ser el
error mayor 0020H si un bit se detecta como
establecido al final del escán. Al usuario HHT:
Si el procesador está con fallo con el código
de error 0020H, debe poner a cero los bits de
error menor S:5/0-7 junto con S:1/13 para
intentar una recuperación de error.
• • • •
Preface
Manual de referencia del juego de instrucciones
B–28
Dirección Clasificación Descripción
Fijo,
5/01
5/02 5/03 5/04
S:5/0 Configuración
dinámica
Bit de interrupción por overflow
0) * !./! %/ !. !./'!% * +*- !'
+-*!. *- %) % ,0! 0) *1!-'*2
(/!(6/%* $ *0--% * !) !' +-*#-( !
!.'!- !   +- */!)!- (6.
%)*-(%8)
% !./! %/ .! !./'!! 0) * .! !!0/ '
%)./-0%8)   *  0) !--*- (4*-
 .! -!'%5 - !1%/- ' *%)% !)%
! !./! /%+* ! !--*- (4*- !3(%)! !' !./ *
! !./! %/ !.+07. ! 0) %)./-0%8)
(/!(6/%       
   *  /*(! ' %8) (6.
 !0  4 '0!#* +*)#  !-* !' %/  
0.) * 0) %)./-0%8)  *)   8 0)
%)./-0%8)  *)  
• • • •
S:5/1 NA Reservado • • • •
S:5/2 Configuración
dinámica
Bit de error de registro de control
. %)./-0%*)!.     
   4  .*) +!. !
#!)!-- !./! !--*- 0) * !' %/   .!
!./'!! %) % ,0! !' %/ ! !--*- ! '
%)./-0%8) ! *)/-*' $ .% * !./'!% *
% !./! %/ .! !./'!! 0) * .! !!0/ '
%)./-0%8)   *  !' !--*- (4*-
 .! -!'%5 - !1%/- ' *%)% !)%
! !./! /%+* ! !--*- (4*- !3(%)! !' !./ *
! !./! %/  *)/%)0%8) ! 0) %)./-0%8)
! -!#%./-* ! *)/-*' /*(! ' %8) (6.
 !0  4 '0!#* +*)#  !-* !' %/  
0.) * 0) %)./-0%8)  *)   8 0)
%)./-0%8) *)  
• • • •
Archivo de estado SLC
B–29
Dirección Clasificación Descripción
Fijo,
5/01
5/02 5/03 5/04
S:5/3 Configuración
dinámica
Bit de error mayor detectado durante la
ejecución de rutina de fallo de usuario
0) * !. !./'!% * !./! %/ !' 8 %#* !
!--*- (3*-   -!+-!.!)/ !' !--*- (3*-
,0! *0--%8 0-)/! !' +-*!.(%!)/* ! '
-0/%) ! ''* !% *  */-* !--*- (3*-
% !./! %/ .! !./'!! 0) * .! !!0/ '
%)./-0%8)   *  !' !--*- (3*-
  .! -!'%4 - !1%/- ' *%)% !)%
! !./! /%+* ! !--*- (3*- !2(%)! !' !./ *
! !./! %/ !)/-* ! ' -0/%) ! ''* /*(! '
%8) (5.  !0  3 '0!#* +*)#  !-*
!' %/   0.) * 0) %)./-0%8)  *)
  8 0) %)./-0%8)  *)  
Ejemplo de aplicación: 0+*)#(*. ,0!
0./! !!0/ 0) -0/%) ! ''* +- !' 8 %#*
! ''*   ! +-*/!%8) ! !)!) % *
) !' -!)#'8) !)/-* ! !./ -0/%) ! ''*
0)  ,0! *)/%!)! 0) 1'*-
+-!.!'!%*) * )!#/%1* .! !!0/ 0) *
!' -!)#'8) .! !!0/ !' 8 %#* ! ''*
  .! .*-!.-%! +- %) %- !' 8 %#*
  3   .! !./'!!
% .0 -0/%) ! ''* )* !/!-(%)8 ,0!   .!
!./'!%8 !' !--*- (3*-   .! -!'%4-7
' %)' !' +-%(!- !.5) - !1%/- !./!
+-*'!( !2(%)!    .!#0% * +*-  
)/!. ! -!/*-)- ! ' -0/%) ! ''* %  
.! !./'!! /*(! ' %8) (5.  !0 
+- -!(! %- !' ''* 3 '0!#* +*)#  !-*
  
• • •
S:5/4 Configuración
dinámica
Bit de M0-M1 indicados en ranura
inhabilitada
./! %/ .! !./'!! 0) * 0) %)./-0%8)
$! -!!-!)%  0) !'!(!)/* ! -$%1* !
(8 0'*  8  +- 0) -)0- ,0! .!
%)$%'%/8 17 !' %/ ! $%'%/%8) ! -)0-
!  0) * !. !./'!% * !' %/ %) %
,0! 0) %)./-0%8) )* .! +0 * !!0/-
*--!/(!)/! !% *  ' '/ !
%.+*)%%'%  ! '*. /*.  8 
%-!%*) *.
% !./! %/ .! !./'!! 0) * .! !!0/ '
%)./-0%8)   *  !' !--*- (3*-
  .! -!'%4 - !1%/- ' *%)% !)%
! !./! /%+* ! !--*- (3*- !2(%)! !' !./ *
! !./! %/ !.+06. ! 0) %)./-0%8) !
 -!!-!)%  /*(! ' %8) (5.
 !0  3 '0!#* +*)#  !-* !' %/  
0.) * 0) %)./-0%8)  *)   8 0)
%)./-0%8)  *)  
• • •
Preface
Manual de referencia del juego de instrucciones
B–30
Dirección Clasificación Descripción
Fijo,
5/01
5/02 5/03 5/04
S:5/5 a
S:5/7
NA Reservado
%) #%  %%% !% $(
)()!  % %%% +%  ! 
-!
• • • •
S:5/8 Estado Bit de arranque del módulo de memoria
(! ' '  ' #% 
#%% ! $( (! #%%   1(
  %   '%!%  #%%
' ' !  #('  % #%  #%%
 #%%  #( * !%  '  '
' (! !'% !    %  
#% '% !%   !'!  1( 
 %   '%!%  '   
' #% !%  !'% !   
%   ' !% 1!  2' (!
(' '! (! #1! $( !'! '
%'!') + (! 1(   % !
 !'  '   '  1( 
 %  % !  %%%   % 
' ' #% !% $(  ' %'!') 
! #% ' ' ' .!  2' (! 
(!  '    1(   % 
% #% !!'     1( 
 %  % #% !!' + % #%
%!% (! !'% !    %
    !'  !!  (! !'%
!    #%%     #%(  
   %  
• • • •
S:5/9 Estado Bit de correspondencia incorrecta de
contraseñas de módulo de memoria
' '  ' (!  !'% ! 
  %   (!  % 
 1(   %  #
#%  '  1  +  #%%  
((%  #%% '! #%'1! !
!'%0 +  #%%   1( 
 % ! %%#!   !'%0
 ' ' #% !%  #%%  
#1! $( (! 1(   % 
% (' -'  !(!'% !' #%
!  %1   (! ( 
!'%0
• • • •
S:5/10 Estado Bit de overflow STI (interr. temporizada
seleccionable)
' '  ' (!  ' #%,%
 ( (%!'  (1!  !'  
%('!    ' #!!' +  '
• • •
S:5/11 Estado Bit de batería baja
' '  ' (!   
'%/   ( !  '  #!  %
(!    '%/   #
• • •
Archivo de estado SLC
B–31
Dirección Clasificación Descripción
Fijo,
5/01
5/02 5/03 5/04
S:5/12 Estado Bit de overflow de interrupción de entrada
discreta
        
 '     '  
        '
       

• •
S:5/13 Configuración
dinámica
Se intentó carga sin éxito del sistema de
operación
        
 '      ! $
    #    #
          
'  %   '   
 '      
'      
       '
  #      
       
'
• •
Preface
Manual de referencia del juego de instrucciones
B–32
Dirección Clasificación Descripción
Fijo,
5/01
5/02 5/03 5/04
S:5/14 Estado Módem de canal 0 perdido
Este bit indica el estado del módem conectado
al canal 0 (puerto en serie RS232). El estado
de este bit es determinado por:
• el protocolo para el cual el canal 0
ha sido configurado
• la línea de control seleccionada
• los estados de DCD (detección de portador
de datos) y DSR (conjunto de datos
listo)
Si el bit es establecido, el módem no está bien
conectado al canal 0 ó está en un estado
donde pueden ocurrir cambios de
comunicación no confiables vía el canal 0.
Las condiciones siguientes se aplican:
• Si el canal 0 se inhabilita o se configura
para DH485, el bit siempre se pone a cero.
• Si el canal 0 se configura para uno de los
protocolos DF1 en el modo de sistema o modo
de usuario de ASCII genérico, la selección de
la línea de control determina cómo DCD y
DSR afectan el estado de módem:
- Si la línea de control = NINGUNA
COMUNICACION: El bit siempre es
establecido.
- Si la línea de control = FULL DUPLEX o
HALF DUPLEX SIN ACARREO CONSTANTE:
El bit se restablece si DSR está inactivo y
puesto a cero cuando DSR se activa. (En este
caso, DCD no afecta el estado de módem.)
• •
S:5/15 Estado Manejo de la cadena ASCII
Este bit se aplica a los procesadores SLC 5/03
con OS301, OS302 y SLC 5/04 con OS400,
OS401.
Este bit se establece a 1 cuando se intenta
procesar una cadena usando una instrucción
ASCII que exceda la longitud de 82
caracteres.
• •
Archivo de estado SLC
B–33
Dirección Clasificación Descripción
Fijo
5/01
5/02 5/03 5/04
S:6 Estado Código de fallo de error mayor
 .! ) %  $!'  %
$ !$  $!%!$ ' ! ' $$!$
*!$ % $+ -$%    
.!    !  ! %/ !  !
 % , % %' % % $ ! %
!$$ !$  $!%!$
!% .!%  $$!$ %! $% !%
 !% * !%$!%  !$!
) -$%  -  $
! $ ,%  !$. $  %%
 '$. )
• • • •
 '%  $!' ' .!  ! !!
$,$!  '   %$'.  $!$ 
%$  ! ($$  .!  
!$ ! % $!$ '   %$'. 
#' %  ($$ ' ! !'$$ ' $$!$
  $!'+   !! '  *  el
equivalente decimal    !! '  
EQU
EQUAL
Source A S:6
Source B 22
• • •
Preface
Manual de referencia del juego de instrucciones
B–34
Dirección Clasificación Descripción
Fijo,
5/01
5/02 5/03 5/04
continuación
de S:6
Fallo de usuario
no recuuperable
 ),+!%  ##
* ,+ ,)%+
 '* *+
', !%!!) ,%
!%*+),!3%  
+) % ')
!%+!!) #
%!!3%  ##
# ')*)
Fallo no
atribuible
al usuario
 ),+!%
 ##
% *
,+
* *)!'!%* / #*!!!%* #
3!  ))) ')% % #* '0!%*
    * +)2* *%
• )))*  %%!
• )))*  !  $) 
• )))*  +!$'  ,!3%
• ))))*  !%*+),!3% # '))$
 ,*,)!
• )))*  
 # '2+,#   *+ $%,# ')
+%) !%)$!3% )  # ,* /
),')!3%  ##*
Ejemplo de aplicación *+ ',
#)) *, ')'! ## $/) *'2!
') # '#!!3% *)!!% ,% -#) 4%!
  / #, *+#!% # !+  
Al usuario del procesador SLC 5/02
%+)), # -#)   % # ),+!% 
## ') +)$!%) # +!'  ## (,
,))!3 ! # '))$ * ,)3 % #
'),  ,% *# '* !#!+ +$!1%
', !%+)))   /   ') ')!*)
# )%#3% .+ (, * ,+3 ,%
,))!3 # ##
#*!!!%*  ## * ##* *
#*!!% $ % +)!,!#* # ,*,)! %
),')#* / ),')#*
Fallo de
usuario
recuperable
 ),+!% 
## ',
))) #
##
'%!% 
) # !+
 
• • • •
Archivo de estado SLC
B–35
Clasificación de fallo Procesador
Usuario
DirecĆ
ción
Código
de error
(hex)
Errores de encendido
No
usuario
No
recuperable
RecuĆ
perable
Fijo
5/01
5/02 5/03 5/04
S:6 0001    X • • • •
0002
  
    
     
 
X • • • •
0003
    #
    
 !  
      
    
X • • •
0005   X • •
0006   X • •
0007
      
 #   
X • •
0008      X • •
0009       X • •
Preface
Manual de referencia del juego de instrucciones
B–36
Clasificación de fallo Procesador
Usuario
DirecĆ
ción
Código
de error
(hex)
Errores de ida a marcha
No
usuario
No
recuperable
Recup.
Fijo
5/01
5/02 5/03 5/04
S:6 0010  $#'# # )!$ #
 *  *'0 %)#
X • • • •
0011  *#  $#!
)( #  '(- )'((
X • • • •
0012  $#!  ' 
( ) #  !!#
X • • • •
0013
•  !0) #  !!#
%)# '(- )'( #
•   0   # '
'( # #!# #
%)  $#!
X • • • •
0014 #  *# (# X • • • •
0015 #  *# 
#)0
X • • • •
0016
#(0  #
'$).'   $. 
! . #0  #
+'(  !#!(# 
# )#  (  
' '( ,  ()$0
#)0 )(  )0
X • • •
0017
')   $#!
 )')#  !0) # 
!!# 
X • •
0018
#!  )')# #
#!$(   ')  
($#  ''(! #$(*#
'( # (!. $)
#) )(  #
X • •
0019  ((0 (%)(  ((
# )$ 
X • •
001F
 $# !  (
 $#! )( )
''0  0  /
X • •
0004 #  !!# #)0 
 !##  !
X • • •
0020
 (  # !# '
'(     '-
.'  #' ('   
# !#
X • • • •
Archivo de estado SLC
B–37
Clasificación de fallo Procesador
Usuario
DirecĆ
ción
Código
de error
(hex)
Errores de tiempo de
ejecución
No
usuario
No
recuperable
Recup.
Fijo,
5/01
5/02 5/03 5/04
S:6 0021     ! 
      
  
Nota Un sistema modular
que encuentra una condición
de sobretensión o sobrecoĆ
rriente en las fuentes de alim.
eléc. pueden producir cualĆ
quiera de los códigos de error
de E/S listados en las páginas
B-42 y B-43 (en vez de
código 0021). La condición
de sobretensión o sobrecoĆ
rriente se indica por el LED de
fuente de alim. eléc. apagado.
Procesadores comĆ
pactos y SLC 5/01
FRN 1 a 4 - si el fallo
de alim. eléc. remota
ocurrió mientras que
el procesador estuĆ
viera en el modo de
marcha REM, el error
0021 causará que el
bit de error mayor
detenido (S:1/13) se
ponga a cero durante
el próximo encendido
del chasis local.
Procesadores SLC
5/02 y SLC 5/01 FRN
5 - No es necesario
desconectar y volver
a conectar la alim.
eléc. al chasis local
para reanudar el
modo de marcha
REM. Una vez que el
chasis remoto se
reactiva, la CPU
vuelve a iniciar el
sistema.
!
X • • • •
0022
      
      
   
X • • • •
0023   
    
X • • •
Preface
Manual de referencia del juego de instrucciones
B–38
Clasificación de fallo Procesador
Usuario
DirecĆ
ción
Código
de error
(hex)
Errores de tiempo de
ejecución
No
usuario
No
recuperable
Recup.
Fijo,
5/01
5/02 5/03 5/04
S:6 0024
%#'  %##!- 
 '+ ) #   
$ %' 
X • • •
0025
($  !#  
!$  !# 
#% 
X • • •
0026
($  !#  
!$  !# 
#%  %##!-  
X • • •
0027
($  !#  
!$  !# 
#%    $# 
X • • •
0028
 #  #'  #% 
  *!# %- 
  '+ 
($%%
X • • •
0029
#  #-
( #  %  
$!  #'  % $
,%    .%
#' 
El procesador
X •
0029
!
El procesador
SLC 5/02 usa un
valor de índice
de cero para la
instrucción con
fallo después de
la recuperación
de error.
X • •
002A
 ##  #-
( $ %# #
  $ ,%$  #' 
% $ ##
$!, 
X • • •
002B
 .#  #' ($%
!#  $  %!  #'
 ##%  .# 
#'  ($%
X • •
Archivo de estado SLC
B–39
Clasificación de fallo Procesador
Usuario
DirecĆ
ción
Código
de error
(hex)
Errores de tiempo de
ejecución
No
usuario
No
recuperable
Recup.
Fijo,
5/01
5/02 5/03 5/04
S:6 002C
  ! ! $$!
!$ ! )% #$ 
#  $( % $$ *
)% $  #
   #$ 
% ! ( % 
X • •
002D
! %' ! ! '!
$$! !$$  % 
$+ '! $$!
!$  '! $( 
X • •
002E
!'$  !$ !
(,
X • •
002F
$(  !$$'#-!
! (,  ! )%!
X • •
Preface
Manual de referencia del juego de instrucciones
B–40
CODIGOS DE ERROR: %) (*() -- $ %) 1 %)
) + $*) (()$*$  $2#(%  ($+( $ - #
  ($+( -* $% ) + *(# $( %) (*() --
) %$, (*$ $ 
FALLOS RECUPERABLES (%)%()    
 .    +%) %)   )%$ (+()
( (+(%) +)*  $  *(  ($+(
)   -- $  (+* $  %  +)+( %  $%
$  *  ($+( --  (%)%( )*(/ %$ %   $
 )/$
Nota: Una tarjeta de E/S que está muy dañada, puede
causar que el procesador indique la existencia de un error en
el renglón 1 aunque la tarjeta dañada se encuentre
instalada en un renglón distinto de 1.
Ran. xx
0 00
1 01
2 02
** 3 03
4 04
5 05
6 06
7 07
Ran. xx
8 08
9 09
10 0A
11 0B
12 0C
13 0D
14 0E
15 0F
Ran. xx
16 10
17 11
18 12
19 13
20 14
21 15
22 16
23 17
Ran. xx
24 18
25 19
26 1A
27 1B
28 1C
29 1D
30 1E
* 1F
NUMEROS DE RANURA (xx) EN HEXADECIMAL
Errores de E/S
 )* ,%( $  '+  ($+( $% ) $%$*(1 (%)%()
       .   
 )* ,%( $  '+  ($+( $% ) $%$*(1 %$*(%%(
 !% 
Clasificación de fallo Procesador
Usuario
DirecĆ
ción
Código
de error
(hex)
Errores de instrucción del
programa de usuario
No
usuario
No
recuperable
Recup.
Fijo,
5/01
5/02 5/03 5/04
S:6 0030
 $*$*1 )*(  +$ ( ,%
 )+(+* $ $ % $
-)%  +$% )* 1 %
*# 0$ + ) $  ( '+
+$ (%(# * $ (+* $)
%) #$* (+() ,)
X • • • •
0031
 **1 +$ (($  
$)*(+ 1$ $% )%%(*
X • • • •
0032
$ (/#*(%  %$ *+
%)  1$  )+$ %(
$  #/) /   $ 
+$ ( ,%  *%)
X • • • •
0033
 %$ *+  +$
$)*(+ 1$   
  %  $  #/)
/   $  +$ ( ,% 
*%)
X • • • •
Archivo de estado SLC
B–41
Clasificación de fallo Procesador
Usuario
DirecĆ
ción
Código
de error
(hex)
Errores de instrucción del
programa de usuario
No
usuario
No
recuperable
Recup.
Fijo,
5/01
5/02 5/03 5/04
S:6 0034
 ((. ) * # (*#
$ ) )!) # 
(!$#+# # * #
$' ##
X • • • •
#' $#'#' #' #
('   
'# !(  ((. )
 $' ##
(*# #  #  )
'(). 
X •
0035
'().    # 
' ! (#  ) )(
 ()$. #  # 
)')#
X • • •
0036
 * # # *- # ' )'
$ ) $-!(# 
'().  
X • • •
0038
 '().   '
((.  ) *# %) #
' ) '))(
X • • • •
xx3A
 ((. ' )
. ( )
 ) *# %) ( 
$#(. #'(( 
*#  (#'
X • •
1f39
 #()   #
*-  ' ((.  )
*#  
X • •
xx50  #  ''  (#'
' ((
X • • • •
xx51
 #  (!$# 
). ,('# '
((  ) !.) # 

X • • • •
xx52
 !.) # %)# $ 
$#!  )')# '
(( #!#  (( #
 !#
X • • • •
Preface
Manual de referencia del juego de instrucciones
B–42
Clasificación de fallo Procesador
Usuario
DirecĆ
ción
Código
de error
(hex)
Errores de E/S
No
usuario
No
recuperable
Recup.
Fijo,
5/01
5/02 5/03 5/04
S:6 xx53
  %     
     
       
  #     
    ! 
(     
      
   (     
 
X • • • •
 (     
       
  ! '
X • •
xx54
 (      
      )
    
X • • • •
xx55
 (     
      
     
  !    
  (
       
 !     
   (
X • • • •
xx56
  (   
     
     
( 
X • • • •
xx57
 (      
    
    
    ' 
  
X • • • •
xx58
 (     
     
      
       
#     ( 
X • • • •
xx59
 (     
   
    $ 
  '  
 
X • • • •
xx5A    ( 
  
X • • •
Archivo de estado SLC
B–43
Clasificación de fallo Procesador
Usuario
DirecĆ
ción
Código
de error
(hex)
Errores de E/S
No
usuario
No
recuperable
Recup.
Fijo,
5/01
5/02 5/03 5/04
S:6 xx5B
  %. 
   $- 
   
%#% (   
 .%
X • • •
xx5C
  %. 
     $-
   
  (   
 .%
X • • •
xx5D
 #  $
    # 
$% . #$
X • • •
xx5E      
# #$'
X • • •
xx60
a
xx6F
$ %  )
%  # ,  
.%   +# 
%  %#%  /
   .% # 
X • • •
xx70
a
xx7F
$ %  ) 
%  # ,  
.%   +# 
%  %#%  /
   .% # 
X • • •
xx90   $% . 
% % $
X • • •
xx91  % $ #$*
 
X • • •
xx92
   #%%$ 
$% .   .%/
  *   (#$$
X • • •
xx93
  ) # ,
  .%   
# $
X • • •
xx94
     
 %   % .%
 # $$ 
#$    +
$ + %
# !% % .% 
 #  #$
X • • •
Preface
Manual de referencia del juego de instrucciones
B–44
Dirección Clasificación Descripción
Fijo,
5/01
5/02 5/03 5/04
S:7
y
S:8
Estado
] [
] [
Código de suspensión/archivo de suspensión
,% ,% -#) !*+!%+  ) ') %
  !%! (, # !%*+),!3%  !%+!!
') *+ -#)  *! -#, $ -))
/ (, # $  ',*  *,*'%*!3% *
-!%+ *+ *)! ')!*$%+#*
%!!%* % # '#!!3% (, ,*)% #
$  ',*  *,*'%*!3% *+ -#) %
* )) ') # ')*)
 '#)  %+!% # %4$)  ) !-
 '))$ % (, * ,! ,% !%*+),!3%
 -)) *+ -#) % * )) ')
# ')*)
* # !%*+),!3%  % # ##!0!3% /
))!3%  ##*  %%!  $
!%3*+!*  +!$'  ,!3% ') #
+!3%  )))* # *!*+$
Ejemplo de aplicación: *+ %*!) (,
#* !%+)),'+)*  !%#  ))) %+5
*     % * ',% +!-)
*!$,#+1%5 $%+ ') # '))$ 
'#!!3% * $')+ $ *! * ,)
'*!# ) +)$!%) # .!*+%!  ,%
')#$ # !%+)),'+)  !%#  ))) 
')#$  #3!  *#) 2 #
)%#3% *!,!%+ # '))$
! # '))$ %+) % # $  ',* 
 ') # 3!  ,% ,*+ ,+ #
'))$ +!% ,% ')#$ # !%+)),'+) 
!%#  ))) *! # $  ',*  
') # 3!  % ,)) +!% ,% ')#$
 #3!  *#)
SUS
SUSPEND
Suspend ID 1
I:1.0
0
I:1.0
1
• • • •
S:9
y
S:10
Estado Nodos activos (canal 1-procesadores
SLC 5/03)
*+* * '#)* *% $'* % !+* ')
)')*%+) #*  %* '*!#* % ,% )
5      )')*%+% #*
!)!%*  %  *+* !+* *%
*+#!* ') # ')*) ,% ,% %
.!*+ % # ) 5 # ,# *+1 %+
# ')*) * !+* *% ))* ,% ,%
% % *+1 ')*%+ % # )
• • •
Archivo de estado SLC
B–45
Dirección Clasificación Descripción
Fijo,
5/01
5/02 5/03 5/04
S:11
y
S:12
Configuración
dinámica
Habilitaciones de ranuras de E/S
'  #% ! # ! '
#% %#%!'%   %!(% # 
 ! (! '     
%#%!'  %!(%    #% 
'      %!(%   (
#%   #('% ! '  (%
      %#%!'!  %!(% 
      !  (
(! (! '  ' !.!
#%'% ! #% ' $(  .( 
 !'! !  %!(% %% 
'( !  ,!     
#%.!  #%%
(!  #!  %  '  !% 
.(   !  %!(% %%  %
(! )%  '.!  %!(%    
( $(  '   !  !'% 
(! .(  !'%  ! )! ! (
/'  )%  ,    (!
.(    ! )+%,! !#!0
!' !'   )% !'! ! 
 !     #% !!
! )+ ' $(
•    -  !'
•      %  
• (!  *% (%%
!   !'    #!!  %
' $(  %!(%  )()  '%
'%
 %!(% !' ! !
% !+% !  !(%.!  #%% 
 ((%
Asegúrese de haber examinado
bien a fondo los efectos de
inhabilitar (poner a cero) un bit de
habilitación de ranura antes de
hacerlo en la aplicación.
!
• • • •
Nota: Los procesadores SLC 5/02, SLC 5/03
y SLC 5/04 informan a cada módulo de E/S
especial que se ha habilitado/inhabilitado.
Algunos módulos de E/S pueden efectuar
otras acciones cuando se inhabilitan o vuelven
a habilitarse. Refiérase a la información para
el usuario proporcionada con el módulo de E/S
especial para ver las posibles diferencias de
las descripciones anteriores.
• • •
Preface
Manual de referencia del juego de instrucciones
B–46
Dirección Clasificación Descripción
Fijo,
5/01
5/02 5/03 5/04
continuación
de S:11 y S:12 La instrucción DII no hace caso del
estado de habilitación/inhabilitación de
ranura. No ejecute la DII en una ranura
con fallo. Si aplica la DII en una ranura
inhabilitada, la interrupción ocurrirá.
Sin embargo, la imagen de entrada no
reflejará el estado actual de la tarjeta.
!
Este bit se aplica al momento de
detección de un bit de
reconfiguración DII, cada salida de
ISR DII y al final de cada escán
(END, TND o REF).
• •
Archivo de estado SLC
B–47
Dirección Clasificación Descripción
Fijo,
5/01
5/02 5/03 5/04
S:13
y
S:14
Configuración
de estado y
dinámica
Registro matemático
Use este registro doble para producir
operaciones de 32 bits de división y
multiplicación con signo, operaciones de
división precisa o división doble y
conversiones BCD de 5 dígitos.
Estas dos palabras se usan conjuntamente
con las instrucciones matemáticas MUL, DIV,
DDV, FRD y TOD. El valor de registro
matemático es evaluado al momento de
ejecución de la instrucción y permanece válido
hasta que la próxima instrucción MUL, DIV,
DDV, FRD o TOD se ejecute en el programa
de usuario.
Una explicación de cómo funciona el registro
matemático se incluye con las definiciones de
instrucción.
Si usted almacena valores de datos de 32 bits
con signo (ejemplo en la página 3-9), debe
manejar este tipo de datos sin ayuda de un
tipo de datos de 32 bits asignados. Por
ejemplo, combine B10:0 y B10:1 para crear un
valor de datos con signo de 32 bits.
Recomendamos que mantenga todos los
datos con signo de 32 bits en un archivo de
datos único y que comience todos los valores
de 32 bits en un límite de palabra par o impar
para facilitar la aplicación y la visualización.
Además, recomendamos que diseñe,
documente y vea el contenido de datos de 32
bits con signo en la raíz hexadecimal o binaria.
Vea el capítulo 3 para obtener más
información acerca de cómo cada instrucción
afecta el registro matemático.
• • • •
Cuando una rutina de fallo STI, ranura de E/S
o fallo interrumpe la ejecución normal del
programa, el valor original del registro
matemático se restaura cuando la ejecución
se reanuda. Note que S:13 y S:14 no se usan
cuando la fuente o destino se define como
datos de punto (coma) flotante.
• • •
Cuando una DII interrumpe la ejecución
normal del programa, el valor original del
registro matemático se restaura cuando la
ejecución se reanuda.
• •
Preface
Manual de referencia del juego de instrucciones
B–48
Dirección Clasificación Descripción
Fijo,
5/01
5/02 5/03 5/04
S:15L Configuración
estática
Dirección de nodo
() +%'  ,) %$) $   ' .$ 
$%%  '%(%' $  ' 0 . 
  (%( ) +% $  ' 0  )$'
*$  ' .$ /$  $)' %( +%'(
 #(     (%( ) +% $  '
  )$' *$  ' .$ /$  $)' %(
+%'(  #(    ' # ' 
 ' .$  $%%  *$ '%(%' (' 
*$ +%' $)'  ' 0 ,   '
 *($%  #%$ )%'  )%( %  *$ .$
 $%%  '%'#%' *% (%$) ,
+*+  %$)'   #$) .$ -)'  
'%(%'
  ' .$  $%% ')'# $  *$
'%(%' (    ' .$  $%%
')'# $   ,  '%'#%'
 (  ' '%%' %$' '%) .$ 
) #%  !* .$ %$)'  #%   .$
 $)  #%$ )%'  )%(  (*
( .$ '%'# () +%' *($% *$
$()'* .$  $%$  %$ ( 
$()'* .$  $ *'   ( )# -$
( '%)'  +%  $ * %( 
!#% ( * $) #*()'  '%) .$ 
) #%  !* .$    ' .$  $%% 
MVM
MASKED MOVE
Source N7:100
Mask 00FF
Dest S:15
MOV
MOVE
Source 3
Dest N7:100
• • • •
*$% *$ %#$%  $ 
%$ *' .$ ( '  '  $  
 ' .$  $%% ( (%'('  %$  +%'
%$)$ % $  %$ *' .$  $
• •
Archivo de estado SLC
B–49
Dirección Clasificación Descripción
Fijo,
5/01
5/02 5/03 5/04
S:15H Configuración
estatica
Velocidad en baudios
+, .$'*  0, ', - 1 ' -+'
(* +$'* $ .$'  -'+ $
(*'+'*  $ * 2  
'+ (*'+'*+   0 #'+
(*'('*' - .$'  -'+ 
 1   +'$%,
'+ (*'+'*+   (*'('*'
- .$'  -'+    
  1 
'+ (*'+'*+    
(*'('*' - .$'  -'+ 
    0   
* %* $ .$'  -'+ $
.$'* (*,*%'   -+ $
%','*  ,'+ ' $ -1  -'+ $
(*' *%'* $ (*'+'* -+ $ 1 ' 
(*  -'+ 1 '  (*  
-'+ 1 ' (*   -'+
1 ' (*  -'+ 1 ' 
(*  -'+ 1 '  (*  
-'+ 0 1 '  (*   -'+
#%($' )- %-+,* $ (*',1 
,%('  #-1  .$' 
-'+   1 ' 
  +  -$ 
  %$    !/
     *'
MVM
MASKED MOVE
Source N7:100
Mask FF00
Dest S:15
MOV
MOVE
Source 1024
Dest N7:100
• • • •
Preface
Manual de referencia del juego de instrucciones
B–50
Dirección Clasificación Descripción
Fijo,
5/01
5/02 5/03 5/04
S:15H
(cont.)
#%($' )- %-+,* $ (*',6  ,%('
 #-6 (* $ .$'  -'+ 
  6 '  0 $ *6  '' 
  +  -$  0   +  -$ 
   %$    !/    
 *'
MOV
MOVE
Source 1027
Dest S:15
-' - '%'  $ 
' -*6 + * (* $ $  $
.$'  -'+ + +'*+* ' $
.$'* ','  $ ' -*6  $
• •
S:16
y
S:17
Estado Prueba de un solo paso - Inicie el paso en -
Renglón/archivo
+,'+ * +,*'+  $ 7%*'  * $6
($*   0 *!.' ($* 
#-,$ )- $ (*'+'* #-,*3
(*6/%%, -' -'  $ %'' 
(*-  - +'$' (+' * !$,* +,
*,*5+, -+,  +$'* $
'(6  (*-  - +'$' (+' $ %'%,'
 )- -* $ (*' *%
+,'+ .$'*+ + ,-$1  $ $16 
 * $6 4*+  $ ($*  
(* ',* %3+ '*%6 $ +('+,.'
 (*' *%6 ,**'  +, .$'* 0
(*'('*'* '*%6  $5  +,'
 2 $ (+'  *!.' / * $6 0 '
/+,  7 -+' ''' (* +,
*,*5+, -' + *' ('* $
(*' *%  +$*
• • •
+, *,*5+, + '*('*  $'+
(*'+'*+   0    
+$6 ' + +*
• •
Archivo de estado SLC
B–51
Dirección Clasificación Descripción
Fijo,
5/01
5/02 5/03 5/04
S:18
y
S:19
Configuración
de estado y
dinámica
Prueba de un solo paso - Punto de
interrupción - Renglón/archivo
+,'+ * +,*'+  $ 7%*'  * $6
($*   0 *!.' ($* 
#-,$ $, $ -$ $ (*'+'* +
 ,* $ #-,* $ %''  (*- 
- +'$' (+' * !$,* +,
*,*5+, -+,  +$'* $
'(6  (*-  - +'$' (+' $ %'%,'
 -** $ (*' *%
 $'+ 7%*'+  * $6 0 *!.' +'  $
(*'+'* (+*3 $ (*6/%' * $6
+'$%, + ' $ (*'+'* ',-*3
!+, ',** - * $6*!.' )- +
 -$ $ .$'*  
$ (*'+'* + , 0 ('  *'  0
 -' -,* - '**+('
-*, +- (*%  $ %''  (*-
 - +'$' (+' $ (*'+'* -'*3
%, + ' -,* $ $ 
* $6*!.' )- -+, ! ,*'-'
-' !+, ',** -  -$ **
- %'  %'' ' ( *+    
$ +('+,.'  (*' *%6 ,**'  +,
.$'* -' (*'('*'* $ '*%6 
$5  +,'  2,*% $ (+' ,+ $
*!.' / * $6 0 %4 $ +('+,.'
 (*' %6 +* +, .$'* -' $
 $ '%' 2+,$1 $ * $6 $
' /+,  7 -+' ''' (* +,
*,*5+, -' + *' ('* $
(*' *%  +$*
• • •
+, *,*5+, + '*('*  $'+
(*'+'*+   0    
+$6 ' + +*
• •
Preface
Manual de referencia del juego de instrucciones
B–52
Dirección Clasificación Descripción
Fijo,
5/01
5/02 5/03 5/04
S:20
y
S:21
Estado Prueba - Fallo/apagado - Renglón/archivo
+,'+ * +,*'+  $ 5%*'  * $4
($*   / *!.' ($*  
#-,$ )- $ (*'+'* #-,4
5$,%%, ,+  '-*** - **'* %/'* '
( ' * !$,* +, *,*3+,
-+,  +$'* $ '(4  (*- 
- +'$' (+' $ %'%,'  -** $
(*' *% - -+* +,'+ * +,*'+ (*
+** ' (*+4 $ (-,'  #-4
$ (*'+'*  $ 5$,% ,*  $ *-,
 ( ' ' $$' +, -4 ,%2 +,1
,.  $ %''  %*!     
Ejemplo de aplicación: -(' %'+ )- $
(*' *% ', .*+ +,*-'+ 
   $ *!.'  * $4    .+
', - .$'* (*+$''  ,.'
 *-(*4 $ $$' (*+$''
 ,.' + ('+$ '$'' $ .$'*
(*+$''   / .'$.' 
+,$* $ ,%('*0'*
'$')- $ * $4 + -,  $ *-, 
$$' (* *$0* $' ,*'* $ ,   +,1
$.' '%' .  )- -
*-(*4  ($4 ! +' 
• • •
+, *,*3+, + '*('*  $'+
(*'+'*+   /    ' +
+*' +$'*$
• •
MOV
MOVE
Source 100
Dest T4:6.PRE
EQU
EQUAL
Source A S:6
Source B 52
(RET)
(RES)
T4:6
(L)
B3
0
(U)
S:1
13
'  *!.'
El valor 52 es igual a 0034
hex. +, + $ 4 ' 
**'* (* - .$'*
(*+$''  ,.' $
,%('*0'*
EQU
EQUAL
Source A S:20
Source B 25
EQU
EQUAL
Source A S:21
Source B 2
'  * $4
Archivo de estado SLC
B–53
Dirección Clasificación Descripción
Fijo,
5/01
5/02 5/03 5/04
S:22 Estado Tiempo de escán máximo observado
+, ($*  $ ,*.$' %2/%'
'+*.' ,* ++ '+-,.'+
'+ ++ '+-,.'+ +  '%'
,*.$'+ ,* $ *!.' * $3  0 $
+,*-3   '  +, .$'*
  *%,'+   %+ $ ,%('
,*+-**'  $ $'  (*' *% %2+ $* '
$ (*'+'* $ (*'+'* '%(* 
.$'* $ 4$,%' +2 ' $ .$'* ','
    $ (*'+'* ,*% )- $
.$'* $ 4$,%' +2 + %0'* )- $ .$'*
$%'    $ .$'* $ 4$,%' +2
+ +*   
 *+'$-3 $ .$'*  ,%('  +2
%2/%' '+*.' +   ±  %+ '*
#%($' $ .$'*  )-   %+ -*'
'+*.'+ '%' $ $'  (*' *% %2+
$* '
,**' - +, .$'* -+' $ -3 $
%','*  ,'+ + -+, , )- ,*%*
' .** $ ,%('  +2 %2+ $* ' $
$'  (*' *%
Nota: El escán de E/S, overhead del
procesador y servicio de comunicación ' se
incluyen en esta medición.
• • •
$ ,  +$3 $ ,%('  +2
   ,*% $ +  ,%(' -+
(* $'+ ,%('+  +2 (*'%'+ 0
%2/%'+ -' + ('  *' $
'(*3 + '%' + +* ,*'*%,
-' + +,$ $ +  ,%(' +
/(*+  *%,'+  %+  .1 
*%,'+   %+ -'   +
+,$ $ .$'*  $ *+'$-3 $ ,%('
 +2 %2/%' '+*.' +   ± %+
'* #%($' $ .$'*  )-  %+
-*' '+*.'+ '%' $ $'  (*' *%
%2+ $* '
• •
Preface
Manual de referencia del juego de instrucciones
B–54
Dirección Clasificación Descripción
Fijo,
5/01
5/02 5/03 5/04
S:23 Estado Tiempo de escán promedio
% $   ' ! $!!
! $!  ',   (!$   
 $ !%   %  ! $ %'$$!
  !  $!$ $!! 
$!%!$ $  %+ t
Prom. = (prom. * 7) + escán
8
 $%!',  (!$  !  %+
$!! %   ±  % !$ ! 
(!$   #'    % '$!
'!% !!  !  $!$
$!!
Nota: El escán de E/S, overhead del
procesador y servicio de comunicación ! se
incluyen en esta medición.
• • •
   %,  !  %+  
$   %  ! '% $ 
!  %+ $!! ' ! % !  
$!  !$, % !! % %$
 $!$  ' ! % %  %
 ! % )$%   $ !%  %
 (*   $ !%   % ' !
  % %  $%!',  (!$
 !  %+ $!! %   %
!$ !  (!$   #'  %
'$! '!% !!  !  $!$
$!!
• •
S:24 Configuración
dinámica
Registro de índice
% $    !%   !
'%!   $!  !  )!
' ! '  $'   $ '$   ! !
 $$'  ', !$  $!$
 (!$ !$   % $%$! % $%'$
' !  ', % $ '
• • •
' ! '    $$'  ',
!$  $!$  (!$ !$   %
$%$! % $%'$ ' !  ', %
$ '
• •
Archivo de estado SLC
B–55
Dirección Clasificación Descripción
Fijo,
5/01
5/02 5/03 5/04
S:25
y
S:26
Estado Interrupción de E/S pendiente
)*) %) () )%$ #) $  *) 
)  ($+()   %)  *)   
  $ (($   ) ($+()  
%)  *)   .   )*/$ ()(,)
  * $ $* )% % %$ +$ ($+( 
$*((+ 1$ ) )* +$%   * 
  * 1$  $*((+ 1$  ($+(  
%(()%$ $* ) %$  (%  #%#$*%
 +$ *  1$  $*((+ 1$  %$ 
(% +$%   *    * 1$  $*((+2
 1$  ,$*%   ) )* % +$%
+$ $)*(+ 1$  )%  ) !+*
  * $ $* (  !+ 1$  +$
)+(+* $  $*((+ 1$   (#$
+)*%  (% +$%   ) $*((+# 
%( +$  % (+* $  %  #$(
)#!$*   * $ $* (#$ +)*%
 (% )  )(,  %  $*((+ 1$ ) )%  *
 #%#$*% $ '+ +$ $*((+ 1$ 
( %(  #.%( % + ) )*/ !+*$%
(+* $  %  + %*( 
) $*((+ %$)   ) *(*$ $ 
0*+%   )* #$+
• • •
  * $ $* )% % %$ +$ ($+( 
$*((+ 1$ ) )* +$%   * 
  * 1$  $*((+ 1$  ($+(  
) %$  (%  #%#$*%  +$ *  1$ 
$*((+ 1$  %$  (% +$%   * 
  * 1$  $*((+ 1$  ,$*%  
%(()%$ $* ) )* % +$% +$
$)*(+ 1$  )%  ) !+*   *
$ $* ) #( )(/ )* % +$% 
)(,  %  $*((+ 1$ ) )%  * . 
(%)%( )*/ !+*$% +$ $*((+ 1$
 ( %(  + % #.%(  ( %(  
$*((+ 1$ $% *  )* # $*% 
)*%)  *)
%( !#% +($*  !+ 1$  +$
)+(+* $   ($+( )%  * +$
$*((+ 1$  ,$*%     
!+*(/ )*   $ ) $ #(%   * 
($+( $ $*    $% ) )*(/
$*(%   !+ 1$    -# $ 
)*%  )*%)  *) $*(%  ) )+(+* $)
 $*((+ 1$ )    1$ ('+ ( )*
$%(# 1$
• •
Preface
Manual de referencia del juego de instrucciones
B–56
Dirección Clasificación Descripción
Fijo,
5/01
5/02 5/03 5/04
S:27
y
S:28
Estado Interrupción de E/S habilitada
./. *. +'-. .*) (+! . *) %/. 
'.  -)0-. !  *. %/.   
  *--!.+*) !)  '. -)0-.  
*. %/.   2   !./3) -!.!-1 .
' 1'*- +-! !/!-(%) * !   %/ !. 
!./'!% * ' %/ ! $%'%/%5) .*% *
*) 0) -)0- ! %)/!--0+%5) .! !!
!./'!!- 0) * ' %)/!--0+%5) *0--! +-
+!-(%/%- ,0! '  *--!.+*) %!)/! .!
!!0/! ! '* *)/--%* '  )* .!
!!0/-3 2 !' %/ ! %)/!--0+%5) ! -)0- !
 +!) %!)/! .*% * )* .! !./'!!-3
*. (%*. !!/0 *.  !./*. %/. 0.) * '
0)%5) !' (*)%/*- ! /*. * %)./-0%*)!.
! !.'!- ,0! .*) %./%)/. !  * 
!)/-) !) 1%#!)% !) !' .%#0%!)/! %)' !
!.3)
. %)/!--0+%*)!. !  .! /-/) !) !'
+4/0'*  ! !./! ()0'
• • •
Configuración
dinámica
./*. %/. +0! !) .!-
!./'!% *.-!./'!% *. +*- !' +-*#-( !
0.0-%* *((. * *) ' %)./-0%5)  * 
*. (%*. !!/0 *.  !./*. %/. 0) * '
0)%5) !' (*)%/*- ! /*. ! ' /!-(%)' !
+-*#-(%5) * /*  %)./-0%5) ! !.'!-
!)/--3) !) 1%#!)% %)(! %/(!)/!
• •
S:29 Configuración
dinámica
Número de archivo de rutina de fallo de
usuario
./! %)/-* 0! 0) )6(!-* ! -$%1* !
+-*#-(    ,0! .! !! 0.- !) /* *.
'*. !--*-!. (2*-!. -!0+!-'!. 2 )*
-!0+!-'!. -*#-(! ' '5#% ! !.'!-
! ' -0/%) ! ''* !) !' -$%1* ,0! $
!.+!%% * .-% 0) 1'*- !  +-
%)$%'%/- ' -0/%) ! ''*
- +-*+*-%*)- +-*/!%5) *)/- '
(* %%%5) % !)/' !' (*)%/*- ! /*.
! ' .!'!%5) +-*#-(! 0) %)./-0%5)
 %)*) %%*)' ,0! *)/!)# !' )6(!-* !
-$%1* ! +-*#-( ! ' -0/%) ! ''* 
  * +-*#-(! 0) %)./-0%5)  !)  
+- !1%/- ' *+!-%5) ! ' -0/%) ! ''*
 -0/%) ! ''* .! /-/ !) !' +4/0'*  !
!./! ()0'
• • •
Archivo de estado SLC
B–57
Dirección Clasificación Descripción
Fijo,
5/01
5/02 5/03 5/04
S:30 Configuración
dinámica
Interrupción temporizada seleccionable -
Punto de ajuste
+, ,*'- $ +  ,%(' 
3%'+  %$+ -'+ )- +  -+*
 $ ,**-(5 ,%('*1 +$'$
 *-,  + #-, + 6 $ .$'* )-
,*'- +* - .$'*  *' (*
!$,* $ 
* (*'('*'* (*',5 ',* $
%'5 ,$ $ %','*  ,'+
 $ +$5 (*' *% - +,*-5
 ''$ )- ', $ .$'* 
(-,'  #-+,  $     ' (*' *%
- +,*-5     (* .,* $
'(*5 
 $  +  -*, $ %''  %*!
 * ' $'+ * +,*'+  +,' $
,**-(5 '%1  ,%('*1*  (*,* $
$ $ +2  (*' *%  )- $'+
* +,*'+  +,' + * *'
+ ,**-('+ ,%('*1+
+$'$+ + ,*,  $ (4,-$'  
+, %-$
• • •
 +  ,%(' $ (-,'  #-+, 
(- +*  %+ 5  %+ + 6 $ .$'* $ ,
 +$5  (-,'  #-+,   
-' + ('  *' $ '(*5 + '%'
+ +* ,*'*%, -' +
+,$ $ +  ,%(' + /(*+ 
*%,'+   %+   !$, $
+,*-5  0 $  $ !$,
• •
S:31 Configuración
dinámica
Interrupción temporizada seleccionable -
Número de archivo
+, ,*'- - 6%*'  *!.' 
(*' *%    )- +  -+* '%' $
+-*-,  ,**-(5 ,%('*1
+$'$ +* - .$'*   (*
!$,* $ 
* (*'('*'* (*',5 ',* $
%'5 ,$ $ %','*  ,'+
 $ +$5 (*' *% - +,*-5
 ''$ )- ',  $ .$'* 
6%*'  *!.'  $     5
(*' *% - +,*-5     (*
.,* $ '(*5 
+ ,**-('+ ,%('*1+
+$'$+ + ,*,  $ (4,-$'  
+, %-$
• • •
Preface
Manual de referencia del juego de instrucciones
B–58
Dirección Clasificación Descripción
Comp.,
5/01
5/02 5/03 5/04
S:32 Estado Ejecución de interrupción de E/S
% $    0$!  $ '$ 
/'!   % #'  $/ 
'/ '   % (!$ % !$$
' !   $   !!  $
  %  + !  ! !    !
% '  $$!$ % $  $! 
 %'$'   ! $'   ! % %
%$ % %%  $$'! %  $!$
*!$   $$'!  '/  ' 
 - ' '%$ % (!$ $
$ $      $ '$ 
 $$'/  ')$ !% ! ,%
 $$'! %  /'!   %  
% 
%  $$'! %   % $  
.'!   %  '
• • •
% '  $$!$ % $  $! 
 %'$'  % % %$ % %%
 $$'! %  $!$ *!$ 
 $$'!  '/   -
' '%$ % (!$ $ $ $ 
    $ '$   $$'/ 
')$ !% ! ,%  $$'! % 
/'!   % %   % 
• •
S:33/0 Estado Comando de entrada pendiente (canal 0)
%  % % ' !  $!%!$
$  #' !$! !!   $    
 %!!  !$/ !  $!!$! !
' ! !  !  %  ' %$
%!  !! ! ! %  %
!   $! ' !  $!%!$  %$(!
  / ! ! !
% %  !! ! /  ' 
 %$'/  $ !$$   
!' /  $!%!$
• •
S:33/1 Estado Respuesta de mensaje pendiente (canal 0)
%  % % ' ! !$! !!  
$      $!!$! ! 
 !$/ #' '%  %!!  
 %$'/   $!%!$ %  %
!   $! ' !  $!%!$  
  !$/ * '+   %$'/  
% %  !! ! /  ' 
 %$'/  $ !$$   
!' /  $!%!$
• •
Archivo de estado SLC
B–59
Dirección Clasificación Descripción
Comp.,
5/01
5/02 5/03 5/04
S:33/2 Estado Comando de mensaje saliente pendiente
(canal 0)
! !   !    
        
! $      ! !
)      !  !
%  !  (      !
     '   !  ( 
!  ##   !  $ 
       ! 
   $     
• •
S:33/3 Estado Estado de selección (canal 0)
   !  ! !   
!  (     !  
   !    
 !  ! !       !
            
!  (    
  !#  (  
 ! (
• •
S:33/4 Estado Comunicaciones activas (canal 0)
! !   !    
        ! !#
      !  !
  !  
• •
Preface
Manual de referencia del juego de instrucciones
B–60
Dirección Clasificación Descripción
Fijo,
5/01
5/02 5/03 5/04
S:33/5 Configuración
dinámica
Selección de servicio de comunicaciones
(canal 0)
.'( , ,-% #( ,(% '- .'
) -##4'('(  (.'##4'  '% 
+ # , +/##( , 5' % #',-+.#4'  
 (   .'( , )('   +( -(,
%, ) -##(' ,('(,  (.'##4'
'-+'- , ( ,%# '- , *. ).  ' + ##+
, +/##( %( + # ' , 5' % #',-+.#4' 
  (  
' ) -##4'('(  (.'##4'
(',#,- ' .' ('( '-+'-  '% 
+ ,). ,-   ',$  '%  4 ('(
  ',$ ,%# '-  '%   !#2+, 
%, )%+,       0  
)+ (- ' + 1, #'!(+#4'
Nota: Cuando se pone a cero, la
transferencia de comunicación se incrementa.
El tiempo de escán también se incrementa si
varios comandos/peticiones de comunicación
se reciben en el mismo escán.
+ )+(++ ,- +- +3,-# ., %
!.'#4'  % ('#-(+  -(, )+ ,-%  + 0
)(' +   +( ,- #- + )+()(+#('+
)+(- #4' ('-+ % (#!##4' # '-%
 % ('#-(+  -(,  % , % #4' )+(+
.' #',-+.#4'  #'('##('% ' %
#+ #4'   )+ , .++ % () +#4' 
.' ) -##4'('( ( )+(+ .'
#',-+.#4'  #'('##('% ' % #+ #4'
  )+ , .++ % () +#4' 
) -##(' ,('(, 5%-#)% , ((
%- +'-#/ % )+(+ ).  #+ %
,-(  ,- #- .,'( % %4#  ,% +
,# % )%##4' + *.# + % , % #4' #'1#
 ,- !.'#4'
• •
S:33/6 Configuración
dinámica
Selección de servicio de mensaje (canal 0)
,- #- ,(% '- , /1%#( .'( %
, % #4'  , +/##(  (.'##(' ,
    % '%  , (++' %( .%
, % #(' -((, %(, ('(,  , +/##(
.'(   , ,-%  0   , )('
  +( -(, %, #',-+.#(' ,  ,%# '- ,
 '%  + # ' , +/##( , 5' %
#',-+.#4'    (   %(
('-++#(+ ,(% '- .' ('( ( + ,). ,-
 ,%# '-  '%  + ##+1 , +/##(
, 5' % #',-+.#4'    ( 
• •
Archivo de estado SLC
B–61
Dirección Clasificación Descripción
Comp.,
5/01
5/02 5/03 5/04
S:33/7 Configuración
dinámica
Selección de servicio de mensaje (canal 1)
Este bit solamente es válido cuando el bit de
selección de servicio de comunicaciones (S:2/15)
del canal 1 se pone a cero (el cual selecciona los
comandos de servicio total). Cuando S:33/7 es
establecido y S:2/15 está puesto a cero, todas las
instrucciones MSG de canal 1 salientes reciben
servicio según la instrucción END, TND, SVC o
REF. De lo contrario, solamente un comando o
respuesta MSG de canal 1 saliente recibe serviĆ
cio según la instrucción END, TND, SVC o REF.
• •
S:33/8 Configuración
estática
Bit de control de latencia de interrupción
Cuando se establece, la latencia de interrupción
ocurre para interrupciones de usuario (DII, STI y
evento de E/S). Esto significa que cuando
ocurre una interrupción, se le garantiza estar en
el renglón 0 de la subrutina de interrupción
dentro del período de latencia de interrupción
declarado (siempre que una interrupción de
prioridad igual o mayor se esté ejecutando).
Usted debe seleccionarlo al guardar el
programa. Refiérase al apéndice B en el Manual
de usuario de software de programación
avanzada, publicación 1747Ć6.4ES para obtener
información acerca de cómo calcular la latencia
de interrupción.
Cuando se pone a cero, las interrupciones de
usuario solamente pueden interrumpir el
procesador a puntos predefinidos de ejecución
en el ciclo de programa de usuario. La
latencia de interrupción se define como el
período de tiempo más largo que puede
transcurrir entre dos puntos predefinidos.
Cuando S:33/8 se pone a cero, usted debe
analizar cada programa de usuario. El bit se
pone a cero predeterminadamente.
Los puntos siguientes son los únicos puntos
en que se permite que las subrutinas de
interrupción de usuario se ejecuten cuando
S:33/8 se pone a cero:
• al inicio de cada renglón
• después de dar servicio a la comunicación
• entre ranuras durante la actualización de la
imagen de entrada o salida o cualquier
tarjeta de E/S especial
• •
S:33/9 Estado Bit de alternador de escán
Este bit se pone a cero al momento de entrar
en el modo de MARCHA. Este bit cambia de
estado durante cada ejecución de una
instrucción END, TND o REF. Use este bit en
el programa de usuario para aplicaciones tal
como la ejeución de subrutina de multiplex.
• •
Preface
Manual de referencia del juego de instrucciones
B–62
Dirección Clasificación Descripción
Comp.,
5/01
5/02 5/03 5/04
S:33/10 Configuración
dinámica
Bit de reconfiguración de interrupción de
entrada discreta
)*/ )*  * %$  (%(# 
+)+( % %  *(# $  (%(# 1$ (
+)( '+  +$ 1$  ) (%$ +( $ 
(1- # %+(($   $*((+ 1$ %   $ 
 )0$    %  )*  * )
    )     (+* $  %
  %   ,$*%
% ) + $* %+(( +$%   )
(%$ +(
  +#+%(  ) %((  
 %) (0#*(%)  + %) $ )
()     )  $
   *  (%$ +( 1$  )*0 +)*% 
(% %(  (%)%(
%( !#% +)  )*(+*+(  )(
) + $* ( (%,%( +$ (%$ +( 1$
 )  ( ,%  )( ( $  
,/ '+  $*(  ) )%$* . )
,+,  %$*(
[OSR]
B3/0
] [
I:1/0
(L)
S:33/10
)  )*(+*+(  )( ) + $* (
(%,%( +$ (%$ +( 1$  ) +$
)+(+* $ ) $ ,$*%  )+(+* $ )
!+* )%#$* +$ ,/  ,/ '+ )
%)   (%$ +( 1$ 
] [
I:1/0
(L)
S:33/10
• •
Archivo de estado SLC
B–63
Dirección Clasificación Descripción
Comp.,
5/01
5/02 5/03 5/04
S:33/11 y
S:33/12
Estado Estado de edición en línea
        !   
 (   
Bit 12 Bit 11 Estado de
edición
en línea
   # 
 

   (
 
 
  ! 

 
   !
#          
  !!     )
   (    !
    (  !  
 '    (
 
• •
S:33/13 Configuración
estática
Selección de base de tiempo del tiempo de
escán
         ! 
    %   $  
 % %#   !   
         %
 $ %#    ) 
     !  !
!         
  %  $ %# *
  )       ! 
!       *
       
• •
Preface
Manual de referencia del juego de instrucciones
B–64
Dirección Clasificación Descripción
Comp.,
5/01
5/02 5/03 5/04
S:33/14 Configuración
dinámica
Bit de control DTR (canal 0)
() ) ( *( %' !)' ! ($ 
*#$ ( %$#  '$ ! (1!   #!
 %#  ( $#)'$! ')#) %$' !
+'$'  $*#2# ()/#' *#$
( ()! ( %* )*' ! ($
 ('#$     )  $'.$(

! )   ( ,# - ( %! ! #!
  (/#   $  *#$
()/ # ! $$  %'$' (*(%#(2# $
!!$  ()/ !)$ - %'#
!)$ () * *# (*# 
($#,2# *)$/) ( )) %$' !
$#)'$!$'  $*#2#
# ($#,2# *)$/) $*'' ( !
$#)'$!$'  $*#2# )) * !
(1!   #!  %#   ()$ *(#)
*'#) /(   (*#$( $ ( ! (1!
  #!  %#  (  #!)$
0'( ! )  2 %'$  #! 
  %' $)#' /( #$'2#
*'#) *# ($#,2# *)$/) !
+'$'  $*#2# ()/#' #)#
!  #!)$ () * ( !) !
(1!   #!  2 )'#(*''#
(*#$(
Notea Cuando el canal 0 está configurado
para DH485, S;33/14 se debe poner a cero
para un funcionamiento adecuado.
• •
S:33/15 Configuración
dinámica
Bit de forzados DTR (canal 0)
() ) ( *( %' $'.' ! %#  !)$ $
 $ *#$   ( ()! ! (1!
  #!  %#  ( %! ! #! 
 (/#   $  *(#$ !
()$     *#$   ( %$#
 '$ () ) #$ ) 
*#$   ( ()!  ( $'.$
!)$ *#$ ( %$#  '$ %')'#$
 ( $'.$ $ *#$ ()/ # ! $$
 %'*  $ '  () ) (
%! ($!#) ! #!  (/#   $
 *#$ ()/ # ! $$  %'$'
(*(%#(2# $ !!$ $ ! $#)$  ##$
 ( ()!  #$( * ! $#)'$!$'
 $*#2# ()0 )*#$ *#
($#,2# *)$/)
• •
Archivo de estado SLC
B–65
Dirección Clasificación Descripción
Comp.,
5/01
5/02 5/03 5/04
S:34/0 Configuración
estática
Bit de transferencia de DH+ a DHĆ485
inhabilitada
Este bit proporciona la capacidad de transferir
paquetes recibidos entre canales. Cuando se
establece, el procesador no tiene capacidad
para la transferencia. Cuando se restablece,
el procesador permite que los paquetes se
transfieran de un canal a otro. El canal 0
(RSĆ232) se debe configurar para el protocolo
DHĆ485. Solamente los paquetes que
contienen la capa de red de Internet y cuya
identidad de vínculo de destino es igual al
especificado para el canal opuesto serán
transferidos. El valor predeterminado es el
restablecimiento.
La identidad del vínculo predeterminado para
el canal 0 es uno. La identidad del vínculo
predeterminado para el canal 1 es dos.
•
S:34/1 Configuración
estática
Bit de habilitación de tabla de nodo activo DH+
Este bit habilita el procesamiento de la tabla
de nodo activo DH+. Cuando se establece, la
tabla de nodo activo DH+ se procesa. Cuando
se pone a cero, la tabla de nodo activo DH+
no se procesa. El valor predeterminado es
puesto a cero.
Este bit es evaluado durante cada entrada en
el modo de marcha REM. Note que el
procesador actualiza las palabras de estado
individuales S:83 a S:86.
•
S:34/2 Configuración
dinámica
Bit de habilitación del indicador matemático
de punto (coma) flotante
Este bit inhabilita el procesamiento de
indicadores matemáticos cuando se usa el punto
(coma) flotante matemático (F8:). Los
indicadores matemáticos afectados son overflow
(S:0/1), cero (S:0/2), signo (S:0/3) y el bit de
interrupción por overflow de error menor (S:5/0).
Cuando el bit se pone a cero, los indicadores
matemáticos se procesan. Cuando el bit se
establece, los indicadores matemáticos son
borrados excepto por el bit de interrupción por
overflow de error menor, el cual permanece en
su último estado. El indicador de acarreo (S:0/0)
está reservado para uso interno durante todas
las operaciones de punto (coma) flotante. El
valor predeterminado es puesto a cero.
Las instrucciones afectadas por el punto
(coma) flotante incluyen ADD, SUB, MUL, DIV,
NEG, SQR y MOV. El establecer este bit
reduce los tiempos de ejecución de las
instrucciones anteriores. Este bit es evaluado
durante la ejecución de cada instrucción.
• •
Preface
Manual de referencia del juego de instrucciones
B–66
Dirección Clasificación Descripción
Comp.,
5/01
5/02 5/03 5/04
S:34/3 Configuración
dinámica
Bit de habilitación de transmisión de palabra
de estado global (SLC 5/04 OS401 solamente)
)#$ '( ( ' '(! ! %! 
'($ !$!   ' (#'( $# 
%'$  ('($  )#$ ' %$#  $
! ('($ ' %' '# ! %!  '($
!$!
•
S:34/4 Configuración
dinámica
Bit de habilitación de recepción de palabra de
estado global (SLC 5/04 OS401 solamente)
)#$ '( ( ' '(! ! %$'$
$!( ! %!  '($ !$!
(#'( %$ $($' '%$'(*$' # ! 
 , ! !# # ! *$  '($
!$!    )#$ ' %$# 
$ ! %$'$ #$  '$  !
#$/#  '($ !$! %$*##( 
$($' '%$'(*$' # ! 
•
S:34/5 Configuración
dinámica
Bit de transferencia de DF1 a DH+ habilitada
(SLC 5/04 OS401 solamente)
)#$ '( ( ' '(! ! $%/# 
(#'# ' !( #( ! #!  , !
#!  ! #!  '  $#) % !
%$($$!$  )!! )%!+  
•
S:35 Estado Tiempo del último escán de 1 ms
! *!$  '( %! ! #$ ).#($
(%$  (#')$ )#( )# !$ 
%$ # !$  %$ #!), !
%$  '! !%- '.# 
 , '*$ ! %)($  $)#/#
'( *!$  %! ' ()!-$ %$ !
%$'$ '$!#( )# *- )#( 
'.# #(#( #('  !  )/#
! #!/#  *$ $ ! ($#$  )#
#'()/# 
• •
S:36/0 a
S:36/7
NA Reservado • •
Archivo de estado SLC
B–67
Dirección Clasificación Descripción
Comp.,
5/01
5/02 5/03 5/04
S:36/8 Estado DII perdido
$% % $ $%  ## 
%##!- )  %  !%
  %, $ $%  $%
## $      %##!-
 $ !#  # !  
%##!- $ !#-    
%##!- !#' ) $% !% )
$!#  - ( $% % 
 !# #  $# ) %   - +$
 $  !-  ! % ##
$%  -   !   # $% %
   !# #  $#   !#!#-
!#  !#-( ## ! $  $%
## #
• •
S:36/9 Estado STI perdido
$% % $ $%   %##!-
 ## )  %   !%  
%, $ $%*  $% ##
$      %##!-  
$ !#  # !   %##!- $
!#-     %##!- !#' )
$% !% ) $!#  -
( $% %   !# #  $# )
%   - +$  $  !-
 ! % ## $%  -  
!   # $% %    !# # 
$#   !#!#- !#  !#-(
## ! $  $% ## #
• •
S:36/10 Estado Protección de sobrescritura del archivo de
datos del módulo de memoria
$ $% % !# %##  '* 
% $ #%%' $ $!,$   %#$#
 -   # $% % $!# $
$%   %#$# 
-   #   !# $ #
##    !# %-  $ #$#%# 
#'  % $ $  )  $ #' $
!# % $ $ $ #$#  $ #' $
!# % $ $  $ #$#% $  
!# #  -   #   
   !# #  !# $ #   %
  %#$# $% %  $%+ !$% 
# ! #  !# $ #
• •
Preface
Manual de referencia del juego de instrucciones
B–68
Dirección Clasificación Descripción
Comp.,
5/01
5/02 5/03 5/04
S:36/11 a
S:36/15
NA Reservado para errores menores
adicionales.
• •
S:37 Configuración
dinámica
Reloj/año calendario
% (!$ !    (!$  +!  
$! $!  * ()! %  
$  $  $! $! %$ $!
 !% % $%  $! $!  
  
• •
S:38 Configuración
dinámica
Reloj/calendario de mes
% (!$ !    (!$  % 
$! $!  * ()! %  
$  $  $! $! %$
$!%  !% % $%  $! !
 $!       $! % ' 
(!$  
• •
S:39 Configuración
dinámica
Reloj/calendario de día
% (!$ !    (!$  * 
$! $!  * ()! %  
$  $  $! $! %$
$!%  !% % $%  $! !
 $!       $$ * 
% % '  (!$  
• •
S:40 Configuración
dinámica
Reloj/calendario de horas
% (!$ !    (!$  !$ 
$! $!  * ()! %  
$  $  $! $! %$
$!%  !% % $%  $! !
 $!      %  !$%
#'(  (!$  
• •
S:41 Configuración
dinámica
Reloj/calendario de minutos
% (!$ !    (!$   '! 
$! $!  * ()! %  
$  $  $! $! %$
$!%  !% % $%  $! !
 $!     
• •
S:42 Configuración
dinámica
Reloj/calendario de segundos
% (!$ !    (!$  %' !% 
$! $!  * ()! %  
$  $  $! $! %$ $!
 !% % $%  $! !  $!
    
• •
Archivo de estado SLC
B–69
Dirección Clasificación Descripción
Comp.,
5/01
5/02 5/03 5/04
S:43
S:44
S:45
Estado Interrupción temporizada seleccionable -
Temporizador de 10 µs
Interrupción de evento de E/S -
Temporizador de 10 µs
Interrupción de entrada discreta -
Temporizador 10 µs
Este valor de 16 bits es de marcha libre y se
usa para medir la cantidad de tiempo que
transcurre entre las ejecuciones consecutivas
de subrutina de interrupción (en incrementos
de 10 µs). Este valor se actualiza a cada
entrada en la subrutina de interrupción. El
temporizador de 10 µs indica que el tiempo
máximo que puede transcurrir entre dos
interrupciones sin invalidar una medición de
tiempo es 0.32767 segundos.
(16 bits con signo  10 µs = 32767 
.00001 = 0.32767 segundos)
El temporizador de 10 µs es común a la
interrupción STI, la interrupción de E/S de
evento y la interrupción DII.
• •
S:46 Configuración
dinámica
Interrupción de entrada discreta - Número
de archivo
Usted introduce un número de archivo de
programa (3-255) que se debe usar como la
subrutina de interrupción de entrada discreta.
Escriba un valor de 0 para inhabilitar la
función. Este valor se aplica durante la
detección de un bit de reconfiguración DII,
cada salida de DII ISR y cada final de escán
(END, TND o REF).
A fin de proporcionar protección contra la
modificación accidental del monitor de datos
de la selección, programe una instrucción
MOV incondicional que contenga el valor de
número de archivo de la DII en S:46 ó
programe una instrucción CLR en S:46 para
evitar la operación DII.
• •
Preface
Manual de referencia del juego de instrucciones
B–70
Dirección Clasificación Descripción
Fijo,
5/01
5/02 5/03 5/04
S:47 Configuración
dinámica
nterrupción de entrada discreta - Número de
ranura
Usted introduce el número de ranura (1-30)
que contiene el módulo de E/S discretas que
se deben usar como la ranura de interrupción
de entrada discreta. El procesador estará con
fallo si la ranura está vacía o contiene un
módulo de E/S no discretas. Por ejemplo, un
módulo analógico causa que ocurra un fallo de
procesador. Este bit se aplica al momento de
detección del bit de reconfiguración DII.
Este valor se aplica solamente al momento de
ejecución de la función de reconfiguración DII
(estableciendo el bit S:33/10 ó a la entrada en
el modo de marcha REM con el bit de
habilitación DII S:2/12 establecido).
A fin de proprocionar protección contra la
modificación accidental del monitor de datos
de su selección, programe una instrucción
MOV incondicional que contenga el valor de
número de ranura de la DII en S:47.
• •
S:48 Configuración
dinámica
Interrupción de entrada discreta - Máscara
de bit
Usted introduce un valor mapeado con bits
que corresponde a los bits que desea
monitorizar en el módulo de E/S discretas.
Solamente los bits 0 a 7 se usan en la función
DII. El establecer un bit indica que usted
desea incluir el bit en la comparación de la
transición de bit del módulo de E/S discretas al
valor de comparación DII (S:49). El poner a
cero el bit indica que el estado de transición
del bit en cuestión constituye un bit de no
importa. Este valor se aplica al momento de
detección de un bit de reconfiguración DII,
cada salida de DII ISR y al final de cada escán
(END, TND o REF).
A fin de proporcionar protección contra la
modificación accidental del monitor de datos
de la selección, programe una instrucción
MOV incondicional que contenga el valor de
máscara de bit de la DII en S:48.
• •
Archivo de estado SLC
B–71
Dirección Clasificación Descripción
Fijo,
5/01
5/02 5/03 5/04
S:49 Configuración
dinamica
Interrupción de entrada de comparación -
Valor de comparación
Usted introduce un valor mapeado con bits
que corresponde a las transiciones de bit que
deben ocurrir en la tarjeta de E/S discretas
para que ocurra un conteo o interrupción.
Solamente los bits 0 a 7 se usan en la función
DII. El establecer un bit indica que el bit debe
hacer la transición de 0 a 1 para cumplir con la
condición de comparación para dicho bit. El
poner a cero el bit indica que el bit debe hacer
la transición de 1 a 0 para cumplir con la
condición de comparación para dicho bit. Una
interrupción o conteo se genera al momento
de transición del último bit del valor de
comparación. Este valor se aplica a la
detección de un bit de reconfiguración DII,
cada salida de DII ISR y cada final de escán
(END, TND o REF).
A fin de proporcionar protección contra la
modificación accidental del monitor de datos
de la selección, programe una instrucción
MOV incondicional que contenga el valor de
comparación de la DII en S:49.
• •
S:50 Configuración
dinámica
Interrupción de entrada discreta - Valor
preseleccionado
Cuando este valor es igual a 0 ó 1, una
interrupción es generada cada vez que se
satisfacen las palabras especificadas S:48 y
S:49. Cuando este valor está entre 2 y 32767,
un conteo ocurrirá cada vez que la
comparación de bit se satisfaga. Una
interrupción será generada cuando el valor de
acumulador alcance 1 ó exceda el valor
preseleccionado. Este valor se aplica al
momento de detección del bit de
reconfiguración DII, cada salida de DII ISR y al
final de cada escán (END, TND o REF).
A fin de proporcionar protección contra la
modificación accidental del monitor de datos
de la selección, programe una instrucción
MOV incondicional que contenga el valor
preseleccionado de la DII en S:50..
• •
Preface
Manual de referencia del juego de instrucciones
B–72
Dirección Clasificación Descripción
Fijo,
5/01
5/02 5/03 5/04
S:51 Estado Interrupción de entrada discreta - Máscara
de retorno
 !.'  (## ' () - !(2
!( ('   (   '))( 
'( * # #(  !$ # ('  '
('#'  (' %) )'#  ()$2
0  ( ' '(  ' ' $0  
'(  ('#'  (' %) )'# 
()$0 '$# $ ('0 
' #!$#'   ,     ( '
$#  # ' ' !'0 '( * # '
## $#  $#'#  !#!(#  ' 
  '))( 
' '( *# $ * ' ('#' 
()$0   )# #)
') .!!(   )'( $)
)' '( *# (#   '))(  $
( (! # * ') $#'0  
')
• •
S:52 Estado Interrupción de entrada discreta -
Acumulador
 )!) #  #(  1!# 
#(#' %)  #)# *   )#
) #(# #) ,  )!) # ' !,# #
) %)  * # $' ## )
()$0  ' 
• •
S:53 y S:54 NA Reservado • •
S:55 Estado Ultimo tiempo de escán de interrupción de
entrada discreta
'( * #   !(#'   !' 
(!$# (') )(  '))( 
!.' (  '# )0  '( * # '
  ± !'
• •
S:56 Estado Tiempo de escán de entrada discreta
máximo observado
'( * #   !(#'   !' 
(!$# !.+!# (')# )( )
)0  '))(   $#'#
#!$  * #  1 (!# '.   
 * #  '.  !.+!# #(# 
    $#'# (! %)  * #
 1 (!# '.  ' !,# %)  * #
 !#     * #  1 (!# '.
  ' '     ) '/ '
#*(   )*# (!$#  '. 
!.+!#  '# )0  '( * # '  
± !'
(#) '( * # )'# ) )0 
!#(#  (#'  '$#'(*# 
$#!0 ' '( (! # *
 (!$#  '. !.' +('#  $#!
• •
Archivo de estado SLC
B–73
Dirección Clasificación Descripción
Fijo,
5/01
5/02 5/03 5/04
S:57 Estado Número de catálogo del sistema de operación
( $ ! (6'!,) ! .3)#) ! -$-.!' !
)*!,$5( ), !%!'*) ! 0), !  $( $
! -$-.!' ! )*!,$5( 7  ! 0), !
 $( $ 7 
• •
S:58 Estado Serie del sistema de operación
( $  -!,$! ! -$-.!' ! )*!,$5( ),
!%!'*) ! 0), !  $( $ /( -!,$!  2 !
0), !  $( $ /( -!,$! 
• •
S:59 Estado FRN del sistema de operación
( $ ! (6'!,) ! 0!,-$5( ! $,'1,! !
-$-.!' ! )*!,$5( ), !%!'*) ! 0),
!  $( $  2 ! 0), !  $( $ 
• •
S:60 Estado Número de catálogo del procesador
( $ ! (6'!,) ! .3)#) ! *,)!- ),
), !%!'*) ! 0), !  $( $ 7  2 !
0), ! $( $ 7 
• •
S:61 Estado Serie del procesador
( $  -!,$! ! *,)!- ), ), !%!'*) !
0), !  $( $  -!,$!  2 ! 0), ! 
$( $  -!,$! 
• •
S:62 Estado Revisión del procesador
( $  ,!0$-$5( ! *,)!- ), ), !%!'*)
! 0), !  $( $  2 ! 0), !  $( $

• •
S:63 Estado Tipo de programa de usuario
( $ ! $-*)-$.$0) ! *,)#,'$5( +/! ,!5
! *,)#,' ! /-/,$)
• •
S:64 Estado Indice de funcionabilidad del programa de
usuario
( $ ! ($0! ! /($)($$  )(.!($ ) !(
/( .$*) ! *,)#,' !.!,'$( )
• •
S:65 Estado Tamaño de RAM de usuario
( $ ! .'4) !  !( *,- !
$(-.,/$5( ), !%!'*) ! 0), !- $#/ 
*,- ! $(-.,/$5( !  ! 
! *$  )- *,)!- ),!-  
  2    
• •
S:66 Estado Tamaño de Flash EEPROM
( $ ! .'4) ! '!'),$ ! -$-.!'
)*!,.$0) !( '$!-  ! *,- !  $.-
), !%!'*) ! 0), !  !- $#/   
*,- ! '!'),$
• •
Preface
Manual de referencia del juego de instrucciones
B–74
Dirección Clasificación Descripción
Fijo,
5/01
5/02 5/03 5/04
S:67 y S:68 Estado Canal 0 de nodos activos DHĆ485 • •
S:69 a S:82 NA Tabla de nodo activo de half duplex DF1 • •
S:83 a S:86 Estado Canal 1 de nodos activos DH+
Estas 4 palabras son mapeadas con bits para
representar los 64 nodos posibles en una red
DH+. S:83 a S:86/15 representan direcciones de
nodo 0-63 (0-77 octal). Estos bits son
establecidos por el procesador cuando existe un
nodo en la red DH+ a la cual está conectado el
procesador. Estos bits se ponen a cero cuando
un nodo no está presente en la red.
Note que S:34/1 se debe establecer a fin que
las palabras anteriores funcionen.
•
S:87 a S:96 NA Reservado •
S:97 a S: 98 NA Reservado (se aplica los procesadores SLC
5/04 OS401)
S:99 Configuración
dinámica
Palabra de estado global (SLC 5/04 OS401
solamente)
Los datos colocados en esta ubicación de
memoria se transmiten como la palabra de
estado global del procesador y se envían a
todos los otros dispositivos en la red DH+
cada vez que el procesador pasa el testigo
DH+.
•
S:100 a
S:163
Configuración
estática
Archivo de estado global (SLC 5/04 OS401
solamente)
Cuando un procesador pasa el testigo DH+ al
próximo nodo, también envía una palabra de 16
bits llamada la palabra de estado global (S:99 y
posteriores). Todos los nodos en la red leen la
palabra de estado global transmitida por cada
procesador y guardan la palabra en memoria.
Cada procesador tiene una tabla (archivo de
estado global) en memoria donde se
almacenan las palabras de estado global de los
otros procesadores. Esta tabla se actualiza
completamente durante cada rotación de
testigo. (Ejemplo: La palabra desde el nodo x
se coloca en S:100 + x.)
Usted puede usar el archivo de estado global
como mensaje de difusión de alta velocidad
para el paso de estado y sincronización de los
procesadores.
•
Uso de memoria y tiempos de ejecucion de instruccion
C–1
C Uso de memoria y tiempos de
ejecución de instrucción
Este apéndice proporciona:
• palabras de instrucción y tiempos de ejecución de instrucción para los
controladores MicroLogix 1000
• palabras de instrucción y tiempos de ejecución de instrucción para los
procesadores compactos, SLC 5/01, SLC 5/02, SLC 5/03 y SLC 5/04
• ejemplos de cómo estimar el uso total de memoria del sistema para los
controladores MicroLogix 1000 y todos los procesadores SLC
Si usted desear usar:
Vea la
página:
Preface
Manual de referencia del juego de instrucciones
C–2
Tiempos de ejecución de instrucción y uso de memoria
de instrucción
Controladores MicroLogix 1000
La tabla siguiente lista los tiempos de ejecución y uso de memoria para las
instrucciones del controlador MicroLogix 1000. Toda instrucción que tome más de
15 µs (tiempo de ejecución verdadero o falso) para ejecutarse, crea una encuesta
para las interrupciones de usuario.
Mnemónico
Tiempo de
ejecución falso
(aprox.
µsegundos)
Tiempo de
ejecución
verdadero (aprox.
µsegundos)
Uso de memoria
(palabras de
usuario)
Nombre
Tipo de
instrucción
ADD 6.78 33.09 1.50 Añadir Matemática
AND 6.78 34.00 1.50 Y Manejo de datos
BSL 19.80
53.71 + 5.24 x
valor de posición
2.00
Desplazamiento
de bit a la izq.
Específica a la
aplicación
BSR 19.80
53.34 + 3.98 x
valor de posición
2.00
Desplazamiento
de bit a la der.
Específica a la
aplicación
CLR 4.25 20.80 1.00 Borrar Matemática
COP 6.60 27.31 + 5.06/pal. 1.50 Copia de archivo Manejo de datos
CTD 27.22 32.19 1.00 Conteo regresivo Básica
CTU 26.67 29.84 1.00 Conteo progresivo Básica
DCD 6.78 27.67 1.50
Descodificar 4 a 1
de 16
Manejo de datos
DDV 6.78 157.06 1.00 División doble Matemática
DIV 6.78 147.87 1.50 División Matemática
ENC 6.78 54.80 1.50
Codificar (encode)
1 a 16 de 4
Manejo de datos
EQU 6.60 21.52 1.50 Igual Comparativa
FFL 33.67 61.13 1.50 Carga FIFO Manejo de datos
FFU 34.90
73.78 + 4.34 x
valor de posición
1.50 Descarga FIFO Manejo de datos
FLL 6.60 26.86 + 3.62/pal. 1.50 Llenar el archivo Manejo de datos
FRD 5.52 56.88 1.00 Convertir de BCD Manejo de datos
GEQ 6.60 23.60 1.50 Mayor o igual que Comparativa
Uso de memoria y tiempos de ejecucion de instruccion
C–3
Mnemónico
Tipo de
instrucción
Nombre
Uso de memoria
(palabras de
usuario)
Tiempo de
ejecución
verdadero (aprox.
µsegundos)
Tiempo de
ejecución falso
(aprox.
µsegundos)
     5-0 /3$ -+. 0 (8,
   
-,2 #-0 #$ *2
4$*-(# #
-,2 #-0 #$ *2
4$*-(# #
   
,' ! #$ (,2$003.9
(8, #$ -,2 #-0
#$ *2 4$*-(# #
-,2 #-0 #$ *2
4$*-(# #
   
 ! #$ (,2$003.9
(8, #$ -,2 #-0
#$ *2 4$*-(# #
-,2 #-0 #$ *2
4$*-(# #
   
0 #$ -,2 #-0
#$ *2 4$*-(# #
-,2 #-0 #$ *2
4$*-(# #
    
,20 # (,+$#( 2
-, +61 0
-,20-* #$ %*3)- #$
.0-0 +
   
3!032(, #$
(,2$003.(8,
1.$7%(- *
.*( (8,
   
 *(# (,+$#( 2
-, +61 0
-,20-* #$ %*3)- #$
.0-0 +
     *2 0 $2(/3$2
-,20-* #$ %*3)- #$
.0-0 +
     *2 0 13!032(,
-,20-* #$ %*3)- #$
.0-0 +
     2(/3$2
-,20-* #$ %*3)- #$
.0-0 +
    $,-0 - (3 * /3$ -+. 0 2(4
    $,-0 /3$ -+. 0 2(4
     03$! *7+ -+. 0 2(4
    0   ,$)- #$ # 2-1
    $1 0   ,$)- #$ # 2-1
    
$12 !*$(+($,2-
-,20-* + $120-
-,20-* #$ %*3)- #$
.0-0 +
    
-+. 0 (8, -,
+61 0 . 0
(3 *
-+. 0 2(4
    -4$0  ,$)- #$ # 2-1
      3*2(.*( (8,  2$+62(
Preface
Manual de referencia del juego de instrucciones
C–4
Mnemónico
Tipo de
instrucción
Nombre
Uso de memoria
(palabras de
usuario)
Tiempo de
ejecución
verdadero (aprox.
µsegundos)
Tiempo de
ejecución falso
(aprox.
µsegundos)
    
+1#- !+*
)3.!-
*#'+ # /+.
     ) + # .%*+ *#'+ # /+.
       $#-#*/# +),-/1
     + *#'+ # /+.
      *#'+ # /+.
   
* $-#*/#
.!#*#*/#
3.!
      !/1!5* # .( 3.!

!+*/+- # (/
1#(+!
  
!/0( # !0)
# )%#* #
!+*/+- (/ 1#(
+*/+- # (/
1#(+!
    *!(1 # .( 3.!
    #.#*!(1 .( 3.!
   
!0)0(+- #
-#./  # !+*/+-
# (/ 1#(
+*/+- # (/
1#(+!
 /#),+6
-2+- !+*/+-
    #./ (#!)#*/+ 3.!
 !+*/+- #
(/ 1#(+!
   #./ ( #( !+*/6
+- # (/ 1#(
+*/+- # (/
1#(+!
     #/+-*+ #
.0 -0/*
+*/-+( # $(0'+ #
,-+%-)
      
#),+-2+-
-#/#*/1+
3.!
     0 -0/* +*/-+( # $(0'+ #
,-+%-)
     .!(- /+. /#)3/!
       #!0#*!+- #
!+),-!5*
.,#!4$!  (
,(!!5*
      -% .#! .,#!4$!  (
,(!!5*
      
#!0#*!+- #
.(
.,#!4$!  (
,(!!5*
    42 !0- /#)3/!
Uso de memoria y tiempos de ejecucion de instruccion
C–5
Mnemónico
Tipo de
instrucción
Nombre
Uso de memoria
(palabras de
usuario)
Tiempo de
ejecución
verdadero (aprox.
µsegundos)
Tiempo de
ejecución falso
(aprox.
µsegundos)
    *+-) 
*(1   $
($2
    +-) 
*(1   $
($2
    '%/) 
*(1   $
($2
    *+ +%0+
     ,*(
'+)'$  $,#' 
()'!)%
     +%(')$
'+)'$  $,#' 
()'!)%
     '-)+)   #'  +'*
    
%(')/')  $
*'.2
0*
    
%(')/')  $
'.2
0*
     
.% *
))'
0*
      .% * )+' 0*
    
()2 
*$,*-
#'  +'*
Latencia de interrupción de usuario
La latencia de interrupción de usuario es el tiempo máximo transcurrido desde el
momento en que ocurre una condición de interrupción (por ejemplo, la STI caduca o
la HSC preseleccionada se alcanza) hasta el momento en que la subrutina de
interrupción de usuario comience a ejecutarse (se asume la ausencia de otras
condiciones de interrupción).
Si usted se comunica con el controlador, la latencia de interrupción de usuario
máxima es 872 µs. Si usted no se comunica con el controlador, la latencia de
interrupción de usuario máxima es 838 µs.
Manual de referencia del juego de instrucciones
C–6
Cómo estimar el uso de memoria para el sistema de control MicroLogix 1000
Use lo siguiente para calcular el uso de memoria para el sistema de control
MicroLogix 1000.
El resultado de este cálculo será la memoria total
aproximada remanente en el controlador
seleccionado.
Reste el uso de memoria total de 1024.
Nota El uso de memoria calculado puede variar del
programa real compilado en ±12%.
4. Determine el total de palabras de instrucción usadas
por las instrucciones en el programa e introduzca el
resultado. Refiérase a la tabla en la pág. C–2.
5. Multiplique el no. total de renglones entre 0.75 e
introduzca el resultado. No cuente los renglones
END en cada archivo.
6. Para contabilizar el overhead del controlador,
use 177.
7. Para contabilizar los datos de aplicación,
use 110.
8. Sume los pasos 1–4. Este es el uso de memoria
total estimado del sistema de aplicación.
Recuerde que se trata de un cálculo aproximado.
Los programas reales compilados pueden diferir
un máximo de ±12%.
9. Para determinar la cantidad aproximada de
memoria que resta en el controlador que usted ha
seleccionado, haga lo siguiente:
Uso de memoria
total:
177
110
1024
-
Memoria total
remanente:
Uso de memoria total
(de la suma anterior)
Uso de memoria y tiempos de ejecucion de instruccion
C–7
Hoja de trabajo de tiempo de ejecución del controlador MicroLogix 1000
Use esta hoja de trabajo para calcular el tiempo de ejecución del programa de
escalera.
3. Estime el tiempo de escán del controlador:
          
              
2. Estime el tiempo de escán del programa:
   #             
                     
      !À
Procedimiento Tiempo de escán máx.
1. Tiempo de escán de entrada, tiempo de escán de salida, tiempo de mantenimiento y forzados.
4. Divida el tiempo de escán del controlador entre 1000 para determinar el tiempo de escán máx. en ms.
_________ µ
_________
_________ µ
_________ 

_________ µ
_________ µ
À       !     !     !
Preface
Manual de referencia del juego de instrucciones
C–8
Descripción general del uso de memoria para los
procesadores SLC
Los controladores SLC 500 tienen las capacidades de memoria de usuario
siguientes:
Tipo de procesador Tipo de controlador
Capacidad de memoria de
usuario
#(# #'   #'
#!$(# +   #(# #' !#) '
 - 
 $ '  '(),
 
#(# #' !#) '
 -
 $ '  '(),
 
#(# #' !#) '
 -
   $ '
 
#(# #' !#) '
 - 
 -
 -
  $ 'À
À )#  $#!  '  ' !+# %)   $ ' )'(  '$  $#! 
#' *#'  %) ) *# $$ *#  + $# # !#' ) *#  '))(
   
Las definiciones siguientes se aplican al calcular el uso de memoria:
• compacto, SLC 5/02 y SLC 5/02 – 1 palabra de instrucción = 4 palabras de
datos = 8 bytes
• SLC 5/03 y SLC 5/04 – 1 palabra de instrucción = 1 palabra de datos
Uso de memoria y tiempos de ejecucion de instruccion
C–9
Tiempos de ejecución de instrucción y uso de memoria
de instrucción
Procesadores fijos y SLC 5/01
El número de palabras de instrucción usadas por una instrucción se indica en la tabla
siguiente. Puesto que el programa es compilado por el programador, sólo es posible
establecer cálculos aproximados para las palabras de instrucción usadas por las
instrucciones individuales. El uso de memoria calculado generalmente es mayor
que el uso de memoria real debido a la optimización del compilador.
Mnemónico
Tiempo de
ejecución falso
(aprox.
µsegundos)
Tiempo de
ejecución
verdadero (aprox.
µsegundos)
Uso de memoria
(palabras de
usuario)
Nombre
Tipo de
instrucción
    4,! !3%,83)#!
   /%1!$.1 +:')#. !-%*. $% $!3.2
     /.1
/!+!1!
 %2/+!7!,)%-3. !
+! )704)%1$!
2/%#9)#! ! +!
!/+)#!#):-
     /.1
/!+!1!
 %2/+!7!,)%-3. !
+! $%1%#(!
2/%#9)#! ! +!
!/+)#!#):-
    .11!1 !3%,83)#!
     /.1
/!+!1!
  ./)!1 !1#()5. !-%*. $% $!3.2
    .-3!$.1  82)#!
    .-3!$.1  82)#!
     %2#.$))#!1  ! 
$% 
!-%*. $% $!3.2
    .+% $)5)2):- !3%,83)#!
     )5)2):- !3%,83)#!
     '4!+ .,/!1!3)5!
     /.1
/!+!1!
  +%-!1 !1#()5. !-%*. $% $!3.2
    .-5%13)1 $%  !-%*. $% $!3.2
     !6.1 . )'4!+ 04% .,/!1!3)5!
     !6.1 04% .,/!1!3)5!
   
.-3!$.1 $% !+3!
5%+.#)$!$
.-3!$.1 $% !+3!
5%+.#)$!$
Preface
Manual de referencia del juego de instrucciones
C–10
Mnemónico
Tiempo de
ejecución falso
(aprox.
µsegundos)
Tiempo de
ejecución
verdadero (aprox.
µsegundos)
Uso de memoria
(palabras de
usuario)
Nombre
Tipo de
instrucción
    
*0. *)#0
!+* )3/!.
+*0.+( # $(1'+ #
,.+%.)
    
( *)#0
!+* )3/!.
+*0.+( # $(1'+ #
,.+%.)
    (0.  #0-1#0
+*0.+( # $(1'+ #
,.+%.)
    (0  /1 .10*
+*0.+( # $(1'+ #
,.+%.)
     0-1#0
+*0.+( # $(1'+ #
,.+%.)
    #*+. + %1( -1# +),.02
    #*+. -1# +),.02
   
#/0 (#!)#*0+
!+*0.+( )#/0.+
+*0.+( # $(1'+ #
,.+%.)
   
+),.!4* !+*
)3/!. ,. %1(
+),.02
    +2#. *#'+ # 0+/
    1(0,(!!4* 0#)30!
   
+2#. !+*
)3/!.
*#'+ # 0+/
    ) + # /%*+ *#'+ # 0+/
    $#.#*0# +),.02
   
,#.!4* +0
(4%!+
*#'+ # 0+/
  
,#.!4* 
(4%!+
*#'+ # 0+/
   
* $.#*0#
/!#*#*0#
3/!
    
!02!4* #
/(
3/!+
     *!(2 /( 3/!+
     #/#*!(2 /( 3/!+
    #/0 (#!)#*0+ 3/!+
Uso de memoria y tiempos de ejecucion de instruccion
C–11
Mnemónico
Tiempo de
ejecución falso
(aprox.
µsegundos)
Tiempo de
ejecución
verdadero (aprox.
µsegundos)
Uso de memoria
(palabras de
usuario)
Nombre
Tipo de
instrucción
RET 12 34 0.50 Retorno de
subrutina
Control de flujo de
programa
RTO 12 140 1.00 Temporizador
retentivo
Básica
SBR 2 2 0.50 Subrutina Control de flujo de
programa
SQC 12 225 2.00 Secuenciador de
comparación
Específica a la
aplicación
SQO 12 225 2.00 Secuenciador de
salida
Específica a la
aplicación
SUB 12 125 1.50 Resta Matemática
SUS 12 12 1.50 Suspender Control de flujo de
programa
TND 12 32 0.50 Fin temporal
Control de flujo de
programa
TOD 12 200 1.00 Convertir a BCD Manejo de datos
TOF 12 140 1.00 Temporizador a la
desconexión
Básica
TON 12 135 1.00 Temporizador a la
conexión
Básica
XIC 4 4 1.00 Examina si
cerrado
Básica
XIO 4 4 1.00 Examina si abierto Básica
XOR 12 87 1.50
Operador O
exclusivo
Manejo de datos
À Estas instrucciones toman tiempo de ejecución cero si hay condiciones que las preceden garantizando el estado del
renglón. La lógica de escalera se resuelve de izquierda a derecha. Las bifurcaciones se resuelven de arriba hacia
abajo.
Ejemplo
Para el ejemplo de renglón siguiente:
1) Si la instrucción 1 es falsa, las instrucciones 2, 3, 4,
5, 6, 7 toman tiempo de ejecución cero.
Tiempo de ejecución =
4 + 18 = 22 microsegundos.
2) Si la instrucción 1 es verdadera, 2 es verdadera y 5
es verdadera, entonces las instrucciones 3, 4, 5, 7
toman tiempo de ejecución cero. Tiempo de
ejecución = 4 = 4 = 4 = 18 = 30 microsegundos.
] [
1
( )
8
] [
2
] [
6
] [
3
] [
4
] [
5
] [
7
Manual de referencia del juego de instrucciones
C–12
Cómo estimar el uso de memoria total del sistema usando un procesador
compacto o SLC 5/01
1. Calcule el total de palabras de instrucción usadas por las instrucciones en el
programa e introduzca el resultado. Refiérase a la tabla en la página C–9.
2. Multiplique el no. total de renglones por .375 e introduzca el resultado.
3. Multiplique el no. total de palabras de datos (excluyendo las palabras del archivo
de estado y datos de E/S) por .25 e introduzca el resultado.
4. Añada 1 palabra por cada archivo de tabla de datos e introduzca el resultado.
5. Multiplique por 2 el archivo de programa con el no. más alto usado e introduzca
el resultado.
6. Multiplique por .75 el no. total de palabras de datos de E/S e introduzca el
resultado.
7. Multiplique el no. total de ranuras de E/S, usadas o no usadas, por .75 e
introduzca el resultado.
8. Para contabilizar el overhead del procesador, introduzca 65 si usted usa un
controlador fijo; introduzca 67 si usa un 1747-L511 ó 1747-L514.
9. Sume los pasos 1 a 8. Este es el uso de memoria total aproximado del sistema de
aplicación. Recuerde que se trata de un cálculo aproximado. Los programas
reales compilados podrían diferir ±12%.
10. Si usted desea determinar la cantidad de memoria aproximada remanente en el
procesador que ha seleccionado, haga lo siguiente:
Si usa un controlador compacto ó 1747-L511, reste el total de 1024. Si usa un
1747-L514, reste el total de 4096.
El resultado de este cálculo será la memoria total aproximada remanente en el
procesador seleccionado.
Total:
Nota El uso de memoria calculado puede diferir del programa compilado real en ±12%.
Uso de memoria y tiempos de ejecucion de instruccion
C–13
Continuación de procesadores fijos y SLC 5/01
Ejemplo
Controlador de E/S fijo L20B
42 XIC y XIO 42 x 1.00 = 42.00
10 instrucciones OTE 10 x 0.75 = 7.50
10 instrucciones TON 10 x 1.00 = 10.00
1 instrucción CTU 1 x 1.00 = 1.00
1 instrucción RES 1 x 1.00 = 1.00
Uso de instrucciones 61.50
21 renglones 21 x.375 = 7.87
37 palabras de datos 37 x.250 = 9.25
Total del programa de usuario 78.62
2 palabras de datos de E/S 2 x 0.75 = 1.50
1 ranura 1 x 0.75 = 0.75
Overhead 65.00
Total de configuración de E/S 67.25
Uso de memoria total estimado: 145.87
(redondee a 146)
1024 – 146 = 878 palabras de instrucción
remanentes en el procesador
Preface
Manual de referencia del juego de instrucciones
C–14
Continuación de procesadores fijos y SLC 5/01
Ejemplo
Procesador 1747ĆL514, configuración de 30 ranuras, (15) 1746ĆIA16, (10) 1746ĆOA8, (1)
configuración completa 1747ĆDCM, (1) 1746ĆNI4, (1) 1746ĆNIO41
50 XIC y XIO 50 x 1.00 = 50.00
15 instrucciones OTE 15 x 0.75 = 11.25
5 instrucciones TON 5 x 1.00 = 5.00
3 instrucciones GRT 3 x 1.50 = 4.50
1 instrucción SCL 1 x 1.75 = 1.75
1 instrucción TOD 1 x 1.00 = 1.00
3 instrucciones MOV 3 x 1.50 = 4.50
10 instrucciones CTU 10 x 1.00 = 10.00
10 instrucciones RES 10 x 1.00 = 10.00
Uso de instrucciones 98.00
30 renglones 30 x 0.375 = 11.25
100 palabras de datos 100 x 0.25 = 25.00
10 es el no. de archivo de tabla
de datos más alto 10 x 1 = 10.00
4 es el no. de archivo de programa
más alto 4 x 2 = 8.00
Total del programa de usuario 163.50
49 palabras de datos de E/S 49 x 0.75 = 36.75
30 ranuras 30 x 0.75 = 22.50
Overhead 67.00
Total de configuración de E/S 126.25
Uso de memoria total estimado: 289.75
(redondee a 290)
4096 – 290 = 3806 palabras de instrucción que
restan en el procesador
Uso de memoria y tiempos de ejecucion de instruccion
C–15
Procesador SLC 5/02
El número de palabras de instrucción usadas por una instrucción se indica en la tabla
siguiente. Ya que el programa es compilado por el programador, sólo es posible
establecer cálculos aproximados para las palabras de instrucción usadas por las
instrucciones individuales. El uso de memoria calculado generalmente es mayor
que el uso de memoria real debido a la optimización del compilador.
Mnemónico
Tiempo de
ejecución falso
(aprox.
µsegundos)
Tiempo de
ejecución
verdadero (aprox.
µsegundos)
Uso de memoria
(palabras de
usuario)
Nombre
Tipo de
instrucción
ADD 7 76 1.5 Suma Matemática
AND 7 55 1.5 Operdor Y lógico Manejo de datos
BSL 36 89 +14 por pal. 2.00
Desplazamiento a
la izquierda
Específica a la
aplicación
BSR 36 83 +14 por pal. 2.00
Desplazamiento a
la derecha
Específica a la
aplicación
CLR 7 26 1.00 Borrar Matemática
COP 7 29 + 13 por pal. 1.50 Copiar archivo Manejo de datos
CTD 7 69 1.00 Conteo - Básica
CTU 7 69 1.00 Conteo + Básica
DCD 7 50 1.50
Descodificar 4 a 1
de 16
Manejo de datos
DDV 7 392 1.00 Doble división Matemática
DIV 7 242 1.50 División Matemática
EQUÀ 38 38 1.50 Igual Comparativa
FFL 51 150 1.50 Carga FIFO Manejo de datos
FFU 51
150 +11 x valor de
posición
1.50 Descarga FIFO Manejo de datos
FLL 7 25 + 8 por pal. 1.50 Llenar archivo Manejo de datos
FRD 7 136 1.00 Convertir de BCD Manejo de datos
GEQÀ 38 38 1.50 Mayor o igual que Comparativa
GRTÀ 38 38 1.50 Mayor que Comparativa
IID 7 39 1.25
Interrupción de
E/S inhabilitar
Comprensión de
las rutinas de
interrupción
Preface
Manual de referencia del juego de instrucciones
C–16
Mnemónico
Tipo de
instrucción
Nombre
Uso de memoria
(palabras de
usuario)
Tiempo de
ejecución
verdadero (aprox.
µsegundos)
Tiempo de
ejecución falso
(aprox.
µsegundos)
  
+1#//2-!'6+ #
  ')'1/
,*-/#+0'6+ #
)0 /21'+0 #
'+1#//2-!'6+
   
+1/ '+*#'1
!,+ *40!/
,+1/,) # $)2(, #
-/,%/*
   
2 /21'+ #
'+1#//2-!'6+
0-#!5$'!,  )
-)'!!'6+
   
)' '+*#'1
!,+ *40!/
,+1/,) # $)2(, #
-/,%/*
   )1/  #1'.2#1
,+1/,) # $)2(, #
-/,%/*
   )1/  02 /21'+
,+1/,) # $)2(, #
-/,%/*
     1'.2#1
,+1/,) # $)2(, #
-/,%/*
À    #+,/ , '%2) .2# ,*-/1'3
À    #+,/ .2# ,*-/1'3
   /2#  )5* ,*-/1'3
     /%  +#(, # 1,0
    #0!/%  +#(, # 1,0
  
#01 )#!'*'#+1,
!,+1/,) *#01/,
,+1/,) # $)2(, #
-/,%/*
À  
,*-/!'6+ !,+
*40!/ -/
'%2)
,*-/1'3
   ,3#/ +#(, # 1,0
   Á   #+0(# ,*2+'!!'6+
   2)1'-)'!!'6+ 1#*41'!
  
,3#/ !,+
*40!/
+#(, # 1,0
  * ', # 0'%+, +#(, # 1,0
À    '$#/#+1# ,*-/1'3
Uso de memoria y tiempos de ejecucion de instruccion
C–17
Mnemónico
Tiempo de
ejecución falso
(aprox.
µsegundos)
Tiempo de
ejecución
verdadero (aprox.
µsegundos)
Uso de memoria
(palabras de
usuario)
Nombre
Tipo de
instrucción
  
+,!*, *.
'4$% *
)* ! !.*-
  
+,!*, 
%) '/-%0*
)* ! !.*-
   
) #,).
- )!).
2-% 
    
.%0 %4) !
-'%!
2-% 
    
) '0(%).* !
-'%!
2-% 
    
-) '0(%).*
! -'%!
2-% 
    
,%0!
+,*+*, %*)'

      +*, +'  $),,
*(+,)-%4) !
'- ,/.%)- !
%).,,/+ %4)
   -.' %(%).* 2-% 
  
.*,)* !
-/,/.%)
*).,*' ! #'/* !
+,*$,(
  
-.' ,
%).,,/+ %4)
+)!%).
*(+,)-%4) !
'- ,/.%)- !
%).,,/+ %4)
   
(+*,%1!*,
,.).%0*
2-% 
    /,/.%)
*).,*' ! #'/* !
+,*$,(
     - ', !.*- .(2.% 
   
 /) %!*, !
*(+, %4)
-+ 3#% *  '
+'%  %4)
   
,$ !
- /) %!*,
-+ 3#% *  '
+'%  %4)
Preface
Manual de referencia del juego de instrucciones
C–18
Mnemónico
Tiempo de
ejecución falso
(aprox.
µsegundos)
Tiempo de
ejecución
verdadero (aprox.
µsegundos)
Uso de memoria
(palabras de
usuario)
Nombre
Tipo de
instrucción
SQO 36 137 2.00 Secuenciador de
salida
Específica a la
aplicación
SQR 7 162 1.25 Raíz cuadrada Matemática
STD 4 9 0.50 Desactivar STI Específica a la
aplicación
STE 4 9 0.50 Activar STI Específica a la
aplicación
STS 7 72 1.25 Comenzar STI Específicoaa la
aplicación
SUB 7 77 1.50 Resta Matemática
SUS 7 7 1.50 Suspend Control de flujo de
programa
SVC 4 240 Servicio de
comunicaciones
Comunicación
TND 7 22 0.50 Fin temporal Control de flujo de
programa
TOD 7 122 1.00 Convertir a BCD Manejo de datos
TOF 36 86 1.00 Temporizador a la
desconexión
Básica
TON 36 83 1.00 Temporizador a la
conexión
Básica
XICÀ 2.40 2.4 1.00 Examina si cerrado Básica
XIOÀ 2.40 2.4 1.00 Examina si abierto Básica
XOR 7 55 1.50 Oper. O exclusivo Manejo de datos
À Estas instrucciones toman tiempo de ejecución cero si hay condiciones que las preceden garantizando el estado del
renglón. La lógica de renglón se resuelve de izquierda a derecha. Las bifurcaciones se resuelven desde abajo
hacia arriba.
Á Esto incluye solamente la cantidad de tiempo requerida para configurar la operación solicitada. No incluye el
tiempo necesario para dar servicio a las comunicaciones mismas.
Ejemplo
Para el ejemplo de renglón siguiente:
1) Si la instrucción 1 es falsa, las instrucciones 2, 3, 4, 5, 6, 7
toman tiempo de ejecución cero.
Tiempo de ejecución = 2.4 + 11 = 13.4 microsegundos.
2) Si la instrucción 1 es verdadera, 2 es verdadera y 6 es
verdadera, entonces las instrucciones 3, 4, 5, 7 toman
tiempo de ejecución cero. Tiempo de
ejecución = 2.4 + 2.4 + 2.4 + 11 = 18.2 microsegundos.
] [
1
( )
8
] [
2
] [
6
] [
3
] [
4
] [
5
] [
7
Uso de memoria y tiempos de ejecucion de instruccion
C–19
Continuación de procesador SLC 5/02
Cómo estimar el uso de memoria total del sistema usando un procesador
SLC 5/02
1. Calcule el total de palabras de instrucción usadas por las instrucciones en el
programa e introduzca el resultado. Refiérase a la tabla en la pág. C–15.
2. Multiplique el no. total de renglones por .375 e introduzca el resultado.
3. Si usa un 1747-L524 y ha habilitado el modo de prueba de un solo paso,
multiplique el no. total de renglones por .375 e introduzca el resultado.
4. Multiplique por .25 el no. total de palabras de datos (excluyendo las
palabras del archivo de estado y datos de E/S) e introduzca el resultado.
5. Añada 1 palabra por cada archivo de tabla de datos usada e introduzca el
resultado.
6. Multiplique por 2 el archivo de programa con el no. más alto usado e
introduzca el resultado.
7. Multiplique por .75 el no. total de palabras de datos de E/S e introduzca el
resultado.
8. Multiplique por .75 el no. total de ranuras de E/S, usadas o no usadas, e
introduzca el resultado.
9. Para contabilizar el overhead del procesador, introduzca 204.
10. Sume los pasos 1 a 9. Este es el uso de memoria total estimado del sistema
de aplicación. Recuerde que se trata de un cálculo aproximado. Los
programas compilados reales pueden diferir en ±12%.
11. Si usted desea determinar la cantidad de memoria aproximada remanente en
el procesador que ha seleccionado, haga lo siguiente:
Si usa un 1747-L524, reste el total de 4096.
El resultado de este cálculo será la memoria total aproximada remanente en
el procesador seleccionado.
Total:
Nota El uso de memoria calculado puede diferir del programa compilado real en ±12%.
Manual de referencia del juego de instrucciones
C–20
Continuación de procesador SLC 5/02
Ejemplo
Procesador 1747-L524 de serie C, configuración de 30 ranuras, (15)
1746-IA16,(10) 1746-OA8, (1) 1747-DCM de configuración completa, (1)
1746-NI4, (1) 1746-NIO4I
50 XIC y XIO 50 x 1.00 = 50.00
15 instrucciones OTE 15 x 0.75 = 11.25
5 instrucciones TON 5 x 1.00 = 5.00
3 instrucciones GRT 3 x 1.50 = 4.50
1 instrucción SCL 1 x 1.75 = 1.75
1 instrucción TOD 1 x 1.00 = 1.00
3 instrucciones MOV 3 x 1.50 = 4.50
10 instrucciones CTU 10 x 1.00 = 10.00
10 instrucciones RES 10 x 1.00 = 10.00
Uso de instrucción 98.00
30 renglones 30 x 0.375 = 11.25
100 palabras de datos 100 x 0.25 = 25.00
10 es el no. de archivo de
tabla de datos más alto 10 x 1 = 10.00
4 es el no. de archivo de
programa más alto 4 x 2 = 8.00
Total del programa de usuario 163.50
49 palabras de datos de E/S 49 x 0.75 = 36.75
30 ranuras 30 x 0.75 = 22.50
Overhead 204.00
Total de configuración de E/S 263.25
Uso de memoria total estimado: 426.75
(redondee a 427)
4096 – 427 = 3669 palabras de instrucción
remanentes en el procesador
Uso de memoria y tiempos de ejecucion de instruccion
C–21
Continuación de procesador SLC 5/02
Instrucciones que tienen direcciones indexadas
Por cada operando que tienen una dirección indexada, añada 30 microsegundos al
tiempo de ejecución de una instrucción verdadera. Por ejemplo, si una instrucción
MOV tiene una dirección indexada para la fuente y el destino, el tiempo de
ejecución cuando la instrucción es verdadera es 14 + 30 + 30 = 74 microsegundos.
Instrucciones que tienen direcciones de archivo de datos M0 y M1
Por cada instrucción de bit o palabra, añada 1157 microsegundos al tiempo de
ejecución. Por cada instrucción de palabras múltiples, añada 950 microsegundos
más 400 microsegundos por palabra.
]/[
M1:3.1
1
] [
M0:2.1
1
( )
M0:2.1
10
MOV
MOVE
Source M1:10.7
Dest N7:10
Ejemplo
COP
COPY FILE
Source #B3:0
Dest #M0:1.0
Length 34
Por la instrucción de palabras múltiples anterior, añada 950 microsegundos más 400
microsegundos por palabra. En este ejemplo, 34 palabras son copiadas desde #B:3.0
hacia M0:1.0. Añada 950 + (400 x 34) = 14550 microsegundos al tiempo de
ejecución listado en la página C–15. Esto resulta en una suma de 471 más 14550 =
15021 microsegundos totales, o bien 15.0 milisegundos.
Preface
Manual de referencia del juego de instrucciones
C–22
Procesador SLC 5/03
El número de palabras usadas por una instrucción se indica en la tabla siguiente.
Además, las instrucciones que tienen capacidad para el punto (coma) flotante
aparecen en una nota al pie de la tabla. Cuando se usa un procesador SLC 5/03, es
importante tener en mente que 1 palabra de instrucción es igual a 1 palabra de datos.
Mnemónico
Tiempo de
ejecución falso
(aprox.
µsegundos)
Tiempo de
ejecución
verdadero (aprox.
µsegundos)
Uso de memoria
(palabras de
usuario)
Nombre
Tipo de
instrucción
ABL 39.70 129.90 2.00 Búfer de prueba
para línea
ASCII
ABS 0.75 9.95 2.00 Absoluto Matemática
ACB 39.70 140.7 2.00 No. de caracteres
en búfer
ASCII
ACI 0.22 86.62 2.00 Cadena a entero ASCII
ACL 0.22 367.50 2.00
Borrado del búfer
ASCII de recepĆ
ción y/o transmisión
ASCII
ACN 0.22 69.4 + (2.1/car.) 3.00
Concatendado de
cadenas
ASCII
ACS 0.75 510.85 2.00 Arco coseno Matemática
ADD 0.75 1.70 3.00, 4.00 Suma Matemática
AEX 0.22 56.2 + (4.7/car.) 4.00 Extracción de
cadena
ASCII
AHL 39.70 138.70 4.00 Líneas de
comunica. ASCII
ASCII
AIC 0.22 103.40 2.00 Entero a cadena ASCII
AND 0.75 1.70 3.00 Operador Y lógico Manejo de datos
ARD 39.70 181.8 3.00 Lectura de
caracteres ASCII
ASCII
ARL 39.70 190.00 3.00 Lectura ASCII de
línea
ASCII
ASC 0.22 53.4 + (1.8/car.) 4.00 Búsqueda de
cadena
ASCII
ASN 0.75 483.05 2.00 Arco seno Matemática
ASR 0.22 49.69 3.00 Comparación de
cadenas
ASCII
ATN 0.75 387.05 2.00 Arco tangente Matemática
Uso de memoria y tiempos de ejecucion de instruccion
C–23
Mnemónico
Tiempo de
ejecución falso
(aprox.
µsegundos)
Tiempo de
ejecución
verdadero (aprox.
µsegundos)
Uso de memoria
(palabras de
usuario)
Nombre
Tipo de
instrucción
AWA 39.7 365.50 3.00
Escritura ASCII
con anexo
ASCII
AWT 39.7 263.80 3.00 Escritura ASCII ASCII
BSL 15.00 50 + (2.3/palabra) 3.00
Desplazamiento a
la izquierda
Específica a la
aplicación
BSR 15.00 50 + (2.3/palabra) 3.00
Desplazamiento a
la derecha
Específica a la
aplicación
CLR 0.75 1.70 3.00, 1.00 Borrar Matemática
COP 0.75 30 + (2.20/palabra) 3.00 Copiar archivo Manejo de datos
COS 0.75 310.90 2.00 Coseno Matemática
CPT 0.75 À Á Calcular Matemática
CTD 1.40 1.40 1.00 Conteo - Básica
CTU 1.40 1.40 1.00 Conteo + Básica
DCD 0.50 10.00 2.00
Descodificar 4 a 1
de 16
Manejo de datos
DDV 0.50 33.00 2.00 Doble división Matemática
DEG 32.80 2.00 Grados Manejo de datos
DIV 0.75 23.00 3.00, 4.00 División Matemática
EQUÂ 1.25 1.25 3.00 Igual Comparativa
FFL 27.00 58.00 3.00 Carga FIFO Manejo de datos
FFU 27.00 79 + (2.20/palabra) 4.00 Descarga FIFO Manejo de datos
FLL 0.75 28 + (2.00/palabra) 3.00 Llenar archivo Manejo de datos
FRD 0.50 31.00 2.00 Convertir de BCD Manejo de datos
GEQÂ 1.25 1.25 3.00 Mayor o igual que Comparativa
GRTÂ 1.25 1.25 3.00 Mayor que Comparativa
IID 0.50 0.60 2.00
Interrupción de
E/S desactiva
Comprensión de
las rutinas de
interrupción
Preface
Manual de referencia del juego de instrucciones
C–24
Mnemónico
Tiempo de
ejecución falso
(aprox.
µsegundos)
Tiempo de
ejecución
verdadero (aprox.
µsegundos)
Uso de memoria
(palabras de
usuario)
Nombre
Tipo de
instrucción
     
,2%003.#(7, $%
 !#2(4!
-+.0%,1(7, $%
*!1 032(,!1 $%
(,2%003.#(7,
ÆÇ    
,20!$! (,+%$(!2!
#-, +51#!0!
-,20-* $% *3)- $%
.0-'0!+!
   
3032(,! $%
(,2%003.#(7,
1.%#6(#- ! *!
!.*(#!#(7,
ÆÈ     
!*($! (,+%$(!2!
#-, +51#!0!
-,20-* $% *3)- $%
.0-'0!+!
    !*2!0 ! %2(/3%2!
-,20-* $% *3)- $%
.0-'0!+!
    !*2!0 ! 13032(,!
-,20-* $% *3)- $%
.0-'0!+!
    2(/3%2!
-,20-* $% *3)- $%
.0-'0!+!
    %,-0 - ('3!* /3% -+.!0!2(4!
    %,-0 /3% -+.!0!2(4!
     !0'!  !,%)- $% $!2-1
     %1#!0'!  !,%)- $% $!2-1
Á    03%! *6+ -+.!0!2(4!
     -'!0(2+- ,!230!* !2%+52(#!
     
-'!0(2+- %,
!1% 
!2%+52(#!
   
%12!*%#(+(%,2-
#-,20-* +!%120-
-,20-* $% *3)- $%
.0-'0!+!
     
-+.!0!#(7, #-,
+51#!0! .!0!
('3!*
-+.!0!2(4!
     -4%0 !,%)- $% $!2-1
à   %,1!)% -+3,(#!#(7,
    3*2(.*(#!#(7, !2%+52(#!
      
-4%0 #-,
+51#!0!
!,%)- $% $!2-1
Uso de memoria y tiempos de ejecucion de instruccion
C–25
Mnemónico
Tiempo de
ejecución falso
(aprox.
µsegundos)
Tiempo de
ejecución
verdadero (aprox.
µsegundos)
Uso de memoria
(palabras de
usuario)
Nombre
Tipo de
instrucción
NEG 0.75 1.70 3.00 Cambio de signo Manejo de datos
NEQÂ 1.25 1.25 3.00 Diferente Comparativa
NOT 0.75 1.70 3.00 Operador Not
lógico
Manejo de datos
OR 0.75 1.70 3.00 Operador O
inclusivo
Manejo de datos
OSR 12.00 10.80 2.00 Un frente
ascendente
Básica
OTE 0.63 0.63 1.00 Activación de
salida
Básica
OTL 0.63 0.63 1.00 Enclavamiento de
salida
Básica
OTU 0.63 0.63 1.00 Desenclavamiento
de salida
Básica
PID 20.00 272.00 26.00 Proporcional/
integral/derivada
PID
RAD 0.75 31.80 2.00 Radianes Manejo de datos
REF 0.25 Å 1.00 Regenerar Comprensión de
rutinas de interrup.
RES 1.40 1.40 1.00 Restablecimiento Básica
RET 0.25 23.00 1.00 Retorno de
subrutina
Control de flujo de
programa
RPI 0.50 78 + (60/ranura) 2.00 Restabl. interrupĆ
ción pendiente
Comprensión de
rutinas de interrup.
RTO 1.40 1.40 1.00 Temporizador
retentivo
Básica
SBR 0.25 0.25 1.00 Subrutina Control de flujo de
programa
SCL 1.00 32.00 4.00 Escalar datos Matemática
SCP 0.75 33.10 6.00 Escalar con
parámetros
Matemática
SIN 0.75 311.95 2.00 Seno Matemática
SQC 13.00 60.00 5.00 Secuenciador de
comparación
Específica a la
aplicación
SQL 15.00 56.00 4.00 Carga
secuenciador
Específica a la
aplicación
Preface
Manual de referencia del juego de instrucciones
C–26
Mnemónico
Tiempo de
ejecución falso
(aprox.
µsegundos)
Tiempo de
ejecución
verdadero (aprox.
µsegundos)
Uso de memoria
(palabras de
usuario)
Nombre
Tipo de
instrucción
SQO 15.00 70.00 5.00
Secuenciador de
salida
Específico a la
aplicación
SQR 0.50 32.00 2.00, 3.00 Raíz cuadrada Matemática
STD 0.25 4.00 1.00 Desactivar STI
Específica a la
aplicación
STE 0.25 5.00 1.00 Activar STI
Específica a la
aplicación
STS 0.75 58.00 3.00 Comenzar STI
Específica a la
aplicación
SUB 0.75 1.70 3.00 Resta Matemática
SUS 0.50 12.00 2.00 Suspender
Control de flujo de
programa
SVC 0.25 Å 1.00
Servicio de
comunicaciones
Comunicación
SWP 0.75 24 + 13.09/palabra 2.00 Intercambiar Matemática
TAN 0.75 406.35 2.00 Tangente Matemática
TND 0.25 12.00 1.00 Fin temporal
Control de flujo de
programa
TOD 0.50 38.00 2.00 Convertir a BCD Manejo de datos
TOF 1.40 1.40 1.00
Temporizador a la
desconexión
Básica
TON 1.40 1.40 1.00
Temporizador a la
conexión
Básica
XICÂ 0.44 0.44 1.00 Examina si cerrado Básica
XIOÂ 0.44 0.44 1.00 Examina si abierto Básica
XOR 0.75 1.70 3.00 Oper. O exclusivo Manejo de datos
XPY 0.75 699.30 3.00 X a la pot. de Y Matemática
À Para obtener el tiempo de ejecución total para una instrucción CPT, tome el tiempo de ejecución CPT más cada
tiempo de ejecución de instrucción matemática adicional, más el número de instrucciones matemáticas multiplicados
por 3.01. Por ejemplo, si una instrucción CPT llama una instrucción ADD y una instrucción SUB, el cálculo es: 8.8 +
1.70 + 1.70 + 2(3.01) = 18.22
Á Para calcular el uso de memoria, haga los siguiente: Tome 2 más el no. de palabras de instrucción para cada
operación realizada más el no. de operaciones realizadas en el cálculo. Por ejemplo, 2 + ADD + SUB + 2 = 10.
 Estas instrucciones toman un tiempo de ejecución cero si hay condiciones que las preceden garantizando el estado
del renglón. La lógica de renglón se resuelve de la izquierda a la derecha. Las bifurcaciones se resuelven de arriba
hacia abajo.
Uso de memoria y tiempos de ejecucion de instruccion
C–27
à Esto sólo incluye la cantidad de tiempo necesaria para configurar la operación solicitada. No incluye el tiempo
necesario para dar servicio a las comunicaciones mismas.
Ä Esta instrucción efectúa un final de escán completo. Esto incluye un escán de entrada/salida, servicio de
comunicación y limpieza. Vea la hoja de trabajo D en el apéndice ** para calcular el tiempo de ejecución real.
Å canal 1 = 150 µs sin comandos pendientes
canal 2 = 170 µs sin comandos pendientes
Añada 1 ms por cada comando que ha recibido servicio.
Æ Los tiempos listados se aplican a los módulos de E/S discretas. Cuando usted use los módulos de E/S de 32
puntos, añada los microsegundos siguientes a todas las operaciones IIM e IOM:
• 15 µs IIM cuando es verdadera
• 30 µs IOM cuando es verdadera
Ç Cuando usted use los módulos siguientes y la instrucción IIM en el programa, añada los
microsegundos siguientes
• Entradas del módulo analógico o termopar, añada 450 a 550 µs
• Entradas del módulo BASIC, añada 500 a 550 µs
• Otras entradas especiales, añada 425 a 957 µs
È Cuando usted use los módulos siguientes y la instrucción IOM en el programa, añada los
microsegundos siguientes
• Entradas del módulo analógico o termopar, añada 390 a 416 µs
• Entradas del módulo BASIC, añada 440 a 466 µs
• Otras entradas especiales, añada 590 a 989 µs
Ejemplo
Para el ejemplo de renglón siguiente:
1) Si la instrucción 1 es falsa, las instrucciones 2, 3, 4, 5, 6, 7 toman un tiempo de ejecución cero.
Tiempo de ejecución = .44 + .63 = 1.07 microsegundos.
2) Si la instrucción 1 es verdadera, 2 es verdadera y 6 es verdadera, entonces las instrucciones 3,
4, 5, 7 toman un tiempo de ejecución de cero.
Tiempo de ejecución = .44 + .44 + .44 + .63 = 1.95 microsegundos.
] [
1
( )
8
] [
2
] [
6
] [
3
] [
4
] [
5
] [
7
Preface
Manual de referencia del juego de instrucciones
C–28
Tiempos de ejecución de punto (coma) flotante del procesador SLC 5/03
Los tiempos de punto (coma) flotante se aplican a los procesadores SLC 5/03
OS301 y OS302.
Los tiempos matemáticos de punto (coma) flotante en la tabla siguiente se aplican
cuando S:34/2 no es establecido. Cuando S:34/2 es establecido, los indicadores
matemáticos se actualizan después de que la instrucción se ha ejecutado y 4–8 µs se
añaden al tiempo de ejecución. S:34/2 se puede cambiar dinámicamente (es decir,
por el programa y mientras que el programa se ejecute). Por cada parámetro de
entero, añada 10 µs en consideración de la conversión de entero a punto (coma)
flotante.
Mnemónico
Tiempo de
ejecución falso
(aprox.
µsegundos)
Tiempo de
ejecución
verdadero (aprox.
µsegundos)
Uso de memoria
(palabras de
usuario)
Nombre
Tipo de
instrucción
À     /+(10+ 0#)50!
     1) 0#)50!
     +... 0#)50!
     2/7* 0#)50!
      %1( +),.02
      3+. + %1( -1# +),.02
      3+. -1# +),.02
     #*+. + %1( -1# +),.02
     #*+. -1# +),.02
      #/0 (6) +),.02
    +2#. *#'+ # 0+/
     1(0,(!!7* 0#)50!
    ) . #( /%*+ *#'+ # 0+/
     $#.#*0# +),.02
À     
/!(. !+*
,.5)#0.+/
0#)50!
    64 !1. 0#)50!
     #/0 0#)50!
À # ,(!  (+/ ,.+!#/+.#/    /+()#*0#
Uso de memoria y tiempos de ejecucion de instruccion
C–29
Si usted necesita realizar operaciones con punto (coma) flotante usando una
combinación de parámetros de punto (coma) flotante y enteros (valores y
direcciones de fuente/destino), calcule la cantidad de palabras de instrucción según
las pautas siguientes:
1. Comience con la cantidad de palabras para la instrucción del punto (coma)
flotante.
2. Añada 2 palabras por el primer parámetro de entero (dirección de valor o
fuente/destino).
3. Añada 1 palabra por cada parámetro de entero subsiguiente.
Estas palabras adicionales son necesarias para las conversiones de entero a punto
(coma) flotante.
Por ejemplo, esta instrucción requiere 7 palabras de instrucción:
ADD
ADD
Source A F8:8
Source B N7:7
Dest N7:10
• 4 palabras por la instrucción ADD de punto (coma) flotante
• +2 palabras por la dirección de entero N7:7
• +1 palabra por la segunda dirección de entero N7:10
Manual de referencia del juego de instrucciones
C–30
Continuación de procesador SLC 5/03
Cálculo aproximado del uso de memoria del sistema usando un procesador
SLC 5/03
1. Añada el no. total de palabras de archivo de datos usadas (excluyendo las
palabras del archivo de estado y datos de E/S) e introduzca el resultado.
2. Multiplique por 2 el no. total de palabras de datos de E/S e introduzca el
resultado.
3. Multiplique por 3 el no. total de ranuras de E/S, usadas o no usadas, e
introduzca el resultado
4. Para contabilizar el overhead del procesador, introduzca 236 e introduzca
el resultado.
5. Multiplique por 5 el archivo de tabla de datos con el número más alto e
introduzca el resultado.
6. Multiplique por 5 el archivo de programa con el número más alto e
introduzca el resultado.
7. Sume los pasos 1 a 6. Introduzca esto como el subtotal (uso de palabra
adicional de 4K).
8. Reste el valor en el paso 7 de 4096; si el resultado es positivo, introduzca
12,288 en el paso 14. Si el resultado es negativo, reste el valor absoluto de
12,288 e introduzca el resultado en el paso 14. (Esto disminuye el valor.)
9. Calcule el no. total de palabras usadas por la instrucción en el programa e
introduzca el resultado. Refiérase a la tabla en la página C–15.
10. Añada el no. total de renglones (1 palabra por renglón) e introduzca
el resultado.
11. Añada 1 palabra por cada referencia de dirección indexada e introduzca
el resultado.
12. Añada 2 palabras por renglón por cada renglón que contiene una referencia
dirección indexada e introduzca el resultado.
13. Añada los pasos 9 a 12 e introduzca el resultado.
14. Introduzca el resultado del paso 8. Esta es la memoria disponible.
15. Introduzca el resultado del paso 13. Este es el número total de palabras
usadas.
16. Reste el paso 15 del paso 14.
Esta es la cantidad de memoria disponible en el sistema.
Subtotal:
4096
–
Subtotal:
Total:
(paso 7)
Uso de memoria y tiempos de ejecucion de instruccion
C–31
Continuación de procesador SLC 5/03
Ejemplo
Procesador 1747-L532, configuración de 30 ranuras, (15) 1746-IA16,
(10) 1746-OA8, (1) 1747-DCM de configuración completa, (1) 1746-NI4,
(1) 1746-NIO4I
100 palabras de datos 100 x 1.00 =100.00
49 palabras de datos de E/S 49 x 3.00 =147.00
30 ranuras 30 x 3.00 = 90.00
Overhead 236.00
10 es el número de tabla de
datos más alto 10 X 5 = 50.00
4 es el número de archivo de
programa más alto 4 X 5 = 20.00
Subtotal 643.00
Considere 4K adicionales para espacio de datos
4096 – 643 = 3453 (el resultado es positivo;
por lo tanto, 12,288 palabras están
disponibles)
50 XIC y XIO 50 x 1.00 = 50.00
15 instrucciones OTE 15 x 1.00 = 15.00
5 instrucciones TON 5 x 1.00 = 5.00
3 instrucciones GRT 3 x 3.00 = 9.00
1 instrucción SCL 1 x 4.00 = 4.00
1 instrucción TOD 1 x 2.00 = 2.00
3 instrucciones MOV 3 x 2.00 = 6.00
10 instrucciones CTU 10 x 1.00 = 10.00
10 instrucciones RES 10 x 1.00 = 10.00
Uso de instrucción 111.00
30 renglones 30 x 1.00 = 30.00
00 dirección indexada = 0.00
00 referencia de dirección indexada = 0.00
Subtotal 141.00
Memoria disponible 12,288.00
Palabras usadas – 141.00
Mem. total calculada aprox. disponible: 12,147.00
Preface
Manual de referencia del juego de instrucciones
C–32
Continuación de procesador SLC 5/03
Comparación de palabra de usuario entre el procesador SLC 5/03 ó
SLC 5/04 y el procesador SLC 5/02
El procesador SLC 5/03 ó SLC 5/04 y el procesador SLC 5/02 acumulan palabras de
usuario de modo diferente durantel a creación de un programa de usuario. El
procesador SLC 5/02 generalmente es más eficiente con respeto al uso de palabra
que los procesadores SLC 5/03 y SLC 5/04. Sin embargo, es difícil calcular el uso
de palabras del procesador SLC 5/02 ya que se encuentra ligado a la arquitectura del
microprocesador.
Los procesadores SLC 5/03 y SLC 5/04 acumulan palabras, de modo que resulta ser
más fácil de comprender y calcular que el procesador SLC 5/02. Los procesadores
SLC 5/03 y SLC 5/04 acumulan palabras de igual manera que un PLC-5. El
procesador SLC 5/03 ofrece 12,288 palabras. El procesador SCL 5/04 ofrece
20,480 palabras.
El procesador SLC 5/02 ofrece 4096 palabras de usuario. Es importante tener en
cuenta de que esto no significa que un procesador SLC 5/03 ó SLC 5/04 puede
mantener un programa de usuario que sea tres veces más grande que un programa
SLC 5/02 equivalente. Use la información siguiente para determinar el tamaño del
programa de usuario según los programs SLC 5/02 existentes.
Palabras de instrucción
Algunas instrucciones usan la misma cantidad de memoria en tanto que otras
instrucciones no usan la misma cantidad de memoria. Por ejemplo, una instrucción
CTU siempre usa 1 palabra. Sin embargo, una instrucción ADD en un procesador
SLC 5/02 usa 1.5 palabra; en un procesador SLC 5/03 ó SLC 5/04 una instrucción
ADD usa 3 palabras. También note las diferencias adicionales que siguen:
Condición
Palabras
SLC 5/02
Palabras
SLC 5/03
Palabras
SLC 5/04
     
   

  
   

  
       
   
El contenido exacto del programa determina la diferencia del tamaño de programa.
Un programa SLC 5/03 consume el 20% al 150% más de palabras de instrucción
que un SLC 5/02 equivalente.
Uso de memoria y tiempos de ejecucion de instruccion
C–33
Continuación de procesador SLC 5/03
Palabras de datos – Archivos 0 y 1
En el procesador SLC 5/02, cada palabra de datos de E/S consume 0.75 palabras de
memoria. En el procesador SLC 5/03, cada palabra de datos de E/S consume 3
palabras de datos.
Palabras de datos – Archivo 2
El uso de palabra del archivo de estado está contenido en los valores de overhead
para los procesadores SLC 5/02 y SLC 5/03.
Palabras de datos – Archivo 3 a 255
En el procesador SLC 5/02, 4 palabras de datos consumen la misma cantidad de
memoria que 1 palabra de instrucción. Por eso, se dice que el procesador SLC 5/02
ofrece 4K de palabras de instrucción ó 16K de palabras de datos. Esta cantidad
dinámica de almacenamiento de palabras de datos se debe a la arquitectura del
microprocesador SLC 5/02.
Preface
Manual de referencia del juego de instrucciones
C–34
Continuación de procesador SLC 5/03
Instrucciones con direcciones indexadas
Por cada operando con una dirección indexada, añada 25 microsegundos al tiempo
de ejecución para una instrucción verdadera. Por ejemplo, si una instrucción MOV
tiene una dirección indexada para la fuente y el destino, el tiempo de ejecución
cuando la instrucción es verdadera es 19 + 25 + 25 = 69 microsegundos.
Instrucciones con direcciones de archivo de datos M0 y M1
Los tiempos de ejecución de las instrucciones con direcciones de archivo de datos
M0 y M1 se varían. Los tiempos de ejecución siguientes representan los valores
máximos esperados.
Tipo de instrucción
Tiempo de ejecución
(µs)
   
  (  
  %)     #% # %
  %)     #% # %
    #% # %
  %)  
( $(% %*!  %)   (!' 
'!

Ejemplo
COP
COPY FILE
Source #B3:0
Dest #M0:1.0
Length 34
Para la instrucción de palabras múltiples anterior, añada 772 microsegundos más 23
microsegundos por palabra. En este ejemplo, 34 palabras se copian desde #B3:0
hacia M0:10. Añada 772 + (23 x 34) = 1554 microsegundos al tiempo de ejecución
listado en la página ??. Esto resulta en 104.8 (calculado de la tabla de la página ??)
más 1554 = 1658.8 microsegundos totales, o sea 1.6 milisegundo.
Uso de memoria y tiempos de ejecucion de instruccion
C–35
Procesador SLC 5/04
El número de palabras usadas por una instrucción se indica en la tabla siguiente.
Además, las instrucciones que tienen capacidad para el punto (coma) flotante
aparecen en notas al pie de la tabla. Cuando se usa un procesador SLC 5/04, es
importante tener en mente que 1 palabra de instrucción es igual a 1 palabra de datos.
Mnemónico
Tiempo de
ejecución falso
(aprox.
µsegundos)
Tiempo de
ejecución
verdadero (aprox.
µsegundos)
Uso de memoria
(palabras de
usuario)
Nombre
Tipo de
instrucción
ABL 35.00 156.00 2.00 Prueba de búfer
por línea
ASCII
ABS 0.562 8.60 2.00 Absoluto Matemática
ACB 35.00 131.00 2.00 No. de caracteres
en búfer
ASCII
ACI 0.187 56.00 2.00 Cadena a entero ASCII
ACL 0.187 332.80 2.00
Borrado del búfer
ASCII de recepĆ
ción y/o transmisión
ASCII
ACN 0.187 56 + (2.5/car.) 3.00 Concatenado de
cadenas
ASCII
ACS 0.562 51.90 2.00 Arco coseno Matemática
ADD 0.562 1.50 3.00, 4.00 Suma Matemática
AEX 0.187 43.4 + (4.0/car.) 4.00 Extracción de
cadena
ASCII
AHL 35.00 115.10 4.00 Líneas com. ASCII ASCII
AIC 0.187 110.00 2.00 Entero a cadena ASCII
AND 0.562 1.50 3.00 Operdor Y lógico Manejo de datos
ARD 35.00 156.00 3.00 Lectura de caracĆ
teres ASCII
ASCII
ARL 35.00 156.00 3.00 Lectura ASCII de
línea
ASCII
ASC 0.187 43.5 + (2.5/car.) 4.00 Búsqueda de
cadena
ASCII
ASN 0.562 41.45 2.00 Arco seno Matemática
ASR 0.187 43.50 3.00 Comparación de
cadenas ASCII
ASCII
ATN 0.562 40.15 2.00 Arco tangente Matemático
AWA 35.00 307.80 3.00 Escritura ASCII
con anexo
ASCII
Preface
Manual de referencia del juego de instrucciones
C–36
Mnemónico
Tiempo de
ejecución falso
(aprox.
µsegundos)
Tiempo de
ejecución
verdadero (aprox.
µsegundos)
Uso de memoria
(palabras de
usuario)
Nombre
Tipo de
instrucción
AWT 35.00 217.30 3.00 Escritura ASCII ASCII
BSL 7.50 31.6 + (2.25/pal.) 3.00 Desplazamiento a
la izquierda
Específica a la
aplicación
BSR 7.50 31.5 + (2.31/pal.) 3.00 Desplazamiento a
la derecha
Específica a la
aplicación
CLR 0.562 1.50 3.00, 1.00 Borrar Matemática
COP 0.562 20.2 + (2.01/pal.) 3.00 Copiar archivo Manejo de datos
COS 0.562 37.20 2.00 Coseno Matemática
CPT 0.562 8.80À Á Calcular Matemática
CTD 1.312 1.312 1.00 Conteo - Básico
CTU 1.312 1.312 1.00 Conteo + Básico
DCD 0.375 8.88 2.00 Descodificar 4 a 1
de 16
Manejo de datos
DDV 0.375 29.60 2.00 Doble división Matemática
DEG 0.562 24.70 2.00 Grados Manejo de datos
DIV 0.562 25.90 3.00, 4.00 División Matemática
EQUÂ 1.25 1.125 3.00 Igual Comparativa
FFL 18.00 40.75 3.00 Carga FIFO Manejo de datos
FFU 18.00 60 + (2.0/pal.) 4.00 Descarga FIFO Manejo de datos
FLL 0.562 21.9 + (2.50/pal.) 3.00 Llenar archivo Manejo de datos
FRD 0.375 23.88 2.00 Convertir de BCD Manejo de datos
GEQÂ 1.25 1.125 3.00 Mayor o igual que Comparativa
GRTÂ 1.25 1.125 3.00 Mayor que Comparativa
IID 0.375 5.81 2.00 Interrupción de
E/S desactiva
Comprensión de
las rutinas de
interrupción
IIE 0.375 10.44 2.00 Interrupción de
E/S activa
Comprensión de
las rutinas de
interrupción
IIMÆÇ 0.375 51.00 6.00 Entrada inmediata
con máscara
Control de flujo de
programa
Uso de memoria y tiempos de ejecucion de instruccion
C–37
Mnemónico
Tiempo de
ejecución falso
(aprox.
µsegundos)
Tiempo de
ejecución
verdadero (aprox.
µsegundos)
Uso de memoria
(palabras de
usuario)
Nombre
Tipo de
instrucción
    3032(,! $%
(,2%003.#(7,
1.%#6(#! ! *!
!.*(#!#(7,
ÆÈ      !*($! (,+%$(!2!
#-, +51#!0!
1.%#6(#! ! *!
!.*(#!#(7,
     !*2!0 ! %2(/3%2! 1.%#6(#! ! *!
!.*(#!#(7,
    !*2!0 ! 13032(,! -,20-* $% *3)- $%
.0-'0!+!
    2(/3%2! -,20-* $% *3)- $%
.0-'0!+!
    %,-0 - ('3!* /3% -+.!0!2(4!
    %,-0 /3% -+.!0!2(4!
      !0'!  !,%)- $% $!2-1
      %1#!0'!  !,%)- $% $!2-1
     %12 *6+ -+.!0!2(4!
     -'!0(2+- ,!230!* !2%+52(#!
     -'!0(2+- %, !1%

!2%+52(#!
    %12!*%#(+(%,2-
#-,20-* +!%120-
-,20-* $% *3)- $%
.0-'0!+!
    
-+.!0!#(7, #-,
+51#!0! .!0!
('3!*
-+.!0!2(4!
     -4%0 !,%)- $% $!2-1
à    %,1!)% -+3,(#!#(7,
        3*2(.*(#!#(7, !2%+52(#!
       -4%0 #-,
+51#!0!
!,%)- $% $!2-1
     !+(- $% 1(',- !,%)- $% $!2-1
    (%0%,2% -+.!0!2(4!
     .%0 -2 *7'(#- !,%)- $% $!2-1
     .%0  (,#*31(4- !,%)- $% $!2-1
     , 0%,2%
!1#%,$%,2%
51(#!
Preface
Manual de referencia del juego de instrucciones
C–38
Mnemónico
Tipo de
instrucción
Nombre
Uso de memoria
(palabras de
usuario)
Tiempo de
ejecución
verdadero (aprox.
µsegundos)
Tiempo de
ejecución falso
(aprox.
µsegundos)
OTE 0.562 0.562 1.00 Activ. de salida Básica
OTL 0.562 0.562 1.00 Enclav. salida Básica
OTU 0.562 0.562 1.00 Desenclav. salida Básica
PID 14.31 169.82 26.00
Proporcional/
integral/derivada
PID
RAD 0.562 24.65 2.00 Radianes Manejo de datos
REF 0.187 200 1.00 Regenerar Comprensión de
rutinas de interrup.
RES 1.312 1.312 1.00 Restablecimiento Básica
RET 0.187 20.00 1.00 Retorno de
subrutina
Control de flujo de
programa
RPI 0.375 91 + (56/ranura) 2.00 Restablecer
interrup. pendiente
Comprensión de
rutinas de interrup.
RTO 1.312 1.312 1.00 Temporizador
retentivo
Básica
SBR 0.187 0.187 1.00 Subrutina Control de flujo de
programa
SCL .748 33.06 4.00 Escalar datos Matemática
SCP 0.562 29.85 6.00 Escalar con
parámetros
Matemática
SIN 0.562 38.05 2.00 Seno Matemática
SQC 7.10 33.20 5.00 Secuenciador de
comparación
Específica a la
aplicación
SQL 7.10 33.20 4.00 Carga
secuenciador
Específica a la
aplicación
SQO 7.10 44.10 5.00 Secuendiador de
salida
Específica a la
aplicación
SQR 0.375 28.80 2.00, 3.00 Raíz caudrada Matemática
STD 0.187 3.56 1.00 Desactivar STI Específica a la
aplicación
STE 0.187 5.00 1.00 Activar STI Específica a la
aplicación
STS 0.562 44.38 3.00 Comenzar STI Específica a la
aplicación
SUB 0.562 1.50 3.00, 4.00 Restar Matemática
Uso de memoria y tiempos de ejecucion de instruccion
C–39
Mnemónico
Tipo de
instrucción
Nombre
Uso de memoria
(palabras de
usuario)
Tiempo de
ejecución
verdadero (aprox.
µsegundos)
Tiempo de
ejecución falso
(aprox.
µsegundos)
SUS 0.375 10.31 2.00 Suspender Control de flujo de
programa
SVC 0.187 200 1.00 Servicio de
comunicaciones
Comunicación
SWP 0.562 22.6 + 12.13/pal. 2.00 Intercambiar Matemática
TAN 0.562 43.00 2.00 Tangente Matemática
TND NA 13.05 1.00 Fin temporal Control de flujo de
programa
TOD 0.375 34.06 2.00 Convertir a BCD Manejo de datos
TOF 1.312 1.312 1.00 Temporizador a la
desconexión
Básica
TON 1.312 1.312 1.00 Temporizador a la
conexión
Básica
XICÂ 0.375 0.375 1.00 Examina si
cerrado
Básica
XIOÂ 0.375 0.375 1.00 Examina si abierto Básica
XOR 0.562 1.50 3.00 Operación O
exclusivo
Manejo de datos
XPY 0.562 335.10 3.00 X a la pot. de Y Matemática
À Para obtener el tiempo total de ejecución para una instrucción CPT, tome el tiempo de ejecución CPT más cada
tiempo de ejecución de instrucción matemática adicional, más el número de instrucciones matemáticas entre 3.01.
Por ejemplo, si una instrucción CPT llama una instrucción ADD y una instrucción SUB, el cálculo es: 8.8 + 1.70 +
1.70 + 2(3.01) = 18.22.
Á Para calcular el uso de memoria, haga lo siguiente: Tome 2 más el número de palabras de instrucción para cada
operación realizada más el número de operaciones realizadas en el cálculo. Por ejemplo, 2 + ADD + SUB + 2 = 10.
 Estas instrucciones toman tiempo de ejecución cero si hay condiciones que las preceden garantizando el estado del
renglón. La lógica de renglón se resuelve de izquierda a derecha. Las bifurcaciones se resuelven de arriba hacia
abajo.
à Esto solamente incluye la cantidad de tiempo necesaria para configurar la operación solicitada. No incluye el
tiempo necesario para dar servicio a las comunicaciones mismas.
Ä Esta instrucción realiza un fin de escán completo. Esto incluye un escán de entrada/salida, servicio de
comunicación y limpieza. Vea la hoja de trabajo D en el apéndice ?? para calcular el tiempo de ejecución real.
Å canal 1 = 150 µs sin comandos pendientes
canal 2 = 170 µs sin comandos pendientes
Añada 1 ms por cada comando que ha recibido servicio.
Æ Los tiempos listados son para módulos de E/S discretas. Cuando use los módulos de E/S de 32 puntos, añada los
microsegundos siguientes a las instrucciones IIM e IOM.
• 15 µs IIM cuando verdadero
• 30 µs IOM cuando verdadero
Manual de referencia del juego de instrucciones
C–40
Ç +% +) #) $/+#) )! +!%*) - #) !%)*(+!%)  % # '( ($ . #) $!() +%)
)! +!%*)
• %*()  $/+# %#/ !  *($'( .    µ)
• %*()  $/+#  .    µ)
• *() %*() )'!#) .    µ)
È +% +) #) $/+#) )! +!%*) - # !%)*(+!/%  % # '( ($ . #) $!() +%)
)! +!%*)
• %*()  $/+# %#/ !  *($'( .    µ)
• %*()  $/+#  .   µ)
• *() %*() )'!#) .     µ)
Ejemplo
( # $'#  (% #/% )! +!%*
 ! # !%)*(+!/% ) #) #) !%)*(+!%)      *$% +% *!$'  +!/% (
!$'  +!/%        $!() +%)
 ! #) !%)*(+!%)   )% ,(() %*%) #) !%)*(+!%)    *$% +%
*!$'  +!/% ( !$'  +!/%           
$!() +%)
] [
1
( )
8
] [
2
] [
6
] [
3
] [
4
] [
5
] [
7
Uso de memoria y tiempos de ejecucion de instruccion
C–41
Tiempos de ejecución de punto (coma) flotante del procesador SLC 5/04
Los tiempos de punto (coma) flotante se aplican a los procesadores SLC 5/04
OS400 y OS401.
Los tiempos matemáticos de punto (coma) flotante en la tabla siguiente se aplican
cuando S:34/2 no es establecido. Cuando S:34/2 es establecido, los indicadores
matemáticos no se actualizan después de la ejecución de la instrucción y después de
que 4-8 ms se restan del tiempo de ejecución. S:34/2 se puede cambiar dinámica-
mente (es decir, por el programa durante la ejecución del programa). Por cada
parámetro de entero, añada 10 ms en consideración de la conversión de entero a
punto (coma) flotante.
Mnemónico
Tiempo de
ejecución falso
(aprox.
µsegundos)
Tiempo de
ejecución
verdadero (aprox.
µsegundos)
Uso de memoria
(palabras de
usuario)
Nombre
Tipo de
instrucción
À     /+(10+ 0#)50!
     1). 0#)50!
     +... 0#)50!
    2/7* 0#)50!
     %1( +),.02
     3+. + %1( -1# +),.02
      3+. -1# +),.02
      #*+. + %1( -1# +),.02
      #*+. -1# +),.02
     .1#  (6) +),.02
    +2#. *#'+ # 0+/
     1(0,(!!7* 0#)50!
    ) . /%*+ *#'+ # 0+/
     $#.#*0# +),.02
À    
/!(. !+*
,.5)#0.+/
0#)50!
     64 !1. 0#)50!
     #/0. 0#)50!
À # ,(!  (+/ ,.+!#/+.#/    /+()#*0#
Manual de referencia del juego de instrucciones
C–42
Si usted necesita realizar operaciones de punto (coma) flotante usando una
combinación de parámetros de punto (coma) flotante y enteros (valores y
direcciones de fuente/destino), calcule la cantidad de palabras de instrucción según
las pautas siguientes:
1. Comience con la cantidad de palabras para la instrucción de punto (coma)
flotante.
2. Añada 2 palabras para el primer parámetro de entero (valor o dirección de
fuente/destino).
3. Añada 1 palabra por cada parámetro de entero subsiguiente.
Estas palabras adicionales son necesarias para las conversiones de entero a punto
(coma) flotante.
Por ejemplo, esta instrucción requiere 7 palabras de instrucción:
ADD
ADD
Source A F8:8
Source B N7:7
Dest N7:10
• 4 palabras para la instrucción ADD de punto (coma) flotante (según la tabla en
la página C–41).
• más 2 palabras para la dirección de entero N7:7
• más 1 palabra para segunda direccion de entero N7:10
Uso de memoria y tiempos de ejecucion de instruccion
C–43
Continuación de procesador SLC 5/04
Cálculo aproximado del uso de memoria del sistema usando un procesador
SLC 5/04
1. Añada el no. total de palabras de archivo de datos usadas (excluyendo las palabras
del archivo de estado y datos de E/S) e introduzca el resultado.
2. Multiplique por 3 el no. total de palabras de datos de E/S e introduzca el resultado.
3. Multiplique por 3 el no. total de ranuras de E/S, usadas o no usadas, e introduzca el
resultado.
4. En consideración del overhead del procesador, introduzca 250 e introduzca el
resultado.
5. Multiplique por 5 el archivo de tabla de datos con el no. más alto usado e introduzca
el resultado.
6. Multiplique por 5 el archivo de programa con el no. más alto usado e introduzca el
resultado.
7. Sume los pasos 1 a 6. Introduzca esto como el subtotal (uso de palabra de 4K
adicionales).
8. Reste el valor en el paso 7 de 4096; si el resultado es positivo, introduzca 20,480 en
el paso 14. Si el resultado es negativo, reste el valor absoluto de 20,480 e
introduzca el resultado en el paso 14. (Esto disminuye el valor.)
9. Calcule el no. total de palabras usadas por las instrucciones del programa e
introduzca el resultado. Refiérase a la tabla en la página C–41.
10. Añada el no. total de renglones (1 palabra por renglón) e introduzca el resultado.
11. Añada 1 palabra por cada referencia de dirección indexada e introduzca el resultado.
12. Añada 2 palabras por renglón por cada renglón que contiene una referencia de
dirección indexada e introduzca el resultado.
13. Sume los pasos 9 a 12 e introduzca el resultado.
14. Introduzca el resultado del paso 8. Esta es la memoria disponible.
15. Introduzca el resultado del paso 13. Esta es la cantidad total de palabras usadas.
16. Reste el paso 15 del paso 14.
Este número es la cantidad de memoria disponible en el sistema.
Subtotal:
4096
–
Subtotal:
Total:
(paso 7)
Preface
Manual de referencia del juego de instrucciones
C–44
SLC 5/04 Processor Continued
Instrucciones con direcciones indexadas
Por cada operando con una dirección indexada, añada 25 µs al tiempo de ejecución
para una instrucción verdadera. Por ejemplo, si una instrucción MOV tiene una
dirección indexada para la fuente y el destino, el tiempo de ejecución cuando la
instrucción es verdadera es 19 + 25 + 25 = 69 microsegundos.
Instrucciones con direcciones de archivo de datos M0 y M1
Los tiempos de ejecución de las instrucciones con direcciones de archivo de datos
M0 y M1 varían. Los tiempos de ejecución siguientes representan los valores
máximos esperados.
Tipo de instrucción
Tiempo de ejecución
(µs)
 #  
  # 
   *#     $# $!
   *#     $# $!
    $# $!
   *#  
)!%)    +   *#   )( #
'( #

Ejemplo
COP
COPY FILE
Source #B3:0
Dest #M0:1.0
Length 34
Añada 735 microsegundos más 23 segundos por apalbra para la instrucción anterior
de palabras múltiples. En este ejemplo, 34 palabras se copian de #B3:0 a M0:10.
Añada 735 + (23 x 34) = 1517 microsegundos al tiempo de ejecución listado en la
página ??. Este total es 88.54 + 1517 = 1605.5 microsegundos o bien 1.6
milisegundos.
Uso de memoria y tiempos de ejecucion de instruccion
C–45
Instrucciones con direcciones indirectas a nivel de palabra
Busque la forma de la dirección indirecta para la mayor parte de instrucciones con
dirección(es) indirecta(s) y añada aquel tiempo al tiempo de ejecución de la
instrucción.
Forma de
direcciónÀ
Operando de
fuente (µs)
Operando de
destino (µs)
Si se usa en una
instrucción de tipo de
archivo
SLC 5/03 SLC 5/04 SLC 5/03 SLC 5/04 SLC 5/03 SLC 5/04
         
            
          
          
                
           
              
             
             
             
           
          
          
          
           
            
                  
              
              
             
À     ! !      !  !
Preface
Manual de referencia del juego de instrucciones
C–46
Ejemplos
  
!   
!   
   
  µ
ADD
ADD
Source A N7:[*]
Source B T4:[*].ACC
Dest N7[*]:[*]
(EN)
(DN)
BSL
BIT SHIFT LEFT
File #B3[*]:1
Control R6:2
Bit Address B3/[*]
Length 32
      
 
#    
  µ
SLC 5/03
SLC 5/04
Uso de memoria y tiempos de ejecucion de instruccion
C–47
Instrucciones con direcciones a nivel de bit
Las direcciones de bit se basan en la forma de la dirección indirecta y el tipo de
instrucción de bit. Use las dos tablas siguientes para calcular el tiempo de ejecución
de una instrucción de bit.
Forma de dirección
Tiempo adicional (µs)
Forma de dirección
SLC 5/03 SLC 5/04
Preface
Manual de referencia del juego de instrucciones
C–48
Tiempos de ejecución de instrucción
Instrucción
Tiempo de ejecución (µs)
Instrucción
SLC 5/03 SLC 5/04
   
     
    
   
    
   
Ejemplo
Para calcular el tiempo de ejecución de una instrucción XIC a B3/[N7:0] usando un
procesador SLC 5/03, sume lo siguiente:
10.20 + 96.70 = 106.90
Tiempo de escán estimado
D–1
D Tiempo de escán estimado
Este apéndice contiene hojas de trabajo que le permiten calcular aproximadamente
el tiempo de escán para la configuración y programa su controlador en particular. El
cálculo de tiempo de escán para un ejemplo de controlador y programa se incluye
como ayuda.
Usted utilizará los tieimpos de ejecución de instrucción enumerados en el apéndice
B.
Preface
Manual de referencia del juego de instrucciones
D–2
Ciclo de operación del procesador
El diagrama y tabla siguientes separan el ciclo de operación del procesador en
eventos. Las instrucciones para calcular el tiempo de escán de estos eventos
aparecen en las hojas de trabajo.
Processor Overhead
Communications
Output Scan
Program Scan
Input Scan
Eventos en el ciclo de operación del
procesador
Evento Descripción
Tiempo de escán estimado
D–3
Tiempos de acceso para los datos M0/M1
Durante el escán de programa, el procesador debe acceder a la tarjeta de E/S
especial para leer/escribir los datos M0 ó M1. Este tiempo de acceso se debe añadir
al tiempo de ejecución de cada instrucción con referencia a los datos M0 ó M1. La
tabla siguiente muestra los tiempos de acceso aproximados por instrucción o palabra
de datos para los procesadores SLC 5/02, SLC 5/03 y SLC 5/04.
Procesador
Tiempo de acceso por
instrucción de bit o palabra
de datos
Tiempo de acceso por
instrucción de palabras
múltiples
Manual de referencia del juego de instrucciones
D–4
Latencia de interrupción
La latencia de interrupción es el intervalo entre la detección de interrupción y el
comienzo de la subrutina de interrupción. Durante este plazo de tiempo, el
procesador SLC 500 realiza operaciones que no se pueden interrumpir.
Nota Si usted usa un procesador SLC 5/03 y S:33/8 es restablecido (0), las interrupciones
no pueden recibir servicio dentro del período de latencia de interrupción calculado.
(Vea la página siguiente.) Esto se aplica a las instrucciones siguientes:
• Interrupción de entrada discreta (DII)
• Interrupción temporizada seleccionable (STI)
• Interrupción de E/S
Tiempo de escán estimado
D–5
Cómo calcular la latencia de interrupción para SLC 5/03
Use la hoja de trabajo siguiente para calcular la latencia de interrupción. Estos
ejemplos suponen que el bit de control de latencia de interrupción S:33/8 es
establecido.
Interrupción temporizada seleccionable
Tiempo de entrada
Overhead fijo
Overhead de comunicación de fondo de canal 0
Overhead de comunicación de fondo de canal 1
Latencia de interrupción total (máx.)
Interrupción de entrada discreta
Tiempo de entrada
Overhead fijo
Overhead de comunicación de fondo de canal 0
Overhead de comunicación de fondo de canal 1
Latencia de interrupción total (máx.)
Interrupción de evento de E/S
Tiempo de entrada
Overhead fijo
Overhead de comunicación de fondo de canal 0
Overhead de comunicación de fondo de canal 1
Latencia de interrupción total (máx.)
 µ#
 µ#
 µ#
 µ#
 µ#
 µ#
Use los tiempos de ejecución siguientes para calcular la latencia de interrupción.
Configuración de canal Tiempo de overhead de fondo
  µ#
  % (
#$#
 µ#À
 % % ( µ#À
À # $ # $# %)  %-  ' #$# $ # $* #%  !% (#$
%-  - #%  # +#  - # %## , µ#  $  # +
Preface
Manual de referencia del juego de instrucciones
D–6
Cómo calcular la latencia de interrupción para SLC 5/04
Use la hoja de trabajo siguiente para calcular la latencia de interrupción. Estos
ejemplos suponen que el bit de control de latencia de interrupción S:33/8 es
establecido.
237 µ#
278 µ#
472 µ#
60 µ#
60 µ#
60 µ#
Interrupción temporizada seleccionable
Tiempo de entrada
Overhead fijo
Overhead de comunicación de fondo de canal 0
Overhead de comunicación de fondo de canal 1
Latencia de interrupción total (máx.)
Interrupción de entrada discreta
Tiempo de entrada
Overhead fijo
Overhead de comunicación de fondo de canal 0
Overhead de comunicación de fondo de canal 1
Latencia de interrupción total (máx.)
Interrupción de evento de E/S
Tiempo de entrada
Overhead fijo
Overhead de comunicación de fondo de canal 0
Overhead de comunicación de fondo de canal 1
Latencia de interrupción total (máx.)
Use los siguientes tiempos de ejecución para ayudarle a calcular la latencia de
interrupción
Configuración de canal Tiempo de overhead de fondo
  µ#
 % (
#$#
 µ#À
 %% (  µ#À
+   µ#
À # $ # $# %)  %-  ' #$# $ # $* #% !% (#$
%-  - #%  # +#  - # %## , µ#  $  # +
Tiempo de escán estimado
D–7
Ejemplo – Interrupción temporizada seleccionable del procesador SLC 5/03
Configuración: Canal 0 desactivado
Canal 1 DH–485
Tiempo de entrada
Overhead fijo
Overhead de comunicación de fondo de canal 0
Overhead de comunicación de fondo de canal 1
Latencia de interrupción total (máx.)
 µ
 µ
µ
 µ
 µ
Ejemplo – Interrupción temporizada seleccionable del procesador SLC 5/04
Configuración: Canal 0 DH–485
Canal 1 desactivado
Tiempo de entrada
Overhead fijo
Overhead de comunicación de fondo de canal 0
Overhead de comunicación de fondo de canal 1
Latencia de interrupción total (máx.)
 µ
 µ
 µ
 µ
µ
Preface
Manual de referencia del juego de instrucciones
D–8
Hojas de trabajo de tiempo de escán
Las hojas de tiempo A, B, C, D y E en las páginas siguientes se deben usar con los
sistemas SLC 500 según lo siguiente:
• Hoja de trabajo A – Controladores compactos
• Hoja de trabajo B – Procesador 1747-L511 ó 1747-L514
• Hoja de trabajo C – Procesador 1747-L524
• Hoja de trabajo D – Procesador 1747–L532
• Hoja de trabajo E – Procesador 1747–L542
Estas hojas de trabajo se presentan para ayudarle a calcular el tiempo de escán de la
aplicación. Refiérase al apéndice B para obtener los tiempos de ejecución de
instrucción. Refiérase a la Descripción general del sistema de la familia SLC 500,
publicación 1747-2.30ES, para obtener los números y tamaños de piezas del módulo
de E/S.
Un ejemplo del cálculo de tiempo de escán aparece en la página D–25.
Definición de terminología de la hoja de trabajo
Cuando usted trabaje con las hojas de trabajo, encontrará los términos siguientes:
Término: Definición:
Comunicación de fondo
                
            
      #   
Comunicación de primer plano
                  
    !         
              
          
          
Overhead de forzado de
entrada
               
          
Overhead de forzado de salida
               
          
Tiempos de overhead del
procesador
          #
Tiempo de escán estimado
D–9
Término: Definición:
Un solo paso
Al usar esta función con un procesador SLC 5/02, SLC 5/03 ó
SLC 5/04, puede ejecutar el programa un renglón o una
sección individualmente. Esta función se usa para propósitos
de depuración.
Módulo de palabras múltiples
Un ejemplo de módulos de palabras múltiples es DCM,
analógico y DSN.
Hoja de trabajo A – Cómo estimar el tiempo de escán del controlador fijo
Procedimiento Tiempo de escán
mínimo
Tiempo de escán
máximo
1. Estime el tiempo de escán de  (µs).
1.1 Determine el tipo de controlador que usted tiene
Si tiene un procesador de E/S 20, escriba 313 en la línea (A)
Si tiene un procesador de E/S 30 ó 40, escriba 429
en la línea (A). A.)________
1.2 Calcule el escán de entrada de procesador de los módulos de entrada
discreta (es un cero si no se usa el chasis de expansión)
No. de módulos de 8 puntos ________ x 197 = B.)________
No. de módulos de 16 puntos ________ x 313 = C.)________
No. de módulos de 32 puntos ________ x 545 = D.)________
1.3 Calcule el escán de entrada de procesador de los módulos de E/S
especiales (es un cero si no se usa el chasis de expansión)
No. de 1/4 DCM o comb. analógica ________ x 652 = E.)________
No. de 1/2 DCM, entrada analógica
ó 1746-HS ________ x 1126 = F.) ________
No. de 3/4 DCM ________ x 1600 = G.)________
No. de DCM lleno, BASIC,
ó 1747-DSN ________ x 2076 = H.)________
No. de 1747-KE ________ x 443 = I.) ________
No. de 1746-NT4 ________ x = J.) ________
1.4 Sume las líneas A a J. Coloque este valor en la línea (K).
Añada 101 al valor en la línea (K).
Esta suma es el tiempo de escán de entrada 
K.)________ + 101 = L
1.5 Calcule el tiempo de escán de entrada :
Tiempo de escán de entrada máximo (M) =
Tiempo de escán de entrada mínimo (K) + (No. de módulos de E/S especiales x 50)
1.6 Calcule el overhead de entrada forzado: Overhead de entrada forzado = (N)
(No. de módulos de entrada x 180) + 140 por palabra adicional para
módulos de palabras múltiples (por ej., DMC, analógico, DNS)
Cuando los forzados se inhabilitan, este valor es 0.
L)________
N)________
M)________
N)________
Continúa en la página siguiente
Preface
Manual de referencia del juego de instrucciones
D–10
Procedimiento Tiempo de escán mín. Tiempo de escán máx.
2. Calcule el tiempo de escán de  (µs).
2.1 Determine el tipo de controlador que usted tiene.
Si tiene un procesador de E/S 20, escriba 173 en la línea (A)
Si tiene un proc. de E/S 30 ó 40, escriba 272 en la línea (A). A.)________
2.2 Calcule el escán de salida de procesador de los módulos de salida discreta.
No. de módulos de 8 puntos ________ x 173 = B.)________
No. de módulos de 16 puntos ________ x 272 = C.)________
No. de módulos de 32 puntos ________ x 470 = D.)________
2.3 Calcule el escán de salida de procesador de los módulos de E/S especiales.
No. de 1/4 DCM ó comb. analógica ________ x 620 = E.)________
No. de 1/2 DCM, salida analógica
ó 1746-HS ________ x 1028 = F.) ________
No. de 3/4 DCM ________ x 1436 = G.)________
No. de DCM completo, BASIC,
ó 1747-DSN ________ x 1844 = H.)________
2.4 Sume las líneas A a H. Coloque este valor en la línea (I).
Sume 129 al valor en la línea (I). Esta suma es el tiempo de escán de salida 
I.)________ + 129 = (J)
2.5 Calcule el tiempo de escán de salida 
Tiempo de escán de salida máixmo (K) =
Tiempo de escán mínimo (J) + (No. de módulos de E/S especiales x 50)
2.6 Calcule el overhead de salida forzado: Overhead de salida forzado = (L)
(No. de módulos de salida x 172) + 140 por palabra adicional
para módulos de palabras múltiples (por ej., DCM, analógico, DSN)
Cuando los forzados se inhabilitan, este valor es 0.
J)_________
L)_________
K)________
L)________
3. Estime el tiempo de escán de   . Este cálculo aproximado supone la operación
de todas las instrucciones una vez por cada escan de operación.
3.1 Cuente el no. de renglones en el programa APS. Coloque el valor en la línea (A).
3.2 Calcule el tiempo de ejecución de programa máximo (B) cuando todas las instrucciones
son verdaderas.
3.3 Calcule el tiempo de ejecución de programa mínimo (C) usando los tiempos asociados
con una instrucción cuando ésta es falsa. (Vea el apéndice A para hacer esto.)
4. Sume los valores en las columnas de tiempo de escán mínimo y máximo.
A)_________
C)__________
__________ subtotal
A)________
B)_________
_________ subtotal
5. Añada el tiempo de overhead del  (178 para tiempo de escán mín.; 278 para
tiempo de escán máx.) a los subtotales calculados en el paso 4.
Use estos subtotales nuevos para calcular el overhead de comunicación en el paso 6.
+ 178
__________
subtotal
+ 278
_________
subtotal
6. Calcule el overhead de    
6.1 Calcule el overhead de comunicación de fondo cuando no haya comunicación:
multiplique el subtotal para el tiempo de escán mín. (A) (estimado en el paso 5) entre 1;
multiplique el subtotal para el tiempo de escán máx. (B) entre 1.140
(el valor máx. toma en cuenta la red activa DHĆ485) cuando haya comunicación.
6.2 Calcule el overhead de comunicación de primer plano:
para el tiempo de escán mín. (C), añada 0; para el tiempo de escán máx. (D), añada
2310.
(El tiempo de escán máx. toma en cuenta
6.3 Convierta los µseg. en mseg, divida entre 1000.
A x 1.000
_________ µs
C + 0
_________ µs
/ 1000
B x 1.140
________ µs
D + 2310
________ µs
/ 1000
Tiempo de escán estimado
D–11
Preface
Manual de referencia del juego de instrucciones
D–12
Hoja de trabajo B – Cómo estimar el tiempo de escán del procesador
1747-L511 ó 1747-l514
Procedimiento Tiempo de escán mín. Tiempo de escán máx.
1. Calcule el tiempo de escán de   (µs).
1.1 Calcule el escán de entrada de procesador de los módulos de entrada discreta.
No. de módulos de 8 puntos ________ x 197 = A.)________
No. de módulos de 16 puntos ________ x 313 = B.)________
No. de módulos de 32 puntos ________ x 545 = C.)________
1.2 Calcule el escán de entrada de procesador de los módulos de E/S especiales.
No. de 1/4 DCM o comb. analógica ________ x 652 = D.)________
No. de 1/2 DC, entrada analógica
ó 1746-HS ________ x 1126 = E.)________
No. de 3/4 DCM ________ x 1600 = F)________
No. de DCM completo, BASICO
ó 1747-DSN ________ x 2076 = G.)________
No. de 1747-KE ________ x 443 = H.)________
No. de 1746-NT4 ________ x = I.)________
1.3 Sume las líneas A a I. Coloque este valor en la línea (J)
Sume 101 al valor en la línea (J). Esta suma es el tiempo de escán de entrada mín.
J.)________ + 101 = K
1.4 Calcule el tiempo de escán de entrada máximo:
Tiempo de escán de entrada máximo (L) =
Tiempo de escán mínimo (K) + (No. de módulos de E/S especiales x 50)
1.5 Calcule el overhead de entrada forzado: Overhead de entrada forzado = (M)
(No. de módulos de entrada x 180) + 140 por palabra adicional para
módulos de palabras múltiples (por ej., DMC, analógico, DSN)
K)_________
L)_________
M)_________
2. Estime el tiempo de escán de  (µs).
2.1 Calcule el escán de salida de procesador de los módulos de salida discreta.
No. de módulos de 8 puntos ________ x 173 = A.)________
No. de módulos de 16 puntos ________ x 272 = B.)________
No. de módulos de 32 puntos ________ x 470 = C.)________
2.2 Calcule el escán de salida de procesador de los módulos de salida discreta.
No. de 1/4 DCM ó comb. analógica ________ x 620 = D.)________
No. de 1/2 DCM, salida analógica
ó 1746-HS ________ x 1028 = E.)________
No. de 3/4 DCM ________ x 1436 = F) ________
No. de DCM completo, BASIC,
ó 1747-DSN ________ x 1844 = G.)________
2.3 Sume las líneas A a G. Coloque este valor en la línea (H).
Sume 129 al valor en la línea (H). Esta suma es el tiempo de escán de salida mín.
H)________ + 129 = I
2.4 Calcule el iempo de escán de salida máximo.
Tiempo de escán de salida máximo (J) =
Tiempo de escán mínimo (I) + (No. de módulos de E/S especiales x 50)
2.5 Calcule el overhead de salida forzado: Overhead de salida forzado = K
(No. de módulos de salida x 172) + 140 por palabra adicional para
módulos de palabras múltiples (por ej., DCM, analógico, DSN)
I)________
J)_________
K)_________
Continúa en la página siguiente
Tiempo de escán estimado
D–13
Procedimiento Tiempo de escán
mínimo
Tiempo de escán
máximo
3. Estime el tiempo de escán de  . Este cálculo aproximado supone e la
operación de todas las instrucciones una vez por cada escán de operación.
3.1 Cuente el no. de renglones en el programa APS. Coloque el valor en la línea (A).
3.2 Calcule el tiempo de ejecución de programa (B) cuando todas las instrucciones son
verdaderas. (Vea el apéndice A para hacer esto.)
4. Sume los valores en las columnas de tiempo de escán mínimo y máximo.
A)__________
B)__________
___________
subtotal
A)_________
B)_________
_________
subtotal
5. Sume el tiempo de overhead del    (178 para tiempo de escán mínimo; 278
para tiempo de escán máximo) a los subtotales estimados en el paso 4.
Use estos subtotales nuevos para calcular el overhead de comunicaciones en el paso 6.
+ 178
__________
subtotal
+ 278
_________
subtotal
6. Calcule el overhead de   
6.1 Calcule el overhead de comunicación de fondo:
multiplique el subtotal para el tiempo de escán mín. (estimado en el paso 5) entre 1;
multiplique el subtotal para el tiempo de escán máx. entre 1.140
(el valor máx. toma en cuenta la red activa DHĆ485)..
6.2 Calcule el overhead de comunicación de primer plano:
por el tiempo de escán mínimo, añada 0;
por el tiempo de escán máximo, añada 2310.
(El tiempo de escán máximo toma en cuenta que el programador está
conectado al procesador.)
6.3 Convierta µseg a mseg y divida entre 1000.
x 1.000
__________ µseg
+ 0
__________ µseg
/ 1000
x 1.140
_________ µseg
+ 2310
_________ µseg
/ 1000
                  

mseg mseg
Preface
Manual de referencia del juego de instrucciones
D–14
Hoja de trabajo C – Cómo estimar el tiempo de escán del procesador
1747-L524
Procedimiento Tiempo de escán
mínimo
Tiempo de escán
máximo
1. Calcule el tiempo de escán de  (µs).
1.1 Calcule el escán de entrada de procesador de los módulos de entrada discreta.
No. de módulos de 8 puntos ________ x 126 = A.)________
No. de módulos de 16 puntos ________ x 195 = B.)________
No. de módulos de 32 puntos ________ x 335 = C.)________
1.2 Calcule el escán de entrada de procesador de los módulos de E/S discretas.
No. de 1/4 DCM o comb. analógica ________ x 375 = D.)________
No. de 1/2 DCM, entrada analógica
ó 1746-HS ________ x 659 = E.)________
No. de 3/4 DCM ________ x 944 = F)________
No. de DCM completo, config. pequeña BASIC
o DSN de 7 bloques ________ x 1228 = G.)________
No. de 1747-KE ________ x 250 = H.)________
No. de 1746-NT4 ________ x = I.)_________
1.3 Calcule el escán de entrada de procesador de los módulos de E/S especiales.
No. de config. larga BASIC,
1746-HSCE ________ x 1557 = J.)________
No. de DSN de escáner RS/O
o de 30 bloques ________ x 4970 = K.)________
1.4 Sume las líneas A a K. Coloque este valor en la línea (L).
Sume 121 al valor en la línea (L). Esta suma es el tiempo de escán de entrada 
L.)________ + 121 = M
1.5 Calcule el tiempo de escán de entrada 
Tiempo de escán mín. (M) + (No. de módulos de E/S especiales en la sección 1.2 x 30) +
(No. de módulos de E/S especiales en la sección 1.3 x 120) = (N)
1.6 Calcule el overhead de entrada forzado ()) = (No. de módulos de entrada x 108) +
140 por palabra adicional para los módulos de palabras múltiples
M)_________
N)_________
O)_________
Continúa en la página siguiente
Tiempo de escán estimado
D–15
Procedimiento Tiempo de escán
mínimo
Tiempo de escán
máximo
2. Calcule el tiempo de escán de  (µs).
2.1 Calcule el escán de salida de procesador de los módulos de salida discreta.
No. de módulos de 8 puntos ________ x 104 = A.)________
No. de módulos de 16 puntos ________ x 164 = B.)________
No. de módulos de 32 puntos ________ x 282 = C.)________
2.2 Calcule el escán de salida de procesador de los módulos de E/S especiales.
No. de 1/4 DCM o comb. analógica ________ x 372 = D.)________
No. de 1/2 DCM, salida analógica
1746-HS ________ x 617 = E.)________
No. de 3/4 DCM ________ x 862 = F.)________
No. de DCM completo , config. pequeña BASIC
o DSN de 7 bloques ________ x 1047 = G.)________
2.3 Calcule el escán de salida de procesador de los módulos de E/S especiales.
No. de config. largas BASIC,
1746-HSCE ________ x 1399 = H.)________
No. de DSN de escáner RI/O
o de 30 bloques ________ x 4367 = I.)________
2.4 Sume las líneas A a I. Coloque este valor en la línea (J).
Sume 138 al valor en la línea (J). Esta suma es el tiempo de escán de salida 
J.)________ + 138 = K
2.5 Calcule el tiempo de escán de salida  = L
Tiempo de escán mínimo (K) + (No. de módulos de E/S especiales en parte B x 30) +
(No. de módulos de E/S especiales en parte C x 120)
2.6 Calcule el overhead de salida forzado (M)= (No. de módulos de salida x 104) +
140 por palabra adicional para los módulos de palabras múltiples
K)_________
L)_________
M)_________
3. Calcule el tiempo de escán de programa. Este cálculo aproximado supone la
operación de todas las instrucciones una vez por cada escán de operación.
3.1 Cuente el no. de renglones en el programa APS. Coloque el valor en la línea (A).
3.2 Multiplique el valor en la línea (A) entre 6. (Si usted guardó el programa con un
solo paso habilitado, multiplique el valor en la línea (A) entre 66.)
A.)________ x 6 =
3.3 Calcule el tiempo de ejecución de programa cuando todas las instrucciones
sean verdaderas. (Vea el apéndice A para hacer esto.)
4. Sume los valores en las columnas de tiempo de escán mínimo y máximo.
A)__________
B)__________
__________
subtotal
A)_________
_________
_________
subtotal
5. Añada el tiempo de overhead de    (180 para tiempo de escán mín.; 280 para
tiempo de escán máx.) a los subtotales calculados en el paso 4.
Use estos subtotales nuevos para calcular el overhead de comunicación en el paso 6.
+ 180
________subtotal
+ 280
_________
subtotal
Continúa en la página siguiente
Preface
Manual de referencia del juego de instrucciones
D–16
Procedimiento Tiempo de escán
mínimo
Tiempo de escán
máximo
6. Calcule el overhead de  
 '  !($  !' .  ! !
'#'  %'! $  !  %+ ,  %!   %!  !$  
'#'  %'! $  !  %+ +) !$  
 (!$ +)! !  '   $ ( /  
 '  !($  !' ! %  $$  !
$  !  %+ , ! - 
$  !  %+ +)! -  
 !  %+ +)! !  '  #'  $!$!$ %+
! !  $!%!$
 ! ($ µ%  % * (  $ 
)  
_________ µ%
 
__________ µ%
 
)  
_________ µ%
 
_________ µ%
 
              % %
7. Estime el tiempo de escán para la aplicación 1747ĆL524 de serie B; divida los valores
para la aplicación de serie C entre 0.60.
               
  
%
  
%
Tiempo de escán estimado
D–17
Hoja de trabajo D – Cómo calcular el tiempo de escán del procesador
1747-L532
Procedimiento Tiempo de escán mín. Tiempo de escán máx.
1. Tiempo de escán de  (µs).
1.1 Calcule el escán de entrada de procesador de los módulos de entrada discreta.
No. de módulos de 8 puntos _______ x 26 = A.)________
No. de módulos de 16 puntos _______ x 26 = B.)________
No. de módulos de 32 puntos _______ x 52 = C.)________
No. de módulos de comb. de E/S _______ x 74 = D.)________
1.2 Calcule el escán de entrada de procesador de los módulos de E/S especiales.
No. de 1746-HS _______ x 332 = E.)________
No. de 1/4 DCM _______ x 317 = F.)_________
No. de 1/2 DCM _______ x 352 = G.)________
No. de 3/4 DCM _______ x 478 = H.)________
No. de DCM completo _______ x 420 = I)________
No. de 1747-KE _______ x 443 = J)________
No. de 1746-NI4 _______ x 316 = K.)________
No. de 1746-NIO4I, NIO4V _______ x 272 = L.)________
No. de 1746-NT4 _______ x 385 = M.)________
No. de DSN de 7 bloques ______ _x 423 = N.)________
No. de DSN de 30 bloques _______ x 1051 = O.)________
No. de 1746-BAS
(configuración SLC 5/01) _______ x 451 = P.)________
1.3 No. de 1747-SN _______ x 1218 = Q.)________
No. de 1746-HSCE _______ x 506 = R.)________
No. de 1746-BAS
(configuración SLC 5/02 y SLC 5/03) _______ x 605 = S.)________
1.4 Si S:33/8 se ha puesto a cero, sume 92 µs por ranura de entrada configurada
_______ x 92 = T.)________
1.5 Sume las líneas A a T. Coloque este valor en la línea (W).
Sume 31 al valor en la línea (W). Este es el escán de entrada mínimo.
W.) ______ + 31 = X
1.6 Calcule el tiempo de escán máximo de entrada de E/S especiales:
Tiempo de escán de entrada (R1) = No. de módulos de E/S especiales en sec. 1.2 x 50
1.7 Calcule el tiempo de escán máximo de entrada de E/S para la sección 1.3:
Tiempo de escán de entrada (R2) = No. de módulos de E/S especiales en sec. 1.3 x 200
1.8 Calcule el overhead de entrada forzado:
Overhead de entrada forzado = No. de módulos de entrada discreta a 3.5 µs por pal.
Sume 20 + 4/por palabra por cada módulo de E/S especial
(por ejemplo, BASIC tiene 8 entradas = 20 + 4 x 8 = 52) = Y
1.9.0 Sume los valores en las columnas de tiempo de escán mínimo;
coloque los valores en el subtotal del tiempo de escán mínimo.
1.9.1 Sume los valores en las columnas de tiempo de escán máximo;
coloque los valores en el subtotal del tiempo de escán máximo.
X)________
Y)_______
subtotal_______
X)________
R1)_______
R2)______
Y)_______
subtotal_______
Continúa en la página siguiente
Preface
Manual de referencia del juego de instrucciones
D–18
Procedure Min Scan Time Max Scan Time
2. Calcule el tiempo de escán de  (µs).
2.1 Calcule el escán de salida de procesador de los módulos de salida discreta.
No. de módulos de 8 puntos ________ x 31 = A.)________
No. de módulos de 16 puntos ________ x 31 = B.)________
No. de módulos de 32 puntos ________ x 62 = C.)________
No. de módulos de comb. de E/S ________ x 82 = D.)________
2.2 Calcule el escán de salida de procesador de los módulos de E/S especiales.
No. de 1746-HS _______ x 369 = E.)________
No. de 1/4 DCM _______ x 335 = F.)________
No. de 1/2 DCM _______ x 380 = G.)________
No. de 3/4 DCM _______ x 424 = H.)________
No. de DCM completo _______ x 469 = I.)________
No. de 1746-NIO4I  NIO4V _______ x 297 = J.)________
No. de 1746-NO4I  NO4V _______ x 342 = K.)_________
No. de DSN de 7 bloques _______ x 469 = L.)________
No. de DSN de 30 bloques _______ x 1224 = M.)________
No. de 1746-BAS
(configuración SLC 5/01) _______ x 500 = O.)________
2.3 Calcule el escán de salida de procesador de los módulos de E/S especiales.
No. de 1747-SN _______ x 1395 = P.)________
No. de 1746-HSCE _______ x 394 = Q.)________
No. de 1746-BAS
(configuración SLC 5/02 y SLC 5/03) _______ x 656 = R.)_________
2.4 Si S:33/8 está puesto a cero,
sume 92 µs por ranura de
salida configurada _______ x 92 = S.)________
2.5 Sume las líneas A a S. Coloque este valor en la línea (T).
Sume 30 al valor en la línea (T). Este es el escán de salida
mínimo de las E/S especiales. T.)________ + 30 =X
2.6 Calcule tiempo de escán de salida special máximo:
Tiempo de escán de salida (R!) = No. de módulos de E/S especiales en 2.2 x 50
2.7 Calcule el tiempo de escán de salida máximo para la sección 2.3:
Escán de salida (R2) = No. de módulos de E/S especiales x 200
2.8 Calcule el overhead de salida forzado:
Overhead de salida forzado = No. de módulos de salida discreta a 3.0 µs por palabra
Sume 20 + 4/por palabra por cada módulo de E/S especial
(por ejemplo, BASIC tiene 8 palabras de entrada = 20 + 4 x 8 = 52)
2.9.0 Sume los valores en las columnas de tiempo de escán mínimo; coloque los valores
en el subtotal de tiempo de escán mínimo
2.9.1 Sume los valores en las columnas de tiempo de escán máximo; coloque los valores
en el subtotal de tiempo de escán máximo
X)_______
Y)_______
subtotal_______
X)_______
R1)_______
R2)______
Y)_______
subtotal_______
Continúa en la página siguiente
Tiempo de escán estimado
D–19
Procedimiento Tiempo de escán mín. Tiempo de escán máx.
3. Calcule el tiempo de escán de   . Este cálculo aproximado supone la
operación de todas las instrucciones una vez por cada escán de operación.
3.1 Cuente el no. renglones en el programa de escalera. Multiplique este no. por 0.25.
Coloque el valor en la línea Renglones.
3.2 Calcule el tiempo de ejecución de programa cuando todas las instrucciones sean
verdaderas. (Vea el apéndice B para hacer esto.) Coloque este valor en la
línea Tiempo.
3.3 Sume los valores de 3.1 y 3.2; coloque esta suma en la línea de subtotal.
Renglones)_____
+
Tiempo)______
subtotal______
Renglones)_____
+
Tiempo)______
subtotal______
4. Tiempo de overhead     (S:33/8 = 1 añada 752 µs; S:33/8 = 0 añada 844 µs) subtotal subtotal
5. Calcule el overhead de  :
5.1 Calcule el overhead de comunicaciones de fondo usando la tabla siguiente.
El overhead mín. se aplica cuando los dispositivos  están conectados al canal.
Canal 0 Canal 1 Overhead de comunicación de fondo
(RS232) (DH485)
Mínimo Máximo
DF1 full-duplex DH-485 1026 1180 (1280)
DF1 half-duplex DH-485 1025 1175
DH-485 DH-485 1040 1160
DF1 full-duplex Parada 1006 1100 (1200)
DF1 half-duplex Parada 1005 1095
DH-485 Parada 1020 1080
Use los números entre paréntesis cuando se usen instrucciones MSG en
el canal DF1 full-duplex.
5.2 Calcule el overhead de comunicaciones de primer plano:
por el tiempo de escán mínimo, añada 0;
por el tiempo de escán máximo; añada 1027 por canal.
(El tiempo de escán máx. toma en cuenta que el programador está
conectado el procesador.)
Overhead
+
0
subtotal
Overhead
+
1027
subtotal
6. Sume todos los valores de los subtotales de pasos 1-5
(escán de entrada mín. y máx., escán de salida, escán de programa, overhead de
procesador y overhead de comunicación).
µseg µseg
7. Convierta µseg en mseg dividiendo entre 1000. / 1000 / 1000
               mseg mseg
Nota El tiempo de escán anterior no toma en cuenta las bifurcaciones. Vea el ejemplo
siguiente acerca de cómo calcular el tiempo de escán adicional cuando se usan
bifurcaciones.
Bifurcaciones anidadas
Esto toma ≈ 1.5 µs
Bifurcaciones extendidas
Esto toma ≈ .5 µs
Preface
Manual de referencia del juego de instrucciones
D–20
Hoja de trabajo E – Cómo calcular el tiempo de escán del procesador
1747-L542
Procedimiento Tiempo de escán mín. Tiempo de escán máx.
1. Calcule el tiempo de escán de  (µs).
1.1 Calcule el escán de entrada de procesador de los módulos de entrada discreta.
No. de módulos de 8 puntos _______ x 26 = A.)________
No. de módulos de 16 puntos _______ x 26 = B.)________
No. de módulos de 32 puntos _______ x 52 = C.)________
No. de módulos de comb. de E/S _______ x 74 = D.)________
1.2 Calcule el escán de entrada de procesador de los módulos de E/S especiales.
No. de 1746-HS _______ x 312 = E.)________
No. de 1/4 DCM _______ x 297 = F.)_________
No. de 1/2 DCM _______ x 332 = G.)________
No. de 3/4 DCM _______ x 366 = H.)________
No. de DCM completo _______ x 400 = I)________
No. de 1747-KE _______ x 423 = J)________
No. de 1746-NI4 _______ x 296 = K.)________
No. de 1746-NIO4I, NIO4V _______ x 252 = L.)________
No. de 1746-NT4 _______ x 365 = M.)________
No. de DSN de 7 bloques _______ x 403 = N.)________
No. de DSN de 30 bloques _______ x 1031 = O.)________
No. de 1746-BAS
(configuración SLC 5/01) _______ x 431 = P.)________
1.3 No. de 1747-SN _______ x 1198 = Q.)________
No. de 1746-HSCE _______ x 486 = R.)________
No. de 1746-BAS
(confniguración SLC 5/02 y SLC 5/03) _______ x 585 = S.)________
1.4 If S:33/8 is clear,
add 78 µs per configured input slot _______ x 78 = T.)________
1.5 Sume las líneasA a T. Si hay valores en E a S que son  0, añada 6.
Coloque este valor en la línea (W).
Sume 15 al valor en la línea (W). Este es el escán de entrada mínimo.
W.) ______ + 15 = X
1.6 Calcule el tiempo de escán máximo de entrada de E/S especiales:
Tiempo de escán de entrada (R1) = No. de módulos de E/S especiales en sec. 1.2 x 50
1.7 Calcule el tiempo de escán máximo de entrada de E/S para la sección 1.3 x 200
Tiempo de escán de entrada (R2) = No. de módulos de E/S especiales en sec. 1.3 x 200
1.8 Calcule el overhead de entrada forzado:
Overhead de entrada forzado = No. de módulos de entrada discreta a 3.5 µs por pal.
Añada 16.35 + 4.3 por palabra por cada módulo de E/S especial
(por ej., BASIC tiene 8 entradas = 16.35 + 4.3 x 8 = 50.75) = Y
1.9.0 Sume los valores en las columnas de tiempo de escán máximo;
coloque los valores en el subtotal del tiempo de escán mínimo.
1.9.1 Sume los valores en las columnas de tiempo de escán mínimo;
coloque los valores en el subtotal del tiempo de escán máximo.
X)________
Y)_______
subtotal_______
X)________
R1)_______
R2)______
Y)_______
subtotal_______
Continúa en la página siguiente
Tiempo de escán estimado
D–21
Procedimiento Tiempo de escán mín. Tiempo de escán máx.
2. Calcule el tiemp de escán de  (µs).
2.1 Calcule el escán de salida de procesador de los módulos de salida discreta.
No. de módulos de 8 puntos ________ x 31 = A.)________
No. de módulos de 16 puntos ________ x 31 = B.)________
No. de módulos de 32 puntos ________ x 62 = C.)________
No. de módulos de comb. de E/S ________ x 82 = D.)________
2.2 Calcule el escán de salida de procesador de los módulos de E/S especiales.
No. de 1746-HS _______ x 349 = E.)________
No. de 1/4 DCM _______ x 315 = F.)________
No. de 1/2 DCM _______ x 360 = G.)________
No. de 3/4 DCM _______ x 404 = H.)________
No. de DCM completo _______ x 449 = I.)________
No. de 1746-NIO4I  NIO4V _______ x 277 = J.)________
No. de 1746-NO4I  NO4V _______ x 322 = K.)_________
No. de DSN de 7 bloques _______ x 449 = L.)________
No. de DSN de 30 bloques _______ x 1204 = M.)________
No. de 1746-BAS
(configuración SLC 5/01) _______ x 480 = O.)________
2.3 Calcule el escán de salida de procesador de los módulos de E/S especiales.
No. de 1747-SN _______ x 1375 = P.)________
No. de 1746-HSCE _______ x 374 = Q.)________
No. de 1746-BAS
(configuración SLC 5/02 y SLC 5/03) _______ x 636 = R.)_________
2.4 Si S:33/8 está puesto a cero, sume 78 µs
por ranura de entrada configurada _______ x 78 = S.)________
2.5 Sume las líneas A a S. Si hay valores en E a R que son 0, sume 6.
Coloque este valor en la línea (T). Sume 12 al valor en la línea (T).
Este es el escán de salida mínimo de las E/S especiales.
. T.)________ + 12 =X
2.6 Calcule el tiempo de escán máximo de salida especial:
Tiempo de escán de salida (R1) = No. de módulos de E/S especiales en 2.2 x 50)
2.7 Calcule el tiempo de escán máximo de salida para la sección 2.3:
Escán de salida (R2) = No. de módulos de E/S especiales en x 200
2.8 Calcule el overhead de salida forazado:
Overhead de salida forzado = No. de módulos de salida discreta a 3.0 µs por palabra
Sume 16.35 + 4.3 por palabra por cada módulo de E/S especial
(por ej., BASIC tiene 8 entradas = 16.35 + 4.3 x 8 = 50.75) = Y
2.9.0 Sume los valores en las columnas de tiempo de escán mínimo; coloque los valores
en el subtotal del tiempo de escán mínimo.
2.9.1 Sume los valores en las columnas de tiempo de escán máximo; coloque los valores
en el subtotal del tiempo de escán máximo.
X)_______
Y)_______
subtotal_______
X)_______
R1)_______
R2)______
Y)_______
subtotal_______
Continúa en la página siguiente
Preface
Manual de referencia del juego de instrucciones
D–22
Procedimiento Tiempo de escán
mínimo
Tiempo de escán
máximo
3. Calcule el tiempo de escán de    . Este cálculo estimado supone la operación
de todas las instrucciones una vez por cada escán de operación.
3.1 Cuente el no. de renglones en el programa de escalera. Multiplique este no.
por 0.187. Coloque el valor en la línea Renglones.
3.2 Calcule el tiempo de ejecución de programa cuando todas las instrucciones sean
verdaderas. (Vea el apéndice B para hacer esto.) Coloque este valor en
la línea Tiempo.
3.3 Sume los valores de 3.1 y 3.2; coloque esta suma en la línea de subtotal.
Renglones)_____
+
Tiempo)______
subtotal______
Renglones)_____
+
Tiempo)______
subtotal______
4. Tiempo de overhead de    (S:33/8 = 1 añada 665 µs; S:33/8 = 0 añada 742 µs) subtotal subtotal
5. Estime el overhead de  
5.1 Calcule el overhead de comunicaciones de fondo usando la tabla siguiente.
El overhead mínimo se aplica cuando los dispositivos  están conectados a un canal.
Canal 0 Canal 1 Overhead de comunicación de fondo
(RS232) (DH+)
Mínimo Máximo
DF1 full-duplex DH+ 1006 1110 (1280)
DF1 half-duplex DH+ 1005 1100
DH-485 DH+ 1020 1090
DF1 full-duplex Parada 1006 1090 (1200)
DF1 half-duplex Parada 1005 1080
DH-485 Parada 1020 1070
Use los números entre paréntesis cuando se usen las instrucciones MSG en el
canal DF1 full-duplex.
5.2 Calcule el overhead de comunicaciones de fondo:
para el tiempo de escán mínimo, añada 0;
para el tiempo de escán máximo, añada 1027 por canal.
(El tiempo de escán máx. toma en cuenta que el programador está
conectado al procesador.)
Si S:34/1 es establecido para habilitar la actualización activa de la tabla de nodo,
sume 400 por comando
Si el destino del paquete que ha recibido servicio es el otro canal, sume 400 por comando.
Overhead
+
0
subtotal
Overhead
+
1027
subtotal
6. Sume todos los valores de los subtotales de pasos 1-5.
(escán de entrada mínimo y máximo, escán de salida, overhead de procesador y
overhead de comunicación).
µseg µseg
7. Convierta µseg a mseg dividiendo entre 1000. / 1000 / 1000
                mseg mseg
Tiempo de escán estimado
D–23
Use los tiempos de escán máximos siguientes para calcular los tiempos de escán de
entrada y salida. Refiérase a la hoja de trabajo D en este apéndice.
Procesador SLC 5/03
Módulo de E/S
Tiempo de escán
de entrada máx.
Tiempo de escán
de entrada mín.
,* #+*,  (-,'+    
$# #+*,  (-,'+    
,* #+*,   (-,'+    
$# #+*,   (-,'+    
,* #+*,   (-,'+    
$# #+*,   (-,'+    
'%##1   #+*,+  
   
 
1-$'  +*.'',*'$'*       
1-$'  '%-##1 #*,     ' #!-*#1   +#+  
1-$'  '%-##1 #*,     ' #!-*#1  +#+    
1-$'  '%-##1 #*,     ' #!-*#1   +#+  
1-$'  '%-##1 #*,     ' #!-*#1  +#+ '%($,'  
1-$'  ,* $1!#     
1-$'+  '%##1 $1!#
   
  
1-$'+  +$# $1!#
   
 
1-$'  +0*   #+,*#-#+     ' #!-*#1  $')-+  
1-$'  +0*   #+,*#-#+     ' #!-*#1   $')-+   
1-$'    
' #!-*#1  
  
1-$'  '# #'*  ','*  $, .$'#      
1-$'  +0*   *%',+     
1-$'    
' #!-*#1   /
Preface
Manual de referencia del juego de instrucciones
D–24
Procesador SLC 5/04
Módulo de E/S
Tiempo de escán
de entrada máx.
Tiempo de escán
de salida máx.
,* #+*,  (-,'+    
$# #+*,  (-,'+    
,* #+*,   (-,'+    
$# #+*,   (-,'+    
,* #+*,   (-,'+    
$# #+*,   (-,'+    
'%##1   #+*,+
     
 
1-$'  +*.'',*'$'*       
1-$'  '%-##1 #*,     ' #!-*#1   +#+  
1-$'  '%-##1 #*,     ' #!-*#1   +#+   
1-$'  '%-##1 #*,     ' #!-*#1   +#+  
1-$'  '%-##1 #*,     ' #!-*#1  +#+ '%($,'  
1-$'  ,* $1!#     
1-$'+  '%##1 $1!#
    +
  
1-$'+  +$# $1!#
   
 
1-$'  +0*   #+,*#-#+    ' #!-*#1  $')-+  
1-$'  +0*   #+,*#-#+    ' #!-*#1   $')-+  
1-$'    
' #!-*#1  
  
1-$'  '# #'*  ','*  $, .$'#      
1-$'  +0*   *%',+     
1-$'    
' #!-*#1   /
Tiempo de escán estimado
D–25
Ejemplo de cálculo de tiempo de escán
Supongamos que usted tiene un sistema que consiste en los componentes siguientes:
Configuración del sistema
Descripción
No. de catálogo Cantidad
Descripción
  
 
  
  
 
 






#!$!#  
(!   %#      %!$
(!   %# # !#    
  %!$
(!  $  #'    
  %!$
(!  $   %    
  %!$
(!  ! (  (  
 $
Puesto que se usa el procesador 1747-L514, se debe llenar la hoja de trabajo B.
Dicha hoja se muestra en la página D–11.
El programa de escalera siguiente se usa en esta aplicación. Los tiempos de
ejecución para las instrucciones (estado verdadero) han sido tomados del apéndice B
y sumados para cada renglón. El tiempo de ejecución total, 465 microsegundos, se
introduce en la hoja de trabajo en la página D–27.
La hoja de trabajo indica que el tiempo de escán total estimado es 3.85 milisegundos
mínimos y 8.9 milisegundos como máximo.
Preface
Manual de referencia del juego de instrucciones
D–26
END
]/[
B3
1
( )
O:1.0
0
(EN)
(DN)
TON
TIMER ON DELAY
Timer T4:0
Time Base 0.01
Preset 6000
Accum
] [
B3
0
]/[
T4:0
DN
] [
B3
45
]/[
T4:0
DN
] [
B3
9
]/[
B3
1
] [
T4:0
DN
GRT
GREATER THAN
Source A T4:0.ACC
Source B 5999
TOD
TO BCD
Source T4:0.ACC
Dest S:13
MOV
MOVE
Source S:13
Dest O:1.0
Tiempos de ejecución:
139 microsegundos
38 microsegundos
288 microsegundos
Total: 465 microsegundos
Tiempo de escán estimado
D–27
Ejemplo: Hoja de trabajo B – Cómo calcular el tiempo de escán de una
aplicación del procesador 1747-L511 ó 1747-L514
Procedimiento: Tiempo de escán mín. Tiempo de escán máx.
1. Calcule el tiempo de escán de   (µs).
1.1 Calcule el escán de entrada de procesador de los módulos de entrada discreta.
No. de módulos de 8 puntos 2 x 197 = A.) 394
No. de módulos de 16 puntos 1 x 313 = B.) 313
No. de módulos de 32 puntos 0 x 545 = C.) 0
1.2 Calcule el escán de entrada de procesador de los módulos de E/S especiales.
No. de 1/4 DCM o comb. analógica 1 x 652 = D.) 652
No. de 1/2 DCM, entrada analógica
ó 1746-HS 0 x 1126 = E.) 0
No. de 3/4 DCM 0 x 1600 = F.) 0
No. de DCM completo, BASIC
ó 1747-DSN 0 x 2076 = G.) 0
No. de 1747-KE 0 x 443 = H.) 0
1.3 Sume las líneas A a H. Coloque este valor en la línea (I).
Sume 101 al valor en la línea (I). Esta suma es el tiempo de escán de entrada mín.
I.) 1359 + 101 =
1.4 Calcule el tiempo de escán de entrada máximo:
Tiempo de escán de entrata máximo = Tiempo de escán mínimo +
(No. de módulos de E/S especiales x 50)
1.5 Calcule el overhead de entrada forzado:
Overhead de entrada forzado = (No. de módulos de entrada x 180) + 140 por
palabra adicional por módulos de palabras múltiples (por ej., DCM, analógico, DSN)
1460
1510
860
2. Calcule el tiempo de escán de  (µs).
2.1 Calcule el escán de salida de procesador de los módulos de salida.
No. de módulos de 8 puntos 1 x 173 = A.) 173
No. de módulos de 16 puntos 3 x 272 = B.) 816
No. de módulos de 32 puntos 0 x 470 = C.) 0
2.2 Calcule el escán de salida de procesador de los módulos de E/S especiales.
No. de 1/4 DCM o comb. analógica 1 x 620 = D.) 620
No. de 1/2 DCM, entrada analógica
ó 1746-HS 0 x 1028 = E.) 0
No. de 3/4 DCM 0 x 1436 = F.) 0
No. de DCM completo, BASIC
ó 1747-DSN 0 x 1844 = G.) 0
2.3 Sume las líneas A a G. Coloque este valor en la línea (H).
Sume 129 al valor en la línea (H). Esta suma es el tiempo de escán de salida mín.
H.) 1609 + 129 =
2.4 Calcule el tiempo de escán de salida máximo:
Tiempo de escán de salida máximo =
Tiempo de escán mínimo + (No. de módulos de E/S especiales x 50)
2.5 Calcule el overhead de salida forzado:
Overhead de salida forzado = (No. de módulos de salida x 172) + 140 por palabra
adicional por módulos de palabras múltiples (por ej., DMC, analógico, DSN)
1747
1788
1000
Continúa en la página siguiente
Preface
Manual de referencia del juego de instrucciones
D–28
Procedimiento: Tiempo de escán mín. Tiempo de escán máx.
3. Calcule el tiempo de escán de  . Este cálculo estimado supone la operación
de todas las instrucciones una vez por cada escán de operación.
 / (.  ()  , ()( - (  *,),'  ))+/  0), (  4(  
 /  .$ '*)  % /$6(  *,),'  /() .) - $(-.,/$)( - - (
0 , ,-    *3($  *, # , -.)
4. Sume los valores en las columnas del tiempo de escán mínimo y máximo.
3
465
3675 -/.).
3
465
5626 -/.).
5. Sume el tiempo de overhead de    (178 para tiempo de escán mín.; 278 para
tiempo de escán máx.) a los subtotales estimados en el paso 4.
- -.)- -/.). - (/ 0)- *, /,  )0 ,#   )'/($$6( (  *-) 
 
3853
-/.).
 
5804
-/.).
6. Calcule el overhead de   
 /  )0 ,#   )'/($$6(  !)()
'/.$*$+/  -/.). *,  .$ '*)  -2( '4(  -.$') (  *-)  (., 
'/.$*$+/  -/.). *,  .$ '*)  -2( '21 (.,  
  0), '21 .)' ( / (.  ,  .$0 7  
 /  )0 ,#   )'/($$6(  *,$' , *()
*),  .$ '*)  -2( '4($') 5 
*),  .$ '*)  -2( '21$') 5 
 .$ '*)  -2( '21$') .)' ( / (. +/  *,),'), -.2
)( .)  *,) -),
 )(0$ ,. µ-  ( '-  $0$$ () (., 
1 
3853 µ- 
 
3853 µ- 
 
1  
6617 µ- 
 
8927 µ- 
 
                   

3.85 '-  8.9 '-
Referencias de instrucciones de programación
E–1
E Referencias de instrucciones
de programación
Este apéndice lista todas las instrucciones de programación disponibles además de
los parámetros, modos de direccionamiento válidos y tipos de archivo de las
mismas.
Preface
Manual de referencia del juego de instrucciones
E–2
Modos de direccionamiento válidos y tipos de archivo
Los modos de direccionamiento siguientes están disponibles:
Modo de direccionamiento Ejemplo
#%!  
#%!  !  
 !   
 #%!  !   
Los tipos de archivo siguientes están disponibles:
• O Salida
• I Entrada
• S Estado
• B Binario
• T Temporizador
• C Contador
• R Control
• N Entero
• F FlotarÀ
• A ASCIIÀ
• ST CadenaÀ
• M M0/M1Á
• Inmediato — indica que una constante es un tipo de archivo válido
À !'! $! % !# !$ #!$!#$     '      
Á ! !'! !# !$ ! %#!!#$ #!!
Referencias de instrucciones de programación
E–3
Cómo comprender los modos de direccionamientos diferentes
Las descripciones siguientes le ayudarán a comprender cómo estructurar un tipo
específico de dirección.
Direccionamiento directo
Los datos almacenados en la dirección especificada se usa en la instrucción. Por
ejemplo:
N7:0 T4:8.ACC
ST20:5
Direccionamiento indexado
Usted puede especificar una dirección como indexada colocando el carácter “#” al
frente de la dirección. Cuando una dirección de esta forma se encuentra en el
programa, el procesador toma el número de elemento de la dirección y lo suma al
valor contenido en el registro de índice S:24 y usa el resultado como la dirección
real. Por ejemplo:
#N7:10 donde S:24 = 15
La dirección real usada por la instrucción es N7:25.
Direccionamiento indirecto
Usted puede especificar una dirección como indirecta reemplazando el número de
archivo, el número de elemento o el número de subelemento con un símbolo
[Xf:e.s]. La dirección de palabra dentro de los corchetes es encuestada en busca de
un valor. Luego, el valor encuestado se convierte en la porción de archivo, elemento
o subelemento de la dirección indirecta. Por ejemplo:
B3:[N10:2] declara que la dirección de elemento del archivo de bit 3 es
contenida en la dirección N10:2. Por lo tanto, si N10:2 contiene el valor 5,
B3:[N10:2] se refiere indirectamente a la dirección B3:5. Otros ejemplos
incluyen:
N7:[N7:0] N[N7:0]:[N7:1]
N7[T4:0.ACC] C5:[N7:0]
Direccionamiento indirecto indexado
Usted puede especificar una combinación de direccionamiento indirecto e indexado.
El procesador primero resuelve la porción indirecta de la dirección y luego, añade el
offset del registro de índice S:24 para crear la dirección final. Por ejemplo:
#N7:[N10:3] donde N10:3 = 20 and S:24 = 15
La dirección real usada por la instrucción es N7:35.
Preface
Manual de referencia del juego de instrucciones
E–4
Instrucción Descripción Parámetro de
instrucción
Modo(s) de
direccionamiento
válido(s)
Tipos de archivo
válidos
Valores
inmediatos
À 1! )  (),  
() $/ 
$ 
'+)'$ #) +'  #,'*
)+ ) * 
Á $') *'$,+' !, + #) +' #) +' # -'
##) +' ##) +' # -'
      
    
 
!2%#!2%-
 *+#' #) +' #) +' # -'
##) +' ##) +' # -'
      
    
#,'*
À 1% )'  
)+ ) *  1! )
$ 
'+)'$ #) +'  #,'*
)+ ) * 
À     + )' !, + #) +' ##) +'  #,'*
 *+#' #) +' #) +' # -'
##) +' ##) +' # -'
      
   
#,'*
À 1! )  '))'  $ 
1! ) 
+)*%#*#0
' 0 */
1! )  )  (#0 ' 0 */
À '+ ' 
  
!, +  #) +' ##) +'  #,'*
!, +  #) +' ##) +'  #,'*
 *+#' #) +'  #,'*
Á )' '* ' !, + #) +' #) +' # -'
##) +' ##) +' # -'
      
    
 
!2%#!2%-
 *+#' #) +' #) +' # -'
##) +' ##) +' # -'
      
    
#,'*
À '(')+' *'$% + (') $'* ()' *') *     .      
Á '(')+' *'$% + (') $'* ()' *') *    .
Referencias de instrucciones de programación
E–5
Instrucción Descripción Parámetro de
instrucción
Modo(s) de
direccionamiento
válido(s)
Tipos de archivo
válidos
Valores
inmediatos
 /(, $/#).#  ,#!.* ,#!.* )#0*
),#!.* ),#!.* )#0*
      
    
 
$6()$6(0
$/#).#  ,#!.* ,#!.* )#0*
),#!.* ),#!.* )#0*
      
    
 
$6()$6(0
#-.)* ,#!.* ,#!.* )#0*
),#!.* ),#!.* )#0*
      
    
))%/)*
À 0.,!!4) # !#)

$/#).# ,#!.* ),#!.*  ))%/)*
3)!# ,#!.* ,#!.* )#0*
),#!.* ),#!.* )#0*
      
   
 
)5(#,* ,#!.* ,#!.* )#0*
),#!.* ),#!.* )#0*
      
   
 
#-.)* ,#!.*  ))%/)*
À 3)#- # !*(/)!6
!4) # #-. '#!(#).*
,#-. '#!(#).* 
!)' 
2-!,  ,#!.* ,#!.* )#0*
),#!.* ),#!.* )#0*
      
   

2-!,  ,#!.* ,#!.* )#0*
),#!.* ),#!.* )#0*
      
   

!*).,*' ,#!.*  ))%/)*
#-.* # !)' 
À ).#,*   !#) $/#).# ,#!.* ,#!.* )#0*
),#!.* ),#!.* )#0*
      
   
 
#-.)* ,#!.*  ))%/)*
 *+#,*,  '4%!* $/#).#  ,#!.* ,#!.* )#0*
),#!.* ),#!.* )#0*
      
   
 
$/#).#  ,#!.* ,#!.* )#0*
),#!.* ),#!.* )#0*
      
   
 
#-.)* ,#!.* ,#!.* )#0*
),#!.* ),#!.* )#0*
      
   
))%/)*
À *+*,.* -*'(#).# +*, '*- +,*!#-*,#-     1
Preface
Manual de referencia del juego de instrucciones
E–6
Instrucción Descripción Parámetro de
instrucción
Modo(s) de
direccionamiento
válido(s)
Tipos de archivo
válidos
Valores
inmediatos
À +,)  )  %# 
*+% )+  %%!,%
%+)# )+  %%!,%
#%!+,  %  
)+)* #0*  
À +,)  #0%  %# 
*+% )+  %%!,%
%+)# )+  %%!,%
#%!+,  %  
)+)* #0*  
À 2*(,  #0%

,%+ )+ %)+  %%!,%
0% )+ )+ %-
%)+ %)+ %-
      
   
 
2*(, )+ %)+  %%!,%
)*,#+ )+ )+ %-
%)+ %)+ %-
      
   
%%!,%
Á ) *% ,%+ )+ )+ %-
%)+ %)+ %-
      
    
 
3$0% 3$/-
*+% )+ )+ %-
%)+ %)+ %-
      
    
%%!,%
À $')1% 
% 
,%+  )+ %)+  %%!,%
,%+  )+ %)+  %%!,%
Á ) +%!%+ ,%+ )+ )+ %-
%)+ %)+ %-
      
    
 
3$0% 3$/-
*+% )+ )+ %-
%)+ %)+ %-
      
    
%%!,%
À '. *#$%+ ') #* ')*)*     .      
Á '. *#$%+ ') #* ')*)*    .
Referencias de instrucciones de programación
E–7
Instrucción Descripción Parámetro de
instrucción
Modo(s) de
direccionamiento
válido(s)
Tipos de archivo
válidos
Valores
inmediatos
 À +*#,-*  '
/'
$ 
-, #*,'  #!-'
',*'$ #*,'  #!-'
$'!#,-    
* ,*+%#,#'+  
À +*#,-*  $ 
-, #*,'  #!-'
',*'$ #*,'  #!-'
$'!#,-    
* ,*+%#,#'+  
 +($1%#,'  $
#1)-#*
*#.' #*,' #/'
##*,' #/'
       #!-'
',*'$ #*,'  #!-'
#*#2  #, #*,' ##*,'       
   
#!-'
$'!#,- 
 +($1%#,'  $
*
*#.' #*,' #/'
##*,' #/'
       #!-'
',*'$ #*,'  #!-'
#*#2  #, #*,' ##*,'       
   
#!-'
$'!#,- 
 '*** +,#' #*,' #*,' #/'
##*,' ##*,' #/'
      
    
#!-'
À '('*,' +'$%, ('* $'+ (*'+'*+     0
Preface
Manual de referencia del juego de instrucciones
E–8
Instrucción Descripción Parámetro de
instrucción
Modo(s) de
direccionamiento
válido(s)
Tipos de archivo
válidos
Valores
inmediatos
COP Copiar archivo fuente directo indexado,
indirecto indexado
O, I, S, B, T, C, R,
N, F, A, ST, M
ninguno
destino directo indexado,
indirecto indexado
O, I, S, B, T, C, R,
N, F, A, ST, M
ninguno
longitud 1-128
COSÁ Coseno fuente directo, directo indexado,
indirecto, indirecto indexado
O, I, S, B, T, C, R,
N, F, A, ST, M
-32,768-32,767
fĆmín-fĆmáx
destino directo, directo indexado,
indirecto, indirecto indexado
O, I, S, B, T, C, R,
N, F, A, ST, M
ninguno
CPTÁ Calcular destino directo, directo indexado,
indirecto, indirecto indexado
O, I, S, B, T, C, R,
N, F, A, ST, M
ninguno
expresión expresión
CTD Conteo - contador directo C ninguno
preseleccionado -32,768-32,767
acumulador -32,768-32,767
CTU Conteo + contador directo C ninguno
preseleccionado -32,768-32,767
acumulador -32,768-32,767
DCD Descodificar 4 a 1 de
16
fuente directo, directo indexado,
indirecto, indirecto indexado
O, I, S, B, T, C, R,
N, A, ST, M
ninguno
destino directo, directo indexado,
indirecto, indirecto indexado
O, I, S, B, T, C, R,
N, A, ST, M
ninguno
DDV Doble división fuente directo, directo indexado,
indirecto, indirecto indexado
O, I, S, B, T, C, R,
N, A, ST, M
-32,768-32,767
destino directo, directo indexado,
indirecto, indirecto indexado
O, I, S, B, T, C, R,
N, A, ST, M
ninguno
DEGÁ Radianes a grados fuente directo, directo indexado,
indirecto, indirecto indexado
O, I, S, B, T, C, R,
N, F, A, ST, M
-32,768-32,767
fĆmín-fĆmáx
destino directo, directo indexado,
indirecto, indirecto indexado
O, I, S, B, T, C, R,
N, F, A, ST, M
ninguno
Á Soportado solamente por los procesadores SLC 5/03 OS302 y SLC 5/04 OS401.
Referencias de instrucciones de programación
E–9
Instrucción Descripción Parámetro de
instrucción
Modo(s) de
direccionamiento
válido(s)
Tipos de archivo
válidos
Valores
inmediatos
DIV División fuente A directo, directo indexado,
indirecto, indirecto indexado
O, I, S, B, T, C, R,
N, F, A, ST, M
-32,768-32,767
fĆmín-fĆmáx
fuente B directo, directo indexado,
indirecto, indirecto indexado
O, I, S, B, T, C, R,
N, F, A, ST, M
-32,768-32,767
fĆmín-fĆmáx
destino directo, directo indexado,
indirecto, indirecto indexado
O, I, S, B, T, C, R,
N, F, A, ST, M
ninguno
ENCÂ Codificar (encode) 1 de
16 a 4
fuente directo, directo indexado,
indirecto, indirecto indexado
O, I, S, B, T, C, R,
N, A, ST, M
ninguno
destino directo, directo indexado,
indirecto, indirecto indexado
O, I, S, B, T, C, R,
N, A, ST, M
ninguno
EQU Igual fuente A directo, directo indexado,
indirecto, indirecto indexado
O, I, S, B, T, C, R,
N, F, A, ST, M
ninguno
fuente B directo, directo indexado,
indirecto, indirecto indexado
O, I, S, B, T, C, R,
N, F, A, ST, M
-32,768-32,767
fĆmín-fĆmáx
FFLÃ Carga FIFO fuente directo, directo indexado,
indirecto, indirecto indexado
O, I, S, B, T, C, R,
N, A, ST, MÆ
-32,768-32,767
gama FIFO directo indexado,
indirecto indexado
O, I, S, B, N, A ninguno
control FIFO directo R ninguno
longitud 1-128
posición 0-127
FFUÃ Descarga FIFO gama FIFO directo indexado,
indirecto indexado
O, I, S, B, N, A ninguno
destino directo, directo indexado,
indirecto, indirecto indexado
O, I, S, B, T, C, R,
N, A, ST, MÆ
ninguno
control FIFO directo R ninguno
longitud 1-128
posición 0-127
 Soportado solamente por los controladores MicroLogix 1000.
à Soportado solamente por los procesadores SLC 5/02, SLC 5/03 y SLC 5/04 y controladores MicroLogix 1000.
Æ El direccionamiento indexado no se permite cuando se usan direcciones T, C, R o M.
Preface
Manual de referencia del juego de instrucciones
E–10
Instrucción Descripción Parámetro de
instrucción
Modo(s) de
direccionamiento
válido(s)
Tipos de archivo
válidos
Valores
inmediatos
FLL Llenar archivo fuente directo, indirecto O, I, S, B, T, C, R,
N, F, A, ST, M
-32,768-32,767
fĆmín-fĆmáx
destino directo indexado,
indirecto indexado
O, I, S, B, T, C, R,
N, F, A, ST, M
ninguno
longitud 1-128
FRD De BCD a binario fuente (SLC 5/01) directo O, I, S, B, T, C, R,
N, A, ST, M
ninguno
fuente (SLC 5/02,
SLC 5/03, SLC
5/04, controladores
MicroLogix 1000)
directo, directo indexado,
indirecto, indirecto indexado
O, I, S, B, T, C, R,
N
ninguno
destino directo, directo indexado,
indirecto, indirecto indexado
O, I, S, B, T, C, R,
N, A, ST, M
ninguno
GEQ Mayor o igual que fuente A directo, directo indexado,
indirecto, indirecto indexado
O, I, S, B, T, C, R,
N, F, A, ST, M
ninguno
fuente B directo, directo indexado,
indirecto, indirecto indexado
O, I, S, B, T, C, R,
N, F, A, ST, M
-32,768-32,767
fĆmín-fĆmáx
GRT Mayor que fuente A directo, directo indexado,
indirecto, indirecto indexado
O, I, S, B, T, C, R,
N, F, A, ST, M
ninguno
fuente B directo, directo indexado,
indirecto, indirecto indexado
O, I, S, B, T, C, R,
N, F, A, ST, M
-32,768-32,767
fĆmín-fĆmáx
HSCÅ Contador de alta
velocidad (SLC 5/01)
contador ninguno
preseleccionado 1-32,767
HSCÂ Contador de alta veloc. tipo 0-7
contador directo C ninguno
preseleccionado -32,768-32,767
acumulador -32,768-32,767
HSDÂ Interr. HSC desactiva contador directo C ninguno
HSEÂ Interr. HSC activa contador directo C ninguno
 Soportado solamente por los controladores MicroLogix 1000.
Å Soportado solamente por los procesadores L20, L30, and L40 con entradas de DC.
Referencias de instrucciones de programación
E–11
Instrucción Descripción Parámetro de
instrucción
Modo(s) de
direccionamiento
válido(s)
Tipos de archivo
válidos
Valores
inmediatos
HSLÂ Carga HSC contador directo C ninguno
fuente directo B y N ninguno
longitud siempre 5
IIDÆ Interrupción de E/S
desactiva
ranuras palabra hex doble
(lista de ranuras
IIEÆ Interrupción de E/S
activa
ranuras palabra hex doble
(lista de ranuras
IIM Entrada inmediata con
máscara
ranura directo I ninguno
máscara directo, directo indexado,
indirecto, indirecto indexado
O, I, S, B, T, C, R,
N, A, ST, M
-32,768-32,767
longitud
(SLC 5/03 y
SLC 5/04)
1-32
INTÃ Interrupción de E/S ninguno
IOM Salida inmediata con
máscara
ranura directo O ninguno
máscara directo, directo indexado,
indirecto, indirecto indexado
O, I, S, B, T, C, R,
N, A, ST, M
-32,768-32,767
longitud
(SLC 5/03 y
SLC 5/04)
1-32
JMP Saltar no. de etiqueta 0-999
JSR Saltar a subrutina número de archivo
de subrutina
3-255
LBL Etiqueta no. de etiqueta 0-999
 Soportado solamente por los controladores MicroLogix 1000.
à Soportado solamente por los procesadores SLC 5/02, SLC 5/03 y SLC 5/04 y los procesadores MicroLogix 1000.
Æ Soportado solamente por los procesadores SLC 5/02, SLC 5/03 y SLC 5/04.
Preface
Manual de referencia del juego de instrucciones
E–12
Instrucción Descripción Parámetro de
instrucción
Modo(s) de
direccionamiento
válido(s)
Tipos de archivo
válidos
Valores
inmediatos
LEQ Menos o igual que fuente A directo, directo indexado,
indirecto, indirecto indexado
O, I, S, B, T, C, R,
N, F, A, ST, M
ninguno
fuente B directo, directo indexado,
indirecto, indirecto indexado
O, I, S, B, T, C, R,
N, F, A, ST, M
-32,768-32,767
fĆmín-fĆmáx
LES Menos que fuente A directo, directo indexado,
indirecto, indirecto indexado
O, I, S, B, T, C, R,
N, F, A, ST, M
ningunos
fuente B directo, directo indexado,
indirecto, indirecto indexado
O, I, S, B, T, C, R,
N, F, A, ST, M
-32,768-32,767
fĆmín-fĆmáx
LFLÃ Carga LIFO fuente directo, directo indexado,
indirecto, indirecto indexado
O, I, S, B, T, C, R,
N, A, ST, MÄ
-32,768-32,767
gama LIFO directo indexado,
indirecto indexado
O, I, S, B, N, A ninguno
control LIFO directo R ninguno
longitud 1-128
posición 0-127
LFUÃ Descarga LIFO gama LIFO directo indexado,
indirecto indexado
O, I, S, B, N, A ninguno
destino directo, directo indexado,
indirecto, indirecto indexado
O, I, S, B, T, C, R,
N, A, ST, MÄ
ninguno
control LIFO directo R ninguno
longitud 1-128
posición 0-127
LIMÃ Test lím (circ) límite bajo directo, directo indexado,
indirecto, indirecto indexado
O, I, S, B, T, C, R,
N, F, A, ST, M
-32,768-32,767
fĆmín-fĆmáx
prueba directo, directo indexado,
indirecto, indirecto indexado
O, I, S, B, T, C, R,
N, F, A, ST, M
-32,768-32,767
fĆmín-fĆmáx
límite alto directo, directo indexado,
indirecto, indirecto indexado
O, I, S, B, T, C, R,
N, F, A, ST, M
-32,768-32,767
fĆmín-fĆmáx
à Soportado solamente por los procesadores SLC 5/02, SLC 5/03 y SLC 5/04 y los controladores MicroLogix 1000.
Ä El direccionamiento indexado no se permite cuando se usan direcciones T, C, R o M.
Referencias de instrucciones de programación
E–13
Instrucción Descripción Parámetro de
instrucción
Modo(s) de
direccionamiento
válido(s)
Tipos de archivo
válidos
Valores
inmediatos
LNÁ Logaritmo natural fuente directo, directo indexado,
indirecto, indirecto indexado
O, I, S, B, T, C, R,
N, F, A, ST, M
-32,768-32,767
fĆmín-fĆmáx
destino directo, directo indexado,
indirecto, indirecto indexado
O, I, S, B, T, C, R,
N, F, A, ST, M
ninguno
LOGÁ Logaritmo en base 10 fuente directo, directo indexado,
indirecto, indirecto indexado
O, I, S, B, T, C, R,
N, F, A, ST, M
-32,768-32,767
fĆmín-fĆmáx
destino directo, directo indexado,
indirecto, indirecto indexado
O, I, S, B, T, C, R,
N, F, A, ST, M
ninguno
MCR Restab. control maestro ninguno
MEQ Comparación con
máscara para igual
fuente directo, directo indexado,
indirecto, indirecto indexado
O, I, S, B, T, C, R,
N, A, ST, M
ninguno
máscara de fuente directo, directo indexado,
indirecto, indirecto indexado
O, I, S, B, T, C, R,
N, A, ST, M
-32,768-32,767
comparación directo, directo indexado,
indirecto, indirecto indexado
O, I, S, B, T, C, R,
N, A, ST, M
-32,768-32,767
MOV Mover fuente directo, directo indexado,
indirecto, indirecto indexado
O, I, S, B, T, C, R,
N, F, A, ST, M
-32,768-32,767
fĆmín-fĆmáx
destino directo, directo indexado,
indirecto, indirecto indexado
O, I, S, B, T, C, R,
N, F, A, ST, M
ninguno
MSG
(5/02 only)
Mensaje lectura/escritura 0=lect.,1=escrit.
(5/02 only)
dispositivo destino 2=500CPU,
4=485CIF
bloque de control directo N ninguno
long. bloque contr. 7
dirección local directo O, I, S, B, T, C, R,
N, A
ninguno
nodo destino 0-31
dirección destino directo O, I, S, B, T, C, R,
N, A
0-255
longitud de
mensaje
T, C, R 1-13
mensaje
I, O, S, B, N 1-41
Á Soportado solamente por los procesadores SLC 5/03 OS302 y SLC 5/04 OS401.
Preface
Manual de referencia del juego de instrucciones
E–14
Instrucción Descripción Parámetro de
instrucción
Modo(s) de
direccionamiento
válido(s)
Tipos de archivo
válidos
Valores
inmediatos
MSG
(5/03 y 5/04
Mensaje tipo 64=sem. a sem.
(5/03 y 5/04
solamente) lectura/escritura 0=lect., 1=escrit.
dispositivo destino 2=500CPU,
4=485CIF,
8=PLC5
local/remoto 16=local,
32=remoto
bloque de control directo N ninguno
long. bloque contr. 14
no. de canal 0 ó 1
nodo destino 0-31,
0-254 if 485CIF
ID de vínculo de
puente remoto
0-254,
0 cuando local
dirección de nodo
de puente remoto
0-254
0 cuando local
dirección de nodo
de puente local
0-254, 0xFFFF
cuando local
dirección de
archivo local
directo O, I, S, B, T, C, R,
N, F, A, ST, MÇ
ningunos
dirección de
archivo destino
directo O, I, S, B, T, C, R,
N, F, A, ST, MÇ
0-255
longitud de
mensaje
O, I, S, B, N, AÇ 1-103
mensaje
FÇ 1-51
T 1-34 ó
si PLC5: 1-20
C, R 1-34
STÇ 2 ó si PLC5: 1
lím. tmpo. sobreĆ
pasado mensaje
0-255
Ç Los tipos de archivo F, A y ST se aplican solamente a SLC 5/03 OS301 ó posteriores y SLC 5/04.
Referencias de instrucciones de programación
E–15
Instrucción Descripción Parámetro de
instrucción
Modo(s) de
direccionamiento
válido(s)
Tipos de archivo
válidos
Valores
inmediatos
 *)!!!/$ *$)  !')% !')% !$,%
!$!')% !$!')% !$,%
      
    

0#.$0#-,
*$) !')% !')% !$,%
!$!')% !$!')% !$,%
      
    

0#.$0#-,
()!$% !')% !')% !$,%
!$!')% !$!')% !$,%
      
    
$!$ *$%
 %+' %$ #-(' *$) !')% !')% !$,%
!$!')% !$!')% !$,%
      
   
$!$ *$%
#-(
manual de PLC.pdf
manual de PLC.pdf
manual de PLC.pdf
manual de PLC.pdf
manual de PLC.pdf
manual de PLC.pdf
manual de PLC.pdf
manual de PLC.pdf
manual de PLC.pdf
manual de PLC.pdf
manual de PLC.pdf
manual de PLC.pdf
manual de PLC.pdf
manual de PLC.pdf
manual de PLC.pdf
manual de PLC.pdf
manual de PLC.pdf
manual de PLC.pdf
manual de PLC.pdf
manual de PLC.pdf
manual de PLC.pdf
manual de PLC.pdf
manual de PLC.pdf
manual de PLC.pdf
manual de PLC.pdf
manual de PLC.pdf
manual de PLC.pdf
manual de PLC.pdf
manual de PLC.pdf
manual de PLC.pdf
manual de PLC.pdf
manual de PLC.pdf
manual de PLC.pdf
manual de PLC.pdf
manual de PLC.pdf
manual de PLC.pdf
manual de PLC.pdf
manual de PLC.pdf
manual de PLC.pdf
manual de PLC.pdf
manual de PLC.pdf
manual de PLC.pdf
manual de PLC.pdf
manual de PLC.pdf
manual de PLC.pdf
manual de PLC.pdf
manual de PLC.pdf
manual de PLC.pdf
manual de PLC.pdf
manual de PLC.pdf
manual de PLC.pdf
manual de PLC.pdf
manual de PLC.pdf
manual de PLC.pdf
manual de PLC.pdf
manual de PLC.pdf
manual de PLC.pdf
manual de PLC.pdf
manual de PLC.pdf
manual de PLC.pdf
manual de PLC.pdf
manual de PLC.pdf
manual de PLC.pdf
manual de PLC.pdf
manual de PLC.pdf
manual de PLC.pdf
manual de PLC.pdf
manual de PLC.pdf
manual de PLC.pdf
manual de PLC.pdf
manual de PLC.pdf
manual de PLC.pdf
manual de PLC.pdf
manual de PLC.pdf
manual de PLC.pdf
manual de PLC.pdf
manual de PLC.pdf
manual de PLC.pdf
manual de PLC.pdf
manual de PLC.pdf
manual de PLC.pdf
manual de PLC.pdf
manual de PLC.pdf
manual de PLC.pdf
manual de PLC.pdf
manual de PLC.pdf
manual de PLC.pdf
manual de PLC.pdf
manual de PLC.pdf
manual de PLC.pdf
manual de PLC.pdf
manual de PLC.pdf
manual de PLC.pdf

manual de PLC.pdf

  • 1.
    ! t$ #t ! $ ! !% $
  • 2.
    Información importante parael usuario Debido a la variedad de usos de los productos descritos en esta publicación, las personas responsables de la aplicación y uso de este equipo de control deben asegurarse de que se hayan seguido todos los pasos necesarios para que cada aplicación y uso cumplan con todos los requisitos de rendimiento y seguridad, incluyendo leyes, reglamentaciones, códigos y normas aplicables. Los ejemplos de ilustraciones, gráficos, programas y esquemas mostrados, en esta guía tienen la única intención de ilustrar el texto. Debido a las muchas variables y requisitos asociados con cualquier instalación particular, Allen-Bradley no puede asumir responsabilidad u obligación (incluyendo responsabilidad de propiedad intelectual) por el uso real basado en los ejemplos mostrados en esta publicación. La publicación de Allen-Bradley SGI-1.1, Safety Guidelines for the Application, Installation, and Maintenance of Solid State Control (disponible en la oficina de Allen-Bradley local), describe algunas diferencias importantes entre equipos transistorizados y dispositivos electromecánicos, las cuales deben tomarse en consideración al usar productos tales como los descritos en esta publicación. Está prohibida la reproducción total o parcial de los contenidos de esta publicación de propiedad exclusiva sin el permiso escrito de Allen-Bradley Company, Inc. En este manual hacemos anotaciones para advertirle sobre consideraciones de seguridad: Identifica información o prácticas o circunstancias que pueden producir lesiones personales o incluso la muerte, daños materiales o pérdidas económicas. Las notas de “Atención” le ayudan a: • identificar un peligro • evitar un peligro • reconocer las consecuencias Nota Identifica información crítica para una correcta aplicación y entendimiento del productol. SLC 500, SLC 5/01, SLC 5/02, SLC 5/03, SLC 5/04, MicroLogix, PanelView, RediPANEL, Dataliner, DH+, Data Highway Plus son marcas comerciales de Allen-Bradley Company, Inc. Gateway 2000 es una marca comercial de Gateway 2000, Inc. VERSA es una marca comercial de Nippon Electric Co. Information Systems Inc.
  • 3.
    Tabla de contenido i Tablade contenido Prefacio P-1 . . . . . . . . . . . . . . . . . . . . . . . . . . . . . . . . . . . . . . . . . . . . . . . . . . . . . . . . . . . . . . . . . . Quién debe usar este manual P-2 . . . . . . . . . . . . . . . . . . . . . . . . . . . . . . . . . . . . . . . . . . . . . . . . . . Propósito de este manual P-2 . . . . . . . . . . . . . . . . . . . . . . . . . . . . . . . . . . . . . . . . . . . . . . . . . . . . . Contenido de este manual P-3 . . . . . . . . . . . . . . . . . . . . . . . . . . . . . . . . . . . . . . . . . . . . . . . . Documentación asociada P-5 . . . . . . . . . . . . . . . . . . . . . . . . . . . . . . . . . . . . . . . . . . . . . . . . . Técnicas comunes usadas en este manual P-6 . . . . . . . . . . . . . . . . . . . . . . . . . . . . . . . . . . . . . . . . 1 Instrucciones básicas 1–1 . . . . . . . . . . . . . . . . . . . . . . . . . . . . . . . . . . . . . . . . . . . . . . . . . . . . . Instrucciones de bit 1–1 . . . . . . . . . . . . . . . . . . . . . . . . . . . . . . . . . . . . . . . . . . . . . . . . . . Instrucciones del temporizador/contador 1–2 . . . . . . . . . . . . . . . . . . . . . . . . . . . . . . . . . . Acerca de las instrucciones básicas 1–2 . . . . . . . . . . . . . . . . . . . . . . . . . . . . . . . . . . . . . . . . . . . . . Descripción general de las instrucciones de bit 1–3 . . . . . . . . . . . . . . . . . . . . . . . . . . . . . . . . . . . Archivos de datos de salida y entrada (archivos O:0 e I:1) 1–3 . . . . . . . . . . . . . . . . . . . . . . . Archivo de estado (archivo S2:) 1–4 . . . . . . . . . . . . . . . . . . . . . . . . . . . . . . . . . . . . . . . . . . . Archivo de datos de bit (B3:) 1–5 . . . . . . . . . . . . . . . . . . . . . . . . . . . . . . . . . . . . . . . . . . . . . . Archivos de datos de temporizador y contador (T4: y C5:) 1–5 . . . . . . . . . . . . . . . . . . . . . . Archivo de datos de control (R6:) 1–6 . . . . . . . . . . . . . . . . . . . . . . . . . . . . . . . . . . . . . . . . . . Archivo de datos enteros (N7:) 1–7 . . . . . . . . . . . . . . . . . . . . . . . . . . . . . . . . . . . . . . . . . . . . Examine si cerrado (XIC) 1–9 . . . . . . . . . . . . . . . . . . . . . . . . . . . . . . . . . . . . . . . . . . . . . . . . . . . . Examine si abierto (XIO) 1–9 . . . . . . . . . . . . . . . . . . . . . . . . . . . . . . . . . . . . . . . . . . . . . . . . . . . . Active la salida (OTE) 1–10 . . . . . . . . . . . . . . . . . . . . . . . . . . . . . . . . . . . . . . . . . . . . . . . . . . . . . Enclavamiento de salida (OTL) y desenclavamiento de salida (OTU) 1–11 . . . . . . . . . . . . . . . . Cómo usar OTL 1–11 . . . . . . . . . . . . . . . . . . . . . . . . . . . . . . . . . . . . . . . . . . . . . . . . . . . . . . . Cómo usar OTU 1–11 . . . . . . . . . . . . . . . . . . . . . . . . . . . . . . . . . . . . . . . . . . . . . . . . . . . . . . . One–Shot Rising (OSR) 1–12 . . . . . . . . . . . . . . . . . . . . . . . . . . . . . . . . . . . . . . . . . . . . . . . . . . . . Cómo introducir parámetros 1–12 . . . . . . . . . . . . . . . . . . . . . . . . . . . . . . . . . . . . . . . . . . . . . Ejemplos 1–12 . . . . . . . . . . . . . . . . . . . . . . . . . . . . . . . . . . . . . . . . . . . . . . . . . . . . . . . . . . Descripción general de las instrucciones de temporizador 1–15 . . . . . . . . . . . . . . . . . . . . . . . . . . Cómo introducir parámetros 1–15 . . . . . . . . . . . . . . . . . . . . . . . . . . . . . . . . . . . . . . . . . . . . . Valor del acumulador (.ACC) 1–15 . . . . . . . . . . . . . . . . . . . . . . . . . . . . . . . . . . . . . . . . . Valor preseleccionado (.PRE) 1–15 . . . . . . . . . . . . . . . . . . . . . . . . . . . . . . . . . . . . . . . . . Base de tiempo 1–15 . . . . . . . . . . . . . . . . . . . . . . . . . . . . . . . . . . . . . . . . . . . . . . . . . . . . . Precisión del temporizador 1–16 . . . . . . . . . . . . . . . . . . . . . . . . . . . . . . . . . . . . . . . . . . . . Estructura de direccionamiento 1–16 . . . . . . . . . . . . . . . . . . . . . . . . . . . . . . . . . . . . . . . . . . . Ejemplos de direccionamiento 1–17 . . . . . . . . . . . . . . . . . . . . . . . . . . . . . . . . . . . . . . . . . Temporizador a la conexión (TON) 1–18 . . . . . . . . . . . . . . . . . . . . . . . . . . . . . . . . . . . . . . . . . . .
  • 4.
    Manual de referenciadel juego de instrucción ii Uso de los bits de estado 1–18 . . . . . . . . . . . . . . . . . . . . . . . . . . . . . . . . . . . . . . . . . . . . . . . . Temporizador a la desconexión (TOF) 1–19 . . . . . . . . . . . . . . . . . . . . . . . . . . . . . . . . . . . . . . . . . Uso de los bits de estado 1–19 . . . . . . . . . . . . . . . . . . . . . . . . . . . . . . . . . . . . . . . . . . . . . . . . Temporizador retentivo (RTO) 1–21 . . . . . . . . . . . . . . . . . . . . . . . . . . . . . . . . . . . . . . . . . . . . . . . Uso de los bits de estado 1–21 . . . . . . . . . . . . . . . . . . . . . . . . . . . . . . . . . . . . . . . . . . . . . . . . Uso de los contadores 1–23 . . . . . . . . . . . . . . . . . . . . . . . . . . . . . . . . . . . . . . . . . . . . . . . . . . . . . . Elementos del archivo de datos del contador 1–23 . . . . . . . . . . . . . . . . . . . . . . . . . . . . . . . . . Cómo introducir parámetros 1–23 . . . . . . . . . . . . . . . . . . . . . . . . . . . . . . . . . . . . . . . . . . . . . Valor acumulado (.ACC) 1–23 . . . . . . . . . . . . . . . . . . . . . . . . . . . . . . . . . . . . . . . . . . . . . Valor preseleccionado (PRE) 1–24 . . . . . . . . . . . . . . . . . . . . . . . . . . . . . . . . . . . . . . . . . . Estructura de direccionamiento 1–24 . . . . . . . . . . . . . . . . . . . . . . . . . . . . . . . . . . . . . . . . . . . Ejemplos 1–25 . . . . . . . . . . . . . . . . . . . . . . . . . . . . . . . . . . . . . . . . . . . . . . . . . . . . . . . . . . Cómo funcionan los contadores 1–26 . . . . . . . . . . . . . . . . . . . . . . . . . . . . . . . . . . . . . . . . . . . Conteo progresivo (CTU) 1–26 . . . . . . . . . . . . . . . . . . . . . . . . . . . . . . . . . . . . . . . . . . . . . . . . . . . Uso de los bits de estado 1–27 . . . . . . . . . . . . . . . . . . . . . . . . . . . . . . . . . . . . . . . . . . . . . . . . Conteo regresivo (CTD) 1–28 . . . . . . . . . . . . . . . . . . . . . . . . . . . . . . . . . . . . . . . . . . . . . . . . . . . . Uso de los bits de estado 1–28 . . . . . . . . . . . . . . . . . . . . . . . . . . . . . . . . . . . . . . . . . . . . . . . . Contador de alta velocidad (HSC) 1–29 . . . . . . . . . . . . . . . . . . . . . . . . . . . . . . . . . . . . . . . . . . . . Operación del contador de alta velocidad 1–29 . . . . . . . . . . . . . . . . . . . . . . . . . . . . . . . . . . . Elementos de datos del contador de alta velocidad 1–31 . . . . . . . . . . . . . . . . . . . . . . . . . . . . Ejemplo de aplicación 1–32 . . . . . . . . . . . . . . . . . . . . . . . . . . . . . . . . . . . . . . . . . . . . . . . Ejemplo de aplicación – Archivo 2 (consulta del bit DN en el programa principal) 1–33 . . . . . . . . . . . . . . . . . . . . . . Ejemplo de aplicación – Archivo 3 (ejecución de lógica HSC) 1–33 . . . . . . . . . . . . . . . Restablecimiento (RES) 1–34 . . . . . . . . . . . . . . . . . . . . . . . . . . . . . . . . . . . . . . . . . . . . . . . . . . . . Instrucciones básicas del ejemplo de aplicación de la perforadora de papel 1–35 . . . . . . . . . . . . Cómo añadir archivo 2 1–35 . . . . . . . . . . . . . . . . . . . . . . . . . . . . . . . . . . . . . . . . . . . . . . . . . . Cómo añadir el archivo 6 1–37 . . . . . . . . . . . . . . . . . . . . . . . . . . . . . . . . . . . . . . . . . . . . . . . . 2 Instrucciones de comparación 2–1 . . . . . . . . . . . . . . . . . . . . . . . . . . . . . . . . . . . . . . . . . . . . . Instrucciones de comparación 2–1 . . . . . . . . . . . . . . . . . . . . . . . . . . . . . . . . . . . . . . . . . . Acerca de las instrucciones de comparación 2–2 . . . . . . . . . . . . . . . . . . . . . . . . . . . . . . . . . . . . . . Descripción general de las instrucciones de comparación 2–2 . . . . . . . . . . . . . . . . . . . . . . . . . . . Uso de direcciones de palabra indexadas 2–2 . . . . . . . . . . . . . . . . . . . . . . . . . . . . . . . . . . . . . Uso de direcciones de palabra indirectas 2–2 . . . . . . . . . . . . . . . . . . . . . . . . . . . . . . . . . . . . . Igual (EQU) 2–3 . . . . . . . . . . . . . . . . . . . . . . . . . . . . . . . . . . . . . . . . . . . . . . . . . . . . . . . . . . . . . . . No igual (NEQ) 2–3 . . . . . . . . . . . . . . . . . . . . . . . . . . . . . . . . . . . . . . . . . . . . . . . . . . . . . . . . . . . . Menor que (LES) 2–4 . . . . . . . . . . . . . . . . . . . . . . . . . . . . . . . . . . . . . . . . . . . . . . . . . . . . . . . . . . Menor o igual que (LEQ) 2–4 . . . . . . . . . . . . . . . . . . . . . . . . . . . . . . . . . . . . . . . . . . . . . . . . . . . . Mayor que (GRT) 2–5 . . . . . . . . . . . . . . . . . . . . . . . . . . . . . . . . . . . . . . . . . . . . . . . . . . . . . . . . . . Mayor o igual que (GEQ) 2–5 . . . . . . . . . . . . . . . . . . . . . . . . . . . . . . . . . . . . . . . . . . . . . . . . . . . .
  • 5.
    Tabla de contenido iii Comparacióncon máscara para igual (MEQ) 2–6 . . . . . . . . . . . . . . . . . . . . . . . . . . . . . . . . . . . . . Cómo introducir parámetros 2–6 . . . . . . . . . . . . . . . . . . . . . . . . . . . . . . . . . . . . . . . . . . . . . . Prueba de límite (LIM) 2–7 . . . . . . . . . . . . . . . . . . . . . . . . . . . . . . . . . . . . . . . . . . . . . . . . . . . . . Cómo introducir parámetros 2–7 . . . . . . . . . . . . . . . . . . . . . . . . . . . . . . . . . . . . . . . . . . . . . . Estado verdadero/falso de la instrucción 2–7 . . . . . . . . . . . . . . . . . . . . . . . . . . . . . . . . . . Ejemplo de aplicación de instrucciones de comparación en la perforadora de papel 2–9 . . . . . . . Cómo iniciar una subrutina en archivo 7 2–9 . . . . . . . . . . . . . . . . . . . . . . . . . . . . . . . . . . . . . 3 Instrucciones matemáticas 3–1 . . . . . . . . . . . . . . . . . . . . . . . . . . . . . . . . . . . . . . . . . . . . . . . . Instrucciones matemáticas 3–1 . . . . . . . . . . . . . . . . . . . . . . . . . . . . . . . . . . . . . . . . . . . . . Acerca de las instrucciones matemáticas 3–3 . . . . . . . . . . . . . . . . . . . . . . . . . . . . . . . . . . . . . . . . Descripción general de las instrucciones matemáticas 3–3 . . . . . . . . . . . . . . . . . . . . . . . . . . . . . . Cómo introducir parámetros 3–3 . . . . . . . . . . . . . . . . . . . . . . . . . . . . . . . . . . . . . . . . . . . . . . Uso de las direcciones de palabra indexadas 3–3 . . . . . . . . . . . . . . . . . . . . . . . . . . . . . . . . . . Uso de las direcciones de palabra indirectas 3–4 . . . . . . . . . . . . . . . . . . . . . . . . . . . . . . . . . . Actualizaciones de los bits de estado aritmético 3–4 . . . . . . . . . . . . . . . . . . . . . . . . . . . . . . . Bit de interrupción por overflow, S:5/0 3–4 . . . . . . . . . . . . . . . . . . . . . . . . . . . . . . . . . . . . . . Cambios del registro matemático S:13 y S:14 3–4 . . . . . . . . . . . . . . . . . . . . . . . . . . . . . . . . . Uso del archivo de datos de punto (coma) flotante (F:8) 3–5 . . . . . . . . . . . . . . . . . . . . . . . . Añadir (ADD) 3–6 . . . . . . . . . . . . . . . . . . . . . . . . . . . . . . . . . . . . . . . . . . . . . . . . . . . . . . . . . . . . . Actualizaciones de bits de estado aritmético 3–6 . . . . . . . . . . . . . . . . . . . . . . . . . . . . . . . . . . Restar (SUB) 3–7 . . . . . . . . . . . . . . . . . . . . . . . . . . . . . . . . . . . . . . . . . . . . . . . . . . . . . . . . . . . . . . Actualizaciones de los bits de estado aritmético 3–7 . . . . . . . . . . . . . . . . . . . . . . . . . . . . . . . Adición y sustracción de 32 bits 3–8 . . . . . . . . . . . . . . . . . . . . . . . . . . . . . . . . . . . . . . . . . . . . . . . Bit de selección de overflow matemático S:2/14 3–8 . . . . . . . . . . . . . . . . . . . . . . . . . . . . . . . Ejemplo de adición de 32 bits 3–9 . . . . . . . . . . . . . . . . . . . . . . . . . . . . . . . . . . . . . . . . . . Multiplicar (MUL) 3–11 . . . . . . . . . . . . . . . . . . . . . . . . . . . . . . . . . . . . . . . . . . . . . . . . . . . . . . . . Actualizaciones de los bits de estado aritmético 3–11 . . . . . . . . . . . . . . . . . . . . . . . . . . . . . . Cambios del registro matemático, S:13 y S:14 3–11 . . . . . . . . . . . . . . . . . . . . . . . . . . . . . . . Dividir (DIV) 3–12 . . . . . . . . . . . . . . . . . . . . . . . . . . . . . . . . . . . . . . . . . . . . . . . . . . . . . . . . . . . . Actualizaciones de los bits de estado aritmético 3–12 . . . . . . . . . . . . . . . . . . . . . . . . . . . . . . Cambios del registro matemático, S:13 y S:14 3–12 . . . . . . . . . . . . . . . . . . . . . . . . . . . . . . . Ejemplo 3–12 . . . . . . . . . . . . . . . . . . . . . . . . . . . . . . . . . . . . . . . . . . . . . . . . . . . . . . . . . . División doble (DDV) 3–13 . . . . . . . . . . . . . . . . . . . . . . . . . . . . . . . . . . . . . . . . . . . . . . . . . . . . . . Actualizaciones de los bits de estado aritmético 3–13 . . . . . . . . . . . . . . . . . . . . . . . . . . . . . . Cambios del registro matemático, S:13 y S:14 3–13 . . . . . . . . . . . . . . . . . . . . . . . . . . . . . . . Borrar (CLR) 3–14 . . . . . . . . . . . . . . . . . . . . . . . . . . . . . . . . . . . . . . . . . . . . . . . . . . . . . . . . . . . . . Actualizaciones de los bits de estado aritmético 3–14 . . . . . . . . . . . . . . . . . . . . . . . . . . . . . . Raíz cuadrada (SQR) 3–14 . . . . . . . . . . . . . . . . . . . . . . . . . . . . . . . . . . . . . . . . . . . . . . . . . . . . . . . Actualizaciones de los bits de estado aritmético 3–14 . . . . . . . . . . . . . . . . . . . . . . . . . . . . . . Cómo escalar con parámetros (SCP) 3–15 . . . . . . . . . . . . . . . . . . . . . . . . . . . . . . . . . . . . . . . . . . .
  • 6.
    Manual de referenciadel juego de instrucción iv Cómo introducir parámetros 3–15 . . . . . . . . . . . . . . . . . . . . . . . . . . . . . . . . . . . . . . . . . . . . . Actualizaciones de los bits de estado aritmético 3–16 . . . . . . . . . . . . . . . . . . . . . . . . . . . . . . Ejemplos de aplicación 3–16 . . . . . . . . . . . . . . . . . . . . . . . . . . . . . . . . . . . . . . . . . . . . . . . . . Ejemplo 1 3–16 . . . . . . . . . . . . . . . . . . . . . . . . . . . . . . . . . . . . . . . . . . . . . . . . . . . . . . . . . Ejemplo 2 3–17 . . . . . . . . . . . . . . . . . . . . . . . . . . . . . . . . . . . . . . . . . . . . . . . . . . . . . . . . . Escala de datos (SCL) 3–18 . . . . . . . . . . . . . . . . . . . . . . . . . . . . . . . . . . . . . . . . . . . . . . . . . . . . . . Ejemplo 3–18 . . . . . . . . . . . . . . . . . . . . . . . . . . . . . . . . . . . . . . . . . . . . . . . . . . . . . . . . . . Cómo introducir parámetros 3–18 . . . . . . . . . . . . . . . . . . . . . . . . . . . . . . . . . . . . . . . . . . . . . Actualizaciones de los bits de estado aritmético 3–19 . . . . . . . . . . . . . . . . . . . . . . . . . . . . . . Ejemplo de aplicación 1 – Conversión de una señal de entrada analógica de 4 mA–20 mA en una variable de proceso PID 3–19 . . . . . . . . . . . . . . . . . . . . . . . Cómo calcular la relación lineal 3–20 . . . . . . . . . . . . . . . . . . . . . . . . . . . . . . . . . . . . . . . . Ejemplo de aplicación 2 – Cómo escalar una entrada analógica para controlar una salida analógica 3–20 . . . . . . . . . . . . . . . . . . . . . . . . . . . . . . . . . . . . . . . . . . . Cómo calcular la relación lineal 3–21 . . . . . . . . . . . . . . . . . . . . . . . . . . . . . . . . . . . . . . . . Cómo calcular la relación lineal desplazada 3–22 . . . . . . . . . . . . . . . . . . . . . . . . . . . . . . Absoluto (ABS) 3–24 . . . . . . . . . . . . . . . . . . . . . . . . . . . . . . . . . . . . . . . . . . . . . . . . . . . . . . . . . . . Cómo introducir los parámetros 3–24 . . . . . . . . . . . . . . . . . . . . . . . . . . . . . . . . . . . . . . . . . . Actualizaciones de los bits de estado aritmético 3–24 . . . . . . . . . . . . . . . . . . . . . . . . . . . . . . Calcular (CPT) 3–25 . . . . . . . . . . . . . . . . . . . . . . . . . . . . . . . . . . . . . . . . . . . . . . . . . . . . . . . . . . . Cómo introducir parámetros 3–25 . . . . . . . . . . . . . . . . . . . . . . . . . . . . . . . . . . . . . . . . . . . . . Actualizaciones de los bits de estado aritmético 3–25 . . . . . . . . . . . . . . . . . . . . . . . . . . . . . . Ejemplo de aplicación 3–26 . . . . . . . . . . . . . . . . . . . . . . . . . . . . . . . . . . . . . . . . . . . . . . . . . . Intercambio (SWP) 3–27 . . . . . . . . . . . . . . . . . . . . . . . . . . . . . . . . . . . . . . . . . . . . . . . . . . . . . . . . Cómo introducir parámetros 3–27 . . . . . . . . . . . . . . . . . . . . . . . . . . . . . . . . . . . . . . . . . . . . . Arco seno (ASN) 3–28 . . . . . . . . . . . . . . . . . . . . . . . . . . . . . . . . . . . . . . . . . . . . . . . . . . . . . . . . . . Actualizaciones de los bits de estado aritmético 3–28 . . . . . . . . . . . . . . . . . . . . . . . . . . . . . . Arco coseno (ACS) 3–29 . . . . . . . . . . . . . . . . . . . . . . . . . . . . . . . . . . . . . . . . . . . . . . . . . . . . . . . . Actualizaciones de los bits de estado aritmético 3–29 . . . . . . . . . . . . . . . . . . . . . . . . . . . . . . Arco tangente (ATN) 3–29 . . . . . . . . . . . . . . . . . . . . . . . . . . . . . . . . . . . . . . . . . . . . . . . . . . . . . . . Actualizaciones de los bits de estado aritmético 3–29 . . . . . . . . . . . . . . . . . . . . . . . . . . . . . . Coseno (COS) 3–30 . . . . . . . . . . . . . . . . . . . . . . . . . . . . . . . . . . . . . . . . . . . . . . . . . . . . . . . . . . . . Actualizaciones de los bits de estado aritmético 3–30 . . . . . . . . . . . . . . . . . . . . . . . . . . . . . . Logaritmo natural (LN) 3–30 . . . . . . . . . . . . . . . . . . . . . . . . . . . . . . . . . . . . . . . . . . . . . . . . . . . . . Actualizaciones de los bits de estado aritmético 3–30 . . . . . . . . . . . . . . . . . . . . . . . . . . . . . . Logaritmo a la base 10 (LOG) 3–31 . . . . . . . . . . . . . . . . . . . . . . . . . . . . . . . . . . . . . . . . . . . . . . . Actualizaciones de los bits de estado aritmético 3–31 . . . . . . . . . . . . . . . . . . . . . . . . . . . . . . Seno (SIN) 3–31 . . . . . . . . . . . . . . . . . . . . . . . . . . . . . . . . . . . . . . . . . . . . . . . . . . . . . . . . . . . . . . . Actualizaciones de los bits de estado aritmético 3–31 . . . . . . . . . . . . . . . . . . . . . . . . . . . . . . Tangente (TAN) 3–32 . . . . . . . . . . . . . . . . . . . . . . . . . . . . . . . . . . . . . . . . . . . . . . . . . . . . . . . . . . . Actualizaciones de los bits de estado aritmético 3–32 . . . . . . . . . . . . . . . . . . . . . . . . . . . . . .
  • 7.
    Tabla de contenido v Xa la potencia de Y (XPY) 3–33 . . . . . . . . . . . . . . . . . . . . . . . . . . . . . . . . . . . . . . . . . . . . . . . . . Actualizaciones de los bits de estado aritmético 3–33 . . . . . . . . . . . . . . . . . . . . . . . . . . . . . . Instrucciones matemáticas en el ejemplo de aplicación de la perforadora de papel 3–34 . . . . . . . Cómo añadir el archivo 7 3–35 . . . . . . . . . . . . . . . . . . . . . . . . . . . . . . . . . . . . . . . . . . . . . . . . 4 Instrucciones de manejo de datos 4–1 . . . . . . . . . . . . . . . . . . . . . . . . . . . . . . . . . . . . . . . . . . Instrucciones de manejo de datos 4–1 . . . . . . . . . . . . . . . . . . . . . . . . . . . . . . . . . . . . . . . . Acerca de las instrucciones de manejo de datos 4–2 . . . . . . . . . . . . . . . . . . . . . . . . . . . . . . . . . . . Convertir en BCD (TOD) 4–3 . . . . . . . . . . . . . . . . . . . . . . . . . . . . . . . . . . . . . . . . . . . . . . . . . . . . Actualizaciones de los bits de estado aritmético 4–3 . . . . . . . . . . . . . . . . . . . . . . . . . . . . . . . Cambios del registro matemático, S:13 y S:14 4–3 . . . . . . . . . . . . . . . . . . . . . . . . . . . . . . . . Ejemplo 1 4–4 . . . . . . . . . . . . . . . . . . . . . . . . . . . . . . . . . . . . . . . . . . . . . . . . . . . . . . . . . . Ejemplo 2 4–4 . . . . . . . . . . . . . . . . . . . . . . . . . . . . . . . . . . . . . . . . . . . . . . . . . . . . . . . . . . Convertir de BCD (FRD) 4–6 . . . . . . . . . . . . . . . . . . . . . . . . . . . . . . . . . . . . . . . . . . . . . . . . . . . . Actualizaciones de los bits de estado aritmético 4–6 . . . . . . . . . . . . . . . . . . . . . . . . . . . . . . . Cambios del registro matemático, S:13 y S:14 4–7 . . . . . . . . . . . . . . . . . . . . . . . . . . . . . . . . Ejemplo 1 4–7 . . . . . . . . . . . . . . . . . . . . . . . . . . . . . . . . . . . . . . . . . . . . . . . . . . . . . . . . . . Ejemplo 2 4–8 . . . . . . . . . . . . . . . . . . . . . . . . . . . . . . . . . . . . . . . . . . . . . . . . . . . . . . . . . . Radianes en grados (DEG) 4–10 . . . . . . . . . . . . . . . . . . . . . . . . . . . . . . . . . . . . . . . . . . . . . . . . . . Cómo introducir parámetros 4–10 . . . . . . . . . . . . . . . . . . . . . . . . . . . . . . . . . . . . . . . . . . . . . Actualizaciones de los bits de estado aritmético 4–10 . . . . . . . . . . . . . . . . . . . . . . . . . . . . . . Grados en radianes (RAD) 4–11 . . . . . . . . . . . . . . . . . . . . . . . . . . . . . . . . . . . . . . . . . . . . . . . . . . Cómo introducir los parámetros 4–11 . . . . . . . . . . . . . . . . . . . . . . . . . . . . . . . . . . . . . . . . . . Actaulizaciones de los bits de estado aritmético 4–11 . . . . . . . . . . . . . . . . . . . . . . . . . . . . . . Descodificar 4 a 1 de 16 (DCD) 4–12 . . . . . . . . . . . . . . . . . . . . . . . . . . . . . . . . . . . . . . . . . . . . . . Cómo introducir parámetros 4–12 . . . . . . . . . . . . . . . . . . . . . . . . . . . . . . . . . . . . . . . . . . . . . Actualizaciones de los bits de estado aritmético 4–12 . . . . . . . . . . . . . . . . . . . . . . . . . . . . . . Codificar 1 de 16 a 4 (ENC) 4–13 . . . . . . . . . . . . . . . . . . . . . . . . . . . . . . . . . . . . . . . . . . . . . . . . . Cómo introducir parámetros 4–13 . . . . . . . . . . . . . . . . . . . . . . . . . . . . . . . . . . . . . . . . . . . . . Actualizaciones de los bits de estado aritmético 4–14 . . . . . . . . . . . . . . . . . . . . . . . . . . . . . . Instrucciones para copiar el archivo (COP) y llenar el archivo (FLL) 4–15 . . . . . . . . . . . . . . . . . Uso de COP 4–15 . . . . . . . . . . . . . . . . . . . . . . . . . . . . . . . . . . . . . . . . . . . . . . . . . . . . . . . . . . Cómo introducir parámetros 4–15 . . . . . . . . . . . . . . . . . . . . . . . . . . . . . . . . . . . . . . . . . . Uso de FLL 4–17 . . . . . . . . . . . . . . . . . . . . . . . . . . . . . . . . . . . . . . . . . . . . . . . . . . . . . . . . . . Cómo introducir parámetros 4–17 . . . . . . . . . . . . . . . . . . . . . . . . . . . . . . . . . . . . . . . . . . Descripción general de las instrucciones de mover y lógicas 4–19 . . . . . . . . . . . . . . . . . . . . . . . . Cómo introducir parámetros 4–19 . . . . . . . . . . . . . . . . . . . . . . . . . . . . . . . . . . . . . . . . . . . . . Uso de direcciones de palabra indexadas 4–19 . . . . . . . . . . . . . . . . . . . . . . . . . . . . . . . . . . . . Actualizaciones de los bits de estado aritmético 4–19 . . . . . . . . . . . . . . . . . . . . . . . . . . . . . . Uso de direcciones de palabra indirectas 4–19 . . . . . . . . . . . . . . . . . . . . . . . . . . . . . . . . . . . . Cambios del registro matemático, S:13 y S:14 4–19 . . . . . . . . . . . . . . . . . . . . . . . . . . . . . . .
  • 8.
    Manual de referenciadel juego de instrucción vi Mover (MOV) 4–20 . . . . . . . . . . . . . . . . . . . . . . . . . . . . . . . . . . . . . . . . . . . . . . . . . . . . . . . . . . . . Cómo introducir parámetros 4–20 . . . . . . . . . . . . . . . . . . . . . . . . . . . . . . . . . . . . . . . . . . . . . Actualizaciones de los bits de estado aritmético 4–20 . . . . . . . . . . . . . . . . . . . . . . . . . . . . . . Mover con máscara (MVM) 4–21 . . . . . . . . . . . . . . . . . . . . . . . . . . . . . . . . . . . . . . . . . . . . . . . . . Cómo introducir parámetros 4–21 . . . . . . . . . . . . . . . . . . . . . . . . . . . . . . . . . . . . . . . . . . . . . Actualizaciones de los bits de estado aritmético 4–21 . . . . . . . . . . . . . . . . . . . . . . . . . . . . . . Operación 4–22 . . . . . . . . . . . . . . . . . . . . . . . . . . . . . . . . . . . . . . . . . . . . . . . . . . . . . . . . . Y (AND) 4–23 . . . . . . . . . . . . . . . . . . . . . . . . . . . . . . . . . . . . . . . . . . . . . . . . . . . . . . . . . . . . . . . . Tabla de verdad 4–23 . . . . . . . . . . . . . . . . . . . . . . . . . . . . . . . . . . . . . . . . . . . . . . . . . . . . Actualizaciones de los bits de estado aritmético 4–23 . . . . . . . . . . . . . . . . . . . . . . . . . . . . . . O (OR) 4–24 . . . . . . . . . . . . . . . . . . . . . . . . . . . . . . . . . . . . . . . . . . . . . . . . . . . . . . . . . . . . . . . . . . Tabla de verdad 4–24 . . . . . . . . . . . . . . . . . . . . . . . . . . . . . . . . . . . . . . . . . . . . . . . . . . . . Actualizaciones de los bits de estado aritmético 4–24 . . . . . . . . . . . . . . . . . . . . . . . . . . . . . . O exclusivo (XOR) 4–25 . . . . . . . . . . . . . . . . . . . . . . . . . . . . . . . . . . . . . . . . . . . . . . . . . . . . . . . . Tabla de verdad 4–25 . . . . . . . . . . . . . . . . . . . . . . . . . . . . . . . . . . . . . . . . . . . . . . . . . . . . Actualizaciones de los bits de estado aritmético 4–25 . . . . . . . . . . . . . . . . . . . . . . . . . . . . . . No (NOT) 4–26 . . . . . . . . . . . . . . . . . . . . . . . . . . . . . . . . . . . . . . . . . . . . . . . . . . . . . . . . . . . . . . . Tabla de verdad 4–26 . . . . . . . . . . . . . . . . . . . . . . . . . . . . . . . . . . . . . . . . . . . . . . . . . . . . Actualizaciones de los bits de estado aritmético 4–26 . . . . . . . . . . . . . . . . . . . . . . . . . . . . . . Negar (NEG) 4–27 . . . . . . . . . . . . . . . . . . . . . . . . . . . . . . . . . . . . . . . . . . . . . . . . . . . . . . . . . . . . . Actualizaciones de bits de estado aritmético 4–27 . . . . . . . . . . . . . . . . . . . . . . . . . . . . . . . . . Descripción general de las instrucciones FIFO y LIFO 4–28 . . . . . . . . . . . . . . . . . . . . . . . . . . . . Cómo introducir parámetros 4–28 . . . . . . . . . . . . . . . . . . . . . . . . . . . . . . . . . . . . . . . . . . . . . Efectos en el registro de índice S:24 4–29 . . . . . . . . . . . . . . . . . . . . . . . . . . . . . . . . . . . . . . . Carga FIFO (FFL) Descarga FIFO (FFU) 4–30 . . . . . . . . . . . . . . . . . . . . . . . . . . . . . . . . . . . . . . . . . . . . . . . . . . Carga LIFO (LFL) Descarga LIFO (LFU) 4–32 . . . . . . . . . . . . . . . . . . . . . . . . . . . . . . . . . . . . . . . . . . . . . . . . . . Instrucciones de manejo de datos en el ejemplo de aplicación de la perforadora de papel 4–34 . Añadir el archivo 7 4–34 . . . . . . . . . . . . . . . . . . . . . . . . . . . . . . . . . . . . . . . . . . . . . . . . . . . . . 5 Instrucciones de flujo de programa 5–1 . . . . . . . . . . . . . . . . . . . . . . . . . . . . . . . . . . . . . . . . . Instrucciones de control de flujo de programa 5–1 . . . . . . . . . . . . . . . . . . . . . . . . . . . . . . Acerca de las instrucciones de control de flujo de programa 5–2 . . . . . . . . . . . . . . . . . . . . . . . . . Salto (JMP) y etiqueta (LBL) 5–3 . . . . . . . . . . . . . . . . . . . . . . . . . . . . . . . . . . . . . . . . . . . . . . . . . Cómo introducir parámetros 5–3 . . . . . . . . . . . . . . . . . . . . . . . . . . . . . . . . . . . . . . . . . . . . . . Uso de JMP 5–3 . . . . . . . . . . . . . . . . . . . . . . . . . . . . . . . . . . . . . . . . . . . . . . . . . . . . . . . . . . . Uso de LBL 5–4 . . . . . . . . . . . . . . . . . . . . . . . . . . . . . . . . . . . . . . . . . . . . . . . . . . . . . . . . . . . Saltar a subrutina (JSR), subrutina (SBR), y retornar (RET) 5–5 . . . . . . . . . . . . . . . . . . . . . . . . . Cómo anidar archivos de subrutina 5–5 . . . . . . . . . . . . . . . . . . . . . . . . . . . . . . . . . . . . . . . . . Uso de JSR 5–6 . . . . . . . . . . . . . . . . . . . . . . . . . . . . . . . . . . . . . . . . . . . . . . . . . . . . . . . . . . . .
  • 9.
    Tabla de contenido vii Usode SBR 5–7 . . . . . . . . . . . . . . . . . . . . . . . . . . . . . . . . . . . . . . . . . . . . . . . . . . . . . . . . . . . Uso de RET 5–7 . . . . . . . . . . . . . . . . . . . . . . . . . . . . . . . . . . . . . . . . . . . . . . . . . . . . . . . . . . . Restablecimiento de control maestro (MCR) 5–8 . . . . . . . . . . . . . . . . . . . . . . . . . . . . . . . . . . . . . Operación del procesador SLC 5–9 . . . . . . . . . . . . . . . . . . . . . . . . . . . . . . . . . . . . . . . . . . . . Fin temporal (TND) 5–10 . . . . . . . . . . . . . . . . . . . . . . . . . . . . . . . . . . . . . . . . . . . . . . . . . . . . . . . Suspender (SUS) 5–11 . . . . . . . . . . . . . . . . . . . . . . . . . . . . . . . . . . . . . . . . . . . . . . . . . . . . . . . . . . Cómo introducir parámetros 5–11 . . . . . . . . . . . . . . . . . . . . . . . . . . . . . . . . . . . . . . . . . . . . . Entrada inmediata con máscara (IIM) 5–12 . . . . . . . . . . . . . . . . . . . . . . . . . . . . . . . . . . . . . . . . . . Cómo introducir parámetros 5–12 . . . . . . . . . . . . . . . . . . . . . . . . . . . . . . . . . . . . . . . . . . . . . Ejemplo 5–12 . . . . . . . . . . . . . . . . . . . . . . . . . . . . . . . . . . . . . . . . . . . . . . . . . . . . . . . . . . Salida inmediata con máscara (IOM) 5–13 . . . . . . . . . . . . . . . . . . . . . . . . . . . . . . . . . . . . . . . . . . Cómo introducir parámetros 5–13 . . . . . . . . . . . . . . . . . . . . . . . . . . . . . . . . . . . . . . . . . . . . . Ejemplo 5–13 . . . . . . . . . . . . . . . . . . . . . . . . . . . . . . . . . . . . . . . . . . . . . . . . . . . . . . . . . . Regenerar I/S (REF) 5–14 . . . . . . . . . . . . . . . . . . . . . . . . . . . . . . . . . . . . . . . . . . . . . . . . . . . . . . . Uso de un procesador SLC 5/02 5–14 . . . . . . . . . . . . . . . . . . . . . . . . . . . . . . . . . . . . . . . . . . Uso de procesadores SLC 5/03 y SLC 5/04 5–14 . . . . . . . . . . . . . . . . . . . . . . . . . . . . . . . . . . Instrucciones de control de flujo de programa en el ejemplo de aplicación de la perforadora de papel 5–15 . . . . . . . . . . . . . . . . . . . . . . . . . . . . . . . . . . . . . . . . . . . . . . . . . . . Cómo añadir el archivo 2 5–15 . . . . . . . . . . . . . . . . . . . . . . . . . . . . . . . . . . . . . . . . . . . . . . . . 6 Instrucciones específicas de aplicación 6–1 . . . . . . . . . . . . . . . . . . . . . . . . . . . . . . . . . . . . Instrucciones específicas de aplicación 6–1 . . . . . . . . . . . . . . . . . . . . . . . . . . . . . . . . . . . Acerca de las instrucciones específicas de aplicación 6–2 . . . . . . . . . . . . . . . . . . . . . . . . . . . . . . Descripción general de las instrucciones de desplazamiento de bit 6–3 . . . . . . . . . . . . . . . . . . . . Cómo introducir los parámetros 6–3 . . . . . . . . . . . . . . . . . . . . . . . . . . . . . . . . . . . . . . . . . . . Efectos en el registro de índice S:24 6–4 . . . . . . . . . . . . . . . . . . . . . . . . . . . . . . . . . . . . . . . . Desplazamiento de bit izquierdo (BSL) Desplazamiento de bit derecho (BSR) 6–5 . . . . . . . . . . . . . . . . . . . . . . . . . . . . . . . . . . . . . . . Uso de BSL 6–5 . . . . . . . . . . . . . . . . . . . . . . . . . . . . . . . . . . . . . . . . . . . . . . . . . . . . . . . . Uso de BSR 6–6 . . . . . . . . . . . . . . . . . . . . . . . . . . . . . . . . . . . . . . . . . . . . . . . . . . . . . . . . Descripción general de las instrucciones de secuenciador 6–8 . . . . . . . . . . . . . . . . . . . . . . . . . . . Efectos en el registro de índice S:24 6–8 . . . . . . . . . . . . . . . . . . . . . . . . . . . . . . . . . . . . . . . . Aplicaciones que requieren más de 16 bits 6–8 . . . . . . . . . . . . . . . . . . . . . . . . . . . . . . . . . . . Salida de secuenciador (SQO) Comparación de secuenciador (SQC) 6–9 . . . . . . . . . . . . . . . . . . . . . . . . . . . . . . . . . . . . . . . Cómo introducir parámetros 6–9 . . . . . . . . . . . . . . . . . . . . . . . . . . . . . . . . . . . . . . . . . . . . . . Uso de SQO 6–11 . . . . . . . . . . . . . . . . . . . . . . . . . . . . . . . . . . . . . . . . . . . . . . . . . . . . . . . Uso de SQC 6–12 . . . . . . . . . . . . . . . . . . . . . . . . . . . . . . . . . . . . . . . . . . . . . . . . . . . . . . . Carga de secuenciador (SQL) 6–14 . . . . . . . . . . . . . . . . . . . . . . . . . . . . . . . . . . . . . . . . . . . . . . . . Cómo introducir parámetros 6–14 . . . . . . . . . . . . . . . . . . . . . . . . . . . . . . . . . . . . . . . . . . . . . Operación 6–16 . . . . . . . . . . . . . . . . . . . . . . . . . . . . . . . . . . . . . . . . . . . . . . . . . . . . . . . . .
  • 10.
    Manual de referenciadel juego de instrucción viii Instrucciones específicas de aplicación en el ejemplo de aplicación de la perforadora de papel 6–17 . . . . . . . . . . . . . . . . . . . . . . . . . . . . . . . . . . . . . . . . . . . . . . . . . . . 7 Cómo usar las instrucciones del contador de alta velocidad 7–1 . . . . . . . . . . . . . . . . . Instrucciones del contador de alta velocidad 7–1 . . . . . . . . . . . . . . . . . . . . . . . . . . . . . . . Acerca de las instrucciones del contador de alta velocidad 7–2 . . . . . . . . . . . . . . . . . . . . . . . . . . Descripción general de las instrucciones del contador de alta velocidad 7–3 . . . . . . . . . . . . . . . . Elementos del archivo de datos del contador 7–3 . . . . . . . . . . . . . . . . . . . . . . . . . . . . . . . . . . Uso de bits de estado 7–3 . . . . . . . . . . . . . . . . . . . . . . . . . . . . . . . . . . . . . . . . . . . . . . . . . Contador de alta velocidad (HSC) 7–6 . . . . . . . . . . . . . . . . . . . . . . . . . . . . . . . . . . . . . . . . . . . . . Cómo introducir parámetros 7–6 . . . . . . . . . . . . . . . . . . . . . . . . . . . . . . . . . . . . . . . . . . . . . . Uso del contador progresivo y el contador regresivo con restablecimiento y retención 7–8 . . . . . . . . . . . . . . . . . . . . . . . . . . . . . . . . . . . . . . . . . . . . . . . . . . . . . . . . Operación 7–8 . . . . . . . . . . . . . . . . . . . . . . . . . . . . . . . . . . . . . . . . . . . . . . . . . . . . . . . . . . Contador progresivo 7–9 . . . . . . . . . . . . . . . . . . . . . . . . . . . . . . . . . . . . . . . . . . . . . . . . . . Contador progresivo con restablecimiento y retención 7–10 . . . . . . . . . . . . . . . . . . . . . . Uso del contador bidireccional y el contador bidireccional con restablecimiento y retención 7–10 . . . . . . . . . . . . . . . . . . . . . . . . . . . . . . . . . . . . . . . . . . . . . . . . . . . . . . . . . Operación 7–11 . . . . . . . . . . . . . . . . . . . . . . . . . . . . . . . . . . . . . . . . . . . . . . . . . . . . . . . . . Contador bidireccional (impulso/dirección) 7–12 . . . . . . . . . . . . . . . . . . . . . . . . . . . . . . Contador bidireccional con restablecimiento y retención (impulso/dirección) 7–13 . . . . Contador bidireccional (conteo progresivo/regresivo) 7–13 . . . . . . . . . . . . . . . . . . . . . . Contador bidireccional con restablecimiento y retención (conteo progresivo/regresivo) 7–14 . . . . . . . . . . . . . . . . . . . . . . . . . . . . . . . . . . . . Uso del contador bidireccional con restablecimiento y retención con codificador (encoder) de cuadratura 7–14 . . . . . . . . . . . . . . . . . . . . . . . . . . . . . . . . . . . . . . . . . . . . . Operación 7–15 . . . . . . . . . . . . . . . . . . . . . . . . . . . . . . . . . . . . . . . . . . . . . . . . . . . . . . . . . Contador bidireccional (codificador [encoder]) 7–17 . . . . . . . . . . . . . . . . . . . . . . . . . . . . Contador bidireccional con restablecimiento y retención (codificador [encoder]) 7–17 . . . . . . . . . . . . . . . . . . . . . . . . . . . . . . . . . . . . . . . . . Carga del contador de alta velocidad (HSL) 7–18 . . . . . . . . . . . . . . . . . . . . . . . . . . . . . . . . . . . . . Cómo introducir parámetros 7–18 . . . . . . . . . . . . . . . . . . . . . . . . . . . . . . . . . . . . . . . . . . . . . Operación 7–18 . . . . . . . . . . . . . . . . . . . . . . . . . . . . . . . . . . . . . . . . . . . . . . . . . . . . . . . . . . . . Restablecimiento del contador de alta velocidad (RES) 7–21 . . . . . . . . . . . . . . . . . . . . . . . . . . . . Operación 7–21 . . . . . . . . . . . . . . . . . . . . . . . . . . . . . . . . . . . . . . . . . . . . . . . . . . . . . . . . . . . . Acumulador de restablecimiento del contador de alta velocidad (RAC) 7–22 . . . . . . . . . . . . . . . Cómo introducir parámetros 7–22 . . . . . . . . . . . . . . . . . . . . . . . . . . . . . . . . . . . . . . . . . . . . . Operación 7–22 . . . . . . . . . . . . . . . . . . . . . . . . . . . . . . . . . . . . . . . . . . . . . . . . . . . . . . . . . . . . Habilitación (HSE) e inhabilitación (HSD) de interrupción del contador de alta velocidad 7–23 Uso de HSE 7–23 . . . . . . . . . . . . . . . . . . . . . . . . . . . . . . . . . . . . . . . . . . . . . . . . . . . . . . . . . . Operación 7–23 . . . . . . . . . . . . . . . . . . . . . . . . . . . . . . . . . . . . . . . . . . . . . . . . . . . . . . . . .
  • 11.
    Tabla de contenido ix Usode HSD 7–24 . . . . . . . . . . . . . . . . . . . . . . . . . . . . . . . . . . . . . . . . . . . . . . . . . . . . . . . . . . Operación 7–24 . . . . . . . . . . . . . . . . . . . . . . . . . . . . . . . . . . . . . . . . . . . . . . . . . . . . . . . . . Actualización del acumulador de imagen del contador de alta velocidad (OTE) 7–24 . . . . . . . . . Operación 7–24 . . . . . . . . . . . . . . . . . . . . . . . . . . . . . . . . . . . . . . . . . . . . . . . . . . . . . . . . . . . . Lo que ocurre con el HSC cuando pasa al modo de marcha REM 7–25 . . . . . . . . . . . . . . . . . . . . Ejemplo 1 7–26 . . . . . . . . . . . . . . . . . . . . . . . . . . . . . . . . . . . . . . . . . . . . . . . . . . . . . . . . . Ejemplo 2 7–27 . . . . . . . . . . . . . . . . . . . . . . . . . . . . . . . . . . . . . . . . . . . . . . . . . . . . . . . . . Ejemplo 3 7–28 . . . . . . . . . . . . . . . . . . . . . . . . . . . . . . . . . . . . . . . . . . . . . . . . . . . . . . . . . Instrucciones del contador de alta velocidad en el ejemplo de aplicación de la perforadora de papel 7–29 . . . . . . . . . . . . . . . . . . . . . . . . . . . . . . . . . . . . . . . . . . . . . . . . . . . 8 Instrucciones de comunicación 8–1 . . . . . . . . . . . . . . . . . . . . . . . . . . . . . . . . . . . . . . . . . . . . Instrucciones de comunicación 8–1 . . . . . . . . . . . . . . . . . . . . . . . . . . . . . . . . . . . . . . . . . Acerca de las instrucciones de comunicación 8–2 . . . . . . . . . . . . . . . . . . . . . . . . . . . . . . . . . . . . . Descripción general de la instrucción de mensaje 8–3 . . . . . . . . . . . . . . . . . . . . . . . . . . . . . . . . . Operación 8–3 . . . . . . . . . . . . . . . . . . . . . . . . . . . . . . . . . . . . . . . . . . . . . . . . . . . . . . . . . . . . . Bits del archivo de estado relacionados 8–4 . . . . . . . . . . . . . . . . . . . . . . . . . . . . . . . . . . . . . . Opciones de configuración disponibles 8–5 . . . . . . . . . . . . . . . . . . . . . . . . . . . . . . . . . . . . . . Cómo introducir parámetros 8–5 . . . . . . . . . . . . . . . . . . . . . . . . . . . . . . . . . . . . . . . . . . . . . . Uso de los bits de estado 8–6 . . . . . . . . . . . . . . . . . . . . . . . . . . . . . . . . . . . . . . . . . . . . . . . . . Diagrama de temporización para una instrucción MSG exitosa del SLC 5/02 8–7 . . . . . . . . . . . Configuración del bloque de control 8–9 . . . . . . . . . . . . . . . . . . . . . . . . . . . . . . . . . . . . . . . . Ejemplos de aplicación para procesadores SLC 5/02 8–11 . . . . . . . . . . . . . . . . . . . . . . . . . . . . . . Ejemplo 1 8–11 . . . . . . . . . . . . . . . . . . . . . . . . . . . . . . . . . . . . . . . . . . . . . . . . . . . . . . . . . . . . Ejemplo 2 – Archivo de programa 2 del procesador SLC 5/02 8–12 . . . . . . . . . . . . . . . . . . . Archivo de programa 2 del procesador SLC 5/01 a nodo 3 8–14 . . . . . . . . . . . . . . . . . . . Ejemplo 3 8–15 . . . . . . . . . . . . . . . . . . . . . . . . . . . . . . . . . . . . . . . . . . . . . . . . . . . . . . . . . . . . Ejemplo 4 8–16 . . . . . . . . . . . . . . . . . . . . . . . . . . . . . . . . . . . . . . . . . . . . . . . . . . . . . . . . . . . . Descripción general de la instrucción de mensaje 8–18 . . . . . . . . . . . . . . . . . . . . . . . . . . . . . . . . Operación 8–18 . . . . . . . . . . . . . . . . . . . . . . . . . . . . . . . . . . . . . . . . . . . . . . . . . . . . . . . . . . . . Bits del archivo de estado relacionados 8–19 . . . . . . . . . . . . . . . . . . . . . . . . . . . . . . . . . . . . . Opciones de configuración disponibles 8–20 . . . . . . . . . . . . . . . . . . . . . . . . . . . . . . . . . . . . . Cómo introducir parámetros 8–21 . . . . . . . . . . . . . . . . . . . . . . . . . . . . . . . . . . . . . . . . . . . . . Uso de los bits de estado 8–22 . . . . . . . . . . . . . . . . . . . . . . . . . . . . . . . . . . . . . . . . . . . . . . . . Configuraciones del bloque de control 8–24 . . . . . . . . . . . . . . . . . . . . . . . . . . . . . . . . . . . . . Diagrama de temporización para una instrucción exitosa del SLC 5/03 ó SLC 5/04 8–26 . . . . . . Códigos de error de la instrucción MSG 8–30 . . . . . . . . . . . . . . . . . . . . . . . . . . . . . . . . . . . . . . . .
  • 12.
    Manual de referenciadel juego de instrucción x Ejemplos de configuraciones usando la instrucción de mensaje 8–32 . . . . . . . . . . . . . . . . . . . . . Uso de la lógica de escalera 8–33 . . . . . . . . . . . . . . . . . . . . . . . . . . . . . . . . . . . . . . . . . . . . . . Ejemplo 1 8–33 . . . . . . . . . . . . . . . . . . . . . . . . . . . . . . . . . . . . . . . . . . . . . . . . . . . . . . . . . Ejemplo 2 8–35 . . . . . . . . . . . . . . . . . . . . . . . . . . . . . . . . . . . . . . . . . . . . . . . . . . . . . . . . . Ejemplo 3 8–37 . . . . . . . . . . . . . . . . . . . . . . . . . . . . . . . . . . . . . . . . . . . . . . . . . . . . . . . . . Ejemplo 4 8–39 . . . . . . . . . . . . . . . . . . . . . . . . . . . . . . . . . . . . . . . . . . . . . . . . . . . . . . . . . Uso de mensajes locales 8–41 . . . . . . . . . . . . . . . . . . . . . . . . . . . . . . . . . . . . . . . . . . . . . . . . . Ejemplo 1 – Lectura local de un 500CPU 8–41 . . . . . . . . . . . . . . . . . . . . . . . . . . . . . . . . Ejemplo 2 – Lectura local de un 485CIF 8–42 . . . . . . . . . . . . . . . . . . . . . . . . . . . . . . . . . Ejemplo 3 – Lectura local de un PLC-5 8–43 . . . . . . . . . . . . . . . . . . . . . . . . . . . . . . . . . . Uso de mensajes remotos 8–45 . . . . . . . . . . . . . . . . . . . . . . . . . . . . . . . . . . . . . . . . . . . . . . . . Ejemplo 1 – Comunicación con procesadores A–B usando un 1785-KA5 8–45 . . . . . . . Procesador SLC 5/04 (A) a procesador SLC 5/03 (C) vía 1785-KA5 8–45 . . . . . . . . . . . Comentarios 8–45 . . . . . . . . . . . . . . . . . . . . . . . . . . . . . . . . . . . . . . . . . . . . . . . . . . . . . . . Procesador SLC 5/03 (C) a procesador SLC 5/04 (A) vía 1785-KA5 8–46 . . . . . . . . . . . Comentarios 8–46 . . . . . . . . . . . . . . . . . . . . . . . . . . . . . . . . . . . . . . . . . . . . . . . . . . . . . . . Procesador SLC 5/03 (C) a un PLC-5 (B) vía 1785-KA5 8–47 . . . . . . . . . . . . . . . . . . . . Comentarios 8–47 . . . . . . . . . . . . . . . . . . . . . . . . . . . . . . . . . . . . . . . . . . . . . . . . . . . . . . . Ejemplo 2 – Comunicación con procesadores A–B usando dos 1785-KA 8–48 . . . . . . . Procesador SLC 5/04 (B) a procesador PLC5 (C) vía dos 1785-KA 8–48 . . . . . . . . . . . . Comentarios 8–48 . . . . . . . . . . . . . . . . . . . . . . . . . . . . . . . . . . . . . . . . . . . . . . . . . . . . . . . Procesador SLC 5/04 (B) a procesador SLC 5/04 (A) vía dos 1785-KA 8–49 . . . . . . . . Comentarios 8–49 . . . . . . . . . . . . . . . . . . . . . . . . . . . . . . . . . . . . . . . . . . . . . . . . . . . . . . . Ejemplo 3 – Transferencia vía canal 0 DH-485 del procesador SLC 5/04 8–50 . . . . . . . Procesador SLC 5/04 (A) a procesador SLC 5/03 (D) vía un procesador SLC 5/04 (C) (transferencia usando canal 0 DH-485) 8–50 . . . . . . . . . . . . . . . . . Comentarios 8–50 . . . . . . . . . . . . . . . . . . . . . . . . . . . . . . . . . . . . . . . . . . . . . . . . . . . . . . . Procesador SLC 5/03 (D) a procesador SLC 5/04 (A) vía un procesador SLC 5/04 (C) (transferencia usando canal 0 DH-485) 8–51 . . . . . . . . . . . . . . . . . Comentarios 8–51 . . . . . . . . . . . . . . . . . . . . . . . . . . . . . . . . . . . . . . . . . . . . . . . . . . . . . . . Procesador SLC 5/03 (D) a PLC-5 (B) vía un procesador SLC 5/04 (transferencia usando canal 0 DH-485) 8–52 . . . . . . . . . . . . . . . . . . . . . . . . . . . . Comentarios 8–52 . . . . . . . . . . . . . . . . . . . . . . . . . . . . . . . . . . . . . . . . . . . . . . . . . . . . . . . Mensajes remotos (SLC 5/03 a un SLC 500, SLC 5/01 ó SLC 5/02) 8–53 . . . . . . . . . . . Ejemplo 4 – Transferencia vía canal 0 DF1 del procesador SLC 5/04 8–54 . . . . . . . . . . Procesador SLC 5/04 (A) a procesador SLC 5/04 (D) vía dos procesadores SLC 5/04 (transferencia usando canal 0 DF1) 8–54 . . . . . . . . . . . . . . . . . . . . . . . Comentarios 8–54 . . . . . . . . . . . . . . . . . . . . . . . . . . . . . . . . . . . . . . . . . . . . . . . . . . . . . . . Ejemplo 5 – Transferencia vía canal 0 DH+ del procesador SLC 5/04 8–55 . . . . . . . . . . Procesador SLC 5/04 (A) a procesador SLC 5/04 (C) vía un solo procesador SLC 5/04 (transferencia usando canal 0 DF1) 8–55 . . . . . . . . . . . . . . . . . . . . . . . Comentarios 8–55 . . . . . . . . . . . . . . . . . . . . . . . . . . . . . . . . . . . . . . . . . . . . . . . . . . . . . . .
  • 13.
    Tabla de contenido xi ProcesadorSLC 5/04 (C) a procesador SLC 5/04 (A) vía un solo procesador SLC 5/04 (transferencia usando canal 0 DF1) 8–56 . . . . . . . . . . . . . . . . . . . . . . . Comentarios 8–56 . . . . . . . . . . . . . . . . . . . . . . . . . . . . . . . . . . . . . . . . . . . . . . . . . . . . . . . Procesador SLC 5/04 (C) a procesador SLC 5/04 (B) cuando la transferencia está habilitada 8–56 . . . . . . . . . . . . . . . . . . . . . . . . . . . . . . . . . . . . . . . . . . . . . . . . Comentarios 8–56 . . . . . . . . . . . . . . . . . . . . . . . . . . . . . . . . . . . . . . . . . . . . . . . . . . . . . . . Ejemplo 6 – Transferencia usando un integrado pirámide para encaminar una instrucción de mensaje 8–57 . . . . . . . . . . . . . . . . . . . . . . . . . . . . . . . . . . . . . . Procesador SLC 5/04 (B) a procesador SLC 5/04 (A) via un integrador de pirámide usando el encaminamiento PI 8–57 . . . . . . . . . . . . . . . . . . . . . . . . . . Comentarios 8–57 . . . . . . . . . . . . . . . . . . . . . . . . . . . . . . . . . . . . . . . . . . . . . . . . . . . . . . . Ejemplo 7 – 8–58 . . . . . . . . . . . . . . . . . . . . . . . . . . . . . . . . . . . . . . . . . . . . . . . . . . . . . . . Procesador SLC 5/03 a un procesador SLC 5/03 (transferencia usando dos 1785-KA5) 8–58 . . . . . . . . . . . . . . . . . . . . . . . . . . . . . Comentarios 8–58 . . . . . . . . . . . . . . . . . . . . . . . . . . . . . . . . . . . . . . . . . . . . . . . . . . . . . . . Comunicaciones de servicio (SVC) 8–60 . . . . . . . . . . . . . . . . . . . . . . . . . . . . . . . . . . . . . . . . . . . Uso de un procesador SLC 5/02 8–60 . . . . . . . . . . . . . . . . . . . . . . . . . . . . . . . . . . . . . . . . . . Uso de un procesador SLC 5/03 ó SLC 5/04 8–60 . . . . . . . . . . . . . . . . . . . . . . . . . . . . . . . . . Servicio de canal 8–61 . . . . . . . . . . . . . . . . . . . . . . . . . . . . . . . . . . . . . . . . . . . . . . . . . . . . . . Ejemplo de aplicación 8–61 . . . . . . . . . . . . . . . . . . . . . . . . . . . . . . . . . . . . . . . . . . . . . . . 9 Instrucción proporcional integral derivativa 9–1 . . . . . . . . . . . . . . . . . . . . . . . . . . . . . . . . . Descripción general 9–1 . . . . . . . . . . . . . . . . . . . . . . . . . . . . . . . . . . . . . . . . . . . . . . . . . . . . . . . . . El concepto PID 9–2 . . . . . . . . . . . . . . . . . . . . . . . . . . . . . . . . . . . . . . . . . . . . . . . . . . . . . . . . . . . La ecuación PID 9–3 . . . . . . . . . . . . . . . . . . . . . . . . . . . . . . . . . . . . . . . . . . . . . . . . . . . . . . . . . . . Cómo introducir parámetros 9–3 . . . . . . . . . . . . . . . . . . . . . . . . . . . . . . . . . . . . . . . . . . . . . . Indicadores de instrucción PID 9–9 . . . . . . . . . . . . . . . . . . . . . . . . . . . . . . . . . . . . . . . . . . . . . . . . Configuración del bloque de control 9–11 . . . . . . . . . . . . . . . . . . . . . . . . . . . . . . . . . . . . . . . . . . . Errores de tiempo de ejecución 9–12 . . . . . . . . . . . . . . . . . . . . . . . . . . . . . . . . . . . . . . . . . . . . . . . Escala PID y E/S analógicas 9–14 . . . . . . . . . . . . . . . . . . . . . . . . . . . . . . . . . . . . . . . . . . . . . . . . . Uso de la instrucción SCL 9–14 . . . . . . . . . . . . . . . . . . . . . . . . . . . . . . . . . . . . . . . . . . . . . . . Uso de la instrucción SCP 9–15 . . . . . . . . . . . . . . . . . . . . . . . . . . . . . . . . . . . . . . . . . . . . . . . Ejemplo 9–15 . . . . . . . . . . . . . . . . . . . . . . . . . . . . . . . . . . . . . . . . . . . . . . . . . . . . . . . . . . Notas de aplicación 9–18 . . . . . . . . . . . . . . . . . . . . . . . . . . . . . . . . . . . . . . . . . . . . . . . . . . . . . . . . Rangos de entrada/salida 9–18 . . . . . . . . . . . . . . . . . . . . . . . . . . . . . . . . . . . . . . . . . . . . . . . . Escalado a unidades de ingeniería 9–18 . . . . . . . . . . . . . . . . . . . . . . . . . . . . . . . . . . . . . . . . . Banda muerta (DB) de intersección con cero 9–20 . . . . . . . . . . . . . . . . . . . . . . . . . . . . . . . . Alarmas de salida 9–20 . . . . . . . . . . . . . . . . . . . . . . . . . . . . . . . . . . . . . . . . . . . . . . . . . . . . . . Límite de salida con bloqueo de acción integral 9–21 . . . . . . . . . . . . . . . . . . . . . . . . . . . . . . Modo manual 9–21 . . . . . . . . . . . . . . . . . . . . . . . . . . . . . . . . . . . . . . . . . . . . . . . . . . . . . . . . . Estado de renglón PID 9–22 . . . . . . . . . . . . . . . . . . . . . . . . . . . . . . . . . . . . . . . . . . . . . . . . . . Alimentación hacia adelante o bias 9–23 . . . . . . . . . . . . . . . . . . . . . . . . . . . . . . . . . . . . . . . .
  • 14.
    Manual de referenciadel juego de instrucción xii Salidas de tiempo proporcional 9–23 . . . . . . . . . . . . . . . . . . . . . . . . . . . . . . . . . . . . . . . . . . . Ejemplo – Salidas de tiempo proporcional 9–24 . . . . . . . . . . . . . . . . . . . . . . . . . . . . . . . Sintonización PID 9–25 . . . . . . . . . . . . . . . . . . . . . . . . . . . . . . . . . . . . . . . . . . . . . . . . . . . . . Procedimiento 9–25 . . . . . . . . . . . . . . . . . . . . . . . . . . . . . . . . . . . . . . . . . . . . . . . . . . . . . Cómo verificar el escalado del sistema continuo 9–27 . . . . . . . . . . . . . . . . . . . . . . . . . . . Cómo determinar el tiempo de actualización del lazo inicial 9–28 . . . . . . . . . . . . . . . . . 10 Instrucciones ASCII 10–1 . . . . . . . . . . . . . . . . . . . . . . . . . . . . . . . . . . . . . . . . . . . . . . . . . . . . . . Instrucciones ASCII 10–1 . . . . . . . . . . . . . . . . . . . . . . . . . . . . . . . . . . . . . . . . . . . . . . . . . Descripción general de ASCII 10–2 . . . . . . . . . . . . . . . . . . . . . . . . . . . . . . . . . . . . . . . . . . . . . . . Descripción general del parámetro de protocolo 10–3 . . . . . . . . . . . . . . . . . . . . . . . . . . . . . . . . . Cómo usar el tipo de archivo de datos ASCII 10–4 . . . . . . . . . . . . . . . . . . . . . . . . . . . . . Cómo usar el tipo de archivo de datos de cadena (ST 10–4 . . . . . . . . . . . . . . . . . . . . . . . Cómo introducir parámetros 10–6 . . . . . . . . . . . . . . . . . . . . . . . . . . . . . . . . . . . . . . . . . . . . . Prueba de búfer por línea (ABL) 10–7 . . . . . . . . . . . . . . . . . . . . . . . . . . . . . . . . . . . . . . . . . . . . . . Cómo introducir parámetros 10–7 . . . . . . . . . . . . . . . . . . . . . . . . . . . . . . . . . . . . . . . . . . . . . Ejemplo 10–7 . . . . . . . . . . . . . . . . . . . . . . . . . . . . . . . . . . . . . . . . . . . . . . . . . . . . . . . . . . Número de caracteres en búfer (ACB) 10–8 . . . . . . . . . . . . . . . . . . . . . . . . . . . . . . . . . . . . . . . . . Cómo introducir parámetros 10–8 . . . . . . . . . . . . . . . . . . . . . . . . . . . . . . . . . . . . . . . . . . . . . Ejemplo 10–9 . . . . . . . . . . . . . . . . . . . . . . . . . . . . . . . . . . . . . . . . . . . . . . . . . . . . . . . . . . Cadena a entero (ACI) 10–10 . . . . . . . . . . . . . . . . . . . . . . . . . . . . . . . . . . . . . . . . . . . . . . . . . . . . Ejemplo 10–10 . . . . . . . . . . . . . . . . . . . . . . . . . . . . . . . . . . . . . . . . . . . . . . . . . . . . . . . . . Borrado del búfer ASCII de recepción y/o transmisión (ACL) 10–11 . . . . . . . . . . . . . . . . . . . . . Cómo introducir parámetros 10–11 . . . . . . . . . . . . . . . . . . . . . . . . . . . . . . . . . . . . . . . . . . . . Ejemplo 10–11 . . . . . . . . . . . . . . . . . . . . . . . . . . . . . . . . . . . . . . . . . . . . . . . . . . . . . . . . . Concatenado de cadenas (ACN) 10–12 . . . . . . . . . . . . . . . . . . . . . . . . . . . . . . . . . . . . . . . . . . . . . Cómo introducir parámetros 10–12 . . . . . . . . . . . . . . . . . . . . . . . . . . . . . . . . . . . . . . . . . . . . Ejemplo 10–12 . . . . . . . . . . . . . . . . . . . . . . . . . . . . . . . . . . . . . . . . . . . . . . . . . . . . . . . . . Extracción de cadena (AEX) 10–13 . . . . . . . . . . . . . . . . . . . . . . . . . . . . . . . . . . . . . . . . . . . . . . . . Cómo introducir parámetros 10–13 . . . . . . . . . . . . . . . . . . . . . . . . . . . . . . . . . . . . . . . . . . . . Ejemplo 10–13 . . . . . . . . . . . . . . . . . . . . . . . . . . . . . . . . . . . . . . . . . . . . . . . . . . . . . . . . . Líneas de comunicación (AHL) 10–14 . . . . . . . . . . . . . . . . . . . . . . . . . . . . . . . . . . . . . . . . . . . . . Cómo introducir parámetros 10–14 . . . . . . . . . . . . . . . . . . . . . . . . . . . . . . . . . . . . . . . . . . . . Ejemplo 10–15 . . . . . . . . . . . . . . . . . . . . . . . . . . . . . . . . . . . . . . . . . . . . . . . . . . . . . . . . . Entero a cadena (AIC) 10–16 . . . . . . . . . . . . . . . . . . . . . . . . . . . . . . . . . . . . . . . . . . . . . . . . . . . . . Ejemplo 10–16 . . . . . . . . . . . . . . . . . . . . . . . . . . . . . . . . . . . . . . . . . . . . . . . . . . . . . . . . . Lectura de caracteres ASCII (ARD) 10–17 . . . . . . . . . . . . . . . . . . . . . . . . . . . . . . . . . . . . . . . . . . Cómo introducir parámetros 10–17 . . . . . . . . . . . . . . . . . . . . . . . . . . . . . . . . . . . . . . . . . . . . Ejemplo 10–17 . . . . . . . . . . . . . . . . . . . . . . . . . . . . . . . . . . . . . . . . . . . . . . . . . . . . . . . . . Diagrama de temporización para una instrucción exitosa ARD, ARL, AWA y AWT 10–19 . . . . . . . . . . . . . . . . . . . . . . . . . . . . . . . . . . . . . . . . . .
  • 15.
    Tabla de contenido xiii LecturaASCII de línea (ARL) 10–20 . . . . . . . . . . . . . . . . . . . . . . . . . . . . . . . . . . . . . . . . . . . . . . Cómo introducir parámetros 10–20 . . . . . . . . . . . . . . . . . . . . . . . . . . . . . . . . . . . . . . . . . . . . Ejemplo 10–20 . . . . . . . . . . . . . . . . . . . . . . . . . . . . . . . . . . . . . . . . . . . . . . . . . . . . . . . . . Búsqueda de cadena (ASC) 10–22 . . . . . . . . . . . . . . . . . . . . . . . . . . . . . . . . . . . . . . . . . . . . . . . . . Cómo introducir parámetros 10–22 . . . . . . . . . . . . . . . . . . . . . . . . . . . . . . . . . . . . . . . . . . . . Ejemplo 10–22 . . . . . . . . . . . . . . . . . . . . . . . . . . . . . . . . . . . . . . . . . . . . . . . . . . . . . . . . . Comparación de cadena ASCII (ASR) 10–23 . . . . . . . . . . . . . . . . . . . . . . . . . . . . . . . . . . . . . . . . Cómo introducir parámetros 10–23 . . . . . . . . . . . . . . . . . . . . . . . . . . . . . . . . . . . . . . . . . . . . Ejemplo 10–23 . . . . . . . . . . . . . . . . . . . . . . . . . . . . . . . . . . . . . . . . . . . . . . . . . . . . . . . . . Escritura ASCII con anexo (AWA) 10–24 . . . . . . . . . . . . . . . . . . . . . . . . . . . . . . . . . . . . . . . . . . . Cómo introducir parámetros 10–24 . . . . . . . . . . . . . . . . . . . . . . . . . . . . . . . . . . . . . . . . . . . . Ejemplo 10–24 . . . . . . . . . . . . . . . . . . . . . . . . . . . . . . . . . . . . . . . . . . . . . . . . . . . . . . . . . Cómo usar la indirección en línea 10–26 . . . . . . . . . . . . . . . . . . . . . . . . . . . . . . . . . . . . . . . . Ejemplos 10–26 . . . . . . . . . . . . . . . . . . . . . . . . . . . . . . . . . . . . . . . . . . . . . . . . . . . . . . . . . Escritura ASCII (AWT) 10–27 . . . . . . . . . . . . . . . . . . . . . . . . . . . . . . . . . . . . . . . . . . . . . . . . . . . Cómo introducir parámetros 10–27 . . . . . . . . . . . . . . . . . . . . . . . . . . . . . . . . . . . . . . . . . . . . Ejemplo 10–27 . . . . . . . . . . . . . . . . . . . . . . . . . . . . . . . . . . . . . . . . . . . . . . . . . . . . . . . . . Códigos de error de instrucción ASCII 10–29 . . . . . . . . . . . . . . . . . . . . . . . . . . . . . . . . . . . . . . . . Tabla de conversión ASCII 10–31 . . . . . . . . . . . . . . . . . . . . . . . . . . . . . . . . . . . . . . . . . . . . . . . . . 11 Cómo comprender las rutinas de interrupción 11–1 . . . . . . . . . . . . . . . . . . . . . . . . . . . . . . Rutinas de interrupción 11–1 . . . . . . . . . . . . . . . . . . . . . . . . . . . . . . . . . . . . . . . . . . . . . . Descripción general de la rutina de fallo de usuario 11–2 . . . . . . . . . . . . . . . . . . . . . . . . . . . . . . . Datos de archivo de estado guardados 11–2 . . . . . . . . . . . . . . . . . . . . . . . . . . . . . . . . . . . . . . Cómo crear una subrutina de fallo de usuario 11–3 . . . . . . . . . . . . . . . . . . . . . . . . . . . . . . . . Operación del procesador SLC 11–3 . . . . . . . . . . . . . . . . . . . . . . . . . . . . . . . . . . . . . . . . Operación del procesador MicroLogix 11–3 . . . . . . . . . . . . . . . . . . . . . . . . . . . . . . . . . . Ejemplo de aplicación de la rutina de interrupción de usuario 11–4 . . . . . . . . . . . . . . . . . . . Rutina de fallo – Archivo de subrutina 3 11–4 . . . . . . . . . . . . . . . . . . . . . . . . . . . . . . . . . Archivo de subrutina 4 – Ejecutado para error 0020 11–5 . . . . . . . . . . . . . . . . . . . . . . . . Archivo de subrutina 5 – Ejecutado para error 0034 11–6 . . . . . . . . . . . . . . . . . . . . . . . . Descripción general de la interrupción temporizada seleccionable 11–7 . . . . . . . . . . . . . . . . . . . Procedimiento de programación básico para la función STI 11–7 . . . . . . . . . . . . . . . . . . . . . Operación 11–8 . . . . . . . . . . . . . . . . . . . . . . . . . . . . . . . . . . . . . . . . . . . . . . . . . . . . . . . . . . . . . . . Contenido de la subrutina STI 11–8 . . . . . . . . . . . . . . . . . . . . . . . . . . . . . . . . . . . . . . . . . . . . Latencia de interrupción y coincidencias de interrupción 11–9 . . . . . . . . . . . . . . . . . . . . . . . Procesadores SLC 11–9 . . . . . . . . . . . . . . . . . . . . . . . . . . . . . . . . . . . . . . . . . . . . . . . . . . Microcontrolador 11–9 . . . . . . . . . . . . . . . . . . . . . . . . . . . . . . . . . . . . . . . . . . . . . . . . . . . Prioridades de interrupción 11–10 . . . . . . . . . . . . . . . . . . . . . . . . . . . . . . . . . . . . . . . . . . . . . Datos de archivo de estado guardados 11–11 . . . . . . . . . . . . . . . . . . . . . . . . . . . . . . . . . . . . . Parámetros STI 11–11 . . . . . . . . . . . . . . . . . . . . . . . . . . . . . . . . . . . . . . . . . . . . . . . . . . . . . . . . . .
  • 16.
    Manual de referenciadel juego de instrucción xiv Instrucciones STD y STE 11–16 . . . . . . . . . . . . . . . . . . . . . . . . . . . . . . . . . . . . . . . . . . . . . . . . . . Inhabilitación temporizada seleccionable – STD 11–16 . . . . . . . . . . . . . . . . . . . . . . . . . . . . Habilitación temporizada seleccionable – STE 11–16 . . . . . . . . . . . . . . . . . . . . . . . . . . . . . . Ejemplo de zona STD/STE 11–16 . . . . . . . . . . . . . . . . . . . . . . . . . . . . . . . . . . . . . . . . . . . . . Inicio temporizado seleccionable (STS) 11–18 . . . . . . . . . . . . . . . . . . . . . . . . . . . . . . . . . . . . . . . Descripción general de la interrupción de entrada discreta 11–19 . . . . . . . . . . . . . . . . . . . . . . . . Procedimiento de programación básico para la función DII 11–19 . . . . . . . . . . . . . . . . . . . . Ejemplo 11–20 . . . . . . . . . . . . . . . . . . . . . . . . . . . . . . . . . . . . . . . . . . . . . . . . . . . . . . . . . Operación 11–21 . . . . . . . . . . . . . . . . . . . . . . . . . . . . . . . . . . . . . . . . . . . . . . . . . . . . . . . . . . . . . . Modo de contador 11–21 . . . . . . . . . . . . . . . . . . . . . . . . . . . . . . . . . . . . . . . . . . . . . . . . . . . . Modo de evento 11–21 . . . . . . . . . . . . . . . . . . . . . . . . . . . . . . . . . . . . . . . . . . . . . . . . . . . . . . Contenido de la subrutina DII 11–22 . . . . . . . . . . . . . . . . . . . . . . . . . . . . . . . . . . . . . . . . . . . Latencia de interrupción y coincidencias de interrupción 11–22 . . . . . . . . . . . . . . . . . . . . . . Prioridades de interrupción 11–23 . . . . . . . . . . . . . . . . . . . . . . . . . . . . . . . . . . . . . . . . . . . . . Datos de archivo de estado guardados 11–23 . . . . . . . . . . . . . . . . . . . . . . . . . . . . . . . . . . . . . Reconfigurabilidad 11–24 . . . . . . . . . . . . . . . . . . . . . . . . . . . . . . . . . . . . . . . . . . . . . . . . . . . . Ejemplo 11–24 . . . . . . . . . . . . . . . . . . . . . . . . . . . . . . . . . . . . . . . . . . . . . . . . . . . . . . . . . Parámetros DII 11–25 . . . . . . . . . . . . . . . . . . . . . . . . . . . . . . . . . . . . . . . . . . . . . . . . . . . . . . . . . . Ejemplo de aplicación de interrupción de entrada discreta 11–28 . . . . . . . . . . . . . . . . . . . . . Diagrama de escalera para la aplicación de embotelladora 11–29 . . . . . . . . . . . . . . . . . . Descripción general de interrupción de E/S 11–30 . . . . . . . . . . . . . . . . . . . . . . . . . . . . . . . . . . . . Procedimiento de programación básico para la función de interrupción de E/S 11–30 . . . . . Operación 11–31 . . . . . . . . . . . . . . . . . . . . . . . . . . . . . . . . . . . . . . . . . . . . . . . . . . . . . . . . . . . . . . Contenido de la subrutina de interrupción (ISR) 11–31 . . . . . . . . . . . . . . . . . . . . . . . . . . . . . Latencia de interrupción y coincidencias de interrupción 11–31 . . . . . . . . . . . . . . . . . . . . . . Prioridades de interrupción 11–33 . . . . . . . . . . . . . . . . . . . . . . . . . . . . . . . . . . . . . . . . . . . . . Datos de archivo de estado guardados 11–34 . . . . . . . . . . . . . . . . . . . . . . . . . . . . . . . . . . . . . Parámetros de interrupción de E/S 11–35 . . . . . . . . . . . . . . . . . . . . . . . . . . . . . . . . . . . . . . . . . . . Inhabilitación de interrupción de E/S (IID) y habilitación de interrupción de E/S (IIE) 11–37 . . Inhabilitación de interrupción de E/S – IID Habilitación de interrupción de E/S – IIE 11–37 . . . . . . . . . . . . . . . . . . . . . . . . . . . . . . . . . . . . . . . . . . . . . . . . . . . . . . Operación IID 11–38 . . . . . . . . . . . . . . . . . . . . . . . . . . . . . . . . . . . . . . . . . . . . . . . . . . . . . Operación IIE 11–38 . . . . . . . . . . . . . . . . . . . . . . . . . . . . . . . . . . . . . . . . . . . . . . . . . . . . . Ejemplo de zona IID/IIE 11–39 . . . . . . . . . . . . . . . . . . . . . . . . . . . . . . . . . . . . . . . . . . . . Restablecimiento de interrupción pendiente (RPI) 11–40 . . . . . . . . . . . . . . . . . . . . . . . . . . . . . . . Cómo introducir parámetros 11–40 . . . . . . . . . . . . . . . . . . . . . . . . . . . . . . . . . . . . . . . . . . . . Subrutina de interrupción (INT) 11–41 . . . . . . . . . . . . . . . . . . . . . . . . . . . . . . . . . . . . . . . . . . . . .
  • 17.
    Tabla de contenido xv 12Cómo comprender los protocolos de comunicación 12–1 . . . . . . . . . . . . . . . . . . . . . . . . Protocolo de comunicación DH-485 12–2 . . . . . . . . . . . . . . . . . . . . . . . . . . . . . . . . . . . . . . . . . . . Protocolo de la red DH-485 12–2 . . . . . . . . . . . . . . . . . . . . . . . . . . . . . . . . . . . . . . . . . . . . . . Rotación del testigo DH-485 12–2 . . . . . . . . . . . . . . . . . . . . . . . . . . . . . . . . . . . . . . . . . . Inicialización de la red DH-485 12–3 . . . . . . . . . . . . . . . . . . . . . . . . . . . . . . . . . . . . . . . . Consideraciones de software 12–3 . . . . . . . . . . . . . . . . . . . . . . . . . . . . . . . . . . . . . . . . . . . . . Número de nodos 12–3 . . . . . . . . . . . . . . . . . . . . . . . . . . . . . . . . . . . . . . . . . . . . . . . . . . . Establecimiento de direcciones de nodo 12–4 . . . . . . . . . . . . . . . . . . . . . . . . . . . . . . . . . Establecimiento de la velocidad en baudios del procesador 12–4 . . . . . . . . . . . . . . . . . . Establecimiento de la dirección de nodo máxima 12–4 . . . . . . . . . . . . . . . . . . . . . . . . . . Número máximo de dispositivos de comunicación 12–4 . . . . . . . . . . . . . . . . . . . . . . . . . Parámetros de configuración DH-485 12–5 . . . . . . . . . . . . . . . . . . . . . . . . . . . . . . . . . . . Protocolo de comunicación de Data Highway Plus 12–7 . . . . . . . . . . . . . . . . . . . . . . . . . . . . . . . Ejemplo 12–7 . . . . . . . . . . . . . . . . . . . . . . . . . . . . . . . . . . . . . . . . . . . . . . . . . . . . . . . . . . Ejemplo 12–8 . . . . . . . . . . . . . . . . . . . . . . . . . . . . . . . . . . . . . . . . . . . . . . . . . . . . . . . . . . Parámetros de configuración de canal 1 de DH+ (procesadores SLC 5/04 únicamente) 12–9 . . . . . . . . . . . . . . . . . . . . . . . . . . . . . . Descripción general de la palabra de estado global 12–10 . . . . . . . . . . . . . . . . . . . . . . . . . . . Bit de habilitación de transmisión de palabra de estado global S:34/3 (SLC 5/04 con OS401) 12–11 . . . . . . . . . . . . . . . . . . . . . . . . . . . . . . . . . . . . . . . . Bit de habilitación de recepción de palabra de estado global S:34/4 (SLC 5/04 con OS401) 12–12 . . . . . . . . . . . . . . . . . . . . . . . . . . . . . . . . . . . . . . . . Comunicación de PLC–5 a SLC 500 usando los comandos MSG de tipo PLC–2 12–14 . . . Cómo los procesadores PLC-5 direccionan datos 12–15 . . . . . . . . . . . . . . . . . . . . . . . . . . . . Cómo usar el archivo CIF SLC 500 (emulación PLC-2) 12–15 . . . . . . . . . . . . . . . . . . . . . . . Programación para manejar las diferencias de direccionamiento de palabra/byte 12–16 . . . Cómo enviar un mensaje de tipo PLC-2 a un procesador PLC-5 usando el direccionamiento SLC de “palabra” (S:2/8 = 0) 12–16 . . . . . . . . . . . . . . . . . . . . . Cómo enviar un mensaje de tipo PLC-2 a un procesador PLC-5 usando el direccionamiento de “byte” (S:2/8 = 1) 12–16 . . . . . . . . . . . . . . . . . . . . . . . . . . . Ejemplo – Cómo enviar un mensaje de tipo PLC-2 a procesadores PLC-5 usando procesadores SLC direccionados por “palabra” (S:2/8 = 0) 12–17 . . . . . Ejemplo – Cómo enviar un mensaje de tipo PLC-2 a un procesador PLC-5 usando procesadores direccionados por “byte) (S:2/8 = 1) 12–17 . . . . . . . . . . . . Procesadores SLC 5/03 y SLC 5/04 a comunicación PLC-5 usando comandos MSG SLC 500 ó PLC-5 12–18 . . . . . . . . . . . . . . . . . . . . . . . . . . . . . . . . . . . . . . . . . . . . Protocolo de comunicación RS-232 12–19 . . . . . . . . . . . . . . . . . . . . . . . . . . . . . . . . . . . . . . . . . . Protocolo de full–duplex DF1 12–19 . . . . . . . . . . . . . . . . . . . . . . . . . . . . . . . . . . . . . . . . . . . Parámetros de configuración de canal 0 de duplex total DF1 12–20 . . . . . . . . . . . . . . . . Protocolo maestro/esclavo de half–duplex DF1 12–23 . . . . . . . . . . . . . . . . . . . . . . . . . . . . . Parámetros de configuración de canal 0 del esclavo de half–duplex DF1 12–24 . . . . . . . Parámetros de configuración de canal 0 del maestro de half–duplex DF1 12–25 . . . . . .
  • 18.
    Manual de referenciadel juego de instrucción xvi Consideraciones cuando comunica como esclavo DF1 en un vínculo de múltiples conexiones 12–30 . . . . . . . . . . . . . . . . . . . . . . . . . . . . . . . . . . . . . . . . . . . . . . . . . . . . . . Cómo usar módems que tienen capacidad para protocolos de comunicación DF1 12–31 . . . . . . Módems de línea telefónica 12–31 . . . . . . . . . . . . . . . . . . . . . . . . . . . . . . . . . . . . . . . . . . . . . Módems manuales 12–31 . . . . . . . . . . . . . . . . . . . . . . . . . . . . . . . . . . . . . . . . . . . . . . . . . Módems de contestación automática 12–31 . . . . . . . . . . . . . . . . . . . . . . . . . . . . . . . . . . . Módems de desconexión automática 12–32 . . . . . . . . . . . . . . . . . . . . . . . . . . . . . . . . . . . Módems de discado automático 12–32 . . . . . . . . . . . . . . . . . . . . . . . . . . . . . . . . . . . . . . . Módems con líneas arrendadas 12–32 . . . . . . . . . . . . . . . . . . . . . . . . . . . . . . . . . . . . . . . Módems con discado DTR 12–32 . . . . . . . . . . . . . . . . . . . . . . . . . . . . . . . . . . . . . . . . . . . . . . Módems controladores de línea (corto alcance) 12–33 . . . . . . . . . . . . . . . . . . . . . . . . . . . . . Módems de radio 12–34 . . . . . . . . . . . . . . . . . . . . . . . . . . . . . . . . . . . . . . . . . . . . . . . . . . . . . Módems de vínculo por satélite 12–35 . . . . . . . . . . . . . . . . . . . . . . . . . . . . . . . . . . . . . . . . . . Operación de línea de control de módem en los procesadores SLC 5/03 y SLC 5/04 12–35 . . . . Full–duplex DF1 12–35 . . . . . . . . . . . . . . . . . . . . . . . . . . . . . . . . . . . . . . . . . . . . . . . . . . . . . Half–duplex DF1 12–36 . . . . . . . . . . . . . . . . . . . . . . . . . . . . . . . . . . . . . . . . . . . . . . . . . . . . . Parámetros de retardo de transmisión RTS y retardo de desactivación RTS 12–37 . . . . . . . . . . . Protocolo de comunicación ASCII 12–38 . . . . . . . . . . . . . . . . . . . . . . . . . . . . . . . . . . . . . . . . . . . Configuración de parámetro de canal 0 ASCII 12–38 . . . . . . . . . . . . . . . . . . . . . . . . . . . Cómo usar las características de transferencia 12–39 . . . . . . . . . . . . . . . . . . . . . . . . . . . . . . . . . . Transferencia DH+ a DH-485 – (Todos los procesadores SLC 5/04) 12–39 . . . . . . . . . . . . . Transferencia DF1 a DH+ – (Procesadores SLC 5/04 OS401 y posteriores) 12–39 . . . . . . . Transferencia de E/S remota (Procesadores SLC 5/03 OS302 y SLC 5/04 OS401) 12–39 . . Consideraciones cuando la transferencia DF1 a DH+ se habilita 12–40 . . . . . . . . . . . . . . . . Cómo entrar en línea con un procesador SLC 5/04 usando el full–duplex DF1 12–40 . . Cómo transmitir un mensaje usando el full–duplex DF1 hacia un procesador SLC 5/04 con la transferencia DF1 a DH+ habilitada 12–40 . . . . . . . . . . . . . . . . Cómo transmitir un mensaje usando el full–duplex DF1 desde un procesador SLC 5/04 con la transferencia DF1 a DH+ habilitada 12–40 . . . . . . . . . . . . . . . . Cómo comunicar desde un procesador SLC 5/04 usando direccionamiento PLC-2 12–40 . . . . . . . . . . . . . . . . . . . . . . . . . . . . . . . . . . . . . . . 13 Cómo localizar y corregir fallos 13–1 . . . . . . . . . . . . . . . . . . . . . . . . . . . . . . . . . . . . . . . . . . . Cómo borrar fallos automáticamente 13–1 . . . . . . . . . . . . . . . . . . . . . . . . . . . . . . . . . . . . . . . . . . Procesadores SLC 13–1 . . . . . . . . . . . . . . . . . . . . . . . . . . . . . . . . . . . . . . . . . . . . . . . . . . . . . Controladores MicroLogix 1000 13–2 . . . . . . . . . . . . . . . . . . . . . . . . . . . . . . . . . . . . . . . . . . Cómo borrar fallos manualmente (procesadores SLC) 13–3 . . . . . . . . . . . . . . . . . . . . . . . . . . . . . Cómo usar la rutina de fallo 13–3 . . . . . . . . . . . . . . . . . . . . . . . . . . . . . . . . . . . . . . . . . . . . . . Mensajes de fallo 13–4 . . . . . . . . . . . . . . . . . . . . . . . . . . . . . . . . . . . . . . . . . . . . . . . . . . . . . . . . . . Fallos del controlador MicroLogix 1000 13–5 . . . . . . . . . . . . . . . . . . . . . . . . . . . . . . . . . . . . Errores de encendido 13–6 . . . . . . . . . . . . . . . . . . . . . . . . . . . . . . . . . . . . . . . . . . . . . . . . Errores de ida a marcha 13–7 . . . . . . . . . . . . . . . . . . . . . . . . . . . . . . . . . . . . . . . . . . . . . .
  • 19.
    Tabla de contenido xvii Erroresde marcha 13–8 . . . . . . . . . . . . . . . . . . . . . . . . . . . . . . . . . . . . . . . . . . . . . . . . . . Error de carga 13–10 . . . . . . . . . . . . . . . . . . . . . . . . . . . . . . . . . . . . . . . . . . . . . . . . . . . . . Fallos del procesador SLC 13–11 . . . . . . . . . . . . . . . . . . . . . . . . . . . . . . . . . . . . . . . . . . . . . . Errores de encendido 13–11 . . . . . . . . . . . . . . . . . . . . . . . . . . . . . . . . . . . . . . . . . . . . . . . Errores de ida a marcha 13–12 . . . . . . . . . . . . . . . . . . . . . . . . . . . . . . . . . . . . . . . . . . . . . . . . Errores de marcha 13–13 . . . . . . . . . . . . . . . . . . . . . . . . . . . . . . . . . . . . . . . . . . . . . . . . . . . . Errores de instrucción de programa de usuario 13–17 . . . . . . . . . . . . . . . . . . . . . . . . . . . . . . Cómo localizar y corregir fallos de los procesadores SLC 5/03 y SLC 5/04 13–23 . . . . . . . . . . . Cómo encender la pantalla LED 13–23 . . . . . . . . . . . . . . . . . . . . . . . . . . . . . . . . . . . . . . . . . Cómo identificar errores del procesador durante la descarga de un sistema de operación 13–23 . . . . . . . . . . . . . . . . . . . . . . . . . . . . . . . . . . . . . . . . . . . . . . . A Archivo de estado del controlador MicroLogix 1000 A–1 . . . . . . . . . . . . . . . . . . . . . . . . Descripción general del archivo de estado A–2 . . . . . . . . . . . . . . . . . . . . . . . . . . . . . . . . . . . . . . . Descripciones de archivo de estado A–3 . . . . . . . . . . . . . . . . . . . . . . . . . . . . . . . . . . . . . . . . . . . . B Archivo de estado SLC B–1 . . . . . . . . . . . . . . . . . . . . . . . . . . . . . . . . . . . . . . . . . . . . . . . . . . . Descripción general del archivo de estado B–2 . . . . . . . . . . . . . . . . . . . . . . . . . . . . . . . . . . . . . . . Convenciones usadas en las pantallas B–5 . . . . . . . . . . . . . . . . . . . . . . . . . . . . . . . . . . . . . . . C Uso de memoria y tiempos de ejecución de instrucción C–1 . . . . . . . . . . . . . . . . . . . . . Tiempos de ejecución de instrucción y uso de memoria de instrucción C–2 . . . . . . . . . . . . . . . . . Controladores MicroLogix 1000 C–2 . . . . . . . . . . . . . . . . . . . . . . . . . . . . . . . . . . . . . . . . . . . Latencia de interrupción de usuario C–5 . . . . . . . . . . . . . . . . . . . . . . . . . . . . . . . . . . . . . . . . . Cómo estimar el uso de memoria para el sistema de control MicroLogix 1000 C–6 . . . . . . . Hoja de trabajo de tiempo de ejecución del controlador MicroLogix 1000 C–7 . . . . . . . . . . Descripción general del uso de memoria para los procesadores SLC C–8 . . . . . . . . . . . . . . . . . . Tiempos de ejecución de instrucción y uso de memoria de instrucción C–9 . . . . . . . . . . . . . . . . . Procesadores fijos y SLC 5/01 C–9 . . . . . . . . . . . . . . . . . . . . . . . . . . . . . . . . . . . . . . . . . . . . . Ejemplo C–11 . . . . . . . . . . . . . . . . . . . . . . . . . . . . . . . . . . . . . . . . . . . . . . . . . . . . . . . . . . Cómo estimar el uso de memoria total del sistema usando un procesador compacto o SLC 5/01 C–12 . . . . . . . . . . . . . . . . . . . . . . . . . . . . . . . . . . . . . . . . . . . . . . . Continuación de procesadores fijos y SLC 5/01 C–13 . . . . . . . . . . . . . . . . . . . . . . . . . . . Ejemplo C–13 . . . . . . . . . . . . . . . . . . . . . . . . . . . . . . . . . . . . . . . . . . . . . . . . . . . . . . . . . . Continuación de procesadores fijos y SLC 5/01 C–14 . . . . . . . . . . . . . . . . . . . . . . . . . . . Ejemplo C–14 . . . . . . . . . . . . . . . . . . . . . . . . . . . . . . . . . . . . . . . . . . . . . . . . . . . . . . . . . . Procesador SLC 5/02 C–15 . . . . . . . . . . . . . . . . . . . . . . . . . . . . . . . . . . . . . . . . . . . . . . . . . . . Ejemplo C–18 . . . . . . . . . . . . . . . . . . . . . . . . . . . . . . . . . . . . . . . . . . . . . . . . . . . . . . . . . . Continuación de procesador SLC 5/02 C–19 . . . . . . . . . . . . . . . . . . . . . . . . . . . . . . . . . . Cómo estimar el uso de memoria total del sistema usando un procesador SLC 5/02 C–19 . . . . . . . . . . . . . . . . . . . . . . . . . . . . . . . . . . . . . . . . . . . . . . . . . . . . . . . . . Continuación de procesador SLC 5/02 C–20 . . . . . . . . . . . . . . . . . . . . . . . . . . . . . . . . . .
  • 20.
    Manual de referenciadel juego de instrucción xviii Ejemplo C–20 . . . . . . . . . . . . . . . . . . . . . . . . . . . . . . . . . . . . . . . . . . . . . . . . . . . . . . . . . . Continuación de procesador SLC 5/02 C–21 . . . . . . . . . . . . . . . . . . . . . . . . . . . . . . . . . . Instrucciones que tienen direcciones indexadas C–21 . . . . . . . . . . . . . . . . . . . . . . . . . . . . . . Instrucciones que tienen direcciones de archivo de datos M0 y M1 C–21 . . . . . . . . . . . . . . . Ejemplo C–21 . . . . . . . . . . . . . . . . . . . . . . . . . . . . . . . . . . . . . . . . . . . . . . . . . . . . . . . . . . Procesador SLC 5/03 C–22 . . . . . . . . . . . . . . . . . . . . . . . . . . . . . . . . . . . . . . . . . . . . . . . . . . . Ejemplo C–27 . . . . . . . . . . . . . . . . . . . . . . . . . . . . . . . . . . . . . . . . . . . . . . . . . . . . . . . . . . Tiempos de ejecución de punto (coma) flotante del procesador SLC 5/03 C–28 . . . . . . . Continuación de procesador SLC 5/03 C–30 . . . . . . . . . . . . . . . . . . . . . . . . . . . . . . . . . . Cálculo aproximado del uso de memoria del sistema usando un procesador SLC 5/03 C–30 . . . . . . . . . . . . . . . . . . . . . . . . . . . . . . . . . . . . . . . . . . . . . . . . . . . . . . . . . Continuación de procesador SLC 5/03 C–31 . . . . . . . . . . . . . . . . . . . . . . . . . . . . . . . . . . Ejemplo C–31 . . . . . . . . . . . . . . . . . . . . . . . . . . . . . . . . . . . . . . . . . . . . . . . . . . . . . . . . . . Continuación de procesador SLC 5/03 C–32 . . . . . . . . . . . . . . . . . . . . . . . . . . . . . . . . . . Comparación de palabra de usuario entre el procesador SLC 5/03 ó SLC 5/04 y el procesador SLC 5/02 C–32 . . . . . . . . . . . . . . . . . . . . . . . . . . . . . . . . . . . . Palabras de instrucción C–32 . . . . . . . . . . . . . . . . . . . . . . . . . . . . . . . . . . . . . . . . . . . . . . . Continuación de procesador SLC 5/03 C–33 . . . . . . . . . . . . . . . . . . . . . . . . . . . . . . . . . . Palabras de datos – Archivos 0 y 1 C–33 . . . . . . . . . . . . . . . . . . . . . . . . . . . . . . . . . . . . . Palabras de datos – Archivo 2 C–33 . . . . . . . . . . . . . . . . . . . . . . . . . . . . . . . . . . . . . . . . . Palabras de datos – Archivo 3 a 255 C–33 . . . . . . . . . . . . . . . . . . . . . . . . . . . . . . . . . . . . Continuación de procesador SLC 5/03 C–34 . . . . . . . . . . . . . . . . . . . . . . . . . . . . . . . . . . Instrucciones con direcciones indexadas C–34 . . . . . . . . . . . . . . . . . . . . . . . . . . . . . . . . . . . . Instrucciones con direcciones de archivo de datos M0 y M1 C–34 . . . . . . . . . . . . . . . . . . . . Ejemplo C–34 . . . . . . . . . . . . . . . . . . . . . . . . . . . . . . . . . . . . . . . . . . . . . . . . . . . . . . . . . . Procesador SLC 5/04 C–35 . . . . . . . . . . . . . . . . . . . . . . . . . . . . . . . . . . . . . . . . . . . . . . . . . . . Ejemplo C–40 . . . . . . . . . . . . . . . . . . . . . . . . . . . . . . . . . . . . . . . . . . . . . . . . . . . . . . . . . . Tiempos de ejecución de punto (coma) flotante del procesador SLC 5/04 C–41 . . . . . . . Continuación de procesador SLC 5/04 C–43 . . . . . . . . . . . . . . . . . . . . . . . . . . . . . . . . . . Cálculo aproximado del uso de memoria del sistema usando un procesador SLC 5/04 C–43 . . . . . . . . . . . . . . . . . . . . . . . . . . . . . . . . . . . . . . . . . . . . . . . SLC 5/04 Processor Continued C–44 . . . . . . . . . . . . . . . . . . . . . . . . . . . . . . . . . . . . . . . . Instrucciones con direcciones indexadas C–44 . . . . . . . . . . . . . . . . . . . . . . . . . . . . . . . . . . . . Instrucciones con direcciones de archivo de datos M0 y M1 C–44 . . . . . . . . . . . . . . . . . . . . Ejemplo C–44 . . . . . . . . . . . . . . . . . . . . . . . . . . . . . . . . . . . . . . . . . . . . . . . . . . . . . . . . . . Instrucciones con direcciones indirectas a nivel de palabra C–45 . . . . . . . . . . . . . . . . . . . . . Ejemplos C–46 . . . . . . . . . . . . . . . . . . . . . . . . . . . . . . . . . . . . . . . . . . . . . . . . . . . . . . . . . . Instrucciones con direcciones a nivel de bit C–47 . . . . . . . . . . . . . . . . . . . . . . . . . . . . . . . . . Tiempos de ejecución de instrucción C–48 . . . . . . . . . . . . . . . . . . . . . . . . . . . . . . . . . . . . Ejemplo C–48 . . . . . . . . . . . . . . . . . . . . . . . . . . . . . . . . . . . . . . . . . . . . . . . . . . . . . . . . . .
  • 21.
    Tabla de contenido xix DTiempo de escán estimado D–1 . . . . . . . . . . . . . . . . . . . . . . . . . . . . . . . . . . . . . . . . . . . . . . . Ciclo de operación del procesador D–2 . . . . . . . . . . . . . . . . . . . . . . . . . . . . . . . . . . . . . . . . . . . . . Tiempos de acceso para los datos M0/M1 D–3 . . . . . . . . . . . . . . . . . . . . . . . . . . . . . . . . . . . . Latencia de interrupción D–4 . . . . . . . . . . . . . . . . . . . . . . . . . . . . . . . . . . . . . . . . . . . . . . . . . . . . . Cómo calcular la latencia de interrupción para SLC 5/03 D–5 . . . . . . . . . . . . . . . . . . . . . . . . Interrupción temporizada seleccionable D–5 . . . . . . . . . . . . . . . . . . . . . . . . . . . . . . . . . . . . . Interrupción de entrada discreta D–5 . . . . . . . . . . . . . . . . . . . . . . . . . . . . . . . . . . . . . . . . . . . . Interrupción de evento de E/S D–5 . . . . . . . . . . . . . . . . . . . . . . . . . . . . . . . . . . . . . . . . . . . . . Cómo calcular la latencia de interrupción para SLC 5/04 D–6 . . . . . . . . . . . . . . . . . . . . . . . . Interrupción temporizada seleccionable D–6 . . . . . . . . . . . . . . . . . . . . . . . . . . . . . . . . . . . . . Interrupción de entrada discreta D–6 . . . . . . . . . . . . . . . . . . . . . . . . . . . . . . . . . . . . . . . . . . . . Interrupción de evento de E/S D–6 . . . . . . . . . . . . . . . . . . . . . . . . . . . . . . . . . . . . . . . . . . . . . Ejemplo – Interrupción temporizada seleccionable del procesador SLC 5/03 D–7 . . . . . . . . Ejemplo – Interrupción temporizada seleccionable del procesador SLC 5/04 D–7 . . . . . . . . Hojas de trabajo de tiempo de escán D–8 . . . . . . . . . . . . . . . . . . . . . . . . . . . . . . . . . . . . . . . . . . . . Definición de terminología de la hoja de trabajo D–8 . . . . . . . . . . . . . . . . . . . . . . . . . . . . . . . Hoja de trabajo A – Cómo estimar el tiempo de escán del controlador fijo D–9 . . . . . . . . . . Hoja de trabajo B – Cómo estimar el tiempo de escán del procesador 1747-L511 ó 1747-l514 D–11 . . . . . . . . . . . . . . . . . . . . . . . . . . . . . . . . . . . . . . . . . . . . . . . . . . . . . . . . Hoja de trabajo C – Cómo estimar el tiempo de escán del procesador 1747-L524 D–13 . . . . Hoja de trabajo D – Cómo calcular el tiempo de escán del procesador 1747-L532 D–16 . . . Hoja de trabajo E – Cómo calcular el tiempo de escán del procesador 1747-L542 D–19 Procesador SLC 5/03 D–22 . . . . . . . . . . . . . . . . . . . . . . . . . . . . . . . . . . . . . . . . . . . . . . . . Procesador SLC 5/04 D–23 . . . . . . . . . . . . . . . . . . . . . . . . . . . . . . . . . . . . . . . . . . . . . . . . Ejemplo de cálculo de tiempo de escán D–24 . . . . . . . . . . . . . . . . . . . . . . . . . . . . . . . . . . . . . . . . Ejemplo: Hoja de trabajo B – Cómo calcular el tiempo de escán de una aplicación del procesador 1747-L511 ó 1747-L514 D–26 . . . . . . . . . . . . . . . . . . . . . . . . . . . . . . . . Continúa en la página siguiente D–26 . . . . . . . . . . . . . . . . . . . . . . . . . . . . . . . . . . . . . . . . E Referencias de instrucciones de programación E–1 . . . . . . . . . . . . . . . . . . . . . . . . . . . . . Modos de direccionamiento válidos y tipos de archivo E–2 . . . . . . . . . . . . . . . . . . . . . . . . . . . . . Cómo comprender los modos de direccionamientos diferentes E–3 . . . . . . . . . . . . . . . . . . . Direccionamiento directo E–3 . . . . . . . . . . . . . . . . . . . . . . . . . . . . . . . . . . . . . . . . . . . . . . Direccionamiento indexado E–3 . . . . . . . . . . . . . . . . . . . . . . . . . . . . . . . . . . . . . . . . . . . . Direccionamiento indirecto E–3 . . . . . . . . . . . . . . . . . . . . . . . . . . . . . . . . . . . . . . . . . . . . Direccionamiento indirecto indexado E–3 . . . . . . . . . . . . . . . . . . . . . . . . . . . . . . . . . . . . F Organización y direccionamento del archivo de datos F–1 . . . . . . . . . . . . . . . . . . . . . . Descripción de la organización del archivo F–2 . . . . . . . . . . . . . . . . . . . . . . . . . . . . . . . . . . . . . . Descripción general del archivo de procesador F–2 . . . . . . . . . . . . . . . . . . . . . . . . . . . . . . . . Archivos de programa F–3 . . . . . . . . . . . . . . . . . . . . . . . . . . . . . . . . . . . . . . . . . . . . . . . . Archivos de datos F–3 . . . . . . . . . . . . . . . . . . . . . . . . . . . . . . . . . . . . . . . . . . . . . . . . . . . .
  • 22.
    Manual de referenciadel juego de instrucción xx Acceso y almacenamiento de los archivos de procesador F–4 . . . . . . . . . . . . . . . . . . . . . . . . . . . Descarga F–5 . . . . . . . . . . . . . . . . . . . . . . . . . . . . . . . . . . . . . . . . . . . . . . . . . . . . . . . . . . . . . . Operación normal F–6 . . . . . . . . . . . . . . . . . . . . . . . . . . . . . . . . . . . . . . . . . . . . . . . . . . . . . . . Apagado F–6 . . . . . . . . . . . . . . . . . . . . . . . . . . . . . . . . . . . . . . . . . . . . . . . . . . . . . . . . . . . . . . Encendido F–7 . . . . . . . . . . . . . . . . . . . . . . . . . . . . . . . . . . . . . . . . . . . . . . . . . . . . . . . . . . . . Cómo direccionar los archivos de datos F–8 . . . . . . . . . . . . . . . . . . . . . . . . . . . . . . . . . . . . . . . . . Cómo especificar direcciones lógicas F–8 . . . . . . . . . . . . . . . . . . . . . . . . . . . . . . . . . . . . . . . Direccionamiento de E/S para un controlador de E/S fijo F–10 . . . . . . . . . . . . . . . . . . . . Direccionamiento de E/S para un controlador modular F–12 . . . . . . . . . . . . . . . . . . . . . . Cómo especificar direcciones indexadas F–13 . . . . . . . . . . . . . . . . . . . . . . . . . . . . . . . . . . . . Ejemplo de direccionamiento indexado F–13 . . . . . . . . . . . . . . . . . . . . . . . . . . . . . . . . . . Cómo crear datos para direcciones indexadas F–14 . . . . . . . . . . . . . . . . . . . . . . . . . . . . . Intersección de los límites de archivo F–14 . . . . . . . . . . . . . . . . . . . . . . . . . . . . . . . . . . . Ejemplo F–15 . . . . . . . . . . . . . . . . . . . . . . . . . . . . . . . . . . . . . . . . . . . . . . . . . . . . . . . . . . Cómo monitorizar las direcciones indexadas F–15 . . . . . . . . . . . . . . . . . . . . . . . . . . . . . . . . Ejemplo F–16 . . . . . . . . . . . . . . . . . . . . . . . . . . . . . . . . . . . . . . . . . . . . . . . . . . . . . . . . . . Instrucciones de archivo F–16 . . . . . . . . . . . . . . . . . . . . . . . . . . . . . . . . . . . . . . . . . . . . . . Efectos de interrupciones de programa en el registro de índice S:24 F–16 . . . . . . . . . . . Cómo especificar una dirección indirecta F–17 . . . . . . . . . . . . . . . . . . . . . . . . . . . . . . . . . . . Ejemplos F–17 . . . . . . . . . . . . . . . . . . . . . . . . . . . . . . . . . . . . . . . . . . . . . . . . . . . . . . . . . . Cómo crear datos para direcciones indirectas F–18 . . . . . . . . . . . . . . . . . . . . . . . . . . . . . Intersección de los límites de archivo F–18 . . . . . . . . . . . . . . . . . . . . . . . . . . . . . . . . . . . Cómo monitorizar las direcciones indirectas F–18 . . . . . . . . . . . . . . . . . . . . . . . . . . . . . . Instrucciones de archivo de direccionamiento – Cómo usar el indicador de archivo (#) F–19 . . . . . . . . . . . . . . . . . . . . . . . . . . . . . . . . . . . . . . . . . . . . . . . . . . . . . Instrucciones de desplazamiento de bit F–19 . . . . . . . . . . . . . . . . . . . . . . . . . . . . . . . . . . Instrucciones de secuenciador F–20 . . . . . . . . . . . . . . . . . . . . . . . . . . . . . . . . . . . . . . . . . Instrucciones de copiar archivo y llenar archivo F–21 . . . . . . . . . . . . . . . . . . . . . . . . . . . Constantes numéricas F–22 . . . . . . . . . . . . . . . . . . . . . . . . . . . . . . . . . . . . . . . . . . . . . . . . . . . Archivos de datos M0 y M1 – Módulos de E/S especiales F–23 . . . . . . . . . . . . . . . . . . . . . . . . . . Cómo direccionar los archivos M0–M1 F–23 . . . . . . . . . . . . . . . . . . . . . . . . . . . . . . . . . . . . Restricciones relativas al uso de las direcciones de archvivo de datos M0-M1 F–23 . . . . . . Cómo monitorizar direcciones de bit F–24 . . . . . . . . . . . . . . . . . . . . . . . . . . . . . . . . . . . . . . . Procesadores SLC 5/02, SLC 5/03 y SLC 5/04 con la monitorización de M0 y M1 inhabilitada F–24 . . . . . . . . . . . . . . . . . . . . . . . . . . . . . . . . . . . . . . . . . . Procesadores SLC 5/03 y SLC 5/04 con la monitorización de M0 y M1 habilitada F–24 . . . . . . . . . . . . . . . . . . . . . . . . . . . . . . . . . . . . . . . . . . . Cómo transferir datos entre los archivos de procesador y archivos M0 ó M1 F–25 . . . . . . . Tiempo de acceso F–26 . . . . . . . . . . . . . . . . . . . . . . . . . . . . . . . . . . . . . . . . . . . . . . . . . . . . . . Cómo minimizar el tiempo de escán F–26 . . . . . . . . . . . . . . . . . . . . . . . . . . . . . . . . . . . . . . . Cómo capturar los datos de archivo M0–M1 F–27 . . . . . . . . . . . . . . . . . . . . . . . . . . . . . . . . .
  • 23.
    Tabla de contenido xxi Módulosde E/S especiales con memoria retentiva F–28 . . . . . . . . . . . . . . . . . . . . . . . . . . . . Archivos de datos G – Módulos de E/S especiales F–29 . . . . . . . . . . . . . . . . . . . . . . . . . . . . . . . . Cómo editar los datos de archivo G F–30 . . . . . . . . . . . . . . . . . . . . . . . . . . . . . . . . . . . . . . . . G Sistemas numéricos G–1 . . . . . . . . . . . . . . . . . . . . . . . . . . . . . . . . . . . . . . . . . . . . . . . . . . . . . . Números binarios G–2 . . . . . . . . . . . . . . . . . . . . . . . . . . . . . . . . . . . . . . . . . . . . . . . . . . . . . . . . . . Valores decimales positivos G–2 . . . . . . . . . . . . . . . . . . . . . . . . . . . . . . . . . . . . . . . . . . . . . . . Valores decimales negativos G–3 . . . . . . . . . . . . . . . . . . . . . . . . . . . . . . . . . . . . . . . . . . . . . . Números hexadecimales G–5 . . . . . . . . . . . . . . . . . . . . . . . . . . . . . . . . . . . . . . . . . . . . . . . . . . . . . Ejemplo G–5 . . . . . . . . . . . . . . . . . . . . . . . . . . . . . . . . . . . . . . . . . . . . . . . . . . . . . . . . . . . Ejemplo G–6 . . . . . . . . . . . . . . . . . . . . . . . . . . . . . . . . . . . . . . . . . . . . . . . . . . . . . . . . . . . Máscara hexadecimal G–7 . . . . . . . . . . . . . . . . . . . . . . . . . . . . . . . . . . . . . . . . . . . . . . . . . . . . . . . Aritmética de punto (coma) flotante binario G–8 . . . . . . . . . . . . . . . . . . . . . . . . . . . . . . . . . . . . . . H Programas de ejemplo de aplicación H–1 . . . . . . . . . . . . . . . . . . . . . . . . . . . . . . . . . . . . . . Ejemplo de aplicación de la perforadora de papel H–2 . . . . . . . . . . . . . . . . . . . . . . . . . . . . . . . . . Descripción general de la operación de la perforadora de papel H–3 . . . . . . . . . . . . . . . . . . . . . . Operación del mecanismo del taladro H–3 . . . . . . . . . . . . . . . . . . . . . . . . . . . . . . . . . . . . . . . Operación del transportador H–3 . . . . . . . . . . . . . . . . . . . . . . . . . . . . . . . . . . . . . . . . . . . . . . . Cálculo y advertencia de la broca H–4 . . . . . . . . . . . . . . . . . . . . . . . . . . . . . . . . . . . . . . . . . . Programa de escalera de la perforadora de papel H–5 . . . . . . . . . . . . . . . . . . . . . . . . . . . . . . . . . . Ejemplo de aplicación del secuenciador activado por tiempo H–20 . . . . . . . . . . . . . . . . . . . . . . . Programa de escalera de secuenciador activado por tiempo H–21 . . . . . . . . . . . . . . . . . . . . . . . . . Ejemplo de aplicación del secuenciador activado por evento H–23 . . . . . . . . . . . . . . . . . . . . . . . . Programa de escalera de secuenciador activado por eventos H–24 . . . . . . . . . . . . . . . . . . . . . . . . Ejemplo de aplicación de activación/desactivación del circuito H–26 . . . . . . . . . . . . . . . . . . . . . . Programa de escalera de activación/desactivación del circuito H–27 . . . . . . . . . . . . . . . . . . . . . .
  • 24.
    Manual de referenciadel juego de instrucción xxii
  • 25.
    Prefacio P-1 Prefacio Lea este prefaciopara familiarizarse con el resto del manual. Proporciona información acerca de: • quién debe usar este manual • el propósito de este manual • las convenciones usadas en este manual
  • 26.
    Juego de instruccionesdel manual de referencia P-2 Quién debe usar este manual Use este manual si es responsable del diseño, instalación, programación o localización y corrección de fallos los sistemas de control que emplean los pequeños controladores de lógica de Allen-Bradley. Debe poseer un entendimiento básico de los productos SLC 500t. Si no lo tiene, póngase en contacto con su representante local Allen-Bradley para obtener la instrucción técnica correcta antes de usar este producto. Propósito de este manual Este manual constituye una guía de referencia de los procesadores SLC 500 y los controladores MicoLogix 1000. Este manual: • proporciona el archivo de estado • proporciona las instrucciones usadas en sus programas de lógica de escalera • suplementa la ayuda en línea disponible en el terminal
  • 27.
    Prefacio P-3 Contenido de estemanual )! *)! # ')'5*!+ !*+)! 0 #% *+ $%,# $!3% !% # ),' #+)* ') (, *! ) # $%,# %*+),!%* 2*!* *)! 5$ ,*) #* !%*+),!%* #5! *#) ') ,%!%* )$'#1 )#3* %+ 0 +$')!1!5% %*+),!%* $')!5% *)! #* !%*+),!%* $')!5% #* ,#* # ')$!+% $')) #* -#)* +* %*+),!%* $+$2+!* *)! #* !%*+),!%* $+$2+!* (, # ')$!+% )#!1) ')!%* 2#,# 0 $+$2+!* % '#)* !%!-!,#* %*+),!%* $% +* *)! 5$ )#!1) #* !%*+),!%* $% +* !%#,0% #* !%*+),!%* $-) 0 #5!* !%*+),!%* 0 %*+),!%* #, '))$ *)! #* !%*+),!%* #5! *#) (, +% # #, 0 ,!5% # '))$ %*+),!%* '#!!5% *'4! *)! #* !%*+),!%* *!* % # *'#1$!%+ !+ *,%!) 0 5$ ,*) #* !%*+),!%* # %+) #+ -#! *)! #* ,+) $* # !%*+),!5% #+ -#! 0 *,* !%*+),!%* *!* %*+),!%* $,%!!5% *)! # !%*+),!5% $,%!!5% $%* *)-!! 0 *,* ')2$+)* *!* %*+),!5% *)! # %'+ ,!5% ')2$+)* *!* 0 )$+ # #(, %+)# ') #* ')*)*   0  %*+),!%* *)! #* !%*+),!%* 0 *,* ,** *)!'!5% #* ),+!%* !%+)),'!5% *)! #* !%+)),'!%* +$')!1* *#!%#* # !%+)),'!5% %+) !*)+ !%+)),'!%* 0 *,* ')2$+)* *!* *)!'!5% #* ')+#* $,%!!5% /'#! #* +!'* !)%+* ')+#* $,%!!5% ,** % #* ')*)* #!1!5% 0 ))!5% ##* /'#! 5$ # !%+)')+) 0 ))!) ')#$* % # *+.) 0 ')*)
  • 28.
    Preface Juego de instruccionesdel manual de referencia P-4 Capítulo Título Contenido 0$ ' +% ()% %$)'%%' '%% , (' %( %( #-%'( - #$%'( $%'# 1$ $1() #%%( '%(%' ) #%( (/$ +% ( * %( - ' %$( $%% ( ()# ' %( %$)'%%'( '%% , 0$ ' +% ()% (' %( %( #-%'( - #$%'( $%'# 1$ $1() #%%( '%(%' ) #%( (/$ )(( * % - ' %$( $%% ( ()# ' %( '%(%'( 0$ #%( !* 1$ $()'* %$( - *(% ##%' '%%' %$ ##%' *(*' % - ) #%( !* 1$ $()'* 1$ # 0$ (' 1#% () #' *(% )%) ##%' *$ ( ()# 0$ 1#% *' ) #% (/$ '%%' %$ )$ $)''* 1$ $%'# 1$ ) #% (% - %!( /*% ' () #' %( ) #%( (/$ 0$ '$ ( $()'* 1$ '%'# 1$ '%%' %$ *$ () $()'* %$( %$ (*( '/#)'%( - ) %( ' +% +/ %( 0$ '$ . 1$ - ' %$# $)% ' +% )%( '%%' %$ )( ' ' +%( )%( '$% %( %'#)%( ' +% - 1#% '' - # $' )%( 0$ ()#( $*#0' %( (' %( ( ()#( $*#' 1$ , # $' - # #/( %'#)% *$)% %# %)$) 0$ '%'#( !#% 1$ '%%' %$ !#%( %$( +$.( ' $()'* %$( %$)%' ) +% (*$ %' - (.# $)% )
  • 29.
    Prefacio P-5 Documentación asociada Los documentossiguientes contienen información adicional acerca de los productos SLC de Allen-Bradley. Para obtener un ejemplar, póngase en contacto con su oficina o distribuidor local de Allen-Bradley. Para obtener Lea este documento Una descripción general de la familia de productos SLC 500 Descripción general del sistema SLC 500 Una presentación de APS para los usuarios principiantes, la cual contiene conceptos básicos con un enfoque en tareas y ejercicios sencillos, y que permite al lector comenzar a programar casi inmediatamente. Comienzo rápido de APS para usuarios principiantes Una manual de procedimientos y referencia para el personal técnico que usa la utilidad de importación/ exportación APS para convertir los archivos APS a ASCII y, a su vez, de ASCII a archivos APS Manual de usuario de importación/exportación APS Una guía de instrucción técnica y referencia rápida de APS Guía de referencia rápida del programaĆ dor de software SLC 500, no. de publicación ABTĆ1747ĆTSJ50ESĊ disponible en PASSPORT al precio de US$50.00 Una guía de procedimientos comunes usadas en APS Guía de procedimientos comunes del software SLC 500, no. de publicación ABTĆ1747ĆTSJ50ESĊdisponible en PASSPORT al precio de $50.00 Un manual de procedimientos para el personal técnico que usa APS para desarrollar aplicaciones de control Manual del usuario del software de programación avanzada (APS) de Rockwell Una descripción de cómo instalar y usar su controlador programable SLC 500 Manual de instalación y operación para controladores programables de tipo con hardware fijo, no. de catálogo 1747ĆNM001 Una descripción de cómo instalar y usar su controlador programable SLC 500 Manual de instalación y operación para controladores programables de tipo con hardware modular, no. de publicación 1747Ć6.2ES Una descripción de cómo instalar y usar sus controladores MicroLogix 1000. Este manual también contiene datos de archivo de estado e información del juego de instrucciones para los microcontroladores Manual del usuario de controladores MicroLogix 1000, no. de publicación 1761Ć6.3ES Una lista completa de documentación actual de AllenĆBradley, incluyendo instrucciones de pedido. También indica la disponibilidad de los documentos en CDĆROM o multilingües AllenĆBradley Publication Index, no. de publicación SD499 Un glosario de términos y abreviaturas de la automatización industrial Glosario de automatización industrial AllenĆBradley, no. de publicación AGĆ7.1ES
  • 30.
    Preface Juego de instruccionesdel manual de referencia P-6 Técnicas comunes usadas en este manual Las convenciones siguientes se usan en todo este manual: • Las listas con viñetas proporcionan información, no pasos de procedimento. • Las listas numeradas proporcionan pasos secuenciales o información de jerarquía. • El texto que aperece en estos caracteres indica palabras o frases que usted debe escribir. • El texto itálico se usa para destacar. • Los nombres de las teclas corresponden a los nombres indicados y aparecen en letras negritas y mayúsculas dentro de corchetes (por ejemplo, [ENTER]). Un icono de la tecla de función corresponde a el nombre de la tecla de función que debe presionar, tal como CONFIG OFFLINE CONFIG SAVE EXIT F8 . La tabla siguiente resume las convenciones usadas para diferenciar entre las posiciones del interruptor de llave SLC 5/03 y SLC 5/40, los modos del procesador y la presentación en pantalla real en la línea de estado de APS. Referencias de la posición del interruptor de llave Referencias al modo de procesador Referencias a la línea de estado
  • 31.
    Instrucciones básicas 1–1 1 Instruccionesbásicas Este capítulo contiene información general acerca de las instrucciones generales y explica cómo funcionan en su programa de aplicación. Cada una de estas instrucciones básicas incluye información acerca de: • cómo aparecen los símbolos de instrucción • cómo usar la instrucción Además, la última sección contiene un ejemplo de aplicación para una perforadora de papel que muestra las instrucciones básicas en uso. Instrucciones de bit Instrucción Propósito Página Mnemónico Nombre Propósito Página XIC ! 1-9 XIO ! 1-9 OTE 1-10 OTL y OTU ! ! ! ! ! 1-11 OSR # 1-12
  • 32.
    Preface Manual de referenciadel juego de instrucciones 1–2 Instrucciones del temporizador/contador Instrucción Propósito Página Mnemónico Nombre Propósito Página TON ! # # 1-18 TOF ! # # 1-19 RTO ! $ # $ # # 1-21 CTU # # # 1-26 CTD # # # 1-28 HSC 1-29 RES ! ! 1-34 Acerca de las instrucciones básicas Estas instrucciones, cuando se usan en programas de escalera, representan circuitos de lógica cableados usados para el control de una máquina o equipo. Las instrucciones básicas se dividen en tres grupos: bit, temporizador y contador. Antes de aprender acerca de las instrucciones en cada uno de estos grupos, le recomendamos que lea la descripción general que precede dicho grupo: • Descripción general de las instrucciones de bit • Descripción general de las instrucciones de temporizador • Descripción general de las instrucciones de contador
  • 33.
    Instrucciones básicas 1–3 Descripción generalde las instrucciones de bit Estas instrucciones operan en un solo bit de datos. Durante la operación, el procesador puede establecer o restablecer el bit, según la continuidad lógica de los renglones de escalera. Puede direccionar un bit tantas veces como requiera su programa. Nota No se recomienda usar la misma dirección con instrucciones de salida múltiples. Las instrucciones de bit se usan con los archivos de datos siguientes: Archivos de datos de salida y entrada (archivos O:0 e I:1) Estos representan salidas y entradas externas. Los bits en archivo 1 se usan para representar las entradas externas. En la mayoría de los casos, una sola palabra de 16 bits en estos archivos corresponderá a una ubicación de ranura en su controlador con los números de bit correspondientes a números de terminal de entrada o salida. Los bits de la palabra no usados no están disponibles para su uso. La tabla a continuación explica el formato de direccionamiento para salidas y entradas. Anote que el formato especifica e como el número de ranura y s como el número de palabra. Cuando trabaje con instrucciones de archivo, haga referencia al elemento como e.s (ranura y palabra) tomados juntos. Formato Explicación O I $ : !$ ! O:e.s/b e .$! $ '$ '$ ) ' - ,$ $$ %% % -'! $!%!$ % $ '$% !%$!$% %! $ '$% '$% % % ' +(! I:e.s/b . !$ $ #'$! %-! % % %$! ' .$! $ %. ! ! ! '- s .$! $ #'$! % .$! $% ! %% ( $ $ '$ ! / $ ! *$% %% $% .% / !$ b .$! $ $% / % /
  • 34.
    Preface Manual de referenciadel juego de instrucciones 1–4 Ejemplos (aplicables al controlador ilustrado en página FĆ12): O:3/15 Salida 15, ranura 3 O:5/0 Salida 0, ranura 5 O:10/11 Salida 11, ranura 10 I:7/8 Entrada 8, ranura 7 I:2.1/3 Entrada 3, ranura 2, palabra 1 Direcciones de palabra: O:5 Palabra de salida 0, ranura 5 O:5.1 Palabra de salida 1, ranura 5 I:8 Palabra de entrada, ranura 8 Valores predeterminados: Su dispositivo de programación mostrará una dirección de una manera más formal. Por ejemplo, cuando asigna la dirección O:5/0, el dispositivo de programación la mostrará como O:5.0/0 (archivo de salida, ranura 5, palabra 0, terminal 0). Archivo de estado (archivo S2:) No puede añadir ni eliminar elementos del archivo de estado. El archivo de estado del controlador MicroLogix 1000 se explica en apéndice A y el archivo de estado del procesador SLC 500 se explica en apéndice B. Puede direccionar varios bits y palabras según lo siguiente: Formato Explicación S Archivo de estado : Delimitador de elemento S:e/b e Número de elemento Rangos de 0Ć15 en un controlador fijo o SLC 5/01, 0Ć32 en un procesador SLC 5/02, 0Ć83 en un SLC 5/03 OS300, 0-96 en un SLC 5/03 OS301 y posterior y 5/04 OS400 y 0Ć164 en un SLC 5/04. Estos son elementos de 1 palabra. 16 bits por cada elemento / Delimitador de bit b Número de bit Ubicación del bit dentro del elemento. Rangos de 0Ć15. Ejemplos: S:1/15 Elemento 1, bit 15. Este es el bit de primer paso que puede usar para iniciar instrucciones en su programa. S:3 Elemento 3. El byte inferior de este elemento es el tiempo de escán actual. El byte superior es el tiempo de escán de control (watchdog).
  • 35.
    Instrucciones básicas 1–5 Archivo dedatos de bit (B3:) El archivo 3 constituye el archivo de bit, usado principalmente para instrucciones de bit (lógica de relé), registros de desplazamiento y secuenciadores. El tamaño máximo del archivo es 256 elementos de 1 palabra, un total de 4096 bits. Puede direccionar los bits especificando el número de elemento (0 a 255) y el número de bit (0 a 15) dentro del elemento. También puede direccionar los bits numerándolos secuencialmente, 0 a 4095. Además, puede direccionar los elementos de este archivo. Formato Explicación Ejemplos B !% # # Bf:e/b f (! !% (! !% !#! (! !% #! ) $ $! ! $! # B3:3/14 # # : #! # e (! # ) # # ! # ! # B3:252/00 # # / #! # b (! # ' # #! # ) B3:9 # ) # Formato Explicación Ejemplos Bf/b B f / # #!! # #!! # #!! B3/62 # b (! # ' $! # #! !% ) B3/4032 # Archivos de datos de temporizador y contador (T4: y C5:) Vea las páginas 1–16 y 1–24 respectivamente para obtener los formatos de direccionamiento.
  • 36.
    Preface Manual de referenciadel juego de instrucciones 1–6 Archivo de datos de control (R6:) Estas instrucciones usan varios bits de control. Estos son elementos de 3 palabras usados con desplazamiento de bit, FIFO, LIFO, instrucciones de secuenciador e instrucciones ASCII ABL, ACB, AHL, ARD, ARL, AWA y AWT. La palabra 0 es la palabra de estado, la palabra 1 indica la longitud de datos almacenados y la palabra 2 indica la posición. Esto se muestra en la figura siguiente. En el elemento de control hay ocho bits de estado y un byte de código de error. Un controlador fijo y un elemento de control SLC 5/01 tienen seis bits. Los bits EU y EM no son usados por el procesador. 0 1 2 Pal. /.)+45 ' #22'),/ ' $+4 / #2%*+6/ .+%#/2 ' $+4 / 0/3+%+:. Elemento de control Bits direccionables Palabras direccionables #$+,+4#%+:. #$+,+4#%+:. ' '3%#2)# ('%45#/ /.)+45 /3+%+:. :+)/ ' '22/2 +,# 6#%9# 22/2 '3%#2)# '30,#8#-+'.4/ ' $+4 3/,#-'.4' .*+$+%+:. .%/.42#/ 3/,#-'.4' 34' '3 ', $+4 ' -#2%*# ! $+4 0#2# +.3425%%+/.'3 , %:+)/ ' '22/2 3' -5'342# '. 7 ./ '3 +2'%%+/.#$,' Asigne direcciones de control según lo siguiente: Formato Explicación R 2%*+6/ ' %/.42/, Rf:e f ;-'2/ ' #2%*+6/ ;-'2/ '3 ', #2%*+6/ 02''4'2-+.#/ ' 05'' 53#2 5. .;-'2/ ' #2%*+6/ '.42' 3' 05'' 53#2 3+ 3' 2'15+'2' #,-#%'.#-+'.4/ #+%+/.#, : ',+-+4#/2 ' ','-'.4/ e ;-'2/ ' ','-'.4/ #.)/3 ' 34/3 3/. ','-'.4/3 ' 0#,#$2#3 '# ,# (+)52# #.4'2+/2
  • 37.
    Instrucciones básicas 1–7 Ejemplo: R6:2 Rf:e.s/b Rf:e . s / b R6:2/15 ! R6:2/EN ! R6:2/14 ! R6:2/EU ! R6:2/13 ! R6:2/DN R6:2/12 ! R6:2/EM R6:2/11 ! R6:2/ER R6:2/10 ! R6:2/UL R6:2/9 ! R6:2/IN ! R6:2/8 ! R6:2/FD R6:2.1 ! R6:2.LEN R6:2.2 ! R6:2.POS ! R6:2.1/0 R6:2.2/0 Archivo de datos enteros (N7:) Use estas direcciones (al nivel de bit) según las requiera su programa. Estos son elementos de 1 palabra direccionables al nivel de elemento y bit.
  • 38.
    Preface Manual de referenciadel juego de instrucciones 1–8 Asigne las direcciones de enteros según lo siguiente: Formato Explicación N $# Nf:e/b f ( ( # $ ( $ ) # % %# # # !% $ : $ $ e ( $ # ) #$# # $# $# $ / $ $ b ( $ ' $ $ $ # ) Ejemplos: N7:2 $ $# N7:2/8 $ $ $# N10:36 $ $# # % $# %#%
  • 39.
    Instrucciones básicas 1–9 Examine sicerrado (XIC) Use la instrucción XIC en su programa de escalera para determinar si un bit está activado. Cuando la instrucción se ejecuta, si la dirección de bit está activada (1), entonces la instrucción es evaluada como verdadera. Cuando la instrucción se ejecuta, si el bit direccionado está desactivado (0), entonces la instrucción evaluada como falsa. Estado de dirección de bit Instrucción XIC Ejemplos de dispositivos que se activan o desactivan incluyen: • un botón pulsador cableado a una entrada (direccionado como I:0/4) • una salida cableada a una luz piloto (direccionada como O:0/2) • un temporizador que controla una luz (direccionado como T4:3/DN) Examine si abierto (XIO) Use una instrucción XIO en su programa de escalera para determinar si un bit está desactivado. Cuando la instrucción se ejecuta, si el bit direccionado está desactivado (0), entonces la instrucción es evaluada como verdadera. Cuando la instrucción se ejecuta, si el bit direccionado está activado (1), entonces la instrucción es evaluada como falsa. Estado de dirección de bit Instrucción XIO Ejemplos de dispositivos que se activan o desactivan incluyen: • sobrecarga del motor normalmente cerrada (N.C.) cableada a una entrada (I:O/10) • una salida cableada a una luz piloto (direccionada como O:0/4) • un temporizador que controla una luz (direccionado como T4:3/DN) 3 3 3 3 3 3 ] [ 3 3 3 3 3 3 ]/[
  • 40.
    Manual de referenciadel juego de instrucciones 1–10 Active la salida (OTE) Use una instrucción OTE en su programa de escalera para activar/desactivar un bit cuando las condiciones de renglón son evaluada como verdaderas/falsas respectivamente. Un ejemplo de un dispositivo que se activa y desactiva es una salida cableada a una luz piloto (direccionada como O:0/4). Las instrucciones OTE se restablecen cuando: • Entra o regresa al modo de marcha REM o prueba REM o cuando se restaura la alimentación eléctrica. • El OTE se programa dentro de una zona de restablecimiento de control maestro (MCR) inactiva o falsa. Nota Un bit que está establecido dentro de una subrutina usando una instrucción OTE permanece establecido hasta que la subrutina se escanee nuevamente. 3 3 3 3 3 3 ( )
  • 41.
    Instrucciones básicas 1–11 Enclavamiento desalida (OTL) y desenclavamiento de salida (OTU) OTL y OTU son instrucciones de salida retentivas. OTL sólo puede activar un bit, en cambio, OTU sólo puede desactivar un bit. Estas instrucciones se usan generalmente en parejas, con ambas instrucciones direccionando el mismo bit. Su programa puede examinar un bit controlador por instrucciones OTL y OTU tantas veces como sea necesariol. Bajo las condiciones de error irrecuperable, las salidas físicas se desactivan. Una vez corregidas las condiciones de error, el controlador reanuda la operación usando el valor de la tabla de datos de la operación. Cómo usar OTL Cuando asigna una dirección a la instrucción OTL que corresponde a la dirección de una salida física, el dispositivo de salida cableado a este terminal de tornillo está activado cuando el bit está establecido (activado o habilitado). Cuando las condiciones de renglón se convierten en falsas (después de ser verdaderas), el bit permanece establecido y el dispositivo de salida correspondiente permanece activado. Una vez habilitada, la instrucción de enclavamiento indica al controlador que active el bit direccionado. Desde ese momento en adelante, el bit permanece activado, pese a la condición del renglón, hasta que el bit esté desactivado (típicamente por una instrucción OTU en otro renglón). Cómo usar OTU Cuando asigna una dirección a la instrucción OTU que corresponde a la dirección de una salida física, el dispositivo de salida cableado a este terminal de tornillo está desactivado cuando el bit está restablecido (desactivado o inhabilitado). La instrucción de desenclavamiento indica al controlador que desactive el bit direccionado. Desde ese momento en adelante, el bit permanece desactivado, pese a la condición del renglón, hasta que esté activado (típicamente por una instrucción OTL en otro renglón). 3 3 3 3 3 3 (L) (U)
  • 42.
    Manual de referenciadel juego de instrucciones 1–12 One–Shot Rising (OSR) La instrucción OSR es una instrucción de entrada retentiva que ocasiona un evento durante una sola vez. Use la instrucción OSR cuando un evento debe comenzar basado en el cambio de estado del renglón de falso a verdadero. Cuando las condiciones de renglón precedentes de la instrucción OSR van de falsas a verdaderas, la instrucción OSR será verdadera durante un escán. Después de completarse un escán, la instrucción OSR se hace falsa, aun cuando las condiciones de renglón precedentes permanecen verdaderas. La instrucción OSR sólo volverá a hacerse verdadera si las condiciones de renglón precedentes efectúan una transición de falso a verdadero. El controlador le permite usar una instrucción OSR por cada salida en un renglón. Cómo introducir parámetros La dirección asignada a la instrucción OSR no es la dirección de ONE–SHOT mencionada por su programa, ni indica el estado de la instrucción OSR. Esta dirección permite que la instrucción OSR recuerde su estado de renglón anterior. Use una dirección de bit desde el archivo de datos del bit o enteros. El bit direccionado está establecido (1) durante un escán cuando las condiciones de renglón precedentes de la instrucción OSR son verdaderas (aun cuando la instrucción OSR se hace falsa); el bit está restablecido (0) cuando las condiciones de renglón precedentes de la instrucción OSR se hacen falsas. Nota La dirección de bit que usa para esta instrucción debe ser única. No la use en otros lugares del programa. No use una dirección de entrada o salida para programar el parámetro de dirección de la instrucción OSR. Ejemplos Los renglones siguientes ilustran el uso de las instrucciones OSR. Los cuatro primeros renglones se aplican a los procesadores SLC 500 y SLC 5/01. El quinto renglón abarca la bifurcación de salida y se aplica a los procesadores SLC 5/02, SLC 5/03 y SLC 5/04 y controladores MicroLogix 1000. 3 3 3 3 3 3 [OSR]
  • 43.
    Instrucciones básicas 1–13 TOD TO BCD SourceTf:0.ACC Dest O:3 ! # Procesadores SLC 600 y SLC 50/1 ] [ I:1.0 0 [OSR] B3 0 ( ) O:3.0 0 ] [ I:1.0 0 [OSR] B3 0 ! $ ! ! ] [ I:1.0 0 [OSR] B3 0 ( ) O:3.0 0 ] [ I:1.0 0 [OSR] B3 0 ( ) O:3.0 1 ( ) O:3.0 0 ( ) O:3.0 1 Uso de una instrucción OSR en una bifurcación (Procesadores SLC 500 y SLC 5/01) ! ! Los procesadores SLC 500 y SLC 5/01 le permiten usar una instrucción OSR por cada renglón.
  • 44.
    Preface Manual de referenciadel juego de instrucciones 1–14 Cuando use un procesador SLC 500 ó SLC 5/01, no ubique condiciones de entrada después de la instrucción OSR en un renglón. Puede ocurrir una operación inesperada. ( ) O:3.0 0 ]/[ B3 1 [OSR] B3 3 ( ) O:3.0 1 ] [ B3 2 ] [ I:1.0 0 [OSR] B3 0 Procesadores SLC 5/02, SLC 5/03 y LSC 5/04 y controladores MicroLogix 1000 Los procesadores SLC 5/02, SLC 5/03 y SLC 5/04 y controladores MicroLogix 1000 le permiten usar una instrucción OSR por cada salida en un renglón.
  • 45.
    Instrucciones básicas 1–15 Descripción generalde las instrucciones de temporizador Cada dirección de temporizador se compone de un elemento de 3 palabras. Palabra 0 es la palabra de control, palabra 1 almacena el valor preseleccionado y palabra 2 almacena el valor acumulado. EN TT DN Uso interno 15 14 13 Valor preseleccionado Valor de acumulador Pal. 0 Pal. 1 Pal. 2 Bits direccionables Palabras direccionables # #' # !%' #! # #$ ! ! ! $$ # # $# $ #! ! Cómo introducir parámetros Valor del acumulador (.ACC) Este es el tiempo transcurrido desde el último restablecimiento del temporizador. Cuando está habilitado, el temporizador lo actualiza constantemente. Valor preseleccionado (.PRE) Especifica el valor que el temporizador debe alcanzar antes de que el controlador establezca el bit de efectuado. Cuando el valor acumulado sea igual o mayor que el valor preseleccionado, el bit de efectuado estará establecido. Puede usar este bit para controlar un dispositivo de salida. Los valores preseleccionados y acumulados para temporizadores tienen un rango desde 0 hasta +32,767. Si el valor preseleccionado o acumulador de temporizador es un número negativo, ocurre un error de tiempo de ejecución. Base de tiempo La base de tiempo determina la duración de cada intervalo de base de tiempo. Para los procesadores fijos y SLC 5/02, la base de tiempo ha sido establecido a 0.01 segundo. Para los procesadores SLC 5/02, SLC 5/03, SLC 5/04 y los controladores MicroLogix 1000, la base de tiempo es seleccionable como 0.01 (10 ms) segundo ó 1.0 segundo.
  • 46.
    Preface Manual de referenciadel juego de instrucciones 1–16 Precisión del temporizador La precisión del temporizador se refiere al tiempo transcurrido entre el momento en que una instrucción de temporizador está habilitada y el momento en que el intervalo temporizado se ha completado. La inexactitud causada por el escán de programa puede ser mayor que la base de tiempo del temporizador. También debe considerar el tiempo necesario para activar el dispositivo de salida. La precisión de temporización es ± 0.01 a +0 segundos, con un escán de programa de hasta 2.5 segundos. El temporizador de 1 segundo mantiene la precisión con un escán de programa de hasta 1.5 segundos. Si sus programas pueden exceder 1.5 ó 2.5 segundos, repita el renglón de instrucción del temporizador para que el renglón sea escaneado dentro de estos límites. Nota La temporización podría resultar inexacta si las instrucciones de salto (JMP), etiqueta (LBL), salto a subrutina (JSR) o subrutina (SBR) saltan el renglón que contiene una instrucción de temporizador mientras que el temporizador esté temporizando. Si la duración de salto es menor de 2.5 segundos, no se pierde ningún tiempo; si la duración de salto excede 2.5 segundos, ocurre un error de temporización no detectable. Cuando se usan subrutinas, es necesario que un temporizador esté ejecutado a un mínimo de cada 2.5 segundos para evitar un error de temporización. Estructura de direccionamiento Direccione bits y palabras usando el formato Tf:e.s/b Explicación T !% # !'! f )! !% ! !! )! !#!* $ $! $ )! #! * ! # ) )! !% %( ! #!! ! : #! # e )! # # # ! ! !! ! * ! #!! ! ! * # ! $# #! # #
  • 47.
    Instrucciones básicas 1–17 Ejemplos dedireccionamiento • T4:0/15 ó T4:0/EN Bit de habilitación • T4:0/14 ó T4:0/TT Bit de temporización del temporizador • T4:0/13 ó T4:0/DN Bit de efectuado • T4:0.1 ó T4:0.PRE Valor preseleccionado del temporizador • T4:0.2 ó T4:0.ACC Valor acumulado del temporizador • T4:0.1/0 ó T4:0.PRE/0 Bit 0 del valor preseleccionado • T4:0.2/0 ó T4:0.ACC/0 Bit 0 del valor acumulado
  • 48.
    Preface Manual de referenciadel juego de instrucciones 1–18 Temporizador a la conexión (TON) Use la instrucción TON para activar o desactivar una salida después de que el temporizador haya estado activado durante un intervalo de tiempo preseleccionado. La instrucción TON comienza a contar los intervalos de la base de tiempo cuando las condiciones de renglón se hacen verdaderas. Con tal que las condiciones de renglón permanezcan verdaderas, el temporizador ajusta su valor acumulado (ACC) durante cada evaluación hasta alcanzar el vazor predeterminado (PRE). Cuando las condiciones de renglón se hacen falsas, el valor acumulado se reinicializa sin importar si el temporizador ha sobrepasado el límite de tiempo. Uso de los bits de estado Este bit Se establece cuando Y permanece establecido hasta ocurrir uno de los siguientes eventos Bit de efectuado del temporizador DN ! # $ # ' Bit de temporización del temporizador TT ! ' # $ # # ' ! ! ! ! Bit de habilitación del temporizador EN ! ' # ' Cuando el procesador cambia del modo de marcha REM o prueba REM al modo de programa REM o la alimentación eléctrica del usuario se pierde durante la tempori- zación de la instrucción, pero no ha alcanzado su valor preseleccionado, ocurre lo siguiente: • El bit de habilitación del temporizador (EN) permanece establecido. • El bit de temporización del temporizador (TT) permanece establecido. • El valor acumulado (ACC) permanece sin cambio. Se puede ocurrir lo siguiente al regresar al modo de marcha REM o prueba REM: Condición Resultado ' # ! ! ! ! # !% ! ' ! !% ! ! !% ! # !% ! 3 3 3 3 3 3 (EN) (DN) TON TIMER ON DELAY Timer T4:0 Time Base 0.01 Preset 120 Accum 0 !'
  • 49.
    Instrucciones básicas 1–19 Temporizador ala desconexión (TOF) Use la instrucción TOF para activar o desactivar una salida después de que su renglón ha estado desactivado durante un intervalo de tiempo preseleccionado. La instrucción TOF comienza a contar los intervalos de la base de tiempo cuando el renglón efectúa una transición de verdadero a falso. Con tal que las condiciones permanezcan falsas, el temporizador incrementa su valor acumulado (ACC) durante cada escán hasta alcanzar el valor preseleccionado (PRE). El valor acumulado se restablecerá cuando las condiciones de renglón se hagan verdaderas, sin importar si el tiempo en el temporizador se ha agotado. Uso de los bits de estado Este bit Se establece cuando Y permanece establecido hasta ocurrir uno de los siguientes eventos Bit de efectuado del temporizador DN Bit de temporización del temporizador TT Bit de habilitación del temporizador EN Cuando la operación del procesador cambia del modo de marcha REM o prueba REM al modo de programa REM o cuando se pierde la alimentación eléctrica del usuario durante la temporización de una instrucción de retardo con temporizador desactivado, pero no ha alcanzado su valor preseleccionado, ocurre lo siguiente: • El bit de habilitación del temporizador (EN) permanece establecido. • El bit de temporización del temporizador (TT) permanece establecido. • El bit de efectuado del temporizador (DN) permanece establecido. • El valor acumulado (ACC) permanece sin cambio. 3 3 3 3 3 3 (EN) (DN) TOF TIMER OFF DELAY Timer T4:1 Time Base 0.01 Preset 120 Accum 0
  • 50.
    Preface Manual de referenciadel juego de instrucciones 1–20 Se puede ocurrir lo siguiente al regresar al modo de marcha REM o prueba REM: Condición Resultado La instrucción de restablecimiento (RES) no se puede usar con las instrucciones TOF porque RES siempre pone a cero los bits de estado así como el valor acumulado. (Vea la página 1-34.) Nota El TOF temporiza dentro de una pareja MCR inactiva.
  • 51.
    Instrucciones básicas 1–21 Temporizador retentivo(RTO) Use la instrucción RTO para activar o desactivar una salida después que el temporizador haya estado desactivado durante un intervalo de tiempo preseleccionado. La instrucción RTO es una instrucción retentiva que comienza a contar los intervalos de base de tiempo cuando las condiciones de renglón se hacen verdaderas. La instrucción RTO retiene su valor acumulado cuando ocurre cualquiera de los eventos siguientes: • Las condiciones de renglón se hacen falsas. • Cambia la operación del procesador del modo de marcha REM o prueba REM al modo de programa REM. • Se corta la alimentación eléctrica del procesador (siempre que se mantenga una batería auxiliar). • Ocurre un fallo. Cuando regresa el procesador al modo de marcha REM o prueba REM y/o las condiciones de renglón se hacen verdaderas, la temporización continúa desde el valor acumulado retenido. Los temporizadores retentivos miden el período acumulativo durante el cual las condiciones de renglón son verdaderas mediante la retención de su valor acumulado. Uso de los bits de estado Este bit Se establece cuando Y permanece establecido hasta ocurrir uno de los siguientes eventos Bit de efectuado del temporizador DN Bit de temporización del temporizador TT Bit de habilitación del temporizador EN Nota Para restablecer el valor acumulado del temporizador retentivo y los bits de estado después de que el renglón RTO se hace falso, debe programar una instrucción de restablecimiento (RES) con la misma dirección en otro renglón. 3 3 3 3 3 3 (EN) (DN) RTO RETENTIVE TIMER ON Timer T4:2 Time Base 0.01 Preset 120 Accum 0
  • 52.
    Preface Manual de referenciadel juego de instrucciones 1–22 Cuando el procesador cambia del modo de marcha REM o prueba REM al modo de programa REM o fallo REM, o cuando se pierde la alimentación eléctrica del usuario durante la temporización del temporizador, pero todavía sin alcanzar el valor preseleccionado, ocurre lo siguiente: • El bit de habilitación (EN) del temporizador permanece establecido. • El bit de temporización (TT) del temporizador permanece establecido. • El valor acumulado (ACC) permanece sin cambio. Puede ocurrir lo siguiente al regresar al modo de marcha REM o prueba REM o cuando se restaura la alimentación eléctrica: Condición Resultado
  • 53.
    Instrucciones básicas 1–23 Uso delos contadores Elementos del archivo de datos del contador Cada dirección de contador se compone de un elemento de archivo de datos de 3 palabras. Palabra 0 es la palabra de control y contiene los bits de estado de la instrucción. Palabra 1 es el valor preseleccionado. Palabra 2 es el valor acumulado. La palabra de control para las instrucciones de contador incluye seis bits de estado, según lo indicado a continuación: CU CD DN OV UN UA Uso interno 15 14 13 12 11 10 09 08 07 06 05 04 03 02 01 00 Valor preseleccionado Valor acumulado Pal. 0 Pal. 1 Pal. 2 Bits direccionables Palabras direccionables %+ % !# %+ % # % % #$ $ %$ %% $ $ %# * $ # $ % '# ( % # ( %)+ ' # %# # $ % Para obtener información acerca de la instrucción del contador de alta velocidad del controlador MicroLogix 1000, vea el capítulo 7. Cómo introducir parámetros Valor acumulado (.ACC) Este es el número de transiciones de falso a verdadero que han ocurrido desde el último restablecimiento del contador.
  • 54.
    Preface Manual de referenciadel juego de instrucciones 1–24 Valor preseleccionado (PRE) Especifica el valor que el contador debe alcanzar antes que el controlador establezca el bit de efectuado. Cuando el valor del acumulador se hace igual o mayor que el valor preseleccionado, se establece el bit de estado efectuado. Puede usar este bit para controlar un dispositivo de salida. Los valores preseleccionados y acumulados para los contadores oscilan entre –32,768 hasta +32,767 y se almacen como enteros con signos. Los valores negativos se almacenan en forma de complemento de dos. Estructura de direccionamiento Asigne direcciones de contador usando el formato Cf:e.s/b Explicación C $ f ) # ! # # !$ # ) $ # !% %# ! $ $ ) ) ( # ! # $ # ' : $ $ e ) $ #$ # # $ # !# # ! # # # * # $ # ' # * $ ! # %$ $ $ $
  • 55.
    Instrucciones básicas 1–25 Ejemplos • C5:0/15ó C5:0/CU Bit de habilitación de conteo progresivo • C5:0/14 ó C5:0/CD Bit de habilitación de conteo regresivo • C5:0/13 ó C5:0/DN Bit de efectuado • C5:0/12 ó C5:0/OV Bit de overflow • C5:0/11 ó C5:0/UN Bit de underflow • C5:0/10 ó C5:0/UA Bit de actualización del valor acumulado (HSC en el controlador fijo solamente) • C5:0.1 ó C5:0PRE Valor preseleccionado del contador • C5:0.2 ó C5:0.ACC Valor acumulado del contador • C5:0.1/0 ó C5:0.PRE/0 Bit del valor preseleccionado • C5:0.2/0 ó C5:0.ACC/0 Bit 0 del valor acumulado
  • 56.
    Preface Manual de referenciadel juego de instrucciones 1–26 Cómo funcionan los contadores La figura siguiente muestra cómo funciona un contador. El valor del contador debe permanecer dentro del rango de ±32768 a +32767. Si el valor de conteo excede +32767 ó desciende a menos de ±32768, se establece un bit de overflow (OV) o underflow (UN) de estado del contador. Un contador se puede poner a cero usando la instrucción de restablecimiento (RES). Underflow Overflow -32,768 +32,767 0 Conteo progresivo (CTU) El CTU es una instrucción que cuenta las transiciones de renglón de falso a verdadero. Las transiciones de renglón pueden ser provocadas por eventos ocurriendo en el programa (de la lógica nterna o dispositivos de campo externos) tales como piezas que pasan por un detector o que activan un interruptor de límite. Cuando las condiciones de renglón para una instrucción CTU efectúan una transición de falso a verdadero, el valor acumulado se incrementa en uno, siempre que el renglón que contiene la instrucción CTU se evalúe entre estas transiciones. La capacidad del contador para detectar transiciones de falso a verdadero depende de la velocidad (frecuencia) de la señal de entrada. Nota La duración activada y desactivada de un señal de entrada no debe ser más rápida que el tiempo de escán 2x (se entiende un ciclo de trabajo de 50%). El valor acumulado se retiene cuando las condiciones de renglón vuelven a hacerse falsas. El conteo acumulado se retiene hasta que sea puesto a cero por una instrucción de restablecimiento (RES) que tenga la misma dirección que el contador. 3 3 3 3 3 3 (CU) (DN) CTU COUNT UP Counter C5:0 Preset 120 Accum 0
  • 57.
    Instrucciones básicas 1–27 Uso delos bits de estado Este bit Se establece cuando Y permanece establecido hasta ocurrir uno de los siguientes eventos Bit de overflow de conteo progresivo OV * ,%( +#+% # ) - %$* $/ %$*$% ) ) +$*% ) !+* +$ $)*(+ .$ %$ # )# ( .$ '+ $)*(+ .$ %$*% ) (+ +$ ,%( #$%( % + '+ %$ +$ $)*(+ .$ Bit de efectuado DN * ,%( +#+% ) + % #-%( '+ ,%( () %$% ,%( +#+% ) #$%( '+ ,%( () %$% Bit de habilitación de conteo progresivo CU * ) %$ %$) ($.$ )%$ ,(() ) %$ %$) ($.$ ) $ )) ) * +$ $)*(+ .$ %$ # )# ( .$ '+ $)*(+ .$ El valor acumulado se retiene después que la instrucción CTU se hace falsa, o cuando la alimentación eléctrica se corta y luego se restaura al controlador. Además, el estado activado o desactivado de los bits de contador efectuado, overflow y underflow es retentivo. El valor acumulado y los bits de control se restablecen cuando se habilita la instrucción RES correcta. Los bits CU siempre se establecen antes de introducir los modos de marcha REM o prueba REM.
  • 58.
    Preface Manual de referenciadel juego de instrucciones 1–28 Conteo regresivo (CTD) El CTD es una instrucción que cuenta las transiciones de renglón de falso a verdadero. Las transiciones de renglón pueden ser causadas por eventos que ocurren en el programa, tales como piezas pasando por un detector o accionando un final de carrera. Cuando las condiciones de renglón para una instrucción CTD han efectuado una transición de falo a verdadeo, el valor acumulado se disminuye en un conteo, siempre que el renglón que contiene la instrucción CTD se evalúe entre estas transiciones. Los conteos acumulados se retienen cuando las condiciones de renglón se hacen falsas nuevamente. El conteo acumulado se retiene hasta que sea puesto a cero por una instrucción de restablecimiento (RES) que tiene la misma dirección que el contador restablecido. Uso de los bits de estado Este bit Se establece cuando Y permanece establecido hasta ocurrir uno de los siguientes eventos Bit de underflow de conteo regresivo UN * ,%( +#+% # ) - %$* $/ %$*$% (() ,0 #$* ) ) +$*% +$ $)*(+ .$ %$ # )# ( .$ '+ $)*(+ .$ ) !+* %$*% ) $(#$*% #$%( % + '+ %$ +$ $)*(+ .$ Bit de efectuado DN * ,%( +#+% ) + % #-%( '+ ,%( () %$% ,%( +#+% ) #$%( '+ ,%( () %$% Bit de habilitación de conteo regresivo CD * ) %$ %$) ($.$ )%$ ,(() ) %$ %$) ($.$ ) $ )) ) * +$ $)*(+ .$ %$ # )# ( .$ '+ $)*(+ .$ El valor acumulado se retiene después de que la instrucción CTD se hace falsa, o cuando la alimentación eléctrica al controlador se corta y luego se restaura. Además, el estado activado o desactivado de los bits de contador efectuado, overflow y underflow es retentivo. El valor acumulado y los bits de control se restablecen cuando se habilita la instrucción RES correcta. Los bits CD siempre se establecen antes de introducir los modos de marcha REM o prueba REM. 3 3 3 3 3 3 (CD) (DN) CTD COUNT DOWN Counter C5:1 Preset 120 Accum 0 $)*(+ .$ )
  • 59.
    Instrucciones básicas 1–29 Contador dealta velocidad (HSC) El contador de alta velocidad constituye una variación del contador CTU. La instrucción HSC se habilita cuando la lógica de renglón es verdadera y se inhabilita cuando la lógica de renglón es falsa. Para obtener información acerca de la instrucción del contador de alta velocidad del controlador MicroLogix 1000, vea el capítulo 7. Nota La instrucción HSC cuenta transiciones que ocurren en el terminal de entrada I:0/0. La instrucción HSC no cuenta las transiciones de renglón. Habilita o inhabilita el renglón HSC para habilitar o inhabilitar el conteo de transiciones que ocurren en la terminal de entrada I:0/0. Recomendamos colocar la instrucción HSC en un renglón incondicional. No coloque la instrucción XIC con la dirección I:0/0 en serie con la instrucción HSC ya que los conteos se perderán. El HSC es una contador CTU especial para uso con los procesadores SLC fijos y SLC 5/01 de 24 VCC. Los bits de estado y valores acumulados del HSC son no retentivos. Nota Esta instrucción proporciona el conteo de alta velocidad para los controladores de E/S fijos con entradas de 24 VCC. Se permite una sola instrucción HSC por cada controlador. Para usar la instrucción, debe cortar el puente según se indica a continuación. Se recomienda un cable blindado para reducir el ruido a la entrada. Operación del contador de alta velocidad Para la operación del contador de alta velocidad, hay que realizar los pasos siguientes: 1. Desconecte la alimentación eléctrica del controlador fijo. 2. Quite el envolvente del SLC 500. 3. Localice y corte el cable del puente J2. No lo quite completamente, pero asegúrese que los extremos del cable del puente cortado no hagan contacto entre sí. 3 3 HIGH SPEED COUNTER Counter C5:0 Preset 120 Accum 0 (CU) (DN) HSC
  • 60.
    Manual de referenciadel juego de instrucciones 1–30 4. Vuelva a poner la cubierta. Nota Ahora la entrada I:0/0 funciona en modo de alta velocidad. La dirección del bit de habilitación del contador de alta velocidad es C5:0/CU. Cuando las condiciones de renglón son verdaderas, se establece C5:0/CU y se cuentan las transiciones que ocurren en la entrada I:0/0. Para comenzar el conteo de alta velocidad, cargue un valor preseleccionado en C5:0.PRE y habilite el renglón de contador. Para contar un valor preseleccionado, realice uno de los pasos siguientes: • Cambie al modo de marcha REM o prueba REM de otro modo. • Encienda el procesador en modo de marcha REM. • Restablezca el HSC usando la instrucción RES. La recarga automática ocurre cuando el HSC por sí mismo establece el bit DN a la interrupción. Cada transición de entrada que ocurre en entrada I:0/0 causa que el HSC acumulado se incremente. Cuando el valor acumulado es igual que el valor preseleccionado, se establece el bit de efectuado (C5:0/DN), el valor acumulado se pone a cero y el valor preseleccionado (C5:0.PRE) se carga en el HSC como preparación para la próxima transición de alta velocidad en la entrada I:0/0. Su programa de escalera debe consultar el bit de efectuado (C5:0/DN) para determinar el estado del HSC. Una vez que el bit de efectuado haya sido detectado como establecido, el programa de escalera debe poner a cero el bit C5:0/DN (usando la instrucción OTU de desenclavamiento) antes de que el HSC acumulado vuelva a alcanzar el valor preseleccionado; en caso contrario, el bit de overflow (C5:0/OV) se establecerá.
  • 61.
    Instrucciones básicas 1–31 El HSCes diferente que los contadores CTU y CTD. El CTU y CTD son contadores de software. El HSC es un contador de hardware y funciona asincrónicamente al escán del programa de escalera. El valor acumulado HSC (C5:0.ACC) normalmente se actualiza cada vez que el renglón HSC es evaluado en el programa de escalera. Esto significa que el valor del acumulador de hardware HSC se transfiere al acumulador de software HSC. Use solamente la instrucción OTE para transferir este valor. La instrucción HSC pone a cero inmediatamente el bit C5:0/UA a continuación de la actualización acumulada. Muchos conteos HSC pueden ocurrir entre las evaluaciones HSC, los cuales provocarían la inexactitud del bit C5:0.ACC cuando éste sea usado en un programa de escalera. Para permitir un valor acumulado HSC exacto, el bit de acumulado de actualización (C5:0/UA) causa que C5:0.ACC sea actualizado inmediatamente al estado del acumulador de harware cuando se establece. Use la instrucción RES para restablecer el contador de alta velocidad en dirección C5:0. La instrucción HSC pone a cero el bit de estado, el acumulador y carga el valor preseleccionado durante: • el encendido • entrada en el modo de marcha REM • un restablecimiento Elementos de datos del contador de alta velocidad La dirección C5:0 es el elemento de 3 palabras del contador HSC. CU CD DN OV UN UA No usado 15 14 13 12 11 10 09 08 07 06 05 04 03 02 01 00 Valor preseleccionado Valor de acumulador CU = Bit de habilitación de conteo progresivo CD = Bit de habilitación de conteo regresivo DN = Bit de efectuado OV = Bit de overflow UN = Bit de underflow UA = Actualización de acumulador (HSC solamente) Pal. 0 Pal. 1 Pal. 2
  • 62.
    Manual de referenciadel juego de instrucciones 1–32 • La palabra 0 contiene los bits de estado siguientes de la instrucción HSC: – El bit 10 (UA) actualiza la palabra de acumulador del HSC para reflejar el estado inmediato del HSC cuando es verdadero. – El bit 12 (OV) indica la ocurrencia de un overflow de HSC. – El bit 13 (DN) indica si el valor preseleccionado de HSC ha sido alcanzado. – El bit 15 (CU) muestra el estado de habilitación/inhabilitación de la instrucción HSC. • La palabra 1 contiene el valor preseleccionado que se carga en el HSC cuando se ejecuta la instrucción RES, o cuando se establece el bit de efectuado o cuando se efectúa el encendido inicial. • La palabra 2 contiene el valor del acumulador HSC. Esta palabra es actualizada cada vez que la instrucción HSC es evaluada y cuando el bit del acumulador de actualización es establecido usando una instrucción OTE. Este acumulador es de sólo lectura. Cualquier valor escrito en el acumulador resulta sobrescrito por el contador de alta velocidad durante la evaluación de instrucción, restablecimiento o introducción del modo de marcha REM. Ejemplo de aplicación En las figuras siguientes, cada uno de los renglones 1, 18 y 31 del archivo de programa principal consiste en una instrucción XIC direccionada al bit de efectuado HSC y una instrucción JSR. Estos renglones consultan el estado del bit de efectuado HSC. Cuando el bit de efectuado es establecido a cualquiera de estos puntos de encuesta, la ejecución del programa se mueve al archivo de subrutina 3, ejecutando la lógica HSC. Después de la ejecución de la lógica HSC, el bit de efectuado es puesto a cero por una instrucción de desenclavamiento y la ejecución de programa retorna al archivo de programa principal.
  • 63.
    Instrucciones básicas 1–33 Ejemplo deaplicación – Archivo 2 (consulta del bit DN en el programa principal) ] [ C5:0 DN JUMP TO SUBROUTINE 3 Rung 1 Rung 2 Rung 18 ] [ C5:0 DN Rung 17 Rung 19 Rung 30 Rung 31 Rung 32 ] [ C5:0 DN JSR JUMP TO SUBROUTINE 3 JSR JUMP TO SUBROUTINE 3 JSR ] [ ] [ ] [ ( ) ] [ ] [ ] [ ( ) ] [ ] [ ] [ ( ) ] [ ] [ ] [ ( ) ] [ ] [ ] [ ( ) Ejemplo de aplicación – Archivo 3 (ejecución de lógica HSC) RET RETURN (U) C5:0 DN ] [ Rung 1 Rung 20 Rung 21 Rung 0 ( ) ] [ ] [ ] [ ( )
  • 64.
    Preface Manual de referenciadel juego de instrucciones 1–34 Restablecimiento (RES) Use una instrucción RES para restablecer un temporizador o contador. Cuando se habilita la instrucción RES, restablece la instrucción de retardo del temporizador a la conexión (TON), temporizador retentivo (RTO), conteo progresivo (CTU) o conteo regresivo (CTD) con la misma dirección que la instrucción RES. Usando una instrucción RES para un: El procesador restablece el: #! # ! #' $ $ $ % $ ( ! Nota Si usa esta instrucción para restablecer el acumulador HSC del controlador MicroLogix 1000, vea la página 7-21. Cuando restablece un contador, si la instrucción RES está habilitada y el renglón de contador está habilitado, se pone a cero el bit CU o CD. Si el valor preseleccionado del contador es negativo, la instrucción RES establece el valor acumulado a cero. Esto, a su vez, causa que el bit de efectuado sea establecido por una instrucción de conteo regresivo o conteo progresivo. Ya que la instrucción RES restablece el valor acumulado y los bits de efectuado, temporización y habilitados, no use la instrucción RES para restablecer una dirección de temporizador usada en una instrucción TOF. En caso contrario, puede ocurrir la operación inesperada de la máquina o lesiones al personal. 3 3 3 3 3 3 (RES) ! #' !
  • 65.
    Instrucciones básicas 1–35 Instrucciones básicasdel ejemplo de aplicación de la perforadora de papel Esta sección proporciona renglones de escalera para mostrar el uso de las instrucciones básicas. Los renglones forman parte del ejemplo de aplicación de la perforadora de papel descrito en el apéndice H. Usted añadirá el programa principal en el archivo 2, además de añadir una subrutina al archivo 6. Cómo añadir archivo 2 Los renglones ilustrados en la página siguiente son definidos como la lógica de “arranque” del programa. Determinan las condiciones necesarias para arrancar la máquina monitorizando los botones pulsadores de arranque y paro. Cuando se presiona el botón pulsador de arranque, habilita al transportador a moverse e inicia la rotación de la broca. Cuando se presiona el botón pulsador de paro, inhabilita el movimiento del transportador y detiene el motor de la perforadora. La lógica de arranque también verifica la retracción completa de la perforadora (a la posición original) y el desgaste excesivo de la broca (determinado en otra parte del programa) antes de permitir el movimiento del transportador.
  • 66.
    Manual de referenciadel juego de instrucciones 1–36 Renglón 2:0 Estos renglones iniciarán el movimiento del transportador cuando se presione el botón pulsador. No obstante, hay otras condiciones que se deben cumplir antes de iniciar el transportador. Estas son: la broca debe estar en su posición completamente retraída (original) y la broca no debe sobrepasar su vida útil máxima. Estos renglones también detendrán el transportador cuando se presione el botón pulsador o cuando la vida útil de la broca haya sido excedida. | Botón |Pos. BOTON Enclav. | | ARRANQUE |orig. LS detención MARCHA | | máquina | | I:1.0 I:1.0 I:1.0 B3:0 | |–+––––] [––––––––] [–––––+––––]/[–––––––––––––––––––––––––––––––––––––( )–––––| | | 6 5 | 7 0 | | | Enclav. | | | | MARCHA | | | | máquina | | | | B3:0 | | | +––––] [––––––––––––––––+ | | 0 | Renglón 2:1 | Enclav. Motor | | MARCHA perf. ACTIV. | | máquina | | B3:0 O:3.0 | |––––] [––––––––––––––––––––––––––––––––––––––––––––––––+––––––––––––( )–––––+–| | 0 | 1 | | | | Arranque/detención| | | | transportador | | | | | | | | B3:0 O:3.0 | | | +––[OSR]–––––(L)–––––+ | | 1 0 | Renglón 2:2 Detenga el transportador si existen condiciones que desenclaven el bit de desenclavamiento de MARCHA de la máquina. | Enclav. | Conveyor | | MARCHA | Start/Stop | | máquina | | | B3:0 O:3.0 | |––––]/[–––––––––––––––––––––––––––––––––––––––––––––––––––––––––––––––(U)–––––| | 0 0 |
  • 67.
    Instrucciones básicas 1–37 Cómo añadirel archivo 6 Esta subrutina controla el movimiento ascendente y descendente de la broca para la perforadora.
  • 68.
    Manual de referenciadel juego de instrucciones 1–38 Renglón 6:0 Esta sección de la lógica de escalera controla el movimiento ascendente/descendente de la broca para la perforadora. Cuando el transportador posiciona el libro debajo de la broca, se establece el bit de INICIO DE LA SECUENCIA DE PERFORACION. Este renglón usa dicho bit para iniciar la operación de perforación. Ya que el bit es establecido para la operación de perforación completa, se requiere que el OSR pueda desactivar la señal de avance para que la perforadora se retraiga. | Inicio |Subr perf.| Avance | | sec. | OSR | perforadora| | perfor. | | | B3:2 B3:3 O:3.0 | |––––] [–––––––[OSR]–––––––––––––––––––––––––––––––––––––––––––––––––––(L)–––––| | 0 0 3 | Renglón 6:1 Cuando la broca haya perforado el libro, el cuerpo de la broca activará el final de carrera de la PROFUNDIDAD DE PERFORACION. Al ocurrir esto, se desactiva la señal de AVANCE DE LA PERFORADORA y se activa la señal de RETRACCION DE LA PERFORADORA. | Prof. Avance | | perforadora LS perforadora | | I:1.0 O:3.0 | |–+––––] [––––––––––––––––+–––––––––––––––––––––––––––––––––––––+––––(U)–––––+–| | | 4 | | 3 | | | | Primer |Posición | | Retracc. | | | | paso |orig. LS | | perforadora| | | S:1 I:1.0 | | O:3.0 | | | +––––] [––––––––]/[–––––+ +––––(L)–––––+ | | 15 5 2 | Renglón 6:2 Cuando la broca se retrae (después de efectuar una perforación), el cuerpo de la broca activará el final de carrera de POSICION ORIGINAL DE LA BROCA. Al ocurrir esto, se desactiva la señal de RETRACCION DE LA BROCA, el bit de INICIO DE LA SECUENCIA DE PERFORACION se activa para indicar el fin del proceso de perforación y el transportador vuelve a iniciarse. | Posición |Retracción Retracción | | orig. LS |perforadora perforadora | | I:1.0 O:3.0 O:3.0 | |––––] [––––––––] [––––––––––––––––––––––––––––––––––+–––––––––––––––(U)–––––+–| | 5 2 | 2 | | | | Inicio | | | | secuencia | | | | perforadora| | | | B3:2 | | | +–––––––––––––––(U)–––––+ | | | 0 | | | | Enclav. |Arranque/ | | | | MARCHA |detención | | | | máquina |transport. | | | | B3:0 O:3.0 | | | +––––] [––––––––(L)–––––+ | | 0 0 |
  • 69.
    Instrucciones de comparación 2–1 2Instrucciones de comparación Este capítulo contiene información general acerca de instrucciones de comparación y explica cómo funcionan en su programa de aplicación. Cada una de las instrucciones de comparación incluye información acerca de: • cómo debe aparecer el símbolo de instrucción • cómo usar la instrucción Además, la última sección contiene un ejemplo de aplicación para una perforadora de papel que muestra el uso de instrucciones de comparación. Instrucciones de comparación Instrucción Propósito Página Mnemónico Nombre Propósito Página EQU 2-3 NEQ 2-3 LES 2-4 LEQ 2-4 GRT 2Ć4 GEQ 2-5 MEQ 2-6 LIM 2-7
  • 70.
    Manual de referenciadel juego de instrucciones 2–2 Acerca de las instrucciones de comparación Las instrucciones de comparación se usan para probar parejas de valores para establecer condiciones de la continuidad lógica de un renglón. Como ejemplo, digamos que una instrucción LES se presenta con dos valores. Si el primer valor es menor que el segundo, la instrucción de comparación es verdadera. Para aprender más acerca de las instrucciones de comparación, le recomendamos que lea la sección Descripción general de las instrucciones de comparación, a continuación. Descripción general de las instrucciones de comparación La información general siguiente se aplica a las instrucciones de comparación. Uso de direcciones de palabra indexadas Al usar las instrucciones de comparación, tiene la opción de usar direcciones de palabra indexadas para parámetros de instrucción especificando direcciones de palabra. El direccionamiento indexado se trata en el apéndice F de este manual. Uso de direcciones de palabra indirectas Tiene la opción de usar direcciones indirectas a nivel de palabra y a nivel de bit para instrucciones especificando direcciones de palabra cuando usa los procesadores SLC 5/03 OS302 y SLC 5/04 OS401. Vea el apéndice F para obtener más información.
  • 71.
    Instrucciones de comparación 2–3 Igual(EQU) Use la instrucción EQU para probar si dos valores son iguales. Si la fuente A y la fuente B son iguales, la instrucción es lógicamente verdadera. Si estos valores no son iguales, la instrucción es lógicamente falsa. La fuente A debe ser una dirección. La fuente B puede ser una constante de programa o una dirección. Los enteros negativos se almacenan de forma complementaria de dos. No igual (NEQ) Use la instrucción NEQ para probar si dos valores no son iguales. Si la fuente A y la fuente B no son iguales, la instrucción es lógicamente verdadera. Si los dos valores son iguales, la instrucción es lógicamente falsa. La fuente A debe ser una dirección. La fuente B puede ser un constante de programa o una dirección. Los enteros negativos se almacenan de forma complementaria de dos. 3 3 3 3 3 3 EQU EQUAL Source A Source B 3 3 3 3 3 3 NEQ NOT EQUAL Source A Source B
  • 72.
    Manual de referenciadel juego de instrucciones 2–4 Menor que (LES) Use la instrucción LES para probar si un valor (fuente A) es menor que otro (fuente B). Si la fuente A es menor que el valor en la fuente B, la instrucción es lógicamente verdadera. Si el valor en la fuente A es mayor o igual que el valor en la fuente B, la instrucción es lógicamente falsa. La fuente A debe ser una dirección. La fuente B puede ser una constante de programa o una dirección. Los enteros negativos se almacenan de forma complementaria de dos. Menor o igual que (LEQ) Use la instrucción LEQ para probar si un valor (fuente A) es menor o igual que otro (fuente B). Si la fuente A es menor o igual que el valor en la fuente B, la instrucción es lógicamente verdadera. Si el valor en la fuente A es mayor que el valor en la fuente B, la instrucción es lógicamente falsa. La fuente A debe ser una dirección. La fuente B puede ser una constante de programa o una dirección. Los enteros negativos se almacenan de forma complementaria de dos. 3 3 3 3 3 3 LES LESS THAN Source A Source B 3 3 3 3 3 3 LEQ LESS THAN OR EQUAL Source A Source B
  • 73.
    Instrucciones de comparación 2–5 Mayorque (GRT) Use la instrucción GRT para probar si un valor (fuente A) es mayor que otro (fuente B). Si la fuente A es mayor que el valor en la fuente B, la instrucción es lógicamente verdadera. Si el valor en la fuente A es menor o igual que el valor en la fuente B, la instrucción es lógicamente falsa. La fuente A debe ser una dirección. La fuente B puede ser un constante de programa o una dirección. Los enteros negativos se almacenan de forma complementaria de dos. Mayor o igual que (GEQ) Use la instrucción GEQ para probar si un valor (fuente A) es mayor o igual que otro (fuente B). Si la fuente A es mayor o igual que el valor en la fuente B, la instrucción es lógicamente verdadera. Si el valor en la fuente A es menor que el valor en la fuente B, la instrucción es lógicamente falsa. La fuente A debe ser una dirección. La fuente B puede ser un constante de programa o una dirección. Los enteros negativos se almacenan de forma complementaria de dos. 3 3 3 3 3 3 GRT GREATER THAN Source A Source B 3 3 3 3 3 3 GEQ GRTR THAN OR EQUAL Source A Source B
  • 74.
    Manual de referenciadel juego de instrucciones 2–6 Comparación con máscara para igual (MEQ) Use la instrucción MEQ para comparar datos en una dirección de fuente contra datos en una dirección de comparación. El uso de esta instrucción permite que una palabra separada enmascare porciones de datos. Cómo introducir parámetros • Fuente es la dirección del valor que desea comparar. • Máscara es la dirección de la máscara mediante la cual la instrucción mueve datos. La máscara puede ser un valor hexadecimal. • Comparación es un valor de entero or la dirección de la referencia. Si los 16 bits de datos en la dirección de fuente son iguales a los 16 bits de datos en la dirección de comparación (menos los bits con máscara), la instrucción es verdadera. La instrucción se hace falsa en el momento en que detecta una desigualdad. Los bits en la palabra de máscara enmascaran los datos al restablecerse; transmiten datos al establecerse. 3 3 3 3 3 3 MEQ MASKED EQUAL Source Mask Compare
  • 75.
    Instrucciones de comparación 2–7 Pruebade límite (LIM) Use la instrucción LIM para probar los valores dentro o fuera de un rango especificado, según cómo usted haya establecido los límites. Cómo introducir parámetros Los valores de límite bajo, prueba y límite alto pueden ser direcciones de palabra o constantes restringidos a las combinaciones siguientes: • Si el parámetro de prueba es una constante de programa, los parámetros de límite bajo y límite alto deben ser direcciones de palabra. • Si el parámetro de prueba es una dirección de palabra, los parámetros de límite bajo y límite alto pueden ser una constante de programa o una dirección de palabra. Estado verdadero/falso de la instrucción Si el límite bajo tiene un valor igual o menor que el límite alto, la instrucción es verdadera cuando el valor de prueba se encuentra entre los límites o cuando es igual a cualquiera de los límites. Si el valor de prueba se encuentra fuera de los límites, la instrucción es falsa, según se indica a continuación. Ejemplo - límite bajo menor que el límite alto: Límite bajo Límite alto La instrucción es verdadera cuando el valor de prueba es La instrucción es falsa cuando el valor de prueba es Falso Verdadero Falso –32,768 Límite bajo Límite alto + 32,767 3 3 3 3 3 3 LIM LIMIT TEST Low Lim Test High Lim
  • 76.
    Preface Manual de referenciadel juego de instrucciones 2–8 Si el límite bajo tiene un valor mayor que el límite alto, la instrucción es falsa cuando el valor de prueba se encuentra entre los límites. Si el valor de prueba es igual a cualquiera de los límites o se encuentra fuera de los límites, la instrucción es verdadera, según se indica a continuación. Ejemplo - límite bajo mayor que el límite alto: Límite bajo Límite alto La instrucción es verdadera cuando el valor de prueba es La instrucción es falsa cuando el valor de prueba es Falso Verdadero Verdadero –32,768 Límite bajo Límite alto + 32,767
  • 77.
    Instrucciones de comparación 2–9 Ejemplode aplicación de instrucciones de comparación en la perforadora de papel Esta sección proporciona renglones de escalera para demostrar el uso de instrucciones de comparación. Los renglones son parte del ejemplo de aplicación de la perforadora de papel descrito en el apéndice H. Cómo iniciar una subrutina en archivo 7 Esta sección de la escalera registra las pulgadas totales de papel que ha perforado la broca actual. A medida que vaya desgastándose la broca actual, una luz se ilumina en el panel de operador (abajo) para advertirle al operador que debe cambiar la broca. -+- -)* #( )) ))( #( )) )/ #.'/# !)+ #$%( ,, $( )) #( , - ) ) ) 0,/$-#
  • 78.
    Manual de referenciadel juego de instrucciones 2–10 Renglón 7:0 Este renglón examina el número de milésimas de 1/4 pulg. que se han acumulado durante la vida útil de la broca actual. Si la broca ha perforado entre 100,000–101,999 incrementos de 1/4 pulg. de papel, la bombilla de “cambiar la broca” se ilumina constantemente. Cuando el valor es entre 102,000–103,999, la bombilla de “cambiar la broca” parpadea cada 1.28 segundos. Cuando el valor alcanza 105,000, la bombilla de “cambiar la broca” parpadea y la bombilla de “cambiar la broca ahora” se ilumina. | Milésimas 100,000 | | de 1/4 pulg. incrementos | | de 1/4 pulg. | | han | | ocurrido | | +GEQ–––––––––––––––+ B3:1 | |–––––––+–+GRTR THAN OR EQUAL+–––––––––––––––––––––––––––––––––––––––( )–––––+–| | | |Source A N7:11| 0 | | | | | 0| | | | | |Source B 100| | | | | | | | | | | +––––––––––––––––––+ | | | | Milésimas 102,000 | | | | de 1/4 pulg. incrementos | | | | de 1/4 pulg | | | | han | | | | ocurrido | | | | +GEQ–––––––––––––––+ B3:1 | | | +–+GRTR THAN OR EQUAL+–––––––––––––––––––––––––––––––––––––––( )–––––+ | | | |Source A N7:11| 1 | | | | | 0| | | | | |Source B 102| | | | | | | | | | | +––––––––––––––––––+ | | | | Milésimas cambiar la | | | | de 1/4 pulg. broca | | | | AHORA | | | | +GEQ–––––––––––––––+ O:3.0 | | | +–+GRTR THAN OR EQUAL+–––––––––––––––––––––––––––––––––––––––( )–––––+ | | | |Source A N7:11| 6 | | | | | 0| | | | | |Source B 105| | | | | | | | | | | +––––––––––––––––––+ | | | | 100,000 |102,000 cambiar | | | | incrementos|incrementos la broca | | | | de 1/4 pulg|de 1/4 pulg pronto | | | | han |han | | | | ocurrido |ocurrido | | | | B3:1 B3:1 O:3.0 | | | +–+–––––––––––––––––––––––] [––––––––]/[––––––––––––––––+––––( )–––––+ | | | 0 1 | 4 | | | 100,000 |102,000 |1.28 | | | | incrementos|increm. |segundo | | | | de 1/4 pulg|de 1/4 plg|bit de | | | | han |han |reloj de | | | | ocurridod |ocurrido |mar. libre | | | | B3:1 B3:1 S:4 | | | +–––––––––––––––––––––––] [––––––––] [––––––––] [–––––+ | | 0 1 7 |
  • 79.
    Instrucciones matemáticas 3–1 3 Instruccionesmatemáticas Este capítulo contiene información general acerca de instrucciones matemáticas y explica cómo funcionan en su programa de lógica. Cada una de las instrucciones matemáticas incluye información acerca de: • cómo aparece el símbolo de instrucción • cómo usar la instrucción Además, la última sección contiene un ejemplo de aplicación para una perforadora de papel que muestra el uso de las instrucciones matemáticas. Instrucciones matemáticas Instrucción Propósito Page Mnemónico Nombre Propósito Page ADD ! ! 3-6 SUB 3-7 MUL 3-11 DIV 3-12 DDV 3-13 CLR 3-14 SQR 3-14 SCP $ 3-15 #
  • 80.
    Preface Manual de referenciadel juego de instrucciones 3–2 Instrucción Propósito Página Mnemónico Nombre Propósito Página SCL # $# $# ! $ # ( $ %! # ' !$# # 3-18 ABS $# $ %! $# $# ' !$# # 3-24 CPT $! %* $ !) ' !$# # 3-25 SWP ! '# ' # $ *! + ! $ !% # #! 3Ć27 ASN ! # ! $ *! ' !$# ! # 3Ć28 ACS ! # ! $ *! ' !$# ! # 3-29 ATN ! ## # ! ## $ *! ' !$# ! # 3Ć29 COS # $ *! ' !+ $# # 3Ć30 LN !# #$! # !# #$! %! $# ' # 3Ć30 LOG !# # !# %! $# ' !$# # 3-31 SIN # $ *! ' !$#+ # 3-31 TAN # # ## $ *! ' !$# # 3-32 XPY # % $ %! # ' !$# # 3Ć33
  • 81.
    Instrucciones matemáticas 3–3 Acerca delas instrucciones matemáticas La mayor parte de las instrucciones toman dos valores de entrada, realizan la función matemática y colocan el resultado en un lugar de memoria asignado. Por ejemplo, las instrucciones ADD y SUB toman un par de valores de entrada, los añaden o los restan y colocan el resultado en el destino especificado. Si el resultado de la operación excede el valor permitido, un bit de overflow o underflow se establece. Para aprender más acerca de las instrucciones matemáticas, le recomendamos que lea la Descripción general de las instrucciones matemáticas que sigue. Descripción general de las instrucciones matemáticas La información general siguiente se aplica a las instrucciones matemáticas. Cómo introducir parámetros • La fuente es la(s) dirección(es) del(los) valor(es) en que se realiza una operación matemática, lógica o de movimiento. Esto puede ser direcciones de palabra o constantes de programa. Una instrucción que tiene dos operandos de fuente no aceptan constantes de programa en ambos operandos. • El destino es la dirección del resultado de la operación. Los enteros con signo se almacenan de forma complementaria de dos y se aplican a los parámetros de fuente y destino. Al usar un procesador SLC 5/03 OS301, OS302 ó un procesador SLC 5/04 OS400, OS401, se pueden usar los valores del punto (coma) flotante y de cadena (especificados al nivel de palabra). Refiérase al apéndice E para obtener tipos adicionales de direccionamiento válido. Uso de las direcciones de palabra indexadas Tiene la opción de usar direcciones de palabra indexadas para parámetros de instrucción especificando direcciones de palabra (excepto los procesadores fijos y SLC 5/01). El direccionamiento indexado se trata en el apéndice F.
  • 82.
    Preface Manual de referenciadel juego de instrucciones 3–4 Uso de las direcciones de palabra indirectas Tiene la opción de usar direcciones indirectas a nivel de palabra y a nivel de bit para instrucciones especificando direcciones de palabra cuando usa procesadores SLC 5/03 OS302 y SLC 5/04 OS401. Vea el apéndice C para obtener más información. Actualizaciones de los bits de estado aritmético Los bits de estado aritmético se encuentran en la palabra 0, bits 0–3 en el archivo de estado del controlador. Después de la ejecución de una instrucción, los bits de estado aritmético en el archivo de estado son actualizados: Con este bit: El controlador: ! ! ! ! ! ! $ % # !# # ! #( ! # ! ! # $ !#'! # ! #( $ ( # $ $ # !#'! # ! #( $ ( Bit de interrupción por overflow, S:5/0 El bit de error menor (S:5/0) se establece a la detección de un overflow matemático o división entre 0. Si este bit se establece a la ejecución de una instrucción END o una instrucción de fin temporal (TND) o una regeneración de E/S (REF), se establece el código 0020 de error mayor recuperable. En las aplicaciones donde ocurre un overflow matemático o una división entre 0, puede evitar un fallo CPU usando la instrucción de desenclavamiento (OTU) con la dirección S:5/0 en su programa. El renglón se debe encontrar entre el punto de overflow y la instrucción END, TND o REF. Cambios del registro matemático S:13 y S:14 La palabra de estado S:13 contiene la palabra de mínimo significado de los valores de 32 bits de las instrucciones MUL y DDV. Contiene el resto para las instrucciones DIV y DDV. También contiene los cuatro primeros dígitos BCD para las instrucciones de conversión desde BCD (FRD) y conversión a BCD (TOD).
  • 83.
    Instrucciones matemáticas 3–5 La palabraS:14 contiene la palabra de máximo significado para los valores de 32 bits de las instrucciones MUL y DDV. Contiene el cociente no redondeado para las instrucciones DIV y DDV. También contiene el dígito más significativo (dígito 5) para las instrucciones TOD y FRD. Uso del archivo de datos de punto (coma) flotante (F8:) Este tipo de archivo es válido para los procesadores SLC 5/03 OS301, OS302 y SLC 5/04 OS400, OS401. Estos son elementos de 2 palabras y direccionables solamente al nivel de elemento. Asigne las direcciones de punto (coma) flotante de esta manera: Formato Explicación F %) #(!' '!' Ff:e f + % %) !+ % %) #%'% ! ! !+ % %) !'% #( (% %$(% ! !' ! : '% !' e + % !' ! (! %! ' ! !' #% + % ' ! *'! Ejemplos: F8:2 !' %) #(!' '!' F10:36 !' %) #(!' '!' %) ! (! %) #(!' '!' #% ((%
  • 84.
    Preface Manual de referenciadel juego de instrucciones 3–6 Añadir (ADD) Use la instrucción ADD para añadir un valor (fuente A) a otro valor (fuente B) y coloque el resultado en el destino. Actualizaciones de bits de estado aritmético Con este bit: El procesador: Acarreo (C) se establece si el acarreo es generado; si no, se restablece (entero). Se pone a cero para el punto (coma) flotante. Overflow (V) se establece si overflow es detectado en el destino; en caso contrario, se restablece. Durante overflow, el indicador de error menor también se establece. Para el punto (coma) flotante, el valor de overflow se coloca en el destino. Para un entero, el valor -32,768 ó 32,767 se coloca en el destino. Excepción: si está usando un procesador SLC 5/02, SLC 5/03 ó SLC 5/04 o un controlador MicroLogix 1000 y tiene S:2/14 (bit de selección de overflow matemático) establecido, entonces el overflowe sin signo o y truncado permanece en el destino. Cero (Z) se establece si el resultado es cero; en caso contrario, se restablece. Signo (S) se establece si el resultado negativo; en caso contrario, se restablece. 3 3 3 3 3 3 ADD ADD Source A Source B Dest Instrucción de salida
  • 85.
    Instrucciones matemáticas 3–7 Restar (SUB) Usela instrucción SUB para restar un valor (fuente B) del otro (fuente A) y coloque el resultado en el destino. Actualizaciones de los bits de estado aritmético Con este bit: El procesador: Acarreo (C) se establece si el acarreo es generado; en caso contrario, se restablece (entero). Se pone a cero para el punto (coma) flotante. Overflow (V) se establece si es underflow; en caso contrario, se restablece. Durante underflow, el indicador de error menor también se establece. Para el punto (coma) flotante, el valor de overflow se coloca en el destino. Para un entero, el valor -32,768 ó 32,767 se coloca en el destino. Excepción: si está usando un procesador SLC 5/02, SLC 5/03 ó SLC 5/04 o un controlador MicroLogix 1000 y tiene S:2/14 (bit de selección de overflow matemático) establecido, entonces el overflower sin signo y truncado permanece en el destino. Cero (Z) se establece si el resultado es cero; en caso contrario, se restablece. Sign (S) se establece si el resultado negativo; en caso contrario, se restablece. 3 3 3 3 3 3 SUB SUBTRACT Source A Source B Dest Instnrucción de salida
  • 86.
    Manual de referenciadel juego de instrucciones 3–8 Adición y sustracción de 32 bits Tiene la opción de realizar adición y sustracción de entero con signo de 16 ó 32 bits. Esto es facilitado por el bit de archivo de estado S:2/14 (bit de selección de overflow matemático). Bit de selección de overflow matemático S:2/14 Establezca este bit cuando desee usar la adición y sustracción de 32 bits. Cuando S:2/14 está establecido y el resultado de una instrucción ADD, SUB, MUL, DIV o NEG no se puede representar en la dirección de destino (debido al underflow u overflow matemático): • El bit de overflow S:0/1 se establece. • El bit de interrupción por overflow S:5/0 se establece. • La dirección de destino contiene los 16 bits menos significativos truncados y sin signo del resultado. Nota Para las instrucciones MUL, DIV, de entero y todas las instrucciones de punto (coma) flotante con un destino de entero, el cambio de estado se realiza inmediatamente una vez establecido S:2/14. Cuando S:2/14 se restablece (condición predeterminada) y el resultado de una instrucción ADD, SUB, MUL, DIV o NEG no se puede representar en la dirección de destino (debio al underflow u overflow matemático): • El bit de overflow S:0/1 se establece. • El bit de interrupción por overflow S:5/0 se establece. • La dirección de destino contiene 32767 si el resultado es positivo o –32768 si el resultado es negativo. Nota Además, los procesadores SLC 5/03 y SLC 5/04 validan el estado de bit S:2/14 solamente al final de un escán para instrucciones ADD, SUB y NEG. Anote que el estado de bit S:2/14 no afecta la instrucción DDV. Tampoco afecta el contenido del registro matemático cuando usa las instrucciones MUL y DIV. Nota Los procesadores SLC 5/03 y SLC 5/04 solamente interrogan este bit al pasar al modo de marcha y final de escán. Use la función de monitorización de datos para efectuar esta selección antes de introducir el modo de marcha. 3 3 3 3
  • 87.
    Instrucciones matemáticas 3–9 Ejemplo deadición de 32 bits El ejemplo siguiente muestra cómo se añade un entero signado de 16 bits a un entero signado de 32 bits. Recuerde que S:2/14 debe estar establecido para la adición de 32 bits. Anote que el valor de los 16 bits más significativos (B3:3) del número de 32 bits se incrementa en 1 si el bit de acarreo S:0/0 está estabelcido y se disminuye en 1 si el número añadido (B3:1) es negativo. Para evitar la ocurrencia de un error mayor al final del escán, debe desenclavar el bit de interrupción por overflow S:5/0 según se muestra.
  • 88.
    Preface Manual de referenciadel juego de instrucciones 3–10 (U) S:5 0 END ] [ B3 0 [OSR] B3 1 ,' $ ) $3 * ! -))' () , *'$' *1 * 2' $ )*,$+' * '$' SUB SUBTRACT Source A B3:3 0000000000000011 Source B 1 Dest B3:3 0000000000000011 ADD ADD Source A B3:1 0101010110101000 Source B B3:2 0001100101000000 Dest B3:2 0001100101000000 ADD ADD Source A 1 Source B B3:3 0000000000000011 Dest B3:3 0000000000000011 ] [ S:0 0 ] [ B3 31 Añadir el valor de 16 bits B3:1 al valor de 32 bits B3:3 B3:2 Operación de adición Binario Hex Decimal B3:3 B3:2 B3:1 B3:3 B3:2 0000 0000 0000 0011 0001 1001 0100 0000 0101 0101 1010 1000 0000 0000 0000 0011 0110 1110 1110 1000 0003 1940 55A8 0003 6EE8 203,072 21,928 225,000 Addend Addend Sum À , ))' * )' *+$' * 2' * +-' *+$' * )*+' $ + '-)$'. * *$- () -+) $ ',)) , ))') %0') $ $ $ *1 À $ *('*+-' ()' )%3 %,*+) -$')* %$* +* *'$%+ $ -$') %$ , +)' +* * )- $ -$') )' ' !/ %'*+)' ') #%($' !/ * / / / / / Nota de aplicación: Puede usar el renglón de arriba con una instrucción DDV y un contador para calcular el valor promedio de B3:1.
  • 89.
    Instrucciones matemáticas 3–11 Multiplicar (MUL) Usela instrucción MUL para multiplicar un valor (fuente A) por el otro (fuente B) y coloque el resultado en el destino. Actualizaciones de los bits de estado aritmético Con este bit: El procesador: Acarreo (C) siempre se restablece. Overflow (V) se establece si el overflow se detecta en el destino; en caso contrario, se restablece. Durante el overflow, el indicador de error menor también se establece. El valor -32,768 ó 32,767 se coloca en el destino. Excepción: si usa un procesador SLC 5/02, SLC 5/03 ó SLC 5/04 ó un controlador MicroLogix 1000 y tiene S:2/14 (bit de selección de overflow matemático) establecido, el overflow sin signo y truncado permanece en el destino. Para los destinos de punto (coma) flotante, el resultado de overflow permanece en el destino. Cero (Z) se establece si el resultado es cero; en caso contrario, se restablece. Signo (S) se establece si el resultado es negativo; en caso contrario, se restablece. Cambios del registro matemático, S:13 y S:14 Entero – Contiene el resultado con signo de 32 bits de la operación de multiplicación. Este resultado es válido durante el overflow. Punto (coma) flotante – El registro matemático no se cambia. 3 3 3 3 3 3 MUL MULTIPLY Source A Source B Dest Instrucción de salida
  • 90.
    Preface Manual de referenciadel juego de instrucciones 3–12 Dividir (DIV) Use la instrucción DI:V para dividir un valor (fuente A) entre otro (fuente B). El cociente redondeado se coloca a su vez en el destino. Si el residuo es 0.5 ó mayor, el redondear toma lugar en el destino. El cociente no redondeado se almacena en la palabra más significativa del registro matemático. El resto se coloca en la palabra menos significativa del registro matemático. Actualizaciones de los bits de estado aritmético Con este bit: El procesador: Acarreo (C) siempre se restablece. Overflow (V) se establece si la división entre cero u overflow se detecta en el destino; en caso contrario, se restablece. Durante el overflow, el indicador de error menor también se establece. El valor 32,767 se coloca en el destino. Excepción: si usa un procesador SLC 5/02, SLC 5/03 ó SLC 5/04 ó un controlador MicroLogix 1000 y tiene S:2/14 (bit de selección de overflow matemático) establecido, el overflow sin signo y truncado permanece en el destino. Para los destinos de punto (coma) flotante, el resultado de overflow permanece en el destino. Cero (Z) se establece si el resultado es cero; si no, se restablece; no definido si overflow está establecido. Signo (S) se establece si el resultado es negativo; si no, se restablece; no definido si el overflow está establecido. Cambios del registro matemático, S:13 y S:14 Entero – El cociente no redondeado se coloca en la palabra más significante y el residuo se coloca en la palabra menos significativa. Punto (coma) flotante – El registro matemático no se cambia. Ejemplo El residuo de 11/2 es 0.5, por lo tanto, el cociente se redondea a 6 y se almacena en el destino. El cociente no redondeado, lo cual es 5, se almacena en S:14 y el residuo, lo cual es 1, se almacena en S:13. 3 3 3 3 3 3 DIV DIVIDE Source A Source B Dest Instrucción de entrada DIV DIVIDE Source A N7:0 11 Source B N7:1 2 Dest N7:2 6 dónde: N7:0 = 11 N7:1 = 2 N7:2 = 6 resultado: S:14 = 5 S:13 = 1
  • 91.
    Instrucciones matemáticas 3–13 División doble(DDV) El contenido de 32 bits del registro matemático se divide entre el valor de fuente de 16 bits y el cociente redondeado se coloca en el destino. Si el residuo es 0.5 ó mayor, se redondea el destino. Típicamente esta instrucción sigue una instrucción MUL que crea un resultado de 32 bits. Actualizaciones de los bits de estado aritmético Con este bit: El procesador: #! # #$ ' # #$ # # #+ # #%$ # ( + # $ # #$ %$ ' $* # #$ # #$ # #$ # #%$ # # $ # #$ # #$ # #%$ # $ # $ # #$ # ' #$) #$ Cambios del registro matemático, S:13 y S:14 Inicialmente contiene el dividendo de la operación DDV. A la ejecución de instrucción, el cociente no redondeado se coloca en la palabra más significativa del registro matemático. El residuo se coloca en la palabra menos significativa del registro matemático. 3 3 3 3 3 3 DDV DOUBLE DIVIDE Source Dest #$%+ #
  • 92.
    Preface Manual de referenciadel juego de instrucciones 3–14 Borrar (CLR) Use la instrucción CLR para poner a cero el valor de destino de una palabra. Actualizaciones de los bits de estado aritmético Con este bit: El procesador: Raíz cuadrada (SQR) Cuando esta instrucción es evaluada como verdadera, la raíz cuadrada del valor absoluto de la fuente es calculada y el resultado redondeado se coloca en el destino. La instrucción calcula la raíz cuadrada de un número negativo sin overflow ni fallos. En las aplicaciones donde el valor de fuente puede ser negativo, use una instrucción de comparación para evaluar el valor de fuente para determinar si el destino puede ser inválido. Actualizaciones de los bits de estado aritmético Con este bit: El procesador: 3 3 3 3 3 3 CLR CLEAR Dest ! 3 3 3 3 SQR SQUARE ROOT Source Dest !
  • 93.
    Instrucciones matemáticas 3–15 Cómo escalarcon parámetros (SCP) Use la instrucción SCP para producir un valor de salida escalado que tiene una relación lineal entre los valores de entrada y escalados. Esta instrucción tiene capacidad para valores de entero y punto (coma) flotante. Use la fórmula siguiente para convertir los datos de entrada analógicos en unidades de ingeniería: y = mx + b Donde: y = salida escalada m = pendiente (escala máx. – escala mín.) / (entrada máx. – entrada mín.) x = valor de entrada b = offset (intersección y) = escala mín. – (entrada min. × inclinación) Nota La entrada mínima, entrada máxima, escala mínima y escala máxima se usan para determinar los valores de inclinación y offset. El valor de entrada puede salir de los límites de entrada especificados sin requerir la puesta en orden. Por ejemplo, el valor de salida con escala no se encontrará necesariamente fijado entre los valores mínimos y máximos escalados. Cómo introducir parámetros Introduzca los parámetros siguientes al programar esta instrucción: • El valor de entrada puede ser una dirección de palabra o una dirección de elementos de datos de punto (coma) flotante. • Los valores mínimos y máximos de entrada determinan el rango de datos que aparece en el parámetro de valor de entrada. El valor puede ser una dirección de palabra, una constante de entero, elemento de datos de punto (coma) flotante o una constante de punto (coma) flotante. • Los valores mínimos y máximos escalados determinan el rango de datos que aparece en el parámetro de salida con escala. El valor puede ser una dirección de palabra, una constante de entero, elemento de datos de punto (coma) flotante o una constante de punto (coma) flotante. • El valor de salida escalado puede ser una dirección de palabra o una dirección de elementos de punto (coma) flotante. 3 3 SCP SCALE W/PARAMETERS Input Input Min. Input Max. Scaled Min. Scaled Max. Scaled Output
  • 94.
    Preface Manual de referenciadel juego de instrucciones 3–16 Actualizaciones de los bits de estado aritmético Con este bit: El procesador: Ejemplos de aplicación Ejemplo 1 En el primer ejemplo, un módulo de combinación de E/S analógica (1746-NIO4I) se encuentra en la ranura 1 del chasis. Un transductor de presión está conectado a la entrada 0 y deseamos leer el valor en unidades de ingeniería. El transductor de presión mide presiones de 0–1000 lbs/pul2 y proporciona una señal de 0–10 V al módulo analógico. Para una señal de 0–10 V, el módulo analógico proporciona un rango entre 0–32,767. El renglón de programa siguiente colocará un número entre 0–1000 en N7:20 basado en la señal de entrada proveniente del transductor de presión en el módulo analógico. Renglón 2:0 | +SCP––––––––––––––––––––+ | |––––––––––––––––––––––––––––––––––––––––––––––––––––+SCALE W/PARAMETERS +–| | |Input I:1.0| | | | 0| | | |Input Min. 0| | | | | | | |Input Max. 32767| | | | | | | |Scaled Min. 0| | | | | | | |Scaled Max. 1000| | | | | | | |Scaled Output N7:20| | | | 0| | | +–––––––––––––––––––––––+ |
  • 95.
    Instrucciones matemáticas 3–17 Ejemplo 2 Enel segundo ejemplo, un módulo de combinación de E/S analógica (1764-NIO4I) se encuentra en ranura 1 del chasis. Deseamos controlar la válvula proporcional conectada a la salida 0. La válvula requiere una señal de 4–20 mA para controlar el tamaño de su abertura (0–100%). (Suponga que hay presente lógica adicional en el programa que calcula el tamaño de abertura de la válvula en porcentaje y coloca un número entre 0–100 en N7:21.) El módulo analógico proporciona una señal de salida de 4–20 mA para un número entre 6242–31,208. El renglón de programa siguiente conducirá una salida analógica para proporcionar una señal de 4–20 mA a la válvula proporcional (N7:21) basado en un número entre 0–100. Renglón 2:1 | +SCP––––––––––––––––––––+ | |––––––––––––––––––––––––––––––––––––––––––––––––––––+SCALE W/PARAMETERS +–| | |Input N7:21| | | | 0| | | |Input Min. 0| | | | | | | |Input Max. 100| | | | | | | |Scaled Min. 6242| | | | | | | |Scaled Max. 31208| | | | | | | |Scaled Output O:1.0| | | | 0| | | +–––––––––––––––––––––––+ |
  • 96.
    Manual de referenciadel juego de instrucciones 3–18 Escala de datos (SCL) Cuando esta instrucción es verdadera, el valor en la dirección de fuente se multiplica por el valor del régimen. El resultado redondeado se añade al valor de offset y se coloca en el destino. Ejemplo SCL SCALE Source N7:0 100 Rate [/10000] 25000 Offset 127 Dest N7:1 377 Nota Cuando ocurre un underflow u overflow en el archivo de destino, el bit de error menor S:5/0 debe estar restablecido por el programa. Esto debe ocurrir antes del final del escán actual para evitar que el código de error mayor 0020 sea instruido. Esta instrucción puede provocar un overflow antes de la adición del offset. Anote que a veces el término régimen significa pendiente. La función de régimen se limita al rango –3.2768 a 3.2767. Por ejemplo, –32768/10000 a +32767/10000. Cómo introducir parámetros El valor para los parámetros siguientes es entre –32,768 a 32,767. • La fuente es una dirección de palabra. • El régimen (o pendiente) es el valor positivo o negativo que usted introduce dividido entre 10,000. Puede ser una constante de programa o una dirección de palabra. • El offset puede ser una constante de programa o una dirección de palabra. 3 3 3 3 SCL SCALE Source Rate [/10000] Offset Dest
  • 97.
    Instrucciones matemáticas 3–19 Actualizaciones delos bits de estado aritmético Con este bit: El procesador: )) * )*)- -) #. * *+# * ,% -) #. * ++ % * %+)) * )*+# ,)%+ ,% -) #. # + ))) $%) +$2% * *+# 0 # -#) 4 * # % # *+% ')*% ,% -) #. * -) %+* 0 *',2* # '#4% # -#) *+ À ) * *+# ,% # -#) *+% * ) !% * *+# * # -#) *+% * %!+- % * %+)) * )*+# À # )*,#+ # ,%+ $,#+'# ') # )2!$% - %+) * $0) (, # %*+),4% ')- ,% -) #. 0 ,* ,% ))) + ))) $%) 0 # % # *+% *+ ,)) %'%%+$%+ # *+ +,# Ejemplo de aplicación 1 – Conversión de una señal de entrada analógica de 4 mA–20 mA en una variable de proceso PID Valor con esĆ cala Valor de entrada %+) $3% %+) $1/ *# $1/ *# $3%
  • 98.
    Manual de referenciadel juego de instrucciones 3–20 Cómo calcular la relación lineal Use las ecuaciones siguientes para expresar las relaciones lineales entre el valor de entrada y el valor con escala resultante: $ ! #! % !' + # ' % ( #! % #! ( − = ) # ( #! ( % !' × = Ejemplo de aplicación 2 – Cómo escalar una entrada analógica para controlar una salida analógica % ( #! ( #! %
  • 99.
    Instrucciones matemáticas 3–21 Cómo calcularla relación lineal Use las ecuaciones siguientes para calcular las unidades con escala: ! $ + ! %$ ' ! %$ ! ' = ( ! ' ! ' $ − × = Los valores de offset y régimen anteriores son correctos para la instrucción SCL. No obstante, si la entrada excede 13,107, la instrucción provoca un overflow. Por ejemplo: × # Observe que ocurrió un overflow aunque el valor final era correcto. Esto ocurrió porque se generó una condición de overflow durante el cálculo de régimen. Para evitar un overflow, recomendamos desplazar la relación lineal a lo largo del eje del valor de entrada y reducir los valores. El diagrama siguiente muestra la relación lineal desplazada. El valor de entrada mínima de 3,277 se resta del valor de entrada máximo de 16,384, lo que resulta en el valor de 13,107.
  • 100.
    Manual de referenciadel juego de instrucciones 3–22 # ( # * $ * #!' $ ( #!' Cómo calcular la relación lineal desplazada Use las ecuaciones siguientes para calcular las unidades escaladas: % $ ) #$ ) # ( # * $ ( $ * − − = + #$ # * $ * ) × =
  • 101.
    Instrucciones matemáticas 3–23 En esteejemplo, la instrucción SCL se introduce en el programa de lógica de escalera tal como sigue: SCL SCALE Source N7:0 Rate [/10000] 24997 Offset 0 Dest O:2.0 SUB SUBTRACT Source A I:1.0 Source B 3277 Dest N7:0
  • 102.
    Preface Manual de referenciadel juego de instrucciones 3–24 Absoluto (ABS) Use la instrucción ABS para calcular el valor absoluto de la fuente y colocar el resultado en el destino. Esta instrucción tiene capacidad para los valores de entero y punto (coma) flotante. Use esta instrucción con procesadores SLC 5/03 OS302 y SLC 5/04 OS401. Cómo introducir los parámetros Introduzca los parámetros siguientes al programar esta instrucción: • La fuente puede ser una dirección de palabra, una constante de entero, elemento de datos de punto (coma) flotante o una constante de punto (coma) flotante. • El destino sólo puede ser una dirección de palabra o un elemento de datos de punto (coma) flotante. Actualizaciones de los bits de estado aritmético Con este bit: El procesador: ! ! ! $ % ! ! ! # $ # ! ! ! ! $ ! ! # $ ! ! ! ! ! ! ! ! 3 3 ABSOLUTE VALUE Source Dest ABS ! # !
  • 103.
    Instrucciones matemáticas 3–25 Calcular (CPT) Lainstrucción CPT efectúa operaciones de copiar, aritméticas, lógicas y conversión. Usted define la operación en la expresión y el resultado se escribe en el destino. El CPT usa funciones para operar en uno o más valores en la expresion para efectuar operaciones tales como: • convertir de un formato de número a otro • manejar los números • efectuar funciones trigonométricas Use esta instrucción con los procesadores SLC 5/03 OS302 y SLC 5/04 OS401. Las instrucciones que se pueden usar en la expresión incluyen: +, –, *, | (DIV), SQR, – (NEG), NOT, XOR, OR, AND, TOD, FRD, LN, TAN, ABS, DEG, RAD, SIN, COS, ATN, ASN, ACS, LOG y ** (XPY). Nota El tiempo de ejecución de una instrucción CPT es mayor que el de una sola operación aritmética y usa más palabras de instrucción. Cómo introducir parámetros Introduzca los parámetros siguientes al programar esta instrucción: • El destino puede ser una dirección de palabra o la dirección de un elemento de datos de punto (coma) flotante. • La expresión es cero o más líneas, con hasta 28 caracters por línea, hasta 255 caracteres. Actualizaciones de los bits de estado aritmético Con este bit: El procesador: Los bits anteriores son puestos a cero al inicio de la instrucción CPT. Vea S:34/2 para información acerca del manejo especial de los bits de estado aritmético al usar un punto (coma) flotante. 3 3 COMPUTE Dest Expression CPT
  • 104.
    Manual de referenciadel juego de instrucciones 3–26 Ejemplo de aplicación Este ejemplo de aplicación usa el teorema de Pitágoras para calcular la longitud de la hipotenusa de un triángulo cuando se conocen los dos catetos. Use la ecuación siguiente: c2 = a2 + b2 El renglón 2:0 usa instrucciones matemáticas estándar para implementar el teorema de Pitágoras. El renglón 2:1 usa la instrucción CPT para obtener el mismo resultado. Renglón 2:0 | +XPY–––––––––––––––+ | |–––––––––––––––––––––––––––––––––––––––––––––––––––––+–+X TO POWER OF Y +–+–| | | |Source A N7:1| | | | | | 3| | | | | |Source B 2| | | | | | | | | | | |Dest N7:3| | | | | | 0| | | | | +––––––––––––––––––+ | | | | +XPY–––––––––––––––+ | | | +–+X TO POWER OF Y +–+ | | | |Source A N7:2| | | | | | 4| | | | | |Source B 2| | | | | | | | | | | |Dest N7:4| | | | | | 0| | | | | +––––––––––––––––––+ | | | | +ADD–––––––––––––––+ | | | +–+ADD +–+ | | | |Source A N7:3| | | | | | 0| | | | | |Source B N7:4| | | | | | 0| | | | | |Dest N7:5| | | | | | 0| | | | | +––––––––––––––––––+ | | | | +SQR–––––––––––––––+ | | | +–+SQUARE ROOT +–+ | | |Source N7:5| | | | 0| | | |Dest N7:0| | | | 0| | | +––––––––––––––––––+ | Renglón 2:1 | +CPT––––––––––––––––––––––––+ | |––––––––––––––––––––––––––––––––––––––––––––––––+COMPUTE +–| | |Dest N10:0| | | | 0| | | |Expression | | | |SQR ((N7:1 ** 2) + (N7:2 **| | | |2)) | | | +–––––––––––––––––––––––––––+ | Renglón2:2 | | |–––––––––––––––––––––––––––––––––––––+END+––––––––––––––––––––––––––––––––––––| | | donde c = (a2 + b2) Ǹ Ǹ(N7:1)2 + (N7:2)2 N10:0 =
  • 105.
    Instrucciones matemáticas 3–27 Intercambio (SWP) Useesta instrucción para intercambiar los bytes bajos y altos de un número de palabras especificado en un archivo de bit, entero, ASCII o cadena. Use esta instrucción con los procesadores SLC 5/03 OS302 y SLC 5/04 OS401. Cómo introducir parámetros Introduzca los parámetros siguientes al programar esta instrucción: • La fuente sólo puede ser una dirección de palabra indexada. • La longitud es una referencia al número de palabras que van a intercambiarse, pese al tipo de archivo. La dirección se limita a constantes de entero. Para los archivos de tipo bit, entero y ASCII, el rango de longitud es de 1 a 128. Para el archivo de tipo cadena, el rango de longitud es de 1 a 41. Anote que esta instrucción se restringe a un solo elemento de cadena y no puede cruzar un límite de elemento de cadena. El ejemplo siguiente muestra cómo funciona la instrucción SWP.. Antes: ST10:1 = abcdefghijklmnopqrstuvwxyz Después: ST10:1 = badcfehgjilknmporqtsvuxwzy 3 3 SWAP Source Length SWP SWAP Source #ST10:1.1 Length 13 SWP
  • 106.
    Preface Manual de referenciadel juego de instrucciones 3–28 Arco seno (ASN) Use la instrucción ASN para tomar el arco seno de un número (fuente en radianes) y almacenar el resultado (en radianes) en el destino. La fuente debe ser mayor o igual que –1 y menor o igual que 1. El valor resultante en el destino siempre es mayor o igual que –π/2 y menor o igual que π/2 donde π = 3.141592. Use esta instrucción con los procesadores SLC 5/03 OS302 y SLC 5/04 OS401. Actualizaciones de los bits de estado aritmético Con este bit: El procesador: 3 3 ARC SINE Source Dest ASN
  • 107.
    Instrucciones matemáticas 3–29 Arco coseno(ACS) Use la instrucción ACS para tomar el arco seno de un número (fuente en radianes) y almacenar el resultado (en radianes) en el destino. La fuente debe ser mayor o igual que –1 y menor o igual que 1. El valor resultante en el destino siempre es mayor o igual que 0 y menor o igual que π , donde π = 3.141592. Use esta instrucción con los procesadores SLC 5/03 OS302 y SLC 5/04 OS401. Actualizaciones de los bits de estado aritmético Con este bit: El procesador: Arco tangente (ATN) Use la para tomar el arco tangente de un número (fuente) y almacenar el resultado (en radianes) en el destino. El valor resultante en el destino siempre es mayor o igual que –π /2 y menor o igual que π/2, donde π = 3.141592. Use esta instrucción con los procesadores SLC 5/03 OS302 y SLC 5/04 OS401. Actualizaciones de los bits de estado aritmético Con este bit: El procesador: 3 3 ARC COSINE Source Dest ACS 3 3 ARC TANGENT Source Dest ATN
  • 108.
    Preface Manual de referenciadel juego de instrucciones 3–30 Coseno (COS) Use la instrucción COS para tomar el coseno de un número (fuente en radianes) y almacenar el resultado (en radianes) en el destino. La fuente debe ser mayor o igual que –205887.4 y menor o igual que 205887.4. La óptima exactitud se obtiene cuando la fuentes es mayor que –2 π y menor que 2 π, donde π = 3.141592. El valor resultante en el destino siempre es mayor o igual que –1 y menor o igual que 1. Use esta instrucción con los procesadores SLC 5/03 OS302 y SLC 5/04 OS401. Actualizaciones de los bits de estado aritmético Con este bit: El procesador: Logaritmo natural (LN) Use la instrucción LN para tomar el logaritmo natural del valor en la fuente y almacenar el resultado en el destino. La fuente debe ser mayor que cero. El valor resultante en el destino siempre es mayor que o igual que –87.33654 y menor o igual que 88.72284. Use esta instrucción con los procesadores SLC 5/03 OS302 y SLC 5/04 OS401. Actualizaciones de los bits de estado aritmético Con este bit: El procesador: 3 3 COSINE Source Dest COS 3 3 NATURAL LOG Source Dest LN
  • 109.
    Instrucciones matemáticas 3–31 Logaritmo ala base 10 (LOG) Use la instrucción LOG para tomar el logaritmo de base 10 del valor en la fuente y almacenar el resultado en el destino. La fuente debe ser mayor que cero. El valor resultante en el destino siempre es mayor o igual que –37.92978 y menor o igual que 38.53184. Use esta instrucción con los procesadores SLC 5/03 OS302 y SLC 5/04 OS401. Actualizaciones de los bits de estado aritmético Con este bit: El procesador: Seno (SIN) Use la instrucción SIN para tomar el seno de un número (fuente en radianes) y almacenar el resultado en el destino. La fuente debe ser mayor o igual que –205887.4 y menor o igual que 205887.4. La óptima exactitud se obtiene cuando la fuente es mayor que –2 π y menor que 2 π, donde π = 3.141592. El valor resultante en el destino siempre es mayor que o igual que –1 y menor o igual que 1. Use esta instrucción con los procesadores SLC 5/03 OS302 y SLC 5/04 OS401.. Actualizaciones de los bits de estado aritmético Con este bit: El procesador: 3 3 LOG BASE 10 Source Dest LOG 3 3 SINE Source Dest SIN
  • 110.
    Preface Manual de referenciadel juego de instrucciones 3–32 Tangente (TAN) Use la instrucción TAN para tomar la tangente de un número (fuente en radianes) y almacenar el resultado en el destino. El valor de la fuente debe ser mayor o igual que –102943.7 y menor o igual que 102943.7. La óptima exactitud se obtiene cuando la fuente es mayor que –2 π y menor que 2 π, donde π = 3.141592. El valor resultante en el destino es un número real o infinito. Use esta instrucción con los procesadores SLC 5/03 OS302 y SLC 5/04 OS401.. Actualizaciones de los bits de estado aritmético Con este bit: El procesador: 3 3 TANGENT Source Dest TAN
  • 111.
    Instrucciones matemáticas 3–33 X ala potencia de Y (XPY) Use la instrucción XPY para elevar un valor (fuente A) a una potencia (fuente B) y almacenar el resultado en el destino. Si el valor en la fuente A es negativo, la exponente (fuente B) debe ser un número entero. Si no es un número entero, el bit de overflow se establece y el valor absoluto de la base se usa en el cálculo. Use esta instrucción con los procesadores SLC 5/03 OS302 y SLC 5/04 OS401. La instrucción XPY usa el algoritmo siguiente: XPY = 2 ** (Y * log2 (X)) Si cualquiera de las operaciones intermedias en este algoritmo provoca un overflow, se establece el bit de estado de overflow aritmético (S:01/). Actualizaciones de los bits de estado aritmético Con este bit: El procesador: 3 3 X TO POWER OF Y Source A Source B Dest XPY
  • 112.
    Manual de referenciadel juego de instrucciones 3–34 Instrucciones matemáticas en el ejemplo de aplicación de la perforadora de papel Esta sección proporciona renglones de escalera para demostrar el uso de instrucciones matemáticas. Los renglones son parte del ejemplo de aplicación de la perforadora de papel descrito en el apéndice H. Usted va a añadir a la subrutina en archivo 7 que se comenzó en el capítulo 2.
  • 113.
    Instrucciones matemáticas 3–35 Cómo añadirel archivo 7 Renglón 7:1 Este renglón restablece el número de incrementos de 1/4 pulg. y las milésimas de 1/4 pulg. cuando se activa el interruptor de llave de “restablecimiento de cambio de la broca”. Esto debe ocurrir a continuación de cada cambio de la broca. | interruptor Milésimas | | de llave de 1/4 pulg. | | de restablecimiento | | de cambio de broca | | I:1.0 +CLR–––––––––––––––+ | |––––] [––––––––––––––––––––––––––––––––––––––––––––––+–+CLEAR +–+–| | 8 | |Dest N7:11| | | | | | 0| | | | | +––––––––––––––––––+ | | | | incrementos | | | | de 1/4 pulg. | | | | | | | | +CLR–––––––––––––––+ | | | +–+CLEAR +–+ | | |Dest N7:10| | | | 0| | | +––––––––––––––––––+ | Renglón 7:6 Mantenga un total actualizado de cuántas pulgadas de papel han sido perforadas con la broca actual. Cada vez que se perfora un orificio, añada el espesor (en 1/4 pulg.) al total actualizado (registrado en 1/4 pulg.) El OSR es necesario porque el ADD se ejecuta cada vez que el renglón es verdadero y el cuerpo de la perforadora activaría el interruptor de límite de PROFUNDIDAD DE BROCA durante más de un escán de programa. El entero N7:12 es el valor convertido por entero del interruptor preselector rotatorio en las entradas I:3/11 – I:3/14. | Prof. |Desgaste de herramienta Incrementos | | de broca | OSR 1 de 1/4 pulg. | | LS | | I:1.0 B3:1 +ADD–––––––––––––––+ | |––––] [–––––––[OSR]––––––––––––––––––––––––––––––––––––––+ADD +–| | 4 8 |Source A N7:12| | | | 1| | | |Source B N7:10| | | | 0| | | |Dest N7:10| | | | 0| | | +––––––––––––––––––+ |
  • 114.
    Manual de referenciadel juego de instrucciones 3–36 Renglón 7:7 Cuando el número de incrementos de 1/4 pulg. sobrepasa 1000, determine cuántos incrementos han sobrepasado 1000 y almacene N7:20, añada 1 al total de 1000 incrementos de 1/4 pulg. y reinicialice el acumulador de incrementos de 1/4 pulg. a la cantidad de incrementos que habían sobrepasado 1000. | Incrementos | | de 1/4 pulg. | | | | +GEQ–––––––––––––––+ +SUB–––––––––––––––+ | |–+GRTR THAN OR EQUAL+––––––––––––––––––––––––––––––––+–+SUBTRACT +–+–| | |Source A N7:10| | |Source A N7:10| | | | | 0| | | 0| | | | |Source B 1000| | |Source B 1000| | | | | | | | | | | | +––––––––––––––––––+ | |Dest N7:20| | | | | | 0| | | | | +––––––––––––––––––+ | | | | Milésimas | | | | de 1/4 pulg. | | | | +ADD–––––––––––––––+ | | | +–+ADD +–+ | | | |Source A 1| | | | | | | | | | | |Source B N7:11| | | | | | 0| | | | | |Dest N7:11| | | | | | 0| | | | | +––––––––––––––––––+ | | | | | | | | | | | | | | | | Incrementos | | | | de 1/4 pulg. | | | | +MOV–––––––––––––––– | | | +–+MOVE +–+ | | |Source N7:20| | | | 0| | | |Dest N7:10| | | | 0| | | +––––––––––––––––––+ | |–––––––––––––––––––––––––––––––––––––+END+––––––––––––––––––––––––––––––––––––|
  • 115.
    Instrucciones de manejode datos 4–1 4 Instrucciones de manejo de datos Este capítulo contiene información general acerca de las instrucciones de manejo de datos y explica cómo funcionan en su programa de aplicación. Cada una de las instrucciones incluye información acerca de: • cómo aparece el símbolo de instrucción • cómo usar la instrucción Además, la última sección contiene un ejemplo de aplicación para una perforadora de papel que muestra el uso de las instrucciones de manejo de datos. Instrucciones de manejo de datos Instrucción Propósito Página Mnemónico Nombre Propósito Página TOD ! $ 4-3 FRD ! ! $ 4-6 DEG ! $ ! 4-10 RAD ! $ ! 4-11 DCD ! 4-12 ENC ! ! ! ! ! %# $ ! ' 4-13 COP y FLL $ !' ! !' ! ! ' 4Ć15 ( % !
  • 116.
    Preface Manual de referenciadel juego de instrucciones 4–2 Instrucción Propósito Página Mnemónico Nombre Propósito Página MOV 4-20 MVM # 4-21 AND ! # 4-23 OR ! # 4-24 XOR ! # 4-25 NOT ! # 4-26 NEG 4-27 FFL y FFU # % % 4-30 LFL y LFU # % $ % 4-32 Acerca de las instrucciones de manejo de datos Use estas instrucciones para convertir información, manejar datos en el controlador y realizar operaciones de lógica. En este capítulo se encuentra una descripción general antes de los grupos de instrucciones. Antes de aprender las instrucciones en cada uno de estos grupos, le recomendamos que lea la descripción general. Este capítulo contiene las descripciones generales siguientes: • Descripción general de las instrucciones de mover y lógicas • Descripción general de las instrucciones FIFO y LIFO
  • 117.
    Instrucciones de manejode datos 4–3 Convertir en BCD (TOD) Use esta instrucción para convertir enteros de 16 bits en valores BCD. Con los procesadores fijos y SLC 5/01, el destino sólo puede ser el registro matemático. Con los procesadores SLC 5/02, SLC 5/03 y SLC 5/04 y controladores MicroLogix 1000, el parámetro de destino puede ser una dirección de palabra en cualquier archivo o puede ser el registro matemático, S:13 y S:14. Si el valor de entero que introduce es negativo, el valor absoluto del número se usa para la conversión. Actualizaciones de los bits de estado aritmético Con este bit: El procesador: ))' *%() * )*+$ -) $'. * *+$ * $ )*,$+' * %0') $ '-) $'. )*,$+ , ))') %') )' * *+$ * $ -$') *+' * )' !' * *+$ * $ ($) ,+ * !+- *' '+))' * )*+$ Cambios del registro matemático, S:13 y S:14 Contiene el resultado BCD de 5 dígitos de la conversión. Este resultado es válido en el overflow. 3 3 3 3 3 3 3 3 TOD TO BCD Source Dest TOD TO BCD Source Dest S:13 00000000 *+),1 *$ )'*')* 0 0 '+)'$2 ')* )''!/ *+),1 *$ )'*')* #'* 0
  • 118.
    Preface Manual de referenciadel juego de instrucciones 4–4 Ejemplo 1 El valor de entero 9760 almacenado en N7:3 se convierte en BCD y la equivalente de BCD se almacena en N10:0. El máximo valor BCD posible es 9999. TOD TO BCD Source N7:3 9760 Dest N10:0 9760 9 7 6 0 9 7 6 0 N7:3 Decimal 0010 0110 0010 0000 N10:0 BCD de 4 dígitos 1001 0111 0110 0000 Ejemplo 2 El valor de entero 32760 almacenado en N7:3 se convierte en BCD. El valor BCD de 5 dígitos se almacena en el registro matemático. Los 4 dígitos inferiores del valor BCD se mueven a la palabra de salida O:2 y el dígito restante se mueve a través de una máscara a la palabra de salida O:3. Cuando usa el registro matemático como el parámetro de destino en la instrucción TOD, el máximo valor BCD posible es 32767. Sin embargo, para los valores BCD mayores de 9999, el bit de overflow se establece lo que también resulta en el establecimiento del bit de error menor S:5/0. Su programa de escalera puede desenclavar S:5/0 antes del final del escán para evitar el error mayor 0020, según se hizo en este ejemplo. 3 3 3 3 3 3 3 3 3 3
  • 119.
    Instrucciones de manejode datos 4–5 TOD TO BCD Source N7:3 32760 Dest S:13 00032760 (U) S:5 0 ] [ S:0 1 ( # %#$ $ MOV MOVE Source S:13 10080 Dest O:2.0 10080 MVM MASKED MOVE Source S:14 3 Mask 000F Dest O:3.0 3 ] [ 0 0 0 3 2 7 6 0 3 2 7 6 0 0 0 15 15 N7:3 Decimal BCD de 5 dígitos S:13 y S:14 S:14 S:13 #$ ! ! %) # %$ $ *$ # # %# # ( $ $ '
  • 120.
    Preface Manual de referenciadel juego de instrucciones 4–6 Convertir de BCD (FRD) Use esta instrucción para convertir los valores BCD en valores enteros. Con los procesadores fijos y SLC 5/01, la fuente sólo puede ser el registro matemático. Con los procesadores SLC 5/02, SLC 5/03 y SLC 5/04 y controladores MicroLogix 1000, el parámetro de fuente puede ser una dirección de palabra en cualquier archivo de datos o puede ser el registro matemático, S:13. Actualizaciones de los bits de estado aritmético Con este bit: El procesador: ++ ( ,# )+ , + ,-% / +!%(0 , ,-% ,# .' /%(+ *. '( , , ('-# ' ' % !. '- ( ,# % /%(+ *. / ('/ +-#+ , 2(+ ' ,( ('-++#( , + ,-% % (/ +!%(0 + ,.%- ' .' ++(+ '(+ +( , ,-% ,# % /%(+ ,-#'( , +( #'( ,# )+ , + ,-% Nota Recomendamos que siempre proporcione filtro de lógica de escalera para todos los dispositivos de entrada BCD antes de realizar la instrucción FRD. La mínima diferencia en el retardo del filtro de entrada de punto a punto puede provocar un overflow de la instrucción FRD debido a la conversión de un dígito que no sea BCD. 3 3 3 3 3 3 FRD FROM BCD Source Dest FRD FROM BCD Source S:13 00000000 Dest ',-+.#3' ,%# +( ,(+ , 2 2 ('-+(%(+ , #+(4 (#1 ',-+.#3' ,%# +( ,(+ , !#$(, 2
  • 121.
    Instrucciones de manejode datos 4–7 ]/[ S:1 15 EQU EQUAL Source A N7:1 0 Source B I:0.0 0 MOV MOVE Source I:0.0 0 Dest N7:1 0 FRD FROM BCD Source I:0.0 0 Dest N7:2 0 En el ejemplo de arriba, los dos renglones causan que el procesador verifique que el valor en I:0 siga siendo el mismo durante dos escanes consecutivos antes de ejecutar el FRD. Esto evita que el FRD convierta un valor que no sea BCD durante un cambio del valor de entrada. Nota Para convertir números mayores de 9999 BCD, la fuente debe ser el registro matemático (S:13). Debe restablecer el bit de error menor (S:5.0) para evitar un error. Cambios del registro matemático, S:13 y S:14 Se usan como la fuente para convertir todo el rango de números de un registro. Ejemplo 1 El valor BCD 9760 en la fuente N7:3 se convierte y se almacena en N10:0. El máximo valor de fuente es 9999, BCD. 9 7 6 0 9 7 6 0 N7:3 BCD de 4 dígitos 1001 0111 0110 0000 N10:0 Decimal 0010 0110 0010 0000 FRD FROM BCD Source N7:3 9760 Dest N10:0 9760 3 3 3
  • 122.
    Preface Manual de referenciadel juego de instrucciones 4–8 Ejemplo 2 El valor BCD 32760 en el registro matemático se convierte y se almacena en N7:0. El máximo valor de fuente es 32767, BCD. 0 0 0 3 2 7 6 0 3 2 7 6 0 0 0 15 15 BCD de 5 dígitos S:14 S:13 0000 0000 0000 0011 0010 0111 0110 0000 N7:0 Decimal 0111 1111 1111 1000 FRD FROM BCD Source S:13 00032760 Dest N7:0 32760 Usted debe convertir los valores BCD en enteros antes de manejarlos en su programa de escalera. Si no convierte los valores, el procesador los maneja como enteros y su valor se pierde. Nota Si el registro matemático (S:13 y S:14) se usa como la fuente para la instrucción FRD y el valor BCD no excede 4 dígitos, asegúrese de borrar la palabra S:14 antes de ejecutar la instrucción FRD. Si S:14 no se borra y un valor se contiene en esta palabra procedente de otra instrucción matemática ubicada en otra parte del programa, se colocará un valor decimal incorrecto en la palabra de destino. 3 3 3 3 3 3
  • 123.
    Instrucciones de manejode datos 4–9 A continuación se muestra cómo borrar S:14 antes de ejecutar la instrucción FRD: CLR CLEAR Dest S:14 0 FRD FROM BCD Source S:13 00001234 Dest N7:0 1234 MOV MOVE Source N7:2 4660 Dest S:13 4660 ] [ I:1 0 0001 0010 0011 0100 0000 0100 1101 0010 Cuando la condición de entrada se establece (1), un valor BCD (transferido de un interruptor preselector rotatorio de 4 dígitos, por ejemplo) se mueve de la palabra N7:2 al registro matemático. La palabra de estado S:14 se borra para asegurar que los datos no deseados no estén presentes cuando se ejecute la instrucción FRD.
  • 124.
    Preface Manual de referenciadel juego de instrucciones 4–10 Radianes en grados (DEG) Use esta instrucción para convertir los radianes (fuente) en grados y almacenar el resultado en el destino. La fórmula siguiente se aplica: Fuente 180/Π donde Π = 3.141592 Use esta instrucción con los procesadores SLC 5/03 OS302 y SLC 5/04 OS401. Cómo introducir parámetros • La fuente es el entero y/o los valores de punto (coma) flotante. • El destino es la dirección de la palabra donde se almacenan los datos. Actualizaciones de los bits de estado aritmético Con este bit: El procesador: 3 3 Radians to Degrees Source Dest DEG
  • 125.
    Instrucciones de manejode datos 4–11 Grados en radianes (RAD) Use esta instrucción para convertir los grados (fuente) en radianes y almacenar el resultado en el destino. La fórmula siguiente se aplica: Fuente Π/180 donde Π = 3.141592 Use esta instrucción con los procesadores SLC 5/03 OS302 y SLC 5/04 OS401. Cómo introducir los parámetros • La fuente es el entero y/o los valores de punto (coma) flotante. • El destino es la dirección de la palabra donde se almacenan los datos. Actaulizaciones de los bits de estado aritmético Con este bit: El procesador: 3 3 Degress to Radians Source Dest RAD
  • 126.
    Manual de referenciadel juego de instrucciones 4–12 Descodificar 4 a 1 de 16 (DCD) Una vez ejecutada, esta instrucción establece un bit de la palabra de destino. El bit que se activa depende del valor de los cuatro primeros bits de la palabra de fuente. Vea la tabla siguiente. Use esta instrucción para multiplexar los datos en aplicaciones tales como interruptores preselectores rotatorios, teclados y conmutación de banco. Bit 15–04 03 02 01 00 15 14 13 12 11 10 09 08 07 06 05 04 03 02 01 00 x 0 0 0 0 0 0 0 0 0 0 0 0 0 0 0 0 0 0 0 1 x 0 0 0 1 0 0 0 0 0 0 0 0 0 0 0 0 0 0 1 0 x 0 0 1 0 0 0 0 0 0 0 0 0 0 0 0 0 0 1 0 0 x 0 0 1 1 0 0 0 0 0 0 0 0 0 0 0 0 1 0 0 0 x 0 1 0 0 0 0 0 0 0 0 0 0 0 0 0 1 0 0 0 0 x 0 1 0 1 0 0 0 0 0 0 0 0 0 0 1 0 0 0 0 0 x 0 1 1 0 0 0 0 0 0 0 0 0 0 1 0 0 0 0 0 0 x 0 1 1 1 0 0 0 0 0 0 0 0 1 0 0 0 0 0 0 0 x 1 0 0 0 0 0 0 0 0 0 0 1 0 0 0 0 0 0 0 0 x 1 0 0 1 0 0 0 0 0 0 1 0 0 0 0 0 0 0 0 0 x 1 0 1 0 0 0 0 0 0 1 0 0 0 0 0 0 0 0 0 0 x 1 0 1 1 0 0 0 0 1 0 0 0 0 0 0 0 0 0 0 0 x 1 1 0 0 0 0 0 1 0 0 0 0 0 0 0 0 0 0 0 0 x 1 1 0 1 0 0 1 0 0 0 0 0 0 0 0 0 0 0 0 0 x 1 1 1 0 0 1 0 0 0 0 0 0 0 0 0 0 0 0 0 0 x 1 1 1 1 1 0 0 0 0 0 0 0 0 0 0 0 0 0 0 0 Cómo introducir parámetros • La fuente es la dirección que contiene la información de descodificación de bit. Sólo los cuatro primeros bits (0–3) se usan en la instrucción DCD. Los bits restantes se pueden usar para otras necesidades de aplicaciones específicas. Cambie el valor de los cuatro primeros bits de esta palabra para seleccionar un bit de la palabra de destino. • El destino es la dirección de la palabra donde se almacenan los datos. Actualizaciones de los bits de estado aritmético Permanecen sin cambios. 3 3 3 3 3 3 DCD DECODE 4 to 1 of 16 Source Dest
  • 127.
    Instrucciones de manejode datos 4–13 Codificar 1 de 16 a 4 (ENC) Cuando el renglón es verdadero, esta instrucción de salida busca la fuente desde el bit mínimo hasta el bit máximo y busca el primer bit establecido. La posición de bit correspondiente es escribe al destino como entero según se muestra en la tabla siguiente: Bit 15 14 13 12 11 10 09 08 07 06 05 04 03 02 01 00 15–04 03 02 01 00 x x x x x x x x x x x x x x x 1 x 0 0 0 0 x x x x x x x x x x x x x x 1 0 x 0 0 0 1 x x x x x x x x x x x x x 1 0 0 x 0 0 1 0 x x x x x x x x x x x x 1 0 0 0 x 0 0 1 1 x x x x x x x x x x x 1 0 0 0 0 x 0 1 0 0 x x x x x x x x x x 1 0 0 0 0 0 x 0 1 0 1 x x x x x x x x x 1 0 0 0 0 0 0 x 0 1 1 0 x x x x x x x x 1 0 0 0 0 0 0 0 x 0 1 1 1 x x x x x x x 1 0 0 0 0 0 0 0 0 x 1 0 0 0 x x x x x x 1 0 0 0 0 0 0 0 0 0 x 1 0 0 1 x x x x x 1 0 0 0 0 0 0 0 0 0 0 x 1 0 1 0 x x x x 1 0 0 0 0 0 0 0 0 0 0 0 x 1 0 1 1 x x x 1 0 0 0 0 0 0 0 0 0 0 0 0 x 1 1 0 0 x x 1 0 0 0 0 0 0 0 0 0 0 0 0 0 x 1 1 0 1 x 1 0 0 0 0 0 0 0 0 0 0 0 0 0 0 x 1 1 1 0 1 0 0 0 0 0 0 0 0 0 0 0 0 0 0 0 x 1 1 1 1 Cómo introducir parámetros • La fuente es la dirección de la palabra que va a codificar (encode). Sólo un bit de esta palabra se debe activar a la vez. Si hay más de un bit establecido en la fuente, los bits de destino estarán establecidos en el bit menos significante establecido. Si se usa una fuente de cero, todos los bits de destino estarán restablecidos y el bit de cero se establecerá. • El destino es la dirección que contiene la información de codificación (encode) de bit. Los bits 4–15 del destino están restablecidos por la instrucción ENC. 3 ENC ENCODE 1 of 16 to 4 Source Dest
  • 128.
    Preface Manual de referenciadel juego de instrucciones 4–14 Actualizaciones de los bits de estado aritmético Los bits de estado aritmético se encuentran en la palabra 0, bits 0–3 en el archivo de estado del controlador. Después de la ejecución de una instrucción, los bits de estado aritmético en el archivo de estado se actualizan: Con este bit: El controlador: !! ! !# %! # ' $ # # #!! !# # %! #'# # ! # %! # ! ! !#
  • 129.
    Instrucciones de manejode datos 4–15 Instrucciones para copiar el archivo (COP) y llenar el archivo (FLL) El archivo de tipo destino determina el número de palabras que una instrucción transfiere. Por ejemplo, si el archivo de tipo destino es un contador y el archivo de tipo fuente es un entero, se transfieren tres palabras de entero por cada elemento en el archivo de tipo contador. Después de la ejecución de una instrucción COP o FLL, el registro de índice S:24 se pone a cero. Uso de COP Esta instrucción copia bloques de datos de un lugar a otro. No usa bits de estado. Si usted necesita un bit de habilitación, programe una instrucción de salida (OTE) en paralelo usando un bit interno como la dirección de salida. La ilustración siguiente muestra cómo se manejan los datos de instrucción de archivo. Cómo introducir parámetros Introduzca los parámetros siguientes al programar esta instrucción: • La fuente es la dirección del archivo que desea copiar. Debe usar el indicador de archivo (#) en la dirección. Cuando se usa un procesador SLC 5/03 OS301, OS302 ó SLC 5/04 OS401, se soportan los valores de punto (coma) flotante y cadena. • El destino es la dirección inicial donde la instrucción almacena la copia. Debe usar el indicador de archivo (#) en la dirección. Cuando usa un procesador SLC 5/03 OS301, OS302 ó SLC 5/04 OS401, se soportan los valores de punto (coma) flotante y cadena. 3 3 3 3 3 3 COP COPY FILE Source Dest Length FLL FILL FILE Source Dest Length
  • 130.
    Preface Manual de referenciadel juego de instrucciones 4–16 • La longitud es el número de elementos en el archivo que desea copiar. – Para los procesadores SLC, si el archivo de tipo destino es 3 palabras por elemento (temporizador o contador), puede especificar una longitud máxima de 42. Si el archivo de tipo destino es 1 palabra por elemento, puede especificar una longitud máxima de 128 palabras. – Vea la tabla siguiente respecto a los controladores MicroLogix 1000: Si el archivo de tipo destino es un/una: entonces puede especificar una longitud máxima de: Nota Las longitudes máximas se aplican cuando la fuente es del mismo tipo de archivo. Todos los elementos son copiados del archivo de fuente al archivo de destino cada vez que se ejecuta la instrucción. Los elementos se copian en orden ascendiente. Si su archivo de tipo destino es un archivo de temporizador, contador o control, asegúrese que las palabras de fuente correspondientes a las palabras de estado de su archivo de destino contengan ceros. Asegúrese de especificar con precisión la dirección inicial y la longitud del bloque de datos que está copiando. La instrucción no sobrescribirá un límite de archivo (por ejemplo, entre archivos N16 y N17) en el destino. Ocurre un error si se intenta una sobrescritura del límite de archivo. Puede realizar desplazamientos de archivo especificando una dirección de elemento de fuente que tiene uno o más elementos que la dirección de elemento de destino dentro del mismo archivo. Esto desplaza los datos a direcciones de elemento inferiores.
  • 131.
    Instrucciones de manejode datos 4–17 Uso de FLL Esta instrucción carga elementos de un archivo con una constante de programa o valor de una dirección de elemento. La instrucción llena las palabras de un archivo con un valor de fuente. No usa bits de estado. Si usted necesita un bit de habilitación, programe una salida en paralelo que usa una dirección de almacenamiento. La ilustración siguiente muestra cómo se manejan los datos de instrucción de archivo. Cómo introducir parámetros Introduzca los parámetros siguientes al programar esta instrucción: • La fuente es la constante de programa o la dirección de elemento. El indicador de archivo (#) no se requiere para una dirección de elemento. Cuando usa un procesador SLC 5/03 OS301, OS302 ó SLC 5/04 OS401, se soportan los valores de punto (coma) flotante y cadena. • El destino es la dirección inicial de destino del archivo que desea llenar. Debe usar el indicador de archivo (#) en la dirección. Cuando usa un procesador SLC 5/03 OS301, OS302 ó SLC 5/04 OS401, se soportan los valores de punto (coma) flotante y cadena.
  • 132.
    Preface Manual de referenciadel juego de instrucciones 4–18 • La longitud es el número de elementos en el archivo que desea copiar. – Para los procesadores SLC, si el archivo de tipo destino es de 3 palabras por elemento (temporizador o contador), puede especificar una longitud máxima de 42. Si el archivo de tipo destino es de 1 palabra por elemento, puede especificar una longitud máxima de 128 palabras. – Vea la tabla siguiente respecto a los controladores MicroLogix 1000: Si el archivo de tipo destino es un/una: entonces puede especificar na longitud máxima de: Todos los elementos se llenan del mismo valor de fuente (típicamente una constante) en el archivo de destino especificado durante cada escán en que el renglón es verdadero. Los elementos se llenan en orden ascendente. La instrucción no sobrescribirá un límite de archivo (por ejemplo, entre archivos N16 y N17) en el destino. Ocurre un error si se intenta sobrescribir un límite de archivo.
  • 133.
    Instrucciones de manejode datos 4–19 Descripción general de las instrucciones de mover y lógicas La información general siguiente se aplica a las instrucciones de mover y lógicas. Cómo introducir parámetros • La fuente es la dirección del valor en que la operación de mover o lógica se debe efectuar. La fuente puede ser una dirección de palabra o una constante de programa, a menos que se describa lo contrario. Si la instrucción tiene dos operandos de fuente, no acepta constantes de programa en ambos operandos. Cuando usa un procesador SLC 5/03 OS301, OS302 ó SLC 5/04 OS400, OS401, se soportan los valores de punto (coma) flotante y cadena. • El destino es la dirección de resultado de una operación de mover o logica. Debe ser una dirección de palabra. Uso de direcciones de palabra indexadas Tiene la opción de usar direcciones de palabra indexadas como parámetros de instrucción especificando las direcciones de palabra. El direccionamiento indexado se trata en el apéndice C. Actualizaciones de los bits de estado aritmético Si los bits de estado aritmético se encuentran en la palabra 0, bits 0–3 en el archivo de estado del controlador. Después de la ejecución de una instrucción, se actualizan los bits de estado aritmético en el archivo de estado. Uso de direcciones de palabra indirectas Tiene la opción de usar direcciones indirectas a nivel de palabra y a nivel de bit para instrucciones especificando las direcciones de palabra cuando usa un procesador SLC 5/03 OS302 y SLC 5/04 OS401. Vea el apéndice C para obtener más información, Cambios del registro matemático, S:13 y S:14 Las instrucciones de mover y lógicas no afectan el registro matemático.
  • 134.
    Preface Manual de referenciadel juego de instrucciones 4–20 Mover (MOV) Esta instrucción de salida mueve el valor de fuente al lugar de destino. Siempre que el renglón permanezca verdadero, la instrucción mueve los datos durante cada escán. Cómo introducir parámetros Introduzca los parámetros siguientes al programar esta instrucción: • La fuente es la dirección o constante de los datos que desea mover. • El destino es la dirección a la cual la instrucción mueve los datos. Nota de aplicación: Si desea mover una palabra de datos sin afectar los indicadores matemáticos, use una instrucción de copiar (COP) con una longitud de 1 palabra en vez de la instrucción MOV. Actualizaciones de los bits de estado aritmético Con este bit: El controlador: ! ! ! $ % ! ! ! ! ! ! !# ! ! ! ! ! ! ! !# ! $ ! ! ! ! ! ! 3 3 3 3 3 3 MOV MOVE Source Dest ! #' !
  • 135.
    Instrucciones de manejode datos 4–21 Mover con máscara (MVM) La instrucción MVM es una instrucción de palabra que mueve datos de un lugar de fuente a un destino y permite que porciones de los datos de destino estén enmascarados por una palabra separada. Siempre que el renglón permanenzca verdadero, la instrucción mueve los datos durante cada escán. Cómo introducir parámetros Introduzca los parámetros siguientes al programar esta instrucción: • La fuente es la dirección de los datos que desea mover. • La máscara es la dirección de la máscara por la cual la instrucción mueve los datos; la máscara puede ser un valor hexadecimal (constante). • El destino es la dirección a la cual la instrucción mueve los datos. Actualizaciones de los bits de estado aritmético Con este bit: El controlador: ! ! ! $ % ! ! ! ! ! ! !# ! ! ! ! ! ! ! !# ! $ ! ! ! 3 3 3 3 3 3 MVM MASKED MOVE Source Mask Dest ! # !
  • 136.
    Manual de referenciadel juego de instrucciones 4–22 Operación Cuando un renglón que contiene esta instrucción es verdadero, los datos en la dirección de fuente pasan por la máscara a la dirección de destino. Vea la ilustración siguiente: 1 1 1 1 1 1 1 1 1 1 1 1 1 1 1 1 B3:2 antes de mover 0 1 0 1 0 1 0 1 0 1 0 1 0 1 0 1 fuente B3:0 1 1 1 1 0 0 0 0 1 1 1 1 0 0 0 0 Máscara F0F0 0 1 0 1 1 1 1 1 0 1 0 1 1 1 1 1 B3:2 después de mover MVM MASKED MOVE Source B3:0 Mask F0F0 Dest B3:2 Enmascare los datos restableciendo los bits en la máscara; transfiera los datos estableciendo los bits en la máscara a uno. Los bits de la máscara pueden ser fijos por un valor constante o los puede variar asignándoles una dirección directa a la máscara. Los bits en el destino que corresponden a ceros en la máscara no se modifican.
  • 137.
    Instrucciones de manejode datos 4–23 Y (AND) El valor en la fuente A recibe la instrucción AND bit por bit con el valor en la fuente B y luego se almacena en el destino. Tabla de verdad Destino = A y B A B Destino Las fuentes A y B pueden ser una dirección de palabra o una constante; sin embargo, ambas fuentes no pueden ser una constante. El destino debe ser una dirección de palabra. Nota de aplicación: Cuando introduce constantes, puede usar el operador del signo “” para cambiar la raíz de la introducción. Por ejemplo, en lugar de introducir –1 como una constante, podría introducir B1111111111111111 ó HFFFF. Actualizaciones de los bits de estado aritmético Con este bit: El controlador: ! ! ! $ % ! ! ! ! ! ! !# ! ! ! ! ! ! ! ! !$ ! ! ! ! ! 3 3 3 3 3 3 AND BITWISE AND Source A Source B Dest ! #' !
  • 138.
    Preface Manual de referenciadel juego de instrucciones 4–24 O (OR) El valor en la fuente A recibe la instrucción O bit por bit con el valor en la fuente B y luego se almacena en el destino. Tabla de verdad Destino = A o B A B Destino Las fuentes A y B pueden ser una dirección de palabra o una constante; sin embargo, ambas fuentes no pueden ser una constante. El destino debe ser una dirección de palabra. Nota de aplicación: Cuando introduce constantes, puede usar el operador del signo “” para cambiar la raíz de la introducción. Por ejemplo, en lugar de introducir –1 como una constante, podría introducir B1111111111111111 ó HFFFF. Actualizaciones de los bits de estado aritmético Con este bit: El controlador: ! ! ! $ % ! ! ! ! ! ! !# ! ! ! ! ! ! ! !# ! $ ! ! !$ ! ! ! ! ! 3 3 3 3 3 3 OR BITWISE INCLUS OR Source A Source B Dest ! #' !
  • 139.
    Instrucciones de manejode datos 4–25 O exclusivo (XOR) El valor en la fuente A recibe la instrucción de O exclusivo bit por bit con el valor en la fuente B y luego se almacena en el destino. Tabla de verdad Destino = A X o B A B Destino Las fuentes A y B pueden ser una dirección de palabra o una constante; sin embargo, ambas fuentes no pueden ser una constante. El destino debe ser una dirección de palabra. Nota de aplicación: Cuando introduce constantes, puede usar el operador del signo “” para cambiar la raíz de la introducción. Por ejemplo, en lugar de introducir –1 como una constante, podría introducir B1111111111111111 ó HFFFF. Actualizaciones de los bits de estado aritmético Con este bit: El controlador: ! ! ! $ % ! ! ! ! ! ! !# ! ! ! ! ! ! ! !# ! $ ! ! !$ ! ! ! ! ! 3 3 3 3 3 3 XOR BITWISE EXCLUS OR Source A Source B Dest ! #' !
  • 140.
    Preface Manual de referenciadel juego de instrucciones 4–26 No (NOT) El valor de fuente recibe la instrucción NOT bit por bit y luego se almacena en el destino (complemento de uno). Tabla de verdad Destino = NOT A A Destino La fuente y el destino deben ser direcciones de palabra. Nota de aplicación: Cuando introduce constantes, puede usar el operador del signo “” para cambiar la raíz de la introducción. Por ejemplo, en lugar de introducir –1 como una constante, podría introducir B1111111111111111 ó HFFFF. Actualizaciones de los bits de estado aritmético Con este bit: El controlador: ! ! ! $ % ! ! ! ! ! ! !# ! ! ! ! ! ! ! !# ! $ ! ! !$ ! ! ! ! ! 3 3 3 3 3 3 NOT NOT Source Dest ! #' !
  • 141.
    Instrucciones de manejode datos 4–27 Negar (NEG) Use la instrucción NEG para cambiar el signo de la fuente y luego colóquelo en el destino. El destino contiene el complemento de dos de la fuente. Por ejemplo, si la fuente es 5, el destino sería –5. La fuente y el destino deben ser direcciones de palabra. Actualizaciones de bits de estado aritmético Con este bit: El controlador: (( ) '% ( ) ) + ,( #- % ) %*((( ) ()*# ,( #- ) )*# ) ) +% ,( #- % ) %*(( ) ()*# # ,( #- )1# +(( ) ) # +%* +(%* # ,( #- # %( ((( $%( *$0% ) )*# # ,#( ) # % # )*% )*/ )*# # ,( #- % )!% . *(+% '($% % # )*% ( #) )*%) '+%* $ #*%* # ()+#* ,( #- '($% % # )*% ( ) )*# ) # ()+#* ) ( % ) %*((( ) ()*# !% ) )*# ) # ()+#* ) %!*, % ) %*((( ) ()*# 3 3 3 3 3 3 NEG NEGATE Source Dest %)*(+1% )#
  • 142.
    Preface Manual de referenciadel juego de instrucciones 4–28 Descripción general de las instrucciones FIFO y LIFO Las instrucciones FIFO cargan palabras en un archivo y las descargan en el mismo orden en que fueron cargadas. La primera palabra que llega es la primera palabra que sale. Las instrucciones LIFO cargan palabras en un archivo y las descargan en el orden inverso en que fueron cargadas. La última palabra que llega es la primera palabra que sale. Cómo introducir parámetros Introduzca los parámetros siguienes al programar estas instrucciones: • La fuente es una dirección de palabra o constante (–32,768 a 32,767) que se convierte en el próximo valor en la pila. • El destino es una dirección de palabra que almacena el valor que sale de la pila. Esta instrucción Descarga el valor a partir de la: • FIFO/LIFO es la dirección de la pila. Debe ser una dirección de palabra indexada en el archivo de bit, entrada, salida o entero. Use la misma dirección FIFO para las instrucciones FFL y FFU asociadas; use la misma dirección LIFO para las instrucciones LFL y LFU asociadas. • La longitud especifica el máximo número de palabras en la pila. Para los procesadores SLC se trata de 128 palabras y 105 palabras para los controladores MicroLogix 1000. • La posición es el próximo lugar disponible donde la instrucción carga datos en la pila. Este valor cambia después de cada operación de carga o descarga. Direccione el valor de posición mnemónicamente (POS). • El control es una dirección de archivo de control. Los bits de estado, la longitud de pila y el valor de posición se almacenan en este elemento. No use la dirección de archivo de control para otras instrucciones.
  • 143.
    Instrucciones de manejode datos 4–29 Los bits de estado de la estructura de control son direccionados mnemónicamente. Estos incluyen: – Bit de vacío EM (bit 12) lo establece el procesador para indicar que la pila está vacía. – Bit de efectuado DN (bit 13) lo establece el procesador para indicar que la pila está llena. Esto inhibe la carga en la pila. – Bit de habilitación FFU/LFU EU (bit 14) se establece en una transición de falso a verdadero del renglón FFU/LFU y se restablece en una transición de verdadero a falso. – Bit de habilitación FFL/LFL EN (bit 15) se establece en una transición de falso a verdadero del renglón FFL/LFL y se restablece en una transición de verdadero a falso. Efectos en el registro de índice S:24 El valor presente en S:24 se sobrescribe con el valor de posición cuando ocurre una transición de falso a verdadero del renglón FFL/FFU o LFL/LFU. Para el FFL/LFL, el valor de posición determinar a la introduccción de la instrucción se coloca en S:24. Para el FFU/LFU, el valor de posición determinado a la salida de la instrucción se coloca en S:24. Cuando el bit DN se establece, una transición de falso a verdadero del renglón FFL/LFL no cambia el valor de posición ni el valor del registro de índice. Cuando el bit EM se establece, la transición de falso a verdadero del renglón FFU/LFU no cambia el valor de posición ni el valor del registro de índice.
  • 144.
    Preface Manual de referenciadel juego de instrucciones 4–30 Carga FIFO (FFL) Descarga FIFO (FFU) Las instrucciones FFL y FFU se usan conjuntamente. La instrucción FFL carga palabras en un archivo creado por el usuario que se llama una pila FIFO. La instrucción FFU descarga palabras de la pila FIFO en el mismo orden en que fueron cargadas. Parámetros de instrucción han sido programados en las instrucciones FFL–FFU ilustradas abajo. (EU) (EM) (DN) FFL FIFO LOAD Source N7:10 FIFO #N7:12 Control R6:0 Length 34 Position 9 FFU FIFO UNLOAD FIFO #N7:12 Dest N7:11 Control R6:0 Length 34 Position 9 ! #% ! ! !% N7:12 0 N7:13 1 N7:14 2 3 4 5 6 7 8 9 33 ! ! !! ! Instrucciones FFL-FFU Carga y descarga de pila #N7:12 N7:10 N7:11 Posición Destino Fuente ! #% ! %$ !% ! # ! ! ! N7:45 (EN) (DN) (EM) Operación de la instrucción FFL: Cuando las condiciones de renglón cambian de falso a verdadero, el bit de habilitación FFL (EN) se establece. Esto carga el contenido de la fuente, N7:10, en el elemento de pila indicado por el número de posición 9. Luego el valor de posición se incrementa. La instrucción FFL carga un elemento a cada transición de falso a verdadero del renglón hasta que la pila se llene (34 elementos). Luego el procesador establece el bit de efectuado (DN) inhibiendo así la continuación de la carga. 3 3 3 3 (EN) (DN) (EM) FFL FIFO LOAD Source FIFO Control Length Position (EU) (DN) (EM) FFU FIFO UNLOAD FIFO Dest Control Length Position ! #! !
  • 145.
    Instrucciones de manejode datos 4–31 Operación de la instrucción FFU: Cuando las condiciones de renglón cambian de falsas a verdaderas, el bit de habilitación FFU (EU) se establece. Esto descarga el contenido del elemento a la posición de pila 0 en el destino, N7:11. Todos los datos en la pila se desplazan un elemento hacia la posición 0 y el elemento numerado más alto se pone a cero. La instrucción FFU descarga un elemento en cada transición de falso a verdadero del renglón hasta que la pila se vacía. Luego el procesador establece el bit vacío (EM).
  • 146.
    Preface Manual de referenciadel juego de instrucciones 4–32 Carga LIFO (LFL) Descarga LIFO (LFU) Las instrucciones LFL y LFU se usan conjuntamente. La instrucción LFL carga palabras en un archivo creado por el usuario que se llama una pila LIFO. La instrucción LFU descarga palabras de la pila LIFO en el mismo orden en que fueron cargadas. Los parámetros de instrucción han sido programados en las instrucciones LFL–LFU ilustradas abajo. (DN) (EN) (DN) (EM) LFL LIFO LOAD Source N7:10 LIFO #N7:12 Control R6:0 Length 34 Position 9 (EU) (EM) LFU LIFO UNLOAD LIFO #N7:12 Dest N7:11 Control R6:0 Length 34 Position 9 N7:12 0 N7:13 1 N7:14 2 3 4 5 6 7 8 9 33 N7:10 N7:11 Posición Destino Fuente N7:45 ! #% ! ! !% ! ! ! ! Instrucciones LFL-LFU Carga y descarga de pila #N7:12 ! #% ! %$ !% ! # ! ! ! Operación de la instrucción LFL: Cuando las condiciones de renglón cambian de falso a verdadero, el bit de habilitación LFL (EN) se establece. Esto carga el contenido de la fuente, N7:10, en el elemento de pila indicado por el número de posición 9. Luego el valor de posición se incrementa. La instrucción LFL carga un elemento a cada transición de falso a verdadero del renglón hasta que la pila se llene (34 elementos). Luego el procesador establece el bit de efectuado (DN) inhibiendo así la continuación de la carga. 3 3 3 3 (EN) (DN) (EM) LFL LIFO LOAD Source LIFO Control Length Position (EU) (DN) (EM) LFU LIFO UNLOAD LIFO Dest Control Length Position ! #! !
  • 147.
    Instrucciones de manejode datos 4–33 Operación de la instrucción LFU: Cuando las condiciones de renglón cambian de falso a verdadero, el bit de habilitación LFU (EU) se establece. Esto descarga el contenido del elemento a la posición de pila 0 en el destino, N7:11. Todos los datos en la pila se desplazan un elemento hacia la posición 0 y el elemento numerado más alto se pone a cero. La instrucción LFU descarga un elemento a cada transición de falso a verdadero del renglón hasta que la pila esté vacía. Luego el procesador establece el bit vacío (EM).
  • 148.
    Manual de referenciadel juego de instrucciones 4–34 Instrucciones de manejo de datos en el ejemplo de aplicación de la perforadora de papel Esta sección proporciona renglones de escalera para demostrar el uso de las instrucciones de manejo de datos. Los renglones son parte del ejemplo de aplicación de la perforadora de papel descrito en el apéndice H. Usted los añadirá a la subrutina en el archivo 7 que se inició en el capítulo 2. Añadir el archivo 7 Renglón 7:3 Este renglón mueve el valor del interruptor preselector rotatorio BCD de un solo dígito en un registro de entero interno. Esto se realiza para alinear correctamente las cuatro señales de entrada BCD antes de ejecutar la instrucción de BCD a entero (FRD). El interruptor preselector rotatorio se usa para permitirle al operador introducir el espesor del papel que va a perforar. El espesor se introduce en incrementos de 1/4 pulg. Esto proporciona un rango de 1/4 pulg. a 2.25 pulg. | BCD bit 0 |FRD bit 0 | | I:1.0 N7:14 | |––––––––––––––––––––––––––––––––––––––––––––––––––––+––––] [––––––––( )–––––+–| | | 11 0 | | | | BCD bit 1 |FRD bit 1 | | | | I:1.0 N7:14 | | | +––––] [––––––––( )–––––+ | | | 12 1 | | | | BCD bit 2 |FRD bit 2 | | | | I:1.0 N7:14 | | | +––––] [––––––––( )–––––+ | | | 13 2 | | | | BCD bit 3 |FRD bit 3 | | | | I:1.0 N7:14 | | | +––––] [––––––––( )–––––+ | | 14 3 |
  • 149.
    Instrucciones de manejode datos 4–35 Renglón 7:4 Este renglón convierte el valor del interruptor preselector rotatorio BCD de BCD en entero. Esto se realiza porque el procesador opera en valores de entero. Este renglón también neutraliza el rebote del interruptor preselector rotatorio para asegurar que la conversión ocurra sólo en valores BCD válidos. Anote que los valores BCD no válidos pueden ocurrir cuando el operador está cambiando el interruptor preselector rotatorio BCD. Eso es debido a las diferencias de retardo de propagación del filtro de entrada entre los 4 circuitos de entrada que proporcionan el valor de entrada BCD. | primer valor de | bit de entrada BCD valor BCD | transf. del escán neutralizado | anterior | S:1 +EQU–––––––––––––––+ +FRD–––––––––––––––+ | |–+––––]/[–––––+EQUAL +–+–––––––––––+FROM BCD +–+––––+––––| | | 15 |Source A N7:13| | |Source N7:14| | | | | | | 0| | | 0000| | | | | | |Source B N7:14| | | 0000| | | | | | | 0| | |Dest N7:12| | | | | | +––––––––––––––––––+ | | 1| | | | | | | Math +––––––––––––––––––+ | | | | | | Math Math | | | | | | Overflow Error | | | | | | Bit Bit | | | | | | S:0 S:5 | | | | | +––––] [––––––––––––––(U)––––––––+ | | | | 1 0 | | | | valor de | | | | entrada BCD | | | | de este | | | | escán | | | | +MOV–––––––––––––––+ | | | +––––––––––––––––––––––––––––––––––––––––––––––––––+MOVE +–+ | | |Source N7:14| | | | 0| | | |Dest N7:13| | | | 0| | | +––––––––––––––––––+ | Renglón 7:5 Este renglón asegura que el operador no pueda seleccionar un espesor de papel de 0. Si eso se permitiera, el cálculo de la vida útil de la broca podría anularse lo que resultaría en orificios de calidad insatisfactoria causados por una broca sin filo. Por lo tanto, el espesor de papel mínimo que será usado para calcular el desgaste de la broca es de 1/4 pulg. | valor valor | | BCD BCD | | neutralizado neutralizado | | +EQU–––––––––––––––+ +MOV–––––––––––––––+ | |–+EQUAL +––––––––––––––––––––––––––––––––––––+MOVE +–| | |Source A N7:12| |Source 1| | | | 1| | | | | |Source B 0| |Dest N7:12| | | | | | 1| | | +––––––––––––––––––+ +––––––––––––––––––+ |
  • 150.
    Manual de referenciadel juego de instrucciones 4–36
  • 151.
    Instrucciones de flujode programa 5–1 5 Instrucciones de flujo de programa Este capítulo contiene información general acerca de las instrucciones de flujo de programa y explica cómo funcionan en su programa de aplicación. Cada una de las instrucciones incluye información acerca de: • cómo aparece el símbolo de instrucción • cómo usar la instrucción Además, la última sección contiene un ejemplo de aplicación para una perforadora de papel que muestra el uso de las instrucciones de control de flujo de programa. Instrucciones de control de flujo de programa Instrucción Propósito Página Mnemónico Nombre Propósito Página JMP y LBL $ 5Ć3 JSR, SBR, y RET 5Ć5 MCR $ 5-8 TND $ 5-10 SUS # $ ! $ $ 5-11 IIM 5-12 IOM 5-13 REF 5-14
  • 152.
    Manual de referenciadel juego de instrucciones 5–2 Acerca de las instrucciones de control de flujo de programa Use estas instrucciones para controlar la secuencia en que se ejecuta su programa. Las instrucciones de control le permiten cambiar el orden en que el procesador realiza un escán de un programa de escalera. Estas instrucciónes típicamente se usan para minimizar el tiempo de escán, crear un programa más eficiente y para localizar y corregir fallos de un programa de escalera.
  • 153.
    Instrucciones de flujode programa 5–3 Salto (JMP) y etiqueta (LBL) Use estas instrucciones conjuntamente para saltar porciones del programa de escalera. Si el renglón que contiene la instrucción de salto es: El programa: El saltar hacia adelante a una etiqueta ahorra el tiempo de escán del programa eliminando un segmento de programa hasta que sea necesario. El saltar hacia atrás le permite al controlador ejecutar segmentos de programa repetidamente. Nota Tenga cuidado de no saltar hacia atrás excesivamente. El temporizador de control (watchdog) podría sobrepasar el límite de tiempo y causar un fallo del controlador. Use un contador, temporizador o el registro de “escán de programa” (registro de estado de sistema, palabra S:3, bits 0–7) para limitar el tiempo que se pasa realizando lazos dentro de las instrucciones JMP/LBL. Cómo introducir parámetros Introduzca un número de etiqueta decimal de 0 a 999. Puede colocar hasta: • 256 etiquetas en cada archivo de subrutina para los procesadores SLC • 1,000 etiquetas para los controladores MicroLogix 1000 en cada archivo de subrutina. Uso de JMP La instrucción JMP causa que el controlador salte renglones. Puede saltar a la misma etiqueta desde una o más instrucciones JMP. 3 3 3 3 3 3 (JMP) ]LBL[
  • 154.
    Manual de referenciadel juego de instrucciones 5–4 Uso de LBL Esta instrucción de entrada es el blanco de las instrucciones JMP que tienen el mismo número de etiqueta. Debe programar esta instrucción como la primera instrucción de un renglón. Esta instrucción no tiene bits de control. Puede programar saltos múltiples a la misma etiqueta asignando el mismo número de etiqueta a instrucciones JMP múltiples. Sin embargo, los números de etiqueta deben ser únicos. Nota No salte (JMP) en una zona MCR. Las instrucciones programadas dentro de la zona MCR a partir de la instrucción LBL hasta la instrucción ’END MCR’ siempre serán evaluadas como si la zona MCR fuera verdadera, sin importar el estado verdadero de la instrucción “Start MCR”.
  • 155.
    Instrucciones de flujode programa 5–5 Saltar a subrutina (JSR), subrutina (SBR), y retornar (RET) Las instrucciones JSR, SBR y RET se usan para indicar al controlador que ejecute un archivo de subrutina separado dentro del programa de escalera y retornar a la instrucción siguiente a la instrucción JSR. Nota Si usa la instrucción SBR, ésta debe ser la primera instrucción en el primer renglón en el archivo de programa que contiene la subrutina. Use una subrutina para almacenar secciones repetidas de lógica de programa que se debe ejecutar desde varios puntos dentro de su programa de aplicación. Una subrutina ahorra memoria porque se programa sólo una vez. Actualice E/S críticas dentro de subrutinas usando las instrucciones de entrada y/o salida inmediata (IIM, IOM), especialmente si la aplicación requiere subrutinas anidadas o largas. En caso contrarior, el controlador no actualizará la E/S hasta que llegue al final del programa principal (después de ejecutar todas las subrutinas). Las salidas controladas dentro de una subrutina permanecen en su último estado hasta que la subrutina se vuelva a ejecutar. Cómo anidar archivos de subrutina El anidar subrutinas le permite dirigir el flujo de programa desde el programa principal hasta una subrutina y luego a otra subrutina. Las reglas siguientes se aplican al anidar subrutinas: Puede anidar hasta ocho niveles de subrutinas. Si usa una subrutina STI, una subrutina de interrupción HSC o una rutina de fallo del usuario, puede anidar subrutinas hasta tres niveles desde cada subrutina. • Con los procesadores fijos y SLC 5/01, puede anidar subrutinas hasta cuatro niveles. JSR JUMP TO SUBROUTINE SBR file number SBR SUBROUTINE RET RETURN . . .
  • 156.
    Preface Manual de referenciadel juego de instrucciones 5–6 • Con los procesadores SLC 5/02, SLC 5/03, SLC 5/04 y controladores MicroLogix 1000, puede anidar subrutinas hasta ocho niveles. Si usa una subrutina STI, subrutina de interrupción provocada por evento de E/S, una rutina de fallo del usuario o una subrutina de interrupción HSC, puede anidar subrutinas hasta tres niveles desde cada subrutina. La ilustración siguiente muestra cómo se pueden anidar las subrutinas. JSR 6 JSR 7 SBR RET SBR SBR JSR 8 RET RET Ejemplo de cómo anidar subrutinas hasta el nivel 3 principal Programa Archivo de subrutina 6 Nivel 1 Archivo de subrutina 7 Nivel 2 Archivo de subrutina 8 Nivel 3 Ocurrirá un error si se llaman más niveles de subrutinas que los permitidos (overflow de pila de subrutina) o si se ejecutan más retornos que niveles de llamada existentes (underflow de pila de subrutina). Uso de JSR Cuando la instrucción JSR se ejecuta, el controlador salta a la instrucción de subrutina (SBR) al inicio del archivo de subrutina destino y reanuda la ejecución desde aquel punto. No puede saltar en una parte de una subrutina con excepción de la primera instrucción en ese archivo. Debe programar cada subrutina en su propio archivo de programa asignando un número de archivo único: • 3–255 para los procesadores SLC • 4–15 para los controladores MicroLogix 1000 Fijo y específico del SLC 5/01 – La instrucción JSR no se debe programar en bifurcaciones de salida anidadas. Un error de compilador se ocurrirá si se encuentra un renglón que contenga salidas múltiples con lógica condicional y una instrucción JSR.
  • 157.
    Instrucciones de flujode programa 5–7 Uso de SBR La subrutina de destino se identifica por el número de archivo que usted introdujo en la instrucción JSR. Esta instrucción sirve como etiqueta o identificador de un archivo de programa designado como un archivo de subrutina normal. Esta instrucción no tiene bits de control. Siempre se evalúa como verdadera. La instrucción se debe programar como la primera instrucción en el primer renglón de una subrutina. El uso de esta instrucción es opcional; sin embargo, recomendamos su uso para obtener mayor claridad. Uso de RET Esta instrucción de salida indica el fin de ejecución de subrutina o el fin del archivo de subrutina. Causa que el controlador reanude la ejecución en la instrucción siguiente a la instrucción JSR. Si se involucra una secuencia de subrutinas anidadas, la instrucción causa que el procesador retorne la ejecución de programa a la subrutina anterior. El renglón que contiene la instrucción RET puede ser condicional si este renglón precede el final de la subrutina. De esta manera el controlador elimina el resto de una subrutina sólo si su condición de renglón es verdadera. Sin instrucción RET, la instrucción END (siempre presente en la subrutina) retorna automáticamente la ejecución de programa a la instrucción siguiente a la instrucción JSR en el archivo de escalera que llama. Nota La instrucción RET termina la ejecución de la subrutina DII (procesadores SLC 5/03 y SLC 5/04), la subrutina STI, la subrutina de interrupción provocada por evento de E/S y el indicador de error del usuario cuando se usa un procesador SLC 5/02, SLC 5/03 ó SLC 5/04.
  • 158.
    Preface Manual de referenciadel juego de instrucciones 5–8 Restablecimiento de control maestro (MCR) Use las instrucciones MCR conjuntamente para crear zonas de programa que desactivan todas las salidas no retentivas en la zona. Los renglones dentro de la zona MCR todavía son escaneados, pero el tiempo de escán se reduce debido al estado falso de las salidas no retentivas. Si el renglón MCR que inicia la zona es: El controlador: Las zonas MCR le permiten habilitar o inhabilitar segmentos de su programa; por ejemplo, las aplicaciones de receta. Cuando programe las instrucciones MCR, observe lo siguiente: • Debe terminar la zona con una instrucción MCR no condicional. • No puede anidar una zona MCR dentro de otra. • No salte a una zona MCR. Si la zona es falsa, el saltar a ella activa la zona. • Siempre coloque la instrucción MCR como la última instrucción en un renglón. Nota La instrucción MCR no substituye un relé cableado de control maestro que proporciona la capacidad de detención de emergencia. Todavía debe instalar un relé cableado de control maestro para proporcionar la interrupción de alimentación eléctrica de E/S en casos de emergencia. Si inicia instrucciones tales como temporizadores o contadores en una zona MCR, la operación de instrucción se detiene cuando la zona se inhabilita. Vuelva a programar operaciones críticas fuera de la zona si fuese necesario. 3 3 3 3 3 3 (MCR)
  • 159.
    Instrucciones de flujode programa 5–9 Operación del procesador SLC No salte (JMP) a una zona MCR. Las instrucciones programadas dentro de la zona MCR, que comienzan con una instrucción LBL y terminan con la instrucción ’END MCR’, siempre serán evaluadas como si la zona MCR fuera verdadera, sin importar el estado verdadero de la instrucción “Start MCR”. Si la zona es falsa, el saltar a ella activa la zona desde la LBL hasta el final de la zona. Si inicia instrucciones tales como temporizadores o contadores en una zona MCR, la operación de instrucción se detiene cuando la zona se inhabilita. Vuelva a programar operaciones críticas fuera de la zona si fuese necesario. El temporizador TOF se activará (cuando se coloque) dentro de una zona MCR falsa. La instrucción MCR no sustituye el relé cableado de control maestro. Recomendamos que el sistema de controlador programable incluya un relé de cableado de control maestro e interruptores de parada de emergencia para proporcionar la interrupción de alimentación eléctrica de E/S. Los interruptores de parada de emergencia se pueden monitorizar pero no deben ser controlados por el programa de escalera. Cablee estos dispositivos según lo descrito en el manual de instalación. Específico de SLC 5/03 y SLC 5/04 – Cuando está en línea y existe en su programa una instrucción MCR desigual, la instrucción END sirve como la segunda instrucción MCR no condicional y todos los renglones siguientes a la primera instrucción MCR se ejecutan por medio del estado de instrucción MCR actual. Puede guardar el programa cuando está en línea si existen instrucciones MCR desatendidas. Sin embargo, si está fuera de línea y existen instrucciones MCR desatendidas, ocurrirá un error.
  • 160.
    Manual de referenciadel juego de instrucciones 5–10 Fin temporal (TND) Cuando el renglón de esta instrucción es verdadero, previene que el procesador realice un escán del resto del archivo de programa, actualiza la E/S y reanuda el escaneado a partir del renglón 0 del programa principal (archivo 2). Si la instrucción de este renglón es falsa, el procesador sigue realizando el escán hasta la próxima instrucción TND o el comando END. Use esta instrucción para depurar progresivamente un programa o eliminar condicionalmente el resto de su archivo de programa o subrutinas existentes. Nota Si usa esta instrucción dentro de una subrutina anidada, se termina la ejecución de todas las subrutinas anidadas. Controladores MicroLogix 1000 No ejecute esta instrucción desde la rutina de fallo de error del usuario (archivo 3), rutina de interrupción del contador de alta velocidad (archivo 4) ni la rutina de interrupción temporizada seleccionable (archivo 5) ya que ocurrirá un error. 3 3 3 3 3 3 (TND)
  • 161.
    Instrucciones de flujode programa 5–11 Suspender (SUS) Cuando esta instrucción se ejecuta, causa que el procesador entre en el modo de Suspend/Idle y almacena la identificación de suspender en palabra 7 (S:7) del archivo de estado. Todas las salidas se desactivan.Suspender (SUS) Use esta instrucción para capturar e identificar condiciones específicas para la depuración de programas y la localización y corrección de fallos de sistemas. Cómo introducir parámetros Introduzca un número de identificación de suspender de –32,768 a +32,767 al programar la instrucción. Cuando la instrucción SUS se ejecuta, la identificación programada así como la identificación del archivo de programa desde el cual se ejecuta la instrucción SUS se colocan en el archivo de estado del sistema. 3 3 3 3 3 3 SUS SUSPEND Suspend ID
  • 162.
    Manual de referenciadel juego de instrucciones 5–12 Entrada inmediata con máscara (IIM) Esta instrucción le permite actualizar datos antes del escán de entrada normal. Cuando la instrucción IIM se habilita, el escán de programa se interrumpe. Los datos de una ranura de E/S especificada se transfieren a través de una máscara al archivo de datos de entrada poniendo así los datos a la disposición de instrucciones siguientes a la instrucción IIM en el programa de escalera. Para la máscara, 1 en la posición de un bit de entrada transfiere datos desde la fuente hasta el destino. 0 inhibe que los datos se transfieran desde la fuente hasta el destino. Cómo introducir parámetros Ranura – Especifique el número de ranura de entrada y el número de palabra perteneciente a la ranura. No es necesario especificar la palabra 0 de una ranura. Los procesadores fijos y SLC 5/01 pueden tener hasta 8 palabras asociadas con la ranura. Los procesadores SLC 5/02, SLC 5/03 y SLC 5/04 pueden tener hasta 32 palabras asociadas con la ranura (0–31). Para todos los controladores MicroLogix 1000 especifique I1:0.0. Para los controladores de E/S 16, I1:0/0–9 son válidos e I1:0/10–15 se consideran como entradas no usadas. (No existen físicamente.) Para los controladores de E/S 32, I1:0/0–15 e I1:1/0–3 son válidos. Especifique I1:1 si desea actualizar inmediatamente los cuatro últimos bits de entrada. Ejemplo ! ! ! Máscara – Especifique una constante hexadecimal o dirección de registro. Longitud – Para los procesadores SLC 5/03 y SLC 5/04, este parámetro se usa para transferir más de una palabra por ranura. 3 3 3 3 3 3 IMMEDIATE INPUT w MASK Slot Mask IMMEDIATE INPUT w MASK Slot Mask Length IIM !% ! $ $ ! # IIM !% ! $
  • 163.
    Instrucciones de flujode programa 5–13 Salida inmediata con máscara (IOM) Esta instrucción le permite actualizar las entradas antes del escán de salida normal. Cuando la instrucción IOM se habilita, el escán de programa se interrumpe para transferir datos a una ranura de E/S especificada a través de una máscara. Luego el escán de programa se reanuda. Para la máscara, un 1 en la posición de bit de salida transfiere datos desde la fuente hasta el destino. 0 inhibe que los datos se transfieran desde la fuente hasta el destino. Cómo introducir parámetros Ranura – Especifique el número de ranura y el número de palabra perteneciente a la ranura. No es necesario especificar la palabra 0 de una ranura. Los procesadores fijos y SLC 5/01 pueden tener hasta 8 palabras asociadas con la ranura. Los procesadores SLC 5/02, SLC 5/03 y SLC 5/04 pueden tener hasta 32 palabras asociadas con la ranura (0–31). Para todos los controladores MicroLogix 1000, especifique O0:0.0. Para los controladores de E/S 16, O0:0/0–5 son válidos y O0:0/6–15 se consideran como salidas no usadas. (No existen físicamente.) Para los controladores de E/S 32, O0:0/1–11 son válidos y O0:0/12–15 se consideran como salidas no usadas. Ejemplo Máscara – Especifique una constante hexadecimal o dirección de registro. Longitud – Para los procesadores SLC 5/03 y SLC 5/04 este parámetro se usa para transferir más de una palabra por ranura. 3 3 3 3 3 3 IMMEDIATE OUTPUT w MASK Slot Mask Length IMMEDIATE OUTPUT w MASK Slot Mask IOM !% $ $ ! # IOM !% $
  • 164.
    Manual de referenciadel juego de instrucciones 5–14 Regenerar I/S (REF) Uso de un procesador SLC 5/02 La instrucción REF no tiene parámetros de programación. Cuando se evalúa como verdadero, el escán de programa se interrumpe para ejecutar el escán de E/S y porporcionar servicio a porciones de comunicación del ciclo de operación (escritura de salidas, servicios de comunicación, lectura de entradas). Luego el escán se reanuda en la instrucción siguiente a la instrucción REF. No se le permite colocar una instrucción REF en una subrutina DII, subrutina STI, subrutina de E/S o subrutina de fallo del usuario. Los temporizadores de control (watchdog) y de escán son restablecidos al ejecutar la instrucción REF. Debe asegurarse que la instrucción REF no se coloque dentro de un lazo de programa sin fin. No coloque una instrucción REF dentro de un lazo de programa a menos que el programa se analice detenidamente. Uso de procesadores SLC 5/03 y SLC 5/04 La operación de la instrucción REF en el procesador SLC 5/03 y SLC 5/04 es la misma que para el procesador SLC 5/02. Sin embargo, al usar un procesador SLC 5/03 ó SLC 5/04 también puede seleccionar un canal de comunicación específico para el cual desea servicio. • Procesador SLC 5/03 – el canal 0 esfull duplex DF1/RS-23 ó DH-485 – el canal 1 es DH-485 • El procesador SLC 5/04 – el canal 0 es DH-485, full duplex DF1 ó ASCII – el canal 1 es DH+ 3 3 3 (REF) REF I/O REFRESH Channel 0 Channel 1
  • 165.
    Instrucciones de flujode programa 5–15 Instrucciones de control de flujo de programa en el ejemplo de aplicación de la perforadora de papel Esta sección proporciona renglones de escalera para demostrar el uso de las instrucciones de control de flujo de programa. Los renglones son parte del ejemplo de aplicación de la perforadora de papel descrito en el apéndice H. Va a añadir al programa principal en el archivo 2. Los nuevos renglones son necesarios para llamar las otras subrutinas que contienen la lógica necesaria para hacer funcionar la máquina. Cómo añadir el archivo 2 Renglón 2:3 Este renglón llama la subrutina de secuencia de la perforadora. Esta subrutina maneja la operación de una secuencia de perforación y vuelve a arrancar el transportador cuando se termina la secuencia de perforación. | +JSR–––––––––––––––+ | |–––––––––––––––––––––––––––––––––––––––––––––––––––––––––+JUMP TO SUBROUTINE+–| | |SBR file number 6| | | +––––––––––––––––––+ | Renglón 2:4 Este renglón llama la subrutina que registra la cantidad de desgaste de la broca actual. | +JSR–––––––––––––––+ | |–––––––––––––––––––––––––––––––––––––––––––––––––––––––––+JUMP TO SUBROUTINE+–| | |SBR file number 7| | | +––––––––––––––––––+ | Renglón 2:5 Existe una lógica de inicialización en la subrutina DII (archivo 4) que se debe ejecutar antes de la primera interrupción DII. Así este renglón permite que el DII esté inicializado saltando a la subrutina DII cuando el procesador entre en el modo RUN. | Primera | | transferencia | | S:1 +JSR–––––––––––––––+ | |––––] [––––––––––––––––––––––––––––––––––––––––––––––––––+JUMP TO SUBROUTINE+–| | 15 |SBR file number 4| | | +––––––––––––––––––+ |
  • 166.
    Manual de referenciadel juego de instrucciones 5–16
  • 167.
    Instrucciones específicas deaplicación 6–1 6 Instrucciones específicas de aplicación Este capítulo contiene información general acerca de las instrucciones específicas de aplicación y explica cómo funcionan en su programa de aplicación. Cada una de las instrucciones incluye información acerca de: • cómo aparece el símbolo de instrucción • cómo usar la instrucción Además, la última sección contiene un ejemplo de aplicación para una perforadora de papel que muestra el uso de las instrucciones específicas de aplicación. Instrucciones específicas de aplicación Instrucción Propósito Página Mnemónico Nombre Propósito Página BSL y BSR ! ! ! ! $ % ! ! ! 6-5 SQO y SQC $ # 6-9 SQL $ 6-14
  • 168.
    Manual de referenciadel juego de instrucciones 6–2 Acerca de las instrucciones específicas de aplicación Estas instrucciones simplifican el programa de escalera permitiéndole a usted usar una sola instrucción o un par de instrucciones para efectuar operaciones complejas comunes. En este capítulo se encuentra una descripción general antes de cada grupo de instrucciones. Antes de aprender acerca de las instrucciones en cada uno de estos grupos, le recomendamos que lea la descripción general. Este capítulo contiene las descripciones generales siguientes: • Descripción general de las instrucciones de desplazamiento de bit • Descripción general de las instrucciones del secuenciador
  • 169.
    Instrucciones específicas deaplicación 6–3 Descripción general de las instrucciones de desplazamiento de bit La información general siguiente se aplica a las instrucciones de desplazamiento de bit. Cómo introducir los parámetros Introduzca los parámetros siguientes al programar estas instrucciones: • El archivo es la dirección del fichero de bit que desea manejar. Debe usar el indicador de archivo (#) en la dirección de fichero de bit. • El control es el elemento de control que almacena el byte de estado de la instrucción, el tamaño del fichero (en número de bits). Anote que la dirección de control no se debe usar para otras instrucciones. El elemento de control se muestra abajo. EN DN ER UL No usada 15 13 11 10 00 Tamaño del fichero de bit (número de bits) Reservada Pal. 0 Pal. 1 Pal. 2 Los bits de estado del elemento de control se pueden direccionar mnemónicamente. Entre éstos se incluyen: – El bit de descarga UL (bit 10) almacena el estado del bit salido del fichero cada vez que la instrucción se habilita. – El bit de error ER (bit 11), cuando se establece, indica que la instrucción ha detectado un error tal como la introducción de un número negativo para la longitud o posición. Evite usar el bit de salida cuando este bit esté establecido. – El bit de efectuado DN (bit 13), cuando se establece, indica que el fichero de bit se ha desplazado una posición. – El bit de habilitación EN (bit 15) está establecido en una transición de falso a verdadero del renglón e indica que la instrucción está habilitada.
  • 170.
    Manual de referenciadel juego de instrucciones 6–4 Cuando el registro se desplaza y las condiciones de entrada se hacen falsas, los bits de habilitación, efectuado y error se restablecen. • El bit de dirección es la dirección del bit de fuente que la instrucción inserta en la primera (más baja) posición de bit (BSL) o en la última (más alta) posición de bit (BSR). • La longitud (tamaño del arreglo de bit) es el número de bits en el fichero de bit, hasta 2048 bits. Un valor de longitud de 0 causa que el bit de entrada se transfiera al bit UL. – Para los procesadores SLC la longitud es 2048 – Para los controladores MicroLogix 1000 la longitud es 1680 Un valor de longitud que indica más allá del fin del archivo programado causa la ocurrencia de un error mayor de tiempo de ejecución. Si modifica un valor de longitud con su programa de escalera, asegúrese que el valor modificado sea válido. La instrucción invalida todos los bits más allá del último bit en el fichero (según se define por la longitud) hasta el próximo límite de palabra. Nota Si una dirección de elemento STring se usa para el parámetro del archivo, la longitud máxima en un procesador SLC 5/03 y SLC 5/04 es 672 bits. Además, los límites del elemento STring no se pueden cruzar. Efectos en el registro de índice S:24 La operación de desplazamiento pone a cero el registro de índice S:24.
  • 171.
    Instrucciones específicas deaplicación 6–5 Desplazamiento de bit izquierdo (BSL) Desplazamiento de bit derecho (BSR) BSL y BSR son instrucciones de salida que cargan bit por bit los datos en un fichero de bit. Los datos son desplazados a través del fichero y luego son descargados bit por bit. Uso de BSL Cuando el renglón va de falso a verdadero, el procesador establece el bit de habilitación (EN bit 15) y el bloque de datos se desplaza a la izquierda (a un número de bit superior) por una posición de bit. El bit especificado en la dirección de bit se desplaza a la primera posición de bit. El último bit se desplaza fuera del fichero y se almacena en el bit de descarga (UL bit 10). El desplazamiento se realiza inmediatamente. Para la operación de ajuste automático de línea, establezca la posición de la dirección de bit en el último bit del fichero o en el bit UL, según sea aplicable. 3 3 3 3 3 3 (EN) (DN) BSR BIT SHIFT RIGHT File #B3:2 Control R6:15 Bit AddressI:23/06 Length 38 (EN) (DN) BSL BIT SHIFT LEFT File #B3:1 Control R6:14 Bit AddressI:22/12 Length 58
  • 172.
    Manual de referenciadel juego de instrucciones 6–6 La ilustración siguiente muestra cómo funciona la instrucción de desplazamiento de bit izquierdo. (EN) (DN) BSL BIT SHIFT LEFT File #B3:1 Control R6:14 Bit Address I:22/12 Length 58 19 18 17 16 35 34 33 51 50 49 48 67 66 65 64 32 23 22 21 20 39 38 37 55 54 53 52 71 70 69 68 36 27 26 25 24 43 42 41 59 58 57 56 73 72 40 31 30 29 28 47 46 45 63 62 61 60 44 NO VALIDO # % % % % $# % $ $ $!' % ! # % $ % $% % Si desea desplazar más de un bit por escán, debe crear un lazo en la aplicación usando las instrucciones JMP, LBL y CTU. Uso de BSR Cuando el renglón va de falso a verdadero, el procesador establece el bit de habilitación (EN bit 15) y el bloque de datos se desplaza a la derecha (a un número de bit superior) por una posición de bit. El bit especificado en la dirección de bit se desplaza a la última posición de bit. El primer bit se desplaza fuera del fichero y se almacena en el bit de descarga (UL bit 10) en el byte de estado del elemento de control. El desplazamiento se completa inmediatamente. Para la operación de ajuste automático de línea, establezca la posición de la dirección de bit en el primer bit del fichero o en el bit UL, según sea aplicable.
  • 173.
    Instrucciones específicas deaplicación 6–7 La ilustración siguiente muestra cómo funciona la instrucción de desplazamiento de bit derecho. (EN) (DN) BSR BIT SHIFT RIGHT File #B3:2 Control R6:15 Bit Address I:23/06 Length 38 35 34 33 51 50 49 48 67 66 65 64 32 39 38 37 55 54 53 52 69 68 36 43 42 41 59 58 57 56 40 47 46 45 63 62 61 60 44 INVALID $ $ %$ $ # !% $# # # $ $ # $ #$ $ Si desea desplazar más de un bit por escán, debe crear un lazo en la aplicación usando las instrucciones JMP, LBL y CTU.
  • 174.
    Manual de referenciadel juego de instrucciones 6–8 Descripción general de las instrucciones de secuenciador La información general siguiente se aplica a las instrucciones de secuenciador. Efectos en el registro de índice S:24 El valor presente en el registro de índice S:24 se sobrescribe cuando la instrucción de secuenciador es verdadera. El valor del registro de índice será igual al valor de posición de la instrucción. Aplicaciones que requieren más de 16 bits Cuando la aplicación requiere más de 16 bits, use instrucciones de secuenciador múltiple en paralelo. Nota Refiérase al apéndice H para ejemplos de aplicación que usan las instrucciones de secuenciador. Nota Si se usa una dirección de elemento STring para el parámetro de archivo, la longitud máxima en un procesador SLC 5/03 y SLC 5/04 es 41 palabras. Además,no se pueden cruzar los límites del elemento STring.
  • 175.
    Instrucciones específicas deaplicación 6–9 Salida de secuenciador (SQO) Comparación de secuenciador (SQC) Estas intstrucciones transfieren datos de 16 bits a direcciones de palabra para el control de operaciones secuenciales de la máquina. Cómo introducir parámetros Introduzca los parámetros siguientes al programar estas instrucciones: • El archivo es la dirección del archivo de secuenciador. Debe usar el indicador de archivo (#) para esta dirección. Los datos del archivo de secuenciador se usan de la manera siguiente: Instrucción El archivo de secuenciador almacena: • La máscara (SQO, SQC) es un código hexadecimal o la dirección de la palabra o archivo de máscara a través de la cual la instrucción mueve datos. Establezca los bits de máscara para transferir datos y restablezca los bits de máscara para enmascarar datos. Use una palabra o archivo de máscara si desea cambiar la máscara según los requisitos de aplicación. Si la máscara es un archivo, su longitud será igual a la longitud del archivo de secuenciador. Los dos archivos registran automáticamente. • La fuente es la dirección de la palabra o archivo de entrada para un SQC de la cual la instrucción obtiene datos para comparación con su archivo de secuenciador. • El destino es la dirección de la palabra o archivo de salida para un SQC a la cual la instrucción mueve datos de su archivo de secuenciador. 3 3 3 3 3 3 SQO SEQUENCER OUTPUT File #B10:1 Mask 0F0F Dest O:14 Control R6:20 Length 4 Position 2 (EN) (DN) SQC SEQUENCER COMPARE File #B10:11 Mask FFF0 Source I:03 Control R6:21 Length 4 Position 2 (FD) (EN) (DN)
  • 176.
    Manual de referenciadel juego de instrucciones 6–10 Nota Puede direccionar la máscara, fuente o destino de una instrucción de secuenciador como palabra o archivo. Si la direcciona como archivo (usando # de indicador de archivo), la instrucción pasa automáticamente por el archivo de fuente, máscara o destino. • El control (SQO, SQC) es la estructura de control que almacena el byte de estado de la instrucción, la longitud del archivo de secuenciador y la posición instantánea en el archivo. No debe usar la dirección de control para otras instrucciones. EN DN ER FD 15 13 11 08 00 Longitud del archivo de secuenciador Posición Pal. 0 Pal. 1 Pal. 2 Los bits de estado de la estructura de control incluyen: – El bit de encontrado FD (bit 08) – SQC solamente. Cuando el estado de todos los bits sin máscara en la dirección de fuente corresponden a los de la palabra de referencia, el bit FD está establecido. Este bit se evalúa cada vez que la instrucción SQC es evaluada mientras el renglón sea verdadero. – El bit de error ER (bit 11) se establece cuando el procesador detecta un valor de posición negativo, o un valor de longitud negativo o de cero. Esto resulta en un error mayor si no se borra antes de la ejecución de la instrucción END o TND. – El bit de efectuado Bit DN (bit 13) lo establece la instrucción SQO o SQC después de operar en la última palabra en el archivo de secuenciador. Se restablece en la próxima transición de renglón de falso a verdadero después de que el renglón se haga falso. – El bit de habilitación EN (bit 15) lo establece una transición de renglón de falso a verdadero e indica que la instrucción SQO o SQC se ha habilitado. • La longitud es el número de pasos del archivo de secuenciador a partir de la posición 1. El número máximo que puede introducir es 255 palabras (104 palabras cuando usa los controladores MicroLogix 1000). La posición 0 es la posición de arranque. La instrucción se restablece (se ajusta automáticamente) a la posición 1 durante cada ciclo completado. La dirección asignada para un archivo de secuenciador es paso cero. Las instrucciones de secuenciador usan la longitud + 1 palabra de archivos de la tabla de datos para cada archivo indicado en la instrucción. Esto se aplica a la fuente, máscara y/o destino si se direccionan como archivos. Un valor de longitud que indica más allá del fin del archivo programado causa la coincidencia de un error mayor de tiempo de ejecución. Si modifica un valor de longitud con su programa de escalera, asegúrese que el valor modificado sea válido.
  • 177.
    Instrucciones específicas deaplicación 6–11 • La posición es la ubicación o paso de palabra en el archivo de secuenciador al cual/desde el cual la instrucción mueve datos. Un valor de longitud que indica más allá del final del archivo programado provoca un error mayor de tiempo de ejecución. Si modifica un valor de longitud con su programa de escalera, asegúrese que el valor modificado sea válido. Nota de aplicación: Puede usar la instrucción de restablecimiento (RES) para restablecer un secuenciador. Todos los bits de control (excepto FD) se pondrán a cero. La posición también se pondrá a cero. Programe la dirección de su registro de control en el RES (por ej., R6:0). Uso de SQO Esta instrucción de salida pasa por el archivo de secuenciador cuyos bits han sido enviados para controlar varios dispositivos de salida. Cuando el renglón va de falso a verdadero, la instrucción se incrementa hasta el próximo paso (palabra) en el archivo de secuenciador. Los datos almacenados en éste se transfieren a través de una máscara a la dirección de destino especificada en la instrucción. Los datos actuales se escriben en la palabra de destino correspondiente durante cada escán en que el renglón permanece verdadero. El bit de efectuado se establece cuando la última palabra del archivo de secuenciador se transfiere. En la próxima transición de renglón de falso a verdadero, la instrucción restablece la posición al paso uno. Si la posición es igual a cero al momento de arranque, cuando usted conmuta el procesador del modo de programa al modo de marcha, la operación de la instrucción dependerá de si el renglón es verdadero o falso en el primer escán. • Si es verdadero, la instrucción transfiere el valor al paso cero. • Si es falso, la instrucción espera la primera transición de renglón de falso a verdadero y transfiere el valor al paso uno. Los bits enmascaran datos cuando se restablecen y transfieren datos cuando se establecen. La instrucción no cambia el valor en la palabra de destino a menos que usted establezca los bits de máscara. La máscara puede ser fija o variable. Será variable si introduce una dirección de elemento o una dirección de archivo para cambiar la máscara con cada paso.
  • 178.
    Preface Manual de referenciadel juego de instrucciones 6–12 La ilustración siguiente indica cómo funciona la instrucción SQO. SQO SEQUENCER OUTPUT File #B10:1 Mask 0F0F Dest O:14.0 Control R6:20 Length 4 Position 2 (EN) (DN) 0000 0101 0000 1010 0 7 8 15 0000 1111 0000 1111 0 7 8 15 0000 0000 0000 0000 1010 0010 1111 0101 1111 0101 0100 1010 0101 0101 0101 0101 0000 1111 0000 1111 0 1 2 3 4 Paso B10:1 2 3 4 5 Palabra 00 01 02 03 04 05 06 07 08 09 10 11 12 13 14 15 Activ. Activ. Activ. Activ. Salidas externas asociadas con O:14 Destino O:14.0 Valor de máscara 0F0F Archivo de salida de secuenciador #B10:1 Paso actual Uso de SQC Cuando el estado de todos los bits sin máscara en la palabra de fuente corresponden a los de la palabra de referencia, la instrucción establece el bit de encontrado (FD) en la palabra de control. En caso contrarior, el bit de encontrado (FD) se pone a cero. Los bits enmascaran datos cuando se restablecen y transfieren datos cuando se establecen. La máscara puede ser fija o variable. Si introduce un código hexadecimal, la máscara es fija. Si introduce una dirección de elemento o una dirección de archivo para cambiar la máscara con cada paso, la máscara es variable. Cuando el renglón va de falso a verdadero, la instrucción se incrementa al próximo paso (palabra) en el archivo de secuenciador. Los datos almacenados en éste se transfieren a través de una máscara y se comparan contra los datos de fuente para determinar igualdad. Si los datos de fuente son iguales a los datos de referencia, el bit FD se establece en el contador de control de SQC. Los datos actuales se comparan contra la fuente durante cada escán en que el renglón es evaluado como verdadero.
  • 179.
    Instrucciones específicas deaplicación 6–13 Las aplicaciones de la instrucción SQC incluyen diagnósticos de máquina. La ilustración siguiente explica cómo funciona la instrucción SQC. 0010 0100 1001 1101 1111 1111 1111 0000 0010 0100 1001 1010 0 1 2 3 4 Paso B10:11 12 13 14 15 Palabra Palabra de entrada I:3.0 Valor de máscara FFF0 Archivo de ref. de secuenciador #B10:11 (EN) (DN) SQC SEQUENCER COMPARE File #B10:11 Mask FFF0 Source I:3.0 Control R6:21 Length 4 Position 2 (FD) ! !% ! ! $ ! $ # ! ! ! ! $
  • 180.
    Manual de referenciadel juego de instrucciones 6–14 Carga de secuenciador (SQL) La instrucción SQL almacena datos de 16 bits en un archivo de carga de secuenciador a cada paso de la operación del secuenciador. La fuente de estos datos puede ser una dirección de palabra de E/S o de almacenamiento, una dirección de archivo o una constante. Cómo introducir parámetros Introduzca los parámetros siguientes al programar esta instrucción: • El archivo es la dirección del archivo de secuenciador. Debe usar el indicador de archivo (#) para esta dirección. • La fuente puede ser una dirección de palabra, dirección de archivo o una constante (–32768 a 32767). Si la fuente es una dirección de archivo, la longitud de archivo es igual a la longitud del archivo de carga de secuenciador. Los dos archivos pasarán automáticamente según el valor de posición. • La longitud es el número de pasos del archivo de carga de secuenciador (y también de la fuente si la fuente es una dirección de archivo), a partir de la posición 1. El número máximo que puede introducir es 255 palabras (104 palabras cuando usa los controladores MicroLogix 1000). La posición 0 es la posición de arranque. La instrucción se restablece (se ajusta automáticamente) a la posición 1 durante cada ciclo completado. La dirección de posición asignada para un archivo de secuenciador es el paso cero. Las instrucciones de secuenciador usan la longitud más una palabra de datos para cada archivo con referencia en la instrucción. Esto se aplica a la fuente si se direcciona como archivo. Un valor de longitud que indica más allá del fin del archivo programado provoca un error mayor de tiempo de ejecución. Si modifica un valor de longitud con su programa de escalera, asegúrese que el valor modificado sea válido. • La posición es la ubicación o paso de palabra en el archivo de secuenciador a la cual se mueven los datos. Un valor de longitud que indica más allá del fin del archivo programado provoca un error mayor de tiempo de ejecución. Si modifica un valor de longitud con su programa de escalera, asegúrese que el valor modificado sea válido. 3 3 3 3 (EN) (DN) SQL SEQUENCER LOAD File Source Control Length Position
  • 181.
    Instrucciones específicas deaplicación 6–15 • El control es una dirección de archivo de control. Los bits de estado, valor de longitud y valor de posición se almacenan en este elemento. No use la dirección de archivo de control para otras instrucciones. El elemento de control se muestra abajo: EN DN ER 15 14 13 12 11 10 09 08 07 06 05 04 03 02 01 00 Longitud Posición Pal. 0 Pal. 1 Pal. 2 Los bits de estado de la estructura de control incluyen: – El bit de error ER (bit 11) se establece cuando el procesador detecta un valor de posición negativo, o un valor de longitud negativo o de cero. Para los procesadores SLC, esto resulta en un error mayor si no se pone a cero antes de la ejecución de la instrucción END o TND. Para los controladores MicroLogix 1000, cuando el bit ER se establece también se establece el bit de error (S5:2). Ambos bits se deben poner a cero. – El bit de efectuado DN (bit 13) se establece después de que la instrucción haya operado en la última palabra en el archivo de carga de secuenciador. Se restablece en la próxima transición de renglón de falso a verdadero después de que el renglón se haga falso. – El bit de habilitación EN (bit 15) se establece en una transición de falso a verdadero del renglón SQL y se restablece en una transición de verdadero a falso.
  • 182.
    Preface Manual de referenciadel juego de instrucciones 6–16 Operación Los parámetros de instrucción han sido programados en la instrucción SQL ilustrada abajo. La palabra de entrada I:1.0 es la fuente. Los datos en esta palabra son cargados en el archivo de entero #N7:30 por la instrucción de carga de secuenciador. (EN) (DN) SQL SEQUENCER LOAD File #N7:30 Source I:1.0 Control R6:4 Length 4 Position 2 0000 0101 0000 1010 0 7 8 15 0000 0000 0000 0000 1010 0010 1111 0101 0000 0101 0000 1010 0000 0000 0000 0000 0000 0000 0000 0000 0 1 2 3 4 Paso N7:30 31 32 33 34 Palabra 00 01 02 03 04 05 06 07 08 09 10 11 12 13 14 15 Activ. Activ. Activ. Activ. Entradas externas asociadas con I:1.0 Fuente I:1.0 Archivo de carga de secuenciador #N7:30 Paso actual Cuando las condiciones de renglón cambian de falso a verdadero, el bit de habilitación SQL (EN) se establece. El elemento de control R6:4 se incrementa a la próxima posición en el archivo de secuenciador y carga el contenido de la fuente I:1.0 en esta ubicación. La instrucción SQL sigue cargando los datos actuales en esta ubicación durante cada escán en que el renglón permanece verdadero. Cuando el renglón se vuelve falso, el bit de habilitación (EN) se pone a cero. La instrucción carga los datos en un nuevo elemento de archivo a cada transición de falso a verdadero del renglón. Cuando se completa el paso 4, el bit de efectuado (DN) se establece. La operación avanza a la posición 1 en la próxima transición de falso a verdadero del renglón después de la posición 4. Si la fuente fuera una dirección de archivo tal como #N7:40, los archivos #N7:40 y #N7:30 tendrían una longitud de 5 (0–4) y rastrearían conjuntamente por los pasos según el valor de posición.
  • 183.
    Instrucciones específicas deaplicación 6–17 Instrucciones específicas de aplicación en el ejemplo de aplicación de la perforadora de papel Esta sección proporciona renglones de escalera para demonstrar el uso de las instrucciones específicas de aplicación. Los renglones son parte del ejemplo de aplicación de la perforadora de papel descrito en el apéndice H. Usted iniciará una rubrutina en el archivo 4. Esta porción de la subrutina indica al transportador dónde detenerse para permitir la perforación de un orificio. Las instrucciones de secuenciador se usan para almacenar las posiciones de parada del transportador y cargar la “próxima” posición de parada en la palabra preseleccionada DII. (La interrupción de entrada discreta, DII, se usa para contar impulsos precedentes del codificador [encoder] que está conectado al transportador.) Las posiciones de parada se usan para almacenar y acceder cada una de las tres configuraciones de orificios. /-/ /+, %*$ -(( ++* %*$ -(( +1 %0)1%( #+- % '*.. * -(( %*$ ./ +( +( +( 2.1/ % -# +. ,-#+-!+. */--0,/+- .( /+- ! ,-#+- 3* -#+-!+-
  • 184.
    Manual de referenciadel juego de instrucciones 6–18 Renglón 4:0 Este renglón restablece los secuenciadores de conteo de orificios cada vez que el procesador entra en el modo RUN. Esto asegura que el primer valor preseleccionado se cargue en la DII preseleccionada a cada entrada en el modo de marcha. | Primer secuenciador | | paso de 3 orificios | | preseleccionado| | +INT––––––––––––––––––––+ S:1 R6:4 | |–+INTERRUPT SUBROUTINE +––––] [––––––––––––––––––––––––––––––+–––(RES)––––+–| | +–––––––––––––––––––––––+ 15 | | | | | secuenc. | | | | de 5 orif. | | | | preselecc. | | | | R6:5 | | | +–––(RES)––––+ | | | | | | | secuenc. | | | | de 7 orif. | | | | preselecc. | | | | R6:6 | | | +–––(RES)––––+ | | | Renglón 4:2 Este renglón registra el número de orificio que se perfora y carga la próxima DII correcta preseleccionada basada en el conteo de orificios. Este renglón solamente está activo cuando el “interruptor selector de orificio” está en la posición de “3 orificios”. El secuenciador usa el paso 0 como un paso nulo al restablecerse. Usa el último paso como “continuar infinitivamente” en espera del “fin de manual”. El mover 0 a S:49 le indica a la DII que dispare una interrupción cuando el borde trasero del libro actual se detecta. | bit 0 |bit 1 secuenciador | | del interr. |del interr. de 3 orificios | | selector |selector preseleccionado | | de orificio |de orificio | | I:1.0 I:1.0 +SQO–––––––––––––––+ | |––––]/[––––––––] [–––––––––+––––––––––––––––––––––+SEQUENCER OUTPUT +–(EN)–+–| | 9 10 | |File #N10:0+–(DN) | | | | |Mask FFFF| | | | | |Dest S:50| | | | | |Control R6:4| | | | | |Length 4| | | | | |Position 0| | | | | +––––––––––––––––––+ | | | | | |
  • 185.
    Instrucciones específicas deaplicación 6–19 | | | | | | forzar que el | | | | secuenciador | | | | incremente en | | | | el próximo escán | | | | R6:4 | | | +–––––––––––––––––––––––––(U)––––––––––––––––––––+ | | | EN | | Renglón 4:3 Este renglón es idéntico al renglón anterior con la excepción de que sólo está activado cuando el “interruptor selector de orificio” está en la posición de “5 orificios”. | bit 0 |bit 1 secuenciador | | del interr. |del interr. de 5 orificios | | selector de |selector de preseleccionado | | orificio |orificio | | I:1.0 I:1.0 +SQO–––––––––––––––+ | |––––] [––––––––]/[–––––––––+––––––––––––––––––––––+SEQUENCER OUTPUT +–(EN)–+–| | 9 10 | |File #N10:5+–(DN) | | | | |Mask FFFF| | | | | |Dest S:50| | | | | |Control R6:5| | | | | |Length 6| | | | | |Position 0| | | | | +––––––––––––––––––+ | | | | | | | | forzar que el | | | | secuenciador | | | | incremente en | | | | el próximo escán | | | | R6:5 | | | +–––––––––––––––––––––––––(U)––––––––––––––––––––+ | | | EN | |
  • 186.
    Manual de referenciadel juego de instrucciones 6–20 Renglón 4:4 Este renglón is idéntico a los 2 renglones anteriores con la excepción de que sólo está activado cuando el “interruptor selector de orificio” está en la posición de “7 orificios”. | bit 0 |bit 1 secuenciador | | del interr. |del interr. de 7 orificios | | selector de |selector de preseleccionado | | orificio |orificio | | I:1.0 I:1.0 +SQO–––––––––––––––+ | |––––] [––––––––] [–––––––––+––––––––––––––––––––––+SEQUENCER OUTPUT +–(EN)–+–| | 9 10 | |File #N10:12+–(DN) | | | | |Mask FFFF| | | | | |Dest S:50| | | | | |Control R6:6| | | | | |Length 8| | | | | |Position 0| | | | | +––––––––––––––––––+ | | | | forzar que el | | | | secuenciador | | | | incremente en | | | | el próximo escán | | | | R6:6 | | | +–––––––––––––––––––––––––(U)––––––––––––––––––––+ | | | EN | |
  • 187.
    Cómo usar lasinstrucciones del contador de alta velocidad 7–1 7 Cómo usar las instrucciones del contador de alta velocidad Este capítulo contiene información general acerca de las instrucciones del contador de alta velocidad y explica cómo funcionan en su programa de aplicación. Cada una de las instrucciones incluye información acerca de: • cómo aparece el símbolo de instrucción • cómo usar la instrucción Además, la última sección contiene un ejemplo de aplicación para una perforadora de papel que muestra el uso de las instrucciones del contador de alta velocidad. Instrucciones del contador de alta velocidad Mnemónico Nombre Propósito Página HSC # ! # 7Ć6 HSL 7Ć18 RES 7Ć21 RAC 7Ć22 HSE HSD # # # # ! 7-23 OTE ! ! 7Ć24
  • 188.
    Manual de referenciadel juego de instrucciones 7–2 Acerca de las instrucciones del contador de alta velocidad Las instrucciones del contador de alta velocidad usadas en su programa de escalera configuran, controlan y monitorizan el contador de hardware del controlador. El acumulador de hardware del contador incrementa o decrementa en respuesta a señales de entrada externas. Cuando el contador de alta velocidad está habilitado, el contador de tabla de datos C5:0 es usado por el programa de escalera para monitorizar el acumulador y estado del contador de alta velocidad. El contador de alta velocidad opera independientemente del escán de controlador. Cuando use el contador de alta velocidad, asegúrese de ajustar debidamente los filtros de entrada. Antes de aprender estas instrucciones, lea la descripción general que sigue en la próxima página.
  • 189.
    Cómo usar lasinstrucciones del contador de alta velocidad 7–3 Descripción general de las instrucciones del contador de alta velocidad Use las instrucciones del contador de alta velocidad para detectar y almacenar impulsos estrechos (rápidos) y para iniciar otras operaciones de control basadas en los valores preseleccionados. Estas operaciones de control incluyen la ejecución automática e inmediata de la rutina de interrupción del contador de alta velocidad (archivo 4) y la actualización inmediata de salidas basada en una configuración de fuente y máscara que usted ha establecido. Elementos del archivo de datos del contador Las instrucciones del contador de alta velocidad hacen referencia al contador C5:0. La instrucción HSC se fija a C5:0. Se compone de tres palabras. La palabra 0 es la palabra de estado que contiene 15 bits de estado. La palabra 1 es el valor preselec- cionado. La palabra 2 es el valor acumulador. Una vez asignado a la instrucción HSC, C5:0 no está disponible como dirección para otras instrucciones de contador. CU CD DN OV UN UA HP LP IV IN IH IL PE LS IE 15 14 13 12 11 10 09 08 07 06 05 04 03 02 01 00 Valor preseleccionado Valor de acumulador CU = Bit de habilitación de conteo progresivo CD = Bit de habilitación de conteo regresivo DN = Bit de alto valor preseleccionado alcanzado OV = Bit de overflow ocurrido UN = Bit de underflow ocurrido UA = Bit de actualización de acumulador de contador de alta velocidad HP = Bit de alto valor preseleccionado ≥ de acumuladorÀ LP = Bit de bajo valor preseleccionado ≤ de acumulador IV = Bit de overflow ha causado interrupción de contador de alta velocidadÀ IN = Bit de underflow ha causado interrupción de contador de velocidadÀ IH = Bit de alto valor preseleccionado ha causado interrupciónÀ IL = Bit de bajo valor preseleccionado ha causado interrupciónÀ PE = Bit de interrupción pendiente de contador de alta velocidadÀ LS = Bit de interrupción perdida de contador de alta velocidadÀ IE = Bit de habilitación de interrupción de contador de alta velocidadÀ Pal. 0 Pal. 1 Pal. 2 Palabra de estado À Los valores preseleccionados y acumulados del contador se almacenan como enteros signados. Uso de bits de estado Los bits de estado del contador de alta velocidad son retentivos. Cuando el contador de velocidad se configura por primera vez, los bits 3–7, 14 y 15 se restablecen y el bit 1 (IE) se establece.
  • 190.
    Manual de referenciadel juego de instrucciones 7–4 • El bit de habilitación del contador progresivo CU (bit 15) se usa con todos los tipos de contadores de alta velocidad. Si la instrucción HSC es verdadera, el bit CU se pone a uno. Si la instrucción HSC es falsa, el bit CU se pone a cero. No escriba a este bit. • El bit de habilitación del contador regresivo CD (bit 14) se usa con los contadores bidireccionales (modos 3–8). Si la instrucción HSC es verdadera, el bit CD se pone a uno. Si la instrucción HSC es falsa, el bit CD se pone a cero. No escriba a este bit. • Bit de valor alto preseleccionado alcanzado DN (bit 13) Para los contadores progresivos (modos 1 y 2), este bit es un bit de enclavamiento disparado por flanco. Este bit se establece cuando el valor alto preseleccionado se alcanza. Puede restablecer este bit con una instrucción OTU o ejecutando una instrucción RAC o RES. El bit DN es un bit reservado para todas las otras opciones del contador (modos 3–8). • Bit de overflow ocurrido OV (bit 12) Para los contadores progresivos (modos 1 y 2), este bit está establecido por el controlador cuando el valor alto preseleccionado se alcanza si el bit DN se ha establecido. Para los contadores bidireccionales (modos 3–8), el bit OV está establecido por el controlador después de la transición del acumulador de hardware de 32,767 a –32,768. Puede restablecer este bit con una instrucción OTU o ejecutando una instrucción RAC o RES para los contadores progresivos y bidireccionales. • El bit de underflow ocurrido UN (bit 11) es un bit reservado para los contadores progresivos (modos 1 y 2). No escriba a este bit. Nota Para los contadores bidireccionales (modos 3–8), el bit UN está establecido por el controlador cuando el acumulador de hardware hace una transición de –32,768 a +32,767. Puede restablecer este bit con una instrucción o ejecutando una instrucción RAC o RES. • El bit de actualización del acumulador del contador de alta velocidad UA (bit 10) se usa con una instrucción OTE para actualizar el valor del acumulador de imagen de instrucción con el valor del acumulador de hardware. (La instrucción HSC también realiza esta operación cada vez que el renglón con la instrucción HSC es evaluado como verdadero.) • El bit de acumulador valor alto preseleccionado HP (bit 9) es un bit reservado para todos los contadores progresivos (modos 1 y 2). No escriba a este bit. (Excepción – puede establecer o restablecer este bit durante la configuración inicial de la instrucción HSC. Vea la página 7–6 para obtener más información.) Para los contadores bidireccionales (modos 3–8), si el acumulador de hardware se hacer mayor o igual que el valor alto preseleccionado, el bit HP se restablece. Si el acumulador de hardware se hace menor que el valor alto preseleccionado, el bit HP será restablecido por el controlador.
  • 191.
    Cómo usar lasinstrucciones del contador de alta velocidad 7–5 • El bit de acumulador ≤ valor bajo preseleccionado LP (bit 8) es un bit reservado para todos los contadores progresivos. No escriba a este bit. (Excepción – puede establecer o restablecer este bit durante la configuración inicial de la instrucción HSC. Vea la página 7–6 para obtener más información. Para los contadores bidireccionales, si el acumulador de hardware se hace menor o igual que el valor bajo preseleccionado, el bit LP será establecido por el controlador. Si el acumulador de hardware se hace mayor que el valor bajo preseleccionado, el bit LP será restablecido por el controlador. • El bit de interrupción del contador de alta velocidad causada por overlow IV (bit 7) se establece para identificar un overflow como la causa de una rutina de interrupción del contador de alta velocidad. Los bits IN, IH e IL serán restablecidos por el controlador cuando el bit IV se establezca. Examine este bit al inicio de la rutina de interrupción del contador de alta velocidad (archivo 4) para determinar el porqué de la interrupción ocurrida. • El bit de interrupción del usuario causada por underflow IN (bit 6) se establece para identificar un underflow como la causa de una ejecución de la rutina de interrupción del contador de alta velocidad. Los bits IV, IH e IL serán restablecidos por el controlador cuando el bit IN se establezca. Examine este bit al inicio de la rutina de interrupción del contador de alta velocidad (archivo 4) para determinar el porqué de la interrupción ocurrida. • El bit de interrupción del usuario causada por el valor alto preseleccionado alcanzado IH (bit 5) se establece para identificar un valor alto preseleccionado alcanzado como la causa de ejecución de la rutina de interrupción del contador de alta velocidad. Los bits IV, IN e IL serán restablecidos por el controlador cuando el bit IH se establezca. Examine este bit al inicio de la rutina de interrupción del contador de alta velocidad (archivo 4) para determinar el porqué de la interrupción ocurrida. • El bit de interrupción del contador de alta velocidad causada por valor bajo preseleccionado alcanzado IL (bit 4) se establece para identificar un valor bajo preseleccionado alcanzado como la causa de ejecución de la rutina de interrupción del contador de alta velocidad. Los bits IV, IN e IH serán restablecidos por el controlador cuando el bit IL se establezca. Examine este bit al inicio de la rutina de interrupción del contador de alta velocidad (archivo 4) para determinar el porqué de la interrupción ocurrida. • Bit de interrupción pendiente del contador de alta velocidad PE (bit 3) es establece para indicar que una interrupción del contador de alta velocidad espera la ejecución. Este bit es puesto a cero por el controlador cuando la rutina de interrupción del contador de alta velocidad comienza a ejecutar. Este se restablece si una instrucción RAC o RES se ejecuta. No escriba a este bit. • El bit de interrupción perdida del contador de alta velocidad LS (bit 2) se establece si una interrupción del contador de alta velocidad ocurre mientras que el bit PE esté establecido. Puede restablecer este bit con una instrucción OTU o ejecutando una instrucción RAC o RES. • El bit de habilitación de interrupción del contador de alta velocidad IE (bit 1) se establece cuando la interrupción del contador de alta velocidad se habilita para marchar cuando ocurre una condición de interrupción del contador de alta velocidad. Se restablece cuando la interrupción se inhabilita. Este bit también se establece cuando el contador de alta velocidad se configura por primera vez. No escriba a este bit.
  • 192.
    Manual de referenciadel juego de instrucciones 7–6 Contador de alta velocidad (HSC) Use esta instrucción para configurar el contador de alta velocidad. Solamente una instrucción HSC se puede usar en un programa. El contador de alta velocidad no opera hasta que la primera ejecución verdadera de la instrucción HSC. Cuando el renglón HSC es falso, el contador de alta velocidad está inhabilitado para contar, pero todas las otras características HSC funcionan. La dirección de contador de la instrucción se fija a C5:0. Después de la configuración del HSC, el acumulador de imagen (C5:0.ACC) se actualiza con el valor del acumulador de hardware actual cada vez que la instrucción HSC se evalúa como verdadera o falsa. Cómo introducir parámetros Introduzca los parámetros siguientes al programar esta instrucción: • El tipo indica el contador seleccionado. Refiérase a la página 7–7 para hacer su selección del contador de alta velocidad. Cada tipo está disponible con funciones de restablecimiento y retención. • El valor alto preseleccionado es el valor acumulado que dispara una acción especificada por el usuario tal como la actualización de salidas o la generación de una interrupción del contador de alta velocidad. • El acumulador es el número de conteos acumulados. La terminología siguiente se usa en la tabla siguiente para indicar el estado del conteo: • Progresivo↑ – aumenta en 1 cuando la entrada se activa (margen). • Regresivo↑ – disminuye en 1 cuando la entrada se activa (margen). • Restablecimiento↑ – pone el acumulador a cero cuando la entrada se activa (margen). • Retención – inhabilita que el contador de alta velocidad cuente durante la activación de la entrada (nivel). • Conteo – aumenta o disminuye en 1 cuando la entrada se activa (margen). • Dirección – permite conteos progresivos cuando la entrada está desactivada y conteos regresivos cuando la entrada está activada (nivel). • A – impulso de entrada en un codificador (encoder) (cuadratura) incremental (margen/nivel). • B – impulso de entrada en un codificador (encoder) (cuadratura) incremental (margen/nivel). • Z – restablecimiento del impulso en un codificador (encoder) (cuadratura) incemental (margen/nivel). • ↑ – la señal está activa en la margen ascendente solamente (desactivado a activado) HSC HIGH SPEED COUNTER Type Counter C5:0 High Preset 0 Accum 0 (CD) (CU) (DN)
  • 193.
    Cómo usar lasinstrucciones del contador de alta velocidad 7–7 La tabla siguiente lista la tecla de función que debe presionar para seleccionar el tipo de contador de alta velocidad deseado. Tipo de contador de alta velocidad y tecla de Funcionalidad del contador Terminal de entrada usada velocidad y tecla de función Funcionalidad del contador de alta velocidad I/0 I/1 I/2 I/3 ↑ ! ! ↑ # ↑ ! ! ↑ ! ! ! ! ↑ # ↑ ! ! ↑ ↑ ! ! ! ! ↑ ↑ # ↑ ! ! Una diferencia entre los contadores progresivos y los contadores bidireccionales es que los valores de acumulador y preseleccionados de los contadores bidireccionales no son cambiados por el contador de alta velocidad cuando los valores preselec- cionados se alcanzan. Las instrucciones RAC y HSL se deben usar para esta función. Los contadores progresivos ponen a cero el acumulador y vuelven a cargar los valores altos preseleccionados cuando el valor preseleccionado se alcanza.
  • 194.
    Preface Manual de referenciadel juego de instrucciones 7–8 Uso del contador progresivo y el contador regresivo con restablecimiento y retención Los contadores progresivos se usan cuando el parámetro que se mide es unidireccional, tal como el material que se alimenta en una máquina o un tacómetro que registra el número de impulsos realizados durante un plazo determinado. Ambos tipos de contadores progresivos operan de la misma manera, excepto que el contador progresivo con restablecimiento y retención usa entradas externas 2 y 3. Para el contador progresivo, cada cambio del estado desactivado a activado de la entrada I:0/0 añade 1 al acumulador hasta que se alcance el valor alto predeterminado. Luego el acumulador se pone automáticamente a cero. El contador progresivo opera en el rango de 0 a +32,767 inclusivamente y se puede poner a cero usando la instrucción de restablecimiento (RES). Cuando la instrucción HSC se ejecuta como verdadera por primera vez: • El acumulador C5:0.ACC se carga en el acumulador de hardware. • El valor alto preseleccionado C5:0.PRE se carga en el valor alto preseleccionado de hardware. Operación Si usted mueve los datos al valor alto predeterminado sin usar la instrucción HSL (con MOV) después de la configuración del contador de alta velocidad, los datos se cargan en la imagen de instrucción pero no se cargan en el hardware. El valor alto preseleccionado modificado no se carga en el hardware hasta que el valor alto preseleccionado de hardware existente se alcance o hasta que una instrucción RAC o RES se ejecute. El valor alto preseleccionado cargado en el hardware debe ser entre 1 y 32,767 inclusivamente o un error de INVALID PRESETs LOADED TO HIGH SPEED COUNTER (37H) ocurre. Todo valor entre –32,768 y +32,767, ambos valores inclusive, se puede cargar en el acumulador de hardware. La condición siguiente Ocurre cuando
  • 195.
    Cómo usar lasinstrucciones del contador de alta velocidad 7–9 Cuando se alcanza un valor alto preseleccionado, los conteos se pierden. • Los acumuladores de hardware e instrucción se restablecen. • El valor alto preseleccionado de instrucción se carga en el valor alto preseleccionado de hardware. • El bit DN se establece. • El archivo de interrupción del contador de alta velocidad (archivo de programa 4) se ejecuta si la interrupción se habilita. El bit IH se establece y los bits IL, IV e IN se establecen. Si el bit DN ya está establecido cuando se alcanza un valor alto preseleccionado, el bit OV está establecido. Las tablas siguientes resumen los estados de entrada necesarios para que la acción del contador de alta velocidad se lleve a cabo: Contador progresivo Estado de entrada Acción del Conteo de entrada (E/S) Dirección de entrada (I/1) RestableciĆ miento de entrada (I/2) Retención de entrada (I/3) Renglón HSC Acción del contador de alta velocidad
  • 196.
    Preface Manual de referenciadel juego de instrucciones 7–10 Contador progresivo con restablecimiento y retención Estado de entrada Acción del Conteo de entrada (E/S) Dirección de entrada (I/1) RestableciĆ miento de entrada (I/2) Retención de entrada (I/3) Renglón HSC Acción del contador de alta velocidad Uso del contador bidireccional y el contador bidireccional con restablecimiento y retención Los contadores bidireccionales se usan cuando el parámetro que se mide puede incrementar o disminuir. Por ejemplo, un paquete que entra y sale de una tolva de almacenamiento se cuenta para regular el flujo a través del área. Los contadores bidireccionales operan de la misma manera, excepto la operación de entradas 1 y 0. Para los tipos de impulso y dirección, la entrada 0 proporciona el impulso y la entrada 1 proporciona la dirección. Para los tipos progresivos y regresivos, la entrada 0 proporciona el conteo progresivo y la entrada 1 proporciona el conteo regresivo. Ambos tipos están disponibles con y sin restablecimiento y retención. Refiérase a la página 7–7 para obtener más información acerca de los tipos de contador bidireccional. Para los contadores bidireccionales, se usan los valores altos y bajos preseleccionados. El valor bajo preseleccionado debe ser menor que el valor alto preseleccionado o de lo contrario ocurrirá un error INVALID PRESETs LOADED TO HIGH SPEED COUNTER (37H). Los contadores bidireccionales operan en el rango de –32,768 a +32,767 inclusive y se pueden poner a cero usando la instrucción de restablecimiento (RES).
  • 197.
    Cómo usar lasinstrucciones del contador de alta velocidad 7–11 Operación Cuando la instrucción HSC se ejecuta como verdadera por primera vez, el: • Valor bajo preseleccionado de hardware se establece a –32,768. • Acumulador de instrucción se carga en el acumulador de hardware. • Valor alto preseleccionado de instrucción se carga en el valor alto preseleccionado de hardware. Después de la primera ejecución verdadera de instrucción HSC, los datos se pueden transferir únicamente al acumulador de hardware vía una instrucción RES o RAC, o a los valores alto y bajo preseleccionados de hardware vía la instrucción HSL. Todo valor de acumulador de instrucción entre –32,768 y +32,767 inclusive se puede cargar en el hardware. El valor alto preseleccionado debe ser mayor que el valor bajo preseleccionado o un error INVALID PRESETs LOADED TO HIGH SPEED COUNTER (37H) ocurre. La condición siguiente Ocurre cuando Cuando un valor alto preseleccionado se alcanza, el: • Bit HP se establece. • Un archivo de interrupción del contador de alta velocidad (archivo de programa 4) se ejecuta si la interrupción se ejecuta. El bit IH se establece y los bits IL, IV e IN se restablecen. En contra de los contadores progresivos, el valor de acumulador no se restablece y el valor alto preseleccionado no se carga desde la imagen hacia el registro del valor alto preseleccionado de hardware. La condición siguiente Ocurre cuando
  • 198.
    Preface Manual de referenciadel juego de instrucciones 7–12 Cuando el valor bajo preseleccionado se alcanza, el: • Bit LP se establece. • Archivo de interrupción del contador de alta velocidad (archivo de programa 4) se ejecuta si la interrupción se habilita. El bit IL se establece y los bits IH, IV e IN se restablecen. Un overflow ocurre cuando el acumulador de hardware hace una transición de +32,767 a –32,768. Cuando un overflow ocurre, el: • Bit OV se establece. • Archivo de interrupción del contador de alta velocidad (archivo de programa 4) se ejecuta si la interrupción se habilita. El bit IV se establece y los bits IH, IL e IN se restablecen. Un underflow ocurre cuando el acumulador de hardware hace una transición de –32,768 a +32,767. Cuando un underflow ocurre, el: • Bit UN se establece. • Archivo de interrupción del contador de alta velocidad (archivo de programa 4) se ejecuta si la interrupción se habilita. El bit IV se establece y los bits IH, IL e IN se restablecen. Las tablas siguientes resumen los estados de entrada necesarios para que la acción del contador de alta velocidad correspondiente se lleve a cabo: Contador bidireccional (impulso/dirección) Estado de entrada Acción del Conteo de entrada (E/S) Dirección de entrada (I/1) RestableciĆ miento de entrada (I/2) Retención de entrada (I/3) Renglón HSC Acción del contador de alta velocidad
  • 199.
    Cómo usar lasinstrucciones del contador de alta velocidad 7–13 Contador bidireccional con restablecimiento y retención (impulso/dirección) Estado de entrada Acción del Conteo de entrada (E/S) Dirección de entrada (I/1) RestableciĆ miento de entrada (I/2) Retención de entrada (I/3) Renglón HSC Acción del contador de alta velocidad Contador bidireccional (conteo progresivo/regresivo) Estado de entrada Conteo progresivo de entrada (E/S) Conteo regresivo de entrada (I/1) Renglón HSC Acción del contador de alta velocidad
  • 200.
    Preface Manual de referenciadel juego de instrucciones 7–14 Contador bidireccional con restablecimiento y retención (conteo progresivo/regresivo) Estado de entrada Acción del Conteo de entrada (E/S) Dirección de entrada (I/1) RestableciĆ miento de entrada (I/2) Retención de entrada (I/3) Renglón HSC Acción del contador de alta velocidad Cuando los impulsos de entrada progresivos y regresivos ocurren simultáneamente, el contador de alta velocidad cuenta progresivamente y luego regresivamente. Uso del contador bidireccional con restablecimiento y retención con codificador (encoder) de cuadratura El codificador (encoder) de cuadratura se usa para determinar la dirección de rotación y la posición de rotación; por ejemplo, para un torno. El contador bidireccional cuenta la rotación del codificador (encoder) de cuadratura. Los contadores bidireccionales operan dentro del rango de –32,768 a +32,767 inclusive y se pueden poner a cero usando la instrucción de restablecimiento (RES). La figura siguiente muestra un condificador (encoder) de cuadratura conectado a entradas 0, 1 y 2. La dirección de conteo es determinada por el ángulo de fase entre A y B. Si A precede B, el contador incrementa. Si B precede A, el contador se reduce. El contador se puede restablecer usando la entrada Z. Las salidas Z de los codificadores (encoders) típicamente porporcionan un impulso por revolución.
  • 201.
    Cómo usar lasinstrucciones del contador de alta velocidad 7–15 Operación Para los contadores bidireccionales, se usan los valores altos y bajos preseleccionados. El valor bajo preseleccionado debe ser menor que el valor alto preseleccionado o de lo contrario ocurrirá un error INVALID PRESETs LOADED TO HIGH SPEED COUNTER (37H). Cuando la instrucción HSC se ejecuta como verdadera por primera vez, el. . . • Valor bajo preseleccionado de hardware se establece a –32,768. • Acumulador de instrucción se carga en el acumulador de hardware. • Valor alto preseleccionado de instrucción se carga en el valor alto preseleccionado de hardware. Todo valor de acumulador de instrucción entre –32,768 y +32,767 inclusive se puede cargar en el hardware. Después de la primera ejecución verdadera de la instrucción HSC, los datos sólo se pueden transferir al acumulador de hardware vía una instrucción RES o RAC, o a los valores alto y bajo preseleccionado de hardware vía la instrucción HSL.
  • 202.
    Preface Manual de referenciadel juego de instrucciones 7–16 La condición siguiente Ocurre cuando Cuando se alcanza un valor alto preseleccionado, el. . . • Bit HP se establece. • Archivo de interrupción del contador de alta velocidad (archivo de programa 4) se ejecuta si la interrupción se ejecuta. El bit IH se establece y los bits IL, IV e IN se restablecen. A diferencia de los contadores progresivos, el valor de acumulador no se restablece y el valor alto preseleccionado no se carga desde la imagen hacia el registro del valor alto preseleccionado de hardware. La condición siguiente Ocurre cuando Cuando el valor bajo preseleccionado se alcanza, el: • Bit LP se establece. • El archivo de interrupción del contador de alta velocidad (archivo de programa 4) se ejecuta si la interrupción se habilita. El bit IL se establece y los bits IH, IV e IN se restablecen. Un overflow ocurre cuando el acumulador de hardware hace una transición de +32,767 a –32,768. Cuando un overflow ocurre, el. . . • Bit OV se establece. • Archivo de interrupción del contador de alta velocidad (archivo de programa 4) se ejecuta si la interrupción se habilita. El bit IV se establece y los bits IH, IL e IN se restablecen.
  • 203.
    Cómo usar lasinstrucciones del contador de alta velocidad 7–17 Un underflow ocurre cuando el acumulador de hardware hace una transición de –32,768 a +32,767. Cuando un underflow ocurre, el. . . • Bit UN se establece. • Archivo de interrupción del contador de alta velocidad (archivo de programa 4) se ejecuta si la interrupción se habilita. El bit IV se establece y los bits IH, IL e IN se restablecen. Las tablas siguientes resumen los estados de entrada necesarios para que la acción del contador de alta velocidad correspondiente se lleve a cabo: Contador bidireccional (codificador [encoder]) Estado de entrada Acción del Entrada A (E/S) Entrada B (I/1) Renglón HSC Acción del contador de alta velocidad Contador bidireccional con restablecimiento y retención (codificador [encoder]) Estado de entrada Acción del Conteo de entrada (E/S) Dirección de entrada (I/1) RestableciĆ miento de entrada (I/2) Retención de entrada (I/3) Renglón HSC Acción del contador de alta velocidad À À ! !
  • 204.
    Manual de referenciadel juego de instrucciones 7–18 Carga del contador de alta velocidad (HSL) Esta instrucción le permite establecer los valores bajo y alto preseleccionados, las fuentes baja y alta de salida y la máscara de salida. Cuando un valor alto o bajo preseleccionado se alcanza, usted puede actualizar inmediatamente las salidas seleccionadas. Si usa la instrucción HSL con el contador progresivo, el valor alto preseleccionado debe ser ≥ 1 y ≤ +32,767 o de lo contrarior ocurrirá un error INVALID PRESETs LOADED TO HIGH SPEED COUNTER (37H). Para los contadores bidireccionales, el valor alto preseleccionado debe ser mayor que el valor bajo preseleccionado o de lo contrarior ocurrirá un error INVALID PRESETs LOADED TO HIGH SPEED COUNTER (37H). El contador indincado por esta instrucción tiene la misma dirección que el contador de instrucción HSC y se fija a C5:0. Cómo introducir parámetros Introduzca los parámetros siguientes al programar esta instrucción: • La fuente es una dirección que identifica la primera de cinco palabras de datos usadas por el HSL. La fuente puede ser un elemento de archivo de entero o binario. • La longitud es el número de elementos que comienzan de la fuente. Este número siempre es 5. Operación La instrucción HSL le permite configurar el contador de alta velocidad para que actualice instantánea y automáticamente las salidas externas cuando un valor alto o bajo preseleccionado se alcanza. Las salidas físicas se actualizan automáticamente en menos de 30 µs. (El tiempo de encendido físico de las salidas no se incluye en este total.) Luego la imagen de salida se actualiza automáticamente a la próxima encuesta para interrupciones del usuario o instrucción IOM, cualquiera que ocurra primero. Con esta instrucción, puede cambiar el valor alto preseleccionado para los contadores progresivos o los valores alto y bajo preseleccionados para los contadores bidireccionales durante la operación. Tambien puede modificar la confinguración de máscara de salida durante la operación. La dirección de fuente es un elemento de archivo de entero o binario. Por ejemplo, si N7:5 se selecciona como la dirección de fuente, los parámetros adicionales para la ejecución de esta instrucción aparecerían tal como se muestra en la tabla siguiente. HSL HSC LOAD Counter C5:0 Source Length 5 (DN) (CU)
  • 205.
    Cómo usar lasinstrucciones del contador de alta velocidad 7–19 Ubicación de la imagen de parámetro Contador progresivo solamente Contadores bidireccionales Descripción 2,+ ,%# 2,+ ,%# '-# # *.3 !+.)( #-, ' % +#/( ,%# )%+ , ('-+(%( #-, #-, #-, 0 #-, .'- ,%# .'- %- ,%# ('-( )+(!+,#/( % ,-( #-, ' ,- )%+ , ,+# -+/3, % 2,+ ' %, ,%#, +%, %(+ %-( )+,%4 #('( %(+ %-( )+,%4 #('( ('-( )+(!+,#/( .'( % ..%(+ %'1 ,- /%(+ % .'- ,%# , ,+# -+/3, % 2,+ ,%# %, ,%#, +%, 0 .' ,2' , +%#1 % ,.+.-#' +#/( ,+/( .'- $ ,%# ('-( +!+,#/( % ,-( #-, ' ,- )%+ , ,+# -+/3, % 2,+ %, ,%#, +%, ,+/( %(+ $( )+,%4 #('( ('-( )+(!+,#/( .'( % ..%(+ %'1 ,- /%(+ % .'- ,%# , ,+# -+/3, % 2,+ ,%# %, ,%#, +%, 0 .' ,2' , +%#1 % ,.+.-#' +#/( Los bits en la máscara de salida corresponden directamente a las salidas físicas. Si un bit se establece a 1, la salida correspondiente puede cambiarse por el contador de alta velocidad. Si un bit se establece a 0, la salida correspondiente no puede ser cambiada por el contador de alta velocidad. Los bits en las fuentes alta y baja también corresponden directamente a las salidas físicas. La fuente alta se aplica cuando el valor alto preseleccionado se alcanza. La fuente baja se aplica cuando el valor bajo preseleccionado se alcanza. Los estados de salida final se determinan aplicando la fuente de salida sobre la máscara y actualizando solamente las salidas sin máscara (las que tienen un número 1 en la configuración del bit de máscara). Siempre puede cambiar el estado de las salidas por medio del programa del usuario o el dispositivo de programación sin importar la máscara de salida. El contador de alta velocidad sólo modifica salidas y bits de imagen de salida seleccionados según las configuraciones de fuente y bit de máscara cuando los valores preseleccionados se alcanzan. El último dispositivo que cambia la imagen de salida (por ej., el programa del usuario o contador de alta velocidad) determina la configuración de salida real. Los forzados anulan el control de salida desde el contador de alta velocidad o desde la imagen de salida. Los forzados se pueden aplicar a las entradas del contador de alta velocidad. Las entradas forzadas son reconocidas por el contador de alta velocidad (por ej., una entrada de conteo forzada a desactivado y activado incrementa el acumulador de alta velocidad).
  • 206.
    Manual de referenciadel juego de instrucciones 7–20 El hardware del contador de velocidad se actualiza inmediatemente cuando la instrucción HSL se ejecuta sin importar el tipo de contador de alta velocidad (contador progresivo o contador bidireccional). Para los contadores progresivos, no se hace caso de los dos últimos registros ya que el valor bajo preseleccionado no se aplica. Si un fallo ocurre a causa de la instrucción HSL, los parámetros HSL no se cargan en el hardware del contador de alta velocidad. Puede usar más de una instrucción HSL en su programa. Las instrucciones HSL pueden tener ubicaciones de imagen diferentes para los parámetros adicionales. No cambie un valor preseleccionado y una fuente/máscara de salida con la misma instrucción HSL cuando el acumulador se acerca al valor preseleccionado anterior. Si el contador de alta velocidad se habilita y la instrucción HSL se evalúa como verdadera, los parámetros del contador de alta velocidad en la instrucción HSL se aplican inmediatemente sin detener la operación del contador de alta velocidad. Si la misma instrucción HSL se usa para cambiar la máscara/fuente y valor preseleccionado controlados por el contador de alta velocidad, la máscara/fuente se cambia primero y el valor preseleccionado se cambia segundo. (El valor preseleccionado se cambia dentro de 40 µs después de la máscara/fuente.) Si el valor preseleccionado original se alcanza después de que la nueva máscara/fuente se aplique pero antes de que el valor preseleccionado nuevo se aplique, las salidas nuevas se aplicarán inmediatamente.
  • 207.
    Cómo usar lasinstrucciones del contador de alta velocidad 7–21 Restablecimiento del contador de alta velocidad (RES) La instrucción RES le permite escribir un cero en el acumulador de hardware y en el acumulador de imagen. El contador indicado por esta instrucción tiene la misma dirección que el contador de instrucción HSC y se introduce como C0. Operación La ejecución de esta instrucción inmediatamente: • elimina las interrupciones pendientes del contador de alta velocidad • restablece los acumuladores de hardware e instrucción • restablece los bits de estado PE, LS, OV, UN y DN • carga el valor alto preseleccionado de instrucción y el valor alto preseleccionado de hardware (si el contador de alta velocidad se ha configurado como un contador progresivo) • restablece los bits de estado IL, IT, IN o IV Puede tener más de una instrucción RES en su programa. RES C5:0
  • 208.
    Manual de referenciadel juego de instrucciones 7–22 Acumulador de restablecimiento del contador de alta velocidad (RAC) Esta instrucción le permite escribir un valor específico al acumulador de hardware y al acumulador de imagen. El contador indicado por esta instrucción tiene la misma dirección que el contador de instrucción HSC y se fija a C5:0. Cómo introducir parámetros Introduzca los parámetros siguientes al programar esta instrucción: • La fuente representa el valor que se carga en el acumulador. La fuente puede ser una constante o una dirección. Operación La ejecución del RAC: • elimina las interrupciones pendientes del contador de alta velocidad • restablece los bits de estado PE, LS, OV UN y DN • carga un valor de acumulador nuevo en la imagen de hardware e instrucción • carga el valor alto preseleccionado de instrucción en el valor alto preseleccionado de hardware (si el contador de alta velocidad se ha configurado como un contador progresivo) • restablece los bits de estado IL, IT, IN o IV La fuente puede ser una constante o cualquier elemento entero en los archivos 0–7. Los acumuladores de hardware e instrucción se actualizan con el valor de acumulador nuevo inmediatamente al momento de ejecución de la instrucción. Puede tener más de una instrucción RZC por programa indicando la misma fuente o fuentes diferentes. RAC RESET TO ACCUM VALUE Counter C5:0 Source
  • 209.
    Cómo usar lasinstrucciones del contador de alta velocidad 7–23 Habilitación (HSE) e inhabilitación (HSD) de interrupción del contador de alta velocidad Estas instrucciones habilitan o inhabilitan la interrupción del contador de alta velocidad cuando se alcanza un valor alto preseleccionado, un valor bajo preseleccionado, un overflow o un underflow. Use el HSD y HSE conjuntamente para proporcionar ejecución precisa a su aplicación. El contador indicado por estas instrucciones tiene la misma dirección que el contador de instrucción y se fija a C5:0. Uso de HSE Operación Cuando la interrupción del contador de alta velocidad se habilita, la subrutina del usuario (archivo de programa 4) se ejecuta cuando: • Se alcanza un valor alto o bajo preseleccionado. • Ocurre un overflow o underflow. Cuando, en el modo de un solo escán de prueba y en una condición de operación pasiva, la interrupción del contador de alta velocidad se retarda hasta que el próximo disparo de escán se reciba del dispositivo de programación. El acumulador del contador de alta velocidad cuenta durante el reposo. El estado predeterminado de la interrupción del contador de alta velocidad se habilita (el bit IE se establece a 1). Si la rutina de interrupción del contador de alta velocidad se ejecuta y otra interrupción del contador de alta velocidad ocurre, la segunda interrupción del contador de alta velocidad se guarda pero se considera como pendiente. (El bit PE se establece.) La segunda interrupción se ejecuta inmediatamente después que la primera finalice su ejecución. Si una interrupción del contador de alta velocidad ocurre mientras una interrupción del contador de alta velocidad está pendiente, se perderá la interrupción del contador de alta velocidad más reciente y se establecerá el bit LS. HSE HSC INTERRUPT ENABLE COUNTER C5:0 HSD HSC INTERRUPT DISABLE COUNTER C5:0
  • 210.
    Manual de referenciadel juego de instrucciones 7–24 Uso de HSD Operación La instrucción HSD inhabilita la interrupción del contador de alta velocidad evitando así que la subrutina de interrupción se ejecute. Si el HSE se ejecuta después del establecimiento del bit pendiente, la interrupción se ejecuta inmediatamente. Esta instrucción HSD no cancela una interrupcion, sino que resulta en el establecimiento del bit pendiente (C5:0/3) cuando: • Se alcanza un valor alto o bajo preseleccionado. • Ocurre un overflow o underflow. Actualización del acumulador de imagen del contador de alta velocidad (OTE) Cuando se direcciona una instrucción del bit OTE para el contador de alta velocidad (C5:0), causa que el bit UA se establezca. Cuando este bit se establece, el valor en el acumulador de hardware se escribe al valor en el acumulador de imagen (C5:0.ACC). Esto le proporciona acceso real al valor del acumulador de hardware. Esto es adicional a la transferencia automática desde el acumulador de hardware hacia el acumulador de imagen que ocurre cada vez que la instrucción HSC se evalúa. Operación Esta instrucción transfiere el acumulador de hardware al acumulador de instrucción. Cuando la instrucción OTE/UA se ejecuta como verdadera, el acumulador de hardware se carga en el acumulador de imagen de instrucción (C5:0.ACC). ( ) C5:0 UA
  • 211.
    Cómo usar lasinstrucciones del contador de alta velocidad 7–25 Lo que ocurre con el HSC cuando pasa al modo de marcha REM Una vez inicializada, la instrucción HSC retiene su estado anterior cuando pasa por un cambio de modo o la desconexión y reconexión de la alimentación eléctrica. Esto significa que se retienen el acumulador HSC (C5:0.ACC) y los valores altos preseleccionados. Las salidas bajo el control directo del HSC también retienen su estado anterior. Los bits del valor bajo preseleccionado alcanzado y del valor bajo preseleccionado alcanzado (Co/LP y C0/HP) también se retienen. Son examinados por la instrucción HSC durante la primera evaluación verdadera del contador de alta velocidad en el modo de marcha REM para diferenciar entre un modo de marcha REM y una modificación externa o inicial del acumulador (C5:0.ACC). A la primera ejecución verdadera de la instrucción HSC después del paso a marcha, el valor bajo preseleccionado se inicializa a –32,768 y la máscara de salida y las configuraciones de salida baja se incializan a cero. Use la instrucción HSL durante el primer paso para restaurar cualesquier valores necesarios para su aplicación. Puede modificar el comportamiento del contador de alta velocidad a la introducción del modo de marcha REM ajustando los parámetros HSC antes de la primera ejecución verdadera de la instrucción HSC. El siguiente ejemplo de renglones de escalera demuestra las varias maneras de ajustar los parámetros HSC.
  • 212.
    Manual de referenciadel juego de instrucciones 7–26 Ejemplo 1 Para introducir el modo de marcha REM y hacer que las salidas HSC, ACC y subrutina de interrupción reanuden su estado anterior, aplique lo siguiente: (Renglón 2:0) No requiere acción. (Recuérdese de que todas las instrucciones OUT se ponen a cero cuando se introduce el modo de marcha REM. Use las instrucciones SET/RST en lugar de las instrucciones OUT en la lógica condicional que requier retención.) | S:1 +HSL–––––––––––––––+ | |––][–––––––––––––––––––––––––––––––––––+HSC LOAD +–| | 15 |Counter C5:0| | | |Source N7:0| | | |Length 5| | | +––––––––––––––––––+ | Renglón 2:1 | +HSC––––––––––––––––––––+ | |–––––––––––––––––––––––––––––+HIGH SPEED COUNTER +–(CU)–| | |Type Encoder(Res,Hld) +–(CD) | | |Counter C5:0+–(DN) | | |High Preset 1000| | | |Accum 0| | | +–––––––––––––––––––––––+ |
  • 213.
    Cómo usar lasinstrucciones del contador de alta velocidad 7–27 Ejemplo 2 Para introducir el modo de marcha REM y retener el valor HSC ACC mientras que hace que las salidas HSC y la subrutina de interrupción se reanuden, aplique lo siguiente: Renglón 2:0 Desenclave los bits C5:0/HP y C5:0/LP durante el primer escán ANTES de la ejecución de la instrucción HSC por primera vez. | S:1 +HSL–––––––––––––––+ | |––][––––––––––––––––––––––––––––––––––––––––––+HSC LOAD +– | | 15 |Counter C5:0| | | |Source N7:0| | | |Length 5| | | +––––––––––––––––––+ | Renglón 2:1 | S:1 C5:0 | |––][–––––––––––––––––––––––––––––––––––––––––––––––––––––+–(U)––+|––| | 15 | HP | | | | C5:0 | | | +––(U)––+ | | LP | Renglón 2:2 | +HSC––––––––––––––––––––+ | |–––––––––––––––––––––––––––––––––––––+HIGH SPEED COUNTER +–(CU)–| | |Type Encoder (Res,Hld)+–(CD) | | |Counter C5:0+–(DN) | | |High Preset 1000| | | |Accum 0| | | +–––––––––––––––––––––––+ |
  • 214.
    Manual de referenciadel juego de instrucciones 7–28 Ejemplo 3 Para introducir el modo de marcha REM y hacer que el HSC ACC y la subrutina de interrupción reanuden su estado anterior a la vez que se inicializan externamente las salidas HSC, aplique lo siguiente: Renglón 2:0 Desenclave o enclave los bits de salida bajo el control HSC durante el primer escán después de la ejecución por primera vez de la instrucción HSC. (Nota: usted podría colocar este renglón antes de la instrucción HSC; sin embargo, no se recomienda.) | S:1 +HSL–––––––––––––––+ | |––][–––––––––––––––––––––––––––––––––––––––––––+HSC LOAD +–| | 15 |Counter C5:0| | | |Source N7:0| | | |Length 5| | | +––––––––––––––––––+ | Renglón 2:1 | +HSC––––––––––––––––––––+ | |–––––––––––––––––––––––––––––––––––––+HIGH SPEED COUNTER +–(CU)–| | |Type Encoder (Res,Hld)+–(CD) | | |Counter C5:0+–(DN) | | |High Preset 1000| | | |Accum 0| | | +–––––––––––––––––––––––+ | Renglón 2:2 Este renglón se programa con el conocimiento de una máscara HSL de 0007 (se usan salidas 0–2) e inicializa las salidas HSC a cada introducción del modo de marcha REM. Las salidas O/0 y O/1 están desactivadas mientras que la salida O/2 está activada. | S:1 O:0 | |––][––––––––––––––––––––––––––––––––––––––––––––––––––––+––(U)––+|––| | 15 | 0 | | | | O:0 | | | +––(U)–––+ | | | 1 | | | | O:0 | | | +––(L)–––+ | | 2 |
  • 215.
    Cómo usar lasinstrucciones del contador de alta velocidad 7–29 Instrucciones del contador de alta velocidad en el ejemplo de aplicación de la perforadora de papel Los renglones de escalera en esta sección demuestran el uso de la instrucción HSC en el ejemplo de aplicación de la perforadora de papel iniciado en el capítulo 4. Refiérase al apéndice G para obtener el ejemplo de aplicación entero de la perforadora de papel. #) % $#$ $) #$$ ## $($ $) $ $ $($ $) $# $ # !%$) $# $ # ' * %$% # # El archivo de programa principal (archivo 2) inicializa la instrucción HSC, monitoriza los botones de arranque y parada de la máquina y llama otras subrutinas necesarias para hacer funcionar la máquina. Refiérase a los comentarios que preceden cada renglón para obtener información adicional.
  • 216.
    Manual de referenciadel juego de instrucciones 7–30 Renglón 2:0 Inicializa el contador de alta velocidad cada vez que el modo de marcha REM se introduce. El área de datos del contador de alta velocidad corresponde con la dirección de arranque (dirección de fuente) de la instrucción HSL. La instrucción HSC se inhabilita durante cada entrada en el modo de marcha REM hasta la primera vez que se ejecute como verdadera. (El valor alto preseleccionado fue “enclavijado” a la inicialización para evitar que una interrupción de valor alto preseleccionado ocurra durante el proceso de inicialización.) | Primer Máscara de salida | | paso (use sólo el bit 0 | | por ej. O:0/0) | | S:1 +MOV–––––––––––––––+ | |––––] [–––––––––––––––––––––––––––––––––––––+–+MOVE +–+–| | 15 | |Source 1| | | | | | | | | | | |Dest N7:5| | | | | | 0| | | | | +––––––––––––––––––+ | | | | Conf. de salida alta| | | | (desactiva O:0/0) | | | | | | | | +MOV–––––––––––––––+ | | | +–+MOVE +–+ | | | |Source 0| | | | | | | | | | | |Dest N7:6| | | | | | 0| | | | | +––––––––––––––––––+ | | | | Valor alto preselec.| | | |(cuenta al próx. orif)| | | | | | | +MOV–––––––––––––––+ | | | +–+MOVE +–+ | | | |Source 32767| | | | | | | | | | | |Dest N7:7| | | | | | 0| | | | | +––––––––––––––––––+ | | | | Conf. de salida baja| | | | (activa O:0/0 | | | | a cada restab.) | | | | | | | +MOV–––––––––––––––+ | | | +–+MOVE +–+ | | | |Source 1| | | | | | | | | | | |Dest N7:8| | | | | | 0| | | | | +––––––––––––––––––+ | | | | Valor bajo preselec.| | | | (causa valor bajo | | | | preselec. inicial | | | | a cada restab.) | | | | | | | +MOV–––––––––––––––+ | | | +–+MOVE +–+ | | | |Source 0| | | | | | | | | | | |Dest N7:9| | | | | | 0| | | | | +––––––––––––––––––+ | | | | | |
  • 217.
    Cómo usar lasinstrucciones del contador de alta velocidad 7–31 | | | | | | Contador alta veloc.| | | | | | | | +HSL–––––––––––––––+ | | | + –+HSC LOAD +–+ | | |Counter C5:0| | | |Source N7:5| | | |Length 5| | | +––––––––––––––––––+ | Los renglones 2.0 y 2.2 se requieren para escribir varios parámetros al área de archivo de datos del contador de alta velocidad. Estos dos renglones están acondicionados por el bit de primer paso durante un escán cuando el controlador va del programa REM al modo de marcha REM. Renglón 2:1 Esta instrucción HSC no se coloca en la subrutina de interrupción del contador de alta velocidad. Si esta instrucción se colocara en la subrutina de interrupción, el contador de alta velocidad nunca se activaría ni se inicializaría (porque una interrupción debe ocurrir primero para realizar un escán de la subrutina de interrupción del contador de alta velocidad. | Contador de alta velocidad| | +HSC––––––––––––––––––––+ | |––––––––––––––––––––––––––––––––––––––+HIGH SPEED COUNTER +–(CU)–| | |Type Encoder (Res,Hld)+–(CD) | | |Counter C5:0+–(DN) | | |High Preset 1250| | | |Accum 1| | | +–––––––––––––––––––––––+ | Renglón 2:2 Fuerza que ocurra una interrupción del valor bajo preseleccionado del contador de alta velocidad a cada entrada al modo de marcha REM. Una interrupción sólo puede ocurrir en la transición del acumulador del contador de alta velocidad a un valor preseleccionado (restablecimiento del acumulador a 1, y luego a 0). Esto se hace para permitir que los secuenciadores de la subrutina de interrupción del contador de alta velocidad se inicialicen. El orden de la inicialización del contador de alta velocidad es: (1) carga de parámetros del contador de alta velocidad (2) ejecución de la instrucción HSL (3) ejecución de la instrucción HSC verdadera (4) (opcional) forzar que ocurra una interrupción del contador de alta velocidad.. | Primer Contador de alta velocidad| | paso | | S:1 +RAC––––––––––––––––––+ | |––––] [––––––––––––––––––––––––––––––––––+–+RESET TO ACCUM VALUE +–+–| | 15 | |Counter C5:0| | | | | |Source 1| | | | | | | | | | | +–––––––––––––––––––––+ | | | | Contador de | | | | alta velocidad | | | | C5:0 | | | +–––(RES)–––––––––––––––––+ |
  • 218.
    Manual de referenciadel juego de instrucciones 7–32 El contador de alta velocidad se usa para controlar la posición del transportador. El contador de alta velocidad cuenta los impulsos proporcionados por el codificador (encoder) del transportador vía las entradas I:0/0 e I:0.1 de hardware. Las entradas I:0/2 (restablecimiento) e I:0/3 (retención) de hardware están conectadas a un interruptor fotoeléctrico para asegurar que la instrucción HSC cuente únicamente los impulsos de codificador (encoder) cuando haya un manual enfrente de la perforadora y que el contador de alta velocidad se restablezca a la punta de cada manual. El contador de alta velocidad pone a cero el bit de salida de propulsión del transportador cada vez que se alcanza un valor alto preseleccionado. Como resultado, la unidad propulsora decelera y detiene el motor del transportador. El contador de alta velocidad borra la entrada en microsegundos asegurando así exactitud y repetibilidad. El contador de alta velocidad establece el bit de salida de la unidad propulsora del transportador (O:0/0) cada vez que un valor bajo preseleccionado se alcanza. Como resultado, la unidad propulsora acelera y mantiene el motor del transportador. Cuando el manual ha recorrido la distancia especificada establecida por el valor alto preseleccionado del contador de alta velocidad, la subrutina de interrupción del contador de alta velocidad indica al programa principal que realice la secuencia de perforación. Para obtener más información respecto a la subrutina de interrupción usada en este programa, refiérase al ejemplo de aplicación en el capítulo 9. Este ejemplo usa el codificador (encoder) de cuadratura con la instrucción de restablecimiento y retención. El acumulador del contador de alta velocidad incrementa y decrementa según la relación de cuadratura de las entradas A y B (I:0/0 e I:01) del codificador (encoder). El acumulador se pone a cero cuando el restablecimiento está activado o cuando la instrucción RES se ejecuta. Todos los valores preseleccionados se introducen como un offset relativo a la punta de un manual. Los valores preseleccionados para las configuraciones de orificio se almacenan en las instrucciones SQO. (Refiérase al capítulo 6 para obtener la instrucción SQO.) La entrada de restablecimiento externo (I:0/2) del contador de alta velocidad y la entrada de retención externa (I:0/3) están cableadas en paralelo para evitar que el contador de alta velocidad cuente mientras el restablecimiento esté activo. Se pueden ajustar los retardos del filtro de entrada para las entradas A y B (I:0/0 e I:0/1) del contador de alta velocidad así como las entradas de restablecimiento y retención (I:0/2 e I:0/3) del contador de alta velocidad.
  • 219.
    Cómo usar lasinstrucciones del contador de alta velocidad 7–33 Renglón 4:5 Ocurrió una interrupción debido al valor bajo preseleccionado alcanzado. | C5:0 +RET–––––––––––––––+–| |––––][––––––––––––––––––––––––––––––––––––––––––+RETURN + | | IL +––––––––––––––––––+ | Renglón 4:6 Indica al programa principal (archivo 2) que inicialice la secuencia de perforación. El contador de alta velocidad ya ha detenido el transportador en la posición correcta usando sus datos de configuración de salida del valor alto preseleccionado (borrar O:0/0). Esto ocurrió microsegundos después de alcanzar el valor alto preseleccionado (justo antes de introducir esta subrutina de interrupción del contador de alta velocidad). La subrutina de secuencia de perforación restablece el bit de inicio de secuencia de perforación y establece el bit de la unidad propulsora del transportador (O:0/0) una vez finalizada la secuencia de perforación. | interrupción ocurrió | Inicio de secuencia de perforación | | debido al valor alto | | | preseleccionado alcanzado | | | C5:0 B3 | |––––] [––––––––––––––––––––––––––––––––––––––––––––––––––––––(L)–––––| | IH 32 | Renglón 4:7 | | |–––––––––––––––––––––––––––––––+END+–––––––––––––––––––––––––––––––––| | |
  • 220.
    Manual de referenciadel juego de instrucciones 7–34
  • 221.
    Instrucciones de comunicación 8–1 8Instrucciones de comunicación Este capítulo contiene información general acerca de las instrucciones de comunicación. Cada una de las instrucciones incluye información acerca de: • cómo aparece el símbolo de instrucción • cómo usar la instrucción • un ejemplo de aplicación y diagramas de temporización Además, la operación de la palabra de estado global (S:99) se proporciona. Instrucciones de comunicación Instrucción Propósito Página Mnemónico Nombre Propósito Página MSG 8-3 SVC 8-60
  • 222.
    Manual de referenciadel juego de instrucciones 8–2 Acerca de las instrucciones de comunicación Use la instrucción de mensaje para enviar y recibir datos de otros procesadores y dispositivos. Use la instrucción SVC para mejorar el rendimiento de comunicación de su procesador. En este capítulo se encuentra una descripción general antes de cada tipo de instrucción: • Instrucción de mensaje para el procesador SLC 5/02 • Instrucción de mensaje para los procesadores SLC 5/03 y SLC 5/04 • Instrucción de comunicación de servicio para el procesador SLC 5/02 • Instrucción de comunicación de servicio para los procesadores SLC 5/03 y SLC 5/04
  • 223.
    (EN) (DN) (ER) MSG READ/WRITE MESSAGE Read/write Target Device ControlBlock Control Block Length 7 Instrucciones de comunicación 8–3 Descripción general de la instrucción de mensaje Esta es una instrucción de salida que le permite transferir datos desde un nodo hacia otro por la red DH-485. El procesador SLC 5/02 puede dar servicio a una instrucción de mensaje en cualquier momento, aunque el procesador puede retener varios mensajes “habilitados y en espera”. Los mensajes en espera reciben servicio uno a la vez en orden secuencial (primero que llega, primero que sale) Operación La instrucción se puede programar como mensaje de escritura o lectura. El dispositivo receptor puede ser otro procesador SLC 500 en la red, o un dispositivo que no sea SLC 500, usando el archivo común de interface (archivo 9 485CIF en los procesadores SLC 500). El protocolo 485CIF también se usa para los mensajes de tipo PLC-2. Los datos asociados con una instrucción de escritura de mensaje no se envían cuando usted habilita la instrucción. En cambio, se envían al final del escán o cuando una instrucción de comunicación de servicio (SVC) o regeneración (REF) se habilita en su programa de escalera. En algunos casos esto significa que debe guardar en un búfer los datos en su aplicación. Cuando selecciona el SLC-500 como el dispositivo receptor, la comunicación se puede realizar entre: • un procesador SLC 5/02 y cualquier otro procesador de la familia SLC 500 • un procesador SLC 5/03 y cualquier otro procesador de la familia SLC 500 • un procesador SLC 5/04 y cualquier otro procesador de la familia SLC 500 3
  • 224.
    Manual de referenciadel juego de instrucciones 8–4 Bits del archivo de estado relacionados Hay tres bits del archivo de estado que están relacionados con la instrucción MSG: • Bit de comando entrante pendiente (S:2/5) – Este bit se establece cuando el procesador determina que otro nodo en la red ha solicitado información o le ha proporcionado un comando. Este bit se puede establecer en cualquier momento. Este bit se pone a cero cuando el procesador atiende la solicitud (o comando). Use este bit como condición de una instrucción SVC para mejorar la capacidad de comunicación de su procesador. • Bit de respuesta de mensaje pendiente (S:2/6) – Este bit se establece cuando otro nodo en la red ha proporcionado la información que solicitó en la instrucción MSG de su procesador. Este bit se pone a cero cuando el procesador almacena la información y actualiza su instrucción MSG. Use este bit como condición de una instrucción SVC para mejorar la capacidad de comunicación de su procesador. • Bit de comando de mensaje saliente pendiente (S:2/7) – Este bit se establece cuando uno o más mensajes en su programa se habilitan y esperan, pero no hay un mensaje que se esté transmitiendo en este momento. Tan pronto comienza la transmisión de un mensaje, el bit se pone a cero. Después de la transmisión, el bit se vuelve a establecer si hay más mensajes en espera, o permanece en cero si no hay más mensajes en espera. Use este bit como condición de una instrucción SVC para mejorar la capacidad de comunicación de su procesador. Es posible que desee usar el bit S:2/15, selección de servicio de comunicaciones. Refiérase al apéndice B en este manual para obtener más información.
  • 225.
    Instrucciones de comunicación 8–5 Opcionesde configuración disponibles Las siguientes opciones de configuración están disponibles con el procesador SLC 5/02: • Lectura/escritura de dispositivos semejantes en una red local a otro procesador SLC 500 • Lectura/escritura de dispositivos semejantes en una red local a un 485CIF (emulación PLC2) Refiérase al apéndice D para obtener parámetros válidos al programar la instrucción de mensaje. Cómo introducir parámetros Después de colocar la instrucción MSG en un renglón, especifique si el mensaje es de lectura o escritura. Luego especifique el dispositivo receptor y el bloque de control para la instrucción MSG. • Lectura/escritura – La lectura indica que el procesador local (el procesador en que se encuentra la instrucción) está recibiendo datos; la escritura indica que el procesador está enviando datos. • El dispositivo receptor identifica el tipo de dispositivo que recibirá los datos. Las opciones válidas son: – 500CPU, si el dispositivo recpetor es otro procesador SLC – 485CIF, si el dispositivo receptor es un procesador que no sea SLC (emulador PLC2) • El bloque de control es una dirección de archivo de entero que usted selecciona. Es un archivo de 7 elementos que contiene los bits de estado, la dirección del archivo receptor y otros datos asociados con la instrucción de mensaje. • La longitud del bloque de control se fija a siete elementos. Este campo no se puede modificar. Nota La longitud del bloque de control MSG incrementa de 7 a 14 palabras al cambiarse de un programa de procesador SLC 5/02 a un programa de procesador SLC 5/03 ó SLC 5/04. Asegúrese que haya un mínimo de 7 palabras no usadas siguientes cada bloque de control MSG en su programa.
  • 226.
    Manual de referenciadel juego de instrucciones 8–6 Uso de los bits de estado Read/Write: READ ignore if timed out: 0 TO Target Device: 500CPU to be retried: 0 NR Control Block: N7:0 awaiting execution: 0 EW Local Destination File Address: *** Target Node: 0 error: 0 ER Target File Address: *** message done: 0 DN Message Length in elements *** message transmitting: 0 ST message enabled: 0 EN control bit address: N7:0/8 ERROR CODE: 0 Error Code Desc: La columna derecha en la ilustración de arriba indica los diversos bits de estado asociados con la instrucción MSG del SLC 5/02. • Bit de tiempo sobrepasado TO (bit 08) Puede establecer este bit en su aplicación para eliminar una instrucción de mensaje activo del control del procesador. La aplicación debe proporcionar su propio valor de límite de tiempo sobrepasado. Un ejemplo aparecen la página 8–15. • El bit no respuesta NR (bit 09) se establece si el procesador receptor no responde a la primera solicitud de mensaje. El bit NR se restablece cuando el bit ER, DN o ST se establece. • El bit habilitado y en espera EW (bit 10) se establece después de que el bit de habilitación se ha establecido y el mensaje está en espera de ser enviado. • El bit de error ER (bit 12) se establece cuando la transmisión de mensaje está con fallo. El bit ER se restablece la próxima vez que el renglón asociado va de falso a verdadero. • El bit de efectuado DN (bit 13) se establece cuando el mensaje se ha transmitido exitosamente. El bit DN se restablece la próxima vez que el renglón asociado va de falso a verdadero. • El bit de arranque ST (bit 14) se establece cuando el procesador acusa recibo desde el dispositivo receptor. El bit ST se restablece cuando el bit DN, ER o TO se establece. • El bit de habilitación EN (bit 15) se establece cuando las condiciones del renglón se hacen verdaderas y la instrucción se ejecuta. Permanece establecido hasta que la transmisión de mensaje se finaliza y el renglón se hace falso.
  • 227.
    Instrucciones de comunicación 8–7 Diagramade temporización para una instrucción MSG exitosa del SLC 5/02 La sección siguiente describe el diagrama de temporización para una instrucción MSG del SLC 5/02. $ ! % #! Ä À Á Â 1. Cuando el renglón MSG se hace verdadero y el MSG es escaneado, el bit EN se establece y permanece establecido hasta que el bit DN, ER o TO se establezca. El bit EW está establecido, lo que indica que la instrucción MSG ha sido colocada en la cola MSG. (El procesador SLC 5/02 siempre tiene espacio en la cola MSG.) La cola trabaja en base al concepto primero en llegar–primero en salir y así permite al procesador recordar el orden en que las instrucciones MSG se habilitaron. Anote que el programa no tiene acceso a la cola MSG del SLC 5/02. 2. En el siguiente final de escán o instrucción de comunicación de servicio (SVC), el procesador SLC 5/02 determina si debe examinar la cola MSG en busca de una tarea. El procesador toma una decisión según el estado de bit S:2/15, las solicitudes de comunicación DH-485 de otros nodos y si hay otra instrucción MSG anterior en ejecución. Si el procesador 5/02 determina que no debe acceder a la cola, los bits EN y EW permanecen establecidos hasta el próximo final de escán o SVC.
  • 228.
    Manual de referenciadel juego de instrucciones 8–8 Si el procesador SLC 5/02 determina que hay una tarea de hacer, usa la primera entrada de la cola de mensaje para construir un paquete DH-485. Si un paquete se puede construir exitosamente, se coloca en el búfer de transmisión. Si un paquete no se puede construir con éxito, el bit ER se establece y un código se coloca en el bloque MSG para informarle del error. Si ésta fuera una instrucción de escritura MSG, los datos de fuente serían transferidos al búfer de transmisión en este momento. Luego el procesador SLC 5/02 sale del final de escán o la porción SVC del escán. La función de comunicación de fondo del procesador envía el paquete transmitido con búfer al nodo receptor que ha especificado en su instrucción MSG. 3. Si el nodo receptor recibe exitosamente el paquete DH-485, envía un ACK (acuse de recibo). El ACK causa que el procesador ponga a cero el bit EW y establezca el bit ST. Observe que el nodo recpetor todavía no ha examinado el paquete DH-485 para determinar si entiende su solicitud. Una vez establecido el bit ST, el procesador espera infinitamente una respuesta del nodo receptor. No es necesario que el nodo receptor responda dentro de un plazo de tiempo determinado. En este momento no se dará servicio a ninguna instrucción MSG. Nota Si el nodo receptor está con fallo o desconecta y vuelve a conectar la alimentación eléctrica durante el plazo de tiempo de una transacción MSG, usted nunca recibirá una respuesta. Es por eso que se recomienda el uso de una instrucción de temporizador conjuntamente con el bit TO. Refiérase al ejemplo en la página 8–15. El paso 4 no se muestra en el diagrama de temporización. 4. Si no recibe un ACK, el paso 3 no ocurre. Un NAK (ningún acuse de recibo) se recibe en su lugar. Cuando esto ocurre, el bit ST permanece puesto a cero. Un NAK indica que: • el nodo receptor no existe, • no responde, • está demasiado ocupado o • recibe un paquete DH-485 alterado. Cuando un NAK ocurre, el bit EW se pone a cero y el bit NR se establece durante un escán. La próxima vez que la instrucción MSG es escaneada, el bit ER se establece y el bit NR se pone a cero. Esto indica que la instrucción MSG está con fallo. Observe que si el nodo receptor está demasiado ocupado, el bit ER no se establece. En cambio, la instrucción MSG vuelve a hacer cola para la retransmisión.
  • 229.
    Instrucciones de comunicación 8–9 5.Después del recibo exitoso del paquete, el nodo receptor envía un paquete de respuesta. El paquete de respuesta contendrá una de las respuestas siguientes: • He realizado exitosamente su solicitud de escritura. • He realizado exitosamente su solicitud de lectura y le presento aquí los datos. • No he realizado su solicitud; tiene un error. Al próximo final de escán o SVC, después de la respuesta del nodo receptor, el procesador SLC 5/02 examina el paquete DH-485 del dispositivo receptor. Si la respuesta contiene “He realizado exitosamente su solicitud de escritura”, el bit DN se establece y el bit ST se pone a cero. La función de la instrucción MSG ha sido completada. Si el renglón MSG es falso, el bit EN se pone a cero la próxima vez que la instrucción MSG es escaneada. Si la respuesta contiene “He realizado exitosamente su solicitud de lectura y le presento aquí los datos”, los datos se escriben a la tabla de datos, el bit DN se establece y el bit ST se pone a cero. La función de la instrucción MSG ha sido completada. Si el renglón MSG es falso, el bit EN se pone a cero la próxima vez que la instrucción MSG es escaneada. Si la respuesta contiene “No he realizado su solicitud; tiene un error”, el bit ER se establece y el bit ST se pone a cero. La función de la instrucción MSG ha sido completada. Si el renglón MSG es falso, el bit EN se pone a cero la próxima vez que la instrucción MSG es escaneada. Configuración del bloque de control La configuración del bloque de control se ilustra abajo si usted selecciona un 500CPU como el dispositivo receptor: EN ST DN ER EW NR TO Error Code 15 14 13 12 11 10 09 08 07 06 05 04 03 02 01 00 Node Number Reserved for length in words Configuración del bloque de control - 500CPU Pal. 0 1 2 File Number File Type (S, B, T, C, R, N) Element Number Reserved 3 4 5 6
  • 230.
    Preface Manual de referenciadel juego de instrucciones 8–10 La configuración del bloque de control se ilustra abajo si usted selecciona un 485 CIF como el dispositivo receptor: EN ST DN ER EW NR TO Error Code 15 14 13 12 11 10 09 08 07 06 05 04 03 02 01 00 Node Number Reserved for length in words Configuración del bloque de control - 485 CIF Pal. 0 1 2 Offset words Not used Not used Not used 3 4 5 6
  • 231.
    Instrucciones de comunicación 8–11 Ejemplosde aplicación para procesadores SLC 5/02 Ejemplo 1 El ejemplo de aplicación 1 muestra cómo puede implementar la operación continua de una instrucción de mensaje. # # #!$) $ # #$ #!$) # % # #) ! $ #!$) # !) ' # !! !) #$ # !!! #( %!' # #) # !! !) #$ !!! ] [ B3 1 (U) N7:0 15* (EN) (DN) (ER) MSG READ/WRITE MESSAGE Read/write WRITE Target Device 500CPU Control Block N7:0 Control Block Length 7 END ] [ N7:0 13* ] [ N7:0 12* 0 1 2 # # #!$) Notas de operación
  • 232.
    Manual de referenciadel juego de instrucciones 8–12 Ejemplo 2 – Archivo de programa 2 del procesador SLC 5/02 El ejemplo de aplicación 2 involucra un procesador SLC 5/02 y un procesador SLC 5/01 comunicándose en una red DH-485. El enclavamiento se proporciona para verificar la transferencia de datos y para detener ambos procesadores en el caso de fallo de comunicación. Un dispositivo de detección de temperatura, conectado como entrada al procesador SLC 5/02, controla la operación activada/desactivada de un ventilador de enfriamiento, conectado como salida al procesador SLC 5/01. Los programas de escalera de SLC 5/02 y SLC 5/01 se explican en la figura en la página 8–14.
  • 233.
    Instrucciones de comunicación 8–13 (U) B3 0 (EN) (DN) (ER) MSG READ/WRITEMESSAGE Read/write WRITE Target Device 500CPU Control Block N10:0 Control Block Length 7 END +* *+' $ *+),1 ]/[ N7:0 0 (L) B3 0 ( ) N7:0 1 (RES) T4:0 (EN) (DN) TON TIMER ON DELAY Timer T4:0 Time Base 0.01 Preset 400 Accum 0 *('*+-' +) **') +%()+,) ] [ S:1 15 ] [ S:4 6 ] [ B3 0 (L) N7:0 0 ] [ S:1 15 ] [ I:1.0 5 (EN) (DN) (ER) MSG READ/WRITE MESSAGE Read/write READ Target Device 500CPU Control Block N11:0 Control Block Length 7 ] [ N10:0 13* ] [ T4:0 DN ] [ N11:0 13* (U) B3 0 (RES) T4:0 (U) N7:0 0 (U) N11:0 15* (U) N10:0 15* * '+* '()1 () $ (0 * ,+ + $ ($) %*# *' () $ '+)'$ $ -+$') + $ ($) %*# *+ * $ + $-%+' %(')/') * ,'* *+),1 *)+,) %*# * )'* $ )!-' ,+ . )(+') *' '' )(+') ' +, $ %*# ($) *+),1 $+,) %*# * )'* $ )!-' *+' . )(+') *' '' )(+') ' +, $ %*# ($) $-%+' *+ *+),1 $)% '+ $ ($1 * $ + $-2 %+' ()% *+$' ,)+ %0* * ,'* + ()%) (*' + ()%) (*' + )$'# %* + +,' *)+,) %*# + +,' $+,) %*# (L) B3 10
  • 234.
    Preface Manual de referenciadel juego de instrucciones 8–14 Archivo de programa 2 del procesador SLC 5/01 a nodo 3 Notas de operación acerca de los programas SLC 5/02 y SLC 5/01 Procesador SLC 5/02: N7:0/0 está enclavado; el temporizador T4:0 está restablecido, B3/0 está desenclavado (renglón 1) y luego enclavado (renglón 3). El procesador SLC 5/01: N7:0/0 está desenclavado; el temporizador T4:0 está restablecido. Operación de instrucción de mensaje: La instrucción de escritura de mensaje en el procesador SLC 5/02 se inicia cada 1280 ms por el bit de reloj S:4/5. El bit de efectuado de la instrucción de escritura de mensaje inicia la instrucción de lectura de mensaje. B3/0 enclava la instrucción de escritura de mensaje. B3/0 se desenclava cuando el bit de efectuado de la instrucción de lectura de mensaje se establece, siempre que el bit de enclavamiento N7:0/0 esté restablecido. Fallo de comunicación: En el procesador SLC 5/02, el bit B3/10 se establece si el bit de enclavamiento N7:0.0 permanece establecido (1) durante más de 4 segundos. En el procesador SLC 5/01, el bit B3/10 se establece si el bit de enclavamiento N7:0/0 permanece establecido (1) durante más de 4 segundos. Su aplicación puede detectar este evento, tomar la acción apropiada y luego desenclavar el bit B3/10. (U) N7:0 0 END 0 ( ) B3 1 (RES) T4:0 (EN) (DN) TON TIMER ON DELAY Timer T4:0 Time Base 0.01 Preset 400 Accum 0 ] [ N7:0 0 ] [ S:1 15 Bit de primer paso [OSR] B3 0 ] [ T4:0 DN ] [ B3 1 (U) N7:0 0 (RES) T4:0 ( ) O:1.0 0 ] [ N7:0 1 1 3 6 Bit 0 de la palabra de mensaje. Este es el bit de enclavamiento. Temporizador de 4 segundos Instrucción de enclavamiento - Esta alarma notifica a la aplicación si el bit de enclavamiento N7:0/0 no se establece después de 4 segundos. O:1/0 activa el ventilador de enfriamiento. Bit 1 de la palabra de mensaje. Usado para control del ventilador. Parámetros de instrucción de mensaje: N7:0 es la palabra de mensaje. Es la dirección de archivo receptor (procesador SLC 5/01) y la fuente local y direcciones de destino (procesador SLC 5/02) en las instrucciones de mensaje. N7:0/0 de la palabra de mensaje es el bit de enclavamiento; se escribe al procesador 5/01 como 1 (establecido) y se lee del procesador SLC 5/01 como 0 (restablecido). N7:0/1 de la palabra de mensaje controla la operación del ventilador de enfriamiento; se escribe al procesador SLC 5/01 como 1 (establecido) si se requiere enfriamiento o como 0 (restablecido) si no se requiere enfriamiento. Se lee del procesador SLC 5/01 como 1 ó 0. Palabra N7:0 debe tener un valor de 1 ó 3 durante la ejecución de escritura de mensaje. N7:0 debe tener un valor de 0 ó 2 durante la ejecución de lectura de mensaje. Inicialización de programa: El bit de primer paso S:1/15 inicializa los programas de escalera en la entrada al modo de marcha. (L) B3 10 4 5 2
  • 235.
    Instrucciones de comunicación 8–15 Ejemplo3 El ejemplo de aplicación 3 le muestra cómo usar el bit de límite de tiempo sobrepasado para inhabilitar una instrucción de mensaje activa. En este ejemplo, una salida se activa después de cinco ensayos fallidos (duración de dos segundos) para transmitir un mensaje. El bit de límite de tiempo sobrepasado se enclava (renglón 4) después de 2 segundos. Esto borra la instrucción de mensaje del control de procesador en el próximo escán. Luego la instrucción de mensaje vuelve a habilitarse para el segundo ensayo de transmisión. Después de 5 ensayos, O:1/0 se enclava. Un ensayo exitoso de transmisión restablece el contador, desenclava O:1/0 y desenclava B3/1. END 0 [LBL] 1 (EN) (DN) (ER) MSG READ/WRITE MESSAGE Read/write WRITE Target Device 500CPU Control Block N7:0 Control Block Length 7 ]/[ T4:0 DN (EN) (DN) TON TIMER ON DELAY Timer T4:0 Time Base 0.01 Preset 200 Accum 0 ] [ B3 1 (CU) (DN) CTU COUNT UP Counter C5:0 Preset 5 Accum 0 (JMP) 1 N7:0 8 (RES) C5:0 (L) N7:0 (U) B3 1 (L) O:1.0 0 ] [ B3 1 ] [ T4:0 DN ] [ C5:0 DN ] [ N7:0 13* 1 2 3 5 6 7 * Bits de estado de la instrucción MSG: 8 = TO 13 = DN Temporizador de 2 segundos. Cada ensayo de transmisión tiene una duración de 2 segundos. El contador permite 5 ensayos. N7:0/8 es el bit de límite de tiempo sobrepasado de la instrucción de mensaje (/TO) Borre la palabra de control y salte hacia atrás a renglón 0 para otro ensayo. El quinto ensayo enclava O0:1/0. B3/1 está enclavado (externo de este ejemplo) para iniciar la instrucción de mensaje. ] [ T4:0 DN 4 ] [ Notas de operación 8 CLR CLEAR Dest N7:0 0 (U) O:1.0 0 * ] [ N7:0 12
  • 236.
    Manual de referenciadel juego de instrucciones 8–16 Ejemplo 4 El ejemplo de aplicación 4 le muestra como vincular las instrucciones de mensaje para transmitir en serie, uno tras otro. En este ejemplo una escritura MSG es seguida por una lectura MSG, lo que provoca la transmisión en serie.
  • 237.
    Instrucciones de comunicación 8–17 END Renglón2:0 ]/[ N7:0 12 (EN) (DN) TON TIMER ON DELAY Timer T4:0 Time Base 0.01 Preset 600 Accum 0 ] [ S:1 15 (L) N7:0 ] [ N7:0 15 ] [ T4:0 DN Renglón 2:1 Renglón 2:2 Renglón 2:5 Renglón 2:6 Renglón 2:4 8 CLR CLEAR Dest N7:0 0 (U) N7:0 15 ]/[ N7:0 13 ]/[ N7:20 12 ] [ N7:20 15 ]/[ N7:20 13 (EN) (DN) TON TIMER ON DELAY Timer T4:1 Time Base 0.01 Preset 600 Accum 0 (L) N7:20 ] [ T4:1 DN 8 Renglón 2:3 ] [ N7:0 12 (EN) (DN) (ER) MSG READ/WRITE MESSAGE Read/write READ Target Device 500CPU Control Block N7:20 Control Block Length 7 ] [ N7:0 13 ] [ N7:20 12 ] [ N7:0 13 CLR CLEAR Dest N7:20 0 +, * $3 '%0 .* %+#+ ,* $ %'' %*! ' ('' *' $ , $ (*%* +,*-3 1,' $ * $3 ,*'* +, * $3 +,$ $ .$'* $2%, ,%(' +'*(+' -' + -+ - (*'+'* 3 +, * $3 / * $3 ' +' +*'+ ('*)- (- ,*'-* $ .$'* $ %(' .$'* $ $2%, ,%(' +'*(+' $ $')- +,*-3 +,*-3 + ,. $ ,* $ %'' %*! ' ' + *)-* ''+ ,* +,*-3 + ,. -' $ +,*-3 ,*'* + $0 +, * $3 *+,$ ,'+ $+ +,*-'+ -' $ 4$,% +,*-3 + ! $0' ($* ',*'$ + '** (* + -** )- $'+ ,+ / + (' *' (EN) (DN) (ER) MSG READ/WRITE MESSAGE Read/write WRITE Target Device 500CPU Control Block N7:0 Control Block Length 7
  • 238.
    Manual de referenciadel juego de instrucciones 8–18 Descripción general de la instrucción de mensaje Los datos asociados con una instrucción de escritura de mensaje se almacena en un búfer cuando usted habilita la instrucción. El SLC 5/03 con OS300 tiene cuatro búferes de transmisión. El SLC 5/03 con procesadores OS301, OS302 y SLC 5/04 con procesadores OS400, OS401 dan servicio a un máximo de cuatro instrucciones de mensaje por canal para un máximo de ocho instrucciones de mensaje. Operación SLC 5/03 OS300 – Si una instrucción MSG ha entrado en uno de los cuatro búferes de transmisión “independientes del canal” y está esperando ser transmitida, su bloque de control tendrá los bits de estado EN y EW establecidos. Si más de cuatro instrucciones MSG se habilitan a la vez, una cola de overflow “dependiente del canal” se usa para almacenar los bloques de encabezado de instrucción MSG (no los datos para una escritura MSG) a partir de la quinta instrucción hasta la décimocuarta. SLC 5/03 con OS301, OS302 y SLC 5/04 con OS400, OS401 – Si una instrucción MSG ha entrado en uno de los cuatro búferes de transmisión “dependientes del canal” y está esperando ser transmitida, su bloque de control tendrá los bits de estado EN y EW establecidos. Si más de cuatro instrucciones MSG para aquel canal se habilitan a la vez, una cola de overflow “dependiente del canal” se usa para almacenar los bloques de encabezado de instrucción MSG (no los datos para una escritura MSG) a partir de la quinta instrucción a la décimocuarta. Esta instrucción, la cual hace cola en orden FIFO, tendrá el bit de estado de bloque de control EN establecido. Si más de 14 instrucciones MSG se habilitan a la vez para un solo canal, el bit de estado de bloque de control WQ se establece ya que es posible que no haya espacio disponible para poner la instrucción en cola. Esta instrucción se debe a volver a escanear hasta que haya espacio en la cola de overflow. Nota Si habilita sistemáticamente más instrucciones MSG que las que pueden recibir los búferes, el orden en que las instrucciones MSG hacen en cola es determinado por el orden en que son escaneadas. Esto significa que las instrucciones MSG más cercanas del inicio del programa hacen cola regularmente y las instrucciones MSG más adelantes del programa pueden no entrar en la cola. Puede usar el control de límite de tiempo sobrepasado semejante a la instrucción MSG del SLC 5/02 ó puede usar el control de límite de tiempo sobrepasado incorporado. Si el valor del límite de tiempo sobrepasado se establece a 0, lo que constituye el valor predeterminado, la funcionabilidad es semejante a la instrucción MSG del SLC 5/02. La diferencia de ésta es que el renglón se debe volver a escanear después del establecimiento del bit TO. Luego debe restablecer el bit TO y volver a ejecutar la instrucción MSG. Le recomendamos que establezca el valor del límite de tiempo sobrepasado interno a un número que no sea 0. 3 3 READ/WRITE MESSAGE Type Read/write Target Device Local/Remote Control Block Control Block Length 14 (EN) (DN) (ER) MSG
  • 239.
    Instrucciones de comunicación 8–19 Cuandousa un procesador SLC 5/03 ó SLC 5/04, la instrucción de mensaje: • inicia lecturas y escrituras a través de canal 0 del RS-232 cuando es configurado para los protocolos siguientes: – Punto a punto DF1 – Esclavo DF1 – DH-485, o • inicia lecturas y escrituras a través de: – canal 1 de DH-485 (procesadores SLC 5/03 únicamente) – canal 1 de DH+ (procesadores SLC 5/04 únicamente) Bits del archivo de estado relacionados Refiérase al apéndice B en este manual para obtener más información acerca de los bits del archivo de estado de mostrados previamente.
  • 240.
    Manual de referenciadel juego de instrucciones 8–20 Opciones de configuración disponibles Las siguientes opciones de configuración están disponibles cuando se usa un procesador SLC 5/03 ó SLC 5/04. Refiérase al apéndice D para obtener parámetros válidos al programar la instrucción de mensaje. • Lectura/escritura de dispositivos semejantes en una red local a otro procesador SLC 500 • Lectura/escritura de dispositivos semejantes en una red local a un 485CIF • Lectura/escritura de dispositivos semejantes en una red local a un PLC-5 À • Lectura/escritura de dispositivos semejantes en una red remota a otro procesador SLC 500 • Lectura/escritura de dispositivos semejantes en una red remota a un 485CIF (emulación PLC2) • Lectura/escritura de dispositivos semejantes en una red remota a un procesador PLC-5 À À
  • 241.
    Instrucciones de comunicación 8–21 Cómointroducir parámetros Introduzca los parámetros siguientes al programar esta instrucción: • Lectura/escritura – La lectura indica que el procesador local (el procesador en que se encuentra la instrucción) está recibiendo datos; la escritura indica que está enviando datos. • El dispositivo receptor identifica el tipo de dispositivo que recibirá datos. Las opciones válidas son: – el 500CPU si el dispositivo receptor es otro procesador SLC – el 485CIF si el dispositivo receptor es un dispositivo que no sea SLC en la red DH-485 – el PLC-5 si el dispositivo receptor acepta comandos PLC-5 • Local o remoto identifica si el mensaje es enviado a un dispositivo en una red local DH-485 ó DH+, o a un dispositivo remoto en otra red a través de un puente. Las opciones válidas son: – Local si el dispositivo receptor se encuentra en una red local – Remoto si el dispositivo receptor se encuentra en una red remota • El bloque de control es una dirección de archivo de entero que usted selecciona. Es un archivo de entero de 14 palabras que contiene bits de estado, dirección de archivo receptor y otros datos asociados con la instrucción de mensaje. • La longitud del bloque de control se fija a 14 elementos. Este campo no se puede modificar. Nota La longitud del bloque de control MSG incrementa de 7 a 14 palabras al cambiarse de un programa de procesador SLC 5/02 a un programa de procesador SLC 5/03 ó SLC 5/04. Asegúrese que haya un mínimo de 7 palabras no usadas después de cada bloque de control MSG en su programa.
  • 242.
    Manual de referenciadel juego de instrucciones 8–22 Uso de los bits de estado La columna derecha en la ilustración siguiente alista los varios bits de estado asociados con la instrucción SLC 5/03 y SLC 5/04. Type: Peer–to–Peer Read/Write: READ ignore if timed out: 0 TO Target Device: 500CPU to be retried: 0 NR Local/Remote: Local awaiting execution: 0 EW Control Block: N10:0 continuous run: 0 CO Channel: 1 error: 0 ER Target Node: 2 message done: 0 DN message transmitting: 0 ST message enabled: 0 EN Destination File Addr: N7:0 waiting for queue space: 0 WQ Target Source File Address: N7:50 Message Length In Elements: 10 Message Timeout (seconds): 5 ERROR CODE: 0 control bit address: N10:0/8 Error Code Desc: • Bit del límite de tiempo sobrepasado TO (palabra 0, bit 08) Establezca este bit en su aplicación para eliminar una instrucción de mensaje activa del control de procesador. Puede usar su propia rutina de control de límite de tiempo sobrepasado semejante a la instrucción MSG del SLC 5/02 o puede usar el control de límite de tiempo sobrepasado interno. Le recomendamos que use el control de límite de tiempo sobrepasado incorporado porque simplifica el programa del usuario. Si usa su propia rutina de control de límite de tiempo sobrepasado, el valor del límite de tiempo sobrepasado (palabra 8) se debe poner a cero. Si la instrucción MSG no se completa dentro del plazo de tiempo especificado y el bit DN no se establece, usted debe establecer el bit TO (bit 8 de palabra 0) y volver a realizar un escán de la instrucción MSG, de lo contrario el mensaje llevará un búfer activo hasta que el procesador se detenga y se vuelva a arrancar. Después de la ejecución de la instrucción MSG, el procesador establece el bit ER (bit 12) y retorna el código de error 37H. Vuelva a iniciar la instrucción MSG restableciendo el bit TO y volviendo a ejecutar la instrucción MSG. Si usa el control de límite de tiempo sobrepasado interno, establezca el valor del límite de tiempo sobrepasado (palabra 8) entre 1 y 255 segundos. Cuando el límite de tiempo sobrepasado ocurre, el bit TO y el bit ER (bit 12 de palabra 0) se establecen y el procesador retorna el código de error 37H. Vuelva a iniciar la instrucción MSG restableciendo el bit TO y volviendo a ejecutar la instrucción MSG. • Bit no respuesta NR (bit 09) se establece si el procesador receptor responde a la instrucción con un acuse de recibo negativo. Esto significa que el dispositivo receptor no puede dar servicio al paquete en ese momento y se debe volver a intentar. El bit NR se restablece cuando el bit ER, DN o ST se establece. Recomendamos no intentar controlar este bit. Se usa para funciones DH-485 y se presenta a título informativo únicamente.
  • 243.
    Instrucciones de comunicación 8–23 •El bit habilitado y en espera EW (bit 10) se establece después de que el bit de habilitación se ha establecido y el mensaje se almacena en el búfer y espera ser enviado en el búfer. Recomendamos no intentar controlar este bit. Se presenta a título informativo únicamente. • Operación continua CO (bit 11) Establezca este bit si desea enviar la instrucción MSG de manera continua. Recomendamos que el control del límite de tiempo sobrepasado interno se use para esta opción y que el renglón sea incondicionalmente verdadero. Use este bit para activar y desactivar el modo. Nota No intente establecer ni restablecer los otros bits en la palabra de control. Este modo operará continuamente siempre que el renglón sea escaneado continuamente. Si la instrucción tiene error, vuelve a intentar automáticamente hasta tener éxito. Si sobrepasa el límite de tiempo y se vuelve a escanear, el modo se detendrá. El bit ER se debe poner a cero para reanudar la operación. • El bit de error ER (bit 12) se establece cuando la transmisión de mensaje está con fallo. El bit ER se restablece la próxima vez que el renglón asociado vaya de falso a verdadero. • El bit de efectuado DN (bit 13) se establece cuando el mensaje se transmite con éxito. El bit DN se restablece la próxima vez que el renglón asociado vaya de falso a verdadero. • El bit de arranque ST (bit 14) se establece cuando el procesador acusa recibo del dispositivo receptor. El bit ST se restablece cuando el bit DN, ER o TO se establece. Recomendamos no intentar controlar este bit. Se presenta a título informativo únicamente. • El bit de habilitación EN (bit 15) se establece cuando las condiciones de renglón se hacen verdaderas y la instrucción se ejecuta. Permanece establecido hasta que la transmisión de mensaje se haya completado y el renglón se haga falso. • El bit de espera de espacio en la cola WQ (Word 7, bit 0) se establece cuando no hay espacio en la cola activa para escribir o leer datos. Este bit se pone a cero cuando hay espacio disponible en al cola activa. Recomendamos no intentar controlar este bit. Se presenta a título informativo únicamente. Nota Cuando el bit WQ se establece, o cuando sólo se establece el bit EN, y usted usa una instrucción de escritura MSG, sus datos de fuente no tienen búfer. Si su aplicación requiere datos con búfer (o “fotografía”), espere hasta que el bit EW se establezca antes de sobrescribir sus datos de fuente. • EN = 1 y EW = 1 cuando MSG entra en el búfer • EN = 1 cuando MSG entra en cola • WQ = 1 cuando la cola (que retiene 10 MSG) está llena: búfer – retiene 4 mensajes con los datos cola – almacena el puntero (lista de espera) Nota Si su programa contiene cuatro instrucciones de mensaje con el bit de operación continua (CO) establecido, la instrucción de mensaje de la rutina de fallo no se ejecutará.
  • 244.
    Preface Manual de referenciadel juego de instrucciones 8–24 La cantidad de datos transferidos por una instrucción MSG es determinada por el tamaño del tipo de datos de destino. El límite es 206 bytes de datos. Si una lectura se usa, entonces el tipo de datos en el procesador determina el número de elementos. Si una escritura se usa, entonces el tipo de datos en el dispositivo remoto determina el número de elementos. Por ejemplo, si una lectura de contadores desde un dispositivo remoto se efectúa y el destino en el procesador es un archivo de entero, entonces el número máximo de elementos que se pueden solicitar es 103. Los datos provienen de las 103 primeras palabras del archivo de temporizador remoto. Configuraciones del bloque de control La configuración del bloque de control se muestra abajo si selecciona un 500CPU o un PLC-5 como el dispositivo receptor: EN ST DN ER CO EW NR TO Error Code 15 14 13 12 11 10 09 08 07 06 05 04 03 02 01 00 Node Number Reserved for length in words Pal. 0 1 2 File Number File Type (O, I, S, B, T, C, R, N, F, St, A) Element Number Subelement Number 3 4 5 6 Reserved (Internal Messaging Bits) Message Timer Preset WQ Message Timer Scaled Zero Message Timer Accumulator 7 8 9 10 11 Reserved (Internal use only) Lectura o escritura, local o remota a un 500CPU o PLCĆ5 Reserved (Internal use only) 12 Reserved (Internal use only) 13
  • 245.
    Instrucciones de comunicación 8–25 Laconfiguración del bloque de control se muestra abajo si selecciona un 485 CIF como el dispositivo receptor: EN ST DN ER CO EW NR TO Error Code 15 14 13 12 11 10 09 08 07 06 05 04 03 02 01 00 Node Number Reserved for length in words Pal. 0 1 2 Offset in Words Not Used Not Used Not Used 3 4 5 6 Reserved (Internal Messaging Bits) Message Timer Preset WQ Message Timer Scaled Zero Message Timer Accumulator 7 8 9 10 11 Reserved (Internal use only) Lectura o escritura, local o remota a un 485CIF Reserved (Internal use only) 12 13 Reserved (Internal use only)
  • 246.
    Manual de referenciadel juego de instrucciones 8–26 Diagrama de temporización para una instrucción exitosa del SLC 5/03 ó SLC 5/04 La sección siguiente describe el diagrama de temporización para una instrucción MSG del SLC 5/03 ó SLC 5/04. $ ! #! 1. Cuando el renglón MSG se hace verdadero y el MSG es escaneado, si hay espacio en cualquiera de los cuatro búferes MSG activos, los bits EN y EW es establecen. Si esta fuera una instrucción de escritura MSG, los datos de fuente sería transferidos al búfer MSG en este momento. Si no hay espacio en los cuatro búferes MSG, pero hay disponible una posición en la cola MSG de 10 posiciones, sólo el bit EN se establece. La cola MSG de 10 posiciones trata los datos primeros en llegar y así permite al procesador SLC 5/03 ó SLC 5/04 recordar el orden en que las instrucciones MSG se habilitaron. Anote que el programa no tiene acceso a la cola MSG de SLC 5/03 ó SLC 5/04. Si no hay espacio en ninguno de los cuatro búferes MSG ni en la cola MSG de 10 posiciones, sólo el bit WQ se establece. Observe que cuando el bit WQ se establece, la instrucción MSG se debe volver a escanear más adelante cuando haya espacio en los cuatro búferes MSG o la cola MSG de 10 posiciones.
  • 247.
    Instrucciones de comunicación 8–27 Unavez establecido el bit EN, permanece establecido hasta que el proceso entero MSG se haya finalizado y el bit DN, ER o TO se establezca. El valor del límite de tiempo sobrepasado MSG comienza a temporizar cuando el bit EN se establece. Si el período del límite de tiempo sobrepasado vence antes de que la instrucción MSG finalice su función, el bit ER se establece y un código se coloca en el bloque MSG para informarle del error del límite de tiempo sobrepasado. Si decide establecer el bit CO, su instrucción MSG residirá de manera permanente en uno de los cuatro búferes MSG activos. La instrucción MSG continuará volviendo a transmitir sus datos cada vez que el bit DN o ER se establece. Si esta fuera una instrucción de escritura MSG, sus datos de fuente se actualizarían durante cada ciclo MSG. 2. Al próximo final de escán o SVC, el procesador SLC 5/03 ó SLC 5/04 determina si debe examinar la cola MSG en busca de una tarea. El procesador toma su decisión según en el estado de los bits S:2/15, S:33/7, S:33/5, S:33/6, solicitudes de comunicación de la red desde otros nodos y si hay instrucciones MG anteriores que ya están en progreso. Si el procesador SLC 5/03 determina que no debe acceder a la cola, la instrucción MSG permanece tal como era. (Los bits EN y EW permanecen establecidos o sólo el bit EN se establece, o de lo contrario sólo el bit WQ se establece hasta el próximo final de escán o SVC. Si solamente el bit WQ se establece, la instrucción MSG se debe volver a escanear.) Si el procesador SLC 5/03 ó SLC 5/04 determina que hay una “tarea de desempeñar”, descargar las entradas de la cola MSG en los búferes MSG hasta que todos los cuatro búferes estén llenos. Cada búfer MSG contiene un paquete de red válido. Si un paquete no se puede construir exitosamente de la cola MSG, el bit ER se establece y un código se coloca en el bloque MSG para informarle de un error. Cuando una instrucción MSG se carga en un búfer MSG, los bits EN y EW se establecen. Luego el procesador SLC 5/03 ó SLC 5/04 sale al final de escán o la porción SVC del escán. La función de comunicación de fondo del procesador envía los paquetes a los nodos receptores que especificó en su instrucción MSG. Según el estado de los bits S:2/14, S:33/7, S:33/5 y S:33/6, puede tener hasta cuatro instrucciones MSG activas en todo momento. 3. Si el nodo receptor recibe exitosamente el paquete, envía un ACK (un acuso de recibo). El ACK causa que el procesador ponga a cero el bit EW y establezca el bit ST. El nodo receptor todavía no ha examinado el paquete para determinar si entiende su solicitud. Observe que el nodo receptor no tiene que responder dentro de un plazo de tiempo determinado. Nota Si el nodo receptor está con fallo o desconecta y vuelve a conectar la alimentación eléctrica durante este plazo de tiempo de una transacción MSG, nunca recibirá una respuesta. Es por eso que recomendamos el uso del valor del límite de tiempo sobrepasado MSG en su instrucción MSG.
  • 248.
    Manual de referenciadel juego de instrucciones 8–28 El paso 4 no se muestra en el diagrama de temporización. 4. Si no recibe un ACK, el paso 3 no ocurre. Un NAK (ningún acuso de recibo) se recibe en su lugar. Cuando esto ocurre, el bit ST permanece puesto a cero. Un NAK indica que: • el nodo receptor no existe, • no responde, • está demasiado ocupado o • recibe un paquete DH-485 alterado. Cuando un NAK ocurre, el bit EW se pone a cero y el bit NR se establece para un escán. La próxima vez que la instrucción MSG es escaneada, el bit ER se establece y el bit NR se pone a cero. Esto indica que la instrucción MSG está con fallo. Anote que si el nodo receptor está demasiado ocupado, el bit ER no se establece. En cambio, la instrucción MSG vuelve a hacer cola para la retransmisión. 5. Después del recibo exitoso del paquete, el nodo receptor envía un paquete de respuesta. El paquete de respuesta contendrá una de las respuestas siguientes: • He realizado exitosamente su solicitud de escritura. • He realizado exitosamente su solicitud de lectura y le presento aquí los datos. • No he realizado su solicitud; tiene un error. Al próximo final de escán o SVC, después de la respuesta del nodo receptor, el procesador SLC 5/02 examina el paquete DH-485 del dispositivo receptor. Si la respuesta contiene “He realizado exitosamente su solicitud de escritura”, el bit DN se establece y el bit ST se pone a cero. La función de la instrucción MSG ha sido completada. Si el renglón MSG es falso, el bit EN se pone a cero la próxima vez que la instrucción MSG es escaneada. Si la respuesta contiene “He realizado exitosamente su solicitud de lectura y le presento aquí los datos”, los datos se escriben a la tabla de datos, el bit DN se establece y el bit ST se pone a cero. La función de la instrucción MSG ha sido completada. Si el renglón MSG es falso, el bit EN se pone a cero la próxima vez que la instrucción MSG es escaneada. Si la respuesta contiene “No he realizado su solicitud; tiene un error”, el bit ER se establece y el bit ST se pone a cero. La función de la instrucción MSG ha sido completada. Si el renglón MSG es falso, el bit EN se pone a cero la próxima vez que la instrucción MSG es escaneada.
  • 249.
    Instrucciones de comunicación 8–29 Loscuatro búferes son compartidos entre el canal 0 y el canal 1 para los procesadores SLC 5/03 OS300. Para los procesadores SLC 5/03 OS301, OS302 y SLC 5/04 OS400, OS401, hay cuatro búferes MSG por canal. Cada canal tiene su propia cola MSG de diez posiciones. El procesador SLC 5/03 ó SLC 5/04 descarga las dos colas MSG en los búferes MSG equitativamente al final de escán o SVC. Esto permite que ambos canales tengan el mismo acceso a las comunicaciones. Si usted programa una instrucción SVC que es configurada para dar servicio solamente a un canal, entonces dicho canal tendrá su cola MSG descargada en los búferes MSG (hasta el próximo final de escán o SVC cuando ambos canales se volverán a descargar equitativamente).
  • 250.
    Preface Manual de referenciadel juego de instrucciones 8–30 Códigos de error de la instrucción MSG Cuando una condición de error ocurre, el código de error y su descripción se indican en la pantalla. Código de error Descripción de la condición de error 02H El nodo receptor está ocupado. La instrucción MSG se volverá a cargar automáticamente. Si hay otros mensajes que esperan, el mensaje se coloca en la parte inferior de la pila. 03H El nodo receptor no puede responder porque el mensaje es demasiado grande. 04H El nodo receptor no puede responder porque no entiende los parámetros de comando O BIEN es posible que el bloque de control haya sido modificado inadvertidamente. 05H El procesador local está fuera de línea (posible situación de nodo duplicado). 06H El nodo receptor no puede responder porque la función solicitada no está disponible. 07H El nodo receptor no responde. 08H El nodo receptor no puede responder. 09H La conexión del módem local ha sido perdida. 0AH El búfer no está disponible para recibir la respuesta SRD. OBH El nodo receptor no acepta este tipo de instrucción MSG. 0CH Recibió un restablecimiento del vínculo principal (una fuente posible es del maestro DF1). 10H El nodo receptor no puede responder a causa de parámetros de comando incorrectos o comando sin capacidad. 11H El archivo local tiene protección de archivo constante. 12H Un error del protocolo de configuración de canal local existe. 13H Error de configuración MSG local en los parámetros MSG remotos. 14H El variador de comunicación local no es compatible con la instrucción MSG. 15H Un error del parámetro de configuración de canal local existe. 16H La dirección receptora o del puente local es mayor que la dirección máxima de nodo. 17H El servicio local no es compatible. 18H La difusión (dirección de nodo 255) no es compatible. 37H El mensaje sobrepasó el límite de tiempo en un procesador local. 38H El mensaje inhabilitó la respuesta del vínculo pendiente. 50H El nodo receptor agotó su memoria. 60H El nodo receptor no puede responder porque el archivo está protegido. E7H El nodo receptor no puede responder porque la longitud solicitada es demasiado larga. EBH El nodo receptor no puede responder porque el nodo receptor ha negado el acceso.
  • 251.
    Instrucciones de comunicación 8–31 Códigode error Descripción de la condición de error ! ! Nota Para los usuarios del juego de protocolo y comando 177-6.5.16 DH, DH+, DH-485: El código de error MSG representa el campo STS de la respuesta a su instrucción MSG. Los códigos E0 – EF representan los códigos EXT STS 0 – F. Los códigos F0 – FC representan los códigos EXT STS 10 – 1C.
  • 252.
    Manual de referenciadel juego de instrucciones 8–32 Ejemplos de configuraciones usando la instrucción de mensaje La instrucción siguiente proporciona ejemplos para enviar comandos entre los dispositivos compatibles con DH-485 y DF1 de dúplex completo y los dispositivos compatibles con DH+. Esta sección proporciona una variedad de ejemplos de aplicación usando la instrucción MSG. • Lógica de escalera usando: – la operación continua de la instrucción de mensaje – la instrucción de mensaje de regeneración automática – el bit de límite de tiempo sobrepasado para inhabilitar una instrucción de mensaje activa – la transmisión en serie • Mensajes locales vía: – la lectura local de un 500CPU – la lectura local de un 485CIF – la lectura local de un PLC-5 • Mensajes remotos usando: – un sólo módulo de interface de comunicación 1785-KA5 – dos módulos de comunicación 1785-KA – los procesadores SLC con transferencia al canal 0 – un integrador de pirámide – dos módulos de interface de comunicación 1785-KA5 – “saltos” múltiples usando dos módulos de interface de comunicación 1785-KA5
  • 253.
    Instrucciones de comunicación 8–33 Usode la lógica de escalera Ejemplo 1 Hay dos métodos para configurar una instrucción de mensaje que lee o escribe datos hacia/desde su nodo receptor de manera continua. El método más indicado y más eficiente es establecer el bit continuo (CO) de la instrucción de mensaje. Con este bit establecido, el mensaje reside permanentemente en uno de los cuatro búferes de mensaje del procesador SLC 5/03 ó SLC 5/04 y solicita/envía datos al nodo receptor continuamente. La única restricción de este método es que usted puede tener solamente hasta cuatro instrucciones de mensajes continuamente configuradas. Si tiene instrucciones de mensaje configuradas de esta manera, otras instrucciones de mensaje en su programa de escalera tomarán más tiempo para completarse porque en efecto ha reducido el número de búferes de mensaje disponibles. El segundo método se llama una instrucción de mensaje de regeneración automática. El efecto es semejante al establecer el bit continuo (CO) donde la instrucción de mensaje lee o escribe datos hacia/desde su nodo receptor de manera continua. Sin embargo, en vez de residir permanentemente en un búfer de mensaje, el mensaje de regeneración automática se elimina de su búfer de mensaje. Este método es muy útil si tiene más de cuatro mensajes que necesita operar continuamente o si desea que estos mensajes configurados continuamente compartan espacio de búfer con otras instrucciones de mensaje en su programa. Aunque este método tiene el mismo efecto que el establecimiento del bit CO, anote que será más lento que un mensaje continuo verdadero (con el bit CO establecido).
  • 254.
    N7:0 ––]/[––– 10 À Manual de referenciadel juego de instrucciones 8–34 El ejemplo de aplicación 1 muestra cómo puede implementar la operación continua de una instrucción de mensaje. Este ejemplo usa un valor del límite de tiempo sobrepasado de mensaje interno que no sea cero. Renglón 2:0 Esta es la manera correcta de programar un mensaje continuo en un procesador 5/03 ó 5/04. Este mensaje residirá permanentemente en uno de los 4 búferes de transmisión de mensaje. Puede activar o desactivar el mensaje continuo estableciendo/restableciendo B3/0. Sin embargo, debe desenclavar el bit de HABILITACION de mensaje cada vez que active el bit de MENSAJE CONTINUO – esto permite que la instrucción se vuelva a cargar en un búfer de mensaje. | +MSG––––––––––––––––––––+ | |–––––––––––––––––––––––––––––––––––––––––––––––+READ/WRITE MESSAGE +–(EN)–| | |Type PEER–TO–PEER+–(DN) | | |Read/Write READ+–(ER) | | |Target Device 500CPU| | | |Local/Remote LOCAL| | | |Control Block N7:0| | | |Control Block Length 14| | | +–––––––––––––––––––––––+ | Renglón 2:1 | Bit | | MSG | | continuo | | B3 N7:0 | |––] [––––––––––––––––––––––––––––––––––––––––––––––––+––––––––––––( )–––––+–| | 0 | 11 | | | | Bit MSG | | | | continuo | | | | B3 N7:0 | | | |––[OSR]–––––(U)–––––+ | | | 1 | 15 | | | | | | | N7:0 | | | +––] [ –––| | | 8 | Renglón 2:2 | | |–––––––––––––––––––––––––––––––––––––+END+––––––––––––––––––––––––––––––––––––| | | À
  • 255.
    N7:0 ––]/[––– 10 À Instrucciones de comunicación 8–35 Ejemplo2 Este ejemplo muestra dos instrucciones de mensaje configuradas para funcionar continuamente por el método de regeneración automática. Este ejemplo usa un valor del límite de tiempo sobrepasado de mensaje interno distinto de cero. Renglón 2:0 Este es otro método para programa un mensaje que lee o escribe su destino de manera continua. Denominamos este método un método de regeneración automática porque en vez de usar el bit CONTINUO (CO), volvemos a iniciar el mensaje manualmente cuando los bits de EFECTUADO o ERROR se establecen. Use este método si tiene más de 4 mensajes que necesite operar a la vez de manera continua. | Bit activado/ Mensaje 1 | | desactivado de mensaje 1 | | B3 +MSG––––––––––––––––––––+ | |––––] [––––––––––––––––––––––––––––––––––––––––+READ/WRITE MESSAGE +–(EN)–| | 0 |Type PEER–TO–PEER+–(DN) | | |Read/Write READ+–(ER) | | |Target Device 500CPU| | | |Local/Remote LOCAL| | | |Control Block N7:0| | | |Control Block Length 14| | | +–––––––––––––––––––––––+ | Renglón 2:1 | Bit de EFECTUADO Bit de HABILITACION | | de mensaje 1 de mensaje 1 | | N7:0 N7:0 | |–+––––] [–––––+–––––––––––––––––––––––––––––––––––––––––––––––––––––(U)–––––| | | 13 | 15 | | | Bit ERROR | | | | mensaje 1 | | | | N7:0 | | | +––––] [–––––+ | | 12 | Renglón 2:2 | Bit activado/ Mensaje 2 | | desactivado de mensaje 2 | | B3 +MSG––––––––––––––––––––+ | |––––] [––––––––––––––––––––––––––––––––––––––––+READ/WRITE MESSAGE +–(EN)–| | 1 |Type PEER–TO–PEER+–(DN) | | |Read/Write READ+–(ER) | | |Target Device 500CPU| | | |Local/Remote LOCAL| | | |Control Block N7:40| | | |Control Block Length 14| | | +–––––––––––––––––––––––+ |
  • 256.
    N7:40 ––]/[––– 10 À Manual de referenciadel juego de instrucciones 8–36 Renglón 2:3 | Bit de EFECTUADO Bit de HABILITACION | | de mensaje 2 de mensaje 2 | | N7:40 N7:40 | |–+––––] [–––––+–––––––––––––––––––––––––––––––––––––––––––––––––––––(U)–––––| | | 13 | 15 | | | Bit ERROR | | | | mensaje 2 | | | | N7:40 | | | +––––] [–––––+ | | 12 | Renglón 2:4 | | |–––––––––––––––––––––––––––––––––––––+END+––––––––––––––––––––––––––––––––––––| | | À
  • 257.
    N7:0 ––]/[––– 10 À Instrucciones de comunicación 8–37 Ejemplo3 El ejemplo de aplicación 3 le muestra cómo usar el bit de límite de tiempo sobrepasado para inhabilitar una instrucción de mensaje activa. En este ejemplo, una salida se activa después de cinco intentos sin éxito (de 2 segundos de duración) de transmitir un mensaje. Este ejemplo usa un valor del límite de tiempo sobrepasado de mensaje interno distinto de cero. Renglón 2:0 En el programa, una vez establecido B3/1, la instrucción de mensaje intenta 5 veces completarse exitosamente. Si se completa en menos de 5 intentos, desenclavará B3/1. Si, después de 5 intentos, el mensaje todavía no se ha completado, una salida se activa y B3/1 se desenclava. Para volver a intentar este mensaje, sólo establezca B3/1 a 1. | Bit de | | disparo MSG | | del usuario | | B3 +MSG––––––––––––––––––––+ | |––––] [–––––––––––––––+––––––––––––––––––––––+READ/WRITE MESSAGE +–(EN)–+–| | 1 | |Type PEER–TO–PEER+–(DN) | | | | |Read/Write READ+–(ER) | | | | |Target Device 500CPU| | | | | |Local/Remote LOCAL| | | | | |Control Block N7:0| | | | | |Control Block Length 14| | | | | +–––––––––––––––––––––––+ | | | | B3 C5:0 | | | +––[OSR]––+––(RES)–––––+––––––––––––––––––––––––––––––+ | | 0 | | | | | El mensaje | | | | no se | | | | completó | | | | O:3 | | | +––––(U)–––––+ | | 0 | Renglón 2:1 | Bit de ERROR | | de mensaje | | N7:0 +CTU–––––––––––––––+ | |––––] [–––––––––––––––––––––––––––––––––––––––+–+COUNT UP +–(CU)–+–| | 12 | |Counter C5:0+–(DN) | | | | |Preset 5| | | | | |Accum 5| | | | | +––––––––––––––––––+ | | | | Bit de HABILITACION | | | | de mensaje | | | | N7:0 | | | +––––(U)––––––––––––––––––––+ | | 15 |
  • 258.
    Manual de referenciadel juego de instrucciones 8–38 Renglón 2:2 | El mensaje | | no se | | completó | | C5:0 O:3 | |––] [––––––––––––––––––––––––––––––––––––––––––––––––––––––––––+––––(L)–––––+–| | DN | 0 | | | | Bit de | | | | disparo MSG| | | | del usuario| | | | B3 | | | +––––(U)–––––+ | | 1 | Renglón 2:3 | Bit de | Bit de | | EFECTUADO | disparo MSG | | de mensaje| del usuario | | N7:0 B3 | |––––] [–––––––––––––––––––––––––––––––––––––––––––––––––––––––––––––––(U)–––––| | 13 1 | Renglón 2:4 | | |–––––––––––––––––––––––––––––––––––––+END+––––––––––––––––––––––––––––––––––––| | | À
  • 259.
    N7:0 ––]/[––– 10 À Instrucciones de comunicación 8–39 Ejemplo4 El ejemplo de aplicación 4 le muestra cómo vincular las instrucciones de mensaje para transmitir en serie, una tras otra. En este ejemplo, una escritura MSG es seguida por una lectura MSG, lo que provoca la transmisión en serie. Este ejemplo usa un valor del límite de tiempo sobrepasado de mensaje interno distinto de cero. Renglón 2:0 Este programa demuestra cómo encadenar las instrucciones de mensaje, es decir, habilitar un segundo mensaje una vez completado con éxito el primero. Este ejemplo intenta continuamente escribir datos a un nodo de red y luego leer dados de un nodo de red. Este renglón habilita que el mensaje de ESCRITURA inicie cuando vaya de PROGRAMA a EJECUCION. | Bit de | Bit de HABILITACION | | primer paso | de escritura de mens.| | S:1 N7:0 | |––––] [–––––––––––––––––––––––––––––––––––––––––––––––––––––––––––––––(U)–––––| | 15 15 | Renglón 2:1 | +MSG––––––––––––––––––––+ | |–––––––––––––––––––––––––––––––––––––––––––––––+READ/WRITE MESSAGE +–(EN)–| | |Type PEER–TO–PEER+–(DN) | | |Read/Write WRITE+–(ER) | | |Target Device 500CPU| | | |Local/Remote LOCAL| | | |Control Block N7:0| | | |Control Block Length 14| | | +–––––––––––––––––––––––+ | Renglón 2:2 Si el mensaje de ESCRITURA tiene error, siga ensayando el mensaje de ESCRITURA hasta que se complete con éxito. No ensaye el mensaje de LECTURA hasta que haya una ESCRITURA exitosa. | Bit ERROR | Bit de HABILITACION | | escr. mens. | de escritura de mens.| | N7:0 N7:0 | |––––] [–––––––––––––––––––––––––––––––––––––––––––––––––––––––––––––––(U)–––––| | 12 15 | Renglón 2:3 Una vez completado con éxito el mensaje de ESCRITURA, habilite el mensaje de LECTURA. | Bit de EFECTUADO | | de escritura de mensaje | | N7:0 +MSG––––––––––––––––––––+ | |––––] [––––––––––––––––––––––––––––––––––––––––+READ/WRITE MESSAGE +–(EN)–| | 13 |Type PEER–TO–PEER+–(DN) | | |Read/Write READ+–(ER) | | |Target Device 500CPU| | | |Local/Remote LOCAL| | | |Control Block N7:20| | | |Control Block Length 14| | | +–––––––––––––––––––––––+ |
  • 260.
    N7:20 ––]/[––– 10 À N7:20 ––]/[––– 10 À Manual de referenciadel juego de instrucciones 8–40 Renglón 2:4 Si el mensaje de LECTURA tiene error, siga ensayando el mensaje de LECTURA hasta que se haya completado con éxito. No vuelva a ensayar la ESCRITURA hasta que haya una LECTURA exitosa. | Bit ERROR | Bit de HABILITACION | | lec. mens.| de lectura de mensaje | | N7:20 N7:20 | |––––] [–––––––––––––––––––––––––––––––––––––––––––––––––––––––––––––(U)–––––| | 12 15 | Renglón 2:5 Una vez que los mensajes de ESCRITURA y LECTURA se hayan completado exitosamente, vuelva a iniciar la secuencia de mensaje desenclavando el bit de habilitación del mensaje de ESCRITURA. | Bit EFEC. |Bit EFEC. | Bit de HABILITACION | | lec. mens.|esc. mens.| de escritura de mensaje | | N7:20 N7:0 N7:0 | |––––] [––––––––] [––––––––––––––––––––––––––––––––––––––––––––––––––(U)–––––| | 13 13 15 | Renglón 2:6 | | |–––––––––––––––––––––––––––––––––––––+END+––––––––––––––––––––––––––––––––––––| | | À
  • 261.
    Instrucciones de comunicación 8–41 Usode mensajes locales Ejemplo 1 – Lectura local de un 500CPU Type: Peer–to–Peer Read/Write: READ ignore if timed out: 0 TO Target Device: 500CPU to be retried: 0 NR Local/Remote: Local awaiting execution: 0 EW Control Block: N10:0 continuous run: 0 CO Channel: 1 error: 0 ER Target Node (decimal): 2 message done: 0 DN message transmitting: 0 ST message enabled: 0 EN Destination File Addr: N7:0 waiting for queue space: 0 WQ Target Source File Address: N7:50 Message Length In Elements: 10 Message Timeout (seconds): 5 ERROR CODE: 0 control bit address: N10:0/8 Error Code Desc: En la pantalla anterior, el procesador SLC 5/03 ó SLC 5/04 lee 10 elementos del archivo N7 del nodo receptor, a partir de la palabra N7:50. Las 10 palabras se colocan en su archivo de entero a partir de la palabra N7:0. Si pasan cinco segundos sin respuesta, el bit de error N10:0/12 se establece, lo que indica que la instrucción ha sobrepasado el límite de tiempo. El dispositivo en el nodo 2 entiende el protocolo de la familia del procesador SLC 500 (SLC 500, SLC 5/01, SLC 5/02, SLC 5/03 y SLC 5/04). Tecla de función Descripción * * -!!+/*- .+!%% !' )7(!-* ! )* * !' +-*!. *- ,0! -!%! !' (!).! ' -)#* 14'% * !. .+!%% ' %-!%6) - 0) '!/0- !./%)* 5./ !. ' %-!%6) !) !' +-*!. *- %)%% *- ,0! 1 -!%%- '*. /*. %-!%6) ! -$%1* - 0) !.-%/0- 0!)/! 5./ !. ' %-!%6) !' +-*!. *- %)%% *- ,0! 1 !)1%- '*. /*. *. /%+*. ! -$%1* 14'% *. .*) 3 - 0) '!/0- 0!)/! 5./ !. ' %-!%6) !) !' +-*!. *- -!!+/*- ,0! 1 !)1%- '*. /*. %-!%6) -!!+/*- - 0) !.-%/0- !./%)* 5./ !. ' %-!%6) !' +-*!. *- -!!+/*- ,0! 1 -!%%- '*. /*. *. /%+*. ! -$%1* 14'% *. .*) 3 *)#%/0 ! (!).! !%)! ' '*)#%/0 !' (!).! !) !'!(!)/*. *. !'!(!)/*. ! 0) +'- .! '%(%/) 0) '*)#%/0 (42%( ! *. !'!(!)/*. ! /-!. +'-. .! '%(%/) 0) '*)#%/0 (42%( !
  • 262.
    Preface Manual de referenciadel juego de instrucciones 8–42 Tecla de función Descripción Límite de tiempo sobrepasado del mensaje Define la longitud del temporizador de mensaje en segundos. Un límite de tiempo sobrepasado de 0 segundos significa que no hay temporizador y que el mensaje esperará indefinidamente una respuesta. El rango válido es 0Ć255 segundos. Canal Identifica el canal físico usado para la comunicación de mensaje. Canales disponibles: SLC 5/03 - (0, RS-232) o (1, DH-485) SLC 5/04 - (0, RS-232) o (1, DH+) Ejemplo 2 – Lectura local de un 485CIF Type: Peer–to–Peer Read/Write: READ ignore if timed out: 0 TO Target Device: 485CIF to be retried: 0 NR Local/Remote: Local awaiting execution: 0 EW Control Block: N10:0 continuous run: 0 CO Channel: 1 error: 0 ER Target Node (decimal): 2 message done: 0 DN message transmitting: 0 ST message enabled: 0 EN Destination File Addr: N7:0 waiting for queue space: 0 WQ Target Offset: 20 Message Length In Elements: 5 Message Timeout (seconds): 15 ERROR CODE: 0 control bit address: N10:0/8 Error Code Desc: En la ilustración anterior, los procesadores SLC 5/03 ó SLC 5/04 leen cinco elementos (palabras) del archivo CIF del nodo receptor, a partir de la palabra 20 (o byte 20 para los dispositivos que no sean SLC 500). Los cinco elementos se colocan en su archivo de enteros a partir de palabra N7:0. Si 15 segundos pasan sin respuesta, el bit de error N10:0/12 se establece, lo que indica que la instrucción ha sobrepasado el límite de tiempo. El dispositivo en el nodo 2 entiende el protocolo 485CIF (emulación de PLC-2). Tecla de función Descripción Nodo receptor Especifica el número de nodo del procesador que recibe el mensaje. El rango válildo es 0Ć31. Para una lectura (destino), ésta es la dirección en el procesador iniciador que va a recibir los datos. Dirección de archivo Para una escritura (fuente), ésta es la dirección en el procesador iniciador que va a enviar los datos. Los tipos de archivo válidos son: S, B, T, C, R, N, I, O, M0, M1, F, ST y A Offset receptor Para una lectura o escritura, éste es el valor offset de palabra en el archivo de interface común (offset de byte para dispositivos distintos de SLC).
  • 263.
    Instrucciones de comunicación 8–43 Teclade función Descripción Longitud de mensaje Cuando usa una instrucción de mensaje 485CIF, la longitud de mensaje es el número de palabras de 16 bits. Puede especificar 1 a 103 elementos (palabras de información). Límite de tiempo sobrepasado del mensaje Define la longitud del temporizador de mensaje en segundos. Un límite de tiempo sobrepasado de 0 segundos significa que no hay temporizador y que el mensaje esperará indefinidamente una respuesta. El rango válido es 0Ć255 segundos. Canal Identifica el canal físico usado para la comunicación de mensaje. Canales disponibles: SLC 5/03 - (0, RS-232) o (1, DH-485) SLC 5/04 - (0, RS-232) o (1, DH+) Ejemplo 3 – Lectura local de un PLC-5 Type: Peer–to–Peer Read/Write: READ ignore if timed out: 0 TO Target Device: PLC5 to be retried: 0 NR Local/Remote: Local awaiting execution: 0 EW Control Block: N10:0 continuous run: 0 CO Channel: 1 error: 0 ER Target Node (decimal): 2 message done: 0 DN message transmitting: 0 ST message enabled: 0 EN Destination File Addr: N7:0 waiting for queue space: 0 WQ Target Src/Dst File Address: N7:50 Message Length In Elements: 10 Message Timeout (seconds): 5 ERROR CODE: 0 control bit address: N10:0/8 Error Code Desc: En la ilustración anterior, el procesador SLC 5/03 ó SLC 5/04 lee 10 elementos del archivo N7 del nodo receptor 2 a partir de la palabra N7:50. Las 10 palabras se colocan en su archivo de entero a partir de la palabra N7:0. Si cinco segundos pasan sin respuestas, el bit de error N10:0/12 se establece, lo que indica que la instrucción ha sobrepasado el límite de tiempo. El dispositivo en el nodo 2 entiende el protocolo del procesador PLC-5. Tecla de función Descripción Nodo receptor Especifica el número de nodo del procesador que recibe el mensaje. El rango válildo es 0Ć31. (Especifica la dirección DHĆ485.) Para una lectura (destino), ésta es la dirección en el procesador iniciador que va a recibir los datos. Dirección de archivo Para una escritura (fuente), ésta es la dirección en el procesador iniciador que va a enviar los datos. Los tipos de archivo válidos son: S, B, T, C, R, N, I, O, F, ST y A.
  • 264.
    Preface Manual de referenciadel juego de instrucciones 8–44 Tecla de función Descripción Para una lectura (fuente), ésta es la dirección en el procesador receptor que va a enviar los datos. Dirección receptora Para una escritura (destino), ésta es la dirección en el procesador receptor que va a recibir los datos. Los tipos de archivo válidos son: S, B, T, C, R, N, I, O, F, ST y A. Longitud de mensaje Define la longitud del mensaje en elementos. Los elementos de una palabra se limitan a una longitud máxima de 1-103. Los elementos de tres palabras se limitan a una longitud máxima de 1-37. Límite de tiempo sobrepasado del mensaje Define la longitud del temporizador de mensaje en segundos. Un límite de tiempo sobrepasado de 0 segundos significa que no hay temporizador y que el mensaje esperará indefinidamente una respuesta. El rango válido es 0Ć255 segundos. Canal Identifica el canal físico usado para la comunicación de mensaje. Canales disponibles: SLC 5/03 - (0, RS-232) o (1, DH-485) SLC 5/04 - (0, RS-232) o (1, DH+)
  • 265.
    Instrucciones de comunicación 8–45 Usode mensajes remotos Ejemplo 1 – Comunicación con procesadores A–B usando un 1785-KA5 ' %. ,$' '+)'$ ') %' ,$) ! '+)'$ ') %' ,$) ! !+###. ! )! , #' + !+###. ! )! , #' / ' ' '+ ' ' '+ ' ' '+ ' ' #*('*#+#-' #*('*#+#-' #*('*#+#-' !+###. ! )! , #' + ' ' / Procesador SLC 5/04 (A) a procesador SLC 5/03 (C) vía 1785-KA5 Type: Peer–to–Peer Read/Write: Read Target Device: 500 CPU Local/Remote: Remote Control Block: user specified Channel: 1 Target Node (decimal): 2 Remote Bridge Link Id dec: 1 Remote Bridge Node Address dec: 0 Local Bridge Node Address dec: 6 Destination/Source File Addr: user specified Target Src/Dst File Address: user specified Message Length In Elements: 11 Message Timeout (seconds): 5 Comentarios El canal se establece a 1 ya que el comando original es iniciado por un procesador SLC 5/04 en la red DH+ (identificación de red 2). El nodo receptor es el procesador SLC 5/03 a dirección de nodo 2. La identificación de red del puente remoto es la identificación de red de la red remota DH-485 con el procesador SLC 5/03 (identificación de red 1).
  • 266.
    Manual de referenciadel juego de instrucciones 8–46 La dirección de nodo del puente remoto se establece a 0 (no usado) porque la comunicación es de un dispositivo con capacidades de Internet a otro dispositivo con capacidades de Internet. La dirección de nodo del puente local se establece a 6 porque esta es la dirección de nodo de la red DH+ usada por el módulo de interface de comunicación 1785-KA5. Procesador SLC 5/03 (C) a procesador SLC 5/04 (A) vía 1785-KA5 Type: Peer–to–Peer Read/Write: Read Target Device: 500 CPU Local/Remote: Remote Control Block: user specified Channel: 1 Target Node (decimal): 1 Remote Bridge Link Id dec: 1 Remote Bridge Node Address dec: 0 Local Bridge Node Address dec: 7 Destination/Source File Addr: user specified Target Src/Dst File Address: user specified Message Length In Elements: 11 Message Timeout (seconds): 5 Comentarios El canal se establece a 1 ya que el comando original es iniciado por un procesador SLC 5/03 en la red DH-485 (identificación de red 1). El nodo receptor es el procesador SLC 5/04 en la dirección de nodo 1. La identificación de vínculo del puente remoto es el vínculo con el procesador SLC 5/04 (identificación de red 2). La dirección de nodo del puente remoto se establece a 0 (no usado) porque la comunicación es de un dispositivo con capacidades de Internet a otro dispositivo con capacidades de Internet. La dirección de nodo del puente local se establece a 7 porque ésta es la dirección de nodo de la red DH-485 usada por el módulo de interface de comunicación 1785-KA5.
  • 267.
    Instrucciones de comunicación 8–47 ProcesadorSLC 5/03 (C) a un PLC-5 (B) vía 1785-KA5 Type: Peer–to–Peer Read/Write: Write Target Device: PLC5 Local/Remote: Remote Control Block: user specified Channel: 1 Target Node (decimal): 3 Remote Bridge Link Id dec: 2 Remote Bridge Node Address dec: 0 Local Bridge Node Address dec: 7 Destination/Source File Addr: user specified Target Src/Dst File Address: user specified Message Length In Elements: 11 Message Timeout (seconds): 5 Comentarios El canal se establece a 1 ya que el comando original es iniciado por un procesador SLC 5/03 en la red DH-485 (identificación de red 1). El nodo receptor es el procesador PLC-5 a dirección de nodo 3. La identificación de vínculo del puente remoto es el vínculo con el procesador PLC–5 (identificación de red 2). La dirección de nodo del puente remoto se establece a 0 (no usado) porque la comunicación es de un dispositivo con capacidades de Internet a otro dispositivo con capacidades de Internet. La dirección de nodo del puente local se establece a 7 porque ésta es la dirección de nodo de la red DH-485 usada por el módulo de interface de comunicación 1785-KA5.
  • 268.
    Manual de referenciadel juego de instrucciones 8–48 Ejemplo 2 – Comunicación con procesadores A–B usando dos 1785-KA $# -)!$ $#($!$ $)! ) $ + ) $ $#($!$ $)! + $$ $( $$ $( $$ $( $# -)!$ $$ $$ . ( +, $$ $( '%$' ( *$ '%$' ( *$ '%$' ( *$ Procesador SLC 5/04 (B) a procesador PLC5 (C) vía dos 1785-KA Type: Peer–to–Peer Read/Write: Write Target Device: PLC5 Local/Remote: Remote Control Block: user specified Channel: 1 Target Node (decimal): 0 Remote Bridge Link Id dec: 0 Remote Bridge Node Address dec: 131 Local Bridge Node Address dec: 8 Destination/Source File Addr: user specified Target Src/Dst File Address: user specified Message Length In Elements: 10 Message Timeout (seconds): 0 Comentarios El canal se establece a 1 porque el comando original es iniciado por un procesador SLC 5/04 en la red DH+. El nodo receptor es el procesador PLC-5 a dirección de nodo 0. (En realidad, esta es la dirección de nodo 3, pero la dirección de nodo se establece a 0 porque la dirección de nodo del puente remoto maneja la estructura de direccionamiento.) La identificación de vínculo del puente remoto siempre se establece a 0 cuando se usa esta estructura de direccionamiento.
  • 269.
    Instrucciones de comunicación 8–49 Ladirección de nodo del puente remoto se establece a 131. La dirección de nodo del puente remoto consiste en el dígito más significativo (octal) del 1785-KA (220) remoto más la dirección del nodo receptor. Por ejemplo, 200 + 3 = 203 octales (131 decimal). La dirección de nodo del puente local se establece a 8 porque esta es la equivalente decimal del segundo dígito menos significante de la dirección 1785-KA (10 octal). Procesador SLC 5/04 (B) a procesador SLC 5/04 (A) vía dos 1785-KA Type: Peer–to–Peer Read/Write: Write Target Device: 500 CPU Local/Remote: Remote Control Block: user specified Channel: 1 Target Node (decimal): 0 Remote Bridge Link Id dec: 0 Remote Bridge Node Address dec: 146 Local Bridge Node Address dec: 8 Destination/Source File Addr: user specified Target Src/Dst File Address: user specified Message Length In Elements: 10 Message Timeout (seconds): 0 Comentarios El canal se establece a 1 porque el comando original es iniciado por un procesador SLC 5/04 en la red DH+. El nodo receptor es el procesador SLC 5/04 en la dirección de nodo 0. (En realidad, esta es dirección de nodo 22, pero la dirección de nodo se establece a 0 porque la dirección de nodo del puente remoto maneja la estructura de direccionamiento.) La identificación de vínculo del puente remoto siempre se establece a 0 cuando se usa esta estructura de direccionamiento. La dirección de nodo del puente remoto se establece a 146. La dirección de nodo del puente remoto consiste en el dígito más significante (octal) del 1785-KA remoto más la dirección del nodo receptor. Por ejemplo, 200 + 22 = 222 octal (146 decimal). La dirección de nodo del puente local se establece a 8 porque esta es la equivalente decimal del segundo dígito menos significativo de la dirección 1785-KA (10 octal).
  • 270.
    Manual de referenciadel juego de instrucciones 8–50 Ejemplo 3 – Transferencia vía canal 0 DH-485 del procesador SLC 5/04 (',*(%!(* (!-%* ! (',*(%!(* (!-%* ! !',$#$ $/' ! *! -!$( + !',$#$ $/' ! *! -!$( 0 (',*(%!(* (!-%* ! (!( ( , (!( ( , ('.*,$!(* ! $','*# 0 (!( ( , (!( ( , 0 (!( 0 $+)(+$,$.( $+)(+$,$.( $+)(+$,$.( $+)(+$,$.( Procesador SLC 5/04 (A) a procesador SLC 5/03 (D) vía un procesador SLC 5/04 (C) (transferencia usando canal 0 DH-485) Type: Peer–to–Peer Read/Write: Read Target Device: 500 CPU Local/Remote: Remote Control Block: user specified Channel: 1 Target Node (decimal): 2 Remote Bridge Link Id dec: 1 Remote Bridge Node Address dec: 0 Local Bridge Node Address dec: 2 Destination/Source File Addr: user specified Target Src/Dst File Address: user specified Message Length In Elements: 10 Message Timeout (seconds): 5 Comentarios El canal se establece a 1 porque el comando original es iniciado por un procesador SLC 5/04 en la red DH+. El nodo receptor es el procesador SLC 5/03 en la dirección de nodo 2. La identificación de vínculo del puente remoto es el vínculo con el procesador SLC 5/04 (canal 0, identificación de red 1). La dirección de nodo del puente remoto se establece a 0 (no usado) porque la comunicación es de un dispositivo con capacidades de Internet a otro dispositivo con capacidades de Internet. La dirección de nodo del puente local se establece a 2 porque esta es la dirección de nodo DH+.
  • 271.
    Instrucciones de comunicación 8–51 ProcesadorSLC 5/03 (D) a procesador SLC 5/04 (A) vía un procesador SLC 5/04 (C) (transferencia usando canal 0 DH-485) Type: Peer–to–Peer Read/Write: Read Target Device: 500 CPU Local/Remote: Remote Control Block: user specified Channel: 1 Target Node (decimal): 3 Remote Bridge Link Id dec: 2 Remote Bridge Node Address dec: 0 Local Bridge Node Address dec: 1 Destination/Source File Addr: user specified Target Src/Dst File Address: user specified Message Length In Elements: 10 Message Timeout (seconds): 5 Comentarios El canal se establece a 1 porque el comando original es iniciado por un procesador SLC 5/03 en la red DH-485. El nodo receptor es el procesador SLC 5/04 en la dirección de nodo 1. La identificación de vínculo del puente remoto es el vínculo con el procesador SLC 5/04 (canal 1, identificación de red 2). La dirección de nodo del puente remoto se establece a 0 (no usado) porque la comunicación es de un dispositivo con capacidades de Internet a otro dispositivo con capacidades de Internet. La dirección de nodo del puente local se establece a 1 porque ésta es la dirección de nodo DH-485.
  • 272.
    Manual de referenciadel juego de instrucciones 8–52 Procesador SLC 5/03 (D) a PLC-5 (B) vía un procesador SLC 5/04 (transferencia usando canal 0 DH-485) Type: Peer–to–Peer Read/Write: Write Target Device: PLC5 Local/Remote: Remote Control Block: user specified Channel: 1 Target Node (decimal): 3 Remote Bridge Link Id dec: 2 Remote Bridge Node Address dec: 0 Local Bridge Node Address dec: 1 Destination/Source File Addr: user specified Target Src/Dst File Address: user specified Message Length In Elements: 10 Message Timeout (seconds): 5 Comentarios El canal se establece a 1 porque el comando original es iniciado por un procesador SLC 5/03 en la red DH-485. El nodo receptor es el procesador PLC-5 en la dirección de nodo 3. La identificación de vínculo del puente remoto es el vínculo con el procesador SLC 5/04 (canal 1, identificación de red 2). La dirección de nodo del puente remoto se establece a 0 (no usado) porque la comunicación es de un dispositivo con capacidades de Internet a otro dispositivo con capacidades de Internet. La dirección de nodo del puente local se establece a 1 porque ésta es la dirección de nodo DH-485.
  • 273.
    Instrucciones de comunicación 8–53 Mensajesremotos (SLC 5/03 a un SLC 500, SLC 5/01 ó SLC 5/02) La ilustración siguiente muestra la conectividad para un mensaje remoto. )(-+)!)+ ')!.+ ! )(-+)!)+ ')!.+ ! )(-+)!)+ ')!.+ ! )'*.-!)+ %(!.,-+% )(-+)!)+ ')!.+ ! !(-%# ! +! !(-%#% %1( ! +! !(-%#% %1( ! +! )!) )!) )!) )!) 2 )( '1!.) 2 )!) )!) !(-%# ! +! )( '1!.) 2 )!) ) - )!) )!) )!) )($%-.! '0/%' ! +! 2 ' *%, ! + )!) )!) ) - Los siguientes pies de gráfico representan los parámetros de direccionameinto de un SLC 5/03 a un procesador SLC 5/02 remoto. Estes es el nodo original de la instrucción MSG. No tiene que especificar esta dirección. Esta es la dirección de nodo del puente local. Esta es la dirección de nodo remoto del puente local. No tiene que especificar esta dirección. Esta es la dirección de nodo del puente remoto. Esta es la dirección de nodo del puente remoto. No tiene que especificar esta dirección. Esta es la identificación de red remota. Esta es la dirección de nodo receptor.
  • 274.
    Manual de referenciadel juego de instrucciones 8–54 Ejemplo 4 – Transferencia vía canal 0 DF1 del procesador SLC 5/04 '+)'$ ') %' ,$) ! '+)'$ ') %' ,$) ! '+)'$ ') %' ,$) ! '+)'$ ') %' ,$) ! !+###. ! )! , #' + !+###. ! )! , #' + ' ' '+ ' ' '+ ' ' '+ ' ' '+ !+###. ! )! , #' / #*('*#+#-' #*('*#+#-' #*('*#+#-' #*('*#+#-' Procesador SLC 5/04 (A) a procesador SLC 5/04 (D) vía dos procesadores SLC 5/04 (transferencia usando canal 0 DF1) Type: Peer–to–Peer Read/Write: Read Target Device: 500 CPU Local/Remote: Remote Control Block: user specified Channel: 1 Target Node (decimal): 63 Remote Bridge Link Id: 1 Remote Bridge Node Address dec: 0 Local Bridge Node Address dec: 2 Destination/Source File Addr: user specified Target Src/Dst File Address: user specified Message Length In Elements: 10 Message Timeout (seconds): 5 Nota La configuración incorrecta puede causar que los datos sean escritos o leídos de un procesador no seleccionado. Asegúrese que todos parámetros e identificaciones de vínculo de canal se establezcan correctamente. Comentarios El canal se establece a 1 porque el comando original es iniciado por un procesador SLC 5/04 en la red DH+. El nodo receptor es el procesador SLC 5/04 a dirección de nodo 77 (63 decimales). La identificación de vínculo del puente remoto es el vínculo con el procesador SLC 5/04 (identificación de vínculo 1). La dirección de nodo del puente remoto se establece a 0 (no usado) porque canal 0 es dúplex total DF1. La dirección de nodo del puente local se establece a 2 porque ésta es la dirección de nodo DH+.
  • 275.
    Instrucciones de comunicación 8–55 Ejemplo5 – Transferencia vía canal 0 DH+ del procesador SLC 5/04 %*(#( $+#( %*(#( $+#( %*(#( $+#( %*!-% ( + + %*!-% ( + . * * * )')*, )')*, )')*, Nota El dispositivo B tiene S:34/5 establecido a 1. Procesador SLC 5/04 (A) a procesador SLC 5/04 (C) vía un solo procesador SLC 5/04 (transferencia usando canal 0 DF1) Type: Peer–to–Peer Read/Write: Read Target Device: 500 CPU Local/Remote: Remote Control Block: user specified Channel: 1 Target Node: 0 Remote Bridge Link Id dec: 1 Remote Bridge Node Address: 0 Local Bridge Node Address: 2 Destination/Source File Addr: user specified Target Src/Dst File Address: user specified Message Length In Elements: 10 Message Timeout (seconds): 5 Comentarios El canal se establece a 1 porque el comando original es iniciado por un procesador SLC 5/04 en la red DH+. El nodo receptor es el procesador SLC 5/04 en la dirección de nodo 0 (dúplex total DF1). La identificación de vínculo del puente remoto es el vínculo con el procesador SLC 5/04 (identificación de vínculo 1). La dirección de nodo del puente remoto se establece a 0 (no usado) porque canal 0 es dúplex total DF1. La dirección de nodo del puente local se establece a 2 porque ésta es la dirección de nodo DH+.
  • 276.
    Manual de referenciadel juego de instrucciones 8–56 Procesador SLC 5/04 (C) a procesador SLC 5/04 (A) vía un solo procesador SLC 5/04 (transferencia usando canal 0 DF1) Type: Peer–to–Peer Read/Write: Read Target Device: 500 CPU Local/Remote: Local Control Block: user specified Channel: 0 Target Node (decimal): 63 Destination/Source File Addr: user specified Target Src/Dst File Address: user specified Message Length In Elements: 10 Message Timeout (seconds): 5 Comentarios El canal se establece a 0 porque el comando original es iniciado por un procesador SLC 5/04 conectado vía dúplex total DF1. El nodo receptor es el procesador SLC 5/04 en la dirección nodo 63 decimales (77 octal). Procesador SLC 5/04 (C) a procesador SLC 5/04 (B) cuando la transferencia está habilitada Type: Peer–to–Peer Read/Write: Read Target Device: 500 CPU Local/Remote: Local Control Block: user specified Channel: 0 Target Node (decimal): 2 Destination/Source File Addr: user specified Target Src/Dst File Address: user specified Message Length In Elements: 10 Message Timeout (seconds): 5 Comentarios El canal se establece a 1 porque el comando original es iniciado por un procesador SLC 5/04 en la red DH+. El nodo receptor es el procesador SLC 5/04 en la dirección de nodo DH+ 29 decimal (34 octal).
  • 277.
    Instrucciones de comunicación 8–57 Ejemplo6 – Transferencia usando un integrado pirámide para encaminar una instrucción de mensaje !$$ '$ !$$ '$ !)! $ ' + %)! %)! !)! $ ' + %#%( %#%( Procesador SLC 5/04 (B) a procesador SLC 5/04 (A) via un integrador de pirámide usando el encaminamiento PI Type: Peer–to–Peer Read/Write: Read Target Device: 500 CPU Local/Remote: Remote Control Block: user specified Channel: 1 Target Node: 7 Remote Bridge Link Id dec: 1 Remote Bridge Node Address: 0 Local Bridge Node Address: 13 Destination/Source File Addr: user specified Target Src/Dst File Address: user specified Message Length In Elements: 15 Message Timeout (seconds): 5 Comentarios El canal se establece a 1 porque el comando original es iniciado por un procesador SLC 5/04 en la red DH+. El nodo receptor es el procesador SLC 5/04 en la dirección de nodo 7. La identificación de vínculo del puente remoto es el vínculo con el procesador SLC 5/04 (identificación de vínculo 1). La dirección de nodo del puente remoto se establece a 0 (no usado) porque la comunicación es de un dispositivo con capacidades de Internet a otro dispositivo con capacidades de Internet. La dirección de nodo del puente local se establece a 13 decimal (15 octal) porque ésta es la dirección de nodo DH+.
  • 278.
    Manual de referenciadel juego de instrucciones 8–58 Ejemplo 7 – / %$ #.*% / %$)'%%' #%*' *!% / *!% %$)'%%' #%*' + %% %) %% %) %% %) / %$ #.*% / %% %% / ) ! ,- %% %) !(%(!)!+% !(%(!)!+% Procesador SLC 5/03 a un procesador SLC 5/03 (transferencia usando dos 1785-KA5) Type: Peer–to–Peer Read/Write: Read or Write Target Device: 485CIF or 500 CPU Local/Remote: Remote Control Block: user specified Channel: 1 Target Node: 2 Remote Bridge Link Id: 8 Remote Bridge Node Address: 0 Local Bridge Node Address: 20 Destination/Source File Addr: user specified Target Src/Dst File Address: user specified Message Length In Elements: user specified Message Timeout (seconds): 10 Comentarios El canal se establece a 1 porque el comando es enviado en el canal RS485 del 5/03 en la identificación de vínculo 4. El nodo receptor se establece a 2 porque esta es la dirección DH-485 en la que el dispositivo de destino reside en el vínculo de destino (identificación de vínculo 8).
  • 279.
    Instrucciones de comunicación 8–59 Laidentificación de red del puende remoto se establece a 8 porque la red de destino es DH-485. La dirección de nodo del puente remoto se establece a 0 (no usado) porque la comunicación es de un dispositivo con capacidades de Internet a otro dispositivo con capacidades de Internet. La dirección de nodo del puente local se establece a 20 porque es el dispositivo de puente (identificación de vínculo 4) por el cual el comando debe ser enviado (dispositivo D).
  • 280.
    Preface Manual de referenciadel juego de instrucciones 8–60 Comunicaciones de servicio (SVC) Uso de un procesador SLC 5/02 La instrucción SVC es una instrucción de salida que no tiene parámetros de programación. Cuando se evalúa como verdadera, el escán de programa se interrumpe para ejecutar la porción de comunicaciones de servicio del ciclo de operación. Luego el escán se reanuda en la instrucción siguiente a la instrucción SVC. Use esta instrucción para mejorar el rendimiento de comunicación de su procesador SLC 5/02. No se le permite colocar una instrucción SVC en una subrutina de interrupción STI, interrupción de E/S ni fallo del usuario. Los bits siguientes le permiten personalizar o monitorizar el servicio de comunicaciones. Refiérase al capítulo 1 de este manual para obtener información adicional acerca del archivo de estado. • S:2/5 DH-485 Comando entrante pendiente • S:2/6 DH-485 Respuesta de mensaje pendiente • S:2/7 DH-485 Comando de mensaje saliente pendiente • S:2/15 DH-485 Selección de servicio de comunicaciones Uso de un procesador SLC 5/03 ó SLC 5/04 Cuando usa un procesador SLC 5/03 ó SLc 5/04, la instrucción SVC opera según lo expuesto anteriormente. Estos procesadores le permiten seleccionar un canal de comunicación específico (0, 1 ó ambos) al que se debe dar servicio. No se le permite colocar una instrucción SVC en una subrutina de fallo, DII, STI ni evento de E/S. Los bits de estado siguientes le permiten personalizar o monitorizar el servicio de comunicaciones. Refiérase al apéndice B de este manual para obtener información adicional acerca del archivo de estado. Canal 1 Canal 0 ! ! 3 3 3 (SVC) ! ! SVC SERVICE COMMUNICATIONS Channel 0 Channel 1
  • 281.
    Instrucciones de comunicación 8–61 Servicio de canal Cuando un canal no ha sido seleccionado para recibir servicio por parte de la instrucción SVC, dicho canal recibe servicio normalmente al final del escán. Ejemplo de aplicación La instrucción SVC se usa cuando desea ejecutar una función de comunicación, tal como la transmisión de un mensaje, antes de la porción de comunicación de servicio normal del escán de operación. El ejemplo siguiente muestra cómo usar selectivamente la instrucción SVC. ] [ S:2 7 (SVC) Puede colocar este renglón después de una instrucción de escritura de mensaje. S:2/7 se establece cuando la instrucción de mensaje se habilita y está esperando (siempre que no se transmita un mensaje). Cuando S:2/7 se establece, la instrucción SVC se evalúa como verdadera y el escán de programa se interrumpe para ejecutar la porción de comunicaciones de servicio del escán de operación. Luego el escán se reanuda en la instrucción siguiente a la instrucción SVC. Este ejemplo sencillo asume que el bit de selección de servicio de comunicaciones S:2/15 se ha puesto a cero y que ésta es la única instrucción MSG activa. Nota Puede programar la instrucción SVC sin condiciones a través de los renglones. Esta es la técnica normal de programación para la instrucción SVC. El procesador SLC 5/03 ó SLC 5/04 puede pasar una instrucción MSG a través de una red remota a su destino receptor. (Puede hacer un salto por una red.) El procesador SLC 5/03 ó SLC 5/04 también puede pasar una instrucción MSG a la red que existe en el otro lado del puente local.
  • 282.
    Manual de referenciadel juego de instrucciones 8–62
  • 283.
    Instrucción proporcional integralderivativa 9–1 9 Instrucción proporcional integral derivativa Este capítulo describe la instrucción proporcional integral derivativa (PID). Descripción general Esta es una instrucción de salida que controla las características físicas tales como la temperatura, presión, nivel líquido o régimen de caudal usando lazos de proceso. La instrucción PDI normalmente controla un lazo cerrado usando entradas de un módulo de entrada análogico y proporcionando una salida a un módulo de salida analógico. Para el control de temperatura, usted puede convertir la salida analógica a una salida activada/desactivada de tiempo proporcional para impulsar una unidad de calefacción o enfriamiento. Un ejemplo aparecen en las páginas 9–15 a 9–17. La instrucción PID se puede operar en el modo temporizado o el modo STI. En el modo temporizado, la instrucción actualiza su salida periódicamente a un régimen seleccionado por el usuario. En el modo STI, la instrucción se debe colocar en una subrutina de interrupción STI. Entonces actualiza su salida cada vez que se realiza un escán de la subrutina STI. El intervalo de tiempo STI y el régimen de actualización de lazo deben ser idénticos para que la ecuación se ejecute correctamente. 3 3 3 PID PID Control Block Process Variable Control Variable Control Block Length 23
  • 284.
    Preface Manual de referenciadel juego de instrucciones 9–2 El concepto PID El control en lazo cerrado PID retiene una variable de proceso a un punto de ajuste deseado. Un ejemplo del régimen de caudal/nivel de fluido se muestra abajo. ∑ ∑ Ecuación PID Alimentación hacia adelante o bias Salida de Detector de nivel Variable de proceso Error Punto de ajuste Régimen de caudal Válvula de control control La ecuación PID controla el proceso enviando una señal de salida a la válvula de control. Cuanto más grande sea el error entre el punto de ajuste y la entrada de variable de proceso, tanto más grande es la señal de salida y vice versa. Un valor adicional (alimentación hacia adelante o bias) se puede añadir a la salida de control como offset. El resultado del cálculo PID (variable de control) impulsará la variable de proceso que controla hacia el punto de ajuste.
  • 285.
    Instrucción proporcional integralderivativa 9–3 La ecuación PID La instrucción PID usa el algoritmo siguiente: Ecuación estándar con ganancias dependientes: Salida + KC [(E) ) 1ńTI ŕ(E)dt ) TD · D(PV)ńdt] ) bias Las constantes de ganancia estándar son: Término Rango (bajo a alto) Referencia !! !$$ !%! !%! À $#$! +$ ! $% ! !'% #$ $#,! !'% #$ $#,! À !$ +$ ! $+ ! !'% !'% À $(( À # % $!% ) '! $% ! ) $! $'$* % %! El término (régimen) derivativo proporciona la uniformización por medio de un filtro de paso bajo. La frecuencia de corte del filtro es 16 veces mayor que la frecuencia de ángulo del término derivativo. Cómo introducir parámetros Normalmente, la instrucción PID se coloca en un renglón sin lógica condicional. La salida permanece a su último valor cuando el renglón es falso. El término integral también se borra cuando el renglón es falso. Nota La instrucción PID es un tipo de algortimo PID de sólo entero y no le permite introducir valores de punto (coma) flotante para sus parámetros. Por lo tanto, si intenta mover un valor de punto (coma) flotante a uno de los parámetros PID usando la lógica de escalera, ocurrirá una conversión de punto (coma) flotante a entero.
  • 286.
    Manual de referenciadel juego de instrucciones 9–4 Durante la programación, usted introduce las direcciones del bloque de control, variable de proceso y variable de control después de colocar la instrucción PID en un renglón: • El bloque de control es un archivo que almacena los datos requeridos para operar la instrucción. La longitud de archivo se fija a 23 palabras y se debe introducir como dirección de archivo de entero. Por ejemplo, la introducción de N10:0 asignará los elementos N10:0 a N10:22. La configuración del bloque de control se ilustra en la página 9–11. No escriba a las direcciones de bloque de control con otras instrucciones en su programa excepto según lo descrito más adelante en este capítulo. Si vuelve a usar un bloque de datos que fue asignado anteriormente para otro uso, es buena práctica poner primero a cero los datos. Recomendamos que use un archivo de datos único para contener sus bloques de control PID. Por ejemplo N10:0. Esto evita el reuso imprevisto de las direcciones de bloque de control PID por otras instrucciones en su programa. • La variable de proceso PV es una dirección de elemento que almacena el valor de entrada de proceso. Esta dirección puede ser la ubicación de la palabra de entrada analógica donde el valor de la entrada A/D se almacena. Este valor también podría ser un valor de entero si decide escanear su valor de entrada de antemano al rango 0–16383. • La variable de control CV es una dirección de elemento que almacena la salida de la instrucción PID. El valor de salida tiene un rango de 0 a 16383; 16383 es el 100%. Esto es normalmente un valor de entero para que usted pueda escalar el rango de entrada PID según el rango analógico específico que su aplicación requiere. La ilustración a continuación muestra una instrucción PID con direcciones típicas para estos parámetros introducidos: PID PID Control Block N10:0 Process Variable N10:28 Control Variable N10:29 Control Block Length 23
  • 287.
    Instrucción proporcional integralderivativa 9–5 auto/manual: MANUAL∗ time mode Bit: 1 TM mode: TIMED ∗ auto/manual bit: 1 AM control: E=SP–PV ∗ control mode bit: 0 CM setpoint (SP): 0 0output limiting enabled bit: 0 OL process (PV): 0 ∗ reset and gain range: 0 RG scaled error: 0 ∗ scale setpoint flag: 0 SC deadband: 0 loop update time too fast: 0 TF output (CV): 0 %∗ derivitive (rate) action: 0 DA DB, set when error is in DB: 0 DB loop update: 0 [.01 secs] output alarm, upper limit: 0 UL gain: 0 [/10] output alarm, lower limit: 0 LL reset: 0 [/10 m/r] setpoint out of range: 0 SP rate: 0 [/100 min] process var out of range: 0 PV min scaled: 0 PID done: 0 DN max scaled: 0 output (CV) limit: NO ∗ PID enabled: 0 EN output (CV) min: 0 % output (CV) max: 0 % La columna izquierda en la ilustración anterior enumera otros parámetros de instrucción PID que debe introducir. • Automático/manual AM (palabra 0, bit 1) alterna entre automático y manual. Automático indica que el PID controla la salida. (El bit se ha puesto a cero.) Manual indica que el usuario establece el valor de salida. (El bit está establecido.) Cuando haga ajustes, le recomendamos que efectúe los cambios en el modo manual, seguido por un retorno al modo automático. El límite de salida también se aplica en el modo manual. • El modo TM (word 0, bit 0) alterna los valores temporizados y STI. Temporizado indica que el PID actualiza su salida al régimen especificado en el párametro de actualización del lazo. Nota Cuando usa el modo temporizado, el tiempo de escán de su procesador debe ser un mínimo de diez veces más rápido que el tiempo de actualización del lazo para evitar inexactitudes o perturbaciones. STI indica que el PID actualiza su salida cada vez que se escanea. Cuando selecciona STI, la instrucción PID debe ser programada en una subrutina de interrupción STI, y la rutina STI debe tener un intervalo de tiempo igual al ajuste del parámetro de “actualización del lazo” PID. Establezca el período STI en la palabra S:30. Por ejemplo, si el tiempo de actualización del lazo contiene el valor 10 (para 100 ms), entonces el intervalo de tiempo STI también debe ser igual a 10 (para 10 ms). • El control CM (palabra 0, bit 2) alterna los valores E=SP–PV y E=PV–SP. La acción directa (E=PV–SP) causa que la salida CV incremente cuando la salida PV es mayor que el punto de ajuste SP (por ejemplo, una aplicación de enfriamiento). La acción inversa (E=SP–PV) causa que la salida CV incremente cuando la salida PV sea menor que el punto de ajuste SP (por ejemplo, una aplicación de calefacción).
  • 288.
    Manual de referenciadel juego de instrucciones 9–6 – El punto de ajuste SP (palabra 2) es el punto de control deseado de la variable del proceso. Puede cambiar este valor con las instrucciones en su programa de escalera. Escriba el valor en la tercera palabra en el bloque de control (por ejemplo, escriba el valor en N10:2 si su bloque de control es N10:0). Sin escala, el rango de este valor es 0–16383. En caso contrario, el rango es de escala mínima (palabra 8) a escala máxima (palabra 7), – La ganancia Kc (palabra 3) es la ganancia proporcional, con un rango de 0.1 a 25.5 La regla general es establecer esta ganancia a la mitad del valor necesario para causar que la salida oscile cuando los términos de restablecimiento y régimen (abajo) se ponen a cero. Específico para SLC 5/03 y SLC 5/04 – El rango válido es 0 a 32767. Esta palabra no es afectada por el bit RG. – El restablecimiento Ti (palabra 4) es la ganancia integral, con un rango de 0.1 a 25.5 minutos por repetición. La regla general es establecer el tiempo de restablecimiento para que sea igual al período natural medido en la calibración de ganancia de arriba. Específico para SLC 5/03 y SLC 5/04 – El rango válido es 0 a 32767 minutos/repetición. Anote que el valor 1 añadirá el término integral mínimo posible en la ecuación PID. – Régimen Td (palabra 5) es el término derivativo. El rango de ajuste es 0.01 a 2.55 minutos. La regla general es establecer este valor a 1/8 del tiempo integral de arriba. Específico para SLC 5/03 and SLC 5/04 – El rango válido es 0 a 32767 minutos. – Escala máxima Smax (palabra 7) – Si el punto de ajuste debe ser leído en unidades de ingeniería, entonces este parámetro corresponde al valor del punto de ajuste en unidades de ingeniería cuando la entrada de control es 16383. El rango válido es ±16383 a +16383. Específico para SLC 5/03 y SLC 5/04 – El rango válido es ±32768 a +32767. – Escala mínima Smin (palabra 8) – Si el punto de ajuste debe ser leído en unidades de ingeniería, este parámetro corresponde al valor del punto de ajuste en unidades de ingeniería cuando la entrada de control es cero. El rango válido es ±16383 a +16383. Específico SLC 5/03 y SLC 5/04 – El rango válido ±32768 a 32767. Nota La escala Smin – Smax le permite introducir el punto de ajuste en unidades de ingeniería. La banda muerta, error y PV se mostrarán en unidades de ingeniería. Todavía se espera que el PV de la variable de proceso se encuentre dentro del rango de 0 a 16383. El uso de Smin – Smax no minimiza la resolución PV PID.
  • 289.
    Instrucción proporcional integralderivativa 9–7 Específico para SLC 5/03 y SLC 5/04: Los errores con escala mayores que +32767 ó menores que ±32768 no se pueden representar. Si el error con escala es mayor que +32767, se representa como +32767. Si el error con escala es menor que ±32768, se representa como ±32768. – La banda muerta DB (palabra 9) es un valor no negativo. La banda muerta se extiende sobre y debajo el punto de ajuste según el valor que usted introduce. La banda muerta se introduce en la intersección con cero de la variable de proceso PV y el punto de ajuste SP. Esto significa que la banda muerta estará en efecto sólo después que la variable de proceso PV entre en la banda muerta y pase a través del punto de ajuste SP. El rango válido es 0 a la escala máxima ó 0 a 16383 cuando no hay escala. – Actualización del lazo (palabra 13) es el intervalo de tiempo entre los cálculos PID. La entrada es en intervalos de 0.01 segundo. La regla general es introducir un tiempo de actualización del lazo cinco a diez veces más rápido que el período natural de la carga (determinado poniendo los parámetros de restablecimiento y régimen a cero y luego incrementando la ganancia hasta que la salida comience a oscilar). En el modo STI, este valor debe ser igual al valor de intervalo de tiempo STI de S:30. El rango válido es 1 a 2.55 segundos. Específico para SLC 5/03 y SLC 5/04 – El rango válido es 0.01 a 10.24 segundos. – El proceso con escala PV (palabra 14) se usa para la muestra en pantalla únicamente. Este es el valor con escala de la variable de proceso (la entrada analógica). Sin escala, el rango de este valor es 0–16383. Si no, el rango es de escala mínimia (palabra 8) a escala máxima (palabra 7). – Error con escala (palabra 15) se usa para visualización solamente. Este es el error de escala según es seleccionado por el parámetro de modo de control. Rango: escala máxima a –escala mínima, ó 16383 a –16383 cuando no hay escala. Nota Específico para SLC 5/03 y SLC 5/04: Los errores con escala mayores que +32767 ó menores que ±32768 no se pueden representar. Si el error con escala es mayor que +32767, se representa como +32767. Si el error con escala es menor que ±32768, se representa como ±32768.
  • 290.
    Preface Manual de referenciadel juego de instrucciones 9–8 – La salida CV% (palabra 16) muestra la salida CV real de 0 a 16383 en términos de porcentaje. (El rango es 0 a 100%.) Si usted seleccionó el modo AUTO con la tecla de llave F1, es para la visualización únicamente. Si seleccionó el modo manual y usa un monitor de datos APS, puede cambiar la salida CV% y el cambio se aplicará a CV. El escribir a la salida CV% con su programa de usuario o un dispositivo de programación no inteligente no afectará el CV. Cuando usa un dispositivo que no sea APS, debe escribir directamente a CV que tiene un rango de 0 a 16383. • El límite de salida (CV) OL (palabra 0, bit 3) alterna entre Sí y No. Seleccione Sí, si desea limitar la salida a los valores mínimos y máximos. salida CV% SI (1) límite de salida CV% seleccionado NO (0) límite de salida CV% cancelado # # #$ • ! • # # #$ # • ! • # # #
  • 291.
    Instrucción proporcional integralderivativa 9–9 Indicadores de instrucción PID auto/manual: AUTO ∗ time mode Bit: 1 TM mode: STI ∗ auto/manual bit: 0 AM control: E=SP–PV ∗ control mode bit: 0 CM setpoint (SP): 500 0output limiting enabled bit: 1 OL process (PV): 0 ∗ reset and gain range: 0 RG scaled error: 0 scale setpoint flag: 0 SC deadband: 5 loop update time too fast: 0 TF output (CV): 0 %∗ derivitive (rate) action: 0 DA DB, set when error is in DB: 0 DB loop update: 50 [.01 secs] output alarm, upper limit: 0 UL gain: 25 [/10] output alarm, lower limit: 0 LL reset: 10 [/10 m/r] setpoint out of range: 0 SP rate: 1 [/100 min] process var out of range: 0 PV min scaled: 0 PID done: 0 DN max scaled: 1000 output (CV) limit: NO ∗ PID enabled: 0 EN output (CV) min: 0 % output (CV) max: 0 % La columna derecha de la pantalla anterior muestra varios indicadores asociados con la instrucción PID. La sección siguiente describe estos indicadores: • El bit de modo de tiempo TM (palabra 0, bit 0) especifica el modo PID. Se establece cuando el modo TEMPORIZADO está en efecto. Se pone a cero cuando el modo STI está en efecto. Este bit se puede establecer o poner a cero por medio de instrucciones en su programa de escalera. • El bit manual/automático AM (palabra 0, bit 01) especifica la operación automática cuando se pone a cero y la operación manual cuando se establece. Este bit puede ser establecido o poner a cero por medio de instrucciones en su programa de escalera. • El bit de modo de control CM (palabra 0, bit 02) se pone a cero si el control es E=SP–PV. Se establece si el control es E=PV–SP. Este bit se puede establecer o poner a cero por medio de instrucciones en su programa de escalera. • El bit de límite de salida habilitado OL (palabra 0, bit 03) se establece cuando ha seleccionado limitar la variable de control usando la tecla de función [F4]. Este bit se puede establecer o poner a cero por medio de instrucciones en su programa de escalera. • Específico para SLC 5/03 y SLC 5/04 – Bit de mejoramiento de restablecimiento y rango de ganancia RG (palabra 0, bit 4) Cuando se establece, este bit causa que el valor de restablecimiento de minuto/repetición y el multiplicador de ganancia sean mejorados por un factor de 10 (multiplicador de restablecimiento de .01 y multiplicador de ganancia de .01). Ejemplo con el juego de bit 4 El valor de restablecimiento de 1 indica que el valor integral de 0.01 minutos/repetición (0.6 segundos/repetición) se aplicará al algoritmo integral PID. El valor de ganancia de 1 indica que el error será multiplicado en 0.01 y aplicado al algoritmo PID.
  • 292.
    Manual de referenciadel juego de instrucciones 9–10 Cuando se pone a cero, este bit permite que el valor de restablecimiento de minutos/repetición y el valor del multiplicador de ganancia sean evaluados en las mismas unidades que la instrucción 5/02 PID (multiplicador de restablecimiento de 0.1 y multiplicador de ganancia de 0.1). Ejemplo con el juego de bit 4 El valor de restablecimiento de 1 indica que el valor integral de 0.01 minutos/repetición (0.6 segundos/repetición) se aplicará al algoritmo integral PID. El valor de ganancia de 1 indica que el error será multiplicado en 0.01 y aplicado al algoritmo PID. Observe que el multiplicador de régimen no es afectado por esta selección. (La edición inicial del software, versión 4.0, puede no permitirle introducir este bit. Sin embargo, puede alterar el estado de este bit directamente en el bloque de control.) • El indicador de punto de ajuste de escala SC (palabra 0, bit 05) se pone a cero cuando se especifican los valores de escala del punto de ajuste. • El tiempo de actualización del lazo demasiado rápido TF (palabra 0, bit 06) está establecido por el algoritmo PID si el tiempo de actualización del lazo que ha especificado no puede ser realizado por el programa en cuestión (debido a límites de tiempo de escán). Si este bit está establecido, trate de corregir el problema actualizando su lazo PID a un régimen más lento o moviendo la instrucción PID a una rutina de interrupción STI. Las ganancias de restablecimiento y régimen aparecerán con error si la instrucción funciona con este bit establecido. • Bit de acción de derivativa (régimen) DA (palabra 0, bit 07) Cuando está establecido, este bit causa que el cálculo de derivativa (régimen) sea evaluado en el error en vez del PIV. Cuando se pone a cero, este bit permite que el cálculo de derivativa (régimen) sea evaluado de la misma manera que la instrucción 5/02 PID (donde la derivativa se realiza en el PIV). Este bit es usado únicamente por los procesadores SLC 5/03 y SLC 5/04. • DB, establecido cuando el error está en DB (palabra 0, bit 08) se establece cuando la variable de proceso se encuentra dentro del rango de banda muerta de intersección con 0. • La alarma de salida, límite superior UL (palabra 0, bit 09) se establece cuando el CV de de salida de control calculado excede el límite CV superior. • La alarma de salida, límite inferior LL (palabra 0, bit 10) se establece cuando el CV de salida de control calculado es menor que el límite CV inferior. • El punto de ajuste fuera de rango SP (palabra 0, bit 11) se establece cuando el punto de ajuste excede el valor con escala máximo o es menor que el valor con escala mínimo. • La variable de proceso fuera de rango PV (palabra 0, bit 12) se establece cuando la variable de proceso sin escala (o sin procesar) excede 16838 ó es menor que cero. • El PID efectuado DN (palabra 0, bit 13) se establece en escanes donde el algoritmo PID se calcula. Se calcula al régimen de actualización del lazo. • El PID habilitado EN (palabra 0, bit 15) se establece mientras que el renglón de la instrucción PID se habilita.
  • 293.
    Instrucción proporcional integralderivativa 9–11 Configuración del bloque de control La longitud del bloque de control se fija a 23 palabras y se debe programar como archivo de entero. Los indicadores de instrucción PID (palabra 0) y otros parámetros se ubican de la manera siguiente: EN DN PV SP LL UL DB DA TF SC RG OL CM AM TM 15 14 13 12 11 10 09 08 07 06 05 04 03 02 01 00 PID Sub Error Code (MSbyte) Setpoint SP Configuración del bloque de control Palabra 0 1 2 Gain KC Reset Ti Rate Td 3 4 5 6 * * * * * 7 8 9 10 11 12 Setpoint Max (Smax) Setpoint Min (Smin) Deadband INTERNAL USE DO NOT CHANGE Output Max Output Min * * * * * 13 14 15 16 Loop Update Scaled Process Variable Scaled Error SE Output CV% (0–100%) * 17 18 19 20 21 22 INTERNAL USE DO NOT CHANGE À OL, CM, AM, TM À Feed Forward Bias * MSW Integral Sum 5/03 MSW Integral Sum LSW Integral Sum 5/03 LSW Integral Sum Á Á Á No altere el estado de un valor de bloque de control PID a menos que entienda completamente la función y el efecto relacionado en su proceso.
  • 294.
    Preface Manual de referenciadel juego de instrucciones 9–12 Errores de tiempo de ejecución El código de error 0036 aparece en el archivo de estado cuando ocurre un error de tiempo de ejecución de instrucción PID. El código 0036 abarca las condiciones de error PID siguientes, cada una de las cuales ha sido asignada a un valor de código de un solo byte exclusivo que aparece en el MSbyte de la segunda palabra del bloque de control. Código de error Descripción de la(s) condición(es) de error Acción correctiva 11H SLC 5/02 SLC 5/03 y SLC 5/04 SLC 5/02 SLC 5/03 y SLC 5/04 ! $%(- , ( Dt , ! $%(- , ( Dt $! $%(, ( Dt Dt $! $%(, ( Dt Dt ! $%(- , ( Dt ! $%(- , ( Dt 12H SLC 5/02 SLC 5/03 y SLC 5/04 SLC 5/02 SLC 5/03 and SLC 5/04 ! ! Kc , ! ! Kc ! ! Kc a Kc ! ! Kc Kc ! ! Kc 13H SLC 5/02 SLC 5/03 y SLC 5/04 SLC 5/02 SLC 5/03 and SLC 5/04 $ #$$ Ti $ #$$ Ti $- #$$ Ti a Ti $- #$$ Ti Ti 14H SLC 5/02 SLC 5/03 y SLC 5/04 SLC 5/02 SLC 5/03 y SLC 5/04 $ * Td $ * Td $ * Td Td $ * Td Td 21H (SLC 5/02 solamente) $ %#$ # )' Smax , $ %#$ # )' Smax !$ %#$ # )' Smax Smax 22H (SLC 5/02 solamente) $ %#$ # + Smin , $ %#$ # + Smin !$ %#$ # + Smin Smin Smax 23H %$ %#$ # + Smin !%$ %#$ # )' Smax !%$ %#$ # + Smin Smin Smax SLC 5/03 y SLC 5/04 +
  • 295.
    Instrucción proporcional integralderivativa 9–13 Código de error Descripción de la(s) condición(es) de error Acción correctiva 31H +) ) +$*% !+)* - Smin +$*% !+)* SP Smax % $% +) ) +$*% !+)* - +$*% !+)* SP $*%$) +($* !+ 1$ $ .% %+(( )* ((%( - ) )* * ( %'+ %$*(% $ #(% +($* !+ 1$ )+) + $* .% ) ) $*(%+ +$ +$*% !+)* .% $,/ % .% %$* $2 !+*$% %$ +)% +$*% !+)* $*( %( - ) )* * ( %'+ %$*(% +) ) +$*% !+)* $*%$) # +$*% !+)* SP a Smin SP Smax % $% +) ) +$*% !+)* $*%$) # +$*% !+)* SP SP 41H ) ) %$ 1$ ) $ ) ) %$ 1$ ) $ Banda muerta 1 Banda muerta 1 # banda muerta banda muerta (Smax - Smin) # banda muerta a banda muerta Banda muerta (Smax Ć Smin) % $ Banda muerta Banda muerta )0 % ( 51H Límite de salida alta 1 ) Límite de salida alta # límite de salida alta límite de salida alta 52H Límite de salida baja 1 ) Límite de salida baja # límite de salida baja límite de salida baja límite de salida alta 53H Límite de salida baja límite de salida alta # límite de salida baja a límite de salida baja límite de salida alta 60H )*/ ) $% $*(%+ % %( )3 +$ ,. .% + $*((+# % %( +$ $*((+ 1$ + )+ ,. ) $*((+#3 %( $*((+ 1$ $ +$ #0$ #% *() .%) $ )+ (%(# +$% $ (%(# ( $ % ( ,% )+(+* $ +$% $ +$ ( ,% $*((+ 1$ - +$% $ ( ,% )+(+* $ *(( )+ (%(# )( - # $( %) $ # $*% %) .%)
  • 296.
    Preface Manual de referenciadel juego de instrucciones 9–14 Escala PID y E/S analógicas Para la instrucción SLC 500 PID, la escala numérica para la variable de proceso (PV) y la variable de control (CV) es 0 a 16383. Para usar unidades de ingeniería, tal como PSI o grados, primero debe escalar sus rangos de E/S analógicas dentro de la escala numérica de arriba. Para hacerlo, use la instrucción de escala (SCL) y siga los pasos descritos a continuación. 1. Escale su entrada analógica calculando la pendiente (o régimen) del rango de entrada analógica al rango PV (0 a 163873). Por ejemplo, una entrada analógica con un rango de 4 a 20 mA tiene un rango decimal de 3277 a 16384. El rango decimal debe ser escalado por todo el rango de 0 a 16383 para uso como PV. 2. Escale el CV para que se distribuya de manera equitativa por todo el rango de salida analógica. Por ejemplo, una salida analógica que tiene una escala de 4 a 20 mA, tiene un rango decimal de 5242 a 31208. En este caso, 0 a 16383 debe ser escalado por todo el rango de 6242 a 31208. Una vez que ha escalado sus rangos de E/S analógicas hacia/desde la instrucción PID, puede introducir las unidades de ingeniería mínimas y máximas que se aplican a su aplicación. Por ejemplo, si el rango de entrada analógica de 4 a 20 mA representa 0 a 300 PSI, puede introducir 0 y 300 como los parámetros mínimos (Smin) y máximos (Smax) respectivamente. La variable de proceso, error, punto de ajuste y banda muerta se mostrarán en unidades de ingeniería en la pantalla del motor de datos PID. El punto de ajuste y la banda muerta se pueden introducir en la instrucción PID usando unidades de ingeniería. Las ecuaciones siguientes muestran la relación lineal entre el valor de entrada y el valor con escala resultante. Valor con escala = (valor de entrada pendiente x) + offset Pendiente = (escala m áx. ± escala mín.) / (entrada máx. ± entrada mín.) Offset = escala mín. ± (entrada mín pendiente x) Uso de la instrucción SCL Use los valores siguientes en una instrucción SCL para escalar los rangos de entrada analógica comunes para las variables de proceso PID. Parámetro 4 a 20 mA 0 a 5 V 0 a 10 V
  • 297.
    Instrucción proporcional integralderivativa 9–15 Use los valores siguientes en una instrucción SCL para escalar las variables de control a salidas analógicas comunes. Parámetro 4 a 20 mA 0 a 5 V 0 a 10 V Uso de la instrucción SCP Use los valores siguientes en una instrucción SCP para escalar sus entradas analógicas al rango PV y escalar el rango CV a su salida analógica. Parámetro 4 a 20 mA 0 a 5 V 0 a 10 V Use los valores siguientes en una instrucción SCP para escalar variables de control a salidas analógicas comunes. Parámetro 4 a 20 mA 0 a 5 V 0 a 10 V Ejemplo El diagrama de escalera siguiente muestra un lazo PID típico que se programa en el modo STI. Este ejemplo se proporciona principalmente para mostrar las técnicas de escala correctas. Muestra una entrada analógica de 4 a 20 mA y una salida analógica de 4 a 20 mA. Se usan los parámetros siguientes se usan: • Archivo de subrutina STI (S:31) = 3 • Punto de ajuste STI (S:30) = 10 • Bit de habilitación STI (S:2/1) = 1
  • 298.
    Manual de referenciadel juego de instrucciones 9–16 SCL SCALE Source I:1.0 0 Rate [/10000] 12499 Offset –4096 Dest N10:28 0 LES LESS THAN Source A I:1.0 0 Source B 3277 GRT GREATER THAN Source A I:1.0 0 Source B 16384 MOV MOVE Source 3277 Dest I:1.0 0 IIM IMMEDIATE IN w MASK Slot I:1.0 Mask FFFF (L) B3 0 0 0 0 0 0 '(#' #' #' ') %) * # ( 0 %) ' * (#) $!- (# #' /!(' '(# ' '# $ *( #' #*'0 .) # ' '()#' , #' (' *!(# ' $) )' #(# ) $#! $ ( #0 ) # %) #)0 # ')( MOV MOVE Source 16384 Dest I:1.0 0 (L) B3 1 # +'*# )( %) ' * ' ' ( , ') '(# ' * $#'# '()0 '(#' * #' ' ) # ##!(# %) # ' !(' %) # # ' ' PID PID Control Block N10:0 Process Variable N10:28 Control Variable N10:29 Control Block Length 23 '( 0 () - !(!( ( 0 )' $
  • 299.
    Instrucción proporcional integralderivativa 9–17 IOM IMMEDIATE OUT w MASK Slot O:1.0 Mask FFFF END + + SCL SCALE Source N10:29 0 Rate [/10000] 15239 Offset 6242 Dest O:1.0 0 '# %# $ %# !# $%#+ $ $%#+ #%( !#( %# # $% ' # $# $ # #!#$% # )# $ $# !# !# # $* $ + $% #+ %( %% %#% $ + $ !$ ! # ' # '# %# La rutina STI debe tener un intervalo de tiempo equivalente al establecimiento del parámetro de “actualización del lazo” PID.
  • 300.
    Manual de referenciadel juego de instrucciones 9–18 Notas de aplicación Los párrafos siguientes tratan: • Los rangos de entrada/salida • La escala a unidades de ingeniería • La banda muerta de intersección con cero • Las alarmas de salida • El límite de salida con bloque de acción integral • El modo manual • La alimentación hacia adelante • Las salidas de tiempo de proporcional Rangos de entrada/salida El módulo de entrada que mide la variable de proceso (PV) debe tener un rango binario completo de escala de 0 a 16383. Si este valor es menor que 0 (bit 15 establecido), un valor de cero se usará para PV y el bit de “variable de proceso fuera de rango” se establecerá (bit 12 de palabra 0 en el bloque de control). Si la variable de proceso es 16383 (bit 14 establecido), un valor de 16383 se usará para PV y el bit de “variable de proceso fuera de rango” se establecerá. La variable de control, calculada por la instrucción PID, tiene el mismo rango de 0 a 16383. La salida de control (palabra 16 del bloque de control) tiene el rango de 0 a 100%. Puede establecer límites inferiores y superiores para los valores de salida calculados de la instrucción (donde un límite superior de 100% corresponde a un límite de variable de control de 16383). Escalado a unidades de ingeniería La escala le permite introducir el punto de ajuste y los valores de banda muerta de intersección con cero en unidades de ingeniería y mostrar la variable de proceso y valores de error en las mismas unidades de ingeniería. Recuerde que la variable de proceso PV todavía debe estar dentro del rango 0–16383. Sin embargo, el PV será mostrado en unidades de ingeniería.
  • 301.
    Instrucción proporcional integralderivativa 9–19 Seleccione la escala según lo siguiente: 1. Introduzca los valores de escala máximos y mínimos Smax y Smin en el bloque de control PID. Refiérase al bloque de control de la instrucción PID en la página 9–11. El valor Smin corresponde a un valor analógico de cero para la lectura más baja de la variable de proceso, y Smax corresponde a un valor analógico de 16383 para la lectura más alta. Estos valores reflejan los límites de proceso. La escala del punto de ajuste es seleccionada introduciendo un valor que no sea cero para uno o ambos parámetros. Si introduce el mismo valor para ambos parámetros, la escala del punto de ajuste se inhabilita. Por ejemplo, si mide un rango de temperatura de escala completa de –73 (PV=0) a +1156° C (PV=16383), introduzca un valor de –73 para Smin y 1156 para Smax. Recuerde que las entradas en la instrucción PID deben ser 0 a 16383. Las conversiones de señales podrían ser así: %! ! ± + ° !! ! #! # # ! # $ ± + ° 2. Introduzca el punto de ajuste (palabra 2) y la banda muerta (palabra 9) en las mismas unidades con escala. Lea también la variable de proceso con escala y el error con escala en estas unidades. El porcentaje de salida de control (palabra 16) se muestra como porcentaje del rango de 0 a 16383. El valor real transferido a la salida CV siempre es entre 0 y 16383. Cuando selecciona la escala, la instrucción escala el punto de ajuste, banda muerta, variable de proceso y error. Debe considerar el efecto de todas estas variables cuando cambia la escala.
  • 302.
    Preface Manual de referenciadel juego de instrucciones 9–20 Banda muerta (DB) de intersección con cero La banda muerta ajustable le permite seleccionar un rango de error encima y debajo del punto de ajuste donde la salida no se cambia siempre que el error permanezca dentro de este rango. Esto le permite controlar la precisión con que la variable corresponde el punto de ajuste sin cambiar la salida. +DB SP -DB Rango de Tiempo error La intersección con cero es el control de banda muerta que permite que la instrucción use el error para propósitos de cálculo mientras que la variable de proceso cruce en la banda muerta hasta que cruce el punto de ajuste. Una vez que cruza el punto de ajuste (el error cruza cero y cambia la señal) y siempre que permanezca en la banda muerta, la instrucción considera que el valor de error es cero para propósitos de cálculo. Seleccione la banda muerta introduciendo un valor en la palabra de almacenamiento de la banda muerta (palabra 9) en el bloque de control. La banda muerta se extiende encima y debajo del punto de ajuste según el valor que usted introduce. Un valor de cero inhibe esta característica. La banda muerta tiene las mismas unidades con escala que el punto de ajuste si selecciona la escala. Alarmas de salida Puede establecer una alarma de salida en la salida de control (CO) a un valor seleccionado encima y/o debajo de un porcentaje de salida seleccionado. Cuando la instrucción detecta que la salida (CO) ha excedido el valor, establece un bit de alarma (bit 10 para el límite inferior, bit 9 para el límite superior) en palabra 0 del bloque de control PID. Los bits de alarma están restablecidos por la instrucción cuando la salida (CO) retorna dentro de los límites. La instrucción no evita que la salida (CO) exceda los valores de alarma a menos que usted seleccione el límite de salida. Seleccione alarmas de salida superiores e inferiores introduciendo un valor para la alarma superior (palabra 11) y la alarma inferior (palabra 12). Los valores de alarma son especificados como porcentaje de la salida. Si no desea alarmas, introduzca cero y 100% respectivamente para los valores de alarma inferiores y superiores y no haga caso de los bits de alarma.
  • 303.
    Instrucción proporcional integralderivativa 9–21 Límite de salida con bloqueo de acción integral Puede establecer un límite de salida (porcentaje de salida) en la salida de control. Cuando la instrucción detecta que la salida (CO) ha excedido un límite, establece un bit de alarma (bit 10 para el límite inferior, bit 9 para el límite superior) en palabra 0 del bloque de control PID y previene que la salida (CO) exceda el valor de límite. La instruccion limita la salida (CO) a 0 y 100% si elige no limitarla. Seleccione límites de salida superiores e inferiores estableciendo el bit de habilitación de límite (bit 3 de la palabra de control 0) e introduciendo un límite superior (palabra 11) y un límite inferior (palabra 12). Los valores de límite son un porcentaje (0 a 100%) de la salida de control (CO). La diferencia entre seleccionar alarmas de salida y límites de salida es que debe seleccionar el límite de salida para habilitar el límite. Los valores de límite y alarma se almacenan en las mismas palabras. El introducir estas palabras habilita las alarmas, pero no el límite. El introducir estos valores y el establecer el bit de habilitación de límite habilita el límite y las alarmas. El bloqueo de acción integral es una característica que evita que el término integral se haga excesivo cuando la salida (CO) alcanza un límite. Cuando la suma de los términos PID y bias en la salida (CO) alcanzan el límite, la instrucción deja de calcular la suma integral hasta que la salida (CO) retorne dentro del rango. La suma integral se contiene en palabras 17 y 18 del bloque de control. Modo manual En el modo manual, el algortimo PID no calcula el valor de la variable de control. En cambio, usa el valor como entrada para ajustar la suma integral (palabras 17 y 18) para que se realice una transferencia sin perturbaciones al volver a entrar en el modo AUTOMATICO. En el modo manual, el programador le permite introducir un valor CV nuevo de 0 a 100%. Este valor se convierte en un número de 0 a 16383 y se escribe a la dirección de variable de control. Si usa un módulo de salida analógico para esta dirección, debe guardar (compilar) el programa con la opción de protección de archivo establecida a Ninguna. Esto le permite escribir a la tabla de datos de salida. Si no efectúa esta operación de guardar, no podrá establecer el nivel de salida en el modo manual. Si su programa de escalera establece el nivel de salida manual, diseñe su programa de escalera para escribir a la dirección CV cuando está en el modo manual. Anote que este número se encuentra en el rango de 0 a 16383, no de 0 a 100. El escribir al porcentaje CV (palabra 16) con su programa de escalera no tiene efecto en el modo manual. El ejemplo en la página siguiente muestra cómo puede controlar manualmente la salida de variable de control (CV) con su programa de escalera.
  • 304.
    Preface Manual de referenciadel juego de instrucciones 9–22 Estado de renglón PID Si el renglón PID es falso, la suma integral (palabras 17 y 18) se pone a cero y CV permanece en su último estado. Notas de operación ! !'%%(#'% #%'% %'% ,' (! -( !'% %! ! '-! #(% #' )% !'%%(#'% #%'% %'% ! !'%%(#'% '% #% (' +' !( (' +' !( ! )% !'%( ! !'%%(#'% #%'% %'% ! (! +( !'% %-! )% !'% %-! $( !'% !'%(-! #%!' '(* (' +' !' #% !'%(-! ] [ N7:10 1 [OSR] B3 0 ( ) B3 3 MUL MULTIPLY Source A N7:0 Source B 16384 Dest N7:2 LIM LIMIT TEST Low Lim 0 Test N7:0 High Lim 100 FRD FROM BCD Source I1:1.0 Dest N7:0 DDV DOUBLE DIVIDE Source 100 Dest N7:8 ] [ I:2.0 0 (U) S:5 0 ] [ I:2.0 1 Acepta CV Error - fuera de rango Auto ] [ I:2.0 2 Manual (L) N7:10 1 (U) N7:10 1 Bit A/M Bit A/M A/M Bit LIM LIMIT TEST Low Lim 101 Test N7:0 High Lim –1
  • 305.
    Instrucción proporcional integralderivativa 9–23 Alimentación hacia adelante o bias Las aplicaciones que involucran demoras de transporte pueden requerir que se añada un bias a la salida CV en espera de una perturbancia. Este bias se puede realizar usando el procesador LSC 5/02, SLC 5/03 ó SLC 5/04 escribiendo un valor al elemento de bias de alimentación hacia adelante, el séptimo elemento (palabra 6) en el archivo de bloque de control. (Vea la página 9–11.) El valor que escribe se añadirá a la salida para así permitir que se efectúe una acción de alimentación hacia adelante. Puede añadir un bias escribiendo un valor entre ±16383 y +16383 a palabra 6 con su terminal de programación o programa de escalera. Salidas de tiempo proporcional Para aplicaciones de calentamiento o enfriamiento, la salida analógica de variable de control típicamente es convertida en una salida de tiempo proporcional. Aunque esto no se puede realizar directamente en el procesador SLC 5/02, SLC 5/03 ó SLC 5/04, puede usar el programa en la página siguiente para convertir la variable de control en una salida de tiempo proporcional. En este programa, el tiempo de ciclo es el valor preseleccionado del temporizador T4:0. El tiempo de ciclo se relaciona con el % a tiempo de la manera siguiente: T4:0.PRE es el tiempo de ciclo salida 100% a tiempo % a tiempo
  • 306.
    Manual de referenciadel juego de instrucciones 9–24 Ejemplo – Salidas de tiempo proporcional (L) O:1.0 0 (U) O:1.0 0 (RES) T4:0 (EN) (DN) TON TIMER ON DELAY Timer T4:0 Time Base 0.01 Preset 1000 Accum 0 NEQ NOT EQUAL Source A N7:25 0 Source B 0 GRT GREATER THAN Source A T4:0.ACC 0 Source B N7:25 0 MUL MULTIPLY Source A N7:1 0 Source B T4:0.PRE 1000 Dest N7:25 0 DDV DOUBLE DIVIDE Source 16383 Dest N7:25 0 CLR CLEAR Dest S:5 0 PID PID Control Block N7:2 Process Variable N7:0 Control Variable N7:1 Control Block Length 23 END ] [ T4:0 DN ] [ N7:2 13
  • 307.
    Instrucción proporcional integralderivativa 9–25 Sintonización PID La sintonización PID requiere el conocimiento del control de proceso. Si no tiene experiencia, sería útil obtener instrucción técnica acerca de la teoría y métodos de control de proceso usados por su empresa. Existen varias técnicas que se pueden usar para sintonizar un lazo PID. El método de ajuste PID siguiente es general y es limitado respecto al manejo de perturbaciones de carga. Cuando sintoniza, le recomendamos que efectúe cambios en el modo MANUAL, seguido por un retorno a AUTOMATICO. El límite de salida se aplica en el modo MANUAL. Nota Este método requiere que la instrucción PID controle una aplicación no crítica respecto a la seguridad personal y daños al equipo. Procedimiento 1. Cree su programa de escalera. Asegúrese que haya escalado correctamente su entrada analógica en el rango de la variable de proceso PV y que haya escalado correctamente su variable de control CV a su salida analógica. 2. Conecte su equipo de control de proceso a los módulos analógicos. Cargue el programa en el procesador. Deje el procesador en el modo de programa. Asegúrese que todas las posibilidades de movimiento de la máquina hayan sido consideradas en cuanto a la seguridad personal y daños al equipo. Es posible que la salida CV pueda oscilar entre 0 y 100% durante la sintonización. Si desea verificar el escalado de su sistema continuo y/o determinar el tiempo de actualización del lazo inicial del sistema, pase al procedimiento en la página 9–27. 3. Introduzca los valores siguientes: el valor de punto de ajuste inicial SP, un Ti de restablecimiento de 0, un régimen Td de 0, una ganancia Kc de 1 y una actualización de lazo de 5. Establezca el modo PID a STI o temporizado, según su diagrama de escalera. Si STI es seleccionado, asegúrese que el tiempo de actualización del lazo sea igual al intervalo de tiempo STI. Introduzca los establecimientos opcionales aplicables (límite de salida, alarma de salida, escalado Smax – Smin, alimentación hacia adelante). 4. Prepárese para registrar el CV, PV, entrada analógica o salida analógica a medida que vaya variándose con el transcurso de tiempo con respecto al valor del punto de ajuste SP.
  • 308.
    Manual de referenciadel juego de instrucciones 9–26 5. Coloque la instrucción PID en el modo MANUAL, luego coloque el procesador en el modo de marcha. 6. Mientras monitoriza la pantalla PID, ajuste el proceso manualmente escribiendo al valor de porcentaje CO. 7. Cuando perciba tener el proceso bajo control manual, coloque la instrucción PID en el modo AUTOMATICO. 8. Ajuste la ganancia a medida que vaya observando la relación de la salida con el punto de ajuste durante el transcurso de tiempo. Cuando usa el procesador SLC 5/02, los ajustes de ganancia perturban el proceso cuando cambia los valores. Para evitar esta perturbación, cambie al modo MANUAL antes de efectuar el cambio de ganancia y luego retorne al modo AUTOMATICO. Cuando usa el procesador SLC 5/03 ó SLC 5/04, los cambios de ganancia no perturban el proceso; por lo tanto, no es necesario cambiar al modo MANUAL. 9. Cuando observe que el proceso está oscilando arriba y abajo del punto de ajuste de una manera uniforme, registre la duración de 1 ciclo. Eso es, obtenga el período natural del proceso. Período natural ≅ 4x tiempo muerto Registre el valor de ganancia. Retorne al modo MANUAL (detenga el proceso si fuese necesario). 10. Establezca el tiempo de actualización del lazo (y el intervalo de tiempo STI si es aplicable) a un valor de 5 a 10 veces más rápido que el período natural. Por ejemplo, si el tiempo de ciclo es 20 segundos y usted elige establecer el tiempo de actualización del lazo a 10 veces más rápido que la velocidad natural, establezca el tiempo de actualización del lazo a 200, lo que resultará en una velocidad de 2 segundos. 11. Establezca el valor de ganancia Kc a 1/2 de la ganancia necesaria para obtener el período natural del proceso. Por ejemplo, si el valor de ganancia registrado en el paso 9 fue 80, establezca la ganancia a 40. 12. Establezca el término de restablecimiento Ti para que éste se aproxime al período natural. Si el período natural es 20 segundos, como en nuestro ejemplo, se establecerá el término de restablecimiento a 3 (0.3 minutos por repetición se aproximan a 20 segundos). 13. Ahora establezca el régimen Td para que éste sea igual a un valor de 1/8 del término de restablecimiento. Para nuestro ejemplo, el valor 4 será usado para proporcionar un término de régimen de 0.04 minutos por repetición.
  • 309.
    Instrucción proporcional integralderivativa 9–27 14. Coloque el proceso en el modo AUTOMATICO. Si tiene un proceso ideal, la sintonización PID será finalizada. 15. Para efectuar ajustes de este punto en adelante, coloque la instrucción PID en el modo MANUAL, introduzca el ajuste y retorne la instrucción PID al modo AUTOMATICO. Esta técnica de cambiar al modo MANUAL y luego retornar al modo AUTOMATICO asegura que la mayor parte del “error de ganancia” se elimine al momento de realizar cada ajuste. Esto le permite observar inmediatamente los efectos de cada ajuste. El alternar el renglón PID permite que la instrucción PID se reinicie eliminando así toda la “acumulación integral”. Es posible que desee alternar el renglón PID como falso a medida que vaya sintonizando para eliminar los efectos de los ajustes de sintonización anteriores. Cómo verificar el escalado del sistema continuo Para asegurarse que el proceso sea lineal y que el equipo esté correctamente conectado y escalado, realice lo siguiente: 1. Coloque la instrucción PID en el modo manual e introduzca los parámetros siguientes: • escriba: 0 para Smin • escriba: 100 para Smax • escriba: 0 para CO% 2. Introduzca el modo de marcha REM y verifique que PV=0. 3. Escriba: 20 en CO% 4. Registre el PV = _______ 5. Escriba: 40 en CO%. 6. Registre el PV = _______ 7. Escriba: 60 en CO%. 8. Registre el PV = _______ 9. Escriba: 80 en CO%. 10. Registre el PV = _______
  • 310.
    Manual de referenciadel juego de instrucciones 9–28 11. Los valores que ha registrado deben tener un offset del CO% con la misma cantidad. Esto prueba la linealidad del proceso. El ejemplo siguiente muestra una progresión de offset de quince. CO 20% = PV 35% CO 40% = PV 55% CO 60% = PV 75% CO 80% = PV 95% Si los valores que ha registrado no tienen el offset con la misma cantidad: • El escalado es incorrecto, o • el proceso no es lineal, o • el equipo no está conectado y/o configurado correctamente. Haga las correcciones necesarias y repita los pasos 2–10. Cómo determinar el tiempo de actualización del lazo inicial Para determinar el tiempo de actualización del lazo aproximado que se debe usar para su proceso, realice lo siguiente: 1. Coloque los valores de aplicación normales en Smin y Smax. 2. Escriba: 50 en CO%. 3. Escriba: 60 en CO% y active inmediatamente su cronómetro. 4. Observe el PV. Cuando el PV comience a cambiar, pare el cronómetro. Registre este valor. Esto constituye el tiempo muerto. 5. Multiplique el tiempo muerto por 4. Este valor se aproxima al período natural. Por ejemplo, si: tiempo muerto = 3 segundos, entonces 4 3 = 12 segundos (≅ período natural) 6. Divida el valor obtenido en el paso 5 entre 10. Use este valor como el tiempo de actualización del lazo. Por ejemplo, si: período natural = 12 segundos, entonces 12 10 = 1.2 segundos. Por lo tanto, el valor 120 se introducirá como el tiempo de actualización del lazo. (120 10 ms = 1.2 segundos)
  • 311.
    Instrucción proporcional integralderivativa 9–29 7. Introduzca los valores siguientes: El valor SP de punto de ajuste inicial, un Ti de restablecimiento de 0, un Td de régimen de 0, un Kc de ganancia de 1 y el tiempo de actualización del lazo determinado en el paso 17. Establezca el modo PID a STI o temporizado, según su diagrama de escalera. Si selecciona STI, asegúrese que el tiempo de actualización del lazo sea igual al intervalo de tiempo STI. Introduzca los posicionamientos opcionales aplicables (límite de salida, alarma de salida, escalado Smax – Smin, alimentación hacia adelante). 8. Retorne a la página 9–25 y finalice el procedimiento de sintonización a partir del paso 4.
  • 312.
    Manual de referenciadel juego de instrucciones 9–30
  • 313.
    Instrucciones ASCII 10–1 10 InstruccionesASCII Este capítulo contiene información general acerca de las instrucciones ASCII y explica cómo funcionan en su programa de aplicación. Cada una de las instrucciones incluye información acerca de: • cómo aparece el símbolo de instrucción • cómo usar la instrucción Instrucciones ASCII Instrucción Propósito Página Mnemónico Nombre Propósito Página ABL ' % ' ' # $ % 10-7 ACB ' ' ' ' 10-8 ACI ! ! 10-10 ACL ' # ' # 10-11 ACN 10-12 AEX ( ! 10-13 AHL % ( % 10-14 AIC ! ! 10-16 ARD ' # ( 10-17 ' $
  • 314.
    Preface Manual de referenciadel juego de instrucciones 10–2 Instrucción Propósito Página Mnemónico Nombre Propósito Página ARL ! 10-20 ASC ! 10-22 ASR 10-23 AWA 10-24 AWT 10-27 Descripción general de ASCII Las instrucciones ASCII están disponibles en los procesadores SLC 5/03 OS301 y superiores y todos los procesadores SLC 5/04. Existen dos tipos de instrucciones ASCII: • Control de puerto ASCII – esto incluye instrucciones que usan o modifican el canal de comunicación para la recepción o transmisión de datos. Cuando usa estas instrucciones, la configuración del sistema debe estar establecida en el “modo de usuario”. (ABL, ACB, ACL, AHL*, ARD, ARL, AWA*, AWT*) * – significa que debe estar en el modo de usuario o sistema Las instrucciones de control de puerto ASCII se colocan en cola según el orden de ejecución y dependen la una de la otra para ejecutarse (excepto ACL, la cual se ejecuta inmediatamente). Por ejemplo, si tiene una ARD (instrucción de lectura ASCII) y luego una AWT (instrucción de escritura ASCII), el bit de efectuado o el bit de error de la ARD debe estar establecido antes de que AWT pueda comenzar ejecutarse (aun cuando AWT se ha habilitado durante la ejecución de ARD por parte del procesador). Una segunda instrucción de control de puerto ASCII no puede comenzar a ejecutarse hasta que la primera se haya finalizado. Sin embargo, el procesador no espera la finalización de una instrucción de control de puerto ASCII antes de que siga ejecutando su programa de escalera. • Control de cadena ASCII – esto incluye instrucciones que manejan los datos de cadena. (ACI, ACN, AEX, AIC, ASC, ASR) Las instrucciones de control de cadena ASCII se ejecutan inmediatamente. Nunca se colocan en cola para esperar su ejecución.
  • 315.
    Instrucciones ASCII 10–3 Descripción generaldel parámetro de protocolo A continuación aparecen los parámetros de protocolo ASCII que usted estableció vía las pantallas de configuración de canal 0 en el software de programación. Descripción Especificación # #+)% %+) . # -#) ')+)$% * +* ))%(, # -#) ')+)$% * . % * ', $) +* ') * '%* %#,.% . # -#) ')+)$% * ) #+)% %+) % ,% $') . ) # -#) ')+)$% * % ,% +* +* #+)% %+) . # -#) ')+)$% * )+)* +)$%0% ')$+ % ,)) !*+ )+)* %*+),0% ,* #(,* ') +)$%) # #% +, % # -#) ')+)$% * )+)* /* ')$+ % ,)) !*+ )+)* %*+),0% / #* )+)* # %# % ') *)-) $ )+)* +)$%0% ') # *'*+- )'+) # -#) ')+)$% *
  • 316.
    Preface Manual de referenciadel juego de instrucciones 10–4 Cómo usar el tipo de archivo de datos ASCII Estos son elementos de 1 palabra. Asigne las direcciones ASCII así: Formato Explicación A $ Af:e/b f $ $ ' ! # #! : e ' ! ! # / b % ' Ejemplos: A9:2 $ A10:0/7 $ Cómo usar el tipo de archivo de datos de cadena (ST) Este tipo de archivo es válido para los procesadores SLC 5/03 OS301, OS302 y SLC 5/04 OS400, OS401. Estos son elementos de 42 palabras. Puede direccionar las longitudes de cadena añadiendo un .LEN a cualquier dirección de cadena (por ejemplo, ST17:1.LEN). Los números del archivo de datos de cadena válidos son 9–255. Las longitudes de cadena deben estar entre 0 y 82. Por lo general, las longitudes fuera de este rango causan que el procesador establezca el bit de error ASCII (S:5/15) y la instrucción no se ejecuta. Nota Configura los caracteres añadidos o fin de línea vía la pantalla de configuración de canal. Los caracteres añadidos predeterminados son el retorno del carro y alimentación de línea; el carácter de fin de línea (terminación) predeterminado es un retorno de carro. Todas las instrucciones, menos ACL y AHL, entrarán en error si el puerto se inhabilita.
  • 317.
    Instrucciones ASCII 10–5 Asigne direccionesde cadena así: Formato Explicación ST STf:e.s/b f ) ) $ * # !% %# : $ $ e ) $ * #$ # # $ # !# $# ! $ . $ #%$ # ) #%$ * # $% / $ $ b ) $ ( $ $ $ * $ $ #$' #! ! ! $ # Ejemplos: ST9:2 $ ST10:2.3/8 $ #%$ $
  • 318.
    Manual de referenciadel juego de instrucciones 10–6 Cómo introducir parámetros El elemento de control para las instrucciones ASCII incluye ocho bits de estado, un byte de código de error y dos palabras de carácter: EN EU DN EM ER UL IN FD| Error Code 15 14 13 12 11 10 9 8 7 6 5 4 3 2 1 0 Number of characters for sending or receiving (LEN) Number of characters sent or received (POS) EN = Enable Bit EU = Queue Bit DN = Asynchronous Done Bit EM = Synchronous Done Bit ER = Error Bit UL = Unload Bit IN = Running Bit (Este bit es el bit IN en el archivo de datos de control [R6:].) FD = Found Bit Word 0 Word 1 Word 2 • El bit encontrado FD (bit 8) indica que la instruccion ha encontrado el fin de caracteres o caracteres de terminación en el búfer (se aplica a las instrucciones ABL y ACB). • El bit de marcha IN (bit 9) indica que una instrucción puesta en cola se está ejecutando. • El bit de descarga UL (bit 10) detiene la operación de instrucción antes (puede estar puesta en cola) o durante la ejecución. Si este bit se establece durante la ejecución de una instrucción, los datos ya procesados se envían al destino. Anote que la instrucción no se elimina de la cola; los datos remanentes simplemente no se procesan. Usted establece este bit. • El bit de error ER (bit 11) indica que un error ocurrió durante la ejecución de la instrucción, tal como un cambio de modo vía canal 1 ó la instrucción fue cancelada usando el bit UL o la instrucción ACL. • El bit de efectuado sincrónico EM (bit 12) se establece concurrentemente a un escán de programa para indicar la finalización de una instrucción ASCII. • El bit de efectuado asincrónico DN (bit 13) se establece en la parte opuesta de un escán de programa cuando una instrucción completa su operación exitosamente. Anote que una instrucción puede demorar más que un escán de programa para terminar la ejecución. • El bit de cola EU (bit 14) indica que una instrucción ASCII ha sido colocada en la cola ASCII. Esta acción se demora si la cola ya está llena. La cola puede contener hasta 16 instrucciones. • El bit de habilitación EN (bit 15) indica que una instrucción se ha habilitado debido a una transición de falso a verdadero. Este bit permanece establecido hasta que la instrucción haya terminado la ejecución de errores.
  • 319.
    Instrucciones ASCII 10–7 Prueba debúfer por línea (ABL) Use la instrucción ABL para determinar el número total de caracteres en el búfer de entrada, hasta e incluyendo los caracteres de fin de línea (terminación). Esta instrucción busca dos caracteres de terminación que usted configura vía la pantalla de configuración de puerto ASCII. Durante una transición de falso a verdadero, el procesador comunica el número de caracteres en el campo POS del bloque de control ASCII. El puerto en serie debe estar configurado para el modo de usuario. Cómo introducir parámetros Introduzca los parámetros siguientes al programar esta instrucción: • El canal es el número del puerto RS-232 (canal 0). • El control es el área que almacena el registro de control requerido para operar la instrucción. • Los caracteres son el número de caracteres en el búfer que el procesador encuentra (0–1024). Este parámetro se muestra en pantalla solamente y reside en la palabra 2 del bloque de control. • El error muestra el código de error hexadecimal que indica por qué el bit ER se ha establecido en el archivo de datos de control (R6:). Vea la página 10–29 para obtener descripciones del código de error. Ejemplo ABL ASCII TEST FOR LINE Channel Control I:1 10 Characters 0 R6:32 EN DN ER 0 Error Cuando el renglón cambia de falso a verdadero, se establece el bit de habilitación (EN). La instrucción se coloca en la cola de instrucción ASCII, el bit de cola (EU) se establece y el escán de programa continúa. Luego, la instrucción se ejecuta fuera del escán de programa. Sin embargo, si la cola está vacía, la instrucción se ejecuta inmediatamente. Al ejecutarse, se establece el bit de marcha. 3 3 ASCII TEST FOR LINE Channel Control Characters 0 Error (EN) (DN) ABL (ER)
  • 320.
    Manual de referenciadel juego de instrucciones 10–8 El procesador determina el número de caracteres (hasta e incluyendo los caracteres de fin de línea/terminación) y coloca este valor en el campo de posición. El bit de efectuado (DN) se establece. Si cero aparece en el campo POS, es indicación de que se encontraron caracteres de fin de línea/terminación. El bit de encontrado (FD) se establece si el campo de posición se estableció a un valor que no sea cero. Cuando el programa escanea la instrucción y encuentra el bit de efectuado (DN) establecido, el procesador establece el bit de efectuado sincrónico (EM). El bit EM sirve como bit de efectuado secundario correspondiente al escán de programa. El bit de error (ER) se establece durante la ejecución de la instrucción si: • la instrucción se cancela – puerto en serie no en el modo de usuario • la instrucción se cancela debido a un cambio de modo de canal • el bit de descarga (UL) se establece y la instrucción no se ejecuta Número de caracteres en búfer (ACB) Use la instrucción ACB para determinar los caracteres totales en el búfer. En una transición de falso a verdadero, el procesador determina el número total de caracteres y lo registra en el campo de posición del bloque de control ASCII. El puerto en serie debe estar en el modo de usuario. Cómo introducir parámetros Introduzca los parámetros siguientes al programar esta instrucción: • El canal es el número del puerto RS-232 (canal 0). • El control es el área que almacena el registro de control requerido para operar la instrucción. • Los caracteres son el número de caracteres en el búfer que el procesador encuentra (0–1024). Este parámetro se muestra en pantalla solamente y reside en ;a palabra 2 del bloque de control. • El error muestra el código de error hexadecimal que indica por qué el bit ER se ha establecido en el archivo de datos de control (R6:). Vea la página 10–29 para obtener descripciones del código de error. 3 3 ASCII CHARS IN BUFFER Channel Control Characters 0 Error (EN) (DN) ACB (ER)
  • 321.
    Instrucciones ASCII 10–9 Ejemplo ACB ASCII CHARSIN BUFFER Channel Control I:1 10 Characters 0 R6:32 EN DN ER 0 Error Cuando el renglón va de falso a verdadero, el bit de habilitación (EN) se establece. Cuando la instrucción se coloca en la cola ASCII, el bit de cola (EU) se establece. El bit de marcha (RN) se establece cuando la instrucción se está ejecutando. El bit de efectuado (DN) se establece al momento en que la instrucción se finaliza. El procesador determina el número de caracteres en el búfer y coloca este valor en el campo de posición del bloque de control. El bit de efectuado (DN) se establece. Si aparece cero en el campo de caracteres, indica que no se encontraron caracteres. Cuando el programa escanea la instrucción y encuentra el bit de efectuado (DN) establecido, el procesador establece el bit sincrónico (EM). El bit EM sirve como bit de efectuado secundario correspondiente al escán de programa. El bit de error (ER) se establece durante la ejecución de la instrucción si: • la instrucción se cancela – puerto en serie no está en el modo de usuario • la instrucción se cancela debido a un cambio de modo de canal • el bit de descarga (UL) se establece y la instrucción no se ejecuta
  • 322.
    Preface Manual de referenciadel juego de instrucciones 10–10 Cadena a entero (ACI) Use la instrucción ACI para convertir una cadena ASCII en un valor entero entre –32,768 y 32,767. Ejemplo ACI STRING TO INTEGER Source Destination I:1 10 ST38:90 N7:123 75 $'$ $ %+ % #($ ' $# * - ! $%' # El procesador busca la fuente (tipo de archivo ST) para localizar el primer carácter entre 0 y 9. Todos los caracteres numéricos son extraídos hasta alcanzar un carácter no numérico o el fin de la cadena. La acción se realiza solamente si caracteres numéricos se encuentran. Si la cadena contiene una longitud inválida ( 0 ó 82), el bit de error ASCII S:5/15 se establece. Comas y señales (+, –) se permiten en la cadena. Sin embargo, solamente el signo menos se muestra en la tabla de datos. Luego la cadena numérica extraída se convierte en entero. El bit de error ASCII S:5/15 se establece si un overflow numérico ocurre o si la cadena contiene una longitud de cadena inválida. Se obtiene el valor de 32,767 como el resultado. Esta instrucción también establece los indicadores aritméticos (encontrados en palabra 0, bits 0–3 en el archivo de estado de procesador S:0): Con este bit: El procesador: $$# %+ $%$(# ($ #) % % % ( #$ $# % '$ '$ $# (+ # $# % % % ( #$ $# % $# # % % % $%' # % (# 3 3 ACI STRING TO INTEGER Source Dest %$', %
  • 323.
    Instrucciones ASCII 10–11 Borrado delbúfer ASCII de recepción y/o transmisión (ACL) Use esta instrucción para borrar un búfer ASCII. Las instrucciones ASCII son eliminadas de la cola y luego el bit de error (ER) se establece. Esta instrucción se ejecuta inmediamente al momento de transición del renglón a un estado verdadero. La instrucción funcionará cuando el canal se encuentre en el modo de usuario o el modo de sistema. En el modo de sistema, sólo el borrado del búfer de transmisión operará y únicamente si DF1 se detecta como el protocolo del modo de sistema. Cómo introducir parámetros Introduzca los parámetros siguientes al programar esta instrucción: • El canal es el número del puerto RS-232 (canal 0). • El borrado del búfer de recepción borra el búfer de recepción y elimina las instrucciones ARD y ARL de la cola. El bit de error (ER) se establece en cada una de estas instrucciones. • El borrado del búfer de transmisión borra el búfer de transmisión y elimina las instrucciones AWA y AWT de la cola. El bit de error (ER) se establece en cada una de estas instrucciones. Cuando el borrado del búfer de recepción y el borrado del búfer de transmisión se establece a Sí, todas las instrucciones se eliminan de la cola. Ejemplo ACL ASCII CLEAR BUFFER Channel Clear Receive Buffer I:1 10 0 Y N Clear Send Buffer Cuando el renglón se hace verdadero, el(los) búfer(es) seleccionado(s) se borra(n) y la(s) instrucción(es) ASCII se elimina(n) de la cola de instrucción ASCII. 3 3 ACL ASCII CLEAR BUFFER Channel Clear Receive Buffer Clear Send Buffer
  • 324.
    Manual de referenciadel juego de instrucciones 10–12 Concatenado de cadenas (ACN) La instrucción ACN combina dos cadenas usando cadenas ASCII como operandos. La segunda cadena se añade a la primera y el resultado se almacena en el destino. Cómo introducir parámetros Introduzca los parámetros siguientes al programar esta instrucción: • La fuente A es la primera cadena en el procedimiento concatenado. • La fuente B es la segunda cadena en el procedimiento concatenado. • El destino es el lugar donde el resultado de la fuente A y B se almacena. Ejemplo ACN STRING CONCATENATE Source A Source B I:1 10 ST37:42 ST38:91 ST52:76 Destination ! Solamente los 82 primeros caracteres (0–81) se escriben al destino. Si el resultado es 0 ó 82, el bit de error ASCII S:5/15 se establece. 3 3 ACN STRING CONCATENATE Source A Source B Dest
  • 325.
    Instrucciones ASCII 10–13 Extracción decadena (AEX) Use la instrucción AEX para crear una cadena nueva tomando una porción de una cadena existente y enlazándola a una cadena nueva. Cómo introducir parámetros Introduzca los parámetros siguientes al programar esta instrucción: • La fuente es la cadena existente. El valor de fuente no es afectado por esta instrucción. • El índice es la posición inicial (de 1 a 82) de la cadena que desea extraer. (Un índice de 1 indica el carácter del extremo izquierdo de la cadena.) • El número es el número de caracteres (de 1 a 82) que desea extraer, a partir de la posicion indexada. Si el índice más el número son mayores que los caracteres totales en la cadena de fuente, la cadena de destino tendrá los caracteres desde el índice hasta el final de la cadena de fuente. • El destino es el elemento de cadena (ST) donde desea almacenar la cadena extraída. Ejemplo AEX STRING EXTRACT Source Index I:1 10 Number Destination ST38:40 42 10 ST52:75 ! Las condiciones siguientes causan que el procesador establezca el bit de error ASCII (S:5/15): • longitud de fuente inválida o longitud de cadena de cero • valores de índice o número fuera de rango • valor de índice mayor que la longitud de la cadena de fuente 3 3 STRING EXTRACT Source Index Number Dest AEX #
  • 326.
    Manual de referenciadel juego de instrucciones 10–14 La cadena destino no se cambia en ninguna de las condiciones de error anteriores. Sin embargo, el destino se cambiará si el valor de índice más el valor de número son mayores que la longitud de cadena. Anote que el bit de error ASCII (S:5/15) no se establece. Líneas de comunicación (AHL) Use la instrucción AHL para establecer o restablecer las líneas de control de comunicación RS-232 Terminal de datos lista (DTR) y Petición de envío (RTS) para su módem. En una transición de falso a verdadero, el procesador usa las dos máscaras para determinar si va a establecer o restablecer las líneas DTR y RTS, o si no las va a cambiar. Esta instrucción operará cuando el puerto está en cualquier modo o está inhabilitado. Nota Asegúrese que el control de módem automático usado por el puerto no sea incompatible con esta instrucción. Cómo introducir parámetros Introduzca los parámetros siguientes al programar esta instrucción: • El canal es el número del puerto RS-232 (canal 0). • La máscara AND es el tipo de máscara usada para restablecer las líneas de control DTR y RTS. El bit 0 corresponde a la línea DTR y el bit 1 corresponde a la línea de control RTS. Un 1 en el bit de máscara causa que la línea se restablezca; un 0 deja la línea sin cambio. Anote que los valores de máscara no tienen una correspondencia de uno a uno con las líneas de control del módem. • La máscara OR es el tipo de máscara usada para establecer las líneas de control DTR y RTS. El bit 0 corresponde a la línea DTR y el bit 1 corresponde a la línea de control RTS. Un 1 en el bit de máscara causa que la línea se establezca; un 0 deja la línea sin cambio. Anote que los valores de máscara no tienen una correspondencia de uno a uno con las líneas de control del módem. • El control es el área que almacena el registro de control necesario para operar la instrucción. 3 3 ASCII HANDSHAKE LINES Channel AND Mask OR Mask Control Channel Status Error AHL (EN) (DN) (ER)
  • 327.
    Instrucciones ASCII 10–15 • Elestado de canal muestra el estado actual (0000 a 001F) de las líneas de handshake para el canal especificado anteriormente. Este campo es de visualización solamente y reside en la palabra 2 del elemento de control. • El error muestra el código de error hexadecimal que indica por qué el bit ER se estableció en el archivo de datos de control (R6:). Vea la página 10–29 para obtener descripciones del código de error. Ejemplo: Lo siguiente muestra el estado de canal como 001F. %%) ' -! #%$( ' ', ' * $( ' ' ',! ' Ejemplo AHL ASCII HANDSHAKE LINES Channel AND Mask I:1 10 OR Mask Control 0 ABCD DACB Channel Status R6:23 001F EN DN ER %!(% !'% ' ', ' ' ,% ' #% %%% -! ' * ,% '! '+ -! * Error 00 El bit de error (ER) se establece durante la ejecución de la instrucción si: • la instrucción se cancela debido a un cambio de modo de canal • el bit de descarga (UL) se establece y la instrucción no se ejecuta
  • 328.
    Manual de referenciadel juego de instrucciones 10–16 Entero a cadena (AIC) La instrucción AIC convierte un valor entero (–32,768 y 32,767) en una cadena ASCII. La fuente puede ser una constante o una dirección de entero. Ejemplo AIC INTEGER TO STRING Source Destination I:1 10 867 ST38:42 3 3 AIC INTEGER TO STRING Source Dest !
  • 329.
    Instrucciones ASCII 10–17 Lectura decaracteres ASCII (ARD) Use la instrucción ARD para leer caracteres desde el búfer y almacenarlos en una cadena. Para repetir la operación, el renglón debe ir de falso a verdadero. Cómo introducir parámetros Introduzca los parámetros siguientes al programar esta instrucción: • El canal es el número del puerto RS-232 (canal 0). • El destino es el elemento de cadena donde desea almacenar los caracteres. • El control es la dirección del bloque de control usado para almacenar datos para la instrucción ARD. • La longitud de cadena (.LEN) es el número de caracteres que desea leer desde el búfer. El máximo es 82 caracteres. Si especifica una longitud mayor que 82, sólo los 82 primeros caracteres serán leídos. (Un cero retorna el valor predeterminado de 82.) Esta es la palabra 1 en el bloque de control. • Los caracteres leídos (.POS) son el número de caracteres que el procesador ha transferido del búfer a la cadena (0 a 82). Este campo se actualiza durante la ejecución de la instrucción y es de visualización solamente. Esta es la palabra 2 en el bloque de control. • El error muestra el código de error hexadecimal que indica por qué el bit ER se estableció en el archivo de datos de control (R6:). Vea la página 10–29 para obtener descripciones del código de error. Ejemplo ARD ASCII READ Channel Destination I:1 10 Control 0 ST52:76 R6:23 String Length 50 Characters Read EN DN ER ! ! Error 00 0 3 3 ASCII READ Channel Dest Control String Length Characters Read Error (EN) (DN) ARD (ER)
  • 330.
    Manual de referenciadel juego de instrucciones 10–18 Cuando el renglón va de falso a verdadero, el bit de habilitación (EN) se establece. Cuando la instrucción se coloca en la cola ASCII, el bit de cola (EU) se establece. El bit de marcha (RN) se establece cuando la instrucción se está ejecutando. El bit DN se establece una vez completada la instrucción. Una vez que el número de caracteres solicitado está en el búfer, los caracteres se transfieren a la cadena destino. El número de caracteres transferido se coloca en el campo POS del bloque de control. El número en el campo de lectura de caracteres se actualiza continuamente y el bit de efectuado (DN) no se establece sino hasta que todos los caracteres hayan sido leídos. Cuando el programa escanea la instrucción y encuentra el bit de efectuado (DN) establecido, el procesador establece el bit de efectuado síncrono (EM). El bit EM sirve como bit de efectuado secundario correspondiente al escán de programa. El bit de error (ER) se establece durante la ejecución de la instrucción si: • la instrucción se cancela – el puerto en serie no está en el modo de usuario • el módem está desconectado (la selección de línea de control es diferente a “NO HANDSHAKING”) • la instrucción se cancela debido a un cambio de modo de canal • el bit de descarga (UL) está establecido. La instrucción deja de ejecutar, pero los caracteres recibidos se envían al destino. • un ACL para borrar el búfer de recepción se ejecuta, eliminando así la instrucción ARD de la cola ASCII.
  • 331.
    Instrucciones ASCII 10–19 Diagrama detemporización para una instrucción exitosa ARD, ARL, AWA y AWT , , $ $, $ $ $% $ $ $% #+ - , # - #$%, # *'$ - %, #$%, # !$ - #$%, # # ! ! ( #!%*# $ %, - , # # - #$%, #$) # #$) %$ $
  • 332.
    Manual de referenciadel juego de instrucciones 10–20 Lectura ASCII de línea (ARL) Use la instrucción ARL para leer caracteres desde el búfer, hasta e incluyendo los caracteres de fin de línea (terminación), y almacenarlos en una cadena. Los caracteres de fin de línea son especificados vía la pantalla de configuración ASCII. Cómo introducir parámetros Introduzca los parámetros siguientes al programar esta instrucción: • El canal es el número del puerto RS-232 (canal 0). • El destino es el elemento de cadena donde desea almacenar los caracteres. • El control es la dirección del bloque de control usado para almacenar datos para la instrucción ARL. • La longitud de cadena (LEN) es el número de caracteres que desea leer desde el búfer. El máximo es 82 caracteres. Si especifica una longitud mayor que 82, solamente los 82 primeros caracteres serán leídos y transferidos al destino. (Un 0 retorna al valor predeterminado de 82.) Esta es la palabra 1 en el bloque de control. • Los caracteres leídos (POS) son el número de caracteres que el procesador ha transferido del búfer a la cadena (0 a 82). Este campo es de visualización solamente y reside en la palabra 2 del bloque de control. • El error muestra el código de error hexadecimal que indica por qué el bit ER se estableció en el archivo de datos de control (R6:). Vea la página 10–29 para obtener descripciones del código de error. Ejemplo ARL ASCII READ LINE Channel Destination I:1 10 Control 0 ST52:72 R6:23 String Length Characters Read 18 0 EN DN ER $ ! Error 00 3 3 ASCII Read Line Channel Dest Control String Length Characters Read Error (EN) (DN) ARL (ER) #
  • 333.
    Instrucciones ASCII 10–21 Cuando elrenglón va de falso a verdadero, el bit de habilitación (EN) de elemento de control se establece. Cuando la instrucción se coloca en la cola ASCII, el bit de cola (EU) se establece. El bit de marcha (RN) se establece cuando la instrucción se está ejecutando. El bit DN se establece a la finalización de la instrucción. Una vez que el número de caracteres solicitado está en el búfer, todos los caracteres (incluyendo los caracteres de fin de línea) se transfieren a la cadena destino. El número de caracteres transferido se almacena en la palabra POS del bloque de control. El número en el campo de caracteres leídos se actualiza continuamente y el bit de efectuado (DN) no se establece hasta que todos los caracteres hayan sido leídos. Excepción: Si el procesador encuentra caracteres de terminación antes de finalizar la lectura, el bit de efectuado (DN) se establece y el número de caracteres encontrado se almacena en la palabra POS del bloque de control. Cuando el programa escanea la instrucción y encuentra el bit de efectuado (DN) establecido, el procesador establece el bit síncrono (EM). El bit EM sirve como bit de efectuado secundario correspondiente al escán de programa. El bit de error (ER) se establece durante la ejecución de la instrucción si: • la instrucción es cancelada – el puerto en serie no está en el modo de usuario • el módem está desconectado (la selección de línea de control es diferente a “NO HANDSHAKING”) • la instrucción se cancela debido a un cambio de modo de canal • el bit de descarga (UL) está establecido. La instrucción deja de ejecutar, pero los caracteres recibidos se envían al destino. • un ACL para borrar el búfer de recepción se ejecuta eliminando así la instrucción ARD de la cola ASCII. Nota Para obtener información acerca de la temporización de esta instrucción, refiérase al diagrama de temporización en la página 10–19.
  • 334.
    Manual de referenciadel juego de instrucciones 10–22 Búsqueda de cadena (ASC) Use la instrucción ASC para buscar una cadena existente en coincidencia con la cadena fuente. Cómo introducir parámetros Introduzca los parámetros siguientes al programar esta instrucción: • La fuente es la cadena que desea encontrar cuando examina la cadena fuente. • El índice es la posición inicial (de 1 a 82) de la porción de la cadena que desea encontrar. (Un índice de 0 indica el carácter del extremo izquierdo de la cadena.) • La búsqueda es la cadena que desea examinar. • El resultado es un entero donde el procesador almacena la posición de cada cadena de búsqueda donde la cadena fuente comienza. Si no hay ninguna coincidencia, no ocurren cambios. Ejemplo ASC STRING SEARCH Source Index I:1 10 Search Result ST38:40 35 ST52:80 N10:0 ! ! !# ! ! #! ! ! ! Las condiciones siguientes causan que el procesador establezca el bit de error ASCII (S:5/15). • longitud de cadena inválida o longitud de cadena de cero • valor de índice fuera de rango • valor de índice mayor que la longitud de la cadena fuente El destino no cambia en ninguna de las condiciones anteriores. 3 3 STRING SEARCH Source Index Search Result ASC !$
  • 335.
    Instrucciones ASCII 10–23 Comparación decadena ASCII (ASR) Use la instrucción ASR para comparar dos cadenas ASCII. El sistema busca una coincidencia en longitud y caracteres en mayúscula/minúscula. Si dos cadenas son idénticas, el renglón es verdadero; si existen diferencias, el renglón es falso. Cómo introducir parámetros Introduzca los parámetros siguientes al programar esta instrucción: • La fuente A es la cadena uno que se va a comparar. • La fuente B es la cadena dos que se va a comparar. Ejemplo ASR ASCII STRING COMPARE Source A Source B O:1 1 ST37:42 ST38:90 Una longitud de cadena inválida causa que el procesador establezca el bit de error ASCII S:5/15 y el renglón se hace falso. 3 3 ASCII STRING COMPARE Source A Source B ASR
  • 336.
    Manual de referenciadel juego de instrucciones 10–24 Escritura ASCII con anexo (AWA) Use la instrucción AWA para escribir caracteres desde una cadena fuente a un dispositivo externo. Esta instrucción añade los dos caracteres anexos que usted configura en la pantalla de configuración ASCII. Los caracteres predeterminados son un retorno de carro y un avance de línea anexados al final de la cadena. Cuando usa esta instrucción, también puede realizar la indirección en línea. Vea la página 10–26 para obtener más información. Cómo introducir parámetros Introduzca los parámetros siguientes al programar esta instrucción: • El canal es el número del puerto RS-232 (canal 0). • La fuente es el elemento de cadena que desea escribir. • El control es el área que almacena el registro de control requerido para operar la instrucción. • La longitud de cadena (.LEN) es el número de caracters que desea escribir desde la cadena fuente (0 a 82). Si introduce un 0, toda la cadena se escribirá. Esta es la palabra 1 en el bloque de control. • Los caracteres enviados (.POS) son el número de caracteres que el procesador ha enviado al área de pantalla (0 a 82). Este campo se actualiza continuamente durante la ejecución de la instrucción. Este valor puede ser mayor que la longitud de cadena si los caracteres anexados o valores insertados de la indirección en línea se usan. Si la longitud de cadena es mayor que 82, la cadena escrita al destino será truncada a 82 caracteres. Esta es la palabra 2 en el bloque de control. • El error muestra el código de error hexadecimal que indica por qué el bit ER se estableció en el archivo de datos de control (R6:). Vea la página 10–29 para obtener descripciones del código de error. Ejemplo AWA ASCII WRITE APPEND Channel Source I:1 10 Control 0 ST37:42 R6:23 String Length Characters Sent 25 0 EN DN ER ! $ # % ! ! # % Error 00 3 3 ASCII WRITE APPEND Channel Source Control String Length Characters Sent Error (EN) (DN) AWA (ER) !
  • 337.
    Instrucciones ASCII 10–25 Cuando elrenglón va de falso a verdadero, el bit de habilitación de elemento de control (EN) se establece. Cuando la instrucción se coloca en la cola ASCII, el bit de cola (EU) se establece. El bit de marcha (RN) se establece cuando la instrucción se está ejecutando. El bit DN se establece al final de la instrucción. El sistema envía 25 caracteres desde el inicio de la cadena ST37:42 al dispositivo de pantalla y luego envía caracteres anexos configurados por el usuario. El bit de efectuado (DN) se establece y un valor de 27 está presente en la palabra .POS del bloque de control ASCII. Cuando el programa escanea la instrucción y encuentra el bit de efectuado (DN) establecido, el procesador establece el bit de efectuado síncrono (EM) para servir como bit de efectuado secundario correspondiente al escán de programa. El bit de error (ER) se establece durante la ejecución de la instrucción si: • la instrucción se cancela – el puerto en serie no está en el modo de usuario • el módem está desconectado (la selección de línea de control es diferente a “NO HANDSHAKING”) • la instrucción se cancela debido a un cambio de modo de canal • el bit de descarga (UL) está establecido. La instrucción deja de ejecutar, pero los caracteres recibidos se envían al destino. • un ACL para borrar el búfer de recepción se ejecuta, eliminando así la instrucción ARD de la cola ASCII. Nota Para obtener información acerca de la temporización de esta instrucción, refiérase al diagrama de temporización en la página 10–19.
  • 338.
    Manual de referenciadel juego de instrucciones 10–26 Cómo usar la indirección en línea Esto le permite insertar valores enteros y de punto (coma) flotante en cadenas ASCII. El bit de marcha (RN) se debe establecer antes de que el valor de cadena se pueda usar. Las condiciones siguientes se aplican al realizar la indirección en línea: • todos los archivos válidos enteros (N) y de punto (coma) flotante (F) se pueden usar. Los rangos válidos incluyen 7, 8 y 9–255. • los tipos de archivo no son sensibles al uso de mayúsculas/minúsculas y pueden incluir dos puntos (:) o un punto y coma (;) • los valores positivos y ceros delanteros no se imprimen. Los valores negativos se imprimen con un signo menos delantero. Ejemplos Para los ejemplos siguientes: N7:0 = 250 N7:1 = –37 F8:0 = 2.015000 F8:1 = 0.873000 Indirección en línea válida: • Entrada: El caudal actual es [N7:0] GPH y contiene [F8:0] PPM de contaminantes. Salida: El caudal actual es 250 GPH y contiene 2.015000 PPM de contaminantes. • Entrada: La posición actual es [N5:1] a la velocidad de [F8:1] RPM. Salida: La posición actual es –37 a la velocidad de 0.873000 RPM. Indirección en línea no válida: • Entrada: La posición actual es [N5:1] a la velocidad de [F8:1] RPM. Salida: La posición actual es [N5:1] a la velocidad de 0.873000 RPM. Nota La truncación ocurre en la cadena de salida si la indirección causa que la salida exceda 80 caracteres. Los caracteres anexos siempre se aplican a la salida.
  • 339.
    Instrucciones ASCII 10–27 Escritura ASCII(AWT) Use la instrucción AWT para escribir caracteres desde una cadena fuente a un dispositivo externo. Para repetir la instrucción, el renglón debe ir de falso a verdadero. Cuando usa esta instrucción, también puede realizar la indirección en línea. Vea la página 10–26 para obtener más información. Cómo introducir parámetros Introduzca los parámetros siguientes al programar esta instrucción: • El canal es el número del puerto RS-232 (canal 0). • La fuente es el elemento de cadena que desea escribir. • El control es el área que almacena el registro de control requerido para operar la instrucción. • La longitud de cadena (.LEN) es el número de caracteres que desea escribir desde la cadena fuente (0 a 82). Si introduce un 0, toda la cadena se escribirá. • Los caracteres enviados (.POS) son el número de caracteres que el procesador ha enviado al área de pantalla (0 a 82). Este campo se actualiza solamente después de que toda la cadena se ha enviado (no se almacena el total corriente para cada carácter). Este campo es de visualización solamente. Este valor puede ser mayor que la longnitud de cadena si los caracteres anexados o valores insertados de la indirección en línea se usan. Si la longitud de cadena es mayor que 82, la cadena escrita al destino será truncada a 82 caracteres. • El error muestra el código de error hexadecimal que indica por qué el bit ER se estableció en el archivo de datos de control (R6:). Vea la página 10–29 para obtener descripciones del código de error. Ejemplo AWT ASCII WRITE Channel Source I:1 10 Control 0 ST37:20 R6:23 String Length Characters Sent 40 EN DN ER Error 3 3 ASCII WRITE Channel Source Control String Length Characters Sent Error (EN) (DN) AWT (ER)
  • 340.
    Manual de referenciadel juego de instrucciones 10–28 Cuando el renglón va de falso a verdadero, el bit de habilitación (EN) de elemento de control se establece. Cuando la instrucción se coloca en la cola ASCII, el bit de cola (EU) se establece. El bit de marcha (RN) se establece cuando la instrucción se está ejecutando. Cuarenta caracteres desde la cadena ST37:40 son enviados a través del canal 0. El bit de efectuado (DN) se establece cuando la instrucción se está ejecutando. El bit DN se establece al final de la instrucción. Cuando el programa escanea la instrucción y encuentra el bit de efectuado (DN) establecido, el procesador establece el bit de efectuado síncrono (EM) para servir como bit de efectuado secundario correspondiente al escán del programa. El bit de error (ER) se establece durante la ejecución de la instrucción si: • la instrucción se cancela – el puerto en serie no está en el modo de usuario • el módem está desconectado (la selección de línea de control no es “NO HANDSHAKING”) • la instrucción se cancela debido a un cambio de modo de canal • el bit de descarga (UL) está establecido. La instrucción deja de ejecutar, pero los caracteres recibidos se envían al destino. • un ACL para borrar el búfer de recepción se ejecuta eliminando así la instrucción ARD de la cola ASCII. Nota Para obtener información acerca de la temporización de esta instrucción, refiérase al diagrama de temporización en la página 10–19.
  • 341.
    Instrucciones ASCII 10–29 Códigos deerror de instrucción ASCII Los códigos de error siguientes indican por qué el bit de error (ER) se establece en el archivo de datos de control (R6:). Código de error (HEX) Condiciones que resultan en el establecimiento del bit ER Acción recomendada $(9( ,,), $(-.,/$8( - )'* .8 1$.)-' (. $(/( , +/ ,$ )* ,$8( () - */ )'* ., *),+/ '8 ' -.4 !/ , 6( ,$!$+/ ) '8 ' ( )'/($$8( $ ( -.4 )(!$/,) *, )'/($$8( )( '8 ' - 6( - .)-:*),.),: . $8( 2 .)-: -. $'$ (.):$-.) ( ( -., .$0- *, +/ '8 ' -.5 ( 6( .,(-'$-$8( () - */ )'* ., *),+/ - 7 ),,) *, (0$, - * ,$8 ,$!$+/ '8 ' 2 - )( 1$)( - ) '8 ' ) */ , $3, , *$8( *),+/ ( )'/($$8( -.4 )(!$/,) *, ')) -$-. ' / 0 )(!$/,, ( )'/($$8( *, ')) /-/,$) )'/($$8( ')) -$-. ' - . .8 /,(. $(. (.) , $3, .,(-'$-$)( ,$!$+/ +/ '8 ' -.5 ( 6( 2 - )'/($+/ )( )- $-*)-$.$0)- ( -,$)- ) */ ! ./, , *$8( ) .,(-'$-$8( *),+/ )(!$/,$8( ( # -$) -.$0 06 ' (9 )(!$/,$8( ( / 0 )(!$/,, ' (9 )(!$/,$8( ( 2 , $(. (. )* ,$8( ) */ , $3, -,$./, $) /( .,(-'$-$8( ( *,), -) / 0 (0$, .,(-'$-$8( )'/($$8( -)$$. () - )'*.$ )( )(!$/,$8( ( ./ ( -.4 )(!$/,) *, : '$ (.,- +/ $(. (. /( .,(-'$-$8( ) /( )(.,) )'/($$8( '8 ' )(!$/, ( *, 9* 1 .). $. -, - -. $8 ) +/ ./0) % /$)( $(-.,/$8( $(/( , +/ ,$
  • 342.
    Preface Manual de referenciadel juego de instrucciones 10–30 Código de error (HEX) Acción recomendada Condiciones que resultan en el establecimiento del bit ER % $ % !# $ '* $ -# '* ( # , ! $ $%# $ ( %# ) % '* ( #%% !#, % % $ '* -# %' ( # , ! $ $%# $ ( %# ) % '* ( #%% !#, % $ % %# $ -# %' ' # ( # %+ % ! $ $%# $ ( %# ) % '* ( #%% !#, $%#, ## #, ##
  • 343.
    Instrucciones ASCII 10–31 Tabla deconversión ASCII La tabla siguiente lista las conversiones decimales, hexadecimales, octales y ASCII. Columna 1 Columna 2 Columna 3 Columna 4 DEC HEX OCT ASC DEC HEX OCT ASC DEC HEX OCT ASC DEC HEX OCT ASC 00 01 02 03 04 05 06 07 08 09 10 11 12 13 14 15 16 17 18 19 20 21 22 23 24 25 26 27 28 29 30 31 00 01 02 03 04 05 06 07 08 09 0A 0B 0C 0D 0E 0F 10 11 12 13 14 15 16 17 18 19 1A 1B 1C 1D 1E 1F 000 001 002 003 004 005 006 007 010 011 012 013 014 015 016 017 020 021 022 023 024 025 026 027 030 031 032 033 034 035 036 037 NUL SOH STX ETX EOT ENQ ACK BEL BS HT LF VT FF CR SO SI DLE DC1 DC2 DC3 DC4 NAK SYN ETB CAN EM SUB ESC FS GS RS US 32 33 34 35 36 37 38 39 40 41 42 43 44 45 46 47 48 49 50 51 52 53 54 55 56 57 58 59 60 61 62 63 20 21 22 23 24 25 26 27 28 29 2A 2B 2C 2D 2E 2F 30 31 32 33 34 35 36 37 38 39 3A 3B 3C 3D 3E 3F 040 041 042 043 044 045 046 047 050 051 052 053 054 055 056 057 060 061 062 063 064 065 066 067 070 071 072 073 074 075 076 077 SP ! # $ % ' ( ) * + , - . / 0 1 2 3 4 5 6 7 8 9 : ; = ? 64 65 66 67 68 69 70 71 72 73 74 75 76 77 78 79 80 81 82 83 84 85 86 87 88 89 90 91 92 93 94 95 40 41 42 43 44 45 46 47 48 49 4A 4B 4C 4D 4E 4F 50 51 52 53 54 55 56 57 58 59 5A 5B 5C 5D 5E 5F 100 101 102 103 104 105 106 107 110 111 112 113 114 115 116 117 120 121 122 123 124 125 126 127 130 131 132 133 134 135 135 137 @ A B C D E F G H I J K L M N O P Q R S T U V W X Y Z [ ] ^ _ 96 97 98 99 100 101 102 103 104 105 106 107 108 109 110 111 112 113 114 115 116 117 118 119 120 121 122 123 124 125 126 127 60 61 62 63 64 65 66 67 68 69 6A 6B 6C 6D 6E 6F 70 71 72 73 74 75 76 77 78 79 7A 7B 7C 7D 7E 7F 140 141 142 143 144 145 146 147 150 151 152 153 154 155 156 157 160 161 162 163 164 165 166 167 170 171 172 173 174 175 176 177 a b c d e f g h i j k l m n o p q r s t u v w x y z { . } ~ DEL
  • 344.
    Manual de referenciadel juego de instrucciones 10–32
  • 345.
    Cómo comprender lasrutinas de interrupción 11–1 11 Cómo comprender las rutinas de interrupción Este capítulo contiene información general acerca de rutinas de interrupción y explica cómo funcionan en su programa de lógica. Cada rutina de interrupción incluye: • una descripción general • el procedimiento de programación • la descripción operacional • la descripción del bit asociado Además, cada rutina de interrupción contiene un ejemplo de aplicación que muestra el uso de la rutina de interrupción. Rutinas de interrupción Instrucción Propósito Página Mnemónico Nombre Propósito Página # $ 11-2 STI # ! # 11-7 DII # # # 11-19 ISR # # # 11-30
  • 346.
    Preface Manual de referenciadel juego de instrucciones 11–2 Descripción general de la rutina de fallo de usuario La rutina de fallo de usuario le proporciona la opción de evitar una parada del procesador cuando ocurre un fallo de usuario específico. El archivo se ejecuta cuando ocurre cualquier fallo de usuario recuperable o no recuperable. El archivo no se ejecuta para fallos de no usuario. Esto se efectúa programando una subrutina de escalera y luego especificando dicha subrutina como la rutina de fallo en palabra S:29 en el archivo de estado. Usted puede manejar un número de fallos de usuario de esta manera según se muestra en el ejemplo de la página 11–4. Los fallos son clasificados como fallos de usuario recuperables o no recuperables y fallos no atribuibles al usuario. Una lista completa de los fallos aparece en el apéndice A y B para los controladores MicroLogix 1000 y los procesadores SLC respectivamente. Fallo de no usuario Fallo de usuario no recuperable Fallo de usuario recuperable Nota: Datos de archivo de estado guardados Los datos en las palabras siguientes se guardaron durante la entrada a la subrutina de fallo de usuario y se volvieron a escribir cuando salieron de la subrutina. • Indicadores aritméticos S:0 • Registro matemático S:13 y S:14 • Registro de índice S:24 3 3 3 3
  • 347.
    Cómo comprender lasrutinas de interrupción 11–3 Cómo crear una subrutina de fallo de usuario Para usar la subrutina de fallo de usuario: 1. Cree un archivo de subrutina: • El rango válido del procesador SLC es 3–255 • MicroLogix 1000 designa el archivo 3 2. Introduzca el número de archivo en palabra S:29 del archivo de estado. Nota No se requiere ninguna acción para los usuarios de MicroLogix 1000. S:29 está reservado Operación del procesador SLC La coincidencia de fallos de usuario recuperables y no recuperbles causa que el procesador lea S:29 y ejecute el número de subrutina contenido en S:29. Si el fallo es recuperable, la rutina se puede usar para corregir el problema y poner a cero el bit de fallo S:1/13. Luego el procesador continúa en el modo de marcha REM. La rutina no se ejecuta para los fallos no atribuibles al usuario. Las palabras S:20 y S:21 se pueden examinar en su rutina de fallo para precisar el número de archivo y renglón donde el fallo ocurrió. Si el fallo ocurrió fuera del escán de escalera, este valor contendrá el número de renglón donde la instrucción TND, END o REF esté ubicada. Use las palabras S:20 y S:21 con su rutina de fallo de protección al momento de encendido para determinar el punto exacto en que ocurrió la parada de alimentación eléctrica anterior. Refiérase al apéndice B para obtener más información acerca del bit de fallo de protección al momento de encendido S:1/9. Nota Para los procesadores SLC 5/02, es necesario guardar su programa con la prueba de un solo paso seleccionada para que S:20 y S:21 se activen. Para los procesadores SLC 5/03 y SLC 5/04, si su programa contiene cuatro instrucciones de mensaje con el bit de operación continua (CO) establecido, la instrucción de mensaje de la rutina de fallo no se ejecutará. Operación del procesador MicroLogix La coincidencia de fallos de usuario recuperables y no recuperables causa que el archivo 3 se ejecute. Si el fallo es recuperable, la rutina se puede usar para corregir el problema y poner a cero el bit de fallo S:1/13. Luego el procesador continúa en el modo de marcha REM. La rutina no se ejecuta para los fallos no atribuibles al usuario.
  • 348.
    Manual de referenciadel juego de instrucciones 11–4 Ejemplo de aplicación de la rutina de interrupción de usuario Digamos que tiene un programa en que desea controlar los errores mayores 0020 (MINOR ERROR AT END OF SCAN) y 0034 (NEGATIVE VALUE IN TIMER PRE OR ACC) bajo las condiciones siguientes: • Evitar una parada del procesador si el bit de interrupción por overflow S:5/0 está establecido. Permitir una parada del procesador cuando S:5/0 se establece más de cinco veces. • Evitar una parada del procesador si el valor de acumulador del temporizador T4:0 se hace negativo. Poner a cero el valor de acumulador negativo. Activar una salida para indicar que el acumulador se ha hecho negativo una vez o más. • Permitir una parada del procesador para todos los otros fallos de usuario. Un posible método de realizar lo anterior se muestra en los ejemplos siguientes. La rutina de fallo de usuario se designa como archivo 3. Cuando ocurre un error de usuario recuperable o no recuperable, el procesador escanea el archivo de subrutina 3. El procesador salta al archivo 4 si el código de error es 0020 y salta al archivo 5 si el código de error es 0034. Para todos los otros errores recuperables y no recuperables, el procesador sale de la rutina de fallo y detiene la operación en el modo de fallo. Rutina de fallo – Archivo de subrutina 3 END EQU EQUAL Source A S:6 0 Source B 32 #% #$ JSR JUMP TO SUBROUTINE SBR file number 4 JSR JUMP TO SUBROUTINE SBR file number 5 EQU EQUAL Source A S:6 0 Source B 52 #% #$ !
  • 349.
    Cómo comprender lasrutinas de interrupción 11–5 Archivo de subrutina 4 – Ejecutado para error 0020 END SBR SUBROUTINE RET RETURN GRT GREATER THAN Source A C5:0.ACC 0 Source B 5 (CU) (DN) CTU COUNT UP Counter C5:0 Preset 120 Accum 0 (U) S:5 0 ] [ S:5 0 (U) C5:0 CU (U) S:1 13 RET RETURN ] [ S:5 0 Si el bit de interrupción por overflow está establecido, S:5/0 se establece y el contador C5:0 incrementa. Si el conteo de C5:0 es 5 ó menor, el bit de interrupción por overflow S:5/0 se pone a cero, el bit de error mayor detenido S:1/13 se pone a cero y el procesador permanece en el modo de marcha REM. Si el conteo es mayor que 5, el procesador establece S:5/0 y S:1/13 y entra en el modo de fallo. Este archivo de subrutina también se ejecuta si el bit de error de registro de control S:5/2 se establece. En dicho caso, el procesador se pone en el modo de fallo.
  • 350.
    Manual de referenciadel juego de instrucciones 11–6 Archivo de subrutina 5 – Ejecutado para error 0034 END (U) S:1 13 RET RETURN SBR SUBROUTINE LES LESS THAN Source A T4:0.ACC 0 Source B 0 CLR CLEAR Dest T4:0.ACC 0 ( ) O:3.0 3 Si el valor de acumulador del temporizador T4:0 es negativo, el bit de error mayor detenido S:1/13 se desenclava evitando así que el procesador entre en el modo de fallo. Simultáneamente, el valor de acumulador T4:0 ACC se pone a cero y la salida O:3.0/3 se activa. El código de fallo 0034 se muestra en el archivo de estado. Si el valor preseleccionado del temporizador T4:0 es negativo, S:1/13 permanece establecido y el procesador entra en el modo de fallo (O:3.0/3 se restablece si se estableció anteriormente). Además, si el valor preseleccionado o de acumulador de cualquier otro temporizador en el programa es negativo, S:1/13 se establece y el procesador entra en el modo de fallo. Si se estableció anteriormente, O:3.0/3 se restablece.
  • 351.
    Cómo comprender lasrutinas de interrupción 11–7 Descripción general de la interrupción temporizada seleccionable Esta función le permite interrumpir el escán del procesador automáticamente, de manera periódica, para escanear una archivo de subrutina especificado. Después, el procesador reanuda la ejecución a partir del punto en que fue interrumpida. Esta sección describe: • El procedimiento de programación STI • La operación STI • Los parámetros STI • Las instrucciones STD y STE • La instrucción STS Procedimiento de programación básico para la función STI Para usar la función STI en su archivo de aplicación: 1. Cree un archivo de subrutina e introduzca los renglones de escalera deseados. Este es su archivo de subrutina STI. • El rango válido de los procesadores SLC es 2–355 • Los controladores MicroLogix 1000 designan archivo 5 2. Procesadores SLC Introduzca el número de archivo de subrutina STI en la palabra S:31 del archivo de estado. Refiérase a la página B–57 de este manual para obtener más información. Un número de archivo de cero inhabilita la función STI. 3. Introduzca el punto de ajuste (el tiempo entre interrupciones sucesivas) en la palabra S:30 del archivo de estado. Refiérase a la página A–17 para los controladores MicroLogix 1000 ó la página B–57 para los procesadorss SLC a fin de obtener más información. • Para el SLC 5/02 y los controladores MicroLogix 1000, el rango es 10–2550 ms (introducidos en incrementos de 10 ms). Un punto de ajuste de cero inhabilita la función STI. • Para los procesadores SLC 5/03 y SLC 5/04, el rango es de 1–32,767 ms (introducidos en incrementos de 1 ms). Un punto de ajuste de cero inhabilita la función STI. Refiérase al apéndice B de este manual para obtener más información acerca del bit de resolución STI S:2/10. 3 3 3 3
  • 352.
    Manual de referenciadel juego de instrucciones 11–8 Nota El valor del punto de ajuste debe ser mayor que el tiempo de ejecución del archivo de subrutina STI, de lo contrario un bit de error menor se establece. Para todos los procesadores, el bit de pendiente STI y el bit de sobremarcha STI se establecerán. Además, para los procesadores SLC 5/03 y SLC 5/04 y los controladores MicroLogix 1000, el bit último STI se puede establecer. Operación Después de que usted restaura el programa y entra en el modo de marcha REM, el STI comienza la operación según lo siguiente: 1. El temporizador STI comienza a temporizar. 2. Cuando el intervalo STI caduca, el temporizador STI se restablece, el escán del procesador se interrumpe y el archivo de subrutina STI se escanea. 3. Si otra interrupción STI ocurre durante la ejecución de la subrutina STI, el bit de pendiente STI se establece. 4. Si el temporizador STI caduca durante el estado pendiente de un STI, el bit de perdido STI se establece. (Para los procesadores SLC 5/02, el bit de sobremarcha se establece.) 5. Cuando el escán de subrutina STI se finaliza, el escán del archivo de programa principal se reanuda al punto en que se detuvo, a menos que haya un STI pendiente. En dicho caso, la subrutina se vuelve a escanear inmediatamente. 6. El ciclo se repite. A título de identificación de su subrutina STI, incluya una instrucción INT como la primera instrucción en el primer renglón del archivo. Contenido de la subrutina STI La subrutina STI contiene los renglones de su lógica de aplicacion. Puede programar toda instrucción dentro de la subrutina STI con la excepción de una instrucción TND, REF o SVC. Las instrucciones IIM o IOM son necesarias en una subrutina STI si su aplicación requiere la actualización inmediata de puntos de entrada o salida. Termine la subrutina STI con una instrucción RET. La profundidad de pila JSR se limita a 3. Puede llamar otras subrutinas a un nivel de profundidad de 3 desde una subrutina STI.
  • 353.
    Cómo comprender lasrutinas de interrupción 11–9 Latencia de interrupción y coincidencias de interrupción La latencia de interrupción es el intervalo entre el límite de tiempo sobrepasado y el inicio de la subrutina de interrupción. Las interrupciones STI pueden ocurrir en cualquier punto en su programa, pero no necesariamente al mismo punto en interrupciones sucesivas. Las tablas siguientes muestran la interacción entre una interrupción y el ciclo de operación del procesador. Procesadores SLC SLC 5/02 STI SLC 5/03 y SLC 5/04 STI con el bit S:33/8 establecido SLC 5/03 y SLC 5/04 STI con el bit S:33/8 puesto a cero Microcontrolador STI Processor Overhead Communications Output Scan Program Scan Input Scan Controller Overhead Communication Output Scan Program Scan Input Scan
  • 354.
    Preface Manual de referenciadel juego de instrucciones 11–10 Observe que el tiempo de ejecución se añade directamente al tiempo de escán global. Durante el período de latencia, el procesador está efectuando operaciones que no pueden ser interrumpidas por la función de interrupción STI. Los períodos de latencia son: • Las interrupciones de los procesadores SLC 5/02 y los controladores MicroLogix 1000 reciben servicio dentro de 2.4 ms como máximo. • Procesadores SLC 5/03 y SLC 5/04 – Si una interrupción ocurre mientras que el procesador realiza una actualización de ranura de palabras múltiples y su subrutina de interrupción accede a la misma ranura, la transferencia de palabras múltiples se finaliza antes de realizar el acceso de ranura de subrutina de interrupción. El bit de control de latencia de interrupción (S:33/8) funciona de la manera siguiente: – Cuando el bit se establece (1), las interrupciones reciben servicio dentro del tiempo de latencia de interrupción. Refiérase al apéndice B para obtener más información acerca de cómo calcular la latencia de interrupción. – Cuando el bit se pone a cero (0), los INT reciben servicio por renglón, ranura y tiempo de ejecución de paquete. El estado predeterminado se borra (0). Para determinar la latencia de interrupción con S:33/8 puesto a cero, debe calcular el tiempo de ejecución de cada renglón en su programa. Use el tiempo de ejecución calculado más largo más 500 µs como su latencia de interrupción máxima. Prioridades de interrupción Las prioridades de interrupción para los procesadores son: Controlador MicroLogix 1000 Procesador SLC 5/02 Procesador SLC 5/03 y SLC 5/04 Una interrupción que se está ejecutando sólo puede ser interrumpida por una interrupción con una prioridad más alta.
  • 355.
    Cómo comprender lasrutinas de interrupción 11–11 Datos de archivo de estado guardados Los datos en las palabras siguientes se guardaron durante la entrada en la subrutina STI y se volvieron a escribir cuando salieron de la subrutina STI. • Indicadores aritméticos S:0 • Registro matemático S:13 y S:14 • Registro de índice S:24 Parámetros STI Los parámetros siguientes son asociados con la función STI. Estos parámetros tienen direcciones de archivo de estado que se describen aquí y también en el apéndice A y apéndice B de este manual. • Número de archivo STI (palabra S:31) – Este puede ser cualquier número de 3–255. Un valor de cero inhabilita la función STI. Un número inválido genera el fallo 0023. Esta palabra no se aplica a los controladores MicroLogix 1000. • Punto de ajuste (palabra S:30) – Este es el tiempo entre el punto de inicio de escanes sucesivos del archivo STI. Puede ser cualquier valor de 10 a 2550 milisegundos. Usted introduce un valor de 1 a 255, lo que resulta en un punto de ajuste de 10–2550 ms. Un valor de cero inhabilita la función STI. Un tiempo inválido genera el fallo 0024. Si el STI se inicia en el modo de marcha REM cargando los registros de estado, la interrupción comienza a temporizar desde el final del escán de programa en que los registros de estado se cargaron. Específico para SLC 5/03 y SLC 5/04 – Si S:2/10 está establecido, el tiempo se da en incrementos de 1 ms. Si este bit se pone a cero, el tiempo se da en incrementos de 10 ms. • Bit de pendiente STI (S:2/0) – Este bit se establece cuando el temporizador STI ha sobrepasado el límite de tiempo y la rutina STI está esperando su ejecución. Este bit se restablece al inicio de la rutina STI, ejecución de una instrucción STS verdadera, momento de encendido o salida del modo de marcha REM o de prueba. Específico para SLC 5/02 – El bit de pendiente STI no se establecerá si el temporizador STI caduca durante la ejecución de la rutina de fallo. Específico para SLC 5/03 y SLC 5/04 – Este bit se establece si el temporizador STI caduca durante la ejecución de la subrutina DII o la rutina de fallo.
  • 356.
    Manual de referenciadel juego de instrucciones 11–12 • Bit de habilitación STI (S:2/1) – El valor predeterminado es 1 (establecido). Cuando un número de archivo entre 3 y 255 está presente en la palabra S:31 y un valor de punto de ajuste entre 1 y 255 está presente en la palabra S:30, un bit de habilitación establecido permite el escán del archivo STI. Si el bit está restablecido por una instrucción STD, el escán del archivo STI ya no ocurre. Si el bit está establecido por una instrucción STE o STS, el escán se permite nuevamente. El bit de habilitación sólo habilita/inhabilita el escán de la subrutina STI. No afecta el temporizador STI. La instrucción STS afecta el bit de habilitación y el temporizador STI. El estado predeterminado se habilita. Si este bit se establece o se restablece usando la instrucción STE, STD o STS, la habilitación/inhabilitación se realiza inmediatamente. Si este bit se establece en el programa de usuario utilizando una instrucción que no sea STE, STD o STS, se realiza durante el próximo final de escán. Controlador MicroLogix 1000 – Este bit se establece o se restablece usando una instrucción STS, STE o STD. Si se establece, permite la ejecución del STI si el punto de ajuste STI S:30 no es cero. Si se ha puesto a cero, cuando ocurre una interrupción, la subrutina STI no se ejecuta y el bit de pendiente STI se establece. Específico para SLC 5/02 – Si está establecido o restablecido por el programa de usuario o comunics., no se activará sino hasta el próximo final de escán. Específico para SLC 5/03 y SLC 5/04 – Si este bit está establecido o restablecido por el programa de usuario o comunics., se activará al momento de caducidad del temporizador STI o durante el próximo final de escán (cualquiera que ocurra primero). • Bit de ejecución STI (S:2/2) – Este bit se establece cuando el archivo STI está siendo escaneado y se pone a cero cuando el escán se finaliza. El bit también se pone a cero al momento de encendido y a la entrada en el modo de marcha REM. • Bit de selección de resolución STI (S:2/10) – Este bit se pone a cero predeterminadamente. Cuando se ha puesto a cero, este bit selecciona un incremento de 10 ms para el valor de punto de ajuste STI (S:30). Cuando se establece, este bit selecciona un incremento de 1 ms para el valor de punto de ajuste (S:30). Para programar esta característica, use la función del monitor de datos para establecer/poner a cero este bit o direccione este bit con su programa de escalera. Este bit es configurable por el usuario y se activa durante una transición de modo PROG REM a REM RUN. • Bit de sobremarcha (S:5/10) – Este bit de error menor se establece cuando el temporizador STI caduca mientras que la rutina STI se está ejecutando o está inhabilitada y mientras que el bit dependiente esté establecido. Cuando esto ocurre, el temporizador STI continúa funcionando a la velocidad presente en la palabra S:30. Si el bit de sobremarcha se establece, tome la acción correctiva que indica su aplicación y luego ponga a cero el bit.
  • 357.
    Cómo comprender lasrutinas de interrupción 11–13 • Bit de STI perdida (Word S:36/9) – Este bit se establece cuando una interrupción STI ocurre mientras que el bit de STI pendiente también está establecido. Cuando está establecido, le comunicará que una interrupción STI se ha perdido. Por ejemplo, la interrupción se pierde porque una interrupción anterior ya estaba pendiente y esperando su ejecución. Examine este bit en su programa de usuario y tome la acción apropiada si su aplicación no puede tolerar esta condición. Luego ponga a cero el bit con su programa de usuario para prepararse para la próxima instancia posible de este error. Use los renglones siguientes para inicializar y medir la cantidad de tiempo entre dos ejecuciones de subrutina STI consecutivas. El temporizador de 10 µs también está disponible en la interrupción DII y la interrupción de E/S. Este ejemplo de aplicación también se puede usar para la interrupción de E/S de evento o la interrupción DII reemplazando S:43 con S:44 ó S:45 respectivamente. Lista de programa Archivo de procesador: FREESTI.ACH Renglón 2:0 Renglón 2:0 Coloque este renglón en el primer renglón de su programa de escalera principal (archivo 2 renglón 0). Este renglón asegura que la medida de interrupción se inicialice cada vez que se entre en el modo de marcha. | 1er Indica la | | paso inicialización | | de medida | | | | S:1 B3 | |––––] [––––––––––––––––––––––––––––––––––––––––––––––+––––(U)–––––––––––––––+–| | 15 | 0 | | | | Clear | | | | 10 uS | | | | ”tick” | | | | Register | | | | +MOV–––––––––––––––+ | | | +–+MOVE +–+ | | |Source 0| | | | | | | |Dest N10:2| | | | 0| | | +––––––––––––––––––+ | el programa de escalera continúa en la página siguiente
  • 358.
    Manual de referenciadel juego de instrucciones 11–14 Renglón 4:0 Este renglón mide el tiempo entre las ejecuciones de subrutina de interrupción consecutivas. El entero N10:2 contiene el número de “tics” de 10 microsegundos que han ocurrido. Anote que la cantidad mayor de tiempo que se puede medir es de 0.32767 segundos. | Determine el número | | de “tics” de 10 ms | | Cuando medida desde el último | | válida | | B3 +SUB–––––––––––––––+ | |––––––––+––––] [–––––+––––––––––––+SUBTRACT +–+––––––––––––––––––––+–| | | 0 | |Source A S:43| | | | | | | | 0| | | | | | | |Source B N10:1| | | | | | | | 0| | | | | | | |Dest N10:2| | | | | | | | 0| | | | | | | +––––––––––––––––––+ | | | | | | | | | | | | | | | | | | Si rodante ha | | | | | | ocurrido en la Normalice el | | | | | | base de tiempo resultado | | | | | | S:0 +ADD–––––––––––––––+ | | | | | +––––] [–––––+ADD +–+ | | | | 3 |Source A 32767| | | | | | | | | | | |Source B N10:2| | | | | | 0| | | | | |Dest N10:2| | | | | | 0| | | | | +––––––––––––––––––+ | | | | | | | | | | | | Almacene el valor | | | | actual en el | | | | último valor | | | | +MOV–––––––––––––––+ | | | +––––––––––––––––––––––––––––––––––––––––––––––+MOVE +–+ | | | |Source S:43| | | | | | 0| | | | | |Dest N10:1| | | | | | 0| | | | | +––––––––––––––––––+ | | | | | | | | | | | | Ponga a cero el | | | | bit de error | | | | S:5 | | | +–––––––––––––––––––––––––––––––––––––––––––––––––(U)–––––––––––––––+ | | 0 | el programa de escalera continúa en la página siguiente
  • 359.
    Cómo comprender lasrutinas de interrupción 11–15 Renglón 4:99 Coloque este renglón en el último renglón de su subrutina de interrupción. Así su subrutina de interrupción sabrá cuándo el valor N10:2 es válido. | | | | | Indique la | | medida válida | | B3 | |––––––––––––––––––––––––––––––––––––––––––––––––––––––––––––––––––––––(L)–––––| | 0 | Nota El bit de selección de overflow matemático (S:2/14) se debe establecer antes de entrar en el modo de MARCHA.
  • 360.
    Manual de referenciadel juego de instrucciones 11–16 Instrucciones STD y STE Las instrucciones STD y STE se usan para crear zonas en las que las interrupciones STI no pueden ocurrir. Inhabilitación temporizada seleccionable – STD Cuando es verdadera, esta instrucción restablece el bit de habilitación STI y evita que la subrutina STI se ejecute. Cuando el renglón se hace falso, el bit de habilitación STI permanece establecido hasta que una instrucción STS o STE se ejecute. El temporizador STI continúa funcionando mientras que el bit de habilitación esté restablecido. Habilitación temporizada seleccionable – STE Esta instrucción, al momento de una transición del renglón de falso a verdadero, establece el bit de habilitación STI y permite la ejecución de la subrutina STI. Cuando el renglón se hace falso, el bit de habilitación STI permanece establecido hasta que una instrucción STD verdadera se ejecute. Esta instrucción no tiene efecto sobre la operación del temporizador STI o punto de ajuste. Cuando el bit de habilitación está establecido, la primera ejecución de la subrutina STI puede ocurrir en cualquier fracción del ciclo de temporización hasta un ciclo de temporización completo subsiguiente. Ejemplo de zona STD/STE En el programa siguiente, la función STI está activa. Las instrucciones STD y STE en los renglones 6 y 12 se incluyen en el programa de escalera para evitar que se ejecute la subrutina STI en cualquier punto en los renglones 7 a 11. La instrucción STD (renglón 6) restablece el bit STI y la instrucción STE (renglón 12) vuelve a establecer el bit de habilitación. El temporizador STI incrementa y puede sobrepasar el límite de tiempo en la zona STD, lo que establece el bit de pendiente S:2/0 y el bit de sobremarcha S:5/10. El bit de primer paso S:1/15 y la instrucción STE en el renglón 0 se incluyen para asegurar que la función STI se inicialice después de una desactivación y reactivación de alimentación eléctrica. Usted debe incluir este renglón cuando su programa contenga una zona STD/STE o una instrucción STD. 3 3 3 3 SELECTABLE TIMED DISABLE STD STE SELECTABLE TIMED ENABLE
  • 361.
    Cómo comprender lasrutinas de interrupción 11–17 ] [ S:1 15 ( ) END 0 STD SELECTABLE TIMED DISABLE STE SELECTABLE TIMED ENABLE ] [ ] [ ( ) ] [ ] [ ( ) ] [ ] [ STE SELECTABLE TIMED ENABLE ( ) ] [ ] [ 1 2 3 4 5 6 7 8 9 10 11 12 13 14 15 16 17 Archivo de programa 3
  • 362.
    Manual de referenciadel juego de instrucciones 11–18 Inicio temporizado seleccionable (STS) Use la instrucción STS para condicionar el inicio del temporizador STI cuando entra en el modo de marcha REM en vez de comenzar automáticamente. También puede usarla para configurar o cambiar el número de archivo o punto de ajuste/frecuencia de la rutina STI que se va a ejecutar cuando el temporizador STI caduca. Esta instrucción no es necesaria para configurar una aplicación de interrupción STI básica. La instrucción STS le exige introducir dos parámetros: el número de archivo STI y el punto de ajuste STI. Al momento de ejecución verdadera del renglón, esta instrucción introduce el número de archivo y punto de ajuste en el archivo de estado (S:31, S:30), sobrescribiendo así los datos existentes. Simultáneamente, el temporizador STI se restablece y comienza a temporizar; al momento de sobrepasar el límite de tiempo, la ejecución de subrutina STI ocurre. Cuando el renglón se hace falso, la función STI permanece habilitada en el punto de ajuste y número de archivo que introdujo en la instrucción STS. Nota Específico para SLC 5/03 y SLC 5/04 – La instrucción STS usa el establecimiento del bit de resolución STI S:2/10 para determinar la base de tiempo que se va a usar al momento de la ejecución de la instrucción STS. 3 3 3 3 STS SELECTABLE TIMED START File Time [x 10ms]
  • 363.
    Cómo comprender lasrutinas de interrupción 11–19 Descripción general de la interrupción de entrada discreta Use la interrupción de entrada discreta (DII) para las aplicaciones de procesamiento a alta velocidad o para cualquier aplicación que necesite responder a un evento de manera rápida. Esta instrucción permite que el procesador ejecute una subrutina de escalera cuando la configuración de bit de entrada de una tarjeta de E/S discreta corresponda a un valor de comparación que usted ha ya programado. El archivo de estado contiene seis valores de bit y seis valores de palabra usados para programar y monitorizar la función DII. La DII no requiere instrucciones de lógica de escalera para su configuración. Usted programa la DII para examinar la configuración de bit de entrada de una sola ranura de E/S cualquiera, la cual contiene una tarjeta de entrada discreta (tal como IG16, IV16, IB8, IB32). Cuando la configuración de bit de entrada corresponde al valor de comparación, el acumulador se incrementa. El acumulador DII cuenta hasta el valor preseleccionado y, una vez generada la interrupción, ajusta inmediatamente la línea de manera automática y comienza a contar desde cero. Durante el escán de la subrutina DII, usted puede volver a configurar la DII para que busque un evento completamente distinto. Esto facilita la secuencia DII. La DII puede ser programada para comparar cada punto de entrada a un estado alto (1) o bajo (0). El acumulador se incrementa al momento de la transición de entrada que provoca que los puntos de entrada correspondan al valor de comparación. Si su aplicación requiere actualización inmediata de los puntos de entrada o salida, entonces son necesarias las instrucciones IIM o IOM. Finalice la subrutina DII con una instrucción RET. Procedimiento de programación básico para la función DII Para usar la función DII con su archivo de programa principal, haga lo siguiente: 1. Cree un archivo de subrutina (rango de 3 a 255) e introduzca los renglones de escalera deseados. Este es su archivo de subrutina DII. 2. Introduzca el número de ranura de entrada (palabra S:47). 3. Introduzca la máscara de bit (palabra S:48). 4. Introduzca el valor de comparación (palabra S:49). 5. Introduzca el valor preseleccionado (palabra S:50). 3 3
  • 364.
    Manual de referenciadel juego de instrucciones 11–20 6. Introduzca el número de subrutina DII en la palabra S:46 del archivo de estado. (Vea la página B–69.) Un valor de cero inhabilita la función DII. Nota Usuarios de PLC – La diferencia principal entre la DII y la PII PLC 5/40 es que la DII requiere que todas las transiciones declaradas ocurran antes de generar un conteo; en cambio, la PII requiere que solamente una de las transiciones declaradas ocurra. Además, en la DII, al término “conteo” se le denomina “predeterminado”. Ejemplo La DII puede ser programada para contar los artículos en un transportador de alta velocidad. Cada vez que 100 artículos pasan por un fotointerruptor, la subrutina DII se ejecuta. Luego la subrutina DII usa las instrucciones de E/S inmediatas para embalar los productos.
  • 365.
    Cómo comprender lasrutinas de interrupción 11–21 Operación Después de restaurar su programa y entrar en el modo de marcha REM, la DII comienza su operación así: Modo de contador Este modo está activo cuando el valor preseleccionado (S:50) contiene un valor mayor que 1. 1. La DII lee el primer byte de datos de entrada de una tarjeta de entrada discreta seleccionada por lo menos una vez cada 100 µs.À Anote que esta “encuesta” de los datos de entrada no afecta el tiempo de escán del procesador. 2. Cuando los datos de entrada corresponden al valor con máscara programado, el acumulador se incrementa en uno. El próximo conteo ocurre cuando los datos de entrada hacen la transición a datos sin correspondencia y luego retornan a los con correspondencia. 3. Cuando el acumulador alcanza o excede el valor preseleccionado, entre 1 y 32,767, la interrupción es generada y el acumulador se pone a cero. 4. La subrutina DII se ejecuta. 5. El ciclo se repite. Modo de evento Este modo está activo cuando el valor preseleccionado (S:50) contiene 0 ó 1. 1. La DII lee el primer byte de datos de entrada de una tarjeta de entrada discreta seleccionada por lo menos una vez cada 100 µs.À Anote que esta “encuesta” de los datos de entrada no afectan el tiempo de escán del procesador. 2. Cuando los datos de entrada corresponden al valor con máscara programado, la interrupción es generada. 3. La subrutina DII se ejecuta.Á 4. El ciclo se repite.À À Á
  • 366.
    Preface Manual de referenciadel juego de instrucciones 11–22 Contenido de la subrutina DII Para identificar su subrutina DII, use la instrucción INT como la primera instrucción en su primer renglón. La subrutina DII contiene los renglones de su lógica de aplicación. Puede programa cualquier instrucción dentro de la subrutina DII excepto una instrucción TND, REF o SVC. Las instrucciones IIM o IOM son necesarias en una subrutina DII si su aplicación requiere la actualización inmediata de los puntos de entrada o salida. Finalice la subrutina DII con una instrucción RET. La profundidad de pila JSR se limita a 3. Puede llamar otras subrutinas hasta una profundidad de 3 niveles desde una subrutina DII. Latencia de interrupción y coincidencias de interrupción La latencia de interrupción es el intervalo entre la detección DII y el inicio de la subrutina de interrupción. Las interrupciones DII pueden ocurrir a cualquier punto en su programa, pero no necesariamente al mismo punto en interrupciones sucesivas. Las interrupciones pueden ocurrir entre instrucciones en su programa, dentro del escán de E/S (entre ranuras) o entre el servicio de paquetes de comunicaciones. La tabla siguiente muestra la interacción entre una interrupción y el ciclo de operación del procesador. DII DII con el bit S:33/8 establecido DII con el bit S:33/8 establecido Si una interrupción ocurre mientras el procesador SLC 5/03 ó SLC 5/04 está realizando una actualización de ranura de palabras múltiples y su subrutina de interrupción obtiene acceso a la misma ranura, la transferencia de palabras múltiples se completa antes de realizar el acceso a la ranura de subrutina de interrupción. Processor Overhead Communications Output Scan Program Scan Input Scan
  • 367.
    Cómo comprender lasrutinas de interrupción 11–23 Observe que el tiempo de ejecución DII se añade directamente al tiempo de escán global. Durante el período de latencia, el procesador está realizando operaciones que no pueden ser perturbadas por la función de interrupción DII. El bit de control de latencia de interrupción (S:33/8) funciona de la manera siguiente: • Cuando el bit se establece (1), las interrupciones reciben servicio en menos de 500 µs. • Cuando el bit se pone a cero (0), el servicio en menos de 500 µs no se espera. Cuando S:33/8 se pone a cero (0), las interrupciones de usuario ocurren entre los renglones y las actualizaciones de ranura de E/S. El estado predeterminado se borra (0). Para determinar la latencia de interrupción con S:33/8 puesto a cero, debe calcular el tiempo de ejecución de cada renglón en su programa. Refiérase al apéndice B para obtener más información acerca de cómo calcular la latencia de interrupción. Prioridades de interrupción Las prioridades de interrupción para los procesadores SLC 5/03 y SLC 5/04 son: 1. La rutina de fallo de usuario 2. La interrupción de entrada discreta (DII) 3. La subrutina STI 4. La subrutina de interrupción de E/S La ejecución de una subrutina de interrupción sólo puede ser interrumpida por la rutina de fallo. Datos de archivo de estado guardados Los datos en las palabras siguientes se guardan cuando entran en la subrtuina DII y se vuelven a escribir cuando salen de la subrutina DII. • Indicadores aritméticos S:0 • Registro matemático S:13 y S:14 • Registro de índice S:24
  • 368.
    Manual de referenciadel juego de instrucciones 11–24 Reconfigurabilidad Puede reconfigurar la DII total o parcialmente, según el (los) parámetro(s) que seleccione. Puede reconfigurar algunos de los parámetros simplemente por medio de sobrescribir el valor anterior usando el valor nuevo. Otros valores le requieren que establezcan el bit de reconfiguración además de escribir el valor nuevo. La DII es no retentiva y siempre se reconfigura al entrar en el modo de marcha REM. Refiérase a la próxima sección “Parámetros DII” para obtener detalles acerca de cómo reconfigurar cada parámetro. Ejemplo La DII puede ser programada para contar artículos en un transportador de alta velocidad. Cada vez que 100 artículos pasan por un fotointerruptor, la subrutina DII se ejecuta. Luego la subrutina DII usa las instrucciones de E/S inmediatas para embalar los productos. Si desea variar el número de artículos que se embalan juntos, simplemente cambie el número en el parámetro preseleccionado DII usando una instrucción de transferencia.
  • 369.
    Cómo comprender lasrutinas de interrupción 11–25 Parámetros DII Los parámetros siguientes son asociados con la función DII. Estos parámetros tienen direcciones de archivo de estado que se describen aquí y en el apéndice B. • Bit de DII pendiente (S:2/11) – Cuando se establece, este bit indica que el acumulador DII (S:52) es igual a la DII preseleccionada (S:50) y que el número de archivo de escalera especificado por el número de archivo DII (S:46) espera su ejecución. Se pone a cero cuando el número de archivo DII (S:46) comienza a ejecutarse o cuando sale del modo de marcha REM o prueba REM. • Bit de habilitación DII (S:2/12) – Para programar esta característica, use la función de monitor de datos para establecer/poner a cero este bit o direccione este bit con su programa de escalera. Este bit se establece en su condición predeterminada. Si se establece, permite la ejecución de la subrutina DII si el archivo DII (s:46) no es cero. Si se pone a cero, cuando ocurre la interrupción, la subrutina DII no se ejecuta y el bit de DII pendiente se establece. La función DII continúa funcionando cuando el archivo DII (S:46) no sea cero. Si el bit pendiente se establece, el bit de habilitación se examina al próximo final de escán. • Bit de ejecución DII (S:2/13) – Cuando se establece, este bit indica que la interrupción DII ha ocurrido y que la subrutina DII se está ejecutando. Este bit se pone a cero al finalizarse la rutina DII, encendido o entrada en el modo de marcha REM. • Bit de overflow DII (S:5/12) – Este bit se establece siempre que la interrupción DII ocurra cuando todavía está ejecutando la subrutina DII o cuando la interrupción DII ocurra mientras esté pendiente o inhabilitada. • Bit de reconfiguración (S:33/10) – Cuando este bit se establece (1), indica que en el próximo final de escán (END, TND o REF), salida de la rutina de fallo, salida de STI ISR, salida del evento ISR o la próxima salida de DII ISR, ocurrirá lo siguiente: – El acumulador DII se borra, – los valores a las palabras de estado S:47 a S:50 se aplican, – el bit pendiente se pone a cero, y – el bit de reconfiguración DII se pone a cero. • Bit de DII perdida (S:36/8) – Este bit se establece si una interrupción DII ocurre mientras que el bit de DII pendiente esté establecido. • Número de archivo (palabra S:46) – Usted introduce un número de archivo (3 a 255) que se usa como la subrutina de interrupción de entrada discreta. Escriba un valor de 0 para inhabilitar la función. Este valor se aplica al momento de detección de un bit de reconfiguración DII, cada salida de DII ISR y cada final de escán (END, TND o REF). Un cero inhabilita la operación.
  • 370.
    Manual de referenciadel juego de instrucciones 11–26 • Número de ranura (palabra S:47) – Usted introduce el número de ranura (1 a 30) que se usa como la subrutina de interrupción de entrada discreta. Un valor de cero inhabilita la función. Este valor se aplica al momento de detección del bit de reconfiguración DII o a la entrada en el modo de marcha REM. • Máscara de bit (palabra S:48) – Usted introduce el valor mapeado por bit que corresponde a los bits que desea monitorizar en el módulo de E/S discretas. Sólo los bits 0 a 7 se usan en la función DII. El establecer un bit indica que desea incluir el bit en la comparación de la configuración de bit de la tarjeta de E/S discretas contra el valor de comparación DII (S:49). Este valor se aplica al momento de detección del bit de reconfiguración DII, cada salida de DII ISR y cada final de escán (END, TND o REF). • Valor de comparación (palabra S:49) – Usted introduce un valor mapeado de bit que corresponde a la configuración de bit que debe ocurrir en la tarjeta de E/S discretas para que un conteo o interrupción ocurra. Sólo los 0 a 7 se usan en la función DII. El bit se debe establecer (1) o se debe poner a cero (0) para satisfacer la condición de comparación para dicho bit. Una interrupción o conteo será generada al momento de transición del último bit del valor de comparación. Este valor se aplica al momento de detección del bit de reconfiguración DII, cada salida de DII ISR y cada final de escán (END, TND o REF). Para proporcionar protección contra la modificación accidental del monitor de datos para su selección, programe una instrucción MOV incondicional que contenga el valor preseleccionado de la DII a S:50. • Valor preseleccionado (palabra S:50) – Cuando este valor es igual a 0 ó 1, una interrupción es generada cada vez que la comparación especificada en las palabras S:48 y S:49 se satisface. Cuando este valor es entre 2 y 32767, un conteo ocurre cada vez que la comparación de bit se satisface. Una interrupción será generada cuando el valor de acumulador alcance 1 ó exceda el valor preseleccionado. Este valor se aplica al momento de detección del bit de reconfiguración DII, cada salida de DII ISR y cada final de escán (END, TND o REF). Para proporcionar protección conatra la modificacion accidental del monitor de datos para su selección, programe una instrucción MOV incondicional que contenga el valor preseleccionado de la DII a S:50. • Máscara de retorno (palabra S:51) – La máscara de retorno se actualiza inmediatamente antes de entrar en la subrutina DII. Este valor contiene el mapa de bit de la última transición de bit que causó la interrupción. Si hay más de una transición de bit durante el mismo período de muestreo DII de 100 ms, se incluirá en la máscara de retorno. Este bit es puesto a cero por el procesador al momento de salir de la subrutina DII. Use este valor para validar la última transición de interrupción que causó que la configuración de entrada correspondiera al valor de comparación. O use este valor dentro de la DII de su subrutina para ayudar a determinar/validar la posición de la secuencia cuando usted esté reconfigurando (secuenciando) la DII de manera dinámica.
  • 371.
    Cómo comprender lasrutinas de interrupción 11–27 • Acumulador (palabra S:52) – El acumulador DII contiene el número de conteos que ha ocurrido. Cuando un conteo ocurre y el acumulador es mayor o igual que el valor preseleccionado, una interrupción DII es generada y el acumulador se borra. Para aplicaciones que miden la velocidad de impulsos DII entrantes mientras que use una STI (interrupción temporizada seleccionable), el SLC 5/03 OS301 y los superiores actualizan el acumulador DII antes de ejecutar el primer renglón de la subrutina STI.
  • 372.
    Manual de referenciadel juego de instrucciones 11–28 Ejemplo de aplicación de interrupción de entrada discreta Los ejemplos siguientes muestran cómo usar la interrupción de entrada discreta para controlar una aplicación de alta velocidad. En el ejemplo, la DII se usa para asegurar que todas las botellas que salen de una máquina para llenar y tapar tengan sus tapas instaladas. El interruptor de proximidad de botella se usa como la entrada DII. Cuando una botella pasa el interruptor de proximidad, el procesador SLC 5/03 ó SLC 5/04 ejecuta la subrutina DII. En la subrutina el procesador lee el estado del interruptor de proximidad de la tapa. Si la tapa se instala, el solenoide del distribuidor no se activa, permitiendo así que la botella continúe en la línea. Si la tapa hace falta, el solenoide del distribuidor se activa y causa que la botella defectuosa se desvíe en el distribuidor hacia el recipiente de botellas rechazadas. Los parámetros siguientes se usan para programar la DII para la aplicación anterior: • Bit de control de latencia de interrupción S:33/8 = 1 • Archivo S:46 = 3 • Ranura S:47 = 1 • Máscara S:48 = 00000001 • Comparación S:49 = 00000001 • Preseleccionado S:50 = 1
  • 373.
    Cómo comprender lasrutinas de interrupción 11–29 Diagrama de escalera para la aplicación de embotelladora Actualice la posición del distribuidor Actualice la posición del distribuidor. INT I/O INTERRUPT ]/[ I:1.0 8 RET RETURN END IIM IMMEDIATE IN w MASK Slot I:1.0 Mask 0100 ! ! ! ! ! ] [ I:1.0 8 ] [ O:2.0 0 (U) O:2.0 0 IOM IMMEDIATE OUT w MASK Slot O:2.0 Mask 0001 ! ! (L) O:2.0 0 IOM IMMEDIATE OUT w MASK Slot O:2.0 Mask 0001 ! ! Bit 8 es el interruptor de proximidad Ponga el distribuidor en la posición normal Si el interr. de prox. detecta una capa de botella instalada Y si el distribuidor está en la posición para botellas rechazadas Ponga el distribuidor en la posiĆ ción para botellas rechazadas Si el interr. de prox. detecta una capa de botella faltante Refiérase al apéndice H para ver otro ejemplo de aplicación usando el DII para contar impulsos desde un codificador (encoder).
  • 374.
    Manual de referenciadel juego de instrucciones 11–30 Descripción general de interrupción de E/S Esta función permite que un módulo de E/S especial interrumpa el ciclo de operación normal del procesador para escanear un archivo de subrutina especificado. La operación de interrupción para un módulo específico se describe en el manual de usuario para el módulo. No todos los módulos de E/S especiales tienen la capacidad para generar interrupciones de E/S. Refiérase al manual de usuario del módulo de E/S especial específico para ver si proporciona esta característica. Por ejemplo, no puede usar un módulo de E/S discretas estándar para efectuar una interrupción provocada por un evento de E/S. Esta sección describe: • La operación de E/S • Los parámetros de interrupción de E/S • Las instrucciones IID e IIE • La instrucción RPI • La instrucción INT Procedimiento de programación básico para la función de interrupción de E/S • Cuando configura la ranura del módulo de E/S especial con el dispositivo de programación, asegúrese de programar el número de archivo de programa “ISR” (subrutina de interrupción) (rango de 3 a 255) que desea que el procesador ejecute cuando el módulo genere una interrupción. Los módulos de E/S especiales que crean interrupciones se deben configurar en las ranuras de E/S con los números más inferiores. • Cree el archivo de subrutina que ha especificado como el número ISR en la configuración de ranura del módulo de E/S. 3 3 3
  • 375.
    Cómo comprender lasrutinas de interrupción 11–31 Operación Cuando restaura su programa y entra en el modo de marcha REM, la interrupción de E/S comienza la operación así: 1. El módulo de E/S especial determina que necesita servicio y genera una petición de interrupción al procesador SLC. 2. El procesador se interrumpe y el archivo de subrutina de interrupción (ISR) especificado se escanea. 3. Cuando el escán SIR se completa, esto se le comunica al módulo de E/S especial. Esto le informa al módulo de E/S especial que se permite generar una interrupción nueva. 4. El procesador reanuda la operación normal en el punto en que se interrumpió. Contenido de la subrutina de interrupción (ISR) La instrucción de subrutina de interrupción (INT) debe ser la primera instrucción en su ISR. Esta identifica el archivo de subrutina como una subrutina de interrupción de E/S. La ISR contiene los renglones de su lógica de aplicación. Puede programar cualquier instrucción dentro de una ISR excepto una instrucción TND, REF o SVC. Las instrucciones IIM o IOM son necesarias en una ISR si su aplicación requiere la actualización inmediata de los puntos de entrada o salida. Finalice la ISR con una instrucción RET (retorno). La profundidad de la pila JSR se limita a 3. Es decir, puede llamar otras subrutinas hasta un nivel de profundidad de 3 desde una ISR. Latencia de interrupción y coincidencias de interrupción La latencia de interrupción es el intervalo entre la petición del módulo de E/S por servicio y el inicio de la subrutina de interrupción. Las interrupciones de E/S pueden ocurrir en cualquier punto en su programa, pero no necesariamente en el mismo punto en interrupciones sucesivas. Las interrupciones sólo pueden ocurrir entre instrucciones en su programa, dentro del escán de E/S (entre ranuras) o entre el servicio de los paquetes de comuniación. La tabla siguiente muestra la interacción entre una interrupción y el ciclo de operación del procesador.
  • 376.
    Preface Manual de referenciadel juego de instrucciones 11–32 Interrupciones de E/S SLC 5/02 Interrupciones de E/S 5/03 y 5/04 con el bit S:33/8 establecido Interrupciones de E/S 5/03 y 5/04 con el bit S:33/8 puesto a cero Anote que el tiempo de ejecución ISR se añade directamente al tiempo de escan global. Durante el período de latencia, el procesador está realizando operaciones que no pueden ser perturbadas por la función de interrupción STI. Los períodos de latencia son: • Las interrupciones SLC 5/02 reciben servicio dentro de 2.4 ms máximos. • Procesadores SLC 5/03 y SLC 5/04 – Si una interrupción ocurre mientras que el procesador esté realizando una actualización de ranura de palabras múltiples y su subrutina de interrupción obtiene acceso a la misma ranura, la transferencia de palabras múltiples se finaliza antes de realizar el acceso a la ranura de subrutina de interrupción. El bit de control de latencia de interrupción (S:33/8) funciona así: – Cuando el bit se establece (1), las interrupciones reciben servicio dentro del tiempo de latencia de interrupción. Refiérase al apéndice B para obtener más información acerca de cómo calcular la latencia de interrupción. – Cuando S:33/8 se pone a cero (0), las interrupciones de usuario ocurren entre los renglones y las actualizaciones de ranura de E/S. El estado predeterminado se borra (0). Para determinar la latencia de interrupción con S:33/8 puesto a cero, debe calcular el tiempo de ejecución de cada renglón en su programa. Processor Overhead Communications Output Scan Program Scan Input Scan
  • 377.
    Cómo comprender lasrutinas de interrupción 11–33 Prioridades de interrupción Las prioridades de interrupción son las siguientes: Procesador SLC 5/02 Procesadores SLC 5/03 y SLC 5/04 La ejecución de una interrupción sólo puede ser interrumpida por una interrupción con una prioridad más alta. La interrupción de E/S no puede interrumpir la ejecución de un rutina de fallo, la ejecución de una subrutina DII, la ejecución de una subrutina STI ni la ejecución de una subrutina de interrupción de E/S. Si una interrupción de E/S ocurre durante la ejecución de una rutina de fallo, subrutina DII o STI, el procesador espera hasta que las interrupciones de prioridad más alta sean escaneadas completamente. Luego la subrutina de interrupción de E/S se escanea. Nota Específico para SLC 5/02 – Es importante comprender que el bit de E/S pendiente asociado con la ranura de interrupción permanezca puesto a cero durante el tiempo que el procesador espera la finalización de la rutina de fallo o la subrutina STI. Nota Específico para SLC 5/03 y SLC 5/04 – El bit de E/S pendiente siempre es establece cuando la interrupción ocurre. Puede examinar el estado de estos bits dentro de sus rutinas de interrupción de prioridad alta. Si una fallo mayor ocurre durante la ejecución de la subrutina de interrupción de E/S, la ejecución se cambia inmediatamente a la rutina de fallo. Si el fallo fue recuperado por la rutina de fallo, la ejecución se reanuda en el punto en que se detuvo en la subrutina de interrupción de E/S. De lo contrario, se entra en el modo de fallo. Si una interrupción DII ocurre durante la ejecución de la subrutina de interrupción de E/S, la ejecución se cambia inmediatamente a la subrutina DII. Cuando la subrutina DII se escanea completamente, la ejecución se reanuda en el punto en que se detuvo en la subrutina de interrupción de E/S. Si el temporizador STI caduca durante la ejecución de la subrutina de interrupción de E/S, la ejecución se cambia inmediatamente a la subrutina STI. Cuando la subrutina STI se escanea completamente, la ejecución se reanuda en el punto en que se detuvo en la subrutina de interrupción de E/S.
  • 378.
    Manual de referenciadel juego de instrucciones 11–34 Si dos o más peticiones de interrupción de E/S son detectadas por el procesador en el mismo instante o mientras que éste espera la finalización de una subrutina de interrupción de prioridad más alta o igual, la subrutina de interrupción asociada con el módulo de E/S especial en el número de ranura más bajo se escanea primero. Por ejemplo, si la ranura 2 (ISR 20) y la ranura 3 (ISR 11) solicitan el servicio de interrupción simultáneamente, el procesador primero escanea ISR 20 completamente, luego escanea ISR 11 completamente. Datos de archivo de estado guardados Los datos en las palabras siguientes se guardan cuando entran en la subrutina de interrupción de E/S y se vuelven a escribir cuando salen de la subrutina de interrupción de E/S. • Indicadores aritméticos S:0 • Registro matemático S:13 y S:14 • Registro de índice S:24
  • 379.
    Cómo comprender lasrutinas de interrupción 11–35 Parámetros de interrupción de E/S Los parámetros de interrupción de E/S siguientes tienen direcciones de archivo de estado. Se describen aquí y también en el apéndice B de este manual. • Número ISR – Especifica el número de archivo de subrutina que se va a ejecutar cuando una interrupción de E/S es generada por un módulo de E/S. Los números ISR no son parte del archivo de estado, sino que son parte de la configuración de E/S para cada ranura en el sistema SLC. • Habilitaciones de ranura de E/S (palabras S:11 y S:12) – Estas palabras son mapeadas de bit a 30 ranuras de E/S. Los bits S:11/1 a S:12/14 hacen referencia a ranuras 1 a 30. Los bits S:11/0 y S:12/15 son reservados. El bit de habilitación asociado con una ranura de interrupción se debe establecer cuando una interrupción ocurre. De lo contrario, ocurrirá un fallo mayor. Los cambios efectuados a estos bits usando la función del monitor de datos se activarán durante el próximo final de escán. • Bits de interrupción de E/S pendiente (palabras S:25 y S:26) – Estas palabras son mapeadas a las 30 ranuras de E/S. Los bits S:25/1 a S:26/14 hacen referencia a las ranuras 1 a 30. Los bits S:25/0 y S:26/15 son reservados. El bit de pendiente asociado con una ranura de interrupción se establece cuando el bit de habilitación de interrupción de ranura de E/S se pone a cero al momento de una petición de interrupción o cuando una instrucción RPI asociada se ejecuta. El bit de pendiente para la ejecución de una subrutina de interrupción de E/S permanece puesto a cero cuando la ISR es interrumpida por una rutina DII, STI o de fallo. Específico para SLC 5/02 – De igual manera, el bit de pendiente permanece puesto a cero si el servicio de interrupción se solicita al momento en que una interrupción de prioridad más alta o igual se está ejecutando (rutina de fallo, STI u otra ISR). Específico para SLC 5/03 y SLC 5/04 – Este bit se establece si el servicio de interrupción se solicita al momento en que una interrupción de prioridad más alta o igual se está ejecutando (rutina de fallo, DII, STI u otra ISR). • Habilitaciones de interrupción de E/S (palabras S:27 y S:28) – Estas palabras son mapeadas de bit a las 30 ranuras de E/S. Los bits S:27/1 a S:28/14 hacen referencia a las ranuras 1 a 30. Los bits S:27/0 y S:28/15 son reservados. El bit de habilitación asociado con una ranura de interrupción se debe establecer cuando la interrupción ocurre a fin de permitir que la ISR correspondiente se ejecute. De lo contrario, la ISR no se ejecuta y el bit de interrupción de ranura de E/S pendiente asociado se establece. Específico para SLC 5/02 – Los cambios efectuados a estos bits usando la función del monitor de datos o instrucción de escalera se activan durante el próximo final de escán. Específico para SLC 5/03 y SLC 5/04 – Los cambios efectuados a estos bits usando la función del monitor de datos o instrucción de escalera se activan inmediatamente.
  • 380.
    Manual de referenciadel juego de instrucciones 11–36 • Ejecución de interrupción de E/S (palabra S:32) – Esta palabra contiene el número de ranura del módulo de E/S especial que generó la ejecución actual de ISR. Este valor se pone a cero cuando la ISR se completa, se entra en el modo de marcha o al momento de encendido. Puede interrogar esta palabra dentro de su subrutina DII o STI o rutina de fallo si desea saber si estas interrupciones de prioridad más alta han interrumpido la ejecución de ISR. También puede usar este valor para discernir la identidad de ranura de interrupción cuando realiza multiplex de dos o más interrupciones de módulos de E/S especiales a la misma ISR.
  • 381.
    Cómo comprender lasrutinas de interrupción 11–37 Inhabilitación de interrupción de E/S (IID) y habilitación de interrupción de E/S (IIE) Estas instrucciones generalmente se usan conjuntamente para evitar que interrupciones de E/S ocurran durante las porciones de tiempo crítico o secuencia crítica de su programa principal o subrutina. La función de interrupción provocada por un evento de E/S se usa con los módulos de E/S especiales que tienen capacidad de generar una interrupción. Inhabilitación de interrupción de E/S – IID Habilitación de interrupción de E/S – IIE Use estas instrucciones conjuntamente para crear una zona en su archivo de programa de escalera principal o archivo de subrutina en que las interrupciones de E/S no pueden ocurrir. Ambas instrucciones se activan inmediatamente al momento de la ejecución. Tiene que especificar una subrutina que debe ejecutarse a la recepción de dicha interrupción. Específico para SLC 5/02 – El establecimiento/puesta a cero de los bits de habilitación de interrupción de E/S (S:27 y S:28) con un dispositivo de programación o instrucción estándar tal como MVM se activa al FINAL del escán únicamente. Específico para SLC 5/03 y SLC 5/04 – El establecimiento/puesta a cero de los bits de habilitación de interrupción de E/S (S:27 y S:28) con un dispositivo de programación o instrucción estándar tal como MVM se activa inmediatamente. 3 3 3 3 3 I/O INTERRUPT DISABLE Slots: 1,2,7 IID I/O INTERRUPT ENABLE Slots: 1,2,7 IIE
  • 382.
    Manual de referenciadel juego de instrucciones 11–38 Operación IID Cuando es verdadera, esta instrucción pone a cero los bits de habilitación de interrupción de E/S (S:27/1 a S:28/14) correspondientes al parámetro de ranuras de la instrucción (ranuras 1, 2, 7 en el ejemplo anterior). Las subrutinas de interrupción de las ranuras afectadas no podrán ejecutarse cuando se efectúa una petición de interrupción. En cambio, los bits de E/S pendientes (S:25/1 a S:26/14) se establecen. La ISR no se ejecuta hasta que una instrucción IIE con el mismo parámetro de ranura se ejecute o hasta el final del escán durante el cual usted usa un dispositivo de programación para establecer el bit de archivo de estado correspondiente. Operación IIE Cuando es verdadera, esta instrucción establece los bits de habilitación de interrupción de E/S (S:27/1 a S:28/14) correspondientes al parámetro de ranuras de la instrucción (ranuras 1, 2, 7 en el ejemplo anterior). Las subrutinas de interrupción de las ranuras afectadas recuperarán la capacidad de ejecutarse cuando se efectúe una petición de interrupción. Si una interrupción estaba pendiente (S:25/1 a S:26/14) y la ranura pendiente corresponde al parámetro de ranuras IIE, la ISR asociada con dicha ranura se ejecutará inmediatamente.
  • 383.
    Cómo comprender lasrutinas de interrupción 11–39 Ejemplo de zona IID/IIE En el programa siguiente, las ranuras 1, 2 y 7 tienen la capacidad de generar interrupciones de E/S. Las instrucciones IID e IIE en los renglones 6 y 12 se incluyen para evitar que las ISR de interrupción de E/S se ejecuten como resultado de las peticiones de interrupción desde las ranuras 1, 2 ó 7. Esto permite que los renglones 7 a 11 se ejecuten sin interrupción. ] [ S:1 15 ( ) (/! ! (%% !'% !'%(! END 0 ] [ ] [ ( ) ] [ ] [ ( ) ] [ ] [ ( ) ] [ ] [ 1 2 3 4 5 6 7 8 9 10 11 12 13 14 15 16 17 Archivo de programa 2 IID I/O INTERRUPT DISABLE Slots: 1,2,7 IIE I/O INTERRUPT ENABLE Slots: 1,2,7 IIE I/O INTERRUPT ENABLE Slots: 1,2,7 ' #% % # + !'%(/! ! %!/! !(+! #% (%% $( (!/! !'%%(#/! ! #(. !*/! + %!*/! !'/! .'% !(% (! %!/! !' (! ( #%% !'! (! ,! (! !'%(/! !'%(/! ! %!/! #! % ' '/! !'%%(#/! ! %!(% + + !'%(/! ! %!/! ' ' ' (! !'%%(#/! '' #% #%% !'% .' (' %!! !'%%(#/! '%- % #!!' + '%-! !'%%(#! % #!!' %%-! %) !' (/! %!/! %!(% ! !0 % %!(% - % %) #% % (! ' 0'# #!!' '!
  • 384.
    Manual de referenciadel juego de instrucciones 11–40 Restablecimiento de interrupción pendiente (RPI) Esta instrucción restablece el estado pendiente de las ranuras especificadas e informa a los módulos de E/S correspondientes que usted ha cancelado las peticiones de interrupción de ésos. Esta instruccion no se requiere para configurar una aplicación de interrupción de E/S básica. Cuando es verdadera, esta instrucción pone a cero los bits de E/S pendientes (S:25/1 a S:26/14) correspondientes al parámetro de ranuras de la instrucción. Además, el procesador comunica a los módulos de E/S especiales en dichas ranuras que su petición de interrupción fue cancelada. Después de esta comunicación, la ranura puede volver a solicitar el servicio de interrupción. Esta instrucción no afecta los bits de habilitación de interrupción de ranura de E/S (S:27/1 a S:28/14). Cómo introducir parámetros Introduzca los números de ranura de E/S (1 a 30) involucrados. Ejemplos: 6 indica la ranura 6 6,8 indica las ranuras 6 y 8 6–8 indica las ranuras 6, 7 y 8 1–30 indica todas las ranuras 3 3 3 3 3 RESET PENDING INTERRUPT Slots: 1–30 RPI
  • 385.
    Cómo comprender lasrutinas de interrupción 11–41 Subrutina de interrupción (INT) Use la instrucción INT en las subrutinas de interrupción provocadas por un evento de E/S (ISR) y STI para propósitos de identificación. El uso de esta instrucción es opcional. Esta instrucción no tiene bits de control y siempre es evaluada como verdadera. Cuando es usada, la INT debe ser programada como la primera instrucción del primer renglón de la ISR. 3 3 3 3 3 3 INT INTERRUPT SUBROUTINE
  • 386.
    Manual de referenciadel juego de instrucciones 11–42
  • 387.
    Cómo comprender losprotocolos de comunicación 12–1 12 Cómo comprender los protocolos de comunicación Use la información en este capítulo para comprender las diferencias en los protocolos de comunicación. Existe capacidad para los protocolos siguientes: • DH-485 Todos los procesadores SLC 500 pueden comunicar en la red DH-485 Existen varios dispositivos de puente y gateway para crear un interface del canal SLC 500 DH-485 a otros dispositivos tal como la tarjeta 2760-RB (con el cartucho de protocolo 2760 SFC3), 1770-KF3, 1747-KE y 1785-KA5. Cuando usa los dispositivos de puente o gateway, refiérase a la documentación de usuario específica para configurar su sistema. • DH+ El SLC 5/04 tiene capacidad para la comunicación y conectividad DH+ a una red DH+. • Full–duplex DF1 y maestro/esclavo DF1 Los procesadores SLC 5/03 y SLC 5/04 y el controlador MicroLogix 1000 tienen capacidad para los protocolos DF1 desde sus conexiones RS-232. • ASCII Los procesadores SLC 5/03 OS301, OS302 y SLC 5/04 OS400, OS401 tienen capacidad para el protocolo ASCII definido por el usuario. • uso de las características de transferencia
  • 388.
    Manual de referenciadel juego de instrucciones 12–2 Protocolo de comunicación DH-485 La red DH-485 ofrece: • la interconexión de 32 dispositivos • capacidad de maestros múltiples • control de acceso de paso de testigo • la capacidad de añadir o eliminar nodos sin perturbar la red • una longitud de red máxima de 1219 m (4,000 pies) Protocolo de la red DH-485 La sección siguiente describe el protocolo usado para controlar transferencias de mensaje en la red DH-485. El protocolo tiene capacidad para dos clases de dispositivos: iniciadores y contestadores. Todos los iniciadores en la red tienen la oportunidad de iniciar transferencias de mensaje. Se usa un algoritmo de paso de testigo para determinar cuál iniciador tiene el derecho de transmitir. Rotación del testigo DH-485 Un nodo que retiene el testigo puede enviar paquetes válidos a la red. El parámetro de retención de testigo determina el número de transmisiones (más reintentos) cada vez que el nodo recibe el testigo. Después que un nodo envía un paquete de mensaje, intenta dar el testigo a su sucesor enviando un paquete de “paso de testigo”. Si no ocurre actividad de red, el iniciador intenta encontrar un sucesor nuevo. El rango de dirección de nodo para un iniciador es 0-31. El rango de dirección de nodo para todos los contestadores es 1-31. Ha de existir por lo menos un iniciador en la red. Nota La dirección máxima que el iniciador busca antes de ajustar la línea automáticamente a cero es el valor en el parámetro configurable “dirección de nodo máxima”. El valor predeterminado de este parámetro es 31 para todos los iniciadores y contestadores. Nota Los procesadores fijos, SLC 5/01, SLC 5/02, SLC 5/03 y SLC 5/04 no permiten que la dirección de nodo cero se aplique. Si intenta aplicar un cero, la dirección de nodo uno se convierte en la dirección de nodo del procesador. La dirección de nodo de cero es reservada para un dispositivo de programación tal como la terminal portátil (HHT) o computadora personal utilizando software de programación. 3 3 3 3 3
  • 389.
    Cómo comprender losprotocolos de comunicación 12–3 Inicialización de la red DH-485 La inicialización de la red comienza cuando un período de inactividad excede el tiempo de un “límite de tiempo sobrepasado de vínculo muerto”. Cuando el “límite de tiempo sobrepasado de vínculo muerto” se excede, generalmente el iniciador con la dirección más baja reclama el testigo. La construcción de una red comienza cuando el iniciador que reclamó el testigo trata de pasar el testigo al nodo sucesor. Si el intento de pasar el testigo falla, o si el iniciador no tiene un sucesor establecido (por ejemplo, al momento de encendido), comienza una búsqueda lineal de un sucesor a partir del nodo de arriba. Vuelve automáticamente al nodo 0 cuando alcanza el valor de dirección de nodo máximo. Cuando el iniciador encuentra otro iniciador activo, pasa el testigo a dicho nodo, el cual a su vez repite el proceso hasta que el testigo sea pasado por toda la red al primer nodo. En ese momento, la red estará en el estado de operación normal. Consideraciones de software Consideraciones de software incluyen la configuración de la red y los parámetros que se pueden establecer según los requisitos específicos de la red. A continuación aparecen factores de configuración que tienen un efecto importante en el rendimiento de la red: • el número de nodos en la red • las direcciones de los nodos • la velocidad en baudios • la selección de dirección de nodo máxima • SLC 5/03 solamente – el factor de retención de testigo • el número máximo de dispositivos de comunicación Las secciones siguientes explican consideraciones de la red y describen maneras para seleccionar parámetros para el rendimiento de red óptimo (velocidad). Número de nodos El número de nodos en la red afecta de manera directa el tiempo de transferencia de datos entre los nodos. Los nodos innecesarios (tal como una segunda terminal de programación que no se usa) disminuyen la velocidad de transferencia de datos. El número máximo de nodos en la red es 32.
  • 390.
    Manual de referenciadel juego de instrucciones 12–4 Establecimiento de direcciones de nodo El mejor rendimiento de red se logra cuando las direcciones de nodo comienzan en 0 y son asignadas en orden secuencial. Los procesadores SLC 500 retornan a la dirección de nodo predeterminada 1. La dirección de nodo se almacena en el archivo de estado del procesador (S:15L). Los procesadores no pueden ser el nodo 0. Además, a los iniciadores tales como las computadoras personales se les deben asignar las direcciones con los números más bajos a fin de minimizar el tiempo requerido para inicializar la red. Si algunos de los nodos están conectados temporalmente, no les asigne direcciones. Simplemente cree los nodos según se necesiten y elimínelos cuando ya no sean necesarios. Establecimiento de la velocidad en baudios del procesador El mejor rendimiento de red se logra a la velocidad en baudios más alta, la cual es 19200 Kbaud. Todos los dispositivos deben tener la mismo velocidad en baudios. La velocidad en baudios predeterminada para los dispositivos SLC 500 es 19200 Kbaud. La velocidad en baudios se almacena en el archivo de estado del procesador (S:15H). Establecimiento de la dirección de nodo máxima El parámetro de dirección de nodo máxima se debe establecer al nivel más bajo posible. Esto minimiza cantidad de tiempo usada para solicitar sucesor al inicializar la red. Si todos los nodos son direccionados en secuencia desde 0, y la dirección de nodo máxima es igual a la dirección del nodo direccionado más alto, la rotación de testigo se mejora por la cantidad de tiempo requerida para transmitir un paquete de petición de sucesor más el valor de límite de tiempo sobrepasado de la ranura. Número máximo de dispositivos de comunicación Los procesadores fijos SLC 500 y SLC 5/01 pueden ser seleccionados por un máximo de dos iniciadores simultáneamente. El usar más de dos iniciadores para seleccionar los mismos procesadores fijos SLC 500 y SLC 5/01 simultáneamente pueden causar límites de tiempo sobrepasados de comunicación.
  • 391.
    Cómo comprender losprotocolos de comunicación 12–5 Parámetros de configuración DH-485 Cuando el canal 0 ó 1 está configurado para el modo de sistema como DH-485 maestro, se pueden cambiar los siguientes parámetros: Parámetro Descripción ' +$ #0() $ ('+$ %' *($ *)*'$ !$ # * $( !)'# #)' ! '/ # $*# 0# - ! '/ # %')' #$ ( ' 0# #$$ () ( ! ' 0# #$$ ! %'$($' # ! ' 2 ! '#$ +.! $ ( ! +!$' %')' #$ ( ' 0# #$$ ., () ( ! ' 0# #$$ ., *# %'$($' ) +$ ! '#$ +.! $ ( ! +!$' %')' #$ ( )$' ')# 0# )() $ )' # ! #1'$ )'#( $#( %' ) ( %' )*' '$) 0# )() $ 2 ! #'#)' () +!$' %' ) * (* %'$($' #'#) ! % )') #)$ 1) ! 2 ! '#$ +.! $ ( ! +!$' %')' #$ ( $( %'$($'( - ().# ()! $( # .'
  • 392.
    Preface Manual de referenciadel juego de instrucciones 12–6 Los dispositivos siguientes usan la red DH-485: No. de catálogo Descripción Requisito de instalación Función Publicación 1746ĆBAS Módulo BASIC Chasis SLC Proporciona un interface para los dispositivos SLC 500 a dispositivos extranjeros. Programe en BASIC para crear interface con los 3 puertos (2 RSĆ232 y 1 DHĆ485) a impresoras, módems o la red DHĆ485 para rcolección de datos. 1746Ć6.1ES 1746Ć6.2ES 1746Ć6.3ES 1747ĆKE Módulo de interface DHĆ485/DF1 Chasis SLC Proporcionar un interface sin aislamiento DHĆ485 para SLC 500 a computadoras principales sobre RSĆ232 usando el protocolo DF1 de duplex total o medio. Habilita la programación remota usando su software de programación a un procesador SLC 500 o la red DHĆ485 a través de módems. Perfecto para aplicaciones RTU/SCADA de bajo costo. 1747Ć6.12 1770ĆKF3 Módulo de interface DHĆ485/DF1 Escritorio autónomo Proporciona un interface DHĆ485 aislado para dispositivos SLC 500 a computadoras principales sobre RSĆ232 usando el protocolo DF1 de fuplex total o medio. Habilita la programación remota usando su software de programación a un procesador SLC 500 o la red DHĆ485 a través de módems. 1770Ć6.5.18 1784ĆKR Módulo de interface PC DHĆ485 Bus de computadora IBM XT/AT Proporciona un puerto DHĆ485 aislado en la parte posterior de la computadora. Cuando se usa con el software APS, mejora la velocidad de comunicación y elimina el uso del convertidor de interface personal (1747ĆPIC). El variador estándar le permite escribir programas C para aplicaciones de adquisición de datos. 1784Ć2.23ES 6001Ć6.5.5 1785ĆKA5 Gateway DH+/DH485 Chasis de E/S (1771) PLC Proporciona comunicación entre estaciones en las redes PLCĆ5 (DH+) y SLC 500 (DHĆ485). 1785Ć6.5.5ES 1785Ć1.21ES 2760ĆRB Módulo de interface flexible Chasis (1771) PLC Proporciona un interface para SLC 500 (usando el cartucho de protocolo 2760ĆSFC3) a otros procesadores PLC y dispositivos de AĆB. Están disponibles tres puertos configurables para proporcionar interface con los sistemas de código de barras, visión, RF, Dataliners y PLC. 2760ĆND001
  • 393.
    Cómo comprender losprotocolos de comunicación 12–7 Protocolo de comunicación de Data Highway Plus La red Data Highway Plus emplea la comunicación entre dispositivos semejantes con un sistema de paso de testigo para rotar el maestro del vínculo entre un máximo de 64 nodos. Puesto que este método no requiere la encuesta (polling), ayuda a proporcionar un transporte de datos fiable y eficiente. Las características de la red DH+: • programación remota de los procesadores PLC-2, PLC-3, PLC-5 y SLC 500 en su red • conexiones directas a los procesadores PLC-5 y terminales de programación industriales • reconfiguración y expansión fáciles si desea añadir más nodos en el futuro • una velocidad de comunicación de 57.6 Kbaud La red DH+ usa límites de tiempo sobrepasados establecidos en fábrica para reinicializar la comunicación de paso de testigo si el testigo se pierde debido a un nodo defectuoso. Ejemplo El ejemplo siguiente muestra la conectividad de un procesador SLC 5/04 a un procesador PLC-5 usando el protocolo DH+. Se usa una velocidad de comunicación de 57.6 Kbaud. # + )(.,)), # ')/, ( !)'*.% # !)( ) # ) -/*#,%), !)( !/+/%#, # )- -%$/%#(.#- • 0 • 0 • 0 • 0
  • 394.
    Manual de referenciadel juego de instrucciones 12–8 Ejemplo El ejemplo siguiente muestra un protocolo DH+ usando dos controladores SLC 5/04 con las velocidades altas de 115.2 Kbaud ó 230 Kbaud. Nota Las velocidades de comunicación DH+ de 115.2 Kabaud y 230 Kbaud no están disponibles para la terminal de programación. En el ejemplo siguiente la terminal de programación está conectada al puerto en serie del procesador SLC 5/04 para entrar en la velocidad en baudios más alta. Este método usa la característica de transferencia de DF1 a DH+. Para obtener más información acerca de la transferencia, vea el capítulo 8. +
  • 395.
    Cómo comprender losprotocolos de comunicación 12–9 Parámetros de configuración de canal 1 de DH+ (procesadores SLC 5/04 únicamente) Cuando el modo de sistema es DH+ para canal 1, los parámetros siguientes se pueden cambiar: Parámetro Descripción !$ # * $( !)'# #)' ! +!$ $*# /# , ! +!$' %')' #$ ( # )' #! %'$' /# (/!$ %* $*# ' # *# ' $# *' %' * (0'( * )$$( !$( (%$( ) +$( # (* ' ().# $# *'$( %' ! ( +!$ $*# /# ' /# #$$ ! '#$ +-! $ ( $)! ! +!$' %')' #$ ( ! ) /# )'#( ( /# %!' ()$ !$!À !)'# #)' , ! +!$' %')' #$ ( ! ) /# '% /# %!' ()$ !$!À !)'# #)' , ! +!$' %')' #$ ( À () %'-)'$ ()- (%$# ! %' !$( %'$($'( ($!#)
  • 396.
    Manual de referenciadel juego de instrucciones 12–10 Descripción general de la palabra de estado global Cuando un procesador pasa el testigo DH+ al próximo nodo, también envía una palabra de 16 bits denominada la palabra de estado global (GSW). Cada nodo en la red observa el mensaje de paso de testigo, pero solamente el “próximo” nodo en la red acepta el testigo. Sin embargo, si todos los nodos en la red leen la palabra de estado global enviada con cada paso de testigo y la guardan en memoria. Cada procesador en la red DH+ tiene una tabla en memoria en que guardar la(s) palabra(s) de estado global que recibe de otros nodos. En cada archivo de estado del procesador SLC 5/04, hay un destino para: • La palabra de transmisión global Esta palabra se ubica en memoria a S:99. Si, en su programa de escalera, usted transfiere datos a esta ubicación de memoria, se transmitirán cada vez que el procesador pasa el testigo DH. Tome nota que todos los otros nodos DH+ observarán estos datos. • Archivo de estado global Este archivo se ubica en memoria a S:100 a S:163 y representa una ubicación de memoria para cada uno de los 64 nodos posibles en la red DH+. A medida que otros nodos vayan transmitiendo información de estado global con sus pasos de testigo, el procesador SLC 5/04 recolecta esta información y la guarda en el archivo de estado global. La ubicación de memoria S:100 corresponde al nodo #0 (octal), S:101 corresponde al nodo #1 (octal) y S:163 corresponde a nodo #77 (octal). Una palabra del archivo de estado global de cada nodo se actualiza durante cada paso de testigo. Esto puede funcionar como mensaje de difusión de alta velocidad, el cual es útil para el paso de estado y la sincronización de procesadores. Si el bit de habilitación de transmisión de palabra de estado global (S:34/3) y el bit de recepción de palabra de estado global (S:34/4) nunca se establecen, puede usar el archivo de estado global (S:100 a S:163) para otros usos de almacenamiento. Si estos bits se usan y luego se restablecen, el área en el archivo de estado de sistema nunca será alterada por el procesador SLC 5/04, aun después de una desactivación y reactivación de la alimentación eléctrica del procesador. Nota El archivo de estado de sistema debe tener una longitud de por lo menos 164 palabras para que se realicen transmisiones y recepciones de palabra de estado global. Esto significa que un programa de usuario para uso con OS400 no tendrá capacidad para la característica de palabra de estado global.
  • 397.
    Cómo comprender losprotocolos de comunicación 12–11 Bit de habilitación de transmisión de palabra de estado global S:34/3 (SLC 5/04 con OS401) La transmisión de la palabra de estado global es habilitada estableciendo el bit S:33/3 en el archivo de estado. Si este bit está establecido (1), el procesador transmite los datos en S:99 con cada paso de testigo DH+. Si este bit no está establecido (0), el procesador pasa el testigo y no añade la palabra de estado global. Este bit es configurable dinámicamente y el posicionamiento predeterminado es cero. Considere las pautas siguientes al usar el bit de habilitación de transmisión de palabra de estado global: • Si este bit no está establecido, el paso de testigo DH+ transmitido desde el canal 1 no contendrá bytes de palabra de estado global. • Si este bit está establecido, pero el SLC 5/04 no está en el modo de MARCHA, marcha REMota o en uno de los tres modos de prueba, el paso de testigo DH+ transmitido contendrá una palabra de estado global a 2 bytes de 0x0000. • Si este bit está establecido y el SLC 5/04 está en el modo de MARCHA, marcha REMota o en uno de los tres modos de prueba, el paso de testigo DH+ transmitido contendrá una GSW de 2 bytes igual al valor en S:99 (palabra de estado global). La palabra también se coloca en el archivo de estado global de 64 palabras (S:100 a S:163) en la ubicación que corresponde a la dirección de nodo DH+ asociada con el procesador SLC 5/04. Por ejemplo, si el procesador SLC 5/04 está funcionando en la dirección octal 22 (18 decimales), la GSW transmitida se escribe a palabra S:118. • Solamente una palabra de estado global de 2 bytes se puede transmitir, aun cuando la red DH+ tiene capacidad hasta para 4 bytes. La longitud no es seleccionable, sino que tiene 2 bytes para ser compatible 100% con los procesadores PLC–5. • La palabra en el archivo de estado global correspondiente a la dirección DH+ del procesador SLC 5/04 se establecerá a 0x0000 si se efectúa algo para inhibir la transmisión de la palabra de estado global desde S:99. Esto incluye: – el borrado de S:33/4, bit de habilitación de transmisión de palabra de estado global – la colocación del SLC 5/04 en un modo que no sea el modo de marcha ni el modo de prueba – la inhabilitación de canal 1 – un error que ocurre en la red DH+ causando que el LED de canal 1 parpadee rojo o se haga rojo sólido (esto podrá ser causado por una dirección de nodo duplicada). – el no tener un programa de usuario OS401 cargado al procesador SLC 5/04 • Si S:34/3 no está establecido a partir del tiempo en que el SLC 5/04 se enciende, la palabra correspondiente a su dirección DH+ en el archivo de estado global nunca se escribirá durante el final de escán.
  • 398.
    Manual de referenciadel juego de instrucciones 12–12 Bit de habilitación de recepción de palabra de estado global (S:34/4 (SLC 5/04 con OS401) La recepción de las palabras de estado global de otros procesadores en la red se habilita estableciendo el bit S:33/4 en el archivo de estado. Si éste es establecido (1), el procesador llena el archivo de estado global con palabras de estado global transmitidas por otros procesadores en la red. Si este bit no está establecido (0), el procesador no hace caso de la actividad de palabra de estado global en la red. Este bit es configurable dinámicamente y el posicionamiento predeterminado es cero. Tome nota que la transmisión y recepción de palabras de estado global no dependen la una de la otra. Considere las pautas siguientes al usar el bit de habilitación de recepción de palabra de estado global: • Si este bit no está establecido, el archivo de estado global (S:110 a S:163) no se actualizará con el paso de la información de la palabra de estado global a la red. • Un error que ocurre en la red DH+ para causar que el LED de canal 1 parpadee rojo o se haga rojo sólido inhabilita las recepciones de la palabra de estado global. (Esto podría ser causado por una dirección de nodo duplicada.) • La capacidad para el archivo de estado global (S:100–S:163) se habilita cuando las cuatro condiciones siguientes se cumplen: – el canal 1 se configura para comunicación de protocolo DH+ – el archivo de estado de sistema tiene una longitud de por lo menos 164 palabras – el bit de habilitación de recepción de palabra de estado global (S:34/3) está establecido – la operación en la red DH+ está funcionando (LED de canal 1 es verde) • El único modo de procesador en que la recepción de la palabra de estado global no funcionará es durante la carga de un programa.
  • 399.
    Cómo comprender losprotocolos de comunicación 12–13 Tome nota que todas las 164 palabras se actualizarán durante cada final de escán. La tabla siguiente describe los estados posibles de la dirección de nodo DH+ y el valor escrito a la palabra de estado global (S:99). Estado de la dirección de nodo DH+ Valor escrito en S:99 por el procesador SLC 5/04 % # % $ ! # % $ $ ! $ # $ ! $ % $ $ ! $ ! ! $ $ ! $ $ $ ! ! % $ ' $ ! $ ! ! $ $ ! $ $ $ $ ! • Si el archivo de estado global (S:100-S:163) está funcionando y luego el canal 1 se inhabilita, todo el archivo de estado global se pone a cero. • Si el archivo de estado global (S:100-S:163) está funcionando y el bit S:34/4 se restablece, todo el archivo de estado global se pone a cero excepto por la palabra que corresponde a la dirección de nodo DH+ de canal 1. • Si el archivo de estado global (S:100-S:163) está funcionando y luego ocurre un error de la red DH+, todo el archivo de estado global se pone a cero. Si el procesador SLC 5/04 se recupera del error por sí mismo, la actualización del archivo de estado global se reanuda automáticamente. • Si el archivo de estado global (S:100-S:163) está funcionando y luego un programa de usuario con un archivo de estado de sistema con menos de 164 palabras se carga, el procesador SLC 5/04 detecta esto antes de intentar la actualización del archivo de estado global. Es decir, no resulta ninguna corrupción del programa de usuario si todos los otros criterios se cumplen para dar capacidad a la característica de la tabla de recepción de GSW. Nota El procesador SLC 5/04 mantiene una tabla de palabra de estado global corriente a pesar de la habilitación de la operación de la tabla de nodo activo DH+ de canal 1 (estableciendo S:34/1). Para ver la tabla de palabra de estado global usando su software de programación, S:34/1 debe estar establecido además de cumplir con todos los requisitos anteriores.
  • 400.
    Preface Manual de referenciadel juego de instrucciones 12–14 Comunicación de PLC–5 a SLC 500 usando los comandos MSG de tipo PLC–2 Los procesadores SLC 5/03 pueden enviar MSG a un procesador de dos maneras: Si usa esta versión: Use esta instrucción MSG para comunicar a un procesador PLCĆ5: $! %* + $ * #$ #* ' ! #$ # • $! + )$ ! • $! %* + $ * !( Programe una instrucción de mensaje PLC-5 como tipo PLC-2 cuando acceda a un procesador SLC 500. Las lecturas y escrituras PLC-2 no protegidas no se emplean realmente como “no protegidas” en el procesador SLC. Están sujetas a los sistemas de protección de archivo del SLC. Por ejemplo, se rechazarán si una carga está en progreso o si el archivo de interface común (CIF) ya está abierto por otro dispositivo. Estos tipos de comandos de lectura y escritura son de alguna manera “universales” ya que se emplean en muchos otros controladores programables de Allen-Bradley. En realidad, el CIF es como cualquiera de los otros archivos de datos SLC excepto que es designado como el archivo destino para todos los comandos de lectura no protegida y escritura no protegida del PLC-2 que son recibidos por el SLC. Siempre es archivo #9. El CIF puede ser definido como tipos de bit, entero, temporizador, contador o datos de control. Sin embargo, solamente los archivos de bit o entero se deben usar para facilitar el direccionamiento. Usted no puede usar la instrucción de mensaje SLC 5/02 para enviar un mensaje a través del módulo 1785-KA5. No obstante, puede usar la instrucción de mensaje SLC 5/03 para enviar un mensaje al módulo 1785-KA5. El procesador SLC 5/03 tiene la capacidad de responder a peticiones de lectura/escritura de datos cuando el 1785-KA5 está en el “modo de encaminador”. Los procesadores fijo SLC 500, SLC 5/01 y SLC 5/02 no pueden responder a peticiones de lectura/escritura de datos. Cuando el 1785-KA5 está en el modo de gateway, todos los procesadores SLC 500 pueden responder a peticiones de lectura/escritura de datos de Data Highway Plus. Nota El archivo #9 debe ser creado y definido al momento de programar el SLC. El archivo #9 también debe ser lo suficientemente grande para incluir el espacio de direccionamiento de lectura y escritura no protegidas. De lo contrario, todas las lecturas y escrituras no protegidas serán rechazadas por el SLC.
  • 401.
    Cómo comprender losprotocolos de comunicación 12–15 Cómo los procesadores PLC-5 direccionan datos Cuando usted programa cualquier tipo de instrucción MSG en el PLC-5, la “dirección de destino” se introduce en octal. El procesador PLC-5 automáticamente traduce la dirección octal a una dirección de byte doblando el equivalente decimal. Por lo tanto, 0108 se hace 16 y 1778 se hace 254. No puede introducir una dirección octal con menos de 0108 en una instrucción de mensaje PLC-5. Cómo usar el archivo CIF SLC 500 (emulación PLC-2) El CIF se puede considerar como búfer de datos entre todos los otros archivos de datos SLC y el canal DH-485. El SLC debe ser programado usando la lógica de escalera para transferir datos entre el CIF y los otros archivos de datos mostrados aquí. # $ # ' $% ! $ #$% ! $ ' # ' El CIF se puede manejar designando áreas a las cuales se debe escribir y áreas desde las cuales se debe leer. Si desee saber cuándo los datos han cambiado en el CIF, use la lógica de escalera para programar bits de comunicación en sus datos CIF. Nota Aunque el formato de las lecturas y escrituras no protegidas es el mismo que el usado en otros procesadores PLC, el empleo del parámetro de dirección es diferente. En los productos PLC de Allen-Bradley, la dirección es interpretada como una dirección de byte. En algunos productos SLC 500, la dirección es interpretada como una dirección de palabra. • Los procesadores SLC 500 y SLC 5/01 usan el direccionamiento de palabra exclusivamente. • El SLC 5/02, antes de los procesadores FRN 3 de serie C, también usan el direccionamiento de palabra exclusivamente. • Los procesadores SLC 5/02, SLC 5/03 y SLC 5/04 tienen un bit de selección, S:2/8, que permite la selección del direccionamiento de palabra o byte. • El DTAM para el SLC usa el direccionamiento de palabra exclusivamente.
  • 402.
    Preface Manual de referenciadel juego de instrucciones 12–16 Programación para manejar las diferencias de direccionamiento de palabra/byte Los procesadores SLC 500 usan el direccionamiento de palabra y los procesadores PLC-5 usan el direccionamiento de byte. Un byte en el procesador PLC-5 es el equivalente de dos palabras en el procesador SLC 500. La sección siguiente describe las diferencias entre el direccionamiento de palabra y byte cuando se envían mensajes a/de un procesador PLC-5 vía comandos PLC-2. Cómo enviar un mensaje de tipo PLC-2 a un procesador PLC-5 usando el direccionamiento SLC de “palabra” (S:2/8 = 0) La “dirección de destino” octal de la instrucción de mensaje PLC-5 debe ser entre 0108 y 1778. Este rango corresponde a la palabra 16 a la palabra 254 (palabras pares solamente) cuando S:2/8 es igual a cero. Cómo enviar un mensaje de tipo PLC-2 a un procesador PLC-5 usando el direccionamiento de “byte” (S:2/8 = 1) Nota El modo de direccionamiento de byte se selecciona en el SLC estableciendo el bit S:2/8 a 1. El valor predeterminado es S:2/8 = 0 para el direccionamiento de palabra. Este bit de selección no está disponible en los procesadores fijos SLC ni SLC 5/01. Este establecimiento se aplica al byte/palabra de offset. La “dirección de destino” octal de la instrucción de mensaje PLC-5 debe ser entre 0108 y 3778. El rango corresponde a la palabra 8 a la palabra 254 cuando S:2/8 es igual a 1. Dirección de destino (octal) Dirección SLC Dirección de destino (octal) PLCĆ5 MSG Modo de palabra (S:2/8=0) Modo de byte (S:2/8=1) El valor máximo para el parámetro de “número de elementos” de instrucción del procesador PLC-5 de tipo PLC-2 es 41 para un procesador SLC 5/02 y 110 para un procesador SLC 5/03 (se suponen elementos de 1 palabra).
  • 403.
    Cómo comprender losprotocolos de comunicación 12–17 Ejemplo – Cómo enviar un mensaje de tipo PLC-2 a procesadores PLC-5 usando procesadores SLC direccionados por “palabra” (S:2/8 = 0) Como ejemplo, escriba 10 palabras de N7 en un PLC-5 a un SLC 5/02: 1. Configure la dirección fuente en la instrucción de mensaje como N7:0. 2. Configure el “medir elementos” a 10. 3. Configure el “tipo de comando” como “escritura no protegida PLC-2”. 4. Configure la “dirección de destino” como 0108. Esto corresponde a la dirección SLC, N9:16. Ya que 10 palabras se escribirán, asegúrese que el archivo N9 en el SLC sea creado por lo menos a N9:25. Se supone que la instrucción de mensaje será configurada para un destino remoto ya que es necesario que exista un puente entre el PLC-5 y el SLC 5/02, tal como un 1784-KA5 (en el modo gateway) vinculando una red DH+ y DH-485. Ejemplo – Cómo enviar un mensaje de tipo PLC-2 a un procesador PLC-5 usando procesadores direccionados por “byte) (S:2/8 = 1) Como ejemplo, escriba 10 palabras de N7 en un PLC-5 a un SLC 5/02: 1. Configure la dirección fuente en la instrucción de mensaje como N7:0. 2. Configure el “tamaño en elementos” a 10. 3. Configure el “tipo de comando” como “escritura no protegida PLC-2”. 4. Configure la “dirección de destino” como 0108. Esto corresponde a la dirección SLC, N9:7. Ya que 10 palabras se escribirán, asegúrese que el archivo N9 en el SLC sea creado por lo menos a N9:17.
  • 404.
    Preface Manual de referenciadel juego de instrucciones 12–18 Procesadores SLC 5/03 y SLC 5/04 a comunicación PLC-5 usando comandos MSG SLC 500 ó PLC-5 Los procesadores SLC 5/03 OS301 y SLC 5/04 OS400 tienen capacidad para los comandos MSG de tipo PLC-5. Esto elimina la necesidad de programar MSG de tipo PLC-2. Cuando desea obtener acceso a: Programe la instrucción MSG como: ! ! ! Los procesadores SLC 5/03 OS301 y SLC 5/04 aceptan los comandos MSG de tipo PLC-5 para leer y escribir archivos de datos de estado, bit, temporizador, control, entero, punto (coma) flotante, cadena y ASCII. Sin embargo, los procesadores SLC 5/03 OS301 y SLC 5/04 no aceptan comandos MSG de tipo PLC-5 para leer o escribir desde/hacia archivos de entrada y salida debido a la diferencia entre la estructura de direccionamiento de chasis/grupo del procesador PLC-5 y la estructura de direccionamiento de ranura/palabra del SLC 500. Además, el procesador PLC-5 actualmente no acepta comandos MSG de SLC 500. Cuando programa una instrucción MSG de tipo PLC-5, los tipos de datos de fuente y destino deben coincidir. A título de consistencia en la transferencia de datos, le recomendamos que los tipos de datos de destino y fuente coincidan cuando transfiera datos entre los procesadors PLC-5 y los procesadores SLC 5/03 OS301 y SLC 5/04. Cuando programa una instrucción MSG SLC, no tienen que coincidir los tipos de datos de fuente y destino. El tipo de datos de destino determina el número de palabras por elemento que se debe transferir. Por ejemplo, el destino T4:0 y la fuente N7:0 con una longitud de 3 resultan en una transferencia de 9 palabras enteras debido a un tamaño de elemento de temporizador de 3 palabras por elemento.
  • 405.
    Cómo comprender losprotocolos de comunicación 12–19 Protocolo de comunicación RS-232 Los procesadores SLC 5/03 y SLC 5/04 tienen capacidad para el protocolo de duplex total DF1 y el protocolo maestro/esclavo de duplex medio DF1 vía la conexión RS-232 a una computadora principal (usando canal DF1). Los detalles de estos protocolos se encuentran en el Manual de usuario del juego de protocolo y comando Data Highway/Data Highway Plus/DH-485, publicación 1770-6.5.16ES. Para obtener más información acerca de cómo usar los procesadores SLC 500 en aplicaciones SCADA, vea la: • Guía de selección del sistema SCADA, publicación AG-2.1ES • Guía de aplicación del sistema SCADA, publicacion AG-6.5.8ES Protocolo de full–duplex DF1 El protocolo full–duplex DF1 (también conocido como protocolo de punto a punto DF1) se proporciona para aplicaciones en que la comunicación de punto a punto RS-232 es necesaria. Este tipo de protocolo tiene capacidad para transmisiones simultáneas entre dos dispositivos en ambas direcciones. Puede usar el canal 0 como puerto de programación o como puerto de dispositivos semejantes usando la instrucción MSG. En el modo full–duplex, el procesador SLC 5/03 ó SLC 5/04 puede enviar y recibir mensajes. Cuando el procesador envía mensajes, lo hace en forma de respuestas incorporadas, las cuales son símbolos transmitidos dentro de un paquete de mensaje. Cuando el procesador SLC 5/03 ó SLC 5/04 recibe mensajes, sirve como dispositivo final – un dispositivo que detiene la transmisión de paquetes de datos. El procesador no hace caso de las direcciones de destino y fuente recibidas en los paquetes de datos. Sin embargo, el procesador cambia estas direcciones en la respuesta que transmite como respuesta a cualquier paquete de datos de comando que ha recibido. Ya que los procesadores SLC 5/03 y SLC 5/04 se consideran como “dispositivos finales” (la transmisión del paquete de datos se detiene en el procesador), no se hace caso de las direcciones de destino y fuente en el paquete de datos. Si usa un módem con el canal 0 DF1 en el modofull–duplex, éste debe tener capacidad de funcionar en el modo de full–duplex. Típicamente, un módem de marcado se usa para la comunicación por líneas telefónicas. 3 3 3
  • 406.
    Preface Manual de referenciadel juego de instrucciones 12–20 Parámetros de configuración de canal 0 de duplex total DF1 Cuando el variador del modo de sistema es un duplex total DF1 para canal 0, los parámetros siguientes se pueden cambiar: Parámetro Descripción Archivo diagnóstico Reservado para uso futuro. Velocidad en baudios Alterna entre la velocidad de comunicación de 110, 300, 600, 1200, 2400, 4800, 9600 y 19200. El valor predeterminado es 1200. Paridad Alterna entre Ninguna y Par. El valor predeterminado es Ninguna. Bits de detención Alterna entre 1, 1.5 y 2. El valor predeterminado es 1. Detección de paquete duplicado Alterna entre inhabilitado y habilitado. El valor predeterminado es Habilitado. Detección de error Alterna entre CRC y BCC. El valor predeterminado es CRC. Límite de tiempo sobrepasado ACK El rango válido es 2-65535 (en incrementos de 20 ms). El valor predeterminado es 50. Reintentos NAK El rango válido es 0-255. El valor predeterminado es 3. Reintentos ENQ El rango válido es 0-255. El valor predeterminado es 3. Línea de control Alterna entre Sin comunicación y módem de full-duplex El valor predeterminado es Sin handshaking. Respuestas incorporadas Alterna entre Habilitado y Detección automática. El valor predeterminado es Habilitado. ID de fuente Especifique la dirección del transmisor en este campo. El rango válido es 0-254. El valor predeterminado es 9.
  • 407.
    Cómo comprender losprotocolos de comunicación 12–21 ! $ $ # ! ! % % % # ! ! % % # % %
  • 408.
    Manual de referenciadel juego de instrucciones 12–22 1 1 Full–duplex (red) 2 1 $%*)$' %' # %! $# % !!' - '' #)' $# *# ' ! +. 1 1*!$ #)' 2 $%!$' +0#*!$ 2 () $# *' 1# %' ) * ! $%*)$' %' # %! !! /( *# ' '$) ' '$) %* )#' *# /, $ #$$( 2 #! 2 #! 2 2 2
  • 409.
    Cómo comprender losprotocolos de comunicación 12–23 Protocolo maestro/esclavo de half–duplex DF1 El protocolo maestro/esclavo de half–duplex DF1 proporciona una red de múltiples conexiones de un solo maestro/esclavos múltiples. A diferencia del full–duplex DF1, la comunicación se realiza en una dirección a la vez. Puede usar canal 0 como puerto de programación o como puerto de dispositivos semejantes usando la instrucción MSG. El dispositivo maestro inicia toda la comunicación “encuestando” cada dispositivo esclavo. El dispositivo esclavo solamente puede transmitir paquetes de datos cuando es encuestado por el maestro. Es la responsabilidad del maestro encuestar cada esclavo de manera sistemática y secuencial para recolectar datos. Durante una secuencia de encuesta, el maestro encuesta un esclavo repetidamente hasta que el esclavo indique que ya no tiene paquetes de transmitir. Luego el maestro transmite los paquetes de datos por dicho esclavo. Varios productos de Allen-Bradley tienen capacidad para el protocolo maestro de half–duplex. Incluyen el módulo 177-KGm (para controladores PLC-2) y los procesadores PLC-5/11, -5/20, -5/30, -5/40, -5/40L, -5/60, -5/60L, -5/80, -5/20E, -5/40E y -5/80E. El software ControlView y ControlView 300 también tiene capacidad para el protocolo maestro de half–duplex con la opción SCADA (6190-SCA). Típicamente, el maestro tiene dos tablas separadas – una para los esclavos en línea y otra para los esclavos fuera de línea. Los esclavos en línea son encuestados de manera sistemática. Los esclavos fuera de línea son encuestados de vez en cuando para verificar si uno ha entrado en línea. Un dispositivo maestro tiene capacidad para el encaminamiento de paquetes de datos desde un esclavo al otro. El half–duplex DF1 tiene capacidad hasta para 255 dispositivos esclavos (dirección 0 a 254) con dirección 255 reservada para multidifusiones maestras. Los tipos de módem de half–duplex o full–duplex se pueden usar para la red de half-duplex DF1. El SLC 5/03 tiene capacidad para la recepción de multidifusiones. El SLC 5/03 no puede iniciar una multidifusión.
  • 410.
    Preface Manual de referenciadel juego de instrucciones 12–24 Parámetros de configuración de canal 0 del esclavo de half–duplex DF1 Cuando el modo de sistema es el esclavo de half–duplex DF1 para el canal 0, los parámetros siguientes se pueden cambiar: Parámetro Descripción ,#$0) $(5-.$) - ,0) *, /-) !/./,) )$ ( /$)- . ,( (., 0 )$ )'/($$5( 2 0), *, . ,'$() - ,$ . ,( (., $(/( 2 , 0), *, . ,'$() - $(/( $.- . ($5( . ,( (., 2 0), *, . ,'$() - $, $5( -.$5( ,() 03$) - $' 0), *, . ,'$() - . $5( *+/ . . ,( (., $$. (#$$. 0), *, . ,'$() - $$. . $5( ,,), . ,( (., 2 0), *, . ,'$() - .,) -.$0$5( * ,'$. - $)(, 0), , .,) -.$0$5( ( $(, ' (.)- '- ,() 03$) - 0), *, . ,'$() - .,) .,(-'$-$5( * ,'$. - $)(, 0), , .,) .,(-'$-$5( ( $(, ' (.)- '- ,() 03$) - 0), *, . ,'$() - 4'$. .$ '*) -), *-) (/ -. * ,'$. - $)(, 0), 4'$. .$ '*) -), *-) (/ -. ' -.,) ( $(, ' (.)- '- 0), *, . ,'$() - ,() 03$) - .,) .$ '*) .,(-'$-$5( *, 0$ * ,'$. - $)(, , .,) .$ '*) .,(-'$-$5( *, 0$ ( $(, ' (.)- '- ,() 03$) - $(. (.)- ' (-% * ,'$. - $)(, 0), , $(. (.)- ' (-% ,() 03$) - 0), *, . ,'$() - 4( )(.,) . ,( (., $(/( )'/($$5( #!/* 1 )( *),.), )(.$(/ 2#!/* 1 -$( *),.), )(.$(/ 0), *, . ,'$() - $(/( )'/($$5( /*, -$5( . ,( (., 4 2 ) 0), *, . ,'$() - )
  • 411.
    Cómo comprender losprotocolos de comunicación 12–25 Parámetros de configuración de canal 0 del maestro de half–duplex DF1 Cuando el variador del modo de sistema es el maestro de medio duplex DF1 para canal 0, los parámetros siguientes se pueden cambiar: Parámetro Descripción Archivo diagnóstico Reservado para uso futuro. Velocidad en baudios Alterna entre la velocidad de comunicación de 110, 300, 600, 1200, 2400, 4800, 9600 y 19200. Paridad Alterna entre Ninguna y Par. El valor predeterminado es Ninguna. Bits de detención Alterna entre 1, 1.5 y 2. El valor predeterminado es 1. Dirección de estación El rango válido es 0-254 decimal. El valor predeterminado es 1. Detección de paquete duplicado Alterna entre Habilitada e Inhabilitada. El valor predeterminado es Habilitada. Detección de error Alterna entre CRC y BCC. El valor predeterminado es CRC. Límite de tiempo sobrepasado ACK El permite seleccionar el valor de límite de tiempo sobrepasado ACK en incrementos de 20 ms. El rango válido es 0-65535. Retardo de desactivación RTS Le permite seleccionar el valor de retardo de desactivación RTS en incrementos de 20 ms. El rango válido es 0-65535. El valor predeterminado es 0. Reintentos de mensaje Le permite seleccionar el valor de reintentos de mensaje. El rango válido es 0-255. El valor predeterminado es 3. Retardo de transmisión RTS Le permite seleccionar el valor de retardo de transmisión RTS en incrementos de 20 ms. El rango válido es 0-65535. El valor predeterminado es 0. Retardo de tiempo de transmisión previa Le permite seleccionar el valor de retardo de tiempo de transmisión previa RTS en incrementos de 20 ms. El rango válido es 0-65535. Línea de control Alterna entre Ninguna comunicación, Módem de full-duplex y half-duplex sin portadora continua. Modo de encuesta Alterna entre Basado en mensaje (no permite que el esclavo inicie mensajes), Basado en mensaje (permite que el esclavo inicie mensajes), Estándar (transferencia de un solo mensaje por escán de nodo) y Estándar (transferencia de mensajes múltiples por escán de nodo) Encuesta de prioridad - baja Le permite seleccionar la dirección baja del rango de encuesta de prioridad. El rango válido es 0-255. Encuesta normal - baja Le permite seleccionar la dirección baja del rango de encuesta normal. El rango válido es 0-255. Encuesta de prioridad - alta Le permite seleccionar la dirección alta del rango de encuesta de prioridad. El rango válido es 0-254. Encuesta normal - alta Le permite seleccionar la dirección alta del rango de encuesta normal. El rango válido es 0-254. Tiempo de espera del mensaje de respuesta Le permite seleccionar el establecimiento del tiempo de espera del mensaje de respuesta en incrementos de 20 ms. El rango válido es 0-65535. Tamaño del grupo de encuesta normal Le permite seleccionar el tamaño del grupo de encuesta normal. El rango válido es 0-255.
  • 412.
    Manual de referenciadel juego de instrucciones 12–26 ' ' ' ' ' ' ( ! $ $ % ! # '% $ ( $ % ! # $ ' # $ $ # $# %$ ! $ #$ $ % ! # '% $ ( $ % ! # $ '% $ (
  • 413.
    Cómo comprender losprotocolos de comunicación 12–27 Módem - $%#'## # #'%# #% !#( % $%##% #'%# * , #'*% #'%# %- ' ('# $%#'## # !'%# #'%# #% !#( % $%##% # !,( # '% - ,( # '%- - #$ #% )+( # Vínculo de múltiples conexiones DHĆ485 - ,!
  • 414.
    Preface Manual de referenciadel juego de instrucciones 12–28 Módem $ $ % ! $ ! ! Half-duplex DF1 con encaminamiento de esclavo a esclavo #
  • 415.
    Cómo comprender losprotocolos de comunicación 12–29 +! +! , $%#'## # #'%# * + #'*% #'%# %' ('# $%#'## # !'%# Half-duplex DF1 con DHĆ485 de punto a punto #'%# #% !#( % $%##% #'%# #% !#( % $%##% # !+( # '% , )# #'%# #% #!$'# +( # '% ,
  • 416.
    Manual de referenciadel juego de instrucciones 12–30 Consideraciones cuando comunica como esclavo DF1 en un vínculo de múltiples conexiones Cuando hay comunicación entre su software de programación y un procesador SLC 5/03 ó entre dos procesadores SLC 5/03 vía una conexión de esclavo a esclavo en un vínculo de múltiples conexiones, los dispositivos dependen de un maestro DF1 para que les dé a cada uno permiso de transmitir oportunamente. A medida que el número de esclavos vaya incrementando en el vínculo (hasta 255) el tiempo entre las encuestas de su software de programación o el procesador SLC 5/03 también incrementa. Este incremento de tiempo puede aumentar si usa velocidades en baudios bajas. A medida que estos períodos de tiempo aumentan, puede ser necesario cambiar los valores siguientes para evitar la pérdida de comunicación: • software de programación – valores de límite de tiempo de encuesta sobrepasado y límite de tiempo de respuesta sobrepasado • procesador SLC 5/03 – valores de límite de tiempo de encuesta sobrepasado y límite de tiempo sobrepasado de propietario de recurso/archivo de edición Si usa instrucciones MSG entre los procesadores SLC 5/03, también es posible que el valor de límite de tiempo sobrepasado MSG en el bloque de control tenga que ser cambiado para comunicación de esclavo a esclavo fiable en la red de múltiples conexiones.
  • 417.
    Cómo comprender losprotocolos de comunicación 12–31 Cómo usar módems que tienen capacidad para protocolos de comunicación DF1 Los tipos de módems que puede usar con el procesador SLC 5/03 incluyen módems de línea telefónica, módems de marcado DTR, controladores de línea, módems de radio y módems de vínculo por satélite. Módems de línea telefónica Lo siguiente explica cómo usar los módems de línea telefónica con protocolos de comunicación DF1. Nota Los módems de línea telefónica tienen capacidad para la comunicación bidireccional simultánea requerida para el full–duplex DF1. Para la operación correcta con módems de full–duplex DF1, siempre seleccione la comunicación de módem de full–duplex. Para la operación correcta con el esclavo DF1, seleccione “módem de half–duplex con portadora continua” a menos que no desee cortar la comunicación automáticamente su usa líneas arrendadas. En tal caso, puede usar el “módem de half–duplex sin portadora continua”. Módems manuales Estos son típicamente módems acoplados acústicamente. La conexión está establecida por una persona en cada extremo de la línea telefónica. Estas personas insertan los auriculares en un acoplador acústico para finalizar la conexión. Módems de contestación automática Estos módems no atendidos se conectan directamente a las líneas telefónicas. Según la versatilidad del módem, es posible que usted pueda programarlo bajo varias condiciones. Sin embargo, el módem típicamente debe afirmar DSR para indicar que está conectado al DTE y usted debe programarlo para que conteste solamente si detecta DTR. Una vez que el módem contesta una llamada y establece una señal de portadora con el módem remoto, es posible que active la señal DCD.
  • 418.
    Manual de referenciadel juego de instrucciones 12–32 Módems de desconexión automática Típicamente, los módems que tienen capacidad para la contestación automática de datos también tienen capacidad para la desconexión automática donde el DTE puede forzar que el módem corte la conexión dejando caer el DTR por un momento. Estos módems generalment se cuelgan por sí mismos si se pierde el vínculo de portadora con un módem de distancia. Sin embargo, si un módem determinado no se cuelga, el procesador SLC 5/03, si está configurado correctamente, forzará la desconexión interrumpiendo el DTR si DCD se interrumpe (es decir, el vínculo de portadora del módem se pierde) durante más de 10 segundos. Cuando use el full–duplex DF1, seleccione la comunicación de “módem de full–duplex”. Cuando use el half–duplex DF1, seleccione la comunicación de “módem de half–duplex con portadora continua” para habilitar esta operación. Módems de discado automático Los procesadores SLC 5/03 y SLC 5/04 tienen capacidad para la operación de discado automático normal. El discado automático más común se encuentra en el uso de los módems Hayes y los módems compatibles con Hayes que aceptan cadenas en serie especiales para su DTE local, que son parte del conjunto de comandos Hayes. Estas cadenas también se pueden usar para iniciar el discado a un número telefónico especificado además de programar otros parámetros operacionales. Use la instrucción de escritura ASCII para iniciar un marcado automático de cadena de módem. El bit de archivo de estado S:5/14 permite que su programa detecte una conexión. Refiérase a su manual de usuario de software de programación para obtener más información acerca de las instrucciones y bits de archivo de estado. Módems con líneas arrendadas También conocidos como conexiones de línea privada, estos vínculos de comunicación usan una línea de teléfono dedicada arrendada de la compañía telefónica. Pueden ser vínculos de punto a punto o maestro a esclavos múltiples (es decir, multicaídas). Módems con discado DTR Estos módems inician el discado de un número previamente programado cuando DTR efectúa una transición de activado a desactivado. Para programar la cadena de inicialización y el número telefónico de módem en la memoria interna del módem, use una terminal ficticia (o PC con software de emulación de terminal tal como Procomm, Window’s Terminal o PBASE). A continuación aparece un ejemplo de cómo programar un módem de discado DTR usando su software de programación.
  • 419.
    Cómo comprender losprotocolos de comunicación 12–33 Para programar un Multimodem V32 de Multi–Tech Systems, Inc., haga lo siguiente: 1. Establezca los valores en la memoria del módem a los valores predeterminados. Introduzca la cadena siguiente: ATW1Z (. '( #' * #' !!# !.! #' * #' $(!#' 2. Para inicializar el módem, introduzca la cadena siguiente: ATD4140000000TN0$BA0$SB1200$MB1200$D1W0 (. À ! /!#' ( .#' !!# (## # ( .# )'( )# '(*# '( $)(# ' ) '( $)(# ( -## ) ( '# ! !## $!( '(#' #!#' !!# !.! À !$ + , # /!# ( .# %) ' ' 3. Una vez que usted ha programado el módem, active la señal DTR para que disque el número o desactive la señal DTR para terminar la llamada (colgar). Módems controladores de línea (corto alcance) También llamados módems de corto alcance, estos dispositivos no modulan los datos de serie. En cambio, acondicionan la señal para operar en un medio fisico diferente (tal como RS-485) para que las longitudes de transmisión extensas (generalmente de algunos kilómetros) tengan capacidad. Si un variador de línea tiene capacidad para un puerto compatible de RS232-DCE, usted probablemente puede usarlo con el canal RS-232 de los procesadores SLC 5/03 y SLC 5/04. Si los controladores de línea se deben usar con el full–duplex DF1, es necesario que tengan capacidad para un circuito de full–duplex (también conocido como circuito de 4 cables).
  • 420.
    Manual de referenciadel juego de instrucciones 12–34 Los controladores de línea con capacidad de full–duplex (circuito de 4 cables) también son preferidos con el half–duplex DF1 porque el maestro puede tener su propio canal dedicado para comunicarse con los esclavos. Si un controlador de línea sólo tiene capacidad para circuitos de half–duplex (circuito de 2 cables), el maestro así como los esclavos usan la comunicación RTS/CTS para realizar una transmisión. Esto introduce una demora cuando el maestro realiza una transmisión. Típicamente, cuando configure el SLC 5/03 y SLC 5/04 para el esclavo de half–duplex DF1, use el “módem de half–duplex sin portadora continua”. Módems de radio También puede usar los procesadores SLC 5/03 y SLC 5/04 con un vínculo de radio vía módems de radio. Esto establece un vínculo de múltiples conexiones dedicado. Los vínculos de radio frecuentemente se usan en zonas donde no existe acceso a líneas telefónicas o donde su uso es muy costoso. Los módems de radio se pueden comprar como unidad de radio/módem integral o configurados usando un módem y radio comprados separadamente. Si se compra separadamente, la radio necesita una señal de entrada para regular el transmisor. En muchos casos, RTS se puede usar como dicha entrada. El canal de serie SLC 5/03 y SLC 5/04, cuando está configurado para el esclavo de half–duplex DF1, tiene un retardo ajustable entre el momento en que RTS se enciende y cuando los datos son transmitidos. De este modo se pueden usar los módems de radio con una amplia gama de requisitos de temporización, hasta los tipos que no proporcionan una señal CTS verdadera al DTE conectado a sí mismos. El módem de radio que usted escoge para crear un interface con un módulo de comunicación RS-232 de Allen-Bradley usando el protocolo de half–duplex debe poseer las características siguientes. Debe: • tener capacidad para la comunicación RS-232 estándar descrita anteriormente y en el manual de módulo de comunicación RS-232 de Allen-Bradley • tener capacidad para la velocidad de transmisión a que opera su módulo de comunicación RS-232 de Allen-Bradley • poder operar en un vínculo de radio de múltiples conexiones de half–duplex • poder crear un interface con un dispositivo de comunicación asíncrono • poder funcionar en un modo “transparente”, que permita que los datos pasen sobre el vínculo sin ser modificados.
  • 421.
    Cómo comprender losprotocolos de comunicación 12–35 Para optimizar el rendimiento, seleccione un módem que tenga un retardo RTS-CTS mínimo. Este retardo de tiempo es determinado generalmente por el tiempo necesario para activar el módem y estabilizar la portadora. Módems de vínculo por satélite El interface con estos módems es semejante a los interfaces de módems de radio. Operación de línea de control de módem en los procesadores SLC 5/03 y SLC 5/04 Lo siguiente explica la operación de los procesadores SLC 5/03 y SLC 5/04 cuando configura el canal RS232 para las aplicaciones siguientes. Full–duplex DF1 Cuando configura los procesadores SLC 5/03 y SLC 5/04 para el full–duplex DF1, la operación de línea de control siguiente se realiza: Comunicación no seleccionada — El DTR siempre está activo y el RTS siempre está inactivo. Las recepciones y transmisiones toman lugar a pesar de los estados de entradas DSR, CTS o DCD. Esta selección solamente se debe hacer cuando los procesadores SLC 5/03 y SLC 5/04 están conectados directamente a otro dispositivo DTE. Módem de full–duplex seleccionado — El DTR y el RTS siempre están activos excepto durante los períodos siguientes. Si DSR se activa, DTR y RTS se interrumpen durante 1 a 2 segundos y luego se reactivan. El bit de módem perdido (S:5/14) se activa inmediatamente. Mientras DSR esté inactivo, no se hace caso del estado de DCD. No se realizan recepciones ni transmisiones. Si DCD se desactiva mientras DSR esté activo, las recepciones no se permiten. Si DCD permanece inactivo durante 9 a 10 segundos, DTR se establece activo hasta que DSR se desactive. En este momento, el bit de módem perdido también se establece. Si DSR no se desactiva, DTR se vuelve a levantar dentro de 5 a 6 segundos. La transmisión requiere que todas las tres salidas (CTS, DCD y DSR) estén activas. Cuando DSR y DCD están activos, el bit de módem perdido se restablece.
  • 422.
    Manual de referenciadel juego de instrucciones 12–36 Half–duplex DF1 Cuando configura los procesadores SLC 5/03 y SLC 5/04 para el half–duplex DF1, la operación de línea de control siguiente se realiza: Handshaking no seleccionadol DTR siempre está activo y RTS siempre está inactivo. Las recepciones y transmisiones toman lugar a pesar de los estados de entradas DSR, CTS o DCD. Esta selección solamente se debe hacer cuando los procesadores SLC 5/03 y SLC 5/04 están conectados directamente a otro dispositivo DTE. Módem de half–duplex con portadora continua seleccionado — DTR siempre está activo y RTS solamente está activo durante las transmisiones (y cualesquiera retardos programados antes o después de transmisiones). El manejo de DCD y DSR es idéntico al manejo del módem de full–duplexl. Las transmisiones requieren que CTS y DSR estén activos. Módem de half–duplex sin portadora continua seleccionado — Esto es idéntico al módem de half–duplex con portadora continua excepto que la monitorización de CDC no se realiza. DCD todavía es necesario para las recepciones pero no es requerido para las transmisiones. Las transmisiones todavía requieren CTS y DSR. El bit de módem perdido se establece solamente cuando DSR esté inactivo.
  • 423.
    Cómo comprender losprotocolos de comunicación 12–37 Parámetros de retardo de transmisión RTS y retardo de desactivación RTS Por medio de su software de programación, los parámetros de retardo de transmisión RTS y retardo de desactivación RTS le ofrecen la flexibilidad de seleccionar el control de módem durante transmisiones. Estos parámetros se aplican únicamente cuando usted selecciona un módem de half–duplex con o sin portadora continua. Para uso con módems de half–duplex que requieren tiempo suplementario para “regular” su transmisor aun después de activar CTS, el retardo de transmisión RTS especifica, en incrementos de milisegundo, la cantidad de tiempo de retardo después de activar RTS que se debe esperar antes de verificar si CTS ha sido activado por el módem. Si CTS todavía no está activo, RTS permanece activo y ocurrirá la transmisión siempre que CTS se active antes de transcurrido un segundo. Después de un segundo, si CTS todavía no se ha activado, RTS se establece inactivo y la transmisión se cancela. Para los módem que no proporcionan ninguna señal CTS, ligue RTS a CTS y use el retardo más breve posible sin perder la operación segura. Nota Si se selecciona un retardo de transmisión RTS de 0, la transmisión comienza cuando CTS se activa. Si CTS no se activa en menos de 1 segundo después del levantamiento de RTS, RTS se establece inactivo y la transmisión se cancela. Ciertos módems interrumpen su vínculo de portadora cuando RTS se pierde, aun cuando la transmisión todavía no se ha terminado. El parámetro de retardo de desactivación RTS especifica, en incrementos de 20 milisegundos, el retardo entre el momento en que el último carácter en serie se envía al módem y cuando RTS se desactiva. Esto le proporciona al módem tiempo suplementario para transmitir el último carácter de un paquete.
  • 424.
    Preface Manual de referenciadel juego de instrucciones 12–38 Protocolo de comunicación ASCII Los procesadores SLC 5/03 OS301, OS302 y SLC 5/04 OS400, OS401 tienen capacidad para protocolo ASCII definido por el usuario configurando RS-232 (canal 0) para el modo de usuario. En el modo de usuario, todos los datos recibidos se colocan en un búfer. Para obtener acceso a los datos, use las instrucciones ASCII en su programa de escalera. Vea el capítulo 10 para obtener más información acerca de las instrucciones ASCII. También puede enviar datos de cadena ASCII a la mayoría de los dispositivos añadidos que aceptan el protocolo ASCII. Nota Solamente las instrucciones ASCII se pueden usar cuando el modo de usuario se configura. Si usa una instrucción de mensaje (MSG) que hace referencia a canal 0, ocurrirá un error. Configuración de parámetro de canal 0 ASCII Cuando el controlador de modo de usuario es ASCII genérico para canal 0, los parámetros siguientes se pueden cambiar: Parámetro Descripción Archivo diagnóstico Reservado para uso futuro. Velocidad en baudios Alterna entre la velocidad de comunicación de 110, 300, 600, 1200, 2400, 4800, 9600 y 19200. El valor predeterminado es 1200. Paridad Alterna entre Ninguna, Impar y Par. El valor predeterminado es Ninguna. Bits de detención Alterna entre 1, 1.5 y 2. El valor predeterminado es 1. Bits de datos Alterna entre 7 y 8. El valor predeterminado es 8. Modo de eliminación Alterna entre Ignorar, CRT e impresora. El valor predeterminado es Ignorar. Este parámetro depende de la habilitación del parámetro Echo. Echo Alterna entre Habilitado e Inhabilitado. El valor predeterminado es Inhabilitado. Retardo de desactivación RTS Le permite seleccionar el valor de retardo de desactivación RTS en incrementos de 20 ms. El rango válido es 0-65535 (en incrementos de 20 ms). El valor predeterminado es 0. Retardo de transmisión RTS Le permite seleccionar el valor de retardo de transmisión RTS en incrementos de 20 ms. El rango válido es 0-65535 (en incrementos de 20 ms). El valor predeterminado es 0. Línea de control Alterna entre Ninguna comunicación, half-duplex con portadora continua, half-duplex sin portadora continua y Módem de full-duplex. El valor predeterminado es Ninguna comunicación. XON/XOFF Alterna entre Habilitado e Inhabilitado. El valor predeterminado es Inhabilitado. Terminación 1 Terminación 2 Especifique FF para carácter sin terminación. Añadir 1 Añadir 2 Especifique FF para carácter no añadido.
  • 425.
    Cómo comprender losprotocolos de comunicación 12–39 Cómo usar las características de transferencia Hay tres tipos de transferencia disponibles en los procesadores SLC 5/03 y SLC 5/04. Su operación y bits asociados se describen a continuación. Transferencia DH+ a DH-485 – (Todos los procesadores SLC 5/04) Este tipo permite que el SLC 5/04 sirva como puente entre una red DH+ y una red DH-485. Cuando el bit S:34/0 se restablece, los paquetes de comunicación que entran en el canal 0 (configurado para DH-485), los cuales no están destinados para el procesador SLC 5/04, vuelven a ser enviados desde del canal 1 en la red DH+. Además, los paquetes de comunicación que entran en el canal 1 (DH+), los cuales no están destinados para el procesador SLC 5/04, vuelven a ser enviados desde el canal 0 en la red DH-485. Esta actividad tendrá algún efecto en el tiempo de escán del programa de escalera del procesador SLC 5/04, pero estos efectos no son significativos ya que solamente un paquete de transferencia es encaminado nuevamente durante cada escán. Transferencia DF1 a DH+ – (Procesadores SLC 5/04 OS401 y posteriores) Este tipo le permite conectar una computadora al puerto en serie del procesador SLC 5/04 (canal 0 configurada para el full–duplex DF1) y acceder a cualquier nodo en la red DH+ sin importar la velocidad en baudios de la red DH+. También puede conectar un módem al puerto en serie para discar en cualquier nodo en la red DH+. Transferencia de E/S remota (Procesadores SLC 5/03 OS302 y SLC 5/04 OS401) Este tipo permite que el sistema SLC 5/04 sirva como puente entre la red DH+ y la red de E/S remota compatible con el módulo de E/S remotas 1747-SN. La transferencia se habilita cuando el bit S:34/5 se establece. Esto permite que las computadoras personales en la red DH+ carguen y descarguen aplicaciones a dispositivos tales como PanelView 550, PanelView 900 ó Panel View 1200 y DataLiners en la red de E/S remotas.
  • 426.
    Manual de referenciadel juego de instrucciones 12–40 Consideraciones cuando la transferencia DF1 a DH+ se habilita Considere la siguiente información cuando use la transferencia DF1 a DH+. Cómo entrar en línea con un procesador SLC 5/04 usando el full–duplex DF1 Si desea entrar en línea usando el full–duplex DF1, asegúrese que la dirección destino bajo la pantalla de configuración en línea de duplex total esté establecida al canal 1 de la dirección de nodo DH+ del procesador SLC 5/04 destino. Si la direc- ción destino no se ha establecido y el procesador SLC 5/04 tiene la característica de transferencia de DF1 a DH+ habilitada, los paquetes de comando del software de programación puede ir a un procesador diferente del procesador SLC 5/04. Cómo transmitir un mensaje usando el full–duplex DF1 hacia un procesador SLC 5/04 con la transferencia DF1 a DH+ habilitada Si el procesador SLC 5/04 receptor tiene la transferencia habilitada, asegúrese que el parámetro del nodo destino esté establecido a la dirección DH+ canal 1 del procesador SLC 5/04. Cómo transmitir un mensaje usando el full–duplex DF1 desde un procesador SLC 5/04 con la transferencia DF1 a DH+ habilitada Si usa un procesador con la transferencia DF1 a DH+ habilitada para transmitir mensajes desde el canal 0 (configurado para el full–duplex DF1), debe asegurarse que la dirección del nodo DH+ del procesador SLC 5/04 aparezca en la dirección fuente DF1 bajo la pantalla de configuración de modo de sistema de canal 0. Si la dirección no se establece correctamente, las respuestas retornando al procesador SLC 5/04 pueden ser enviadas a otros nodos en la red DH+. Cómo comunicar desde un procesador SLC 5/04 usando direccionamiento PLC-2 Si usa un procesador SLC 5/04 con la transferencia DF1 a DH+ habilitada y trata de transmitir un mensaje desde el canal 0 usando las instrucciones de MENSAJE, no use el tipo de mensaje 485 CIF. Use los tipos de mensaje 500CPU o PLC5. Si intenta usar el tipo de mensaje 485 CIF, el procesador SLC 5/04 que transmite el mensaje no recibirá respuestas del nodo con el que está tratando de comunicarse.
  • 427.
    Cómo localizar ycorregir fallos 13–1 13 Cómo localizar y corregir fallos Este capítulo enumera los códigos de fallo de errores mayores, indica las causas posibles de los fallos y recomienda la acción correctiva. Este capítulo también explica los fallos de carga del sistema de operación para los procesadores SLC 5/03 y SLC 5/04 y los controladores MicroLogix 1000. Cómo borrar fallos automáticamente La sección siguiente describe las maneras diferentes para borrar un fallo automáticamente usando su software de programación. Procesadores SLC • Establezca la anulación de fallo al bit de encendido S:1/8 en el archivo de estado para borrar el fallo cuando se desconecta y se vuelve a conectar la alimentación eléctrica siempre que el programa de usuario no esté alterado. • Establezca uno de los bits de carga automática S:1/0, S:1/11 ó S:1/12 en el archivo de estado del programa en un EEPROM para transferir automáticamente un programa nuevo sin fallo desde el módulo de memoria hacia el RAM cuando se desconecta y se vuelve a conectar la alimentación eléctrica. Refiérase al apéndice B en este manual para obtener más información acerca de los bits de estado S:1/13, S:1/8, S:1/10, S:1/11, S:1/12, S:5/0–7 y S:36/0–7. Nota Usted puede declarar su propio fallo mayor específico para la aplicación escribiendo su propio valor único a S:6 y luego estableciendo el bit S:1/13.
  • 428.
    Manual de referenciadel juego de instrucciones 13–2 Controladores MicroLogix 1000 Puede borrar un fallo automáticamente cuando desconecta y vuelve a conectar la alimentación eléctrica al controlador estableciendo uno o ambos de los bits de estado siguientes en el archivo de estado: • Anulación de fallo al bit de encendido (S:1/8) • Bit de marcha permanente (S:1/12) El borrar un fallo usando el bit de marcha permanente (S:1/12) causa que el controlador entre inmediatamente en el modo de marcha REM. Asegúrese de entender completamente el uso de este bit antes de integrarlo en su programa. Refiérase a la página A–5 para obtener más información. También refiérase al capítulo 3 para obtener información relativa a los datos retentivos. Nota Usted puede declarar su propio fallo mayor específico a la aplicación escribiendo su propio valor único a S:6 y luego estableciendo el bit S:1/13 para evitar el uso repetido de los códigos definidos por el sistema. La gama de valores recomendados para los fallos definidos por el usuario es FF00 a FFOF.
  • 429.
    Cómo localizar ycorregir fallos 13–3 Cómo borrar fallos manualmente (procesadores SLC) La sección siguiente describe las maneras diferentes de borrar un fallo manualmente cuando usa un procesador SLC. • Borre manualmente el bit de fallo mayor S:1/13 y los bits de error menor y mayor S:5/0–7 en el archivo de estado usando un dispositivo de programación o un módulo de acceso de la tabla de datos. Posicione el procesador en el modo de programa REM. Corrija la condición que causa el fallo, luego retorne el procesador al modo de marcha REM o a uno de los módos de prueba REM. • Específico para SLC 5/03 y SLC 5/04 – Alterne el interruptor de llave de MARCHA a PROGrama y luego retorne a MARCHA. Específico para SLC 5/03 y SLC 5/04 – El borrar estos bits con el interruptor de llave en la posición MARCHA causa que el procesador entre inmediatamente en el modo de marcha. Si usted está en línea con un procesador SLC 5/03 ó SLC 5/04 con el interruptor de llave en la posición de MARCHA y presiona la tecla de función de borrado de fallo mayor, se le advierte que el procesador entrará en el modo de marcha un vez borrado el fallo. Cómo usar la rutina de fallo Procesadores SLC Al designar un archivo de subrutina, la coincidencia de fallos de usuario recuperables o no recuperables causa que la subrutina designada se ejecute durante un escán. Si el fallo es recuperable, la subrutina se puede usar para corregir el problema y poner a cero el bit de fallo S:1/13. Luego el procesador continúa en el modo de marcha. Si el fallo no es recuperable, la subrutina puede transmitir un mensaje por medio de la instrucción de mensaje a otro nodo DH-485 con información de código de error y/o efectúa una parada metódica del proceso. La subrutina no se ejecuta para los fallos no atribuibles al usuario. La rutina de fallo de usuario se trata en el capítulo 11.
  • 430.
    Manual de referenciadel juego de instrucciones 13–4 Controladores MicroLogix 1000 La ocurrencia de fallos de usuario recuperables y no recuperables causa que el archivo 3 se ejecute. Si el fallo es recuperable, la subrutina se puede usar para corregir el problema y poner a cero el bit de fallo S:1/13. Luego el controlador continúa en el modo de marcha REM. La subrutina no se ejecuta para los fallos no atribuibles al usuario. Mensajes de fallo Esta sección contiene mensajes de fallo que puede ocurrir durante la operación de los controladores MicroLogix 1000 y los procesadores SLC. Cada tabla enumera la descripción del código de error, la causa probable y la acción correctiva recomendada.
  • 431.
    Cómo localizar ycorregir fallos 13–5 Fallos del controlador MicroLogix 1000 Los fallos de controlador se dividen en los tipos siguientes: • errores de encendido • errores ida a marcha • errores de marcha • errores de carga
  • 432.
    Preface Manual de referenciadel juego de instrucciones 13–6 Errores de encendido Código de error (hex) Mensaje de advertencia Descripción Acción recomendada + /1.(1, /1%31,*-%. 2 $1( - + ,,.1* %+ $.-31.+%.1 23. .$411 • + ,.,-3. % -$-%*%. 2* + *-3114/$*=- % +*,-3$*=- +;$31*$ .$411*= - ,%*. % 4- $1( • 2* + /1.(1, % 4241*. 23: +31%. + ,.,-3. % -$-%*%. + /1.(1, /1%31,*-%. 2 $1( • 4+5 $1(1 + /1.(1, 8 -31 - + ,.%. % ,1$) • .,4-042 $.- 24 1/12-3-3 +.$+ % ++-1%+8 2* + 11.1 /12*23 + $.-31.+%.1 2 123#+$*= *-2 /1%,-3 %#*%. 4- -3.1-. 14*%.2. . 4- '++. % )1%61 *-31 -. * + /1.(1, % 4241*. $1(%. + $.-31.+%.1 2 5:+*%. +.2 %3.2 *-*$*+2 $1(%.2 $.- + /1. (1, 2 42- + #*3 % %3.2 13-3*5.2 /1%*%.2 2 23 #+$ * + /1.(1, % 4241*. 2 -. 5:+*%. + /1.(1, /1%31,* -%. 2 $1( • '*;12 +2 /432 % $.-7*=- 3*11 $.112/.- %*-32 - + $/34+. • .,4-042 $.- 24 1/12-3-3 +.$+ % ++-1%+8 2* + 11.1 /12*23 ! + /1.(1, % 4241*. 23: +31%. 8 + /1.(1, /1%31,*-%. 2 $1( • 41-3 + %2$.-7*=- 8 1$.- 7*=- % + +*,-3$*=- +;$31*$ 2 /.2*#+ 04 .$411*1 4- /1. #+, % 14*%. 13 % %2$. -$31 8 5.+51 $.-$31 + +*,-3$*=- +;$31*$ 4 /1.(1 , /4% 21 5:+*%. /1. +.2 %3.2 13-3*5.2 21:- /1%*%.2 • .,4-042 $.- 24 1/12-3-3 +.$+ % ++-1%+8 2* + 11.1 /12*23 .2 1$)*5.2 % %3.2 -31% 2+*% 3,/.1*9%.1 $.-3%.1 -31. #*-1*. $.-31.+ 8 23%. 23:- +31%.2 • 2$.-$3 8 54+5 $.-$31 + +*, +;$31*$ 24 4-*%% • 1(4 24 /1.(1, 8 54+5 *-*$*+*91 +.2 %3.2 -$21*.2 • -$*-% + 2*23, • .,4-042 $.- 24 1/12-3-3 +.$+ % ++-1%+8 2* + 11.1 /12*23
  • 433.
    Cómo localizar ycorregir fallos 13–7 Errores de ida a marcha Código de error (hex) Mensaje de advertencia Descripción Acción recomendada # / 62*7:%5) ()/ '21752/%(25 ,% ()7)'7%(2 81% '21(-'-A1 -19=/-(% ()1752 ()/ ,%5(:%5) 2 62*7:%5) ()6386 () *-1%/-%5 )/ 352')62 () )1')1(-(2 ()6386 () /26 35-0)526 6)+81(26 () 23)5%'-A1 • )6'21)'7) ; 98)/9% '21)'7%5 /% %/-0)17%'-A1 )/'75-'% % 68 81-(%( • %5+8) 68 352+5%0% ; 98)/9% % -1-'-%/-%5 /26 (%726 1)')6%5-26 • 1'-)1(% )/ 6-67)0% • 2081?48)6) '21 68 5)35)6)1C 7%17) /2'%/ () //)1C5%(/); 6- )/ )5525 3)56-67) # / 62*7:%5) ()/ '21752/%(25 ,% ()7)'7%(2 81% '21(-'-A1 -19=/-(% ()1752 ()/ ,%5(:%5) (85%17) )/ 352')62 () )1')1(-(2 ()1752 () /26 35-0)526 6)+81(26 () 23)5%'-A1 • )6'21)'7) ; 98)/9% '21)'7%5 /% %/-0)17%'-A1 )/'75-'% % 68 81-(%( • %5+8) 68 352+5%0% ; 98)/9% % -1-'-%/-%5 /26 (%726 1)')6%5-26 • 1'-)1(% )/ 6-67)0% • 2081?48)6) '21 68 5)35)6)17%17) /2'%/ () //)1C5%(/); 6- )/ )5525 3)56-67) / 352+5%0% '%5+%(2 12 ,% 6-(2 '21*-+85%(2 3%5% 81 0-'52'21752/%(25 - ()6)% 86%5 81 0-'52'21752/%(25 '21 )/ 352+5%0% 98)/9% % '21*-+85%5 68 '21752/%(25 '21 2 6)/)''-21) 2/ ! # / 6-67)0% 6) ,% )1')1(-(2 )1 )/ 02(2 () 0%5',% / -7 )67= )67%/)'-(2 ; /% 587-1% () *%//2 () 868%5-2 6) ).)'87% %17)6 () '20)1%5 )/ 35-0)5 )6'=1 ()/ 352+5%0% • )67%/)'% )/ -7 6- )6 '2,)5)17) '21 /26 5)48-6-726 () 68 %3/-'%'-A1 ; 5)7251) )/ 02(2 % 0%5',% 2 • 321+% % ')52 )/ -7 () *%//2 0%;25 ! # $ !1 352+5%0% 12 '203%7-/) 6) '%5+A / 352+5%0% 12 7-)1) )/ 1B0)52 '255)'72 () %5',-926 2 12 7-)1) /26 %5',-926 () (%726 () 7%0%@2 '255)'72 / 352+5%0% 35)()7)50-1%(2 6) '%5+% • )5-*-48) /% '21*-+85%'-A1 ; %6)+B5)6) 48) )/ 352')6%(25 '255)'72 ,%;% 6-(2 6)/)''-21%(2 • - ()6)% 86%5 81 0-'52C '21752/%(25 '21 )/ 352+5%0% 98)/9% % '21*-+85%5 68 '21752/%(25 '21 2 6)/)''-21) 2/
  • 434.
    Preface Manual de referenciadel juego de instrucciones 13–8 Errores de marcha Código de error (hex) Mensaje de advertencia Descripción Acción recomendada 0004 RUNTIME MEMORY INTEGRITY ERROR Mientras que el controlador estaba en el modo de MARCHA o cualquier modo de prueba, el ROM o RAM se alteró. Si el programa de usuario es válido, el programa y los datos iniciaĆ les cargados al controlador se usan y el bit de datos retentivos perdidos (S:5/8) se establece. Si el programa de usuario es válido, error 0003 ocurre. • Desconecte y vuelva a conectar la alimentación eléctrica a su unidad. • Cargue su programa y vuelva a inicializar los datos necesarios. • Encienda el sistema. • Comníquese con su representante local de AllenĆBradley si el error persiste. 0020 MINOR ERROR AT END OF SCAN, SEE S:5 Un bit de fallo menor (bits 0-7) en S:5 se estableció al final de escán. Entre en la pantalla de archivo de estado, borre el fallo y retorne al modo de marcha REM. 0022 WATCHDOG TIMER EXPIRED, SEE S:3 El tiempo de escán de programa excedió el valor del límite de tiempo sobrepasado del temporizador de control (watchdog) (S:3H). • Revise si el programa se ha atrapado en un lazo y corrija el problema. • Incremente el valor del límite de tiempo sobrepasado del tempoĆ rizador de control (watchdog) en el archivo de estado. 0024 INVALID STI INTERRUPT SETPOINT, SEE S:30 Un intervalo STI inválido existe (no entre 0 y 255). Establezca el intervalo STI entre los valores de 0 y 255. 0025 TOO MANY JSRs IN STI SUBROUTINE Hay más de 3 subrutinas anidadas en la subrutina STI (archivo 5). Corrija el programa de usuario para cumplir con los requisitos y restricciones de la instrucción JSR, y luego vuelva a cargar el programa y entre en el modo de marcha REM. 0027 TOO MANY JSRs IN FAULT SUBROUTINE Hay más de 3 subrutinas anidadas en la rutina de fallo (archivo 3). Corrija el programa de usuario para cumplir con los requisitos y restricciones de la instrucción JSR, y luego vuelva a cargar el programa y entre en el modo de marcha REM. 002A INDEXED ADDRESS TOO LARGE FOR FILE El programa hace referencia a un elemento más allá de un límite de archivo a través del direccionaĆ miento indexado. Corrija el programa de usuario para que no exceda los límites de archivo. 002B TOO MANY JSRs IN HSC Hay más de 3 subrutinas anidadas en la rutina del contador de alta velocidad (archivo 4). Corrija el programa de usuario para cumplir con los requisitos y restricciones de la instrucción JSR, y luego vuelva a cargar el programa y entre en el modo de marcha REM. 0030 SUBROUTINE NESTING EXCEEDS LIMIT OF 8 Hay más de 8 subrutinas anidadas en el archivo de programa principal (archivo 2). Corrija el programa de usuario para cumplir con los requisitos y restricĆ ciones para el archivo de programa principal, y luego vuelva a cargar el programa y entre en el modo de marcha REM.
  • 435.
    Cómo localizar ycorregir fallos 13–9 Código de error (hex) Acción recomendada Descripción Mensaje de advertencia 0031 UNSUPPORTED INSTRUCTION DETECTED El programa contiene una instrucción(es) que no es compatible con el microcontrolador. Por ejemplo, MSG, SVC o PID. Modifique el programa para que todas las instrucciones sean respaldadas por el controlador, y luego vuelva a cargar el programa y entre en el modo de marcha REM. 0032 SQO/SQC CROSSED DATA FILE BOUNDARIES Un parámetro de longitud/posición de instrucción del secuenciador indica un punto más allá del final de un archivo de datos. Corrija el programa para asegurar que los parámetros de longitud y posición no indiquen un punto más allá del archivo de datos. Vuelva a cargar el programa y entre en el modo de marcha REM. 0033 BSL/BSR/FFL/FFU/LFL/LFU CROSSED DATA FILE BOUNDARIES El parámetro de longitud de una instrucción BSL, BSR, FFL, FFU, LFL o LFU indica un punto más allá del final de un archivo de datos. Corrija el programa para asegurar que el parámetro de longitud no indique un punto más allá del archivo de datos. Vuelva a cargar el programa y entre en el modo de marcha REM. 0034 NEGATIVE VALUE IN TIMER PRESET OR ACCUMULATOR Un valor negativo se cargó a un valor preseleccionado de temporizador o acumulador. Si el programa transfiere valores a la palabra acumulada o preseleccionada de un temporizador, asegúrese que estos valores no sean negativos. Corrija el programa, vuelva a cargar y entre en el modo de marcha REM. 0035 ILLEGAL INSTRUCTION (TND) IN INTERRUPT FILE El programa contiene una instrucción de fin temporal (TND) en archivo 3, 4 ó 5 cuando se usa como subrutina de interrupción. Corrija el programa, vuelva a cargar y entre en el modo de marcha REM. 0037 INVALID PRESETS LOADED TO HIGH-SPEED COUNTER Un cero (0) o un valor preseleccioĆ nado alto negativo se cargó en el contador (C5:0) cuando el HSC era un contador progresivo o el valor preseleccionado alto era más bajo o igual que el valor preselecĆ cionado bajo cuando el HSC era un contador bidireccional. • Verifique que los valores preseleccionados sean válidos. • Corrija el programa, vuelva a cargar y entre en el modo de marcha REM. 0038 SUBROUTINE RETURN INSTRUCTION (RET) IN PROGRAM FILE 2 Una instrucción RET se encuentra en el archivo de programa principal (archivo 2). Elimine la instrucción RET, vuelva a cargar el programa y entre en el modo de marcha REM.
  • 436.
    Preface Manual de referenciadel juego de instrucciones 13–10 Código de error (hex) Mensaje de advertencia Descripción Acción recomendada 0040 OUTPUT VERIFY WRITE FAILURE Cuando las salidas fueron escritas y leídas por el controlador, la lectura falló. Es posible que fuera causado por ruido. • Refiérase a las pautas de conexión a tierra corresponĆ dientes en el capítulo 1. • Encienda el sistema. • Comuníquese con su representante local de AllenĆBradley si el error persiste. 0041 EXTRA OUTPUT BIT(S) TURNED ON Un bit de salida adicional se estableció cuando se restableció el bit de selección de bit adicional (S:0/8) en el archivo de estado. Para los controladores de 16 puntos, esto incluye los bits 6-15. Para los controladores de 32 puntos, esto incluye los bits 12-15. • Establezca S:0/8 o cambie su aplicación para que estos bits se activen. • Corrija el programa, vuelva a cargar y entre en el modo de marcha REM. Error de carga Código de error (hex) Mensaje de advertencia Descripción Acción recomendada 0018 USER PROGRAM IS INCOMPATIBLE WITH OPERATING SYSTEM Un programa no compatible se cargó. El programa no tiene el número correcto de archivos o no tiene los archivos de datos de tamaño correcto. El programa predeterminado se carga. • Verifique la configuración y asegúrese que el procesador correcto haya sido seleccionado. • Si desea usar un microcontroĆ lador con el programa, vuelva a configurar su controlador con MPS o APS (seleccione Bol. 1761).
  • 437.
    Cómo localizar ycorregir fallos 13–11 Fallos del procesador SLC Los fallos del procesador se dividen en los tipos siguientes: • errores de encendido • errores de ida a marcha • errores de marcha • errores de instrucción del programa de usuario Errores de encendido Código de error (hex) Descripción Causa probable Acción recomendada 0001 • • ' • %* ! ! • ! * ! * !# • ! !* (! ! • ( !) % ## ! !) ! !'! * ## !'!! ! 0002 )! ! ! $! $ • • ' • %* ! ! • ! * ! * !# • ! !* (! ! ## ! !) ! !'! * ## !'!! ! 0003 * ! !( ! * !' ! # * ! * 0007 ! ! * * !' ! # * ! *
  • 438.
    Preface Manual de referenciadel juego de instrucciones 13–12 Código de error (hex) Descripción Causa probable Acción recomendada 0008 ## # $ %(# %# ## # $!# $ %(# ##/ • • #,! • )/ %## ##% • % $!#$/ $ #%$/ $ #$ %'$ • % %/ $% ## !# '' ## !# # * % $# #%#.$% # % ,% / # !# ' '# ## % ,%% !# # * %# # !# '' ### .$ $ #!#$%% 0009 ## # #(# %# ## # $!# #(# ##/ • • #,! • )/ ##% %## • % $!#$/ $ #%$/ $ #$ %'$ • % %/ -%# $% ## !# '' ## !# # * % $# #%#.$% # % ,% / # !# ' '# ## % ,%% !# # * %# # !# '' ### .$ $ #!#$%% Errores de ida a marcha Código de error (hex) Descripción Causa probable Acción recomendada 0010 !# $ # ! ' #'$/ ## ' #'$/ !# $ # $ !% ' #'$/ !# !# # $## .$ $ #!#$1 %% !# ## %+/ !# $ !# $ # 0011 #' !# # % 0# $%, $% $%, !#$% !# # !% %# ' ## !# # '' !# ## $ %(# !# #/ !# ! # 0012 !# # $# % ## # # • • #,! • )/ ##% %## • % $!#$/ $ #1 %$/ $ $$ #$ %'$ • % %/ $% ## !# '' ## !# # * % ## # !#$$% $0#$ $# $ %( !# #/ !# ! # !# $## # * ## !# # 0013 • / # ## $%, $% • / $%, $% $0 ## ! # !# # • $% $ %$ $% $%, $% !# # !# / # ## $%, $% • % $% / $%, $% !# # / # $ $% !# # # !# $ # • $% / # !# $ # • # !# # $ !# $ # / #
  • 439.
    Cómo localizar ycorregir fallos 13–13 Código de error (hex) Descripción Causa probable Acción recomendada 0014 ))) ) !- !%+)% • ,! • )#2$' • %/!6% !%))+ +!)) • #+ *,')*!6% *)8 +%*!6% % #* *#!* % )* !%,+!-* • ,%+ #!$ #3 !%*,!!%+ ))! # ')#$ -,#- )) # '))$ 0 ,+ ! # ))) ')*!*+ *7)* ,*) # *+.) '))$!6% ') ') ') *))##) 0 )) # '))$ 0015 ))) ) !- %!,)!6% • ,! • )#2$' • %/!6% !%))+ +!)) • #+ *,')*!6% *)8 +%*!6% % #* *#!* % )* !%,+!-* • ,%+ #!$ #3 !%*,!!%+ ))! # ')#$ -,#- )) # '))$ 0 ,+ ! # ))) ')*!*+ *7)* ,*) # *+.) '))$!6% ') ') ') *))##) 0 )) # '))$ 0016 )+!6% %%! *',3* # '3)! #!$%+!6% #3+)! /!*+ ,% %!!6% ))) ,)%+ # %%! ,% # !+ * *+# 0 ,)) ,% !%+)),'8 !6% # *,$!%!*+) #3+)! ,)%+ # *+ % $) # !+ *+ *! *+#! ') # '))$ ,*,)! !3)* # '4+,# ') +%) +##* ) # ')!6% # !+ *+ • *+#1 # !+ *! * * )%+ % #* )(,!*!+* '#!!6% 0 )+)% # $ $) • '% ) # !+ ## $0) %+* (, * #% # !%# # ')!$) *2% '))$ 0017 *!,# # '))$ ,*,)! # $6,# $$)! # !+ * *+#! 0 # '))$ ,*,)! # $6,# $$)! % ))*'% # '))$ ,*,)! )%*!) # '))$ $6,# $$)! 0 $! # $ $) 0018 ))$ ,*,)! % $'8 +!# *!,# # +!' *!*+$ ')!6% *+ ))) +$!3% ', ')) ,)%+ # %%! # '))$ ,*,)! * $*! -%1 0 % * ', ,+) % # *!*+$ ')!6% +,# $%4(,* % *, )')*%+%+ ') +%) !%)$!6% )8 *!*+$* ')!6% !*8 '%!#* ') # ')*) 0019 % %7$) +!(,+ ,'#! * ++6 % !%*+),!6% +!(,+ ,'#! #+%+ * %%+)6 % ,% *,),+!% • ,!+ # +!(,+ ,'#! • 5 ,% +!(,+ Errores de marcha Código de error (hex) Descripción Causa probable Acción recomendada 001F % ')#$ !%+)! # '))$ ,))!6 ,)%+ ,% **!6% !!6% % #4% % ),! '3)! $,%!!6% *%/!6% 0 )%/!6% #!$ #3 ,))!6 ,)%+ ,% **!6% !!6% % #4% ,#- )) # '))$ 0 -,#- !%+),!) #* $!* 0004 % ))) $$)! ,))!6 ,)%+ # $ $) • ,! • )#2$' • %/!6% +!)) • #+ *,')*!6% *)8 +%*!6% % #* *#!* % )* !%,+!-* • ,%+ #!$ #3 !%*,!!%+ ))! # ')#$ -,#- )) # '))$ 0 ,+ , ,*) # )+)4*+! ) ,+$2+! % ,% $6,# $$)! ') -#-) )) # '))$ ,+$2+!$%+ 0 %+)) % # $ $)
  • 440.
    Preface Manual de referenciadel juego de instrucciones 13–14 Código de error (hex) Descripción Causa probable Acción recomendada 0020 Un bit de error menor se establece al final del escán. Refiérase a los bits de error menor S:5 (byte inferior solamente). • Un overflow de instrucción matemática o FRD ha ocurrido, • un error de instrucción de registro de desplazamiento o secuenciador se detectó, • un error mayor se detectó durante la ejecución de una rutina de fallo de usuario, o • las direcciones de archivo M0-M1 fueron indicadas en el programa de usuario para una ranura inhabilitada. Corrija el problema de programación, vuelva a cargar el programa y entre en el modo de marcha. Vea también los bits de error menor S:5 en el apéndice B. 0021 Un fallo de alim. eléc. remota de un chasis de E/S de expansión ha ocurrido. Nota: Un sistema modular que encuentra una condición de sobretensión o sobreintensidad en cualquiera de sus fuentes de alim. eléc. puede provocar cualquiera de los códigos de error de E/S indicados en las páginas 13-18 a 13-21 (en vez de código 0021). La condición de sobretensión o sobreintensiĆ dad se indica por un LED de fuente de alim. eléc. apagado. Procesadores fijos y FRN 1 a 4 SLC 5/01 - si el fallo de alim. eléc. remota ocurrió mientras que el procesaĆ dor estaba en el modo de marcha REM, error 0021 causará que el bit de error mayor detenido (S:1/13) se ponga a cero durante el próximo encendido del chasis local. Procesador SLC 5/02 y procesadores FRN 5 SLC 5/01 - no es necesario desconectar y volver a conectar la alim. eléc. para reanudar el modo de marcha REM. Una vez que el chasis está reconectado a la alim. eléc., el CPU vuelve a iniciar el sistema. ! Procesadores compactos y FRN1 A 4 SLC 5/01: la alimentación eléctrica se interrumpió o la alimentación eléctrica se redujo momentáneamente bajo los valores especificados para un chasis de expansión. Procesadores SLC 5/02 y procesadores FRN 5 SLC 5/01: Este código de error está presente solamente mientras la alimentación eléctrica no se aplica a un chasis de expansión. Este es el único código que se pone a cero automáticamente. El fallo se borrará cuando la alimentación eléctrica se vuelva a aplicar al chasis de expansión. Procesadores fijos y FRN 1 a 4 SLC 5/01: Desconecte y vuelva a conectar la alimentación eléctrica al chasis local. Procesadores SLC 5/02 y procesadores FRN 5 SLC 5/01: Vuelva a aplicar la alimentación eléctrica al chasis de expansión.
  • 441.
    Cómo localizar ycorregir fallos 13–15 Código de error (hex) Descripción Causa probable Acción recomendada 0022 # +!$' *3% %+)# .+ ,*,)! *! /! • # +!$' %+)# .+ * *+#!5 $*! ') # '))$ ,*,)! • # '))$ ,*,)! * +)'5 % ,% #1 • %)$%+ # #4$!+ +!$' *)'* # %+)# .+ % # ) !- *+ • ))! # ')#$ # '))$ ,*,)! 0023 ) !- !%+)),'!5% !%-3#! % /!*+%+ • % %6$) ) !- !%+)),'!5% , *!% % # ) !- *+ ') # ) !- *,),+!% % , ) • # %6$) ) !- !%+)),'!5% *!% ) 5 • % !#!+ # ',%+ ,*+ !%+)),'!5% 0 # % ) !- % # ) !- *+ • ) ,% ) !- *,),+!% !%+)),'!5% ') # % ) !- *!% % # ) !- *+ # % ) !- % *) 5 0024 %+)-# !%+)),'!5% !%-3#! $0) (, $* %+!- # ',%+ ,*+ * %,%+) ,) #* #4$!+* $0) (, $* %+!- • % !#!+ # ',%+ ,*+ !%+)),'!5% 0 # % ) !- % # ) !- *+ • ) ,% ),+!% !%+)),'!5% ') # % ) !- !%! % # ) !- *+ # % ) !- % *) 5 0025 /* '),%! '!###$* ') # ),+!% % !%*+),!5% *+3 ##$% ,% %6$) ) !- *!% ,% ),+!% ))! # '))$ ,*,)! ') ,$'#!) % #* )(,!*!+* 0 )*+)!!%* ') # !%*+),!5% 0 #, -,#- )) # '))$ 0 ,+ 0026 /* '),%! '!###$* ') ,% ),+!% !%+)),'!5% % !%*+),!5% *+3 ##$% ,% %6$) ) !- *!% ,% ),+!% !%+)),'!5% ))! # '))$ ,*,)! ') ,$'#!) % #* )(,!*!+* 0 )*+)!!%* ') # !%*+),!5% 0 #, -,#- )) # '))$ 0 ,+ 0027 /* '),%! '!###$* ') ,% ),+!% ## ,*,)! % !%*+),!5% *+3 ##$% ,% %6$) ) !- *!% ,% ),+!% ## ,*,)! ))! # '))$ ,*,)! ') ,$'#!) % #* )(,!*!+* 0 )*+)!!%* ') # !%*+),!5% 0 #, -,#- )) # '))$ 0 ,+ 0028 #) ) !- ),+!% ## 2')+!5% %%! % -3#! % /!*+%+ • % %6$) ) !- ),+!% ## * )5 % # ) !- *+ ') # ) !- ),+!% ## % , ) 4*!$%+ • # %6$) ) !- ) ) 5 • % !#!+ # %6$) ) !- ),+!% ## % # ) !- *+ • ) ,% ),+!% ## ') # %6$) ) !- !%! % # ) !- *+ # % ) !- % *) 5
  • 442.
    Preface Manual de referenciadel juego de instrucciones 13–16 Código de error (hex) Descripción Causa probable Acción recomendada 0029 ** $ *5 / +,2 -* ,'' $ +(' *!.' ,'+ * ' $ 6$,%' *!.' ! El procesador SLC 5/02 usa un valor de índice de cero para la instrucción con fallo siguiente a la recuperación de error. $ (*' *% +,2 !' **+ - $%,' ,*.3+ $ *'%,' /' $ -$ + -,* -* $'+ $4%,+ (*%,'+ '+ $4%,+ +' $ 6$,%' $%,' $ 6$,%' *!.' ,'+ *' ('* $ -+-*' '**# 0 .-$. * * $ (*' *% -+-*' +, (*'$% ' (- +* '** ' +*' $ ($* * +,*' 4 002A ** *5 / +,2 -* $ *!.' ,'+ ' +(4' $ (*' *% +,2 !' **+ - $%,' ,*.3+ $ *'%,' /' $ -$ + -,* -* $ $4%, *!.' '**# $ (*' *% -+-*' + %2+ +(' ,'+ -+' $ %( %%'* ' .-$. -** $ (*' *% (*%,' $ *-1' $4%,+ *!.' -$. * * $ (*' *% -+-*' +, (*'$% ' (- +* '** ' +*' $ ($* * +,*' 4 002B /+, - 6%*' *!.' ' .2$' (* - *5 *, $ 6%*' *!.' /+, (*' ' + $ ,(' *!.' '**,' ' $ 6%*' *!.' ' /+, *)- $ ,(' *!.' ' * $ 6%*' *!.' 002C $ $%,' *5 *,' ' +,2 -* $'+ $4%,+ $ *!.' ,'+ $ $%,' *,%, ' ' /+, (*' $ ,(' *!.' + '**,' 0 /+, * $ $%,' *,%, ' 002D /+, - +-$%,' *5 *,' ' ' .2$' ! ** - +-$%,' '**,%, ' - ** *, ! +' ,- - *!.' '**# $+ **+ 0 *,, 002E -* ,* ' .2$ *-* +,2 .4 ' - ,*#, ' +*, +,2 (*+, % $ *-* ,* - ,*#, +*, 002F *!.' ,**-(5 ' .2$' ' ' /+,, • 6%*' *!.' ,**-(5 - + ' $ *!.' +,' (*' $ *!.' +-*-, ' - *' ' • $ 6%*' *!.' ,**-(5 + ' * 5 !$, $ -5 +*' - *' +, -5 ' % $ .$'* - *!.' +$* .2$'
  • 443.
    Cómo localizar ycorregir fallos 13–17 Errores de instrucción de programa de usuario Código de error (hex) Descripción Causa probable Acción recomendada 0030 Se intentó saltar un archivo de subrutina anidado en exceso. Este código también puede significar que un problema tiene posibles rutinas recursivas. • Más que el máximo de 4 (8 si usa un procesador 5/02 ó 5/03) niveles de subrutinas anidadas es llamado en el programa de usuario, o • la(s) subrutina(s) llama(n) subrutina(s) de un nivel anterior. Corrija el programa de usuario para cumplir con los requisitos y restricciones para la instrucción JSR y luego vuelva a cargar el programa y ejecute. 0031 Se detectó una referencia de instrucción no compatible. El tipo o nivel de serie del procesador no tiene capacidad para un instrucción que reside en el programa de usuario, o usted ha programado una constante como el primer operando de una instrucción de comparación. • Reemplace el procesador con uno que tenga capacidad para el programa de usuario, o • modifique el programa de usuario para que todas las instrucciones sean respaldaĆ das por el procesador, y luego vuelva a programar y ejecute. 0032 Un parámetro de longitud/ posición de instrucción de secuenciador indica más allá del final de un archivo de datos. El programa está haciendo referencia a un elemento fuera del límite de archivo establecido por la instrucción de secuenciador. Corrija el programa de usuario o asigne más espacio de archivo de datos usando el mapa de memoria, y luego vuelva a cargar y ejecute. 0033 El parámetro de longitud de una instrucción LFU, LFL, FFU, FFL, BSL o BSR indica más allá del final de un archivo de datos. El programa está haciendo referencia a un elemento fuera del límite de archivo establecido por la instrucción. Corrija el programa de usuario o asigne más espacio de archivo de datos usando el mapa de memoria, y luego vuelva a cargar y ejecute. 0034 Un valor negativo para un acumulador de temporizador o valor preseleccionado fue detectado. Procesadores fijos con entrada de 24 VCC solamente: un HSC preseleccionado negativo o de cero se detectó en una instrucción HSC. El valor acumulador o preselecĆ cionado de un temporizador en el programa de usuario se detectó como negativo. Si el programa de usuario transfiere valores a la palabra acumulada o preseleccionada de un temporizador, asegúrese que estos valores no puedan ser negativos. Corrija el programa de usuario, vuelva a cargar y ejecute. 0034 (relacionado con la instrucción fija 5/01 HSC) Un HSC preseleccionado negativo o de cero se detectó en una instrucción HSC. El valor preseleccionado para la instrucción HSC está fuera del rango válido. El rango válido es 1-32767. Si el programa de usuario transfiere valores a la palabra acumulada o preseleccionada de un temporizador, asegúrese que estos valores no puedan ser negativos. Corrija el programa de usuario, vuelva a cargar y ejecute. 0035 La instrucción TND, SV o REF se llama dentro de una rutina de interrupción o fallo de usuario. Una instrucción TND, SVC o REF se usa en una rutina de interrupción o fallo de usuario. Esto es ilegal. Corrija el programa de usuario, vuelva a cargar y ejecute.
  • 444.
    Preface Manual de referenciadel juego de instrucciones 13–18 Código de error (hex) Descripción Causa probable Acción recomendada 0036 ! )% ! )+ ( #% (! #%+ '% !'%(-! ! )% ! )+ %- ! (! !'%(-! #% #%% ((% #% ((% ), (!-! !'% ' #% ' !'%(-! - '%' ! #,'( ' !( 0038 ! !'%(-! ''- ! (! %) $( ! (! (%('! ! !'%(-! % ! #%% #%!# %% #%% ((% )() %% * (' xx3A (%%- (! !'!' %% (! %) ' #%' !'!'- %% (! %-! !%' ( ! (! %) $( '! #%'-! %) ' !'!' ! #%'-! * %!'!' (!-! 1f39 ! !'( ! ! )+ ''- ! (! %) ! #% % #% ' ! !'! (! )% !') % *% $( %$( #% % #% !' ' ! ! ( )% !)+ * %% ' ((%
  • 445.
    Cómo localizar ycorregir fallos 13–19 CODIGOS DE ERROR: * )+)* .. % #* 4!* *!,!%+* )')*%+% # %5$) )%,) % .!$# ! # )%,) ')!* % * ', +)$!%) #* )+)* .. * %-!)+% % ') #* %+)#)* !* / ') #* %+)#)* $,#)* !2)* # +# # ) FALLOS DE E/S RECUPERABLES ')*)* / *#$%+ , * #* ##* *% ),')#* ) ),'))#* ,*+ !% !#!+) # )%,) .. *'!! % # ),+!% ## ,*,)! ! % !% !#!+ # )%,) .. # ')*) *+)1 % ## # !%# # *1% Nota: % +)+ $,/ 3 ', ,*) (, # ')*) !%!(, # .!*+%! ,% ))) % # )%,) ,%(, # +)+ 3 ,) !%*+# % ,% )%,) !*+!%+ Ran. xx 0 00 1 01 2 02 3 03** 4 04 5 05 6 06 7 07 Ran. xx 8 08 9 09 10 0A 11 0B 12 0C 13 0D 14 0E 15 0F Ran. xx 16 10 17 11 18 12 19 13 20 14 21 15 22 16 23 17 Ran. xx 24 18 25 19 26 1A 27 1B 28 1C 29 1D 30 1E 1F* NUMEROS DE RANURA (xx) EN HEXADECIMAL Errores de E/S Código de error (hex) Descripción Causa probable Acción recomendada xx50 % ))) +* *!* * ++ • ,! • )#1$' • %.!4% !%))+ +!)) • #+ *,')*!4% *)6 +%*!4% % #* *#!* % )* !%,+!-* • ,%+ #!$%+!4% #2+)! !%*,!!%+ ))! # ')#$ )) # ## / -,#- %+)) % # $ $) xx51 % ))) +!$' ,!4% 0+* * ++ % ,% $4,# ! 2*+ * ,% $4,# !*)+* * +)+ ,% ')#$ ),! ! 2*+ * ,% $4,# *'!# )!2)* # $%,# ,*,)! ))*'%6 !%+ ') +%) # ,* ')# *%+ / -,#- %+) # #!$%+!4% #2+)! # *!*+$ ! * % ))! # ')#$ )$'# # $4,# xx52 % $4,# )(,)! ') # '))$ ,*,)! * ++ $ #+%+ (,!+ % $4,# %!,) ') ,% )%,) +)$!% #+ *! #!$!% • % !#!+ # )%,) % # ) !- *+ / • !%*)+ # $4,# )(,)! % # )%,)
  • 446.
    Preface Manual de referenciadel juego de instrucciones 13–20 Código de error (hex) Descripción Causa probable Acción recomendada xx53 )# '(/ ! ) $#! ) ) #!# # )' - ' (( %) ) ( ) !2) # '(# '( 2# (!0 $) ' %) ) !2) # ' '( # • ) # '(/ #) $ ) !2)# $# - ) !2)# $'( # • !2) # ' '( # $# '1 !'!# • ( ) *# '(# - # # - )( • %)( !2) # # # - )( # • !#%) #)2 $ %) )- !2! - )# *) * $#! - )( • )'( $ %) !2) # ' '( # # # !-# - )( '$1# $ ((2 ( !## ! # $) # ) '' *1# '' ' !2) #' ( (#' ' )' '' *1# * - xx54 !2) # %)# $ $#! )')# ' (( %) ' ($# #(# !2) # ) ) (! ' ($# ( %) #)# $ ) $# )')# • !$ !2) # # !2) # #(# # # - )( # • ! #)2 $ ) *) * $#! - )( xx55 !2) # '(# %)# $ $#! )')# ' (( %) ( ) #(# #(# '( 2# (!0 $) ' %) ) *# (( '$ ' #(# • 0'( ' ) !2) # '(# #(# ' ( #(# ' ## #)2 • 0'( ' ) !2) # '$ #(# # (( ' #(# • 0'( ' ) !2) # '(# !$ / # # ) !2) # # #(# ' ## )# # # - )( # • ! #)2 $ %) #'$# !2) # ,'(( )# *) * $#! - )( • 0'( ' ) !2) # '$ 0' !) )')# $ # !2) # xx56 #)2 '' '$ $#! )')# ' (( #!# #( #)2 '' '$ $# )')# # #'$# + # #)2 '' *) * $#! - )( xx57 !2) # '$ # '$## ) #!# !!# #%) #!$(# (# 1!( (!$# %)# !2) # '$ # '$# $#'# (# (!$# $!(# '#( - *) * #( ! 0 '' '(# # # $# ! 0' !) )')# !2) # '$ ) ' '# !$ . !2) # xx58 !2) # '$ # ) # 0# ( # (( ' '( -( '(# !2) # 0' !) )')# !2) # '$ '#( - *) * #( ! 0 '' '(# # # $# ! 0' !) )')# !2) # '$ ) ' '# !$ . !2) #
  • 447.
    Cómo localizar ycorregir fallos 13–21 Código de error (hex) Descripción Causa probable Acción recomendada xx59 !3) # '$ # '$## ) #!# #!# .# (# 1!( (!$# %)# !3) # '$ # .3 ) #!# ' $#'# (# (!$# $!(# 0' !) )')# !3) # '$ ) ' '# !$ . !3) # xx5A # ! ()$3 + 0'( ' ) !3) # '(# ' (( ) $# ! )# 0'( ' ) !3) # '$ 0' !) )')# !3) # '#( - *) * #( ! 0 '' %) ' - ) $# ! )# - '4' )' ' $/(' #,3 ( )' 0'( ' ) !3) # '$ 0' !) )')# !3) # ) ' '# !$ . !3) # xx5B # #)3 *# (!2# *# $#! )')# , $ !3) # *# ' #(# $ !3) # '( ) 0' !) )')# !3) # '$ ) * #) *# '4 # '()# !) - )# *) * - )( xx5C # #)3 *# (!2# *# $#! )')# , $ !3) # #' *#' '# #(#' $ !3) # '( ) 0' !) )')# !3)# '$ )* #) *# '4 # '()# !) )# *)* - )( xx5D '*# ()$3 '# (# # ' #!$( # $#'# !3) # '$ '# (# '*# - $#'# # ( $ $ # 0' !) )')# !3)# '$ $ (! )/' $#'#' ( $ $ )'# !3)# ! $#'# )# %) ( $ $ !3)# xx5E # #(# # '#(+ $#'# #(+ #(# # $#'# (# ) * $#! )'# '#(+ $## $# xx60 a xx6F ( ) # !-# )$ '$1# $ !3) # xx70 a xx7F ( ) # !-# # )$ '$1# $ !3) # xx90 # ! ()$3 ) ) ( !3) # '$ '# (3 '*# )( (3 ) ) 0' !) )')# !3) # '$ ) ' '# !$ . !3) # xx91 ) ( # !3) # '$ ) ) ( # '#( - *) * #( ! 0 '' '(# # # $# ! 0' !) )')# !3) # '$ ) ' '# !$ . !3) #
  • 448.
    Preface Manual de referenciadel juego de instrucciones 13–22 Código de error (hex) Descripción Causa probable Acción recomendada xx92 # ! !* * # $ !! * # * * ! * # * * ' * ! * # ! ## % ! xx93 % ( * * * ' * xx94 * !! ! !* '! ! ! !' * ! * ! ! !* '! * ! ! * ! !* '! % * ) • ! * % ! • ) * * * ## % !
  • 449.
    Cómo localizar ycorregir fallos 13–23 Cómo localizar y corregir fallos de los procesadores SLC 5/03 y SLC 5/04 El único modo de comunicación entre usted y el procesador entre el momento en que usted conecta la alimentación eléctrica al procesador SLC 5/03 ó SLC 5/04 y el momento en que éste pueda establecer comunicación con un dispositivo de programación conectado, es por medio de la pantalla LED. Cómo encender la pantalla LED Cuando se aplica la alimentación eléctrica, todos los LED parpadean momentáneamente y luego se apagan. Esta es parte de la secuencia de encendido normal. Luego del autodiagnóstico del procesador, todos los LED volverán a parpadear momentáneamente. Si el programa de usuario está en un estado de marcha, el LED de MARCHA se ilumina. Si un fallo existe dentro del procesador, el LED FLT se ilumina. Cómo identificar errores del procesador durante la descarga de un sistema de operación El proceso de descarga dura aproximadamente 45 segundos. Durante este período, observe la pantalla LED para ver la información de estado. Durante el progreso de la descarga, los LED de MARCHA y FLT permanece apagados. Los LED de RS232, DH485 ó DH+, FORCE y BATT se iluminan en una secuencia previamente definida. Si la descarga se realiza exitosamente, los LED anteriores se iluminan. Si ocurre un error durante el proceso de descarga de un módulo de memoria del tipo sistema de operación o durante el proceso de autodiagnóstico de encendido normal, el LED FLT se ilumina y los cuatro LED se parpadean intermitentemente a una velocidad de 2 segundos.
  • 450.
    Preface Manual de referenciadel juego de instrucciones 13–24 La tabla siguiente describe las posibles combinaciones LED que se muestran alternadamente cada vez qie los LED se iluminen parpadeando. Visualización de LED ILUMINADO Descripción 1 + .#*+ , ))') )-) +$ 1 + .#*+ , $0%#+ +#%(' *')(*' '+)'$ -+'! )-) .#*+ , ))') $ '+#' $ %1,$' %%')# $ *#*+% '()#1 *+/ $+)' 1 + $ *#*+% '()#1 *)!$ ' * '%(+#$ ' $ )-) 1 + #++1 *)!) $ *#*+% '()#1 $ %%')# *)#+,) ()'+!# $$' $* $$' ,)+ $ +)*%#*#1 $ *#*+% '()#1 *)!$ 1 + $ *#*+% '()#1 *+/ ,*+ ' *#' $+)'
  • 451.
    Archivo de estadodel controlador MicroLogix 1000 A–1 A Archivo de estado del controlador MicroLogix 1000 Este apéndice enumera: • el archivo de estado del controlador MicroLogix 1000 • los tiempos de ejecución de instrucción y el uso de memoria de instrucción Este apéndice trata las funciones del archivo de estado de los controladores MicroLogix 1000.
  • 452.
    Manual de referenciadel juego de instrucciones A–2 Descripción general del archivo de estado El archivo de estado le permitir monitorizar cómo funciona el sistema de operación y le permite dirigirlo de la manera que usted desea que funcione. Esto se efectúa usando el archivo de estado para establecer bits de control y monitorizar los fallos de hardware y software y otra informacióin de estado. Nota No escriba a palabras reservadas en el archivo de estado. Si va a escribir a los datos de archivo de estado, primero es imprescindible que entienda a fondo la función. El archivo de estado S: contiene las palabras siguientes: S:0 Indicadores aritméticos A-3 S:1L (byte bajo) Estado/control del modo de controlador (bajo) A-4 S:1H (byte alto) Estado/control del modo de controlador (alto) A-4 S:2L (byte bajo) Estado/control del modo alterno de controlador (bajo) A-7 S:2H (byte alto) Estado/control del modo alterno de controlador (alto) A-7 S:3L (byte bajo) Tiempo de escán actual A-9 S:3H (byte alto) Tiempo de escán de control (watchdog) A-9 S:4 Base de tiempo A-10 S:5 Bits de error menor A-10 S:6 Código de error mayor A-12 S:7 Código de suspensión A-16 S:8 a S:12 Reservado A-16 S:13, S:14 Registro matemático A-16 S:15L (byte bajo) Reservado A-16 S:15H (byte alto) Velocidad en baudios A-16 S:16 a S:21 Reservado A-17 S:22 Tiempo de escán observado máximo A-17 S:23 Reservado A-17 S:24 Registro de índice A-17 S:25 a S:29 Reservado A-17 S:30 Punto de ajuste STI A-17 S:31 y S:32 Reservado A-17
  • 453.
    Archivo de estadodel controlador MicroLogix 1000 A–3 Descripciones de archivo de estado Las tablas siguientes describen las funciones del archivo de estado a partir de la dirección S:0 hasta la dirección S:32. Cada bit de estado se clasifica como uno de los siguientes: • Estado — Use estas palabras, bytes o bits para monitorizar la operación del controlador o la información de estado del controlador. El programa de usuario o el dispositivo de programación raras veces escribe a la información (a menos que usted desee restablecer o borrar una función tal como un bit de monitor). • Configuración dinámica — Use estas palabras, bytes o bits para seleccionar opciones de controlador mientras esté en línea con el controlador. • Configuración estática — Use estas palabras, bytes o bits para seleccionar opciones de controlador mientras que esté en el modo de programa fuera de línea antes de descargar el programar de usuario. #$ #%,% $ * $% $+ $ #$ #%,% $ $ ' $ ! # %# # $!,$ - %#$ $%# $ %+%$ * % $ $% $% $ %$ !# '+ $% $ % %#$ $%# $ %+%$ * % $ !# # ## $% $% % $ $% ! # %# # $ ## !#$% %+% $ # %## % !# !$% # $% % $ ' - %+% $ $ #% % # % ' %##! - # !# # ' # # $ #$%# - $ # '# ( $% $% % $ $% ! # %# # #$% !#- %+% $ !% $ $% %## % !# !$% # % $ $% % %##!- ! # '# ( %, $ $% )!- % ,#$ #% % # % ' %##! - # !# # ' # # $ #$%# - $ #
  • 454.
    Preface Manual de referenciadel juego de instrucciones A–4 Dirección Descripción Clasificación Bit S:0/2 Cero Estado Este bit es establecido por el controlador cuando el resultado de una determinada operación matemática o de manejo de datos es cero. De lo contrario, el bit permanece puesto a cero. Cuando una rutina STI, contador de alta velocidad o fallo interrumpe la ejecución normal del programa, el valor original de S:0/2 se restaura cuando la ejecución se reanuda. S:0/3 Signo Estado Este bit es establecido por el controlador cuando el resultado de una determinada operación matemática o de manejo de datos es negativo. De lo contrario, el bit permanece puesto a cero. Cuando una rutina STI, contador de alta velocidad o fallo interrumpe la ejecución normal del programa, el valor original de S:0/3 se restaura cuando la ejecución se reanuda. S:0/4 a S:0/7 Reservado S:0/8 Configuración de E/S de extensión Configuración estática Este bit debe ser establecido por el usuario cuando se escribe a salidas no usadas. Si las salidas restablecidas y no usadas se activan, el controlador estará con fallo (41H). S:0/9 a S:0/15 Reservado S:1/0 a S:1/4 Estado/control del modo de Estado Los bits 0-4 funcionan así: 0 0000 = (0) Descarga remota en progreso 0 0001 (1) M d d S:1/4 del modo de controlador 0 0000 (0) Descarga remota en progreso 0 0001 = (1) Modo de programa remoto 0 0011 = (3) Pausa de suspen. (operación sido detenida por la ejec de instr SUS) detenida por la ejec. de instr. SUS) 0 0110 = (6) Modo de marcha remota 0 0111 = (7) Modo continuo de prueba remota 0 0111 = (7) Modo continuo de prueba remota 0 1000 = (8) Modo de un solo escán de prueba remota S:1/5 Forzados habilitados Estado Este bit es establecido por el controlador (1) para indicar que los forzados siempre son habilitados. S:1/6 Forzados instalados Estado Este bit es establecido por el controlador para indicar que los forzados han sido establecidos por el usuario. S:1/7 Comms activos Estado Este bit es establecido por el controlador cuando el controlador recibe datos válidos de su canal RSĆ223. Si el controlador no recibe datos válidos durante 10 segundos a través de este canal, el bit se restablece. S:1/8 Anulación de fallo al encendido Configuración estática Una vez establecido, este bit causa que el controlador ponga a cero el bit de error mayor detenido S:1/13 y los bits de error menor S:5/0 a S:5/7 al momento de encendido si el procesador había estado anteriormente en el modo de marcha REM y había estado con fallo. Luego, el controlador intenta entrar en el modo de marcha REM. Establezca este bit usando la función de monitor de datos fuera de línea únicamente.
  • 455.
    Archivo de estadodel controlador MicroLogix 1000 A–5 Dirección Descripción Clasificación Bit $$' (*',4 ' ' -*4 +,2, -' +, , + +,$ 0 $ $%,4 $3,* + +', 0 + .-$. ',* %,*+ $ ',*'$'* +,3 $ %'' %*! $ ',*'$'* #-, $ *-, $$' -+-*' ,+ $ #-4 $ (*%* +2 $ (*' *% +, , $ '(4 ('* *' $ , **'* %0'* ,' (* *-* $ '(*4 $ %'' %*! $ *-, $$' -+-*' ' *+,$ $ , *+-$,*2 $ %'' $$' *' *% $ $4 *-, $$' -+-*' $ '*% -' #-, $ *-, $$' (*',4 ' 4 ' $$' **'* %0'* ', $ .$'* +*.' *! (*%, ' -*4 +,2, .1 +,$' +, , -+ )- $ ',*'$'* (' *' 0 ,+ ,,* ,** $ %'' -' $ $%,4 $3,* + ($ - '-** + - *+,$%,' +(*' +, , ' + +,$ $ ',*'$'* + $ %'' ,*'* $ )- + ',* ,+ !* (*' $ $%,4 $3,* %'+ )- $ ',*'$'* +,-.* $ %'' (*- $ ',*'$'* +, $ %'' (*- -' + ,**-%(4 $ $%,4 $3,* $ ',*'$'* ,* $ %'' (*' *% -' + ($ $ $%,4 $3,* +, , -$ $'+ $$'+ /+,,+ $ %'%,' ( * El establecer el bit de marcha permanente causa que el controlador entre en el modo de marcha REM si un restablecimiento inesperado ocurre, independientemente del modo en que el controlador estaba antes de ocurrir el restablecimiento. Los restablecimientos inesperados pueden ocurrir debido a ruido electromagnético, conexión incorrecta a tierra o un fallo de hardware interno del controlador. Asegúrese que su aplicación haya sido diseñada para manejar esta situación de manera segura. !
  • 456.
    Preface Manual de referenciadel juego de instrucciones A–6 Dirección Descripción Clasificación Bit %%% *% '! !(%.! !, ' ' ' #% !'%% (! !(!'% (! %%% *% !'%% !'% ! (! !.! #% . !'!%, (! . $( #( (% #% !'% !.! (! ' ' !'%% • ' ! (! ' (% ',! ') * ') • !'% ! %('! ((% ! ') ', ! % #% '! - $( . % %('! !'!' (! %(#%.! !.! %('! ((% '% ! $( %(#%.! !% #! % (! . % !' % %('! . % %('! ! !'! . %('! '% ! $( ! #%% !'!(% #%.! !'%% %('! ! ' ' ! ! (! ' (% * ') (! (' #! % ' (! (! #') #%% .! !'%% #%% % ' ( )% (! )% ( '+ ! #%% % #% !%% (! %%% *% #- #% #.! !% #% #.! ! %(#% !#!!' !' )% ( Nota: Una vez que existe un estado de fallo mayor, usted debe corregir la condición que causó el fallo y también debe poner a cero este bit a fin de que el controlador acepte un intento de cambio de modo (en marcha REM o prueba REM). Además ponga a cero S:6 para evitar tener un codigo de error sin condición de fallo. Nota: No vuelva a usar códigos de error que sean definidos más adelante en este apéndice como códigos de error específicos para la aplicación. En cambio, cree sus propios códigos únicos. Esto evita que usted confunda los errores de aplicación con los errores de sistema. Recomendamos usar los códigos de error FFOO a FFOF para indicador los errores mayores específicos para la aplicación.
  • 457.
    Archivo de estadodel controlador MicroLogix 1000 A–7 S:1/14 Bloqueo OEM Configuración estática Con este bit usted puede controlar el acceso a un archivo de controlador. estática Para programar esta característica, seleccione Acceso futuro no permitido cuando guarde el programa. Una vez que este bit se pone a cero, indica que todo dispositivo de programación compatible puede acceder al programa de escalera (siempre que las condiciones de contraseña se cumplan). S:1/15 Primer paso Estado Use este bit para inicializar el programa según lo requiera la aplicación. Cuando este bit es establecido por el controlador, indica que el primer escán del programa de usuario está en progreso (después del encendido en el modo de MARCHA o luego de entrar en un modo de marcha REM o prueba REM). El controlador pone a cero este bit luego del primer escán. Este bit se establece durante la ejecución de la rutina de fallo de protección. Refiérase a S:1/9 para obtener más información. S:2/0 STI pendiente Estado Una vez establecido, este bit indica que el temporizaodr STI ha sobrepasado el límite de tiempo y que la rutina STI está esperando la ejecución. El bit se pone a cero cuando comienza la rutina STI, programa de escalera, salida del modo de marcha REM o prueba, o ejecución de una instrucción STS verdadera. S:2/1 STI habilitado Estado y configuración estática Este bit puede ser establecido o restablecido usando la instrucción STS, STE o STD. Si es establecido, permite la ejecución de la STI si el punto de ajuste STI S:30 es distinto de cero. Si está puesto a cero, cuando una interrupción ocurre, la subrutina STI no se ejcuta y el bit de STI pendiente se establece. El temporizador STI continúa funcionando cuando este bit se inhabilita. La instrucción STD pone a cero este bit. Si este bit es establecido o restablecido editando el archivo de estado en línea, la STI no es afectada. Si este bit se establece, el bit permite la ejecución de la STI. Si este bit se restablece editando el archivo de estado fuera de línea, el bit no permite la ejecución de la STI. S:2/2 Ejecución de STI Estado Una vez establecido, este bit indica que el temporizador STI ha sobrepasado el límite de tiempo y que la subrutina STI se está ejecutando. Este bit se pone a cero cuando se finaliza la rutina STI, progorama de escalera o modo de marcha REM o prueba. S:2/3 a S:2/13 Reservado
  • 458.
    Preface Manual de referenciadel juego de instrucciones A–8 Dirección Descripción Clasificación Bit S:2/14 Selección de overflow matemático Configuración dinámica Establezca este bit cuando vaya a usar las instrucciones de adición y resta de 32 bits. Cuando S:2/14 es establecido y el resultado de una instrucción ADD, SUB, MUL o DIV no se puede representar en la dirección de destino (underflow u overflow), • el bit de overflow S:0/1 se establece, • el bit de interrupción por overflow S:5/0 se establece, • y la dirección de destino contiene los 16 bits sin signo truncados y menos significativos del resultado. La condición de fallo de S:2/14 se restablece (0). Cuando S:2/14 es restablecido y el resultado de una instrucción ADD, SUB, MUL o DIV no se puede representar en la dirección de destino (underflow u overflow), • el bit de overflow S:0/1 se establece, • el bit de interrupción por overflow S:5/0 se establece, • y la dirección de destino contiene 32767 si el resultado es positivo o -32768 si el resultado es negativo. Nota: el estado del bit S:2/14 no afecta la instrucción DDV. Además, no afecta el contenido del registro matemático cuando se usan las instrucciones MUL y DIV. Para programar esta característica, use la función de monitor de datos para establecer o poner a cero este bit. Para proporcionar protección contra modificaciones accidentales del monitor de datos de su selección, programe una instrucción OTL incondicional a la dirección S:2/14 para asegurar la nueva operación de overflow matemático. Programe una instrucción incondicional OTU a la dirección S:2/14 para asegurar la operación original de overflow matemático. S:2/15 Reservado
  • 459.
    Archivo de estadodel controlador MicroLogix 1000 A–9 #% )/$ *+ )*% ,%( )* .* $%(# +/$*% * #% *($)+(( +($* +$ % (%(# $ % (%(# $+. • )/$ (%(# )( • actividades de mantenimienbto • )/$ ) • )(, % ( $ %#+$ 0$ ,%( .* ) +)*% (% %( %$*(%%( +($* )/$ $# *#$* $*) !+ 0$ ($0$ ( ,% (%(# ( ,% (%(# ( $ ) ) +$*% $ $* .* ) $(#$*% #) $ $ $(#$*%) #) $* * #% *($)+(( $ )/$ )* ,%( ) + ,%( $ %$*(% -*% ) ((/ +$ ((%( #.%( %$*(% -*% +)+( % 0 % ()%+0$ ,%( *#% )/$ ) #) #) !#% ,%( $ '+ #) $ *($)+((% ) $% % (%(# #% )/$ %$*(% -*% %$ +( 0$ $/# )* ,%( .* %$* $ $1#(% * ) #) '+ ) (# * %+(( ( +($* +$ % (%(# ,%( (*(# $% ) #) (% +)* + $(#$*(% )+$%) % )# $+ (% )1$ % ('+ ( 0$ ,%( )/$ (%(# ) + ,%( %$*(% -*% ) ((/ +$ ((%( #.%( %$*(% -*%
  • 460.
    Preface Manual de referenciadel juego de instrucciones A–10 Dirección Descripción Clasificación Bit S:4 Base de tiempo Estado Todos los 16 bits de esta palabra son evaluadas por el controlador. El valor de esta palabra es puesto a cero al momento de encendido en el modo de marcha REM o cuando se entra en el modo de marcha REM o prueba REM. Desde ese punto en adelante, se incrementa cada 10 ms. Nota de aplicación: Usted puede escribir cualquier valor a S:4. Comenzará a incrementarse a partir de dicho valor. Usted puede usar cualquier bit individual de esta palabra en el programa de usuario como bit de reloj de ciclo de trabajo de 50%. Las velocidades de reloj para S:4/0 a S:4/15 son: 20, 40, 80, 160, 320, 640, 1280, 2560, 5120, 10240, 20480, 40960, 81920, 163840, 327680 y 655360 ms. La aplicación que usa el bit debe ser evaluada a una velocidad dos veces más rápida que la velocidad de reloj del bit. En el ejemplo siguiente, el bit S:4/3 alterna cada 80 ms, lo cual produce una velocidad de reloj de 160 ms. Para mantener la exactitud de este bit en su aplicación, la instrucción que usa el bit S:4/3 (O:1/0 en este caso) debe ser evaluada por lo menos una vez cada 79.999 ms 160 ms ciclo de S:4/3 S:4/3 y la salida O:1/0 alternan cada 80 ms. O:1/0 debe ser evaluado por lo menos una vez cada 79.999 ms. ] [ S:4 3 ( ) O:1 0 en 160 ms S:5 Bits de error menor Los bits de esta palabra son establecidos por el controlador para indicar que ha ocurrido un error menor en el programa de escalera. Los errores menores, bits 0 a 7, retornan al error mayor 0020H si un bit se detecta como establecido al final del escán. Estos bits se ponen a cero automáticamente durante una desconexión y reconexión de la alimentación eléctrica.
  • 461.
    Archivo de estadodel controlador MicroLogix 1000 A–11 S:5/0 Interrupción por overflow Configuración dinámica Cuando este bit es establecido por el controlador, indica que un overflow matemático ha ocurrido en el programa de escalera. Vea S:0/1 para obtener más información. Si este bit se establece al ejecutar la instrucción END o TND, se declarará el error mayor (0020). Para evitar la ocurrencia de este tipo de error mayor, examine el estado de este bit después de una instrucción matemática (ADD, SUB, MUL, DIV, DDV, NEG, SCL, TOD o FRD), tome la acción más indicada y luego ponga a cero el bit S:5/0 usando una instrucción OTU con S:5/0. S:5/1 Reservado S:5/2 Error de registro de control Configuración dinámica Las instrucciones LFU, LFL, FFU, FFL, BSL, BSR, SQO, SQC y SQL pueden generar este error. Cuando el bit S:5/2 es establecido, indica que el bit de error de una palabra de control usada por la instrucción ha sido establecido. Si este bit se establece al ejecutarse la instrucción END o TND, se declarará el error mayor (002). Para evitar la coincidencia de este tipo de error mayor, examine el estado de este bit después de una instrucción de registro de control, tome la acción más indicada y luego ponga a cero el bit S:5/02 usando una instrucción OTU con S:5/2. S:5/3 Error mayor detectado durante la ejecución de la rutina de fallo de usuario Configuración dinámica Una vez establecido, este código de error mayor (S:6) representa el error mayor que ocurrió durante el procesamiento de la rutina de fallo debido a otro error mayor. S:5/4 a S:5/7 Reservado S:5/8 Datos retentivos perdidos Estado Este bit es establecido cuando los datos retentivos se pierden. Este bit permanece establecido hasta que usted lo ponga a cero. Mientras sea establecido, este bit causa que el controlador falle antes del primer escán verdadero del programa. S:5/9 Reservado S:5/10 STI perdido Estado Este bit es establecido cuando el temporizador STI caduca mientras que la rutina STI se esté ejecutando o sea inhabilitada el bit pendiente (S:2/0) ya es establecido. S:5/11 a S:5/12 Reservado S:5/13 Selec. de filtro de entrada modificada Estado Este bit es establecido cuando la selección de filtro de entrada en el controlador se hace compatible con el hardware.
  • 462.
    Preface Manual de referenciadel juego de instrucciones A–12 Dirección Descripción Clasificación Bit ! $ * ! # # * % ! # ! ( ! * !+ ! '! !#! ! ! ! *! ! !! ! ! ! % #! # # * ' # ! #* ! $ * Nota de aplicación # !# !) * ! # $ + # ! # $ # #!# # # !! ! ! ! ! #! #!# # ! # ! ! ! ! !! * ! # ! '! !#! ! )! ! • ! • ! • ! • ! ! Cada fallo se clasifica como uno de los siguientes: • No atribuible al usuario — Un fallo causado por varias condiciones que detienen la ejecución del programa de escalera. La rutina de fallo de usuario no se ejecuta cuando este fallo ocurre. • No recuperable — Un fallo causado por el usuario que se puede recuperar. La rutina de fallo de usuario se ejecuta cuando este fallo ocurre. Sin embargo, el fallo no se puede borrar. • Recuperable — Un fallo causado por el usuario que se puede recuperar en la rutina de fallo de usuario restableciendo el bit de error mayor detenido (S:1/13). La rutina de fallo de usuario se ejecuta cuando este fallo ocurre.
  • 463.
    Archivo de estadodel controlador MicroLogix 1000 A–13 Clasificación de fallo Usuario DirecĆ ción Código de error (hex) Errores de encendido No usuario No recuperable Recuperable S:6 0001 $ # * X 0002 #$$ # %* X 0003 #$( $ X 0008 $ $ #$' %* X 0009 $ $ ' %* X Clasificación de fallo Usuario DirecĆ ción Código de error (hex) Errores de ida a marcha (GTR) À No usuario No recuperable Recuperable S:6 0005 # $# $$# # X 0010 # # % $ X 0016 #$ $* # %)# % ) $* )$ # #$ %#% %# % * ) $# $$# # %$ %#% # %$* $* X À # # % % $ %!% %!% %
  • 464.
    Preface Manual de referenciadel juego de instrucciones A–14 Clasificación de error Usuario DirecĆ ción Código de error (hex) Errores de marcha No usuario No recuperable Recuperable S:6 0004 + #..,. # '+0#%.' # *#*,.' # 0'#*-, # #(#!1!':+ ,!1..': X 0020 + #..,. *#+,. ) $'+) #) #/!7+ #$'8./# X 0022 ) 0#*-,.'6,. # !,+0.,) 30!,% !1!: #$'8./# X 0024 1+0, # (1/0# # '+0#..1-!':+ +, 27)', #$'8./# X 0025 5 1+ #4!#/, # #+ ) /1 .10'+ .!'2, X 0027 5 1+ #4!#/, # #+ ) /1 .10'+ # $)), .!'2, X 002A '.#!!':+ '+#4 #/ #*/', %.+# -. #) .!'2, X 002B 5 1+ #4!#/, # #+ ) /1 .10'+ #) !,+0,. # )0 2#),!' .!'2, X 0030 ) +'*'#+0, # /1 .10'+ #4!## 1+ )9*'0# # .!'2, X 0031 + '+/0.1!!':+ /'+ !-!' /# #0#!0: X 0032 + '+/0.1!!':+ !.16: ),/ )9*'0#/ # .!'2, # 0,/ X 0033 '+/0.1!!':+ , !.16: ),/ )9*'0#/ # .!'2, # 0,/ X 0034 + 2),. +#%0'2, -. 1+ !1*1),. # 0#*-,.'6,. , 2),. -.#/#)#!!',+, /# #0#!0: X 0035 + '+/0.1!!':+ ')#%) ,!1..': #+ #) .!'2, # '+0#..1-!':+ X 0037 ),.#/ -.#/#)#!!',+,/ '+27)',/ /# !.%.,+ #+ #) !,+0,. # )0 2#),!' X 0038 + '+/0.1!!':+ /# #0#!0: #+ #) .!'2, # -.,%.* X
  • 465.
    Archivo de estadodel controlador MicroLogix 1000 A–15 Clasificación de fallo Usuario DirecĆ ción Código de error (hex) Errores de marcha No usuario No recuperable Recuperable 0040 X 0041 X Clasificación de fallo Usuario DirecĆ ción Código de error (hex) Errores de descarga No usuario No recuperable Recuperable S:6 0018 X
  • 466.
    Preface Manual de referenciadel juego de instrucciones A–16 Dirección Bit Clasificación Descripción S:7 Código de suspensión Estado Cuando un valor distino de cero aparece en S:7, indica que la instrucción SUS identificada por este valor ha sido evaluada como verdadera y que el modo de pausa de suspensión está vigente. Esto precisa las condiciones en la aplicación que casuaron el modo de pausa de suspensión. Este valor no es borrado por el controlador. Use la instrucción SUS con la localización y corrección de fallos de encendido o como diagnóstico de tiempo de ejecución para la detección de errores de sistema. S:8 a S:12 Reservado S:13 a S:14 Registro matemático Estado Use este registro doble para producir operaciones de división y multiplicación con signo de 32 bits, operaciones de división de precisión o división doble y conversiones BCD de 5 dígitos. Estas dos palabras se usan conjuntamente con las instrucciones matemáticas MUL, DIV, DDV, FRD y TOD. El valor de registro matemático es evaluado a la ejecución de la instrucción y permanece válido hasta la ejecución de la próxima instrucción MUL, DIV, DDV, FRD o TOD en el programa de usuario. Una explicación de cómo funciona el registro matemático se incluye con las definiciones de instrucción. Si usted almacena valores de datos con signo de 32 bits, debe manejar este tipo de datos sin ayuda de un tipo de datos de 32 bits asignado. Por ejemplo, combine B3:0 y B3:1 para crear un valor de datos con signo de 32 bits. Recomendamos que comience todos los valores de 32 bits en límite de palabra par o impar para facilitar la aplicación y visualización. Además, recomendamos que diseñe, documente y vea el contenido de los datos con signo de 32 bits en la raíz hexadecimal o binaria. Cuando una rutina STI, contador de alta velocidad o fallo interrumpe la ejecución normal del programa, el valor original del registro matemático se restaura cuando la ejecución se reanuda. S:15L Reservado S:15H Velocidad en baudios Estado Indica la vel. en baudios actual del controlador: • 300 • 600 • 1200 • 2400 • 9600 (predeterminado) • 19200
  • 467.
    Archivo de estadodel controlador MicroLogix 1000 A–17 !.!-1 * %!(+* ! !.5) *.!-1 * *)%#0-%8) %)5(% ./ +'- %) % !' %)/!-1'* *.!-1 * (52%(* !)/-! '*. %'*. ! +-*#-( *).!0/%1*. *.!-1 * (52%(* ./! 1'*- %) % !) %)-!(!)/*. ! (. !' /%!(+* /-).0--% * !) !' %'* ! +-*#-( (5. !2/!).* !' *)/-*' *- !%6-.! +- */!)!- (5. %)*-(%8) !- !' %'* ! +-*#-( ' *)/-*' *- *(+- !' 1'*- ! 9'/%(* !.5) ' 1'*- *)/!)% * !) % !' *)/-*' *- !/!-(%) ,0! !' 1'*- !' 9'/%(* !.5) !. (3*- ,0! !' 1'*- '(!) * !) !' 1'*- !' 9'/%(* !.5) .! !.-%! -!.*'0%8) !' 1'*- ! /%!(+* ! !.5) *.!-1 * !. ± (. *- !!(+'* !' 1'*- %) % ,0! (. 0!-*) *.!-1 *. *(* !' %'* ! +-*#-( (5. '-#* )/!--*#0! !./! 1'*- 0.) * ' 0)%8) ! (*)%/*- ! /*. .% )!!.%/ !/!-(%)- * 1!-%%- !' /%!(+* ! !.5) (5. !2/!).* !' +-*#-( !.!-1 * !#%./-* ! 7) %! ./ * ./ +'- %) %) !' *.!/ ! !'!(!)/* 0. * !) !' %-!%*)(%!)/* %) !2 * 7) %! 0) * 0) -0/%) *)/ *- ! '/ 1!'*% * ''* %)/!--0(+! ' !!0%8) )*-(' !' +-*#-( !' 1'*- *-%#%)' ! !./! -!#%./-* .! -!./0- 0) * ' !!0%8) .! -!)0 /* !.!-1 * 0)/* ! 0./! *)%#0-%8) %)5(% ./! %)/-* 0! ' .! ! /%!(+* ,0! .! 1 0.- !) ' %)/!--0+%8) /!(+*-%4 .!'!%*)'! ' /%!(+* +0! ! /!)!- 0) '7(%/! ! (. ./* !. !) %)-!(!)/*. ! (. +*- '* /)/* '*. 1'*-!. 15'% *. .*) ! 0 -0/%) !!0/ ' 1'*- ,0! %)/-* 0* .-% 0) 1'*- ! !-* +- %)$%'%/- ' - +-*+*-%*)- +-*/!%8) *)/- (* %%%*)!. % !)/'!. ! (*)%/*- ! /*. ! .0 .!'!%8) +-*#-(! 0) %)./-0%8) %)*) %%*)' ,0! *)/!)# !' 1'*- !' +0)/* ! 0./! ! .0 * +-*#-(! 0) %)./-0%8) +- !1%/- ' *+!-%8) % ' .! %)%% (%!)/-. !./5 !) !' (* * ! (-$ -#) * '*. -!#%./-*. ! !./ * ' %)/!--0+%8) *(%!)4 /!(+*-%4- +-/%- !' %)' !' !.5) ! +-*#-( !) ,0! '*. -!#%./-*. ! !./ * .! -#-*) !.!-1 *
  • 468.
    Manual de referenciadel juego de instrucciones A–18
  • 469.
    Archivo de estadoSLC B–1 B Archivo de estado SLC Este apéndice enumera: • el archivo de estado del procesador SLC • los tiempos de ejecución de instrucción y uso de memoria de instrucción Este apéndice trata las funciones de archivo de estado de los procesadores fijos, SLC 5/01, SLC 5/02, SLC 5/03 y SLC 5/04. Los procesadores SLC 5/02, SLC 5/03 y SLC 5/04 funcionan como los procesadores compactos y SLC 5/01. También disponen de funciones adicionales enumeradas en la tabla de la página B–3. Los procesadores SLC 5/03 y SLC 5/04 disponen de funciones adicionales enumeradas en las tablas de las páginas B–3 y B–4.
  • 470.
    Preface Manual de referenciadel juego de instrucciones B–2 Descripción general del archivo de estado El archivo de estado le permite monitorizar cómo funciona su sistema de operación y le permite dirigir cómo desea que funcione. Esto se realiza usando el archivo de estado para configurar interrupciones, cargar programas de módulo de memoria y monitorizar los fallos de hardware y software. Nota No escriba a los datos de archivo de estado a menos que la palabra o bit se enumera como configuración dinámica/estática en las descripciones siguientes. Si usted va a escribir a los datos de archivo de estado, es imprescindible que primero entienda a fondo la función. El archivo de estado S: contiene las palabras siguientes: Palabra Función (se aplica a todos los procesadores) Página S:0 Indicadores aritméticos BĆ6 S:1 Estado/control del modo de procesador BĆ8 S:2 Bits STI/comms. DH485 BĆ17 S:3L Tiempo de escán actual/último BĆ24 S:3H Tiempo de escán de control (watchdog) BĆ26 S:4 Reloj de marcha libre BĆ26 S:5 Bits de error menor BĆ27 S:6 Código de erro mayor BĆ33 S:7, S:8 Código de suspensión/archivo de suspensión BĆ44 S:9, S:10 Nodos activos (DHĆ485) BĆ44 S:11, S;12 Habilitaciones de ranura de E/S BĆ45 S:13, S:14 Registro matemático BĆ47 S:15L Dirección de nodo B-48 S:15H Velocidad en baudios B-49
  • 471.
    Archivo de estadoSLC B–3 Palabra Función (se aplica a los procesadores SLC 5/02, SLC 5/03 y SLC 504) Página S:16, S:17 Prueba de un paso - Inicio del paso en - Renglón/archivo B S:18, S:19 Prueba de un paso - Punto de interrupción - Renglón/archivo BĆ51 S:20, S:21 Prueba - Fallo/parada - Renglón/archivo BĆ52 S:22 Tiempo de escán observado máximo BĆ53 S:23 Tiempo de escán promedio BĆ54 S:24 Registro de índice BĆ54 S:25, S:26 Interrupción de E/S pendiente BĆ55 S:27, S28 Interrupción de E/S habilitada BĆ56 S:29 No. de archivo de rutina de fallo de usuario BĆ56 S:30 Punto de ajuste de interrupción temporizada seleccionable BĆ57 S:31 No. de archivo de interrupción temporizada seleccionable BĆ57 S:32 Ejecución de interrupción E/O BĆ58 Palabra Función (se aplica a los procesadores SLC 5/03 y SLC 5/04) Página S:33 Estado de proc.extendido y palabra de control BĆ58 S:34 Transferencia inhabilitada (SLC 5/04 solamente) B-65 S:35 Tiempo del último escán de 1 ms BĆ66 S:36 Bits de error menor extendidos BĆ67 S:37 Reloj/año de calendario BĆ68 S:38 Reloj/mes de calendario BĆ68 S:39 Reloj/día de calendario BĆ68 S:40 Reloj/horas de calendario BĆ68 S:41 Reloj/minutos de calendario BĆ68 S:42 Reloj/segundos de calendario BĆ68 S:43 Tiempo de interrupción STI (SLC 5/03 y SLC 5/04) B-69 S:44 Tiempo de interrupción de evento (SLC 5/03 y SLC 5/04) B-69 S:45 Tiempo de interr. DII (SLC 5/03 y SLC 5/04) B-69 S:46 Interr. de entrada discreta - No. de archivo BĆ69 S:47 Interr. de entrada discreta - No. de ranura BĆ70 S:48 Interr. de entrada discreta - Máscara de bit BĆ70
  • 472.
    Preface Manual de referenciadel juego de instrucciones B–4 Palabra Función (se aplica a los procesadores SLC 5/03 y SLC 5/04) Página S:49 Interr. de entrada discreta - Valor de comparación BĆ71 S:50 Interr. de entrada discreta - Valor preseleccionado BĆ71 S:51 Interr. de entrada discreta - Máscara de retorno BĆ72 S:52 Interr. de entrada discreta - Acumulador BĆ72 S:53 y S:54 Reservado B-72 S:55 Tiempo del último escán DII BĆ72 S:56 Tiempo de escán DII máximo observado BĆ72 S:57 Número de catálogo del sistema de operación BĆ73 S:58 Serie del sistema de operación BĆ73 S:59 FRN del sistema de operación BĆ73 S:60 Número de catálogo del procesador BĆ73 S:61 Serie del procesador BĆ73 S:62 Revisión del procesador BĆ73 S:63 Tipo de programa de usuario BĆ73 S:64 Indice de funcionabilidad del programa de usuario BĆ73 S:65 Tamaño de RAM de usuario BĆ73 S:66 Tamaño de EEPROM rápido BĆ73 S:67 y S:68 Nodos activos de canal 0 B-74 Palabra Función (se aplica a los procesadores SLC 5/04) Página S:69 a S:82 Reservado B-74 S:83 a S:86 Nodos activos DH+ (procesador SLC 5/04 de canal 1 solamente) B-74 S:87 a S:98 Reservado B-74 S:99 Palabra de estado global BĆ74 S:100 a S:163 Archivo de estado global BĆ74
  • 473.
    Archivo de estadoSLC B–5 Convenciones usadas en las pantallas Las tablas siguientes describen las funciones del archivo de estado, a partir de la dirección S:0 hasta la dirección S:163. Una viñeta (S) indica que la función se aplica al procesador especificado. Las clasificaciones siguientes se usan: • Estado – Use estas palabras, bytes o bits para monitorizar las opciones del procesador o información de estado del procesador. La información se escribe raras veces al programa de usuario o a los dispositivos de programación (a menos que usted desee restablecer o borrar una función tal como un bit de error menor). • Configuración dinámica – Use estas palabras, bytes o bits para seleccionar opciones del procesador durante el modo de MARCHA. • Configuración estática – Use estas palabras, bytes o bits para seleccionar opciones del procesador antes de entrar en el modo de MARCHA. Note que algunas opciones se deben seleccionar en el modo de programa fuera de línea antes de restaurar el programa de usuario.
  • 474.
    Preface Manual de referenciadel juego de instrucciones B–6 Dirección Clasificación Descripción Comp., 5/01 5/02 5/03 5/04 S:0 Indicadores aritméticos ! ! (! ! $#! ! !#(! #) ## ! #) ' ) ! ! !! ! $ ! # ) ! #) ' ) ! ! # • • • • S:0/0 Estado Bit de acarreo ! ! ! ! ! # ! ' ! #! ! ! $# #) ' ! ! • • • • # # # # # #) $ ! !# # #) ! # • • • # # # #) !# $ ! !# # #) ! # • • S:0/1 Estado Bit de overflow ! ! ! ! # !# # ) ' ! ! #! # ! ! ! #) $ % ( ! ! ( ! • • • • # # # # # #) $ ! !# # #) ! # • • • # # # # # #) $ ! !# # #) ! # • •
  • 475.
    Archivo de estadoSLC B–7 Dirección Clasificación Descripción Fijo, 5/01 5/02 5/03 5/04 S:0/2 Estado Bit de cero ! • • • • • • • • • S:0/3 Estado Bit de signo ! • • • • • • • • • S:0/4 a S:0/15 NA Reservado • • • •
  • 476.
    Preface Manual de referenciadel juego de instrucciones B–8 Dirección Clasificación Descripción Fijo, 5/01 5/02 5/03 5/04 S:1/0 a S:1/4 Estado Modo/estado/control de procesador +. /. #0* +** .4 . -$ -)+/ * ,-+$-.+ +!+ ! ,-+$-) -)+/+ ( )+!+ ! #((+ 2./ 0*!+ ( / . ./( +* ( )+!+ +!+ ! #((+ ! ,0. ! .0.,*.5* ( +,- 5* % .!+ !/*! ,+- ( ' 06 5* ! 0* *./-0 5* 2./ 0*!+ ( / . ./( +* ( )+!+ +!+ ! )- % -)+/ +!+ +*/*0+ ! ,-0 -)+/ +!+ ! 0* .+(+ . 3* ! ,-0 -)+/ • • • • * .+(+ ,.+ ! ,-0 -)+/ ,.+ %./ Nota: Todos los modos en los procesadores comĆ pactos, SLC 5/01 y SLC 5/02 se consideran como remotos porque no tienen un interruptor de llave. . -$ * ,-+$-.+ */--0,/+- ! ((1-) +!+ ! -) ( )+!+ ! #((+ 2./ 0*!+ ( / . ./( +* ( )+!+ 0. ! .0.,*.5* ( )+!+ ! #((+ 2./ 0*!+ ( / . ./( +* ( )+!+ */--0,/+- ! ((1 ( )+!+ ! #((+ 2./ 0*!+ ( / . ./( +* ( )+!+ */--0,/+- ! ((1 +!+. (+. +/-+. 1(+-. ,- (+. /. ./3* -.-1!+. • •
  • 477.
    Archivo de estadoSLC B–9 Dirección Clasificación Descripción Fijo, 5/01 5/02 5/03 5/04 S:1/5 Estado Bit de forzados habilitados +, , + +,$' ('* $ (*'+'* + -+, ! !$,' '*0'+ - (*' *% +$* $' ',**'* $ , (*% (-+,' *' $ '*0' $ (*'+'* + $-% ',-%, -' $'+ '*0'+ + !$, • • • • S:1/6 Estado Bit de forzados instalados +, , + +,$' ('* $ (*'+'* + -+, ! +,$' '*0'+ - (*' *% +$* '+ '*0'+ (- +,* ' ' +,* !$,'+ $'+ ',**' $ , (*% (-+,' *' $ '*0' $ (*'+'* (*( -' $'+ '*0'+ +' +,$'+ (*' ' !$,'+ • • • • S:1/7 Estado Bit de comunicación activa (canal 1) +, , + +,$' ('* $ (*'+'* -' !/ ('* $' %'+ ',*' '' (*+, $ * 4' $ $ $' ',**'* $ , (*% (-+,' *' -' $ '' +,1 ,.' + - (*,(, *''6 ' - * (+' ,+, ' 6 • • • • S:1/8 Configuración dinámica Bit de anulación de fallo al encendido -' + +,$' +, , -+ )- $ (*'+'* (' *' $ , **'* %/'* ,' / $'+ ,+ **'* %'* $ %'%,' ' + $ (*'+6 '* !3 +,' $ %'' %*! / !3 +,' ' $$' - ' $ (*'+'* ,, ,** $ %'' %*! -' +, , (*% (-+,' *' .$'* (*,*%' $ (*'+'* (*% - +,' $$' %/'* $ %'%,' ' * (*' *%* +, *,*3+, +,6$0 +, , -+' $ -5 %','* ,'+ • • • • S:1/9 Configuración dinámica Bit de fallo de protección de encendido -' +, , + +,$ / $ $% $2 + +', / *', %,*+ $ (*'+'* +,1 $ %'' %*! $ (*'+'* #-, $ *-, $$' ,+ $ #-5 $ (*%* +1 $ (*' *% ,'+ -+, , $ '(5 ('* *' $ , **'* %/'* ,' (* *-* $ '(*5 $ %'' %*! $ *-, $$' ' *+,$6 $ , *+-$,*1 $ %'' $$' * (*' *%* +, *,*3+, -+ $ -5 %','* ,'+ / (*' *% $ $5 *-,6 $$' '*% $ #-,* $ *-, $$' (*',5 ' $ 5 ' $$' **'* %/'* ',**1 $ .$'* • • •
  • 478.
    Preface Manual de referenciadel juego de instrucciones B–10 Dirección Clasificación Descripción Fijo, 5/01 5/02 5/03 5/04 S:1/10 Configuración estática Bit de carga de módulo de memoria al momento de ocurrir un error de memoria ! # #! ! ! # +# ! ! # # ! ! ! # ! # # # ! !, # # !# + ! ! #! * ! # # + ) ! ! $ ! +# # # +# ! ! # ! # ! #! # +# ! ! ! # ! # !( #! +# ! # + ! # ! %! # +# # ! ! $ ! #!# +# ! ! ! ! ! # ! *! !' ! #! #+ ! # +# • • • •
  • 479.
    Archivo de estadoSLC B–11 Dirección Clasificación Descripción Fijo, 5/01 5/02 5/03 5/04 S:1/11 Configuración estática Bit de siempre cargar módulo de memoria (# ' ' '# (' $( #%%% ( $%#%! $%##% # ( $%#%! !,(# !!#% ')# * )#)# ')% !', +'% $%##% $#')# $%#%!, # %# #'(, !('% !## $%##% $(+ # $% ( $%##% * %#%!$%( % # $(+ $%#%!$%( # $(+ !% ( % %#%! % %#%! % %#%! %#%! Modo después del encendido Modo antes de la parada % %#%! ( # $(+ !% # $(+ # %! %! Modo después del encendido (misma posición de interruptor de llave Modo antes de la parada • • • • •
  • 480.
    Preface Manual de referenciadel juego de instrucciones B–12 Dirección Clasificación Descripción Fijo, 5/01 5/02 5/03 5/04 continuación de S:1/11 Nota: Todos los modos en los procesadores compactos, SLC 5/01 y SLC 5/02 se consideran como remotos porque no tienen un interruptor de llave. (! ! ! $ ' # ' (! # % ! $ ' ' ! % !! (! ! El proceso de sobrescritura, incluyendo las tablas de datos, se repite cada vez que usted desconecta y vuelve a conectar la alimentación eléctrica. ! $ ! !( ! (! • • • • ! • •
  • 481.
    Archivo de estadoSLC B–13 Dirección Clasificación Descripción Fijo, 5/01 5/02 5/03 5/04 S:1/12 Configuración estática Bit de carga de módulo de memoria y marcha ! ! ! ( ! '! $ ( ' % ( ( ! #' $ #' ! ! Modo después del encendido Modo antes de la parada ! ! ! Modo después del enĆ cendido (misma posiĆ ción de interr. de llave Modo antes de la parada • • • • •
  • 482.
    Preface Manual de referenciadel juego de instrucciones B–14 Dirección Clasificación Descripción Fijo, 5/01 5/02 5/03 5/04 continuación de S:1/12 Nota: Todos los modos en los procesadores fijos, SLC 5/01 y SLC 5/02 se consideran como remotos porque no tienen un interruptor de llave. /% !% %#$ #$ # $ $ #$ #$ # * # $#. ) $#. /% # ) # # $, # % * # # $ $#. $#. #$ % $, # #$ #$ %#% /% # # #$ $ # # % Ejemplo de aplicación: #$* ) !% # % %$+$$ ) # %$ %$ #(/ ) (/ $/ ,$ +# !% ( # /% $ # # % Si usted deja el módulo de memoria instalado, el proceso de sobrescriĆ tura, incluyendo las tablas de datos, se repite cada vez que desconecta y vuelve a conectar la alimentación eléctrica. El modo se cambia a marcha REM durante cada desconexión y reconexión de la alimentación eléctrica. ! #$ $-#$ #$* #$ $ %# %/ $ $# % /% #$ $-#$ # # $ 0$ % %#$ * ) # ' %#$# /%# %#$ # #$ $-#$ $ # $%*# / / # # #$ / • • • • #$ % ## # # $# • •
  • 483.
    Archivo de estadoSLC B–15 Dirección Clasificación Descripción Fijo, 5/01 5/02 5/03 5/04 S:1/13 Configuración dinámica Bit de error mayor detenido ! $ $ $ $ • ! • • • • • # $ $ $ $ $ $ $ ! • • • $ $ % ! ! # $ Nota Una vez que existe un estado de fallo mayor, usted debe corregir la condición que causa el fallo y también debe poner a cero este bit para que el procesador acepte un intento de cambio de modo (a programa REM, marcha REM o prueba REM). Además, ponga a cero S:6 para evitar tener un código de error sin condición de fallo. Nota: No vuelva a usar los códigos de error definidos en la lista de códigos de error SLC en el capítulo 16 como códigos de error específicos para la aplicación. En cambio, cree sus propios códigos únicos. Esto evita que usted confunda los errores de aplicación con errores de sistema. Recomendamos el uso de los códigos de error FFOO a FFOF para indicar los errores mayores específicos para la aplicación. • • • •
  • 484.
    Preface Manual de referenciadel juego de instrucciones B–16 Dirección Clasificación Descripción Fijo, 5/01 5/02 5/03 5/04 continuación de S:1/13 ,% ,*+ '% ) # + ,*% ,% *'*+- ') )$4% # $ ')*) $ ## ') )$ $)! *,*'%*4% ',* * 5% # $ %+)) # ')*) , $-) ,% -#) . *+#) % # ') )$ *#) ') %)) ,% ))) $.) *'2 ') # '#4% , ))) #* ##* . *%+% . -#-% %+) # %+)),'+) ##- )$ . #, Si usted pone a cero este bit con el interruptor de llave en MARCHA, el procesador entra inmediatamente en el modo de MARCHA. ! • • S:1/14 Estado Bit de acceso negado (bloqueo OEM) *+ ', ')$+) % ) # * ,+,) ,% )!- ')*) *+#/ *+ + ') % ) # * *+ % (, ,% *'*+- ') )$4% *'%) ,% ' ))*'%%+ # )!- ')*) % $$) ') $%+)/) # ') )$ *#) % )1 # * ,% *'*+- ') )$4% (, % *'% ,% ' ))*'%%+ # )!- ')*) ) ') )$) *+ )+)2*+ *#% 0 * ,+,) % ')$+ # ,)) # ') )$ ) ')')%) ')+4% %+) $%* %+#* $%+) +* # *#4% ') )$ ,% %*+),4% %%%# % # )4% ') % ) # * ,+,) ) )$ ,% %*+),4% %%%# % # )4% ') ')$+) # * ,+,) ,% *+ + * '% ) % (, + *'*+- ') )$4% $'+# ', ) # ') )$ *#) *$') (, #* %%* %+)*3 * ,$'#% • • • • ,% # * * % # *'*+- ') )$4% ', % ) # ') )$ *#) * ,%%* +#* $ $ $ )) $$) )*+,)4% ') )$ . +)%*)% $4,# $$) * ')$+% %'%6 %+$%+ *+ *#4% *+ ,%4% % + ,% *'*+- $
  • 485.
    Archivo de estadoSLC B–17 Dirección Clasificación Descripción Fijo, 5/01 5/02 5/03 5/04 S:1/15 Estado Bit de primer paso % % $ *$ %' $!$ %/ ! $#'$ . ' ! % % %! !$ $!%!$ #' $$ %+ $!$ '%'$! %+ $!$%! %',% ! !! ! $ !! $ ! $' $!%!$ ! $! % %',% $$ %+ ' ! % % ! $! #' $!$ ! %+ $$ %+ ' !! $' ! $ • • • • % % % '$ '. $' ! $!. ! ,$% $ ! $ +% !$. • • • S:2/0 Estado Bit de STI (interrupción temporizada seleccionable) pendiente ' ! % %! % #' !$*!$ %!$%! - ! ) #' $' %$ '. % % ! $! ' ! ! * $' ! % !! $ ! '. ' %$'. ($$ • • • ! % % % !$*!$ ' '$ '. $' ! • % % % % !$*!$ ' '$ '. %'$' ! $' ! • •
  • 486.
    Preface Manual de referenciadel juego de instrucciones B–18 Dirección Clasificación Descripción Fijo, 5/01 5/02 5/03 5/04 S:2/1 Configuración estática Bit de STI (interrupción temporizada seleccionable) habilitada *+ !+ * *+# % *, %!!4% ')+)6 $!% ,% * *+#! ') # !%*+),6 !4% ! * *+#! ')$!+ # ,!4% # *! # ) !- / # ',%+ ,*+ *% !*+!%+* ) ! *+1 ',*+ ) ,% ,)) ,% !%+6 )),'!4% # *,),+!% % * ,+ / # !+ '%!%+ * *+# # +$')!0) %+!%5 ,%!%% ,% *+1 !% !#!6 + !%*+),!4% '% ) *+ !+ • • • Configuración dinámica * # ,%!4% # $%!+) +* ') *+#6 ) / '%) ) *+ !+ !)!% *+ !+ % *, '))$ #4! *#) *+ !+ * *+# % *, %!!4% ')+)$!% ,% * *+#! ') # !%*+),!4% ! * *+#! ')$!+ # ,!4% # *! # ) !- '#) / -#! '#) *% !*+!%+* ) ! *+1 ',*+ ) # *,),+!% % * ,+ / # !+ '%!%+ * *+# # +$')!0) %+!%5 ,%!%% !%*+),!4% '% ) *+ !+ • • S:2/2 Estdo Bit de ejecución STI (interrupción temporizada seleccionable) ,% * *+#! *+ !+ !%! (, # +$')!0) *)'* # #3$!+ +!$' / (, # *,),+!% * *+1 ,+6 % +,#$%+ *+ !+ * '% ) ,% * +)$!% # ),+!% %%! # %+) % # $ $) Ejemplo de ejecución: *+ ', .$!%) *+ !+ % *, ),+!% ## ') +)$!%) *! *, * *+ ,+% ,% ,))!4 # ## • • • S:2/3 Configuración estática Bit de límite de archivo de dirección. de índice ,% *+1 ',*+ ) # )!*+) 3%!6 ', !%.) *#$%+ %+) # $!*$ ) !- +* # !)!4% * *'6 !! ,% * *+#! # )!*+) 3%! ', !%.) % +* ')+* * # ) !- +* # !%# # 5#+!$ ) !- +* #) *+ !+ * *#!% ,% * ,) # '))$ • • • * ')*)* / # ')$!+% !%.) * # 5#+!$ ) !- +* + $%$* $!) *+ !+ % # $ ,) #3% *#$%+ ,) # '))$) *',2* $!) # !+ • •
  • 487.
    Archivo de estadoSLC B–19 Dirección Clasificación Descripción Fijo, 5/01 5/02 5/03 5/04 S:2/4 Configuración estática Bit de guardado con prueba de un solo paso habilitado ' ! % !$$ ' - !! ' $' ' %!! %! ! %+ %! !$$! , #' !% $%$!% '$- ! ' ! ' ! % % $!$ ' ' ! $ !! $' ' %!! %! % %$! % ' ! % %! %' $!$ $#'$ $% %$'- )% !$ $ - !$ ! % % %! '$$ $!$$ • • • Nota: Este bit no se aplica a los procesadores SLC 5/03 y SLC 5/04 ya que su funcionaĆ bilidad siempre está disponible y no requiere selección de tiempo de compilación especial. • • S:2/5 Estado Bit de comando entrante pendiente (canal 1) % % % ' ! $!%!$ $ #' !$! !! $ %!! !$- ! $!!$! ! ' ! ! % % ' %$ !! ! ! % % ! $! ' ! $!%!$ %$(! - ! ! ! % % !! ! - ' %$'- $ !$$ !' ! $!%!$ • • • S:2/6 Estado Bit de respuesta de mensaje pendiente (canal 1) % % % ' ! !$! !! $ $!!$! ! !$- #' '% %!- %$'- $!%!$ % % ! $! ' ! $!%!$ !$- ) '* %$'- % % !! ! - ' %$'- $ !$$ !' - $!%!$ • • •
  • 488.
    Preface Manual de referenciadel juego de instrucciones B–20 Dirección Clasificación Descripción Fijo, 5/01 5/02 5/03 5/04 S:2/7 Status Bit de comando de mensaje de salida pendiente (canal 1) Este bit se establece cuando hay uno o más mensajes habilitados y de espera en el programa, pero no se transmite un mensaje. En cuanto comienza la transmisión de un mensaje, el bit se pone a cero. Después de la transmisión, el bit se vuelve a establecer si hay otros mensajes de espera. Permanece puesto a cero si no hay más mensajes de espera. Use este bit como condición de una instrucción SVC para mejorar la comunicación del procesador. • • • S:2/8 Configuración dinámica Modo de direccionamiento CIF (archivo de interface común) Se aplica a los procesadores SLC 5/02, SLC 5/03 y SLC 5/04. Este bit controla el modo usado por los procesaĆ dores SLC 5/02, SLC 5/03 y SLC 5/04 para direccionar elementos en el archivo CIF (archivo de datos 9) cuando se procesa una petición de comunicación. Modo de dirección de palabra - vigente cuando el bit se pone a cero (0): Este es el modo predeterminado compatible con otros dispositivos SLC 500 en la red DHĆ485. Modo de dirección de byte - vigente cuando el bit se establece (1): Este modo se usa cuando los procesadores SLC 5/02, SLC 5/03 y SLC 5/04 reciben un mensaje desde un dispositivo en la red, posiblemente por un puente o gateĆ way. Este establecimiento es compatible con la comunicación de interprocesador PLC de AllenĆBradley. • • • S:2/9 Configuración estática Comparación de programa de módulo de memoria Cuando este bit es establecido dentro de un programa válido contenido en un módulo de memoria, no se permite la modificación de los archivos de programa de usuario NVRAM. Esto incluye los comandos de edición en línea, descarga de programa y borrado de memoria. Use esta característica para evitar que un dispositivo de programación modifique el programa NVRAM desde el programa contenido en el módulo de memoria. Si un módulo de memoria se instala con este bit establecido y un programa de usuario NVRAM diferente es contenido en NVRAM, el procesador no entra en el modo de marcha. Usted debe transferir el programa de módulo de memoria a NVRAM para entrar en el modo de marcha. • •
  • 489.
    Archivo de estadoSLC B–21 Dirección Clasificación Descripción Fijo, 5/01 5/02 5/03 5/04 S:2/10 Configuración estática Bit de selección de resolución STI (1 ms ó 10 ms) *+ !+ *+1 ',*+ ) ')+)$!%5 $%+ ,% *+1 ',*+ ) *+ !+ ,* ,% * +!$' $* ') # -#) # ',%+ ,*+ ) $'# # -#) ,* ,% ',%+ ,*+ $* ,% * *+#! *+ !+ ,* ,% * +!$' $* ') # ',%+ ,*+ ) $'# # -#) ,* ,% ',%+ ,*+ $* ) '))$) *+ )+)2*+! ,* # ,%!3% $%!+) +* ') *+#) '%) ) !)!%) *+ !+ % # '))$ *#) • • S:2/11 Estado Bit de interrupción de entrada discreta pendiente ,% * *+#! *+ !+ !%! (, # ,$,#) * !,# # -#) ')+)$!% / (, # %4$) ) !- *#) *'!! ') # %4$) ) !- *') *, ,!3% '% ) ,% # %4$) ) !- $!%0 ,+)* ,% *# # $ $) '), • • S:2/12 Configuración dinámica Bit de interrupción de entrada discreta habilitada ) '))$) *+ )+)2*+! ,* # ,%!3% $%!+) +* ') *+#) '%) ) !)!%) *+ !+ % # '))$ *#) *+ !+ * *+# % *, %!!3% ')+)$!% ! * *+#! ')$!+ # ,!3% # *,),+!% *! # ) !- * !*+!% ) ! *+1 ',*+ ) ,% ,)) # !%+)),'!3% # *,),+!% % * ,+ / # !+ '%!%+ * '!) ,%!3% %+!%4 ,%!%% ,% # ) !- * !*+!%+ ) ! # !+ '%!%+ * *+# # !+ !#!+!3% * .$!% # ')3.!$ !%# *1% • • S:2/13 Estado Bit de ejec. de interrupción de entrada discreta ,% * *+#! *+ !+ !%! (, # !%+)),'!3% ,))! / (, # *,),+!% * *+1 ,+% *+ !+ * '% ) ,% * +)$!% # ),+!% ,)%+ # %%! # %+) % # $ $) Ejemplo de aplicación: *+ ', .$!%) *+ !+ % # ),+!% ## ') +)$!%) *! # *+ ,+1%* ,% ,))!3 # ## • •
  • 490.
    Preface Manual de referenciadel juego de instrucciones B–22 Dirección Clasificación Descripción Fijo, 5/01 5/02 5/03 5/04 S:2/14 Configuración dinámica Bit de selección de overflow matemático Se aplica a los procesadores SLC 502, SLC 5/03 y SLC 5/04. Establezca este bit cuando usted vaya a a usar la adición o resta de 32 bits. Cuando S:2/14 es establecido y el resultado de una instrucción ADD, SUB, MUL o DIV no se puede representar en la dirección de destino (underflow u overflow), • el bit de overflow S:0/1 se establece, • el bit de interrupción por overflow S:5/0 se establece, y • la dirección de destino contiene los 16 bits sin signo truncados y menos significativos del resultado. La condición predeterminada de S:2/14 se restablece (0). Cuando S:2/14 se restablece y el resultado de una instrucción ADD, SUB, MUL o DIV no se puede representar en la dirección de destino (underflow u overflow), • el bit de overflow S:0/1 se establece, • el bit de interrupción por overflow S:5/0 se establece, y • la dirección de destino contiene 32767 si el resultado es positivo o -32768 si el resultado es negativo. Nota: El estado de bit S:2/14 no afecta la instrucción DDV. Además, no afecta el contenido del registro matemático cuando se usan instrucciones MUL y DIV. Para programar esta característica, use la función de monitor de datos para establecer o pone a cero este bit. Para proporcionar protección contra la modificación accidental de monitor de datos de su selección, programe una instrucción OTL incondicional en la dirección S:2/14 para asegurar la operación de overflow matemático nuevo. Programe una instrucción incondicional OTU en la dirección S:2/14 para asegurar la operación de overflow matemático original. Vea el capítulo 3 de este manual para obtener un ejemplo de matemática de 32 bits con signo . • • •
  • 491.
    Archivo de estadoSLC B–23 Dirección Clasificación Descripción Fijo, 5/01 5/02 5/03 5/04 S:2/15 Configuración dinámica Bit de selección de servicio de comunicaciones (canal 1 de DH+ para SLC 5/04) (canal 1 DH485 para SLC 5/03) • • • Cuando este bit es establecido, solamente una petición/comando de comunicación puede recibir servicio por END, TND, REF o SVC. Cuando se pone a cero, todas las peticiones/comandos de comunicación de entrada o salida pueden recibir servicio según END, TND, REF o SVC. Cuando se pone a cero, la transferencia de comunicación se incrementa. Sin embargo, el tiempo de escán se incrementa si varias peticiones/comandos de comunicación se reciben en el mismo escán. Una petición/comando de comunicación consiste en un comando de entrada, una respuesta de mensaje o un comando de mensaje de salida. Vea S:2/5, S:2/6 y S:2/7 y S:33/7 (procesadores SLC 5/03 y SLC 5/04). Para programar esta característica, use la función de monitor de datos para establecer o poner a cero este bit. Para proporcionar protección contra la modificación accidental del monitor de datos de su selección, programe una instrucción OTL incondicional en la dirección S:2/15 para asegurar la operación de una petición/comando o programe una instrucción OTU incondicional en la dirección S:2/15 para asegurar la operación de peticiones/comandos múltiples. Como alternativa, su programa puede cambiar el estado de este bit usando la lógica de escalera si la aplicación requiere la selección dinámica de esta función. Ejemplo de aplicación: Digamos que usted tiene un sistema que consiste en un procesador SLC 5/02, SLC 5/03 ó SLC 5/04, un programador APS y un DTAM. El tiempo de escán del programa para el programa de usuario es sumamente extenso. Por eso, el dispositivo de programación o DTAM tarda muchísimo tiempo para actualizar la pantalla. Usted puede mejorar este tiempo de actualización poniendo a cero S:2/15. En tal caso, el tiempo adicional tomado por el procesador para dar servicio a toda la comunicación al final del escán es de insignificante en comparación con el tiempo requerido para finalizar un escán. Usted podría incrementar la transferencia de comunicación aun más usando una instrucción SVC. Vea el capítulo 8 en este manual para obtener más información.
  • 492.
    Preface Manual de referenciadel juego de instrucciones B–24 Dirección Clasificación Descripción Fijo, 5/01 5/02 5/03 5/04 S:3L Estado Tiempo de escán de 10 ms actual/último ! +!$' () -) ! #$' */#)$ )%$ )'#(*'' *'#) *# !$ %'$' # !$ %'$' #!*- • ! (/# ! %'$' (!' • ! !%. • ! (/# - • ! ('+$ %' ! %*')$ $*#0# ! +!$' -) ( %$# '$ %$' ! %'$($' *'#) (/# *()$ #)( ! *0# '#!0# ! '+$ %'$' '+$ %'$' %'#%! $ *#$ ')$'# ! #()'*0# ( ( %*#)$ # !#) ! -) ( #'#) ( ! #) )%$ )'#(*''$ # !$ %'$' () +!$' ( *! ! +!$' # ! $#)'$! ,)$ ( !' *# ''$' -$' $#)'$! ,)$ *(*'$ 0$ '($!*0# ! +!$' )%$ (/# ( ± ( %!$ ! +!$' # * ( # )'#(*''$ ( ! #$ ! !$ %'$' Nota: Cuando las instrucciones SVC o REF son contenidos en el programa, este valor parecer ser irregular cuando usted lo monitoriza con un dispositivo de programación. Esto se debe a que las instrucciones SVC o REF permiten que este valor se lea en medio del escán mientras todavía se está incrementando. • • • • •
  • 493.
    Archivo de estadoSLC B–25 Dirección Clasificación Descripción Fijo, 5/01 5/02 5/03 5/04 continuación de S:3L (JMP) ]LBL[ 1 1 LES LESS THAN Source A N7:0 Source B 5 MOV MOVE Source S:3 Dest N7:0 AND BITWISE AND Source A 255 Source B N7:0 Dest N7:0 Ejemplo de aplicación: ) ! ! ! ! ! $ % ' % % $!! ! *! ! % # ) ! $ ) ! ± ( !
  • 494.
    Preface Manual de referenciadel juego de instrucciones B–26 Dirección Clasificación Descripción Fijo, 5/01 5/02 5/03 5/04 S:3H Configuración dinámica Byte de tiempo de escán de control (watchdog) Este valor de byte contiene el número de tics de 10 ms que se permite que ocurran durante un ciclo de programa. El valor predeterminado es 10 (100 ms), pero usted puede incremenĆ tarlo a 250 (2.5 segundos) o disminuirlo a 2, según lo requiera la aplicación. Si el valor de escán de programa S:3L es igual al valor de control (watchdog), un error mayor de control (watchdog) se realiza (código 0022). Este valor se aplica a cada END, TND o REF. • • • • S:4 Estado Reloj de marcha libre Solamente los 8 primeros bytes (valor de byte) de esta palabra son evaluados por el procesador. Este valor se pone a cero al momento de encendido en el modo de marcha REM. Usted puede usar cualquier bit individual de este byte en el programa de usuario como bit de reloj de ciclo de trabajo de 50%. Las velocidades de reloj para S:4/0 a S:4/7 son: 20, 40, 80, 160, 320, 640, 1280 y 2560 ms La aplicación que usa el bit se debe evaluar a una velocidad dos veces más rápida que la velocidad de reloj del bit. Esto se ilustra en el ejemplo siguiente para los procesadores SLC 5/02, SLC 5/03 y SLC 5/04. •
  • 495.
    Archivo de estadoSLC B–27 Continuación Clasificación Descripción Fijo, 5/01 5/02 5/03 5/04 continuación de S:4 Configuración dinámica Todos los 16 bits de esta palabra son evaluados por el procesador. El valor de esta palabra se pone a cero al momento de encendido en el modo de marcha REM o cuando entra en el modo de marcha REM o prueba REM. A partir de entonces, se incrementa cada 10 ms. • • • ( ) ] [ Nota de aplicación: Usted puede escribir cualquier valor a S:4. Comenzará a incrementarse a partir de este valor. Puede usar cualquier bit individual de esta palabra en el programa de usuario como bit de reloj de ciclo de trabajo de 50%. Las velocidades de reloj para S:4/0 a S:4/15 son: 20, 40, 80, 160, 320, 640, 1280, 2560, 5120, 10240, 20480, 40960, 81920, 163840, 327680 y 655360 ms La aplicación que usa el bit se debe evaluar a una velocidad dos veces más rápida que la velocidad de reloj del bit. En el ejemplo siguiente, el bit S:4/3 alterna cada 80 ms, lo cual produce una velocidad de reloj de 160 ms. Para mantener la exactitud de este bit en la aplicación, la instrucción que usa el bit S:4/3 (en este caso O:1/0) se debe evaluar por lo menos una vez cada 79.999 ms. 160 ms ciclo de S:4/3: 160 ms El S:4/3 y la salida O:1/0 alternan cada 80 ms. O:1/0 se debe evaluar por lo menos una vez cada 79.999 ms. S:4 3 O:1 0 S:5 Bit de error menor Los bits de esta palabra son establecidos por el procesador para indicar que un error menor ha ocurrido en el programa de escalera. Los errores menores, bits 0 a 7, vuelve a ser el error mayor 0020H si un bit se detecta como establecido al final del escán. Al usuario HHT: Si el procesador está con fallo con el código de error 0020H, debe poner a cero los bits de error menor S:5/0-7 junto con S:1/13 para intentar una recuperación de error. • • • •
  • 496.
    Preface Manual de referenciadel juego de instrucciones B–28 Dirección Clasificación Descripción Fijo, 5/01 5/02 5/03 5/04 S:5/0 Configuración dinámica Bit de interrupción por overflow 0) * !./! %/ !. !./'!% * +*- !' +-*!. *- %) % ,0! 0) *1!-'*2 (/!(6/%* $ *0--% * !) !' +-*#-( ! !.'!- ! +- */!)!- (6. %)*-(%8) % !./! %/ .! !./'!! 0) * .! !!0/ ' %)./-0%8) * 0) !--*- (4*- .! -!'%5 - !1%/- ' *%)% !)% ! !./! /%+* ! !--*- (4*- !3(%)! !' !./ * ! !./! %/ !.+07. ! 0) %)./-0%8) (/!(6/% * /*(! ' %8) (6. !0 4 '0!#* +*)# !-* !' %/ 0.) * 0) %)./-0%8) *) 8 0) %)./-0%8) *) • • • • S:5/1 NA Reservado • • • • S:5/2 Configuración dinámica Bit de error de registro de control . %)./-0%*)!. 4 .*) +!. ! #!)!-- !./! !--*- 0) * !' %/ .! !./'!! %) % ,0! !' %/ ! !--*- ! ' %)./-0%8) ! *)/-*' $ .% * !./'!% * % !./! %/ .! !./'!! 0) * .! !!0/ ' %)./-0%8) * !' !--*- (4*- .! -!'%5 - !1%/- ' *%)% !)% ! !./! /%+* ! !--*- (4*- !3(%)! !' !./ * ! !./! %/ *)/%)0%8) ! 0) %)./-0%8) ! -!#%./-* ! *)/-*' /*(! ' %8) (6. !0 4 '0!#* +*)# !-* !' %/ 0.) * 0) %)./-0%8) *) 8 0) %)./-0%8) *) • • • •
  • 497.
    Archivo de estadoSLC B–29 Dirección Clasificación Descripción Fijo, 5/01 5/02 5/03 5/04 S:5/3 Configuración dinámica Bit de error mayor detectado durante la ejecución de rutina de fallo de usuario 0) * !. !./'!% * !./! %/ !' 8 %#* ! !--*- (3*- -!+-!.!)/ !' !--*- (3*- ,0! *0--%8 0-)/! !' +-*!.(%!)/* ! ' -0/%) ! ''* !% * */-* !--*- (3*- % !./! %/ .! !./'!! 0) * .! !!0/ ' %)./-0%8) * !' !--*- (3*- .! -!'%4 - !1%/- ' *%)% !)% ! !./! /%+* ! !--*- (3*- !2(%)! !' !./ * ! !./! %/ !)/-* ! ' -0/%) ! ''* /*(! ' %8) (5. !0 3 '0!#* +*)# !-* !' %/ 0.) * 0) %)./-0%8) *) 8 0) %)./-0%8) *) Ejemplo de aplicación: 0+*)#(*. ,0! 0./! !!0/ 0) -0/%) ! ''* +- !' 8 %#* ! ''* ! +-*/!%8) ! !)!) % * ) !' -!)#'8) !)/-* ! !./ -0/%) ! ''* 0) ,0! *)/%!)! 0) 1'*- +-!.!'!%*) * )!#/%1* .! !!0/ 0) * !' -!)#'8) .! !!0/ !' 8 %#* ! ''* .! .*-!.-%! +- %) %- !' 8 %#* 3 .! !./'!! % .0 -0/%) ! ''* )* !/!-(%)8 ,0! .! !./'!%8 !' !--*- (3*- .! -!'%4-7 ' %)' !' +-%(!- !.5) - !1%/- !./! +-*'!( !2(%)! .!#0% * +*- )/!. ! -!/*-)- ! ' -0/%) ! ''* % .! !./'!! /*(! ' %8) (5. !0 +- -!(! %- !' ''* 3 '0!#* +*)# !-* • • • S:5/4 Configuración dinámica Bit de M0-M1 indicados en ranura inhabilitada ./! %/ .! !./'!! 0) * 0) %)./-0%8) $! -!!-!)% 0) !'!(!)/* ! -$%1* ! (8 0'* 8 +- 0) -)0- ,0! .! %)$%'%/8 17 !' %/ ! $%'%/%8) ! -)0- ! 0) * !. !./'!% * !' %/ %) % ,0! 0) %)./-0%8) )* .! +0 * !!0/- *--!/(!)/! !% * ' '/ ! %.+*)%%'% ! '*. /*. 8 %-!%*) *. % !./! %/ .! !./'!! 0) * .! !!0/ ' %)./-0%8) * !' !--*- (3*- .! -!'%4 - !1%/- ' *%)% !)% ! !./! /%+* ! !--*- (3*- !2(%)! !' !./ * ! !./! %/ !.+06. ! 0) %)./-0%8) ! -!!-!)% /*(! ' %8) (5. !0 3 '0!#* +*)# !-* !' %/ 0.) * 0) %)./-0%8) *) 8 0) %)./-0%8) *) • • •
  • 498.
    Preface Manual de referenciadel juego de instrucciones B–30 Dirección Clasificación Descripción Fijo, 5/01 5/02 5/03 5/04 S:5/5 a S:5/7 NA Reservado %) #% %%% !% $( )()! % %%% +% ! -! • • • • S:5/8 Estado Bit de arranque del módulo de memoria (! ' ' ' #% #%% ! $( (! #%% 1( % '%!% #%% ' ' ! #(' % #% #%% #%% #( * !% ' ' ' (! !'% ! % #% '% !% !'! 1( % '%!% ' ' #% !% !'% ! % ' !% 1! 2' (! (' '! (! #1! $( !'! ' %'!') + (! 1( % ! !' ' ' 1( % % ! %%% % ' ' #% !% $( ' %'!') ! #% ' ' ' .! 2' (! (! ' 1( % % #% !!' 1( % % #% !!' + % #% %!% (! !'% ! % !' !! (! !'% ! #%% #%( % • • • • S:5/9 Estado Bit de correspondencia incorrecta de contraseñas de módulo de memoria ' ' ' (! !'% ! % (! % 1( % # #% ' 1 + #%% ((% #%% '! #%'1! ! !'%0 + #%% 1( % ! %%#! !'%0 ' ' #% !% #%% #1! $( (! 1( % % (' -' !(!'% !' #% ! %1 (! ( !'%0 • • • • S:5/10 Estado Bit de overflow STI (interr. temporizada seleccionable) ' ' ' (! ' #%,% ( (%!' (1! !' %('! ' #!!' + ' • • • S:5/11 Estado Bit de batería baja ' ' ' (! '%/ ( ! ' #! % (! '%/ # • • •
  • 499.
    Archivo de estadoSLC B–31 Dirección Clasificación Descripción Fijo, 5/01 5/02 5/03 5/04 S:5/12 Estado Bit de overflow de interrupción de entrada discreta ' ' ' • • S:5/13 Configuración dinámica Se intentó carga sin éxito del sistema de operación ' ! $ # # ' % ' ' ' ' # ' • •
  • 500.
    Preface Manual de referenciadel juego de instrucciones B–32 Dirección Clasificación Descripción Fijo, 5/01 5/02 5/03 5/04 S:5/14 Estado Módem de canal 0 perdido Este bit indica el estado del módem conectado al canal 0 (puerto en serie RS232). El estado de este bit es determinado por: • el protocolo para el cual el canal 0 ha sido configurado • la línea de control seleccionada • los estados de DCD (detección de portador de datos) y DSR (conjunto de datos listo) Si el bit es establecido, el módem no está bien conectado al canal 0 ó está en un estado donde pueden ocurrir cambios de comunicación no confiables vía el canal 0. Las condiciones siguientes se aplican: • Si el canal 0 se inhabilita o se configura para DH485, el bit siempre se pone a cero. • Si el canal 0 se configura para uno de los protocolos DF1 en el modo de sistema o modo de usuario de ASCII genérico, la selección de la línea de control determina cómo DCD y DSR afectan el estado de módem: - Si la línea de control = NINGUNA COMUNICACION: El bit siempre es establecido. - Si la línea de control = FULL DUPLEX o HALF DUPLEX SIN ACARREO CONSTANTE: El bit se restablece si DSR está inactivo y puesto a cero cuando DSR se activa. (En este caso, DCD no afecta el estado de módem.) • • S:5/15 Estado Manejo de la cadena ASCII Este bit se aplica a los procesadores SLC 5/03 con OS301, OS302 y SLC 5/04 con OS400, OS401. Este bit se establece a 1 cuando se intenta procesar una cadena usando una instrucción ASCII que exceda la longitud de 82 caracteres. • •
  • 501.
    Archivo de estadoSLC B–33 Dirección Clasificación Descripción Fijo 5/01 5/02 5/03 5/04 S:6 Estado Código de fallo de error mayor .! ) % $!' % $ !$ $!%!$ ' ! ' $$!$ *!$ % $+ -$% .! ! ! %/ ! ! % , % %' % % $ ! % !$$ !$ $!%!$ !% .!% $$!$ %! $% !% !% * !%$!% !$! ) -$% - $ ! $ ,% !$. $ %% '$. ) • • • • '% $!' ' .! ! !! $,$! ' %$'. $!$ %$ ! ($$ .! !$ ! % $!$ ' %$'. #' % ($$ ' ! !'$$ ' $$!$ $!'+ !! ' * el equivalente decimal !! ' EQU EQUAL Source A S:6 Source B 22 • • •
  • 502.
    Preface Manual de referenciadel juego de instrucciones B–34 Dirección Clasificación Descripción Fijo, 5/01 5/02 5/03 5/04 continuación de S:6 Fallo de usuario no recuuperable ),+!% ## * ,+ ,)%+ '* *+ ', !%!!) ,% !%*+),!3% +) % ') !%+!!) # %!!3% ## # ')*) Fallo no atribuible al usuario ),+!% ## % * ,+ * *)!'!%* / #*!!!%* # 3! ))) ')% % #* '0!%* * +)2* *% • )))* %%! • )))* ! $) • )))* +!$' ,!3% • ))))* !%*+),!3% # '))$ ,*,)! • )))* # '2+,# *+ $%,# ') +%) !%)$!3% ) # ,* / ),')!3% ##* Ejemplo de aplicación *+ ', #)) *, ')'! ## $/) *'2! ') # '#!!3% *)!!% ,% -#) 4%! / #, *+#!% # !+ Al usuario del procesador SLC 5/02 %+)), # -#) % # ),+!% ## ') +)$!%) # +!' ## (, ,))!3 ! # '))$ * ,)3 % # '), ,% *# '* !#!+ +$!1% ', !%+))) / ') ')!*) # )%#3% .+ (, * ,+3 ,% ,))!3 # ## #*!!!%* ## * ##* * #*!!% $ % +)!,!#* # ,*,)! % ),')#* / ),')#* Fallo de usuario recuperable ),+!% ## ', ))) # ## '%!% ) # !+ • • • •
  • 503.
    Archivo de estadoSLC B–35 Clasificación de fallo Procesador Usuario DirecĆ ción Código de error (hex) Errores de encendido No usuario No recuperable RecuĆ perable Fijo 5/01 5/02 5/03 5/04 S:6 0001 X • • • • 0002 X • • • • 0003 # ! X • • • 0005 X • • 0006 X • • 0007 # X • • 0008 X • • 0009 X • •
  • 504.
    Preface Manual de referenciadel juego de instrucciones B–36 Clasificación de fallo Procesador Usuario DirecĆ ción Código de error (hex) Errores de ida a marcha No usuario No recuperable Recup. Fijo 5/01 5/02 5/03 5/04 S:6 0010 $#'# # )!$ # * *'0 %)# X • • • • 0011 *# $#! )( # '(- )'(( X • • • • 0012 $#! ' ( ) # !!# X • • • • 0013 • !0) # !!# %)# '(- )'( # • 0 # ' '( # #!# # %) $#! X • • • • 0014 # *# (# X • • • • 0015 # *# #)0 X • • • • 0016 #(0 # '$).' $. ! . #0 # +'( !#!(# # )# ( ' '( , ()$0 #)0 )( )0 X • • • 0017 ') $#! )')# !0) # !!# X • • 0018 #! )')# # #!$( ') ($# ''(! #$(*# '( # (!. $) #) )( # X • • 0019 ((0 (%)( (( # )$ X • • 001F $# ! ( $#! )( ) ''0 0 / X • • 0004 # !!# #)0 !## ! X • • • 0020 ( # !# ' '( '- .' #' (' # !# X • • • •
  • 505.
    Archivo de estadoSLC B–37 Clasificación de fallo Procesador Usuario DirecĆ ción Código de error (hex) Errores de tiempo de ejecución No usuario No recuperable Recup. Fijo, 5/01 5/02 5/03 5/04 S:6 0021 ! Nota Un sistema modular que encuentra una condición de sobretensión o sobrecoĆ rriente en las fuentes de alim. eléc. pueden producir cualĆ quiera de los códigos de error de E/S listados en las páginas B-42 y B-43 (en vez de código 0021). La condición de sobretensión o sobrecoĆ rriente se indica por el LED de fuente de alim. eléc. apagado. Procesadores comĆ pactos y SLC 5/01 FRN 1 a 4 - si el fallo de alim. eléc. remota ocurrió mientras que el procesador estuĆ viera en el modo de marcha REM, el error 0021 causará que el bit de error mayor detenido (S:1/13) se ponga a cero durante el próximo encendido del chasis local. Procesadores SLC 5/02 y SLC 5/01 FRN 5 - No es necesario desconectar y volver a conectar la alim. eléc. al chasis local para reanudar el modo de marcha REM. Una vez que el chasis remoto se reactiva, la CPU vuelve a iniciar el sistema. ! X • • • • 0022 X • • • • 0023 X • • •
  • 506.
    Preface Manual de referenciadel juego de instrucciones B–38 Clasificación de fallo Procesador Usuario DirecĆ ción Código de error (hex) Errores de tiempo de ejecución No usuario No recuperable Recup. Fijo, 5/01 5/02 5/03 5/04 S:6 0024 %#' %##!- '+ ) # $ %' X • • • 0025 ($ !# !$ !# #% X • • • 0026 ($ !# !$ !# #% %##!- X • • • 0027 ($ !# !$ !# #% $# X • • • 0028 # #' #% *!# %- '+ ($%% X • • • 0029 # #- ( # % $! #' % $ ,% .% #' El procesador X • 0029 ! El procesador SLC 5/02 usa un valor de índice de cero para la instrucción con fallo después de la recuperación de error. X • • 002A ## #- ( $ %# # $ ,%$ #' % $ ## $!, X • • • 002B .# #' ($% !# $ %! #' ##% .# #' ($% X • •
  • 507.
    Archivo de estadoSLC B–39 Clasificación de fallo Procesador Usuario DirecĆ ción Código de error (hex) Errores de tiempo de ejecución No usuario No recuperable Recup. Fijo, 5/01 5/02 5/03 5/04 S:6 002C ! ! $$! !$ ! )% #$ # $( % $$ * )% $ # #$ % ! ( % X • • 002D ! %' ! ! '! $$! !$$ % $+ '! $$! !$ '! $( X • • 002E !'$ !$ ! (, X • • 002F $( !$$'#-! ! (, ! )%! X • •
  • 508.
    Preface Manual de referenciadel juego de instrucciones B–40 CODIGOS DE ERROR: %) (*() -- $ %) 1 %) ) + $*) (()$*$ $2#(% ($+( $ - # ($+( -* $% ) + *(# $( %) (*() -- ) %$, (*$ $ FALLOS RECUPERABLES (%)%() . +%) %) )%$ (+() ( (+(%) +)* $ *( ($+( ) -- $ (+* $ % +)+( % $% $ * ($+( -- (%)%( )*(/ %$ % $ )/$ Nota: Una tarjeta de E/S que está muy dañada, puede causar que el procesador indique la existencia de un error en el renglón 1 aunque la tarjeta dañada se encuentre instalada en un renglón distinto de 1. Ran. xx 0 00 1 01 2 02 ** 3 03 4 04 5 05 6 06 7 07 Ran. xx 8 08 9 09 10 0A 11 0B 12 0C 13 0D 14 0E 15 0F Ran. xx 16 10 17 11 18 12 19 13 20 14 21 15 22 16 23 17 Ran. xx 24 18 25 19 26 1A 27 1B 28 1C 29 1D 30 1E * 1F NUMEROS DE RANURA (xx) EN HEXADECIMAL Errores de E/S )* ,%( $ '+ ($+( $% ) $%$*(1 (%)%() . )* ,%( $ '+ ($+( $% ) $%$*(1 %$*(%%( !% Clasificación de fallo Procesador Usuario DirecĆ ción Código de error (hex) Errores de instrucción del programa de usuario No usuario No recuperable Recup. Fijo, 5/01 5/02 5/03 5/04 S:6 0030 $*$*1 )*( +$ ( ,% )+(+* $ $ % $ -)% +$% )* 1 % *# 0$ + ) $ ( '+ +$ (%(# * $ (+* $) %) #$* (+() ,) X • • • • 0031 **1 +$ (($ $)*(+ 1$ $% )%%(* X • • • • 0032 $ (/#*(% %$ *+ %) 1$ )+$ %( $ #/) / $ +$ ( ,% *%) X • • • • 0033 %$ *+ +$ $)*(+ 1$ % $ #/) / $ +$ ( ,% *%) X • • • •
  • 509.
    Archivo de estadoSLC B–41 Clasificación de fallo Procesador Usuario DirecĆ ción Código de error (hex) Errores de instrucción del programa de usuario No usuario No recuperable Recup. Fijo, 5/01 5/02 5/03 5/04 S:6 0034 ((. ) * # (*# $ ) )!) # (!$#+# # * # $' ## X • • • • #' $#'#' #' # (' '# !( ((. ) $' ## (*# # # ) '(). X • 0035 '(). # ' ! (# ) )( ()$. # # )')# X • • • 0036 * # # *- # ' )' $ ) $-!(# '(). X • • • 0038 '(). ' ((. ) *# %) # ' ) '))( X • • • • xx3A ((. ' ) . ( ) ) *# %) ( $#(. #'(( *# (#' X • • 1f39 #() # *- ' ((. ) *# X • • xx50 # '' (#' ' (( X • • • • xx51 # (!$# ). ,('# ' (( ) !.) # X • • • • xx52 !.) # %)# $ $#! )')# ' (( #!# (( # !# X • • • •
  • 510.
    Preface Manual de referenciadel juego de instrucciones B–42 Clasificación de fallo Procesador Usuario DirecĆ ción Código de error (hex) Errores de E/S No usuario No recuperable Recup. Fijo, 5/01 5/02 5/03 5/04 S:6 xx53 % # ! ( ( X • • • • ( ! ' X • • xx54 ( ) X • • • • xx55 ( ! ( ! ( X • • • • xx56 ( ( X • • • • xx57 ( ' X • • • • xx58 ( # ( X • • • • xx59 ( $ ' X • • • • xx5A ( X • • •
  • 511.
    Archivo de estadoSLC B–43 Clasificación de fallo Procesador Usuario DirecĆ ción Código de error (hex) Errores de E/S No usuario No recuperable Recup. Fijo, 5/01 5/02 5/03 5/04 S:6 xx5B %. $- %#% ( .% X • • • xx5C %. $- ( .% X • • • xx5D # $ # $% . #$ X • • • xx5E # #$' X • • • xx60 a xx6F $ % ) % # , .% +# % %#% / .% # X • • • xx70 a xx7F $ % ) % # , .% +# % %#% / .% # X • • • xx90 $% . % % $ X • • • xx91 % $ #$* X • • • xx92 #%%$ $% . .%/ * (#$$ X • • • xx93 ) # , .% # $ X • • • xx94 % % .% # $$ #$ + $ + % # !% % .% # #$ X • • •
  • 512.
    Preface Manual de referenciadel juego de instrucciones B–44 Dirección Clasificación Descripción Fijo, 5/01 5/02 5/03 5/04 S:7 y S:8 Estado ] [ ] [ Código de suspensión/archivo de suspensión ,% ,% -#) !*+!%+ ) ') % !%! (, # !%*+),!3% !%+!! ') *+ -#) *! -#, $ -)) / (, # $ ',* *,*'%*!3% * -!%+ *+ *)! ')!*$%+#* %!!%* % # '#!!3% (, ,*)% # $ ',* *,*'%*!3% *+ -#) % * )) ') # ')*) '#) %+!% # %4$) ) !- '))$ % (, * ,! ,% !%*+),!3% -)) *+ -#) % * )) ') # ')*) * # !%*+),!3% % # ##!0!3% / ))!3% ##* %%! $ !%3*+!* +!$' ,!3% ') # +!3% )))* # *!*+$ Ejemplo de aplicación: *+ %*!) (, #* !%+)),'+)* !%# ))) %+5 * % * ',% +!-) *!$,#+1%5 $%+ ') # '))$ '#!!3% * $')+ $ *! * ,) '*!# ) +)$!%) # .!*+%! ,% ')#$ # !%+)),'+) !%# ))) ')#$ #3! *#) 2 # )%#3% *!,!%+ # '))$ ! # '))$ %+) % # $ ',* ') # 3! ,% ,*+ ,+ # '))$ +!% ,% ')#$ # !%+)),'+) !%# ))) *! # $ ',* ') # 3! % ,)) +!% ,% ')#$ #3! *#) SUS SUSPEND Suspend ID 1 I:1.0 0 I:1.0 1 • • • • S:9 y S:10 Estado Nodos activos (canal 1-procesadores SLC 5/03) *+* * '#)* *% $'* % !+* ') )')*%+) #* %* '*!#* % ,% ) 5 )')*%+% #* !)!%* % *+* !+* *% *+#!* ') # ')*) ,% ,% % .!*+ % # ) 5 # ,# *+1 %+ # ')*) * !+* *% ))* ,% ,% % % *+1 ')*%+ % # ) • • •
  • 513.
    Archivo de estadoSLC B–45 Dirección Clasificación Descripción Fijo, 5/01 5/02 5/03 5/04 S:11 y S:12 Configuración dinámica Habilitaciones de ranuras de E/S ' #% ! # ! ' #% %#%!'% %!(% # ! (! ' %#%!' %!(% #% ' %!(% ( #% #('% ! ' (% %#%!'! %!(% ! ( (! (! ' ' !.! #%'% ! #% ' $( .( !'! ! %!(% %% '( ! ,! #%.! #%% (! #! % ' !% .( ! %!(% %% % (! )% '.! %!(% ( $( ' ! !'% (! .( !'% ! )! ! ( /' )% , (! .( ! )+%,! !#!0 !' !' )% !'! ! ! #% !! ! )+ ' $( • - !' • % • (! *% (%% ! !' #!! % ' $( %!(% )() '% '% %!(% !' ! ! % !+% ! !(%.! #%% ((% Asegúrese de haber examinado bien a fondo los efectos de inhabilitar (poner a cero) un bit de habilitación de ranura antes de hacerlo en la aplicación. ! • • • • Nota: Los procesadores SLC 5/02, SLC 5/03 y SLC 5/04 informan a cada módulo de E/S especial que se ha habilitado/inhabilitado. Algunos módulos de E/S pueden efectuar otras acciones cuando se inhabilitan o vuelven a habilitarse. Refiérase a la información para el usuario proporcionada con el módulo de E/S especial para ver las posibles diferencias de las descripciones anteriores. • • •
  • 514.
    Preface Manual de referenciadel juego de instrucciones B–46 Dirección Clasificación Descripción Fijo, 5/01 5/02 5/03 5/04 continuación de S:11 y S:12 La instrucción DII no hace caso del estado de habilitación/inhabilitación de ranura. No ejecute la DII en una ranura con fallo. Si aplica la DII en una ranura inhabilitada, la interrupción ocurrirá. Sin embargo, la imagen de entrada no reflejará el estado actual de la tarjeta. ! Este bit se aplica al momento de detección de un bit de reconfiguración DII, cada salida de ISR DII y al final de cada escán (END, TND o REF). • •
  • 515.
    Archivo de estadoSLC B–47 Dirección Clasificación Descripción Fijo, 5/01 5/02 5/03 5/04 S:13 y S:14 Configuración de estado y dinámica Registro matemático Use este registro doble para producir operaciones de 32 bits de división y multiplicación con signo, operaciones de división precisa o división doble y conversiones BCD de 5 dígitos. Estas dos palabras se usan conjuntamente con las instrucciones matemáticas MUL, DIV, DDV, FRD y TOD. El valor de registro matemático es evaluado al momento de ejecución de la instrucción y permanece válido hasta que la próxima instrucción MUL, DIV, DDV, FRD o TOD se ejecute en el programa de usuario. Una explicación de cómo funciona el registro matemático se incluye con las definiciones de instrucción. Si usted almacena valores de datos de 32 bits con signo (ejemplo en la página 3-9), debe manejar este tipo de datos sin ayuda de un tipo de datos de 32 bits asignados. Por ejemplo, combine B10:0 y B10:1 para crear un valor de datos con signo de 32 bits. Recomendamos que mantenga todos los datos con signo de 32 bits en un archivo de datos único y que comience todos los valores de 32 bits en un límite de palabra par o impar para facilitar la aplicación y la visualización. Además, recomendamos que diseñe, documente y vea el contenido de datos de 32 bits con signo en la raíz hexadecimal o binaria. Vea el capítulo 3 para obtener más información acerca de cómo cada instrucción afecta el registro matemático. • • • • Cuando una rutina de fallo STI, ranura de E/S o fallo interrumpe la ejecución normal del programa, el valor original del registro matemático se restaura cuando la ejecución se reanuda. Note que S:13 y S:14 no se usan cuando la fuente o destino se define como datos de punto (coma) flotante. • • • Cuando una DII interrumpe la ejecución normal del programa, el valor original del registro matemático se restaura cuando la ejecución se reanuda. • •
  • 516.
    Preface Manual de referenciadel juego de instrucciones B–48 Dirección Clasificación Descripción Fijo, 5/01 5/02 5/03 5/04 S:15L Configuración estática Dirección de nodo () +%' ,) %$) $ ' .$ $%% '%(%' $ ' 0 . (%( ) +% $ ' 0 )$' *$ ' .$ /$ $)' %( +%'( #( (%( ) +% $ ' )$' *$ ' .$ /$ $)' %( +%'( #( ' # ' ' .$ $%% *$ '%(%' (' *$ +%' $)' ' 0 , ' *($% #%$ )%' )%( % *$ .$ $%% '%'#%' *% (%$) , +*+ %$)' #$) .$ -)' '%(%' ' .$ $%% ')'# $ *$ '%(%' ( ' .$ $%% ')'# $ , '%'#%' ( ' '%%' %$' '%) .$ ) #% !* .$ %$)' #% .$ $) #%$ )%' )%( (* ( .$ '%'# () +%' *($% *$ $()'* .$ $%$ %$ ( $()'* .$ $ *' ( )# -$ ( '%)' +% $ * %( !#% ( * $) #*()' '%) .$ ) #% !* .$ ' .$ $%% MVM MASKED MOVE Source N7:100 Mask 00FF Dest S:15 MOV MOVE Source 3 Dest N7:100 • • • • *$% *$ %#$% $ %$ *' .$ ( ' ' $ ' .$ $%% ( (%'(' %$ +%' %$)$ % $ %$ *' .$ $ • •
  • 517.
    Archivo de estadoSLC B–49 Dirección Clasificación Descripción Fijo, 5/01 5/02 5/03 5/04 S:15H Configuración estatica Velocidad en baudios +, .$'* 0, ', - 1 ' -+' (* +$'* $ .$' -'+ $ (*'+'* $ * 2 '+ (*'+'*+ 0 #'+ (*'('*' - .$' -'+ 1 +'$%, '+ (*'+'*+ (*'('*' - .$' -'+ 1 '+ (*'+'*+ (*'('*' - .$' -'+ 0 * %* $ .$' -'+ $ .$'* (*,*%' -+ $ %','* ,'+ ' $ -1 -'+ $ (*' *%'* $ (*'+'* -+ $ 1 ' (* -'+ 1 ' (* -'+ 1 ' (* -'+ 1 ' (* -'+ 1 ' (* -'+ 1 ' (* -'+ 0 1 ' (* -'+ #%($' )- %-+,* $ (*',1 ,%(' #-1 .$' -'+ 1 ' + -$ %$ !/ *' MVM MASKED MOVE Source N7:100 Mask FF00 Dest S:15 MOV MOVE Source 1024 Dest N7:100 • • • •
  • 518.
    Preface Manual de referenciadel juego de instrucciones B–50 Dirección Clasificación Descripción Fijo, 5/01 5/02 5/03 5/04 S:15H (cont.) #%($' )- %-+,* $ (*',6 ,%(' #-6 (* $ .$' -'+ 6 ' 0 $ *6 '' + -$ 0 + -$ %$ !/ *' MOV MOVE Source 1027 Dest S:15 -' - '%' $ ' -*6 + * (* $ $ $ .$' -'+ + +'*+* ' $ .$'* ',' $ ' -*6 $ • • S:16 y S:17 Estado Prueba de un solo paso - Inicie el paso en - Renglón/archivo +,'+ * +,*'+ $ 7%*' * $6 ($* 0 *!.' ($* #-,$ )- $ (*'+'* #-,*3 (*6/%%, -' -' $ %'' (*- - +'$' (+' * !$,* +, *,*5+, -+, +$'* $ '(6 (*- - +'$' (+' $ %'%,' )- -* $ (*' *% +,'+ .$'*+ + ,-$1 $ $16 * $6 4*+ $ ($* (* ',* %3+ '*%6 $ +('+,.' (*' *%6 ,**' +, .$'* 0 (*'('*'* '*%6 $5 +,' 2 $ (+' *!.' / * $6 0 ' /+, 7 -+' ''' (* +, *,*5+, -' + *' ('* $ (*' *% +$* • • • +, *,*5+, + '*('* $'+ (*'+'*+ 0 +$6 ' + +* • •
  • 519.
    Archivo de estadoSLC B–51 Dirección Clasificación Descripción Fijo, 5/01 5/02 5/03 5/04 S:18 y S:19 Configuración de estado y dinámica Prueba de un solo paso - Punto de interrupción - Renglón/archivo +,'+ * +,*'+ $ 7%*' * $6 ($* 0 *!.' ($* #-,$ $, $ -$ $ (*'+'* + ,* $ #-,* $ %'' (*- - +'$' (+' * !$,* +, *,*5+, -+, +$'* $ '(6 (*- - +'$' (+' $ %'%,' -** $ (*' *% $'+ 7%*'+ * $6 0 *!.' +' $ (*'+'* (+*3 $ (*6/%' * $6 +'$%, + ' $ (*'+'* ',-*3 !+, ',** - * $6*!.' )- + -$ $ .$'* $ (*'+'* + , 0 (' *' 0 -' -,* - '**+(' -*, +- (*% $ %'' (*- - +'$' (+' $ (*'+'* -'*3 %, + ' -,* $ $ * $6*!.' )- -+, ! ,*'-' -' !+, ',** - -$ ** - %' %'' ' ( *+ $ +('+,.' (*' *%6 ,**' +, .$'* -' (*'('*'* $ '*%6 $5 +,' 2,*% $ (+' ,+ $ *!.' / * $6 0 %4 $ +('+,.' (*' %6 +* +, .$'* -' $ $ '%' 2+,$1 $ * $6 $ ' /+, 7 -+' ''' (* +, *,*5+, -' + *' ('* $ (*' *% +$* • • • +, *,*5+, + '*('* $'+ (*'+'*+ 0 +$6 ' + +* • •
  • 520.
    Preface Manual de referenciadel juego de instrucciones B–52 Dirección Clasificación Descripción Fijo, 5/01 5/02 5/03 5/04 S:20 y S:21 Estado Prueba - Fallo/apagado - Renglón/archivo +,'+ * +,*'+ $ 5%*' * $4 ($* / *!.' ($* #-,$ )- $ (*'+'* #-,4 5$,%%, ,+ '-*** - **'* %/'* ' ( ' * !$,* +, *,*3+, -+, +$'* $ '(4 (*- - +'$' (+' $ %'%,' -** $ (*' *% - -+* +,'+ * +,*'+ (* +** ' (*+4 $ (-,' #-4 $ (*'+'* $ 5$,% ,* $ *-, ( ' ' $$' +, -4 ,%2 +,1 ,. $ %'' %*! Ejemplo de aplicación: -(' %'+ )- $ (*' *% ', .*+ +,*-'+ $ *!.' * $4 .+ ', - .$'* (*+$'' ,.' *-(*4 $ $$' (*+$'' ,.' + ('+$ '$'' $ .$'* (*+$'' / .'$.' +,$* $ ,%('*0'* '$')- $ * $4 + -, $ *-, $$' (* *$0* $' ,*'* $ , +,1 $.' '%' . )- - *-(*4 ($4 ! +' • • • +, *,*3+, + '*('* $'+ (*'+'*+ / ' + +*' +$'*$ • • MOV MOVE Source 100 Dest T4:6.PRE EQU EQUAL Source A S:6 Source B 52 (RET) (RES) T4:6 (L) B3 0 (U) S:1 13 ' *!.' El valor 52 es igual a 0034 hex. +, + $ 4 ' **'* (* - .$'* (*+$'' ,.' $ ,%('*0'* EQU EQUAL Source A S:20 Source B 25 EQU EQUAL Source A S:21 Source B 2 ' * $4
  • 521.
    Archivo de estadoSLC B–53 Dirección Clasificación Descripción Fijo, 5/01 5/02 5/03 5/04 S:22 Estado Tiempo de escán máximo observado +, ($* $ ,*.$' %2/%' '+*.' ,* ++ '+-,.'+ '+ ++ '+-,.'+ + '%' ,*.$'+ ,* $ *!.' * $3 0 $ +,*-3 ' +, .$'* *%,'+ %+ $ ,%(' ,*+-**' $ $' (*' *% %2+ $* ' $ (*'+'* $ (*'+'* '%(* .$'* $ 4$,%' +2 ' $ .$'* ',' $ (*'+'* ,*% )- $ .$'* $ 4$,%' +2 + %0'* )- $ .$'* $%' $ .$'* $ 4$,%' +2 + +* *+'$-3 $ .$'* ,%(' +2 %2/%' '+*.' + ± %+ '* #%($' $ .$'* )- %+ -*' '+*.'+ '%' $ $' (*' *% %2+ $* ' ,**' - +, .$'* -+' $ -3 $ %','* ,'+ + -+, , )- ,*%* ' .** $ ,%(' +2 %2+ $* ' $ $' (*' *% Nota: El escán de E/S, overhead del procesador y servicio de comunicación ' se incluyen en esta medición. • • • $ , +$3 $ ,%(' +2 ,*% $ + ,%(' -+ (* $'+ ,%('+ +2 (*'%'+ 0 %2/%'+ -' + (' *' $ '(*3 + '%' + +* ,*'*%, -' + +,$ $ + ,%(' + /(*+ *%,'+ %+ .1 *%,'+ %+ -' + +,$ $ .$'* $ *+'$-3 $ ,%(' +2 %2/%' '+*.' + ± %+ '* #%($' $ .$'* )- %+ -*' '+*.'+ '%' $ $' (*' *% %2+ $* ' • •
  • 522.
    Preface Manual de referenciadel juego de instrucciones B–54 Dirección Clasificación Descripción Fijo, 5/01 5/02 5/03 5/04 S:23 Estado Tiempo de escán promedio % $ ' ! $!! ! $! ', (!$ $ !% % ! $ %'$$! ! $!$ $!! $!%!$ $ %+ t Prom. = (prom. * 7) + escán 8 $%!', (!$ ! %+ $!! % ± % !$ ! (!$ #' % '$! '!% !! ! $!$ $!! Nota: El escán de E/S, overhead del procesador y servicio de comunicación ! se incluyen en esta medición. • • • %, ! %+ $ % ! '% $ ! %+ $!! ' ! % ! $! !$, % !! % %$ $!$ ' ! % % % ! % )$% $ !% % (* $ !% % ' ! % % $%!', (!$ ! %+ $!! % % !$ ! (!$ #' % '$! '!% !! ! $!$ $!! • • S:24 Configuración dinámica Registro de índice % $ !% ! '%! $! ! )! ' ! ' $' $ '$ ! ! $$' ', !$ $!$ (!$ !$ % $%$! % $%'$ ' ! ', % $ ' • • • ' ! ' $$' ', !$ $!$ (!$ !$ % $%$! % $%'$ ' ! ', % $ ' • •
  • 523.
    Archivo de estadoSLC B–55 Dirección Clasificación Descripción Fijo, 5/01 5/02 5/03 5/04 S:25 y S:26 Estado Interrupción de E/S pendiente )*) %) () )%$ #) $ *) ) ($+() %) *) $ (($ ) ($+() %) *) . )*/$ ()(,) * $ $* )% % %$ +$ ($+( $*((+ 1$ ) )* +$% * * 1$ $*((+ 1$ ($+( %(()%$ $* ) %$ (% #%#$*% +$ * 1$ $*((+ 1$ %$ (% +$% * * 1$ $*((+2 1$ ,$*% ) )* % +$% +$ $)*(+ 1$ )% ) !+* * $ $* ( !+ 1$ +$ )+(+* $ $*((+ 1$ (#$ +)*% (% +$% ) $*((+# %( +$ % (+* $ % #$( )#!$* * $ $* (#$ +)*% (% ) )(, % $*((+ 1$ ) )% * #%#$*% $ '+ +$ $*((+ 1$ ( %( #.%( % + ) )*/ !+*$% (+* $ % + %*( ) $*((+ %$) ) *(*$ $ 0*+% )* #$+ • • • * $ $* )% % %$ +$ ($+( $*((+ 1$ ) )* +$% * * 1$ $*((+ 1$ ($+( ) %$ (% #%#$*% +$ * 1$ $*((+ 1$ %$ (% +$% * * 1$ $*((+ 1$ ,$*% %(()%$ $* ) )* % +$% +$ $)*(+ 1$ )% ) !+* * $ $* ) #( )(/ )* % +$% )(, % $*((+ 1$ ) )% * . (%)%( )*/ !+*$% +$ $*((+ 1$ ( %( + % #.%( ( %( $*((+ 1$ $% * )* # $*% )*%) *) %( !#% +($* !+ 1$ +$ )+(+* $ ($+( )% * +$ $*((+ 1$ ,$*% !+*(/ )* $ ) $ #(% * ($+( $ $* $% ) )*(/ $*(% !+ 1$ -# $ )*% )*%) *) $*(% ) )+(+* $) $*((+ 1$ ) 1$ ('+ ( )* $%(# 1$ • •
  • 524.
    Preface Manual de referenciadel juego de instrucciones B–56 Dirección Clasificación Descripción Fijo, 5/01 5/02 5/03 5/04 S:27 y S:28 Estado Interrupción de E/S habilitada ./. *. +'-. .*) (+! . *) %/. '. -)0-. ! *. %/. *--!.+*) !) '. -)0-. *. %/. 2 !./3) -!.!-1 . ' 1'*- +-! !/!-(%) * ! %/ !. !./'!% * ' %/ ! $%'%/%5) .*% * *) 0) -)0- ! %)/!--0+%5) .! !! !./'!!- 0) * ' %)/!--0+%5) *0--! +- +!-(%/%- ,0! ' *--!.+*) %!)/! .! !!0/! ! '* *)/--%* ' )* .! !!0/-3 2 !' %/ ! %)/!--0+%5) ! -)0- ! +!) %!)/! .*% * )* .! !./'!!-3 *. (%*. !!/0 *. !./*. %/. 0.) * ' 0)%5) !' (*)%/*- ! /*. * %)./-0%*)!. ! !.'!- ,0! .*) %./%)/. ! * !)/-) !) 1%#!)% !) !' .%#0%!)/! %)' ! !.3) . %)/!--0+%*)!. ! .! /-/) !) !' +4/0'* ! !./! ()0' • • • Configuración dinámica ./*. %/. +0! !) .!- !./'!% *.-!./'!% *. +*- !' +-*#-( ! 0.0-%* *((. * *) ' %)./-0%5) * *. (%*. !!/0 *. !./*. %/. 0) * ' 0)%5) !' (*)%/*- ! /*. ! ' /!-(%)' ! +-*#-(%5) * /* %)./-0%5) ! !.'!- !)/--3) !) 1%#!)% %)(! %/(!)/! • • S:29 Configuración dinámica Número de archivo de rutina de fallo de usuario ./! %)/-* 0! 0) )6(!-* ! -$%1* ! +-*#-( ,0! .! !! 0.- !) /* *. '*. !--*-!. (2*-!. -!0+!-'!. 2 )* -!0+!-'!. -*#-(! ' '5#% ! !.'!- ! ' -0/%) ! ''* !) !' -$%1* ,0! $ !.+!%% * .-% 0) 1'*- ! +- %)$%'%/- ' -0/%) ! ''* - +-*+*-%*)- +-*/!%5) *)/- ' (* %%%5) % !)/' !' (*)%/*- ! /*. ! ' .!'!%5) +-*#-(! 0) %)./-0%5) %)*) %%*)' ,0! *)/!)# !' )6(!-* ! -$%1* ! +-*#-( ! ' -0/%) ! ''* * +-*#-(! 0) %)./-0%5) !) +- !1%/- ' *+!-%5) ! ' -0/%) ! ''* -0/%) ! ''* .! /-/ !) !' +4/0'* ! !./! ()0' • • •
  • 525.
    Archivo de estadoSLC B–57 Dirección Clasificación Descripción Fijo, 5/01 5/02 5/03 5/04 S:30 Configuración dinámica Interrupción temporizada seleccionable - Punto de ajuste +, ,*'- $ + ,%(' 3%'+ %$+ -'+ )- + -+* $ ,**-(5 ,%('*1 +$'$ *-, + #-, + 6 $ .$'* )- ,*'- +* - .$'* *' (* !$,* $ * (*'('*'* (*',5 ',* $ %'5 ,$ $ %','* ,'+ $ +$5 (*' *% - +,*-5 ''$ )- ', $ .$'* (-,' #-+, $ ' (*' *% - +,*-5 (* .,* $ '(*5 $ + -*, $ %'' %*! * ' $'+ * +,*'+ +,' $ ,**-(5 '%1 ,%('*1* (*,* $ $ $ +2 (*' *% )- $'+ * +,*'+ +,' + * *' + ,**-('+ ,%('*1+ +$'$+ + ,*, $ (4,-$' +, %-$ • • • + ,%(' $ (-,' #-+, (- +* %+ 5 %+ + 6 $ .$'* $ , +$5 (-,' #-+, -' + (' *' $ '(*5 + '%' + +* ,*'*%, -' + +,$ $ + ,%(' + /(*+ *%,'+ %+ !$, $ +,*-5 0 $ $ !$, • • S:31 Configuración dinámica Interrupción temporizada seleccionable - Número de archivo +, ,*'- - 6%*' *!.' (*' *% )- + -+* '%' $ +-*-, ,**-(5 ,%('*1 +$'$ +* - .$'* (* !$,* $ * (*'('*'* (*',5 ',* $ %'5 ,$ $ %','* ,'+ $ +$5 (*' *% - +,*-5 ''$ )- ', $ .$'* 6%*' *!.' $ 5 (*' *% - +,*-5 (* .,* $ '(*5 + ,**-('+ ,%('*1+ +$'$+ + ,*, $ (4,-$' +, %-$ • • •
  • 526.
    Preface Manual de referenciadel juego de instrucciones B–58 Dirección Clasificación Descripción Comp., 5/01 5/02 5/03 5/04 S:32 Estado Ejecución de interrupción de E/S % $ 0$! $ '$ /'! % #' $/ '/ ' % (!$ % !$$ ' ! $ !! $ % + ! ! ! ! % ' $$!$ % $ $! %'$' ! $' ! % % %$ % %% $$'! % $!$ *!$ $$'! '/ ' - ' '%$ % (!$ $ $ $ $ '$ $$'/ ')$ !% ! ,% $$'! % /'! % % % $$'! % % $ .'! % ' • • • % ' $$!$ % $ $! %'$' % % %$ % %% $$'! % $!$ *!$ $$'! '/ - ' '%$ % (!$ $ $ $ $ '$ $$'/ ')$ !% ! ,% $$'! % /'! % % % • • S:33/0 Estado Comando de entrada pendiente (canal 0) % % % ' ! $!%!$ $ #' !$! !! $ %!! !$/ ! $!!$! ! ' ! ! ! % ' %$ %! !! ! ! % % ! $! ' ! $!%!$ %$(! / ! ! ! % % !! ! / ' %$'/ $ !$$ !' / $!%!$ • • S:33/1 Estado Respuesta de mensaje pendiente (canal 0) % % % ' ! !$! !! $ $!!$! ! !$/ #' '% %!! %$'/ $!%!$ % % ! $! ' ! $!%!$ !$/ * '+ %$'/ % % !! ! / ' %$'/ $ !$$ !' / $!%!$ • •
  • 527.
    Archivo de estadoSLC B–59 Dirección Clasificación Descripción Comp., 5/01 5/02 5/03 5/04 S:33/2 Estado Comando de mensaje saliente pendiente (canal 0) ! ! ! ! $ ! ! ) ! ! % ! ( ! ' ! ( ! ## ! $ ! $ • • S:33/3 Estado Estado de selección (canal 0) ! ! ! ! ( ! ! ! ! ! ! ! ( !# ( ! ( • • S:33/4 Estado Comunicaciones activas (canal 0) ! ! ! ! !# ! ! ! • •
  • 528.
    Preface Manual de referenciadel juego de instrucciones B–60 Dirección Clasificación Descripción Fijo, 5/01 5/02 5/03 5/04 S:33/5 Configuración dinámica Selección de servicio de comunicaciones (canal 0) .'( , ,-% #( ,(% '- .' ) -##4'('( (.'##4' '% + # , +/##( , 5' % #',-+.#4' ( .'( , )(' +( -(, %, ) -##(' ,('(, (.'##4' '-+'- , ( ,%# '- , *. ). ' + ##+ , +/##( %( + # ' , 5' % #',-+.#4' ( ' ) -##4'('( (.'##4' (',#,- ' .' ('( '-+'- '% + ,). ,- ',$ '% 4 ('( ',$ ,%# '- '% !#2+, %, )%+, 0 )+ (- ' + 1, #'!(+#4' Nota: Cuando se pone a cero, la transferencia de comunicación se incrementa. El tiempo de escán también se incrementa si varios comandos/peticiones de comunicación se reciben en el mismo escán. + )+(++ ,- +- +3,-# ., % !.'#4' % ('#-(+ -(, )+ ,-% + 0 )(' + +( ,- #- + )+()(+#('+ )+(- #4' ('-+ % (#!##4' # '-% % ('#-(+ -(, % , % #4' )+(+ .' #',-+.#4' #'('##('% ' % #+ #4' )+ , .++ % () +#4' .' ) -##4'('( ( )+(+ .' #',-+.#4' #'('##('% ' % #+ #4' )+ , .++ % () +#4' ) -##(' ,('(, 5%-#)% , (( %- +'-#/ % )+(+ ). #+ % ,-( ,- #- .,'( % %4# ,% + ,# % )%##4' + *.# + % , % #4' #'1# ,- !.'#4' • • S:33/6 Configuración dinámica Selección de servicio de mensaje (canal 0) ,- #- ,(% '- , /1%#( .'( % , % #4' , +/##( (.'##(' , % '% , (++' %( .% , % #(' -((, %(, ('(, , +/##( .'( , ,-% 0 , )(' +( -(, %, #',-+.#(' , ,%# '- , '% + # ' , +/##( , 5' % #',-+.#4' ( %( ('-++#(+ ,(% '- .' ('( ( + ,). ,- ,%# '- '% + ##+1 , +/##( , 5' % #',-+.#4' ( • •
  • 529.
    Archivo de estadoSLC B–61 Dirección Clasificación Descripción Comp., 5/01 5/02 5/03 5/04 S:33/7 Configuración dinámica Selección de servicio de mensaje (canal 1) Este bit solamente es válido cuando el bit de selección de servicio de comunicaciones (S:2/15) del canal 1 se pone a cero (el cual selecciona los comandos de servicio total). Cuando S:33/7 es establecido y S:2/15 está puesto a cero, todas las instrucciones MSG de canal 1 salientes reciben servicio según la instrucción END, TND, SVC o REF. De lo contrario, solamente un comando o respuesta MSG de canal 1 saliente recibe serviĆ cio según la instrucción END, TND, SVC o REF. • • S:33/8 Configuración estática Bit de control de latencia de interrupción Cuando se establece, la latencia de interrupción ocurre para interrupciones de usuario (DII, STI y evento de E/S). Esto significa que cuando ocurre una interrupción, se le garantiza estar en el renglón 0 de la subrutina de interrupción dentro del período de latencia de interrupción declarado (siempre que una interrupción de prioridad igual o mayor se esté ejecutando). Usted debe seleccionarlo al guardar el programa. Refiérase al apéndice B en el Manual de usuario de software de programación avanzada, publicación 1747Ć6.4ES para obtener información acerca de cómo calcular la latencia de interrupción. Cuando se pone a cero, las interrupciones de usuario solamente pueden interrumpir el procesador a puntos predefinidos de ejecución en el ciclo de programa de usuario. La latencia de interrupción se define como el período de tiempo más largo que puede transcurrir entre dos puntos predefinidos. Cuando S:33/8 se pone a cero, usted debe analizar cada programa de usuario. El bit se pone a cero predeterminadamente. Los puntos siguientes son los únicos puntos en que se permite que las subrutinas de interrupción de usuario se ejecuten cuando S:33/8 se pone a cero: • al inicio de cada renglón • después de dar servicio a la comunicación • entre ranuras durante la actualización de la imagen de entrada o salida o cualquier tarjeta de E/S especial • • S:33/9 Estado Bit de alternador de escán Este bit se pone a cero al momento de entrar en el modo de MARCHA. Este bit cambia de estado durante cada ejecución de una instrucción END, TND o REF. Use este bit en el programa de usuario para aplicaciones tal como la ejeución de subrutina de multiplex. • •
  • 530.
    Preface Manual de referenciadel juego de instrucciones B–62 Dirección Clasificación Descripción Comp., 5/01 5/02 5/03 5/04 S:33/10 Configuración dinámica Bit de reconfiguración de interrupción de entrada discreta )*/ )* * %$ (%(# +)+( % % *(# $ (%(# 1$ ( +)( '+ +$ 1$ ) (%$ +( $ (1- # %+(($ $*((+ 1$ % $ )0$ % )* * ) ) (+* $ % % ,$*% % ) + $* %+(( +$% ) (%$ +( +#+%( ) %(( %) (0#*(%) + %) $ ) () ) $ * (%$ +( 1$ )*0 +)*% (% %( (%)%( %( !#% +) )*(+*+( )( ) + $* ( (%,%( +$ (%$ +( 1$ ) ( ,% )( ( $ ,/ '+ $*( ) )%$* . ) ,+, %$*( [OSR] B3/0 ] [ I:1/0 (L) S:33/10 ) )*(+*+( )( ) + $* ( (%,%( +$ (%$ +( 1$ ) +$ )+(+* $ ) $ ,$*% )+(+* $ ) !+* )%#$* +$ ,/ ,/ '+ ) %) (%$ +( 1$ ] [ I:1/0 (L) S:33/10 • •
  • 531.
    Archivo de estadoSLC B–63 Dirección Clasificación Descripción Comp., 5/01 5/02 5/03 5/04 S:33/11 y S:33/12 Estado Estado de edición en línea ! ( Bit 12 Bit 11 Estado de edición en línea # ( ! ! # !! ) ( ! ( ! ' ( • • S:33/13 Configuración estática Selección de base de tiempo del tiempo de escán ! % $ % %# ! % $ %# ) ! ! ! % $ %# * ) ! ! * • •
  • 532.
    Preface Manual de referenciadel juego de instrucciones B–64 Dirección Clasificación Descripción Comp., 5/01 5/02 5/03 5/04 S:33/14 Configuración dinámica Bit de control DTR (canal 0) () ) ( *( %' !)' ! ($ *#$ ( %$# '$ ! (1! #! %# ( $#)'$! ')#) %$' ! +'$' $*#2# ()/#' *#$ ( ()! ( %* )*' ! ($ ('#$ ) $'.$( ! ) ( ,# - ( %! ! #! (/# $ *#$ ()/ # ! $$ %'$' (*(%#(2# $ !!$ ()/ !)$ - %'# !)$ () * *# (*# ($#,2# *)$/) ( )) %$' ! $#)'$!$' $*#2# # ($#,2# *)$/) $*'' ( ! $#)'$!$' $*#2# )) * ! (1! #! %# ()$ *(#) *'#) /( (*#$( $ ( ! (1! #! %# ( #!)$ 0'( ! ) 2 %'$ #! %' $)#' /( #$'2# *'#) *# ($#,2# *)$/) ! +'$' $*#2# ()/#' #)# ! #!)$ () * ( !) ! (1! #! 2 )'#(*''# (*#$( Notea Cuando el canal 0 está configurado para DH485, S;33/14 se debe poner a cero para un funcionamiento adecuado. • • S:33/15 Configuración dinámica Bit de forzados DTR (canal 0) () ) ( *( %' $'.' ! %# !)$ $ $ *#$ ( ()! ! (1! #! %# ( %! ! #! (/# $ *(#$ ! ()$ *#$ ( %$# '$ () ) #$ ) *#$ ( ()! ( $'.$ !)$ *#$ ( %$# '$ %')'#$ ( $'.$ $ *#$ ()/ # ! $$ %'* $ ' () ) ( %! ($!#) ! #! (/# $ *#$ ()/ # ! $$ %'$' (*(%#(2# $ !!$ $ ! $#)$ ##$ ( ()! #$( * ! $#)'$!$' $*#2# ()0 )*#$ *# ($#,2# *)$/) • •
  • 533.
    Archivo de estadoSLC B–65 Dirección Clasificación Descripción Comp., 5/01 5/02 5/03 5/04 S:34/0 Configuración estática Bit de transferencia de DH+ a DHĆ485 inhabilitada Este bit proporciona la capacidad de transferir paquetes recibidos entre canales. Cuando se establece, el procesador no tiene capacidad para la transferencia. Cuando se restablece, el procesador permite que los paquetes se transfieran de un canal a otro. El canal 0 (RSĆ232) se debe configurar para el protocolo DHĆ485. Solamente los paquetes que contienen la capa de red de Internet y cuya identidad de vínculo de destino es igual al especificado para el canal opuesto serán transferidos. El valor predeterminado es el restablecimiento. La identidad del vínculo predeterminado para el canal 0 es uno. La identidad del vínculo predeterminado para el canal 1 es dos. • S:34/1 Configuración estática Bit de habilitación de tabla de nodo activo DH+ Este bit habilita el procesamiento de la tabla de nodo activo DH+. Cuando se establece, la tabla de nodo activo DH+ se procesa. Cuando se pone a cero, la tabla de nodo activo DH+ no se procesa. El valor predeterminado es puesto a cero. Este bit es evaluado durante cada entrada en el modo de marcha REM. Note que el procesador actualiza las palabras de estado individuales S:83 a S:86. • S:34/2 Configuración dinámica Bit de habilitación del indicador matemático de punto (coma) flotante Este bit inhabilita el procesamiento de indicadores matemáticos cuando se usa el punto (coma) flotante matemático (F8:). Los indicadores matemáticos afectados son overflow (S:0/1), cero (S:0/2), signo (S:0/3) y el bit de interrupción por overflow de error menor (S:5/0). Cuando el bit se pone a cero, los indicadores matemáticos se procesan. Cuando el bit se establece, los indicadores matemáticos son borrados excepto por el bit de interrupción por overflow de error menor, el cual permanece en su último estado. El indicador de acarreo (S:0/0) está reservado para uso interno durante todas las operaciones de punto (coma) flotante. El valor predeterminado es puesto a cero. Las instrucciones afectadas por el punto (coma) flotante incluyen ADD, SUB, MUL, DIV, NEG, SQR y MOV. El establecer este bit reduce los tiempos de ejecución de las instrucciones anteriores. Este bit es evaluado durante la ejecución de cada instrucción. • •
  • 534.
    Preface Manual de referenciadel juego de instrucciones B–66 Dirección Clasificación Descripción Comp., 5/01 5/02 5/03 5/04 S:34/3 Configuración dinámica Bit de habilitación de transmisión de palabra de estado global (SLC 5/04 OS401 solamente) )#$ '( ( ' '(! ! %! '($ !$! ' (#'( $# %'$ ('($ )#$ ' %$# $ ! ('($ ' %' '# ! %! '($ !$! • S:34/4 Configuración dinámica Bit de habilitación de recepción de palabra de estado global (SLC 5/04 OS401 solamente) )#$ '( ( ' '(! ! %$'$ $!( ! %! '($ !$! (#'( %$ $($' '%$'(*$' # ! , ! !# # ! *$ '($ !$! )#$ ' %$# $ ! %$'$ #$ '$ ! #$/# '($ !$! %$*##( $($' '%$'(*$' # ! • S:34/5 Configuración dinámica Bit de transferencia de DF1 a DH+ habilitada (SLC 5/04 OS401 solamente) )#$ '( ( ' '(! ! $%/# (#'# ' !( #( ! #! , ! #! ! #! ' $#) % ! %$($$!$ )!! )%!+ • S:35 Estado Tiempo del último escán de 1 ms ! *!$ '( %! ! #$ ).#($ (%$ (#')$ )#( )# !$ %$ # !$ %$ #!), ! %$ '! !%- '.# , '*$ ! %)($ $)#/# '( *!$ %! ' ()!-$ %$ ! %$'$ '$!#( )# *- )#( '.# #(#( #(' ! )/# ! #!/# *$ $ ! ($#$ )# #'()/# • • S:36/0 a S:36/7 NA Reservado • •
  • 535.
    Archivo de estadoSLC B–67 Dirección Clasificación Descripción Comp., 5/01 5/02 5/03 5/04 S:36/8 Estado DII perdido $% % $ $% ## %##!- ) % !% %, $ $% $% ## $ %##!- $ !# # ! %##!- $ !#- %##!- !#' ) $% !% ) $!# - ( $% % !# # $# ) % - +$ $ !- ! % ## $% - ! # $% % !# # $# !#!#- !# !#-( ## ! $ $% ## # • • S:36/9 Estado STI perdido $% % $ $% %##!- ## ) % !% %, $ $%* $% ## $ %##!- $ !# # ! %##!- $ !#- %##!- !#' ) $% !% ) $!# - ( $% % !# # $# ) % - +$ $ !- ! % ## $% - ! # $% % !# # $# !#!#- !# !#-( ## ! $ $% ## # • • S:36/10 Estado Protección de sobrescritura del archivo de datos del módulo de memoria $ $% % !# %## '* % $ #%%' $ $!,$ %#$# - # $% % $!# $ $% %#$# - # !# $ # ## !# %- $ #$#%# #' % $ $ ) $ #' $ !# % $ $ $ #$# $ #' $ !# % $ $ $ #$#% $ !# # - # !# # !# $ # % %#$# $% % $%+ !$% # ! # !# $ # • •
  • 536.
    Preface Manual de referenciadel juego de instrucciones B–68 Dirección Clasificación Descripción Comp., 5/01 5/02 5/03 5/04 S:36/11 a S:36/15 NA Reservado para errores menores adicionales. • • S:37 Configuración dinámica Reloj/año calendario % (!$ ! (!$ +! $! $! * ()! % $ $ $! $! %$ $! !% % $% $! $! • • S:38 Configuración dinámica Reloj/calendario de mes % (!$ ! (!$ % $! $! * ()! % $ $ $! $! %$ $!% !% % $% $! ! $! $! % ' (!$ • • S:39 Configuración dinámica Reloj/calendario de día % (!$ ! (!$ * $! $! * ()! % $ $ $! $! %$ $!% !% % $% $! ! $! $$ * % % ' (!$ • • S:40 Configuración dinámica Reloj/calendario de horas % (!$ ! (!$ !$ $! $! * ()! % $ $ $! $! %$ $!% !% % $% $! ! $! % !$% #'( (!$ • • S:41 Configuración dinámica Reloj/calendario de minutos % (!$ ! (!$ '! $! $! * ()! % $ $ $! $! %$ $!% !% % $% $! ! $! • • S:42 Configuración dinámica Reloj/calendario de segundos % (!$ ! (!$ %' !% $! $! * ()! % $ $ $! $! %$ $! !% % $% $! ! $! • •
  • 537.
    Archivo de estadoSLC B–69 Dirección Clasificación Descripción Comp., 5/01 5/02 5/03 5/04 S:43 S:44 S:45 Estado Interrupción temporizada seleccionable - Temporizador de 10 µs Interrupción de evento de E/S - Temporizador de 10 µs Interrupción de entrada discreta - Temporizador 10 µs Este valor de 16 bits es de marcha libre y se usa para medir la cantidad de tiempo que transcurre entre las ejecuciones consecutivas de subrutina de interrupción (en incrementos de 10 µs). Este valor se actualiza a cada entrada en la subrutina de interrupción. El temporizador de 10 µs indica que el tiempo máximo que puede transcurrir entre dos interrupciones sin invalidar una medición de tiempo es 0.32767 segundos. (16 bits con signo 10 µs = 32767 .00001 = 0.32767 segundos) El temporizador de 10 µs es común a la interrupción STI, la interrupción de E/S de evento y la interrupción DII. • • S:46 Configuración dinámica Interrupción de entrada discreta - Número de archivo Usted introduce un número de archivo de programa (3-255) que se debe usar como la subrutina de interrupción de entrada discreta. Escriba un valor de 0 para inhabilitar la función. Este valor se aplica durante la detección de un bit de reconfiguración DII, cada salida de DII ISR y cada final de escán (END, TND o REF). A fin de proporcionar protección contra la modificación accidental del monitor de datos de la selección, programe una instrucción MOV incondicional que contenga el valor de número de archivo de la DII en S:46 ó programe una instrucción CLR en S:46 para evitar la operación DII. • •
  • 538.
    Preface Manual de referenciadel juego de instrucciones B–70 Dirección Clasificación Descripción Fijo, 5/01 5/02 5/03 5/04 S:47 Configuración dinámica nterrupción de entrada discreta - Número de ranura Usted introduce el número de ranura (1-30) que contiene el módulo de E/S discretas que se deben usar como la ranura de interrupción de entrada discreta. El procesador estará con fallo si la ranura está vacía o contiene un módulo de E/S no discretas. Por ejemplo, un módulo analógico causa que ocurra un fallo de procesador. Este bit se aplica al momento de detección del bit de reconfiguración DII. Este valor se aplica solamente al momento de ejecución de la función de reconfiguración DII (estableciendo el bit S:33/10 ó a la entrada en el modo de marcha REM con el bit de habilitación DII S:2/12 establecido). A fin de proprocionar protección contra la modificación accidental del monitor de datos de su selección, programe una instrucción MOV incondicional que contenga el valor de número de ranura de la DII en S:47. • • S:48 Configuración dinámica Interrupción de entrada discreta - Máscara de bit Usted introduce un valor mapeado con bits que corresponde a los bits que desea monitorizar en el módulo de E/S discretas. Solamente los bits 0 a 7 se usan en la función DII. El establecer un bit indica que usted desea incluir el bit en la comparación de la transición de bit del módulo de E/S discretas al valor de comparación DII (S:49). El poner a cero el bit indica que el estado de transición del bit en cuestión constituye un bit de no importa. Este valor se aplica al momento de detección de un bit de reconfiguración DII, cada salida de DII ISR y al final de cada escán (END, TND o REF). A fin de proporcionar protección contra la modificación accidental del monitor de datos de la selección, programe una instrucción MOV incondicional que contenga el valor de máscara de bit de la DII en S:48. • •
  • 539.
    Archivo de estadoSLC B–71 Dirección Clasificación Descripción Fijo, 5/01 5/02 5/03 5/04 S:49 Configuración dinamica Interrupción de entrada de comparación - Valor de comparación Usted introduce un valor mapeado con bits que corresponde a las transiciones de bit que deben ocurrir en la tarjeta de E/S discretas para que ocurra un conteo o interrupción. Solamente los bits 0 a 7 se usan en la función DII. El establecer un bit indica que el bit debe hacer la transición de 0 a 1 para cumplir con la condición de comparación para dicho bit. El poner a cero el bit indica que el bit debe hacer la transición de 1 a 0 para cumplir con la condición de comparación para dicho bit. Una interrupción o conteo se genera al momento de transición del último bit del valor de comparación. Este valor se aplica a la detección de un bit de reconfiguración DII, cada salida de DII ISR y cada final de escán (END, TND o REF). A fin de proporcionar protección contra la modificación accidental del monitor de datos de la selección, programe una instrucción MOV incondicional que contenga el valor de comparación de la DII en S:49. • • S:50 Configuración dinámica Interrupción de entrada discreta - Valor preseleccionado Cuando este valor es igual a 0 ó 1, una interrupción es generada cada vez que se satisfacen las palabras especificadas S:48 y S:49. Cuando este valor está entre 2 y 32767, un conteo ocurrirá cada vez que la comparación de bit se satisfaga. Una interrupción será generada cuando el valor de acumulador alcance 1 ó exceda el valor preseleccionado. Este valor se aplica al momento de detección del bit de reconfiguración DII, cada salida de DII ISR y al final de cada escán (END, TND o REF). A fin de proporcionar protección contra la modificación accidental del monitor de datos de la selección, programe una instrucción MOV incondicional que contenga el valor preseleccionado de la DII en S:50.. • •
  • 540.
    Preface Manual de referenciadel juego de instrucciones B–72 Dirección Clasificación Descripción Fijo, 5/01 5/02 5/03 5/04 S:51 Estado Interrupción de entrada discreta - Máscara de retorno !.' (## ' () - !(2 !( (' ( '))( '( * # #( !$ # (' ' ('#' (' %) )'# ()$2 0 ( ' '( ' ' $0 '( ('#' (' %) )'# ()$0 '$# $ ('0 ' #!$#' , ( ' $# # ' ' !'0 '( * # ' ## $# $#'# !#!(# ' '))( ' '( *# $ * ' ('#' ()$0 )# #) ') .!!( )'( $) )' '( *# (# '))( $ ( (! # * ') $#'0 ') • • S:52 Estado Interrupción de entrada discreta - Acumulador )!) # #( 1!# #(#' %) #)# * )# ) #(# #) , )!) # ' !,# # ) %) * # $' ## ) ()$0 ' • • S:53 y S:54 NA Reservado • • S:55 Estado Ultimo tiempo de escán de interrupción de entrada discreta '( * # !(#' !' (!$# (') )( '))( !.' ( '# )0 '( * # ' ± !' • • S:56 Estado Tiempo de escán de entrada discreta máximo observado '( * # !(#' !' (!$# !.+!# (')# )( ) )0 '))( $#'# #!$ * # 1 (!# '. * # '. !.+!# #(# $#'# (! %) * # 1 (!# '. ' !,# %) * # !# * # 1 (!# '. ' ' ) '/ ' #*( )*# (!$# '. !.+!# '# )0 '( * # ' ± !' (#) '( * # )'# ) )0 !#(# (#' '$#'(*# $#!0 ' '( (! # * (!$# '. !.' +('# $#! • •
  • 541.
    Archivo de estadoSLC B–73 Dirección Clasificación Descripción Fijo, 5/01 5/02 5/03 5/04 S:57 Estado Número de catálogo del sistema de operación ( $ ! (6'!,) ! .3)#) ! -$-.!' ! )*!,$5( ), !%!'*) ! 0), ! $( $ ! -$-.!' ! )*!,$5( 7 ! 0), ! $( $ 7 • • S:58 Estado Serie del sistema de operación ( $ -!,$! ! -$-.!' ! )*!,$5( ), !%!'*) ! 0), ! $( $ /( -!,$! 2 ! 0), ! $( $ /( -!,$! • • S:59 Estado FRN del sistema de operación ( $ ! (6'!,) ! 0!,-$5( ! $,'1,! ! -$-.!' ! )*!,$5( ), !%!'*) ! 0), ! $( $ 2 ! 0), ! $( $ • • S:60 Estado Número de catálogo del procesador ( $ ! (6'!,) ! .3)#) ! *,)!- ), ), !%!'*) ! 0), ! $( $ 7 2 ! 0), ! $( $ 7 • • S:61 Estado Serie del procesador ( $ -!,$! ! *,)!- ), ), !%!'*) ! 0), ! $( $ -!,$! 2 ! 0), ! $( $ -!,$! • • S:62 Estado Revisión del procesador ( $ ,!0$-$5( ! *,)!- ), ), !%!'*) ! 0), ! $( $ 2 ! 0), ! $( $ • • S:63 Estado Tipo de programa de usuario ( $ ! $-*)-$.$0) ! *,)#,'$5( +/! ,!5 ! *,)#,' ! /-/,$) • • S:64 Estado Indice de funcionabilidad del programa de usuario ( $ ! ($0! ! /($)($$ )(.!($ ) !( /( .$*) ! *,)#,' !.!,'$( ) • • S:65 Estado Tamaño de RAM de usuario ( $ ! .'4) ! !( *,- ! $(-.,/$5( ), !%!'*) ! 0), !- $#/ *,- ! $(-.,/$5( ! ! ! *$ )- *,)!- ),!- 2 • • S:66 Estado Tamaño de Flash EEPROM ( $ ! .'4) ! '!'),$ ! -$-.!' )*!,.$0) !( '$!- ! *,- ! $.- ), !%!'*) ! 0), ! !- $#/ *,- ! '!'),$ • •
  • 542.
    Preface Manual de referenciadel juego de instrucciones B–74 Dirección Clasificación Descripción Fijo, 5/01 5/02 5/03 5/04 S:67 y S:68 Estado Canal 0 de nodos activos DHĆ485 • • S:69 a S:82 NA Tabla de nodo activo de half duplex DF1 • • S:83 a S:86 Estado Canal 1 de nodos activos DH+ Estas 4 palabras son mapeadas con bits para representar los 64 nodos posibles en una red DH+. S:83 a S:86/15 representan direcciones de nodo 0-63 (0-77 octal). Estos bits son establecidos por el procesador cuando existe un nodo en la red DH+ a la cual está conectado el procesador. Estos bits se ponen a cero cuando un nodo no está presente en la red. Note que S:34/1 se debe establecer a fin que las palabras anteriores funcionen. • S:87 a S:96 NA Reservado • S:97 a S: 98 NA Reservado (se aplica los procesadores SLC 5/04 OS401) S:99 Configuración dinámica Palabra de estado global (SLC 5/04 OS401 solamente) Los datos colocados en esta ubicación de memoria se transmiten como la palabra de estado global del procesador y se envían a todos los otros dispositivos en la red DH+ cada vez que el procesador pasa el testigo DH+. • S:100 a S:163 Configuración estática Archivo de estado global (SLC 5/04 OS401 solamente) Cuando un procesador pasa el testigo DH+ al próximo nodo, también envía una palabra de 16 bits llamada la palabra de estado global (S:99 y posteriores). Todos los nodos en la red leen la palabra de estado global transmitida por cada procesador y guardan la palabra en memoria. Cada procesador tiene una tabla (archivo de estado global) en memoria donde se almacenan las palabras de estado global de los otros procesadores. Esta tabla se actualiza completamente durante cada rotación de testigo. (Ejemplo: La palabra desde el nodo x se coloca en S:100 + x.) Usted puede usar el archivo de estado global como mensaje de difusión de alta velocidad para el paso de estado y sincronización de los procesadores. •
  • 543.
    Uso de memoriay tiempos de ejecucion de instruccion C–1 C Uso de memoria y tiempos de ejecución de instrucción Este apéndice proporciona: • palabras de instrucción y tiempos de ejecución de instrucción para los controladores MicroLogix 1000 • palabras de instrucción y tiempos de ejecución de instrucción para los procesadores compactos, SLC 5/01, SLC 5/02, SLC 5/03 y SLC 5/04 • ejemplos de cómo estimar el uso total de memoria del sistema para los controladores MicroLogix 1000 y todos los procesadores SLC Si usted desear usar: Vea la página:
  • 544.
    Preface Manual de referenciadel juego de instrucciones C–2 Tiempos de ejecución de instrucción y uso de memoria de instrucción Controladores MicroLogix 1000 La tabla siguiente lista los tiempos de ejecución y uso de memoria para las instrucciones del controlador MicroLogix 1000. Toda instrucción que tome más de 15 µs (tiempo de ejecución verdadero o falso) para ejecutarse, crea una encuesta para las interrupciones de usuario. Mnemónico Tiempo de ejecución falso (aprox. µsegundos) Tiempo de ejecución verdadero (aprox. µsegundos) Uso de memoria (palabras de usuario) Nombre Tipo de instrucción ADD 6.78 33.09 1.50 Añadir Matemática AND 6.78 34.00 1.50 Y Manejo de datos BSL 19.80 53.71 + 5.24 x valor de posición 2.00 Desplazamiento de bit a la izq. Específica a la aplicación BSR 19.80 53.34 + 3.98 x valor de posición 2.00 Desplazamiento de bit a la der. Específica a la aplicación CLR 4.25 20.80 1.00 Borrar Matemática COP 6.60 27.31 + 5.06/pal. 1.50 Copia de archivo Manejo de datos CTD 27.22 32.19 1.00 Conteo regresivo Básica CTU 26.67 29.84 1.00 Conteo progresivo Básica DCD 6.78 27.67 1.50 Descodificar 4 a 1 de 16 Manejo de datos DDV 6.78 157.06 1.00 División doble Matemática DIV 6.78 147.87 1.50 División Matemática ENC 6.78 54.80 1.50 Codificar (encode) 1 a 16 de 4 Manejo de datos EQU 6.60 21.52 1.50 Igual Comparativa FFL 33.67 61.13 1.50 Carga FIFO Manejo de datos FFU 34.90 73.78 + 4.34 x valor de posición 1.50 Descarga FIFO Manejo de datos FLL 6.60 26.86 + 3.62/pal. 1.50 Llenar el archivo Manejo de datos FRD 5.52 56.88 1.00 Convertir de BCD Manejo de datos GEQ 6.60 23.60 1.50 Mayor o igual que Comparativa
  • 545.
    Uso de memoriay tiempos de ejecucion de instruccion C–3 Mnemónico Tipo de instrucción Nombre Uso de memoria (palabras de usuario) Tiempo de ejecución verdadero (aprox. µsegundos) Tiempo de ejecución falso (aprox. µsegundos) 5-0 /3$ -+. 0 (8, -,2 #-0 #$ *2 4$*-(# # -,2 #-0 #$ *2 4$*-(# # ,' ! #$ (,2$003.9 (8, #$ -,2 #-0 #$ *2 4$*-(# # -,2 #-0 #$ *2 4$*-(# # ! #$ (,2$003.9 (8, #$ -,2 #-0 #$ *2 4$*-(# # -,2 #-0 #$ *2 4$*-(# # 0 #$ -,2 #-0 #$ *2 4$*-(# # -,2 #-0 #$ *2 4$*-(# # ,20 # (,+$#( 2 -, +61 0 -,20-* #$ %*3)- #$ .0-0 + 3!032(, #$ (,2$003.(8, 1.$7%(- * .*( (8, *(# (,+$#( 2 -, +61 0 -,20-* #$ %*3)- #$ .0-0 + *2 0 $2(/3$2 -,20-* #$ %*3)- #$ .0-0 + *2 0 13!032(, -,20-* #$ %*3)- #$ .0-0 + 2(/3$2 -,20-* #$ %*3)- #$ .0-0 + $,-0 - (3 * /3$ -+. 0 2(4 $,-0 /3$ -+. 0 2(4 03$! *7+ -+. 0 2(4 0 ,$)- #$ # 2-1 $1 0 ,$)- #$ # 2-1 $12 !*$(+($,2- -,20-* + $120- -,20-* #$ %*3)- #$ .0-0 + -+. 0 (8, -, +61 0 . 0 (3 * -+. 0 2(4 -4$0 ,$)- #$ # 2-1 3*2(.*( (8, 2$+62(
  • 546.
    Preface Manual de referenciadel juego de instrucciones C–4 Mnemónico Tipo de instrucción Nombre Uso de memoria (palabras de usuario) Tiempo de ejecución verdadero (aprox. µsegundos) Tiempo de ejecución falso (aprox. µsegundos) +1#- !+* )3.!- *#'+ # /+. ) + # .%*+ *#'+ # /+. $#-#*/# +),-/1 + *#'+ # /+. *#'+ # /+. * $-#*/# .!#*#*/# 3.! !/1!5* # .( 3.! !+*/+- # (/ 1#(+! !/0( # !0) # )%#* # !+*/+- (/ 1#( +*/+- # (/ 1#(+! *!(1 # .( 3.! #.#*!(1 .( 3.! !0)0(+- # -#./ # !+*/+- # (/ 1#( +*/+- # (/ 1#(+! /#),+6 -2+- !+*/+- #./ (#!)#*/+ 3.! !+*/+- # (/ 1#(+! #./ ( #( !+*/6 +- # (/ 1#( +*/+- # (/ 1#(+! #/+-*+ # .0 -0/* +*/-+( # $(0'+ # ,-+%-) #),+-2+- -#/#*/1+ 3.! 0 -0/* +*/-+( # $(0'+ # ,-+%-) .!(- /+. /#)3/! #!0#*!+- # !+),-!5* .,#!4$! ( ,(!!5* -% .#! .,#!4$! ( ,(!!5* #!0#*!+- # .( .,#!4$! ( ,(!!5* 42 !0- /#)3/!
  • 547.
    Uso de memoriay tiempos de ejecucion de instruccion C–5 Mnemónico Tipo de instrucción Nombre Uso de memoria (palabras de usuario) Tiempo de ejecución verdadero (aprox. µsegundos) Tiempo de ejecución falso (aprox. µsegundos) *+-) *(1 $ ($2 +-) *(1 $ ($2 '%/) *(1 $ ($2 *+ +%0+ ,*( '+)'$ $,#' ()'!)% +%(')$ '+)'$ $,#' ()'!)% '-)+) #' +'* %(')/') $ *'.2 0* %(')/') $ '.2 0* .% * ))' 0* .% * )+' 0* ()2 *$,*- #' +'* Latencia de interrupción de usuario La latencia de interrupción de usuario es el tiempo máximo transcurrido desde el momento en que ocurre una condición de interrupción (por ejemplo, la STI caduca o la HSC preseleccionada se alcanza) hasta el momento en que la subrutina de interrupción de usuario comience a ejecutarse (se asume la ausencia de otras condiciones de interrupción). Si usted se comunica con el controlador, la latencia de interrupción de usuario máxima es 872 µs. Si usted no se comunica con el controlador, la latencia de interrupción de usuario máxima es 838 µs.
  • 548.
    Manual de referenciadel juego de instrucciones C–6 Cómo estimar el uso de memoria para el sistema de control MicroLogix 1000 Use lo siguiente para calcular el uso de memoria para el sistema de control MicroLogix 1000. El resultado de este cálculo será la memoria total aproximada remanente en el controlador seleccionado. Reste el uso de memoria total de 1024. Nota El uso de memoria calculado puede variar del programa real compilado en ±12%. 4. Determine el total de palabras de instrucción usadas por las instrucciones en el programa e introduzca el resultado. Refiérase a la tabla en la pág. C–2. 5. Multiplique el no. total de renglones entre 0.75 e introduzca el resultado. No cuente los renglones END en cada archivo. 6. Para contabilizar el overhead del controlador, use 177. 7. Para contabilizar los datos de aplicación, use 110. 8. Sume los pasos 1–4. Este es el uso de memoria total estimado del sistema de aplicación. Recuerde que se trata de un cálculo aproximado. Los programas reales compilados pueden diferir un máximo de ±12%. 9. Para determinar la cantidad aproximada de memoria que resta en el controlador que usted ha seleccionado, haga lo siguiente: Uso de memoria total: 177 110 1024 - Memoria total remanente: Uso de memoria total (de la suma anterior)
  • 549.
    Uso de memoriay tiempos de ejecucion de instruccion C–7 Hoja de trabajo de tiempo de ejecución del controlador MicroLogix 1000 Use esta hoja de trabajo para calcular el tiempo de ejecución del programa de escalera. 3. Estime el tiempo de escán del controlador: 2. Estime el tiempo de escán del programa: # !À Procedimiento Tiempo de escán máx. 1. Tiempo de escán de entrada, tiempo de escán de salida, tiempo de mantenimiento y forzados. 4. Divida el tiempo de escán del controlador entre 1000 para determinar el tiempo de escán máx. en ms. _________ µ _________ _________ µ _________ _________ µ _________ µ À ! ! !
  • 550.
    Preface Manual de referenciadel juego de instrucciones C–8 Descripción general del uso de memoria para los procesadores SLC Los controladores SLC 500 tienen las capacidades de memoria de usuario siguientes: Tipo de procesador Tipo de controlador Capacidad de memoria de usuario #(# #' #' #!$(# + #(# #' !#) ' - $ ' '(), #(# #' !#) ' - $ ' '(), #(# #' !#) ' - $ ' #(# #' !#) ' - - - $ 'À À )# $#! ' ' !+# %) $ ' )'( '$ $#! #' *#' %) ) *# $$ *# + $# # !#' ) *# '))( Las definiciones siguientes se aplican al calcular el uso de memoria: • compacto, SLC 5/02 y SLC 5/02 – 1 palabra de instrucción = 4 palabras de datos = 8 bytes • SLC 5/03 y SLC 5/04 – 1 palabra de instrucción = 1 palabra de datos
  • 551.
    Uso de memoriay tiempos de ejecucion de instruccion C–9 Tiempos de ejecución de instrucción y uso de memoria de instrucción Procesadores fijos y SLC 5/01 El número de palabras de instrucción usadas por una instrucción se indica en la tabla siguiente. Puesto que el programa es compilado por el programador, sólo es posible establecer cálculos aproximados para las palabras de instrucción usadas por las instrucciones individuales. El uso de memoria calculado generalmente es mayor que el uso de memoria real debido a la optimización del compilador. Mnemónico Tiempo de ejecución falso (aprox. µsegundos) Tiempo de ejecución verdadero (aprox. µsegundos) Uso de memoria (palabras de usuario) Nombre Tipo de instrucción 4,! !3%,83)#! /%1!$.1 +:')#. !-%*. $% $!3.2 /.1 /!+!1! %2/+!7!,)%-3. ! +! )704)%1$! 2/%#9)#! ! +! !/+)#!#):- /.1 /!+!1! %2/+!7!,)%-3. ! +! $%1%#(! 2/%#9)#! ! +! !/+)#!#):- .11!1 !3%,83)#! /.1 /!+!1! ./)!1 !1#()5. !-%*. $% $!3.2 .-3!$.1 82)#! .-3!$.1 82)#! %2#.$))#!1 ! $% !-%*. $% $!3.2 .+% $)5)2):- !3%,83)#! )5)2):- !3%,83)#! '4!+ .,/!1!3)5! /.1 /!+!1! +%-!1 !1#()5. !-%*. $% $!3.2 .-5%13)1 $% !-%*. $% $!3.2 !6.1 . )'4!+ 04% .,/!1!3)5! !6.1 04% .,/!1!3)5! .-3!$.1 $% !+3! 5%+.#)$!$ .-3!$.1 $% !+3! 5%+.#)$!$
  • 552.
    Preface Manual de referenciadel juego de instrucciones C–10 Mnemónico Tiempo de ejecución falso (aprox. µsegundos) Tiempo de ejecución verdadero (aprox. µsegundos) Uso de memoria (palabras de usuario) Nombre Tipo de instrucción *0. *)#0 !+* )3/!. +*0.+( # $(1'+ # ,.+%.) ( *)#0 !+* )3/!. +*0.+( # $(1'+ # ,.+%.) (0. #0-1#0 +*0.+( # $(1'+ # ,.+%.) (0 /1 .10* +*0.+( # $(1'+ # ,.+%.) 0-1#0 +*0.+( # $(1'+ # ,.+%.) #*+. + %1( -1# +),.02 #*+. -1# +),.02 #/0 (#!)#*0+ !+*0.+( )#/0.+ +*0.+( # $(1'+ # ,.+%.) +),.!4* !+* )3/!. ,. %1( +),.02 +2#. *#'+ # 0+/ 1(0,(!!4* 0#)30! +2#. !+* )3/!. *#'+ # 0+/ ) + # /%*+ *#'+ # 0+/ $#.#*0# +),.02 ,#.!4* +0 (4%!+ *#'+ # 0+/ ,#.!4* (4%!+ *#'+ # 0+/ * $.#*0# /!#*#*0# 3/! !02!4* # /( 3/!+ *!(2 /( 3/!+ #/#*!(2 /( 3/!+ #/0 (#!)#*0+ 3/!+
  • 553.
    Uso de memoriay tiempos de ejecucion de instruccion C–11 Mnemónico Tiempo de ejecución falso (aprox. µsegundos) Tiempo de ejecución verdadero (aprox. µsegundos) Uso de memoria (palabras de usuario) Nombre Tipo de instrucción RET 12 34 0.50 Retorno de subrutina Control de flujo de programa RTO 12 140 1.00 Temporizador retentivo Básica SBR 2 2 0.50 Subrutina Control de flujo de programa SQC 12 225 2.00 Secuenciador de comparación Específica a la aplicación SQO 12 225 2.00 Secuenciador de salida Específica a la aplicación SUB 12 125 1.50 Resta Matemática SUS 12 12 1.50 Suspender Control de flujo de programa TND 12 32 0.50 Fin temporal Control de flujo de programa TOD 12 200 1.00 Convertir a BCD Manejo de datos TOF 12 140 1.00 Temporizador a la desconexión Básica TON 12 135 1.00 Temporizador a la conexión Básica XIC 4 4 1.00 Examina si cerrado Básica XIO 4 4 1.00 Examina si abierto Básica XOR 12 87 1.50 Operador O exclusivo Manejo de datos À Estas instrucciones toman tiempo de ejecución cero si hay condiciones que las preceden garantizando el estado del renglón. La lógica de escalera se resuelve de izquierda a derecha. Las bifurcaciones se resuelven de arriba hacia abajo. Ejemplo Para el ejemplo de renglón siguiente: 1) Si la instrucción 1 es falsa, las instrucciones 2, 3, 4, 5, 6, 7 toman tiempo de ejecución cero. Tiempo de ejecución = 4 + 18 = 22 microsegundos. 2) Si la instrucción 1 es verdadera, 2 es verdadera y 5 es verdadera, entonces las instrucciones 3, 4, 5, 7 toman tiempo de ejecución cero. Tiempo de ejecución = 4 = 4 = 4 = 18 = 30 microsegundos. ] [ 1 ( ) 8 ] [ 2 ] [ 6 ] [ 3 ] [ 4 ] [ 5 ] [ 7
  • 554.
    Manual de referenciadel juego de instrucciones C–12 Cómo estimar el uso de memoria total del sistema usando un procesador compacto o SLC 5/01 1. Calcule el total de palabras de instrucción usadas por las instrucciones en el programa e introduzca el resultado. Refiérase a la tabla en la página C–9. 2. Multiplique el no. total de renglones por .375 e introduzca el resultado. 3. Multiplique el no. total de palabras de datos (excluyendo las palabras del archivo de estado y datos de E/S) por .25 e introduzca el resultado. 4. Añada 1 palabra por cada archivo de tabla de datos e introduzca el resultado. 5. Multiplique por 2 el archivo de programa con el no. más alto usado e introduzca el resultado. 6. Multiplique por .75 el no. total de palabras de datos de E/S e introduzca el resultado. 7. Multiplique el no. total de ranuras de E/S, usadas o no usadas, por .75 e introduzca el resultado. 8. Para contabilizar el overhead del procesador, introduzca 65 si usted usa un controlador fijo; introduzca 67 si usa un 1747-L511 ó 1747-L514. 9. Sume los pasos 1 a 8. Este es el uso de memoria total aproximado del sistema de aplicación. Recuerde que se trata de un cálculo aproximado. Los programas reales compilados podrían diferir ±12%. 10. Si usted desea determinar la cantidad de memoria aproximada remanente en el procesador que ha seleccionado, haga lo siguiente: Si usa un controlador compacto ó 1747-L511, reste el total de 1024. Si usa un 1747-L514, reste el total de 4096. El resultado de este cálculo será la memoria total aproximada remanente en el procesador seleccionado. Total: Nota El uso de memoria calculado puede diferir del programa compilado real en ±12%.
  • 555.
    Uso de memoriay tiempos de ejecucion de instruccion C–13 Continuación de procesadores fijos y SLC 5/01 Ejemplo Controlador de E/S fijo L20B 42 XIC y XIO 42 x 1.00 = 42.00 10 instrucciones OTE 10 x 0.75 = 7.50 10 instrucciones TON 10 x 1.00 = 10.00 1 instrucción CTU 1 x 1.00 = 1.00 1 instrucción RES 1 x 1.00 = 1.00 Uso de instrucciones 61.50 21 renglones 21 x.375 = 7.87 37 palabras de datos 37 x.250 = 9.25 Total del programa de usuario 78.62 2 palabras de datos de E/S 2 x 0.75 = 1.50 1 ranura 1 x 0.75 = 0.75 Overhead 65.00 Total de configuración de E/S 67.25 Uso de memoria total estimado: 145.87 (redondee a 146) 1024 – 146 = 878 palabras de instrucción remanentes en el procesador
  • 556.
    Preface Manual de referenciadel juego de instrucciones C–14 Continuación de procesadores fijos y SLC 5/01 Ejemplo Procesador 1747ĆL514, configuración de 30 ranuras, (15) 1746ĆIA16, (10) 1746ĆOA8, (1) configuración completa 1747ĆDCM, (1) 1746ĆNI4, (1) 1746ĆNIO41 50 XIC y XIO 50 x 1.00 = 50.00 15 instrucciones OTE 15 x 0.75 = 11.25 5 instrucciones TON 5 x 1.00 = 5.00 3 instrucciones GRT 3 x 1.50 = 4.50 1 instrucción SCL 1 x 1.75 = 1.75 1 instrucción TOD 1 x 1.00 = 1.00 3 instrucciones MOV 3 x 1.50 = 4.50 10 instrucciones CTU 10 x 1.00 = 10.00 10 instrucciones RES 10 x 1.00 = 10.00 Uso de instrucciones 98.00 30 renglones 30 x 0.375 = 11.25 100 palabras de datos 100 x 0.25 = 25.00 10 es el no. de archivo de tabla de datos más alto 10 x 1 = 10.00 4 es el no. de archivo de programa más alto 4 x 2 = 8.00 Total del programa de usuario 163.50 49 palabras de datos de E/S 49 x 0.75 = 36.75 30 ranuras 30 x 0.75 = 22.50 Overhead 67.00 Total de configuración de E/S 126.25 Uso de memoria total estimado: 289.75 (redondee a 290) 4096 – 290 = 3806 palabras de instrucción que restan en el procesador
  • 557.
    Uso de memoriay tiempos de ejecucion de instruccion C–15 Procesador SLC 5/02 El número de palabras de instrucción usadas por una instrucción se indica en la tabla siguiente. Ya que el programa es compilado por el programador, sólo es posible establecer cálculos aproximados para las palabras de instrucción usadas por las instrucciones individuales. El uso de memoria calculado generalmente es mayor que el uso de memoria real debido a la optimización del compilador. Mnemónico Tiempo de ejecución falso (aprox. µsegundos) Tiempo de ejecución verdadero (aprox. µsegundos) Uso de memoria (palabras de usuario) Nombre Tipo de instrucción ADD 7 76 1.5 Suma Matemática AND 7 55 1.5 Operdor Y lógico Manejo de datos BSL 36 89 +14 por pal. 2.00 Desplazamiento a la izquierda Específica a la aplicación BSR 36 83 +14 por pal. 2.00 Desplazamiento a la derecha Específica a la aplicación CLR 7 26 1.00 Borrar Matemática COP 7 29 + 13 por pal. 1.50 Copiar archivo Manejo de datos CTD 7 69 1.00 Conteo - Básica CTU 7 69 1.00 Conteo + Básica DCD 7 50 1.50 Descodificar 4 a 1 de 16 Manejo de datos DDV 7 392 1.00 Doble división Matemática DIV 7 242 1.50 División Matemática EQUÀ 38 38 1.50 Igual Comparativa FFL 51 150 1.50 Carga FIFO Manejo de datos FFU 51 150 +11 x valor de posición 1.50 Descarga FIFO Manejo de datos FLL 7 25 + 8 por pal. 1.50 Llenar archivo Manejo de datos FRD 7 136 1.00 Convertir de BCD Manejo de datos GEQÀ 38 38 1.50 Mayor o igual que Comparativa GRTÀ 38 38 1.50 Mayor que Comparativa IID 7 39 1.25 Interrupción de E/S inhabilitar Comprensión de las rutinas de interrupción
  • 558.
    Preface Manual de referenciadel juego de instrucciones C–16 Mnemónico Tipo de instrucción Nombre Uso de memoria (palabras de usuario) Tiempo de ejecución verdadero (aprox. µsegundos) Tiempo de ejecución falso (aprox. µsegundos) +1#//2-!'6+ # ')'1/ ,*-/#+0'6+ # )0 /21'+0 # '+1#//2-!'6+ +1/ '+*#'1 !,+ *40!/ ,+1/,) # $)2(, # -/,%/* 2 /21'+ # '+1#//2-!'6+ 0-#!5$'!, ) -)'!!'6+ )' '+*#'1 !,+ *40!/ ,+1/,) # $)2(, # -/,%/* )1/ #1'.2#1 ,+1/,) # $)2(, # -/,%/* )1/ 02 /21'+ ,+1/,) # $)2(, # -/,%/* 1'.2#1 ,+1/,) # $)2(, # -/,%/* À #+,/ , '%2) .2# ,*-/1'3 À #+,/ .2# ,*-/1'3 /2# )5* ,*-/1'3 /% +#(, # 1,0 #0!/% +#(, # 1,0 #01 )#!'*'#+1, !,+1/,) *#01/, ,+1/,) # $)2(, # -/,%/* À ,*-/!'6+ !,+ *40!/ -/ '%2) ,*-/1'3 ,3#/ +#(, # 1,0 Á #+0(# ,*2+'!!'6+ 2)1'-)'!!'6+ 1#*41'! ,3#/ !,+ *40!/ +#(, # 1,0 * ', # 0'%+, +#(, # 1,0 À '$#/#+1# ,*-/1'3
  • 559.
    Uso de memoriay tiempos de ejecucion de instruccion C–17 Mnemónico Tiempo de ejecución falso (aprox. µsegundos) Tiempo de ejecución verdadero (aprox. µsegundos) Uso de memoria (palabras de usuario) Nombre Tipo de instrucción +,!*, *. '4$% * )* ! !.*- +,!*, %) '/-%0* )* ! !.*- ) #,). - )!). 2-% .%0 %4) ! -'%! 2-% ) '0(%).* ! -'%! 2-% -) '0(%).* ! -'%! 2-% ,%0! +,*+*, %*)' +*, +' $),, *(+,)-%4) ! '- ,/.%)- ! %).,,/+ %4) -.' %(%).* 2-% .*,)* ! -/,/.%) *).,*' ! #'/* ! +,*$,( -.' , %).,,/+ %4) +)!%). *(+,)-%4) ! '- ,/.%)- ! %).,,/+ %4) (+*,%1!*, ,.).%0* 2-% /,/.%) *).,*' ! #'/* ! +,*$,( - ', !.*- .(2.% /) %!*, ! *(+, %4) -+ 3#% * ' +'% %4) ,$ ! - /) %!*, -+ 3#% * ' +'% %4)
  • 560.
    Preface Manual de referenciadel juego de instrucciones C–18 Mnemónico Tiempo de ejecución falso (aprox. µsegundos) Tiempo de ejecución verdadero (aprox. µsegundos) Uso de memoria (palabras de usuario) Nombre Tipo de instrucción SQO 36 137 2.00 Secuenciador de salida Específica a la aplicación SQR 7 162 1.25 Raíz cuadrada Matemática STD 4 9 0.50 Desactivar STI Específica a la aplicación STE 4 9 0.50 Activar STI Específica a la aplicación STS 7 72 1.25 Comenzar STI Específicoaa la aplicación SUB 7 77 1.50 Resta Matemática SUS 7 7 1.50 Suspend Control de flujo de programa SVC 4 240 Servicio de comunicaciones Comunicación TND 7 22 0.50 Fin temporal Control de flujo de programa TOD 7 122 1.00 Convertir a BCD Manejo de datos TOF 36 86 1.00 Temporizador a la desconexión Básica TON 36 83 1.00 Temporizador a la conexión Básica XICÀ 2.40 2.4 1.00 Examina si cerrado Básica XIOÀ 2.40 2.4 1.00 Examina si abierto Básica XOR 7 55 1.50 Oper. O exclusivo Manejo de datos À Estas instrucciones toman tiempo de ejecución cero si hay condiciones que las preceden garantizando el estado del renglón. La lógica de renglón se resuelve de izquierda a derecha. Las bifurcaciones se resuelven desde abajo hacia arriba. Á Esto incluye solamente la cantidad de tiempo requerida para configurar la operación solicitada. No incluye el tiempo necesario para dar servicio a las comunicaciones mismas. Ejemplo Para el ejemplo de renglón siguiente: 1) Si la instrucción 1 es falsa, las instrucciones 2, 3, 4, 5, 6, 7 toman tiempo de ejecución cero. Tiempo de ejecución = 2.4 + 11 = 13.4 microsegundos. 2) Si la instrucción 1 es verdadera, 2 es verdadera y 6 es verdadera, entonces las instrucciones 3, 4, 5, 7 toman tiempo de ejecución cero. Tiempo de ejecución = 2.4 + 2.4 + 2.4 + 11 = 18.2 microsegundos. ] [ 1 ( ) 8 ] [ 2 ] [ 6 ] [ 3 ] [ 4 ] [ 5 ] [ 7
  • 561.
    Uso de memoriay tiempos de ejecucion de instruccion C–19 Continuación de procesador SLC 5/02 Cómo estimar el uso de memoria total del sistema usando un procesador SLC 5/02 1. Calcule el total de palabras de instrucción usadas por las instrucciones en el programa e introduzca el resultado. Refiérase a la tabla en la pág. C–15. 2. Multiplique el no. total de renglones por .375 e introduzca el resultado. 3. Si usa un 1747-L524 y ha habilitado el modo de prueba de un solo paso, multiplique el no. total de renglones por .375 e introduzca el resultado. 4. Multiplique por .25 el no. total de palabras de datos (excluyendo las palabras del archivo de estado y datos de E/S) e introduzca el resultado. 5. Añada 1 palabra por cada archivo de tabla de datos usada e introduzca el resultado. 6. Multiplique por 2 el archivo de programa con el no. más alto usado e introduzca el resultado. 7. Multiplique por .75 el no. total de palabras de datos de E/S e introduzca el resultado. 8. Multiplique por .75 el no. total de ranuras de E/S, usadas o no usadas, e introduzca el resultado. 9. Para contabilizar el overhead del procesador, introduzca 204. 10. Sume los pasos 1 a 9. Este es el uso de memoria total estimado del sistema de aplicación. Recuerde que se trata de un cálculo aproximado. Los programas compilados reales pueden diferir en ±12%. 11. Si usted desea determinar la cantidad de memoria aproximada remanente en el procesador que ha seleccionado, haga lo siguiente: Si usa un 1747-L524, reste el total de 4096. El resultado de este cálculo será la memoria total aproximada remanente en el procesador seleccionado. Total: Nota El uso de memoria calculado puede diferir del programa compilado real en ±12%.
  • 562.
    Manual de referenciadel juego de instrucciones C–20 Continuación de procesador SLC 5/02 Ejemplo Procesador 1747-L524 de serie C, configuración de 30 ranuras, (15) 1746-IA16,(10) 1746-OA8, (1) 1747-DCM de configuración completa, (1) 1746-NI4, (1) 1746-NIO4I 50 XIC y XIO 50 x 1.00 = 50.00 15 instrucciones OTE 15 x 0.75 = 11.25 5 instrucciones TON 5 x 1.00 = 5.00 3 instrucciones GRT 3 x 1.50 = 4.50 1 instrucción SCL 1 x 1.75 = 1.75 1 instrucción TOD 1 x 1.00 = 1.00 3 instrucciones MOV 3 x 1.50 = 4.50 10 instrucciones CTU 10 x 1.00 = 10.00 10 instrucciones RES 10 x 1.00 = 10.00 Uso de instrucción 98.00 30 renglones 30 x 0.375 = 11.25 100 palabras de datos 100 x 0.25 = 25.00 10 es el no. de archivo de tabla de datos más alto 10 x 1 = 10.00 4 es el no. de archivo de programa más alto 4 x 2 = 8.00 Total del programa de usuario 163.50 49 palabras de datos de E/S 49 x 0.75 = 36.75 30 ranuras 30 x 0.75 = 22.50 Overhead 204.00 Total de configuración de E/S 263.25 Uso de memoria total estimado: 426.75 (redondee a 427) 4096 – 427 = 3669 palabras de instrucción remanentes en el procesador
  • 563.
    Uso de memoriay tiempos de ejecucion de instruccion C–21 Continuación de procesador SLC 5/02 Instrucciones que tienen direcciones indexadas Por cada operando que tienen una dirección indexada, añada 30 microsegundos al tiempo de ejecución de una instrucción verdadera. Por ejemplo, si una instrucción MOV tiene una dirección indexada para la fuente y el destino, el tiempo de ejecución cuando la instrucción es verdadera es 14 + 30 + 30 = 74 microsegundos. Instrucciones que tienen direcciones de archivo de datos M0 y M1 Por cada instrucción de bit o palabra, añada 1157 microsegundos al tiempo de ejecución. Por cada instrucción de palabras múltiples, añada 950 microsegundos más 400 microsegundos por palabra. ]/[ M1:3.1 1 ] [ M0:2.1 1 ( ) M0:2.1 10 MOV MOVE Source M1:10.7 Dest N7:10 Ejemplo COP COPY FILE Source #B3:0 Dest #M0:1.0 Length 34 Por la instrucción de palabras múltiples anterior, añada 950 microsegundos más 400 microsegundos por palabra. En este ejemplo, 34 palabras son copiadas desde #B:3.0 hacia M0:1.0. Añada 950 + (400 x 34) = 14550 microsegundos al tiempo de ejecución listado en la página C–15. Esto resulta en una suma de 471 más 14550 = 15021 microsegundos totales, o bien 15.0 milisegundos.
  • 564.
    Preface Manual de referenciadel juego de instrucciones C–22 Procesador SLC 5/03 El número de palabras usadas por una instrucción se indica en la tabla siguiente. Además, las instrucciones que tienen capacidad para el punto (coma) flotante aparecen en una nota al pie de la tabla. Cuando se usa un procesador SLC 5/03, es importante tener en mente que 1 palabra de instrucción es igual a 1 palabra de datos. Mnemónico Tiempo de ejecución falso (aprox. µsegundos) Tiempo de ejecución verdadero (aprox. µsegundos) Uso de memoria (palabras de usuario) Nombre Tipo de instrucción ABL 39.70 129.90 2.00 Búfer de prueba para línea ASCII ABS 0.75 9.95 2.00 Absoluto Matemática ACB 39.70 140.7 2.00 No. de caracteres en búfer ASCII ACI 0.22 86.62 2.00 Cadena a entero ASCII ACL 0.22 367.50 2.00 Borrado del búfer ASCII de recepĆ ción y/o transmisión ASCII ACN 0.22 69.4 + (2.1/car.) 3.00 Concatendado de cadenas ASCII ACS 0.75 510.85 2.00 Arco coseno Matemática ADD 0.75 1.70 3.00, 4.00 Suma Matemática AEX 0.22 56.2 + (4.7/car.) 4.00 Extracción de cadena ASCII AHL 39.70 138.70 4.00 Líneas de comunica. ASCII ASCII AIC 0.22 103.40 2.00 Entero a cadena ASCII AND 0.75 1.70 3.00 Operador Y lógico Manejo de datos ARD 39.70 181.8 3.00 Lectura de caracteres ASCII ASCII ARL 39.70 190.00 3.00 Lectura ASCII de línea ASCII ASC 0.22 53.4 + (1.8/car.) 4.00 Búsqueda de cadena ASCII ASN 0.75 483.05 2.00 Arco seno Matemática ASR 0.22 49.69 3.00 Comparación de cadenas ASCII ATN 0.75 387.05 2.00 Arco tangente Matemática
  • 565.
    Uso de memoriay tiempos de ejecucion de instruccion C–23 Mnemónico Tiempo de ejecución falso (aprox. µsegundos) Tiempo de ejecución verdadero (aprox. µsegundos) Uso de memoria (palabras de usuario) Nombre Tipo de instrucción AWA 39.7 365.50 3.00 Escritura ASCII con anexo ASCII AWT 39.7 263.80 3.00 Escritura ASCII ASCII BSL 15.00 50 + (2.3/palabra) 3.00 Desplazamiento a la izquierda Específica a la aplicación BSR 15.00 50 + (2.3/palabra) 3.00 Desplazamiento a la derecha Específica a la aplicación CLR 0.75 1.70 3.00, 1.00 Borrar Matemática COP 0.75 30 + (2.20/palabra) 3.00 Copiar archivo Manejo de datos COS 0.75 310.90 2.00 Coseno Matemática CPT 0.75 À Á Calcular Matemática CTD 1.40 1.40 1.00 Conteo - Básica CTU 1.40 1.40 1.00 Conteo + Básica DCD 0.50 10.00 2.00 Descodificar 4 a 1 de 16 Manejo de datos DDV 0.50 33.00 2.00 Doble división Matemática DEG 32.80 2.00 Grados Manejo de datos DIV 0.75 23.00 3.00, 4.00 División Matemática EQUÂ 1.25 1.25 3.00 Igual Comparativa FFL 27.00 58.00 3.00 Carga FIFO Manejo de datos FFU 27.00 79 + (2.20/palabra) 4.00 Descarga FIFO Manejo de datos FLL 0.75 28 + (2.00/palabra) 3.00 Llenar archivo Manejo de datos FRD 0.50 31.00 2.00 Convertir de BCD Manejo de datos GEQÂ 1.25 1.25 3.00 Mayor o igual que Comparativa GRTÂ 1.25 1.25 3.00 Mayor que Comparativa IID 0.50 0.60 2.00 Interrupción de E/S desactiva Comprensión de las rutinas de interrupción
  • 566.
    Preface Manual de referenciadel juego de instrucciones C–24 Mnemónico Tiempo de ejecución falso (aprox. µsegundos) Tiempo de ejecución verdadero (aprox. µsegundos) Uso de memoria (palabras de usuario) Nombre Tipo de instrucción ,2%003.#(7, $% !#2(4! -+.0%,1(7, $% *!1 032(,!1 $% (,2%003.#(7, ÆÇ ,20!$! (,+%$(!2! #-, +51#!0! -,20-* $% *3)- $% .0-'0!+! 3032(,! $% (,2%003.#(7, 1.%#6(#- ! *! !.*(#!#(7, ÆÈ !*($! (,+%$(!2! #-, +51#!0! -,20-* $% *3)- $% .0-'0!+! !*2!0 ! %2(/3%2! -,20-* $% *3)- $% .0-'0!+! !*2!0 ! 13032(,! -,20-* $% *3)- $% .0-'0!+! 2(/3%2! -,20-* $% *3)- $% .0-'0!+! Â %,-0 - ('3!* /3% -+.!0!2(4! Â %,-0 /3% -+.!0!2(4! !0'! !,%)- $% $!2-1 %1#!0'! !,%)- $% $!2-1 Á 03%! *6+ -+.!0!2(4! -'!0(2+- ,!230!* !2%+52(#! -'!0(2+- %, !1% !2%+52(#! %12!*%#(+(%,2- #-,20-* +!%120- -,20-* $% *3)- $% .0-'0!+! Â -+.!0!#(7, #-, +51#!0! .!0! ('3!* -+.!0!2(4! -4%0 !,%)- $% $!2-1 Ã %,1!)% -+3,(#!#(7, 3*2(.*(#!#(7, !2%+52(#! -4%0 #-, +51#!0! !,%)- $% $!2-1
  • 567.
    Uso de memoriay tiempos de ejecucion de instruccion C–25 Mnemónico Tiempo de ejecución falso (aprox. µsegundos) Tiempo de ejecución verdadero (aprox. µsegundos) Uso de memoria (palabras de usuario) Nombre Tipo de instrucción NEG 0.75 1.70 3.00 Cambio de signo Manejo de datos NEQÂ 1.25 1.25 3.00 Diferente Comparativa NOT 0.75 1.70 3.00 Operador Not lógico Manejo de datos OR 0.75 1.70 3.00 Operador O inclusivo Manejo de datos OSR 12.00 10.80 2.00 Un frente ascendente Básica OTE 0.63 0.63 1.00 Activación de salida Básica OTL 0.63 0.63 1.00 Enclavamiento de salida Básica OTU 0.63 0.63 1.00 Desenclavamiento de salida Básica PID 20.00 272.00 26.00 Proporcional/ integral/derivada PID RAD 0.75 31.80 2.00 Radianes Manejo de datos REF 0.25 Å 1.00 Regenerar Comprensión de rutinas de interrup. RES 1.40 1.40 1.00 Restablecimiento Básica RET 0.25 23.00 1.00 Retorno de subrutina Control de flujo de programa RPI 0.50 78 + (60/ranura) 2.00 Restabl. interrupĆ ción pendiente Comprensión de rutinas de interrup. RTO 1.40 1.40 1.00 Temporizador retentivo Básica SBR 0.25 0.25 1.00 Subrutina Control de flujo de programa SCL 1.00 32.00 4.00 Escalar datos Matemática SCP 0.75 33.10 6.00 Escalar con parámetros Matemática SIN 0.75 311.95 2.00 Seno Matemática SQC 13.00 60.00 5.00 Secuenciador de comparación Específica a la aplicación SQL 15.00 56.00 4.00 Carga secuenciador Específica a la aplicación
  • 568.
    Preface Manual de referenciadel juego de instrucciones C–26 Mnemónico Tiempo de ejecución falso (aprox. µsegundos) Tiempo de ejecución verdadero (aprox. µsegundos) Uso de memoria (palabras de usuario) Nombre Tipo de instrucción SQO 15.00 70.00 5.00 Secuenciador de salida Específico a la aplicación SQR 0.50 32.00 2.00, 3.00 Raíz cuadrada Matemática STD 0.25 4.00 1.00 Desactivar STI Específica a la aplicación STE 0.25 5.00 1.00 Activar STI Específica a la aplicación STS 0.75 58.00 3.00 Comenzar STI Específica a la aplicación SUB 0.75 1.70 3.00 Resta Matemática SUS 0.50 12.00 2.00 Suspender Control de flujo de programa SVC 0.25 Å 1.00 Servicio de comunicaciones Comunicación SWP 0.75 24 + 13.09/palabra 2.00 Intercambiar Matemática TAN 0.75 406.35 2.00 Tangente Matemática TND 0.25 12.00 1.00 Fin temporal Control de flujo de programa TOD 0.50 38.00 2.00 Convertir a BCD Manejo de datos TOF 1.40 1.40 1.00 Temporizador a la desconexión Básica TON 1.40 1.40 1.00 Temporizador a la conexión Básica XICÂ 0.44 0.44 1.00 Examina si cerrado Básica XIOÂ 0.44 0.44 1.00 Examina si abierto Básica XOR 0.75 1.70 3.00 Oper. O exclusivo Manejo de datos XPY 0.75 699.30 3.00 X a la pot. de Y Matemática À Para obtener el tiempo de ejecución total para una instrucción CPT, tome el tiempo de ejecución CPT más cada tiempo de ejecución de instrucción matemática adicional, más el número de instrucciones matemáticas multiplicados por 3.01. Por ejemplo, si una instrucción CPT llama una instrucción ADD y una instrucción SUB, el cálculo es: 8.8 + 1.70 + 1.70 + 2(3.01) = 18.22 Á Para calcular el uso de memoria, haga los siguiente: Tome 2 más el no. de palabras de instrucción para cada operación realizada más el no. de operaciones realizadas en el cálculo. Por ejemplo, 2 + ADD + SUB + 2 = 10. Â Estas instrucciones toman un tiempo de ejecución cero si hay condiciones que las preceden garantizando el estado del renglón. La lógica de renglón se resuelve de la izquierda a la derecha. Las bifurcaciones se resuelven de arriba hacia abajo.
  • 569.
    Uso de memoriay tiempos de ejecucion de instruccion C–27 Ã Esto sólo incluye la cantidad de tiempo necesaria para configurar la operación solicitada. No incluye el tiempo necesario para dar servicio a las comunicaciones mismas. Ä Esta instrucción efectúa un final de escán completo. Esto incluye un escán de entrada/salida, servicio de comunicación y limpieza. Vea la hoja de trabajo D en el apéndice ** para calcular el tiempo de ejecución real. Å canal 1 = 150 µs sin comandos pendientes canal 2 = 170 µs sin comandos pendientes Añada 1 ms por cada comando que ha recibido servicio. Æ Los tiempos listados se aplican a los módulos de E/S discretas. Cuando usted use los módulos de E/S de 32 puntos, añada los microsegundos siguientes a todas las operaciones IIM e IOM: • 15 µs IIM cuando es verdadera • 30 µs IOM cuando es verdadera Ç Cuando usted use los módulos siguientes y la instrucción IIM en el programa, añada los microsegundos siguientes • Entradas del módulo analógico o termopar, añada 450 a 550 µs • Entradas del módulo BASIC, añada 500 a 550 µs • Otras entradas especiales, añada 425 a 957 µs È Cuando usted use los módulos siguientes y la instrucción IOM en el programa, añada los microsegundos siguientes • Entradas del módulo analógico o termopar, añada 390 a 416 µs • Entradas del módulo BASIC, añada 440 a 466 µs • Otras entradas especiales, añada 590 a 989 µs Ejemplo Para el ejemplo de renglón siguiente: 1) Si la instrucción 1 es falsa, las instrucciones 2, 3, 4, 5, 6, 7 toman un tiempo de ejecución cero. Tiempo de ejecución = .44 + .63 = 1.07 microsegundos. 2) Si la instrucción 1 es verdadera, 2 es verdadera y 6 es verdadera, entonces las instrucciones 3, 4, 5, 7 toman un tiempo de ejecución de cero. Tiempo de ejecución = .44 + .44 + .44 + .63 = 1.95 microsegundos. ] [ 1 ( ) 8 ] [ 2 ] [ 6 ] [ 3 ] [ 4 ] [ 5 ] [ 7
  • 570.
    Preface Manual de referenciadel juego de instrucciones C–28 Tiempos de ejecución de punto (coma) flotante del procesador SLC 5/03 Los tiempos de punto (coma) flotante se aplican a los procesadores SLC 5/03 OS301 y OS302. Los tiempos matemáticos de punto (coma) flotante en la tabla siguiente se aplican cuando S:34/2 no es establecido. Cuando S:34/2 es establecido, los indicadores matemáticos se actualizan después de que la instrucción se ha ejecutado y 4–8 µs se añaden al tiempo de ejecución. S:34/2 se puede cambiar dinámicamente (es decir, por el programa y mientras que el programa se ejecute). Por cada parámetro de entero, añada 10 µs en consideración de la conversión de entero a punto (coma) flotante. Mnemónico Tiempo de ejecución falso (aprox. µsegundos) Tiempo de ejecución verdadero (aprox. µsegundos) Uso de memoria (palabras de usuario) Nombre Tipo de instrucción À /+(10+ 0#)50! 1) 0#)50! +... 0#)50! 2/7* 0#)50! %1( +),.02 3+. + %1( -1# +),.02 3+. -1# +),.02 #*+. + %1( -1# +),.02 #*+. -1# +),.02 #/0 (6) +),.02 +2#. *#'+ # 0+/ 1(0,(!!7* 0#)50! ) . #( /%*+ *#'+ # 0+/ $#.#*0# +),.02 À /!(. !+* ,.5)#0.+/ 0#)50! 64 !1. 0#)50! #/0 0#)50! À # ,(! (+/ ,.+!#/+.#/ /+()#*0#
  • 571.
    Uso de memoriay tiempos de ejecucion de instruccion C–29 Si usted necesita realizar operaciones con punto (coma) flotante usando una combinación de parámetros de punto (coma) flotante y enteros (valores y direcciones de fuente/destino), calcule la cantidad de palabras de instrucción según las pautas siguientes: 1. Comience con la cantidad de palabras para la instrucción del punto (coma) flotante. 2. Añada 2 palabras por el primer parámetro de entero (dirección de valor o fuente/destino). 3. Añada 1 palabra por cada parámetro de entero subsiguiente. Estas palabras adicionales son necesarias para las conversiones de entero a punto (coma) flotante. Por ejemplo, esta instrucción requiere 7 palabras de instrucción: ADD ADD Source A F8:8 Source B N7:7 Dest N7:10 • 4 palabras por la instrucción ADD de punto (coma) flotante • +2 palabras por la dirección de entero N7:7 • +1 palabra por la segunda dirección de entero N7:10
  • 572.
    Manual de referenciadel juego de instrucciones C–30 Continuación de procesador SLC 5/03 Cálculo aproximado del uso de memoria del sistema usando un procesador SLC 5/03 1. Añada el no. total de palabras de archivo de datos usadas (excluyendo las palabras del archivo de estado y datos de E/S) e introduzca el resultado. 2. Multiplique por 2 el no. total de palabras de datos de E/S e introduzca el resultado. 3. Multiplique por 3 el no. total de ranuras de E/S, usadas o no usadas, e introduzca el resultado 4. Para contabilizar el overhead del procesador, introduzca 236 e introduzca el resultado. 5. Multiplique por 5 el archivo de tabla de datos con el número más alto e introduzca el resultado. 6. Multiplique por 5 el archivo de programa con el número más alto e introduzca el resultado. 7. Sume los pasos 1 a 6. Introduzca esto como el subtotal (uso de palabra adicional de 4K). 8. Reste el valor en el paso 7 de 4096; si el resultado es positivo, introduzca 12,288 en el paso 14. Si el resultado es negativo, reste el valor absoluto de 12,288 e introduzca el resultado en el paso 14. (Esto disminuye el valor.) 9. Calcule el no. total de palabras usadas por la instrucción en el programa e introduzca el resultado. Refiérase a la tabla en la página C–15. 10. Añada el no. total de renglones (1 palabra por renglón) e introduzca el resultado. 11. Añada 1 palabra por cada referencia de dirección indexada e introduzca el resultado. 12. Añada 2 palabras por renglón por cada renglón que contiene una referencia dirección indexada e introduzca el resultado. 13. Añada los pasos 9 a 12 e introduzca el resultado. 14. Introduzca el resultado del paso 8. Esta es la memoria disponible. 15. Introduzca el resultado del paso 13. Este es el número total de palabras usadas. 16. Reste el paso 15 del paso 14. Esta es la cantidad de memoria disponible en el sistema. Subtotal: 4096 – Subtotal: Total: (paso 7)
  • 573.
    Uso de memoriay tiempos de ejecucion de instruccion C–31 Continuación de procesador SLC 5/03 Ejemplo Procesador 1747-L532, configuración de 30 ranuras, (15) 1746-IA16, (10) 1746-OA8, (1) 1747-DCM de configuración completa, (1) 1746-NI4, (1) 1746-NIO4I 100 palabras de datos 100 x 1.00 =100.00 49 palabras de datos de E/S 49 x 3.00 =147.00 30 ranuras 30 x 3.00 = 90.00 Overhead 236.00 10 es el número de tabla de datos más alto 10 X 5 = 50.00 4 es el número de archivo de programa más alto 4 X 5 = 20.00 Subtotal 643.00 Considere 4K adicionales para espacio de datos 4096 – 643 = 3453 (el resultado es positivo; por lo tanto, 12,288 palabras están disponibles) 50 XIC y XIO 50 x 1.00 = 50.00 15 instrucciones OTE 15 x 1.00 = 15.00 5 instrucciones TON 5 x 1.00 = 5.00 3 instrucciones GRT 3 x 3.00 = 9.00 1 instrucción SCL 1 x 4.00 = 4.00 1 instrucción TOD 1 x 2.00 = 2.00 3 instrucciones MOV 3 x 2.00 = 6.00 10 instrucciones CTU 10 x 1.00 = 10.00 10 instrucciones RES 10 x 1.00 = 10.00 Uso de instrucción 111.00 30 renglones 30 x 1.00 = 30.00 00 dirección indexada = 0.00 00 referencia de dirección indexada = 0.00 Subtotal 141.00 Memoria disponible 12,288.00 Palabras usadas – 141.00 Mem. total calculada aprox. disponible: 12,147.00
  • 574.
    Preface Manual de referenciadel juego de instrucciones C–32 Continuación de procesador SLC 5/03 Comparación de palabra de usuario entre el procesador SLC 5/03 ó SLC 5/04 y el procesador SLC 5/02 El procesador SLC 5/03 ó SLC 5/04 y el procesador SLC 5/02 acumulan palabras de usuario de modo diferente durantel a creación de un programa de usuario. El procesador SLC 5/02 generalmente es más eficiente con respeto al uso de palabra que los procesadores SLC 5/03 y SLC 5/04. Sin embargo, es difícil calcular el uso de palabras del procesador SLC 5/02 ya que se encuentra ligado a la arquitectura del microprocesador. Los procesadores SLC 5/03 y SLC 5/04 acumulan palabras, de modo que resulta ser más fácil de comprender y calcular que el procesador SLC 5/02. Los procesadores SLC 5/03 y SLC 5/04 acumulan palabras de igual manera que un PLC-5. El procesador SLC 5/03 ofrece 12,288 palabras. El procesador SCL 5/04 ofrece 20,480 palabras. El procesador SLC 5/02 ofrece 4096 palabras de usuario. Es importante tener en cuenta de que esto no significa que un procesador SLC 5/03 ó SLC 5/04 puede mantener un programa de usuario que sea tres veces más grande que un programa SLC 5/02 equivalente. Use la información siguiente para determinar el tamaño del programa de usuario según los programs SLC 5/02 existentes. Palabras de instrucción Algunas instrucciones usan la misma cantidad de memoria en tanto que otras instrucciones no usan la misma cantidad de memoria. Por ejemplo, una instrucción CTU siempre usa 1 palabra. Sin embargo, una instrucción ADD en un procesador SLC 5/02 usa 1.5 palabra; en un procesador SLC 5/03 ó SLC 5/04 una instrucción ADD usa 3 palabras. También note las diferencias adicionales que siguen: Condición Palabras SLC 5/02 Palabras SLC 5/03 Palabras SLC 5/04 El contenido exacto del programa determina la diferencia del tamaño de programa. Un programa SLC 5/03 consume el 20% al 150% más de palabras de instrucción que un SLC 5/02 equivalente.
  • 575.
    Uso de memoriay tiempos de ejecucion de instruccion C–33 Continuación de procesador SLC 5/03 Palabras de datos – Archivos 0 y 1 En el procesador SLC 5/02, cada palabra de datos de E/S consume 0.75 palabras de memoria. En el procesador SLC 5/03, cada palabra de datos de E/S consume 3 palabras de datos. Palabras de datos – Archivo 2 El uso de palabra del archivo de estado está contenido en los valores de overhead para los procesadores SLC 5/02 y SLC 5/03. Palabras de datos – Archivo 3 a 255 En el procesador SLC 5/02, 4 palabras de datos consumen la misma cantidad de memoria que 1 palabra de instrucción. Por eso, se dice que el procesador SLC 5/02 ofrece 4K de palabras de instrucción ó 16K de palabras de datos. Esta cantidad dinámica de almacenamiento de palabras de datos se debe a la arquitectura del microprocesador SLC 5/02.
  • 576.
    Preface Manual de referenciadel juego de instrucciones C–34 Continuación de procesador SLC 5/03 Instrucciones con direcciones indexadas Por cada operando con una dirección indexada, añada 25 microsegundos al tiempo de ejecución para una instrucción verdadera. Por ejemplo, si una instrucción MOV tiene una dirección indexada para la fuente y el destino, el tiempo de ejecución cuando la instrucción es verdadera es 19 + 25 + 25 = 69 microsegundos. Instrucciones con direcciones de archivo de datos M0 y M1 Los tiempos de ejecución de las instrucciones con direcciones de archivo de datos M0 y M1 se varían. Los tiempos de ejecución siguientes representan los valores máximos esperados. Tipo de instrucción Tiempo de ejecución (µs) ( %) #% # % %) #% # % #% # % %) ( $(% %*! %) (!' '! Ejemplo COP COPY FILE Source #B3:0 Dest #M0:1.0 Length 34 Para la instrucción de palabras múltiples anterior, añada 772 microsegundos más 23 microsegundos por palabra. En este ejemplo, 34 palabras se copian desde #B3:0 hacia M0:10. Añada 772 + (23 x 34) = 1554 microsegundos al tiempo de ejecución listado en la página ??. Esto resulta en 104.8 (calculado de la tabla de la página ??) más 1554 = 1658.8 microsegundos totales, o sea 1.6 milisegundo.
  • 577.
    Uso de memoriay tiempos de ejecucion de instruccion C–35 Procesador SLC 5/04 El número de palabras usadas por una instrucción se indica en la tabla siguiente. Además, las instrucciones que tienen capacidad para el punto (coma) flotante aparecen en notas al pie de la tabla. Cuando se usa un procesador SLC 5/04, es importante tener en mente que 1 palabra de instrucción es igual a 1 palabra de datos. Mnemónico Tiempo de ejecución falso (aprox. µsegundos) Tiempo de ejecución verdadero (aprox. µsegundos) Uso de memoria (palabras de usuario) Nombre Tipo de instrucción ABL 35.00 156.00 2.00 Prueba de búfer por línea ASCII ABS 0.562 8.60 2.00 Absoluto Matemática ACB 35.00 131.00 2.00 No. de caracteres en búfer ASCII ACI 0.187 56.00 2.00 Cadena a entero ASCII ACL 0.187 332.80 2.00 Borrado del búfer ASCII de recepĆ ción y/o transmisión ASCII ACN 0.187 56 + (2.5/car.) 3.00 Concatenado de cadenas ASCII ACS 0.562 51.90 2.00 Arco coseno Matemática ADD 0.562 1.50 3.00, 4.00 Suma Matemática AEX 0.187 43.4 + (4.0/car.) 4.00 Extracción de cadena ASCII AHL 35.00 115.10 4.00 Líneas com. ASCII ASCII AIC 0.187 110.00 2.00 Entero a cadena ASCII AND 0.562 1.50 3.00 Operdor Y lógico Manejo de datos ARD 35.00 156.00 3.00 Lectura de caracĆ teres ASCII ASCII ARL 35.00 156.00 3.00 Lectura ASCII de línea ASCII ASC 0.187 43.5 + (2.5/car.) 4.00 Búsqueda de cadena ASCII ASN 0.562 41.45 2.00 Arco seno Matemática ASR 0.187 43.50 3.00 Comparación de cadenas ASCII ASCII ATN 0.562 40.15 2.00 Arco tangente Matemático AWA 35.00 307.80 3.00 Escritura ASCII con anexo ASCII
  • 578.
    Preface Manual de referenciadel juego de instrucciones C–36 Mnemónico Tiempo de ejecución falso (aprox. µsegundos) Tiempo de ejecución verdadero (aprox. µsegundos) Uso de memoria (palabras de usuario) Nombre Tipo de instrucción AWT 35.00 217.30 3.00 Escritura ASCII ASCII BSL 7.50 31.6 + (2.25/pal.) 3.00 Desplazamiento a la izquierda Específica a la aplicación BSR 7.50 31.5 + (2.31/pal.) 3.00 Desplazamiento a la derecha Específica a la aplicación CLR 0.562 1.50 3.00, 1.00 Borrar Matemática COP 0.562 20.2 + (2.01/pal.) 3.00 Copiar archivo Manejo de datos COS 0.562 37.20 2.00 Coseno Matemática CPT 0.562 8.80À Á Calcular Matemática CTD 1.312 1.312 1.00 Conteo - Básico CTU 1.312 1.312 1.00 Conteo + Básico DCD 0.375 8.88 2.00 Descodificar 4 a 1 de 16 Manejo de datos DDV 0.375 29.60 2.00 Doble división Matemática DEG 0.562 24.70 2.00 Grados Manejo de datos DIV 0.562 25.90 3.00, 4.00 División Matemática EQUÂ 1.25 1.125 3.00 Igual Comparativa FFL 18.00 40.75 3.00 Carga FIFO Manejo de datos FFU 18.00 60 + (2.0/pal.) 4.00 Descarga FIFO Manejo de datos FLL 0.562 21.9 + (2.50/pal.) 3.00 Llenar archivo Manejo de datos FRD 0.375 23.88 2.00 Convertir de BCD Manejo de datos GEQÂ 1.25 1.125 3.00 Mayor o igual que Comparativa GRTÂ 1.25 1.125 3.00 Mayor que Comparativa IID 0.375 5.81 2.00 Interrupción de E/S desactiva Comprensión de las rutinas de interrupción IIE 0.375 10.44 2.00 Interrupción de E/S activa Comprensión de las rutinas de interrupción IIMÆÇ 0.375 51.00 6.00 Entrada inmediata con máscara Control de flujo de programa
  • 579.
    Uso de memoriay tiempos de ejecucion de instruccion C–37 Mnemónico Tiempo de ejecución falso (aprox. µsegundos) Tiempo de ejecución verdadero (aprox. µsegundos) Uso de memoria (palabras de usuario) Nombre Tipo de instrucción 3032(,! $% (,2%003.#(7, 1.%#6(#! ! *! !.*(#!#(7, ÆÈ !*($! (,+%$(!2! #-, +51#!0! 1.%#6(#! ! *! !.*(#!#(7, !*2!0 ! %2(/3%2! 1.%#6(#! ! *! !.*(#!#(7, !*2!0 ! 13032(,! -,20-* $% *3)- $% .0-'0!+! 2(/3%2! -,20-* $% *3)- $% .0-'0!+! Â %,-0 - ('3!* /3% -+.!0!2(4! Â %,-0 /3% -+.!0!2(4! !0'! !,%)- $% $!2-1 %1#!0'! !,%)- $% $!2-1 Â %12 *6+ -+.!0!2(4! -'!0(2+- ,!230!* !2%+52(#! -'!0(2+- %, !1% !2%+52(#! %12!*%#(+(%,2- #-,20-* +!%120- -,20-* $% *3)- $% .0-'0!+! Â -+.!0!#(7, #-, +51#!0! .!0! ('3!* -+.!0!2(4! -4%0 !,%)- $% $!2-1 Ã %,1!)% -+3,(#!#(7, 3*2(.*(#!#(7, !2%+52(#! -4%0 #-, +51#!0! !,%)- $% $!2-1 !+(- $% 1(',- !,%)- $% $!2-1 Â (%0%,2% -+.!0!2(4! .%0 -2 *7'(#- !,%)- $% $!2-1 .%0 (,#*31(4- !,%)- $% $!2-1 , 0%,2% !1#%,$%,2% 51(#!
  • 580.
    Preface Manual de referenciadel juego de instrucciones C–38 Mnemónico Tipo de instrucción Nombre Uso de memoria (palabras de usuario) Tiempo de ejecución verdadero (aprox. µsegundos) Tiempo de ejecución falso (aprox. µsegundos) OTE 0.562 0.562 1.00 Activ. de salida Básica OTL 0.562 0.562 1.00 Enclav. salida Básica OTU 0.562 0.562 1.00 Desenclav. salida Básica PID 14.31 169.82 26.00 Proporcional/ integral/derivada PID RAD 0.562 24.65 2.00 Radianes Manejo de datos REF 0.187 200 1.00 Regenerar Comprensión de rutinas de interrup. RES 1.312 1.312 1.00 Restablecimiento Básica RET 0.187 20.00 1.00 Retorno de subrutina Control de flujo de programa RPI 0.375 91 + (56/ranura) 2.00 Restablecer interrup. pendiente Comprensión de rutinas de interrup. RTO 1.312 1.312 1.00 Temporizador retentivo Básica SBR 0.187 0.187 1.00 Subrutina Control de flujo de programa SCL .748 33.06 4.00 Escalar datos Matemática SCP 0.562 29.85 6.00 Escalar con parámetros Matemática SIN 0.562 38.05 2.00 Seno Matemática SQC 7.10 33.20 5.00 Secuenciador de comparación Específica a la aplicación SQL 7.10 33.20 4.00 Carga secuenciador Específica a la aplicación SQO 7.10 44.10 5.00 Secuendiador de salida Específica a la aplicación SQR 0.375 28.80 2.00, 3.00 Raíz caudrada Matemática STD 0.187 3.56 1.00 Desactivar STI Específica a la aplicación STE 0.187 5.00 1.00 Activar STI Específica a la aplicación STS 0.562 44.38 3.00 Comenzar STI Específica a la aplicación SUB 0.562 1.50 3.00, 4.00 Restar Matemática
  • 581.
    Uso de memoriay tiempos de ejecucion de instruccion C–39 Mnemónico Tipo de instrucción Nombre Uso de memoria (palabras de usuario) Tiempo de ejecución verdadero (aprox. µsegundos) Tiempo de ejecución falso (aprox. µsegundos) SUS 0.375 10.31 2.00 Suspender Control de flujo de programa SVC 0.187 200 1.00 Servicio de comunicaciones Comunicación SWP 0.562 22.6 + 12.13/pal. 2.00 Intercambiar Matemática TAN 0.562 43.00 2.00 Tangente Matemática TND NA 13.05 1.00 Fin temporal Control de flujo de programa TOD 0.375 34.06 2.00 Convertir a BCD Manejo de datos TOF 1.312 1.312 1.00 Temporizador a la desconexión Básica TON 1.312 1.312 1.00 Temporizador a la conexión Básica XICÂ 0.375 0.375 1.00 Examina si cerrado Básica XIOÂ 0.375 0.375 1.00 Examina si abierto Básica XOR 0.562 1.50 3.00 Operación O exclusivo Manejo de datos XPY 0.562 335.10 3.00 X a la pot. de Y Matemática À Para obtener el tiempo total de ejecución para una instrucción CPT, tome el tiempo de ejecución CPT más cada tiempo de ejecución de instrucción matemática adicional, más el número de instrucciones matemáticas entre 3.01. Por ejemplo, si una instrucción CPT llama una instrucción ADD y una instrucción SUB, el cálculo es: 8.8 + 1.70 + 1.70 + 2(3.01) = 18.22. Á Para calcular el uso de memoria, haga lo siguiente: Tome 2 más el número de palabras de instrucción para cada operación realizada más el número de operaciones realizadas en el cálculo. Por ejemplo, 2 + ADD + SUB + 2 = 10. Â Estas instrucciones toman tiempo de ejecución cero si hay condiciones que las preceden garantizando el estado del renglón. La lógica de renglón se resuelve de izquierda a derecha. Las bifurcaciones se resuelven de arriba hacia abajo. Ã Esto solamente incluye la cantidad de tiempo necesaria para configurar la operación solicitada. No incluye el tiempo necesario para dar servicio a las comunicaciones mismas. Ä Esta instrucción realiza un fin de escán completo. Esto incluye un escán de entrada/salida, servicio de comunicación y limpieza. Vea la hoja de trabajo D en el apéndice ?? para calcular el tiempo de ejecución real. Å canal 1 = 150 µs sin comandos pendientes canal 2 = 170 µs sin comandos pendientes Añada 1 ms por cada comando que ha recibido servicio. Æ Los tiempos listados son para módulos de E/S discretas. Cuando use los módulos de E/S de 32 puntos, añada los microsegundos siguientes a las instrucciones IIM e IOM. • 15 µs IIM cuando verdadero • 30 µs IOM cuando verdadero
  • 582.
    Manual de referenciadel juego de instrucciones C–40 Ç +% +) #) $/+#) )! +!%*) - #) !%)*(+!%) % # '( ($ . #) $!() +%) )! +!%*) • %*() $/+# %#/ ! *($'( . µ) • %*() $/+# . µ) • *() %*() )'!#) . µ) È +% +) #) $/+#) )! +!%*) - # !%)*(+!/% % # '( ($ . #) $!() +%) )! +!%*) • %*() $/+# %#/ ! *($'( . µ) • %*() $/+# . µ) • *() %*() )'!#) . µ) Ejemplo ( # $'# (% #/% )! +!%* ! # !%)*(+!/% ) #) #) !%)*(+!%) *$% +% *!$' +!/% ( !$' +!/% $!() +%) ! #) !%)*(+!%) )% ,(() %*%) #) !%)*(+!%) *$% +% *!$' +!/% ( !$' +!/% $!() +%) ] [ 1 ( ) 8 ] [ 2 ] [ 6 ] [ 3 ] [ 4 ] [ 5 ] [ 7
  • 583.
    Uso de memoriay tiempos de ejecucion de instruccion C–41 Tiempos de ejecución de punto (coma) flotante del procesador SLC 5/04 Los tiempos de punto (coma) flotante se aplican a los procesadores SLC 5/04 OS400 y OS401. Los tiempos matemáticos de punto (coma) flotante en la tabla siguiente se aplican cuando S:34/2 no es establecido. Cuando S:34/2 es establecido, los indicadores matemáticos no se actualizan después de la ejecución de la instrucción y después de que 4-8 ms se restan del tiempo de ejecución. S:34/2 se puede cambiar dinámica- mente (es decir, por el programa durante la ejecución del programa). Por cada parámetro de entero, añada 10 ms en consideración de la conversión de entero a punto (coma) flotante. Mnemónico Tiempo de ejecución falso (aprox. µsegundos) Tiempo de ejecución verdadero (aprox. µsegundos) Uso de memoria (palabras de usuario) Nombre Tipo de instrucción À /+(10+ 0#)50! 1). 0#)50! +... 0#)50! 2/7* 0#)50! %1( +),.02 3+. + %1( -1# +),.02 3+. -1# +),.02 #*+. + %1( -1# +),.02 #*+. -1# +),.02 .1# (6) +),.02 +2#. *#'+ # 0+/ 1(0,(!!7* 0#)50! ) . /%*+ *#'+ # 0+/ $#.#*0# +),.02 À /!(. !+* ,.5)#0.+/ 0#)50! 64 !1. 0#)50! #/0. 0#)50! À # ,(! (+/ ,.+!#/+.#/ /+()#*0#
  • 584.
    Manual de referenciadel juego de instrucciones C–42 Si usted necesita realizar operaciones de punto (coma) flotante usando una combinación de parámetros de punto (coma) flotante y enteros (valores y direcciones de fuente/destino), calcule la cantidad de palabras de instrucción según las pautas siguientes: 1. Comience con la cantidad de palabras para la instrucción de punto (coma) flotante. 2. Añada 2 palabras para el primer parámetro de entero (valor o dirección de fuente/destino). 3. Añada 1 palabra por cada parámetro de entero subsiguiente. Estas palabras adicionales son necesarias para las conversiones de entero a punto (coma) flotante. Por ejemplo, esta instrucción requiere 7 palabras de instrucción: ADD ADD Source A F8:8 Source B N7:7 Dest N7:10 • 4 palabras para la instrucción ADD de punto (coma) flotante (según la tabla en la página C–41). • más 2 palabras para la dirección de entero N7:7 • más 1 palabra para segunda direccion de entero N7:10
  • 585.
    Uso de memoriay tiempos de ejecucion de instruccion C–43 Continuación de procesador SLC 5/04 Cálculo aproximado del uso de memoria del sistema usando un procesador SLC 5/04 1. Añada el no. total de palabras de archivo de datos usadas (excluyendo las palabras del archivo de estado y datos de E/S) e introduzca el resultado. 2. Multiplique por 3 el no. total de palabras de datos de E/S e introduzca el resultado. 3. Multiplique por 3 el no. total de ranuras de E/S, usadas o no usadas, e introduzca el resultado. 4. En consideración del overhead del procesador, introduzca 250 e introduzca el resultado. 5. Multiplique por 5 el archivo de tabla de datos con el no. más alto usado e introduzca el resultado. 6. Multiplique por 5 el archivo de programa con el no. más alto usado e introduzca el resultado. 7. Sume los pasos 1 a 6. Introduzca esto como el subtotal (uso de palabra de 4K adicionales). 8. Reste el valor en el paso 7 de 4096; si el resultado es positivo, introduzca 20,480 en el paso 14. Si el resultado es negativo, reste el valor absoluto de 20,480 e introduzca el resultado en el paso 14. (Esto disminuye el valor.) 9. Calcule el no. total de palabras usadas por las instrucciones del programa e introduzca el resultado. Refiérase a la tabla en la página C–41. 10. Añada el no. total de renglones (1 palabra por renglón) e introduzca el resultado. 11. Añada 1 palabra por cada referencia de dirección indexada e introduzca el resultado. 12. Añada 2 palabras por renglón por cada renglón que contiene una referencia de dirección indexada e introduzca el resultado. 13. Sume los pasos 9 a 12 e introduzca el resultado. 14. Introduzca el resultado del paso 8. Esta es la memoria disponible. 15. Introduzca el resultado del paso 13. Esta es la cantidad total de palabras usadas. 16. Reste el paso 15 del paso 14. Este número es la cantidad de memoria disponible en el sistema. Subtotal: 4096 – Subtotal: Total: (paso 7)
  • 586.
    Preface Manual de referenciadel juego de instrucciones C–44 SLC 5/04 Processor Continued Instrucciones con direcciones indexadas Por cada operando con una dirección indexada, añada 25 µs al tiempo de ejecución para una instrucción verdadera. Por ejemplo, si una instrucción MOV tiene una dirección indexada para la fuente y el destino, el tiempo de ejecución cuando la instrucción es verdadera es 19 + 25 + 25 = 69 microsegundos. Instrucciones con direcciones de archivo de datos M0 y M1 Los tiempos de ejecución de las instrucciones con direcciones de archivo de datos M0 y M1 varían. Los tiempos de ejecución siguientes representan los valores máximos esperados. Tipo de instrucción Tiempo de ejecución (µs) # # *# $# $! *# $# $! $# $! *# )!%) + *# )( # '( # Ejemplo COP COPY FILE Source #B3:0 Dest #M0:1.0 Length 34 Añada 735 microsegundos más 23 segundos por apalbra para la instrucción anterior de palabras múltiples. En este ejemplo, 34 palabras se copian de #B3:0 a M0:10. Añada 735 + (23 x 34) = 1517 microsegundos al tiempo de ejecución listado en la página ??. Este total es 88.54 + 1517 = 1605.5 microsegundos o bien 1.6 milisegundos.
  • 587.
    Uso de memoriay tiempos de ejecucion de instruccion C–45 Instrucciones con direcciones indirectas a nivel de palabra Busque la forma de la dirección indirecta para la mayor parte de instrucciones con dirección(es) indirecta(s) y añada aquel tiempo al tiempo de ejecución de la instrucción. Forma de direcciónÀ Operando de fuente (µs) Operando de destino (µs) Si se usa en una instrucción de tipo de archivo SLC 5/03 SLC 5/04 SLC 5/03 SLC 5/04 SLC 5/03 SLC 5/04 À ! ! ! !
  • 588.
    Preface Manual de referenciadel juego de instrucciones C–46 Ejemplos ! ! µ ADD ADD Source A N7:[*] Source B T4:[*].ACC Dest N7[*]:[*] (EN) (DN) BSL BIT SHIFT LEFT File #B3[*]:1 Control R6:2 Bit Address B3/[*] Length 32 # µ SLC 5/03 SLC 5/04
  • 589.
    Uso de memoriay tiempos de ejecucion de instruccion C–47 Instrucciones con direcciones a nivel de bit Las direcciones de bit se basan en la forma de la dirección indirecta y el tipo de instrucción de bit. Use las dos tablas siguientes para calcular el tiempo de ejecución de una instrucción de bit. Forma de dirección Tiempo adicional (µs) Forma de dirección SLC 5/03 SLC 5/04
  • 590.
    Preface Manual de referenciadel juego de instrucciones C–48 Tiempos de ejecución de instrucción Instrucción Tiempo de ejecución (µs) Instrucción SLC 5/03 SLC 5/04 Ejemplo Para calcular el tiempo de ejecución de una instrucción XIC a B3/[N7:0] usando un procesador SLC 5/03, sume lo siguiente: 10.20 + 96.70 = 106.90
  • 591.
    Tiempo de escánestimado D–1 D Tiempo de escán estimado Este apéndice contiene hojas de trabajo que le permiten calcular aproximadamente el tiempo de escán para la configuración y programa su controlador en particular. El cálculo de tiempo de escán para un ejemplo de controlador y programa se incluye como ayuda. Usted utilizará los tieimpos de ejecución de instrucción enumerados en el apéndice B.
  • 592.
    Preface Manual de referenciadel juego de instrucciones D–2 Ciclo de operación del procesador El diagrama y tabla siguientes separan el ciclo de operación del procesador en eventos. Las instrucciones para calcular el tiempo de escán de estos eventos aparecen en las hojas de trabajo. Processor Overhead Communications Output Scan Program Scan Input Scan Eventos en el ciclo de operación del procesador Evento Descripción
  • 593.
    Tiempo de escánestimado D–3 Tiempos de acceso para los datos M0/M1 Durante el escán de programa, el procesador debe acceder a la tarjeta de E/S especial para leer/escribir los datos M0 ó M1. Este tiempo de acceso se debe añadir al tiempo de ejecución de cada instrucción con referencia a los datos M0 ó M1. La tabla siguiente muestra los tiempos de acceso aproximados por instrucción o palabra de datos para los procesadores SLC 5/02, SLC 5/03 y SLC 5/04. Procesador Tiempo de acceso por instrucción de bit o palabra de datos Tiempo de acceso por instrucción de palabras múltiples
  • 594.
    Manual de referenciadel juego de instrucciones D–4 Latencia de interrupción La latencia de interrupción es el intervalo entre la detección de interrupción y el comienzo de la subrutina de interrupción. Durante este plazo de tiempo, el procesador SLC 500 realiza operaciones que no se pueden interrumpir. Nota Si usted usa un procesador SLC 5/03 y S:33/8 es restablecido (0), las interrupciones no pueden recibir servicio dentro del período de latencia de interrupción calculado. (Vea la página siguiente.) Esto se aplica a las instrucciones siguientes: • Interrupción de entrada discreta (DII) • Interrupción temporizada seleccionable (STI) • Interrupción de E/S
  • 595.
    Tiempo de escánestimado D–5 Cómo calcular la latencia de interrupción para SLC 5/03 Use la hoja de trabajo siguiente para calcular la latencia de interrupción. Estos ejemplos suponen que el bit de control de latencia de interrupción S:33/8 es establecido. Interrupción temporizada seleccionable Tiempo de entrada Overhead fijo Overhead de comunicación de fondo de canal 0 Overhead de comunicación de fondo de canal 1 Latencia de interrupción total (máx.) Interrupción de entrada discreta Tiempo de entrada Overhead fijo Overhead de comunicación de fondo de canal 0 Overhead de comunicación de fondo de canal 1 Latencia de interrupción total (máx.) Interrupción de evento de E/S Tiempo de entrada Overhead fijo Overhead de comunicación de fondo de canal 0 Overhead de comunicación de fondo de canal 1 Latencia de interrupción total (máx.) µ# µ# µ# µ# µ# µ# Use los tiempos de ejecución siguientes para calcular la latencia de interrupción. Configuración de canal Tiempo de overhead de fondo µ# % ( #$# µ#À % % ( µ#À À # $ # $# %) %- ' #$# $ # $* #% !% (#$ %- - #% # +# - # %## , µ# $ # +
  • 596.
    Preface Manual de referenciadel juego de instrucciones D–6 Cómo calcular la latencia de interrupción para SLC 5/04 Use la hoja de trabajo siguiente para calcular la latencia de interrupción. Estos ejemplos suponen que el bit de control de latencia de interrupción S:33/8 es establecido. 237 µ# 278 µ# 472 µ# 60 µ# 60 µ# 60 µ# Interrupción temporizada seleccionable Tiempo de entrada Overhead fijo Overhead de comunicación de fondo de canal 0 Overhead de comunicación de fondo de canal 1 Latencia de interrupción total (máx.) Interrupción de entrada discreta Tiempo de entrada Overhead fijo Overhead de comunicación de fondo de canal 0 Overhead de comunicación de fondo de canal 1 Latencia de interrupción total (máx.) Interrupción de evento de E/S Tiempo de entrada Overhead fijo Overhead de comunicación de fondo de canal 0 Overhead de comunicación de fondo de canal 1 Latencia de interrupción total (máx.) Use los siguientes tiempos de ejecución para ayudarle a calcular la latencia de interrupción Configuración de canal Tiempo de overhead de fondo µ# % ( #$# µ#À %% ( µ#À + µ# À # $ # $# %) %- ' #$# $ # $* #% !% (#$ %- - #% # +# - # %## , µ# $ # +
  • 597.
    Tiempo de escánestimado D–7 Ejemplo – Interrupción temporizada seleccionable del procesador SLC 5/03 Configuración: Canal 0 desactivado Canal 1 DH–485 Tiempo de entrada Overhead fijo Overhead de comunicación de fondo de canal 0 Overhead de comunicación de fondo de canal 1 Latencia de interrupción total (máx.) µ µ µ µ µ Ejemplo – Interrupción temporizada seleccionable del procesador SLC 5/04 Configuración: Canal 0 DH–485 Canal 1 desactivado Tiempo de entrada Overhead fijo Overhead de comunicación de fondo de canal 0 Overhead de comunicación de fondo de canal 1 Latencia de interrupción total (máx.) µ µ µ µ µ
  • 598.
    Preface Manual de referenciadel juego de instrucciones D–8 Hojas de trabajo de tiempo de escán Las hojas de tiempo A, B, C, D y E en las páginas siguientes se deben usar con los sistemas SLC 500 según lo siguiente: • Hoja de trabajo A – Controladores compactos • Hoja de trabajo B – Procesador 1747-L511 ó 1747-L514 • Hoja de trabajo C – Procesador 1747-L524 • Hoja de trabajo D – Procesador 1747–L532 • Hoja de trabajo E – Procesador 1747–L542 Estas hojas de trabajo se presentan para ayudarle a calcular el tiempo de escán de la aplicación. Refiérase al apéndice B para obtener los tiempos de ejecución de instrucción. Refiérase a la Descripción general del sistema de la familia SLC 500, publicación 1747-2.30ES, para obtener los números y tamaños de piezas del módulo de E/S. Un ejemplo del cálculo de tiempo de escán aparece en la página D–25. Definición de terminología de la hoja de trabajo Cuando usted trabaje con las hojas de trabajo, encontrará los términos siguientes: Término: Definición: Comunicación de fondo # Comunicación de primer plano ! Overhead de forzado de entrada Overhead de forzado de salida Tiempos de overhead del procesador #
  • 599.
    Tiempo de escánestimado D–9 Término: Definición: Un solo paso Al usar esta función con un procesador SLC 5/02, SLC 5/03 ó SLC 5/04, puede ejecutar el programa un renglón o una sección individualmente. Esta función se usa para propósitos de depuración. Módulo de palabras múltiples Un ejemplo de módulos de palabras múltiples es DCM, analógico y DSN. Hoja de trabajo A – Cómo estimar el tiempo de escán del controlador fijo Procedimiento Tiempo de escán mínimo Tiempo de escán máximo 1. Estime el tiempo de escán de (µs). 1.1 Determine el tipo de controlador que usted tiene Si tiene un procesador de E/S 20, escriba 313 en la línea (A) Si tiene un procesador de E/S 30 ó 40, escriba 429 en la línea (A). A.)________ 1.2 Calcule el escán de entrada de procesador de los módulos de entrada discreta (es un cero si no se usa el chasis de expansión) No. de módulos de 8 puntos ________ x 197 = B.)________ No. de módulos de 16 puntos ________ x 313 = C.)________ No. de módulos de 32 puntos ________ x 545 = D.)________ 1.3 Calcule el escán de entrada de procesador de los módulos de E/S especiales (es un cero si no se usa el chasis de expansión) No. de 1/4 DCM o comb. analógica ________ x 652 = E.)________ No. de 1/2 DCM, entrada analógica ó 1746-HS ________ x 1126 = F.) ________ No. de 3/4 DCM ________ x 1600 = G.)________ No. de DCM lleno, BASIC, ó 1747-DSN ________ x 2076 = H.)________ No. de 1747-KE ________ x 443 = I.) ________ No. de 1746-NT4 ________ x = J.) ________ 1.4 Sume las líneas A a J. Coloque este valor en la línea (K). Añada 101 al valor en la línea (K). Esta suma es el tiempo de escán de entrada K.)________ + 101 = L 1.5 Calcule el tiempo de escán de entrada : Tiempo de escán de entrada máximo (M) = Tiempo de escán de entrada mínimo (K) + (No. de módulos de E/S especiales x 50) 1.6 Calcule el overhead de entrada forzado: Overhead de entrada forzado = (N) (No. de módulos de entrada x 180) + 140 por palabra adicional para módulos de palabras múltiples (por ej., DMC, analógico, DNS) Cuando los forzados se inhabilitan, este valor es 0. L)________ N)________ M)________ N)________ Continúa en la página siguiente
  • 600.
    Preface Manual de referenciadel juego de instrucciones D–10 Procedimiento Tiempo de escán mín. Tiempo de escán máx. 2. Calcule el tiempo de escán de (µs). 2.1 Determine el tipo de controlador que usted tiene. Si tiene un procesador de E/S 20, escriba 173 en la línea (A) Si tiene un proc. de E/S 30 ó 40, escriba 272 en la línea (A). A.)________ 2.2 Calcule el escán de salida de procesador de los módulos de salida discreta. No. de módulos de 8 puntos ________ x 173 = B.)________ No. de módulos de 16 puntos ________ x 272 = C.)________ No. de módulos de 32 puntos ________ x 470 = D.)________ 2.3 Calcule el escán de salida de procesador de los módulos de E/S especiales. No. de 1/4 DCM ó comb. analógica ________ x 620 = E.)________ No. de 1/2 DCM, salida analógica ó 1746-HS ________ x 1028 = F.) ________ No. de 3/4 DCM ________ x 1436 = G.)________ No. de DCM completo, BASIC, ó 1747-DSN ________ x 1844 = H.)________ 2.4 Sume las líneas A a H. Coloque este valor en la línea (I). Sume 129 al valor en la línea (I). Esta suma es el tiempo de escán de salida I.)________ + 129 = (J) 2.5 Calcule el tiempo de escán de salida Tiempo de escán de salida máixmo (K) = Tiempo de escán mínimo (J) + (No. de módulos de E/S especiales x 50) 2.6 Calcule el overhead de salida forzado: Overhead de salida forzado = (L) (No. de módulos de salida x 172) + 140 por palabra adicional para módulos de palabras múltiples (por ej., DCM, analógico, DSN) Cuando los forzados se inhabilitan, este valor es 0. J)_________ L)_________ K)________ L)________ 3. Estime el tiempo de escán de . Este cálculo aproximado supone la operación de todas las instrucciones una vez por cada escan de operación. 3.1 Cuente el no. de renglones en el programa APS. Coloque el valor en la línea (A). 3.2 Calcule el tiempo de ejecución de programa máximo (B) cuando todas las instrucciones son verdaderas. 3.3 Calcule el tiempo de ejecución de programa mínimo (C) usando los tiempos asociados con una instrucción cuando ésta es falsa. (Vea el apéndice A para hacer esto.) 4. Sume los valores en las columnas de tiempo de escán mínimo y máximo. A)_________ C)__________ __________ subtotal A)________ B)_________ _________ subtotal 5. Añada el tiempo de overhead del (178 para tiempo de escán mín.; 278 para tiempo de escán máx.) a los subtotales calculados en el paso 4. Use estos subtotales nuevos para calcular el overhead de comunicación en el paso 6. + 178 __________ subtotal + 278 _________ subtotal 6. Calcule el overhead de 6.1 Calcule el overhead de comunicación de fondo cuando no haya comunicación: multiplique el subtotal para el tiempo de escán mín. (A) (estimado en el paso 5) entre 1; multiplique el subtotal para el tiempo de escán máx. (B) entre 1.140 (el valor máx. toma en cuenta la red activa DHĆ485) cuando haya comunicación. 6.2 Calcule el overhead de comunicación de primer plano: para el tiempo de escán mín. (C), añada 0; para el tiempo de escán máx. (D), añada 2310. (El tiempo de escán máx. toma en cuenta 6.3 Convierta los µseg. en mseg, divida entre 1000. A x 1.000 _________ µs C + 0 _________ µs / 1000 B x 1.140 ________ µs D + 2310 ________ µs / 1000
  • 601.
    Tiempo de escánestimado D–11
  • 602.
    Preface Manual de referenciadel juego de instrucciones D–12 Hoja de trabajo B – Cómo estimar el tiempo de escán del procesador 1747-L511 ó 1747-l514 Procedimiento Tiempo de escán mín. Tiempo de escán máx. 1. Calcule el tiempo de escán de (µs). 1.1 Calcule el escán de entrada de procesador de los módulos de entrada discreta. No. de módulos de 8 puntos ________ x 197 = A.)________ No. de módulos de 16 puntos ________ x 313 = B.)________ No. de módulos de 32 puntos ________ x 545 = C.)________ 1.2 Calcule el escán de entrada de procesador de los módulos de E/S especiales. No. de 1/4 DCM o comb. analógica ________ x 652 = D.)________ No. de 1/2 DC, entrada analógica ó 1746-HS ________ x 1126 = E.)________ No. de 3/4 DCM ________ x 1600 = F)________ No. de DCM completo, BASICO ó 1747-DSN ________ x 2076 = G.)________ No. de 1747-KE ________ x 443 = H.)________ No. de 1746-NT4 ________ x = I.)________ 1.3 Sume las líneas A a I. Coloque este valor en la línea (J) Sume 101 al valor en la línea (J). Esta suma es el tiempo de escán de entrada mín. J.)________ + 101 = K 1.4 Calcule el tiempo de escán de entrada máximo: Tiempo de escán de entrada máximo (L) = Tiempo de escán mínimo (K) + (No. de módulos de E/S especiales x 50) 1.5 Calcule el overhead de entrada forzado: Overhead de entrada forzado = (M) (No. de módulos de entrada x 180) + 140 por palabra adicional para módulos de palabras múltiples (por ej., DMC, analógico, DSN) K)_________ L)_________ M)_________ 2. Estime el tiempo de escán de (µs). 2.1 Calcule el escán de salida de procesador de los módulos de salida discreta. No. de módulos de 8 puntos ________ x 173 = A.)________ No. de módulos de 16 puntos ________ x 272 = B.)________ No. de módulos de 32 puntos ________ x 470 = C.)________ 2.2 Calcule el escán de salida de procesador de los módulos de salida discreta. No. de 1/4 DCM ó comb. analógica ________ x 620 = D.)________ No. de 1/2 DCM, salida analógica ó 1746-HS ________ x 1028 = E.)________ No. de 3/4 DCM ________ x 1436 = F) ________ No. de DCM completo, BASIC, ó 1747-DSN ________ x 1844 = G.)________ 2.3 Sume las líneas A a G. Coloque este valor en la línea (H). Sume 129 al valor en la línea (H). Esta suma es el tiempo de escán de salida mín. H)________ + 129 = I 2.4 Calcule el iempo de escán de salida máximo. Tiempo de escán de salida máximo (J) = Tiempo de escán mínimo (I) + (No. de módulos de E/S especiales x 50) 2.5 Calcule el overhead de salida forzado: Overhead de salida forzado = K (No. de módulos de salida x 172) + 140 por palabra adicional para módulos de palabras múltiples (por ej., DCM, analógico, DSN) I)________ J)_________ K)_________ Continúa en la página siguiente
  • 603.
    Tiempo de escánestimado D–13 Procedimiento Tiempo de escán mínimo Tiempo de escán máximo 3. Estime el tiempo de escán de . Este cálculo aproximado supone e la operación de todas las instrucciones una vez por cada escán de operación. 3.1 Cuente el no. de renglones en el programa APS. Coloque el valor en la línea (A). 3.2 Calcule el tiempo de ejecución de programa (B) cuando todas las instrucciones son verdaderas. (Vea el apéndice A para hacer esto.) 4. Sume los valores en las columnas de tiempo de escán mínimo y máximo. A)__________ B)__________ ___________ subtotal A)_________ B)_________ _________ subtotal 5. Sume el tiempo de overhead del (178 para tiempo de escán mínimo; 278 para tiempo de escán máximo) a los subtotales estimados en el paso 4. Use estos subtotales nuevos para calcular el overhead de comunicaciones en el paso 6. + 178 __________ subtotal + 278 _________ subtotal 6. Calcule el overhead de 6.1 Calcule el overhead de comunicación de fondo: multiplique el subtotal para el tiempo de escán mín. (estimado en el paso 5) entre 1; multiplique el subtotal para el tiempo de escán máx. entre 1.140 (el valor máx. toma en cuenta la red activa DHĆ485).. 6.2 Calcule el overhead de comunicación de primer plano: por el tiempo de escán mínimo, añada 0; por el tiempo de escán máximo, añada 2310. (El tiempo de escán máximo toma en cuenta que el programador está conectado al procesador.) 6.3 Convierta µseg a mseg y divida entre 1000. x 1.000 __________ µseg + 0 __________ µseg / 1000 x 1.140 _________ µseg + 2310 _________ µseg / 1000 mseg mseg
  • 604.
    Preface Manual de referenciadel juego de instrucciones D–14 Hoja de trabajo C – Cómo estimar el tiempo de escán del procesador 1747-L524 Procedimiento Tiempo de escán mínimo Tiempo de escán máximo 1. Calcule el tiempo de escán de (µs). 1.1 Calcule el escán de entrada de procesador de los módulos de entrada discreta. No. de módulos de 8 puntos ________ x 126 = A.)________ No. de módulos de 16 puntos ________ x 195 = B.)________ No. de módulos de 32 puntos ________ x 335 = C.)________ 1.2 Calcule el escán de entrada de procesador de los módulos de E/S discretas. No. de 1/4 DCM o comb. analógica ________ x 375 = D.)________ No. de 1/2 DCM, entrada analógica ó 1746-HS ________ x 659 = E.)________ No. de 3/4 DCM ________ x 944 = F)________ No. de DCM completo, config. pequeña BASIC o DSN de 7 bloques ________ x 1228 = G.)________ No. de 1747-KE ________ x 250 = H.)________ No. de 1746-NT4 ________ x = I.)_________ 1.3 Calcule el escán de entrada de procesador de los módulos de E/S especiales. No. de config. larga BASIC, 1746-HSCE ________ x 1557 = J.)________ No. de DSN de escáner RS/O o de 30 bloques ________ x 4970 = K.)________ 1.4 Sume las líneas A a K. Coloque este valor en la línea (L). Sume 121 al valor en la línea (L). Esta suma es el tiempo de escán de entrada L.)________ + 121 = M 1.5 Calcule el tiempo de escán de entrada Tiempo de escán mín. (M) + (No. de módulos de E/S especiales en la sección 1.2 x 30) + (No. de módulos de E/S especiales en la sección 1.3 x 120) = (N) 1.6 Calcule el overhead de entrada forzado ()) = (No. de módulos de entrada x 108) + 140 por palabra adicional para los módulos de palabras múltiples M)_________ N)_________ O)_________ Continúa en la página siguiente
  • 605.
    Tiempo de escánestimado D–15 Procedimiento Tiempo de escán mínimo Tiempo de escán máximo 2. Calcule el tiempo de escán de (µs). 2.1 Calcule el escán de salida de procesador de los módulos de salida discreta. No. de módulos de 8 puntos ________ x 104 = A.)________ No. de módulos de 16 puntos ________ x 164 = B.)________ No. de módulos de 32 puntos ________ x 282 = C.)________ 2.2 Calcule el escán de salida de procesador de los módulos de E/S especiales. No. de 1/4 DCM o comb. analógica ________ x 372 = D.)________ No. de 1/2 DCM, salida analógica 1746-HS ________ x 617 = E.)________ No. de 3/4 DCM ________ x 862 = F.)________ No. de DCM completo , config. pequeña BASIC o DSN de 7 bloques ________ x 1047 = G.)________ 2.3 Calcule el escán de salida de procesador de los módulos de E/S especiales. No. de config. largas BASIC, 1746-HSCE ________ x 1399 = H.)________ No. de DSN de escáner RI/O o de 30 bloques ________ x 4367 = I.)________ 2.4 Sume las líneas A a I. Coloque este valor en la línea (J). Sume 138 al valor en la línea (J). Esta suma es el tiempo de escán de salida J.)________ + 138 = K 2.5 Calcule el tiempo de escán de salida = L Tiempo de escán mínimo (K) + (No. de módulos de E/S especiales en parte B x 30) + (No. de módulos de E/S especiales en parte C x 120) 2.6 Calcule el overhead de salida forzado (M)= (No. de módulos de salida x 104) + 140 por palabra adicional para los módulos de palabras múltiples K)_________ L)_________ M)_________ 3. Calcule el tiempo de escán de programa. Este cálculo aproximado supone la operación de todas las instrucciones una vez por cada escán de operación. 3.1 Cuente el no. de renglones en el programa APS. Coloque el valor en la línea (A). 3.2 Multiplique el valor en la línea (A) entre 6. (Si usted guardó el programa con un solo paso habilitado, multiplique el valor en la línea (A) entre 66.) A.)________ x 6 = 3.3 Calcule el tiempo de ejecución de programa cuando todas las instrucciones sean verdaderas. (Vea el apéndice A para hacer esto.) 4. Sume los valores en las columnas de tiempo de escán mínimo y máximo. A)__________ B)__________ __________ subtotal A)_________ _________ _________ subtotal 5. Añada el tiempo de overhead de (180 para tiempo de escán mín.; 280 para tiempo de escán máx.) a los subtotales calculados en el paso 4. Use estos subtotales nuevos para calcular el overhead de comunicación en el paso 6. + 180 ________subtotal + 280 _________ subtotal Continúa en la página siguiente
  • 606.
    Preface Manual de referenciadel juego de instrucciones D–16 Procedimiento Tiempo de escán mínimo Tiempo de escán máximo 6. Calcule el overhead de ' !($ !' . ! ! '#' %'! $ ! %+ , %! %! !$ '#' %'! $ ! %+ +) !$ (!$ +)! ! ' $ ( / ' !($ !' ! % $$ ! $ ! %+ , ! - $ ! %+ +)! - ! %+ +)! ! ' #' $!$!$ %+ ! ! $!%!$ ! ($ µ% % * ( $ ) _________ µ% __________ µ% ) _________ µ% _________ µ% % % 7. Estime el tiempo de escán para la aplicación 1747ĆL524 de serie B; divida los valores para la aplicación de serie C entre 0.60. % %
  • 607.
    Tiempo de escánestimado D–17 Hoja de trabajo D – Cómo calcular el tiempo de escán del procesador 1747-L532 Procedimiento Tiempo de escán mín. Tiempo de escán máx. 1. Tiempo de escán de (µs). 1.1 Calcule el escán de entrada de procesador de los módulos de entrada discreta. No. de módulos de 8 puntos _______ x 26 = A.)________ No. de módulos de 16 puntos _______ x 26 = B.)________ No. de módulos de 32 puntos _______ x 52 = C.)________ No. de módulos de comb. de E/S _______ x 74 = D.)________ 1.2 Calcule el escán de entrada de procesador de los módulos de E/S especiales. No. de 1746-HS _______ x 332 = E.)________ No. de 1/4 DCM _______ x 317 = F.)_________ No. de 1/2 DCM _______ x 352 = G.)________ No. de 3/4 DCM _______ x 478 = H.)________ No. de DCM completo _______ x 420 = I)________ No. de 1747-KE _______ x 443 = J)________ No. de 1746-NI4 _______ x 316 = K.)________ No. de 1746-NIO4I, NIO4V _______ x 272 = L.)________ No. de 1746-NT4 _______ x 385 = M.)________ No. de DSN de 7 bloques ______ _x 423 = N.)________ No. de DSN de 30 bloques _______ x 1051 = O.)________ No. de 1746-BAS (configuración SLC 5/01) _______ x 451 = P.)________ 1.3 No. de 1747-SN _______ x 1218 = Q.)________ No. de 1746-HSCE _______ x 506 = R.)________ No. de 1746-BAS (configuración SLC 5/02 y SLC 5/03) _______ x 605 = S.)________ 1.4 Si S:33/8 se ha puesto a cero, sume 92 µs por ranura de entrada configurada _______ x 92 = T.)________ 1.5 Sume las líneas A a T. Coloque este valor en la línea (W). Sume 31 al valor en la línea (W). Este es el escán de entrada mínimo. W.) ______ + 31 = X 1.6 Calcule el tiempo de escán máximo de entrada de E/S especiales: Tiempo de escán de entrada (R1) = No. de módulos de E/S especiales en sec. 1.2 x 50 1.7 Calcule el tiempo de escán máximo de entrada de E/S para la sección 1.3: Tiempo de escán de entrada (R2) = No. de módulos de E/S especiales en sec. 1.3 x 200 1.8 Calcule el overhead de entrada forzado: Overhead de entrada forzado = No. de módulos de entrada discreta a 3.5 µs por pal. Sume 20 + 4/por palabra por cada módulo de E/S especial (por ejemplo, BASIC tiene 8 entradas = 20 + 4 x 8 = 52) = Y 1.9.0 Sume los valores en las columnas de tiempo de escán mínimo; coloque los valores en el subtotal del tiempo de escán mínimo. 1.9.1 Sume los valores en las columnas de tiempo de escán máximo; coloque los valores en el subtotal del tiempo de escán máximo. X)________ Y)_______ subtotal_______ X)________ R1)_______ R2)______ Y)_______ subtotal_______ Continúa en la página siguiente
  • 608.
    Preface Manual de referenciadel juego de instrucciones D–18 Procedure Min Scan Time Max Scan Time 2. Calcule el tiempo de escán de (µs). 2.1 Calcule el escán de salida de procesador de los módulos de salida discreta. No. de módulos de 8 puntos ________ x 31 = A.)________ No. de módulos de 16 puntos ________ x 31 = B.)________ No. de módulos de 32 puntos ________ x 62 = C.)________ No. de módulos de comb. de E/S ________ x 82 = D.)________ 2.2 Calcule el escán de salida de procesador de los módulos de E/S especiales. No. de 1746-HS _______ x 369 = E.)________ No. de 1/4 DCM _______ x 335 = F.)________ No. de 1/2 DCM _______ x 380 = G.)________ No. de 3/4 DCM _______ x 424 = H.)________ No. de DCM completo _______ x 469 = I.)________ No. de 1746-NIO4I NIO4V _______ x 297 = J.)________ No. de 1746-NO4I NO4V _______ x 342 = K.)_________ No. de DSN de 7 bloques _______ x 469 = L.)________ No. de DSN de 30 bloques _______ x 1224 = M.)________ No. de 1746-BAS (configuración SLC 5/01) _______ x 500 = O.)________ 2.3 Calcule el escán de salida de procesador de los módulos de E/S especiales. No. de 1747-SN _______ x 1395 = P.)________ No. de 1746-HSCE _______ x 394 = Q.)________ No. de 1746-BAS (configuración SLC 5/02 y SLC 5/03) _______ x 656 = R.)_________ 2.4 Si S:33/8 está puesto a cero, sume 92 µs por ranura de salida configurada _______ x 92 = S.)________ 2.5 Sume las líneas A a S. Coloque este valor en la línea (T). Sume 30 al valor en la línea (T). Este es el escán de salida mínimo de las E/S especiales. T.)________ + 30 =X 2.6 Calcule tiempo de escán de salida special máximo: Tiempo de escán de salida (R!) = No. de módulos de E/S especiales en 2.2 x 50 2.7 Calcule el tiempo de escán de salida máximo para la sección 2.3: Escán de salida (R2) = No. de módulos de E/S especiales x 200 2.8 Calcule el overhead de salida forzado: Overhead de salida forzado = No. de módulos de salida discreta a 3.0 µs por palabra Sume 20 + 4/por palabra por cada módulo de E/S especial (por ejemplo, BASIC tiene 8 palabras de entrada = 20 + 4 x 8 = 52) 2.9.0 Sume los valores en las columnas de tiempo de escán mínimo; coloque los valores en el subtotal de tiempo de escán mínimo 2.9.1 Sume los valores en las columnas de tiempo de escán máximo; coloque los valores en el subtotal de tiempo de escán máximo X)_______ Y)_______ subtotal_______ X)_______ R1)_______ R2)______ Y)_______ subtotal_______ Continúa en la página siguiente
  • 609.
    Tiempo de escánestimado D–19 Procedimiento Tiempo de escán mín. Tiempo de escán máx. 3. Calcule el tiempo de escán de . Este cálculo aproximado supone la operación de todas las instrucciones una vez por cada escán de operación. 3.1 Cuente el no. renglones en el programa de escalera. Multiplique este no. por 0.25. Coloque el valor en la línea Renglones. 3.2 Calcule el tiempo de ejecución de programa cuando todas las instrucciones sean verdaderas. (Vea el apéndice B para hacer esto.) Coloque este valor en la línea Tiempo. 3.3 Sume los valores de 3.1 y 3.2; coloque esta suma en la línea de subtotal. Renglones)_____ + Tiempo)______ subtotal______ Renglones)_____ + Tiempo)______ subtotal______ 4. Tiempo de overhead (S:33/8 = 1 añada 752 µs; S:33/8 = 0 añada 844 µs) subtotal subtotal 5. Calcule el overhead de : 5.1 Calcule el overhead de comunicaciones de fondo usando la tabla siguiente. El overhead mín. se aplica cuando los dispositivos están conectados al canal. Canal 0 Canal 1 Overhead de comunicación de fondo (RS232) (DH485) Mínimo Máximo DF1 full-duplex DH-485 1026 1180 (1280) DF1 half-duplex DH-485 1025 1175 DH-485 DH-485 1040 1160 DF1 full-duplex Parada 1006 1100 (1200) DF1 half-duplex Parada 1005 1095 DH-485 Parada 1020 1080 Use los números entre paréntesis cuando se usen instrucciones MSG en el canal DF1 full-duplex. 5.2 Calcule el overhead de comunicaciones de primer plano: por el tiempo de escán mínimo, añada 0; por el tiempo de escán máximo; añada 1027 por canal. (El tiempo de escán máx. toma en cuenta que el programador está conectado el procesador.) Overhead + 0 subtotal Overhead + 1027 subtotal 6. Sume todos los valores de los subtotales de pasos 1-5 (escán de entrada mín. y máx., escán de salida, escán de programa, overhead de procesador y overhead de comunicación). µseg µseg 7. Convierta µseg en mseg dividiendo entre 1000. / 1000 / 1000 mseg mseg Nota El tiempo de escán anterior no toma en cuenta las bifurcaciones. Vea el ejemplo siguiente acerca de cómo calcular el tiempo de escán adicional cuando se usan bifurcaciones. Bifurcaciones anidadas Esto toma ≈ 1.5 µs Bifurcaciones extendidas Esto toma ≈ .5 µs
  • 610.
    Preface Manual de referenciadel juego de instrucciones D–20 Hoja de trabajo E – Cómo calcular el tiempo de escán del procesador 1747-L542 Procedimiento Tiempo de escán mín. Tiempo de escán máx. 1. Calcule el tiempo de escán de (µs). 1.1 Calcule el escán de entrada de procesador de los módulos de entrada discreta. No. de módulos de 8 puntos _______ x 26 = A.)________ No. de módulos de 16 puntos _______ x 26 = B.)________ No. de módulos de 32 puntos _______ x 52 = C.)________ No. de módulos de comb. de E/S _______ x 74 = D.)________ 1.2 Calcule el escán de entrada de procesador de los módulos de E/S especiales. No. de 1746-HS _______ x 312 = E.)________ No. de 1/4 DCM _______ x 297 = F.)_________ No. de 1/2 DCM _______ x 332 = G.)________ No. de 3/4 DCM _______ x 366 = H.)________ No. de DCM completo _______ x 400 = I)________ No. de 1747-KE _______ x 423 = J)________ No. de 1746-NI4 _______ x 296 = K.)________ No. de 1746-NIO4I, NIO4V _______ x 252 = L.)________ No. de 1746-NT4 _______ x 365 = M.)________ No. de DSN de 7 bloques _______ x 403 = N.)________ No. de DSN de 30 bloques _______ x 1031 = O.)________ No. de 1746-BAS (configuración SLC 5/01) _______ x 431 = P.)________ 1.3 No. de 1747-SN _______ x 1198 = Q.)________ No. de 1746-HSCE _______ x 486 = R.)________ No. de 1746-BAS (confniguración SLC 5/02 y SLC 5/03) _______ x 585 = S.)________ 1.4 If S:33/8 is clear, add 78 µs per configured input slot _______ x 78 = T.)________ 1.5 Sume las líneasA a T. Si hay valores en E a S que son 0, añada 6. Coloque este valor en la línea (W). Sume 15 al valor en la línea (W). Este es el escán de entrada mínimo. W.) ______ + 15 = X 1.6 Calcule el tiempo de escán máximo de entrada de E/S especiales: Tiempo de escán de entrada (R1) = No. de módulos de E/S especiales en sec. 1.2 x 50 1.7 Calcule el tiempo de escán máximo de entrada de E/S para la sección 1.3 x 200 Tiempo de escán de entrada (R2) = No. de módulos de E/S especiales en sec. 1.3 x 200 1.8 Calcule el overhead de entrada forzado: Overhead de entrada forzado = No. de módulos de entrada discreta a 3.5 µs por pal. Añada 16.35 + 4.3 por palabra por cada módulo de E/S especial (por ej., BASIC tiene 8 entradas = 16.35 + 4.3 x 8 = 50.75) = Y 1.9.0 Sume los valores en las columnas de tiempo de escán máximo; coloque los valores en el subtotal del tiempo de escán mínimo. 1.9.1 Sume los valores en las columnas de tiempo de escán mínimo; coloque los valores en el subtotal del tiempo de escán máximo. X)________ Y)_______ subtotal_______ X)________ R1)_______ R2)______ Y)_______ subtotal_______ Continúa en la página siguiente
  • 611.
    Tiempo de escánestimado D–21 Procedimiento Tiempo de escán mín. Tiempo de escán máx. 2. Calcule el tiemp de escán de (µs). 2.1 Calcule el escán de salida de procesador de los módulos de salida discreta. No. de módulos de 8 puntos ________ x 31 = A.)________ No. de módulos de 16 puntos ________ x 31 = B.)________ No. de módulos de 32 puntos ________ x 62 = C.)________ No. de módulos de comb. de E/S ________ x 82 = D.)________ 2.2 Calcule el escán de salida de procesador de los módulos de E/S especiales. No. de 1746-HS _______ x 349 = E.)________ No. de 1/4 DCM _______ x 315 = F.)________ No. de 1/2 DCM _______ x 360 = G.)________ No. de 3/4 DCM _______ x 404 = H.)________ No. de DCM completo _______ x 449 = I.)________ No. de 1746-NIO4I NIO4V _______ x 277 = J.)________ No. de 1746-NO4I NO4V _______ x 322 = K.)_________ No. de DSN de 7 bloques _______ x 449 = L.)________ No. de DSN de 30 bloques _______ x 1204 = M.)________ No. de 1746-BAS (configuración SLC 5/01) _______ x 480 = O.)________ 2.3 Calcule el escán de salida de procesador de los módulos de E/S especiales. No. de 1747-SN _______ x 1375 = P.)________ No. de 1746-HSCE _______ x 374 = Q.)________ No. de 1746-BAS (configuración SLC 5/02 y SLC 5/03) _______ x 636 = R.)_________ 2.4 Si S:33/8 está puesto a cero, sume 78 µs por ranura de entrada configurada _______ x 78 = S.)________ 2.5 Sume las líneas A a S. Si hay valores en E a R que son 0, sume 6. Coloque este valor en la línea (T). Sume 12 al valor en la línea (T). Este es el escán de salida mínimo de las E/S especiales. . T.)________ + 12 =X 2.6 Calcule el tiempo de escán máximo de salida especial: Tiempo de escán de salida (R1) = No. de módulos de E/S especiales en 2.2 x 50) 2.7 Calcule el tiempo de escán máximo de salida para la sección 2.3: Escán de salida (R2) = No. de módulos de E/S especiales en x 200 2.8 Calcule el overhead de salida forazado: Overhead de salida forzado = No. de módulos de salida discreta a 3.0 µs por palabra Sume 16.35 + 4.3 por palabra por cada módulo de E/S especial (por ej., BASIC tiene 8 entradas = 16.35 + 4.3 x 8 = 50.75) = Y 2.9.0 Sume los valores en las columnas de tiempo de escán mínimo; coloque los valores en el subtotal del tiempo de escán mínimo. 2.9.1 Sume los valores en las columnas de tiempo de escán máximo; coloque los valores en el subtotal del tiempo de escán máximo. X)_______ Y)_______ subtotal_______ X)_______ R1)_______ R2)______ Y)_______ subtotal_______ Continúa en la página siguiente
  • 612.
    Preface Manual de referenciadel juego de instrucciones D–22 Procedimiento Tiempo de escán mínimo Tiempo de escán máximo 3. Calcule el tiempo de escán de . Este cálculo estimado supone la operación de todas las instrucciones una vez por cada escán de operación. 3.1 Cuente el no. de renglones en el programa de escalera. Multiplique este no. por 0.187. Coloque el valor en la línea Renglones. 3.2 Calcule el tiempo de ejecución de programa cuando todas las instrucciones sean verdaderas. (Vea el apéndice B para hacer esto.) Coloque este valor en la línea Tiempo. 3.3 Sume los valores de 3.1 y 3.2; coloque esta suma en la línea de subtotal. Renglones)_____ + Tiempo)______ subtotal______ Renglones)_____ + Tiempo)______ subtotal______ 4. Tiempo de overhead de (S:33/8 = 1 añada 665 µs; S:33/8 = 0 añada 742 µs) subtotal subtotal 5. Estime el overhead de 5.1 Calcule el overhead de comunicaciones de fondo usando la tabla siguiente. El overhead mínimo se aplica cuando los dispositivos están conectados a un canal. Canal 0 Canal 1 Overhead de comunicación de fondo (RS232) (DH+) Mínimo Máximo DF1 full-duplex DH+ 1006 1110 (1280) DF1 half-duplex DH+ 1005 1100 DH-485 DH+ 1020 1090 DF1 full-duplex Parada 1006 1090 (1200) DF1 half-duplex Parada 1005 1080 DH-485 Parada 1020 1070 Use los números entre paréntesis cuando se usen las instrucciones MSG en el canal DF1 full-duplex. 5.2 Calcule el overhead de comunicaciones de fondo: para el tiempo de escán mínimo, añada 0; para el tiempo de escán máximo, añada 1027 por canal. (El tiempo de escán máx. toma en cuenta que el programador está conectado al procesador.) Si S:34/1 es establecido para habilitar la actualización activa de la tabla de nodo, sume 400 por comando Si el destino del paquete que ha recibido servicio es el otro canal, sume 400 por comando. Overhead + 0 subtotal Overhead + 1027 subtotal 6. Sume todos los valores de los subtotales de pasos 1-5. (escán de entrada mínimo y máximo, escán de salida, overhead de procesador y overhead de comunicación). µseg µseg 7. Convierta µseg a mseg dividiendo entre 1000. / 1000 / 1000 mseg mseg
  • 613.
    Tiempo de escánestimado D–23 Use los tiempos de escán máximos siguientes para calcular los tiempos de escán de entrada y salida. Refiérase a la hoja de trabajo D en este apéndice. Procesador SLC 5/03 Módulo de E/S Tiempo de escán de entrada máx. Tiempo de escán de entrada mín. ,* #+*, (-,'+ $# #+*, (-,'+ ,* #+*, (-,'+ $# #+*, (-,'+ ,* #+*, (-,'+ $# #+*, (-,'+ '%##1 #+*,+ 1-$' +*.'',*'$'* 1-$' '%-##1 #*, ' #!-*#1 +#+ 1-$' '%-##1 #*, ' #!-*#1 +#+ 1-$' '%-##1 #*, ' #!-*#1 +#+ 1-$' '%-##1 #*, ' #!-*#1 +#+ '%($,' 1-$' ,* $1!# 1-$'+ '%##1 $1!# 1-$'+ +$# $1!# 1-$' +0* #+,*#-#+ ' #!-*#1 $')-+ 1-$' +0* #+,*#-#+ ' #!-*#1 $')-+ 1-$' ' #!-*#1 1-$' '# #'* ','* $, .$'# 1-$' +0* *%',+ 1-$' ' #!-*#1 /
  • 614.
    Preface Manual de referenciadel juego de instrucciones D–24 Procesador SLC 5/04 Módulo de E/S Tiempo de escán de entrada máx. Tiempo de escán de salida máx. ,* #+*, (-,'+ $# #+*, (-,'+ ,* #+*, (-,'+ $# #+*, (-,'+ ,* #+*, (-,'+ $# #+*, (-,'+ '%##1 #+*,+ 1-$' +*.'',*'$'* 1-$' '%-##1 #*, ' #!-*#1 +#+ 1-$' '%-##1 #*, ' #!-*#1 +#+ 1-$' '%-##1 #*, ' #!-*#1 +#+ 1-$' '%-##1 #*, ' #!-*#1 +#+ '%($,' 1-$' ,* $1!# 1-$'+ '%##1 $1!# + 1-$'+ +$# $1!# 1-$' +0* #+,*#-#+ ' #!-*#1 $')-+ 1-$' +0* #+,*#-#+ ' #!-*#1 $')-+ 1-$' ' #!-*#1 1-$' '# #'* ','* $, .$'# 1-$' +0* *%',+ 1-$' ' #!-*#1 /
  • 615.
    Tiempo de escánestimado D–25 Ejemplo de cálculo de tiempo de escán Supongamos que usted tiene un sistema que consiste en los componentes siguientes: Configuración del sistema Descripción No. de catálogo Cantidad Descripción #!$!# (! %# %!$ (! %# # !# %!$ (! $ #' %!$ (! $ % %!$ (! ! ( ( $ Puesto que se usa el procesador 1747-L514, se debe llenar la hoja de trabajo B. Dicha hoja se muestra en la página D–11. El programa de escalera siguiente se usa en esta aplicación. Los tiempos de ejecución para las instrucciones (estado verdadero) han sido tomados del apéndice B y sumados para cada renglón. El tiempo de ejecución total, 465 microsegundos, se introduce en la hoja de trabajo en la página D–27. La hoja de trabajo indica que el tiempo de escán total estimado es 3.85 milisegundos mínimos y 8.9 milisegundos como máximo.
  • 616.
    Preface Manual de referenciadel juego de instrucciones D–26 END ]/[ B3 1 ( ) O:1.0 0 (EN) (DN) TON TIMER ON DELAY Timer T4:0 Time Base 0.01 Preset 6000 Accum ] [ B3 0 ]/[ T4:0 DN ] [ B3 45 ]/[ T4:0 DN ] [ B3 9 ]/[ B3 1 ] [ T4:0 DN GRT GREATER THAN Source A T4:0.ACC Source B 5999 TOD TO BCD Source T4:0.ACC Dest S:13 MOV MOVE Source S:13 Dest O:1.0 Tiempos de ejecución: 139 microsegundos 38 microsegundos 288 microsegundos Total: 465 microsegundos
  • 617.
    Tiempo de escánestimado D–27 Ejemplo: Hoja de trabajo B – Cómo calcular el tiempo de escán de una aplicación del procesador 1747-L511 ó 1747-L514 Procedimiento: Tiempo de escán mín. Tiempo de escán máx. 1. Calcule el tiempo de escán de (µs). 1.1 Calcule el escán de entrada de procesador de los módulos de entrada discreta. No. de módulos de 8 puntos 2 x 197 = A.) 394 No. de módulos de 16 puntos 1 x 313 = B.) 313 No. de módulos de 32 puntos 0 x 545 = C.) 0 1.2 Calcule el escán de entrada de procesador de los módulos de E/S especiales. No. de 1/4 DCM o comb. analógica 1 x 652 = D.) 652 No. de 1/2 DCM, entrada analógica ó 1746-HS 0 x 1126 = E.) 0 No. de 3/4 DCM 0 x 1600 = F.) 0 No. de DCM completo, BASIC ó 1747-DSN 0 x 2076 = G.) 0 No. de 1747-KE 0 x 443 = H.) 0 1.3 Sume las líneas A a H. Coloque este valor en la línea (I). Sume 101 al valor en la línea (I). Esta suma es el tiempo de escán de entrada mín. I.) 1359 + 101 = 1.4 Calcule el tiempo de escán de entrada máximo: Tiempo de escán de entrata máximo = Tiempo de escán mínimo + (No. de módulos de E/S especiales x 50) 1.5 Calcule el overhead de entrada forzado: Overhead de entrada forzado = (No. de módulos de entrada x 180) + 140 por palabra adicional por módulos de palabras múltiples (por ej., DCM, analógico, DSN) 1460 1510 860 2. Calcule el tiempo de escán de (µs). 2.1 Calcule el escán de salida de procesador de los módulos de salida. No. de módulos de 8 puntos 1 x 173 = A.) 173 No. de módulos de 16 puntos 3 x 272 = B.) 816 No. de módulos de 32 puntos 0 x 470 = C.) 0 2.2 Calcule el escán de salida de procesador de los módulos de E/S especiales. No. de 1/4 DCM o comb. analógica 1 x 620 = D.) 620 No. de 1/2 DCM, entrada analógica ó 1746-HS 0 x 1028 = E.) 0 No. de 3/4 DCM 0 x 1436 = F.) 0 No. de DCM completo, BASIC ó 1747-DSN 0 x 1844 = G.) 0 2.3 Sume las líneas A a G. Coloque este valor en la línea (H). Sume 129 al valor en la línea (H). Esta suma es el tiempo de escán de salida mín. H.) 1609 + 129 = 2.4 Calcule el tiempo de escán de salida máximo: Tiempo de escán de salida máximo = Tiempo de escán mínimo + (No. de módulos de E/S especiales x 50) 2.5 Calcule el overhead de salida forzado: Overhead de salida forzado = (No. de módulos de salida x 172) + 140 por palabra adicional por módulos de palabras múltiples (por ej., DMC, analógico, DSN) 1747 1788 1000 Continúa en la página siguiente
  • 618.
    Preface Manual de referenciadel juego de instrucciones D–28 Procedimiento: Tiempo de escán mín. Tiempo de escán máx. 3. Calcule el tiempo de escán de . Este cálculo estimado supone la operación de todas las instrucciones una vez por cada escán de operación. / (. () , ()( - ( *,),' ))+/ 0), ( 4( / .$ '*) % /$6( *,),' /() .) - $(-.,/$)( - - ( 0 , ,- *3($ *, # , -.) 4. Sume los valores en las columnas del tiempo de escán mínimo y máximo. 3 465 3675 -/.). 3 465 5626 -/.). 5. Sume el tiempo de overhead de (178 para tiempo de escán mín.; 278 para tiempo de escán máx.) a los subtotales estimados en el paso 4. - -.)- -/.). - (/ 0)- *, /, )0 ,# )'/($$6( ( *-) 3853 -/.). 5804 -/.). 6. Calcule el overhead de / )0 ,# )'/($$6( !)() '/.$*$+/ -/.). *, .$ '*) -2( '4( -.$') ( *-) (., '/.$*$+/ -/.). *, .$ '*) -2( '21 (., 0), '21 .)' ( / (. , .$0 7 / )0 ,# )'/($$6( *,$' , *() *), .$ '*) -2( '4($') 5 *), .$ '*) -2( '21$') 5 .$ '*) -2( '21$') .)' ( / (. +/ *,),'), -.2 )( .) *,) -), )(0$ ,. µ- ( '- $0$$ () (., 1 3853 µ- 3853 µ- 1 6617 µ- 8927 µ- 3.85 '- 8.9 '-
  • 619.
    Referencias de instruccionesde programación E–1 E Referencias de instrucciones de programación Este apéndice lista todas las instrucciones de programación disponibles además de los parámetros, modos de direccionamiento válidos y tipos de archivo de las mismas.
  • 620.
    Preface Manual de referenciadel juego de instrucciones E–2 Modos de direccionamiento válidos y tipos de archivo Los modos de direccionamiento siguientes están disponibles: Modo de direccionamiento Ejemplo #%! #%! ! ! #%! ! Los tipos de archivo siguientes están disponibles: • O Salida • I Entrada • S Estado • B Binario • T Temporizador • C Contador • R Control • N Entero • F FlotarÀ • A ASCIIÀ • ST CadenaÀ • M M0/M1Á • Inmediato — indica que una constante es un tipo de archivo válido À !'! $! % !# !$ #!$!#$ ' Á ! !'! !# !$ ! %#!!#$ #!!
  • 621.
    Referencias de instruccionesde programación E–3 Cómo comprender los modos de direccionamientos diferentes Las descripciones siguientes le ayudarán a comprender cómo estructurar un tipo específico de dirección. Direccionamiento directo Los datos almacenados en la dirección especificada se usa en la instrucción. Por ejemplo: N7:0 T4:8.ACC ST20:5 Direccionamiento indexado Usted puede especificar una dirección como indexada colocando el carácter “#” al frente de la dirección. Cuando una dirección de esta forma se encuentra en el programa, el procesador toma el número de elemento de la dirección y lo suma al valor contenido en el registro de índice S:24 y usa el resultado como la dirección real. Por ejemplo: #N7:10 donde S:24 = 15 La dirección real usada por la instrucción es N7:25. Direccionamiento indirecto Usted puede especificar una dirección como indirecta reemplazando el número de archivo, el número de elemento o el número de subelemento con un símbolo [Xf:e.s]. La dirección de palabra dentro de los corchetes es encuestada en busca de un valor. Luego, el valor encuestado se convierte en la porción de archivo, elemento o subelemento de la dirección indirecta. Por ejemplo: B3:[N10:2] declara que la dirección de elemento del archivo de bit 3 es contenida en la dirección N10:2. Por lo tanto, si N10:2 contiene el valor 5, B3:[N10:2] se refiere indirectamente a la dirección B3:5. Otros ejemplos incluyen: N7:[N7:0] N[N7:0]:[N7:1] N7[T4:0.ACC] C5:[N7:0] Direccionamiento indirecto indexado Usted puede especificar una combinación de direccionamiento indirecto e indexado. El procesador primero resuelve la porción indirecta de la dirección y luego, añade el offset del registro de índice S:24 para crear la dirección final. Por ejemplo: #N7:[N10:3] donde N10:3 = 20 and S:24 = 15 La dirección real usada por la instrucción es N7:35.
  • 622.
    Preface Manual de referenciadel juego de instrucciones E–4 Instrucción Descripción Parámetro de instrucción Modo(s) de direccionamiento válido(s) Tipos de archivo válidos Valores inmediatos À 1! ) (), () $/ $ '+)'$ #) +' #,'* )+ ) * Á $') *'$,+' !, + #) +' #) +' # -' ##) +' ##) +' # -' !2%#!2%- *+#' #) +' #) +' # -' ##) +' ##) +' # -' #,'* À 1% )' )+ ) * 1! ) $ '+)'$ #) +' #,'* )+ ) * À + )' !, + #) +' ##) +' #,'* *+#' #) +' #) +' # -' ##) +' ##) +' # -' #,'* À 1! ) '))' $ 1! ) +)*%#*#0 ' 0 */ 1! ) ) (#0 ' 0 */ À '+ ' !, + #) +' ##) +' #,'* !, + #) +' ##) +' #,'* *+#' #) +' #,'* Á )' '* ' !, + #) +' #) +' # -' ##) +' ##) +' # -' !2%#!2%- *+#' #) +' #) +' # -' ##) +' ##) +' # -' #,'* À '(')+' *'$% + (') $'* ()' *') * . Á '(')+' *'$% + (') $'* ()' *') * .
  • 623.
    Referencias de instruccionesde programación E–5 Instrucción Descripción Parámetro de instrucción Modo(s) de direccionamiento válido(s) Tipos de archivo válidos Valores inmediatos /(, $/#).# ,#!.* ,#!.* )#0* ),#!.* ),#!.* )#0* $6()$6(0 $/#).# ,#!.* ,#!.* )#0* ),#!.* ),#!.* )#0* $6()$6(0 #-.)* ,#!.* ,#!.* )#0* ),#!.* ),#!.* )#0* ))%/)* À 0.,!!4) # !#) $/#).# ,#!.* ),#!.* ))%/)* 3)!# ,#!.* ,#!.* )#0* ),#!.* ),#!.* )#0* )5(#,* ,#!.* ,#!.* )#0* ),#!.* ),#!.* )#0* #-.)* ,#!.* ))%/)* À 3)#- # !*(/)!6 !4) # #-. '#!(#).* ,#-. '#!(#).* !)' 2-!, ,#!.* ,#!.* )#0* ),#!.* ),#!.* )#0* 2-!, ,#!.* ,#!.* )#0* ),#!.* ),#!.* )#0* !*).,*' ,#!.* ))%/)* #-.* # !)' À ).#,* !#) $/#).# ,#!.* ,#!.* )#0* ),#!.* ),#!.* )#0* #-.)* ,#!.* ))%/)* *+#,*, '4%!* $/#).# ,#!.* ,#!.* )#0* ),#!.* ),#!.* )#0* $/#).# ,#!.* ,#!.* )#0* ),#!.* ),#!.* )#0* #-.)* ,#!.* ,#!.* )#0* ),#!.* ),#!.* )#0* ))%/)* À *+*,.* -*'(#).# +*, '*- +,*!#-*,#- 1
  • 624.
    Preface Manual de referenciadel juego de instrucciones E–6 Instrucción Descripción Parámetro de instrucción Modo(s) de direccionamiento válido(s) Tipos de archivo válidos Valores inmediatos À +,) ) %# *+% )+ %%!,% %+)# )+ %%!,% #%!+, % )+)* #0* À +,) #0% %# *+% )+ %%!,% %+)# )+ %%!,% #%!+, % )+)* #0* À 2*(, #0% ,%+ )+ %)+ %%!,% 0% )+ )+ %- %)+ %)+ %- 2*(, )+ %)+ %%!,% )*,#+ )+ )+ %- %)+ %)+ %- %%!,% Á ) *% ,%+ )+ )+ %- %)+ %)+ %- 3$0% 3$/- *+% )+ )+ %- %)+ %)+ %- %%!,% À $')1% % ,%+ )+ %)+ %%!,% ,%+ )+ %)+ %%!,% Á ) +%!%+ ,%+ )+ )+ %- %)+ %)+ %- 3$0% 3$/- *+% )+ )+ %- %)+ %)+ %- %%!,% À '. *#$%+ ') #* ')*)* . Á '. *#$%+ ') #* ')*)* .
  • 625.
    Referencias de instruccionesde programación E–7 Instrucción Descripción Parámetro de instrucción Modo(s) de direccionamiento válido(s) Tipos de archivo válidos Valores inmediatos À +*#,-* ' /' $ -, #*,' #!-' ',*'$ #*,' #!-' $'!#,- * ,*+%#,#'+ À +*#,-* $ -, #*,' #!-' ',*'$ #*,' #!-' $'!#,- * ,*+%#,#'+ +($1%#,' $ #1)-#* *#.' #*,' #/' ##*,' #/' #!-' ',*'$ #*,' #!-' #*#2 #, #*,' ##*,' #!-' $'!#,- +($1%#,' $ * *#.' #*,' #/' ##*,' #/' #!-' ',*'$ #*,' #!-' #*#2 #, #*,' ##*,' #!-' $'!#,- '*** +,#' #*,' #*,' #/' ##*,' ##*,' #/' #!-' À '('*,' +'$%, ('* $'+ (*'+'*+ 0
  • 626.
    Preface Manual de referenciadel juego de instrucciones E–8 Instrucción Descripción Parámetro de instrucción Modo(s) de direccionamiento válido(s) Tipos de archivo válidos Valores inmediatos COP Copiar archivo fuente directo indexado, indirecto indexado O, I, S, B, T, C, R, N, F, A, ST, M ninguno destino directo indexado, indirecto indexado O, I, S, B, T, C, R, N, F, A, ST, M ninguno longitud 1-128 COSÁ Coseno fuente directo, directo indexado, indirecto, indirecto indexado O, I, S, B, T, C, R, N, F, A, ST, M -32,768-32,767 fĆmín-fĆmáx destino directo, directo indexado, indirecto, indirecto indexado O, I, S, B, T, C, R, N, F, A, ST, M ninguno CPTÁ Calcular destino directo, directo indexado, indirecto, indirecto indexado O, I, S, B, T, C, R, N, F, A, ST, M ninguno expresión expresión CTD Conteo - contador directo C ninguno preseleccionado -32,768-32,767 acumulador -32,768-32,767 CTU Conteo + contador directo C ninguno preseleccionado -32,768-32,767 acumulador -32,768-32,767 DCD Descodificar 4 a 1 de 16 fuente directo, directo indexado, indirecto, indirecto indexado O, I, S, B, T, C, R, N, A, ST, M ninguno destino directo, directo indexado, indirecto, indirecto indexado O, I, S, B, T, C, R, N, A, ST, M ninguno DDV Doble división fuente directo, directo indexado, indirecto, indirecto indexado O, I, S, B, T, C, R, N, A, ST, M -32,768-32,767 destino directo, directo indexado, indirecto, indirecto indexado O, I, S, B, T, C, R, N, A, ST, M ninguno DEGÁ Radianes a grados fuente directo, directo indexado, indirecto, indirecto indexado O, I, S, B, T, C, R, N, F, A, ST, M -32,768-32,767 fĆmín-fĆmáx destino directo, directo indexado, indirecto, indirecto indexado O, I, S, B, T, C, R, N, F, A, ST, M ninguno Á Soportado solamente por los procesadores SLC 5/03 OS302 y SLC 5/04 OS401.
  • 627.
    Referencias de instruccionesde programación E–9 Instrucción Descripción Parámetro de instrucción Modo(s) de direccionamiento válido(s) Tipos de archivo válidos Valores inmediatos DIV División fuente A directo, directo indexado, indirecto, indirecto indexado O, I, S, B, T, C, R, N, F, A, ST, M -32,768-32,767 fĆmín-fĆmáx fuente B directo, directo indexado, indirecto, indirecto indexado O, I, S, B, T, C, R, N, F, A, ST, M -32,768-32,767 fĆmín-fĆmáx destino directo, directo indexado, indirecto, indirecto indexado O, I, S, B, T, C, R, N, F, A, ST, M ninguno ENCÂ Codificar (encode) 1 de 16 a 4 fuente directo, directo indexado, indirecto, indirecto indexado O, I, S, B, T, C, R, N, A, ST, M ninguno destino directo, directo indexado, indirecto, indirecto indexado O, I, S, B, T, C, R, N, A, ST, M ninguno EQU Igual fuente A directo, directo indexado, indirecto, indirecto indexado O, I, S, B, T, C, R, N, F, A, ST, M ninguno fuente B directo, directo indexado, indirecto, indirecto indexado O, I, S, B, T, C, R, N, F, A, ST, M -32,768-32,767 fĆmín-fĆmáx FFLÃ Carga FIFO fuente directo, directo indexado, indirecto, indirecto indexado O, I, S, B, T, C, R, N, A, ST, MÆ -32,768-32,767 gama FIFO directo indexado, indirecto indexado O, I, S, B, N, A ninguno control FIFO directo R ninguno longitud 1-128 posición 0-127 FFUÃ Descarga FIFO gama FIFO directo indexado, indirecto indexado O, I, S, B, N, A ninguno destino directo, directo indexado, indirecto, indirecto indexado O, I, S, B, T, C, R, N, A, ST, MÆ ninguno control FIFO directo R ninguno longitud 1-128 posición 0-127 Â Soportado solamente por los controladores MicroLogix 1000. Ã Soportado solamente por los procesadores SLC 5/02, SLC 5/03 y SLC 5/04 y controladores MicroLogix 1000. Æ El direccionamiento indexado no se permite cuando se usan direcciones T, C, R o M.
  • 628.
    Preface Manual de referenciadel juego de instrucciones E–10 Instrucción Descripción Parámetro de instrucción Modo(s) de direccionamiento válido(s) Tipos de archivo válidos Valores inmediatos FLL Llenar archivo fuente directo, indirecto O, I, S, B, T, C, R, N, F, A, ST, M -32,768-32,767 fĆmín-fĆmáx destino directo indexado, indirecto indexado O, I, S, B, T, C, R, N, F, A, ST, M ninguno longitud 1-128 FRD De BCD a binario fuente (SLC 5/01) directo O, I, S, B, T, C, R, N, A, ST, M ninguno fuente (SLC 5/02, SLC 5/03, SLC 5/04, controladores MicroLogix 1000) directo, directo indexado, indirecto, indirecto indexado O, I, S, B, T, C, R, N ninguno destino directo, directo indexado, indirecto, indirecto indexado O, I, S, B, T, C, R, N, A, ST, M ninguno GEQ Mayor o igual que fuente A directo, directo indexado, indirecto, indirecto indexado O, I, S, B, T, C, R, N, F, A, ST, M ninguno fuente B directo, directo indexado, indirecto, indirecto indexado O, I, S, B, T, C, R, N, F, A, ST, M -32,768-32,767 fĆmín-fĆmáx GRT Mayor que fuente A directo, directo indexado, indirecto, indirecto indexado O, I, S, B, T, C, R, N, F, A, ST, M ninguno fuente B directo, directo indexado, indirecto, indirecto indexado O, I, S, B, T, C, R, N, F, A, ST, M -32,768-32,767 fĆmín-fĆmáx HSCÅ Contador de alta velocidad (SLC 5/01) contador ninguno preseleccionado 1-32,767 HSC Contador de alta veloc. tipo 0-7 contador directo C ninguno preseleccionado -32,768-32,767 acumulador -32,768-32,767 HSD Interr. HSC desactiva contador directo C ninguno HSE Interr. HSC activa contador directo C ninguno  Soportado solamente por los controladores MicroLogix 1000. Å Soportado solamente por los procesadores L20, L30, and L40 con entradas de DC.
  • 629.
    Referencias de instruccionesde programación E–11 Instrucción Descripción Parámetro de instrucción Modo(s) de direccionamiento válido(s) Tipos de archivo válidos Valores inmediatos HSLÂ Carga HSC contador directo C ninguno fuente directo B y N ninguno longitud siempre 5 IIDÆ Interrupción de E/S desactiva ranuras palabra hex doble (lista de ranuras IIEÆ Interrupción de E/S activa ranuras palabra hex doble (lista de ranuras IIM Entrada inmediata con máscara ranura directo I ninguno máscara directo, directo indexado, indirecto, indirecto indexado O, I, S, B, T, C, R, N, A, ST, M -32,768-32,767 longitud (SLC 5/03 y SLC 5/04) 1-32 INTÃ Interrupción de E/S ninguno IOM Salida inmediata con máscara ranura directo O ninguno máscara directo, directo indexado, indirecto, indirecto indexado O, I, S, B, T, C, R, N, A, ST, M -32,768-32,767 longitud (SLC 5/03 y SLC 5/04) 1-32 JMP Saltar no. de etiqueta 0-999 JSR Saltar a subrutina número de archivo de subrutina 3-255 LBL Etiqueta no. de etiqueta 0-999 Â Soportado solamente por los controladores MicroLogix 1000. Ã Soportado solamente por los procesadores SLC 5/02, SLC 5/03 y SLC 5/04 y los procesadores MicroLogix 1000. Æ Soportado solamente por los procesadores SLC 5/02, SLC 5/03 y SLC 5/04.
  • 630.
    Preface Manual de referenciadel juego de instrucciones E–12 Instrucción Descripción Parámetro de instrucción Modo(s) de direccionamiento válido(s) Tipos de archivo válidos Valores inmediatos LEQ Menos o igual que fuente A directo, directo indexado, indirecto, indirecto indexado O, I, S, B, T, C, R, N, F, A, ST, M ninguno fuente B directo, directo indexado, indirecto, indirecto indexado O, I, S, B, T, C, R, N, F, A, ST, M -32,768-32,767 fĆmín-fĆmáx LES Menos que fuente A directo, directo indexado, indirecto, indirecto indexado O, I, S, B, T, C, R, N, F, A, ST, M ningunos fuente B directo, directo indexado, indirecto, indirecto indexado O, I, S, B, T, C, R, N, F, A, ST, M -32,768-32,767 fĆmín-fĆmáx LFLà Carga LIFO fuente directo, directo indexado, indirecto, indirecto indexado O, I, S, B, T, C, R, N, A, ST, MÄ -32,768-32,767 gama LIFO directo indexado, indirecto indexado O, I, S, B, N, A ninguno control LIFO directo R ninguno longitud 1-128 posición 0-127 LFUà Descarga LIFO gama LIFO directo indexado, indirecto indexado O, I, S, B, N, A ninguno destino directo, directo indexado, indirecto, indirecto indexado O, I, S, B, T, C, R, N, A, ST, MÄ ninguno control LIFO directo R ninguno longitud 1-128 posición 0-127 LIMà Test lím (circ) límite bajo directo, directo indexado, indirecto, indirecto indexado O, I, S, B, T, C, R, N, F, A, ST, M -32,768-32,767 fĆmín-fĆmáx prueba directo, directo indexado, indirecto, indirecto indexado O, I, S, B, T, C, R, N, F, A, ST, M -32,768-32,767 fĆmín-fĆmáx límite alto directo, directo indexado, indirecto, indirecto indexado O, I, S, B, T, C, R, N, F, A, ST, M -32,768-32,767 fĆmín-fĆmáx à Soportado solamente por los procesadores SLC 5/02, SLC 5/03 y SLC 5/04 y los controladores MicroLogix 1000. Ä El direccionamiento indexado no se permite cuando se usan direcciones T, C, R o M.
  • 631.
    Referencias de instruccionesde programación E–13 Instrucción Descripción Parámetro de instrucción Modo(s) de direccionamiento válido(s) Tipos de archivo válidos Valores inmediatos LNÁ Logaritmo natural fuente directo, directo indexado, indirecto, indirecto indexado O, I, S, B, T, C, R, N, F, A, ST, M -32,768-32,767 fĆmín-fĆmáx destino directo, directo indexado, indirecto, indirecto indexado O, I, S, B, T, C, R, N, F, A, ST, M ninguno LOGÁ Logaritmo en base 10 fuente directo, directo indexado, indirecto, indirecto indexado O, I, S, B, T, C, R, N, F, A, ST, M -32,768-32,767 fĆmín-fĆmáx destino directo, directo indexado, indirecto, indirecto indexado O, I, S, B, T, C, R, N, F, A, ST, M ninguno MCR Restab. control maestro ninguno MEQ Comparación con máscara para igual fuente directo, directo indexado, indirecto, indirecto indexado O, I, S, B, T, C, R, N, A, ST, M ninguno máscara de fuente directo, directo indexado, indirecto, indirecto indexado O, I, S, B, T, C, R, N, A, ST, M -32,768-32,767 comparación directo, directo indexado, indirecto, indirecto indexado O, I, S, B, T, C, R, N, A, ST, M -32,768-32,767 MOV Mover fuente directo, directo indexado, indirecto, indirecto indexado O, I, S, B, T, C, R, N, F, A, ST, M -32,768-32,767 fĆmín-fĆmáx destino directo, directo indexado, indirecto, indirecto indexado O, I, S, B, T, C, R, N, F, A, ST, M ninguno MSG (5/02 only) Mensaje lectura/escritura 0=lect.,1=escrit. (5/02 only) dispositivo destino 2=500CPU, 4=485CIF bloque de control directo N ninguno long. bloque contr. 7 dirección local directo O, I, S, B, T, C, R, N, A ninguno nodo destino 0-31 dirección destino directo O, I, S, B, T, C, R, N, A 0-255 longitud de mensaje T, C, R 1-13 mensaje I, O, S, B, N 1-41 Á Soportado solamente por los procesadores SLC 5/03 OS302 y SLC 5/04 OS401.
  • 632.
    Preface Manual de referenciadel juego de instrucciones E–14 Instrucción Descripción Parámetro de instrucción Modo(s) de direccionamiento válido(s) Tipos de archivo válidos Valores inmediatos MSG (5/03 y 5/04 Mensaje tipo 64=sem. a sem. (5/03 y 5/04 solamente) lectura/escritura 0=lect., 1=escrit. dispositivo destino 2=500CPU, 4=485CIF, 8=PLC5 local/remoto 16=local, 32=remoto bloque de control directo N ninguno long. bloque contr. 14 no. de canal 0 ó 1 nodo destino 0-31, 0-254 if 485CIF ID de vínculo de puente remoto 0-254, 0 cuando local dirección de nodo de puente remoto 0-254 0 cuando local dirección de nodo de puente local 0-254, 0xFFFF cuando local dirección de archivo local directo O, I, S, B, T, C, R, N, F, A, ST, MÇ ningunos dirección de archivo destino directo O, I, S, B, T, C, R, N, F, A, ST, MÇ 0-255 longitud de mensaje O, I, S, B, N, AÇ 1-103 mensaje FÇ 1-51 T 1-34 ó si PLC5: 1-20 C, R 1-34 STÇ 2 ó si PLC5: 1 lím. tmpo. sobreĆ pasado mensaje 0-255 Ç Los tipos de archivo F, A y ST se aplican solamente a SLC 5/03 OS301 ó posteriores y SLC 5/04.
  • 633.
    Referencias de instruccionesde programación E–15 Instrucción Descripción Parámetro de instrucción Modo(s) de direccionamiento válido(s) Tipos de archivo válidos Valores inmediatos *)!!!/$ *$) !')% !')% !$,% !$!')% !$!')% !$,% 0#.$0#-, *$) !')% !')% !$,% !$!')% !$!')% !$,% 0#.$0#-, ()!$% !')% !')% !$,% !$!')% !$!')% !$,% $!$ *$% %+' %$ #-(' *$) !')% !')% !$,% !$!')% !$!')% !$,% $!$ *$% #-(