Incrustar presentación
Descargar para leer sin conexión

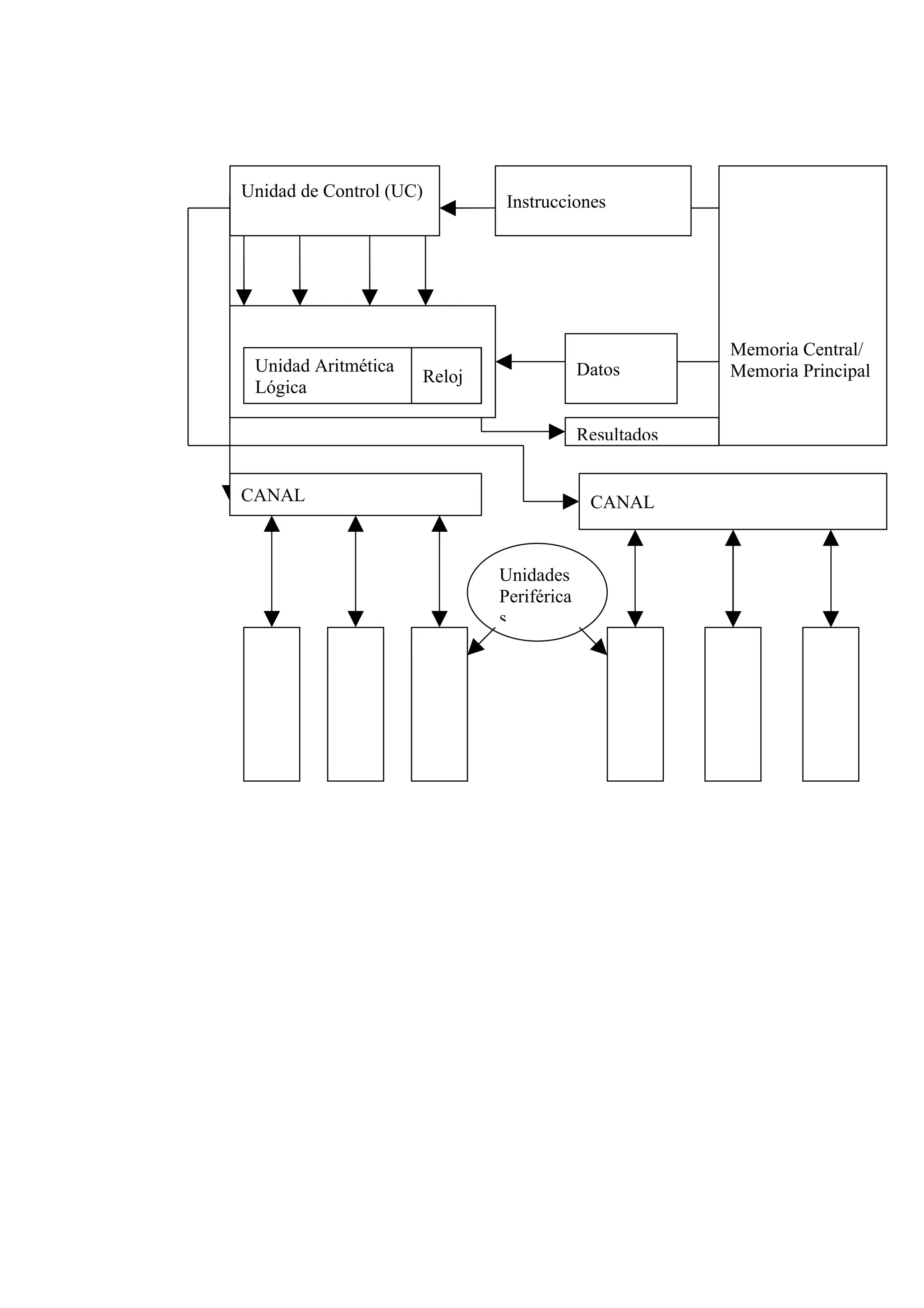
La unidad central de procesamiento (CPU) es el cerebro de una computadora. Se compone de una unidad aritmética y lógica (ALU), una memoria central y canales de entrada y salida que se comunican a través de una memoria principal para procesar y almacenar datos e instrucciones y enviar resultados a las unidades periféricas.
