Incrustar presentación
Descargar para leer sin conexión

















































































































































































































































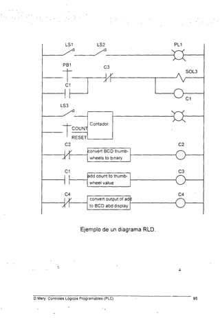
Este documento trata sobre controladores lógicos programables (PLC). Explica brevemente qué es un PLC, su desarrollo histórico y sus aplicaciones industriales. Luego describe los fundamentos del control lógico, incluyendo sistemas numéricos como el binario, y conceptos como compuertas lógicas. Finalmente, detalla la estructura de un PLC, lenguajes de programación, y ejemplos de programación y aplicaciones.















































































































































































































































