NORMA TÉCNICA NTC
COLOMBIANA 5786
2010-09-20
MÉTODOS DE ENSAYO PARA ALAMBRES Y
CABLES
E: WIRE AND CABLE TEST METHODS
CORRESPONDENCIA: esta norma es idéntica (IDT) por
traducción de la UL 2556:2007.
DESCRIPTORES: conductor eléctrico; cable eléctrico,
cable, alambre eléctrico, alambre,
método de ensayo.
I.C.S.: 29.060.20
Editada por el Instituto Colombiano de Normas Técnicas y Certificación (ICONTEC)
Apartado 14237 Bogotá, D.C. - Tel. (571) 6078888 - Fax (571) 2221435
Prohibida su reproducción Editada 2010-09-27
PRÓLOGO
El Instituto Colombiano de Normas Técnicas y Certificación, ICONTEC, es el organismo
nacional de normalización, según el Decreto 2269 de 1993.
ICONTEC es una entidad de carácter privado, sin ánimo de lucro, cuya Misión es fundamental
para brindar soporte y desarrollo al productor y protección al consumidor. Colabora con el
sector gubernamental y apoya al sector privado del país, para lograr ventajas competitivas en
los mercados interno y externo.
La representación de todos los sectores involucrados en el proceso de Normalización Técnica
está garantizada por los Comités Técnicos y el período de Consulta Pública, este último
caracterizado por la participación del público en general.
La NTC 5786 fue ratificada por el Consejo Directivo de 2010-09-20.
Esta norma está sujeta a ser actualizada permanentemente con el objeto de que responda en
todo momento a las necesidades y exigencias actuales.
A continuación se relacionan las empresas que colaboraron en el estudio de esta norma a
través de su participación en el Comité Técnico 140 Cables y conductores de potencia y
energía.
ATLANTIC CABLE S.A.
CABLES DE ENERGÍA Y DE
TELECOMUNICACIONES S.A. -CENTELSA-
CABLETEC
CODENSA
DIELCO LTDA.
DIPEL ANDINA
ELECTRIFICADORA DEL CARIBE S.A. E.S.P.
FÁBRICA COLOMBIANA DE
CONDUCTORES ELÉCTRICOS -FACELEC-
FABRICA DE CABLES Y ENCHUFES E.U.
INDUCABLES
NEXANS COLOMBIA
PRODUCTORADECABLESLTDA.-PROCABLES-
PROTÉCNICA INGENIERÍA
VIAKON
Además de las anteriores, en Consulta Pública el Proyecto se puso a consideración de las
siguientes empresas:
CABLES Y PROCESOS
CARBOQUÍMICA S.A.
CENTRALES ELÉCTRICAS DE NORTE
DE SANTANDER
CIDET
COLREDES DE OCCIDENTE S.A.
COMPONENTES TÉCNICOS S.A.
CONALCABLES LTDA.
CONDUBLEX
ELECTBUS COLOMBIA LTDA.
ELÉCTRICOS DE COLOMBIA S.A.
ELECTRIFICADORA DE SANTANDER
ELECTRO TÉCNICAS S.A.
EMCOCABLES
EMPRESA DE ENERGÍA DE BOYACÁ
EMPRESA DE ENERGÍA DE
CUNDINAMARCA
EMPRESA DE ENERGÍA DEL QUINDÍO
EMPRESAS PÚBLICAS DE MEDELLÍN
GEÓN ANDINA
GESTIÓN Y METROLOGÍA
INTERCONEXIÓN ELÉCTRICA S.A.
MINISTERIO DE COMERCIO, INDUSTRIA
Y TURISMO
MINISTERIO DE MINAS Y ENERGÍA
PHELPS DODGE
PRINCEX C.I. COLOMBIA
SUPERINTENDENCIA DE INDUSTRIA Y
COMERCIO
UNIVERSIDAD NACIONAL DE COLOMBIA
UNIVERSIDAD PEDAGÓGICA Y
TECNOLÓGICA DE COLOMBIA
ICONTEC cuenta con un Centro de Información que pone a disposición de los interesados
normas internacionales, regionales y nacionales y otros documentos relacionados.
DIRECCIÓN DE NORMALIZACIÓN
NORMA TÉCNICA COLOMBIANA NTC 5786
CONTENIDO
Página
0. ACLARACIÓN..............................................................................................................1
1. OBJETO Y CAMPO DE APLICACIÓN ........................................................................1
2. GENERALIDADES.......................................................................................................1
2.1 UNIDADES DE MEDIDA ..............................................................................................1
2.2 REFERENCIAS NORMATIVAS ...................................................................................1
2.3 SEGURIDAD.................................................................................................................3
2.4 DEFINICIONES.............................................................................................................4
2.5 TEMPERATURA DE ENSAYO ....................................................................................4
2.6 INFORMES ...................................................................................................................4
3. ENSAYOS DEL CONDUCTOR....................................................................................5
3.1 DIÁMETRO DEL CONDUCTOR ..................................................................................5
3.2 ÁREA DE SECCIÓN TRANSVERSAL POR EL MÉTODO DE MASA (PESO)...........5
3.3 ÁREA DE SECCIÓN TRANSVERSAL POR EL MÉTODO DE DIÁMETRO .............10
3.4 RESISTENCIA DEL CONDUCTOR A LA CORRIENTE CONTINUA........................10
3.5 PROPIEDADES FÍSICAS DE LOS CONDUCTORES
(RESISTENCIA A LA TENSIÓN, ELONGACIÓN A LA ROTURA
Y RESISTENCIA ÚLTIMA).........................................................................................12
3.6 CICLOS DE CALENTAMIENTO POR CORRIENTE ALTA,
PARA CONDUCTORES DE ALUMINIO....................................................................15
3.7 LONGITUD DE PASO ................................................................................................17
NORMA TÉCNICA COLOMBIANA NTC 5786
Página
4. ENSAYOS DE MATERIALES DE AISLAMIENTO Y CHAQUETA............................18
4.1 ESPESOR...................................................................................................................18
4.2 PROPIEDADES FÍSICAS
(ELONGACIÓN ÚLTIMA Y RESISTENCIA A LA TENSIÓN)....................................21
4.3 TEMPERATURA NOMINAL EN AMBIENTE SECO, DE MATERIALES
NUEVOS (ENSAYO DE ENVEJECIMIENTO A LARGO PLAZO).............................28
4.4 CONTENIDO DE NEGRO DE HUMO ........................................................................30
5. ENSAYOS DE COMPONENTES ...............................................................................31
5.1 RECUBRIMIENTO DE TRENZAS DE MATERIAL FIBROSO...................................31
5.2 RECUBRIMIENTO DE PANTALLA (ENVOLTURAS Y TRENZAS)..........................31
6. ENSAYOS ELÉCTRICOS PARA ALAMBRE Y CABLE TERMINADOS ..................33
6.1 CONTINUIDAD...........................................................................................................33
6.2 RESISTENCIA DEL DIELÉCTRICO A LA TENSIÓN................................................35
6.3 RUPTURA DEL DIELÉCTRICO.................................................................................37
6.4 RESISTENCIA DE AISLAMIENTO ............................................................................38
6.5 CAPACITANCIA Y PERMITIVIDAD RELATIVA........................................................40
6.6 FACTOR DE ESTABILIDAD......................................................................................42
6.7 ENSAYO DE CHISPA ................................................................................................43
6.8 ENSAYO DE ARCO NORMAL...................................................................................45
6.9 ENSAYO DE ARCO POR FLEXIÓN..........................................................................47
6.10 RESISTENCIA DE LA CHAQUETA...........................................................................49
6.11 ENSAYO DE CORRIENTE DE FUGA A CORRIENTE ALTERNA............................50
NORMA TÉCNICA COLOMBIANA NTC 5786
Página
7. ENSAYOS MECÁNICOS PARA ALAMBRES Y CABLES TERMINADOS...............51
7.1 PENETRACIÓN DE MATERIALES EXTRUIDOS......................................................51
7.2 CHOQUE TÉRMICO...................................................................................................52
7.3 RESISTENCIA AL CHOQUE TÉRMICO ...................................................................53
7.4 RETRACCIÓN ............................................................................................................54
7.5 DOBLADO EN FRÍO ..................................................................................................55
7.6 IMPACTO EN FRÍO....................................................................................................56
7.7 DEFORMACIÓN.........................................................................................................57
7.8 CEDENCIA GRADUAL POR CALOR (HOT CREEP) - ELONGACIÓN Y
DEFORMACIÓN REMANENTE (HOT CREEP SET).................................................59
7.9 RESISTENCIA A LA ABRASIÓN ..............................................................................61
7.10 RESISTENCIA AL APLASTAMIENTO ......................................................................62
7.11 RESISTENCIA AL IMPACTO.....................................................................................64
7.12 RUPTURA DIELÉCTRICA DESPUÉS DE IMPACTO OBLICUO .............................65
7.13 FLEXIBILIDAD A TEMPERATURA AMBIENTE DESPUÉS
DE ENVEJECIMIENTO ..............................................................................................67
7.14 FLEXIBILIDAD DE LA CINTA SEPARADORA BAJO UNA CHAQUETA................68
7.15 HINCHAZÓN Y AMPOLLAMIENTO CUANDO SE SUMERGE EN LÍQUIDO...........68
7.16 DURABILIDAD DE LA IMPRESIÓN CON TINTA......................................................70
7.17 RECUBRIMIENTO DE COLOR..................................................................................71
7.18 RESISTENCIA MECÁNICA........................................................................................73
7.19 ENSAYO DE FLEXIÓN EN CONDUCTORES CON RECUBRIMIENTO
DE NAILON ................................................................................................................74
7.20 TENSIÓN MECÁNICA DEL AISLAMIENTO..............................................................75
7.21 FLEXIÓN DE CABLES CON PANTALLA .................................................................76
NORMA TÉCNICA COLOMBIANA NTC 5786
Página
8. ENSAYOS AMBIENTALES PARA ALAMBRE Y CABLE TERMINADO..................77
8.1 CORROSIÓN DEL COBRE........................................................................................77
9. ENSAYO DE CARACTERÍSTICAS DE FLAMEO .....................................................78
9.1 LLAMA HORIZONTAL FT2/FH..................................................................................78
9.2 PARTÍCULAS ENCENDIDAS (GOTEO)....................................................................80
9.3 FT1..............................................................................................................................81
9.4 FV-2/VW-1 ..................................................................................................................83
9.5 FV-1/LLAMA VERTICAL ...........................................................................................85
9.6 ENSAYOS DE LLAMA CON BANDEJA VERTICAL
(MÉTODO 1. BANDEJA VERTICAL Y MÉTODO 2 - FT4)........................................85
9.7 HUMO LIMITADO ST1 ...............................................................................................91
9.8 PROPAGACIÓN DEL FUEGO/RPI............................................................................93
9.9 EMISIÓN DE HUMO...................................................................................................97
9.10 EMISIÓN DE GASES HALÓGENOS ÁCIDOS ........................................................100
9.11 EMISIÓN DE GASES ÁCIDOS ................................................................................104
DOCUMENTO DE REFERENCIA........................................................................................167
ANEXOS
ANEXO A (Informativo)
RETIRO DEL AISLAMIENTO DEL CONDUCTOR PARA PROBETAS
TUBULARES........................................................................................................................141
ANEXO B (Informativo)
DETERMINACIÓN DE LA DENSIDAD................................................................................142
NORMA TÉCNICA COLOMBIANA NTC 5786
Página
ANEXO C (Informativo)
CÁLCULO DE LA MUESTRA PARA LA DETERMINACIÓN DE LA ELONGACIÓN
ÚLTIMA O RESISTENCIA A LA TENSIÓN EN 300 D ........................................................144
ANEXO D (Normativo)
ESTABLECIMIENTO DE PARÁMETROS Y REQUISITOS
PARA EL ENSAYO DE ENVEJECIMIENTO A CORTO PLAZO EN HORNO
DE AIRE FORZADO ............................................................................................................146
ANEXO E (Normativo)
DETERMINACIÓN DEL FACTOR DE CORRECCIÓN DE TEMPERATURA .....................147
ANEXO F (Normativo)
PROCEDIMIENTO Y CÁLCULOS PARA DETERMINAR EL GRADO
DE COBERTURA DE LOS RECUBRIMIENTOS FIBROSOS.............................................150
ANEXO G (Normativo)
CÁLCULO DE LA COBERTURA DEL BLINDAJE (ENVOLTURAS Y TRENZAS)............152
ANEXO H (Normativo)
CERRAMIENTO PARA EL ENSAYO Y CONDUCTO DE ESCAPE ...................................154
ANEXO I (Informativo)
CONVERSIÓN DEL pH A GAS ÁCIDO (como % de HCl)
Y GAS ÁCIDO (COMO % DE HCL) A pH ...........................................................................163
ANEXO J (Informativo)
CORRELACIÓN DE LOS MÉTODOS DE ENSAYO DE ALAMBRE
Y CABLE NMX CON LA NORMA UL 2556/CSA C22.2 No. 2556......................................165
FIGURAS
Figura 1. Fatiga por flexión................................................................................................112
Figura 2. Conexión de las guías (receptáculos dobles)..................................................113
Figura 3. Detalle de la conexión de las guías (receptáculos dobles) ............................114
Figura 4. Base de terminal (latón 70/30)...........................................................................115
Figura 5. Descripción del tornillo......................................................................................116
Figura 6. Sección anular tomada del aislamiento ..........................................................116
Figura 7. Configuración de la cadena tipo perla. Vista superior ...................................117
NORMA TÉCNICA COLOMBIANA NTC 5786
Página
Figura 8. Guía para el ensayo de arco por flexión...........................................................117
Figura 9. Diagrama del circuito eléctrico para el ensayo de arco por flexión ..............118
Figura 10. Circuito para la medición de corriente de fuga de c.a
de cada conductor de circuito a conductor de puesta a tierra ......................................118
Figura 11. Circuito para la medición de corriente de fuga de c.a
de cada conductor de circuito a la chaqueta...................................................................119
Figura 12. Equipo para el ensayo de deformación..........................................................119
Figura 13. Equipo para elongación y cedencia gradual por calor .................................120
Figura 14. Equipo para el ensayo de abrasión ...............................................................121
Figura 15. Equipo para el ensayo de impacto..................................................................122
Figura 16. Equipo para el ensayo de impacto oblicuo....................................................123
Figura 17. Equipo para el ensayo de resistencia mecánica ...........................................124
Figura 18. Preparación de probetas paralelas de multiconductores
para el ensayo de tensión mecánica del aislamiento .....................................................125
Figura 19. Equipo para ensayo de flexión de cordones con pantalla ...........................125
Figura 20. Bloque de ángulo..............................................................................................126
Figura 21. Aplicación de la llama sobre la probeta horizontal.......................................126
Figura 22. Aplicación de la llama sobre la probeta vertical............................................127
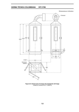
Figura 23. Cámara para el ensayo de propagación del fuego........................................128
Figura 24. Detalle 1 de las dimensiones de la cámara para el ensayo
de propagación del fuego..................................................................................................129
Figura 25. Detalle 2 de las dimensiones de la cámara para el ensayo
de propagación del fuego..................................................................................................130
Figura 26. Quemadores para el ensayo de propagación del fuego...............................131
Figura 27. Chimenea metálica de la cámara de ensayo de propagación del fuego.....132
NORMA TÉCNICA COLOMBIANA NTC 5786
Página
Figura 28. Tubo de acero inoxidable de la cámara de ensayo
de propagación del fuego..................................................................................................133
Figura 29. Barra de cobre para calibración de temperatura en el ensayo
de propagación del fuego..................................................................................................134
Figura 30. Disposición de la probeta entre quemadores usados en la cámara
de ensayo de propagación del fuego ...............................................................................135
Figura 31. Sistema de combustión para el ensayo de emisión de gases
halógenos ácidos ...............................................................................................................136
Figura 32. Gráfico de titulación típico ..............................................................................138
Figura 33. Gráfico de titulación de un blanco..................................................................138
Figura 34. Equipo de ensayo de producción de gas ácido. Método 1...........................139
Figura 35 Equipo de ensayo de producción de gas ácido. Método 2............................140
TABLAS
Tabla 1. Factores de ajuste para resistencia de conductores........................................109
Tabla 2. Tasa de separación de las mordazas de la máquina de tensión.....................109
Tabla 3. Variaciones de temperatura ................................................................................110
Tabla 4. Temperatura de ensayo para valores nominales de
temperatura seca de materiales nuevos ..........................................................................110
Tabla 5. Cables de menos de 13 mm (0,51 pulgadas de diámetro)................................110
Tabla 6. Cables de 13 mm (0,51 pulgadas de diámetro) o de diámetro mayor .............110
Tabla 7. Conversión del porcentaje de transmitancia a la densidad
óptica específica.................................................................................................................111
NORMA TÉCNICA COLOMBIANA NTC 5786
1 de 167
MÉTODOS DE ENSAYO PARA ALAMBRES Y CABLES
0. ACLARACIÓN
Para los propósitos de esta norma se han hecho los siguientes cambios editoriales con respecto
a su documento de referencia:
a) En la Norma Técnica Colombiana se establecen los requisitos en el sistema
internacional y entre paréntesis sus equivalentes en el sistema libra - pulgada.
b) El punto decimal ha sido reemplazado por la coma decimal.
1. OBJETO Y CAMPO DE APLICACIÓN
Esta norma describe los aparatos, métodos de ensayo y fórmulas que se van a utilizar para
llevar a cabo los ensayos y cálculos requeridos por las normas de alambres y cables eléctricos.
NOTA Los requisitos específicos de aceptación se indican en las normas de producto individuales.
2. GENERALIDADES
2.1 UNIDADES DE MEDIDA
La unidad de medida debe ser el SI (Sistema Internacional). Si un valor de medida va seguido
por un valor en otra unidad, indicado entre paréntesis, el segundo valor representa una
conversión directa o un valor alternativo. Excepto para el calibre de conductores, el primer valor
establecido es el requisito.
2.2 REFERENCIAS NORMATIVAS
Para las referencias no fechadas a estas normas, se debe considerar que aluden a la edición
más reciente, y todas las actualizaciones de esa edición, hasta el momento en que esta norma
fue aprobada. Para referencias fechadas a estas normas, se debe considerar que se alude a la
edición fechada y a todas las actualizaciones publicadas de esa edición hasta el momento en
que la norma fue aprobada.
NMX-E-034-SCFI, Plastic Industry. Carbon Black Contents on Polyethylene Materials. Test
Methods.
NORMA TÉCNICA COLOMBIANA NTC 5786
2
NMX-J-178-ANCE, Electrical Products. Wires and Cables. Determination of Cross Sectional
Area of Stranded Electrical Conductors Related to the Mass. Test Method.
NMX-J-192-ANCE, Flame Test on Electrical Wires. Test Method.
NMX-J-417-ANCE, Wires and Cables. Convection Laboratory Ovens for Evaluation of Electrical
Insulation. Specifications and Test Methods.
NMX-J-437-ANCE, Wires and Cables. Determination of Light Absorption Coefficient of
Polyethylene Pigmented with Carbon Black. Test Methods.
NMX-J-474-ANCE, Electrical Products. Wires and Cables. Determination of Specific Optical
Density of Smoke Generated by Electrical Wires and Cables. Test Methods.
NMX-J-498-ANCE, Vertical Tray. Flame Test. Test Method.
NMX-J-553-ANCE, Wires and Cables. Weather Resistance of Insulation or Jacket of Electrical
Conductors. Test Method.
CSA (Canadian Standards Association)
CAN/CSA-C22.2 No. 126.1-02, Metal Cable Tray Systems.
ASTM (American Society for Testing and Materials)
ASTM A29/A29M-03, Standard Specification for Steel Bars, Carbon and Alloy, Hot-Wrought and
Cold-Finished, General Requirements for
ASTM D412-98a(2002)e1, Standard Test Methods for Vulcanized Rubber and Thermoplastic
Rubbers and Thermoplastic Elastomers - Tension.
ASTM D471-98e1, Standard Test Method for Rubber Property-Effect of Liquids.
ASTM D1603-01, Standard Test Method for Carbon Black in Olefin Plastics.
ASTM D1835-05, Standard Specification for Liquefied Petroleum (LP) Gases.
ASTM D4218-96(2001), Standard Test Method for Determination of Carbon Black Content in
Polyethylene Compounds by the Muffle-Furnace Technique.
ASTM D5025-05, Standard Specification for Laboratory Burner Used for Small-Scale Burning
Tests on Plastic Materials.
ASTM D5207-03, Standard Practice for Confirmation of 20-mm (50-W) and 125-mm (500-W)
Test Flames for Small-Scale Burning Tests on Plastic Materials.
ASTM D5374-93(1999), Standard Test Methods for Forced-Convection Laboratory Ovens for
Evaluation of Electrical Insulation.
ASTM D5423-93(1999), Standard Specification for Forced-Convection Laboratory Ovens for
Evaluation of Electrical Insulation.
ASTM D6370-99(2003), Standard Test Method for Rubber-Compositional Analysis by
Thermogravimetry.
NORMA TÉCNICA COLOMBIANA NTC 5786
3
ASTM E8-01e2, Standard Test Methods for Tension Testing of Metallic Materials.
ASTM E662-03e1, Standard Test Method for Specific Optical Density of Smoke Generated by
Solid Materials.
ASTM E1131-03, Standard Test Method for Compositional Analysis by Thermogravimetry.
ASTM G151-00, Standard Practice for Exposing Nonmetallic Materials in Accelerated Test
Devices that Use Laboratory Light Sources.
ASTM G153-00ae1, Standard Practice for Operating Enclosed Carbon Arc Light Apparatus for
Exposure of Nonmetallic Materials.
ASTM G155-00ae1, Standard Practice for Operating Xenon Arc Light Apparatus for Exposure
of Non-Metallic Materials.
GPA (Gas Processors Association)
GPA 2140-97, Liquefied Petroleum Gas Specifications and Test Methods.
IEC (International Electrotechnical Commission)
IEC 60695-11-20 (2003-08), Fire hazard testing. Part 11-20: Test flames. 500 W flame test
methods.
ISO (International Organization for Standardization)
ISO 10093:1998, Plastics. Fire tests. Standard ignition sources.
NEMA (National Electrical Manufacturers Association)
VE1-2002, Metal Cable Tray Systems.
2.3 SEGURIDAD
2.3.1 Esta norma no pretende abordar todos los aspectos de seguridad asociados con su uso.
Es responsabilidad del usuario de esta norma entrenar personal, establecer los procedimientos
de salud y seguridad apropiados y conocer y cumplir las restricciones reglamentarias locales,
estatales, provinciales y nacionales que se aplican.
2.3.2 Peligros químicos
Algunos ensayos utilizan materiales que las agencias locales, estatales, provinciales y
nacionales han determinado que son peligrosos. Estos ensayos se deben llevar a cabo en
condiciones controladas que permitan la seguridad y la protección apropiadas del personal. Se
debe seguir la información y las instrucciones contenidas en las hojas de datos de seguridad de
materiales (HDSM) para el manejo, operación y disposición final de los químicos peligrosos.
Además, las descargas de estos químicos al medio ambiente, es decir, al aire, al agua o al
suelo, deben cumplir las reglamentaciones aplicables más recientes.
2.3.3 Peligros eléctricos
Algunos procedimientos de ensayo requieren alta tensión. Es importante que los equipos estén
diseñados para cumplir con buenas prácticas de ingeniería, en donde la seguridad es parte
NORMA TÉCNICA COLOMBIANA NTC 5786
4
integral del diseño. Para evitar choques eléctricos en estos casos, se deben tomar las
precauciones necesarias y se deben seguir las recomendaciones de los fabricantes de
equipos.
2.3.4 Peligros mecánicos
Algunos equipos que utilizan equipos mecánicos pueden exponer a los operadores a peligros
mecánicos. Se deben proteger contra lesiones los ojos, los dedos, las manos y otras partes del
cuerpo.
2.3.5 Peligros térmicos
En los ensayos que requieren temperaturas elevadas se deben tomar precauciones para evitar
quemaduras en la piel cuando se manipulan materiales expuestos al calor.
2.3.6 Peligros de incendio y explosión
Algunos ensayos utilizan materiales que las agencias locales, estatales, provinciales y
nacionales han determinado que son peligrosos. Estos ensayos se deben llevar a cabo en
condiciones controladas que permitan la seguridad y la protección apropiadas del personal. Se
debe seguir la información y las instrucciones contenidas en las hojas de datos de seguridad de
materiales (HDSM) para el manejo de los materiales. Algunos gases se pueden asentar y
pueden llegar a explotar. Consulte al proveedor de gas acerca de las precauciones especiales
que se deben tomar.
2.4 DEFINICIONES
En esta norma se aplican las siguientes definiciones. Los términos que se usan en esta norma
y que se han definido en este numeral, se presentan en mayúsculas en tamaño de letra
reducida:
Dirección de paso. La dirección, designada hacia la derecha (en el sentido de las manecillas
del reloj) o hacia la izquierda (en sentido contrario a las manecillas del reloj), en la cual
cualquier componente se aleja de un observador que mira a lo largo del eje longitudinal del
conductor o ensamble.
Longitud de paso. La longitud a lo largo del eje longitudinal del conductor o ensamble para
que cualquier componente realice una vuelta completa.
Visión normal. Visión sin ayuda, excepto los lentes de corrección normales del evaluador, si
los requiere.
Temperatura ambiente. 25 °C ± 10 °C (77 °F ± 18° F).
2.5 TEMPERATURA DE ENSAYO
Los ensayos deben realizarse a TEMPERATURA AMBIENTE, a menos que se especifique de
otra manera.
2.6 INFORMES
Además de los requisitos específicos sobre presentación de informes para cada ensayo, en
todos los informes debe incluirse, como mínimo, lo siguiente:
NORMA TÉCNICA COLOMBIANA NTC 5786
5
a) Nombre del laboratorio de ensayo;
b) Fecha del informe;
c) Descripción del producto;
d) Nombre del ensayo realizado; y
e) Resultados del ensayo.
3. ENSAYOS DEL CONDUCTOR
3.1 DIÁMETRO DEL CONDUCTOR
3.1.1 Objeto
Este ensayo establece el método para determinar el diámetro del conductor.
3.1.2 Equipo
El equipo debe constar de:
a) un micrómetro con superficies planas tanto en la mordaza fija como en el extremo del
husillo, con una resolución y una precisión de 0,001 mm (o con una resolución y una
precisión de 0,0001 pulgada);
b) un calibrador con una resolución y precisión de 0,001 mm (o con una resolución y una
precisión de 0,0001 pulgada), o
c) un micrómetro láser con una resolución y precisión de 0,001 mm (o con una resolución y
una precisión de 0,0001 pulgada).
3.1.3 Preparación de las probetas
Las probetas se deben tomar de una muestra de alambre, cable o cordón terminado o durante
su fabricación, y se deben retirar de su aislamiento o cubiertas circundantes (cuando las haya)
y enderezarlas con cuidado para no estirarlas.
3.1.4 Procedimiento
Se deben hacer tres mediciones de los diámetros máximo y mínimo. Todas las mediciones de
un conductor cableado se deben hacer sobre los hilos y no en los intersticios. Las mediciones
del diámetro se deben hacer cerca de cada extremo y en el centro de la probeta.
3.1.5 Resultados y cálculos
El diámetro debe ser el promedio de las seis mediciones.
3.2 ÁREA DE SECCIÓN TRANSVERSAL POR EL MÉTODO DE MASA (PESO)
3.2.1 Objeto
Este ensayo establece el método para determinar el área de sección transversal de un
conductor por el método de masa (peso).
NORMA TÉCNICA COLOMBIANA NTC 5786
6
3.2.2 Equipo
El equipo debe constar de:
a) Una balanza con una precisión de 0,1 % de la masa medida, y
b) un dispositivo para medición de longitud con una precisión de 0,1 % de la longitud
medida.
3.2.3 Preparación de las probetas
La probeta se debe tomar de una muestra de alambre, cable o cordón terminado o durante su
fabricación, y se deben retirar de su aislamiento o cubiertas circundantes (cuando las haya) y
enderezarlas con cuidado para no estirarlas.
3.2.4 Procedimiento
La probeta de ensayo debe ser una longitud recta de un conductor cortado de una muestra de
conductor, cable o cordón terminado, o durante su fabricación. La longitud de la probeta debe
ser de 1 m mínimo (3 pies) para calibres hasta 8,37 mm2
(8 AWG) y 0,5 m para más de 8,37 mm2
(8 AWG).
La probeta debe estar a TEMPERATURA AMBIENTE y ambos extremos deben estar
perpendiculares al eje longitudinal del conductor. La probeta se debe pesar, y la densidad del
material del conductor se debe usar para calcular el área de sección transversal.
3.2.5 Resultados y cálculos
3.2.5.1
( )( )
( )
( )cmilmm
k
mL
Área 2
100
100/0001
+
=
ρ
en donde:
M = masa, g (libra)
L = longitud, mm (pie)
ρ = densidad, g/cm
3
(libra/(cmil • 1 000 pies))
= para cobre, desnudo o recubierto de estaño, aleación de plomo o níquel, 8,89 g/cm3
(0,003 027 lb/(cmil•1 000 pies)
= para cobre, recubierto de plata, 8,95 g/cm3
(0,001 130 lb/ (cmil• 1 000 pies))
= para aluminio, aleación 1350, 2,70 g/cm
3
(0,000 919 lb / (cmil• 1 000 pies))
= para aluminio, ACM, 2,71 g/cm
3
(0,000 924 lb / (cmil• 1 000 pies))
= para níquel, 8,80 g/cm3
(0,002996 libras / (cmil• 1 000 pies))
= para hierro, 7,87 g/cm3
(0,002 680 libras / (cmil• 1 000 pies))
k = incremento de peso en porcentaje debido al cableado de hilos.
= 0 para sólido
NORMA TÉCNICA COLOMBIANA NTC 5786
7
= 2 para cables concéntricos y entorchados (bunchados).
= 3 a 6 para conductores con torones, que tienen elementos con cableado concéntrico (clases G y H)
como sigue:
49 conductores o menos, k = 3
133 conductores, k = 4
259 conductores, k = 4,5
427 conductores, k = 5
Más de 427 conductores, k = 6
= 4 a 7 para conductores con torones, que tienen elementos con cableado concéntrico
(Clases I, K y M), como sigue:
7 elementos entorchados (bunchados), k = 4
19 elementos entorchados (bunchados), k = 5
7 x 7 elementos entorchados (bunchados), k = 6
19 x 7 elementos entorchados (bunchados), k = 7
37 x 7 elementos entorchados (bunchados), k = 7
61 x 7 elementos entorchados (bunchados), k = 7
3.2.5.2 En el caso de alguna duda relacionada con el cumplimiento del área, el incremento en
el peso real debido al cableado se debe calcular usando la fórmula siguiente:
k = 100 (m – 1)
a) Para un conductor o unidad concéntrica
x
xx
c
nnn
mnmnmn
m
++++
++++
=
...
...
21
2211
1
1
en donde
mc = incremento en la relación debido al cableado concéntrico
nx = número de conductores en capa x
( ) 2
1 ⎟
⎠
⎞
⎜
⎝
⎛ −
+=
L
dD
mx
π
en donde:
mx = incremento en la relación debido al cableado,
D = diámetro sobre la capa,
d = diámetro del conductor o componente individual,
L = longitud de paso de la capa,
NOTA Las dimensiones pueden ser en milímetros o pulgadas, siempre y cuando sean consistentes en
todo el cálculo.
NORMA TÉCNICA COLOMBIANA NTC 5786
8
b) para un conductor o unidad entorchada (bunchada).
( )
2
2
1 ⎟
⎟
⎠
⎞
⎜
⎜
⎝
⎛ −
+=
L
dD
mb
π
en donde:
mb = incremento de la relación debido al entorchado (bunchado).
D = diámetro sobre la unidad entorchada (bunchada).
d = diámetro del conductor individual.
L = longitud de paso del entorchado (bunchado).
NOTA Las dimensiones pueden ser en milímetros o pulgadas, siempre y cuando sean consistentes en
todo el cálculo.
c) para conductores con torones con una operación de cableado de torones, calcule mR
basado en mb y mc, considerando las unidades individuales como si fueran conductores
macizos:
mR = mu mc o m = mu mb
en donde
mu = incremento de la relación debido a la conformación en uno solo (cableado de torones
sencillo), en donde mu se calcula para el ensamble en torón sencillo, de la misma manera
que mc o mb, tratando como macizo cada componente entorchado (bunchado) o
concéntrico.
d) Para conductores con múltiples torones con dos operaciones de cableado, se calcula
mm con base en mb y mc anteriores, tratando los cables individuales como si fueran
conductores macizos:
mm = mr mu mc o m = mr mu mb
en donde
mr = incremento de la relación debido a cableado de torones (segunda operación de cableado
de torones) y se calcula para el ensamble de múltiples torones de la misma manera que
mu x mc ó mu x mb, tratando como macizo cada componente de torón.
e) Para un conductor de cableado de paso único combinado de alambre redondo, de 19
alambres (esta variedad de conductor de paso único consta de un alambre central recto
de diámetro D, una capa interna de seis alambres de diámetro D, cada uno de los
cuales tiene una longitud de paso designada como LOL, y una capa externa que consta
de seis alambres de diámetro D alternados con seis alambres más pequeño con un
diámetro 0,732 x D y con todos los doce alambres de la capa externa de la misma
longitud de paso LOL y dirección de paso que los seis alambres de la capa interna); la
aplicación de la primera fórmula en el literal (a) da
( )
( )2
4
2
32
73206661
73206661
,
,
x
xx
+++
+++
=
mmm
M combinadoúnicopaso
en donde
m2 = incremento de la relación (factor de paso de capa) para la capa interna
NORMA TÉCNICA COLOMBIANA NTC 5786
9
m3 = incremento de la relación para los alambres de diámetro D en la capa externa
m4 = incremento de la relación para los alambres de 0,732 x D en la capa externa
Como en el literal (a)
22
1 nm /π+=
en donde
n = relación de paso:
= para el alambre central de diámetro D, n1 = infinito
= para los 6 alambres de diámetro D en la capa interna
D
LOL
n
2
2 =
= para los 6 alambres de diámetro D en la capa externa
D
LOL
n
4643
3
,
=
= para los 6 alambres de diámetro 0,732 x D en la capa externa
D
LOL
n
7323
4
,
=
Cuando n2 y n3 y n4 son cada uno iguales o exceden 10, un cálculo de
22
1 nm /π+=
es
( ) 2
22 93484
121
n
nm
,
/ +=+= π
entonces
( )2
2
2 2739191
LOL
D
m x,+=
( )2
2
3 1214591
LOL
D
m x,+=
( )2
2
4 0731681
LOL
D
m x,+=
y
( )2
LOL
2
combinadoúnicopaso
D
284242,1=M x+
y
( )2
2
4228
LOL
D
k x=
NORMA TÉCNICA COLOMBIANA NTC 5786
10
3.3 ÁREA DE SECCIÓN TRANSVERSAL POR EL MÉTODO DE DIÁMETRO
3.3.1 Objeto
Este ensayo establece el método para determinar el área de sección transversal de cualquier
conductor sólido o cableado empleando medición (mediciones) de diámetro.
3.3.2 Equipo
El equipo debe ser como el descrito en el numeral 3.1.2.
3.3.3 Preparación de las probetas
La preparación de la probeta debe ser como la descrita en el numeral 3.1.3.
3.3.4 Procedimiento
Se deben determinar los diámetros máximo y mínimo en cada extremo y en el centro del
conductor o hilo que se está midiendo. El diámetro debe ser el promedio de seis mediciones.
3.3.5 Resultados y cálculos
El área del alambre sólido debe calcularse de la siguiente manera
42
/dA π=
en donde
A = área de sección transversal, mm2
d = diámetro, mm
ó
cma = d2
x 106
en donde
cma = área en circular mil (milésimas de pulgada)
d = diámetro, pulgada
El área de sección transversal del conductor debe calcularse como la suma del área (las áreas)
del conductor sólido o cableado.
3.3.6 Informe
El informe debe incluir, como mínimo, el área de sección transversal del conductor.
3.4 RESISTENCIA DEL CONDUCTOR A LA CORRIENTE CONTINUA
3.4.1 Objeto
Este ensayo establece el método para determinar la resistencia de un conductor a la corriente
continua.
NORMA TÉCNICA COLOMBIANA NTC 5786
11
3.4.2 Equipo
El equipo debe constar de
a) un dispositivo de medición de 4 terminales para probetas de resistencia de 1 Ω ó
menos, con una exactitud de ± 0,5 %
b) un dispositivo de medición de 4 ó 2 terminales para probetas de resistencia mayor a 1 Ω,
con una exactitud de ± 0,5 %
c) un dispositivo de medición de temperatura con una exactitud de ± 1 °C y
d) un dispositivo de medición de longitud con una exactitud hasta del 0,1 % de la longitud
medida.
Para (a) y (b) cuando sea aplicable, la resistencia de las puntas de prueba del equipo (unión
entre el patrón de referencia y la probeta de ensayo) no debe ser inferior a 0,1 % ya sea del
patrón de referencia o de la probeta de ensayo, a menos que se utilice un método adecuado de
compensación del conductor, o se tenga conocimiento de que el espiral y las relaciones del
conductor están lo suficientemente equilibradas de modo que la variación en la resistencia de
las puntas no disminuya la exactitud del puente por debajo de los requisitos nominales.
3.4.3 Preparación de las probetas
3.4.3.1 La probeta debe ser de una longitud tomada de un hilo, cable o cordón terminado o en
fabricación, y debe tener las siguientes características:
a) una resistencia de mínimo 0,000 01 Ω (10 µΩ) en la longitud de ensayo entre contactos
de tensión;
b) no debe presentar grietas o defectos en la superficie, visibles con VISIÓN NORMAL y
debe estar sustancialmente libre de óxido superficial, suciedad y grasa; y
c) no debe tener empalmes.
3.4.3.2 Se debe permitir que el patrón de referencia y la probeta de ensayo lleguen a la misma
temperatura que el medio circundante.
3.4.4 Procedimiento
3.4.4.1 Se debe determinar la resistencia eléctrica del conductor empleando el dispositivo de
medición descrito en el numeral 3.4.2. Cuando se emplea un dispositivo de medición de
4 terminales, la distancia entre cada contacto de tensión y el correspondiente contacto de
corriente debe ser mínimo 4,7 veces la circunferencia de la probeta.
Se debe tener cuidado de mantener baja la magnitud de la corriente y minimizar el tiempo de
medición para evitar un cambio en la resistencia.
3.4.4.2 Se debe registrar la temperatura de ensayo, que debe estar en el intervalo de 10 °C a
35 °C en el momento en que se toma la medición de la resistencia.
3.4.4.3 Se debe registrar la longitud de la probeta bajo ensayo, entre los puntos de contacto de
tensión.
NORMA TÉCNICA COLOMBIANA NTC 5786
12
3.4.5 Resultados y cálculos
3.4.5.1 La resistencia de una probeta medida a una temperatura diferente de 20 °C (ó 25 °C)
según lo determine la norma del producto se debe corregir a la resistencia a 20 °C (ó 25 °C)
por medio del factor multiplicador aplicable de la Tabla 1.
3.4.5.2 Se debe calcular la resistencia por longitud unitaria (R) del conductor a partir de la
siguiente fórmula:
R = r/L
en donde
R = resistencia por longitud unitaria del conductor a 20 °C (ó 25 °C), Ω/km
r = resistencia medida de la probeta corregida a 20 °C (ó 25 °C), mΩ
L = longitud de la probeta entre puntos de contacto de tensión, m
3.4.6 Informe
El informe debe incluir, como mínimo, la resistencia a la corriente continua.
3.5 PROPIEDADES FÍSICAS DE LOS CONDUCTORES (Resistencia a la tensión,
elongación a la rotura y resistencia última)
3.5.1 Máxima resistencia a la tensión y elongación a la rotura
3.5.1.1 Objeto
Este ensayo establece el método para determinar la máxima resistencia a la tensión y la
elongación a la rotura, de un conductor macizo, un hilo único tomado de un conductor cableado
o un conductor cableado como unidad.
NOTA El ensayo en un conductor cableado como unidad se aplica sólo a conductores de aleación de aluminio
Serie 8000.
3.5.1.2 Equipo
El equipo debe constar de:
a) Una máquina con motor provista de un dispositivo que indique la carga máxima real a la
cual se rompe la probeta. La máquina debe estar en capacidad de operar a velocidades
de la mordaza accionada mecánicamente, de 12 mm/min a 305 mm/min (0,5 pulgadas/min
a 12 pulgadas/min) y tener una precisión de 20 % de la velocidad establecida. La
tensión aplicada como se indica debe tener una exactitud de 2 %, o menos, del valor
medido; y
NOTA 1 En la norma ASTM D412 se especifica un método para calibrar la máquina.
NOTA 2 Se han encontrado aceptables las mordazas como se describen en la norma ASTM E8.
b) Un dispositivo para medición de longitud con una exactitud de 1 % de la longitud
medida.
NORMA TÉCNICA COLOMBIANA NTC 5786
13
3.5.1.3 Preparación de probetas
El ensayo debe hacerse sobre un alambre que ha sido retirado cuidadosamente del cable o
cordón, terminado o en proceso de fabricación, mientras que no se alteren las propiedades de
la probeta de ensayo. La probeta debe enderezarse con cuidado y cortarse a una longitud
suficiente para permitir un espacio de aproximadamente 0,3 m (12 pulgadas) entre las
mordazas de la máquina de ensayo de tensión cuando la probeta se encuentra en la posición
de ensayo inicial. Se deben hacer marcas de referencia en la probeta enderezada, en dos
puntos a una distancia de 250 mm ± 2 mm (10 pulgadas ± 0,08 pulgadas) entre sí.
3.5.1.4 Procedimiento
La probeta debe sujetarse en las mordazas de la máquina con las marcas de referencia entre
las mordazas, y se debe hacer que éstas se separen a la velocidad indicada en la Tabla 2
hasta que la probeta se rompa. Para que se acepte como válida, la ruptura debe ocurrir entre
las marcas de referencia y no debe estar a menos de 25 mm (1 pulgada) de cualquiera de las
marcas de referencia. Se debe registrar la carga máxima antes de la ruptura. Se debe registrar
la distancia entre las marcas de referencia en el momento de la ruptura, con aproximación a 2 mm
(0,08 pulgadas)
3.5.1.5 Resultados y cálculos
Se debe calcular la resistencia a la tensión a partir de la siguiente fórmula empleando el
diámetro original de la probeta d, medido como se describe en el numeral 3.1:
( )2
2
4
pulgada/lbfMPa
d
W
π
en donde
W = carga máxima antes de la rotura, N (lb)
d = diámetro, mm (pulgadas)
El porcentaje de elongación debe calcularse a partir de la siguiente fórmula:
100
250
250
x
−L
en donde
L = distancia entre las marcas de referencia en el momento de la rotura, mm
ó
100
10
10
x
−L
en donde
L = distancia entre las marcas de referencia en el momento de la rotura, pulgadas
3.5.1.6 Informe
El informe debe incluir, como mínimo, lo siguiente:
a) resistencia máxima a la tensión y
b) elongación a la rotura.
NORMA TÉCNICA COLOMBIANA NTC 5786
14
3.5.2 Resistencia a la rotura
3.5.2.1 Objeto
Este ensayo determina la carga a la cual se rompe cualquier componente de un conductor de
aluminio con refuerzo de acero (ACSR).
3.5.2.2 Equipo
El equipo debe constar de:
a) Una máquina de motor provista de un dispositivo que indique la carga máxima real a la
cual se rompe la probeta. La máquina debe estar en capacidad de funcionar a
velocidades de la mordaza accionada mecánicamente de 12 mm/min a 305 mm/min (0,5
pulgadas/min a 12 pulgadas/min) y de tener una precisión de 20 % de la velocidad
establecida. La tensión aplicada como se indica debe tener una exactitud de 2 %, o
menos, del valor medido; y
b) Conectores tipo compresión o de otro tipo adecuado.
3.5.2.3 Preparación de probetas
El ensayo debe hacerse sobre un conductor ACSR terminado; en caso de tener aislamiento,
antes del ensayo éste debe retirarse.
Los conectores deben aplicarse a una longitud de conductor terminado de forma que haya una
distancia de 1,2 m (48 pulgadas) entre los conectores. Si ocurre una falla, como se indica en la
norma de producto, debe realizarse un ensayo de arbitraje utilizando una distancia mínima de
15 m (50 pies) entre los conectores.
3.5.2.4 Procedimiento
Los conectores deben sujetarse en las mordazas de la máquina y la probeta debe estirarse a
una velocidad de 12 mm/min ± 2 mm/min (0,5 ± 0,1 pulgada/min) hasta que ocurra la rotura de
cualquiera de los hilos.
3.4.2.5 Resultados y cálculos
Debe registrarse la carga máxima.
3.4.2.6 Informe
El informe debe incluir, como mínimo, la carga máxima.
3.5.3 Fatiga por doblado
3.5.3.1 Objeto
Este ensayo determina la resistencia a la fatiga por doblamiento de un conductor macizo.
3.5.3.2 Equipo
El equipo debe constar de:
NORMA TÉCNICA COLOMBIANA NTC 5786
15
a) Un dispositivo de sujeción;
b) Una base metálica para doblar la probeta; y
c) Dos mandriles metálicos que tengan un diámetro igual al de la probeta +0 %, -10 %,
fijos al dispositivo de sujeción, como se muestra en la Figura 1.
3.5.3.3 Preparación de la probeta
Deben quitarse todas las cubiertas de la probeta; ésta debe enderezarse y después sujetarse
firmemente en el dispositivo de sujeción con un mínimo de 150 mm (6 pulgadas) que sobresale
de los mandriles.
3.5.3.4 Procedimiento
3.5.3.4.1 Utilizando la base metálica, la probeta debe doblarse sobre un mandril a un ángulo de
90°, enderezarse y después doblarse en dirección contraria sobre el otro mandril a un ángulo
de 90° y nuevamente enderezarse. Éste debe considerarse un ciclo.
3.5.3.4.2 El procedimiento descrito en el numeral 3.5.3.4.1 debe repetirse hasta que la probeta
se fracture.
NOTA La base metálica se utiliza para asegurar que la probeta concuerde estrechamente con la superficie del
mandril.
3.5.3.5 Resultados y cálculos
Debe registrarse el número de ciclos realizados, incluidos los ciclos parciales.
3.5.3.6 Informe
El informe debe incluir, como mínimo, el número de ciclos realizados, incluidos los ciclos
parciales.
3.6 CICLOS DE CALENTAMIENTO POR CORRIENTE ALTA, PARA CONDUCTORES DE
ALUMINIO
3.6.1 Objeto
Este ensayo establece el método para determinar la conectividad entre conductores macizos
de aluminio.
3.6.2 Equipo
El equipo debe ser como se muestra en las Figuras 2 y 3, y debe constar de 15 guías de
ensayo (terminales de receptáculo doble) que tengan las características siguientes:
a) Una base terminal como se muestra en la Figura 4, hecha con una lámina de bronce
ASTM 70/30 de 0,76 mm ± 0,03 mm (0,030 pulgadas ± 0,001 pulgadas), dureza
Rockwell B 82-86.
b) Los tornillos deben ser de acero al carbono AISI* 1010 y estar ubicados en centros de
21,4 mm (0,84 pulgadas). Véase la Figura 5 para la descripción de los tornillos.
*American Iron and Steel Institute.
NORMA TÉCNICA COLOMBIANA NTC 5786
16
NOTA Se recomienda acero al carbono de conformidad con la norma ASTM A29.
c) La otra base terminal (lado neutro) debe ser igual a la descrita en el literal (a) pero,
además, debe tener revestimiento por inmersión en estaño de espesor menor que
0,003 mm (0,0001 pulgadas).
d) Los dos tornillos de sujeción, tamaño 8-32, utilizados en la base terminal color blanco,
deben revestirse con zinc de espesor mínimo de 0,003 mm (0,0001 pulgadas) y tener un
recubrimiento cromado.
e) Los otros dos tornillos de sujeción, tamaño 8-32, en el lado de color amarillo (línea) de la
guía, deben revestirse con zinc de espesor mínimo de 0,003 mm (0,0001 pulgadas) y
terminado en bronce.
f) Los tornillos deben correr libremente cuando se aprieten con los dedos hasta que la
cabeza del tornillo tenga contacto con el conductor.
3.6.3 Preparación de probetas
Deben prepararse para el ensayo 31 probetas de conductores de aluminio macizo aislado de
3,31 mm2
(12 AWG) de 610 mm a 685 mm (24 pulgadas a 27 pulgadas) de longitud,
3.6.4 Procedimiento
3.6.4.1 El conductor de ensayo debe conectarse para formar un circuito bajo la cabeza del
tornillo. El extremo del conductor de ensayo que va a conectarse a los tornillos de sujeción del
dispositivo debe formarse en un plano que tenga un doblez como se muestra en la Figura 3,
con el diámetro interior del doblez igual a 0,5 mm o un valor aproximado (0,02 pulgadas) mayor
que el diámetro nominal del tornillo terminal del dispositivo. El extremo del conductor no debe
proyectarse debajo de la cabeza del tonillo por más de la mitad del diámetro del conductor de
ensayo.
3.6.4.2 Los tornillos terminales deben apretarse a un par de torsión de 0,68 N·m (6,0 lbf-
pulgada) y mantenerse así durante 30 s. Las guías deben conectarse a los tornillos terminales
A y B por medio de una pieza de conductor de aluminio de 610 mm a 685 mm (24 pulgadas a
27 pulgadas). Los tornillos terminales C y D de cada guía deben conectarse con una pieza de
conductor de 610 mm a 685 mm (24 pulgadas a 27 pulgadas). Un termopar (Tipo J de hierro
constatan No. 30 AWG) debe cementarse o soldarse como se muestra en la Figura 4, en el
punto medio (en la orejeta de desconexión) de cada placa de base terminal entre los tornillos.
Estas guías deben conectarse a una fuente constante de corriente de 40 A, 60 Hz y someterse
a 500 ciclos de operación, cada ciclo conformado por 3,5 h encendido y 0,5 h apagado. Debe
tenerse cuidado de no alterar los conductores de conexión después de aplicar el par de torsión.
3.6.4.3 La medición de temperatura debe tomarse de acuerdo con el método descrito en los
numerales 3.6.4.3.1 y 3.6.4.3.2.
3.6.4.3.1 Las mediciones de temperatura en cada conexión deben hacerse iniciando con el
ciclo número 25 y de ahí en adelante cada 25 ciclos, para un total de 5 mediciones. Las
mediciones deben hacerse cada 40 ciclos para un total de 3 mediciones, y cada 80 ciclos para
un total de 3 mediciones. Lo anterior dará como resultado 11 mediciones en total para cada
conexión.
NOTA El ciclo de medición puede variar en relación con lo especificado, hasta permitir que se realice durante las
horas regulares de trabajo.
NORMA TÉCNICA COLOMBIANA NTC 5786
17
3.6.4.3.2 La estabilidad de la conexión debe determinarse por los criterios siguientes:
a) En ningún punto del ensayo debe haber incremento de temperatura que exceda de
100 °C sobre la temperatura ambiente; y
b) El factor de estabilidad (ΔT) debe determinarse para cada uno de los 11 puntos de
datos para cada una de las conexiones bajo monitoreo (el factor de estabilidad se define
como el incremento de temperatura máximo de cualquier punto de datos, sobre el
incremento de temperatura promedio de todos los 11 puntos de datos para una
conexión particular). Los puntos de datos son aquellos descritos en el numeral 3.6.4.3.1.
Para cada punto monitoreado, ΔT no debe ser mayor que 10 °C.
3.6.4.4 Cuando las temperaturas exceden 175 °C (medición de 1 termopar) dentro de los
primeros 50 ciclos de ensayo, el resultado no debe tomarse en cuenta para el desempeño total.
El dispositivo debe retirarse y sustituirse por dos guías de ensayo nuevas. Éstas deben
insertarse dentro del circuito de tal manera que no alteren las conexiones del conductor ni las
otras guías de ensayo.
3.6.5 Resultados y cálculos
Las temperaturas medidas por los 30 termopares deben registrarse al final de los 500 ciclos.
3.6.6 Informe
El informe debe incluir, como mínimo, la temperatura medida en los termopares.
3.7 LONGITUD DE PASO
3.7.1 Objeto
Este ensayo establece el método para determinar la longitud de paso de cualquier componente
de un conductor o ensamble.
3.7.2 Equipo
El equipo debe constar de un dispositivo de medición de longitud con una exactitud de 1 mm
(0,04 pulgadas).
3.7.3 Preparación de las probetas
3.7.3.1 Componentes no cubiertos (conductores o ensambles)
De la muestra se debe cortar una probeta de una longitud mínima de 4 veces la longitud de
paso máxima permitida para el componente que se va a medir. La probeta debe asegurarse
firmemente en ambos extremos a una superficie de trabajo para garantizar que los
componentes no puedan desenrollarse.
3.7.3.2 Componentes cubiertos (conductores aislados, ensambles enchaquetados o
encintados, o ambos)
De la muestra de cordón o cable se debe cortar y enderezar una probeta de una longitud
mínima de 4 veces la longitud de paso máxima permitida para el componente que se va a
medir. La probeta se debe asegurar firmemente en ambos extremos a una superficie de trabajo
NORMA TÉCNICA COLOMBIANA NTC 5786
18
para garantizar que los componentes no puedan desenrollarse. Se debe cortar una ventana
longitudinal en la(s) cubierta(s) de la parte central de la probeta para exponer el componente
que se va a medir, dejando intacta la cubierta restante en ambos extremos. La longitud de la
ventana debe ser aproximadamente 25 mm (1 pulgada) mayor que el doble de la longitud de
paso máxima especificada. El ancho de la ventana debe ser 180° ó menos.
Como alternativa, el ancho de la ventana puede ser la circunferencia entera de la probeta. En
este caso, la ventana debe cortarse antes a fin de asegurar la probeta a la superficie de
trabajo. Se deben asegurar los dos extremos de la probeta a la superficie de trabajo. La
orientación radial de los extremos de la probeta entre sí, después de asegurarlos, debe ser la
misma que antes de preparar la probeta.
Por ejemplo: si la longitud de paso máxima especificada es 57 mm (2,25 pulgadas), la ventana
tendrá la siguiente longitud aproximada:
(2 x 57) + 25 = 139 mm
ó
(2 x 2,25) + 1 = 5,5 pulgadas
3.7.4 Procedimiento
Se debe medir la distancia (D) requerida para dos vueltas completas del componente a lo largo
del eje longitudinal de la probeta.
3.7.5 Resultados y cálculos
Se debe calcular la longitud de paso de la siguiente manera
L = D/2
en donde
L = longitud de paso, mm (pulgadas)
D = distancia, mm (pulgadas)
3.7.6 Informe
El informe debe incluir, como mínimo, la longitud de paso del componente (los componentes)
4. ENSAYOS DE MATERIALES DE AISLAMIENTO Y CHAQUETA
4.1 ESPESOR
4.1.1 Objeto
Los ensayos de este numeral establecen los métodos para determinar el espesor mínimo en
cualquier punto y el espesor promedio de los materiales de aislamiento y chaqueta del
conductor.
4.1.2 Equipo
El equipo debe constar de lo siguiente, cualquiera que sea aplicable:
NORMA TÉCNICA COLOMBIANA NTC 5786
19
a) un medidor de carátula micrométrico de aguja con capacidad para aplicar una fuerza de
0,25 N ± 0,02 N (0,056 lbf ± 0,04 lbf) con un diámetro nominal de la aguja de 1 mm
(0,04 pulgadas) y con una resolución y exactitud de 0,01 mm (o con una resolución y
exactitud de 0,001 pulgada);
b) un microscopio micrométrico con una resolución y exactitud de 0,01 mm (o con una
resolución y exactitud de 0,001 pulgadas);
c) un micrómetro de carátula con superficies planas tanto en la mordaza fija como en el
extremo del husillo, que ejerce una fuerza de 0,10 N a 0,83 N (0,022 lbf a 0,187 lbf) con una
resolución y exactitud de 0,01 mm (o con una resolución y exactitud de 0,01 pulgadas), y
d) un micrómetro láser con una resolución y exactitud de 0,01 mm (o con una resolución y
exactitud de 0,001 pulgadas)
4.1.3 Preparación de las probetas
4.1.3.1 Espesor mínimo en cualquier punto
Se debe cortar una probeta de una longitud máxima de 8 mm, perpendicular al eje longitudinal
del cable, y retirarla. En ningún caso debe ser mayor que el ancho de la mordaza fija. Se debe
retirar cualquier separador u otro componente del aislamiento o chaqueta que se examina. Si
no se puede retirar la chaqueta o aislamiento sin causar daño, las mediciones se deben realizar
utilizando el método de microscopio micrométrico descrito en el numeral 4.1.4.1.2.
NOTA Se puede cortar la probeta en segmentos que encajen en el calibrador.
4.1.3.2 Espesor promedio
4.1.3.2.1 Métodos del medidor de aguja y microscopio micrométrico
Se debe cortar y preparar una probeta de acuerdo con el numeral 4.1.3.1.
4.1.3.2.2 Método de diferencia
Se debe cortar una probeta de cualquier longitud conveniente.
4.1.4 Procedimiento
4.1.4.1 Espesor mínimo en cualquier punto
4.1.4.1.1 Método del medidor de aguja.
Se debe colocar la probeta sobre la aguja, se debe permitir que los elementos móviles del
medidor descansen suavemente sobre la probeta y leer el espesor. Al rotar la probeta, los
elementos móviles no deben entrar en contacto con ésta. Se debe repetir el procedimiento
hasta que se halle y registre el espesor mínimo.
4.1.4.2 Método de microscopio micrométrico
Se debe ubicar el punto de espesor mínimo y medir el espesor.
NORMA TÉCNICA COLOMBIANA NTC 5786
20
4.1.4.2 Espesor promedio
4.1.4.2.1 Método para promediar
Se debe determinar el espesor mínimo y máximo empleando los procedimientos descritos en el
numeral 4.1.4.1.1 ó 4.1.4.1.2. Para el aislamiento, se deben realizar las mediciones dentro de
las irregularidades resultantes del cableado del conductor. Para chaquetas extruídas tipo
relleno, todas las mediciones se deben hacer dentro de las irregularidades resultantes de los
conductores. Si la aguja del medidor descrito en el numeral 4.1.4.1.1 no encaja dentro de las
irregularidades, este método no es aplicable.
4.1.4.2.2 Método de diferencia
Sólo para el aislamiento, el espesor promedio se debe determinar estableciendo el diámetro
sobre el aislamiento y el diámetro sobre el conductor sin aislar. Se debe medir y registrar el
diámetro mínimo y máximo sobre el aislamiento en tres puntos separados entre sí no menos de
50 mm (2 pulgadas) a lo largo del eje de la probeta. Se debe determinar el diámetro del
conductor promedio de acuerdo con el numeral 3.1.
4.1.5 Resultados y cálculos
Se deben registrar los resultados.
4.1.5.1 Espesor mínimo en cualquier punto
El espesor mínimo debe ser como el medido en el numeral 4.1.4.1. Cuando los hilos
individuales son de menos de 1,09 mm (0,043 pulgadas) y la medición se hace empleando el
método del microscopio micrométrico, se deben adicionar 0,08 mm (0,003 pulgadas) al valor
medido. La adición de 0,08 mm (0,003 pulgadas) al valor medido no se aplican a conductores
cableados comprimidos o compactados, ni cuando se emplea un separador sobre el conductor
cableado, ni cuando se mide el espesor de un aislamiento de cinta.
4.1.5.2 Espesor promedio
4.1.5.2.1 Método para promediar
El promedio de las mediciones obtenidas en el numeral 4.1.4.2.1 debe constituir el espesor
promedio del aislamiento o chaqueta.
4.1.5.2.2 Método de diferencia
Se deben promediar las seis lecturas de diámetro general obtenidas en el numeral 4.1.4.2.2.
Se debe calcular el espesor de aislamiento promedio como la diferencia entre el diámetro total
promedio y el diámetro sobre el conductor sin aislar, incluido el separador, si lo hay, dividida
por dos.
4.1.6 Informe
El informe debe incluir, como mínimo, lo siguiente:
a) espesor mínimo en cualquier punto, y
b) espesor promedio.
NORMA TÉCNICA COLOMBIANA NTC 5786
21
4.2 PROPIEDADES FÍSICAS (elongación última y resistencia a la tensión)
4.2.1 Objeto
Estos ensayos establecen los métodos para determinar la elongación última y la resistencia a
la tensión de materiales del aislamiento y chaqueta bajo condiciones específicas como se
describen en el numeral 4.2.8.
4.2.2 Materiales y reactivos
Deben utilizarse fluidos, de acuerdo con lo especificado en la norma de producto.
4.2.3 Equipo
El equipo debe constar de:
a) Una máquina accionada con motor, provista de un dispositivo que indique la carga
máxima alcanzada. La máquina debe tener capacidad para separar las mordazas a
velocidades de (500 ± 25) mm/min ((20 ±1) pulgadas/min) y además a (50 ± 5) mm/min
((2 ± 0,2) pulgadas/min). La carga aplicada, como se indica, debe determinarse con una
exactitud de 2 % o menos del valor leído;
b) Un extensómetro o escala para determinar la elongación con una resolución de 2 mm
(0,1 pulgada) o mejor;
c) Troqueles B, C, D, E o F como se describen en la norma ASTM D412 ó NMX-J-
178-ANCE. Los troqueles C y D deben utilizarse con marcas de referencia a 25 mm
(1 pulgada). Los troqueles B, E y F deben utilizarse con marcas a 50 mm (2 pulgadas).
Se permiten troqueles con capacidad para cortar probetas en anchos de 6,3 mm ó
3,2 mm (0,250 pulgadas ó 0,125 pulgadas) que tengan lados paralelos.
d) Un calibrador con resolución y exactitud de 0,01 mm (o con una resolución y exactitud de
0,001 pulgadas);
e) Un micrómetro de carátula que tenga un pie de compresión plano de 6,3 mm a 6,4 mm
(0,248 pulgadas a 0,252 pulgadas) de diámetro, que ejerza una fuerza total de 0,83 N ±
0,03 N (3,0 ozf ± 0,1 ozf) sobre una mordaza fija rectangular que mida aproximadamente
9 mm x 2 mm. La cara de la mordaza fija sobre la dimensión menor debe ser ligeramente
convexa. Alternativamente, estas mediciones deben hacerse con micrómetro de carátula
de peso muerto que tenga un pie de compresión de 6,4 mm ± 0,2 mm (0,248 pulgadas ±
0,010 pulgadas) de diámetro y ejerza una fuerza total de 85 gf ± 3 gf ó 0,83 N ± 0,03 N
(3,0 ozf ± 0,1 ozf) sobre la probeta; la carga debe aplicarse por medio de una masa. El pie
de compresión debe estar al menos a 2 mm (0,08 pulgadas) sobre el borde de la probeta
para cada medición. Los micrómetros deben tener una resolución y precisión de 0,01 mm
(o con una resolución y exactitud de 0,001 pulgadas);
f) Un micrómetro con resolución y precisión de 0,001 mm (o con una resolución y exactitud
de 0,0001 pulgadas);
g) Una tina de calentamiento para aceite, con capacidad de mantener la temperatura
especificada dentro de ± 1 °C;
h) Aparato para resistencia a la intemperie (luz solar), como se indica en seguida:
NORMA TÉCNICA COLOMBIANA NTC 5786
22
1) Arco de xenón: el equipo para exponer a radiación de arco de xenón y aspersión
de agua, debe cumplir con las normas ASTM G151 y ASTM G155 ó NMX-J-553-
ANCE. las probetas deben montarse en el portaprobetas del equipo. El aparato
de arco de xenón debe contar con un filtro de luz de día. La distribución de
potencia espectral (SPD) para lámpara de xenón con un filtro de luz de día debe
cumplir los requisitos de la norma ASTM G155, Tabla 1. La operación del
ensamble de la lámpara debe mantener un nivel de radiación espectral en las
probetas de al menos 0,35 W/m2
monitoreadas a longitud de onda de 340 nm.
2) Arco de carbón: El equipo debe cumplir con las normas ASTM G151 y ASTM
G155 ó NMX-J-553-ANCE. El aparato debe incluir bombardeo doble de arcos
entre dos conjuntos de electrodos verticales de carbón que sean de 13 mm ó 1/2
de pulgada de diámetro y estén encerrados individualmente en bulbos
transparentes de vidrio óptico resistente al calor (vidrio Pirex 9200 o equivalente)
que es opaco en longitudes de onda menores de 275 nm (1 % de transmisión en
275 nm como punto de corte nominal) y cuya transmisión mejora hasta 91 % a
370 nm. La distribución de potencia espectral de la emisión de los bulbos debe
cumplir con la Tabla 1 de la norma ASTM G 153 ó NMX-J-553-ANCE.
i) Un horno de circulación forzada de aire. El aparato para envejecimiento de probetas en
horno de circulación de aire debe ser como se indica en la norma NMX-J-417-ANCE ó
ASTM D5423 (hornos Tipo II) y ASTM D5374; el aire debe circular dentro de la cámara
de envejecimiento a alta velocidad. Se debe dejar entrar aire fresco continuamente a la
cámara, para mantener el contenido de oxígeno normal en el aire que circunda las
probetas. Las puertas de extracción del horno deben ajustarse para alcanzar de 100 a
200 cambios completos de aire fresco por hora. Para calcular el número de cambios de
aire fresco, el volumen del horno se debe basar en las dimensiones interiores del horno.
El soplador, ventilador u otro medio para circulación de aire debe localizarse
completamente fuera de la cámara de envejecimiento. El horno debe tener capacidad
de mantener la temperatura especificada en la Tabla 3;
j) Un dispositivo de corte accionado mecánicamente o máquina biseladora, que conste de
un rodillo de presión superior ajustable, una cuchilla de banda o una cuchilla de
campana rotatoria y un rodillo de alimentación accionado mecanicamente que pase una
muestra a través de la hoja de la cuchilla ya sea por separación o rebanando la muestra
en capas, sin causar calentamiento del material de la muestra del cual deben
prepararse las probetas cortadas con troquel. La máquina debe utilizarse para lo
siguiente:
1) Para producir una banda de aislamiento de un conductor de 13,3 mm2
(6 AWG)
o mayor, o una banda de material de enchaquetado; y
2) Para retirar irregularidades de las muestras de aislamiento, chaqueta o similares
que no sean más delgadas de 0,76 mm (0,03 pulgadas);
k) Una máquina pulidora (rueda esmeriladora) accionada con motor. La rueda abrasiva
debe ser de grano No. 36 nominal (tamaño de partícula de 0,486 mm (0,019 pulgadas).
La rueda debe moverse en línea y no debe vibrar. No se especifica el diámetro de la
rueda, sin embargo, se ha encontrado como adecuado 0,12 m a 0,16 m (4,75 pulgadas -
6,25 pulgadas). La velocidad de rotación de la rueda debe ser de 2 500 rpm a 3 500 rpm. El
diámetro y velocidad de rotación de la rueda deben seleccionarse para dar a la rueda una
velocidad periférica (rpm x π x diámetro de la rueda) de (15 a 25) m/s (3 000 pies/min
a 5 000 pies/min). La máquina debe tener una alimentación lenta que aplique una
presión ligera y retire muy poco material al hacer el corte, sin sobrecalentar la probeta o
la rueda.
NORMA TÉCNICA COLOMBIANA NTC 5786
23
PRECAUCIÓN El diámetro máximo de la rueda y las revoluciones máximas por minuto de la rueda
especificada en este literal no deben utilizarse juntos, debido a que esta combinación dará como resultado
una velocidad periférica superior a 25 m/s (5 000 pies/min). Esto se aplica incluso a ruedas que están
marcadas para una velocidad periférica por encima de 25 m/s (5 000 pies/min);
l) Un bloque o plano inclinado adecuado;
m) Una balanza con precisión de 0,1 % de la masa medida;
n) Un dispositivo para medir longitud con exactitud de 0,1 % de la longitud medida;
o) Puede utilizarse una máquina manual o mecánica con mordazas de acero para estirar
un conductor con el fin de retirarlo del aislamiento; y
p) Un dispositivo para medir la temperatura con precisión de ± 1 °C.
En cada tipo de aparato se deben tomar medidas para suspender verticalmente cada probeta
dentro de la cámara sin tocar las paredes de la cámara o alguna otra probeta.
4.2.4 Preparación de las probetas
4.2.4.1 Selección y cantidad de probetas
Se deben tomar las probetas de un alambre, cable o cordón terminado o durante su
fabricación, en cualquier momento después de la curación del compuesto, cuando sea
aplicable.
Se debe ensayar un mínimo de seis probetas “como se reciben” y después de envejecimiento
acelerado o inmersión en líquido. Si la probeta se sale de las marcas de referencia o las
mordazas del extensómetro mecánico a un valor por debajo del especificado como mínimo
aceptable, no se deben tener en cuenta los resultados del ensayo y se debe repetir el ensayo
con otra probeta.
4.2.4.2 Formas de la probeta
4.2.4.2.1 Generalidades
Cada probeta debe tener una de las siguientes formas:
a) si es de aislamiento, éste debe ser tubular o cortada en troquel, preparada de acuerdo
con el numeral 4.2.4.2.2 ó 4.2.4.2.3, si el alambre o cable es de menos de 13,3 mm2
y el
espesor de su aislamiento es de 2,5 mm (0,10 pulgada) o menos. En todos los demás
casos, se debe cortar con troquel y preparar de acuerdo con el numeral 4.2.4.2.3.
b) Si es una chaqueta, debe estar cortada con troquel y preparada de acuerdo con el
numeral 4.2.4.2.3. Como alternativa, para chaquetas en las que el espesor nominal es
menor de 0,76 mm (0,03 pulgadas) o en donde el diámetro total no es mayor de 5,1 mm
(0,2 pulgadas), la chaqueta debe ensayarse de una de las siguientes maneras:
i) en su forma tubular terminada
ii) cortada en troquel sin realizar la operación de pulido, cuando ésta pudiera
reducir el espesor a menos de 0,38 mm (0,015 pulgadas); o
NORMA TÉCNICA COLOMBIANA NTC 5786
24
iii) cuando la probeta no se pueda retirar en forma tubular sin causar daño o no se
pueda cortar con troquel debido a su tamaño físico, divida cuidadosamente en
dirección longitudinal la probeta terminada, y sométala a ensayo.
Cuando se requieran probetas cortadas con troquel, éstas deben prepararse antes de
acondicionamiento posterior, como se describe en los numerales 4.2.4.2.3 y 4.2.5.1.3
4.2.4.2.2 Probetas tubulares
Se debe preparar una probeta tubular de un tramo suficiente de alambre, cable o cordón,
acabado o durante fabricación, sin ninguna cubierta. Véase el Anexo A.
4.2.4.2.3 Probetas cortadas con troquel
Se debe preparar una probeta cortada con troquel de un tramo suficiente de muestra, sin
ninguna cubierta, de la siguiente manera:
a) La muestra debe dividirse longitudinalmente y retirarse del componente subyacente. Se
debe retirar el separador o pantalla de hilos, si la hay.
b) Se deben eliminar las irregularidades internas y externas usando el aparato descrito en
el numeral 4.2.3, literales j), k) ó l), cualquiera que se ajuste mejor al material, a fin de
obtener una probeta lisa de espesor uniforme. Se debe retirar el aislamiento adherente
de una muestra de chaqueta. La chaqueta adherente se debe retirar de una muestra de
aislamiento.
c) Después de dejar reposar la muestra durante mínimo 30 min, la probeta debe cortarse de
la sección pulida, empleando uno de los troqueles especificados en el numeral 4.2.3. Se
recomienda usar una prensa para operar el troquel de corte (véase el numeral 4.2.3). Se
debe colocar la muestra en una superficie lisa de madera u otro material que no dañe los
bordes de corte del troquel. El área de sección transversal de una probeta cortada con
troquel no debe ser mayor de 16 mm2
(0,025 pulgadas2
). El espesor no debe ser inferior a
0,38 mm (0,015 pulgadas).
4.2.5 Procedimiento
4.2.5.1 Determinación del área de sección transversal
4.2.5.1.1 Probetas tubulares
El área de sección transversal se debe calcular a partir de la siguiente fórmula:
( )22
4
dDA −=
π
en donde
A = área de sección transversal, mm2
(pulgadas2
)
D = promedio inferior de los diámetros máximo y mínimo sobre la muestra medido en una posición
intermedia entre los extremos de la muestra y en posiciones de aproximadamente 25 mm (1 pulgada)
en cada lado de la posición media, mm (pulgadas)
d = promedio superior de los diámetros máximo y mínimo sobre el componente subyacente (incluido
cualquier separador) medido en puntos de aproximadamente 10 mm (0,39 pulgadas) desde cada
extremo de la probeta, mm. En el caso de un conductor compuesto de hilos muy finos, puede ser
difícil hacer la medición como se describe. En dicho caso, se debe retirar con cuidado una sección
anular del aislamiento como se muestra en la Figura 6; se debe medir el diámetro promedio del
conductor en dicha ubicación, mm (pulgadas).
NORMA TÉCNICA COLOMBIANA NTC 5786
25
4.2.5.1.2 Probetas de forma paralela, plana o irregular
Se debe calcular el área de sección transversal a partir de la siguiente fórmula:
22
6150
pulgadas
, D
W
omm
D
W
A =
en donde
A = área de sección transversal, mm2
(pulgadas2
)
W = masa de una probeta de 150 mm ( 6 pulgadas) de longitud, con conductores retirados, g (oz)
D = densidad del compuesto, g/cm3
(onza/pulgadas3
)
NOTA En el Anexo B se describe un método aceptable para determinar la densidad.
4.2.5.1.3 Probetas cortadas con troquel
Se debe determinar el área de sección transversal empleando el ancho del troquel de corte y el
espesor mínimo de la sección pulida, con aproximación a 0,01 mm (ó 0,001 pulgadas),
empleando el micrómetro de carátula como se describe en el numeral 4.2.3, literal (e). Se debe
calcular el área a partir de la siguiente fórmula:
A = t x w
en donde
A = área de sección transversal, mm2
(pulgadas2
)
t = espesor mínimo de la sección pulida, mm (pulgadas)
w = ancho del troquel de corte, mm (pulgadas)
4.2.5.2 Elongación última y resistencia a la tensión
Se deben realizar los ensayos de elongación y resistencia a la tensión de manera simultánea a
TEMPERATURA AMBIENTE. Se debe acondicionar la probeta a TEMPERATURA AMBIENTE
durante mínimo 30 min antes del ensayo. Se deben emplear extensómetros de video, láser o
mecánicos o un método de escala para determinar la elongación. Cuando se emplee un
extensómetro diferente del mecánico, se deben colocar en la probeta dos marcas de referencia
a 25 mm (1 pulgada) de distancia entre sí y equidistantes del centro de la probeta. Estas
marcas de referencia deben estar en ángulo recto a la dirección de tracción de la máquina de
ensayo y tan angostas como sea posible para facilitar la medición. La probeta debe estar
completamente en reposo mientras se marca. Se debe sujetar en posición, con marcas de
referencia de 25 mm (1 pulgada) entre las mordazas, de modo que la sección entre las marcas
de referencia esté recta pero no bajo tensión. La distancia entre una marca de referencia y la
mordaza adyacente no debe exceder los 13 mm (0,5 pulgadas). Las mordazas deben
separarse a una velocidad uniforme hasta que la probeta se rompa. La velocidad de separación
debe ser 8,5 mm/s (20 pulgadas/min) a menos que se especifique de otro modo en la norma
del producto. Durante la separación de las mordazas, se debe medir la distancia entre las
marcas de referencia continuamente de modo que se registre la distancia en el instante de
ruptura dentro de 2 mm (0,1 pulgadas). La carga máxima antes de la ruptura, W, debe
registrarse con aproximación a 0,5 N (0,1 lbf). Si la probeta se sale de las marcas de referencia
o de las mordazas del extensómetro mecánico a un valor inferior al especificado como mínimo
aceptable, no se deben tener en cuenta los resultados del ensayo y se debe repetir el ensayo
con otra probeta.
NORMA TÉCNICA COLOMBIANA NTC 5786
26
4.2.6 Resultados y cálculos
4.2.6.1 Generalidades
La elongación última y la resistencia a la tensión promedio deben basarse en los primeros
cinco ensayos aceptables como se define en el numeral 4.2.4.1
4.2.6.2 Elongación última
Se debe calcular el porcentaje de elongación a partir de la siguiente fórmula:
100
1
12
x
L
LL −
en donde
L2 = distancia entre marcas de referencia o mordazas del extensómetro mecánico en la ruptura, mm
(pulgadas)
L1 = distancia inicial entre marcas de referencia o mordazas del extensómetro mecánico en la ruptura,
mm (pulgadas)
4.2.6.3 Resistencia a la tensión
La resistencia a la tensión debe calcularse a partir de la siguiente fórmula:
TS = W/A
en donde
TS = resistencia a la tensión, MPa (libra fuerza/pulgada2
)
W = carga máxima antes de ruptura, N (libra fuerza)
A = área de sección transversal, mm2
(pulgadas2
)
4.2.7 Informe
El informe debe incluir, como mínimo, lo siguiente:
a) tipo de exposición;
b) valores promedio de probetas envejecidas y no envejecidas y
c) valores de retención promedio.
4.2.8 Acondicionamiento de probetas
4.2.8.1 Probetas como se reciben (sin envejecer)
Deben aplicarse los aparatos y procedimiento indicados de los numerales 4.2.3 al 4.2.6 para la
determinación de la resistencia a la tensión y elongación de aislamiento, chaqueta y cubiertas
similares, cuando se ensayan en la condición en que se reciben.
NORMA TÉCNICA COLOMBIANA NTC 5786
27
4.2.8.2 Envejecimiento en horno con circulación forzada de aire a corto plazo
Antes del envejecimiento en horno con circulación forzada de aire, se deben realizar las
mediciones necesarias para el cálculo del área de sección transversal. Se deben suspender las
probetas dentro de la cámara de ensayo apropiada descrita en el numeral 4.2.3, de modo que
no entren en contacto entre sí ni con las paredes de la cámara. Las probetas que tienen
propiedades o composición muy diferentes deben envejecerse en cámaras de ensayo
separadas. Se deben calentar las probetas a la temperatura especificada durante el período de
tiempo requerido especificado en la norma del producto. Se deben registrar las temperaturas
del horno a lo largo del período de envejecimiento. Luego del envejecimiento en horno de aire
forzado, se deben retirar las probetas del horno y dejarse reposar durante 16 h a 96 h a
TEMPERATURA AMBIENTE.
Se deben determinar la elongación última y la resistencia a la tensión empleando el equipo y
procedimiento indicados en los numerales 4.2.3 a 4.2.6. Se deben aplicar marcas de referencia
después del acondicionamiento.
4.2.8.3 Resistencia al aceite
El recipiente de inmersión debe tener un volumen mínimo de 100 ml (6 pulgadas3
). Se debe
llenar el recipiente con un aceite especificado y colocarse luego en un baño u horno como se
describe en el numeral 4.2.3. Se deben suspender las probetas en el recipiente y mantenerlas
a la temperatura y tiempo especificados en la norma de producto final. Se debe tener cuidado
en minimizar el contacto con las paredes del recipiente u otras probetas. No se debe permitir
que el aceite ingrese en el interior de una probeta tubular de aislamiento. En el caso de las
chaquetas, se deben exponer ambas superficies (interior y exterior) al aceite.
Luego de la inmersión, las probetas se deben sacudir para retirar el exceso de aceite y se
deben dejar reposar de 16 h a 96 h.
Se deben determinar la elongación última y la resistencia a la tensión empleando el equipo y el
procedimiento indicados en los numerales 4.2.3 a 4.2.6. Se deben aplicar marcas de referencia
antes del acondicionamiento.
4.2.8.4 Resistencia a la gasolina
El recipiente de inmersión debe tener un volúmen mínimo de 100 ml (6 pulgadas3
). El fondo de
25 mm (1 pulgada) del recipiente debe llenarse con agua del grifo y el resto del recipiente con
volúmenes iguales de iso-octano y tolueno mantenidos a 23 °C ± 1 °C.
NOTA Véase en la norma ASTM D471 (Combustible C) la mezcla de iso-octano y tolueno,
Las probetas deben suspenderse en el recipiente y mantenerse a la temperatura y el tiempo
especificados en la norma de producto. Las probetas deben suspenderse en el recipiente con
cuidado para minimizar el contacto con las paredes del recipiente o con otras probetas. No
debe permitirse que el fluido ingrese en el interior de las probetas tubulares de aislamiento. En
el caso de chaquetas, ambas superficies (interior y exterior) deben exponerse al fluido.
Después de la inmersión, las probetas deben sacudirse para quitar el exceso de fluido y se
deben dejar en reposo por un período de entre 16 h a 96 h.
La elongación última y la resistencia a la tensión se deben determinar utilizando el aparato y
procedimiento descritos en los numerales 4.2.3 a 4.2.6. Las marcas de referencia deben
aplicarse después del acondicionamiento.
NORMA TÉCNICA COLOMBIANA NTC 5786
28
4.2.8.5 Resistencia a la intemperie (luz solar)
4.2.8.5.1 Exposición a arco de xenón
Las muestras de cable terminado se deben exponer en el aparato de arco de xenón durante las
horas especificadas en la norma del producto, de acuerdo con el procedimiento descrito en la
norma NMX-J-553-ANCE, o el ciclo 1 de exposición de la norma ASTM G 155, excepto por que
el pH del agua debe ser 4,5 - 8,0. Cada ciclo debe constar de 102 min de luz y 18 min de luz y
aspersión de agua. Las muestras se deben montar de acuerdo con las instrucciones del
fabricante del aparato del arco de xenón.
4.2.8.5.2 Exposición a arco de carbón
Las muestras de cable terminado se deben exponer en el aparato para determinación de
alteración por exposición a la intemperie, durante el número de horas especificado en la norma
del producto, de acuerdo con el procedimiento descrito en la norma ASTM G153 ó NMX-J-553-
ANCE, excepto que el pH del agua debe ser 4,5 - 8,0. Cada ciclo debe consistir de 17 min de
luz y 3 min de luz y aspersión de agua. Los arcos de carbón deben operar continuamente y
transportar una corriente de 15 A a 17 A cada una en una caída en potencial de valor eficaz de
120 V a 145 V. Las muestras se deben suspender verticalmente en el tambor del aparato.
4.2.8.5.3 Preparación y ensayo de la probeta
Luego de cada exposición, las muestras se deben retirar del equipo de ensayo y retenerse en
aire en calma bajo condiciones de TEMPERATURA AMBIENTE y presión atmosférica durante
mínimo 16 h y máximo 96 h. Se deben determinar la elongación última y la resistencia a la
tensión empleando el aparato y procedimiento descritos en los numerales 4.2.3 a 4.2.6. Las
superficies expuestas a la fuente de luz no deben ser pulidas, cortadas, ni cepilladas. Las
marcas de referencia se deben hacer después del acondicionamiento. Para propósitos
comparativos, se deben preparar en forma idéntica probetas de cable sin envejecer, y se deben
ensayar simultáneamente.
4.3 TEMPERATURA NOMINAL EN AMBIENTE SECO, DE MATERIALES NUEVOS
(ensayo de envejecimiento a largo plazo)
4.3.1 objeto
Esta ensayo verifica la temperatura nominal en ambiente seco para materiales nuevos y
establece los parámetros y requisitos para envejecimiento acelerado en horno con circulación
forzada de aire.
NOTA 1 El ensayo de envejecimiento a largo plazo evalúa un material únicamente en cuanto a su temperatura
nominal en ambiente seco. Otras propiedades se evalúan con base en requisitos de la norma aplicable del alambre y
del cable.
NOTA 2 Para la norma de producto, después de experiencia suficiente con un material nuevo, se debe entregar el
material para inclusión en la norma de manera oportuna.
4.3.2 Equipo
El equipo debe ser como se especifica en el numeral 4.2.3.
4.3.3 Preparación de probetas
4.3.3.1 Las probetas deben prepararse de acuerdo con lo descrito en el numeral 4.2.4.
NORMA TÉCNICA COLOMBIANA NTC 5786
29
4.3.3.2 El número total de probetas en el horno debe permitir sacar las probetas en grupos de
seis a la vez, en intervalos de 90 d, 120 d y 150 d y según se requiera por el fabricante, en
intervalos adicionales de 180 d y 210 d.
4.3.4 Procedimiento
4.3.4.1 Las probetas deben envejecerse como se describe en el numeral 4.2.8.2 a la
temperatura determinada en el numeral 4.3.4.2.
4.3.4.2 La temperatura del horno, Tensayo, debe ser el 102 % de la temperatura nominal deseada
expresada en la escala de Kelvin. Esta temperatura debe calcularse en °C utilizando la fórmula
siguiente (Tensayo debe redondearse al número entero más cercano):
Tensayo (°C) = 1,02 x (273,15 + Tnominal (°C)) – 273,15
NOTA En la Tabla 4 s indican las temperaturas de ensayo aplicadas para la temperatura nominal común.
4.3.4.3 Deben retirarse conjuntos de seis probetas a intervalos especificados en el numeral
4.3.3.2.
4.3.4.4 Las probetas de ensayo en cada conjunto deben ensayarse individualmente para
elongación última y resistencia a la tensión como se describe en el numeral 4.2.3 al 4.2.6. Los
valores de elongación última y tensión para cada grupo de probetas deben promediarse para
cada intervalo de tiempo de envejecimiento. Si los resultados de uno o más de seis probetas se
diferencian significativamente, pueden descartarse los resultados únicamente de una probeta.
4.3.5 Resultados y cálculos
4.3.5.1 La elongación última y la resistencia a la tensión deben calcularse de acuerdo con lo
establecido en el numeral 4.2.6.
4.3.5.2 La elongación última o la resistencia a la tensión a 300 d, debe determinarse por la
fórmula siguiente:
U(t) = U90 x e-R(t-90)
en donde
U(t) = elongación última en % o resistencia a la tensión en MPa (libra fuerza/pulgadas2
);
U90 = constante de regresión (elongación última o resistencia a la tensión calculada a 90 d);
R = es la constante de deterioro como se determina en el numeral 4.3.5.4;
t = es el tiempo, en días
Véase en el Anexo C un ejemplo de cálculo.
4.3.5.3 Las variables en la fórmula, transformadas como Y = ln [U(t)], B = ln [U90] y T = (t-90),
convierten la fórmula en forma lineal Y = B + RT.
4.3.5.4 Utilizando la información de 90 d y a más largo plazo, las constantes B y R deben
determinarse por regresión lineal de mínimos cuadrados. La elongación última o la resistencia
a la tensión esperados a 300 d deben calcularse utilizando la fórmula en el numeral 4.3.5.2.
NORMA TÉCNICA COLOMBIANA NTC 5786
30
4.3.5.5 La elongación calculada para 300 d no debe ser menor que 50 %. La resistencia a la
tensión calculada para 300 d no debe ser menor que 2 MPa (300 libras fuerza/pulgadas2
) para
aislamiento destinado para utilizarse bajo una chaqueta o armadura y no menor que 4 MPa
(600 libras fuerza/pulgadas2
) para chaquetas y para aislamientos sin chaqueta.
4.3.5.6 Luego de la determinación de la temperatura nominal deben establecerse los
parámetros y requisitos para el ensayo de envejecimiento a corto plazo en horno de aire
forzado, como se describe en el numeral 4.2.8.2 de acuerdo con el Anexo D.
4.3.6 Informe
El informe debe incluir, como mínimo, lo siguiente:
a) Verificación de la temperatura de operación en ambiente seco; y
b) Parámetros y requisitos para envejecimiento en horno a corto plazo.
4.4 CONTENIDO DE NEGRO DE HUMO
4.4.1 Objeto
Este ensayo establece los métodos para determinar el contenido de negro de humo en
aislamientos o chaquetas.
4.4.2 Equipo, preparación de probetas, procedimientos, resultados y cálculos.
4.4.2.1 Para aislamientos o chaquetas que no generan gases corrosivos por pirólisis, se debe
determinar el contenido de negro de humo de acuerdo con uno de los siguientes métodos:
a) Método 1: NMX-E-034-SCFI o ASTM D1603
b) Método 2: NMX-J-437-ANCE o ASTM D4218
c) Método 3: ASTM D6370 o
d) Método 4: ASTM E1131
4.4.2.2 En Canadá y Estados Unidos, para aislamientos o chaquetas que generan gases
corrosivos por pirolisis, se debe determinar el contenido negro de humo de acuerdo con el
Método 3 ó el Método 4.
En México no se aplican el Método 3 y el Método 4.
4.4.3 Informe
El informe debe incluir, como mínimo, lo siguiente:
a) el método de ensayo empleado y
b) el contenido de negro de humo
NORMA TÉCNICA COLOMBIANA NTC 5786
31
5. ENSAYOS DE COMPONENTES
5.1 RECUBRIMIENTO DE TRENZAS DE MATERIAL FIBROSO
5.1.1 Objeto
Este ensayo establece el método para determinar el grado de recubrimiento de trenzas de
material fibroso.
5.1.2 Equipo
El equipo debe constar de:
a) Un micrómetro de carátula con superficies planas tanto en la mordaza fija como en el
extremo del husillo, que ejerza una fuerza de 0,10 N a 0,83 N (0,022 libra fuerza a 0,187
libra fuerza) y con una resolución y precisión de 0,01 mm (o con una resolución y
precisión de 0,001 pulgadas);
b) Un transportador u otro medio apropiado capaz de medir el ángulo de paso de la trenza
dentro de 1°; y
c) Un dispositivo de medición con capacidad de medir ± 1 mm.
5.1.3 Preparación de probetas
La probeta debe ser de 1,5 m mínimo (5 pies), cortado de un alambre terminado, cable o
cordón, terminado o durante su fabricación.
5.1.4 Procedimiento
Véase el literal F.1 del Anexo F.
5.1.5 Resultados y cálculos
Véase el contenido de F.2 y F.3 del Anexo F.
5.1.6 Informe
El informe debe incluir, como mínimo, el porcentaje de recubrimiento.
5.2 RECUBRIMIENTO DE PANTALLA (envolturas y trenzas)
5.2.1 Objeto
Este ensayo establece el método para determinar el grado de recubrimiento de las envolturas y
trenzas previstas como pantalla de alambres, cables o cordones.
5.2.2 Equipo
El equipo debe constar de:
a) Un micrómetro de carátula con superficies planas tanto en la mordaza fija como en el
extremo del husillo, que ejerza una fuerza de 0,10 N a 0,83 N (0,022 libras fuerza a
NORMA TÉCNICA COLOMBIANA NTC 5786
32
0,187 libras fuerza) y con una resolución y precisión de 0,01 mm (o con una resolución y
precisión de 0,001 pulgadas);
b) Un dispositivo de medición con capacidad para medir ± 1 mm (0,04 pulgadas).
5.2.3 Preparación de probetas
La probeta debe ser de cualquier longitud conveniente, cortada de un alambre, cable o cordón,
terminado o durante su fabricación.
5.2.4 Procedimiento
Véase el literal G.1 del Anexo G.
5.2.5 Resultados y cálculos
Véase el literal G.1 del Anexo G.
5.2.6 Informe
El informe debe incluir, como mínimo el porcentaje de recubrimiento.
5.3 SATURACIÓN
5.3.1 Objeto
Este ensayo establece el método para determinar el grado de saturación de un recubrimiento
de material fibroso.
5.3.2 Equipo
El equipo debe constar de:
a) Un desecador que contenga cloruro de calcio anhídrido;
b) Mandriles de acuerdo con lo especificado en la norma de producto;
c) Una balanza de ajuste rápido con precisión de 10 mg; y
d) Un baño de agua agitado a temperatura constante, de agua del grifo mantenida a
temperatura de 21 °C ± 1 °C, ya sea con una cubierta para mantenerlo libre de polvo o
colocado dentro un encerramiento hermético durante el ensayo.
NOTA El agua debe sustituirse cuando muestre que se ha ensuciado o haya una película superficial de
polvo o cera.
5.3.3 Preparación de probetas
5.3.3.1 Antes de cortar cualquier probeta de ensayo, la muestra debe estar a TEMPERATURA
AMBIENTE. La manipulación y flexión de las muestras por ensayar debe reducirse al mínimo
absoluto requerido para llevar a cabo el ensayo.
5.3.3.2 Debe cortarse una probeta de 610 mm ± 6 mm (24 pulgadas ± 0,25 pulgadas) de
longitud, tomada de la muestra de alambre o cable, y debe doblarse alrededor de un mandril
del diámetro especificado. Para un conductor de 33,6 mm2
(2 AWG) o menor y para un cable
NORMA TÉCNICA COLOMBIANA NTC 5786
33
multiconductor o ensamble para el cual el factor F en la norma de producto es 2 o 3, el número
máximo de vueltas completas que encajan sobre el mandril debe hacerse alrededor del mandril
con el alambre ajustado sobre el mandril; las vueltas deben ser adyacentes separadas de 3 mm
a 6 mm (0,125 pulgadas a 0,25 pulgadas) y dejando una longitud recta de 50 mm a 60 mm
(2 pulgadas a 2,5 pulgadas) en cada extremo de la probeta extendida a lo largo del mandril.
Para calibres mayores que 33,6 mm2
(2 AWG) y para un cable multiconductor o ensamble para
el cual el factor F es 4,5; 6; 9 ó 10, debe hacerse media vuelta alrededor del mandril.
5.3.4 Procedimiento
5.3.4.1 La probeta debe retirarse del mandril sin alterar su forma y debe colocarse en el
desecador sobre el cloruro de calcio anhídrico a TEMPERATURA AMBIENTE por al menos 18 h.
Después debe retirarse del desecador y determinar su masa con aproximación a 10 mg. La
masa debe registrarse como W.
5.3.4.2 La probeta debe sumergirse entonces en baño de agua de grifo, con 25 mm ± 3 mm
(1 pulgada ± 0.125 pulgadas) de cada extremo de la bobina (o doblez en 180°) proyectándose
por encima de la superficie del agua. Después de 24 h de inmersión, la probeta debe retirarse
del baño, sacudirse vigorosamente por 5 s para retirar humedad adherida y determinar
nuevamente la masa 2 min después de haberse retirado del baño. Esta masa debe registrarse
como W1. Todos los recubrimiento de material fibroso diferentes a la cinta, deben retirarse de
toda la longitud de la probeta. Debe determinarse la masa del(los) conductor(es), aislamiento y
cualquier cinta. En caso de un ensamble que va a utilizarse en un cable armado, debe tomarse
en conjunto en un solo ensayo cualquier recubrimiento exterior de material fibroso y cualquier
recubrimiento de material fibroso sobre alambres individuales; y debe hacerse un segundo
ensayo únicamente sobre recubrimiento fibroso de alambres individuales. Esta masa debe
registrarse como W2.
5.3.5 Resultados y cálculos
La humedad absorbida por la probeta no debe ajustarse para la porción de la probeta que sale
sobre el agua. El porcentaje de absorción debe calcularse (a 0,1 %) por medio de la fórmula
siguiente:
( )
2
1100
WW
WW
−
−
5.3.6 Informe
El informe de resultados debe incluir, como mínimo, el porcentaje de absorción.
6. ENSAYOS ELÉCTRICOS PARA ALAMBRE Y CABLE TERMINADOS
6.1 CONTINUIDAD
6.1.1 Objeto
Este ensayo establece los métodos para determinar la continuidad de conductores.
6.1.2 Equipo
6.1.2.1 Método 1 (general)
El equipo debe constar de:
NORMA TÉCNICA COLOMBIANA NTC 5786
34
a) Equipo que proporcione una tensión en corriente alterna o corriente continua, igual o
menor que 120 V; y
b) Un medio que indique un circuito abierto (por ejemplo, una lámpara incandescente, un
timbre o zumbador).
6.1.2.2 Método 2 (corriente de Eddy)
El equipo debe constar de equipo que aplique corriente a una o más frecuencias en el intervalo
de 1 kHz a 125 kHz a una bobina de inducción para inducir corrientes de Eddy en el conductor
que se mueve a través de la bobina a la velocidad de producción. El equipo debe detectar la
variación en la impedancia de la bobina de ensayo por cada rotura en el conductor y
proporcionar una indicación visual al operador.
6.1.3 Preparación de probetas
No se requiere preparación específica de las probetas.
6.1.4 Procedimiento
6.1.4.1 Método 1 (general)
Cada conductor individual del alambre o cable debe conectarse en serie con el indicador y una
fuente de tensión de corriente alterna o corriente continua, igual o menor que 120 V.
6.1.4.2 Método 2 (corriente de Eddy)
El eje longitudinal del conductor debe coincidir con el centro eléctrico de la bobina de ensayo.
El alambre o cable debe tener poca o nula vibración mientras pasa a través la bobina de
ensayo y debe separarse de la bobina una distancia no mayor que 13 mm (0,5 pulgadas). Las
variaciones en la velocidad del alambre a través de la bobina de ensayo deben limitarse a más
del 50 % y menos de cualquier otro porcentaje (50 % máximo) que impida que la amplitud de
señal caiga por debajo del nivel al cual puede detectarse una rotura. Cada vez que haya un
cambio en la construcción del alambre o cable que se está ensayando, se debe hacer una
calibración separada, balance y ajuste para cada calibre, tipo de cableado y material de
construcción para la velocidad del alambre, sensibilidad, relación máxima señal a ruido y
máximo rechazo de señales que indican variaciones graduales en diámetro y otros cambios
lentos. Para evaluar que el equipo está en funcionamiento, por lo menos diariamente debe
realizarse una calibración sin colocar alambre en la bobina de ensayo.
NOTA La temperatura a lo largo del tramo del alambre que se está ensayando puede variar en relación con la
temperatura a la cual se calibró, balanceó, etc., para el calibre, tipo de cableado y material del conductor, siempre y
cuando las variaciones sean graduales y no haya puntos calientes o fríos que provoquen señales falsas.
6.1.5 Resultados y cálculos
La operación del equipo indicador debe ser evidencia de continuidad del conductor bajo
ensayo.
6.1.6 Informe de resultados
No se requiere informe de resultados.
NORMA TÉCNICA COLOMBIANA NTC 5786
35
6.2 RESISTENCIA DEL DIELÉCTRICO A LA TENSIÓN
6.2.1 Objeto
Este ensayo establece los métodos para determinar la resistencia del dieléctrico a la tensión de
un alambre o cable.
El equipo debe constar de:
a) un transformador de aislamiento con capacidad para suministrar un potencial de ensayo
de 48 Hz a 62 Hz, cuyo potencial de salida es variable continuamente desde cerca de
cero hasta al menos el potencial de ensayo de valor eficaz especificado;
b) un voltímetro con una precisión de ± 5 %, en el lado de alta tensión del transformador.
Si es análogo, debe tener un tiempo de respuesta que no introduzca un error de retardo
superior al 1 % de la escala total a la tasa especificada de incremento en la tensión.
c) un indicador de corriente de falla.
d) un horno de aire forzado, como se describe en el numeral 4.2.3, literal (i), con bujes
aislados para conexión de la tensión de ensayo mientras el horno está cerrado.
e) un termómetro con una precisión de ± 1 °C.
f) un tanque lleno con agua del grifo, y
g) un medio de puesta a tierra, con impedancia máxima de 15 Ω.
6.2.3 Preparación de las probetas
6.2.3.1 Método 1 (en agua)
Ambos extremos de los conductores individuales deben estar desnudos.
Al preparar el conductor para ensayo, cada extremo de la probeta se debe llevar muy por
encima del nivel de agua en el tanque, en donde sea aplicable, y el recubrimiento se debe
retirar de la superficie del aislamiento una distancia corta si es necesario, para impedir fugas en
la superficie. La temperatura del agua en la cual se sumerge el espécimen no necesita ser
controlada a menos que se especifique en la norma de producto.
A menos que se exija específicamente en la norma de producto, no es necesario sumergir en
agua una probeta de un mono conductor con recubrimiento metálico o apantallado, y la tensión
de ensayo se aplica entre el conductor y la pantalla o el recubrimiento metálico.
En todos los casos, los extremos del conductor de la probeta deben estar separados del
electrodo puesto a tierra una distancia suficiente para evitar efecto de corona o flameo en los
extremos durante la aplicación de la tensión de ensayo.
6.2.3.2 Método 2 (en el aire)
Ambos extremos de los conductores individuales deben estar desnudos.
NORMA TÉCNICA COLOMBIANA NTC 5786
36
Para un cable con un solo conductor, se debe aplicar un electrodo de puesta a tierra, cuando
no esté presente como componente. Se ha encontrado aceptable una trenza de cobre de
ajustada, una cinta metálica o grafito.
6.2.3.3 Método 3 (en aire a temperatura elevada)
Ambos extremos de los conductores individuales deben estar desnudos.
Para un cable con un solo conductor, se debe aplicar un electrodo de puesta a tierra, cuando
no esté presente como componente. Se ha encontrado aceptable una trenza de cobre de
ajustada, una cinta metálica o grafito.
6.2.4 Procedimiento
6.2.4.1 Método 1 (en agua)
El alambre o cable se debe sumergir, excepto en los extremos, durante el período especificado
en la norma de producto, antes de la aplicación de la tensión de ensayo. Para un cable
monoconductor, o un ensamble de cables monoconductores sin cubierta exterior, la tensión de
ensayo se debe aplicar entre los conductores aislados y el electrodo de agua puesto a tierra.
La tensión de ensayo se debe alcanzar dentro de un período de 10 s a 60 s y se debe
incrementar a una tasa no superior a 500 V/s. Para cables multiconductores con una chaqueta
exterior, la tensión de ensayo se debe aplicar entre cada conductor aislado y todos los demás
conductores, todos los demás componentes metálicos cuando los haya, y el electrodo de agua
puesto a tierra. En todos los casos, los extremos del conductor bajo ensayo se deben separar
del electrodo puesto a tierra una distancia suficiente para impedir efecto corona o flameo en los
extremos durante la aplicación de la tensión de ensayo.
6.2.4.2 Método 2 (en el aire)
Para un cable monoconductor, la tensión de ensayo se debe aplicar entre los conductores
aislados en el alambre o cable y el electrodo puesto a tierra. Para cables multiconductores, la
tensión de ensayo se debe aplicar entre cada conductor aislado y todos los demás
conductores, todos los demás componentes metálicos cuando los haya, y el electrodo puesto a
tierra. La tensión de ensayo se debe alcanzar dentro de un período de 10 s a 60 s y se debe
incrementar a una tasa no superior a 500 V/s. En todos los casos, los extremos del conductor
bajo ensayo se deben separar del electrodo puesto a tierra una distancia suficiente para
impedir efecto corona o flameo en los extremos durante la aplicación de la tensión de ensayo.
6.2.4.3 Método 3 (en aire a temperatura elevada)
La probeta se debe colocar en el horno a la temperatura y durante el tiempo especificado en la
norma de producto. El ensayo se debe realizar como se describe en el numeral 6.2.4.2,
mientras se mantiene a la temperatura especificada.
6.2.5 Resultados y cálculos
El accionamiento del indicador de falla será evidencia de falla.
6.2.6 Informe
El informe debe incluir lo siguiente, como mínimo:
a) Tensión de ensayo.
NORMA TÉCNICA COLOMBIANA NTC 5786
37
b) Duración del ensayo.
c) Temperatura del ensayo, y
d) Resultado del ensayo.
6.3 RUPTURA DEL DIELÉCTRICO
6.3.1 Objeto
Este ensayo especifica el método para determinar la tensión a la cual ocurre la ruptura del
dieléctrico de un conductor.
6.3.2 Equipo
El equipo debe constar de:
a) Un transformador de aislamiento capaz de proporcionar un potencial de ensayo de 48 Hz
a 62 Hz, cuyo potencial de salida es continuamente variable desde cero a la tensión de
ruptura;
b) Un voltímetro que tenga una exactitud de ± 5 %, sobre el lado de alta tensión del
transformador. Si es análogo, debe tener un tiempo de respuesta que no introduzca un
error mayor del 1 % de la escala completa a la velocidad especificada de incremento
en la tensión;
c) Un indicador de corriente de falla;
d) Un tanque lleno de agua; y
e) Un medio de puesta a tierra, con una impedancia máxima de 15 Ω.
6.3.3 Preparación de probetas
Ambos extremos del conductor deben estar desnudos.
Al preparar el alambre para ensayo, cada extremo de la probeta debe colocarse sobre el nivel
del agua en el tanque para impedir corriente de fuga superficial. La temperatura del agua en la
cual se sumerge la probeta no requiere controlarse, a menos que se especifique en la norma
de producto.
6.3.4 Procedimiento
El alambre o cable debe sumergirse en agua, excepto por los extremos, durante el período de
inmersión especificado en la norma de producto. La tensión de ensayo debe aplicarse entre el
conductor aislado y el electrodo de agua puesto a tierra, y debe incrementarse a una tasa que
no exceda 500 V/s hasta que ocurra la ruptura. Los extremos del conductor bajo ensayo deben
estar separados del electrodo puesto a tierra una distancia suficiente para impedir el efecto
corona o flameo en los extremos durante la aplicación de la tensión de ensayo.
6.3.5 Resultados y cálculos
El accionamiento del indicador de falla será evidencia de falla.
NORMA TÉCNICA COLOMBIANA NTC 5786
38
6.3.6 Informe
El informe debe incluir, como mínimo, la tensión de ruptura.
6.4 RESISTENCIA DE AISLAMIENTO
6.4.1 Objeto
Este ensayo especifica el método para determinar la resistencia de aislamiento del conductor.
6.4.2 Equipo
El aparato debe constar de:
a) un megohmetro o puente de medición de resistencia de aislamiento del intervalo
aplicable, con capacidad de dar lecturas que tengan una precisión del 10 % o menos del
valor indicado por el medidor, y de aplicar un potencial de c.c. de 100 a 500 V al
aislamiento durante 60 s antes de cada lectura.
b) una fuente de c.a sinusoidal o prácticamente sinusoidal, con capacidad de suministrar el
potencial de ensayo requerido a 48 Hz - 62 Hz.
c) un tanque lleno con agua del grifo, con un controlador de temperatura con capacidad de
mantener el agua a la temperatura requerida ± 1 °C; si es de metal, el tanque se debe
poner a tierra, o si no es metálico, debe contener un electrodo puesto a tierra.
d) un dispositivo para medición de temperatura con una precisión de ± 1 °C, y
e) un horno de circulación forzada de aire, de acuerdo con el numeral 4.3.3 (i), con bujes
aislados para conectar la probeta al aparato de medición de resistencia de aislamiento
mientras el horno está cerrado.
6.4.3 Preparación de las probetas
Las probetas se deben preparar de acuerdo con el numeral 6.2.3, según sea aplicable.
6.4.4 Procedimiento
6.4.4.1 Resistencia de aislamiento a corto plazo
6.4.4.1.1 Método 1 (15 °C en agua)
Cuando se determina la resistencia de aislamiento a una temperatura de 15 °C, el ensayo se
debe llevar a cabo con agua a cualquier temperatura, de 10 °C a 35 °C. La probeta se debe
sumergir en agua durante el tiempo especificado en la norma de producto. La variación en la
temperatura del agua debe permanecer dentro de ± 1 °C al menos durante 30 min
inmediatamente antes del ensayo.
El megohmetro o puente de medición de resistencia de aislamiento se debe conectar a la
probeta y la medición se debe hacer de acuerdo con las instrucciones del fabricante del
instrumento. La resistencia de aislamiento de la probeta se debe leer después de la aplicación
de una tensión de c.c de 100 V a 500 V durante 60 s, entre el conductor y la tierra.
NORMA TÉCNICA COLOMBIANA NTC 5786
39
Se deben registrar la lectura del megohmetro o del puente de medición de resistencia de
aislamiento, la longitud de la probeta y la temperatura del agua.
6.4.4.1.2 Método 2 (15 °C en el aire)
Cuando se determina la resistencia de aislamiento a una temperatura de 15 °C, el ensayo se
debe llevar a cabo a cualquier temperatura del aire, de 10 °C a 35 °C. La probeta se debe
acondicionar en el ambiente de ensayo durante un mínimo de 6 h antes del ensayo. La
variación en la temperatura del aire debe permanecer dentro de ± 1 °C al menos durante 30 min
inmediatamente antes del ensayo.
El megohmetro o puente de medición de resistencia de aislamiento se debe conectar a la
probeta y la medición se debe hacer de acuerdo con las instrucciones del fabricante del
instrumento. La resistencia de aislamiento de la probeta se debe leer después de la aplicación
de una tensión de c.c de 100 V a 500 V durante 60 s, entre el conductor y la tierra.
Se deben registrar la lectura del megohmetro o del puente de medición de resistencia de
aislamiento, la longitud de la probeta y la temperatura del aire.
6.4.4.2 Resistencia de aislamiento a largo plazo
6.4.4.2.1 Método 1 (en agua)
Cuando se determina la resistencia de aislamiento a una temperatura diferente de 15 °C (por
ejemplo, 50 °C, 75 °C, 90 °C), el ensayo se debe llevar a cabo con agua del grifo a la
temperatura especificada en la norma de producto ± 1 °C, que se debe mantener junto a la
probeta durante el tiempo y al potencial eléctrico especificado en la norma de producto. El
potencial se debe aplicar al aislamiento en todo momento, excepto mientras se están haciendo
las lecturas de resistencia de aislamiento. El ensayo se debe llevar a cabo en 2 o más probetas
de 15 m (50 pies) de longitud.
El megohmetro o puente de medición de resistencia de aislamiento se debe conectar a la
probeta y la medición se debe hacer de acuerdo con las instrucciones del fabricante del
instrumento. La resistencia de aislamiento de la probeta se debe leer después de la aplicación
de una tensión de c.c de 100 V a 500 V durante 60 s, entre el conductor y la tierra. Las lecturas
se deben tomar a las 24 h, 7 d, y de ahí en adelante cada 7 días durante todo el ensayo.
Se deben registrar la lectura del megohmetro o del puente de medición de resistencia de
aislamiento, el número y longitud de las probetas y la temperatura del agua.
6.4.4.2.2 Método 2 (en aire a temperatura elevada)
Cuando se determina la resistencia de aislamiento a una temperatura especificada en la norma
de producto ± 1 °C, que se debe mantener con la probeta durante el tiempo y al potencial
eléctrico especificado en la norma de producto. El potencial se debe aplicar al aislamiento en
todo momento, excepto mientras se están haciendo las lecturas de resistencia de aislamiento.
El ensayo se debe llevar a cabo en 2 ó más probetas de 15 m (50 pies) de longitud.
El megohmetro o puente de medición de resistencia de aislamiento se debe conectar a la
probeta y la medición se debe hacer de acuerdo con las instrucciones del fabricante del
instrumento. La resistencia de aislamiento de la probeta se debe leer después de la aplicación
de una tensión de c.c de 100 V a 500 V durante 60 s, entre el conductor y la tierra. Las lecturas
se deben tomar a las 24 h, 7 d, y de ahí en adelante cada 7 días durante todo el ensayo.
NORMA TÉCNICA COLOMBIANA NTC 5786
40
6.4.5 Resultados y cálculos
La resistencia de aislamiento de cada probeta se debe calcular como sigue:
IR = LRsF
en donde
IR = resistencia de aislamiento calculada, GΩ⋅m
L = longitud de la probeta de ensayo, m
Rs = resistencia de aislamiento medida de la probeta, GΩ
F = factor de corrección de temperatura en donde sea aplicable (véase el Anexo E)
ó
IR = (L/1 000)RsF
en donde
IR = resistencia de aislamiento calculada, MΩ⋅1 000 pies
L = longitud de la probeta de ensayo, pies
Rs = resistencia de aislamiento medida de la probeta, MΩ
F = factor de corrección de temperatura en donde sea aplicable (véase el Anexo E)
La resistencia de aislamiento (IR) deben ser los resultados promediados de las probetas
ensayadas.
6.4.6 Informe
El informe debe incluir, como mínimo, lo siguiente:
a) Temperatura de ensayo, y
b) Resultados de la resistencia de aislamiento (temperatura corregida según sea
aplicable).
6.5 CAPACITANCIA Y PERMITIVIDAD RELATIVA
6.5.1 Objeto
Este ensayo determina el método para medir el cambio en la capacitancia y la permitividad
relativa del aislamiento de alambres o cables.
6.5.2 Equipo
El equipo debe constar de
a) Un puente de capacitancia con capacidad de operar a una tensión sinusoidal o
semisinusoidal a una frecuencia de 1 000 Hz a 10 V o menos, ó 60 Hz a 3,15 kV/mm
(80 V/mil) de aislamiento.
NORMA TÉCNICA COLOMBIANA NTC 5786
41
b) Un tanque de agua con capacidad de mantener el agua a la temperatura requerida, y
c) Un dispositivo de medición de temperatura con una precisión de ± 1 °C.
6.5.3 Preparación de las probetas
Se debe retirar cualquier recubrimiento del aislamiento. Ambos extremos de una probeta de 4,6 m
(15 pies) deben estar desnudos.
6.5.4 Procedimiento
Las secciones centrales de 3 m (10 pies) de las tres probetas se deben sumergir en agua del
grifo, y las porciones de cada extremo se deben mantener secas sobre el agua. El período de
inmersión debe ser de 14 d. La temperatura del agua y la profundidad de inmersión de la
probeta deben ser las mismas siempre que se hagan las lecturas.
La capacitancia del aislamiento se debe medir y registrar usando una tensión a una frecuencia
de 1 000 Hz ó 60 Hz, por medio de un puente de capacitancia. Cuando se mide a 1 000 Hz, el
potencial aplicado al aislamiento no debe exceder 10 V. Cuando se mide a 60 Hz, el potencial
aplicado sobre el aislamiento debe dar como resultado un esfuerzo promedio de 3,15 kV/mm
de aislamiento ò 80 V/mil de aislamiento.
6.5.5 Resultados y cálculos
La capacitancia del aislamiento se debe determinar como el promedio de tres probetas
después de inmersión en agua durante 1 d, 7 d y 14 d, a la temperatura especificada en la
norma de producto. Cada resultado se debe medir con aproximación al picofaradio más
cercano. Los incrementos en la capacitancia de 1 d a 14 d y de 7 d a 14 d se deben expresar
como porcentajes de los valores de 1 d y 7 d respectivamente.
La permitividad relativa (constante dieléctrica) del aislamiento se debe determinar después de 1 d,
por medio de la siguiente fórmula:
d
D
xCxr 1060013 log,=∈
en donde
r = permitividad relativa
C = capacitancia en microfaradios de la porción de 3 050 mm (120 pulgadas) sumergida de la probeta.
D = diámetro medido sobre el aislamiento, mm (pulgada)
d = diámetro medido bajo el aislamiento, mm (pulgadas)
6.5.6 Informe
El informe debe incluir, como mínimo, lo siguiente:
a) cambio porcentual en la capacitancia de 1 d a 14 d, y de 7 d a 14 d.
b) frecuencia y tensión aplicadas.
NORMA TÉCNICA COLOMBIANA NTC 5786
42
c) permitividad relativa, y
d) temperatura del agua
6.6 FACTOR DE ESTABILIDAD
6.6.1 Alcance
Este ensayo establece el método para determinar el factor de estabilidad de los conductores
con aislamiento.
6.6.2 Equipo
El equipo debe constar de:
a) un puente de factor de potencia con capacidad de operar a una tensión sinusoidal o
semisunoidal a una frecuencia de 60 Hz a 3,15 kV/mm (80 V/mil) y 1,58 kV/mm (40 V/mil)
de espesor del aislamiento.
b) un tanque de agua con capacidad de mantener agua a la temperatura requerida.
c) un horno con circulación forzada de aire, de acuerdo con el numeral 4.2.3(i), y
d) un dispositivo de medición de temperatura con una precisión de ± 1 °C.
6.6.3 Preparación de las probetas
Se deben tomar tres probetas de 4,6 m (15 pies) de un conductor con aislamiento. Las
probetas de conductores con aislamiento no deben tener un separador de conductores y se
deben seleccionar antes del ensamble. Para conductores con aislamiento termoestable, las
probetas se deben seleccionar mínimo 48 h después de la extrusión, y luego acondicionar a
70,0 °C ± 2,0 °C (158,0 °F ± 2,6 °F) en aire durante 24 h y enfriar a TEMPERATURA
AMBIENTE durante 1 h.
6.6.4 Procedimiento
6.6.4.1 Las secciones centrales de 3 m (10 pies) de cada probeta deben estar inmersas
continuamente durante 14 d, a la temperatura especificada en la norma de producto.
6.6.4.2 Las porciones del extremo de 1 m (3 pies) de cada probeta se deben mantener secas
sobre el agua. Se debe colocar directamente sobre la superficie del agua una tapa bien
apretada. El nivel del agua se debe mantener constante.
6.6.4.3 El factor de potencia porcentual de cada probeta se debe medir con una corriente de 60 Hz
a esfuerzos promedio de 3,15 y 1,58 kV/mm (80 y 40 V/mil) después de 1 d y 14 d de inmersión
total, y cada resultado se debe registrar con aproximación a 0,1 %.
6.6.5 Resultados y cálculos
6.6.5.1 El factor de estabilidad para cada probeta debe ser la diferencia numérica entre los
factores de potencia porcentuales medidos a 3,15 y 1,58 kV/mm (80 y 40 V/mil). El factor de
estabilidad se debe determinar después de 1 d y después de 14 d, con aproximación a 0,1.
6.6.5.2 La diferencia del factor de estabilidad se debe determinar entonces para cada probeta
restando el factor de estabilidad determinado después de 1 d, del factor de estabilidad
NORMA TÉCNICA COLOMBIANA NTC 5786
43
determinado después de 14 d. La diferencia del factor de estabilidad debe ser con
aproximación a 0,1.
6.6.6 Informe
El informe debe incluir lo siguiente, como mínimo:
a) Tensión de ensayo.
b) Factores de estabilidad, y
c) Diferencias de los factores de estabilidad.
6.7 ENSAYO DE CHISPA
6.7.1 Objeto
Este procedimiento establece el método para detectar fallas eléctricas en aislamientos y
chaquetas.
6.7.2 Equipo
El aparato debe constar de:
a) Un transformador con un conductor de su devanado de alta tensión puesto a tierra, y
con capacidad de suministrar la tensión de ensayo de c.a necesaria (valor eficaz) dentro
de ± 5 % durante el ensayo, mientras el alambre o cable pasa a través del electrodo.
Los límites de la frecuencia de la tensión de ensayo deben ser 50 Hz a 4,0 kHz. Una
fuente de tensión no debe estar conectada a más de un electrodo.
b) Un transformador con un conductor de su devanado de alta tensión y el núcleo del
transformador conectados sólidamente a tierra y con capacidad de suministrar la tensión
de c.c. necesaria dentro de ± 5 % durante el ensayo, mientras el alambre o cable pasa a
través del electrodo. La salida de corriente no debe exceder 5 mA. Después de una
falla, la tensión de ensayo de c.c debe recuperar el nivel especificado en la norma de
producto en 5 ms o menos, excepto que 610 mm o menos (2 pies) del producto pase a
través del electrodo en el tiempo que toma la recuperación de la tensión total. Cualquier
ondulación existente no debe exceder el 1 %. Una fuente de tensión no debe estar
conectada a más de un electrodo.
c) Un electrodo que haga contacto con la superficie de la probeta. No se debe usar un
tubo, un resorte en espiral, o similar. Los electrodos deben cumplir lo siguiente:
i) Cuando se use un electrodo tipo enlace o de cadena tipo perla, el fondo del
cerramiento del electrodo metálico debe ser en forma de V o U. Las cadenas
deben tener una longitud apreciablemente mayor que la profundidad del
cerramiento, y el ancho del canal debe ser de aproximadamente 40 mm
(1,5 pulgadas) más que el diámetro del mayor calibre de alambre que se
someterá a ensayo. Los electrodos tipo perla deben tener un diámetro nominal
de 2 a 5 mm (0,100 a 0,200 pulgadas). La separación longitudinal de las
cadenas no debe ser superior a 13 mm (0,5 pulgadas). La separación transversal
de las cadenas no debe ser superior a 10 mm (0,375 pulgadas), pero no debe
ser superior a 13 mm (0,5 pulgadas) si las filas transversales de cadenas están
escalonadas. Véase la Figura 7.
NORMA TÉCNICA COLOMBIANA NTC 5786
44
ii) Un electrodo tipo escobilla se debe usar únicamente para construcciones anchas
y planas. Las cerdas de la escobilla deben tener una longitud apreciablemente
superior a la distancia entre los dispositivos de montaje. Las cerdas de la
escobilla deben estar muy cercanas entre sí, y la escobilla siempre debe ser más
ancha que la probeta que se ensaya.
iii) El electrodo debe estar provisto de una pantalla metálica puesta a tierra, o su
equivalente, a manera de protección contra contacto con las personas.
iv) La longitud del electrodo debe ser suficiente para permitir la aplicación de la
tensión durante un mínimo de 9 ciclos completos a la velocidad de
funcionamiento y la frecuencia de operación. La longitud del electrodo se debe
calcular como sigue:
( )
( )HzFrecuencia
mentofuncionamidemáximaVelocidad
mmelectrododelLongitud
150xmin/
)( =
o
( )
( )HzFrecuencia
piesentofuncionamidemáximaVelocidad
electrododelLongitud
801,min/
)pulgadas(
x
=
d) Un voltímetro con una precisión de ± 5 %, para indicar la tensión de ensayo real que se
aplica a la probeta en cualquier momento durante el ensayo. El voltímetro debe ser
visible para el operador cuando se lleva a cabo la operación de ensayo de chispa, y
e) Un dispositivo que señale una falla en la probeta, y además, un medio para registro o
marcado de la ubicación de las fallas de la probeta, o para detener el proceso cuando
ocurra una falla. El tiempo de respuesta del dispositivo debe dar como resultado la
detección o registro de fallas, con una separación máxima de 610 mm (2 pies) para
cualquier velocidad del producto.
6.7.3 Preparación de las probetas
6.7.3.1 Si el conductor proveniente del carrete entregador es desnudo, el conductor se debe
conectar a tierra física antes del proceso de aislamiento.
6.7.3.2 Si el conductor proveniente del carrete entregador tiene aislamiento, la conexión se
debe hacer en el carrete entregador o en el recogedor. Para cables monoconductores de 5,26 mm2
(10 AWG) y menor tamaño, se debe hacer una conexión a tierra física tanto en los carretes
entregadores como en los recogedores, a menos que los conductores hayan sido ensayados
para determinar su continuidad y se haya encontrado que esté integro a lo largo de su longitud.
6.7.3.3 Para otras construcciones de cables, los componentes conductores más externos
deben estar puestos a tierra física.
6.7.3.4 Cada conexión de tierra física se debe conectar equipotencialmente en forma directa a
la tierra física del probador de chispa.
NORMA TÉCNICA COLOMBIANA NTC 5786
45
6.7.4 Procedimiento
6.7.4.1 Ensayo de c.a
6.7.4.1.1 La tensión especificada se debe aplicar entre el electrodo y la tierra, y la probeta se
debe mover a través del electrodo.
6.7.4.1.2 La velocidad máxima del alambre se debe determinar mediante la siguiente fórmula:
Velocidad máxima (m/min) = (1/150) frecuencia (Hz) x longitud del electrodo (mm)
o
Velocidad máxima (pies/min) = (5/9) frecuencia (Hz) x longitud del electrodo (pulgada)
6.7.4.2 Ensayo de c.c
6.7.4.2.1 La tensión especificada se debe aplicar entre el electrodo y la tierra, y la probeta se
debe mover a través del electrodo.
6.7.4.2.2 La superficie del(los) conductor(es) aislados deben estar en contacto con el electrodo
una distancia de 125 mm ± 25 mm (5 pulgada ± 1 pulgada).
6.7.5 Resultados y cálculos
Se debe detectar cualquier falla eléctrica del aislamiento o chaqueta.
6.7.6 Informe
El informe debe incluir lo siguiente, como mínimo:
a) Tensión de ensayo, y
b) Número de fallas
6.8 ENSAYO DE ARCO NORMAL
6.8.1 Objeto
Este procedimiento establece el método para determinar la resistencia al arco cuando hay
exposición a una llama de ensayo especificada.
6.8.2 Equipo
El equipo debe constar de:
a) Una fuente de tensión de 120 V c. a., que tenga una capacidad que permita el
cortocircuito para provocar la abertura de un fusible o interruptor automático de 15 A;
b) Un fusible o interruptor automático de 15 A;
c) Un indicador conectado a través de la fuente, para indicar cuándo se está aplicando
tensión eléctrica a la probeta;
NORMA TÉCNICA COLOMBIANA NTC 5786
46
d) Una mesa o soporte de material no conductor;
e) Una campana de humos o gabinete de ensayo de llama;
f) Un mechero de gas para uso en laboratorio, que cumpla con la norma IEC 60695-11-20,
adecuado para el valor calorífico del gas, con un diámetro interior de 9,5 mm ± 0,3 mm
(0,375 pulgadas ± 0,01 pulgada) y una longitud de 100 mm ± 10 mm (4 pulgada ±
0,4 pulgadas) sobre las entradas de ventilación primarias. o un mechero equivalente
que cumpla con las especificaciones de calibración o confirmación de la norma IEC
60695-11-20; y
g) Una fuente de gas obtenida con uno de los siguientes gases combustibles (todas las
mediciones a presión normal de 101 kPa):
i) Metano, con pureza de 98 % mínimo, que tenga un contenido calorífico de
(37 ± 1) MJ/m3
a 25 °C; o
ii) Gas natural, con certificado de contenido calorífico de (37 ± 1) MJ/m3
a 25 °C.
NOTA 1 Pueden utilizarse combustibles alternos, tales como propano con una pureza mínima
del 96 %, con un contenido calórico de (94 ± 2) MJ/m3
a 25 °C, o butano, con una pureza
mínima del 99 %, con un contenido calórico de (120 ± 3) MJ/m3
a 25 °C, si se obtiene llama
estable y la evolución calorífica cumple con la norma ASTM D5207, o con la norma IEC 60695-11-20.
NOTA 2 El quemador usado está identificado en la norma ISO 10093 como la fuente de
encendido P/PF2.
6.8.3 Preparación de probetas
La probeta para ensayo debe ser de cualquier longitud adecuada. Un extremo debe cortarse
perpendicularmente, cuidando de que los extremos del conductor estén a ras con el extremo
cortado de la probeta. La probeta debe colocarse transversalmente en la mesa o soporte, y el
extremo cortado perpendicularmente sobresale aproximadamente 100 mm (4 pulgadas) del
borde de la mesa. El otro extremo debe prepararse de forma que pueda conectarse a la fuente
de tensión.
6.8.4 Procedimiento
El ensayo debe llevarse a cabo dentro de la campana de humos o gabinete para ensayo de
llama. Debe conectarse una tensión de 120 V corriente alterna entre los conductores de una
probeta de dos conductores y entre los conductores de circuito unidos y el conductor de puesta
a tierra de una probeta de tres conductores. La punta de los 40 mm (1,5 pulgadas) del cono
interior de una llama de ensayo estándar de 125 mm ± 10 mm (5 pulgadas ± 0,4 pulgadas)
debe aplicarse a un punto sobre la probeta a 13 mm (0,5 pulgada) del extremo perpendicular
durante un período de 2 min o hasta que ocurra arco, cualquiera que ocurra primero.
6.8.5 Resultados y cálculos
Debe determinarse la presencia de un arco.
6.8.6 Informe de resultados
El informe de resultados debe incluir, como mínimo, lo siguiente:
a) tiempo hasta la formación del arco, si se presenta, en segundos; e
NORMA TÉCNICA COLOMBIANA NTC 5786
47
b) indicación de la abertura del circuito, si se presenta.
6.9 ENSAYO DE ARCO POR FLEXIÓN
6.9.1 Objeto
Este ensayo establece el método para determinar la resistencia al arco cuando hay exposición
a flexión.
6.9.2 Equipo
El equipo debe constar de:
a) un medio para flexionar la probeta utilizando un ciclo de flexión que consiste en doblar
la probeta a una posición de 90° del plano vertical, regresar a 180° de esa posición y
después regresar a la vertical;
b) una fuente de potencia con capacidad de proporcionar 120 V ± 2 V corriente alterna y la
corriente especificada;
c) una carga resisitiva eléctrica variable a 120 V ± 2 V;
d) un buje con soporte;
e) pesos;
f) un circuito a 24 V corriente alterna, de 200 mA máximo para detectar la ruptura del
conductor y detener el aparato de flexión; y
g) un franela decolorada de (8 a 9) m2
/kg ((16 a 17) yardas 2
/libra) y que tenga una trama
de aproximadamente 28 por 24.
6.9.3 Preparación de la probeta
6.9.3.1 Se deben someter a ensayo probetas de 1 m (3 pies) de longitud. Las probetas se
deben flexionar hasta que se rompan todos los hilos de un conductor de circuito. Los cables
planos deben flexionarse de lado, en el buje, no horizontalmente. La flexión debe llevarse a
cabo:
a) Sujetando la probeta en una máquina de flexión de forma que aproximadamente 60 cm
(2 pies) del cordón esté libre para manipularse desde el dispositivo de sujeción (por
ejemplo: buje adecuado tipo alivio de esfuerzos); el peso debe aplicarse 215 mm
(8,5 pulgadas) por debajo del dispositivo de sujeción; y
b) Aplicando uno de los siguientes pesos al cordón, cuando la probeta cuelgue del
dispositivo de sujeción en la máquina de flexión:
Calibre del conductor, mm
2
(AWG) Pesoa, g (libra) ± 2 %
0,824
1,04
1,31
2,08
3,31
(18)
(17)
(16)
(14)
(12)
900 (2)
1 130 (2,5)
1 360 (3)
1 810 (4)
2 270 (5)
NORMA TÉCNICA COLOMBIANA NTC 5786
48
6.9.3.2 Después de la rotura de un conductor de circuito, la máquina de flexión debe detenerse
automáticamente y la probeta debe examinarse para determinar deterioro del aislamiento. Si
hay evidencia de hendidura o grietas en el aislamiento o de hilos del conductor que sobresalen
a través del aislamiento, tales probetas deben descartarse y el valor del peso reducirse lo
necesario para obtener suficientes probetas que no presenten este deterioro.
6.9.4 Procedimiento
6.9.4.1 Cada probeta debe envolverse apretadamente con cuatro capas sencillas de franela de
aproximadamente 5 cm (2 pulgadas) de ancho, centrada sobre el lugar de la rotura en el
conductor del circuito, y la combinación de la probeta y la franela se debe sujetar con un buje que
se asegura a un soporte metálico montado sobre una base no conductora (véase la Figura 8).
6.9.4.2 El cordón debe colocarse en el buje, de forma que la rotura en el conductor de circuito
se localice aproximadamente a 0,6 cm (0,25 pulgadas) de la cara frontal del buje. El buje se
debe asegurar en el soporte de manera que su eje esté en posición horizontal.
6.9.4.3 Ambos extremos del conductor de circuito roto deben conectarse a un circuito en serie
a 120 V ± 2 V c. a. con una carga resistiva como se muestra en la Figura 9.
6.9.4.4 La resistencia variable debe ajustarse de forma que la corriente apropiada fluya a través
del conductor de circuito que se ensaya, de acuerdo con lo siguiente:
Calibre del conductor, mm
2
(AWG) Corriente que fluye en el cordón, A
0,824 (18) 10 ± 0,5
1,04 (17) 13 ± 0,5
1,31 (16) 15 ± 0,5
2,08 (14) 20 ± 0,5
3,31 (12) 30 ± 0,5
6.9.4.5 Con la potencia aplicada, la probeta debe sujetarse a aproximadamente 20 cm
(8 pulgadas) de la rotura en el conductor de circuito. Se mueve la probeta de forma que el
circuito se abra y se cierre a velocidad de 15 a 20 ciclos por minuto. Una apertura y cierre del
circuito debe considerarse un ciclo.
6.9.4.6 El circuito debe abrirse y cerrarse durante 20 ciclos. Si no se pueden completar los
20 ciclos sobre una probeta porque el circuito ya no puede abrirse y cerrarse, esta probeta
debe descartarse y el procedimiento se debe repetir sobre una probeta nueva.
6.9.4.7 Si antes de completar el ciclo 20 se observa la perforación del aislamiento debido al
arco, como se evidencia por el quemado o chamuscado de la franela, el ensayo se debe
detener.
6.9.5 Resultados y cálculos
Se debe observar si hay presencia de perforación en el aislamiento, o si se han completado los
20 ciclos.
6.9.6 Informe de resultados
El informe de resultados debe incluir, como mínimo, lo siguiente:
a) Número de ciclo hasta la perforación, si se presenta; e
NORMA TÉCNICA COLOMBIANA NTC 5786
49
b) Indicación de terminación de los 20 ciclos.
6.10 RESISTENCIA DE LA CHAQUETA
6.10.1 Objeto
Este ensayo establece el método para medir la resistencia eléctrica del material de una
chaqueta.
6.10.2 Equipo
El equipo debe constar de:
a) Un megohmetro o puente de medición de resistencia de aislamiento del intervalo
aplicable, con capacidad de dar lecturas que tengan una precisión del 10 % o menos del
valor indicado por el medidor, y de aplicar un potencial de c.c. 500 V a la chaqueta
durante 60 s antes de cada lectura;
b) Un paño absorbente limpio y sin pelusas;
c) Un higrómetro u otro medio apropiado para medir la humedad relativa; y
d) Cintas de lámina metálica de 13 mm (0,5 pulgadas) de ancho y de longitud suficiente
para rodear la probeta al menos una vez.
6.10.3 Preparación de probetas
Debe cortarse una probeta de mínimo 100 mm (4 pulgadas) de longitud de un alambre o cable
terminado y someterse a ensayo a una humedad relativa de 50 % ± 20 % de humedad relativa
y a TEMPERATURA AMBIENTE. La superficie exterior de toda la longitud de la probeta debe
limpiarse con el paño absorbente limpio y sin pelusas. Después de limpiar, no debe haber
contacto con la porción central de 50 mm (2 pulgadas) de la probeta. Se deben enrollar
apretadamente dos cintas de lámina metálica alrededor del centro de la probeta, separadas
entre sí 13 mm ± 1 mm (0,5 pulgadas ± 0,040 pulgadas). No debe haber contacto con la
chaqueta entre las cintas durante la aplicación de la lámina o durante el resto del ensayo. Las
láminas de papel metálico deben asegurarse y terminarse para permitir la conexión al
megohmetro o puente de medición de resistencia de aislamiento.
6.10.4 Procedimiento
Cada cinta de lámina metálica debe conectarse al megohmetro o puente de medición de
resistencia de aislamiento. La lectura debe tomarse inmediatamente después de aplicar 500 V
c.c. a la probeta, durante 60 s.
6.10.5 Resultados y cálculos
Debe registrarse la resistencia medida.
6.10.6 Informe
El informe debe incluir, como mínimo, el valor de la resistencia medida.
NORMA TÉCNICA COLOMBIANA NTC 5786
50
6.11 ENSAYO DE CORRIENTE DE FUGA A CORRIENTE ALTERNA
6.11.1 Objeto
Este ensayo establece el método para la medición de corriente de fuga c.a a través del
aislamiento.
6.11.2 Equipo
El equipo debe consistir de:
a) Una fuente de potencia de 120 V c.a., 48 Hz a 62 Hz;
b) Una resistencia de valor conocido, con una precisión de ± 1 %;
c) Un voltímetro con una precisión de ± 5 % o mejor; y
d) Una lámina metálica.
NOTA Es conveniente tener una resistencia de 1 000 Ω y el voltímetro que dé lecturas en milivoltios, ya que en
este caso, las lecturas del medidor son numéricamente iguales al flujo de corriente en microamperios por 3 m (10 pies).
6.11.3 Preparación de probetas
6.11.3.1 Parte 1
Debe cortarse una probeta de 3 m (10 pies) de longitud, de un alambre o cable terminado y
formado en una bobina de 2 vueltas completas y colocada sobre una superficie no conductora.
Un extremo de la probeta debe cortarse al ras y perpendicular a su eje, y al otro extremo, todos
los conductores deben prepararse para conexión eléctrica.
6.11.3.2 Parte 2
Debe cortarse una probeta de 3 m de longitud, de un alambre o cable terminado. La longitud
total debe enderezarse y envolverse apretadamente con una lámina metálica y colocarse sobre
una superficie no conductora. Un extremo de la probeta debe cortarse al ras y perpendicular a
su eje, y al otro extremo, el conductor de puesta a tierra debe cortarse al ras con la chaqueta y
los conductores de circuito deben prepararse para conexión eléctrica.
6.11.4 Procedimiento
6.11.4.1 Parte 1
Los conductores de circuito y el conductor de puesta a tierra de la probeta descrito en el
numeral 6.11.3.1 deben conectarse a una fuente de potencia de 120 V c.a. con la resistencia
en serie. Véase la Figura 10. El voltímetro debe conectarse a través de la resistencia. Los
conductores del circuito deben energizarse por separado y se debe registrar la lectura del
voltímetro para cada uno.
6.11.4.2 Parte 2
Los conductores de circuito de la probeta descrita en el numeral 6.11.3.2 y la lámina metálica
deben conectarse a una fuente de potencia de 120 V c.a. con la resistencia en serie. Véase la
Figura 11. El voltímetro debe conectarse a través de la resistencia. Los conductores de circuito
deben energizarse por separado y registrar la lectura del voltímetro para cada uno.
NORMA TÉCNICA COLOMBIANA NTC 5786
51
6.11.5 Resultados y cálculos
La corriente de fuga de cada conductor de circuito de ambos probetas debe calcularse
dividiendo la lectura del voltímetro entre el valor conocido de la resistencia.
6.11.6 Informe
El informe debe incluir, como mínimo, lo siguiente:
a) Lecturas del voltímetro de cada conductor de circuito de cada probeta ensayada;
b) Valor de la resistencia utilizada; y
c) Valores de la corriente de fuga calculados para los conductores de circuito de ambas
probetas.
7. ENSAYOS MECÁNICOS PARA ALAMBRES Y CABLES TERMINADOS
7.1 PENETRACIÓN DE MATERIALES EXTRUIDOS
7.1.1 Objeto
Este ensayo establece el método para determinar la penetración de material extruido en un
conductor cableado.
7.1.2 Equipo
El equipo debe consistir en un cepillo de alambre.
7.1.3 Preparación de probetas
Debe retirarse una longitud de 75 mm (3 pulgadas) de aislamiento de una muestra de una
longitud de conductor cableado terminado, y la superficie exterior del conductor debe limpiarse
con un cepillo de alambre para remover el material extruido visible. Los hilos exteriores deben
retirarse.
7.1.4 Procedimiento
Cuando los hilos exteriores se levanten, el conductor debe examinarse para determinar la
presencia de material extruido entre los hilos; la evaluación debe hacerse con VISIÓN
NORMAL.
7.1.5 Resultados y cálculos
Debe determinarse la presencia de material extruido entre los hilos del cable.
7.1.6 Informe
El informe debe incluir, como mínimo, indicación respecto a la presencia de material extruido.
NORMA TÉCNICA COLOMBIANA NTC 5786
52
7.2 CHOQUE TÉRMICO
7.2.1 Objeto
Este ensayo establece el método para determinar la capacidad del alambre o cable para
soportar esfuerzos termomecánicos.
7.2.2 Equipo
El equipo debe consistir en:
a) Un horno de circulación forzada de aire, de acuerdo con el numeral 4.2.3, literal (i);
b) Un termómetro con una precisión de ± 1 °C.
c) Mandriles cilíndricos, con los diámetros especificados en la norma de producto, y
d) Un micrómetro o calibrador micrométrico con una resolución y precisión de 0,01 mm (o
con una resolución y precisión de 0,001 pulgada).
7.2.3 Preparación de las probetas
La probeta se debe cortar de una longitud suficiente que permita enrollarla alrededor del
mandril el número de vueltas especificado.
7.2.4 Cada probeta se debe enrollar apretadamente alrededor de un mandril que tenga el
diámetro especificado para el número de vueltas especificadas en la norma de producto. Las
vueltas sucesivas deben estar en contacto entre sí, y ambos extremos de la probeta se deben
mantener firmemente en su sitio.
7.2.4.2 El ensamble del mandril y la probeta se debe colocar en un horno de circulación forzada
de aire, durante el tiempo y a la temperatura especificados en la norma de producto.
7.2.4.3 Después del acondicionamiento, el ensamble se debe retirar del horno y enfriar a
TEMPERATURA AMBIENTE, se debe retirar el mandril y se debe examinar el espécimen en la
superficie externa, con VISIÓN NORMAL.
7.2.4.4 Si se observan depresiones circunferenciales, la probeta se debe dividir
longitudinalmente 180°, y la superficie interna de la capa extruida se debe examinar para
determinar si hay grietas internas.
7.2.5 Resultados y cálculos
Se debe determinar la presencia de grietas.
7.2.6 Informe
El informe debe incluir lo siguiente, como mínimo:
a) Temperatura de ensayo.
b) Duración del ensayo.
c) Indicación de grietas.
NORMA TÉCNICA COLOMBIANA NTC 5786
53
7.3 RESISTENCIA AL CHOQUE TÉRMICO
7.3.1 Objeto
Este ensayo establece el método para determinar la capacidad del alambre o cable para
soportar esfuerzo termomecánicos después de desenrollamiento.
7.3.2 Equipo
El aparato debe estar compuesto de:
a) Un horno de circulación forzada de aire, de acuerdo con el numeral 4.2.3(i);
b) Un termómetro con una precisión de ± 1 °C;
c) Mandriles cilíndricos con los diámetros especificados en la norma de producto, y
d) Un micrómetro o calibrador micrométrico con una resolución y precisión de 0,01 mm (o
con una resolución y precisión de 0,001 pulgada).
7.3.3 Preparación de probetas
La probeta se debe cortar para obtener una longitud suficiente que permita enrollarla alrededor
de un mandril el número especificado de vueltas.
7.3.4 Procedimiento
7.3.4.1 Cada probeta se debe enrollar apretadamente alrededor de un mandril que tenga el
diámetro especificado para el número de vueltas especificadas en la norma de producto. Las
vueltas sucesivas deben estar en contacto entre sí, y ambos extremos de la probeta se deben
mantener firmemente en su sitio.
7.3.4.2 El ensamble del mandril y la probeta se debe colocar en un horno de circulación forzada
de aire, durante el tiempo y a la temperatura especificados en la norma de producto.
7.3.4.3 Después del acondicionamiento, el ensamble se debe retirar del horno y enfriar a
TEMPERATURA AMBIENTE. La probeta se debe desenrollar del mandril y se debe examinar
en la superficie externa, con VISIÓN NORMAL.
7.3.4.4 Si se observan depresiones circunferenciales, la probeta se debe dividir
longitudinalmente 180°, y la superficie interna de la capa extruida se debe examinar para
determinar si hay grietas internas.
7.3.5 Resultados y cálculos
Se debe determinar la presencia de grietas.
7.3.6 Informe
El informe debe incluir lo siguiente, como mínimo:
a) Temperatura de ensayo.
b) Duración del ensayo.
NORMA TÉCNICA COLOMBIANA NTC 5786
54
c) Indicación de grietas.
7.4 RETRACCIÓN
7.4.1 Objeto
Este ensayo establece el método para determinar la resistencia a la retracción longitudinal del
aislamiento del conductor.
7.4.2 Equipo
El equipo debe constar de:
a) Un tanque lleno con agua, que tenga un controlador de temperatura capaz de mantener
el agua a la temperatura requerida ± 3 °C;
b) Un termómetro con una precisión de ± 1 °C; y
c) Un calibrador micrométrico o microscopio micrómetro óptico con una resolución y
precisión de 0,01 mm (o con una resolución y precisión de 0,001 pulgada).
7.4.3 Preparación de probetas
Con una longitud de 5 m (16 pies) de conductor macizo debe formarse una bobina suelta de
aproximadamente 300 mm (12 pulgadas) de diámetro. Debe tenerse cuidado de que no haya
ensortijamiento ni dobleces agudos en la bobina.
7.4.4 Procedimiento
7.4.4.1 La bobina debe sumergirse en agua a 90 °C ± 3 °C con 100 mm a 110 mm (4 pulgadas
a 4,4 pulgadas) de cada extremo del alambre sostenidos fuera del agua. Debe tenerse cuidado
de minimizar el contacto con las paredes del tanque. Los extremos deben desbastarse al ras
en un lapso de 1 min después de la inmersión.
7.4.4.2 Después de 24 h de inmersión, debe medirse la longitud expuesta del conductor a cada
extremo, mientras la bobina del conductor aislado está todavía sumergida en el tanque. La
medición de la longitud del conductor expuesto debe ser del inicio del corte al aislamiento
provocado por la herramienta de corte.
7.4.4.3 Si después de 24 h la longitud de conductor expuesta en ambos extremos excede 3 mm
(0,12 pulgadas), el ensayo debe continuar por un período adicional de 6 días y se debe medir
la longitud del conductor expuesto en cada extremo de la probeta medida.
7.4.5 Resultados y cálculos
Deben registrarse las longitudes de conductor expuestas en cada extremo de la bobina.
7.4.6 Informe
El informe de resultados debe incluir, como mínimo, las longitudes de conductor expuestas en
cada extremo.
NORMA TÉCNICA COLOMBIANA NTC 5786
55
7.5 DOBLADO EN FRÍO
7.5.1 Objeto
Este ensayo establece el método para determinar la resistencia al agrietamiento de
componentes de alambre o cable durante doblado a baja temperatura.
El equipo debe constar de:
a) Una cámara de baja temperatura, con capacidad de mantener la temperatura
especificada dentro de ± 1 °C.
b) Un termómetro con una precisión de ± 1 °C;
c) un micrómetro o calibrador micrométrico con una precisión de 0,01 mm (o con una
resolución y precisión de 0,001 pulgada);
d) Mandriles cilíndricos, con los diámetros especificados en la norma de producto, y
e) Guantes con aislamiento térmico.
7.5.3 Preparación de las probetas
La probeta debe cortarse a una longitud suficiente que permita llevar a cabo el ensayo y se
debe enderezar.
7.5.4 Procedimiento
7.5.4.1 La probeta y el mandril se deben colocar en la cámara fría a la temperatura y duración
especificadas en la norma de producto. Mientras está en la cámara, la probeta se debe doblar
alrededor del mandril. El doblado debe comenzar lo más rápido posible, a una velocidad tal,
que el tiempo que tome hacer el número de vueltas especificadas esté dentro de 30 s. El cable
plano se debe enrollar sobre su lado plano.
7.5.4.2 Cuando no hay espacio suficiente en la cámara para el mandril o para el doblado de la
probeta, el doblado se puede llevar a cabo fuera de la cámara fría. El doblado debe comenzar
lo más rápido posible. En caso de que el mandril sea demasiado grande y no se pueda colocar
en la cámara, se debe mantener a TEMPERATURA AMBIENTE. En cualquier caso, el doblado
se debe completar en 30 s desde el momento en que se abre la cámara.
7.5.4.3 Si no se especifica la tensión sobre la probeta, debe ser suficiente para hacer que la
probeta se ajuste al contorno del mandril. A menos que la rotación del mandril se lleve a cabo
en forma remota, la probeta y el mandril se deben manipular usando guantes con aislamiento
térmico.
7.5.4.4 Ya sea que la probeta esté en el mandril o fuera de él, se debe dejar que regrese a
TEMPERATURA AMBIENTE, y se debe enderezar. Las superficies interna o externa de los
componentes se deben examinar para determinar si hay agrietamiento.
7.5.5 Resultados y cálculos
Se debe registrar la presencia de grietas, en caso de que las haya.
NORMA TÉCNICA COLOMBIANA NTC 5786
56
7.5.6 Informe
El informe debe incluir lo siguiente, como mínimo:
a) Temperatura del ensayo, e
b) Indicación de agrietamiento, si lo hay.
7.6 IMPACTO EN FRÍO
7.6.1 Objeto
Este ensayo establece el método para determinar la resistencia de los componentes de
alambre o cable al agrietamiento, cuando se someten a un impacto a bajas temperaturas.
7.6.2 Equipo
El equipo debe constar de:
a) Una cámara de baja temperatura con capacidad de mantener la temperatura
especificada dentro de ± 1 °C;
b) Un termómetro con una precisión de ± 1 °C;
c) Un aparato de impacto con un medio para guiar y permitir el impacto de una masa que
cae libremente sin restricciones desde una altura mínima de 915 mm (36 pulgadas). El
aparato debe tener capacidad de mantener la cara de la masa de impacto perpendicular
a la probeta que sufre el impacto. El aparato que aplica el impacto debe estar equipado
con un mecanismo de bloqueo que permita liberar la masa desde la altura especificada;
d) Una masa metálica de impacto, de 1,36 kg (3 lb) -0 + 2 %, con una cara de acero plana
de impacto de 13 mm (0,5 pulgadas) de espesor mínimo y un diámetro de 25 mm
(1 pulgada) -2, +0 % con bordes redondeados; y
e) Yunques fijos de madera de abeto, con una sección transversal nominal de 90 x 40 mm
(3,5 x 1,5 pulgadas) y una longitud mínima de 200 mm (8 pulgadas).
7.6.3 Preparación de probetas
Deben cortarse diez probetas de una longitud de 130 mm ± 6 mm (5 pulgadas ± 0,25 pulgadas). Las
probetas deben enderezarse y colocarse en la cámara fría, junto con los yunques de madera, a
la temperatura especificada en la norma de producto, por una duración mínima de 4 h.
7.6.4 Procedimiento
7.6.4.1 La masa de impacto debe asegurarse con su cara a una altura de 915 mm (36 pulgadas)
-0, +2 %, sobre la superficie superior de la probeta.
7.6.4.2 Después del acondicionamiento, un yunque de madera debe colocarse a un soporte
sólido que no absorba el impacto.
NORMA TÉCNICA COLOMBIANA NTC 5786
57
7.6.4.3 Se debe centrar una probeta acondicionada en el área de impacto y en la dirección del
grano del yunque de madera. Para probetas que no son circulares, debe impactarse el lado
más plano. Las probetas no deben colocarse dentro de 25 mm (1 pulgada) de cualquier
imperfección o nudo que haya en el yunque de madera.
7.6.4.4 La masa de impacto se debe liberar para que impacte la probeta. Si el ensayo se
realiza fuera de la cámara de baja temperatura, éste debe completarse dentro de 5 s después
de retirar la probeta de la cámara. La masa debe golpear la probeta una sola vez.
7.6.4.5 La masa de impacto debe colocarse y asegurarse para otro ensayo. El procedimiento
descrito en los numerales 7.6.4.3 y 7.6.4.4 debe repetirse sobre el resto de las 10 probetas. El
procedimiento completo descrito en los numerales 7.6.4.2 a 7.6.4.4 debe completarse en un
período de 3 min.
7.6.4.6 No debe utilizarse el yunque de madera para someter a ensayo más de 10 probetas.
7.6.4.7 Las probetas se deben dejar reposar durante 1 h como mínimo a TEMPERATURA
AMBIENTE, y luego se deben examinar para detectar grietas, rupturas u otro daño a las
superficies de los componentes no metálicos del cable. La examinación debe hacerse con
VISIÓN NORMAL.
7.6.5 Resultados y cálculos
Debe registrarse el número de probetas que muestren grietas, rupturas u otro daño.
7.6.6 Informe
El informe debe incluir lo siguiente, como mínimo:
a) Temperatura de ensayo; y
b) Número de probetas que muestren grietas, rupturas u otro daño.
7.7 DEFORMACIÓN
7.7.1 Objeto
Este ensayo establece el método para determinar la resistencia a la deformación del
aislamiento o chaqueta del alambre o cable a temperaturas elevadas.
7.7.2 Equipo
El equipo debe estar compuesto de:
a) Un horno de circulación forzada de aire, de acuerdo con el numeral 4.2.3, literal (i);
b) Un termómetro con una precisión de ± 1 °C;
c) Un micrómetro de carátula que tenga superficies planas tanto en la mordaza fija como
en el extremo del husillo, con un diámetro de 6,4 mm (0,25 pulgada ± 0,01 pulgada) y
que ejerza una fuerza de 0,10 N a 0,83 N ((0,022 a 0,187) libra/fuerza) y con una
resolución y precisión de 0,01 mm (o con una resolución y precisión de 0,001 pulgada);
y
NORMA TÉCNICA COLOMBIANA NTC 5786
58
d) un peso como se especifica en la norma de producto. El extremo del peso previsto para
sostener la probeta debe tener un pie plano con un diámetro de 9,5 mm (0,375 pulgadas),
bordes ligeramente redondeados y debe estar montado en un marco, de manera que
permita movimiento vertical libre (véase la Figura 12).
7.7.3 Preparación de las probetas
Las probetas se deben tomar del alambre, cable o cordón terminado o durante la fabricación.
Las probetas deben medir 25 mm (1 pulgada) de longitud, y en donde se requiera, debe estar
en la condición en que se recibió, con recubrimientos, si los hay, puestos o no, según se
requiera, o en forma de una banda lisa con un ancho máximo de 14 mm (0,56 pulgadas) y con
espesor uniforme.
7.7.4 Procedimiento
7.7.4.1 La probeta de ensayo se debe marcar en la posición en la que el pie de la masa se va a
colocar sobre la probeta. En esta posición marcada se debe determinar el espesor inicial de
una probeta en la condición en la que se recibió, como se indica en el numeral 4.1.4.2.2,
excepto que sólo se debe hacer una medición en la posición marcada. El espesor inicial de una
probeta pulida se debe medir directamente usando un micrómetro de carátula, como se
describe en el numeral 7.7.2.
7.7.4.2 El equipo de ensayo y la probeta se deben acondicionar en el horno de aire a la
temperatura especificada durante 1 h, a menos que se especifique algo diferente en la norma
de producto. Al finalizar este período, con la probeta aún en el horno, se debe colocar bajo el
pie de la masa en la posición marcada, y debe permanecer bajo ensayo en estas condiciones
durante 1 h, a menos que se especifique algo diferente en la norma de producto.
7.7.4.3 Al finalizar este período, la probeta se debe retirar cuidadosamente del pie de la masa.
En un lapso de 15 s después de retirada se debe medir el espesor en la posición marcada,
usando el método descrito en el numeral 7.7.4.1.
7.7.5 Resultados y cálculos
El porcentaje de deformación se debe calcular utilizando la siguiente fórmula:
( ) 100
1
21
x
T
TT −
en donde
T1 = espesor antes del ensayo, mm (pulgada)
T2 = espesor después del ensayo, mm (pulgada)
7.7.6 Informe
El informe debe incluir lo siguiente, como mínimo:
a) La temperatura de ensayo, y
b) El porcentaje de deformación.
NORMA TÉCNICA COLOMBIANA NTC 5786
59
7.8 CEDENCIA GRADUAL POR CALOR (HOT CREEP) - ELONGACIÓN Y
DEFORMACIÓN REMANENTE (HOT CREEP SET)
7.8.1 Objeto
Este ensayo establece el método para determinar la elongación y la deformación remanente
después de exposición a temperatura elevada.
7.8.2 Equipo
a) El equipo como se describe en el numeral 4.2.3, literales (c), (e), (f), (l), (m), (n) y (p);
b) Un horno de circulación de aire de acuerdo con el numeral 4.2.3, literal (i), excepto con
una ventana de observación, y
c) Un dispositivo de ensayo como se ilustra en la Figura 13, con las siguientes
características:
i) Ensamble de agarre superior, con capacidad para suspender la probeta
verticalmente.
ii) Ensamble de agarre inferior, no sujetado, con capacidad de soportar un peso, y
iii) Una escala calibrada, con divisiones de 1 mm (ó 0,1 pulgada) para medir la
elongación.
7.8.3 Preparación de las probetas
7.8.3.1 Las probetas se deben tomar de una muestra de aislamiento tomada del alambre o
cable terminado o durante la fabricación. Se debe retirar cualquier chaqueta o cubierta. Se
debe someter a ensayo una probeta y se deben guardar otras dos como reserva.
7.8.3.2 Para conductores de 8,37 mm2
inclusive (8 AWG), se debe preparar una probeta
tubular, de acuerdo con el numeral 4.2.4.2.2. La probeta no se debe cortar longitudinalmente.
7.8.3.3 Para conductores de más de 33,6 mm2
(2 AWG), del aislamiento se debe preparar una
probeta cortada con troquel, que tenga un área de sección transversal no mayor de 16 mm2
(0,025 pulgadas2
), de toda la longitud de la probeta . Una probeta cortada con troquel se debe
preparar de acuerdo con el numeral 4.2.4.2.3.
7.8.3.4 Para conductores de 13,3 mm2
a 33,6 mm2
(6 a 2 AWG), se debe permitir una probeta
tubular o con troquel.
7.8.4 Procedimiento
7.8.4.1 Generalidades
7.8.4.1.1 El área de sección transversal de la probeta se debe determinar de acuerdo con el
numeral 4.2.5.1.
7.8.4.1.2 El peso total se debe calcular como sigue:
Wt = área de sección transversal (mm2
) x 20,4 (gf/mm2
)
NORMA TÉCNICA COLOMBIANA NTC 5786
60
ó
Wt = área de sección transversal (pulgada2
) x 29,0 (libra fuerza/pulgada2
)
en donde
Wt = peso total, incluido el ensamble de sujeción y las masas agregadas al ensamble de sujeción
inferior, gramo fuerza (libra fuerza).
7.8.4.1.3 A una probeta como se recibió se le deben colocar marcas separadas 25 mm (1
pulgada) entre sí.
7.8.4.2 Elongación
7.8.4.2.1 Una masa, como se determinó en el numeral 7.8.4.1.2, se debe agregar al ensamble
de sujeción inferior.
7.8.4.2.2 Un extremo de la probeta se debe unir al ensamble de sujeción superior del
dispositivo de ensayo, y el ensamble de sujeción inferior se debe unir al otro extremo de la
probeta. La distancia entre los ensambles de sujeción no debe ser superior a 100 mm (4 pulgadas).
7.8.4.2.3 El dispositivo de ensayo con la probeta se debe colocar en el horno de circulación de
aire precalentado a 150 °C ± 2 °C.
7.8.4.2.4 Después de 15 min, mientras la probeta está todavía en el horno con la masa
colocada, se debe medir con la escala la distancia entre las marcas. Esta distancia (De) se
debe registrar con aproximación a 1 mm (ó 0,1 pulgada).
7.8.4.3 Deformación remanente (Hot Creep Set)
7.8.4.3.1 El ensayo de deformación remanente (Hot Creep Set) se debe llevar a cabo en la
misma probeta utilizada para el ensayo de elongación, del numeral 7.8.4.2. El ensayo se debe
llevar a cabo inmediatamente después del de elongación.
7.8.4.3.2 Sin sacar la probeta del horno, se debe retirar de ésta el ensamble de sujeción
inferior. La puerta del horno se debe cerrar inmediatamente para minimizar el enfriamiento de la
probeta. Ésta debe permanecer en el horno durante 5 min.
7.8.4.3.3 La probeta se debe retirar del horno y del dispositivo de ensayo, y dejar a
TEMPERATURA AMBIENTE al menos durante 1 h.
7.8.4.3.4 La distancia (Ds) entre las marcas se debe medir con aproximación a 1 mm (ó
0,1 pulgada), y se debe registrar usando la escala descrita en el numeral 4.2.3, literal (n).
7.8.5 Resultados y cálculos
7.8.5.1 La elongación se debe calcular de la siguiente manera:
( )
G
GD
C e −
=
x100
en donde
C = elongación, %
De = distancia entre las marcas obtenidas en el numeral 7.8.4.2.4.
NORMA TÉCNICA COLOMBIANA NTC 5786
61
G = distancia original entre marcas.
NOTA Las dimensiones pueden ser en milímetros o pulgadas, siempre y cuando sean consistentes en todos los
cálculos.
7.8.5.2 La deformación remanente (Hot Creep Set) se debe calcular de la siguiente manera (el
resultado puede ser positivo o negativo):
( )
G
GD
S s −
=
x100
en donde
S = deformación remanente (Hot Creep Set), %
Ds = distancia entre las marcas obtenidas en el numeral 7.8.4.3.4.
G = distancia original entre marcas.
7.8.5.3 Si la probeta no cumple con los requisitos de elongación o deformación remanente
especificados en la norma de producto, cada ensayo se debe repetir en las dos probetas
reservadas. Los valores para elongación y deformación remanente se deben determinar de los
promedios de las tres probetas.
7.8.6 Informe
El informe debe incluir lo siguiente, como mínimo:
a) Elongación, %, y
b) deformación remanente (Hot Creep Set), %
7.9 RESISTENCIA A LA ABRASIÓN
7.9.1 Objetivo
Este ensayo establece el método para determinar la resistencia a la abrasión.
7.9.2 Equipo
El equipo debe constar de:
a) Un mecanismo de vaivén horizontal (movimiento armónico simple) que tenga una
longitud de recorrido de 160 mm (6,25 pulgadas) ± 5 % que realice 28 ± 1 ciclos/min
(véase la Figura 14. El diseño y dimensiones del equipo son típicas, pero no son un
requisito). Un ciclo consiste en un movimiento completo de ida y vuelta;
b) Una masa como la especificada por la norma de producto;
c) Un medio de abrasión, tal como una lija de grado medio que tenga 7,5 % de grano 60,
77,5 % de grano 80 y 15 % de grano 100 y más fino;
d) Una superficie cilíndrica no rotatoria, arco mínimo de 90° con un radio de
90 mm (3,5 pulgadas) ± 1 %; y
e) Un dispositivo de conteo para registrar el número de ciclos.
NORMA TÉCNICA COLOMBIANA NTC 5786
62
7.9.3 Preparación de las probetas
Deben tomarse seis probetas rectas de una muestra de alambre o cable terminado o durante
su fabricación. El calibre del conductor debe ser como se especifica en la norma de producto.
Cada probeta debe ser de una longitud de 1 m (40 pulgadas) ± 10 % y se debe someter a
ensayo sin acondicionamiento.
7.9.4 Procedimiento
7.9.4.1 Los aparatos de ensayo y las probetas deben estar en equilibrio térmico con el aire que
les rodea a temperatura ambiente, durante el tiempo del ensayo.
7.9.4.2 Un extremo de cada probeta debe fijarse al mecanismo de vaivén mientras está en un
extremo de su recorrido. El otro extremo de cada probeta debe fijarse a una masa como se
define en la norma de producto. Cada probeta debe colocarse sobre la cuarta parte del cilindro.
La superficie exterior del cilindro debe tener adherida una lija sin utilizar, como se describe en
el numeral 7.9.2. El eje longitudinal del cilindro debe ser horizontal y perpendicular a las
probetas de ensayo en cada uno de los planos verticales.
7.9.4.3 Debe iniciarse el mecanismo de vaivén. Cada ciclo debe constar de un movimiento
completo de ida y vuelta, con un recorrido de 160 mm (6,25 pulgadas) ± 5 %. El mecanismo de
vaivén debe detenerse cada 50 ciclos y la lija se debe correr ligeramente a un lado, de forma
que en los ciclos posteriores cada probeta sea frotada por una parte no usada de la lija.
7.9.4.4 Cada probeta debe friccionarse por el número de ciclos especificado en la norma de
producto.
7.9.4.5 Cada probeta debe examinarse para determinar la exposición del conductor.
7.9.5 Resultados y cálculos
Se debe determinar la exposición del conductor en cualquiera de las 6 probetas.
7.9.6 Informe
El informe de resultados debe incluir, como mínimo, la exposición del conductor, si se presenta.
7.10 RESISTENCIA AL APLASTAMIENTO
7.10.1 Objeto
Este ensayo especifica el método para determinar la resistencia del aislamiento o cubierta, o
ambos, al aplastamiento.
7.10.2 Equipo
El equipo debe constar de:
a) Una máquina de compresión mecánica, con un dispositivo para medir e indicar la fuerza de
compresión a la rotura con una precisión de 2 % o menos del valor leído. La máquina debe
estar en capacidad de operar a una velocidad de mordaza eléctrica de (10 ± 1) mm/min
((0,5 ± 0,05) pulgadas/min).
NORMA TÉCNICA COLOMBIANA NTC 5786
63
b) Dos bases de acero planas de 50 mm (2 pulgadas) de ancho;
c) Una barrena de acero sólido de 19 mm de diámetro, de la misma longitud de la base; y
d) Una fuente de energía de 30 V c.c. o menor, con un medio para indicar el contacto entre
el conductor y la base o barrena de acero.
7.10.3 Preparación de probetas
7.10.3.1 La probeta de ensayo debe tomarse de una muestra de alambre o cable terminado o
durante su fabricación, sin ningún acondicionamiento. La probeta debe ser de 2 500 mm
(100 pulgadas) de longitud mínimo. Un extremo del conductor debe estar desnudo.
7.10.3.2 El extremo desnudo de la probeta debe conectarse a un lado de la fuente de energía.
Ambas bases deben conectarse al otro lado de la fuente de energía.
7.10.4 Procedimiento
7.10.4.1 Método 1 (dos bases de metal)
7.10.4.1.1 Cada base de acero debe montarse horizontalmente en la máquina de compresión.
Los ejes longitudinales de las bases deben estar en el mismo plano vertical. La probeta, el
equipo y el aire circundante deben estar en equilibrio térmico a temperatura ambiente.
7.10.4.1.2 El primer punto de ensayo en la probeta debe estar centrado en la base inferior y
paralelo a la dimensión de 50 mm (2 pulgadas). La base superior de acero debe bajarse hasta
entrar en contacto con la superficie de la probeta. El movimiento descendente de la base debe
continuarse a la velocidad especificada hasta que el indicador señale que hay contacto.
7.10.4.1.3 Debe registrarse la fuerza indicada por la máquina de compresión al momento de
contacto. El procedimiento debe repetirse en nueve puntos de ensayo adicionales separados
uniformemente en la longitud de la probeta. Estos puntos deben estar separados al menos 250 mm
(10 pulgadas) y al menos a 125 mm (5 pulgadas) de cada extremo de la probeta.
7.10.4.2 Método 2 (barreno y base)
El ensayo debe desarrollarse como se describe en el numeral 7.10.4.1, excepto que una varilla
de acero macizo como la descrito en el numeral 7.10.2 debe atornillarse o asegurarse de otra
manera en la parte central de cada base, perpendicular a la dimensión de 50 mm (2 pulgadas).
7.10.5 Resultados y cálculos
Debe calcularse el promedio de los diez resultados.
7.10.6 Informe
El informe de resultados debe incluir, como mínimo, las fuerzas de compresión individuales y
promedio al contacto.
NORMA TÉCNICA COLOMBIANA NTC 5786
64
7.11 RESISTENCIA AL IMPACTO
7.11.1 Objetivo
Este ensayo especifica el método para determinar la resistencia del aislamiento o cubierta o
ambos, al impacto por una masa en caída libre.
7.11.2 Equipo
El equipo debe constar de:
a) Un aparato de impacto con un medio para guiar y permitir que la masa de impacto caiga
libremente sin limitaciones desde una altura mínima de 610 mm (24 pulgadas) (véase la
Figura 15). El equipo debe estar en capacidad de mantener la superficie de la masa de
impacto perpendicular a la probeta en el momento del impacto. El equipo para aplicar el
impacto se debe suministrar con un mecanismo de seguro que permita liberar la masa
desde la altura especificada;
b) Una masa de impacto, de acero, de 0,454 kg (1 lb) -0 % +2 %, de 38 mm (1,5 pulgadas)
-2, +0 % de diámetro y nominalmente 51 mm de longitud (2 pulgadas), con bordes
redondeados;
c) Un yunque para impacto, compuesto por un bloque rectangular de acero sólido, de
200 mm (8 pulgadas) nominales de longitud, 150 mm (6 pulgadas) de ancho y 105 mm
(4,125 pulgadas) de altura, asegurada a un soporte rígido; y
d) Una fuente de energía de 120 V c.a., con capacidad para indicar el contacto entre el
conductor y la masa de impacto o yunque. El circuito debe accionar y mantener la señal
sobre cualquier contacto momentáneo.
7.11.3 Preparación de probetas
La probeta de ensayo debe tomarse de una muestra de alambre o cable terminado, o durante su
fabricación sin ningún acondicionamiento previo. La probeta debe ser de 2 500 mm (100 pulgadas)
mínimo de longitud. Un extremo del conductor debe estar desnudo.
7.11.4 Procedimiento
7.11.4.1 La probeta, el yunque, la masa y el resto del equipo de ensayo debe estar en equilibrio
térmico a temperatura ambiente.
7.11.4.2 El extremo desnudo de la probeta debe conectarse al lado energizado de la fuente de
energía. El aparato de impacto y el yunque deben conectarse al lado neutro de la fuente de
energía. El aparato de impacto y el yunque deben además estar puestos a tierra.
7.11.4.3 El ensayo debe hacerse en diez puntos que estén separados uniformemente en toda
la longitud de la probeta, al menos 250 mm entre ellos y al menos 125 mm (5 pulgadas) de
cada extremo de la probeta.
7.11.4.4 La masa debe colocarse y asegurarse de forma tal que la cara de impacto de la masa
esté a 610 mm (24 pulgadas) -0 %, +2 % sobre la superficie superior del probeta. La probeta
debe colocarse a lo ancho del yunque. El punto de impacto de la probeta debe centrarse en el
área de impacto del yunque.
NORMA TÉCNICA COLOMBIANA NTC 5786
65
7.11.4.5 La masa se debe liberar y dejar caer libremente a través la guía. La masa debe
golpear la probeta una sola vez, inmediatamente después debe colocarla y asegurarla a una
altura de 610 mm (24 pulgada) para impedir golpes repetitivos sobre la probeta.
7.11.4.6 El ensayo debe repetirse sobre los nueve puntos de ensayo restantes de la probeta,
como se describe en los numerales 7.11.4.4 y 7.11.4.5.
7.11.5 Resultados y cálculos
Debe registrarse el(los) contacto(s) como evidencia de accionamiento del indicador.
7.11.6 Informe
El informe debe incluir, como mínimo, el número de contactos.
7.12 RUPTURA DIELÉCTRICA DESPUÉS DE IMPACTO OBLICUO
7.12.1 Objeto
Este ensayo especifica el método para determinar la retención de la tensión de ruptura eléctrica
del aislamiento o cubierta, o ambos, de un conductor después de un impacto oblicuo.
7.12.2 Equipo
El equipo debe constar de:
a) Un transformador de aislamiento con capacidad de proporcionar un potencial de ensayo
de 48 Hz a 62 Hz, cuyo potencial de salida es continuamente variable desde cerca de
cero a la tensión de ruptura;
b) Un voltímetro con una precisión de ± 5 % en el lado de alta tensión del transformador. Si
es analógico, debe tener un tiempo de respuesta que no introduzca un error de retraso
mayor del 1 % de la escala completa a la velocidad especificada de incremento de la
tensión;
c) Un indicador de corriente de falla;
d) Un tanque lleno con agua a temperatura ambiente;
e) Un medio de puesta a tierra con una impedancia máxima de 15 Ω; y
f) Un aparato para aplicar un impacto oblicuo a una probeta de alambre, como se ilustra
en la Figura 15, que tenga las características siguientes:
i) Un yunque de madera de roble, con una sección transversal nominal de 50 mm x
100 mm (2 x 4 pulgadas) y 250 mm (10 pulgadas) de longitud, sostenida
rígidamente a 45 ± 2° de la horizontal;
ii) Un medio para sujetar los extremos de la probeta de ensayo al yunque;
iii) Una masa de impacto de 0,454 kg (1 lb) –0, +2 %, compuesta por un cilindro de
acero macizo de 20 mm (0,75 pulgadas) -2, +0 % de diámetro que tenga todas
las superficies lisas y un extremo redondeado en forma hemisférica, y
NORMA TÉCNICA COLOMBIANA NTC 5786
66
iv) Un tubo para contener y guiar la masa de impacto, que tenga un diámetro
interno de 22 mm (0,82 pulgadas) -0 % +2 %, montado sobre el yunque en
posición vertical.
7.12.3 Preparación de probetas
La probeta de ensayo debe tomarse de una muestra de alambre o cable sólido de 2,08 mm2
(14 AWG) terminado o durante su fabricación, sin ningún acondicionamiento. La muestra debe
cortarse en doce probetas de una longitud nominal de 380 mm (15 pulgadas) de longitud. Un
extremo del conductor en cada una de las probetas debe estar desnudo y cada probeta debe
enderezarse. La probeta y el aparato deben estar a temperatura ambiente.
7.12.4 Procedimiento
7.12.4.1 La probeta, el yunque, la masa y el resto del equipo de ensayo deben estar en
equilibrio térmico a temperatura ambiente.
7.12.4.2 La probeta debe sujetarse a lo largo del eje longitudinal del yunque y centrarse sobre
el área de impacto. La masa de impacto debe colocarse en el tubo guía, con el extremo
hemisférico hacia abajo y 460 mm (18 pulgadas) -0 +2 % sobre el punto medio de la probeta.
La masa de impacto se debe liberar y dejar caer libremente, para que golpee la probeta una
sola vez. La probeta debe retirarse del aparato.
7.12.4.3 El proceso de impacto debe repetirse sobre cinco probetas adicionales. Después de
cada grupo de seis impactos oblicuos, el yunque debe examinarse para determinar si presenta
daños. Si es evidente la presencia de daños en éste, debe sustituirse.
7.12.4.4 Una probeta debe sumergirse en agua, excepto en los extremos. Los extremos de la
probeta deben separarse del electrodo de agua puesto a tierra, una distancia suficiente para
impedir el efecto corona o flameo en los extremos durante la aplicación de la tensión de
ensayo. La tensión de ensayo debe aplicarse entre el conductor aislado y el electrodo de agua
puesto a tierra, e incrementarse a una velocidad uniforme de 10 V/s a 60 V/s hasta que ocurra
la ruptura dieléctrica del aislamiento. Debe registrarse la tensión de ruptura.
7.12.4.5 El procedimiento descrito en el numeral 7.12.4.4 debe llevarse a cabo en todas las
probetas.
7.12.5 Resultados y cálculos
7.12.5.1 El accionamiento del indicador de falla debe ser evidencia de ruptura dieléctrica. Debe
calcularse la tensión de ruptura promedio para las seis probetas que se sometieron al impacto
oblicuo descrito en el numeral 7.12.4.2. Uno de los valores de ruptura individual puede
descartarse si se diferencia ampliamente de los otros valores individuales.
7.12.5.2 Debe calcularse la tensión de ruptura promedio para las seis probetas que no se
sometieron al impacto oblicuo.
7.12.5.3 Debe calcularse la relación entre la tensión de ruptura promedio de las probetas
sometidas a impacto oblicuo, y la tensión de ruptura promedio de las probetas que no se
sometieron al impacto.
7.12.6 Informe
El informe debe incluir, como mínimo, lo siguiente:
NORMA TÉCNICA COLOMBIANA NTC 5786
67
a) Tensión de ruptura promedio para probetas no sometidas al impacto oblicuo;
b) Tensión de ruptura promedio para probetas sometidas al impacto oblicuo;
c) Relación entre la tensión de ruptura promedio de las probetas sometidas a impacto
oblicuo, y la tensión de ruptura promedio de las probetas no sometidas a impacto; y
d) Valores de tensión de ruptura que se descartaron, si los hay.
7.13 FLEXIBILIDAD A TEMPERATURA AMBIENTE DESPUÉS DE ENVEJECIMIENTO
7.13.1 Objeto
Este ensayo establece el método para determinar la flexibilidad del alambre o cable a
temperatura ambiente después de envejecimiento.
7.13.2 Equipo
a) Un horno con circulación forzada de aire, de acuerdo con el numeral 4.2.3, literal (i):
b) Un termómetro con una precisión de ± 1 °C, y
c) Mandriles cilíndricos con los diámetros especificados en la norma de producto.
7.13.3 Preparación de la probeta
La probeta se debe tomar de una muestra de alambre o cable terminado, o de alambre o cable
durante su fabricación, sin ningún acondicionamiento. La longitud de la probeta debe ser
suficiente para permitir enrollarla en el mandril el número de vueltas especificadas en la norma
de producto.
7.13.4 Procedimiento
7.13.4.1 La probeta se debe someter a envejecimiento en el horno durante el tiempo y a la
temperatura especificada en la norma de producto, y luego se debe retirar inmediatamente del
horno.
7.13.4.2 La probeta se debe enrollar en el mandril a una velocidad uniforme de
aproximadamente 4 s por vuelta a temperatura ambiente, en un lapso de 16 h a 96 h después
de retirarla del horno.
7.13.4.3 Las probetas de conductor de 85,0 mm2
(3/0 AWG) o más pequeñas se deben enrollar
apretadamente 4 vueltas adyacentes alrededor del mandril. Las probetas de conductor de
calibre mayor de 85,00 mm2
(3/0 AWG) se deben enrollar en el mandril en forma de U de 180°.
7.13.4.4 Todas las superficies de la probeta se deben examinar para determinar la presencia
de grietas o hendiduras bajo visión normal.
7.13.5 Resultados y cálculos
Se debe registrar la presencia de grietas o hendiduras.
7.13.6 El informe debe incluir, como mínimo, la presencia de grietas o hendidura.
NORMA TÉCNICA COLOMBIANA NTC 5786
68
7.14 FLEXIBILIDAD DE LA CINTA SEPARADORA BAJO UNA CHAQUETA
7.14.1 Objeto
Este ensayo establece la integridad de una cinta separadora bajo una chaqueta después de
flexión a temperatura ambiente.
7.14.2 Equipo
El equipo debe constar de:
a) Un micrómetro o calibrador micrométrico con una resolución y exactitud de 0,01 mm (o
con una resolución y precisión de 0,001 pulgada);
b) Un mandril cilíndrico con el diámetro especificado en la norma de producto; y
c) Un termómetro con una exactitud de ±1 °C.
7.14.3 Preparación de probetas
La probeta de ensayo debe tomarse de una muestra de alambre o cable terminado, o durante
su fabricación sin ningún acondicionamiento previo. La probeta debe cortarse a una longitud
suficiente para permitir enrollarse alrededor del mandril el número de vueltas especificadas en
la norma de producto; la probeta se debe enderezar.
7.14.4 Procedimiento
7.14.4.1 La probeta debe enrollarse alrededor del mandril el número de vueltas especificadas
en la norma de producto. La probeta debe enrollarse a una velocidad uniforme, de manera que
la operación se complete dentro de 1 min. Las probetas de cable plano deben enrollarse sobre
el lado plano. Las probetas de cable con cinta separadora aplicada longitudinalmente deben
enrollarse con la cinta separadora traslapada sobre la cara exterior del mandril.
7.14.4.2 Con la probeta todavía en el mandril, la chaqueta debe abrirse lo suficiente para
permitir examinar la(s) cinta(s) separadora(s) y traslapo(s) bajo visión normal.
7.14.5 Resultados y cálculos
Debe registrarse la presencia de cualquier grieta o hendidura en la cinta separadora(s) o
aberturas del (los) traslapo(s).
7.14.6 Informe
El informe debe incluir, como mínimo, la indicación de cualquier grieta o hendidura en la(s)
cinta(s) separadora(s) o abertura(s) del(los) traslapo(s).
7.15 HINCHAZÓN Y AMPOLLAMIENTO CUANDO SE SUMERGE EN LÍQUIDO
7.15.1 Objeto
Este ensayo establece el método para determinar la resistencia del cable a la hinchazón o
ampollamiento.
NORMA TÉCNICA COLOMBIANA NTC 5786
69
7.15.2 Equipos
Los equipos deben constar de:
a) Un micrómetro de carátula con superficies planas tanto en la mordaza fija como en el
extremo del husillo, que ejerza una fuerza de 0,10 N a 0,83 N (0,022 a 0,187 libra
fuerza) y con una resolución y precisión de 0,01 mm (o con una resolución y precisión
de 0,001 pulgada);
b) Un tanque con capacidad de alojar una bobina de cable mientras se mantiene el líquido
a la temperatura especificada ± 1 °C;
c) Materiales y reactivos especificados en la norma de producto; y
d) Un termómetro con una exactitud de ± 1 °C.
7.15.3 Preparación de probetas
De una muestra de cable terminado con sección transversal circular, debe tomarse un probeta
de ensayo de 10 m (32 pies) nominales. La probeta debe marcarse en cinco puntos de ensayo,
utilizando un medio que sea durable en el líquido especificado y que no dañe el cable. Las
marcas deben estar separadas 2 m en los puntos a 1 m, 3 m, 5 m, 7 m y 9 m a lo largo de la
probeta.
7.15.4 Procedimiento
7.15.4.1 Los diámetros mínimo y máximo de la probeta deben medirse con aproximación a
0,01 mm (ó 0,001 pulgada) en cada uno de los cinco puntos marcados. Debe registrarse cada
una de las mediciones.
7.15.4.2 La probeta debe estar embobinada en forma holgada, y se debe sumergir en el tanque
manteniendo el líquido a la temperatura especificada en la norma de producto, con ambos
extremos de la probeta embobinada extendidos al menos 300 mm (12 pulgadas) sobre el nivel
del líquido.
7.15.4.3 La probeta embobinada debe mantenerse sumergida continuamente durante 14 d,
después de este tiempo debe retirarse del líquido y desembobinarse a temperatura ambiente.
Con un paño limpio y absorbente debe eliminarse todo el líquido que esté en la superficie de la
probeta.
7.15.4.4 La probeta debe inspeccionarse bajo visión normal para determinar la presencia de
ampollamiento. Deben medirse inmediatamente los diámetros máximo y mínimo de la probeta
en cada uno de los cinco puntos marcados. Debe registrarse cada medición.
7.15.5 Resultados y cálculos
El incremento en el diámetro debido al hinchamiento debe calcularse de la forma siguiente:
I = 100(D-d)/d
en donde
I = es el porcentaje de incremento debido a hinchamiento.
D = es el diámetro promedio de las diez mediciones tomadas después de la inmersión.
d = es el diámetro promedio de las diez mediciones tomadas antes de la inmersión.
NORMA TÉCNICA COLOMBIANA NTC 5786
70
NOTA Las dimensiones pueden ser en milímetros o pulgadas, siempre y cuando sean consistentes en todos los
cálculos.
7.15.6 Informe
El informe debe incluir lo siguiente, como mínimo:
a) Líquido de inmersión y su temperatura;
b) Evidencia de ampollamiento, si la hay; y
c) Incremento en el diámetro, si es aplicable.
7.16 DURABILIDAD DE LA IMPRESIÓN CON TINTA
7.16.1 Objeto
Este ensayo establece el método para determinar la durabilidad de la impresión con tinta.
7.16.2 Equipos
Los equipos deben constar de:
a) Un horno con circulación forzada de aire, de acuerdo con el numeral 4.2.3, literal (i);
b) Un termómetro con una precisión de ± 1 °C;
c) Un pliego de papel kraft con espesor de 1,2 mm ± 0,25 mm (0,05 ± 0,01 pulgadas), que
no tenga más de 30 % de contenido de lana y el resto del compuesto sea rayón; y
d) Un bloque con una cara maquinada de 25 mm (1 pulgada) por 50 mm (2 pulgadas) y
una altura uniforme, para asegurar una distribución uniforme de la masa en toda el área
de la cara inferior. Deben colocarse mordazas u otros medios para asegurar el papel
Kraft en su lugar. Sin que se haya colocado el papel kraft, el peso del bloque y las
mordazas debe ser de 450 g ± 5 g (1 lb ± 0,01 lb).
7.16.3 Preparación de la probeta
Del alambre o cable terminado o durante su fabricación deben tomarse dos probetas que
tengan una longitud de 300 mm (12 pulgadas) con la impresión centrada. Las probetas deben
manipularse lo mínimo y no se deben frotar, rayar ni limpiar de ninguna forma.
7.16.4 Procedimiento
7.16.4.1 Debe acondicionarse una probeta en el horno de circulación forzada de aire a la
temperatura y durante el tiempo especificados en la norma de producto. La otra probeta debe
mantenerse a temperatura ambiente por un mínimo de 24 h.
7.16.4.2 Hasta retirarla del horno, la probeta acondicionada se debe dejar en reposo durante un
mínimo de 60 min previos al ensayo. Después del período de reposo, la probeta debe
colocarse y asegurarse con la impresión hacia arriba y en el centro de la longitud de la probeta,
sobre una superficie horizontal sólida y plana.
NORMA TÉCNICA COLOMBIANA NTC 5786
71
7.16.4.3 Con la probeta asegurada en su lugar, la superficie del bloque cubierta con el papel
kraft debe colocarse horizontalmente sobre el área impresa de la probeta, con la dimensión de
50 mm (2 pulgadas) de la superficie con papel kraft paralela a la longitud de la probeta. Con el
bloque colocado libremente sobre la probeta, se desliza manualmente dicho bloque de lado a
lado a lo largo del área impresa de la probeta, para un total de tres ciclos, Cada ciclo consta de
un movimiento completo de ida y vuelta que cubre los 250 mm (10 pulgadas) centrales de la
probeta. Deben completarse tres ciclos a velocidad uniforme dentro de un total de 5 s a 10 s.
7.16.4.4 El procedimiento descrito en el numeral 7.16.4.3 se debe repetir sobre la probeta
restante.
7.16.4.5 El papel kraft puede utilizarse para varios ensayos, pero debe remplazarse tan pronto
como la fibra esté aplanada o se ensucie. Cuando no esté en uso, el peso no se debe dejar en
reposo sobre la superficie recubierta con el papel.
7.16.5 Resultados y cálculos
Se debe examinar con visión normal la legibilidad de ambas probetas, y se debe registrar.
7.16.6 Informe
El informe debe incluir, como mínimo, la indicación de legibilidad de la impresión de tinta.
7.17 RECUBRIMIENTO DE COLOR
7.17.1 Objeto
Este procedimiento establece un método para determinar la capacidad de una superficie con
tinta o recubrimiento de pintura para mantener su adhesión sin afectar perjudicialmente el
aislamiento.
7.17.2 Equipos
Los equipos deben ser:
a) Equipos como los descritos en el numeral 4.2.3, excepto los literales (g) y (h);
b) Equipos como los descritos en el numeral 7.13; y
c) Equipos como los descritos en el numeral 7.5.2.
7.17.3 Preparación de probetas
7.17.3.1 Generalidades
Las probetas, como se especifica en los numerales 7.17.3.2 a 7.17.3.4 deben tomarse de
muestras de alambre o cable terminado, o durante su fabricación.
7.17.3.2 Parte 1
Las probetas deben prepararse como se describe en el numeral 4.2.4.
NORMA TÉCNICA COLOMBIANA NTC 5786
72
7.17.3.3 Parte 2
Las probetas deben prepararse como se describe en el numeral 7.13.3.
7.17.3.4 Parte 3
Deben prepararse dos probetas de cualquier longitud conveniente y de color contrastante, una
con un recubrimiento de color y la otra sin recubrimiento. Las probetas deben entorcharse
juntas seis o más vueltas con una longitud de paso que no exceda 20 veces el diámetro total
medido de una probeta.
7.17.4 Procedimiento
7.17.4.1 Parte 1
Las probetas se deben someter a ensayo de acuerdo con los procedimientos descritos en los
numerales 4.2.8.1 y 4.2.8.2.
7.17.4.2 Parte 2
Las probetas se deben someter a ensayo de acuerdo con el procedimiento descrito en el
numeral 7.13.4, flexibilidad a temperatura ambiente, excepto que la probeta debe examinarse
únicamente para determinar si hay escamamiento del recubrimiento.
7.17.4.3 Parte 3
Las probetas deben suspenderse en el horno de aire y acondicionarse a la temperatura
especificada durante el período de tiempo especificado. Las probetas deben entonces retirarse
del horno y dejarse enfriar a temperatura ambiente durante 1 h, después de lo cual deben
desentorcharse y examinarse. Debe medirse la longitud y el ancho del recubrimiento de color
transferido a la probeta sin recubrimiento.
7.17.5 Resultados y cálculos
7.17.5.1 Parte 1
El promedio de elongación y resistencia a la rotura deben calcularse de acuerdo con el numeral
4.2.6.
7.17.5.2 Parte 2
Debe registrarse la presencia de escamamiento del recubrimiento.
7.17.5.3 Parte 3
Debe registrarse la longitud y ancho del recubrimiento de color transferido a la probeta sin
recubrimiento.
7.17.6 Informe
El informe debe incluir lo siguiente, como mínimo:
a) Tipo de exposición;
NORMA TÉCNICA COLOMBIANA NTC 5786
73
b) Valores promedio para probetas envejecidas y sin envejecer;
c) Valores promedio retenidos;
d) Presencia de escamamiento del recubrimiento, si lo hay; y
e) Migración del recubrimiento, si lo hay.
7.18 RESISTENCIA MECÁNICA
7.18.1 Objeto
Este ensayo establece el método para determinar la capacidad de un cordón para soportar
esfuerzo mecánico.
7.18.2 Equipos
Los equipos deben constar de:
a) Una máquina de ensayo de tensión de acuerdo con lo indicado en el numeral 4.2.3,
literal (a);
b) Un peso del valor especificado; y
c) Dos mordazas con capacidad para mantener sujeta la probeta mientras está bajo
tensión sin que ésta sufra daño (véase la Figura 17). Se permiten las pinzas Kellems
como una alternativa de medio de sujeción.
7.18.3 Preparación de probetas
Debe cortarse una probeta de una muestra de cordón terminado. La longitud de la probeta
debe ser suficiente para permitir una separación mínima de 600 mm (2 pies) entre mordazas.
7.18.4 Procedimiento
7.18.4.1 La probeta debe sujetarse y se le debe aplicar gradualmente la carga requerida.
7.18.4.2 Si la carga se aplica utilizando una máquina de ensayo de tensión, la tensión debe
incrementarse separando las mordazas a una velocidad de 50 mm/min (2 pulgadas/min) ± 10 %
hasta alcanzar la carga especificada. La carga debe mantenerse durante el tiempo
especificado, después del cual debe retirarse.
7.18.4.3 Si la carga se aplica elevando el peso, éste se debe centrar directamente bajo el punto
de elevación y debe evitarse que rote. La carga debe mantenerse durante el tiempo
especificado, después del cual debe retirarse.
7.18.4.4 Debe observarse la probeta para determinar si algún conductor se rompe durante el
ensayo, como se evidencia por la incapacidad de la probeta para sostener toda la carga
aplicada durante el tiempo especificado.
7.18.5 Resultados y cálculos
Debe evaluarse la probeta para determinar la rotura de conductor.
NORMA TÉCNICA COLOMBIANA NTC 5786
74
7.18.6 Informe
El informe debe incluir, como mínimo, la indicación de la capacidad de la probeta para soportar
el peso especificado durante el período especificado.
7.19 ENSAYO DE FLEXIÓN EN CONDUCTORES CON RECUBRIMIENTO DE NAILON
7.19.1 Objeto
Este ensayo establece el método para evaluar la resistencia de un recubrimiento al esfuerzo
provocado por flexión.
7.19.2 Equipos
Los equipos deben constar de:
a) Un horno con circulación forzada de aire, de acuerdo con lo indicado en el numeral
4.2.3, literal (i);
b) Un termómetro con precisión de ± 1 °C;
c) Un mandril de diámetro apropiado; y
d) Un micrómetro con superficies planas tanto en la mordaza fija como en el extremo del
husillo, que ejerza una fuerza de 0,10 N a 0,83 N ((0022 a 0,187) libras fuerza), o un
micrómetro láser, ambos con una resolución y exactitud de 0,01 mm (o con una
resolución y exactitud de 0,001 pulgada).
7.19.3 Preparación de la probeta
Debe cortarse una probeta con recubrimiento de longitud mínima de 300 mm de una muestra
de alambre o cable terminado o durante su fabricación. La probeta se debe enderezar.
7.19.4 Procedimiento
7.19.4.1 El diámetro del mandril debe determinarse midiendo el diámetro de la probeta. El
diámetro del mandril debe ser igual al de la probeta, +0 %, -10 %. En el caso de una
construcción paralela, para determinar el diámetro del mandril debe utilizarse la dimensión
menor.
7.19.4.2 La probeta debe suspenderse verticalmente en un horno a la temperatura especificada
durante el período especificado. Después del acondicionamiento, la probeta debe sacarse del
horno. Dentro de un período de 16 h a 96 h a temperatura ambiente, la probeta debe enrollarse
6 vueltas alrededor de un mandril, y cada vuelta debe estar en contacto con la vuelta
adyacente.
7.19.4.3 En el caso de una construcción paralela, la probeta debe enrollarse sobre su lado
plano alrededor del mandril.
7.19.4.4 La probeta debe examinarse para determinar con visión normal la presencia de
grietas, tanto en condición enrollada como desenrollada.
7.19.5 Resultados y cálculos
Debe determinarse la presencia de cualquier grieta.
NORMA TÉCNICA COLOMBIANA NTC 5786
75
7.19.6 Informe
El informe debe incluir, como mínimo, la presencia de cualquier grieta.
7.20 TENSIÓN MECÁNICA DEL AISLAMIENTO
7.20.1 Objeto
Este ensayo establece el método para determinar la tensión mecánica del aislamiento.
7.20.2 Equipos
Los equipos deben constar de:
a) Un dispositivo de sujeción (prensa de tornillo) para montar la probeta verticalmente;
b) Un peso especificado; y
c) Un dispositivo de medición con divisiones de 1 mm (0,03 pulgadas).
7.20.3 Preparación de la probeta
7.20.3.1 Monoconductor
Una probeta de un conductor aislado, tomada de una muestra de alambre o cable terminado o
durante su fabricación, se debe enderezar suavemente y cortar a una longitud de 275 mm (11
pulgadas). La probeta debe tener 50 mm (2 pulgadas) de aislamiento y cualquier separador se
debe retirar de un extremo. Se debe colocar una marca de referencia y cualquier separador
que presente. Debe colocarse una marca de referencia sobre el conductor en donde entra el
aislamiento. El otro extremo de la probeta debe tener el aislamiento cortado longitudinalmente
75 mm (3 pulgadas). El conductor se debe cortar y retirar, y luego se deben encintar juntos
nuevamente el aislamiento vacío con cualquier separador.
7.20.3.2 Multiconductor paralelo
Una probeta de multiconductor paralelo, tomada de una muestra de alambre o cable terminado
o durante su fabricación, se debe enderezar suavemente y cortar a una longitud de 405 mm (16
pulgadas). En ambos extremos de la probeta de los conductores de circuito debe retirarse una
longitud de 50 mm (2 pulgadas) de aislamiento y cualquier separador. Debe cortarse un
conductor de circuito desnudo a ras con el aislamiento, en un extremo de la probeta, y el otro
conductor de circuito desnudo se debe cortar a ras con el aislamiento al otro extremo de la
probeta (véase la Figura 18). Cualquier conductor de puesta a tierra debe cortarse a ras con el
aislamiento en ambos extremos de la probeta. Las marcas de referencia deben colocarse sobre
los conductores en ambos extremos en donde entra el aislamiento.
7.20.4 Procedimiento
7.20.4.1 Monoconductor
El peso especificado debe unirse a la probeta amarrando el aislamiento encintado al peso. El
conductor desnudo al otro extremo de la probeta debe asegurarse en el ensamble de sujeción,
y el peso se debe bajar suavemente y liberarse de forma que esté sostenido por la probeta
durante el período especificado. Debe medirse la distancia entre el extremo del aislamiento y la
marca de referencia.
NORMA TÉCNICA COLOMBIANA NTC 5786
76
7.20.4.2 Multiconductor paralelo
El peso especificado debe unirse a un extremo del conductor de circuito desnudo, y el peso y la
probeta unida deben estar sostenidos del extremo desnudo del otro conductor de circuito
durante el período especificado. La distancia entre el extremo del aislamiento y la marca de
referencia debe medirse en ambos conductores.
7.20.5 Resultados y cálculos
Debe registrarse la longitud adicional del conductor desnudo expuesto durante el ensayo.
7.20.6 Informe
El informe debe incluir, como mínimo, la longitud adicional del conductor expuesto.
7.21 FLEXIÓN DE CABLES CON PANTALLA
7.21.1 Objeto
Este ensayo establece el método para la evaluación de los conductores de cables con pantalla
para determinar la resistencia a la ruptura por flexiones repetidas.
7.21.2 Equipos
El equipo debe constar de:
a) Un aparato de flexión (véase la Figura 19);
b) Un contador de ciclos con capacidad para contar un mínimo de 15 000 ciclos; y
c) Una fuente de corriente alterna con capacidad de proporcionar la corriente especificada,
detectar la rotura del conductor y detener el aparato de flexión.
7.21.3 Preparación de la probeta
Seis probetas, cada una de 5 m (15 pies) de longitud, deben cortarse de una muestra de cable
con pantalla terminado. Los extremos de los conductores de circuito deben estar desnudos.
7.21.4 Procedimiento
7.21.4.1 Los conductores de circuito en las probetas deben estar conectados en serie con la
fuente de corriente y entre sí.
7.21.4.2 El ensayo se debe realizar a temperatura ambiente. Las probetas deben montarse
sobre las poleas. Las poleas deben montarse de forma que las probetas estén horizontales
cuando pasan entre ellas. El peso, las poleas y la corriente utilizadas en la ensayo deben ser
como se especifica en la norma de producto. Las mordazas en los extremos de las probetas
deben colocarse como se muestra en la Figura 19.
7.21.4.3 Con las probetas en su lugar y la corriente nominal fluyendo en los conductores de
circuito, las dos poleas centrales deben moverse conjuntamente en un movimiento de vaivén
horizontal. El movimiento debe ser constante, a razón de 0,4 m/s (1,3 pies/segundo) ó 12 ciclos
por minuto; cada ciclo consta de un movimiento completo de ida y vuelta en un recorrido de
aproximadamente 1 m (3 pies).
NORMA TÉCNICA COLOMBIANA NTC 5786
77
7.21.4.4 El movimiento debe continuar hasta completar el número especificado de ciclos o
hasta que un conductor de circuito se abra y el ensayo se detenga automáticamente.
7.21.5 Resultados y cálculos
Debe registrarse el número de ciclos en el momento en que el ensayo se detiene.
7.21.6 Informe
El informe debe incluir, como mínimo, el número de ciclos completados para cada probeta.
8. ENSAYOS AMBIENTALES PARA ALAMBRE Y CABLE TERMINADO
8.1 CORROSIÓN DEL COBRE
8.1.1 Objeto
Este ensayo establece el método para determinar la compatibilidad química de conductores de
cobre o aluminio recubierto de cobre en contacto con material de aislamiento.
8.1.2 Equipos
El equipo debe constar de:
a) Un horno con circulación forzada de aire, de acuerdo con lo descrito en 4.2.3, literal (i); y
b) Un termómetro para medir temperatura con precisión de ±1 °C.
8.1.3 Preparación de probetas
Deben cortarse dos probetas de conductor aislado, de una longitud que permita colocar una
probeta en el horno verticalmente.
8.1.4 Procedimiento
8.1.4.1 Debe acondicionarse una probeta a temperatura ambiente. La segunda probeta debe
acondicionarse en el horno a la temperatura y durante el período especificado en la norma de
producto. Las temperaturas del horno deben registrarse durante todo el período de
acondicionamiento. La probeta debe entonces sacarse del horno y dejarla enfriar a temperatura
ambiente.
8.1.4.2 Debe quitarse el aislamiento de los conductores de ambas probetas, y la superficie de
los conductores debe examinarse con visión normal.
8.1.5 Resultados y cálculos
Debe registrarse cualquier evidencia de corrosión del cobre (se descarta la oxidación normal o
decoloramiento no provocado por el aislamiento o algún separador).
8.1.6 Informe
El informe debe incluir, como mínimo, evidencia de corrosión, si se presenta, sobre las
probetas acondicionadas y sin acondicionar.
NORMA TÉCNICA COLOMBIANA NTC 5786
78
9. ENSAYO DE CARACTERÍSTICAS DE FLAMEO
9.1 LLAMA HORIZONTAL FT2/FH
9.1.1 Objeto
Este ensayo establece el método para determinar la resistencia de un alambre, cable o cordón
a la propagación horizontal de llama, y al goteo de partículas encendidas.
9.1.2 Partículas y reactivos
Los materiales y reactivos deben ser:
a) Metano con una pureza del 98 % y un contenido térmico de (37 ± 1) MJ/m3
((1 000 ± 30)
Btu/pies3
) a 25 °C y 101 kPa (14,7 psi); o gas natural con un contenido térmico de (37 ± 1)
MJ/m3
(1 000 ± 30 Btu/pies3
) a 25 °C y 101 kPa (14,7 psi), y
NOTA Se pueden usar gases alternativos, como propano con una pureza mínima del 95 %, un contenido
térmico de 94 ± 2 MJ/m3
(2 540 ± 50 Btu/pies3
) a 25 °C y 101 kPa (14,7 psi); o butano con una pureza
mínima del 99 %, un contenido térmico de 120 ± 3 MJ/m3
(3 240 ± 80 Btu/pies3
) a 25 °C y 101 kPa (14,7 psi), si
se puede obtener una llama estable y el perfil de evolución de calor cumple con la norma ASTM D 5207 ó
NMX-J-192-ANCE, o IEC 60695-11-20.
PRECAUCIÓN Los gases propano y butano son más densos que el aire; se pueden asentar y llegar a
presentar peligro de explosión. Se debe consultar al proveedor de gas acerca de las precauciones
especiales que se deben tomar.
b) Algodon quirúrgico, seco y sin tratar.
9.1.3 Equipos
El equipo debe constar de:
a) Una cámara libre de corrientes, con un medio de acceso y observación que se pueda
sellar. Cada dimensión interior lineal de la cámara debe ser al menos de 610 mm2
(24 pulgadas2
). El volumen interior de la cámara debe ser al menos de 4 m3
(140 pies3
),
incluido el volumen de una transición de escape, si la hay. Debe haber al menos 2 m3
(70 pies3
) de este volumen sobre el punto de contacto de la llama en la probeta, como
espacio para que el calor y el humo se acumulen, de manera que no influyan en el
ensayo.
b) Un bloque de ángulo (véase la Figura 20) para colocar el quemador a un ángulo 20 ± 1°
de la posición vertical. Este bloque debe estar en capacidad de mover la llama en
posición en la probeta. También debe estar en capacidad de dirigir la llama lejos de la
probeta más allá de la vertical, o de retirar la llama una distancia mínima de 150 mm
(6 pulgadas) de la probeta.
c) Soportes de laboratorio u otros soportes para asegurar la probeta. No deben crear
corrientes ascendentes ni impedir el suministro de aire a la llama. Independientemente
del método empleado, los soportes de las probetas deben estar separados entre 200 mm
y 300 mm (7 a 9 pulgadas).
d) Un quemador de laboratorio conforme con la norma ASTM D 5025 ó NMX-J-192-ANCE
o IEC 60695-11-20, adecuado para el valor calorífico del gas, y con un diámetro interno
de 9,5 ± 0,3 mm (0,375 ± 0,01 pulgada) y una longitud de 100 mm ± 10 mm (4,0 pulgadas
± 0,4 pulgadas) por encima de las entradas de aire primarias. El quemador se debe
NORMA TÉCNICA COLOMBIANA NTC 5786
79
calibrar de acuerdo con la norma ASTM D 5207 ó NMX-J-192-ANCE o IEC 60695-11-20
cada vez que se use, cambie o rellene un cilindro de gas, o se cambie cualquiera de los
aparatos.
NOTA Se recomienda calibrar la llama del quemador al menos cada 30 días y cada vez que se cambie un
cillindro de gas o cualquiera de los aparatos. También se recomienda que cuando se use un gas diferente
del metano con el grado especificado para los propósitos de referencia, la llama del quemador se calibre
cada día inmediatamente antes de comenzar el ensayo.
e) Un dispositivo para medición de longitud con una precisión del 5 % del requisito de
medición de carbonización;
f) Un medidor de altura de llama con capacidad para medir las alturas de llama
especificadas, y
g) Un dispositivo temporizador con capacidad para medir el tiempo especificado en
segundos, con una resolución de 1 s y una precisión de ± 0,5 s.
9.1.4 Preparación de las probetas
Se debe tomar una probeta de una muestra de alambre, cable o cordón, terminado o durante
su fabricación, de 250 mm a 300 mm (10 pulgadas a 12 pulgadas) de longitud, se debe
acondicionar a temperatura ambiente por un mínimo de 6 h, luego enderezar y asegurar
horizontalmente en los soportes. En el caso de construcciones paralelas planas, la probeta se
debe asegurar con su eje principal en posición vertical.
9.1.5 Procedimiento
9.1.5.1 La altura de la llama de ensayo, con el quemador vertical, se debe ajustar a 125 mm
±10 mm (5,0 pulgadas ± 0,4 pulgadas), con un cono azul interno de 40 mm ± 2 mm (1,5 pulgadas
± 0,1 pulgadas) de altura. El quemador se debe unir al bloque de ángulo para ubicar el
quemador a un ángulo de 20° de la vertical.
9.1.5.2 Una capa de algodón, plana y horizontal, de 6 mm ± 3 mm (0,25 pulgadas ± 0,12 pulgadas)
de espesor y con dimensiones aproximadas de 200 x 200 mm (8,0 x 8,0 pulgadas) debe cubrir
el piso del cerramiento y debe estar centrada bajo la probeta. La superficie superior del algodón
debe estar de 230 mm a 240 mm (9,0 pulgadas a 9,5 pulgadas) por debajo del punto en el cual
la punta del cono azul toca la probeta.
9.1.5.3 La cámara de ensayo y el sistema de escape deben estar sellados y el ventilador debe
estar apagado durante el ensayo. El quemador se debe mover a una posición tal, que la punta
del cono azul interno de la llama de ensayo se aplique al centro de la probeta (véase la Figura 21).
Después de 30 s la llama se debe retirar de la probeta y se debe dejar quemar hasta que se
autoextinga.
9.1.5.4 Después de que la probeta se haya extinguido, se debe activar el sistema de escape
para retirar todo el humo y vapores de la cámara.
9.1.6 Resultados y cálculos
9.1.6.1 La longitud del daño a la probeta se debe medir y registrar. El daño se define como
carbonización, quemado o fusión.
NORMA TÉCNICA COLOMBIANA NTC 5786
80
9.1.6.2 Se debe registrar el encendido del algodón, si lo hay. No se debe tener en cuenta la
carbonización sin llama del algodón.
9.1.7 Informe
El informe de ensayo debe incluir lo siguiente, como mínimo:
a) longitud del daño a la probeta, y
b) Indicación de encendido del algodón.
9.2 PARTÍCULAS ENCENDIDAS (GOTEO)
9.2.1 Objeto
Este ensayo establece el método para determinar la resistencia al goteo de partículas
encendidas de aislamiento de alambre o cable durante y después de la aplicación de la llama
de ensayo.
9.2.2 Materiales y reactivos
Los materiales y reactivos deben ser los siguientes:
a) metano, como se describe en el numeral 9.1.2, literal (a), y
b) una hoja de periódico estándar con una masa de 46,4 g a 57,0 g ((0,086 a 0,105)
libras/yarda2
), un espesor máximo de 0,11 mm (0,043 pulgadas) y un contenido máximo
de cenizas de 6,5 %.
9.2.3 Equipo
El equipo debe constar de:
a) un aparato como el descrito en el numeral 9.1.3, literales (a), (b) y (d), y un medio para
sostener la probeta de ensayo en posición vertical;
b) una pantalla de lámina metálica de 300 mm ± 50 mm (12 pulgadas ± 2 pulgadas) de
ancho, 350 mm ± 50 mm (14 ± 2 pulgadas) de profundidad y 600 mm ± 50 mm
(24 pulgadas ± 2 pulgadas) de altura, abierta por arriba y por el frente, y equipada con
un medio para sostener la probeta de ensayo en posición vertical, y
c) una placa de acero con un espesor mínimo de 3 mm (0,1 pulgada) con dimensiones
aproximadas de 200 mm x 300 mm (8 pulgadas x 12 pulgadas).
9.2.4 Preparación de las probetas
9.2.4.1 Se debe tomar una probeta de 450 mm a 600 mm (18 pulgadas a 24 pulgadas) de
longitud, de una muestra de alambre, cable o cordón terminado o tomado durante la fabricación.
La probeta se debe acondicionar a temperatura ambiente durante un mínimo de 6 h, luego se
debe enderezar y asegurar verticalmente con los soportes.
9.2.4.2 El soporte de la base debe estar al menos a 50 mm (2 pulgadas) por debajo del punto
de contacto de la llama de ensayo. El soporte de la parte superior debe estar al menos a 300 mm
(2 pulgadas) por encima del punto de contacto de la llama de ensayo.
NORMA TÉCNICA COLOMBIANA NTC 5786
81
9.2.5 Procedimiento
9.2.5.1 La probeta, el equipo y el aire circundante deben estar a temperatura ambiente.
9.2.5.2 La placa de acero se debe colocar en el piso de la cámara bajo la probeta. Se debe
colocar una hoja de periódico con dimensiones aproximadas de 200 mm x 300 mm (8 pulgadas
x 12 pulgadas), horizontal sobre la placa de acero.
9.2.5.3 La altura de la llama de ensayo, con el quemador vertical, se debe ajustar a 125 mm ±
10 mm (4,9 pulgadas ± 0,4 pulgadas), con un cono azul interno de 40 mm ± 2 mm (1,5 pulgadas ±
0,1 pulgadas) de altura. El quemador se debe acoplar al bloque de ángulo para ubicar el
quemador en un ángulo de 20° de la vertical.
9.2.5.4 La cámara de ensayo y el sistema de escape deben estar sellados y el ventilador debe
estar apagado durante el ensayo.
La punta del cono azul interno de la llama de ensayo se debe aplicar a la probeta durante 15 s y
luego retirar durante 15 s. La punta del cono azul debe hacer contacto con la probeta a una
distancia no mayor de 238 mm (9,375 pulgadas) sobre la hoja de periódico (véase la Figura 22).
9.2.5.5 La aplicación de la llama del numeral 9.2.5.4 se debe repetir hasta que se hayan hecho
5 aplicaciones a la llama. Durante el ensayo y hasta por 60 s después de la quinta aplicación
de llama, se debe examinar la hoja de periódico para determinar evidencia de ignición causada
por el goteo de partículas encendidas.
9.2.5.6 Después de que la probeta se haya extinguido, se debe activar el sistema de escape
para retirar todo el humo y vapores de la cámara.
9.2.6 Resultados y cálculos
Se debe registrar la combustión de la hoja de periódico o la presencia de agujeros en éste.
9.2.7 Informe
El informe de ensayo debe incluir, como mínimo, evidencia de combustión o agujeros en la hoja
de periódico.
9.3 FT1
9.3.1 Objeto
Este ensayo establece el método para determinar la resistencia de un alambre, cable o cordón
a la propagación vertical de la llama.
9.3.2 Materiales y reactivos
Los materiales y reactivos deben ser los siguientes:
a) metano, como se describe en el numeral 9.1.2, literal (a), y
b) papel kraft de 94 g/m2
(60 lb) con un espesor nominal de 0,13 mm (0,005 pulgadas, con
pegante en uno de sus lados.
NORMA TÉCNICA COLOMBIANA NTC 5786
82
9.3.3 Equipo
El equipo debe constar de:
a) un aparato como el descrito en el numeral 9.1.3, literales (a), (b) y (d), un medio para
sostener la probeta en posición vertical, y
b) una pantalla de ensayo como la descrita en el numeral 9.2.3. b).
9.3.4 Preparación de las probetas
9.3.4.1 Una probeta con una longitud mínima de 610 mm (24 pulgadas) tomada de una
muestra de alambre, cable o cordón, terminada o tomada durante la fabricación, se debe
acondicionar a temperatura ambiente durante mínimo 6 h y se debe enderezar.
9.3.4.2 Una banda de papel kraft de 12,5 mm ± 1 mm (ó 0,5 pulgadas ± 0,1 pulgada) de ancho
se debe humedecer apenas lo suficiente para facilitar la adhesión.
Con el pegante hacia la probeta, la banda se debe envolver alrededor de la probeta, con el
extremo inferior a 254 mm ± 2 mm (10 pulgadas ± 0,1 pulgada) por encima del punto en el cual
la punta del cono azul interno de la llama hace contacto con la probeta.
Los extremos de la banda se deben pegar uniformemente y recortar de manera que se obtenga
una bandera indicadora que se proyecte nominalmente 20 mm (0,75 pulgadas) al lado opuesto
de aplicación de la llama. En un espécimen plano, la bandera se debe proyectar desde el
centro de la cara ancha de la probeta.
9.3.5 Procedimiento
9.3.5.1 La probeta, el equipo y el aire circundante deben estar a temperatura ambiente.
9.3.5.2 La probeta se debe montar verticalmente en los soportes de la cámara (véase la Figura 22).
El soporte inferior de la probeta debe estar al menos a 50 mm (2 pulgadas) por debajo del
punto de contacto del cono azul interno de la llama con la probeta. El cono azul debe hacer
contacto con la probeta a una distancia no mayor de 238 mm (9,375 pulgadas) por encima de
la base del aparato. El soporte superior de la probeta debe estar localizado al menos a 500 mm
(2 pulgadas) por encima de la bandera de papel kraft.
9.3.5.3 Con el quemador vertical, la altura de la llama de ensayo se debe ajustar a 125 mm ±
10 mm (5 pulgadas ± 0,4 pulgadas), con un cono azul interno de 40 mm ± 2 mm (1,5 pulgadas
± 0,1 pulgadas) de longitud. El quemador se debe colocar en el bloque de ángulo, con el
cuerpo en un ángulo de 20° en relación con la vertical.
9.3.5.4 El movimiento del bloque de ángulo debe permitir retirar suavemente la llama de la
probeta y aplicarla nuevamente en forma suave.
La alineación del bloque de ángulo debe ser tal, que el eje longitudinal del cuerpo del
quemador y el eje longitudinal de la probeta estén en el mismo plano.
9.3.5.5 El bloque de ángulo se debe mover a una posición tal, que la punta del cono azul de la
llama haga contacto con la superficie exterior de la probeta durante 15 s, y luego se debe
separar durante 15 s. Este ciclo se debe repetir hasta haber aplicado la llama 5 veces.
NORMA TÉCNICA COLOMBIANA NTC 5786
83
En todos los casos, el movimiento del bloque de ángulo debe ser suave y rápido, con una
perturbación mínima de la cámara de aire. En un espécimen plano, la bandera debe hacer
contacto con el centro de la cara ancha de la probeta. Si la probeta cambia de ubicación debido
al calentamiento o quemado, la posición del quemador se debe ajustar de manera que el punto
de contacto permanezca en el mismo lugar de la probeta.
9.3.5.6 Después de finalizar el ensayo, se debe activar el sistema de escape para retirar todo el
humo y vapores de la cámara.
9.3.6 Resultados y cálculos
Durante el ensayo y después de éste, se debe registrar lo siguiente:
a) un porcentaje de la banda indicadora quemado o carbonizado (no simplemente un poco
quemado o cubierto de hollín); la porción de papel kraft en contacto con la probeta no se
considera parte de la bandera); y
b) el tiempo que le toma a la probeta autoextinguirse, después de retirar la llama del
quemador luego de la quinta aplicación.
9.3.7 Informe
El informe de ensayo debe incluir lo siguiente, como mínimo:
a) El porcentaje de la banda indicadora quemado o carbonizado, y
b) una indicación de si el encendido de la probeta excede los 60 s después de retirar la
llama del quemador luego de la quinta aplicación.
9.4 FV-2/VW-1
9.4.1 Objeto
Este ensayo establece el método para determinar la resistencia de un alambre, cable o cordón
a la propagación vertical de la llama y goteo de partículas encendidas.
9.4.2 Materiales y reactivos
Los materiales y reactivos deben ser los siguientes:
a) Metano, como se describe en el numeral 9.1.2, literal (a);
b) algodón quirúrgico, como se describe en el numeral 9.1.2, literal (b), y
c) papel kraft, como se describe en el numeral 9.3.2, literal (b).
9.4.3 Equipo
Un aparato como el descrito en el numeral 9.1.3, literales (a), (b) y (d), y un medio para
sostener la probeta de ensayo en posición vertical;
NORMA TÉCNICA COLOMBIANA NTC 5786
84
9.4.4 Preparación de las probetas
9.4.4.1 Una probeta con una longitud mínima de 610 mm (24 pulgadas) tomada de una
muestra de alambre, cable o cordón terminado, o tomada durante la fabricación, se debe
acondicionar a temperatura ambiente durante mínimo 6 h y se debe enderezar.
9.4.4.2 Una banda de papel kraft de 12,5 mm ± 1 mm (0,5 pulgadas ± 0,1 pulgada) de ancho se
debe humedecer apenas lo suficiente para facilitar la adhesión. Con el pegante hacia la
probeta, la banda se debe envolver alrededor de la probeta, con el extremo inferior a 254 mm ±
2 mm (10 pulgadas ± 0,1 pulgada) por encima del punto en el cual la punta del cono azul
interno de la llama hace contacto con la probeta.
Los extremos de la banda se deben pegar uniformemente y recortar de manera que se obtenga
una bandera indicadora que se proyecte nominalmente 20 mm (0,75 pulgadas) al lado opuesto
de aplicación de la llama. En un espécimen plano, la bandera se debe proyectar desde el
centro de la cara ancha de la probeta.
9.4.5 Procedimiento
9.4.5.1 La probeta, el equipo y el aire circundante deben estar a temperatura ambiente.
9.4.5.2 La probeta se debe montar verticalmente en los soportes de la cámara. El soporte
inferior de la probeta debe estar al menos a 50 mm (2 pulgadas) por debajo del punto de
contacto del cono azul interno de la llama con la probeta (véase la Figura 22). El soporte
superior de la probeta debe estar localizado al menos a 500 mm (2 pulgadas) por encima de la
parte superior de la bandera de papel kraft.
9.4.5.3 Se debe colocar una capa horizontal de algodón sobre el piso de la cámara de la
ensayo, centrada en el eje vertical de la probeta, que se extienda de 75 mm a 100 mm (3 pulgadas
a 4 pulgadas) hacia afuera en todas direcciones, excepto en la dirección del quemador, en
donde se debe extender apenas para hacer contacto con el bloque de ángulo. La superficie
superior del algodón debe ser de 235 mm ± 6 mm (9,25 pulgadas ± 0,25 pulgadas) por debajo
del punto en el cual la punta del cono azul hace contacto con la probeta. No debe haber
algodón sobre el quemador, ni debajo del bloque de ángulo.
9.4.5.4 Con el quemador vertical, la altura de la llama de ensayo se debe ajustar a 125 mm ±
10 mm (5,0 pulgadas ± 0,4 pulgadas), con un cono azul interno de 40 mm ± 2 mm (ó 1,5 pulgadas
± 0,1 pulgadas) de longitud. El quemador se debe colocar en el bloque de ángulo, con el
cuerpo en un ángulo de 20° en relación con la vertical.
9.4.5.5 El movimiento del bloque de ángulo (para permitir retirar suavemente la llama de la
probeta y aplicarla nuevamente en forma suave) no debe afectar la capa de algodón que se
encuentra colocada en el piso del cerramiento.
La alineación del bloque de ángulo debe ser tal, que el eje del cuerpo del quemador y el eje
longitudinal de la probeta estén en el mismo plano.
9.4.5.6 El bloque de ángulo se debe mover a una posición tal, que la punta del cono azul de la
llama haga contacto con la superficie exterior de la probeta durante 15 s, y luego se debe
separar durante 15 s. Este ciclo se debe repetir hasta haber aplicado la llama 5 veces. En
todos los casos, el movimiento del bloque de ángulo debe ser suave y rápido, con una
perturbación mínima de la cámara de aire. En un espécimen plano, la bandera debe hacer
contacto con el centro de la cara ancha de la probeta. Si la probeta cambia de ubicación debido
a calentamiento o quemado, la posición del quemador se debe ajustar de manera que el punto
de contacto permanezca en el mismo lugar de la probeta.
NORMA TÉCNICA COLOMBIANA NTC 5786
85
9.4.5.7 Cuando cualquier probeta emita partículas encendidas o incandescentes que caen por
fuera del área de la superficie de ensayo cubierta por el algodón, o caen sobre la cuña o el
quemador, o ambos, los resultados del ensayo se deben descartar y éste se debe repetir.
Para repetir el ensayo, el área cubierta por el algodón se puede incrementar, colocar sobre la
cuña, o ambos.
9.4.5.8 Cuando el encendido de la probeta persiste más de 15 s después de retirar la llama del
quemador, ésta no se debe aplicar nuevamente, sino inmediatamente después de que el
encendido cese.
9.4.5.9 Después de finalizar el ensayo, se debe activar el sistema de escape para retirar todo el
humo y vapores de la cámara.
9.4.6 Resultados y cálculos
Durante el ensayo y después de éste, se debe registrar lo siguiente:
a) El porcentaje de la bandera indicadora quemado o carbonizado (no simplemente un
poco quemado o cubierto de hollín); la porción de papel kraft en contacto con la probeta
no se considera parte de la bandera); y
b) cualquier encendido del algodón. No se debe tener en cuenta la carbonización sin llama
del algodón.
b) el tiempo que le toma a la probeta autoextinguirse, después de finalizar cada aplicación
de la llama del quemador.
9.4.7 Informe
El informe de ensayo debe incluir lo siguiente, como mínimo:
a) El porcentaje de la bandera indicadora quemado o carbonizado;
b) cualquier encendido del algodón, y.
b) una indicación de si el encendido de la probeta excede los 60 s después de retirar la
llama del quemador luego de cualquier aplicación.
9.5 FV-1/llama vertical
Este ensayo es idéntico al descrito en el numeral 9.4, excepto que no se debe aplicar el
numeral 9.4.5.8; es decir, durante el procedimiento de ensayo la llama del quemador se debe
aplicar nuevamente después de 15 s, independientemente de si el encendido de la probeta
persiste más de 15 s.
9.6 ENSAYOS DE LLAMA CON BANDEJA VERTICAL (método 1. Bandeja vertical y
método 2 - FT4)
9.6.1 Objeto
Este ensayo establece el método para determinar la resistencia de un alambre, cable o cordón
a la propagación de la llama, mientras está instalado en una bandeja vertical.
NORMA TÉCNICA COLOMBIANA NTC 5786
86
9.6.2 Materiales y reactivos
Los materiales y reactivos deben ser los siguientes:
a) Propano con una pureza mínima del 95 %, con un valor de calentamiento de (94 ± 2)
MJ/m3
((2 540 ± 50) Btu/pies3
); y
b) aire comprimido.
NOTA Se recomienda el gas propano definido como Propano para Fines Especiales, en la ASTM D1835, ó
propano HD-5 como se define en la norma GPA 2140.
PRECAUCIÓN El gas propano es más denso que el aire y se puede asentar y representar peligro de explosión.
Consulte al proveedor de gas en cuanto a las precauciones especiales que se deben tomar.
9.6.3 Equipo
El equipo debe constar de:
a) un cerramiento de ensayo y un conducto de escape (véanse el Anexo H, los literales
H.1 y H.2, y las Figuras H.1 a H.3), ubicados en una edificación de ensayo que tenga
orificios de ventilación para la descarga de productos de la combustión, y medios que
permitan la entrada de aire fresco;
b) un sistema de ventilador de escape y desviación con capacidad de producir una tasa de
flujo de escape de (0,65 ± 0,5) m3
/s ((23,0 ± 1,8) pies3
/s) ó (5 ± 0,4) m/s ((16,4 1,31)
pies/s) en el conducto (véase la Figura H.2);
c) equipo para medición de velocidad (véase la Figura H.1), como el siguiente:
i) Sonda bidireccional (véase la Figura H.3);
ii) Sonda de temperatura – Tipo K con un revestimiento de inconel;
iii) un transductor de baja presión (manómetro) con una resolución mínima de 0,025 Pa
(0,001 libra/pulgada2
); y
iv) Controles computarizados/equipo para adquisición de datos;
d) Un sistema de suministro de gas (véase la Figura H.7) dispuesto de manera que el aire
y el propano se mezclen en el venturi antes de entrar al quemador; consta de:
i) medidor de flujo de propano con capacidad de medir una tasa de flujo de (2,3 x
10-4
) m3
/s (29 pies3
/hora) con una precisión de ± 3 % (véase la Nota 2);
ii) medidor de flujo de aire con capacidad de medir una tasa de flujo de (13,3 x 10-4
) m3
/s
(170 pies3
/hora) con una precisión de ± 3 % (véase la Nota 3);
iii) Válvulas de aguja para controlar el flujo de propano y aire;
iv) Un mezclador venturi (véase la Nota 4);
NORMA TÉCNICA COLOMBIANA NTC 5786
87
v) Un quemador de cinta (véase la Nota 4) con una superficie de producción de
llama compuesta de una placa metálica plana de 341 mm (13- 7/16 de pulgada)
de longitud y 30 mm (1- 5/32 de pulgada) de ancho. La placa debe tener 242
agujeros (véase la Figura H.5); y
vi) reguladores de presión para propano y aire comprimido;
e) Un sistema de ignición;
f) Bandejas porta cable de acero (véase la Figura H.4);
g) Amarres de alambre (cobre o acero) no mayores de 2,1 mm2
(14 AWG);
h) Un medidor de altura de llama (opcional, véase la Figura H.1);
i) Un anemómetro de aletas portátil, con capacidad para medir velocidades del viento
de 1 m/s (3,3 pies/s); y
j) Un dispositivo de medición de longitud con una precisión de 0,1 %.
NOTA 1 Las disposiciones para el filtrado de los gases descargados y las relativas a conformidad con códigos de
seguridad y ambientales locales no se tratan en esta norma.
NOTA 2 Un medidor de flujo de propano (catálogo nro. 58-162788-00), disponible en Dwyer Instruments, 102
Indiana Hwy 212, Michigan City, IN 46361-0373, E.E.U.U, se ha encontrado aceptable. También es aceptable un
equipo equivalente.
NOTA 3 Un medidor de flujo de propano (catálogo nro. RMC-103), disponible en Dwyer Instruments, 102 Indiana
Hwy 212, Michigan City, IN 46361-0373, E.E.U.U, se ha encontrado aceptable. También es aceptable un equipo
equivalente.
NOTA 4 Un quemador de cinta (catálogo nro. 10L 11-55) y un mezclador venturi (catálogo nro. 14-18) disponibles
en AGF Burner Inc., 1955 Swarthmore Ave., Lakewood, NJ 08701, E.E.U.U, se han encontrado adecuados. También
es aceptable un equipo equivalente.
9.6.4 Preparación de las probetas
9.6.4.1 Generalidades
Las muestras se deben tomar de alambre, cable o cordón terminados.
Se debe hacer lo necesario dentro de la cámara para asegurar la bandeja en posición vertical
en el centro del cerramiento después de colocar las probetas.
9.6.4.2 Método 1. Montaje de la probeta en la bandeja vertical.
La muestra se debe cortar en probetas de 2 440 mm (96 pulgadas) de longitud. Las probetas
se deben enderezar y asegurar a la bandeja en una sola capa por medio de amarres de
alambre en sus extremos superior e inferior, y en otros dos puntos separados uniformemente a
todo lo largo (véase la Figura H.8). Las probetas se deben instalar en el centro 150 mm
(6 pulgadas) de la bandeja, separadas la mitad del diámetro del cable. El extremo inferior de
cada probeta debe estar ubicado a máximo 100 mm (4 pulgadas) por encima del extremo
inferior de la bandeja portacables.
NORMA TÉCNICA COLOMBIANA NTC 5786
88
El número de probetas se debe determinar usando la siguiente fórmula:
N = (102/Dmm) + 0,33
ó
N = (4/Dpulgada) + 0,33
en donde
N = número de cables (redondeado al número entero más cercano, por ejemplo, 3,14 = 4 probetas)
D = diámetro del cable, mm (pulgadas)
Para un cable plano, el diámetro de cable equivalente se debe calcular como
D = 1,128 x (TW)1/2
en donde
T = longitud del eje menor del cable plano, mm (pulgadas)
W = longitud del eje mayor del cable plano, mm (pulgadas)
Para cables cinta, la separación entre cables adyacentes no debe ser inferior a 3,2 mm (1/8 de
pulgada). Se puede utilizar el ancho completo de la bandeja.
9.6.4.3 Método 2. Montaje de la probeta FT4
Dependiendo del diámetro exterior del cable individual, las probetas de ensayo deben ser
longitudes individuales separadas, o un haz de longitudes individuales, y deben estar
compuestas de múltiples longitudes de 2 440 mm (96 pulgadas) de cable terminado.
Las probetas o haces de probetas se deben centrar entre las barandas laterales en una sola
capa (véase la Figura H.8). El extremo inferior de cada probeta o haz de probetas debe estar
ubicado a máximo 100 mm (4 pulgadas) por encima del extremo inferior de la bandeja
portacables. Cada probeta o haz de probetas se debe unir en forma separada a cada canaleta
de la bandeja portacables, usando una vuelta de alambre de cobre o acero de máximo 2,1 mm2
(14 AWG).
Para cables de menos de 13 mm (0,51 pulgadas), las probetas se deben agrupar en haces
desenrollados (nominalmente circulares, véase la Figura H.8), como se indica en la Tabla 5.
Los haces deben estar separados medio diámetro del haz en la bandeja portacables, como se
midieron en el punto de unión a la bandeja portacables.
Para cables con un diámetro de 13 mm (0,51 pulgadas) y mayor, cada probeta se debe sujetar
individualmente a la bandeja portacables con una separación de medio diámetro de cable ó 15 mm
(0,59 pulgadas) (de estos valores el menor) entre probetas.
La carga de la bandeja debe cumplir con la Tabla 6.
Para un cable plano, el diámetro de cable equivalente se debe calcular usando la siguiente
fórmula:
D = 1,128 x (TW)1/2
NORMA TÉCNICA COLOMBIANA NTC 5786
89
en donde
D = diámetro calculado del cable, mm (pulgadas)
T = longitud del eje menor del cable plano, mm (pulgadas)
W = longitud del eje mayor del cable, mm (pulgadas)
Para cables tipo cinta, la separación entre cables adyacentes no debe ser inferior a 3,2 mm
(1/8 de pulgada).
9.6.4.4 Acondicionamiento
Las probetas de ensayo montadas se deben acondicionar al menos durante 3 h a temperatura
ambiente inmediatamente antes de empezar el ensayo.
9.6.5 Procedimiento
9.6.5.1 Inicio
Al comienzo del ensayo, el aparato y el aire del área de ensayo deben estar a una temperatura
de al menos 5 °C.
Se debe aplicar potencia al sistema de control.
El flujo de propano se debe ajustar a (220 ± 8) cm3
/s ((28 ± 1) pie3
/h) cuando está corregido a
una temperatura y presión estándar (20 °C, 101 kPa (14,7 psi)). El flujo de aire se debe ajustar
a (1 280 ± 80) cm3
/s ((163 ± 10) pies3
/h) cuando está corregido a una temperatura y presión
estándar, lo que da como resultado una salida de calor de 20,5 W (70 000 BTU/h). Entonces se
debe apagar el quemador.
Para establecer y mantener una tasa de flujo de escape normal de (0,65 ± 0,05) m3
/s ((23,0 ± 1,8)
pies3
/s) en el conducto, la velocidad en éste se debe mantener a 5 m/s (16,4 pies/s) usando
divisiones de control manuales o automatizadas en el conducto, o ajustando la velocidad del
ventilador de escape.
9.6.5.2 Método 1. Bandeja vertical
La bandeja preparada se debe asegurar firmemente en posición vertical (véase la Figura H.1).
El quemador se debe colocar en el lado opuesto de donde están montadas las probetas, con la
cara del quemador vertical y su dimensión longitudinal horizontal. La cara del quemador se
debe colocar a 76 ± 5 mm (3,0 ± 0,25 pulgadas) horizontalmente de la superficie más cercana a
las probetas, paralela a las canaletas de la bandeja, y centrada entre las barandas laterales de
la bandeja. El punto central de la cara del quemador se debe colocar a 457 mm ± 6 mm
(18 pulgadas ± 0,25 pulgadas) sobre el extremo inferior de la bandeja y a media distancia entre
dos canaletas de la bandeja (véase la Figura H6, horizontal).
La puerta de la cámara se debe cerrar y debe permanecer cerrada durante el ensayo.
El quemador se debe encender nuevamente y los flujos de aire y gas se deben ajustar a los
valores indicados en el numeral 9.6.5.1. La llama del quemador se debe aplicar continuamente
durante 20 min o hasta que la probeta se queme hasta la parte superior de la bandeja.
NORMA TÉCNICA COLOMBIANA NTC 5786
90
Después de 20 s, la llama del quemador se debe apagar y se debe dejar que el fuego (si lo
hay) de la probeta se queme hasta extinguirse.
Se debe llevar un registro de la altura de la llama de la probeta (cm o pulgadas) a intervalos de
1 min durante el ensayo de 20 min, al igual que el tiempo en minutos/segundos que las
probetas continúan encendidas después de retirar la llama del quemador.
9.6.5.3 Método 2 – FT4
La bandeja preparada se debe asegurar firmemente en posición vertical (véase la Figura H.1).
El quemador se debe colocar en el mismo lado de la bandeja en donde están montadas las
probetas, con la cara del quemador vertical en un ángulo de 20° ± 2° hacia arriba de la
horizontal (véase la Figura H.6, en ángulo). La parte superior del quemador se debe colocar a
305 mm ± 25 mm (12 pulgadas ± 1 pulgada) sobre la base de la bandeja, paralela a las
canaletas de la bandeja, y centrada entre las barandas laterales de ésta. El borde delantero del
quemador se debe colocar a 76 mm ± 5 mm (3,0 pulgadas ± 0,25 pulgadas) horizontalmente de
la superficie más cercana de las probetas.
La puerta de la cámara se debe cerrar y debe permanecer cerrada durante el ensayo.
El quemador se debe encender nuevamente y los flujos de aire y gas se deben ajustar a los
valores indicados en el numeral 9.6.5.1.
La llama del quemador se debe aplicar continuamente durante 20 min o hasta que la probeta
se queme hasta la parte superior de la bandeja.
Después de 20 min, la llama del quemador se debe extinguir y se debe dejar que el fuego (si lo
hay) de la probeta continúe hasta extinguirse.
Se debe llevar un registro de la altura de la llama de la probeta (cm o pulgadas) a intervalos de
1 min durante el ensayo de 20 min, al igual que el tiempo en minutos/segundos que las
probetas continúan encendidas después de retirar la llama del quemador.
9.6.6 Resultados y cálculos
9.6.6.1 Adquisición de datos
El sistema de datos de velocidad de escape debe medir esta velocidad cada 5 s, y generar un
gráfico de velocidad durante el ensayo (véase en la Figura H.9 un gráfico de velocidad típico).
9.6.6.2 Evaluación del daño
Después de que ha cesado el quemado y las probetas se han dejado enfriar, se deben limpiar
y se debe determinar la extensión máxima de la carbonización. No se debe tener en cuenta el
hollín que se puede limpiar con un paño.
NOTA A manera de información, también se pueden registrar otros daños tales como fusión o ampollamiento.
El límite de la carbonización se debe determinar presionando un objeto afilado contra la
superficie de la probeta. En donde la superficie de la probeta cambia de una superficie elástica
a una quebradiza, o se desmorona, se ha determinado el límite de carbonización.
NORMA TÉCNICA COLOMBIANA NTC 5786
91
En el caso de que los materiales no se carbonicen con la exposición a la llama debido a las
características de los compuestos usados, se debe considerar carbonización cualquier otro
daño significativo cerca de la altura máxima visible de la llama, que dé como resultado la
reducción o incremento visiblemente notorios del diámetro general de la probeta.
9.6.6.3 Criterios de aceptación
9.6.6.3.1 Método 1. Bandeja vertical.
La altura de la carbonización de todas las probetas debe ser inferior a 2 440 mm (96 pulgadas)
medida desde la parte inferior de la bandeja.
9.6.6.3.2 Método 2 – FT4
La altura de la carbonización en las probetas ubicadas en el área más central debe ser inferior
a 1,500 mm (96 pulgadas), medida desde el borde inferior de la cara del quemador.
9.6.7 Informe
El informe debe incluir lo siguiente, como mínimo:
a) una descripción de las probetas, es decir, el calibre de alambre o cable, la designación
del tipo, características de los componentes y número de longitudes o haces de
probetas.
b) el método de ensayo (bandeja vertical o FT4);
c) la altura de carbonización;
d) la altura de la llama a intervalos de 1 min;
e) el tiempo de combustión retardada, y
f) El gráfico de velocidad.
9.7 HUMO LIMITADO ST1
9.7.1 Objeto
Este ensayo establece el método para determinar el humo total liberado y la tasa pico de
liberación de humo en un alambre, cable o cordón durante los ensayos de llama de bandeja
vertical del numeral 9.6.
9.7.2 Equipo
El equipo debe ser como se describe en el numeral 9.6.3, y debe estar compuesto de:
a) Equipo para medición de humo (véase el literal H.5 del Anexo H); y
b) Equipo para adquisición de datos (véase el literal H.5 del Anexo H).
9.7.3 Preparación de las probetas
Las probetas se deben preparar de acuerdo con el numeral 9.6.4.
NORMA TÉCNICA COLOMBIANA NTC 5786
92
9.7.4 Procedimiento
9.7.4.1 Calibración del equipo de medición de humo antes del ensayo
Al iniciar cada día de ensayo, la fuente luminosa y la celda fotoeléctrica se deben calibrar
usando filtros de densidad neutra 0,1, 0,2, 0,3, 0,4, 0,5, 0,6, 0,7, 0,8, 0,9 y 1,0. Cada filtro se
debe colocar al frente de la celda fotoeléctrica de manera que cubra todo el ancho de la
trayectoria de luz. La atenuación de la luz incidente mediante los filtros de densidad neutra se
debe usar para calibrar la densidad óptica, como sigue:
⎟⎟
⎠
⎞
⎜⎜
⎝
⎛
=
I
I
OD 0
10log
en donde
OD = densidad óptica
I0 = señal de la celda fotoeléctrica de haz claro
I = señal de la celda fotoeléctrica atenuada por el filtro de densidad neutra
NOTA Las unidades de I0 e I son las mismas, determinadas por el equipo usado.
NOTA Los filtros Wratten de Kodak se han encontrado adecuados para este propósito. También es aceptable un
equipo equivalente. Los filtros calibrados con un conjunto de filtros calibrados trazables a patrones nacionales se
consiguen con proveedores de productos fotográficos profesionales.
Los valores calculados del OD para cada filtro deben estar dentro de ± 3 % de los valores de
densidad neutra calculados. La desviación promedio de todas las mediciones debe estar dentro
de ± 1 %.
9.7.4.2 Ensayo
Se deben encender el equipo para la medición de datos y los sistemas de adquisición de datos,
y el resto del procedimiento se debe llevar a cabo de acuerdo con el numeral 9.6.5.
9.7.5 Resultados y cálculos
9.7.5.1 Tasa de liberación de humo
La tasa de liberación de humo (SRR) se debe calcular usando la densidad óptica por longitud
de la trayectoria lineal en el conducto, y la tasa de flujo volumétrica. La siguiente ecuación se
debe usar para determinar la SRR:
( )
44060
1
,
MxOD
SRR =
en donde
SRR = tasa de liberación de humo, m2
/s
OD = densidad óptica
M1 = tasa de flujo volumétrico, m3
/s en el conducto de escape, con referencia a 298 K.
0,4064 = longitud de la trayectoria en el conducto, m
NORMA TÉCNICA COLOMBIANA NTC 5786
93
9.7.5.2 Criterios de aceptación
9.7.5.2.1 Método 1. Bandeja vertical.
Para cada ensayo, además de cumplir con lo establecido en el numeral 9.6.6.3.1, el humo total
liberado en 20 min no debe exceder los 95 m2
, y la tasa pico de liberación de humo no debe
exceder 0,25 m2
/s.
9.7.5.2.2 Método 2 – FT4
Para cada ensayo, además de cumplir con lo establecido en el numeral 9.6.6.3.2, el humo total
liberado en 20 min no debe exceder los 150 m2
, y la tasa pico de liberación de humo no debe
exceder 0,40 m2
/s.
9.7.6 Informe
El informe debe incluir, como mínimo, la información del numeral 9.6.7 y la siguiente:
a) Humo total liberado, y
b) Tasa pico de liberación de humo
9.8 PROPAGACIÓN DEL FUEGO/RPI
9.8.1 Objeto
Este ensayo establece el método para determinar la resistencia de un alambre, cable o cordón
a la propagación del fuego.
9.8.2 Materiales y reactivos
Los materiales y reactivos deben ser el gas para la fuente de encendido.
9.8.3 Equipo
9.8.3.1 Generalidades
El equipo debe constar de:
a) una cámara de acuerdo con la Figura 23, que contiene:
i) tres puertas herméticas al aire, con ventanas;
ii) orificios de ventilación ubicados en los extremos inferiores de las puertas
laterales, para regular la velocidad del aire.
iii) una estructura metálica que sostenga y permita el deslizamiento vertical del
horno (véanse las dimensiones en las Figuras 24 y 25);
iv) un extractor (escape) montado en la parte superior de la cámara, con su entrada
ubicada a lo largo del eje de la cámara;
NORMA TÉCNICA COLOMBIANA NTC 5786
94
v) un horno eléctrico compuesto esencialmente de un tubo de silicato de aluminio
con un diámetro interno de 100 mm ± 3 mm (4 pulgadas ± 0,1 pulgadas), un
diámetro externo de 115 mm ± 3,5 mm (4,5 pulgadas ± 0,15 pulgadas), y una
longitud de 203 mm ± 6 mm (8 pulgadas ± 0,25 pulgadas), en el cual se enrolla
un alambre de resistencia de 1,307 mm2
(16 AWG) de níquel-cromo con
aislamiento de cerámica.
vi) suministro de energía variable con capacidad de proporcionar la corriente
requerida;
vii) dos quemadores de gas provistos con un deflector en V, de acuerdo con la
Figura 26. Los quemadores deben producir una llama de 15 mm ± 5 mm
(0,6 pulgadas ± 0,2 pulgadas) de diámetro y un cono azul de 20 mm ± 5 mm
(0,8 pulgadas ± 0,2 pulgadas) de longitud, y se deben fijar a un mecanismo que
mantenga una distancia constante E entre los quemadores y la probeta de
ensayo;
viii) una chimenea metálica con un diámetro interno entre 120 mm y 125 mm
(4,8 pulgadas y 5 pulgadas) a lo largo del mismo eje que el horno, unida a la
estructura metálica y a 30 mm ± 1 mm (1,2 pulgadas ± 0,04 pulgadas) por
encima del horno cuando está en su posición más alta, y debe tener tres series
de ranuras en la periferia, separadas 120 °, como se indica en la Figure 27;
ix) un tubo de acero inoxidable con las dimensiones indicadas en la Figura 28;
x) un termómetro con una escala de 0 °C a 1 200 °C, que incluya un termopar tipo
K unido al tubo de acero inoxidable;
xi) una barra de cobre de una pureza del 99 %, con la superficie ennegrecida al
pasarla sobre la llama de una vela. Se debe colocar un termopar dentro de la
barra y conectarlo a un termómetro con una escala de 0 °C a 1 200 °C. La
construcción de la barra y el termopar debe estar de acuerdo con la Figura 29, y.
xii) un aislamiento térmico inorgánico para cubrir el extremo superior del horno;
b) un anemómetro con una precisión de ± 3 %, y aletas con un diámetro de 95 mm ± 5 mm
(3,75 pulgadas ± 0,2 pulgadas) para medir la velocidad del aire que pasa a través de la
chimenea, y
c) un temporizador con capacidad para medir el tiempo especificado en segundos, con
una resolución y precisión de 1 s.
9.8.3.2 Calibración del horno
NOTA Se recomienda calibrar el horno cada seis meses o menos, dependiendo de su frecuencia de uso.
Durante la calibración del horno y el ajuste de la velocidad del aire, el aire circundante a la
cámara debe estar en calma y a una temperatura mayor de 15 °C.
La barra de cobre debe estar suspendida de la estructura metálica de manera que cuando el
horno esté en su posición más alta, la barra esté centrada sobre el eje del horno. La barra debe
estar a una temperatura inferior a 55 °C. El horno se debe mover a su posición más baja, con el
extremo superior cubierto con el aislamiento térmico inorgánico, y calentar hasta que la
temperatura medida con el termopar colocado en el tubo de acero inoxidable se haya
NORMA TÉCNICA COLOMBIANA NTC 5786
95
estabilizado. La estabilización se logra cuando la temperatura registrada no varía en más de 5 °C
en una hora.
Una vez que la temperatura del horno se haya estabilizado, el horno se debe destapar y mover
a su posición más alta, en un lapso de 5 s. La temperatura de la barra de cobre se debe
registrar a 5 s y a 35 s. La tasa de elevación de temperatura se debe calcular usando la
siguiente fórmula:
30
535 TT
V
−
=
en donde
V = tasa de elevación de temperatura, en ° C/s
T35 = temperatura registrada después de 35 s, °C
T5 = temperatura registrada después de 5 s, °C
La tasa requerida de elevación de temperatura debe ser (3,3 ± 0,1) °C/s.
Si no se obtiene este valor, se debe repetir el proceso de calibración completo, con los valores
de suministro de energía ajustados hasta que se logre la tasa requerida de elevación de
temperatura.
Este valor de suministro de energía se debe usar para el ensayo.
NOTA La temperatura del horno habitualmente es mayor de 780 °C cuando se estabiliza
9.8.3.3 Ajuste de la velocidad del aire
El anemómetro se debe colocar entre el fondo de la chimenea y el horno mientras está en su
posición más alta (y mientras el horno está apagado). El extractor se debe encender y se
deben ajustar los orificios de ventilación inferiores hasta obtener una velocidad del aire de
(120 ± 10) m/min ((394 ± 33) pies/min). La determinación de la velocidad del aire debe ser el
promedio de tres mediciones tomadas a intervalos de 5 min, comenzando 10 min después de
que el extractor se ha encendido.
9.8.4 Preparación de las probetas
Se deben tomar dos probetas, cada una de mínimo 1 600 mm (63 pulgadas) de longitud, de la
misma muestra de alambre, cable o cordón terminado o tomado durante la fabricación. Las
probetas se deben preparar de acuerdo con uno de los literales siguientes, el que sea
pertinente:
a) Si el diámetro de la muestra es mayor de 25 mm (1 pulgada) y menor o igual a 70 mm
(2,75 pulgadas), la probeta debe ser una sola longitud.
b) Si el diámetro de la muestra es mayor de 15 mm (0,6 pulgadas) y menor o igual a 25 mm
(1 pulgada), la probeta debe constar de tres longitudes dispuestas en paralelo y
amarradas con flejes metálicos en cada extremo, en un punto que corresponde a la
mitad del horno, y en un punto que corresponde a la mitad de la chimenea. La probeta
se debe disponer de manera que una longitud se coloque hacia la parte superior de la
cámara, de acuerdo con la Figura 30, o
NORMA TÉCNICA COLOMBIANA NTC 5786
96
c) Si el diámetro de la muestra es menor o igual a 15 mm (0,6 pulgadas), la probeta debe
constar de 7, 12, 19 o más longitudes amarradas entre sí, de manera que el diámetro
total del haz esté entre 30 mm y 45 mm (1,20 pulgadas y 1,75 pulgadas). El haz debe
estar trenzado en capas, de manera que el paso de torsión sea de aproximadamente 15
veces el diámetro del haz. El haz debe estar amarrado de acuerdo con el literal (b).
9.8.5 Procedimiento de ensayo
9.8.5.1 El aire que rodea la cámara debe estar libre de corrientes y a una temperatura superior
a 15 °C. Con el horno en la posición más baja, y con el recubrimiento del aislamiento térmico
inorgánico colocado, se debe aplicar calor hasta que se estabilice la temperatura, como se
describe en el numeral 9.8.3.2.
9.8.5.2 La probeta se debe montar en posición vertical usando mordazas o amarres en ambos
extremos de ella. La chimenea se debe cerrar y los quemadores se deben encender y ajustar a
una distancia E de la superficie de la probeta, como se determina mediante la siguiente
fórmula:
E = D + d + 10 mm
ó
E = D + d + 0,4 pulgadas
en donde
E = distancia entre los ejes de los quemadores, mm (pulgadas)
D = diámetro de la probeta, mm (pulgadas)
d = diámetro de las llamas, mm (pulgadas)
9.8.5.3 El recubrimiento del aislamiento térmico inorgánico se debe retirar del horno y éste se
debe mover a su posición más alta en máximo 5 s.
9.8.5.4 El extractor se debe encender y se debe accionar el temporizador. Después de 10 min,
el extractor se debe apagar durante 1 min y luego encender durante el resto del ensayo.
9.8.5.5 Cuando el temporizador señale 30 min, el horno se debe mover a su posición más baja
y se debe apagar. El extractor debe permanecer encendido. Los quemadores se deben apagar
y se debe dejar que la probeta se autoextinga.
9.8.5.6 La probeta se debe marcar en el fondo de la chimenea, para que sirva como punto de
referencia, y se debe retirar. La probeta se debe examinar y se debe medir la altura de
degradación desde el punto de referencia. Sólo la porción carbonizada de la probeta se debe
considerar que ha sido degradada por el fuego. No se deben tener en cuenta los depósitos
producidos por la combustión, al igual que la fusión, ablandamiento y ampollas en la probeta.
9.8.5.7 Si existe duda acerca de si una porción particular está incluida en la medición, la
probeta se debe limpiar y después se debe aplicar presión con un cuchillo en el área en
cuestión. Las fracturas o grietas que ocurran en la probeta se deben considerar como
degradación y esa parte de la probeta se debe incluir en la medición.
9.8.5.8 Los procedimientos del numeral 9.8.5.2 a 9.8.5.7 se deben repetir en la segunda
probeta.
NORMA TÉCNICA COLOMBIANA NTC 5786
97
9.8.6 Resultados y cálculos
La longitud de la degradación de ambas probetas se debe registrar.
9.8.7 Informe
El informe debe incluir lo siguiente, como mínimo:
a) Diámetros de las probetas;
b) Número de conductores en las probetas, y
c) Longitudes de la degradación.
9.9 EMISIÓN DE HUMO
9.9.1 Objeto
Este ensayo establece el método para determinar la densidad óptica específica y el valor de
oscurecimiento del humo durante la combustión de un alambre o cable.
NOTA El ensayo de cables planos se encuentra en estudio.
9.9.2 Materiales y reactivos
Los materiales y reactivos deben ser los siguientes:
a) Aire comprimido filtrado disponible a una tasa de flujo mínima de 500 cm3
/min
(30 pulgadas3
/min) y una presión entre 0,10 MPa y 0,17 MPa ((15 y 25) libras
fuerza/pulgada2
), y
b) propano con una pureza mínima del 95 %, disponible a una tasa de flujo mínima de
50 cm3
/min (3 pulgadas3
/min)
PRECAUCIÓN El gas propano es más densos que el aire; se pueden asentar y llegar a presentar peligro de
explosión. Se debe consultar al proveedor de gas acerca de las precauciones especiales que se deben tomar.
9.9.3 Equipo
El equipo debe constar de:
a) Una cámara* de densidad de humo (NBS) de acuerdo con la norma ASTM E 662 ó
NMX-J-474-ANCE;
b) un aislamiento térmico inorgánico rígido con un espesor nominal de 12,7 mm
(0,50 pulgadas);
c) un paño adecuado para la limpieza de ventanas ópticas, y
d) una hoja de aluminio de 0,040 mm ± 0,002 mm (0,0016 pulgadas ± 0,0001 pulgadas) de
espesor.
* Se han encontrado adecuadas las cámaras Stanton Redcroft o Superpress. También es aceptable un
equipo equivalente.
NORMA TÉCNICA COLOMBIANA NTC 5786
98
9.9.4 Preparación de las probetas
9.9.4.1 Se deben preparar tres probetas de acuerdo con uno de los medios siguientes. Los
literales (b) y (c) solamente se aplican a materiales termoplásticos:
a) Para alambre o cable de hasta 10 mm (0,40 pulgadas) de diámetro, inclusive, se deben
cortar muestras de alambre o cable terminado, en longitudes de 76 mm ± 1,5 mm
(3 pulgadas ± 0,06 pulgadas) y se deben disponer en una capa, en paralelo y en
contacto entre ellas, de manera que se llene la bandeja. Si no es posible llenar la
bandeja debido a los diámetros individuales del alambre o cable, se debe colocar el
número máximo de alambres o cables y se deben separar en la forma más homogénea
posible a través de la bandeja.
b) Para alambres o cables de más de 10 mm (0,40 pulgadas) de diámetro, las probetas se
deben preparar de muestras de placas de chaqueta o material aislante moldeadas por
compresión, de 76 mm2
± 1,5 mm2
(3 pulgadas2
± 0,06 pulgadas2
) y con un espesor
de 2 mm ± 0,2 mm (0,08 pulgadas ± 0,008 pulgadas); o
c) en el caso de cables multiconductores con un diámetro superior a 10 mm (0,40 pulgadas),
los materiales de la chaqueta y el aislamiento se deben someter a ensayo en forma
separada. La probeta de chaqueta se debe preparar de acuerdo con el literal (b) y los
conductores aislados se deben preparar de acuerdo con el literal (a) o (b), con base en
el diámetro del conductor aislado.
9.9.4.2 Las probetas se deben acondicionar a 60 °C ± 3 °C durante 24 h, luego se deben
mantener a 23 °C ± 3 °C y a una humedad relativa de 50 % ± 5 % durante 1 h.
9.9.4.3 Cada probeta se debe envolver en una hoja de aluminio sencilla, con el lado mate en
contacto con la probeta, y luego se debe montar en la bandeja de manera que los alambres o
cables queden verticales cuando la bandeja esté montada en la cámara. La hoja se debe cortar
cuidadosamente para exponer la cara frontal de la probeta. El aislamiento térmico inorgánico
rígido se debe colocar en la parte posterior de la probeta para sostener ésta en su sitio, y se
debe insertar la mordaza de sujeción.
9.9.5 Procedimiento
9.9.5.1 Todo el equipo se debe calibrar de acuerdo con las instrucciones del fabricante.
9.9.5.2 La cámara de humo debe estar libre de contaminantes. Las superficies de vidrio del
emisor y del receptor del sistema óptico se deben limpiar usando alcohol etílico u otro limpiador
adecuado.
9.9.5.3 El sistema de extracción de humo, la ventana de ventilación y la puerta de la cámara se
deben cerrar, y la cámara de humo se debe presurizar a través del conducto de “llama/aire” a
75 mm (3 pulgadas) de agua. Se debe cerrar el suministro de aire, y el tiempo requerido para
que la presión caiga a 50 mm de agua (2 pulgadas) no debe ser inferior a 5 min. Si el tiempo es
inferior a 5 min, la cámara de humo no está sellada adecuadamente y se debe cambiar el sello
de seguridad de la hoja de aluminio.
9.9.5.4 La bandeja sin probeta, a lo largo del aislamiento térmico inorgánico rígido, se debe
colocar frente al horno.
9.9.5.5 La cámara se debe calentar a 35 °C ± 2 °C durante 1 h como mínimo. El sistema óptico
se debe ajustar al 0 % y al 100 % de transmitancia en el sistema de adquisición de datos.
NORMA TÉCNICA COLOMBIANA NTC 5786
99
9.9.5.6 El ajuste de la potencia de radiación del horno se debe hacer usando un radiómetro
calibrado. La tensión producida por el radiómetro debe ser igual al valor especificado en el
informe de calibración del radiómetro, para una potencia de radiación de (2,5 ± 0,05) W/cm2
. La
potencia de radiación del horno se debe ajustar con la frecuencia necesaria para mantener el
valor especificado.
9.9.5.7 El quemador se debe colocar a 6,4 mm ± 0,8 mm (0,25 pulgadas ± 0,03 pulgadas) por
encima de la abertura superior de la bandeja, y a una distancia de 6,4 mm ± 1,5 mm
(0,25 pulgadas ± 0,06 pulgadas) de la cara de la bandeja, y luego se enciende. La tasa de flujo
de gas se debe ajustar a 50 cm3
/min (3 pulgadas3
/min) y la tasa de flujo de aire a 500 cm3
/min
(30 pulgadas3
/min).
9.9.5.8 La bandeja que contiene la probeta se debe montar al lado de la bandeja que contiene
solamente el aislamiento térmico inorgánico rígido. La bandeja con la probeta se debe empujar
al frente del horno, de manera que desplace la otra bandeja. La puerta de la cámara se debe
cerrar y debe comenzar la recolección de datos de transmitancia porcentuales. La recolección
de datos se debe llevar a cabo a una tasa mínima de una vez cada 60 s.
Una vez que el fotomultiplicador indique una reducción en la transmitancia, la ventana de
ventilación se debe cerrar completamente. Si el nivel de transmitancia desciende al 0,1 %, la
ventana de la cámara se debe cubrir para evitar la influencia de la luz externa en la medición.
9.9.5.9 El ensayo debe continuar 3 min después de alcanzar la transmitancia mínima, o durante
20 min de ensayo, lo que ocurra primero.
9.9.5.10 Las probetas restantes se deben ensayar de acuerdo con los numerales 9.9.5.1 a
9.9.5.9. Si cualquiera de los ensayos presenta anormalidades, por ejemplo, que la probeta se
caiga de la bandeja, material fundido que recubre completamente la bandeja, extinción
temporal de la llama, o movimiento de la probeta de la zona de irradiación, estos y todos los
resultados anteriores se deben descartar y se deben someter a ensayo tres probetas nuevas.
9.9.5.11 Si el resultado de ensayo más alto excede el resultado más bajo en 50 % o menos, se
deben registrar todos los tres resultados. Si el resultado de ensayo más alto excede el
resultado más bajo en más del 50 %, se deben ensayar tres probetas adicionales y todos los
seis resultados se deben registrar.
9.9.5.12 El ensayo se debe terminar apagando el sistema de adquisición de datos y purgando
la cámara mediante el encendido del soplador y abertura de los orificios de ventilación.
9.9.6 Resultados y cálculos
9.9.6.1 Las densidades ópticas específicas para cada probeta se deben determinar de la Tabla 7,
usando los valores porcentuales de transmitancia obtenidos durante cada minuto del ensayo.
9.9.6.2 La densidad óptica específica máxima, Dm, para cada probeta, correspondiente a la
transmitancia mínima, se debe determinar de la Tabla 7 ó por medios automatizados. Se debe
calcular el valor promedio de las probetas.
9.9.6.3 El valor de oscurecimiento para cada probeta, VOF4, se debe calcular usando la
siguiente fórmula:
2
4
3214
d
dddVOF +++=
NORMA TÉCNICA COLOMBIANA NTC 5786
100
en donde
VOF4 = valor de oscurecimiento del humo
d1, d2, d3, y d4 = densidades ópticas específicas registradas cada uno de los primeros 4 min.
Se debe calcular el valor promedio de las probetas.
9.9.7 Informe
El informe debe incluir lo siguiente, como mínimo:
a) Número de longitudes montadas en la bandeja;
b) Tipo de probeta (longitud o placa); y
c) Los valores individuales y promedio de VOF4 y Dm.
9.10 EMISIÓN DE GASES HALÓGENOS ÁCIDOS
9.10.1 Objeto
Este ensayo establece el método para determinar la cantidad de gas halógeno ácido diferente
del fluoruro de hidrógeno, producido durante la combustión de materiales componentes no
metálicos del alambre o cable.
9.10.2 Materiales y reactivos
Los materiales y reactivos deben ser los siguientes:
a) agua destilada;
b) aire comprimido seco;
c) 0,1 solución normal de hidróxido de sodio (NaOH);
d) ácido nítrico concentrado (HNO3);
e) 0,1 solución molar de nitrato de plata (AgNO3); y
g) solución de ácido crómico (6 g de dicromato de potasio en una cantidad mínima de
agua destilada combinada con 200 ml de ácido sulfúrico concentrado).
9.10.3 Equipo
El equipo de ensayo debe ser como se ilustra en la Figura 31, y debe incluir los siguientes
componentes principales:
a) Tres trampas de agua de 50 mm x 200 mm (2 pulgadas x 8 pulgadas) nominales. Dos
trampas deben estar equipadas con un difusor de vidrio sinterizado;
b) Tubo de combustión de vidrio de cuarzo con conexión de vidrio esmerilado en el
extremo de descarga. Debe estar compuesto de dos secciones: La primera sección
debe tener un diámetro interno de aproximadamente 19 mm (0,75 pulgadas) y un
diámetro exterior de 25 m (1 pulgada) aproximadamente. La segunda sección debe
NORMA TÉCNICA COLOMBIANA NTC 5786
101
tener un diámetro interno de aproximadamente 13 mm (0,50 pulgadas) y un diámetro
exterior de 19 mm (0,75 pulgada) de 100 a 120 mm (4 a 4,75 pulgadas) de longitud en
el extremo de descarga. La longitud total del tubo debe ser suficiente para permitir que
sobresalgan 50 mm (2 pulgadas) desde el horno;
c) recipientes de combustión en porcelana vidriada, con dimensiones nominales de 75 mm
(3 pulgadas) de longitud, 10 mm (0,4 pulgadas), y 9 mm (0,4 pulgadas) de profundidad.
Los recipientes se deben preacondicionar a la temperatura de ensayo durante un
mínimo de 2 h.
Los recipientes se deben usar máximo 8 veces;
NOTA Es probable que los recipientes usados den resultados con valores inferiores;
d) Un horno de tubo con una longitud eficaz mínima de 300 mm (12 pulgadas) con
capacidad de producir una temperatura de 1 200 °C, con un control de elevación de
temperatura uniforme;
NOTA El modelo Lindberg 55035 se ha encontrado adecuado. También es aceptable un equipo
equivalente.
e) Un termómetro equipado con un termopar tipo K;
f) Un medidor de flujo de aire con una escala de (0 a 200) ml/min (12 pulgadas3
/min);
g) una cinta de calentamiento de alta temperatura con capacidad de mantener una
temperatura mínima de 150 °C en la superficie del tubo de vidrio;
h) un sistema de escape para extraer los vapores emitidos por el equipo;
i) una balanza con una capacidad de pesaje de 1,0 g, con una precisión dentro de 0,1 mg;
j) un controlador de temperatura para la cinta de calentamiento;
k) un temporizador con capacidad para medir el tiempo especificado en segundos, con
una resolución de 1 s y una precisión de ± 0,5 s;
I) vasos de precipitados de 250 ml;
m) un matraz volumétrico de 500 ml;
n) una pipeta de 5 ml ó 10 ml;
o) una pipeta volumétrica de 100 ml;
p) un matraz Berzelius de 300 ml;
q) una bureta graduada de 25 ml;
r) un soporte para bureta;
s) una mordaza para bureta;
t) un potenciómetro (mV);
NORMA TÉCNICA COLOMBIANA NTC 5786
102
u) un electrodo de medición (plata);
v) un electrodo de referencia de calomel, y
w) un agitador magnético.
9.10.4 Preparación de las probetas
9.10.4.1 El material componente debe ser tomado de alambre o cable terminado, o de alambre
o cable durante su fabricación. Se debe tomar una cantidad de material suficiente para llevar a
cabo mínimo tres ensayos. Se debe evitar cualquier contaminación de la probeta de ensayo.
9.10.4.2 El material componente se debe cortar en una probeta que pese de 0,500 g a 1,000 g.
9.10.5 Procedimiento
9.10.5.1 A cada trampa de agua se le deben agregar 100 ml de solución de NaOH. La segunda
y tercera trampas deben tener difusores. El aparato de ensayo se debe ensamblar de acuerdo
con la Figura 31, dejando abierto el extremo de la entrada.
9.10.5.2 La probeta se debe pesar con aproximación a 0,001 g y se debe registrar la masa. El
recipiente de combustión con la probeta se debe insertar en el tubo de combustión de manera
que quede centrado en el horno. El horno debe estar a una temperatura inferior a 50 °C.
9.10.5.3 El suministro de aire se debe conectar al sistema y el flujo de aire se debe ajustar a
(110 ± 25) ml/min ((6,7 ± 1,5) pulgadas3
/min). Es necesario asegurarse de que no haya fugas
en el sistema de aire.
NOTA La presencia de fugas se puede verificar mediante la aplicación de una solución jabonosa en las uniones.
9.10.5.4 La cinta de calentamiento se debe enrollar alrededor del tubo de vidrio entre el horno
de combustión y la primera trampa de agua. La potencia de la cinta de calentamiento se debe
ajustar para mantener una temperatura mínima de 150 °C en la superficie del tubo de vidrio
durante el ensayo;
9.10.5.5 La temperatura del horno se debe elevar a 800 °C ± 10 °C a una tasa de 20 °C/min, y
se debe mantener a esa temperatura durante 20 min.
9.10.5.6 Al finalizar el período de 20 min se debe interrumpir el suministro de aire y se deben
desconectar del sistema las trampas de agua, comenzando por la que está más alejada del
horno. El tubo de combustión se debe dejar enfriar aproximadamente a 50 °C.
9.10.5.7 El recipiente de combustión se debe retirar del tubo de combustión, y no se debe
permitir que ningún residuo sólido contamine el tubo de combustión.
9.10.5.8 El contenido de las trampas de agua se debe mezclar en un matraz volumétrico de
500 ml. La parte interior del tubo de combustión, las trampas de agua y las conexiones del
sistema se deben lavar con agua destilada. El agua de enjuague se debe agregar al matraz
volumétrico. El volumen del matraz se debe incrementar con precisión a 500 ml agregando
agua destilada.
9.10.5.9 De la solución de 500 ml se deben extraer 100 ml del matraz volumétrico y colocar en
un matraz Berzelius de 300 ml, al que se debe agregar 1 ml de ácido nítrico concentrado.
Ambos electrodos se deben insertar en la solución y conectar al potenciómetro. La solución de
NORMA TÉCNICA COLOMBIANA NTC 5786
103
nitrato de plata se debe titular en la solución, y se debe agitar constantemente durante toda la
titulación.
NOTA Después de finalizar el ensayo, la limpieza de los difusores de vidrio sinterizado (usando solución de
ácido crómico) es opcional.
9.10.5.10 Los resultados se deben graficar con los ml en el eje X y los mV en el eje Y.
9.10.5.11 El ensayo se debe repetir en dos probetas adicionales. Las tres determinaciones se
deben registrar.
9.10.5.12 Se debe llevar a cabo un ensayo en blanco, de acuerdo con los numerales 9.10.5.1 a
9.10.5.10, excepto que el recipiente de combustión no debe contener ninguna probeta. Los
resultados se deben registrar.
9.10.6 Resultados y cálculos
9.10.6.1 La cantidad de gas halógeno se debe expresar como cloruro de hidrógeno en
miligramos (mg) por gramo (g) de muestra, o como un porcentaje.
La cantidad se debe calcular como sigue:
( )
m
A
V
Nba
H
f
gmg
−
=
x536,
/
( )
10
536
x
xx
m
A
V
Nba
H
f
−
=
,
%
en donde
Hmg/d = cantidad de gas halógeno ácido producido, mg/g
H% = cantidad de gas halógeno ácido producido, %
a = volumen de solución de nitrato de plata usada en las determinaciones de la muestra, ml*
b = volumen de solución de nitrato de plata usada en el ensayo con blanco, ml*
N = normalidad de la solución de nitrato de plata, peso equivalente por litro
Vf = volumen del matraz volumétrico, 500 ml
A = cantidad de solución extraída de acuerdo con el numeral 9.10.5.9 (100 ml)
m = masa de la muestra, g
* Los volúmenes de solución de nitrato de plata se obtienen de los gráficos de titulación en los puntos de
equivalencia. Véase en la Figura 32 el gráfico típico de titulación. Véase en la Figura 33 el gráfico para
titulación del blanco.
9.10.6.2 Después de los cálculos, se deben promediar las tres determinaciones.
9.10.6.3 Un gráfico similar al que se ilustra en la Figura 33 (potencial no definido al comienzo
de la curva) debe indicar que no hay halógenos presentes por encima del límite de detección
inferior del aparato.
NORMA TÉCNICA COLOMBIANA NTC 5786
104
9.10.7 Informe
El informe debe incluir, como mínimo, la cantidad promedio de gas halógeno ácido producido.
9.11 EMISIÓN DE GASES ÁCIDOS
9.11.1 Objeto
Este ensayo establece el método para determinar la cantidad de gas ácido diferente del
fluoruro de hidrógeno, producido durante la combustión de materiales componentes no
metálicos del alambre o cable.
9.11.2 Materiales y reactivos
Los materiales y reactivos deben ser los siguientes:
a) Agua con un pH de 6 a 7 y una conductividad máxima de10 μS/cm;
b) aire comprimido seco;
c) 0,1 solución normal de hidróxido de sodio (NaOH); y
d) solución indicadora de rojo de metilo.
9.11.3 Equipo
El equipo debe ser como se ilustra en la Figura 31, excepto que las trampas de agua deben
estar conectadas mediante un vidrio. El equipo debe incluir los siguientes componentes
principales:
a) Tres trampas de agua de 25 mm x 200 mm (1 pulgada x 8 pulgadas) nominales;
b) un tubo de combustión de vidrio de cuarzo con conexiones de vidrio esmerilado a la
entrada, para la entrada de aire y el extremo de descarga, con un diámetro interno de
aproximadamente 25 mm (1 pulgada) y una longitud mínima de dos veces la longitud
del horno (la longitud preferida es de 700 mm a 900 mm (28 pulgadas a 35 pulgadas));
c) recipientes de combustión en porcelana vidriada, con dimensiones nominales de 75 mm
(3 pulgadas) de longitud, 10 mm (0,4 pulgadas) de ancho, y 9 mm (0,35 pulgadas) de
profundidad. Los recipientes se deben preacondicionar a la temperatura de ensayo
durante un mínimo de 2 h. Los recipientes se deben usar máximo 8 veces;
NOTA Es probable que los recipientes usados den resultados con valores inferiores;
d) un horno de tubo con una longitud interna de 300 mm a 400 mm (12 pulgadas a
16 pulgadas) con capacidad de producir una temperatura de 1 200 °C;
NOTA El modelo Lindberg 55035 se ha encontrado adecuado. También es aceptable un equipo
equivalente.
e) Un termómetro equipado con un termopar tipo K;
f) Un medidor de flujo de aire con una escala de (0 a 200) ml/min (12 pulgadas3
/min);
g) una cinta de calentamiento de alta temperatura con capacidad de mantener una
temperatura de 150 °C en la superficie del tubo de vidrio;
NORMA TÉCNICA COLOMBIANA NTC 5786
105
h) un sistema de escape para extraer los vapores emitidos por el equipo;
i) una balanza con una capacidad de pesaje de 1,0 g, con una precisión dentro de 0,1 mg;
j) un controlador de temperatura para la cinta de calentamiento;
k) un temporizador con capacidad para medir el tiempo especificado en segundos, con
una resolución de 1 s y una precisión de ± 0,5 s;
I) vasos de precipitados de 250 ml;
m) un matraz volumétrico de 1 L;
n) una pipeta de 5 ml;
o) una bureta de titulación de 50 ml a 100 ml, con capacidad de lectura hasta ± 0,10 ml;
p) un matraz de titulación;
q) un soporte para bureta;
r) una mordaza para bureta;
s) un tapón de lana de cerámica;
t) un medidor de pH con capacidad de medir ± 0,01 unidades de pH;
u) un electrodo de referencia de calomel, y
v) un agitador magnético.
9.11.4 Preparación de las probetas
El material componente debe ser tomado de alambre o cable terminado, o de alambre o cable
durante su fabricación. De la chaqueta o aislamiento se debe cortar una probeta de una pieza
con una longitud de 60 mm ± 10 mm (2,4 pulgadas ± 0,4 pulgadas) y una masa de 0,5 g ± 0,05 g.
La masa de la probeta se debe registrar con aproximación a 0,001 g.
9.11.5 Procedimiento
9.11.5.1 Método 1
9.11.5.1.1 Se debe adicionar agua a cada trampa de agua, hasta un mínimo de 100 mm
(4 pulgadas) por encima del nivel de salida de burbujas. A cada trampa de agua se le deben
agregar 5,00 ml de solución de NaOH, usando la pipeta.
NOTA Es posible que se requieran cantidades menores de NaOH para materiales que producen niveles bajos de
gas ácido.
9.11.5.1.2 El tubo de combustión se debe colocar en el horno, ubicado éste en el extremo de
entrada de aire del tubo de combustión (véase la Figura 34a.). Las trampas de agua deben
estar conectadas al tubo de combustión y al tubo de flujo de aire variable. La tasa de flujo de
aire se debe ajustar de (100 a 125) ml/min ((6,1 a 7,6) pulgada3
/pulgada). La medición de flujo
de aire se debe hacer después de la última trampa de agua. Las trampas de agua se deben
NORMA TÉCNICA COLOMBIANA NTC 5786
106
desconectar del tubo de combustión y el termopar se debe insertar en el tubo de combustión en
el punto medio del horno. Es necesario asegurarse de que no haya fugas en el sistema de aire.
NOTA La presencia de fugas se puede verificar mediante la aplicación de una solución jabonosa en las uniones.
9.11.5.1.3 Con el aire fluyendo, se debe ajustar el control del horno para obtener una
temperatura del aire dentro del tubo de combustión, de 800 °C ± 10 °C. El termopar se debe
retirar después de que la temperatura dentro del tubo se haya estabilizado.
NOTA El control de temperatura es crítico para lograr resultados de ensayo reproducibles.
9.115.1.4 La probeta se debe pesar con aproximación a 0,001 g y se debe registrar la masa. El
recipiente de combustión que contiene la probeta se debe insertar a través del extremo de
salida del tubo de combustión, y se debe colocar justo antes de la entrada del horno. Las
trampas de agua se deben reconectar.
9.11.5.1.5 La cinta de calentamiento se debe enrollar alrededor del tubo de vidrio que conecta
el tubo de combustión a la primera trampa de agua, y alrededor del tubo de combustión, una
longitud aproximada de 100 mm (4 pulgadas) (véase la Figura 34 b). La potencia de la cinta de
calentamiento se debe ajustar para mantener una temperatura mínima de 150 °C en la
superficie del tubo de vidrio durante el ensayo;
9.11.5.1.6 El horno se debe mover en cinco pasos a lo largo del tubo de combustión, para
colocar la probeta en el centro del horno (véase la Figura 34 c). Los primeros tres movimientos
deben ser de aproximadamente 25 mm (1 pulgada) cada uno, con dos movimientos adicionales
para colocar la probeta en el centro del horno. Los intervalos de tiempo entre movimientos
deben ser de 1 min.
9.11.5.1.7 El calentamiento se debe mantener durante 10 min adicionales. La cinta de
calentamiento se debe retirar y el horno se debe mover hacia el extremo de descarga del tubo,
para quemar cualquier depósito (véase la Figura 34 c). El movimiento del horno a lo largo del
tubo se debe lograr en un paso, y el horno debe permanecer en su lugar otros 5 min. El flujo de
aire y el horno se pueden apagar en este momento.
9.11.5.1.8 Las trampas de agua se deben desconectar y se debe mezclar su contenido.
9.11.5.1.9 Las conexiones de los tubos y las trampas de agua vacías se deben lavar
concienzudamente con agua hasta que no queden restos de ácido. Los enjuagues se deben
examinar con indicador rojo de metilo. Si la solución de vuelve roja, los enjuagues contienen
ácido y es necesario continuar enjuagando. El agua de enjuague se debe agregar a la solución
de las trampas de agua.
9.11.5.1.10 Los enjuagues combinados y el agua de las trampas de agua se deben titular
usando la solución de NaOH hasta alcanzar el punto final (rojo a amarillo) del rojo de metilo. Se
deben registrar el volumen total de la solución de NaOH usada en la titulación, y el volumen
agregado originalmente a las trampas de agua.
9.11.5.1.11 Los procedimientos de los numerales 9.11.5.1.1 a 9.11.5.1.10 se deben repetir con
dos probetas adicionales.
9.11.5.2 Método 2
9.11.5.2.1 Se debe adicionar agua a cada trampa de agua, hasta un mínimo de 100 mm
(4 pulgadas) por encima del nivel de salida de burbujas.
NORMA TÉCNICA COLOMBIANA NTC 5786
107
9.11.5.2.2 El tubo de combustión se debe colocar en el horno, ubicado éste en el extremo de
salida de aire del tubo de combustión (véase la Figura 35a.). Las trampas de agua deben estar
conectadas al tubo de combustión, y el tubo al flujo de aire variable. La tasa de flujo de aire se
debe ajustar de (100 a 125) ml/min ((6,1 a 7,6) pulgada3
/pulgada). La medición de flujo de aire
se debe hacer después de la última trampa de agua. Las trampas de agua se deben
desconectar del tubo de combustión y el termopar se debe insertar en el tubo de combustión en
el punto medio del horno. Es necesario asegurarse de que no haya fugas en el sistema de aire.
NOTA La presencia de fugas se puede verificar mediante la aplicación de una solución jabonosa en las uniones.
9.11.5.2.3 Con el aire fluyendo, se debe ajustar el control del horno para obtener una
temperatura del aire dentro del tubo de combustión, de 800 °C ± 10 °C. El termopar se debe
retirar después de que la temperatura dentro del tubo se haya estabilizado.
NOTA El control de temperatura es crítico para lograr resultados de ensayo reproducibles.
9.11.5.2.4 En el extremo de salida se debe insertar un tapón de lana de cerámica de
aproximadamente 25 mm (1 pulgada) de ajuste sin holgura, en el tubo de combustión, en una
posición justo a la entrada del horno. El recipiente de combustión que contiene la probeta se
debe insertar a través del extremo de salida del tubo de combustión, y se debe colocar justo
antes de la entrada del horno. Las trampas de agua se deben reconectar.
NOTA El tapón atrapará los productos de la combustión sólidos e impedirá su arrastre a las trampas de agua. El
residuo, que puede contener gases ácidos adheridos, se quemará en la última etapa (véase la Figura 35 c).
9.11.5.2.5 El flujo de aire al tubo de combustión se debe desconectar.
9.11.5.2.6 La cinta de calentamiento se debe enrollar alrededor del tubo de vidrio que conecta
el tubo de combustión a la primera trampa de agua, y alrededor del tubo de combustión, una
longitud aproximada de 100 mm (4 pulgadas) (véase la Figura 35 c). La potencia de la cinta de
calentamiento se debe ajustar para mantener una temperatura mínima de 150 °C en la
superficie del tubo de vidrio durante el ensayo;
9.11.5.2.7 La probeta se debe pesar con aproximación a 0,001 g y se debe registrar la masa. El
recipiente de combustión que contiene la probeta se debe insertar a través del extremo de
entrada del tubo de combustión, y se debe colocar justo antes de la entrada del horno (véase la
Figura 35 b).
9.11.5.2.8 El flujo de aire se debe reconectar al tubo de combustión, manteniendo la tasa de
flujo inicial.
9.11.5.2.9 El horno se debe mover en seis pasos a lo largo del tubo de combustión, para
colocar la probeta en el centro del horno (véase la Figura 35 b). Los primeros tres movimientos
deben ser de aproximadamente 25 mm (1 pulgada) cada uno, con tres movimientos adicionales
para colocar la probeta en el centro del horno. Los intervalos de tiempo entre movimientos
deben ser de 1 min.
9.11.5.2.10 El calentamiento se debe mantener durante 10 min adicionales. La cinta de
calentamiento se debe retirar y el horno se debe mover hacia el extremo de descarga del tubo,
para quemar cualquier depósito (véase la Figura 34c). El movimiento del horno a lo largo del
tubo se debe lograr en un paso, y el horno debe permanecer en su lugar otros 5 min. El flujo de
aire y el horno se pueden apagar en este momento.
9.11.5.2.11 Las trampas de agua se deben desconectar y se debe mezclar su contenido.
NORMA TÉCNICA COLOMBIANA NTC 5786
108
9.11.5.2.12 El contenido de las trampas de agua se debe combinar en un matraz volumétrico
de 1 L. La parte interior de las trampas de agua y las conexiones del sistema se deben lavar
con agua. El agua de enjuague se debe agregar al matraz volumétrico. El volumen del matraz
se debe incrementar con precisión a 1 L agregando agua.
9.11.5.2.13 La medición de pH se debe hacer en la solución tomada del matraz de 1 L.
9.11.5.2.14 Los procedimientos de los numerales 9.11.5.2.1 a 9.11.5.2.13 se deben repetir con
dos probetas adicionales.
9.11.6 Resultados y cálculos
9.11.6.1 Método 1
9.11.6.1.1 La cantidad de gas ácido producido se debe expresar como porcentaje de cloruro de
hidrógeno.
La cantidad se debe calcular como sigue:
m
V
m
KNV
emitidoácidogas
3650
10
,
%
x
x
xx
==
en donde
V = volumen total de la solución de NaOH, ml
N = normalidad de la solución de NaOH
K = peso equivalente del gas ácido; para HCl, K = 36,5
m = masa de la muestra de ensayo pesada en el recipiente de combustión, pesada a 0,001 g
9.11.6.1.2 Después de los cálculos, se deben promediar las tres determinaciones. Si cualquier
resultado individual es diferente del promedio en más del 10 %, se deben ensayar probetas
adicionales. Se permite ensayar máximo tres probetas adicionales. Si cualquier resultado
individual sigue siendo diferente del promedio en más del 10 %, el ensayo se debe considerar
no válido.
9.11.6.2 Método 2
9.11.6.2.1 Después de las mediciones de pH se deben promediar las tres determinaciones. Si
cualquier resultado individual es diferente del promedio en más del 10 %, se deben ensayar
probetas adicionales. Se permite ensayar máximo tres probetas adicionales. Si cualquier
resultado individual sigue siendo diferente del promedio en más del 10 %, el ensayo se debe
considerar no válido.
9.11.6.2.2 Si se encuentra que el valor promedio del pH es superior a 4,0, ningún resultado
individual debe ser diferente del valor promedio en más del 20 %. Se permite ensayar máximo
tres probetas adicionales. Si cualquier resultado individual sigue siendo diferente del promedio
en más del 20 %, el ensayo se debe considerar no válido.
NOTA Para el propósito de este procedimiento, la equivalencia entre el porcentaje de gas ácido como HCl y pH
se ilustra en el Anexo I, usando 0,5 g de material y 1 L de agua.
NORMA TÉCNICA COLOMBIANA NTC 5786
109
9.11.7 Reporte
El reporte debe incluir como mínimo la cantidad promedio de gas ácido emitido.
Tabla 1. Factores de ajuste para resistencia de conductores
(Véase el numeral 3.4.5.1)
Factor de multiplicación para ajuste de la resistencia aTemperatura de
conductor 25 °C (77 °F) 20 °C (68 °F)
°C °F Cobre
Aluminio y aluminio
recubierto de cobre
Cobre
Aluminio y
aluminio
recubierto de
cobre
10 50,0 1,061 1,063 1,041 1,042
11 51,8 1,057 1,059 1,037 1,038
12 53,6 1,053 1,054 1,033 1,033
13 55,4 1,048 1,050 1,028 1,029
14 57,2 1,044 1,045 1,024 1,024
15 59,0 1,040 1,041 1,020 1,020
16 60,8 1,036 1,037 1,016 1,016
17 62,6 1,032 1,033 1,012 1,012
18 64,4 1,028 1,028 1,008 1,008
19 66,2 1,024 1,024 1,004 1,004
20 68,0 1,020 1,020 1,000 1,000
21 69,8 1,016 1,016 0,996 0,996
22 71,6 1,012 1,012 0,992 0,992
23 73,4 1,008 1,008 0,989 0,988
24 75,2 1,004 1,004 0,985 0,984
25 77,0 1,000 1,000 0,981 0,980
26 78,8 0,996 0,996 0,977 0,976
27 80,6 0,992 0,992 0,973 0,972
28 82,4 0,989 0,989 0,970 0,969
29 84,2 0,985 0,985 0,966 0,965
30 86,0 0,981 0,981 0,962 0,961
31 87,8 0,977 0,977 0,958 0,957
32 89,6 0,974 0,973 0,955 0,954
33 91,4 0,970 0,970 0,951 0,950
34 93,2 0,967 0,966 0,948 0,947
35 95,0 0,963 0,962 0,944 0,943
Tabla 2. Tasa de separación de las mordazas de la máquina de tensión
(Véase el numeral 3.5.1.4)
Material conductor
Tasa de separación de las mordazas, mm/s
(pulgada/s)
Cobre blando recocido
(recubierto y no recubierto)
Aleaciones de aluminio serie 8000
Otros metales y otros temples de cobre
Sin exceder 5 (0,2)
0,4 (0,02)
1 (0,04)
NORMA TÉCNICA COLOMBIANA NTC 5786
110
Tabla 3. Variaciones de temperatura
(Véase el numeral 4.2.3, literal (i)
Intervalo de temperatura establecido, °C
Variación máxima en la temperatura
establecida, ± °C
≤ 180
> 180 a 300
> 300 a 400
> 400 a 500
2
3
4
5
Tabla 4. Temperatura de ensayo para valores nominales de temperatura seca de materiales nuevos
Valores nominales de
temperatura (°C)
60 75 80 90 105 125 150 180 200 250
Temperatura de
envejecimiento (°C)
67 82 87 97 113 133 158 189 209 260
Tabla 5. Cables de menos de 13 mm de diámetro (0,51 pulgadas de diámetro)
(Véase el numeral 9.6.4.3)
Diámetro del cable mm (pulgadas)
Desde Pero inferior a
Número de probetas en
cada haz
Número de haces en la
bandeja
3 (0,12)
5 (0,20)
6 (0,24)
9 (0,35)
11 (0,43)
3 (0,12)
5 (0,20)
6 (0,24)
9 (0,35)
11 (0,43)
13 (0,51)
19
19
7
3
3
3
13
8
9
10
8
7
Tabla 6. Cables de 13 mm (0,51 pulgadas de diámetro) o de diámetro mayor
(Véase el numeral 9.6.4.3)
Diámetro del cable mm (pulgadas)
Desde Pero inferior a
Número de probetas en
la bandeja
13 (0,51)
15 (0,59)
19 (0,75)
21 (0,83)
26 (1,0)
28 (1,1)
39 (1,5)
52 (2,0)
73 (2,9)
15 (0,59)
19 (0,75)
21 (0,83)
26 (1,0)
28 (1,1)
39 (1,5)
52 (2,0)
73 (2,9)
120 (4,7)
11
9
8
7
6
5
4
3
2
NORMA TÉCNICA COLOMBIANA NTC 5786
111
Tabla 7. Conversión del porcentaje de transmitancia a la densidad óptica específica
(Véanse los numerales 9.9.6.1 y 9.9.6.2)
% T 0 1 2 3 4 5 6 7 8 9Parámetros e
intervalo de
transmitancia
(T)
Densidad óptica específica (D)
90
80
70
6
13
20
5
12
20
5
11
19
4
11
18
4
10
17
3
9
16
2
9
16
2
8
15
1
7
14
1
7
14
60
50
40
29
40
53
28
39
51
27
37
50
26
36
48
26
35
47
25
34
46
24
33
45
23
32
43
22
31
42
21
30
41
Multiplicador
100 con filtro
ND-2
100 al 10 % T
30
20
10
69
92
132
67
89
127
65
87
122
64
84
117
62
82
113
60
79
109
59
77
105
57
75
102
55
73
98
54
71
95
90 x 10-1
80
70
138
145
152
137
144
152
137
143
151
136
143
150
136
142
149
135
141
148
134
141
148
134
140
147
133
139
146
133
139
146
60
50
40
161
172
185
160
171
183
159
169
182
158
168
180
158
167
179
157
166
178
156
165
177
155
164
175
154
163
174
153
162
173
Multiplicador 10
con filtro ND-2
10 al 1 % T
30
20
10
201
224
264
199
221
259
197
219
254
196
216
249
194
214
245
192
211
241
191
209
237
189
207
234
187
205
230
186
203
227
90 x10-2
80
70
270
277
284
269
276
284
269
275
283
268
275
282
268
274
281
267
273
280
266
273
280
266
272
279
265
271
278
265
271
278
60
50
40
293
304
317
292
303
315
291
301
314
290
300
312
290
299
311
289
298
310
288
297
309
287
296
307
286
295
306
285
294
305
Multiplicador 1
con filtro ND-2
1 al 0,1 % T
30
20
10
333
356
396
331
353
391
329
351
386
328
348
381
326
346
377
324
343
373
323
341
369
321
339
366
319
337
362
318
335
359
Continúa…
NORMA TÉCNICA COLOMBIANA NTC 5786
112
Tabla 7. (Final)
% T 0 1 2 3 4 5 6 7 8 9Parámetros e
intervalo de
transmitancia
(T)
Densidad óptica específica (D)
90 x 10-3
80
70
402
409
416
401
408
416
401
407
415
400
407
414
400
406
413
399
405
412
398
405
412
398
404
411
397
403
410
397
403
410
60
50
40
425
436
449
424
435
447
423
433
446
422
432
444
422
431
443
421
430
442
420
429
441
419
428
439
418
427
438
417
426
437
Multiplicador
0,1 con filtro
ND-2
0,1 al 0,01 % T
30
20
10
465
488
528
463
485
523
461
483
518
460
480
513
458
478
509
456
475
505
455
473
501
453
471
498
451
469
494
450
467
491
90 x 10-4
80
70
534
541
548
533
540
548
533
539
547
532
539
546
532
538
545
531
537
544
530
537
544
530
536
543
529
535
542
529
535
542
60
50
40
557
568
581
556
567
579
555
565
578
554
564
576
554
563
575
553
562
574
552
561
573
551
560
571
550
559
570
549
558
569
Multiplicador 1
sin filtro ND-2
0,01 al 0,001 %
T
30
20
10
597
620
660
595
617
655
593
615
650
592
612
645
590
610
641
588
607
637
587
605
633
585
603
630
583
601
626
582
599
623
90 x 10-5
80
70
666
673
680
665
672
680
665
671
679
664
671
678
664
670
677
663
669
676
662
669
676
662
668
675
661
667
674
661
667
674
60
50
40
689
700
713
688
699
711
687
697
710
686
696
708
686
695
707
685
694
706
684
693
705
683
692
703
682
691
702
681
690
701
Multiplicador
0,1 sin filtro
ND-2
0,001 al
0,00001 % T
30
20
10
00
729
752
792
-
727
749
787
924
725
747
782
885
724
744
777
861
722
742
773
845
720
739
769
832
719
737
765
821
717
735
762
812
715
733
758
805
714
731
755
798
Un ciclo
Posición 0 Posición 1 Posición 2 Posición 3 Posición 4
Probeta
Mordaz/prensa de tornillo
Base metálica
Mandriles
Figura 1. Fatiga por flexión
(Véase el numeral 3.5.3.2)
NORMA TÉCNICA COLOMBIANA NTC 5786
113
Guía No. 1
Guía No. 2
Guía No. 15
Termopares
A
B
B
A
B
A
C
D
D
C
D
C
Corriente constante de
40 A ± 0,5 A 60 Hz
Figura 2. Conexión de las guías (receptáculos dobles)
NORMA TÉCNICA COLOMBIANA NTC 5786
114
Termopares
Base de
terminal
Figura 3. Detalle de la conexión de las guías (receptáculos dobles)
(Véanse los numerales 3.6.2 y 3.6.4.1)
NORMA TÉCNICA COLOMBIANA NTC 5786
115
† Los tornillos terminales en cada base terminal se deben conectar por medio de conductores ACM que están
colocados bajo la cabeza del tornillo en dirección opuesta.
2,59
7,67
8,486,35
45,24
49,61
+ 3
- 0
B
6,35
2,36
88°
90°
R 1,59
C
A
5,16
10,31
26,75
+ 0
- 0,2530,05
R 0,79
R 0,79 3,18
1,58
2,92
2,77
0,00
0,51
75°
8,71 R 1,59
R 0,51
7,92
30° 25°
3,96
1,59
11,94
13,72
1,98 Ø 4,83
12,70
0,76 ± 0,03
0,89
6,35 21,41
0,79
R 1,59
6,35
2,77 3,96
11.35
11,74
42,44
45° R 0,79
R 1,59
20°
3,18
R 1,59
R 3,97
Estos
bordes
son
afilados
3,96 1,19
R 1,59
R 0,66
0,94
Ø 3,56-3,66
(2) Agujeros
para horadar
2,360,79
6,356,60
R 1,59
1,27
1,02
0,33
3,96
0,25
0,31
Debe ser
afilado
Sección B - B
Sección C
Escala 10 : 1
Sección A - A
R 0,79
A
B
NOTA 1 Se han omitido las dimensiones de los contactos utilizados para recibir las patas de una clavija
NOTA 2 Las dimensiones están dadas en milímetros.
Figura 4. Base de terminal (latón 70/30)
(Véanse los numerales 3.6.2 y 3.6.4.2)
NORMA TÉCNICA COLOMBIANA NTC 5786
116
2,39 ± 0,07 mm
7,75 mm
7,37 mm
0,38 mm
1,52 mm
R 0,25 mm
Ø 7,14 mm
11°
4,14 mm
3,99 mm
O.D.
3,63 mm
3,55 mm
P.D.
1,27 mm
Ø 8,89 mm 1,57 mm
Figura 5. Descripción del tornillo
(Véase el numeral 3.6.2)
d
Figura 6. Sección anular tomada del aislamiento
(Véase el numeral 4.2.5.1.1)
NORMA TÉCNICA COLOMBIANA NTC 5786
117
Separación
longitudinal
Centro del alambre
Separación
transversal
Cadenas no
escalonadas
Separación
longitudinal
Centro del alambre
Separación
transversal
Cadenas
escalonadas
Figura 7. Configuración de la cadena tipo perla. Vista superior
(Véase el numeral 6.7.2, literal c)
Conectado al
circuito de ensayo Buje
Placa no
conductora
Franela
Soporte
Probeta de ensayo
Figura 8. Guía para el ensayo de arco por flexión
(Véase el numeral 6.9.4.1)
NORMA TÉCNICA COLOMBIANA NTC 5786
118
El otro conductor del circuito
no está conectado al circuito
Dispositivo de
protección adecuado
Probeta
Conductor de circuito
(con la rotura)
Alimentación
120 ± 2 V, 60 Hz
El conductor de puesta a tierra (en donde
sea aplicable) no está conectado al circuito
Lámpara de neón de 120 V
Amperímetro
Resistencia variable
Figura 9. Diagrama del circuito eléctrico para el ensayo de arco por flexión
(Véase el numeral 6.9.4.3)
Cordón de 3048 mm
(120 pulgadas) de longitud
OHMS
1000V
Conductor de puesta a tierra
(verde o verde y amarillo)
Conductor de circuito (negro o cualquier otro color diferente
de blanco, PVC natural, gris, verde o verde y amarillo
Conductor de circuito
blanco o azul claro
120 V
48 - 62 Hz
Circuito para cordón
en un equipo de 120 Voltios
G
Figura 10. Circuito para la medición de corriente de fuga de c.a de cada conductor de circuito
a conductor de puesta a tierra
(Véase el numeral 6.11.4.1)
NORMA TÉCNICA COLOMBIANA NTC 5786
119
Conductor de puesta a tierra
(verde o verde y amarillo)
Conductor de circuito (negro o cualquier otro color diferente
de blanco, PVC natural, gris, verde o verde y amarillo)
Conductor de circuito
blanco o azul claro
120 V
48 - 62 Hz
Circuito para cordón
en un equipo de 120 Voltios
G
Lámina metálica enrollada en un
cordón de 3048 mm
(120 pulgadas) de longitud
OHMS
1000
V
Figura 11. Circuito para la medición de corriente de fuga de c.a de cada conductor de circuito a la chaqueta
(Véase el numeral 6.11.4.2)
Peso
Sección
reducida (pie)
Espécimen
redondo
Espécimen
rectangular
Figura 12. Equipo para el ensayo de deformación
(Véase el numeral 7.7.2)
NORMA TÉCNICA COLOMBIANA NTC 5786
120
9
8
6
2
1
3
4
5
7
1. Ensamble de agarre superior
2. Probeta
3. Ensamble de agarre inferior
4. Receptáculo para pesos
5. Pesos agregados
6. Escala graduada
7. Base de acero
8. Soporte vertical
9. Brazo de soporte
Figura 13. Equipo para elongación y cedencia gradual por calor
(Véase el numeral 7.8.2)
NORMA TÉCNICA COLOMBIANA NTC 5786
121
533,4 mm
(21 pulgadas)
635 mm
(25 pulgadas)
330,2 mm
(13 pulgadas)
Motor de c.a. de 1
4 hp
Rueda de transmisión
Barra de
acoplamiento
Tela de esmeril
Placa de soporte
de la placa
Barras de guía Cilindro
Soporte del cojinete
R 88,9 mm
(3,5 pulgadas)
Peso
Probeta
Placa
de base
Mordaza de la
probeta
233,4 mm
(9,1875
pulgadas)
NOTA Esta figura representa un aparato típico. Las dimensiones se sugieren únicamente, a menos que se
especifique en el numeral del ensayo.
Figura 14. Equipo para el ensayo de abrasión
(Véase el numeral 7.9.2)
NORMA TÉCNICA COLOMBIANA NTC 5786
122
685,8 mm
(2 pies 3 pulgadas)
63,5 mm
(2,5 pulgadas)
Base
19,1 mm
0,75 pulgadas
Mordaza
neumática
Soporte de
la mordaza
Porta cuerda
Vástago
Collarín de soporte
de la cuerda
Cuerda
63,5 mm
(2,5 pulgadas)
Peso
Polea
Espaciador
Soporte de
la polea
Collarín de
soporte del
vástago/mordaza
Soporte del eje
Collarín de soporte
del vástago
25,4 mm
(1 pulgada)
NOTA Esta figura representa el equipo típico. Las dimensiones son sugerencias solamente, a menos que se
especifique en el numeral de ensayo.
Figura 15. Equipo para el ensayo de impacto
(Véase el numeral 7.11.2)
NORMA TÉCNICA COLOMBIANA NTC 5786
123
342,9 mm
(13,5 pulgadas)
38,1 mm
(1,5 pulgadas)
101,6 mm
(4 pulgadas)
838,2 mm
(33 pulgadas)
45°
431,1 mm
(16,97 pulgadas)
217,5 mm
(8,5625
pulgadas)
47 mm
(2 pulgadas)
202,8 mm
(8 pulgadas)
25,4 mm
(1 pulgada)
Mordaza
conectada al
circuito de ensayo
Yunque
Probeta
R 9,5 mm
(0,375 pulgadas)
Masa de
impacto
Tubo hueco
19,1 mm
(0,75 pulgadas) I.D.
Cuerda
Roldana
de giro
NOTA Esta figura representa un aparato típico. Las dimensiones son sugerencias solamente, a menos que se
especifique en el numeral de ensayo.
Figura 16. Equipo para el ensayo de impacto oblicuo
(Véase el numeral 7.12.2)
NORMA TÉCNICA COLOMBIANA NTC 5786
124
Figura 17. Equipo para el ensayo de resistencia mecánica
(Véase el numeral 7.18.2)
NORMA TÉCNICA COLOMBIANA NTC 5786
125
50 mm
(2 pulgadas)
50 mm
(2 pulgadas)
2 conductores
3 conductores
Figura 18. Preparación de probetas paralelas de multiconductores para el ensayo
de tensión mecánica del aislamiento
(Véase el numeral 7.20.3.2)
Tope para mordaza
Probeta
Mordaza en el extremo de la probeta
Alambre (no probeta)
Peso
Poleas (ranura circular) en
montaje que va y viene
horizontalmente
Tope para mordaza
Mordaza en el
extremo de la
probeta
Alambre (no probeta)
Peso
Figura 19. Equipo para ensayo de flexión de cordones con pantalla
(Véanse los numerales 7.21.1.2 y 7.21.4.2)
NORMA TÉCNICA COLOMBIANA NTC 5786
126
137 mm
(5,375 pulgadas)51 mm
(2 pulgadas)
279 mm
(11 pulgadas)
83 mm
(3,25 pulgadas)
129 mm
(5,0625 pulgadas)
76 mm
(3 pulgadas)
20°
Punto central
del quemador
38 mm
(1,5 pulgadas)
38 mm
(1,5 pulgadas)
Placa metálica
1,6 mm de espesor
(1
16 de pulgada)
83 mm
(3,25 pulgadas)
Cuña de madera
Figura 20. Bloque de ángulo
(Véase el numeral 9.1.3, literal b)
NOTA Esta figura representa un aparato típico. Las dimensiones son sugerencias solamente, a menos que se
especifique en el numeral de ensayo. La bisagra es opcional.
Punto medio de la muestra
Soporte de la muestra separados
230 mm o (9 pulgadas)
20°
Cilindro del
quemador
40 mm o (19
16 pulgadas)
230 - 240 mm (9 - 91
2 pulgadas)
de la superficie superior del algodón
Muestra de 250 mm
o (10 pulgadas)
NOTA Esta figura representa un aparato típico. Las dimensiones son sugerencias solamente, a menos que se
especifique en el numeral de ensayo.
Figura 21. Aplicación de la llama sobre la probeta horizontal
(Véase el numeral 9.1.5.3)
NORMA TÉCNICA COLOMBIANA NTC 5786
127
Base del aparatoManija
Bloque de
ángulo a 20°
Cono azul
interno
Llama
Probeta
Indicador
de llama
Pantalla
600 mm
(23,625 pulgadas)
20 mm
(0,75 pulgadas)
250 mm
(9,875 pulgadas)
238 mm
(9,375 pulgadas)
175 mm
(6,875)
350 mm
(13,75 pulgadas)
NOTA 1 Esta figura representa un aparato típico. Las dimensiones son sugerencias solamente, a menos que se
especifique en el numeral de ensayo. La manija es opcional.
NOTA 2 No hay pantalla para el ensayo de llama vertical/VW-1/FV-2
NOTA 3 No hay indicador de bandera para el ensayo de partículas encendidas.
Figura 22. Aplicación de la llama sobre la probeta vertical
(Véanse los numerales 9.2.5.4, 9.3.5.2 y 9.4.5.2)
NORMA TÉCNICA COLOMBIANA NTC 5786
128
Dimensiones en milímetros
2020
2130
2230
595
712
100
55
802
910
802
Estructura
metálica
Ø 420
Extractor
Figura 23. Cámara para el ensayo de propagación del fuego
(Véase el numeral 9.8.3.1, literal a)
NORMA TÉCNICA COLOMBIANA NTC 5786
129
Dimensiones en milímetros
Extractor
Cabina
Chimenea
Horno en su posición alta
Horno en su posición baja
Barra de acero inoxidable
Entrada de aire
2360
310
30 ± 1
Espécimen con
longitud 1600 mm
Entrada de aire
Quemadores
Figura 24. Detalle 1 de las dimensiones de la cámara para el ensayo de propagación del fuego
(Véase el numeral 9.8.3.1, literal a)
NORMA TÉCNICA COLOMBIANA NTC 5786
130
Dimensiones en milímetros
1600
310
800 ± 3
30 ± 1
220
10 ± 1
100
500
1090
2200
Gancho de sujeción
Espécimen
Chimenea
Quemadores
Horno en su posición alta
Tubo metálico
Gancho de sujeción
Barra de acero inoxidable
Horno en su posición baja
35 ± 1
Figura 25. Detalle 2 de las dimensiones de la cámara para el ensayo de propagación del fuego
(Véase el numeral 9.8.3.1, literal a)
NORMA TÉCNICA COLOMBIANA NTC 5786
131
Dimensiones en mm
E
30 ± 1
Horno en
posición alta
Tornillo fijado de
los Quemadores
E
D
O
Longitud del cono
azul 20 ± 5
d = 15 ± 5 d = 15 ± 5
D = Es el diámetro del espécimen
O = Es el eje común de simetria de
la chimenea y el espécimen
E = Es la distancia entre los ejes de
las llamas
d = Es el diámetro de las llamas
O
Figura 26. Quemadores para el ensayo de propagación del fuego
(Véase el numeral 9.8.3.1, literal a)
NORMA TÉCNICA COLOMBIANA NTC 5786
132
Dimensiones en milímetros
10 ± 1
Ranuras
40 ± 2
90 ± 3
120 a 125
120°120°
40
Ranura
Asa
Soporte a
la estructura
Figura 27. Chimenea metálica de la cámara de ensayo de propagación del fuego
(Véase el numeral 9.8.3.1, literal a)
NORMA TÉCNICA COLOMBIANA NTC 5786
133
Dimensiones en mm.
203500
Arandela de material
refractario
Varilla de acero
Tuerca
Arandela de acero
Tubo de acero
inoxidable
Interior relleno de
material refractario
Termopar
Figura 28. Tubo de acero inoxidable de la cámara de ensayo de propagación del fuego
(Véase el numeral 9.8.3.1, literal a)
NORMA TÉCNICA COLOMBIANA NTC 5786
134
Dimensiones en mm
25 ± 1
50 ± 1
2,5
25
Termopar aislado de óxido de
Magnesio y acero inoxidable de
22 mm de diámetro soldado al
interior de la barra
Barra de cobre ennegrecida
Figura 29. Barra de cobre para calibración de temperatura en el ensayo de propagación del fuego
(Véase el numeral 9.8.3.1, literal a)
NORMA TÉCNICA COLOMBIANA NTC 5786
135
Dimensiones en mm
O
15 ± 515 ± 5
D
P
Convenciones:
0 = eje común de simetría entre la chimenea y el horno
P = plano de simetría de las válvulas
D = diámetro de la probeta
Figura 30. Disposición de la probeta entre quemadores usados en la cámara de ensayo
de propagación del fuego
(Véase el numeral 9.8.4, literal b)
NORMA TÉCNICA COLOMBIANA NTC 5786
136
1
2
3
5
4
6 6
8
97 10
Arranque 12 3 4 5
12
Convenciones:
1. Tanque de aire
2. Regulador de presión del gas
3. Manguera de silicio
4. Manguera flexible o vidrio
5. Controlador de flujo para una medición
de 0 a 200 ml/min
6. Conectores
7. Tubo de combustión
8. Horno tubular
9. Recipiente de combustión de porcelana
10. Cinta de calentamiento para evitar que el gas ácido se
condense
11. Variac o reóstato conectado a la cinta de calentamiento
12. Trampas de agua
Continúa….
Figura 31. Sistema de combustión para el ensayo de emisión de gases halógenos ácidos
(Véanse los numerales 9.10.3, 9.10.5.1 y 9.11.3)
NORMA TÉCNICA COLOMBIANA NTC 5786
137
N DE
F
H
G
J
C
A
B
L
M
K
Convenciones:
A: Conexión entre la unión circular y de borosilicato
B: Elementos de unión macho y hembra*
C: Mordaza para unión
D: Porción de tubo que sobresale del horno, de 30 a 50 mm
E: Porción del tubo dentro del horno (longitud del horno)
F: Longitud del tubo de diámetro inferior (100 a 120 mm)
G: Diámetro interior, 13 mm
H: Diámetro exterior, 17 mm
I: Diámetro exterior, 25 mm
J: Diámetro interior, 19 mm
K: Elementos de unión macho y hembra*
L: Mordazas para unión nro. 35
M: Conexión entre la unión circular y de borosilicato
N: Longitud de la conexión de borosilicato, 50 a 100 mm
* Se han encontrado adecuados elementos de unión 29/9 y 25/25 para B y K, respectivamente.
Figura 31. (Final)
(Véanse los numerales 9.10.3, 9.10.5.1 y 9.11.3)
NORMA TÉCNICA COLOMBIANA NTC 5786
138
mV
ml
ml utilizados
Punto de equivalencia
Figura 32. Gráfico de titulación típico
(Véase el numeral 9.10.6.1)
mV
ml
Figura 33. Gráfico de titulación de un blanco
(Véanse los numerales 9.10.6.1 y 9.10.6.3)
NORMA TÉCNICA COLOMBIANA NTC 5786
139
Horno
Recipiente de
combustión
Cinta de
calentamiento
Suministro de aire
Tubo de combustión
Trampas de agua
(a) Posición al comienzo del ensayo
Recipiente de
combustión
Cinta de
calentamiento
Trampas de agua
(b) Posición durante el ensayo
Cinta de
calentamiento
Trampas de agua
(c) Posición para quemar completamente el residuo
Horno
Tubo de
combustión
Suministro
de aire
Recipiente de
combustión
Horno
Tubo de
combustión
Suministro
de aire
Figura 34. Equipo de ensayo de producción de gas ácido. Método 1
(Véanse los numerales 9.11.5.1.2, 9.11.5.1.5, 9.11.5.1.6, y 9.11.5.1.7)
NORMA TÉCNICA COLOMBIANA NTC 5786
140
Cinta de calentamiento
Trampas de agua
(a) Posición al comienzo del ensayo
Recipiente de
combustión
Cinta de calentamiento
Trampas de agua
(b) Posición durante el ensayo
Cinta de
calentamiento
Trampas de agua
(c) Posición para quemar completamente el residuo
Horno
Suministro
de aire
Recipiente de
combustión
Tubo de
combustión
Horno
Suministro
de aire
Tapón de lana de cerámica
Tapón de lana de cerámica
Tubo de
combustión
Tapón de lana de cerámica
Recipiente de
combustión
Tubo de
combustión
Suministro
de aire
Figura 35 Equipo de ensayo de producción de gas ácido. Método 2
(Véanse los numerales 9.11.5.2.2, 9.11.5.2.4, 9.11.5.2.6, 9.11.5.2.7, 9.11.5.2.9 y 9.11.5.2.10)
NORMA TÉCNICA COLOMBIANA NTC 5786
141
ANEXO A
(Informativo)
RETIRO DEL AISLAMIENTO DEL CONDUCTOR PARA PROBETAS TUBULARES
(Véase el numeral 4.2.4.2.2)
NOTA Este anexo no es parte obligatoria de esta norma, pero está escrito en este lenguaje para permitir su
adopción si alguien deseara hacerlo.
A.1 MÉTODO 1: CONDUCTORES TRENZADOS
Los alambres individuales de conductor se deben retirar del aislamiento por medio de pinzas,
sin dañar la probeta.
A.2 MÉTODO 2: CONDUCTORES TRENZADOS O SÓLIDOS
A.2.1 Se debe cortar una muestra de 150 mm (6 pulgadas) de conductor aislado, y se deben
retirar 12,7 mm (0,5 pulgadas) de su aislamiento, en ambos extremos.
A.2.2 Para evitar mellas en la probeta, cualquier aspereza del conductor se debe limar en un
extremo del conductor aislado.
A.2.3 El otro extremo del conductor con aislamiento se debe insertar en el orificio de una
placa metálica de un calibrador de brocas (o equivalente) y asegurarse de que el orificio tenga
un tamaño suficiente para que el conductor se mueva libremente, pero sin que el aislamiento
pueda pasar a través de él.
A.2.4 El conductor con aislamiento insertado en la placa metálica se deben asegurar en una
prensa de tornillo, y el aislamiento se debe retirar del conductor halando suavemente la placa
junto con el aislamiento, de la prensa de tornillo.
Se debe hacer este procedimiento suavemente para impedir que el aislamiento se “arrugue"
A.2.5 Después de retirar el conductor, la probeta de aislamiento se debe dejar reposar
durante 30 min antes de llevar a cabo el ensayo, para cerciorarse de que el calor producido en
la probeta se haya podido disipar y se haya relajado cualquier esfuerzo en ella.
A.2.6 Para facilitar el retiro del aislamiento, el conductor se puede estirar previamente.
NORMA TÉCNICA COLOMBIANA NTC 5786
142
ANEXO B
(Informativo)
DETERMINACIÓN DE LA DENSIDAD
(Véase el numeral 4.2.5.1.2)
NOTA Este anexo no es parte obligatoria de esta norma, pero está escrito en este lenguaje para permitir su
adopción si alguien deseara hacerlo.
B.1 La densidad de una probeta se debe determinar a dos lugares decimales usando el
método de desplazamiento, con una balanza de precisión de un tipo que da una lectura directa
de la densidad (gravitómetro de Young) o requiere cálculo.
Todo el equipo, el agua, el alcohol etílico y la probeta deben estar a la misma temperatura
(cualquier temperatura ambiente conveniente) durante todo el procedimiento.
B.2 De la muestra terminada se debe cortar una longitud limpia de 250 mm (10 pulgadas)
adyacente a la usada para la preparación de las probetas para la determinación de las
propiedades físicas, y se debe retirar cualquier conductor, cubierta y separador. Para reducir la
posibilidad de que quede aire atrapado en los orificios, la longitud se debe cortar paralela a su
eje longitudinal. Todas las superficies de la muestra cortadas deben ser lisas.
B.3 Las probetas se deben cortar en longitudes de 50 mm (2 pulgadas). Se debe usar como
probeta una sola longitud, si pesa 5 g ó más. Se deben usar varias longitudes como probeta,
cuando una sola longitud pesa menos de 5 g. Una sola longitud o un haz de longitudes se debe
amarrar en su centro con alambre de un diámetro no superior a 0,127 mm (0,0050 pulgadas,
36 AWG) y se debe suspender mediante el alambre, del brazo de pesaje de la balanza.
B.4 Cuando se usa un gravitómetro de Young, los pesos del brazo se deben ajustar para
llevar el puntero a la marca de infinito en la escala. Un vaso de precipitados u otro recipiente de
boca ancha se debe llenar con alcohol etílico y colocar en la plataforma del instrumento. La
probeta se debe levantar por el alambre y sumergir completamente en el alcohol, luego retirarla
de éste y enjuagarla con agua destilada o desmineralizada que esté prácticamente libre de
aire. El recipiente de alcohol se debe retirar y reemplazar por otro recipiente similar lleno con
agua destilada o desmineralizada prácticamente libre de aire. La probeta se debe levantar de
nuevo por el alambre y sumergir completamente en el agua. El alcohol etílico actúa como
agente humectante y ayuda a evitar que se peguen burbujas de aire a la probeta o alambre
mientras estos se encuentran en el agua. Sin embargo, cualquier burbuja que quede se debe
eliminar frotando las burbujas con un alambre fino, o agitando la probeta. Ni el alambre
suspendido ni la probeta deben tocar el recipiente. El vibrador del instrumento se debe activar
para ayudar a que la balanza alcance equilibrio. Una vez que se ha alcanzado equilibrio, la
densidad se debe leer a dos lugares decimales directamente de la escala.
B.5 Cuando se usa una balanza diferente de un gravitómetro de Young, el peso W1 en el
aire de la probeta sin el alambre de suspensión se debe determinar con aproximación a 5 mg.
Un vaso de precipitados u otro recipiente de boca ancha se debe llenar con alcohol etílico y
colocar en una plataforma de soporte estacionaria debajo del brazo de pesaje de la balanza. La
probeta se debe elevar mediante el alambre y sumergir completamente en el alcohol, luego
retirarla de éste y enjuagarla con agua destilada o desmineralizada que esté prácticamente
libre de aire. El recipiente de alcohol se debe retirar y reemplazar por otro recipiente similar
lleno con agua destilada o desmineralizada prácticamente libre de aire. La probeta se debe
levantar de nuevo mediante el alambre y sumergir completamente en el agua. El alcohol etílico
actúa como agente humectante y ayuda a evitar que se peguen a la probeta o alambre
NORMA TÉCNICA COLOMBIANA NTC 5786
143
burbujas de aire mientras estos están aún en el agua. Sin embargo, cualquier burbuja que
quede se debe eliminar frotándola con un alambre fino, o agitando la probeta. Ni el alambre
suspendido ni la probeta deben tocar el recipiente. El peso W2 en el agua de la probeta
sumergida completamente y su alambre de suspensión sumergido parcialmente se deben
determinar con aproximación a 5 mg. El punto en el cual el alambre toca la superficie del agua
se debe marcar en el alambre y la probeta se debe retirar del agua y del alambre. El alambre
se debe entonces reemplazar en el agua a la profundidad de la marca y su peso W3 se debe
determinar con exactitud. La densidad de la probeta se debe calcular a dos lugares decimales
por medio de la siguiente fórmula:
321
1
WWW
W
D
−−
=
NORMA TÉCNICA COLOMBIANA NTC 5786
144
ANEXO C
(Informativo)
CÁLCULO DE LA MUESTRA PARA LA DETERMINACIÓN DE LA ELONGACIÓN ÚLTIMA O
RESISTENCIA A LA TENSIÓN EN 300 d
(Véase el numeral 4.3.5.2)
C.1 ELONGACIÓN
EJEMPLO Elongación después de 90 días = 200 %, después de 120 = 150 %, después de 150 días = 100 %
Al elaborar el gráfico x/y usando los valores anteriores y la necesidad de restar 90 días del
comienzo, da
x1 = 90 – 90 = 0
x2 = 120 – 90 = 30
x3 = 150 – 90 = 60
y1 = ln(200) = 5,29832
Y2 = ln(150) = 5,01064
Y3 = ln(100) = 4,60517
Usando el análisis de regresión lineal de cuadrados mínimos, y convirtiendo a una ecuación
lineal (Y = B + RT) se obtiene
R = −0,0115525 y B = 5,31795
Usando esta ecuación y resolviéndola para la elongación a 300 días (Y300 = 2,8919) se obtiene
una elongación de 18,03 % (falla).
C.2 RESISTENCIA A LA TENSIÓN
EJEMPLO Resistencia a la tensión después de 90 días = 13,79 MPa (2 000 libra fuerza/pulgada2
), después
de 120 = 12,41 MPa (1 800 libra fuerza/pulgada2
), después de 150 días = 11,03 MPa (1 600 libra fuerza/pulgada2
)
Construyendo el gráfico x/y usando los valores anteriores y la necesidad de restar 90 días del
comienzo, da
x1 = 90 – 90 = 0
x2 = 120 – 90 = 30
x3 = 150 – 90 = 60
y1 = ln(13,79) = 2,62355 (ln(2 000) = 7,6009)
y2 = ln(12,41) = 2,51820 (ln(1 800) = 7,4955)
y3 = ln(11,03) = 2,40041 (ln(1 600) = 7,3778)
NORMA TÉCNICA COLOMBIANA NTC 5786
145
Usando el análisis de regresión lineal de cuadrados mínimos, y convirtiendo a una ecuación
lineal (Y = B + RT) se obtiene
R = -0,00372 y B = 2,62563 (R = −0,003719 y B = 7,60297)
Usando esta ecuación y resolviéndola para resistencia a la tensión a 300 días (Y300 = 1,84442)
se obtiene 6,32 MPa (pasa).
NORMA TÉCNICA COLOMBIANA NTC 5786
146
ANEXO D
(Normativo)
ESTABLECIMIENTO DE PARÁMETROS Y REQUISITOS PARA EL ENSAYO DE
ENVEJECIMIENTO A CORTO PLAZO EN HORNO DE AIRE FORZADO
(Véase el numeral 4.3.5.6)
D.1 Después de establecer el valor nominal de temperatura de un nuevo material, se debe
llevar a cabo el ensayo de envejecimiento a corto plazo en horno con circulación forzada de
aire. Cuando se hayan recolectado suficientes datos, el material se debe adicionar a la norma
apropiada, incluido un ensayo de envejecimiento a corto plazo en horno con circulación forzada
de aire, común a esa familia de materiales, y la evaluación de los valores nominales de
temperatura no debe tener una duración mayor de la necesaria para ese material.
Las directrices para determinar los parámetros y requisitos del ensayo de envejecimiento a
corto plazo en horno con circulación forzada de aire deben estar de acuerdo con los literales
D.2 a D.4.
D.2 Escoja la temperatura y duración para el ensayo, de los parámetros presentados en la
Tabla D.1, para el valor nominal de temperatura del material.
D.3 Usando probetas de la misma fuente (carrete, caja de cartón, etc.) usada para
determinar el valor nominal de temperatura del material, determine la retención de la
elongación última y la resistencia a la tensión bajo las condiciones escogidas en la Tabla D.1.
Reste el 15 % de los valores de retención obtenidos, y redondee con aproximación al 5 %. Si
los valores son el 35 % o superiores, ajuste estos valores como los requisitos para este
material.
D.4 Si cualquiera de los valores es inferior al 35 %, se debe considerar que el valor es
demasiado bajo para un ensayo confiable. En este caso, escoja la temperatura y duración del
ensayo para la siguiente temperatura nominal más baja, como se ilustra en la Tabla D.1, y
determine los requisitos de elongación última y la resistencia a la tensión como se describen en
el literal D.3.
Tabla D.1 Parámetros para el ensayo de envejecimiento a corto plazo
en horno con circulación forzada de aire
(Véanse los numerales D.2 – D.4)
Valores nominales de temperatura
(°C)
60 75 80 90 105 125 150 180 200 250
Temperatura de envejecimiento
(°C ± 2 °C)
100 100 113 121 136 158 180 * * *
Tiempo de envejecimiento (d) 7 10 7 7 7 7 7 * * *
* La temperatura de envejecimiento y tiempos para estas temperaturas están en desarrollo
NORMA TÉCNICA COLOMBIANA NTC 5786
147
ANEXO E
(Normativo)
DETERMINACIÓN DEL FACTOR DE CORRECCIÓN DE TEMPERATURA
(Véase el numeral 6.4.5)
E.1 Si el ensayo para resistencia de aislamiento a 15 °C se lleva a cabo en agua o aire a
una temperatura diferente de 15 °C, (véase el numeral 6.4.1), el factor de corrección de
temperatura (F) a que se hace referencia en la fórmula del numeral 6.5 se debe determinar
usando el coeficiente para 1 °C, como se determina de acuerdo con el método del literal E.2.
E.2 El coeficiente para 1 °C se debe determinar para un material aislante dado, como sigue:
a) Se deben seleccionar tres muestras como representativas del material que se estudia.
Las muestras deben tener una longitud suficiente para obtener los valores de
resistencia de aislamiento dentro del intervalo calibrado del equipo de medición a la
temperatura más baja del baño de agua.
b) Las tres muestras se deben sumergir en un baño de agua equipado con medios de
calentamiento, enfriamiento y circulación, con los extremos de las muestras extendidos
al menos 0,6 m (2 pies) sobre la superficie del agua y preparados adecuadamente para
que haya un mínimo de fuga. Las muestras se deben dejar en agua a temperatura
ambiente durante 16 h antes de ajustar el baño de temperatura a 10 °C, o antes de
transferir las muestras a un baño a una temperatura de ensayo de 10 °C.
c) La resistencia del conductor se debe medir a intervalos adecuados hasta que
permanezca sin alteración al menos durante 5 min. El aislamiento estará entonces a la
temperatura del baño, leída en el termómetro del baño. La resistencia de aislamiento se
debe medir entonces usando uno de los métodos del numeral 6.4.1.
d) Cada una de las tres muestras se debe exponer a temperaturas sucesivas del agua de
10 °C, 16 °C, 22 °C, 28 °C, y 35 °C y luego de 28 °C, 22 °C, 16 °C, y 10 °C. Las lecturas
de resistencia de aislamiento se deben tomar a cada temperatura después de que se ha
alcanzado equilibrio de acuerdo con el literal (c).
e) Los dos grupos de lecturas tomadas a la misma temperatura se deben promediar, y
junto con la lectura a 35 °C, se deben graficar en una escala semilogarítmica.
Si la curva resultante es una línea recta, el coeficiente de 1 °C se calcula de la siguiente
manera:
Coeficiente para 1 °C = Amtilog [(log [IR10/IR35])/25]
en donde
α = base del logaritmo
El factor de corrección de temperatura se debe leer de la Tabla E.1 bajo el título
apropiado “coeficiente para 1°".
La resistencia de aislamiento a 15 °C para un material particular se calcula
entonces como sigue:
NORMA TÉCNICA COLOMBIANA NTC 5786
148
IR15 = IRx x Factor de Corrección de Temperatura
en donde
IRx = resistencia de aislamiento a X °C
f) Si la curva resultante no es una línea recta, los factores de corrección de temperatura se
deben calcular dividiendo la resistencia de aislamiento a 15 ° C por los valores de
resistencia de aislamiento leídos de la curva de IR a intervalos de 0,5 °, y estos factores
de corrección de temperatura se deben graficar.
La resistencia de aislamiento a 15 °C para un material particular se calcula entonces
como sigue:
IR15 = IRx x Factor de corrección de temperatura
en donde
IRx = resistencia de aislamiento a X °C
El factor de corrección de temperatura se debe leer directamente de los valores
graficados.
Tabla E.1. Factor de corrección de temperatura de la resistencia de aislamiento
(Véase el literal E.2)
Coeficiente para 1 °CTemperatura
°C 1,04 1,06 1,08 1,10 1,12 1,14 1,16 1,18 1,20 1,22
5,0 0,68 0,56 0,46 0,39 0,32 0,27 0,23 0,19 0,16 0,14
5,5 0,69 0,57 0,48 0,40 0,34 0,29 0,24 0,21 0,18 0,15
6,0 0,70 0,59 0,50 0,42 0,36 0,31 0,26 0,23 0,19 0,17
6,5 0,72 0,61 0,54 0,44 0,38 0,33 0,28 0,24 0,21 0,18
7,0 0,73 0,63 0,56 0,47 0,40 0,35 0,31 0,27 0,23 0,20
7,5 0,75 0,65 0,58 0,49 0,43 0,37 0,33 0,29 0,25 0,23
8,0 0,76 0,67 0,61 0,51 0,45 0,40 0,35 0,31 0,28 0,25
8,5 0,77 0,68 0,62 0,54 0,48 0,43 0,38 0,34 0,31 0,27
9,0 0,79 0,70 0,63 0,56 0,51 0,46 0,41 0,37 0,33 0,30
9,5 0,81 0,73 0,65 0,59 0,54 0,49 0,44 0,40 0,37 0,33
10,0 0,82 0,75 0,68 0,62 0,57 0,52 0,48 0,44 0,40 0,37
10,5 0,84 0,77 0,71 0,65 0,60 0,55 0,51 0,47 0,44 0,41
11,0 0,85 0,79 0,74 0,68 0,64 0,59 0,55 0,52 0,48 0,45
11,5 0,87 0,82 0,76 0,72 0,67 0,63 0,59 0,56 0,53 0,50
12,0 0,89 0,84 0,79 0,75 0,71 0,67 0,64 0,61 0,58 0,55
12,5 0,91 0,86 0,82 0,79 0,75 0,72 0,69 0,66 0,63 0,61
13,0 0,92 0,89 0,86 0,83 0,80 0,77 0,74 0,72 0,69 0,67
13,5 0,94 0,92 0,89 0,87 0,84 0,82 0,80 0,78 0,76 0,74
14,0 0,96 0,94 0,93 0,91 0,89 0,88 0,86 0,85 0,83 0,82
14,5 0,98 0,97 0,96 0,95 0,94 0,94 0,93 0,92 0,91 0,91
15,0 1,00 1,00 1,00 1,00 1,00 1,00 1,00 1,00 1,00 1,00
15,5 1,02 1,03 1,04 1,05 1,06 1,07 1,08 1,09 1,10 1,10
16,0 1,04 1,06 1,08 1,10 1,12 1,14 1,16 1,18 1,20 1,22
16,5 1,06 1,09 1,12 1,15 1,19 1,22 1,25 1,28 1,31 1,35
17,0 1,08 1,12 1,17 1,21 1,25 1,30 1,35 1,39 1,44 1,49
17,5 1,10 1,16 1,21 1,27 1,33 1,39 1,45 1,51 1,58 1,64
18,0 1,12 1,19 1,26 1,33 1,40 1,48 1,56 1,64 1,73 1,82
Continúa…
NORMA TÉCNICA COLOMBIANA NTC 5786
149
Tabla E.1. (Final)
Coeficiente para 1 °CTemperatura
°C 1,04 1,06 1,08 1,10 1,12 1,14 1,16 1,18 1,20 1,22
18,5 1,15 1,23 1,31 1,40 1,49 1,58 1,68 1,78 1,89 2,01
19,0 1,17 1,26 1,36 1,46 1,57 1,69 1,81 1,94 2,07 2,22
19,5 1,19 1,30 1,41 1,54 1,67 1,80 1,95 2,11 2,27 2,45
20,0 1,22 1,34 1,47 1,61 1,76 1,93 2,10 2,29 2,49 2,70
20,5 1,24 1,38 1,53 1,69 1,87 2,06 2,26 2,49 2,73 2,99
21,0 1,27 1,42 1,59 1,77 1,97 2,19 2,44 2,70 2,99 3,30
21,5 1,29 1,46 1,65 1,86 2,09 2,34 2,62 2,93 3,27 3,64
22,0 1,32 1,50 1,71 1,95 2,21 2,50 2,83 3,19 3,58 4,02
22,5 1,34 1,55 1,78 2,04 2,34 2,67 3,04 3,46 3,93 4,44
23,0 1,37 1,59 1,85 2,14 2,48 2,85 3,28 3,76 4,30 4,91
23,5 1,40 1,64 1,92 2,25 2,62 3,05 3,53 4,08 4,71 5,42
24,0 1,42 1,69 2,00 2,36 2,77 3,35 3,80 4,44 5,16 5,99
24,5 1,45 1,74 2,08 2,47 2,93 3,47 4,10 4,82 5,65 6,61
25,0 1,48 1,79 2,16 2,59 3,11 3,71 4,41 5,23 6,19 7,30
25,5 1,51 1,84 2,24 2,72 3,29 3,96 4,75 5,69 6,78 8,07
26,0 1,54 1,90 2,33 2,85 3,48 4,23 5,12 6,18 7,43 8,91
26,5 1,57 1,95 2,42 2,99 3,68 4,51 5,51 6,71 8,14 9,84
27,0 1,60 2,01 2,52 3,14 3,90 4,82 5,94 7,29 8,92 10,87
27,5 1,63 2,07 2,62 3,29 4,12 5,14 6,39 7,92 9,77 12,01
28,0 1,67 2,13 2,72 3,45 4,36 5,49 6,89 8,60 10,70 13,26
28,5 1,70 2,20 2,83 3,62 4,62 5,86 7,42 9,34 11,72 14,65
29,0 1,73 2,26 2,94 3,80 4,89 6,26 7,99 10,15 12,84 16,18
29,5 1,77 2,33 3,05 3,98 5,17 6,69 8,60 11,02 14,06 17,87
30,0 1,80 2,40 3,17 4,18 5,47 7,14 9,27 11,97 15,41 19,74
30,5 1,84 2,47 3,30 4,38 5,79 7,62 9,98 13,01 16,88 21,81
31,0 1,87 2,54 3,43 4,59 6,13 8,14 10,75 14,13 18,49 24,09
31,5 1,91 2,62 3,56 4,82 6,49 8,69 11,58 15,35 20,25 26,60
32,0 1,95 2,69 3,70 5,05 6,87 9,28 12,47 16,67 22,19 29,38
32,5 1,99 2,77 3,85 5,30 7,27 9,90 13,43 18,11 24,30 32,46
33,0 2,03 2,85 4,00 5,56 7,69 10,58 14,46 19,67 26,62 35,85
33,5 2,07 2,94 4,15 5,83 8,14 11,29 15,58 21,37 29,16 39,60
34,0 2,11 3,03 4,32 6,12 8,61 12,06 16,78 23,21 31,95 43,74
34,5 2,15 3,12 4,49 6,41 9,11 12,87 18,07 25,22 35,00 48,31
35,0 2,19 3,21 4,66 6,73 9,65 13,74 19,46 27,39 38,34 53,36
NORMA TÉCNICA COLOMBIANA NTC 5786
150
ANEXO F
(Normativo)
PROCEDIMIENTO Y CÁLCULOS PARA DETERMINAR EL GRADO DE COBERTURA DE
LOS RECUBRIMIENTOS FIBROSOS
(Véanse los numerales 5.1.4 y 5.1.5)
F.1 El número de hilos por mm (pulgada) se debe medir en tres lugares que estén
separados al menos 50 mm (2 pulgadas) en cualquier sección de 300 mm (12 pulgadas) en el
1 m (3 pies) central de una probeta de 1,5 m (5 pies) del alambre recubierto de malla. El
promedio de las tres determinaciones se debe tomar como el número de hilos por mm
(pulgada) para esa probeta. Los valores del diámetro T de los hilos se ilustran en la Tabla F.1.
Tabla F.1 Diámetro de los hilos
(Véase el numeral F.1)
Diámetro de hilos, T
Tamaño y trama de hilos
mm pulgada
12/1
14/1
36/2
20/1
25/1
30/1
36/1
25/2
30/2
40/2
26/1
60/2
26/2
50/2
0,28
0,25
0,23
0,20
0,18
0,18
0,15
0,011
0,010
0,009
0,008
0,007
0,007
0,006
El ángulo de paso se debe determinar por medio de cualquiera de las siguientes fórmulas que
sea aplicable:
( )
K
DTN
A mmmm
425
2
,
tan
+
=
π
o
( )
K
DTN
A
pulgadaspulgadas
tan
+
=
2π
en donde
A = ángulo de paso
N = número de hilos por mm (pulgadas)
T = diámetro de un extremo del hilo, mm (pulgadas)
D = diámetro nominal (calculado), mm (pulgadas) sobre el aislamiento para monoconductores, como se
indica en la Tabla F.2; al calcular el diámetro, D, bajo la malla general sobre cables con conductores
múltiples, el promedio de los diámetros de los conductores individuales terminados se debe
multiplicar por los siguientes factores:
Ensambles de pares trenzados sin relleno; 1,64
Ensambles de pares trenzados con relleno; 2,00
Ensambles de tres conductores: 2,15
Ensambles de cuatro conductores: 2,41
K = número de portadores en una dirección
NORMA TÉCNICA COLOMBIANA NTC 5786
151
Tabla F.2 Diámetro nominal sobre el aislamiento
(Véase el literal F.2)
Espesor del aislamiento Diámetro nominal DCalibre AWG
del conductor
Cableado
mm Pulgadas mm Pulgadas
20
18
18
18
18
18
18
16
16
16
14
Cableado
Sólido
Cableado
Cableado
Cableado
Sólido
Cableado
Cableado
Sólido
Cableado
Cableado
0,58
0,38
0,38
0,51
0,58
0,76
0,76
0,51
0,76
0,76
1,14
0,023
0,015
0,015
0,020
0,023
0,030
0,030
0,020
0,030
0,030
0,045
2,18
1,78
1,98
2,34
2,39
2,54
2,74
2,57
2,82
3,05
4,27
0,086
0,070
0,078
0,092
0,094
0,100
0,108
0,101
0,111
0,120
0,168
F.2 La siguiente es la fórmula para determinar el número mínimo aceptable de hilos por
unidad de ancho para las mallas usadas más comúnmente, que son tejidas sobre una
enmalladora de 16 portadores:
( ) ⎟⎟
⎟
⎠
⎞
⎜⎜
⎜
⎝
⎛
⎥
⎦
⎤
⎢
⎣
⎡
+
−⎥
⎦
⎤
⎢
⎣
⎡
==
22
2100
10
mmmmmm DT
K
ET
Q
NcmporHilos
π
o
( ) ⎟
⎟
⎟
⎠
⎞
⎜
⎜
⎜
⎝
⎛
⎥
⎥
⎦
⎤
⎢
⎢
⎣
⎡
+
−
⎥
⎥
⎦
⎤
⎢
⎢
⎣
⎡
==
22
2100 pulgadaspulgadaspulgadas
pulgada
DT
K
ET
Q
NporHilos
π
en donde
N = número de hilos por unidad de longitud
E = número de extremos por hilo
Q = porcentaje de cobertura
F.3 Si la fórmula del literal F.2 arroja un valor que da como resultado un ángulo de malla
menor que el mínimo aceptable, el valor se debe recalcular por medio de cualquiera de las
siguientes fórmulas, la que sea aplicable
( )mmmm DT
AK
NcmporHilos
+
==
2
425
π
tan,
o
( )pulgadaspulgadas
tan
pulgada
DT
AK
NporHilos
+
==
2π
NORMA TÉCNICA COLOMBIANA NTC 5786
152
ANEXO G
(Normativo)
CÁLCULO DE LA COBERTURA DEL BLINDAJE (ENVOLTURAS Y TRENZAS)
(Véase el numeral 5.2.4)
G.1 La cobertura se debe determinar usando las siguientes fórmulas, según sean aplicables:
a) Para trenzas
% cobertura = 100 (2F – F2
)
en donde:
F = NCd/(2Lseno a)
en donde
N = número de alambres por portador
C = número de portadores
d = diámetro de alambres individuales
L = paso de alambres
a = ángulo de trenza con el eje del núcleo subyacente, con una tangente del ángulo igual a:
NOTA Las dimensiones pueden ser en mm o en pulgadas, siempre y cuando sean consistentes
en todo el cálculo.
tan(a) = π(D + d)/L
en donde
D = diámetro del núcleo bajo la pantalla
NOTA Las dimensiones pueden ser en mm o en pulgadas, siempre y cuando sean consistentes
en todo el cálculo.
b) para envolturas
% de cobertura = 100 F
en donde
F = NCd/(Lseno a)
en donde
N = número de alambres por portador
C = número de portadores
d = diámetro de alambres con vueltas individuales
L = paso de alambres
a = ángulo de vuelta con el eje del núcleo subyacente, con una tangente del ángulo igual a:
NORMA TÉCNICA COLOMBIANA NTC 5786
153
NOTA Las dimensiones pueden ser en mm o en pulgadas, siempre y cuando sean consistentes
en todo el cálculo.
tan(a) = π(D + d)/L
en donde
D = diámetro del núcleo bajo la envoltura
NOTA Las dimensiones pueden ser en mm o en pulgadas, siempre y cuando sean
consistentes en todo el cálculo.
G.2 Al calcular D (el diámetro del ensamble de conductores bajo la envoltura o trenza que
tiene conductores aislados del mismo calibre), el diámetro de uno de los conductores aislados
se debe multiplicar por el factor dado en la Tabla G.1. El diámetro de un conductor aislado
individual se debe determinar usando el diámetro nominal del conductor y el espesor promedio
del aislamiento, y la cubierta sobre el aislamiento, si se usa una, como se especifica en esta
norma.
Tabla G.1 Factores de multiplicación para el cálculo del diámetro del ensamble de conductores debajo de la
trenza (véase el literal G.2).
Número de
conductores
Factor de multiplicación Número de conductores Factor de multiplicación
2 (sin rellenos) 1,64 11 4,00
2 (con rellenos) 2,00 12 4,15
3 2,15 13 4,24
4 2,41 14 4,41
5 2,70 15 4,55
6 3,00 16 4,70
7 3,00 17 4,86
8 3,31 18 5,00
9 3,62 19 5,00
10 3,93 - -
NORMA TÉCNICA COLOMBIANA NTC 5786
154
ANEXO H
(Normativo)
CERRAMIENTO PARA EL ENSAYO Y CONDUCTO DE ESCAPE
(Véase el numeral 9.6.3)
H.1 CERRAMIENTO PARA EL ENSAYO
El cerramiento en el que se ensayan los cables debe ser como se ilustra en la Figura H.1. Se
permiten otros cerramientos si se demuestra que brindan resultados equivalentes y tienen un
tamaño (por ejemplo, un cubo de 2,4 m (8 pies)), de manera que el volumen interno del
cerramiento, exceptuando la campana piramidal, no sea inferior a 14,5 m3
(512 pies3
) ni mayor
de 36 m3
(1 272 pies3
), el área del suelo no sea inferior a 6 m2
(64 pies2
) ni mayor de 9 m2
(97 pies2
), y el movimiento máximo del aire dentro del cerramiento cumpla con el literal H.4.2.
Las paredes de la estructura deben ser de concreto con una densidad de 1 700 kg/m3
(106 libras/pies3
) ± 5 % y una conductividad térmica k a 21,1 °C (70,0 °F) de 0,055 W/m·K)
(0,38 Btu·pulgada/(h·pie2
°F)) ± 5 %, con la superficie interior pintada de negro mate.
Los materiales de construcción alternativos deben cumplir la intención de este requisito si se
cumplen las dos siguientes condiciones:
a) La conductividad térmica general, basada en una temperatura de pared interior de 37,8 °C
(100.0 °F) y una temperatura del aire exterior de 23,9 °C (75 °F), debe ser de (0,072 ±
0,043) W/(m·K) ((0,50 ± 0,30) Btu · pulgadas/(h·pie2 ·°F))).
b) Los materiales de construcción deben soportar altas temperaturas y llama abierta en el
cerramiento de ensayo.
El cerramiento de ensayo debe contener una puerta de acceso, construida habitualmente de
acero, ubicada como se ilustra en la Figura H.1. La puerta debe estar equipada con una
ventana de vidrio armado.
Una campana de acero inoxidable en forma de pirámide truncada y una caja de recolección,
cada una formada como se ilustra en la Figura H.1, deben estar ubicadas en la parte superior
de las paredes del encerramiento. Como empaque entre la campana y las paredes se debe
usar pelusa de algodón comprimible inorgánico.
El cerramiento para ensayo de cables también debe estar ubicado en una edificación de
ensayo que tenga orificios para la descarga de productos de la combustión, y también medios
para la toma de aire fresco.
H.2 CONDUCTO DE ESCAPE
H.2.1 El escape conectado a la cámara impelente en la campana debe constar de un
conducto de 405 mm (tamaño comercial 16 pulgadas), como se ilustra en la Figura H.1.
H.2.2 Un tabique construido de una placa de acero de 3,2 mm (0,125 pulgadas) nominales se
debe suspender horizontalmente 2,95 m (116 pulgadas) ± 3 % por encima del piso sobre el
centro de la bandeja, mediante cadenas o cables unidos a las esquinas del tabique y
conectados a la campana (véase la Figura H.1)
NORMA TÉCNICA COLOMBIANA NTC 5786
155
H.3 VENTILADOR DE ESCAPE
Se debe conectar un ventilador de escape al conducto de escape, para mantener las tasas de
flujo descritas en el numeral 9.6.3, literal (b) (véase la Figura H.2)
H.4 MEDICIONES DE LA VELOCIDAD DEL AIRE
H.4.1 Dentro del conducto de escape
La velocidad se debe calcular como sigue:
V = 0,806 x ΔP x TK (m/s)
o
V = 2,644 x ΔP x TK (pie/s)
en donde
ΔP = caída de presión medida por el transductor de presión (manómetro), mm Hg
TK = temperatura en el conducto, medida por un termopar, K
La velocidad en el conducto de escape se debe determinar midiendo la presión diferencial en la
trayectoria del flujo con la sonda bidireccional que se ilustra en la Figura H.3.
La sonda se debe conectar a un manómetro electrónico o a un sistema de medición
equivalente. La sonda debe constar de un cilindro de acero inoxidable con un diafragma sólido
en el centro, que divida la sonda en dos cámaras. La sonda debe tener una longitud nominal
del doble del diámetro externo del cilindro, con una longitud mínima de 25,4 mm (1,0 pulgada) y
una longitud máxima de 51 mm (2,0 pulgadas). Las tomas de presión (tubos) a cada lado del
diafragma deben sostener la probeta dentro del conducto y están conectadas al transductor de
presión por medio de tubería flexible.
NOTA Se recomienda disponer de medios para retirar la sonda y hacerle limpieza periódica.
El eje de la probeta debe estar localizado en la línea central del conducto un mínimo de 4 m
(13,3 pies) aguas abajo de la última vuelta en el conducto (véase la Figura H.1), para asegurar
una velocidad de flujo prácticamente uniforme a través de la sección transversal del conducto.
Se permite colocar la sonda en otro lugar, si se demuestra que se obtienen resultados
equivalentes.
La temperatura del gas de escape se debe medir aproximadamente a 152 mm (6 pulgadas)
aguas arriba de la sonda, desde la línea central del conducto, usando el termopar.
H.4.2 Dentro del encerramiento
El movimiento máximo del aire dentro del cerramiento, solamente con la toma del cerramiento y
con el escape abiertos, el ventilador encendido y el quemador apagado, no debe exceder 1 m/s
(3,3 pies/s), medidos en cada una de las siguientes áreas por medio de un anemómetro con
aleta manual;
a) en el piso del cerramiento en la posición ocupada por el quemador durante el ensayo; y
NORMA TÉCNICA COLOMBIANA NTC 5786
156
b) 1,5 m (4,9 pies) sobre el piso del cerramiento en la posición ocupada por la bandeja
portacables durante el ensayo.
H.5 EQUIPO DE MEDICIÓN DE HUMO
El equipo de medición (fotómetro) debe estar compuesto por una fuente de luz y una celda
fotoeléctrica montada en una sección horizontal del conducto de escape en un punto en el cual
el sistema está precedido por un tramo recto de conducto que mide al menos doce diámetros
de conducto ó 4,88 m (16 pies) de longitud.
Esto es con el fin de asegurar una velocidad de flujo prácticamente uniforme a través de la
sección transversal del conducto. El haz de luz se debe dirigir horizontalmente a través del
diámetro del conducto. Una celda fotoeléctrica cuya salida es directamente proporcional a la
cantidad de luz recibida, debe estar montada en dirección opuesta a la fuente de luz. El haz de
luz debe pasar a través de aberturas redondas de 76 mm (3 pulgadas) de diámetro en lados
opuestos del conducto. El haz de luz resultante debe estar centrado en la celda fotoeléctrica.
La distancia entre las lentes de la fuente de luz y las lentes de las celdas fotoeléctricas debe
ser de 914 ± 51 mm (36 ± 2 pulgadas). La celda fotoeléctrica debe estar conectada a un
sistema de adquisición de datos digitales con una precisión dentro de ± 1 por ciento. Las
mediciones de luz y presión se deben hacer cada 5 s. Los datos se deben procesar en un
registro continuo de valores de oscurecimiento de humo, a partir de los cuales se debe calcular
la densidad óptica.
NOTA 1 Se ha encontrado adecuado para este propósito un faro transparente de un vehículo, con haz sellado de
12 V (parte nro. 4405) General Electric modelo 4405. También es aceptable un equipo equivalente.
NOTA 2 Una celda fotoeléctrica de Weston Instruments, celda fotrónica No. 856-9901013BB, se ha encontrado
adecuada para este propósito. También es aceptable un equipo equivalente.
NORMA TÉCNICA COLOMBIANA NTC 5786
157
9
1295 mm
± 25 mm
1143 mm
± 25 mm
2438 mm
± 25 mm
2438 mm
± 25 mm
2438 mm
± 25 mm
2438 mm
± 25 mm
3353 mm
± 25 mm
1295 mm
± 25 mm
1143 mm
± 25 mm
559 mm
± 6 mm
559 mm
± 6 mm
914 mm
± 6 mm
343 mm
± 6 mm
305 mm
± 6 mm
1295 mm
± 25 mm
1143 mm
± 25 mm
1
2
3
4
5
6
3
10
8
1
3
457 mm
± 25 mm
11
7
7
3353 mm
± 25 mm
16
14
15
4880 mm
(192 pulgadas)
4000 mm
(157,5 pulgadas) min.
12
13
Convenciones:
1. Cerramiento. Si se usan bloques de concreto, deben medir 203 mm de altura x 406 mm de longitud x 152 mm de
espesor (8 x 16 x 6 pulgadas) nominales
2. Puertas con marco de acero con ventanas de vidrio armado, para acceso y observación. El tamaño de la puerta
debe ser 0,9 x 2,1 m (36 x 84 pulgadas)
3. Ventana(s) de observación de vidrio armado con marco de acero de 457 mm (18 pulgadas) nominales cuadradas,
ubicadas en una pared posterior de la cámara
4. Una campana de acero inoxidable en forma de pirámide truncada, cada lado con una pendiente de 40°
5. Caja de recolección con un conducto de escape centrado en un lado. La caja debe ser un cubo que mida 914 mm
(36 pulgadas) de lado
6. Bandeja montada verticalmente en el centro del encerramiento
7. Aberturas de toma de aire
8. Tabique de acero de 610 x 610 mm (24 x 24 pulgadas) y 3,2 mm (0,125 pulgadas) de espesor nominales
9. Conducto de 405 mm (16 pulgadas) de diámetro interno
10. Iluminación opcional
11. Calibre de altura de llama (opcional)
12. Sonda de temperatura (Tipo K con un revestimiento de inconel)
13. Sonda de velocidad bidireccional
14. Celda fotoeléctrica y fuente de luz (para la medición de la densidad del humo)
15. Gabinete(s) de control (para sonda de velocidad bidireccional, termopar, fuente de luz y celda fotoeléctrica)
16. Quemador de cinta
Figura H.1 Cerramiento para el ensayo de llama y conducto de escape
(Véanse los numerales 9.6.3, 9.6.5.2, 9.6.5.3, H.1, H.2.1, H.2.2, y H.4.1)
NORMA TÉCNICA COLOMBIANA NTC 5786
158
Chimenea Conducto de
16 pulgadas
Gases de escape
Campana
Cámara de
ensayo de llama
Cables de muestra
Quemador de cinta
Puerta
Piso
Pared
externa
Ventilador de
tiro inducido
Figura H.2. Montaje típico de un ventilador de tiro inducido
(Véanse los numerales 9.6.3 y H.3)
44 mm
(1,750 pulgadas)
1,83 mm
(0,072 pulgadas)
0,91 mm
(0,036 pulgadas)
22 mm
(0,875 pulgadas)
7,26 mm
(0,286 pulgadas)
Longitud
variable
4,70 mm
(0,185 pulgadas)
Soldar
Figura H.3 Sonda bidireccional
(Véanse los numerales 9.6.3 y H.4.1)
NORMA TÉCNICA COLOMBIANA NTC 5786
159
300 mm
(12 pulgadas)
2440 mm
(96 pulgadas)
76 mm
(3 pulgadas)
25 mm
(1 pulgada)
230 mm
(9 pulgadas)
Puntos de
soldadura
13 mm
(1
2 pulgada)
NOTA Una bandeja de acero tipo escalera, de acuerdo con el documento CAN/CSA-C22.2 No. 126.1 ó NEMA VE
1, ó NMX-J-498-ANCE, que esté limpia y libre de residuos y remanentes se debe montar en posición vertical en
forma segura. La bandeja debe medir 300 mm (12 pulgadas) de ancho x 76 mm (3 pulgadas) de profundidad x 2 440 mm
(96 pulgadas) de longitud y debe tener canaletas como se indica a continuación y como se ilustra en esta figura:
a) Cada canaleta debe medir 25 mm (1 pulgada) aproximadamente en dirección paralela a la longitud de la
bandeja y aproximadamente 13 mm (1/2 de pulgada) en la dirección de profundidad de la bandeja.
b) Las canaletas deben estar separadas aproximadamente 230 mm (9 pulgadas) (medidas entre centros).
c) Las canaletas se deben soldar por puntos a las barandas laterales.
Figura H.4. Bandeja portacable de acero
(Véase el numeral 9.6.3)
81 orificios
80 orificios
81 orificios
257 mm
(10 1
8 de pulgada)
5 mm
(3
16 de pulgada)
3,2 mm
(1
8 de pulgada)
NOTA 1 Todas las dimensiones son nominales.
NOTA 2 Los agujeros se deben centrar en la placa y deben medir 1,35 mm (0,052 pulgadas (broca No. 55) de
diámetro.
Figura H.5 Agujeros del quemador
(Véase el numeral 9.6.3)
NORMA TÉCNICA COLOMBIANA NTC 5786
160
2440 mm
(96 pulgadas)
mínimo
Longitudes de los cables
alambre amarrado a canaletas
de la bandeja portacables
Bandeja portacables
Quemador
76 mm
(3 pulgadas)
305 mm
(12 pulgadas)
20°
Base de la bandeja
152 mm
(6 pulgadas)
máximoBase de la bandeja
152 mm
(6 pulgadas)
máximo
2440 mm
(96 pulgadas)
mínimo
457 mm
(18 pulgadas)
76 mm
(3 pulgadas)
Quemador
Bandeja portacables
Longitudes de los cables
alambre amarrado a canaletas
de la bandeja portacables
Método 1. Horizontal Método 2. En ángulo
NOTA La base de la bandeja (opcional) es 152 mm (6 pulgada) de altura máxima.
Figura H.6 Detalles de colocación del quemador
(Véanse los numerales 9.6.5.2 y 9.6.5.3)
Quemador
Propano líquido
Aire comprimido
Válvula
de bola
Regulador Válvula
de aguja
Fluidómetro Mezclador
venturi
NOTA La base de la bandeja (opcional) es 152 mm (6 pulgada) de altura máxima.
Figura H.7. Esquema del tren de gases
(Véase el numeral 9.6.3)
NORMA TÉCNICA COLOMBIANA NTC 5786
161
150 mm
(6 pulgadas)
2440 mm
(96 pulgadas)
Probeta
Bandeja
portacables
Amarres de
alambre en cada
probeta en cuatro
lugares ubicados a
igual distancia
100 mm
(4 pulgadas)
máximo
Método 1 de carga (usando solamente
150 mm centrales (6 pulgadas))
Método 2 de carga (diámetro de
cable > 13 mm (0,51 pulgadas)
(usando el ancho solamente))
Método 2 de carga (diámetro de cable
< 13 mm (0,51 pulgadas) (usando el
ancho completo con haces))
2440 mm
(96 pulgadas)
Probeta
Bandeja
portacables
Amarres de
alambre en cada
probeta en cuatro
lugares ubicados a
igual distancia
100 mm
(4 pulgadas)
máximo
2440 mm
(96 pulgadas)
Probeta
(en haz)
Bandeja
portacables
Amarres de alambre
en cada haz en cada
canaleta
100 mm
(4 pulgadas)
máximo
Figura H.8 Bandeja portacables
(Véanse los numerales 9.6.4.2 y 9.6.4.3)
NORMA TÉCNICA COLOMBIANA NTC 5786
162
5,000 10,00 15,00 20,00
Tiempo (min)
3,50
4,00
4,50
5,00
5,50
6,00
6,50m/s
Figura H.9 Gráfico típico de velocidad de escape
(Véase el numeral 9.6.6.1)
Tasa de flujo de escape
NORMA TÉCNICA COLOMBIANA NTC 5786
163
ANEXO I
(Informativo)
CONVERSIÓN DEL pH A GAS ÁCIDO (como % de HCl)
Y GAS ÁCIDO (como % de HCl) A pH
(Véase el numeral 9.11.6.2.2)
Tabla I.1. Conversión del pH a gas ácido (como % de HCl) y gas ácido (como % de HCl) a pH
pH a gas ácido pH a gas ácido gas ácido a pH gas ácido a pH
pH % gas ácido pH % gas ácido % gas ácido pH % gas ácido pH
0,1 5792,2 3,6 1,8 0,1 4,86 3,5 3,32
0,2 4600,9 3,7 1,5 0,2 4,56 3,6 3,31
0,3 3654,7 3,8 1,2 0,3 4,39 3,7 3,29
0,4 2903,0 3,9 0,9 0,4 4,26 3,8 3,28
0,5 2305,9 4,0 0,73 0,5 4,16 3,9 3,27
0,6 1831,7 4,1 0,58 0,6 4,08 4,0 3,26
0,7 1454,9 4,2 0,46 0,7 4,02 4,1 3,25
0,8 1155,7 4,3 0,37 0,8 3,96 4,2 3,24
0,9 918,0 4,4 0,29 0,9 3,91 4,3 3,23
1,0 729,2 4,5 0,23 1,0 3,86 4,4 3,22
1,1 579,2 4,6 0,18 1,1 3,82 4,5 3,21
1,2 460,1 4,7 0,15 1,2 3,78 4,6 3,20
1,3 365,5 4,5 0,12 1,3 3,75 4,7 3,19
1,4 290,3 4,9 0,09 1,4 3,72 4,5 3,18
1,5 230,6 5,0 0,07 1,5 3,69 4,9 3,17
1,6 183,2 5,1 0,08 1,6 3,66 5,0 3,16
1,7 145,5 5,2 0,05 1,7 3,63 5,1 3,16
1,8 115,6 5,3 0,04 1,8 3,61 5,2 3,15
1,9 91,8 5,4 0,03 1,9 3,58 5,3 3,14
2,0 72,9 5,5 0,02 2,0 3,56 5,4 3,13
2,1 57,9 5,6 0,018 2,1 3,54 5,5 3,12
2,2 46,0 5,7 0,015 2,2 3,52 5,6 3,11
2,3 38,5 5,8 0,012 2,3 3,50 5,7 3,11
2,4 29,0 5,9 0,009 2,4 3,48 5,8 3,10
2,5 23,1 6,0 0,007 2,5 3,46 5,9 3,09
2,6 18,3 6,1 0,008 2,6 3,45 6,0 3,06
2,7 14,5 6,2 0,005 2,7 3,43 6,1 3,06
2,8 11,6 6,3 0,004 2,8 3,42 6,2 3,07
2,9 9,2 6,4 0,0029 2,9 3,40 6,3 3,06
3,0 7,3 6,5 0,0023 3,0 3,39 6,4 3,06
3,1 5,8 6,6 0,0018 3,1 3,37 6,5 3,05
3,2 4,6 6,7 0,0015 3,2 3,36 6,6 3,04
3,3 3,7 6,8 0,0012 3,3 3,34 6,7 3,04
3,4 2,9 6,9 0,0009 3,4 3,33 6,8 3,03
3,5 2,3 7,0 0,0007 3,5 3,32 6,9 3,02
NORMA TÉCNICA COLOMBIANA NTC 5786
164
NOTA Las siguientes ecuaciones dan orientación acerca de cómo hacer los cálculos:
[ ] [ ]
[ ] 1004636 x
x
molgMw
gmácidoGas
pH
HCL
polymer
/,
%
log−=
[ ] [ ]
[ ]gm
xmolgMwx
ácidoGas
polymer
HCL
pH
100463610 /,
%
−
=
NORMA TÉCNICA COLOMBIANA NTC 5786
165
ANEXO J
(Informativo)
CORRELACIÓN DE LOS MÉTODOS DE ENSAYO DE ALAMBRE Y CABLE NMX CON LA
NORMA UL 2556/CSA C22.2 No. 2556
NOTA NMX-J-556-ANCE está organizada con la misma numeración que la UL 2556/CSA C22.2 No. 2556. En
donde existe un método de ensayo estándar NMX separado, NMX-J-556-ANCE hace referencia a una norma NMX
separada que especifica el método de ensayo armonizado.
Tabla J.1 Correlación del ensayo UL 2556/CSA C22.2 No. 2556 con las normas NMX
Método de ensayo
UL 2556/CSA C22.2
No. 2556
Norma NMX
Diámetro del conductor
Método de área de sección transversal por masa (peso)
Método de área de sección transversal por diámetro
Resistencia de CC
Propiedades físicas de los conductores
Resistencia máxima a la tracción y elongación a la rotura
Resistencia última
Fatiga por flexión
Ciclado térmico a alta corriente para conductores de aluminio
Espesor
Propiedades físicas (elongación última y resistencia a la
tensión)
Envejecimiento a corto plazo en horno de aire forzado
Resistencia al aceite
Resistencia a la gasolina
Intemperie (resistencia a la luz solar)
Valor nominal de temperatura seca de materiales nuevos
(ensayo de envejecimiento a largo plazo)
Contenido de negro de carbón
Cobertura de mallas fibrosas
Cobertura del blindaje (vueltas y mallas)
Saturación
Continuidad
Resistencia del dieléctrico a la tensión
Ruptura del dieléctrico
Resistencia de aislamiento
Capacitancia y permitividad relativa
Factor de estabilidad
Chispa
Ensayo de arco normal
Ensayo de arco por flexión
Resistencia de la chaqueta
Ensayo de corriente de fuga a c.a
Penetración de materiales extruidos
Choque térmico
Resistencia al choque térmico
Retracción
Doblado en frío
Impacto en frío
Deformación
3.1
3.2
3.3
3.4
3.5
3.5.1
3.5.2
3.5.3
3.6
4.1
4.2
4.2.8.2
4.2.8.3
4.2.8.4
4.2.8.5
4.3
4.4
5.1
5.2
5.3
6.1
6.2
6.3
6.4
6.5
6.6
6.7
6.8
6.9
6.10
6.11
7.1
7.2
7.3
7.4
7.5
7.6
7.7
NMX-J-066-ANCE
NMX-J-129-ANCE
NMX-J-066-ANCE
NMX-J-212-ANCE
NMX-J-312-ANCE
NMX-J-312-ANCE
NMX-J-556-ANCE
NMX-J-556-ANCE
NMX-J-556-ANCE
NMX-J-177-ANCE
NMX-J-556-ANCE*
NMX-J-186-ANCE
NMX-J-194-ANCE
NMX-J-556-ANCE
NMX-J-553-ANCE
NMX-J-556-ANCE
NMX-J-437-ANCE
NMX-J-556-ANCE
NMX-J-556-ANCE
NMX-J-556-ANCE
NMX-J-556-ANCE
NMX-J-293-ANCE
NMX-J-556-ANCE
NMX-J-294-ANCE
NMX-J-040-ANCE
NMX-J-205-ANCE
NMX-J-473-ANCE
NMX-J-556-ANCE
NMX-J-556-ANCE
NMX-J-556-ANCE
NMX-J-556-ANCE
NMX-J-556-ANCE
NMX-J-190-ANCE
NMX-J-556-ANCE
NMX-J-556-ANCE
NMX-J-193-ANCE
NMX-J-556-ANCE
NMX-J-191-ANCE
Continúa…
NORMA TÉCNICA COLOMBIANA NTC 5786
166
Método de ensayo
UL 2556/CSA C22.2
No. 2556
Norma NMX
Elongación y cedencia gradual por calor
Resistencia a la abrasión
Resistencia al aplastamiento
Resistencia al impacto
Ruptura dieléctrica después de impacto oblicuo
Flexibilidad a temperatura ambiente después de envejecimiento
Flexibilidad de la cinta separadora bajo la chaqueta
Hinchazón y ampollamiento cuando se sumerge en líquido
Durabilidad de la impresión con tinta
Recubrimiento de color
Resistencia mecánica
Ensayo de flexión en conductores cubiertos de nailon
Tensión mecánica del aislamiento
Flexión de cables con pantalla
Corrosión del cobre
Llama horizontal FT2/FH
Partículas encendidas (goteo)
FT1
FV-2/VW-1
FV-1/llama vertical
Llama de bandeja vertical
Método 1. Bandeja vertical
Llama de bandeja vertical
Método 2 – FT4
Humo limitado ST1
Propagación del fuego/RPI
Emisión de humo
Emisión de gases halógenos ácidos
Emisión de gases ácidos
Retiro del aislamiento del conductor para probetas tubulares
Determinación de la densidad
7.8
7.9
7.10
7.11
7.12
7.13
7.14
7.15
7.16
7.17
7.18
7.19
7.20
7.21
8.1
9.1
9.2
9.3
9.4
9.5
9.6.4.2
9.6.4.3
9.7
9.8
9.9
9.10
9.11
Anexo A
Anexo B
NMX-J-432-ANCE
NMX-J-556-ANCE
NMX-J-556-ANCE
NMX-J-556-ANCE
NMX-J-556-ANCE
NMX-J-189-ANCE
NMX-J-556-ANCE
NMX-J-556-ANCE
NMX-J-556-ANCE
NMX-J-556-ANCE
NMX-J-556-ANCE
NMX-J-5S6-ANCE
NMX-J-556-ANCE
NMX-J-556-ANCE
NMX-J-556-ANCE
NMX-J- 192-ANCE
NMX-J-556-ANCE
NMX-J-556-ANCE
NMX-J- 192-ANCE
NMX-J- 192-ANCE
NMX-J-556-ANCE
NMX-J-498-ANCE
NMX-J-556-ANCE
NMX-J-093-ANCE
NMX-J-4 7 4-ANCE
NMX-J-472-ANCE
NMX-J-556-ANCE
NMX-J-178-ANCE
NMX-J-178-ANCE
Cálculo para la determinación de la elongación última o
resistencia a la tensión en 300 d Anexo C NMX-J-556-ANCE
Parámetros y requisitos para el ensayo de envejecimiento a
corto plazo en horno con circulación forzada de aire Anexo D NMX-J-556-ANCE
Determinación del factor de corrección de temperatura Anexo E NMX-J-294-ANCE
Procedimiento y cálculos para determinar el grado de cobertura
de los recubrimientos fibrosos. Anexo F NMX-J-556-ANCE
Cálculo de cobertura del blindaje Anexo G NMX-J-556-ANCE
* Numerales 4.2.1 - 4.2.3 y referencia a NMX-J-178-ANCE
NORMA TÉCNICA COLOMBIANA NTC 5786
167
DOCUMENTO DE REFERENCIA
UNDERWRITERS LABORATORIES. Wire and Cable Test Methods. Northbrook, UL: 2007.
202 p. il. (UL 2556)

Ntc5786

  • 1.
    NORMA TÉCNICA NTC COLOMBIANA5786 2010-09-20 MÉTODOS DE ENSAYO PARA ALAMBRES Y CABLES E: WIRE AND CABLE TEST METHODS CORRESPONDENCIA: esta norma es idéntica (IDT) por traducción de la UL 2556:2007. DESCRIPTORES: conductor eléctrico; cable eléctrico, cable, alambre eléctrico, alambre, método de ensayo. I.C.S.: 29.060.20 Editada por el Instituto Colombiano de Normas Técnicas y Certificación (ICONTEC) Apartado 14237 Bogotá, D.C. - Tel. (571) 6078888 - Fax (571) 2221435 Prohibida su reproducción Editada 2010-09-27
  • 2.
    PRÓLOGO El Instituto Colombianode Normas Técnicas y Certificación, ICONTEC, es el organismo nacional de normalización, según el Decreto 2269 de 1993. ICONTEC es una entidad de carácter privado, sin ánimo de lucro, cuya Misión es fundamental para brindar soporte y desarrollo al productor y protección al consumidor. Colabora con el sector gubernamental y apoya al sector privado del país, para lograr ventajas competitivas en los mercados interno y externo. La representación de todos los sectores involucrados en el proceso de Normalización Técnica está garantizada por los Comités Técnicos y el período de Consulta Pública, este último caracterizado por la participación del público en general. La NTC 5786 fue ratificada por el Consejo Directivo de 2010-09-20. Esta norma está sujeta a ser actualizada permanentemente con el objeto de que responda en todo momento a las necesidades y exigencias actuales. A continuación se relacionan las empresas que colaboraron en el estudio de esta norma a través de su participación en el Comité Técnico 140 Cables y conductores de potencia y energía. ATLANTIC CABLE S.A. CABLES DE ENERGÍA Y DE TELECOMUNICACIONES S.A. -CENTELSA- CABLETEC CODENSA DIELCO LTDA. DIPEL ANDINA ELECTRIFICADORA DEL CARIBE S.A. E.S.P. FÁBRICA COLOMBIANA DE CONDUCTORES ELÉCTRICOS -FACELEC- FABRICA DE CABLES Y ENCHUFES E.U. INDUCABLES NEXANS COLOMBIA PRODUCTORADECABLESLTDA.-PROCABLES- PROTÉCNICA INGENIERÍA VIAKON Además de las anteriores, en Consulta Pública el Proyecto se puso a consideración de las siguientes empresas: CABLES Y PROCESOS CARBOQUÍMICA S.A. CENTRALES ELÉCTRICAS DE NORTE DE SANTANDER CIDET COLREDES DE OCCIDENTE S.A. COMPONENTES TÉCNICOS S.A. CONALCABLES LTDA. CONDUBLEX ELECTBUS COLOMBIA LTDA. ELÉCTRICOS DE COLOMBIA S.A. ELECTRIFICADORA DE SANTANDER ELECTRO TÉCNICAS S.A. EMCOCABLES EMPRESA DE ENERGÍA DE BOYACÁ EMPRESA DE ENERGÍA DE CUNDINAMARCA EMPRESA DE ENERGÍA DEL QUINDÍO EMPRESAS PÚBLICAS DE MEDELLÍN GEÓN ANDINA GESTIÓN Y METROLOGÍA INTERCONEXIÓN ELÉCTRICA S.A. MINISTERIO DE COMERCIO, INDUSTRIA Y TURISMO MINISTERIO DE MINAS Y ENERGÍA PHELPS DODGE
  • 3.
    PRINCEX C.I. COLOMBIA SUPERINTENDENCIADE INDUSTRIA Y COMERCIO UNIVERSIDAD NACIONAL DE COLOMBIA UNIVERSIDAD PEDAGÓGICA Y TECNOLÓGICA DE COLOMBIA ICONTEC cuenta con un Centro de Información que pone a disposición de los interesados normas internacionales, regionales y nacionales y otros documentos relacionados. DIRECCIÓN DE NORMALIZACIÓN
  • 4.
    NORMA TÉCNICA COLOMBIANANTC 5786 CONTENIDO Página 0. ACLARACIÓN..............................................................................................................1 1. OBJETO Y CAMPO DE APLICACIÓN ........................................................................1 2. GENERALIDADES.......................................................................................................1 2.1 UNIDADES DE MEDIDA ..............................................................................................1 2.2 REFERENCIAS NORMATIVAS ...................................................................................1 2.3 SEGURIDAD.................................................................................................................3 2.4 DEFINICIONES.............................................................................................................4 2.5 TEMPERATURA DE ENSAYO ....................................................................................4 2.6 INFORMES ...................................................................................................................4 3. ENSAYOS DEL CONDUCTOR....................................................................................5 3.1 DIÁMETRO DEL CONDUCTOR ..................................................................................5 3.2 ÁREA DE SECCIÓN TRANSVERSAL POR EL MÉTODO DE MASA (PESO)...........5 3.3 ÁREA DE SECCIÓN TRANSVERSAL POR EL MÉTODO DE DIÁMETRO .............10 3.4 RESISTENCIA DEL CONDUCTOR A LA CORRIENTE CONTINUA........................10 3.5 PROPIEDADES FÍSICAS DE LOS CONDUCTORES (RESISTENCIA A LA TENSIÓN, ELONGACIÓN A LA ROTURA Y RESISTENCIA ÚLTIMA).........................................................................................12 3.6 CICLOS DE CALENTAMIENTO POR CORRIENTE ALTA, PARA CONDUCTORES DE ALUMINIO....................................................................15 3.7 LONGITUD DE PASO ................................................................................................17
  • 5.
    NORMA TÉCNICA COLOMBIANANTC 5786 Página 4. ENSAYOS DE MATERIALES DE AISLAMIENTO Y CHAQUETA............................18 4.1 ESPESOR...................................................................................................................18 4.2 PROPIEDADES FÍSICAS (ELONGACIÓN ÚLTIMA Y RESISTENCIA A LA TENSIÓN)....................................21 4.3 TEMPERATURA NOMINAL EN AMBIENTE SECO, DE MATERIALES NUEVOS (ENSAYO DE ENVEJECIMIENTO A LARGO PLAZO).............................28 4.4 CONTENIDO DE NEGRO DE HUMO ........................................................................30 5. ENSAYOS DE COMPONENTES ...............................................................................31 5.1 RECUBRIMIENTO DE TRENZAS DE MATERIAL FIBROSO...................................31 5.2 RECUBRIMIENTO DE PANTALLA (ENVOLTURAS Y TRENZAS)..........................31 6. ENSAYOS ELÉCTRICOS PARA ALAMBRE Y CABLE TERMINADOS ..................33 6.1 CONTINUIDAD...........................................................................................................33 6.2 RESISTENCIA DEL DIELÉCTRICO A LA TENSIÓN................................................35 6.3 RUPTURA DEL DIELÉCTRICO.................................................................................37 6.4 RESISTENCIA DE AISLAMIENTO ............................................................................38 6.5 CAPACITANCIA Y PERMITIVIDAD RELATIVA........................................................40 6.6 FACTOR DE ESTABILIDAD......................................................................................42 6.7 ENSAYO DE CHISPA ................................................................................................43 6.8 ENSAYO DE ARCO NORMAL...................................................................................45 6.9 ENSAYO DE ARCO POR FLEXIÓN..........................................................................47 6.10 RESISTENCIA DE LA CHAQUETA...........................................................................49 6.11 ENSAYO DE CORRIENTE DE FUGA A CORRIENTE ALTERNA............................50
  • 6.
    NORMA TÉCNICA COLOMBIANANTC 5786 Página 7. ENSAYOS MECÁNICOS PARA ALAMBRES Y CABLES TERMINADOS...............51 7.1 PENETRACIÓN DE MATERIALES EXTRUIDOS......................................................51 7.2 CHOQUE TÉRMICO...................................................................................................52 7.3 RESISTENCIA AL CHOQUE TÉRMICO ...................................................................53 7.4 RETRACCIÓN ............................................................................................................54 7.5 DOBLADO EN FRÍO ..................................................................................................55 7.6 IMPACTO EN FRÍO....................................................................................................56 7.7 DEFORMACIÓN.........................................................................................................57 7.8 CEDENCIA GRADUAL POR CALOR (HOT CREEP) - ELONGACIÓN Y DEFORMACIÓN REMANENTE (HOT CREEP SET).................................................59 7.9 RESISTENCIA A LA ABRASIÓN ..............................................................................61 7.10 RESISTENCIA AL APLASTAMIENTO ......................................................................62 7.11 RESISTENCIA AL IMPACTO.....................................................................................64 7.12 RUPTURA DIELÉCTRICA DESPUÉS DE IMPACTO OBLICUO .............................65 7.13 FLEXIBILIDAD A TEMPERATURA AMBIENTE DESPUÉS DE ENVEJECIMIENTO ..............................................................................................67 7.14 FLEXIBILIDAD DE LA CINTA SEPARADORA BAJO UNA CHAQUETA................68 7.15 HINCHAZÓN Y AMPOLLAMIENTO CUANDO SE SUMERGE EN LÍQUIDO...........68 7.16 DURABILIDAD DE LA IMPRESIÓN CON TINTA......................................................70 7.17 RECUBRIMIENTO DE COLOR..................................................................................71 7.18 RESISTENCIA MECÁNICA........................................................................................73 7.19 ENSAYO DE FLEXIÓN EN CONDUCTORES CON RECUBRIMIENTO DE NAILON ................................................................................................................74 7.20 TENSIÓN MECÁNICA DEL AISLAMIENTO..............................................................75 7.21 FLEXIÓN DE CABLES CON PANTALLA .................................................................76
  • 7.
    NORMA TÉCNICA COLOMBIANANTC 5786 Página 8. ENSAYOS AMBIENTALES PARA ALAMBRE Y CABLE TERMINADO..................77 8.1 CORROSIÓN DEL COBRE........................................................................................77 9. ENSAYO DE CARACTERÍSTICAS DE FLAMEO .....................................................78 9.1 LLAMA HORIZONTAL FT2/FH..................................................................................78 9.2 PARTÍCULAS ENCENDIDAS (GOTEO)....................................................................80 9.3 FT1..............................................................................................................................81 9.4 FV-2/VW-1 ..................................................................................................................83 9.5 FV-1/LLAMA VERTICAL ...........................................................................................85 9.6 ENSAYOS DE LLAMA CON BANDEJA VERTICAL (MÉTODO 1. BANDEJA VERTICAL Y MÉTODO 2 - FT4)........................................85 9.7 HUMO LIMITADO ST1 ...............................................................................................91 9.8 PROPAGACIÓN DEL FUEGO/RPI............................................................................93 9.9 EMISIÓN DE HUMO...................................................................................................97 9.10 EMISIÓN DE GASES HALÓGENOS ÁCIDOS ........................................................100 9.11 EMISIÓN DE GASES ÁCIDOS ................................................................................104 DOCUMENTO DE REFERENCIA........................................................................................167 ANEXOS ANEXO A (Informativo) RETIRO DEL AISLAMIENTO DEL CONDUCTOR PARA PROBETAS TUBULARES........................................................................................................................141 ANEXO B (Informativo) DETERMINACIÓN DE LA DENSIDAD................................................................................142
  • 8.
    NORMA TÉCNICA COLOMBIANANTC 5786 Página ANEXO C (Informativo) CÁLCULO DE LA MUESTRA PARA LA DETERMINACIÓN DE LA ELONGACIÓN ÚLTIMA O RESISTENCIA A LA TENSIÓN EN 300 D ........................................................144 ANEXO D (Normativo) ESTABLECIMIENTO DE PARÁMETROS Y REQUISITOS PARA EL ENSAYO DE ENVEJECIMIENTO A CORTO PLAZO EN HORNO DE AIRE FORZADO ............................................................................................................146 ANEXO E (Normativo) DETERMINACIÓN DEL FACTOR DE CORRECCIÓN DE TEMPERATURA .....................147 ANEXO F (Normativo) PROCEDIMIENTO Y CÁLCULOS PARA DETERMINAR EL GRADO DE COBERTURA DE LOS RECUBRIMIENTOS FIBROSOS.............................................150 ANEXO G (Normativo) CÁLCULO DE LA COBERTURA DEL BLINDAJE (ENVOLTURAS Y TRENZAS)............152 ANEXO H (Normativo) CERRAMIENTO PARA EL ENSAYO Y CONDUCTO DE ESCAPE ...................................154 ANEXO I (Informativo) CONVERSIÓN DEL pH A GAS ÁCIDO (como % de HCl) Y GAS ÁCIDO (COMO % DE HCL) A pH ...........................................................................163 ANEXO J (Informativo) CORRELACIÓN DE LOS MÉTODOS DE ENSAYO DE ALAMBRE Y CABLE NMX CON LA NORMA UL 2556/CSA C22.2 No. 2556......................................165 FIGURAS Figura 1. Fatiga por flexión................................................................................................112 Figura 2. Conexión de las guías (receptáculos dobles)..................................................113 Figura 3. Detalle de la conexión de las guías (receptáculos dobles) ............................114 Figura 4. Base de terminal (latón 70/30)...........................................................................115 Figura 5. Descripción del tornillo......................................................................................116 Figura 6. Sección anular tomada del aislamiento ..........................................................116 Figura 7. Configuración de la cadena tipo perla. Vista superior ...................................117
  • 9.
    NORMA TÉCNICA COLOMBIANANTC 5786 Página Figura 8. Guía para el ensayo de arco por flexión...........................................................117 Figura 9. Diagrama del circuito eléctrico para el ensayo de arco por flexión ..............118 Figura 10. Circuito para la medición de corriente de fuga de c.a de cada conductor de circuito a conductor de puesta a tierra ......................................118 Figura 11. Circuito para la medición de corriente de fuga de c.a de cada conductor de circuito a la chaqueta...................................................................119 Figura 12. Equipo para el ensayo de deformación..........................................................119 Figura 13. Equipo para elongación y cedencia gradual por calor .................................120 Figura 14. Equipo para el ensayo de abrasión ...............................................................121 Figura 15. Equipo para el ensayo de impacto..................................................................122 Figura 16. Equipo para el ensayo de impacto oblicuo....................................................123 Figura 17. Equipo para el ensayo de resistencia mecánica ...........................................124 Figura 18. Preparación de probetas paralelas de multiconductores para el ensayo de tensión mecánica del aislamiento .....................................................125 Figura 19. Equipo para ensayo de flexión de cordones con pantalla ...........................125 Figura 20. Bloque de ángulo..............................................................................................126 Figura 21. Aplicación de la llama sobre la probeta horizontal.......................................126 Figura 22. Aplicación de la llama sobre la probeta vertical............................................127 Figura 23. Cámara para el ensayo de propagación del fuego........................................128 Figura 24. Detalle 1 de las dimensiones de la cámara para el ensayo de propagación del fuego..................................................................................................129 Figura 25. Detalle 2 de las dimensiones de la cámara para el ensayo de propagación del fuego..................................................................................................130 Figura 26. Quemadores para el ensayo de propagación del fuego...............................131 Figura 27. Chimenea metálica de la cámara de ensayo de propagación del fuego.....132
  • 10.
    NORMA TÉCNICA COLOMBIANANTC 5786 Página Figura 28. Tubo de acero inoxidable de la cámara de ensayo de propagación del fuego..................................................................................................133 Figura 29. Barra de cobre para calibración de temperatura en el ensayo de propagación del fuego..................................................................................................134 Figura 30. Disposición de la probeta entre quemadores usados en la cámara de ensayo de propagación del fuego ...............................................................................135 Figura 31. Sistema de combustión para el ensayo de emisión de gases halógenos ácidos ...............................................................................................................136 Figura 32. Gráfico de titulación típico ..............................................................................138 Figura 33. Gráfico de titulación de un blanco..................................................................138 Figura 34. Equipo de ensayo de producción de gas ácido. Método 1...........................139 Figura 35 Equipo de ensayo de producción de gas ácido. Método 2............................140 TABLAS Tabla 1. Factores de ajuste para resistencia de conductores........................................109 Tabla 2. Tasa de separación de las mordazas de la máquina de tensión.....................109 Tabla 3. Variaciones de temperatura ................................................................................110 Tabla 4. Temperatura de ensayo para valores nominales de temperatura seca de materiales nuevos ..........................................................................110 Tabla 5. Cables de menos de 13 mm (0,51 pulgadas de diámetro)................................110 Tabla 6. Cables de 13 mm (0,51 pulgadas de diámetro) o de diámetro mayor .............110 Tabla 7. Conversión del porcentaje de transmitancia a la densidad óptica específica.................................................................................................................111
  • 11.
    NORMA TÉCNICA COLOMBIANANTC 5786 1 de 167 MÉTODOS DE ENSAYO PARA ALAMBRES Y CABLES 0. ACLARACIÓN Para los propósitos de esta norma se han hecho los siguientes cambios editoriales con respecto a su documento de referencia: a) En la Norma Técnica Colombiana se establecen los requisitos en el sistema internacional y entre paréntesis sus equivalentes en el sistema libra - pulgada. b) El punto decimal ha sido reemplazado por la coma decimal. 1. OBJETO Y CAMPO DE APLICACIÓN Esta norma describe los aparatos, métodos de ensayo y fórmulas que se van a utilizar para llevar a cabo los ensayos y cálculos requeridos por las normas de alambres y cables eléctricos. NOTA Los requisitos específicos de aceptación se indican en las normas de producto individuales. 2. GENERALIDADES 2.1 UNIDADES DE MEDIDA La unidad de medida debe ser el SI (Sistema Internacional). Si un valor de medida va seguido por un valor en otra unidad, indicado entre paréntesis, el segundo valor representa una conversión directa o un valor alternativo. Excepto para el calibre de conductores, el primer valor establecido es el requisito. 2.2 REFERENCIAS NORMATIVAS Para las referencias no fechadas a estas normas, se debe considerar que aluden a la edición más reciente, y todas las actualizaciones de esa edición, hasta el momento en que esta norma fue aprobada. Para referencias fechadas a estas normas, se debe considerar que se alude a la edición fechada y a todas las actualizaciones publicadas de esa edición hasta el momento en que la norma fue aprobada. NMX-E-034-SCFI, Plastic Industry. Carbon Black Contents on Polyethylene Materials. Test Methods.
  • 12.
    NORMA TÉCNICA COLOMBIANANTC 5786 2 NMX-J-178-ANCE, Electrical Products. Wires and Cables. Determination of Cross Sectional Area of Stranded Electrical Conductors Related to the Mass. Test Method. NMX-J-192-ANCE, Flame Test on Electrical Wires. Test Method. NMX-J-417-ANCE, Wires and Cables. Convection Laboratory Ovens for Evaluation of Electrical Insulation. Specifications and Test Methods. NMX-J-437-ANCE, Wires and Cables. Determination of Light Absorption Coefficient of Polyethylene Pigmented with Carbon Black. Test Methods. NMX-J-474-ANCE, Electrical Products. Wires and Cables. Determination of Specific Optical Density of Smoke Generated by Electrical Wires and Cables. Test Methods. NMX-J-498-ANCE, Vertical Tray. Flame Test. Test Method. NMX-J-553-ANCE, Wires and Cables. Weather Resistance of Insulation or Jacket of Electrical Conductors. Test Method. CSA (Canadian Standards Association) CAN/CSA-C22.2 No. 126.1-02, Metal Cable Tray Systems. ASTM (American Society for Testing and Materials) ASTM A29/A29M-03, Standard Specification for Steel Bars, Carbon and Alloy, Hot-Wrought and Cold-Finished, General Requirements for ASTM D412-98a(2002)e1, Standard Test Methods for Vulcanized Rubber and Thermoplastic Rubbers and Thermoplastic Elastomers - Tension. ASTM D471-98e1, Standard Test Method for Rubber Property-Effect of Liquids. ASTM D1603-01, Standard Test Method for Carbon Black in Olefin Plastics. ASTM D1835-05, Standard Specification for Liquefied Petroleum (LP) Gases. ASTM D4218-96(2001), Standard Test Method for Determination of Carbon Black Content in Polyethylene Compounds by the Muffle-Furnace Technique. ASTM D5025-05, Standard Specification for Laboratory Burner Used for Small-Scale Burning Tests on Plastic Materials. ASTM D5207-03, Standard Practice for Confirmation of 20-mm (50-W) and 125-mm (500-W) Test Flames for Small-Scale Burning Tests on Plastic Materials. ASTM D5374-93(1999), Standard Test Methods for Forced-Convection Laboratory Ovens for Evaluation of Electrical Insulation. ASTM D5423-93(1999), Standard Specification for Forced-Convection Laboratory Ovens for Evaluation of Electrical Insulation. ASTM D6370-99(2003), Standard Test Method for Rubber-Compositional Analysis by Thermogravimetry.
  • 13.
    NORMA TÉCNICA COLOMBIANANTC 5786 3 ASTM E8-01e2, Standard Test Methods for Tension Testing of Metallic Materials. ASTM E662-03e1, Standard Test Method for Specific Optical Density of Smoke Generated by Solid Materials. ASTM E1131-03, Standard Test Method for Compositional Analysis by Thermogravimetry. ASTM G151-00, Standard Practice for Exposing Nonmetallic Materials in Accelerated Test Devices that Use Laboratory Light Sources. ASTM G153-00ae1, Standard Practice for Operating Enclosed Carbon Arc Light Apparatus for Exposure of Nonmetallic Materials. ASTM G155-00ae1, Standard Practice for Operating Xenon Arc Light Apparatus for Exposure of Non-Metallic Materials. GPA (Gas Processors Association) GPA 2140-97, Liquefied Petroleum Gas Specifications and Test Methods. IEC (International Electrotechnical Commission) IEC 60695-11-20 (2003-08), Fire hazard testing. Part 11-20: Test flames. 500 W flame test methods. ISO (International Organization for Standardization) ISO 10093:1998, Plastics. Fire tests. Standard ignition sources. NEMA (National Electrical Manufacturers Association) VE1-2002, Metal Cable Tray Systems. 2.3 SEGURIDAD 2.3.1 Esta norma no pretende abordar todos los aspectos de seguridad asociados con su uso. Es responsabilidad del usuario de esta norma entrenar personal, establecer los procedimientos de salud y seguridad apropiados y conocer y cumplir las restricciones reglamentarias locales, estatales, provinciales y nacionales que se aplican. 2.3.2 Peligros químicos Algunos ensayos utilizan materiales que las agencias locales, estatales, provinciales y nacionales han determinado que son peligrosos. Estos ensayos se deben llevar a cabo en condiciones controladas que permitan la seguridad y la protección apropiadas del personal. Se debe seguir la información y las instrucciones contenidas en las hojas de datos de seguridad de materiales (HDSM) para el manejo, operación y disposición final de los químicos peligrosos. Además, las descargas de estos químicos al medio ambiente, es decir, al aire, al agua o al suelo, deben cumplir las reglamentaciones aplicables más recientes. 2.3.3 Peligros eléctricos Algunos procedimientos de ensayo requieren alta tensión. Es importante que los equipos estén diseñados para cumplir con buenas prácticas de ingeniería, en donde la seguridad es parte
  • 14.
    NORMA TÉCNICA COLOMBIANANTC 5786 4 integral del diseño. Para evitar choques eléctricos en estos casos, se deben tomar las precauciones necesarias y se deben seguir las recomendaciones de los fabricantes de equipos. 2.3.4 Peligros mecánicos Algunos equipos que utilizan equipos mecánicos pueden exponer a los operadores a peligros mecánicos. Se deben proteger contra lesiones los ojos, los dedos, las manos y otras partes del cuerpo. 2.3.5 Peligros térmicos En los ensayos que requieren temperaturas elevadas se deben tomar precauciones para evitar quemaduras en la piel cuando se manipulan materiales expuestos al calor. 2.3.6 Peligros de incendio y explosión Algunos ensayos utilizan materiales que las agencias locales, estatales, provinciales y nacionales han determinado que son peligrosos. Estos ensayos se deben llevar a cabo en condiciones controladas que permitan la seguridad y la protección apropiadas del personal. Se debe seguir la información y las instrucciones contenidas en las hojas de datos de seguridad de materiales (HDSM) para el manejo de los materiales. Algunos gases se pueden asentar y pueden llegar a explotar. Consulte al proveedor de gas acerca de las precauciones especiales que se deben tomar. 2.4 DEFINICIONES En esta norma se aplican las siguientes definiciones. Los términos que se usan en esta norma y que se han definido en este numeral, se presentan en mayúsculas en tamaño de letra reducida: Dirección de paso. La dirección, designada hacia la derecha (en el sentido de las manecillas del reloj) o hacia la izquierda (en sentido contrario a las manecillas del reloj), en la cual cualquier componente se aleja de un observador que mira a lo largo del eje longitudinal del conductor o ensamble. Longitud de paso. La longitud a lo largo del eje longitudinal del conductor o ensamble para que cualquier componente realice una vuelta completa. Visión normal. Visión sin ayuda, excepto los lentes de corrección normales del evaluador, si los requiere. Temperatura ambiente. 25 °C ± 10 °C (77 °F ± 18° F). 2.5 TEMPERATURA DE ENSAYO Los ensayos deben realizarse a TEMPERATURA AMBIENTE, a menos que se especifique de otra manera. 2.6 INFORMES Además de los requisitos específicos sobre presentación de informes para cada ensayo, en todos los informes debe incluirse, como mínimo, lo siguiente:
  • 15.
    NORMA TÉCNICA COLOMBIANANTC 5786 5 a) Nombre del laboratorio de ensayo; b) Fecha del informe; c) Descripción del producto; d) Nombre del ensayo realizado; y e) Resultados del ensayo. 3. ENSAYOS DEL CONDUCTOR 3.1 DIÁMETRO DEL CONDUCTOR 3.1.1 Objeto Este ensayo establece el método para determinar el diámetro del conductor. 3.1.2 Equipo El equipo debe constar de: a) un micrómetro con superficies planas tanto en la mordaza fija como en el extremo del husillo, con una resolución y una precisión de 0,001 mm (o con una resolución y una precisión de 0,0001 pulgada); b) un calibrador con una resolución y precisión de 0,001 mm (o con una resolución y una precisión de 0,0001 pulgada), o c) un micrómetro láser con una resolución y precisión de 0,001 mm (o con una resolución y una precisión de 0,0001 pulgada). 3.1.3 Preparación de las probetas Las probetas se deben tomar de una muestra de alambre, cable o cordón terminado o durante su fabricación, y se deben retirar de su aislamiento o cubiertas circundantes (cuando las haya) y enderezarlas con cuidado para no estirarlas. 3.1.4 Procedimiento Se deben hacer tres mediciones de los diámetros máximo y mínimo. Todas las mediciones de un conductor cableado se deben hacer sobre los hilos y no en los intersticios. Las mediciones del diámetro se deben hacer cerca de cada extremo y en el centro de la probeta. 3.1.5 Resultados y cálculos El diámetro debe ser el promedio de las seis mediciones. 3.2 ÁREA DE SECCIÓN TRANSVERSAL POR EL MÉTODO DE MASA (PESO) 3.2.1 Objeto Este ensayo establece el método para determinar el área de sección transversal de un conductor por el método de masa (peso).
  • 16.
    NORMA TÉCNICA COLOMBIANANTC 5786 6 3.2.2 Equipo El equipo debe constar de: a) Una balanza con una precisión de 0,1 % de la masa medida, y b) un dispositivo para medición de longitud con una precisión de 0,1 % de la longitud medida. 3.2.3 Preparación de las probetas La probeta se debe tomar de una muestra de alambre, cable o cordón terminado o durante su fabricación, y se deben retirar de su aislamiento o cubiertas circundantes (cuando las haya) y enderezarlas con cuidado para no estirarlas. 3.2.4 Procedimiento La probeta de ensayo debe ser una longitud recta de un conductor cortado de una muestra de conductor, cable o cordón terminado, o durante su fabricación. La longitud de la probeta debe ser de 1 m mínimo (3 pies) para calibres hasta 8,37 mm2 (8 AWG) y 0,5 m para más de 8,37 mm2 (8 AWG). La probeta debe estar a TEMPERATURA AMBIENTE y ambos extremos deben estar perpendiculares al eje longitudinal del conductor. La probeta se debe pesar, y la densidad del material del conductor se debe usar para calcular el área de sección transversal. 3.2.5 Resultados y cálculos 3.2.5.1 ( )( ) ( ) ( )cmilmm k mL Área 2 100 100/0001 + = ρ en donde: M = masa, g (libra) L = longitud, mm (pie) ρ = densidad, g/cm 3 (libra/(cmil • 1 000 pies)) = para cobre, desnudo o recubierto de estaño, aleación de plomo o níquel, 8,89 g/cm3 (0,003 027 lb/(cmil•1 000 pies) = para cobre, recubierto de plata, 8,95 g/cm3 (0,001 130 lb/ (cmil• 1 000 pies)) = para aluminio, aleación 1350, 2,70 g/cm 3 (0,000 919 lb / (cmil• 1 000 pies)) = para aluminio, ACM, 2,71 g/cm 3 (0,000 924 lb / (cmil• 1 000 pies)) = para níquel, 8,80 g/cm3 (0,002996 libras / (cmil• 1 000 pies)) = para hierro, 7,87 g/cm3 (0,002 680 libras / (cmil• 1 000 pies)) k = incremento de peso en porcentaje debido al cableado de hilos. = 0 para sólido
  • 17.
    NORMA TÉCNICA COLOMBIANANTC 5786 7 = 2 para cables concéntricos y entorchados (bunchados). = 3 a 6 para conductores con torones, que tienen elementos con cableado concéntrico (clases G y H) como sigue: 49 conductores o menos, k = 3 133 conductores, k = 4 259 conductores, k = 4,5 427 conductores, k = 5 Más de 427 conductores, k = 6 = 4 a 7 para conductores con torones, que tienen elementos con cableado concéntrico (Clases I, K y M), como sigue: 7 elementos entorchados (bunchados), k = 4 19 elementos entorchados (bunchados), k = 5 7 x 7 elementos entorchados (bunchados), k = 6 19 x 7 elementos entorchados (bunchados), k = 7 37 x 7 elementos entorchados (bunchados), k = 7 61 x 7 elementos entorchados (bunchados), k = 7 3.2.5.2 En el caso de alguna duda relacionada con el cumplimiento del área, el incremento en el peso real debido al cableado se debe calcular usando la fórmula siguiente: k = 100 (m – 1) a) Para un conductor o unidad concéntrica x xx c nnn mnmnmn m ++++ ++++ = ... ... 21 2211 1 1 en donde mc = incremento en la relación debido al cableado concéntrico nx = número de conductores en capa x ( ) 2 1 ⎟ ⎠ ⎞ ⎜ ⎝ ⎛ − += L dD mx π en donde: mx = incremento en la relación debido al cableado, D = diámetro sobre la capa, d = diámetro del conductor o componente individual, L = longitud de paso de la capa, NOTA Las dimensiones pueden ser en milímetros o pulgadas, siempre y cuando sean consistentes en todo el cálculo.
  • 18.
    NORMA TÉCNICA COLOMBIANANTC 5786 8 b) para un conductor o unidad entorchada (bunchada). ( ) 2 2 1 ⎟ ⎟ ⎠ ⎞ ⎜ ⎜ ⎝ ⎛ − += L dD mb π en donde: mb = incremento de la relación debido al entorchado (bunchado). D = diámetro sobre la unidad entorchada (bunchada). d = diámetro del conductor individual. L = longitud de paso del entorchado (bunchado). NOTA Las dimensiones pueden ser en milímetros o pulgadas, siempre y cuando sean consistentes en todo el cálculo. c) para conductores con torones con una operación de cableado de torones, calcule mR basado en mb y mc, considerando las unidades individuales como si fueran conductores macizos: mR = mu mc o m = mu mb en donde mu = incremento de la relación debido a la conformación en uno solo (cableado de torones sencillo), en donde mu se calcula para el ensamble en torón sencillo, de la misma manera que mc o mb, tratando como macizo cada componente entorchado (bunchado) o concéntrico. d) Para conductores con múltiples torones con dos operaciones de cableado, se calcula mm con base en mb y mc anteriores, tratando los cables individuales como si fueran conductores macizos: mm = mr mu mc o m = mr mu mb en donde mr = incremento de la relación debido a cableado de torones (segunda operación de cableado de torones) y se calcula para el ensamble de múltiples torones de la misma manera que mu x mc ó mu x mb, tratando como macizo cada componente de torón. e) Para un conductor de cableado de paso único combinado de alambre redondo, de 19 alambres (esta variedad de conductor de paso único consta de un alambre central recto de diámetro D, una capa interna de seis alambres de diámetro D, cada uno de los cuales tiene una longitud de paso designada como LOL, y una capa externa que consta de seis alambres de diámetro D alternados con seis alambres más pequeño con un diámetro 0,732 x D y con todos los doce alambres de la capa externa de la misma longitud de paso LOL y dirección de paso que los seis alambres de la capa interna); la aplicación de la primera fórmula en el literal (a) da ( ) ( )2 4 2 32 73206661 73206661 , , x xx +++ +++ = mmm M combinadoúnicopaso en donde m2 = incremento de la relación (factor de paso de capa) para la capa interna
  • 19.
    NORMA TÉCNICA COLOMBIANANTC 5786 9 m3 = incremento de la relación para los alambres de diámetro D en la capa externa m4 = incremento de la relación para los alambres de 0,732 x D en la capa externa Como en el literal (a) 22 1 nm /π+= en donde n = relación de paso: = para el alambre central de diámetro D, n1 = infinito = para los 6 alambres de diámetro D en la capa interna D LOL n 2 2 = = para los 6 alambres de diámetro D en la capa externa D LOL n 4643 3 , = = para los 6 alambres de diámetro 0,732 x D en la capa externa D LOL n 7323 4 , = Cuando n2 y n3 y n4 son cada uno iguales o exceden 10, un cálculo de 22 1 nm /π+= es ( ) 2 22 93484 121 n nm , / +=+= π entonces ( )2 2 2 2739191 LOL D m x,+= ( )2 2 3 1214591 LOL D m x,+= ( )2 2 4 0731681 LOL D m x,+= y ( )2 LOL 2 combinadoúnicopaso D 284242,1=M x+ y ( )2 2 4228 LOL D k x=
  • 20.
    NORMA TÉCNICA COLOMBIANANTC 5786 10 3.3 ÁREA DE SECCIÓN TRANSVERSAL POR EL MÉTODO DE DIÁMETRO 3.3.1 Objeto Este ensayo establece el método para determinar el área de sección transversal de cualquier conductor sólido o cableado empleando medición (mediciones) de diámetro. 3.3.2 Equipo El equipo debe ser como el descrito en el numeral 3.1.2. 3.3.3 Preparación de las probetas La preparación de la probeta debe ser como la descrita en el numeral 3.1.3. 3.3.4 Procedimiento Se deben determinar los diámetros máximo y mínimo en cada extremo y en el centro del conductor o hilo que se está midiendo. El diámetro debe ser el promedio de seis mediciones. 3.3.5 Resultados y cálculos El área del alambre sólido debe calcularse de la siguiente manera 42 /dA π= en donde A = área de sección transversal, mm2 d = diámetro, mm ó cma = d2 x 106 en donde cma = área en circular mil (milésimas de pulgada) d = diámetro, pulgada El área de sección transversal del conductor debe calcularse como la suma del área (las áreas) del conductor sólido o cableado. 3.3.6 Informe El informe debe incluir, como mínimo, el área de sección transversal del conductor. 3.4 RESISTENCIA DEL CONDUCTOR A LA CORRIENTE CONTINUA 3.4.1 Objeto Este ensayo establece el método para determinar la resistencia de un conductor a la corriente continua.
  • 21.
    NORMA TÉCNICA COLOMBIANANTC 5786 11 3.4.2 Equipo El equipo debe constar de a) un dispositivo de medición de 4 terminales para probetas de resistencia de 1 Ω ó menos, con una exactitud de ± 0,5 % b) un dispositivo de medición de 4 ó 2 terminales para probetas de resistencia mayor a 1 Ω, con una exactitud de ± 0,5 % c) un dispositivo de medición de temperatura con una exactitud de ± 1 °C y d) un dispositivo de medición de longitud con una exactitud hasta del 0,1 % de la longitud medida. Para (a) y (b) cuando sea aplicable, la resistencia de las puntas de prueba del equipo (unión entre el patrón de referencia y la probeta de ensayo) no debe ser inferior a 0,1 % ya sea del patrón de referencia o de la probeta de ensayo, a menos que se utilice un método adecuado de compensación del conductor, o se tenga conocimiento de que el espiral y las relaciones del conductor están lo suficientemente equilibradas de modo que la variación en la resistencia de las puntas no disminuya la exactitud del puente por debajo de los requisitos nominales. 3.4.3 Preparación de las probetas 3.4.3.1 La probeta debe ser de una longitud tomada de un hilo, cable o cordón terminado o en fabricación, y debe tener las siguientes características: a) una resistencia de mínimo 0,000 01 Ω (10 µΩ) en la longitud de ensayo entre contactos de tensión; b) no debe presentar grietas o defectos en la superficie, visibles con VISIÓN NORMAL y debe estar sustancialmente libre de óxido superficial, suciedad y grasa; y c) no debe tener empalmes. 3.4.3.2 Se debe permitir que el patrón de referencia y la probeta de ensayo lleguen a la misma temperatura que el medio circundante. 3.4.4 Procedimiento 3.4.4.1 Se debe determinar la resistencia eléctrica del conductor empleando el dispositivo de medición descrito en el numeral 3.4.2. Cuando se emplea un dispositivo de medición de 4 terminales, la distancia entre cada contacto de tensión y el correspondiente contacto de corriente debe ser mínimo 4,7 veces la circunferencia de la probeta. Se debe tener cuidado de mantener baja la magnitud de la corriente y minimizar el tiempo de medición para evitar un cambio en la resistencia. 3.4.4.2 Se debe registrar la temperatura de ensayo, que debe estar en el intervalo de 10 °C a 35 °C en el momento en que se toma la medición de la resistencia. 3.4.4.3 Se debe registrar la longitud de la probeta bajo ensayo, entre los puntos de contacto de tensión.
  • 22.
    NORMA TÉCNICA COLOMBIANANTC 5786 12 3.4.5 Resultados y cálculos 3.4.5.1 La resistencia de una probeta medida a una temperatura diferente de 20 °C (ó 25 °C) según lo determine la norma del producto se debe corregir a la resistencia a 20 °C (ó 25 °C) por medio del factor multiplicador aplicable de la Tabla 1. 3.4.5.2 Se debe calcular la resistencia por longitud unitaria (R) del conductor a partir de la siguiente fórmula: R = r/L en donde R = resistencia por longitud unitaria del conductor a 20 °C (ó 25 °C), Ω/km r = resistencia medida de la probeta corregida a 20 °C (ó 25 °C), mΩ L = longitud de la probeta entre puntos de contacto de tensión, m 3.4.6 Informe El informe debe incluir, como mínimo, la resistencia a la corriente continua. 3.5 PROPIEDADES FÍSICAS DE LOS CONDUCTORES (Resistencia a la tensión, elongación a la rotura y resistencia última) 3.5.1 Máxima resistencia a la tensión y elongación a la rotura 3.5.1.1 Objeto Este ensayo establece el método para determinar la máxima resistencia a la tensión y la elongación a la rotura, de un conductor macizo, un hilo único tomado de un conductor cableado o un conductor cableado como unidad. NOTA El ensayo en un conductor cableado como unidad se aplica sólo a conductores de aleación de aluminio Serie 8000. 3.5.1.2 Equipo El equipo debe constar de: a) Una máquina con motor provista de un dispositivo que indique la carga máxima real a la cual se rompe la probeta. La máquina debe estar en capacidad de operar a velocidades de la mordaza accionada mecánicamente, de 12 mm/min a 305 mm/min (0,5 pulgadas/min a 12 pulgadas/min) y tener una precisión de 20 % de la velocidad establecida. La tensión aplicada como se indica debe tener una exactitud de 2 %, o menos, del valor medido; y NOTA 1 En la norma ASTM D412 se especifica un método para calibrar la máquina. NOTA 2 Se han encontrado aceptables las mordazas como se describen en la norma ASTM E8. b) Un dispositivo para medición de longitud con una exactitud de 1 % de la longitud medida.
  • 23.
    NORMA TÉCNICA COLOMBIANANTC 5786 13 3.5.1.3 Preparación de probetas El ensayo debe hacerse sobre un alambre que ha sido retirado cuidadosamente del cable o cordón, terminado o en proceso de fabricación, mientras que no se alteren las propiedades de la probeta de ensayo. La probeta debe enderezarse con cuidado y cortarse a una longitud suficiente para permitir un espacio de aproximadamente 0,3 m (12 pulgadas) entre las mordazas de la máquina de ensayo de tensión cuando la probeta se encuentra en la posición de ensayo inicial. Se deben hacer marcas de referencia en la probeta enderezada, en dos puntos a una distancia de 250 mm ± 2 mm (10 pulgadas ± 0,08 pulgadas) entre sí. 3.5.1.4 Procedimiento La probeta debe sujetarse en las mordazas de la máquina con las marcas de referencia entre las mordazas, y se debe hacer que éstas se separen a la velocidad indicada en la Tabla 2 hasta que la probeta se rompa. Para que se acepte como válida, la ruptura debe ocurrir entre las marcas de referencia y no debe estar a menos de 25 mm (1 pulgada) de cualquiera de las marcas de referencia. Se debe registrar la carga máxima antes de la ruptura. Se debe registrar la distancia entre las marcas de referencia en el momento de la ruptura, con aproximación a 2 mm (0,08 pulgadas) 3.5.1.5 Resultados y cálculos Se debe calcular la resistencia a la tensión a partir de la siguiente fórmula empleando el diámetro original de la probeta d, medido como se describe en el numeral 3.1: ( )2 2 4 pulgada/lbfMPa d W π en donde W = carga máxima antes de la rotura, N (lb) d = diámetro, mm (pulgadas) El porcentaje de elongación debe calcularse a partir de la siguiente fórmula: 100 250 250 x −L en donde L = distancia entre las marcas de referencia en el momento de la rotura, mm ó 100 10 10 x −L en donde L = distancia entre las marcas de referencia en el momento de la rotura, pulgadas 3.5.1.6 Informe El informe debe incluir, como mínimo, lo siguiente: a) resistencia máxima a la tensión y b) elongación a la rotura.
  • 24.
    NORMA TÉCNICA COLOMBIANANTC 5786 14 3.5.2 Resistencia a la rotura 3.5.2.1 Objeto Este ensayo determina la carga a la cual se rompe cualquier componente de un conductor de aluminio con refuerzo de acero (ACSR). 3.5.2.2 Equipo El equipo debe constar de: a) Una máquina de motor provista de un dispositivo que indique la carga máxima real a la cual se rompe la probeta. La máquina debe estar en capacidad de funcionar a velocidades de la mordaza accionada mecánicamente de 12 mm/min a 305 mm/min (0,5 pulgadas/min a 12 pulgadas/min) y de tener una precisión de 20 % de la velocidad establecida. La tensión aplicada como se indica debe tener una exactitud de 2 %, o menos, del valor medido; y b) Conectores tipo compresión o de otro tipo adecuado. 3.5.2.3 Preparación de probetas El ensayo debe hacerse sobre un conductor ACSR terminado; en caso de tener aislamiento, antes del ensayo éste debe retirarse. Los conectores deben aplicarse a una longitud de conductor terminado de forma que haya una distancia de 1,2 m (48 pulgadas) entre los conectores. Si ocurre una falla, como se indica en la norma de producto, debe realizarse un ensayo de arbitraje utilizando una distancia mínima de 15 m (50 pies) entre los conectores. 3.5.2.4 Procedimiento Los conectores deben sujetarse en las mordazas de la máquina y la probeta debe estirarse a una velocidad de 12 mm/min ± 2 mm/min (0,5 ± 0,1 pulgada/min) hasta que ocurra la rotura de cualquiera de los hilos. 3.4.2.5 Resultados y cálculos Debe registrarse la carga máxima. 3.4.2.6 Informe El informe debe incluir, como mínimo, la carga máxima. 3.5.3 Fatiga por doblado 3.5.3.1 Objeto Este ensayo determina la resistencia a la fatiga por doblamiento de un conductor macizo. 3.5.3.2 Equipo El equipo debe constar de:
  • 25.
    NORMA TÉCNICA COLOMBIANANTC 5786 15 a) Un dispositivo de sujeción; b) Una base metálica para doblar la probeta; y c) Dos mandriles metálicos que tengan un diámetro igual al de la probeta +0 %, -10 %, fijos al dispositivo de sujeción, como se muestra en la Figura 1. 3.5.3.3 Preparación de la probeta Deben quitarse todas las cubiertas de la probeta; ésta debe enderezarse y después sujetarse firmemente en el dispositivo de sujeción con un mínimo de 150 mm (6 pulgadas) que sobresale de los mandriles. 3.5.3.4 Procedimiento 3.5.3.4.1 Utilizando la base metálica, la probeta debe doblarse sobre un mandril a un ángulo de 90°, enderezarse y después doblarse en dirección contraria sobre el otro mandril a un ángulo de 90° y nuevamente enderezarse. Éste debe considerarse un ciclo. 3.5.3.4.2 El procedimiento descrito en el numeral 3.5.3.4.1 debe repetirse hasta que la probeta se fracture. NOTA La base metálica se utiliza para asegurar que la probeta concuerde estrechamente con la superficie del mandril. 3.5.3.5 Resultados y cálculos Debe registrarse el número de ciclos realizados, incluidos los ciclos parciales. 3.5.3.6 Informe El informe debe incluir, como mínimo, el número de ciclos realizados, incluidos los ciclos parciales. 3.6 CICLOS DE CALENTAMIENTO POR CORRIENTE ALTA, PARA CONDUCTORES DE ALUMINIO 3.6.1 Objeto Este ensayo establece el método para determinar la conectividad entre conductores macizos de aluminio. 3.6.2 Equipo El equipo debe ser como se muestra en las Figuras 2 y 3, y debe constar de 15 guías de ensayo (terminales de receptáculo doble) que tengan las características siguientes: a) Una base terminal como se muestra en la Figura 4, hecha con una lámina de bronce ASTM 70/30 de 0,76 mm ± 0,03 mm (0,030 pulgadas ± 0,001 pulgadas), dureza Rockwell B 82-86. b) Los tornillos deben ser de acero al carbono AISI* 1010 y estar ubicados en centros de 21,4 mm (0,84 pulgadas). Véase la Figura 5 para la descripción de los tornillos. *American Iron and Steel Institute.
  • 26.
    NORMA TÉCNICA COLOMBIANANTC 5786 16 NOTA Se recomienda acero al carbono de conformidad con la norma ASTM A29. c) La otra base terminal (lado neutro) debe ser igual a la descrita en el literal (a) pero, además, debe tener revestimiento por inmersión en estaño de espesor menor que 0,003 mm (0,0001 pulgadas). d) Los dos tornillos de sujeción, tamaño 8-32, utilizados en la base terminal color blanco, deben revestirse con zinc de espesor mínimo de 0,003 mm (0,0001 pulgadas) y tener un recubrimiento cromado. e) Los otros dos tornillos de sujeción, tamaño 8-32, en el lado de color amarillo (línea) de la guía, deben revestirse con zinc de espesor mínimo de 0,003 mm (0,0001 pulgadas) y terminado en bronce. f) Los tornillos deben correr libremente cuando se aprieten con los dedos hasta que la cabeza del tornillo tenga contacto con el conductor. 3.6.3 Preparación de probetas Deben prepararse para el ensayo 31 probetas de conductores de aluminio macizo aislado de 3,31 mm2 (12 AWG) de 610 mm a 685 mm (24 pulgadas a 27 pulgadas) de longitud, 3.6.4 Procedimiento 3.6.4.1 El conductor de ensayo debe conectarse para formar un circuito bajo la cabeza del tornillo. El extremo del conductor de ensayo que va a conectarse a los tornillos de sujeción del dispositivo debe formarse en un plano que tenga un doblez como se muestra en la Figura 3, con el diámetro interior del doblez igual a 0,5 mm o un valor aproximado (0,02 pulgadas) mayor que el diámetro nominal del tornillo terminal del dispositivo. El extremo del conductor no debe proyectarse debajo de la cabeza del tonillo por más de la mitad del diámetro del conductor de ensayo. 3.6.4.2 Los tornillos terminales deben apretarse a un par de torsión de 0,68 N·m (6,0 lbf- pulgada) y mantenerse así durante 30 s. Las guías deben conectarse a los tornillos terminales A y B por medio de una pieza de conductor de aluminio de 610 mm a 685 mm (24 pulgadas a 27 pulgadas). Los tornillos terminales C y D de cada guía deben conectarse con una pieza de conductor de 610 mm a 685 mm (24 pulgadas a 27 pulgadas). Un termopar (Tipo J de hierro constatan No. 30 AWG) debe cementarse o soldarse como se muestra en la Figura 4, en el punto medio (en la orejeta de desconexión) de cada placa de base terminal entre los tornillos. Estas guías deben conectarse a una fuente constante de corriente de 40 A, 60 Hz y someterse a 500 ciclos de operación, cada ciclo conformado por 3,5 h encendido y 0,5 h apagado. Debe tenerse cuidado de no alterar los conductores de conexión después de aplicar el par de torsión. 3.6.4.3 La medición de temperatura debe tomarse de acuerdo con el método descrito en los numerales 3.6.4.3.1 y 3.6.4.3.2. 3.6.4.3.1 Las mediciones de temperatura en cada conexión deben hacerse iniciando con el ciclo número 25 y de ahí en adelante cada 25 ciclos, para un total de 5 mediciones. Las mediciones deben hacerse cada 40 ciclos para un total de 3 mediciones, y cada 80 ciclos para un total de 3 mediciones. Lo anterior dará como resultado 11 mediciones en total para cada conexión. NOTA El ciclo de medición puede variar en relación con lo especificado, hasta permitir que se realice durante las horas regulares de trabajo.
  • 27.
    NORMA TÉCNICA COLOMBIANANTC 5786 17 3.6.4.3.2 La estabilidad de la conexión debe determinarse por los criterios siguientes: a) En ningún punto del ensayo debe haber incremento de temperatura que exceda de 100 °C sobre la temperatura ambiente; y b) El factor de estabilidad (ΔT) debe determinarse para cada uno de los 11 puntos de datos para cada una de las conexiones bajo monitoreo (el factor de estabilidad se define como el incremento de temperatura máximo de cualquier punto de datos, sobre el incremento de temperatura promedio de todos los 11 puntos de datos para una conexión particular). Los puntos de datos son aquellos descritos en el numeral 3.6.4.3.1. Para cada punto monitoreado, ΔT no debe ser mayor que 10 °C. 3.6.4.4 Cuando las temperaturas exceden 175 °C (medición de 1 termopar) dentro de los primeros 50 ciclos de ensayo, el resultado no debe tomarse en cuenta para el desempeño total. El dispositivo debe retirarse y sustituirse por dos guías de ensayo nuevas. Éstas deben insertarse dentro del circuito de tal manera que no alteren las conexiones del conductor ni las otras guías de ensayo. 3.6.5 Resultados y cálculos Las temperaturas medidas por los 30 termopares deben registrarse al final de los 500 ciclos. 3.6.6 Informe El informe debe incluir, como mínimo, la temperatura medida en los termopares. 3.7 LONGITUD DE PASO 3.7.1 Objeto Este ensayo establece el método para determinar la longitud de paso de cualquier componente de un conductor o ensamble. 3.7.2 Equipo El equipo debe constar de un dispositivo de medición de longitud con una exactitud de 1 mm (0,04 pulgadas). 3.7.3 Preparación de las probetas 3.7.3.1 Componentes no cubiertos (conductores o ensambles) De la muestra se debe cortar una probeta de una longitud mínima de 4 veces la longitud de paso máxima permitida para el componente que se va a medir. La probeta debe asegurarse firmemente en ambos extremos a una superficie de trabajo para garantizar que los componentes no puedan desenrollarse. 3.7.3.2 Componentes cubiertos (conductores aislados, ensambles enchaquetados o encintados, o ambos) De la muestra de cordón o cable se debe cortar y enderezar una probeta de una longitud mínima de 4 veces la longitud de paso máxima permitida para el componente que se va a medir. La probeta se debe asegurar firmemente en ambos extremos a una superficie de trabajo
  • 28.
    NORMA TÉCNICA COLOMBIANANTC 5786 18 para garantizar que los componentes no puedan desenrollarse. Se debe cortar una ventana longitudinal en la(s) cubierta(s) de la parte central de la probeta para exponer el componente que se va a medir, dejando intacta la cubierta restante en ambos extremos. La longitud de la ventana debe ser aproximadamente 25 mm (1 pulgada) mayor que el doble de la longitud de paso máxima especificada. El ancho de la ventana debe ser 180° ó menos. Como alternativa, el ancho de la ventana puede ser la circunferencia entera de la probeta. En este caso, la ventana debe cortarse antes a fin de asegurar la probeta a la superficie de trabajo. Se deben asegurar los dos extremos de la probeta a la superficie de trabajo. La orientación radial de los extremos de la probeta entre sí, después de asegurarlos, debe ser la misma que antes de preparar la probeta. Por ejemplo: si la longitud de paso máxima especificada es 57 mm (2,25 pulgadas), la ventana tendrá la siguiente longitud aproximada: (2 x 57) + 25 = 139 mm ó (2 x 2,25) + 1 = 5,5 pulgadas 3.7.4 Procedimiento Se debe medir la distancia (D) requerida para dos vueltas completas del componente a lo largo del eje longitudinal de la probeta. 3.7.5 Resultados y cálculos Se debe calcular la longitud de paso de la siguiente manera L = D/2 en donde L = longitud de paso, mm (pulgadas) D = distancia, mm (pulgadas) 3.7.6 Informe El informe debe incluir, como mínimo, la longitud de paso del componente (los componentes) 4. ENSAYOS DE MATERIALES DE AISLAMIENTO Y CHAQUETA 4.1 ESPESOR 4.1.1 Objeto Los ensayos de este numeral establecen los métodos para determinar el espesor mínimo en cualquier punto y el espesor promedio de los materiales de aislamiento y chaqueta del conductor. 4.1.2 Equipo El equipo debe constar de lo siguiente, cualquiera que sea aplicable:
  • 29.
    NORMA TÉCNICA COLOMBIANANTC 5786 19 a) un medidor de carátula micrométrico de aguja con capacidad para aplicar una fuerza de 0,25 N ± 0,02 N (0,056 lbf ± 0,04 lbf) con un diámetro nominal de la aguja de 1 mm (0,04 pulgadas) y con una resolución y exactitud de 0,01 mm (o con una resolución y exactitud de 0,001 pulgada); b) un microscopio micrométrico con una resolución y exactitud de 0,01 mm (o con una resolución y exactitud de 0,001 pulgadas); c) un micrómetro de carátula con superficies planas tanto en la mordaza fija como en el extremo del husillo, que ejerce una fuerza de 0,10 N a 0,83 N (0,022 lbf a 0,187 lbf) con una resolución y exactitud de 0,01 mm (o con una resolución y exactitud de 0,01 pulgadas), y d) un micrómetro láser con una resolución y exactitud de 0,01 mm (o con una resolución y exactitud de 0,001 pulgadas) 4.1.3 Preparación de las probetas 4.1.3.1 Espesor mínimo en cualquier punto Se debe cortar una probeta de una longitud máxima de 8 mm, perpendicular al eje longitudinal del cable, y retirarla. En ningún caso debe ser mayor que el ancho de la mordaza fija. Se debe retirar cualquier separador u otro componente del aislamiento o chaqueta que se examina. Si no se puede retirar la chaqueta o aislamiento sin causar daño, las mediciones se deben realizar utilizando el método de microscopio micrométrico descrito en el numeral 4.1.4.1.2. NOTA Se puede cortar la probeta en segmentos que encajen en el calibrador. 4.1.3.2 Espesor promedio 4.1.3.2.1 Métodos del medidor de aguja y microscopio micrométrico Se debe cortar y preparar una probeta de acuerdo con el numeral 4.1.3.1. 4.1.3.2.2 Método de diferencia Se debe cortar una probeta de cualquier longitud conveniente. 4.1.4 Procedimiento 4.1.4.1 Espesor mínimo en cualquier punto 4.1.4.1.1 Método del medidor de aguja. Se debe colocar la probeta sobre la aguja, se debe permitir que los elementos móviles del medidor descansen suavemente sobre la probeta y leer el espesor. Al rotar la probeta, los elementos móviles no deben entrar en contacto con ésta. Se debe repetir el procedimiento hasta que se halle y registre el espesor mínimo. 4.1.4.2 Método de microscopio micrométrico Se debe ubicar el punto de espesor mínimo y medir el espesor.
  • 30.
    NORMA TÉCNICA COLOMBIANANTC 5786 20 4.1.4.2 Espesor promedio 4.1.4.2.1 Método para promediar Se debe determinar el espesor mínimo y máximo empleando los procedimientos descritos en el numeral 4.1.4.1.1 ó 4.1.4.1.2. Para el aislamiento, se deben realizar las mediciones dentro de las irregularidades resultantes del cableado del conductor. Para chaquetas extruídas tipo relleno, todas las mediciones se deben hacer dentro de las irregularidades resultantes de los conductores. Si la aguja del medidor descrito en el numeral 4.1.4.1.1 no encaja dentro de las irregularidades, este método no es aplicable. 4.1.4.2.2 Método de diferencia Sólo para el aislamiento, el espesor promedio se debe determinar estableciendo el diámetro sobre el aislamiento y el diámetro sobre el conductor sin aislar. Se debe medir y registrar el diámetro mínimo y máximo sobre el aislamiento en tres puntos separados entre sí no menos de 50 mm (2 pulgadas) a lo largo del eje de la probeta. Se debe determinar el diámetro del conductor promedio de acuerdo con el numeral 3.1. 4.1.5 Resultados y cálculos Se deben registrar los resultados. 4.1.5.1 Espesor mínimo en cualquier punto El espesor mínimo debe ser como el medido en el numeral 4.1.4.1. Cuando los hilos individuales son de menos de 1,09 mm (0,043 pulgadas) y la medición se hace empleando el método del microscopio micrométrico, se deben adicionar 0,08 mm (0,003 pulgadas) al valor medido. La adición de 0,08 mm (0,003 pulgadas) al valor medido no se aplican a conductores cableados comprimidos o compactados, ni cuando se emplea un separador sobre el conductor cableado, ni cuando se mide el espesor de un aislamiento de cinta. 4.1.5.2 Espesor promedio 4.1.5.2.1 Método para promediar El promedio de las mediciones obtenidas en el numeral 4.1.4.2.1 debe constituir el espesor promedio del aislamiento o chaqueta. 4.1.5.2.2 Método de diferencia Se deben promediar las seis lecturas de diámetro general obtenidas en el numeral 4.1.4.2.2. Se debe calcular el espesor de aislamiento promedio como la diferencia entre el diámetro total promedio y el diámetro sobre el conductor sin aislar, incluido el separador, si lo hay, dividida por dos. 4.1.6 Informe El informe debe incluir, como mínimo, lo siguiente: a) espesor mínimo en cualquier punto, y b) espesor promedio.
  • 31.
    NORMA TÉCNICA COLOMBIANANTC 5786 21 4.2 PROPIEDADES FÍSICAS (elongación última y resistencia a la tensión) 4.2.1 Objeto Estos ensayos establecen los métodos para determinar la elongación última y la resistencia a la tensión de materiales del aislamiento y chaqueta bajo condiciones específicas como se describen en el numeral 4.2.8. 4.2.2 Materiales y reactivos Deben utilizarse fluidos, de acuerdo con lo especificado en la norma de producto. 4.2.3 Equipo El equipo debe constar de: a) Una máquina accionada con motor, provista de un dispositivo que indique la carga máxima alcanzada. La máquina debe tener capacidad para separar las mordazas a velocidades de (500 ± 25) mm/min ((20 ±1) pulgadas/min) y además a (50 ± 5) mm/min ((2 ± 0,2) pulgadas/min). La carga aplicada, como se indica, debe determinarse con una exactitud de 2 % o menos del valor leído; b) Un extensómetro o escala para determinar la elongación con una resolución de 2 mm (0,1 pulgada) o mejor; c) Troqueles B, C, D, E o F como se describen en la norma ASTM D412 ó NMX-J- 178-ANCE. Los troqueles C y D deben utilizarse con marcas de referencia a 25 mm (1 pulgada). Los troqueles B, E y F deben utilizarse con marcas a 50 mm (2 pulgadas). Se permiten troqueles con capacidad para cortar probetas en anchos de 6,3 mm ó 3,2 mm (0,250 pulgadas ó 0,125 pulgadas) que tengan lados paralelos. d) Un calibrador con resolución y exactitud de 0,01 mm (o con una resolución y exactitud de 0,001 pulgadas); e) Un micrómetro de carátula que tenga un pie de compresión plano de 6,3 mm a 6,4 mm (0,248 pulgadas a 0,252 pulgadas) de diámetro, que ejerza una fuerza total de 0,83 N ± 0,03 N (3,0 ozf ± 0,1 ozf) sobre una mordaza fija rectangular que mida aproximadamente 9 mm x 2 mm. La cara de la mordaza fija sobre la dimensión menor debe ser ligeramente convexa. Alternativamente, estas mediciones deben hacerse con micrómetro de carátula de peso muerto que tenga un pie de compresión de 6,4 mm ± 0,2 mm (0,248 pulgadas ± 0,010 pulgadas) de diámetro y ejerza una fuerza total de 85 gf ± 3 gf ó 0,83 N ± 0,03 N (3,0 ozf ± 0,1 ozf) sobre la probeta; la carga debe aplicarse por medio de una masa. El pie de compresión debe estar al menos a 2 mm (0,08 pulgadas) sobre el borde de la probeta para cada medición. Los micrómetros deben tener una resolución y precisión de 0,01 mm (o con una resolución y exactitud de 0,001 pulgadas); f) Un micrómetro con resolución y precisión de 0,001 mm (o con una resolución y exactitud de 0,0001 pulgadas); g) Una tina de calentamiento para aceite, con capacidad de mantener la temperatura especificada dentro de ± 1 °C; h) Aparato para resistencia a la intemperie (luz solar), como se indica en seguida:
  • 32.
    NORMA TÉCNICA COLOMBIANANTC 5786 22 1) Arco de xenón: el equipo para exponer a radiación de arco de xenón y aspersión de agua, debe cumplir con las normas ASTM G151 y ASTM G155 ó NMX-J-553- ANCE. las probetas deben montarse en el portaprobetas del equipo. El aparato de arco de xenón debe contar con un filtro de luz de día. La distribución de potencia espectral (SPD) para lámpara de xenón con un filtro de luz de día debe cumplir los requisitos de la norma ASTM G155, Tabla 1. La operación del ensamble de la lámpara debe mantener un nivel de radiación espectral en las probetas de al menos 0,35 W/m2 monitoreadas a longitud de onda de 340 nm. 2) Arco de carbón: El equipo debe cumplir con las normas ASTM G151 y ASTM G155 ó NMX-J-553-ANCE. El aparato debe incluir bombardeo doble de arcos entre dos conjuntos de electrodos verticales de carbón que sean de 13 mm ó 1/2 de pulgada de diámetro y estén encerrados individualmente en bulbos transparentes de vidrio óptico resistente al calor (vidrio Pirex 9200 o equivalente) que es opaco en longitudes de onda menores de 275 nm (1 % de transmisión en 275 nm como punto de corte nominal) y cuya transmisión mejora hasta 91 % a 370 nm. La distribución de potencia espectral de la emisión de los bulbos debe cumplir con la Tabla 1 de la norma ASTM G 153 ó NMX-J-553-ANCE. i) Un horno de circulación forzada de aire. El aparato para envejecimiento de probetas en horno de circulación de aire debe ser como se indica en la norma NMX-J-417-ANCE ó ASTM D5423 (hornos Tipo II) y ASTM D5374; el aire debe circular dentro de la cámara de envejecimiento a alta velocidad. Se debe dejar entrar aire fresco continuamente a la cámara, para mantener el contenido de oxígeno normal en el aire que circunda las probetas. Las puertas de extracción del horno deben ajustarse para alcanzar de 100 a 200 cambios completos de aire fresco por hora. Para calcular el número de cambios de aire fresco, el volumen del horno se debe basar en las dimensiones interiores del horno. El soplador, ventilador u otro medio para circulación de aire debe localizarse completamente fuera de la cámara de envejecimiento. El horno debe tener capacidad de mantener la temperatura especificada en la Tabla 3; j) Un dispositivo de corte accionado mecánicamente o máquina biseladora, que conste de un rodillo de presión superior ajustable, una cuchilla de banda o una cuchilla de campana rotatoria y un rodillo de alimentación accionado mecanicamente que pase una muestra a través de la hoja de la cuchilla ya sea por separación o rebanando la muestra en capas, sin causar calentamiento del material de la muestra del cual deben prepararse las probetas cortadas con troquel. La máquina debe utilizarse para lo siguiente: 1) Para producir una banda de aislamiento de un conductor de 13,3 mm2 (6 AWG) o mayor, o una banda de material de enchaquetado; y 2) Para retirar irregularidades de las muestras de aislamiento, chaqueta o similares que no sean más delgadas de 0,76 mm (0,03 pulgadas); k) Una máquina pulidora (rueda esmeriladora) accionada con motor. La rueda abrasiva debe ser de grano No. 36 nominal (tamaño de partícula de 0,486 mm (0,019 pulgadas). La rueda debe moverse en línea y no debe vibrar. No se especifica el diámetro de la rueda, sin embargo, se ha encontrado como adecuado 0,12 m a 0,16 m (4,75 pulgadas - 6,25 pulgadas). La velocidad de rotación de la rueda debe ser de 2 500 rpm a 3 500 rpm. El diámetro y velocidad de rotación de la rueda deben seleccionarse para dar a la rueda una velocidad periférica (rpm x π x diámetro de la rueda) de (15 a 25) m/s (3 000 pies/min a 5 000 pies/min). La máquina debe tener una alimentación lenta que aplique una presión ligera y retire muy poco material al hacer el corte, sin sobrecalentar la probeta o la rueda.
  • 33.
    NORMA TÉCNICA COLOMBIANANTC 5786 23 PRECAUCIÓN El diámetro máximo de la rueda y las revoluciones máximas por minuto de la rueda especificada en este literal no deben utilizarse juntos, debido a que esta combinación dará como resultado una velocidad periférica superior a 25 m/s (5 000 pies/min). Esto se aplica incluso a ruedas que están marcadas para una velocidad periférica por encima de 25 m/s (5 000 pies/min); l) Un bloque o plano inclinado adecuado; m) Una balanza con precisión de 0,1 % de la masa medida; n) Un dispositivo para medir longitud con exactitud de 0,1 % de la longitud medida; o) Puede utilizarse una máquina manual o mecánica con mordazas de acero para estirar un conductor con el fin de retirarlo del aislamiento; y p) Un dispositivo para medir la temperatura con precisión de ± 1 °C. En cada tipo de aparato se deben tomar medidas para suspender verticalmente cada probeta dentro de la cámara sin tocar las paredes de la cámara o alguna otra probeta. 4.2.4 Preparación de las probetas 4.2.4.1 Selección y cantidad de probetas Se deben tomar las probetas de un alambre, cable o cordón terminado o durante su fabricación, en cualquier momento después de la curación del compuesto, cuando sea aplicable. Se debe ensayar un mínimo de seis probetas “como se reciben” y después de envejecimiento acelerado o inmersión en líquido. Si la probeta se sale de las marcas de referencia o las mordazas del extensómetro mecánico a un valor por debajo del especificado como mínimo aceptable, no se deben tener en cuenta los resultados del ensayo y se debe repetir el ensayo con otra probeta. 4.2.4.2 Formas de la probeta 4.2.4.2.1 Generalidades Cada probeta debe tener una de las siguientes formas: a) si es de aislamiento, éste debe ser tubular o cortada en troquel, preparada de acuerdo con el numeral 4.2.4.2.2 ó 4.2.4.2.3, si el alambre o cable es de menos de 13,3 mm2 y el espesor de su aislamiento es de 2,5 mm (0,10 pulgada) o menos. En todos los demás casos, se debe cortar con troquel y preparar de acuerdo con el numeral 4.2.4.2.3. b) Si es una chaqueta, debe estar cortada con troquel y preparada de acuerdo con el numeral 4.2.4.2.3. Como alternativa, para chaquetas en las que el espesor nominal es menor de 0,76 mm (0,03 pulgadas) o en donde el diámetro total no es mayor de 5,1 mm (0,2 pulgadas), la chaqueta debe ensayarse de una de las siguientes maneras: i) en su forma tubular terminada ii) cortada en troquel sin realizar la operación de pulido, cuando ésta pudiera reducir el espesor a menos de 0,38 mm (0,015 pulgadas); o
  • 34.
    NORMA TÉCNICA COLOMBIANANTC 5786 24 iii) cuando la probeta no se pueda retirar en forma tubular sin causar daño o no se pueda cortar con troquel debido a su tamaño físico, divida cuidadosamente en dirección longitudinal la probeta terminada, y sométala a ensayo. Cuando se requieran probetas cortadas con troquel, éstas deben prepararse antes de acondicionamiento posterior, como se describe en los numerales 4.2.4.2.3 y 4.2.5.1.3 4.2.4.2.2 Probetas tubulares Se debe preparar una probeta tubular de un tramo suficiente de alambre, cable o cordón, acabado o durante fabricación, sin ninguna cubierta. Véase el Anexo A. 4.2.4.2.3 Probetas cortadas con troquel Se debe preparar una probeta cortada con troquel de un tramo suficiente de muestra, sin ninguna cubierta, de la siguiente manera: a) La muestra debe dividirse longitudinalmente y retirarse del componente subyacente. Se debe retirar el separador o pantalla de hilos, si la hay. b) Se deben eliminar las irregularidades internas y externas usando el aparato descrito en el numeral 4.2.3, literales j), k) ó l), cualquiera que se ajuste mejor al material, a fin de obtener una probeta lisa de espesor uniforme. Se debe retirar el aislamiento adherente de una muestra de chaqueta. La chaqueta adherente se debe retirar de una muestra de aislamiento. c) Después de dejar reposar la muestra durante mínimo 30 min, la probeta debe cortarse de la sección pulida, empleando uno de los troqueles especificados en el numeral 4.2.3. Se recomienda usar una prensa para operar el troquel de corte (véase el numeral 4.2.3). Se debe colocar la muestra en una superficie lisa de madera u otro material que no dañe los bordes de corte del troquel. El área de sección transversal de una probeta cortada con troquel no debe ser mayor de 16 mm2 (0,025 pulgadas2 ). El espesor no debe ser inferior a 0,38 mm (0,015 pulgadas). 4.2.5 Procedimiento 4.2.5.1 Determinación del área de sección transversal 4.2.5.1.1 Probetas tubulares El área de sección transversal se debe calcular a partir de la siguiente fórmula: ( )22 4 dDA −= π en donde A = área de sección transversal, mm2 (pulgadas2 ) D = promedio inferior de los diámetros máximo y mínimo sobre la muestra medido en una posición intermedia entre los extremos de la muestra y en posiciones de aproximadamente 25 mm (1 pulgada) en cada lado de la posición media, mm (pulgadas) d = promedio superior de los diámetros máximo y mínimo sobre el componente subyacente (incluido cualquier separador) medido en puntos de aproximadamente 10 mm (0,39 pulgadas) desde cada extremo de la probeta, mm. En el caso de un conductor compuesto de hilos muy finos, puede ser difícil hacer la medición como se describe. En dicho caso, se debe retirar con cuidado una sección anular del aislamiento como se muestra en la Figura 6; se debe medir el diámetro promedio del conductor en dicha ubicación, mm (pulgadas).
  • 35.
    NORMA TÉCNICA COLOMBIANANTC 5786 25 4.2.5.1.2 Probetas de forma paralela, plana o irregular Se debe calcular el área de sección transversal a partir de la siguiente fórmula: 22 6150 pulgadas , D W omm D W A = en donde A = área de sección transversal, mm2 (pulgadas2 ) W = masa de una probeta de 150 mm ( 6 pulgadas) de longitud, con conductores retirados, g (oz) D = densidad del compuesto, g/cm3 (onza/pulgadas3 ) NOTA En el Anexo B se describe un método aceptable para determinar la densidad. 4.2.5.1.3 Probetas cortadas con troquel Se debe determinar el área de sección transversal empleando el ancho del troquel de corte y el espesor mínimo de la sección pulida, con aproximación a 0,01 mm (ó 0,001 pulgadas), empleando el micrómetro de carátula como se describe en el numeral 4.2.3, literal (e). Se debe calcular el área a partir de la siguiente fórmula: A = t x w en donde A = área de sección transversal, mm2 (pulgadas2 ) t = espesor mínimo de la sección pulida, mm (pulgadas) w = ancho del troquel de corte, mm (pulgadas) 4.2.5.2 Elongación última y resistencia a la tensión Se deben realizar los ensayos de elongación y resistencia a la tensión de manera simultánea a TEMPERATURA AMBIENTE. Se debe acondicionar la probeta a TEMPERATURA AMBIENTE durante mínimo 30 min antes del ensayo. Se deben emplear extensómetros de video, láser o mecánicos o un método de escala para determinar la elongación. Cuando se emplee un extensómetro diferente del mecánico, se deben colocar en la probeta dos marcas de referencia a 25 mm (1 pulgada) de distancia entre sí y equidistantes del centro de la probeta. Estas marcas de referencia deben estar en ángulo recto a la dirección de tracción de la máquina de ensayo y tan angostas como sea posible para facilitar la medición. La probeta debe estar completamente en reposo mientras se marca. Se debe sujetar en posición, con marcas de referencia de 25 mm (1 pulgada) entre las mordazas, de modo que la sección entre las marcas de referencia esté recta pero no bajo tensión. La distancia entre una marca de referencia y la mordaza adyacente no debe exceder los 13 mm (0,5 pulgadas). Las mordazas deben separarse a una velocidad uniforme hasta que la probeta se rompa. La velocidad de separación debe ser 8,5 mm/s (20 pulgadas/min) a menos que se especifique de otro modo en la norma del producto. Durante la separación de las mordazas, se debe medir la distancia entre las marcas de referencia continuamente de modo que se registre la distancia en el instante de ruptura dentro de 2 mm (0,1 pulgadas). La carga máxima antes de la ruptura, W, debe registrarse con aproximación a 0,5 N (0,1 lbf). Si la probeta se sale de las marcas de referencia o de las mordazas del extensómetro mecánico a un valor inferior al especificado como mínimo aceptable, no se deben tener en cuenta los resultados del ensayo y se debe repetir el ensayo con otra probeta.
  • 36.
    NORMA TÉCNICA COLOMBIANANTC 5786 26 4.2.6 Resultados y cálculos 4.2.6.1 Generalidades La elongación última y la resistencia a la tensión promedio deben basarse en los primeros cinco ensayos aceptables como se define en el numeral 4.2.4.1 4.2.6.2 Elongación última Se debe calcular el porcentaje de elongación a partir de la siguiente fórmula: 100 1 12 x L LL − en donde L2 = distancia entre marcas de referencia o mordazas del extensómetro mecánico en la ruptura, mm (pulgadas) L1 = distancia inicial entre marcas de referencia o mordazas del extensómetro mecánico en la ruptura, mm (pulgadas) 4.2.6.3 Resistencia a la tensión La resistencia a la tensión debe calcularse a partir de la siguiente fórmula: TS = W/A en donde TS = resistencia a la tensión, MPa (libra fuerza/pulgada2 ) W = carga máxima antes de ruptura, N (libra fuerza) A = área de sección transversal, mm2 (pulgadas2 ) 4.2.7 Informe El informe debe incluir, como mínimo, lo siguiente: a) tipo de exposición; b) valores promedio de probetas envejecidas y no envejecidas y c) valores de retención promedio. 4.2.8 Acondicionamiento de probetas 4.2.8.1 Probetas como se reciben (sin envejecer) Deben aplicarse los aparatos y procedimiento indicados de los numerales 4.2.3 al 4.2.6 para la determinación de la resistencia a la tensión y elongación de aislamiento, chaqueta y cubiertas similares, cuando se ensayan en la condición en que se reciben.
  • 37.
    NORMA TÉCNICA COLOMBIANANTC 5786 27 4.2.8.2 Envejecimiento en horno con circulación forzada de aire a corto plazo Antes del envejecimiento en horno con circulación forzada de aire, se deben realizar las mediciones necesarias para el cálculo del área de sección transversal. Se deben suspender las probetas dentro de la cámara de ensayo apropiada descrita en el numeral 4.2.3, de modo que no entren en contacto entre sí ni con las paredes de la cámara. Las probetas que tienen propiedades o composición muy diferentes deben envejecerse en cámaras de ensayo separadas. Se deben calentar las probetas a la temperatura especificada durante el período de tiempo requerido especificado en la norma del producto. Se deben registrar las temperaturas del horno a lo largo del período de envejecimiento. Luego del envejecimiento en horno de aire forzado, se deben retirar las probetas del horno y dejarse reposar durante 16 h a 96 h a TEMPERATURA AMBIENTE. Se deben determinar la elongación última y la resistencia a la tensión empleando el equipo y procedimiento indicados en los numerales 4.2.3 a 4.2.6. Se deben aplicar marcas de referencia después del acondicionamiento. 4.2.8.3 Resistencia al aceite El recipiente de inmersión debe tener un volumen mínimo de 100 ml (6 pulgadas3 ). Se debe llenar el recipiente con un aceite especificado y colocarse luego en un baño u horno como se describe en el numeral 4.2.3. Se deben suspender las probetas en el recipiente y mantenerlas a la temperatura y tiempo especificados en la norma de producto final. Se debe tener cuidado en minimizar el contacto con las paredes del recipiente u otras probetas. No se debe permitir que el aceite ingrese en el interior de una probeta tubular de aislamiento. En el caso de las chaquetas, se deben exponer ambas superficies (interior y exterior) al aceite. Luego de la inmersión, las probetas se deben sacudir para retirar el exceso de aceite y se deben dejar reposar de 16 h a 96 h. Se deben determinar la elongación última y la resistencia a la tensión empleando el equipo y el procedimiento indicados en los numerales 4.2.3 a 4.2.6. Se deben aplicar marcas de referencia antes del acondicionamiento. 4.2.8.4 Resistencia a la gasolina El recipiente de inmersión debe tener un volúmen mínimo de 100 ml (6 pulgadas3 ). El fondo de 25 mm (1 pulgada) del recipiente debe llenarse con agua del grifo y el resto del recipiente con volúmenes iguales de iso-octano y tolueno mantenidos a 23 °C ± 1 °C. NOTA Véase en la norma ASTM D471 (Combustible C) la mezcla de iso-octano y tolueno, Las probetas deben suspenderse en el recipiente y mantenerse a la temperatura y el tiempo especificados en la norma de producto. Las probetas deben suspenderse en el recipiente con cuidado para minimizar el contacto con las paredes del recipiente o con otras probetas. No debe permitirse que el fluido ingrese en el interior de las probetas tubulares de aislamiento. En el caso de chaquetas, ambas superficies (interior y exterior) deben exponerse al fluido. Después de la inmersión, las probetas deben sacudirse para quitar el exceso de fluido y se deben dejar en reposo por un período de entre 16 h a 96 h. La elongación última y la resistencia a la tensión se deben determinar utilizando el aparato y procedimiento descritos en los numerales 4.2.3 a 4.2.6. Las marcas de referencia deben aplicarse después del acondicionamiento.
  • 38.
    NORMA TÉCNICA COLOMBIANANTC 5786 28 4.2.8.5 Resistencia a la intemperie (luz solar) 4.2.8.5.1 Exposición a arco de xenón Las muestras de cable terminado se deben exponer en el aparato de arco de xenón durante las horas especificadas en la norma del producto, de acuerdo con el procedimiento descrito en la norma NMX-J-553-ANCE, o el ciclo 1 de exposición de la norma ASTM G 155, excepto por que el pH del agua debe ser 4,5 - 8,0. Cada ciclo debe constar de 102 min de luz y 18 min de luz y aspersión de agua. Las muestras se deben montar de acuerdo con las instrucciones del fabricante del aparato del arco de xenón. 4.2.8.5.2 Exposición a arco de carbón Las muestras de cable terminado se deben exponer en el aparato para determinación de alteración por exposición a la intemperie, durante el número de horas especificado en la norma del producto, de acuerdo con el procedimiento descrito en la norma ASTM G153 ó NMX-J-553- ANCE, excepto que el pH del agua debe ser 4,5 - 8,0. Cada ciclo debe consistir de 17 min de luz y 3 min de luz y aspersión de agua. Los arcos de carbón deben operar continuamente y transportar una corriente de 15 A a 17 A cada una en una caída en potencial de valor eficaz de 120 V a 145 V. Las muestras se deben suspender verticalmente en el tambor del aparato. 4.2.8.5.3 Preparación y ensayo de la probeta Luego de cada exposición, las muestras se deben retirar del equipo de ensayo y retenerse en aire en calma bajo condiciones de TEMPERATURA AMBIENTE y presión atmosférica durante mínimo 16 h y máximo 96 h. Se deben determinar la elongación última y la resistencia a la tensión empleando el aparato y procedimiento descritos en los numerales 4.2.3 a 4.2.6. Las superficies expuestas a la fuente de luz no deben ser pulidas, cortadas, ni cepilladas. Las marcas de referencia se deben hacer después del acondicionamiento. Para propósitos comparativos, se deben preparar en forma idéntica probetas de cable sin envejecer, y se deben ensayar simultáneamente. 4.3 TEMPERATURA NOMINAL EN AMBIENTE SECO, DE MATERIALES NUEVOS (ensayo de envejecimiento a largo plazo) 4.3.1 objeto Esta ensayo verifica la temperatura nominal en ambiente seco para materiales nuevos y establece los parámetros y requisitos para envejecimiento acelerado en horno con circulación forzada de aire. NOTA 1 El ensayo de envejecimiento a largo plazo evalúa un material únicamente en cuanto a su temperatura nominal en ambiente seco. Otras propiedades se evalúan con base en requisitos de la norma aplicable del alambre y del cable. NOTA 2 Para la norma de producto, después de experiencia suficiente con un material nuevo, se debe entregar el material para inclusión en la norma de manera oportuna. 4.3.2 Equipo El equipo debe ser como se especifica en el numeral 4.2.3. 4.3.3 Preparación de probetas 4.3.3.1 Las probetas deben prepararse de acuerdo con lo descrito en el numeral 4.2.4.
  • 39.
    NORMA TÉCNICA COLOMBIANANTC 5786 29 4.3.3.2 El número total de probetas en el horno debe permitir sacar las probetas en grupos de seis a la vez, en intervalos de 90 d, 120 d y 150 d y según se requiera por el fabricante, en intervalos adicionales de 180 d y 210 d. 4.3.4 Procedimiento 4.3.4.1 Las probetas deben envejecerse como se describe en el numeral 4.2.8.2 a la temperatura determinada en el numeral 4.3.4.2. 4.3.4.2 La temperatura del horno, Tensayo, debe ser el 102 % de la temperatura nominal deseada expresada en la escala de Kelvin. Esta temperatura debe calcularse en °C utilizando la fórmula siguiente (Tensayo debe redondearse al número entero más cercano): Tensayo (°C) = 1,02 x (273,15 + Tnominal (°C)) – 273,15 NOTA En la Tabla 4 s indican las temperaturas de ensayo aplicadas para la temperatura nominal común. 4.3.4.3 Deben retirarse conjuntos de seis probetas a intervalos especificados en el numeral 4.3.3.2. 4.3.4.4 Las probetas de ensayo en cada conjunto deben ensayarse individualmente para elongación última y resistencia a la tensión como se describe en el numeral 4.2.3 al 4.2.6. Los valores de elongación última y tensión para cada grupo de probetas deben promediarse para cada intervalo de tiempo de envejecimiento. Si los resultados de uno o más de seis probetas se diferencian significativamente, pueden descartarse los resultados únicamente de una probeta. 4.3.5 Resultados y cálculos 4.3.5.1 La elongación última y la resistencia a la tensión deben calcularse de acuerdo con lo establecido en el numeral 4.2.6. 4.3.5.2 La elongación última o la resistencia a la tensión a 300 d, debe determinarse por la fórmula siguiente: U(t) = U90 x e-R(t-90) en donde U(t) = elongación última en % o resistencia a la tensión en MPa (libra fuerza/pulgadas2 ); U90 = constante de regresión (elongación última o resistencia a la tensión calculada a 90 d); R = es la constante de deterioro como se determina en el numeral 4.3.5.4; t = es el tiempo, en días Véase en el Anexo C un ejemplo de cálculo. 4.3.5.3 Las variables en la fórmula, transformadas como Y = ln [U(t)], B = ln [U90] y T = (t-90), convierten la fórmula en forma lineal Y = B + RT. 4.3.5.4 Utilizando la información de 90 d y a más largo plazo, las constantes B y R deben determinarse por regresión lineal de mínimos cuadrados. La elongación última o la resistencia a la tensión esperados a 300 d deben calcularse utilizando la fórmula en el numeral 4.3.5.2.
  • 40.
    NORMA TÉCNICA COLOMBIANANTC 5786 30 4.3.5.5 La elongación calculada para 300 d no debe ser menor que 50 %. La resistencia a la tensión calculada para 300 d no debe ser menor que 2 MPa (300 libras fuerza/pulgadas2 ) para aislamiento destinado para utilizarse bajo una chaqueta o armadura y no menor que 4 MPa (600 libras fuerza/pulgadas2 ) para chaquetas y para aislamientos sin chaqueta. 4.3.5.6 Luego de la determinación de la temperatura nominal deben establecerse los parámetros y requisitos para el ensayo de envejecimiento a corto plazo en horno de aire forzado, como se describe en el numeral 4.2.8.2 de acuerdo con el Anexo D. 4.3.6 Informe El informe debe incluir, como mínimo, lo siguiente: a) Verificación de la temperatura de operación en ambiente seco; y b) Parámetros y requisitos para envejecimiento en horno a corto plazo. 4.4 CONTENIDO DE NEGRO DE HUMO 4.4.1 Objeto Este ensayo establece los métodos para determinar el contenido de negro de humo en aislamientos o chaquetas. 4.4.2 Equipo, preparación de probetas, procedimientos, resultados y cálculos. 4.4.2.1 Para aislamientos o chaquetas que no generan gases corrosivos por pirólisis, se debe determinar el contenido de negro de humo de acuerdo con uno de los siguientes métodos: a) Método 1: NMX-E-034-SCFI o ASTM D1603 b) Método 2: NMX-J-437-ANCE o ASTM D4218 c) Método 3: ASTM D6370 o d) Método 4: ASTM E1131 4.4.2.2 En Canadá y Estados Unidos, para aislamientos o chaquetas que generan gases corrosivos por pirolisis, se debe determinar el contenido negro de humo de acuerdo con el Método 3 ó el Método 4. En México no se aplican el Método 3 y el Método 4. 4.4.3 Informe El informe debe incluir, como mínimo, lo siguiente: a) el método de ensayo empleado y b) el contenido de negro de humo
  • 41.
    NORMA TÉCNICA COLOMBIANANTC 5786 31 5. ENSAYOS DE COMPONENTES 5.1 RECUBRIMIENTO DE TRENZAS DE MATERIAL FIBROSO 5.1.1 Objeto Este ensayo establece el método para determinar el grado de recubrimiento de trenzas de material fibroso. 5.1.2 Equipo El equipo debe constar de: a) Un micrómetro de carátula con superficies planas tanto en la mordaza fija como en el extremo del husillo, que ejerza una fuerza de 0,10 N a 0,83 N (0,022 libra fuerza a 0,187 libra fuerza) y con una resolución y precisión de 0,01 mm (o con una resolución y precisión de 0,001 pulgadas); b) Un transportador u otro medio apropiado capaz de medir el ángulo de paso de la trenza dentro de 1°; y c) Un dispositivo de medición con capacidad de medir ± 1 mm. 5.1.3 Preparación de probetas La probeta debe ser de 1,5 m mínimo (5 pies), cortado de un alambre terminado, cable o cordón, terminado o durante su fabricación. 5.1.4 Procedimiento Véase el literal F.1 del Anexo F. 5.1.5 Resultados y cálculos Véase el contenido de F.2 y F.3 del Anexo F. 5.1.6 Informe El informe debe incluir, como mínimo, el porcentaje de recubrimiento. 5.2 RECUBRIMIENTO DE PANTALLA (envolturas y trenzas) 5.2.1 Objeto Este ensayo establece el método para determinar el grado de recubrimiento de las envolturas y trenzas previstas como pantalla de alambres, cables o cordones. 5.2.2 Equipo El equipo debe constar de: a) Un micrómetro de carátula con superficies planas tanto en la mordaza fija como en el extremo del husillo, que ejerza una fuerza de 0,10 N a 0,83 N (0,022 libras fuerza a
  • 42.
    NORMA TÉCNICA COLOMBIANANTC 5786 32 0,187 libras fuerza) y con una resolución y precisión de 0,01 mm (o con una resolución y precisión de 0,001 pulgadas); b) Un dispositivo de medición con capacidad para medir ± 1 mm (0,04 pulgadas). 5.2.3 Preparación de probetas La probeta debe ser de cualquier longitud conveniente, cortada de un alambre, cable o cordón, terminado o durante su fabricación. 5.2.4 Procedimiento Véase el literal G.1 del Anexo G. 5.2.5 Resultados y cálculos Véase el literal G.1 del Anexo G. 5.2.6 Informe El informe debe incluir, como mínimo el porcentaje de recubrimiento. 5.3 SATURACIÓN 5.3.1 Objeto Este ensayo establece el método para determinar el grado de saturación de un recubrimiento de material fibroso. 5.3.2 Equipo El equipo debe constar de: a) Un desecador que contenga cloruro de calcio anhídrido; b) Mandriles de acuerdo con lo especificado en la norma de producto; c) Una balanza de ajuste rápido con precisión de 10 mg; y d) Un baño de agua agitado a temperatura constante, de agua del grifo mantenida a temperatura de 21 °C ± 1 °C, ya sea con una cubierta para mantenerlo libre de polvo o colocado dentro un encerramiento hermético durante el ensayo. NOTA El agua debe sustituirse cuando muestre que se ha ensuciado o haya una película superficial de polvo o cera. 5.3.3 Preparación de probetas 5.3.3.1 Antes de cortar cualquier probeta de ensayo, la muestra debe estar a TEMPERATURA AMBIENTE. La manipulación y flexión de las muestras por ensayar debe reducirse al mínimo absoluto requerido para llevar a cabo el ensayo. 5.3.3.2 Debe cortarse una probeta de 610 mm ± 6 mm (24 pulgadas ± 0,25 pulgadas) de longitud, tomada de la muestra de alambre o cable, y debe doblarse alrededor de un mandril del diámetro especificado. Para un conductor de 33,6 mm2 (2 AWG) o menor y para un cable
  • 43.
    NORMA TÉCNICA COLOMBIANANTC 5786 33 multiconductor o ensamble para el cual el factor F en la norma de producto es 2 o 3, el número máximo de vueltas completas que encajan sobre el mandril debe hacerse alrededor del mandril con el alambre ajustado sobre el mandril; las vueltas deben ser adyacentes separadas de 3 mm a 6 mm (0,125 pulgadas a 0,25 pulgadas) y dejando una longitud recta de 50 mm a 60 mm (2 pulgadas a 2,5 pulgadas) en cada extremo de la probeta extendida a lo largo del mandril. Para calibres mayores que 33,6 mm2 (2 AWG) y para un cable multiconductor o ensamble para el cual el factor F es 4,5; 6; 9 ó 10, debe hacerse media vuelta alrededor del mandril. 5.3.4 Procedimiento 5.3.4.1 La probeta debe retirarse del mandril sin alterar su forma y debe colocarse en el desecador sobre el cloruro de calcio anhídrico a TEMPERATURA AMBIENTE por al menos 18 h. Después debe retirarse del desecador y determinar su masa con aproximación a 10 mg. La masa debe registrarse como W. 5.3.4.2 La probeta debe sumergirse entonces en baño de agua de grifo, con 25 mm ± 3 mm (1 pulgada ± 0.125 pulgadas) de cada extremo de la bobina (o doblez en 180°) proyectándose por encima de la superficie del agua. Después de 24 h de inmersión, la probeta debe retirarse del baño, sacudirse vigorosamente por 5 s para retirar humedad adherida y determinar nuevamente la masa 2 min después de haberse retirado del baño. Esta masa debe registrarse como W1. Todos los recubrimiento de material fibroso diferentes a la cinta, deben retirarse de toda la longitud de la probeta. Debe determinarse la masa del(los) conductor(es), aislamiento y cualquier cinta. En caso de un ensamble que va a utilizarse en un cable armado, debe tomarse en conjunto en un solo ensayo cualquier recubrimiento exterior de material fibroso y cualquier recubrimiento de material fibroso sobre alambres individuales; y debe hacerse un segundo ensayo únicamente sobre recubrimiento fibroso de alambres individuales. Esta masa debe registrarse como W2. 5.3.5 Resultados y cálculos La humedad absorbida por la probeta no debe ajustarse para la porción de la probeta que sale sobre el agua. El porcentaje de absorción debe calcularse (a 0,1 %) por medio de la fórmula siguiente: ( ) 2 1100 WW WW − − 5.3.6 Informe El informe de resultados debe incluir, como mínimo, el porcentaje de absorción. 6. ENSAYOS ELÉCTRICOS PARA ALAMBRE Y CABLE TERMINADOS 6.1 CONTINUIDAD 6.1.1 Objeto Este ensayo establece los métodos para determinar la continuidad de conductores. 6.1.2 Equipo 6.1.2.1 Método 1 (general) El equipo debe constar de:
  • 44.
    NORMA TÉCNICA COLOMBIANANTC 5786 34 a) Equipo que proporcione una tensión en corriente alterna o corriente continua, igual o menor que 120 V; y b) Un medio que indique un circuito abierto (por ejemplo, una lámpara incandescente, un timbre o zumbador). 6.1.2.2 Método 2 (corriente de Eddy) El equipo debe constar de equipo que aplique corriente a una o más frecuencias en el intervalo de 1 kHz a 125 kHz a una bobina de inducción para inducir corrientes de Eddy en el conductor que se mueve a través de la bobina a la velocidad de producción. El equipo debe detectar la variación en la impedancia de la bobina de ensayo por cada rotura en el conductor y proporcionar una indicación visual al operador. 6.1.3 Preparación de probetas No se requiere preparación específica de las probetas. 6.1.4 Procedimiento 6.1.4.1 Método 1 (general) Cada conductor individual del alambre o cable debe conectarse en serie con el indicador y una fuente de tensión de corriente alterna o corriente continua, igual o menor que 120 V. 6.1.4.2 Método 2 (corriente de Eddy) El eje longitudinal del conductor debe coincidir con el centro eléctrico de la bobina de ensayo. El alambre o cable debe tener poca o nula vibración mientras pasa a través la bobina de ensayo y debe separarse de la bobina una distancia no mayor que 13 mm (0,5 pulgadas). Las variaciones en la velocidad del alambre a través de la bobina de ensayo deben limitarse a más del 50 % y menos de cualquier otro porcentaje (50 % máximo) que impida que la amplitud de señal caiga por debajo del nivel al cual puede detectarse una rotura. Cada vez que haya un cambio en la construcción del alambre o cable que se está ensayando, se debe hacer una calibración separada, balance y ajuste para cada calibre, tipo de cableado y material de construcción para la velocidad del alambre, sensibilidad, relación máxima señal a ruido y máximo rechazo de señales que indican variaciones graduales en diámetro y otros cambios lentos. Para evaluar que el equipo está en funcionamiento, por lo menos diariamente debe realizarse una calibración sin colocar alambre en la bobina de ensayo. NOTA La temperatura a lo largo del tramo del alambre que se está ensayando puede variar en relación con la temperatura a la cual se calibró, balanceó, etc., para el calibre, tipo de cableado y material del conductor, siempre y cuando las variaciones sean graduales y no haya puntos calientes o fríos que provoquen señales falsas. 6.1.5 Resultados y cálculos La operación del equipo indicador debe ser evidencia de continuidad del conductor bajo ensayo. 6.1.6 Informe de resultados No se requiere informe de resultados.
  • 45.
    NORMA TÉCNICA COLOMBIANANTC 5786 35 6.2 RESISTENCIA DEL DIELÉCTRICO A LA TENSIÓN 6.2.1 Objeto Este ensayo establece los métodos para determinar la resistencia del dieléctrico a la tensión de un alambre o cable. El equipo debe constar de: a) un transformador de aislamiento con capacidad para suministrar un potencial de ensayo de 48 Hz a 62 Hz, cuyo potencial de salida es variable continuamente desde cerca de cero hasta al menos el potencial de ensayo de valor eficaz especificado; b) un voltímetro con una precisión de ± 5 %, en el lado de alta tensión del transformador. Si es análogo, debe tener un tiempo de respuesta que no introduzca un error de retardo superior al 1 % de la escala total a la tasa especificada de incremento en la tensión. c) un indicador de corriente de falla. d) un horno de aire forzado, como se describe en el numeral 4.2.3, literal (i), con bujes aislados para conexión de la tensión de ensayo mientras el horno está cerrado. e) un termómetro con una precisión de ± 1 °C. f) un tanque lleno con agua del grifo, y g) un medio de puesta a tierra, con impedancia máxima de 15 Ω. 6.2.3 Preparación de las probetas 6.2.3.1 Método 1 (en agua) Ambos extremos de los conductores individuales deben estar desnudos. Al preparar el conductor para ensayo, cada extremo de la probeta se debe llevar muy por encima del nivel de agua en el tanque, en donde sea aplicable, y el recubrimiento se debe retirar de la superficie del aislamiento una distancia corta si es necesario, para impedir fugas en la superficie. La temperatura del agua en la cual se sumerge el espécimen no necesita ser controlada a menos que se especifique en la norma de producto. A menos que se exija específicamente en la norma de producto, no es necesario sumergir en agua una probeta de un mono conductor con recubrimiento metálico o apantallado, y la tensión de ensayo se aplica entre el conductor y la pantalla o el recubrimiento metálico. En todos los casos, los extremos del conductor de la probeta deben estar separados del electrodo puesto a tierra una distancia suficiente para evitar efecto de corona o flameo en los extremos durante la aplicación de la tensión de ensayo. 6.2.3.2 Método 2 (en el aire) Ambos extremos de los conductores individuales deben estar desnudos.
  • 46.
    NORMA TÉCNICA COLOMBIANANTC 5786 36 Para un cable con un solo conductor, se debe aplicar un electrodo de puesta a tierra, cuando no esté presente como componente. Se ha encontrado aceptable una trenza de cobre de ajustada, una cinta metálica o grafito. 6.2.3.3 Método 3 (en aire a temperatura elevada) Ambos extremos de los conductores individuales deben estar desnudos. Para un cable con un solo conductor, se debe aplicar un electrodo de puesta a tierra, cuando no esté presente como componente. Se ha encontrado aceptable una trenza de cobre de ajustada, una cinta metálica o grafito. 6.2.4 Procedimiento 6.2.4.1 Método 1 (en agua) El alambre o cable se debe sumergir, excepto en los extremos, durante el período especificado en la norma de producto, antes de la aplicación de la tensión de ensayo. Para un cable monoconductor, o un ensamble de cables monoconductores sin cubierta exterior, la tensión de ensayo se debe aplicar entre los conductores aislados y el electrodo de agua puesto a tierra. La tensión de ensayo se debe alcanzar dentro de un período de 10 s a 60 s y se debe incrementar a una tasa no superior a 500 V/s. Para cables multiconductores con una chaqueta exterior, la tensión de ensayo se debe aplicar entre cada conductor aislado y todos los demás conductores, todos los demás componentes metálicos cuando los haya, y el electrodo de agua puesto a tierra. En todos los casos, los extremos del conductor bajo ensayo se deben separar del electrodo puesto a tierra una distancia suficiente para impedir efecto corona o flameo en los extremos durante la aplicación de la tensión de ensayo. 6.2.4.2 Método 2 (en el aire) Para un cable monoconductor, la tensión de ensayo se debe aplicar entre los conductores aislados en el alambre o cable y el electrodo puesto a tierra. Para cables multiconductores, la tensión de ensayo se debe aplicar entre cada conductor aislado y todos los demás conductores, todos los demás componentes metálicos cuando los haya, y el electrodo puesto a tierra. La tensión de ensayo se debe alcanzar dentro de un período de 10 s a 60 s y se debe incrementar a una tasa no superior a 500 V/s. En todos los casos, los extremos del conductor bajo ensayo se deben separar del electrodo puesto a tierra una distancia suficiente para impedir efecto corona o flameo en los extremos durante la aplicación de la tensión de ensayo. 6.2.4.3 Método 3 (en aire a temperatura elevada) La probeta se debe colocar en el horno a la temperatura y durante el tiempo especificado en la norma de producto. El ensayo se debe realizar como se describe en el numeral 6.2.4.2, mientras se mantiene a la temperatura especificada. 6.2.5 Resultados y cálculos El accionamiento del indicador de falla será evidencia de falla. 6.2.6 Informe El informe debe incluir lo siguiente, como mínimo: a) Tensión de ensayo.
  • 47.
    NORMA TÉCNICA COLOMBIANANTC 5786 37 b) Duración del ensayo. c) Temperatura del ensayo, y d) Resultado del ensayo. 6.3 RUPTURA DEL DIELÉCTRICO 6.3.1 Objeto Este ensayo especifica el método para determinar la tensión a la cual ocurre la ruptura del dieléctrico de un conductor. 6.3.2 Equipo El equipo debe constar de: a) Un transformador de aislamiento capaz de proporcionar un potencial de ensayo de 48 Hz a 62 Hz, cuyo potencial de salida es continuamente variable desde cero a la tensión de ruptura; b) Un voltímetro que tenga una exactitud de ± 5 %, sobre el lado de alta tensión del transformador. Si es análogo, debe tener un tiempo de respuesta que no introduzca un error mayor del 1 % de la escala completa a la velocidad especificada de incremento en la tensión; c) Un indicador de corriente de falla; d) Un tanque lleno de agua; y e) Un medio de puesta a tierra, con una impedancia máxima de 15 Ω. 6.3.3 Preparación de probetas Ambos extremos del conductor deben estar desnudos. Al preparar el alambre para ensayo, cada extremo de la probeta debe colocarse sobre el nivel del agua en el tanque para impedir corriente de fuga superficial. La temperatura del agua en la cual se sumerge la probeta no requiere controlarse, a menos que se especifique en la norma de producto. 6.3.4 Procedimiento El alambre o cable debe sumergirse en agua, excepto por los extremos, durante el período de inmersión especificado en la norma de producto. La tensión de ensayo debe aplicarse entre el conductor aislado y el electrodo de agua puesto a tierra, y debe incrementarse a una tasa que no exceda 500 V/s hasta que ocurra la ruptura. Los extremos del conductor bajo ensayo deben estar separados del electrodo puesto a tierra una distancia suficiente para impedir el efecto corona o flameo en los extremos durante la aplicación de la tensión de ensayo. 6.3.5 Resultados y cálculos El accionamiento del indicador de falla será evidencia de falla.
  • 48.
    NORMA TÉCNICA COLOMBIANANTC 5786 38 6.3.6 Informe El informe debe incluir, como mínimo, la tensión de ruptura. 6.4 RESISTENCIA DE AISLAMIENTO 6.4.1 Objeto Este ensayo especifica el método para determinar la resistencia de aislamiento del conductor. 6.4.2 Equipo El aparato debe constar de: a) un megohmetro o puente de medición de resistencia de aislamiento del intervalo aplicable, con capacidad de dar lecturas que tengan una precisión del 10 % o menos del valor indicado por el medidor, y de aplicar un potencial de c.c. de 100 a 500 V al aislamiento durante 60 s antes de cada lectura. b) una fuente de c.a sinusoidal o prácticamente sinusoidal, con capacidad de suministrar el potencial de ensayo requerido a 48 Hz - 62 Hz. c) un tanque lleno con agua del grifo, con un controlador de temperatura con capacidad de mantener el agua a la temperatura requerida ± 1 °C; si es de metal, el tanque se debe poner a tierra, o si no es metálico, debe contener un electrodo puesto a tierra. d) un dispositivo para medición de temperatura con una precisión de ± 1 °C, y e) un horno de circulación forzada de aire, de acuerdo con el numeral 4.3.3 (i), con bujes aislados para conectar la probeta al aparato de medición de resistencia de aislamiento mientras el horno está cerrado. 6.4.3 Preparación de las probetas Las probetas se deben preparar de acuerdo con el numeral 6.2.3, según sea aplicable. 6.4.4 Procedimiento 6.4.4.1 Resistencia de aislamiento a corto plazo 6.4.4.1.1 Método 1 (15 °C en agua) Cuando se determina la resistencia de aislamiento a una temperatura de 15 °C, el ensayo se debe llevar a cabo con agua a cualquier temperatura, de 10 °C a 35 °C. La probeta se debe sumergir en agua durante el tiempo especificado en la norma de producto. La variación en la temperatura del agua debe permanecer dentro de ± 1 °C al menos durante 30 min inmediatamente antes del ensayo. El megohmetro o puente de medición de resistencia de aislamiento se debe conectar a la probeta y la medición se debe hacer de acuerdo con las instrucciones del fabricante del instrumento. La resistencia de aislamiento de la probeta se debe leer después de la aplicación de una tensión de c.c de 100 V a 500 V durante 60 s, entre el conductor y la tierra.
  • 49.
    NORMA TÉCNICA COLOMBIANANTC 5786 39 Se deben registrar la lectura del megohmetro o del puente de medición de resistencia de aislamiento, la longitud de la probeta y la temperatura del agua. 6.4.4.1.2 Método 2 (15 °C en el aire) Cuando se determina la resistencia de aislamiento a una temperatura de 15 °C, el ensayo se debe llevar a cabo a cualquier temperatura del aire, de 10 °C a 35 °C. La probeta se debe acondicionar en el ambiente de ensayo durante un mínimo de 6 h antes del ensayo. La variación en la temperatura del aire debe permanecer dentro de ± 1 °C al menos durante 30 min inmediatamente antes del ensayo. El megohmetro o puente de medición de resistencia de aislamiento se debe conectar a la probeta y la medición se debe hacer de acuerdo con las instrucciones del fabricante del instrumento. La resistencia de aislamiento de la probeta se debe leer después de la aplicación de una tensión de c.c de 100 V a 500 V durante 60 s, entre el conductor y la tierra. Se deben registrar la lectura del megohmetro o del puente de medición de resistencia de aislamiento, la longitud de la probeta y la temperatura del aire. 6.4.4.2 Resistencia de aislamiento a largo plazo 6.4.4.2.1 Método 1 (en agua) Cuando se determina la resistencia de aislamiento a una temperatura diferente de 15 °C (por ejemplo, 50 °C, 75 °C, 90 °C), el ensayo se debe llevar a cabo con agua del grifo a la temperatura especificada en la norma de producto ± 1 °C, que se debe mantener junto a la probeta durante el tiempo y al potencial eléctrico especificado en la norma de producto. El potencial se debe aplicar al aislamiento en todo momento, excepto mientras se están haciendo las lecturas de resistencia de aislamiento. El ensayo se debe llevar a cabo en 2 o más probetas de 15 m (50 pies) de longitud. El megohmetro o puente de medición de resistencia de aislamiento se debe conectar a la probeta y la medición se debe hacer de acuerdo con las instrucciones del fabricante del instrumento. La resistencia de aislamiento de la probeta se debe leer después de la aplicación de una tensión de c.c de 100 V a 500 V durante 60 s, entre el conductor y la tierra. Las lecturas se deben tomar a las 24 h, 7 d, y de ahí en adelante cada 7 días durante todo el ensayo. Se deben registrar la lectura del megohmetro o del puente de medición de resistencia de aislamiento, el número y longitud de las probetas y la temperatura del agua. 6.4.4.2.2 Método 2 (en aire a temperatura elevada) Cuando se determina la resistencia de aislamiento a una temperatura especificada en la norma de producto ± 1 °C, que se debe mantener con la probeta durante el tiempo y al potencial eléctrico especificado en la norma de producto. El potencial se debe aplicar al aislamiento en todo momento, excepto mientras se están haciendo las lecturas de resistencia de aislamiento. El ensayo se debe llevar a cabo en 2 ó más probetas de 15 m (50 pies) de longitud. El megohmetro o puente de medición de resistencia de aislamiento se debe conectar a la probeta y la medición se debe hacer de acuerdo con las instrucciones del fabricante del instrumento. La resistencia de aislamiento de la probeta se debe leer después de la aplicación de una tensión de c.c de 100 V a 500 V durante 60 s, entre el conductor y la tierra. Las lecturas se deben tomar a las 24 h, 7 d, y de ahí en adelante cada 7 días durante todo el ensayo.
  • 50.
    NORMA TÉCNICA COLOMBIANANTC 5786 40 6.4.5 Resultados y cálculos La resistencia de aislamiento de cada probeta se debe calcular como sigue: IR = LRsF en donde IR = resistencia de aislamiento calculada, GΩ⋅m L = longitud de la probeta de ensayo, m Rs = resistencia de aislamiento medida de la probeta, GΩ F = factor de corrección de temperatura en donde sea aplicable (véase el Anexo E) ó IR = (L/1 000)RsF en donde IR = resistencia de aislamiento calculada, MΩ⋅1 000 pies L = longitud de la probeta de ensayo, pies Rs = resistencia de aislamiento medida de la probeta, MΩ F = factor de corrección de temperatura en donde sea aplicable (véase el Anexo E) La resistencia de aislamiento (IR) deben ser los resultados promediados de las probetas ensayadas. 6.4.6 Informe El informe debe incluir, como mínimo, lo siguiente: a) Temperatura de ensayo, y b) Resultados de la resistencia de aislamiento (temperatura corregida según sea aplicable). 6.5 CAPACITANCIA Y PERMITIVIDAD RELATIVA 6.5.1 Objeto Este ensayo determina el método para medir el cambio en la capacitancia y la permitividad relativa del aislamiento de alambres o cables. 6.5.2 Equipo El equipo debe constar de a) Un puente de capacitancia con capacidad de operar a una tensión sinusoidal o semisinusoidal a una frecuencia de 1 000 Hz a 10 V o menos, ó 60 Hz a 3,15 kV/mm (80 V/mil) de aislamiento.
  • 51.
    NORMA TÉCNICA COLOMBIANANTC 5786 41 b) Un tanque de agua con capacidad de mantener el agua a la temperatura requerida, y c) Un dispositivo de medición de temperatura con una precisión de ± 1 °C. 6.5.3 Preparación de las probetas Se debe retirar cualquier recubrimiento del aislamiento. Ambos extremos de una probeta de 4,6 m (15 pies) deben estar desnudos. 6.5.4 Procedimiento Las secciones centrales de 3 m (10 pies) de las tres probetas se deben sumergir en agua del grifo, y las porciones de cada extremo se deben mantener secas sobre el agua. El período de inmersión debe ser de 14 d. La temperatura del agua y la profundidad de inmersión de la probeta deben ser las mismas siempre que se hagan las lecturas. La capacitancia del aislamiento se debe medir y registrar usando una tensión a una frecuencia de 1 000 Hz ó 60 Hz, por medio de un puente de capacitancia. Cuando se mide a 1 000 Hz, el potencial aplicado al aislamiento no debe exceder 10 V. Cuando se mide a 60 Hz, el potencial aplicado sobre el aislamiento debe dar como resultado un esfuerzo promedio de 3,15 kV/mm de aislamiento ò 80 V/mil de aislamiento. 6.5.5 Resultados y cálculos La capacitancia del aislamiento se debe determinar como el promedio de tres probetas después de inmersión en agua durante 1 d, 7 d y 14 d, a la temperatura especificada en la norma de producto. Cada resultado se debe medir con aproximación al picofaradio más cercano. Los incrementos en la capacitancia de 1 d a 14 d y de 7 d a 14 d se deben expresar como porcentajes de los valores de 1 d y 7 d respectivamente. La permitividad relativa (constante dieléctrica) del aislamiento se debe determinar después de 1 d, por medio de la siguiente fórmula: d D xCxr 1060013 log,=∈ en donde r = permitividad relativa C = capacitancia en microfaradios de la porción de 3 050 mm (120 pulgadas) sumergida de la probeta. D = diámetro medido sobre el aislamiento, mm (pulgada) d = diámetro medido bajo el aislamiento, mm (pulgadas) 6.5.6 Informe El informe debe incluir, como mínimo, lo siguiente: a) cambio porcentual en la capacitancia de 1 d a 14 d, y de 7 d a 14 d. b) frecuencia y tensión aplicadas.
  • 52.
    NORMA TÉCNICA COLOMBIANANTC 5786 42 c) permitividad relativa, y d) temperatura del agua 6.6 FACTOR DE ESTABILIDAD 6.6.1 Alcance Este ensayo establece el método para determinar el factor de estabilidad de los conductores con aislamiento. 6.6.2 Equipo El equipo debe constar de: a) un puente de factor de potencia con capacidad de operar a una tensión sinusoidal o semisunoidal a una frecuencia de 60 Hz a 3,15 kV/mm (80 V/mil) y 1,58 kV/mm (40 V/mil) de espesor del aislamiento. b) un tanque de agua con capacidad de mantener agua a la temperatura requerida. c) un horno con circulación forzada de aire, de acuerdo con el numeral 4.2.3(i), y d) un dispositivo de medición de temperatura con una precisión de ± 1 °C. 6.6.3 Preparación de las probetas Se deben tomar tres probetas de 4,6 m (15 pies) de un conductor con aislamiento. Las probetas de conductores con aislamiento no deben tener un separador de conductores y se deben seleccionar antes del ensamble. Para conductores con aislamiento termoestable, las probetas se deben seleccionar mínimo 48 h después de la extrusión, y luego acondicionar a 70,0 °C ± 2,0 °C (158,0 °F ± 2,6 °F) en aire durante 24 h y enfriar a TEMPERATURA AMBIENTE durante 1 h. 6.6.4 Procedimiento 6.6.4.1 Las secciones centrales de 3 m (10 pies) de cada probeta deben estar inmersas continuamente durante 14 d, a la temperatura especificada en la norma de producto. 6.6.4.2 Las porciones del extremo de 1 m (3 pies) de cada probeta se deben mantener secas sobre el agua. Se debe colocar directamente sobre la superficie del agua una tapa bien apretada. El nivel del agua se debe mantener constante. 6.6.4.3 El factor de potencia porcentual de cada probeta se debe medir con una corriente de 60 Hz a esfuerzos promedio de 3,15 y 1,58 kV/mm (80 y 40 V/mil) después de 1 d y 14 d de inmersión total, y cada resultado se debe registrar con aproximación a 0,1 %. 6.6.5 Resultados y cálculos 6.6.5.1 El factor de estabilidad para cada probeta debe ser la diferencia numérica entre los factores de potencia porcentuales medidos a 3,15 y 1,58 kV/mm (80 y 40 V/mil). El factor de estabilidad se debe determinar después de 1 d y después de 14 d, con aproximación a 0,1. 6.6.5.2 La diferencia del factor de estabilidad se debe determinar entonces para cada probeta restando el factor de estabilidad determinado después de 1 d, del factor de estabilidad
  • 53.
    NORMA TÉCNICA COLOMBIANANTC 5786 43 determinado después de 14 d. La diferencia del factor de estabilidad debe ser con aproximación a 0,1. 6.6.6 Informe El informe debe incluir lo siguiente, como mínimo: a) Tensión de ensayo. b) Factores de estabilidad, y c) Diferencias de los factores de estabilidad. 6.7 ENSAYO DE CHISPA 6.7.1 Objeto Este procedimiento establece el método para detectar fallas eléctricas en aislamientos y chaquetas. 6.7.2 Equipo El aparato debe constar de: a) Un transformador con un conductor de su devanado de alta tensión puesto a tierra, y con capacidad de suministrar la tensión de ensayo de c.a necesaria (valor eficaz) dentro de ± 5 % durante el ensayo, mientras el alambre o cable pasa a través del electrodo. Los límites de la frecuencia de la tensión de ensayo deben ser 50 Hz a 4,0 kHz. Una fuente de tensión no debe estar conectada a más de un electrodo. b) Un transformador con un conductor de su devanado de alta tensión y el núcleo del transformador conectados sólidamente a tierra y con capacidad de suministrar la tensión de c.c. necesaria dentro de ± 5 % durante el ensayo, mientras el alambre o cable pasa a través del electrodo. La salida de corriente no debe exceder 5 mA. Después de una falla, la tensión de ensayo de c.c debe recuperar el nivel especificado en la norma de producto en 5 ms o menos, excepto que 610 mm o menos (2 pies) del producto pase a través del electrodo en el tiempo que toma la recuperación de la tensión total. Cualquier ondulación existente no debe exceder el 1 %. Una fuente de tensión no debe estar conectada a más de un electrodo. c) Un electrodo que haga contacto con la superficie de la probeta. No se debe usar un tubo, un resorte en espiral, o similar. Los electrodos deben cumplir lo siguiente: i) Cuando se use un electrodo tipo enlace o de cadena tipo perla, el fondo del cerramiento del electrodo metálico debe ser en forma de V o U. Las cadenas deben tener una longitud apreciablemente mayor que la profundidad del cerramiento, y el ancho del canal debe ser de aproximadamente 40 mm (1,5 pulgadas) más que el diámetro del mayor calibre de alambre que se someterá a ensayo. Los electrodos tipo perla deben tener un diámetro nominal de 2 a 5 mm (0,100 a 0,200 pulgadas). La separación longitudinal de las cadenas no debe ser superior a 13 mm (0,5 pulgadas). La separación transversal de las cadenas no debe ser superior a 10 mm (0,375 pulgadas), pero no debe ser superior a 13 mm (0,5 pulgadas) si las filas transversales de cadenas están escalonadas. Véase la Figura 7.
  • 54.
    NORMA TÉCNICA COLOMBIANANTC 5786 44 ii) Un electrodo tipo escobilla se debe usar únicamente para construcciones anchas y planas. Las cerdas de la escobilla deben tener una longitud apreciablemente superior a la distancia entre los dispositivos de montaje. Las cerdas de la escobilla deben estar muy cercanas entre sí, y la escobilla siempre debe ser más ancha que la probeta que se ensaya. iii) El electrodo debe estar provisto de una pantalla metálica puesta a tierra, o su equivalente, a manera de protección contra contacto con las personas. iv) La longitud del electrodo debe ser suficiente para permitir la aplicación de la tensión durante un mínimo de 9 ciclos completos a la velocidad de funcionamiento y la frecuencia de operación. La longitud del electrodo se debe calcular como sigue: ( ) ( )HzFrecuencia mentofuncionamidemáximaVelocidad mmelectrododelLongitud 150xmin/ )( = o ( ) ( )HzFrecuencia piesentofuncionamidemáximaVelocidad electrododelLongitud 801,min/ )pulgadas( x = d) Un voltímetro con una precisión de ± 5 %, para indicar la tensión de ensayo real que se aplica a la probeta en cualquier momento durante el ensayo. El voltímetro debe ser visible para el operador cuando se lleva a cabo la operación de ensayo de chispa, y e) Un dispositivo que señale una falla en la probeta, y además, un medio para registro o marcado de la ubicación de las fallas de la probeta, o para detener el proceso cuando ocurra una falla. El tiempo de respuesta del dispositivo debe dar como resultado la detección o registro de fallas, con una separación máxima de 610 mm (2 pies) para cualquier velocidad del producto. 6.7.3 Preparación de las probetas 6.7.3.1 Si el conductor proveniente del carrete entregador es desnudo, el conductor se debe conectar a tierra física antes del proceso de aislamiento. 6.7.3.2 Si el conductor proveniente del carrete entregador tiene aislamiento, la conexión se debe hacer en el carrete entregador o en el recogedor. Para cables monoconductores de 5,26 mm2 (10 AWG) y menor tamaño, se debe hacer una conexión a tierra física tanto en los carretes entregadores como en los recogedores, a menos que los conductores hayan sido ensayados para determinar su continuidad y se haya encontrado que esté integro a lo largo de su longitud. 6.7.3.3 Para otras construcciones de cables, los componentes conductores más externos deben estar puestos a tierra física. 6.7.3.4 Cada conexión de tierra física se debe conectar equipotencialmente en forma directa a la tierra física del probador de chispa.
  • 55.
    NORMA TÉCNICA COLOMBIANANTC 5786 45 6.7.4 Procedimiento 6.7.4.1 Ensayo de c.a 6.7.4.1.1 La tensión especificada se debe aplicar entre el electrodo y la tierra, y la probeta se debe mover a través del electrodo. 6.7.4.1.2 La velocidad máxima del alambre se debe determinar mediante la siguiente fórmula: Velocidad máxima (m/min) = (1/150) frecuencia (Hz) x longitud del electrodo (mm) o Velocidad máxima (pies/min) = (5/9) frecuencia (Hz) x longitud del electrodo (pulgada) 6.7.4.2 Ensayo de c.c 6.7.4.2.1 La tensión especificada se debe aplicar entre el electrodo y la tierra, y la probeta se debe mover a través del electrodo. 6.7.4.2.2 La superficie del(los) conductor(es) aislados deben estar en contacto con el electrodo una distancia de 125 mm ± 25 mm (5 pulgada ± 1 pulgada). 6.7.5 Resultados y cálculos Se debe detectar cualquier falla eléctrica del aislamiento o chaqueta. 6.7.6 Informe El informe debe incluir lo siguiente, como mínimo: a) Tensión de ensayo, y b) Número de fallas 6.8 ENSAYO DE ARCO NORMAL 6.8.1 Objeto Este procedimiento establece el método para determinar la resistencia al arco cuando hay exposición a una llama de ensayo especificada. 6.8.2 Equipo El equipo debe constar de: a) Una fuente de tensión de 120 V c. a., que tenga una capacidad que permita el cortocircuito para provocar la abertura de un fusible o interruptor automático de 15 A; b) Un fusible o interruptor automático de 15 A; c) Un indicador conectado a través de la fuente, para indicar cuándo se está aplicando tensión eléctrica a la probeta;
  • 56.
    NORMA TÉCNICA COLOMBIANANTC 5786 46 d) Una mesa o soporte de material no conductor; e) Una campana de humos o gabinete de ensayo de llama; f) Un mechero de gas para uso en laboratorio, que cumpla con la norma IEC 60695-11-20, adecuado para el valor calorífico del gas, con un diámetro interior de 9,5 mm ± 0,3 mm (0,375 pulgadas ± 0,01 pulgada) y una longitud de 100 mm ± 10 mm (4 pulgada ± 0,4 pulgadas) sobre las entradas de ventilación primarias. o un mechero equivalente que cumpla con las especificaciones de calibración o confirmación de la norma IEC 60695-11-20; y g) Una fuente de gas obtenida con uno de los siguientes gases combustibles (todas las mediciones a presión normal de 101 kPa): i) Metano, con pureza de 98 % mínimo, que tenga un contenido calorífico de (37 ± 1) MJ/m3 a 25 °C; o ii) Gas natural, con certificado de contenido calorífico de (37 ± 1) MJ/m3 a 25 °C. NOTA 1 Pueden utilizarse combustibles alternos, tales como propano con una pureza mínima del 96 %, con un contenido calórico de (94 ± 2) MJ/m3 a 25 °C, o butano, con una pureza mínima del 99 %, con un contenido calórico de (120 ± 3) MJ/m3 a 25 °C, si se obtiene llama estable y la evolución calorífica cumple con la norma ASTM D5207, o con la norma IEC 60695-11-20. NOTA 2 El quemador usado está identificado en la norma ISO 10093 como la fuente de encendido P/PF2. 6.8.3 Preparación de probetas La probeta para ensayo debe ser de cualquier longitud adecuada. Un extremo debe cortarse perpendicularmente, cuidando de que los extremos del conductor estén a ras con el extremo cortado de la probeta. La probeta debe colocarse transversalmente en la mesa o soporte, y el extremo cortado perpendicularmente sobresale aproximadamente 100 mm (4 pulgadas) del borde de la mesa. El otro extremo debe prepararse de forma que pueda conectarse a la fuente de tensión. 6.8.4 Procedimiento El ensayo debe llevarse a cabo dentro de la campana de humos o gabinete para ensayo de llama. Debe conectarse una tensión de 120 V corriente alterna entre los conductores de una probeta de dos conductores y entre los conductores de circuito unidos y el conductor de puesta a tierra de una probeta de tres conductores. La punta de los 40 mm (1,5 pulgadas) del cono interior de una llama de ensayo estándar de 125 mm ± 10 mm (5 pulgadas ± 0,4 pulgadas) debe aplicarse a un punto sobre la probeta a 13 mm (0,5 pulgada) del extremo perpendicular durante un período de 2 min o hasta que ocurra arco, cualquiera que ocurra primero. 6.8.5 Resultados y cálculos Debe determinarse la presencia de un arco. 6.8.6 Informe de resultados El informe de resultados debe incluir, como mínimo, lo siguiente: a) tiempo hasta la formación del arco, si se presenta, en segundos; e
  • 57.
    NORMA TÉCNICA COLOMBIANANTC 5786 47 b) indicación de la abertura del circuito, si se presenta. 6.9 ENSAYO DE ARCO POR FLEXIÓN 6.9.1 Objeto Este ensayo establece el método para determinar la resistencia al arco cuando hay exposición a flexión. 6.9.2 Equipo El equipo debe constar de: a) un medio para flexionar la probeta utilizando un ciclo de flexión que consiste en doblar la probeta a una posición de 90° del plano vertical, regresar a 180° de esa posición y después regresar a la vertical; b) una fuente de potencia con capacidad de proporcionar 120 V ± 2 V corriente alterna y la corriente especificada; c) una carga resisitiva eléctrica variable a 120 V ± 2 V; d) un buje con soporte; e) pesos; f) un circuito a 24 V corriente alterna, de 200 mA máximo para detectar la ruptura del conductor y detener el aparato de flexión; y g) un franela decolorada de (8 a 9) m2 /kg ((16 a 17) yardas 2 /libra) y que tenga una trama de aproximadamente 28 por 24. 6.9.3 Preparación de la probeta 6.9.3.1 Se deben someter a ensayo probetas de 1 m (3 pies) de longitud. Las probetas se deben flexionar hasta que se rompan todos los hilos de un conductor de circuito. Los cables planos deben flexionarse de lado, en el buje, no horizontalmente. La flexión debe llevarse a cabo: a) Sujetando la probeta en una máquina de flexión de forma que aproximadamente 60 cm (2 pies) del cordón esté libre para manipularse desde el dispositivo de sujeción (por ejemplo: buje adecuado tipo alivio de esfuerzos); el peso debe aplicarse 215 mm (8,5 pulgadas) por debajo del dispositivo de sujeción; y b) Aplicando uno de los siguientes pesos al cordón, cuando la probeta cuelgue del dispositivo de sujeción en la máquina de flexión: Calibre del conductor, mm 2 (AWG) Pesoa, g (libra) ± 2 % 0,824 1,04 1,31 2,08 3,31 (18) (17) (16) (14) (12) 900 (2) 1 130 (2,5) 1 360 (3) 1 810 (4) 2 270 (5)
  • 58.
    NORMA TÉCNICA COLOMBIANANTC 5786 48 6.9.3.2 Después de la rotura de un conductor de circuito, la máquina de flexión debe detenerse automáticamente y la probeta debe examinarse para determinar deterioro del aislamiento. Si hay evidencia de hendidura o grietas en el aislamiento o de hilos del conductor que sobresalen a través del aislamiento, tales probetas deben descartarse y el valor del peso reducirse lo necesario para obtener suficientes probetas que no presenten este deterioro. 6.9.4 Procedimiento 6.9.4.1 Cada probeta debe envolverse apretadamente con cuatro capas sencillas de franela de aproximadamente 5 cm (2 pulgadas) de ancho, centrada sobre el lugar de la rotura en el conductor del circuito, y la combinación de la probeta y la franela se debe sujetar con un buje que se asegura a un soporte metálico montado sobre una base no conductora (véase la Figura 8). 6.9.4.2 El cordón debe colocarse en el buje, de forma que la rotura en el conductor de circuito se localice aproximadamente a 0,6 cm (0,25 pulgadas) de la cara frontal del buje. El buje se debe asegurar en el soporte de manera que su eje esté en posición horizontal. 6.9.4.3 Ambos extremos del conductor de circuito roto deben conectarse a un circuito en serie a 120 V ± 2 V c. a. con una carga resistiva como se muestra en la Figura 9. 6.9.4.4 La resistencia variable debe ajustarse de forma que la corriente apropiada fluya a través del conductor de circuito que se ensaya, de acuerdo con lo siguiente: Calibre del conductor, mm 2 (AWG) Corriente que fluye en el cordón, A 0,824 (18) 10 ± 0,5 1,04 (17) 13 ± 0,5 1,31 (16) 15 ± 0,5 2,08 (14) 20 ± 0,5 3,31 (12) 30 ± 0,5 6.9.4.5 Con la potencia aplicada, la probeta debe sujetarse a aproximadamente 20 cm (8 pulgadas) de la rotura en el conductor de circuito. Se mueve la probeta de forma que el circuito se abra y se cierre a velocidad de 15 a 20 ciclos por minuto. Una apertura y cierre del circuito debe considerarse un ciclo. 6.9.4.6 El circuito debe abrirse y cerrarse durante 20 ciclos. Si no se pueden completar los 20 ciclos sobre una probeta porque el circuito ya no puede abrirse y cerrarse, esta probeta debe descartarse y el procedimiento se debe repetir sobre una probeta nueva. 6.9.4.7 Si antes de completar el ciclo 20 se observa la perforación del aislamiento debido al arco, como se evidencia por el quemado o chamuscado de la franela, el ensayo se debe detener. 6.9.5 Resultados y cálculos Se debe observar si hay presencia de perforación en el aislamiento, o si se han completado los 20 ciclos. 6.9.6 Informe de resultados El informe de resultados debe incluir, como mínimo, lo siguiente: a) Número de ciclo hasta la perforación, si se presenta; e
  • 59.
    NORMA TÉCNICA COLOMBIANANTC 5786 49 b) Indicación de terminación de los 20 ciclos. 6.10 RESISTENCIA DE LA CHAQUETA 6.10.1 Objeto Este ensayo establece el método para medir la resistencia eléctrica del material de una chaqueta. 6.10.2 Equipo El equipo debe constar de: a) Un megohmetro o puente de medición de resistencia de aislamiento del intervalo aplicable, con capacidad de dar lecturas que tengan una precisión del 10 % o menos del valor indicado por el medidor, y de aplicar un potencial de c.c. 500 V a la chaqueta durante 60 s antes de cada lectura; b) Un paño absorbente limpio y sin pelusas; c) Un higrómetro u otro medio apropiado para medir la humedad relativa; y d) Cintas de lámina metálica de 13 mm (0,5 pulgadas) de ancho y de longitud suficiente para rodear la probeta al menos una vez. 6.10.3 Preparación de probetas Debe cortarse una probeta de mínimo 100 mm (4 pulgadas) de longitud de un alambre o cable terminado y someterse a ensayo a una humedad relativa de 50 % ± 20 % de humedad relativa y a TEMPERATURA AMBIENTE. La superficie exterior de toda la longitud de la probeta debe limpiarse con el paño absorbente limpio y sin pelusas. Después de limpiar, no debe haber contacto con la porción central de 50 mm (2 pulgadas) de la probeta. Se deben enrollar apretadamente dos cintas de lámina metálica alrededor del centro de la probeta, separadas entre sí 13 mm ± 1 mm (0,5 pulgadas ± 0,040 pulgadas). No debe haber contacto con la chaqueta entre las cintas durante la aplicación de la lámina o durante el resto del ensayo. Las láminas de papel metálico deben asegurarse y terminarse para permitir la conexión al megohmetro o puente de medición de resistencia de aislamiento. 6.10.4 Procedimiento Cada cinta de lámina metálica debe conectarse al megohmetro o puente de medición de resistencia de aislamiento. La lectura debe tomarse inmediatamente después de aplicar 500 V c.c. a la probeta, durante 60 s. 6.10.5 Resultados y cálculos Debe registrarse la resistencia medida. 6.10.6 Informe El informe debe incluir, como mínimo, el valor de la resistencia medida.
  • 60.
    NORMA TÉCNICA COLOMBIANANTC 5786 50 6.11 ENSAYO DE CORRIENTE DE FUGA A CORRIENTE ALTERNA 6.11.1 Objeto Este ensayo establece el método para la medición de corriente de fuga c.a a través del aislamiento. 6.11.2 Equipo El equipo debe consistir de: a) Una fuente de potencia de 120 V c.a., 48 Hz a 62 Hz; b) Una resistencia de valor conocido, con una precisión de ± 1 %; c) Un voltímetro con una precisión de ± 5 % o mejor; y d) Una lámina metálica. NOTA Es conveniente tener una resistencia de 1 000 Ω y el voltímetro que dé lecturas en milivoltios, ya que en este caso, las lecturas del medidor son numéricamente iguales al flujo de corriente en microamperios por 3 m (10 pies). 6.11.3 Preparación de probetas 6.11.3.1 Parte 1 Debe cortarse una probeta de 3 m (10 pies) de longitud, de un alambre o cable terminado y formado en una bobina de 2 vueltas completas y colocada sobre una superficie no conductora. Un extremo de la probeta debe cortarse al ras y perpendicular a su eje, y al otro extremo, todos los conductores deben prepararse para conexión eléctrica. 6.11.3.2 Parte 2 Debe cortarse una probeta de 3 m de longitud, de un alambre o cable terminado. La longitud total debe enderezarse y envolverse apretadamente con una lámina metálica y colocarse sobre una superficie no conductora. Un extremo de la probeta debe cortarse al ras y perpendicular a su eje, y al otro extremo, el conductor de puesta a tierra debe cortarse al ras con la chaqueta y los conductores de circuito deben prepararse para conexión eléctrica. 6.11.4 Procedimiento 6.11.4.1 Parte 1 Los conductores de circuito y el conductor de puesta a tierra de la probeta descrito en el numeral 6.11.3.1 deben conectarse a una fuente de potencia de 120 V c.a. con la resistencia en serie. Véase la Figura 10. El voltímetro debe conectarse a través de la resistencia. Los conductores del circuito deben energizarse por separado y se debe registrar la lectura del voltímetro para cada uno. 6.11.4.2 Parte 2 Los conductores de circuito de la probeta descrita en el numeral 6.11.3.2 y la lámina metálica deben conectarse a una fuente de potencia de 120 V c.a. con la resistencia en serie. Véase la Figura 11. El voltímetro debe conectarse a través de la resistencia. Los conductores de circuito deben energizarse por separado y registrar la lectura del voltímetro para cada uno.
  • 61.
    NORMA TÉCNICA COLOMBIANANTC 5786 51 6.11.5 Resultados y cálculos La corriente de fuga de cada conductor de circuito de ambos probetas debe calcularse dividiendo la lectura del voltímetro entre el valor conocido de la resistencia. 6.11.6 Informe El informe debe incluir, como mínimo, lo siguiente: a) Lecturas del voltímetro de cada conductor de circuito de cada probeta ensayada; b) Valor de la resistencia utilizada; y c) Valores de la corriente de fuga calculados para los conductores de circuito de ambas probetas. 7. ENSAYOS MECÁNICOS PARA ALAMBRES Y CABLES TERMINADOS 7.1 PENETRACIÓN DE MATERIALES EXTRUIDOS 7.1.1 Objeto Este ensayo establece el método para determinar la penetración de material extruido en un conductor cableado. 7.1.2 Equipo El equipo debe consistir en un cepillo de alambre. 7.1.3 Preparación de probetas Debe retirarse una longitud de 75 mm (3 pulgadas) de aislamiento de una muestra de una longitud de conductor cableado terminado, y la superficie exterior del conductor debe limpiarse con un cepillo de alambre para remover el material extruido visible. Los hilos exteriores deben retirarse. 7.1.4 Procedimiento Cuando los hilos exteriores se levanten, el conductor debe examinarse para determinar la presencia de material extruido entre los hilos; la evaluación debe hacerse con VISIÓN NORMAL. 7.1.5 Resultados y cálculos Debe determinarse la presencia de material extruido entre los hilos del cable. 7.1.6 Informe El informe debe incluir, como mínimo, indicación respecto a la presencia de material extruido.
  • 62.
    NORMA TÉCNICA COLOMBIANANTC 5786 52 7.2 CHOQUE TÉRMICO 7.2.1 Objeto Este ensayo establece el método para determinar la capacidad del alambre o cable para soportar esfuerzos termomecánicos. 7.2.2 Equipo El equipo debe consistir en: a) Un horno de circulación forzada de aire, de acuerdo con el numeral 4.2.3, literal (i); b) Un termómetro con una precisión de ± 1 °C. c) Mandriles cilíndricos, con los diámetros especificados en la norma de producto, y d) Un micrómetro o calibrador micrométrico con una resolución y precisión de 0,01 mm (o con una resolución y precisión de 0,001 pulgada). 7.2.3 Preparación de las probetas La probeta se debe cortar de una longitud suficiente que permita enrollarla alrededor del mandril el número de vueltas especificado. 7.2.4 Cada probeta se debe enrollar apretadamente alrededor de un mandril que tenga el diámetro especificado para el número de vueltas especificadas en la norma de producto. Las vueltas sucesivas deben estar en contacto entre sí, y ambos extremos de la probeta se deben mantener firmemente en su sitio. 7.2.4.2 El ensamble del mandril y la probeta se debe colocar en un horno de circulación forzada de aire, durante el tiempo y a la temperatura especificados en la norma de producto. 7.2.4.3 Después del acondicionamiento, el ensamble se debe retirar del horno y enfriar a TEMPERATURA AMBIENTE, se debe retirar el mandril y se debe examinar el espécimen en la superficie externa, con VISIÓN NORMAL. 7.2.4.4 Si se observan depresiones circunferenciales, la probeta se debe dividir longitudinalmente 180°, y la superficie interna de la capa extruida se debe examinar para determinar si hay grietas internas. 7.2.5 Resultados y cálculos Se debe determinar la presencia de grietas. 7.2.6 Informe El informe debe incluir lo siguiente, como mínimo: a) Temperatura de ensayo. b) Duración del ensayo. c) Indicación de grietas.
  • 63.
    NORMA TÉCNICA COLOMBIANANTC 5786 53 7.3 RESISTENCIA AL CHOQUE TÉRMICO 7.3.1 Objeto Este ensayo establece el método para determinar la capacidad del alambre o cable para soportar esfuerzo termomecánicos después de desenrollamiento. 7.3.2 Equipo El aparato debe estar compuesto de: a) Un horno de circulación forzada de aire, de acuerdo con el numeral 4.2.3(i); b) Un termómetro con una precisión de ± 1 °C; c) Mandriles cilíndricos con los diámetros especificados en la norma de producto, y d) Un micrómetro o calibrador micrométrico con una resolución y precisión de 0,01 mm (o con una resolución y precisión de 0,001 pulgada). 7.3.3 Preparación de probetas La probeta se debe cortar para obtener una longitud suficiente que permita enrollarla alrededor de un mandril el número especificado de vueltas. 7.3.4 Procedimiento 7.3.4.1 Cada probeta se debe enrollar apretadamente alrededor de un mandril que tenga el diámetro especificado para el número de vueltas especificadas en la norma de producto. Las vueltas sucesivas deben estar en contacto entre sí, y ambos extremos de la probeta se deben mantener firmemente en su sitio. 7.3.4.2 El ensamble del mandril y la probeta se debe colocar en un horno de circulación forzada de aire, durante el tiempo y a la temperatura especificados en la norma de producto. 7.3.4.3 Después del acondicionamiento, el ensamble se debe retirar del horno y enfriar a TEMPERATURA AMBIENTE. La probeta se debe desenrollar del mandril y se debe examinar en la superficie externa, con VISIÓN NORMAL. 7.3.4.4 Si se observan depresiones circunferenciales, la probeta se debe dividir longitudinalmente 180°, y la superficie interna de la capa extruida se debe examinar para determinar si hay grietas internas. 7.3.5 Resultados y cálculos Se debe determinar la presencia de grietas. 7.3.6 Informe El informe debe incluir lo siguiente, como mínimo: a) Temperatura de ensayo. b) Duración del ensayo.
  • 64.
    NORMA TÉCNICA COLOMBIANANTC 5786 54 c) Indicación de grietas. 7.4 RETRACCIÓN 7.4.1 Objeto Este ensayo establece el método para determinar la resistencia a la retracción longitudinal del aislamiento del conductor. 7.4.2 Equipo El equipo debe constar de: a) Un tanque lleno con agua, que tenga un controlador de temperatura capaz de mantener el agua a la temperatura requerida ± 3 °C; b) Un termómetro con una precisión de ± 1 °C; y c) Un calibrador micrométrico o microscopio micrómetro óptico con una resolución y precisión de 0,01 mm (o con una resolución y precisión de 0,001 pulgada). 7.4.3 Preparación de probetas Con una longitud de 5 m (16 pies) de conductor macizo debe formarse una bobina suelta de aproximadamente 300 mm (12 pulgadas) de diámetro. Debe tenerse cuidado de que no haya ensortijamiento ni dobleces agudos en la bobina. 7.4.4 Procedimiento 7.4.4.1 La bobina debe sumergirse en agua a 90 °C ± 3 °C con 100 mm a 110 mm (4 pulgadas a 4,4 pulgadas) de cada extremo del alambre sostenidos fuera del agua. Debe tenerse cuidado de minimizar el contacto con las paredes del tanque. Los extremos deben desbastarse al ras en un lapso de 1 min después de la inmersión. 7.4.4.2 Después de 24 h de inmersión, debe medirse la longitud expuesta del conductor a cada extremo, mientras la bobina del conductor aislado está todavía sumergida en el tanque. La medición de la longitud del conductor expuesto debe ser del inicio del corte al aislamiento provocado por la herramienta de corte. 7.4.4.3 Si después de 24 h la longitud de conductor expuesta en ambos extremos excede 3 mm (0,12 pulgadas), el ensayo debe continuar por un período adicional de 6 días y se debe medir la longitud del conductor expuesto en cada extremo de la probeta medida. 7.4.5 Resultados y cálculos Deben registrarse las longitudes de conductor expuestas en cada extremo de la bobina. 7.4.6 Informe El informe de resultados debe incluir, como mínimo, las longitudes de conductor expuestas en cada extremo.
  • 65.
    NORMA TÉCNICA COLOMBIANANTC 5786 55 7.5 DOBLADO EN FRÍO 7.5.1 Objeto Este ensayo establece el método para determinar la resistencia al agrietamiento de componentes de alambre o cable durante doblado a baja temperatura. El equipo debe constar de: a) Una cámara de baja temperatura, con capacidad de mantener la temperatura especificada dentro de ± 1 °C. b) Un termómetro con una precisión de ± 1 °C; c) un micrómetro o calibrador micrométrico con una precisión de 0,01 mm (o con una resolución y precisión de 0,001 pulgada); d) Mandriles cilíndricos, con los diámetros especificados en la norma de producto, y e) Guantes con aislamiento térmico. 7.5.3 Preparación de las probetas La probeta debe cortarse a una longitud suficiente que permita llevar a cabo el ensayo y se debe enderezar. 7.5.4 Procedimiento 7.5.4.1 La probeta y el mandril se deben colocar en la cámara fría a la temperatura y duración especificadas en la norma de producto. Mientras está en la cámara, la probeta se debe doblar alrededor del mandril. El doblado debe comenzar lo más rápido posible, a una velocidad tal, que el tiempo que tome hacer el número de vueltas especificadas esté dentro de 30 s. El cable plano se debe enrollar sobre su lado plano. 7.5.4.2 Cuando no hay espacio suficiente en la cámara para el mandril o para el doblado de la probeta, el doblado se puede llevar a cabo fuera de la cámara fría. El doblado debe comenzar lo más rápido posible. En caso de que el mandril sea demasiado grande y no se pueda colocar en la cámara, se debe mantener a TEMPERATURA AMBIENTE. En cualquier caso, el doblado se debe completar en 30 s desde el momento en que se abre la cámara. 7.5.4.3 Si no se especifica la tensión sobre la probeta, debe ser suficiente para hacer que la probeta se ajuste al contorno del mandril. A menos que la rotación del mandril se lleve a cabo en forma remota, la probeta y el mandril se deben manipular usando guantes con aislamiento térmico. 7.5.4.4 Ya sea que la probeta esté en el mandril o fuera de él, se debe dejar que regrese a TEMPERATURA AMBIENTE, y se debe enderezar. Las superficies interna o externa de los componentes se deben examinar para determinar si hay agrietamiento. 7.5.5 Resultados y cálculos Se debe registrar la presencia de grietas, en caso de que las haya.
  • 66.
    NORMA TÉCNICA COLOMBIANANTC 5786 56 7.5.6 Informe El informe debe incluir lo siguiente, como mínimo: a) Temperatura del ensayo, e b) Indicación de agrietamiento, si lo hay. 7.6 IMPACTO EN FRÍO 7.6.1 Objeto Este ensayo establece el método para determinar la resistencia de los componentes de alambre o cable al agrietamiento, cuando se someten a un impacto a bajas temperaturas. 7.6.2 Equipo El equipo debe constar de: a) Una cámara de baja temperatura con capacidad de mantener la temperatura especificada dentro de ± 1 °C; b) Un termómetro con una precisión de ± 1 °C; c) Un aparato de impacto con un medio para guiar y permitir el impacto de una masa que cae libremente sin restricciones desde una altura mínima de 915 mm (36 pulgadas). El aparato debe tener capacidad de mantener la cara de la masa de impacto perpendicular a la probeta que sufre el impacto. El aparato que aplica el impacto debe estar equipado con un mecanismo de bloqueo que permita liberar la masa desde la altura especificada; d) Una masa metálica de impacto, de 1,36 kg (3 lb) -0 + 2 %, con una cara de acero plana de impacto de 13 mm (0,5 pulgadas) de espesor mínimo y un diámetro de 25 mm (1 pulgada) -2, +0 % con bordes redondeados; y e) Yunques fijos de madera de abeto, con una sección transversal nominal de 90 x 40 mm (3,5 x 1,5 pulgadas) y una longitud mínima de 200 mm (8 pulgadas). 7.6.3 Preparación de probetas Deben cortarse diez probetas de una longitud de 130 mm ± 6 mm (5 pulgadas ± 0,25 pulgadas). Las probetas deben enderezarse y colocarse en la cámara fría, junto con los yunques de madera, a la temperatura especificada en la norma de producto, por una duración mínima de 4 h. 7.6.4 Procedimiento 7.6.4.1 La masa de impacto debe asegurarse con su cara a una altura de 915 mm (36 pulgadas) -0, +2 %, sobre la superficie superior de la probeta. 7.6.4.2 Después del acondicionamiento, un yunque de madera debe colocarse a un soporte sólido que no absorba el impacto.
  • 67.
    NORMA TÉCNICA COLOMBIANANTC 5786 57 7.6.4.3 Se debe centrar una probeta acondicionada en el área de impacto y en la dirección del grano del yunque de madera. Para probetas que no son circulares, debe impactarse el lado más plano. Las probetas no deben colocarse dentro de 25 mm (1 pulgada) de cualquier imperfección o nudo que haya en el yunque de madera. 7.6.4.4 La masa de impacto se debe liberar para que impacte la probeta. Si el ensayo se realiza fuera de la cámara de baja temperatura, éste debe completarse dentro de 5 s después de retirar la probeta de la cámara. La masa debe golpear la probeta una sola vez. 7.6.4.5 La masa de impacto debe colocarse y asegurarse para otro ensayo. El procedimiento descrito en los numerales 7.6.4.3 y 7.6.4.4 debe repetirse sobre el resto de las 10 probetas. El procedimiento completo descrito en los numerales 7.6.4.2 a 7.6.4.4 debe completarse en un período de 3 min. 7.6.4.6 No debe utilizarse el yunque de madera para someter a ensayo más de 10 probetas. 7.6.4.7 Las probetas se deben dejar reposar durante 1 h como mínimo a TEMPERATURA AMBIENTE, y luego se deben examinar para detectar grietas, rupturas u otro daño a las superficies de los componentes no metálicos del cable. La examinación debe hacerse con VISIÓN NORMAL. 7.6.5 Resultados y cálculos Debe registrarse el número de probetas que muestren grietas, rupturas u otro daño. 7.6.6 Informe El informe debe incluir lo siguiente, como mínimo: a) Temperatura de ensayo; y b) Número de probetas que muestren grietas, rupturas u otro daño. 7.7 DEFORMACIÓN 7.7.1 Objeto Este ensayo establece el método para determinar la resistencia a la deformación del aislamiento o chaqueta del alambre o cable a temperaturas elevadas. 7.7.2 Equipo El equipo debe estar compuesto de: a) Un horno de circulación forzada de aire, de acuerdo con el numeral 4.2.3, literal (i); b) Un termómetro con una precisión de ± 1 °C; c) Un micrómetro de carátula que tenga superficies planas tanto en la mordaza fija como en el extremo del husillo, con un diámetro de 6,4 mm (0,25 pulgada ± 0,01 pulgada) y que ejerza una fuerza de 0,10 N a 0,83 N ((0,022 a 0,187) libra/fuerza) y con una resolución y precisión de 0,01 mm (o con una resolución y precisión de 0,001 pulgada); y
  • 68.
    NORMA TÉCNICA COLOMBIANANTC 5786 58 d) un peso como se especifica en la norma de producto. El extremo del peso previsto para sostener la probeta debe tener un pie plano con un diámetro de 9,5 mm (0,375 pulgadas), bordes ligeramente redondeados y debe estar montado en un marco, de manera que permita movimiento vertical libre (véase la Figura 12). 7.7.3 Preparación de las probetas Las probetas se deben tomar del alambre, cable o cordón terminado o durante la fabricación. Las probetas deben medir 25 mm (1 pulgada) de longitud, y en donde se requiera, debe estar en la condición en que se recibió, con recubrimientos, si los hay, puestos o no, según se requiera, o en forma de una banda lisa con un ancho máximo de 14 mm (0,56 pulgadas) y con espesor uniforme. 7.7.4 Procedimiento 7.7.4.1 La probeta de ensayo se debe marcar en la posición en la que el pie de la masa se va a colocar sobre la probeta. En esta posición marcada se debe determinar el espesor inicial de una probeta en la condición en la que se recibió, como se indica en el numeral 4.1.4.2.2, excepto que sólo se debe hacer una medición en la posición marcada. El espesor inicial de una probeta pulida se debe medir directamente usando un micrómetro de carátula, como se describe en el numeral 7.7.2. 7.7.4.2 El equipo de ensayo y la probeta se deben acondicionar en el horno de aire a la temperatura especificada durante 1 h, a menos que se especifique algo diferente en la norma de producto. Al finalizar este período, con la probeta aún en el horno, se debe colocar bajo el pie de la masa en la posición marcada, y debe permanecer bajo ensayo en estas condiciones durante 1 h, a menos que se especifique algo diferente en la norma de producto. 7.7.4.3 Al finalizar este período, la probeta se debe retirar cuidadosamente del pie de la masa. En un lapso de 15 s después de retirada se debe medir el espesor en la posición marcada, usando el método descrito en el numeral 7.7.4.1. 7.7.5 Resultados y cálculos El porcentaje de deformación se debe calcular utilizando la siguiente fórmula: ( ) 100 1 21 x T TT − en donde T1 = espesor antes del ensayo, mm (pulgada) T2 = espesor después del ensayo, mm (pulgada) 7.7.6 Informe El informe debe incluir lo siguiente, como mínimo: a) La temperatura de ensayo, y b) El porcentaje de deformación.
  • 69.
    NORMA TÉCNICA COLOMBIANANTC 5786 59 7.8 CEDENCIA GRADUAL POR CALOR (HOT CREEP) - ELONGACIÓN Y DEFORMACIÓN REMANENTE (HOT CREEP SET) 7.8.1 Objeto Este ensayo establece el método para determinar la elongación y la deformación remanente después de exposición a temperatura elevada. 7.8.2 Equipo a) El equipo como se describe en el numeral 4.2.3, literales (c), (e), (f), (l), (m), (n) y (p); b) Un horno de circulación de aire de acuerdo con el numeral 4.2.3, literal (i), excepto con una ventana de observación, y c) Un dispositivo de ensayo como se ilustra en la Figura 13, con las siguientes características: i) Ensamble de agarre superior, con capacidad para suspender la probeta verticalmente. ii) Ensamble de agarre inferior, no sujetado, con capacidad de soportar un peso, y iii) Una escala calibrada, con divisiones de 1 mm (ó 0,1 pulgada) para medir la elongación. 7.8.3 Preparación de las probetas 7.8.3.1 Las probetas se deben tomar de una muestra de aislamiento tomada del alambre o cable terminado o durante la fabricación. Se debe retirar cualquier chaqueta o cubierta. Se debe someter a ensayo una probeta y se deben guardar otras dos como reserva. 7.8.3.2 Para conductores de 8,37 mm2 inclusive (8 AWG), se debe preparar una probeta tubular, de acuerdo con el numeral 4.2.4.2.2. La probeta no se debe cortar longitudinalmente. 7.8.3.3 Para conductores de más de 33,6 mm2 (2 AWG), del aislamiento se debe preparar una probeta cortada con troquel, que tenga un área de sección transversal no mayor de 16 mm2 (0,025 pulgadas2 ), de toda la longitud de la probeta . Una probeta cortada con troquel se debe preparar de acuerdo con el numeral 4.2.4.2.3. 7.8.3.4 Para conductores de 13,3 mm2 a 33,6 mm2 (6 a 2 AWG), se debe permitir una probeta tubular o con troquel. 7.8.4 Procedimiento 7.8.4.1 Generalidades 7.8.4.1.1 El área de sección transversal de la probeta se debe determinar de acuerdo con el numeral 4.2.5.1. 7.8.4.1.2 El peso total se debe calcular como sigue: Wt = área de sección transversal (mm2 ) x 20,4 (gf/mm2 )
  • 70.
    NORMA TÉCNICA COLOMBIANANTC 5786 60 ó Wt = área de sección transversal (pulgada2 ) x 29,0 (libra fuerza/pulgada2 ) en donde Wt = peso total, incluido el ensamble de sujeción y las masas agregadas al ensamble de sujeción inferior, gramo fuerza (libra fuerza). 7.8.4.1.3 A una probeta como se recibió se le deben colocar marcas separadas 25 mm (1 pulgada) entre sí. 7.8.4.2 Elongación 7.8.4.2.1 Una masa, como se determinó en el numeral 7.8.4.1.2, se debe agregar al ensamble de sujeción inferior. 7.8.4.2.2 Un extremo de la probeta se debe unir al ensamble de sujeción superior del dispositivo de ensayo, y el ensamble de sujeción inferior se debe unir al otro extremo de la probeta. La distancia entre los ensambles de sujeción no debe ser superior a 100 mm (4 pulgadas). 7.8.4.2.3 El dispositivo de ensayo con la probeta se debe colocar en el horno de circulación de aire precalentado a 150 °C ± 2 °C. 7.8.4.2.4 Después de 15 min, mientras la probeta está todavía en el horno con la masa colocada, se debe medir con la escala la distancia entre las marcas. Esta distancia (De) se debe registrar con aproximación a 1 mm (ó 0,1 pulgada). 7.8.4.3 Deformación remanente (Hot Creep Set) 7.8.4.3.1 El ensayo de deformación remanente (Hot Creep Set) se debe llevar a cabo en la misma probeta utilizada para el ensayo de elongación, del numeral 7.8.4.2. El ensayo se debe llevar a cabo inmediatamente después del de elongación. 7.8.4.3.2 Sin sacar la probeta del horno, se debe retirar de ésta el ensamble de sujeción inferior. La puerta del horno se debe cerrar inmediatamente para minimizar el enfriamiento de la probeta. Ésta debe permanecer en el horno durante 5 min. 7.8.4.3.3 La probeta se debe retirar del horno y del dispositivo de ensayo, y dejar a TEMPERATURA AMBIENTE al menos durante 1 h. 7.8.4.3.4 La distancia (Ds) entre las marcas se debe medir con aproximación a 1 mm (ó 0,1 pulgada), y se debe registrar usando la escala descrita en el numeral 4.2.3, literal (n). 7.8.5 Resultados y cálculos 7.8.5.1 La elongación se debe calcular de la siguiente manera: ( ) G GD C e − = x100 en donde C = elongación, % De = distancia entre las marcas obtenidas en el numeral 7.8.4.2.4.
  • 71.
    NORMA TÉCNICA COLOMBIANANTC 5786 61 G = distancia original entre marcas. NOTA Las dimensiones pueden ser en milímetros o pulgadas, siempre y cuando sean consistentes en todos los cálculos. 7.8.5.2 La deformación remanente (Hot Creep Set) se debe calcular de la siguiente manera (el resultado puede ser positivo o negativo): ( ) G GD S s − = x100 en donde S = deformación remanente (Hot Creep Set), % Ds = distancia entre las marcas obtenidas en el numeral 7.8.4.3.4. G = distancia original entre marcas. 7.8.5.3 Si la probeta no cumple con los requisitos de elongación o deformación remanente especificados en la norma de producto, cada ensayo se debe repetir en las dos probetas reservadas. Los valores para elongación y deformación remanente se deben determinar de los promedios de las tres probetas. 7.8.6 Informe El informe debe incluir lo siguiente, como mínimo: a) Elongación, %, y b) deformación remanente (Hot Creep Set), % 7.9 RESISTENCIA A LA ABRASIÓN 7.9.1 Objetivo Este ensayo establece el método para determinar la resistencia a la abrasión. 7.9.2 Equipo El equipo debe constar de: a) Un mecanismo de vaivén horizontal (movimiento armónico simple) que tenga una longitud de recorrido de 160 mm (6,25 pulgadas) ± 5 % que realice 28 ± 1 ciclos/min (véase la Figura 14. El diseño y dimensiones del equipo son típicas, pero no son un requisito). Un ciclo consiste en un movimiento completo de ida y vuelta; b) Una masa como la especificada por la norma de producto; c) Un medio de abrasión, tal como una lija de grado medio que tenga 7,5 % de grano 60, 77,5 % de grano 80 y 15 % de grano 100 y más fino; d) Una superficie cilíndrica no rotatoria, arco mínimo de 90° con un radio de 90 mm (3,5 pulgadas) ± 1 %; y e) Un dispositivo de conteo para registrar el número de ciclos.
  • 72.
    NORMA TÉCNICA COLOMBIANANTC 5786 62 7.9.3 Preparación de las probetas Deben tomarse seis probetas rectas de una muestra de alambre o cable terminado o durante su fabricación. El calibre del conductor debe ser como se especifica en la norma de producto. Cada probeta debe ser de una longitud de 1 m (40 pulgadas) ± 10 % y se debe someter a ensayo sin acondicionamiento. 7.9.4 Procedimiento 7.9.4.1 Los aparatos de ensayo y las probetas deben estar en equilibrio térmico con el aire que les rodea a temperatura ambiente, durante el tiempo del ensayo. 7.9.4.2 Un extremo de cada probeta debe fijarse al mecanismo de vaivén mientras está en un extremo de su recorrido. El otro extremo de cada probeta debe fijarse a una masa como se define en la norma de producto. Cada probeta debe colocarse sobre la cuarta parte del cilindro. La superficie exterior del cilindro debe tener adherida una lija sin utilizar, como se describe en el numeral 7.9.2. El eje longitudinal del cilindro debe ser horizontal y perpendicular a las probetas de ensayo en cada uno de los planos verticales. 7.9.4.3 Debe iniciarse el mecanismo de vaivén. Cada ciclo debe constar de un movimiento completo de ida y vuelta, con un recorrido de 160 mm (6,25 pulgadas) ± 5 %. El mecanismo de vaivén debe detenerse cada 50 ciclos y la lija se debe correr ligeramente a un lado, de forma que en los ciclos posteriores cada probeta sea frotada por una parte no usada de la lija. 7.9.4.4 Cada probeta debe friccionarse por el número de ciclos especificado en la norma de producto. 7.9.4.5 Cada probeta debe examinarse para determinar la exposición del conductor. 7.9.5 Resultados y cálculos Se debe determinar la exposición del conductor en cualquiera de las 6 probetas. 7.9.6 Informe El informe de resultados debe incluir, como mínimo, la exposición del conductor, si se presenta. 7.10 RESISTENCIA AL APLASTAMIENTO 7.10.1 Objeto Este ensayo especifica el método para determinar la resistencia del aislamiento o cubierta, o ambos, al aplastamiento. 7.10.2 Equipo El equipo debe constar de: a) Una máquina de compresión mecánica, con un dispositivo para medir e indicar la fuerza de compresión a la rotura con una precisión de 2 % o menos del valor leído. La máquina debe estar en capacidad de operar a una velocidad de mordaza eléctrica de (10 ± 1) mm/min ((0,5 ± 0,05) pulgadas/min).
  • 73.
    NORMA TÉCNICA COLOMBIANANTC 5786 63 b) Dos bases de acero planas de 50 mm (2 pulgadas) de ancho; c) Una barrena de acero sólido de 19 mm de diámetro, de la misma longitud de la base; y d) Una fuente de energía de 30 V c.c. o menor, con un medio para indicar el contacto entre el conductor y la base o barrena de acero. 7.10.3 Preparación de probetas 7.10.3.1 La probeta de ensayo debe tomarse de una muestra de alambre o cable terminado o durante su fabricación, sin ningún acondicionamiento. La probeta debe ser de 2 500 mm (100 pulgadas) de longitud mínimo. Un extremo del conductor debe estar desnudo. 7.10.3.2 El extremo desnudo de la probeta debe conectarse a un lado de la fuente de energía. Ambas bases deben conectarse al otro lado de la fuente de energía. 7.10.4 Procedimiento 7.10.4.1 Método 1 (dos bases de metal) 7.10.4.1.1 Cada base de acero debe montarse horizontalmente en la máquina de compresión. Los ejes longitudinales de las bases deben estar en el mismo plano vertical. La probeta, el equipo y el aire circundante deben estar en equilibrio térmico a temperatura ambiente. 7.10.4.1.2 El primer punto de ensayo en la probeta debe estar centrado en la base inferior y paralelo a la dimensión de 50 mm (2 pulgadas). La base superior de acero debe bajarse hasta entrar en contacto con la superficie de la probeta. El movimiento descendente de la base debe continuarse a la velocidad especificada hasta que el indicador señale que hay contacto. 7.10.4.1.3 Debe registrarse la fuerza indicada por la máquina de compresión al momento de contacto. El procedimiento debe repetirse en nueve puntos de ensayo adicionales separados uniformemente en la longitud de la probeta. Estos puntos deben estar separados al menos 250 mm (10 pulgadas) y al menos a 125 mm (5 pulgadas) de cada extremo de la probeta. 7.10.4.2 Método 2 (barreno y base) El ensayo debe desarrollarse como se describe en el numeral 7.10.4.1, excepto que una varilla de acero macizo como la descrito en el numeral 7.10.2 debe atornillarse o asegurarse de otra manera en la parte central de cada base, perpendicular a la dimensión de 50 mm (2 pulgadas). 7.10.5 Resultados y cálculos Debe calcularse el promedio de los diez resultados. 7.10.6 Informe El informe de resultados debe incluir, como mínimo, las fuerzas de compresión individuales y promedio al contacto.
  • 74.
    NORMA TÉCNICA COLOMBIANANTC 5786 64 7.11 RESISTENCIA AL IMPACTO 7.11.1 Objetivo Este ensayo especifica el método para determinar la resistencia del aislamiento o cubierta o ambos, al impacto por una masa en caída libre. 7.11.2 Equipo El equipo debe constar de: a) Un aparato de impacto con un medio para guiar y permitir que la masa de impacto caiga libremente sin limitaciones desde una altura mínima de 610 mm (24 pulgadas) (véase la Figura 15). El equipo debe estar en capacidad de mantener la superficie de la masa de impacto perpendicular a la probeta en el momento del impacto. El equipo para aplicar el impacto se debe suministrar con un mecanismo de seguro que permita liberar la masa desde la altura especificada; b) Una masa de impacto, de acero, de 0,454 kg (1 lb) -0 % +2 %, de 38 mm (1,5 pulgadas) -2, +0 % de diámetro y nominalmente 51 mm de longitud (2 pulgadas), con bordes redondeados; c) Un yunque para impacto, compuesto por un bloque rectangular de acero sólido, de 200 mm (8 pulgadas) nominales de longitud, 150 mm (6 pulgadas) de ancho y 105 mm (4,125 pulgadas) de altura, asegurada a un soporte rígido; y d) Una fuente de energía de 120 V c.a., con capacidad para indicar el contacto entre el conductor y la masa de impacto o yunque. El circuito debe accionar y mantener la señal sobre cualquier contacto momentáneo. 7.11.3 Preparación de probetas La probeta de ensayo debe tomarse de una muestra de alambre o cable terminado, o durante su fabricación sin ningún acondicionamiento previo. La probeta debe ser de 2 500 mm (100 pulgadas) mínimo de longitud. Un extremo del conductor debe estar desnudo. 7.11.4 Procedimiento 7.11.4.1 La probeta, el yunque, la masa y el resto del equipo de ensayo debe estar en equilibrio térmico a temperatura ambiente. 7.11.4.2 El extremo desnudo de la probeta debe conectarse al lado energizado de la fuente de energía. El aparato de impacto y el yunque deben conectarse al lado neutro de la fuente de energía. El aparato de impacto y el yunque deben además estar puestos a tierra. 7.11.4.3 El ensayo debe hacerse en diez puntos que estén separados uniformemente en toda la longitud de la probeta, al menos 250 mm entre ellos y al menos 125 mm (5 pulgadas) de cada extremo de la probeta. 7.11.4.4 La masa debe colocarse y asegurarse de forma tal que la cara de impacto de la masa esté a 610 mm (24 pulgadas) -0 %, +2 % sobre la superficie superior del probeta. La probeta debe colocarse a lo ancho del yunque. El punto de impacto de la probeta debe centrarse en el área de impacto del yunque.
  • 75.
    NORMA TÉCNICA COLOMBIANANTC 5786 65 7.11.4.5 La masa se debe liberar y dejar caer libremente a través la guía. La masa debe golpear la probeta una sola vez, inmediatamente después debe colocarla y asegurarla a una altura de 610 mm (24 pulgada) para impedir golpes repetitivos sobre la probeta. 7.11.4.6 El ensayo debe repetirse sobre los nueve puntos de ensayo restantes de la probeta, como se describe en los numerales 7.11.4.4 y 7.11.4.5. 7.11.5 Resultados y cálculos Debe registrarse el(los) contacto(s) como evidencia de accionamiento del indicador. 7.11.6 Informe El informe debe incluir, como mínimo, el número de contactos. 7.12 RUPTURA DIELÉCTRICA DESPUÉS DE IMPACTO OBLICUO 7.12.1 Objeto Este ensayo especifica el método para determinar la retención de la tensión de ruptura eléctrica del aislamiento o cubierta, o ambos, de un conductor después de un impacto oblicuo. 7.12.2 Equipo El equipo debe constar de: a) Un transformador de aislamiento con capacidad de proporcionar un potencial de ensayo de 48 Hz a 62 Hz, cuyo potencial de salida es continuamente variable desde cerca de cero a la tensión de ruptura; b) Un voltímetro con una precisión de ± 5 % en el lado de alta tensión del transformador. Si es analógico, debe tener un tiempo de respuesta que no introduzca un error de retraso mayor del 1 % de la escala completa a la velocidad especificada de incremento de la tensión; c) Un indicador de corriente de falla; d) Un tanque lleno con agua a temperatura ambiente; e) Un medio de puesta a tierra con una impedancia máxima de 15 Ω; y f) Un aparato para aplicar un impacto oblicuo a una probeta de alambre, como se ilustra en la Figura 15, que tenga las características siguientes: i) Un yunque de madera de roble, con una sección transversal nominal de 50 mm x 100 mm (2 x 4 pulgadas) y 250 mm (10 pulgadas) de longitud, sostenida rígidamente a 45 ± 2° de la horizontal; ii) Un medio para sujetar los extremos de la probeta de ensayo al yunque; iii) Una masa de impacto de 0,454 kg (1 lb) –0, +2 %, compuesta por un cilindro de acero macizo de 20 mm (0,75 pulgadas) -2, +0 % de diámetro que tenga todas las superficies lisas y un extremo redondeado en forma hemisférica, y
  • 76.
    NORMA TÉCNICA COLOMBIANANTC 5786 66 iv) Un tubo para contener y guiar la masa de impacto, que tenga un diámetro interno de 22 mm (0,82 pulgadas) -0 % +2 %, montado sobre el yunque en posición vertical. 7.12.3 Preparación de probetas La probeta de ensayo debe tomarse de una muestra de alambre o cable sólido de 2,08 mm2 (14 AWG) terminado o durante su fabricación, sin ningún acondicionamiento. La muestra debe cortarse en doce probetas de una longitud nominal de 380 mm (15 pulgadas) de longitud. Un extremo del conductor en cada una de las probetas debe estar desnudo y cada probeta debe enderezarse. La probeta y el aparato deben estar a temperatura ambiente. 7.12.4 Procedimiento 7.12.4.1 La probeta, el yunque, la masa y el resto del equipo de ensayo deben estar en equilibrio térmico a temperatura ambiente. 7.12.4.2 La probeta debe sujetarse a lo largo del eje longitudinal del yunque y centrarse sobre el área de impacto. La masa de impacto debe colocarse en el tubo guía, con el extremo hemisférico hacia abajo y 460 mm (18 pulgadas) -0 +2 % sobre el punto medio de la probeta. La masa de impacto se debe liberar y dejar caer libremente, para que golpee la probeta una sola vez. La probeta debe retirarse del aparato. 7.12.4.3 El proceso de impacto debe repetirse sobre cinco probetas adicionales. Después de cada grupo de seis impactos oblicuos, el yunque debe examinarse para determinar si presenta daños. Si es evidente la presencia de daños en éste, debe sustituirse. 7.12.4.4 Una probeta debe sumergirse en agua, excepto en los extremos. Los extremos de la probeta deben separarse del electrodo de agua puesto a tierra, una distancia suficiente para impedir el efecto corona o flameo en los extremos durante la aplicación de la tensión de ensayo. La tensión de ensayo debe aplicarse entre el conductor aislado y el electrodo de agua puesto a tierra, e incrementarse a una velocidad uniforme de 10 V/s a 60 V/s hasta que ocurra la ruptura dieléctrica del aislamiento. Debe registrarse la tensión de ruptura. 7.12.4.5 El procedimiento descrito en el numeral 7.12.4.4 debe llevarse a cabo en todas las probetas. 7.12.5 Resultados y cálculos 7.12.5.1 El accionamiento del indicador de falla debe ser evidencia de ruptura dieléctrica. Debe calcularse la tensión de ruptura promedio para las seis probetas que se sometieron al impacto oblicuo descrito en el numeral 7.12.4.2. Uno de los valores de ruptura individual puede descartarse si se diferencia ampliamente de los otros valores individuales. 7.12.5.2 Debe calcularse la tensión de ruptura promedio para las seis probetas que no se sometieron al impacto oblicuo. 7.12.5.3 Debe calcularse la relación entre la tensión de ruptura promedio de las probetas sometidas a impacto oblicuo, y la tensión de ruptura promedio de las probetas que no se sometieron al impacto. 7.12.6 Informe El informe debe incluir, como mínimo, lo siguiente:
  • 77.
    NORMA TÉCNICA COLOMBIANANTC 5786 67 a) Tensión de ruptura promedio para probetas no sometidas al impacto oblicuo; b) Tensión de ruptura promedio para probetas sometidas al impacto oblicuo; c) Relación entre la tensión de ruptura promedio de las probetas sometidas a impacto oblicuo, y la tensión de ruptura promedio de las probetas no sometidas a impacto; y d) Valores de tensión de ruptura que se descartaron, si los hay. 7.13 FLEXIBILIDAD A TEMPERATURA AMBIENTE DESPUÉS DE ENVEJECIMIENTO 7.13.1 Objeto Este ensayo establece el método para determinar la flexibilidad del alambre o cable a temperatura ambiente después de envejecimiento. 7.13.2 Equipo a) Un horno con circulación forzada de aire, de acuerdo con el numeral 4.2.3, literal (i): b) Un termómetro con una precisión de ± 1 °C, y c) Mandriles cilíndricos con los diámetros especificados en la norma de producto. 7.13.3 Preparación de la probeta La probeta se debe tomar de una muestra de alambre o cable terminado, o de alambre o cable durante su fabricación, sin ningún acondicionamiento. La longitud de la probeta debe ser suficiente para permitir enrollarla en el mandril el número de vueltas especificadas en la norma de producto. 7.13.4 Procedimiento 7.13.4.1 La probeta se debe someter a envejecimiento en el horno durante el tiempo y a la temperatura especificada en la norma de producto, y luego se debe retirar inmediatamente del horno. 7.13.4.2 La probeta se debe enrollar en el mandril a una velocidad uniforme de aproximadamente 4 s por vuelta a temperatura ambiente, en un lapso de 16 h a 96 h después de retirarla del horno. 7.13.4.3 Las probetas de conductor de 85,0 mm2 (3/0 AWG) o más pequeñas se deben enrollar apretadamente 4 vueltas adyacentes alrededor del mandril. Las probetas de conductor de calibre mayor de 85,00 mm2 (3/0 AWG) se deben enrollar en el mandril en forma de U de 180°. 7.13.4.4 Todas las superficies de la probeta se deben examinar para determinar la presencia de grietas o hendiduras bajo visión normal. 7.13.5 Resultados y cálculos Se debe registrar la presencia de grietas o hendiduras. 7.13.6 El informe debe incluir, como mínimo, la presencia de grietas o hendidura.
  • 78.
    NORMA TÉCNICA COLOMBIANANTC 5786 68 7.14 FLEXIBILIDAD DE LA CINTA SEPARADORA BAJO UNA CHAQUETA 7.14.1 Objeto Este ensayo establece la integridad de una cinta separadora bajo una chaqueta después de flexión a temperatura ambiente. 7.14.2 Equipo El equipo debe constar de: a) Un micrómetro o calibrador micrométrico con una resolución y exactitud de 0,01 mm (o con una resolución y precisión de 0,001 pulgada); b) Un mandril cilíndrico con el diámetro especificado en la norma de producto; y c) Un termómetro con una exactitud de ±1 °C. 7.14.3 Preparación de probetas La probeta de ensayo debe tomarse de una muestra de alambre o cable terminado, o durante su fabricación sin ningún acondicionamiento previo. La probeta debe cortarse a una longitud suficiente para permitir enrollarse alrededor del mandril el número de vueltas especificadas en la norma de producto; la probeta se debe enderezar. 7.14.4 Procedimiento 7.14.4.1 La probeta debe enrollarse alrededor del mandril el número de vueltas especificadas en la norma de producto. La probeta debe enrollarse a una velocidad uniforme, de manera que la operación se complete dentro de 1 min. Las probetas de cable plano deben enrollarse sobre el lado plano. Las probetas de cable con cinta separadora aplicada longitudinalmente deben enrollarse con la cinta separadora traslapada sobre la cara exterior del mandril. 7.14.4.2 Con la probeta todavía en el mandril, la chaqueta debe abrirse lo suficiente para permitir examinar la(s) cinta(s) separadora(s) y traslapo(s) bajo visión normal. 7.14.5 Resultados y cálculos Debe registrarse la presencia de cualquier grieta o hendidura en la cinta separadora(s) o aberturas del (los) traslapo(s). 7.14.6 Informe El informe debe incluir, como mínimo, la indicación de cualquier grieta o hendidura en la(s) cinta(s) separadora(s) o abertura(s) del(los) traslapo(s). 7.15 HINCHAZÓN Y AMPOLLAMIENTO CUANDO SE SUMERGE EN LÍQUIDO 7.15.1 Objeto Este ensayo establece el método para determinar la resistencia del cable a la hinchazón o ampollamiento.
  • 79.
    NORMA TÉCNICA COLOMBIANANTC 5786 69 7.15.2 Equipos Los equipos deben constar de: a) Un micrómetro de carátula con superficies planas tanto en la mordaza fija como en el extremo del husillo, que ejerza una fuerza de 0,10 N a 0,83 N (0,022 a 0,187 libra fuerza) y con una resolución y precisión de 0,01 mm (o con una resolución y precisión de 0,001 pulgada); b) Un tanque con capacidad de alojar una bobina de cable mientras se mantiene el líquido a la temperatura especificada ± 1 °C; c) Materiales y reactivos especificados en la norma de producto; y d) Un termómetro con una exactitud de ± 1 °C. 7.15.3 Preparación de probetas De una muestra de cable terminado con sección transversal circular, debe tomarse un probeta de ensayo de 10 m (32 pies) nominales. La probeta debe marcarse en cinco puntos de ensayo, utilizando un medio que sea durable en el líquido especificado y que no dañe el cable. Las marcas deben estar separadas 2 m en los puntos a 1 m, 3 m, 5 m, 7 m y 9 m a lo largo de la probeta. 7.15.4 Procedimiento 7.15.4.1 Los diámetros mínimo y máximo de la probeta deben medirse con aproximación a 0,01 mm (ó 0,001 pulgada) en cada uno de los cinco puntos marcados. Debe registrarse cada una de las mediciones. 7.15.4.2 La probeta debe estar embobinada en forma holgada, y se debe sumergir en el tanque manteniendo el líquido a la temperatura especificada en la norma de producto, con ambos extremos de la probeta embobinada extendidos al menos 300 mm (12 pulgadas) sobre el nivel del líquido. 7.15.4.3 La probeta embobinada debe mantenerse sumergida continuamente durante 14 d, después de este tiempo debe retirarse del líquido y desembobinarse a temperatura ambiente. Con un paño limpio y absorbente debe eliminarse todo el líquido que esté en la superficie de la probeta. 7.15.4.4 La probeta debe inspeccionarse bajo visión normal para determinar la presencia de ampollamiento. Deben medirse inmediatamente los diámetros máximo y mínimo de la probeta en cada uno de los cinco puntos marcados. Debe registrarse cada medición. 7.15.5 Resultados y cálculos El incremento en el diámetro debido al hinchamiento debe calcularse de la forma siguiente: I = 100(D-d)/d en donde I = es el porcentaje de incremento debido a hinchamiento. D = es el diámetro promedio de las diez mediciones tomadas después de la inmersión. d = es el diámetro promedio de las diez mediciones tomadas antes de la inmersión.
  • 80.
    NORMA TÉCNICA COLOMBIANANTC 5786 70 NOTA Las dimensiones pueden ser en milímetros o pulgadas, siempre y cuando sean consistentes en todos los cálculos. 7.15.6 Informe El informe debe incluir lo siguiente, como mínimo: a) Líquido de inmersión y su temperatura; b) Evidencia de ampollamiento, si la hay; y c) Incremento en el diámetro, si es aplicable. 7.16 DURABILIDAD DE LA IMPRESIÓN CON TINTA 7.16.1 Objeto Este ensayo establece el método para determinar la durabilidad de la impresión con tinta. 7.16.2 Equipos Los equipos deben constar de: a) Un horno con circulación forzada de aire, de acuerdo con el numeral 4.2.3, literal (i); b) Un termómetro con una precisión de ± 1 °C; c) Un pliego de papel kraft con espesor de 1,2 mm ± 0,25 mm (0,05 ± 0,01 pulgadas), que no tenga más de 30 % de contenido de lana y el resto del compuesto sea rayón; y d) Un bloque con una cara maquinada de 25 mm (1 pulgada) por 50 mm (2 pulgadas) y una altura uniforme, para asegurar una distribución uniforme de la masa en toda el área de la cara inferior. Deben colocarse mordazas u otros medios para asegurar el papel Kraft en su lugar. Sin que se haya colocado el papel kraft, el peso del bloque y las mordazas debe ser de 450 g ± 5 g (1 lb ± 0,01 lb). 7.16.3 Preparación de la probeta Del alambre o cable terminado o durante su fabricación deben tomarse dos probetas que tengan una longitud de 300 mm (12 pulgadas) con la impresión centrada. Las probetas deben manipularse lo mínimo y no se deben frotar, rayar ni limpiar de ninguna forma. 7.16.4 Procedimiento 7.16.4.1 Debe acondicionarse una probeta en el horno de circulación forzada de aire a la temperatura y durante el tiempo especificados en la norma de producto. La otra probeta debe mantenerse a temperatura ambiente por un mínimo de 24 h. 7.16.4.2 Hasta retirarla del horno, la probeta acondicionada se debe dejar en reposo durante un mínimo de 60 min previos al ensayo. Después del período de reposo, la probeta debe colocarse y asegurarse con la impresión hacia arriba y en el centro de la longitud de la probeta, sobre una superficie horizontal sólida y plana.
  • 81.
    NORMA TÉCNICA COLOMBIANANTC 5786 71 7.16.4.3 Con la probeta asegurada en su lugar, la superficie del bloque cubierta con el papel kraft debe colocarse horizontalmente sobre el área impresa de la probeta, con la dimensión de 50 mm (2 pulgadas) de la superficie con papel kraft paralela a la longitud de la probeta. Con el bloque colocado libremente sobre la probeta, se desliza manualmente dicho bloque de lado a lado a lo largo del área impresa de la probeta, para un total de tres ciclos, Cada ciclo consta de un movimiento completo de ida y vuelta que cubre los 250 mm (10 pulgadas) centrales de la probeta. Deben completarse tres ciclos a velocidad uniforme dentro de un total de 5 s a 10 s. 7.16.4.4 El procedimiento descrito en el numeral 7.16.4.3 se debe repetir sobre la probeta restante. 7.16.4.5 El papel kraft puede utilizarse para varios ensayos, pero debe remplazarse tan pronto como la fibra esté aplanada o se ensucie. Cuando no esté en uso, el peso no se debe dejar en reposo sobre la superficie recubierta con el papel. 7.16.5 Resultados y cálculos Se debe examinar con visión normal la legibilidad de ambas probetas, y se debe registrar. 7.16.6 Informe El informe debe incluir, como mínimo, la indicación de legibilidad de la impresión de tinta. 7.17 RECUBRIMIENTO DE COLOR 7.17.1 Objeto Este procedimiento establece un método para determinar la capacidad de una superficie con tinta o recubrimiento de pintura para mantener su adhesión sin afectar perjudicialmente el aislamiento. 7.17.2 Equipos Los equipos deben ser: a) Equipos como los descritos en el numeral 4.2.3, excepto los literales (g) y (h); b) Equipos como los descritos en el numeral 7.13; y c) Equipos como los descritos en el numeral 7.5.2. 7.17.3 Preparación de probetas 7.17.3.1 Generalidades Las probetas, como se especifica en los numerales 7.17.3.2 a 7.17.3.4 deben tomarse de muestras de alambre o cable terminado, o durante su fabricación. 7.17.3.2 Parte 1 Las probetas deben prepararse como se describe en el numeral 4.2.4.
  • 82.
    NORMA TÉCNICA COLOMBIANANTC 5786 72 7.17.3.3 Parte 2 Las probetas deben prepararse como se describe en el numeral 7.13.3. 7.17.3.4 Parte 3 Deben prepararse dos probetas de cualquier longitud conveniente y de color contrastante, una con un recubrimiento de color y la otra sin recubrimiento. Las probetas deben entorcharse juntas seis o más vueltas con una longitud de paso que no exceda 20 veces el diámetro total medido de una probeta. 7.17.4 Procedimiento 7.17.4.1 Parte 1 Las probetas se deben someter a ensayo de acuerdo con los procedimientos descritos en los numerales 4.2.8.1 y 4.2.8.2. 7.17.4.2 Parte 2 Las probetas se deben someter a ensayo de acuerdo con el procedimiento descrito en el numeral 7.13.4, flexibilidad a temperatura ambiente, excepto que la probeta debe examinarse únicamente para determinar si hay escamamiento del recubrimiento. 7.17.4.3 Parte 3 Las probetas deben suspenderse en el horno de aire y acondicionarse a la temperatura especificada durante el período de tiempo especificado. Las probetas deben entonces retirarse del horno y dejarse enfriar a temperatura ambiente durante 1 h, después de lo cual deben desentorcharse y examinarse. Debe medirse la longitud y el ancho del recubrimiento de color transferido a la probeta sin recubrimiento. 7.17.5 Resultados y cálculos 7.17.5.1 Parte 1 El promedio de elongación y resistencia a la rotura deben calcularse de acuerdo con el numeral 4.2.6. 7.17.5.2 Parte 2 Debe registrarse la presencia de escamamiento del recubrimiento. 7.17.5.3 Parte 3 Debe registrarse la longitud y ancho del recubrimiento de color transferido a la probeta sin recubrimiento. 7.17.6 Informe El informe debe incluir lo siguiente, como mínimo: a) Tipo de exposición;
  • 83.
    NORMA TÉCNICA COLOMBIANANTC 5786 73 b) Valores promedio para probetas envejecidas y sin envejecer; c) Valores promedio retenidos; d) Presencia de escamamiento del recubrimiento, si lo hay; y e) Migración del recubrimiento, si lo hay. 7.18 RESISTENCIA MECÁNICA 7.18.1 Objeto Este ensayo establece el método para determinar la capacidad de un cordón para soportar esfuerzo mecánico. 7.18.2 Equipos Los equipos deben constar de: a) Una máquina de ensayo de tensión de acuerdo con lo indicado en el numeral 4.2.3, literal (a); b) Un peso del valor especificado; y c) Dos mordazas con capacidad para mantener sujeta la probeta mientras está bajo tensión sin que ésta sufra daño (véase la Figura 17). Se permiten las pinzas Kellems como una alternativa de medio de sujeción. 7.18.3 Preparación de probetas Debe cortarse una probeta de una muestra de cordón terminado. La longitud de la probeta debe ser suficiente para permitir una separación mínima de 600 mm (2 pies) entre mordazas. 7.18.4 Procedimiento 7.18.4.1 La probeta debe sujetarse y se le debe aplicar gradualmente la carga requerida. 7.18.4.2 Si la carga se aplica utilizando una máquina de ensayo de tensión, la tensión debe incrementarse separando las mordazas a una velocidad de 50 mm/min (2 pulgadas/min) ± 10 % hasta alcanzar la carga especificada. La carga debe mantenerse durante el tiempo especificado, después del cual debe retirarse. 7.18.4.3 Si la carga se aplica elevando el peso, éste se debe centrar directamente bajo el punto de elevación y debe evitarse que rote. La carga debe mantenerse durante el tiempo especificado, después del cual debe retirarse. 7.18.4.4 Debe observarse la probeta para determinar si algún conductor se rompe durante el ensayo, como se evidencia por la incapacidad de la probeta para sostener toda la carga aplicada durante el tiempo especificado. 7.18.5 Resultados y cálculos Debe evaluarse la probeta para determinar la rotura de conductor.
  • 84.
    NORMA TÉCNICA COLOMBIANANTC 5786 74 7.18.6 Informe El informe debe incluir, como mínimo, la indicación de la capacidad de la probeta para soportar el peso especificado durante el período especificado. 7.19 ENSAYO DE FLEXIÓN EN CONDUCTORES CON RECUBRIMIENTO DE NAILON 7.19.1 Objeto Este ensayo establece el método para evaluar la resistencia de un recubrimiento al esfuerzo provocado por flexión. 7.19.2 Equipos Los equipos deben constar de: a) Un horno con circulación forzada de aire, de acuerdo con lo indicado en el numeral 4.2.3, literal (i); b) Un termómetro con precisión de ± 1 °C; c) Un mandril de diámetro apropiado; y d) Un micrómetro con superficies planas tanto en la mordaza fija como en el extremo del husillo, que ejerza una fuerza de 0,10 N a 0,83 N ((0022 a 0,187) libras fuerza), o un micrómetro láser, ambos con una resolución y exactitud de 0,01 mm (o con una resolución y exactitud de 0,001 pulgada). 7.19.3 Preparación de la probeta Debe cortarse una probeta con recubrimiento de longitud mínima de 300 mm de una muestra de alambre o cable terminado o durante su fabricación. La probeta se debe enderezar. 7.19.4 Procedimiento 7.19.4.1 El diámetro del mandril debe determinarse midiendo el diámetro de la probeta. El diámetro del mandril debe ser igual al de la probeta, +0 %, -10 %. En el caso de una construcción paralela, para determinar el diámetro del mandril debe utilizarse la dimensión menor. 7.19.4.2 La probeta debe suspenderse verticalmente en un horno a la temperatura especificada durante el período especificado. Después del acondicionamiento, la probeta debe sacarse del horno. Dentro de un período de 16 h a 96 h a temperatura ambiente, la probeta debe enrollarse 6 vueltas alrededor de un mandril, y cada vuelta debe estar en contacto con la vuelta adyacente. 7.19.4.3 En el caso de una construcción paralela, la probeta debe enrollarse sobre su lado plano alrededor del mandril. 7.19.4.4 La probeta debe examinarse para determinar con visión normal la presencia de grietas, tanto en condición enrollada como desenrollada. 7.19.5 Resultados y cálculos Debe determinarse la presencia de cualquier grieta.
  • 85.
    NORMA TÉCNICA COLOMBIANANTC 5786 75 7.19.6 Informe El informe debe incluir, como mínimo, la presencia de cualquier grieta. 7.20 TENSIÓN MECÁNICA DEL AISLAMIENTO 7.20.1 Objeto Este ensayo establece el método para determinar la tensión mecánica del aislamiento. 7.20.2 Equipos Los equipos deben constar de: a) Un dispositivo de sujeción (prensa de tornillo) para montar la probeta verticalmente; b) Un peso especificado; y c) Un dispositivo de medición con divisiones de 1 mm (0,03 pulgadas). 7.20.3 Preparación de la probeta 7.20.3.1 Monoconductor Una probeta de un conductor aislado, tomada de una muestra de alambre o cable terminado o durante su fabricación, se debe enderezar suavemente y cortar a una longitud de 275 mm (11 pulgadas). La probeta debe tener 50 mm (2 pulgadas) de aislamiento y cualquier separador se debe retirar de un extremo. Se debe colocar una marca de referencia y cualquier separador que presente. Debe colocarse una marca de referencia sobre el conductor en donde entra el aislamiento. El otro extremo de la probeta debe tener el aislamiento cortado longitudinalmente 75 mm (3 pulgadas). El conductor se debe cortar y retirar, y luego se deben encintar juntos nuevamente el aislamiento vacío con cualquier separador. 7.20.3.2 Multiconductor paralelo Una probeta de multiconductor paralelo, tomada de una muestra de alambre o cable terminado o durante su fabricación, se debe enderezar suavemente y cortar a una longitud de 405 mm (16 pulgadas). En ambos extremos de la probeta de los conductores de circuito debe retirarse una longitud de 50 mm (2 pulgadas) de aislamiento y cualquier separador. Debe cortarse un conductor de circuito desnudo a ras con el aislamiento, en un extremo de la probeta, y el otro conductor de circuito desnudo se debe cortar a ras con el aislamiento al otro extremo de la probeta (véase la Figura 18). Cualquier conductor de puesta a tierra debe cortarse a ras con el aislamiento en ambos extremos de la probeta. Las marcas de referencia deben colocarse sobre los conductores en ambos extremos en donde entra el aislamiento. 7.20.4 Procedimiento 7.20.4.1 Monoconductor El peso especificado debe unirse a la probeta amarrando el aislamiento encintado al peso. El conductor desnudo al otro extremo de la probeta debe asegurarse en el ensamble de sujeción, y el peso se debe bajar suavemente y liberarse de forma que esté sostenido por la probeta durante el período especificado. Debe medirse la distancia entre el extremo del aislamiento y la marca de referencia.
  • 86.
    NORMA TÉCNICA COLOMBIANANTC 5786 76 7.20.4.2 Multiconductor paralelo El peso especificado debe unirse a un extremo del conductor de circuito desnudo, y el peso y la probeta unida deben estar sostenidos del extremo desnudo del otro conductor de circuito durante el período especificado. La distancia entre el extremo del aislamiento y la marca de referencia debe medirse en ambos conductores. 7.20.5 Resultados y cálculos Debe registrarse la longitud adicional del conductor desnudo expuesto durante el ensayo. 7.20.6 Informe El informe debe incluir, como mínimo, la longitud adicional del conductor expuesto. 7.21 FLEXIÓN DE CABLES CON PANTALLA 7.21.1 Objeto Este ensayo establece el método para la evaluación de los conductores de cables con pantalla para determinar la resistencia a la ruptura por flexiones repetidas. 7.21.2 Equipos El equipo debe constar de: a) Un aparato de flexión (véase la Figura 19); b) Un contador de ciclos con capacidad para contar un mínimo de 15 000 ciclos; y c) Una fuente de corriente alterna con capacidad de proporcionar la corriente especificada, detectar la rotura del conductor y detener el aparato de flexión. 7.21.3 Preparación de la probeta Seis probetas, cada una de 5 m (15 pies) de longitud, deben cortarse de una muestra de cable con pantalla terminado. Los extremos de los conductores de circuito deben estar desnudos. 7.21.4 Procedimiento 7.21.4.1 Los conductores de circuito en las probetas deben estar conectados en serie con la fuente de corriente y entre sí. 7.21.4.2 El ensayo se debe realizar a temperatura ambiente. Las probetas deben montarse sobre las poleas. Las poleas deben montarse de forma que las probetas estén horizontales cuando pasan entre ellas. El peso, las poleas y la corriente utilizadas en la ensayo deben ser como se especifica en la norma de producto. Las mordazas en los extremos de las probetas deben colocarse como se muestra en la Figura 19. 7.21.4.3 Con las probetas en su lugar y la corriente nominal fluyendo en los conductores de circuito, las dos poleas centrales deben moverse conjuntamente en un movimiento de vaivén horizontal. El movimiento debe ser constante, a razón de 0,4 m/s (1,3 pies/segundo) ó 12 ciclos por minuto; cada ciclo consta de un movimiento completo de ida y vuelta en un recorrido de aproximadamente 1 m (3 pies).
  • 87.
    NORMA TÉCNICA COLOMBIANANTC 5786 77 7.21.4.4 El movimiento debe continuar hasta completar el número especificado de ciclos o hasta que un conductor de circuito se abra y el ensayo se detenga automáticamente. 7.21.5 Resultados y cálculos Debe registrarse el número de ciclos en el momento en que el ensayo se detiene. 7.21.6 Informe El informe debe incluir, como mínimo, el número de ciclos completados para cada probeta. 8. ENSAYOS AMBIENTALES PARA ALAMBRE Y CABLE TERMINADO 8.1 CORROSIÓN DEL COBRE 8.1.1 Objeto Este ensayo establece el método para determinar la compatibilidad química de conductores de cobre o aluminio recubierto de cobre en contacto con material de aislamiento. 8.1.2 Equipos El equipo debe constar de: a) Un horno con circulación forzada de aire, de acuerdo con lo descrito en 4.2.3, literal (i); y b) Un termómetro para medir temperatura con precisión de ±1 °C. 8.1.3 Preparación de probetas Deben cortarse dos probetas de conductor aislado, de una longitud que permita colocar una probeta en el horno verticalmente. 8.1.4 Procedimiento 8.1.4.1 Debe acondicionarse una probeta a temperatura ambiente. La segunda probeta debe acondicionarse en el horno a la temperatura y durante el período especificado en la norma de producto. Las temperaturas del horno deben registrarse durante todo el período de acondicionamiento. La probeta debe entonces sacarse del horno y dejarla enfriar a temperatura ambiente. 8.1.4.2 Debe quitarse el aislamiento de los conductores de ambas probetas, y la superficie de los conductores debe examinarse con visión normal. 8.1.5 Resultados y cálculos Debe registrarse cualquier evidencia de corrosión del cobre (se descarta la oxidación normal o decoloramiento no provocado por el aislamiento o algún separador). 8.1.6 Informe El informe debe incluir, como mínimo, evidencia de corrosión, si se presenta, sobre las probetas acondicionadas y sin acondicionar.
  • 88.
    NORMA TÉCNICA COLOMBIANANTC 5786 78 9. ENSAYO DE CARACTERÍSTICAS DE FLAMEO 9.1 LLAMA HORIZONTAL FT2/FH 9.1.1 Objeto Este ensayo establece el método para determinar la resistencia de un alambre, cable o cordón a la propagación horizontal de llama, y al goteo de partículas encendidas. 9.1.2 Partículas y reactivos Los materiales y reactivos deben ser: a) Metano con una pureza del 98 % y un contenido térmico de (37 ± 1) MJ/m3 ((1 000 ± 30) Btu/pies3 ) a 25 °C y 101 kPa (14,7 psi); o gas natural con un contenido térmico de (37 ± 1) MJ/m3 (1 000 ± 30 Btu/pies3 ) a 25 °C y 101 kPa (14,7 psi), y NOTA Se pueden usar gases alternativos, como propano con una pureza mínima del 95 %, un contenido térmico de 94 ± 2 MJ/m3 (2 540 ± 50 Btu/pies3 ) a 25 °C y 101 kPa (14,7 psi); o butano con una pureza mínima del 99 %, un contenido térmico de 120 ± 3 MJ/m3 (3 240 ± 80 Btu/pies3 ) a 25 °C y 101 kPa (14,7 psi), si se puede obtener una llama estable y el perfil de evolución de calor cumple con la norma ASTM D 5207 ó NMX-J-192-ANCE, o IEC 60695-11-20. PRECAUCIÓN Los gases propano y butano son más densos que el aire; se pueden asentar y llegar a presentar peligro de explosión. Se debe consultar al proveedor de gas acerca de las precauciones especiales que se deben tomar. b) Algodon quirúrgico, seco y sin tratar. 9.1.3 Equipos El equipo debe constar de: a) Una cámara libre de corrientes, con un medio de acceso y observación que se pueda sellar. Cada dimensión interior lineal de la cámara debe ser al menos de 610 mm2 (24 pulgadas2 ). El volumen interior de la cámara debe ser al menos de 4 m3 (140 pies3 ), incluido el volumen de una transición de escape, si la hay. Debe haber al menos 2 m3 (70 pies3 ) de este volumen sobre el punto de contacto de la llama en la probeta, como espacio para que el calor y el humo se acumulen, de manera que no influyan en el ensayo. b) Un bloque de ángulo (véase la Figura 20) para colocar el quemador a un ángulo 20 ± 1° de la posición vertical. Este bloque debe estar en capacidad de mover la llama en posición en la probeta. También debe estar en capacidad de dirigir la llama lejos de la probeta más allá de la vertical, o de retirar la llama una distancia mínima de 150 mm (6 pulgadas) de la probeta. c) Soportes de laboratorio u otros soportes para asegurar la probeta. No deben crear corrientes ascendentes ni impedir el suministro de aire a la llama. Independientemente del método empleado, los soportes de las probetas deben estar separados entre 200 mm y 300 mm (7 a 9 pulgadas). d) Un quemador de laboratorio conforme con la norma ASTM D 5025 ó NMX-J-192-ANCE o IEC 60695-11-20, adecuado para el valor calorífico del gas, y con un diámetro interno de 9,5 ± 0,3 mm (0,375 ± 0,01 pulgada) y una longitud de 100 mm ± 10 mm (4,0 pulgadas ± 0,4 pulgadas) por encima de las entradas de aire primarias. El quemador se debe
  • 89.
    NORMA TÉCNICA COLOMBIANANTC 5786 79 calibrar de acuerdo con la norma ASTM D 5207 ó NMX-J-192-ANCE o IEC 60695-11-20 cada vez que se use, cambie o rellene un cilindro de gas, o se cambie cualquiera de los aparatos. NOTA Se recomienda calibrar la llama del quemador al menos cada 30 días y cada vez que se cambie un cillindro de gas o cualquiera de los aparatos. También se recomienda que cuando se use un gas diferente del metano con el grado especificado para los propósitos de referencia, la llama del quemador se calibre cada día inmediatamente antes de comenzar el ensayo. e) Un dispositivo para medición de longitud con una precisión del 5 % del requisito de medición de carbonización; f) Un medidor de altura de llama con capacidad para medir las alturas de llama especificadas, y g) Un dispositivo temporizador con capacidad para medir el tiempo especificado en segundos, con una resolución de 1 s y una precisión de ± 0,5 s. 9.1.4 Preparación de las probetas Se debe tomar una probeta de una muestra de alambre, cable o cordón, terminado o durante su fabricación, de 250 mm a 300 mm (10 pulgadas a 12 pulgadas) de longitud, se debe acondicionar a temperatura ambiente por un mínimo de 6 h, luego enderezar y asegurar horizontalmente en los soportes. En el caso de construcciones paralelas planas, la probeta se debe asegurar con su eje principal en posición vertical. 9.1.5 Procedimiento 9.1.5.1 La altura de la llama de ensayo, con el quemador vertical, se debe ajustar a 125 mm ±10 mm (5,0 pulgadas ± 0,4 pulgadas), con un cono azul interno de 40 mm ± 2 mm (1,5 pulgadas ± 0,1 pulgadas) de altura. El quemador se debe unir al bloque de ángulo para ubicar el quemador a un ángulo de 20° de la vertical. 9.1.5.2 Una capa de algodón, plana y horizontal, de 6 mm ± 3 mm (0,25 pulgadas ± 0,12 pulgadas) de espesor y con dimensiones aproximadas de 200 x 200 mm (8,0 x 8,0 pulgadas) debe cubrir el piso del cerramiento y debe estar centrada bajo la probeta. La superficie superior del algodón debe estar de 230 mm a 240 mm (9,0 pulgadas a 9,5 pulgadas) por debajo del punto en el cual la punta del cono azul toca la probeta. 9.1.5.3 La cámara de ensayo y el sistema de escape deben estar sellados y el ventilador debe estar apagado durante el ensayo. El quemador se debe mover a una posición tal, que la punta del cono azul interno de la llama de ensayo se aplique al centro de la probeta (véase la Figura 21). Después de 30 s la llama se debe retirar de la probeta y se debe dejar quemar hasta que se autoextinga. 9.1.5.4 Después de que la probeta se haya extinguido, se debe activar el sistema de escape para retirar todo el humo y vapores de la cámara. 9.1.6 Resultados y cálculos 9.1.6.1 La longitud del daño a la probeta se debe medir y registrar. El daño se define como carbonización, quemado o fusión.
  • 90.
    NORMA TÉCNICA COLOMBIANANTC 5786 80 9.1.6.2 Se debe registrar el encendido del algodón, si lo hay. No se debe tener en cuenta la carbonización sin llama del algodón. 9.1.7 Informe El informe de ensayo debe incluir lo siguiente, como mínimo: a) longitud del daño a la probeta, y b) Indicación de encendido del algodón. 9.2 PARTÍCULAS ENCENDIDAS (GOTEO) 9.2.1 Objeto Este ensayo establece el método para determinar la resistencia al goteo de partículas encendidas de aislamiento de alambre o cable durante y después de la aplicación de la llama de ensayo. 9.2.2 Materiales y reactivos Los materiales y reactivos deben ser los siguientes: a) metano, como se describe en el numeral 9.1.2, literal (a), y b) una hoja de periódico estándar con una masa de 46,4 g a 57,0 g ((0,086 a 0,105) libras/yarda2 ), un espesor máximo de 0,11 mm (0,043 pulgadas) y un contenido máximo de cenizas de 6,5 %. 9.2.3 Equipo El equipo debe constar de: a) un aparato como el descrito en el numeral 9.1.3, literales (a), (b) y (d), y un medio para sostener la probeta de ensayo en posición vertical; b) una pantalla de lámina metálica de 300 mm ± 50 mm (12 pulgadas ± 2 pulgadas) de ancho, 350 mm ± 50 mm (14 ± 2 pulgadas) de profundidad y 600 mm ± 50 mm (24 pulgadas ± 2 pulgadas) de altura, abierta por arriba y por el frente, y equipada con un medio para sostener la probeta de ensayo en posición vertical, y c) una placa de acero con un espesor mínimo de 3 mm (0,1 pulgada) con dimensiones aproximadas de 200 mm x 300 mm (8 pulgadas x 12 pulgadas). 9.2.4 Preparación de las probetas 9.2.4.1 Se debe tomar una probeta de 450 mm a 600 mm (18 pulgadas a 24 pulgadas) de longitud, de una muestra de alambre, cable o cordón terminado o tomado durante la fabricación. La probeta se debe acondicionar a temperatura ambiente durante un mínimo de 6 h, luego se debe enderezar y asegurar verticalmente con los soportes. 9.2.4.2 El soporte de la base debe estar al menos a 50 mm (2 pulgadas) por debajo del punto de contacto de la llama de ensayo. El soporte de la parte superior debe estar al menos a 300 mm (2 pulgadas) por encima del punto de contacto de la llama de ensayo.
  • 91.
    NORMA TÉCNICA COLOMBIANANTC 5786 81 9.2.5 Procedimiento 9.2.5.1 La probeta, el equipo y el aire circundante deben estar a temperatura ambiente. 9.2.5.2 La placa de acero se debe colocar en el piso de la cámara bajo la probeta. Se debe colocar una hoja de periódico con dimensiones aproximadas de 200 mm x 300 mm (8 pulgadas x 12 pulgadas), horizontal sobre la placa de acero. 9.2.5.3 La altura de la llama de ensayo, con el quemador vertical, se debe ajustar a 125 mm ± 10 mm (4,9 pulgadas ± 0,4 pulgadas), con un cono azul interno de 40 mm ± 2 mm (1,5 pulgadas ± 0,1 pulgadas) de altura. El quemador se debe acoplar al bloque de ángulo para ubicar el quemador en un ángulo de 20° de la vertical. 9.2.5.4 La cámara de ensayo y el sistema de escape deben estar sellados y el ventilador debe estar apagado durante el ensayo. La punta del cono azul interno de la llama de ensayo se debe aplicar a la probeta durante 15 s y luego retirar durante 15 s. La punta del cono azul debe hacer contacto con la probeta a una distancia no mayor de 238 mm (9,375 pulgadas) sobre la hoja de periódico (véase la Figura 22). 9.2.5.5 La aplicación de la llama del numeral 9.2.5.4 se debe repetir hasta que se hayan hecho 5 aplicaciones a la llama. Durante el ensayo y hasta por 60 s después de la quinta aplicación de llama, se debe examinar la hoja de periódico para determinar evidencia de ignición causada por el goteo de partículas encendidas. 9.2.5.6 Después de que la probeta se haya extinguido, se debe activar el sistema de escape para retirar todo el humo y vapores de la cámara. 9.2.6 Resultados y cálculos Se debe registrar la combustión de la hoja de periódico o la presencia de agujeros en éste. 9.2.7 Informe El informe de ensayo debe incluir, como mínimo, evidencia de combustión o agujeros en la hoja de periódico. 9.3 FT1 9.3.1 Objeto Este ensayo establece el método para determinar la resistencia de un alambre, cable o cordón a la propagación vertical de la llama. 9.3.2 Materiales y reactivos Los materiales y reactivos deben ser los siguientes: a) metano, como se describe en el numeral 9.1.2, literal (a), y b) papel kraft de 94 g/m2 (60 lb) con un espesor nominal de 0,13 mm (0,005 pulgadas, con pegante en uno de sus lados.
  • 92.
    NORMA TÉCNICA COLOMBIANANTC 5786 82 9.3.3 Equipo El equipo debe constar de: a) un aparato como el descrito en el numeral 9.1.3, literales (a), (b) y (d), un medio para sostener la probeta en posición vertical, y b) una pantalla de ensayo como la descrita en el numeral 9.2.3. b). 9.3.4 Preparación de las probetas 9.3.4.1 Una probeta con una longitud mínima de 610 mm (24 pulgadas) tomada de una muestra de alambre, cable o cordón, terminada o tomada durante la fabricación, se debe acondicionar a temperatura ambiente durante mínimo 6 h y se debe enderezar. 9.3.4.2 Una banda de papel kraft de 12,5 mm ± 1 mm (ó 0,5 pulgadas ± 0,1 pulgada) de ancho se debe humedecer apenas lo suficiente para facilitar la adhesión. Con el pegante hacia la probeta, la banda se debe envolver alrededor de la probeta, con el extremo inferior a 254 mm ± 2 mm (10 pulgadas ± 0,1 pulgada) por encima del punto en el cual la punta del cono azul interno de la llama hace contacto con la probeta. Los extremos de la banda se deben pegar uniformemente y recortar de manera que se obtenga una bandera indicadora que se proyecte nominalmente 20 mm (0,75 pulgadas) al lado opuesto de aplicación de la llama. En un espécimen plano, la bandera se debe proyectar desde el centro de la cara ancha de la probeta. 9.3.5 Procedimiento 9.3.5.1 La probeta, el equipo y el aire circundante deben estar a temperatura ambiente. 9.3.5.2 La probeta se debe montar verticalmente en los soportes de la cámara (véase la Figura 22). El soporte inferior de la probeta debe estar al menos a 50 mm (2 pulgadas) por debajo del punto de contacto del cono azul interno de la llama con la probeta. El cono azul debe hacer contacto con la probeta a una distancia no mayor de 238 mm (9,375 pulgadas) por encima de la base del aparato. El soporte superior de la probeta debe estar localizado al menos a 500 mm (2 pulgadas) por encima de la bandera de papel kraft. 9.3.5.3 Con el quemador vertical, la altura de la llama de ensayo se debe ajustar a 125 mm ± 10 mm (5 pulgadas ± 0,4 pulgadas), con un cono azul interno de 40 mm ± 2 mm (1,5 pulgadas ± 0,1 pulgadas) de longitud. El quemador se debe colocar en el bloque de ángulo, con el cuerpo en un ángulo de 20° en relación con la vertical. 9.3.5.4 El movimiento del bloque de ángulo debe permitir retirar suavemente la llama de la probeta y aplicarla nuevamente en forma suave. La alineación del bloque de ángulo debe ser tal, que el eje longitudinal del cuerpo del quemador y el eje longitudinal de la probeta estén en el mismo plano. 9.3.5.5 El bloque de ángulo se debe mover a una posición tal, que la punta del cono azul de la llama haga contacto con la superficie exterior de la probeta durante 15 s, y luego se debe separar durante 15 s. Este ciclo se debe repetir hasta haber aplicado la llama 5 veces.
  • 93.
    NORMA TÉCNICA COLOMBIANANTC 5786 83 En todos los casos, el movimiento del bloque de ángulo debe ser suave y rápido, con una perturbación mínima de la cámara de aire. En un espécimen plano, la bandera debe hacer contacto con el centro de la cara ancha de la probeta. Si la probeta cambia de ubicación debido al calentamiento o quemado, la posición del quemador se debe ajustar de manera que el punto de contacto permanezca en el mismo lugar de la probeta. 9.3.5.6 Después de finalizar el ensayo, se debe activar el sistema de escape para retirar todo el humo y vapores de la cámara. 9.3.6 Resultados y cálculos Durante el ensayo y después de éste, se debe registrar lo siguiente: a) un porcentaje de la banda indicadora quemado o carbonizado (no simplemente un poco quemado o cubierto de hollín); la porción de papel kraft en contacto con la probeta no se considera parte de la bandera); y b) el tiempo que le toma a la probeta autoextinguirse, después de retirar la llama del quemador luego de la quinta aplicación. 9.3.7 Informe El informe de ensayo debe incluir lo siguiente, como mínimo: a) El porcentaje de la banda indicadora quemado o carbonizado, y b) una indicación de si el encendido de la probeta excede los 60 s después de retirar la llama del quemador luego de la quinta aplicación. 9.4 FV-2/VW-1 9.4.1 Objeto Este ensayo establece el método para determinar la resistencia de un alambre, cable o cordón a la propagación vertical de la llama y goteo de partículas encendidas. 9.4.2 Materiales y reactivos Los materiales y reactivos deben ser los siguientes: a) Metano, como se describe en el numeral 9.1.2, literal (a); b) algodón quirúrgico, como se describe en el numeral 9.1.2, literal (b), y c) papel kraft, como se describe en el numeral 9.3.2, literal (b). 9.4.3 Equipo Un aparato como el descrito en el numeral 9.1.3, literales (a), (b) y (d), y un medio para sostener la probeta de ensayo en posición vertical;
  • 94.
    NORMA TÉCNICA COLOMBIANANTC 5786 84 9.4.4 Preparación de las probetas 9.4.4.1 Una probeta con una longitud mínima de 610 mm (24 pulgadas) tomada de una muestra de alambre, cable o cordón terminado, o tomada durante la fabricación, se debe acondicionar a temperatura ambiente durante mínimo 6 h y se debe enderezar. 9.4.4.2 Una banda de papel kraft de 12,5 mm ± 1 mm (0,5 pulgadas ± 0,1 pulgada) de ancho se debe humedecer apenas lo suficiente para facilitar la adhesión. Con el pegante hacia la probeta, la banda se debe envolver alrededor de la probeta, con el extremo inferior a 254 mm ± 2 mm (10 pulgadas ± 0,1 pulgada) por encima del punto en el cual la punta del cono azul interno de la llama hace contacto con la probeta. Los extremos de la banda se deben pegar uniformemente y recortar de manera que se obtenga una bandera indicadora que se proyecte nominalmente 20 mm (0,75 pulgadas) al lado opuesto de aplicación de la llama. En un espécimen plano, la bandera se debe proyectar desde el centro de la cara ancha de la probeta. 9.4.5 Procedimiento 9.4.5.1 La probeta, el equipo y el aire circundante deben estar a temperatura ambiente. 9.4.5.2 La probeta se debe montar verticalmente en los soportes de la cámara. El soporte inferior de la probeta debe estar al menos a 50 mm (2 pulgadas) por debajo del punto de contacto del cono azul interno de la llama con la probeta (véase la Figura 22). El soporte superior de la probeta debe estar localizado al menos a 500 mm (2 pulgadas) por encima de la parte superior de la bandera de papel kraft. 9.4.5.3 Se debe colocar una capa horizontal de algodón sobre el piso de la cámara de la ensayo, centrada en el eje vertical de la probeta, que se extienda de 75 mm a 100 mm (3 pulgadas a 4 pulgadas) hacia afuera en todas direcciones, excepto en la dirección del quemador, en donde se debe extender apenas para hacer contacto con el bloque de ángulo. La superficie superior del algodón debe ser de 235 mm ± 6 mm (9,25 pulgadas ± 0,25 pulgadas) por debajo del punto en el cual la punta del cono azul hace contacto con la probeta. No debe haber algodón sobre el quemador, ni debajo del bloque de ángulo. 9.4.5.4 Con el quemador vertical, la altura de la llama de ensayo se debe ajustar a 125 mm ± 10 mm (5,0 pulgadas ± 0,4 pulgadas), con un cono azul interno de 40 mm ± 2 mm (ó 1,5 pulgadas ± 0,1 pulgadas) de longitud. El quemador se debe colocar en el bloque de ángulo, con el cuerpo en un ángulo de 20° en relación con la vertical. 9.4.5.5 El movimiento del bloque de ángulo (para permitir retirar suavemente la llama de la probeta y aplicarla nuevamente en forma suave) no debe afectar la capa de algodón que se encuentra colocada en el piso del cerramiento. La alineación del bloque de ángulo debe ser tal, que el eje del cuerpo del quemador y el eje longitudinal de la probeta estén en el mismo plano. 9.4.5.6 El bloque de ángulo se debe mover a una posición tal, que la punta del cono azul de la llama haga contacto con la superficie exterior de la probeta durante 15 s, y luego se debe separar durante 15 s. Este ciclo se debe repetir hasta haber aplicado la llama 5 veces. En todos los casos, el movimiento del bloque de ángulo debe ser suave y rápido, con una perturbación mínima de la cámara de aire. En un espécimen plano, la bandera debe hacer contacto con el centro de la cara ancha de la probeta. Si la probeta cambia de ubicación debido a calentamiento o quemado, la posición del quemador se debe ajustar de manera que el punto de contacto permanezca en el mismo lugar de la probeta.
  • 95.
    NORMA TÉCNICA COLOMBIANANTC 5786 85 9.4.5.7 Cuando cualquier probeta emita partículas encendidas o incandescentes que caen por fuera del área de la superficie de ensayo cubierta por el algodón, o caen sobre la cuña o el quemador, o ambos, los resultados del ensayo se deben descartar y éste se debe repetir. Para repetir el ensayo, el área cubierta por el algodón se puede incrementar, colocar sobre la cuña, o ambos. 9.4.5.8 Cuando el encendido de la probeta persiste más de 15 s después de retirar la llama del quemador, ésta no se debe aplicar nuevamente, sino inmediatamente después de que el encendido cese. 9.4.5.9 Después de finalizar el ensayo, se debe activar el sistema de escape para retirar todo el humo y vapores de la cámara. 9.4.6 Resultados y cálculos Durante el ensayo y después de éste, se debe registrar lo siguiente: a) El porcentaje de la bandera indicadora quemado o carbonizado (no simplemente un poco quemado o cubierto de hollín); la porción de papel kraft en contacto con la probeta no se considera parte de la bandera); y b) cualquier encendido del algodón. No se debe tener en cuenta la carbonización sin llama del algodón. b) el tiempo que le toma a la probeta autoextinguirse, después de finalizar cada aplicación de la llama del quemador. 9.4.7 Informe El informe de ensayo debe incluir lo siguiente, como mínimo: a) El porcentaje de la bandera indicadora quemado o carbonizado; b) cualquier encendido del algodón, y. b) una indicación de si el encendido de la probeta excede los 60 s después de retirar la llama del quemador luego de cualquier aplicación. 9.5 FV-1/llama vertical Este ensayo es idéntico al descrito en el numeral 9.4, excepto que no se debe aplicar el numeral 9.4.5.8; es decir, durante el procedimiento de ensayo la llama del quemador se debe aplicar nuevamente después de 15 s, independientemente de si el encendido de la probeta persiste más de 15 s. 9.6 ENSAYOS DE LLAMA CON BANDEJA VERTICAL (método 1. Bandeja vertical y método 2 - FT4) 9.6.1 Objeto Este ensayo establece el método para determinar la resistencia de un alambre, cable o cordón a la propagación de la llama, mientras está instalado en una bandeja vertical.
  • 96.
    NORMA TÉCNICA COLOMBIANANTC 5786 86 9.6.2 Materiales y reactivos Los materiales y reactivos deben ser los siguientes: a) Propano con una pureza mínima del 95 %, con un valor de calentamiento de (94 ± 2) MJ/m3 ((2 540 ± 50) Btu/pies3 ); y b) aire comprimido. NOTA Se recomienda el gas propano definido como Propano para Fines Especiales, en la ASTM D1835, ó propano HD-5 como se define en la norma GPA 2140. PRECAUCIÓN El gas propano es más denso que el aire y se puede asentar y representar peligro de explosión. Consulte al proveedor de gas en cuanto a las precauciones especiales que se deben tomar. 9.6.3 Equipo El equipo debe constar de: a) un cerramiento de ensayo y un conducto de escape (véanse el Anexo H, los literales H.1 y H.2, y las Figuras H.1 a H.3), ubicados en una edificación de ensayo que tenga orificios de ventilación para la descarga de productos de la combustión, y medios que permitan la entrada de aire fresco; b) un sistema de ventilador de escape y desviación con capacidad de producir una tasa de flujo de escape de (0,65 ± 0,5) m3 /s ((23,0 ± 1,8) pies3 /s) ó (5 ± 0,4) m/s ((16,4 1,31) pies/s) en el conducto (véase la Figura H.2); c) equipo para medición de velocidad (véase la Figura H.1), como el siguiente: i) Sonda bidireccional (véase la Figura H.3); ii) Sonda de temperatura – Tipo K con un revestimiento de inconel; iii) un transductor de baja presión (manómetro) con una resolución mínima de 0,025 Pa (0,001 libra/pulgada2 ); y iv) Controles computarizados/equipo para adquisición de datos; d) Un sistema de suministro de gas (véase la Figura H.7) dispuesto de manera que el aire y el propano se mezclen en el venturi antes de entrar al quemador; consta de: i) medidor de flujo de propano con capacidad de medir una tasa de flujo de (2,3 x 10-4 ) m3 /s (29 pies3 /hora) con una precisión de ± 3 % (véase la Nota 2); ii) medidor de flujo de aire con capacidad de medir una tasa de flujo de (13,3 x 10-4 ) m3 /s (170 pies3 /hora) con una precisión de ± 3 % (véase la Nota 3); iii) Válvulas de aguja para controlar el flujo de propano y aire; iv) Un mezclador venturi (véase la Nota 4);
  • 97.
    NORMA TÉCNICA COLOMBIANANTC 5786 87 v) Un quemador de cinta (véase la Nota 4) con una superficie de producción de llama compuesta de una placa metálica plana de 341 mm (13- 7/16 de pulgada) de longitud y 30 mm (1- 5/32 de pulgada) de ancho. La placa debe tener 242 agujeros (véase la Figura H.5); y vi) reguladores de presión para propano y aire comprimido; e) Un sistema de ignición; f) Bandejas porta cable de acero (véase la Figura H.4); g) Amarres de alambre (cobre o acero) no mayores de 2,1 mm2 (14 AWG); h) Un medidor de altura de llama (opcional, véase la Figura H.1); i) Un anemómetro de aletas portátil, con capacidad para medir velocidades del viento de 1 m/s (3,3 pies/s); y j) Un dispositivo de medición de longitud con una precisión de 0,1 %. NOTA 1 Las disposiciones para el filtrado de los gases descargados y las relativas a conformidad con códigos de seguridad y ambientales locales no se tratan en esta norma. NOTA 2 Un medidor de flujo de propano (catálogo nro. 58-162788-00), disponible en Dwyer Instruments, 102 Indiana Hwy 212, Michigan City, IN 46361-0373, E.E.U.U, se ha encontrado aceptable. También es aceptable un equipo equivalente. NOTA 3 Un medidor de flujo de propano (catálogo nro. RMC-103), disponible en Dwyer Instruments, 102 Indiana Hwy 212, Michigan City, IN 46361-0373, E.E.U.U, se ha encontrado aceptable. También es aceptable un equipo equivalente. NOTA 4 Un quemador de cinta (catálogo nro. 10L 11-55) y un mezclador venturi (catálogo nro. 14-18) disponibles en AGF Burner Inc., 1955 Swarthmore Ave., Lakewood, NJ 08701, E.E.U.U, se han encontrado adecuados. También es aceptable un equipo equivalente. 9.6.4 Preparación de las probetas 9.6.4.1 Generalidades Las muestras se deben tomar de alambre, cable o cordón terminados. Se debe hacer lo necesario dentro de la cámara para asegurar la bandeja en posición vertical en el centro del cerramiento después de colocar las probetas. 9.6.4.2 Método 1. Montaje de la probeta en la bandeja vertical. La muestra se debe cortar en probetas de 2 440 mm (96 pulgadas) de longitud. Las probetas se deben enderezar y asegurar a la bandeja en una sola capa por medio de amarres de alambre en sus extremos superior e inferior, y en otros dos puntos separados uniformemente a todo lo largo (véase la Figura H.8). Las probetas se deben instalar en el centro 150 mm (6 pulgadas) de la bandeja, separadas la mitad del diámetro del cable. El extremo inferior de cada probeta debe estar ubicado a máximo 100 mm (4 pulgadas) por encima del extremo inferior de la bandeja portacables.
  • 98.
    NORMA TÉCNICA COLOMBIANANTC 5786 88 El número de probetas se debe determinar usando la siguiente fórmula: N = (102/Dmm) + 0,33 ó N = (4/Dpulgada) + 0,33 en donde N = número de cables (redondeado al número entero más cercano, por ejemplo, 3,14 = 4 probetas) D = diámetro del cable, mm (pulgadas) Para un cable plano, el diámetro de cable equivalente se debe calcular como D = 1,128 x (TW)1/2 en donde T = longitud del eje menor del cable plano, mm (pulgadas) W = longitud del eje mayor del cable plano, mm (pulgadas) Para cables cinta, la separación entre cables adyacentes no debe ser inferior a 3,2 mm (1/8 de pulgada). Se puede utilizar el ancho completo de la bandeja. 9.6.4.3 Método 2. Montaje de la probeta FT4 Dependiendo del diámetro exterior del cable individual, las probetas de ensayo deben ser longitudes individuales separadas, o un haz de longitudes individuales, y deben estar compuestas de múltiples longitudes de 2 440 mm (96 pulgadas) de cable terminado. Las probetas o haces de probetas se deben centrar entre las barandas laterales en una sola capa (véase la Figura H.8). El extremo inferior de cada probeta o haz de probetas debe estar ubicado a máximo 100 mm (4 pulgadas) por encima del extremo inferior de la bandeja portacables. Cada probeta o haz de probetas se debe unir en forma separada a cada canaleta de la bandeja portacables, usando una vuelta de alambre de cobre o acero de máximo 2,1 mm2 (14 AWG). Para cables de menos de 13 mm (0,51 pulgadas), las probetas se deben agrupar en haces desenrollados (nominalmente circulares, véase la Figura H.8), como se indica en la Tabla 5. Los haces deben estar separados medio diámetro del haz en la bandeja portacables, como se midieron en el punto de unión a la bandeja portacables. Para cables con un diámetro de 13 mm (0,51 pulgadas) y mayor, cada probeta se debe sujetar individualmente a la bandeja portacables con una separación de medio diámetro de cable ó 15 mm (0,59 pulgadas) (de estos valores el menor) entre probetas. La carga de la bandeja debe cumplir con la Tabla 6. Para un cable plano, el diámetro de cable equivalente se debe calcular usando la siguiente fórmula: D = 1,128 x (TW)1/2
  • 99.
    NORMA TÉCNICA COLOMBIANANTC 5786 89 en donde D = diámetro calculado del cable, mm (pulgadas) T = longitud del eje menor del cable plano, mm (pulgadas) W = longitud del eje mayor del cable, mm (pulgadas) Para cables tipo cinta, la separación entre cables adyacentes no debe ser inferior a 3,2 mm (1/8 de pulgada). 9.6.4.4 Acondicionamiento Las probetas de ensayo montadas se deben acondicionar al menos durante 3 h a temperatura ambiente inmediatamente antes de empezar el ensayo. 9.6.5 Procedimiento 9.6.5.1 Inicio Al comienzo del ensayo, el aparato y el aire del área de ensayo deben estar a una temperatura de al menos 5 °C. Se debe aplicar potencia al sistema de control. El flujo de propano se debe ajustar a (220 ± 8) cm3 /s ((28 ± 1) pie3 /h) cuando está corregido a una temperatura y presión estándar (20 °C, 101 kPa (14,7 psi)). El flujo de aire se debe ajustar a (1 280 ± 80) cm3 /s ((163 ± 10) pies3 /h) cuando está corregido a una temperatura y presión estándar, lo que da como resultado una salida de calor de 20,5 W (70 000 BTU/h). Entonces se debe apagar el quemador. Para establecer y mantener una tasa de flujo de escape normal de (0,65 ± 0,05) m3 /s ((23,0 ± 1,8) pies3 /s) en el conducto, la velocidad en éste se debe mantener a 5 m/s (16,4 pies/s) usando divisiones de control manuales o automatizadas en el conducto, o ajustando la velocidad del ventilador de escape. 9.6.5.2 Método 1. Bandeja vertical La bandeja preparada se debe asegurar firmemente en posición vertical (véase la Figura H.1). El quemador se debe colocar en el lado opuesto de donde están montadas las probetas, con la cara del quemador vertical y su dimensión longitudinal horizontal. La cara del quemador se debe colocar a 76 ± 5 mm (3,0 ± 0,25 pulgadas) horizontalmente de la superficie más cercana a las probetas, paralela a las canaletas de la bandeja, y centrada entre las barandas laterales de la bandeja. El punto central de la cara del quemador se debe colocar a 457 mm ± 6 mm (18 pulgadas ± 0,25 pulgadas) sobre el extremo inferior de la bandeja y a media distancia entre dos canaletas de la bandeja (véase la Figura H6, horizontal). La puerta de la cámara se debe cerrar y debe permanecer cerrada durante el ensayo. El quemador se debe encender nuevamente y los flujos de aire y gas se deben ajustar a los valores indicados en el numeral 9.6.5.1. La llama del quemador se debe aplicar continuamente durante 20 min o hasta que la probeta se queme hasta la parte superior de la bandeja.
  • 100.
    NORMA TÉCNICA COLOMBIANANTC 5786 90 Después de 20 s, la llama del quemador se debe apagar y se debe dejar que el fuego (si lo hay) de la probeta se queme hasta extinguirse. Se debe llevar un registro de la altura de la llama de la probeta (cm o pulgadas) a intervalos de 1 min durante el ensayo de 20 min, al igual que el tiempo en minutos/segundos que las probetas continúan encendidas después de retirar la llama del quemador. 9.6.5.3 Método 2 – FT4 La bandeja preparada se debe asegurar firmemente en posición vertical (véase la Figura H.1). El quemador se debe colocar en el mismo lado de la bandeja en donde están montadas las probetas, con la cara del quemador vertical en un ángulo de 20° ± 2° hacia arriba de la horizontal (véase la Figura H.6, en ángulo). La parte superior del quemador se debe colocar a 305 mm ± 25 mm (12 pulgadas ± 1 pulgada) sobre la base de la bandeja, paralela a las canaletas de la bandeja, y centrada entre las barandas laterales de ésta. El borde delantero del quemador se debe colocar a 76 mm ± 5 mm (3,0 pulgadas ± 0,25 pulgadas) horizontalmente de la superficie más cercana de las probetas. La puerta de la cámara se debe cerrar y debe permanecer cerrada durante el ensayo. El quemador se debe encender nuevamente y los flujos de aire y gas se deben ajustar a los valores indicados en el numeral 9.6.5.1. La llama del quemador se debe aplicar continuamente durante 20 min o hasta que la probeta se queme hasta la parte superior de la bandeja. Después de 20 min, la llama del quemador se debe extinguir y se debe dejar que el fuego (si lo hay) de la probeta continúe hasta extinguirse. Se debe llevar un registro de la altura de la llama de la probeta (cm o pulgadas) a intervalos de 1 min durante el ensayo de 20 min, al igual que el tiempo en minutos/segundos que las probetas continúan encendidas después de retirar la llama del quemador. 9.6.6 Resultados y cálculos 9.6.6.1 Adquisición de datos El sistema de datos de velocidad de escape debe medir esta velocidad cada 5 s, y generar un gráfico de velocidad durante el ensayo (véase en la Figura H.9 un gráfico de velocidad típico). 9.6.6.2 Evaluación del daño Después de que ha cesado el quemado y las probetas se han dejado enfriar, se deben limpiar y se debe determinar la extensión máxima de la carbonización. No se debe tener en cuenta el hollín que se puede limpiar con un paño. NOTA A manera de información, también se pueden registrar otros daños tales como fusión o ampollamiento. El límite de la carbonización se debe determinar presionando un objeto afilado contra la superficie de la probeta. En donde la superficie de la probeta cambia de una superficie elástica a una quebradiza, o se desmorona, se ha determinado el límite de carbonización.
  • 101.
    NORMA TÉCNICA COLOMBIANANTC 5786 91 En el caso de que los materiales no se carbonicen con la exposición a la llama debido a las características de los compuestos usados, se debe considerar carbonización cualquier otro daño significativo cerca de la altura máxima visible de la llama, que dé como resultado la reducción o incremento visiblemente notorios del diámetro general de la probeta. 9.6.6.3 Criterios de aceptación 9.6.6.3.1 Método 1. Bandeja vertical. La altura de la carbonización de todas las probetas debe ser inferior a 2 440 mm (96 pulgadas) medida desde la parte inferior de la bandeja. 9.6.6.3.2 Método 2 – FT4 La altura de la carbonización en las probetas ubicadas en el área más central debe ser inferior a 1,500 mm (96 pulgadas), medida desde el borde inferior de la cara del quemador. 9.6.7 Informe El informe debe incluir lo siguiente, como mínimo: a) una descripción de las probetas, es decir, el calibre de alambre o cable, la designación del tipo, características de los componentes y número de longitudes o haces de probetas. b) el método de ensayo (bandeja vertical o FT4); c) la altura de carbonización; d) la altura de la llama a intervalos de 1 min; e) el tiempo de combustión retardada, y f) El gráfico de velocidad. 9.7 HUMO LIMITADO ST1 9.7.1 Objeto Este ensayo establece el método para determinar el humo total liberado y la tasa pico de liberación de humo en un alambre, cable o cordón durante los ensayos de llama de bandeja vertical del numeral 9.6. 9.7.2 Equipo El equipo debe ser como se describe en el numeral 9.6.3, y debe estar compuesto de: a) Equipo para medición de humo (véase el literal H.5 del Anexo H); y b) Equipo para adquisición de datos (véase el literal H.5 del Anexo H). 9.7.3 Preparación de las probetas Las probetas se deben preparar de acuerdo con el numeral 9.6.4.
  • 102.
    NORMA TÉCNICA COLOMBIANANTC 5786 92 9.7.4 Procedimiento 9.7.4.1 Calibración del equipo de medición de humo antes del ensayo Al iniciar cada día de ensayo, la fuente luminosa y la celda fotoeléctrica se deben calibrar usando filtros de densidad neutra 0,1, 0,2, 0,3, 0,4, 0,5, 0,6, 0,7, 0,8, 0,9 y 1,0. Cada filtro se debe colocar al frente de la celda fotoeléctrica de manera que cubra todo el ancho de la trayectoria de luz. La atenuación de la luz incidente mediante los filtros de densidad neutra se debe usar para calibrar la densidad óptica, como sigue: ⎟⎟ ⎠ ⎞ ⎜⎜ ⎝ ⎛ = I I OD 0 10log en donde OD = densidad óptica I0 = señal de la celda fotoeléctrica de haz claro I = señal de la celda fotoeléctrica atenuada por el filtro de densidad neutra NOTA Las unidades de I0 e I son las mismas, determinadas por el equipo usado. NOTA Los filtros Wratten de Kodak se han encontrado adecuados para este propósito. También es aceptable un equipo equivalente. Los filtros calibrados con un conjunto de filtros calibrados trazables a patrones nacionales se consiguen con proveedores de productos fotográficos profesionales. Los valores calculados del OD para cada filtro deben estar dentro de ± 3 % de los valores de densidad neutra calculados. La desviación promedio de todas las mediciones debe estar dentro de ± 1 %. 9.7.4.2 Ensayo Se deben encender el equipo para la medición de datos y los sistemas de adquisición de datos, y el resto del procedimiento se debe llevar a cabo de acuerdo con el numeral 9.6.5. 9.7.5 Resultados y cálculos 9.7.5.1 Tasa de liberación de humo La tasa de liberación de humo (SRR) se debe calcular usando la densidad óptica por longitud de la trayectoria lineal en el conducto, y la tasa de flujo volumétrica. La siguiente ecuación se debe usar para determinar la SRR: ( ) 44060 1 , MxOD SRR = en donde SRR = tasa de liberación de humo, m2 /s OD = densidad óptica M1 = tasa de flujo volumétrico, m3 /s en el conducto de escape, con referencia a 298 K. 0,4064 = longitud de la trayectoria en el conducto, m
  • 103.
    NORMA TÉCNICA COLOMBIANANTC 5786 93 9.7.5.2 Criterios de aceptación 9.7.5.2.1 Método 1. Bandeja vertical. Para cada ensayo, además de cumplir con lo establecido en el numeral 9.6.6.3.1, el humo total liberado en 20 min no debe exceder los 95 m2 , y la tasa pico de liberación de humo no debe exceder 0,25 m2 /s. 9.7.5.2.2 Método 2 – FT4 Para cada ensayo, además de cumplir con lo establecido en el numeral 9.6.6.3.2, el humo total liberado en 20 min no debe exceder los 150 m2 , y la tasa pico de liberación de humo no debe exceder 0,40 m2 /s. 9.7.6 Informe El informe debe incluir, como mínimo, la información del numeral 9.6.7 y la siguiente: a) Humo total liberado, y b) Tasa pico de liberación de humo 9.8 PROPAGACIÓN DEL FUEGO/RPI 9.8.1 Objeto Este ensayo establece el método para determinar la resistencia de un alambre, cable o cordón a la propagación del fuego. 9.8.2 Materiales y reactivos Los materiales y reactivos deben ser el gas para la fuente de encendido. 9.8.3 Equipo 9.8.3.1 Generalidades El equipo debe constar de: a) una cámara de acuerdo con la Figura 23, que contiene: i) tres puertas herméticas al aire, con ventanas; ii) orificios de ventilación ubicados en los extremos inferiores de las puertas laterales, para regular la velocidad del aire. iii) una estructura metálica que sostenga y permita el deslizamiento vertical del horno (véanse las dimensiones en las Figuras 24 y 25); iv) un extractor (escape) montado en la parte superior de la cámara, con su entrada ubicada a lo largo del eje de la cámara;
  • 104.
    NORMA TÉCNICA COLOMBIANANTC 5786 94 v) un horno eléctrico compuesto esencialmente de un tubo de silicato de aluminio con un diámetro interno de 100 mm ± 3 mm (4 pulgadas ± 0,1 pulgadas), un diámetro externo de 115 mm ± 3,5 mm (4,5 pulgadas ± 0,15 pulgadas), y una longitud de 203 mm ± 6 mm (8 pulgadas ± 0,25 pulgadas), en el cual se enrolla un alambre de resistencia de 1,307 mm2 (16 AWG) de níquel-cromo con aislamiento de cerámica. vi) suministro de energía variable con capacidad de proporcionar la corriente requerida; vii) dos quemadores de gas provistos con un deflector en V, de acuerdo con la Figura 26. Los quemadores deben producir una llama de 15 mm ± 5 mm (0,6 pulgadas ± 0,2 pulgadas) de diámetro y un cono azul de 20 mm ± 5 mm (0,8 pulgadas ± 0,2 pulgadas) de longitud, y se deben fijar a un mecanismo que mantenga una distancia constante E entre los quemadores y la probeta de ensayo; viii) una chimenea metálica con un diámetro interno entre 120 mm y 125 mm (4,8 pulgadas y 5 pulgadas) a lo largo del mismo eje que el horno, unida a la estructura metálica y a 30 mm ± 1 mm (1,2 pulgadas ± 0,04 pulgadas) por encima del horno cuando está en su posición más alta, y debe tener tres series de ranuras en la periferia, separadas 120 °, como se indica en la Figure 27; ix) un tubo de acero inoxidable con las dimensiones indicadas en la Figura 28; x) un termómetro con una escala de 0 °C a 1 200 °C, que incluya un termopar tipo K unido al tubo de acero inoxidable; xi) una barra de cobre de una pureza del 99 %, con la superficie ennegrecida al pasarla sobre la llama de una vela. Se debe colocar un termopar dentro de la barra y conectarlo a un termómetro con una escala de 0 °C a 1 200 °C. La construcción de la barra y el termopar debe estar de acuerdo con la Figura 29, y. xii) un aislamiento térmico inorgánico para cubrir el extremo superior del horno; b) un anemómetro con una precisión de ± 3 %, y aletas con un diámetro de 95 mm ± 5 mm (3,75 pulgadas ± 0,2 pulgadas) para medir la velocidad del aire que pasa a través de la chimenea, y c) un temporizador con capacidad para medir el tiempo especificado en segundos, con una resolución y precisión de 1 s. 9.8.3.2 Calibración del horno NOTA Se recomienda calibrar el horno cada seis meses o menos, dependiendo de su frecuencia de uso. Durante la calibración del horno y el ajuste de la velocidad del aire, el aire circundante a la cámara debe estar en calma y a una temperatura mayor de 15 °C. La barra de cobre debe estar suspendida de la estructura metálica de manera que cuando el horno esté en su posición más alta, la barra esté centrada sobre el eje del horno. La barra debe estar a una temperatura inferior a 55 °C. El horno se debe mover a su posición más baja, con el extremo superior cubierto con el aislamiento térmico inorgánico, y calentar hasta que la temperatura medida con el termopar colocado en el tubo de acero inoxidable se haya
  • 105.
    NORMA TÉCNICA COLOMBIANANTC 5786 95 estabilizado. La estabilización se logra cuando la temperatura registrada no varía en más de 5 °C en una hora. Una vez que la temperatura del horno se haya estabilizado, el horno se debe destapar y mover a su posición más alta, en un lapso de 5 s. La temperatura de la barra de cobre se debe registrar a 5 s y a 35 s. La tasa de elevación de temperatura se debe calcular usando la siguiente fórmula: 30 535 TT V − = en donde V = tasa de elevación de temperatura, en ° C/s T35 = temperatura registrada después de 35 s, °C T5 = temperatura registrada después de 5 s, °C La tasa requerida de elevación de temperatura debe ser (3,3 ± 0,1) °C/s. Si no se obtiene este valor, se debe repetir el proceso de calibración completo, con los valores de suministro de energía ajustados hasta que se logre la tasa requerida de elevación de temperatura. Este valor de suministro de energía se debe usar para el ensayo. NOTA La temperatura del horno habitualmente es mayor de 780 °C cuando se estabiliza 9.8.3.3 Ajuste de la velocidad del aire El anemómetro se debe colocar entre el fondo de la chimenea y el horno mientras está en su posición más alta (y mientras el horno está apagado). El extractor se debe encender y se deben ajustar los orificios de ventilación inferiores hasta obtener una velocidad del aire de (120 ± 10) m/min ((394 ± 33) pies/min). La determinación de la velocidad del aire debe ser el promedio de tres mediciones tomadas a intervalos de 5 min, comenzando 10 min después de que el extractor se ha encendido. 9.8.4 Preparación de las probetas Se deben tomar dos probetas, cada una de mínimo 1 600 mm (63 pulgadas) de longitud, de la misma muestra de alambre, cable o cordón terminado o tomado durante la fabricación. Las probetas se deben preparar de acuerdo con uno de los literales siguientes, el que sea pertinente: a) Si el diámetro de la muestra es mayor de 25 mm (1 pulgada) y menor o igual a 70 mm (2,75 pulgadas), la probeta debe ser una sola longitud. b) Si el diámetro de la muestra es mayor de 15 mm (0,6 pulgadas) y menor o igual a 25 mm (1 pulgada), la probeta debe constar de tres longitudes dispuestas en paralelo y amarradas con flejes metálicos en cada extremo, en un punto que corresponde a la mitad del horno, y en un punto que corresponde a la mitad de la chimenea. La probeta se debe disponer de manera que una longitud se coloque hacia la parte superior de la cámara, de acuerdo con la Figura 30, o
  • 106.
    NORMA TÉCNICA COLOMBIANANTC 5786 96 c) Si el diámetro de la muestra es menor o igual a 15 mm (0,6 pulgadas), la probeta debe constar de 7, 12, 19 o más longitudes amarradas entre sí, de manera que el diámetro total del haz esté entre 30 mm y 45 mm (1,20 pulgadas y 1,75 pulgadas). El haz debe estar trenzado en capas, de manera que el paso de torsión sea de aproximadamente 15 veces el diámetro del haz. El haz debe estar amarrado de acuerdo con el literal (b). 9.8.5 Procedimiento de ensayo 9.8.5.1 El aire que rodea la cámara debe estar libre de corrientes y a una temperatura superior a 15 °C. Con el horno en la posición más baja, y con el recubrimiento del aislamiento térmico inorgánico colocado, se debe aplicar calor hasta que se estabilice la temperatura, como se describe en el numeral 9.8.3.2. 9.8.5.2 La probeta se debe montar en posición vertical usando mordazas o amarres en ambos extremos de ella. La chimenea se debe cerrar y los quemadores se deben encender y ajustar a una distancia E de la superficie de la probeta, como se determina mediante la siguiente fórmula: E = D + d + 10 mm ó E = D + d + 0,4 pulgadas en donde E = distancia entre los ejes de los quemadores, mm (pulgadas) D = diámetro de la probeta, mm (pulgadas) d = diámetro de las llamas, mm (pulgadas) 9.8.5.3 El recubrimiento del aislamiento térmico inorgánico se debe retirar del horno y éste se debe mover a su posición más alta en máximo 5 s. 9.8.5.4 El extractor se debe encender y se debe accionar el temporizador. Después de 10 min, el extractor se debe apagar durante 1 min y luego encender durante el resto del ensayo. 9.8.5.5 Cuando el temporizador señale 30 min, el horno se debe mover a su posición más baja y se debe apagar. El extractor debe permanecer encendido. Los quemadores se deben apagar y se debe dejar que la probeta se autoextinga. 9.8.5.6 La probeta se debe marcar en el fondo de la chimenea, para que sirva como punto de referencia, y se debe retirar. La probeta se debe examinar y se debe medir la altura de degradación desde el punto de referencia. Sólo la porción carbonizada de la probeta se debe considerar que ha sido degradada por el fuego. No se deben tener en cuenta los depósitos producidos por la combustión, al igual que la fusión, ablandamiento y ampollas en la probeta. 9.8.5.7 Si existe duda acerca de si una porción particular está incluida en la medición, la probeta se debe limpiar y después se debe aplicar presión con un cuchillo en el área en cuestión. Las fracturas o grietas que ocurran en la probeta se deben considerar como degradación y esa parte de la probeta se debe incluir en la medición. 9.8.5.8 Los procedimientos del numeral 9.8.5.2 a 9.8.5.7 se deben repetir en la segunda probeta.
  • 107.
    NORMA TÉCNICA COLOMBIANANTC 5786 97 9.8.6 Resultados y cálculos La longitud de la degradación de ambas probetas se debe registrar. 9.8.7 Informe El informe debe incluir lo siguiente, como mínimo: a) Diámetros de las probetas; b) Número de conductores en las probetas, y c) Longitudes de la degradación. 9.9 EMISIÓN DE HUMO 9.9.1 Objeto Este ensayo establece el método para determinar la densidad óptica específica y el valor de oscurecimiento del humo durante la combustión de un alambre o cable. NOTA El ensayo de cables planos se encuentra en estudio. 9.9.2 Materiales y reactivos Los materiales y reactivos deben ser los siguientes: a) Aire comprimido filtrado disponible a una tasa de flujo mínima de 500 cm3 /min (30 pulgadas3 /min) y una presión entre 0,10 MPa y 0,17 MPa ((15 y 25) libras fuerza/pulgada2 ), y b) propano con una pureza mínima del 95 %, disponible a una tasa de flujo mínima de 50 cm3 /min (3 pulgadas3 /min) PRECAUCIÓN El gas propano es más densos que el aire; se pueden asentar y llegar a presentar peligro de explosión. Se debe consultar al proveedor de gas acerca de las precauciones especiales que se deben tomar. 9.9.3 Equipo El equipo debe constar de: a) Una cámara* de densidad de humo (NBS) de acuerdo con la norma ASTM E 662 ó NMX-J-474-ANCE; b) un aislamiento térmico inorgánico rígido con un espesor nominal de 12,7 mm (0,50 pulgadas); c) un paño adecuado para la limpieza de ventanas ópticas, y d) una hoja de aluminio de 0,040 mm ± 0,002 mm (0,0016 pulgadas ± 0,0001 pulgadas) de espesor. * Se han encontrado adecuadas las cámaras Stanton Redcroft o Superpress. También es aceptable un equipo equivalente.
  • 108.
    NORMA TÉCNICA COLOMBIANANTC 5786 98 9.9.4 Preparación de las probetas 9.9.4.1 Se deben preparar tres probetas de acuerdo con uno de los medios siguientes. Los literales (b) y (c) solamente se aplican a materiales termoplásticos: a) Para alambre o cable de hasta 10 mm (0,40 pulgadas) de diámetro, inclusive, se deben cortar muestras de alambre o cable terminado, en longitudes de 76 mm ± 1,5 mm (3 pulgadas ± 0,06 pulgadas) y se deben disponer en una capa, en paralelo y en contacto entre ellas, de manera que se llene la bandeja. Si no es posible llenar la bandeja debido a los diámetros individuales del alambre o cable, se debe colocar el número máximo de alambres o cables y se deben separar en la forma más homogénea posible a través de la bandeja. b) Para alambres o cables de más de 10 mm (0,40 pulgadas) de diámetro, las probetas se deben preparar de muestras de placas de chaqueta o material aislante moldeadas por compresión, de 76 mm2 ± 1,5 mm2 (3 pulgadas2 ± 0,06 pulgadas2 ) y con un espesor de 2 mm ± 0,2 mm (0,08 pulgadas ± 0,008 pulgadas); o c) en el caso de cables multiconductores con un diámetro superior a 10 mm (0,40 pulgadas), los materiales de la chaqueta y el aislamiento se deben someter a ensayo en forma separada. La probeta de chaqueta se debe preparar de acuerdo con el literal (b) y los conductores aislados se deben preparar de acuerdo con el literal (a) o (b), con base en el diámetro del conductor aislado. 9.9.4.2 Las probetas se deben acondicionar a 60 °C ± 3 °C durante 24 h, luego se deben mantener a 23 °C ± 3 °C y a una humedad relativa de 50 % ± 5 % durante 1 h. 9.9.4.3 Cada probeta se debe envolver en una hoja de aluminio sencilla, con el lado mate en contacto con la probeta, y luego se debe montar en la bandeja de manera que los alambres o cables queden verticales cuando la bandeja esté montada en la cámara. La hoja se debe cortar cuidadosamente para exponer la cara frontal de la probeta. El aislamiento térmico inorgánico rígido se debe colocar en la parte posterior de la probeta para sostener ésta en su sitio, y se debe insertar la mordaza de sujeción. 9.9.5 Procedimiento 9.9.5.1 Todo el equipo se debe calibrar de acuerdo con las instrucciones del fabricante. 9.9.5.2 La cámara de humo debe estar libre de contaminantes. Las superficies de vidrio del emisor y del receptor del sistema óptico se deben limpiar usando alcohol etílico u otro limpiador adecuado. 9.9.5.3 El sistema de extracción de humo, la ventana de ventilación y la puerta de la cámara se deben cerrar, y la cámara de humo se debe presurizar a través del conducto de “llama/aire” a 75 mm (3 pulgadas) de agua. Se debe cerrar el suministro de aire, y el tiempo requerido para que la presión caiga a 50 mm de agua (2 pulgadas) no debe ser inferior a 5 min. Si el tiempo es inferior a 5 min, la cámara de humo no está sellada adecuadamente y se debe cambiar el sello de seguridad de la hoja de aluminio. 9.9.5.4 La bandeja sin probeta, a lo largo del aislamiento térmico inorgánico rígido, se debe colocar frente al horno. 9.9.5.5 La cámara se debe calentar a 35 °C ± 2 °C durante 1 h como mínimo. El sistema óptico se debe ajustar al 0 % y al 100 % de transmitancia en el sistema de adquisición de datos.
  • 109.
    NORMA TÉCNICA COLOMBIANANTC 5786 99 9.9.5.6 El ajuste de la potencia de radiación del horno se debe hacer usando un radiómetro calibrado. La tensión producida por el radiómetro debe ser igual al valor especificado en el informe de calibración del radiómetro, para una potencia de radiación de (2,5 ± 0,05) W/cm2 . La potencia de radiación del horno se debe ajustar con la frecuencia necesaria para mantener el valor especificado. 9.9.5.7 El quemador se debe colocar a 6,4 mm ± 0,8 mm (0,25 pulgadas ± 0,03 pulgadas) por encima de la abertura superior de la bandeja, y a una distancia de 6,4 mm ± 1,5 mm (0,25 pulgadas ± 0,06 pulgadas) de la cara de la bandeja, y luego se enciende. La tasa de flujo de gas se debe ajustar a 50 cm3 /min (3 pulgadas3 /min) y la tasa de flujo de aire a 500 cm3 /min (30 pulgadas3 /min). 9.9.5.8 La bandeja que contiene la probeta se debe montar al lado de la bandeja que contiene solamente el aislamiento térmico inorgánico rígido. La bandeja con la probeta se debe empujar al frente del horno, de manera que desplace la otra bandeja. La puerta de la cámara se debe cerrar y debe comenzar la recolección de datos de transmitancia porcentuales. La recolección de datos se debe llevar a cabo a una tasa mínima de una vez cada 60 s. Una vez que el fotomultiplicador indique una reducción en la transmitancia, la ventana de ventilación se debe cerrar completamente. Si el nivel de transmitancia desciende al 0,1 %, la ventana de la cámara se debe cubrir para evitar la influencia de la luz externa en la medición. 9.9.5.9 El ensayo debe continuar 3 min después de alcanzar la transmitancia mínima, o durante 20 min de ensayo, lo que ocurra primero. 9.9.5.10 Las probetas restantes se deben ensayar de acuerdo con los numerales 9.9.5.1 a 9.9.5.9. Si cualquiera de los ensayos presenta anormalidades, por ejemplo, que la probeta se caiga de la bandeja, material fundido que recubre completamente la bandeja, extinción temporal de la llama, o movimiento de la probeta de la zona de irradiación, estos y todos los resultados anteriores se deben descartar y se deben someter a ensayo tres probetas nuevas. 9.9.5.11 Si el resultado de ensayo más alto excede el resultado más bajo en 50 % o menos, se deben registrar todos los tres resultados. Si el resultado de ensayo más alto excede el resultado más bajo en más del 50 %, se deben ensayar tres probetas adicionales y todos los seis resultados se deben registrar. 9.9.5.12 El ensayo se debe terminar apagando el sistema de adquisición de datos y purgando la cámara mediante el encendido del soplador y abertura de los orificios de ventilación. 9.9.6 Resultados y cálculos 9.9.6.1 Las densidades ópticas específicas para cada probeta se deben determinar de la Tabla 7, usando los valores porcentuales de transmitancia obtenidos durante cada minuto del ensayo. 9.9.6.2 La densidad óptica específica máxima, Dm, para cada probeta, correspondiente a la transmitancia mínima, se debe determinar de la Tabla 7 ó por medios automatizados. Se debe calcular el valor promedio de las probetas. 9.9.6.3 El valor de oscurecimiento para cada probeta, VOF4, se debe calcular usando la siguiente fórmula: 2 4 3214 d dddVOF +++=
  • 110.
    NORMA TÉCNICA COLOMBIANANTC 5786 100 en donde VOF4 = valor de oscurecimiento del humo d1, d2, d3, y d4 = densidades ópticas específicas registradas cada uno de los primeros 4 min. Se debe calcular el valor promedio de las probetas. 9.9.7 Informe El informe debe incluir lo siguiente, como mínimo: a) Número de longitudes montadas en la bandeja; b) Tipo de probeta (longitud o placa); y c) Los valores individuales y promedio de VOF4 y Dm. 9.10 EMISIÓN DE GASES HALÓGENOS ÁCIDOS 9.10.1 Objeto Este ensayo establece el método para determinar la cantidad de gas halógeno ácido diferente del fluoruro de hidrógeno, producido durante la combustión de materiales componentes no metálicos del alambre o cable. 9.10.2 Materiales y reactivos Los materiales y reactivos deben ser los siguientes: a) agua destilada; b) aire comprimido seco; c) 0,1 solución normal de hidróxido de sodio (NaOH); d) ácido nítrico concentrado (HNO3); e) 0,1 solución molar de nitrato de plata (AgNO3); y g) solución de ácido crómico (6 g de dicromato de potasio en una cantidad mínima de agua destilada combinada con 200 ml de ácido sulfúrico concentrado). 9.10.3 Equipo El equipo de ensayo debe ser como se ilustra en la Figura 31, y debe incluir los siguientes componentes principales: a) Tres trampas de agua de 50 mm x 200 mm (2 pulgadas x 8 pulgadas) nominales. Dos trampas deben estar equipadas con un difusor de vidrio sinterizado; b) Tubo de combustión de vidrio de cuarzo con conexión de vidrio esmerilado en el extremo de descarga. Debe estar compuesto de dos secciones: La primera sección debe tener un diámetro interno de aproximadamente 19 mm (0,75 pulgadas) y un diámetro exterior de 25 m (1 pulgada) aproximadamente. La segunda sección debe
  • 111.
    NORMA TÉCNICA COLOMBIANANTC 5786 101 tener un diámetro interno de aproximadamente 13 mm (0,50 pulgadas) y un diámetro exterior de 19 mm (0,75 pulgada) de 100 a 120 mm (4 a 4,75 pulgadas) de longitud en el extremo de descarga. La longitud total del tubo debe ser suficiente para permitir que sobresalgan 50 mm (2 pulgadas) desde el horno; c) recipientes de combustión en porcelana vidriada, con dimensiones nominales de 75 mm (3 pulgadas) de longitud, 10 mm (0,4 pulgadas), y 9 mm (0,4 pulgadas) de profundidad. Los recipientes se deben preacondicionar a la temperatura de ensayo durante un mínimo de 2 h. Los recipientes se deben usar máximo 8 veces; NOTA Es probable que los recipientes usados den resultados con valores inferiores; d) Un horno de tubo con una longitud eficaz mínima de 300 mm (12 pulgadas) con capacidad de producir una temperatura de 1 200 °C, con un control de elevación de temperatura uniforme; NOTA El modelo Lindberg 55035 se ha encontrado adecuado. También es aceptable un equipo equivalente. e) Un termómetro equipado con un termopar tipo K; f) Un medidor de flujo de aire con una escala de (0 a 200) ml/min (12 pulgadas3 /min); g) una cinta de calentamiento de alta temperatura con capacidad de mantener una temperatura mínima de 150 °C en la superficie del tubo de vidrio; h) un sistema de escape para extraer los vapores emitidos por el equipo; i) una balanza con una capacidad de pesaje de 1,0 g, con una precisión dentro de 0,1 mg; j) un controlador de temperatura para la cinta de calentamiento; k) un temporizador con capacidad para medir el tiempo especificado en segundos, con una resolución de 1 s y una precisión de ± 0,5 s; I) vasos de precipitados de 250 ml; m) un matraz volumétrico de 500 ml; n) una pipeta de 5 ml ó 10 ml; o) una pipeta volumétrica de 100 ml; p) un matraz Berzelius de 300 ml; q) una bureta graduada de 25 ml; r) un soporte para bureta; s) una mordaza para bureta; t) un potenciómetro (mV);
  • 112.
    NORMA TÉCNICA COLOMBIANANTC 5786 102 u) un electrodo de medición (plata); v) un electrodo de referencia de calomel, y w) un agitador magnético. 9.10.4 Preparación de las probetas 9.10.4.1 El material componente debe ser tomado de alambre o cable terminado, o de alambre o cable durante su fabricación. Se debe tomar una cantidad de material suficiente para llevar a cabo mínimo tres ensayos. Se debe evitar cualquier contaminación de la probeta de ensayo. 9.10.4.2 El material componente se debe cortar en una probeta que pese de 0,500 g a 1,000 g. 9.10.5 Procedimiento 9.10.5.1 A cada trampa de agua se le deben agregar 100 ml de solución de NaOH. La segunda y tercera trampas deben tener difusores. El aparato de ensayo se debe ensamblar de acuerdo con la Figura 31, dejando abierto el extremo de la entrada. 9.10.5.2 La probeta se debe pesar con aproximación a 0,001 g y se debe registrar la masa. El recipiente de combustión con la probeta se debe insertar en el tubo de combustión de manera que quede centrado en el horno. El horno debe estar a una temperatura inferior a 50 °C. 9.10.5.3 El suministro de aire se debe conectar al sistema y el flujo de aire se debe ajustar a (110 ± 25) ml/min ((6,7 ± 1,5) pulgadas3 /min). Es necesario asegurarse de que no haya fugas en el sistema de aire. NOTA La presencia de fugas se puede verificar mediante la aplicación de una solución jabonosa en las uniones. 9.10.5.4 La cinta de calentamiento se debe enrollar alrededor del tubo de vidrio entre el horno de combustión y la primera trampa de agua. La potencia de la cinta de calentamiento se debe ajustar para mantener una temperatura mínima de 150 °C en la superficie del tubo de vidrio durante el ensayo; 9.10.5.5 La temperatura del horno se debe elevar a 800 °C ± 10 °C a una tasa de 20 °C/min, y se debe mantener a esa temperatura durante 20 min. 9.10.5.6 Al finalizar el período de 20 min se debe interrumpir el suministro de aire y se deben desconectar del sistema las trampas de agua, comenzando por la que está más alejada del horno. El tubo de combustión se debe dejar enfriar aproximadamente a 50 °C. 9.10.5.7 El recipiente de combustión se debe retirar del tubo de combustión, y no se debe permitir que ningún residuo sólido contamine el tubo de combustión. 9.10.5.8 El contenido de las trampas de agua se debe mezclar en un matraz volumétrico de 500 ml. La parte interior del tubo de combustión, las trampas de agua y las conexiones del sistema se deben lavar con agua destilada. El agua de enjuague se debe agregar al matraz volumétrico. El volumen del matraz se debe incrementar con precisión a 500 ml agregando agua destilada. 9.10.5.9 De la solución de 500 ml se deben extraer 100 ml del matraz volumétrico y colocar en un matraz Berzelius de 300 ml, al que se debe agregar 1 ml de ácido nítrico concentrado. Ambos electrodos se deben insertar en la solución y conectar al potenciómetro. La solución de
  • 113.
    NORMA TÉCNICA COLOMBIANANTC 5786 103 nitrato de plata se debe titular en la solución, y se debe agitar constantemente durante toda la titulación. NOTA Después de finalizar el ensayo, la limpieza de los difusores de vidrio sinterizado (usando solución de ácido crómico) es opcional. 9.10.5.10 Los resultados se deben graficar con los ml en el eje X y los mV en el eje Y. 9.10.5.11 El ensayo se debe repetir en dos probetas adicionales. Las tres determinaciones se deben registrar. 9.10.5.12 Se debe llevar a cabo un ensayo en blanco, de acuerdo con los numerales 9.10.5.1 a 9.10.5.10, excepto que el recipiente de combustión no debe contener ninguna probeta. Los resultados se deben registrar. 9.10.6 Resultados y cálculos 9.10.6.1 La cantidad de gas halógeno se debe expresar como cloruro de hidrógeno en miligramos (mg) por gramo (g) de muestra, o como un porcentaje. La cantidad se debe calcular como sigue: ( ) m A V Nba H f gmg − = x536, / ( ) 10 536 x xx m A V Nba H f − = , % en donde Hmg/d = cantidad de gas halógeno ácido producido, mg/g H% = cantidad de gas halógeno ácido producido, % a = volumen de solución de nitrato de plata usada en las determinaciones de la muestra, ml* b = volumen de solución de nitrato de plata usada en el ensayo con blanco, ml* N = normalidad de la solución de nitrato de plata, peso equivalente por litro Vf = volumen del matraz volumétrico, 500 ml A = cantidad de solución extraída de acuerdo con el numeral 9.10.5.9 (100 ml) m = masa de la muestra, g * Los volúmenes de solución de nitrato de plata se obtienen de los gráficos de titulación en los puntos de equivalencia. Véase en la Figura 32 el gráfico típico de titulación. Véase en la Figura 33 el gráfico para titulación del blanco. 9.10.6.2 Después de los cálculos, se deben promediar las tres determinaciones. 9.10.6.3 Un gráfico similar al que se ilustra en la Figura 33 (potencial no definido al comienzo de la curva) debe indicar que no hay halógenos presentes por encima del límite de detección inferior del aparato.
  • 114.
    NORMA TÉCNICA COLOMBIANANTC 5786 104 9.10.7 Informe El informe debe incluir, como mínimo, la cantidad promedio de gas halógeno ácido producido. 9.11 EMISIÓN DE GASES ÁCIDOS 9.11.1 Objeto Este ensayo establece el método para determinar la cantidad de gas ácido diferente del fluoruro de hidrógeno, producido durante la combustión de materiales componentes no metálicos del alambre o cable. 9.11.2 Materiales y reactivos Los materiales y reactivos deben ser los siguientes: a) Agua con un pH de 6 a 7 y una conductividad máxima de10 μS/cm; b) aire comprimido seco; c) 0,1 solución normal de hidróxido de sodio (NaOH); y d) solución indicadora de rojo de metilo. 9.11.3 Equipo El equipo debe ser como se ilustra en la Figura 31, excepto que las trampas de agua deben estar conectadas mediante un vidrio. El equipo debe incluir los siguientes componentes principales: a) Tres trampas de agua de 25 mm x 200 mm (1 pulgada x 8 pulgadas) nominales; b) un tubo de combustión de vidrio de cuarzo con conexiones de vidrio esmerilado a la entrada, para la entrada de aire y el extremo de descarga, con un diámetro interno de aproximadamente 25 mm (1 pulgada) y una longitud mínima de dos veces la longitud del horno (la longitud preferida es de 700 mm a 900 mm (28 pulgadas a 35 pulgadas)); c) recipientes de combustión en porcelana vidriada, con dimensiones nominales de 75 mm (3 pulgadas) de longitud, 10 mm (0,4 pulgadas) de ancho, y 9 mm (0,35 pulgadas) de profundidad. Los recipientes se deben preacondicionar a la temperatura de ensayo durante un mínimo de 2 h. Los recipientes se deben usar máximo 8 veces; NOTA Es probable que los recipientes usados den resultados con valores inferiores; d) un horno de tubo con una longitud interna de 300 mm a 400 mm (12 pulgadas a 16 pulgadas) con capacidad de producir una temperatura de 1 200 °C; NOTA El modelo Lindberg 55035 se ha encontrado adecuado. También es aceptable un equipo equivalente. e) Un termómetro equipado con un termopar tipo K; f) Un medidor de flujo de aire con una escala de (0 a 200) ml/min (12 pulgadas3 /min); g) una cinta de calentamiento de alta temperatura con capacidad de mantener una temperatura de 150 °C en la superficie del tubo de vidrio;
  • 115.
    NORMA TÉCNICA COLOMBIANANTC 5786 105 h) un sistema de escape para extraer los vapores emitidos por el equipo; i) una balanza con una capacidad de pesaje de 1,0 g, con una precisión dentro de 0,1 mg; j) un controlador de temperatura para la cinta de calentamiento; k) un temporizador con capacidad para medir el tiempo especificado en segundos, con una resolución de 1 s y una precisión de ± 0,5 s; I) vasos de precipitados de 250 ml; m) un matraz volumétrico de 1 L; n) una pipeta de 5 ml; o) una bureta de titulación de 50 ml a 100 ml, con capacidad de lectura hasta ± 0,10 ml; p) un matraz de titulación; q) un soporte para bureta; r) una mordaza para bureta; s) un tapón de lana de cerámica; t) un medidor de pH con capacidad de medir ± 0,01 unidades de pH; u) un electrodo de referencia de calomel, y v) un agitador magnético. 9.11.4 Preparación de las probetas El material componente debe ser tomado de alambre o cable terminado, o de alambre o cable durante su fabricación. De la chaqueta o aislamiento se debe cortar una probeta de una pieza con una longitud de 60 mm ± 10 mm (2,4 pulgadas ± 0,4 pulgadas) y una masa de 0,5 g ± 0,05 g. La masa de la probeta se debe registrar con aproximación a 0,001 g. 9.11.5 Procedimiento 9.11.5.1 Método 1 9.11.5.1.1 Se debe adicionar agua a cada trampa de agua, hasta un mínimo de 100 mm (4 pulgadas) por encima del nivel de salida de burbujas. A cada trampa de agua se le deben agregar 5,00 ml de solución de NaOH, usando la pipeta. NOTA Es posible que se requieran cantidades menores de NaOH para materiales que producen niveles bajos de gas ácido. 9.11.5.1.2 El tubo de combustión se debe colocar en el horno, ubicado éste en el extremo de entrada de aire del tubo de combustión (véase la Figura 34a.). Las trampas de agua deben estar conectadas al tubo de combustión y al tubo de flujo de aire variable. La tasa de flujo de aire se debe ajustar de (100 a 125) ml/min ((6,1 a 7,6) pulgada3 /pulgada). La medición de flujo de aire se debe hacer después de la última trampa de agua. Las trampas de agua se deben
  • 116.
    NORMA TÉCNICA COLOMBIANANTC 5786 106 desconectar del tubo de combustión y el termopar se debe insertar en el tubo de combustión en el punto medio del horno. Es necesario asegurarse de que no haya fugas en el sistema de aire. NOTA La presencia de fugas se puede verificar mediante la aplicación de una solución jabonosa en las uniones. 9.11.5.1.3 Con el aire fluyendo, se debe ajustar el control del horno para obtener una temperatura del aire dentro del tubo de combustión, de 800 °C ± 10 °C. El termopar se debe retirar después de que la temperatura dentro del tubo se haya estabilizado. NOTA El control de temperatura es crítico para lograr resultados de ensayo reproducibles. 9.115.1.4 La probeta se debe pesar con aproximación a 0,001 g y se debe registrar la masa. El recipiente de combustión que contiene la probeta se debe insertar a través del extremo de salida del tubo de combustión, y se debe colocar justo antes de la entrada del horno. Las trampas de agua se deben reconectar. 9.11.5.1.5 La cinta de calentamiento se debe enrollar alrededor del tubo de vidrio que conecta el tubo de combustión a la primera trampa de agua, y alrededor del tubo de combustión, una longitud aproximada de 100 mm (4 pulgadas) (véase la Figura 34 b). La potencia de la cinta de calentamiento se debe ajustar para mantener una temperatura mínima de 150 °C en la superficie del tubo de vidrio durante el ensayo; 9.11.5.1.6 El horno se debe mover en cinco pasos a lo largo del tubo de combustión, para colocar la probeta en el centro del horno (véase la Figura 34 c). Los primeros tres movimientos deben ser de aproximadamente 25 mm (1 pulgada) cada uno, con dos movimientos adicionales para colocar la probeta en el centro del horno. Los intervalos de tiempo entre movimientos deben ser de 1 min. 9.11.5.1.7 El calentamiento se debe mantener durante 10 min adicionales. La cinta de calentamiento se debe retirar y el horno se debe mover hacia el extremo de descarga del tubo, para quemar cualquier depósito (véase la Figura 34 c). El movimiento del horno a lo largo del tubo se debe lograr en un paso, y el horno debe permanecer en su lugar otros 5 min. El flujo de aire y el horno se pueden apagar en este momento. 9.11.5.1.8 Las trampas de agua se deben desconectar y se debe mezclar su contenido. 9.11.5.1.9 Las conexiones de los tubos y las trampas de agua vacías se deben lavar concienzudamente con agua hasta que no queden restos de ácido. Los enjuagues se deben examinar con indicador rojo de metilo. Si la solución de vuelve roja, los enjuagues contienen ácido y es necesario continuar enjuagando. El agua de enjuague se debe agregar a la solución de las trampas de agua. 9.11.5.1.10 Los enjuagues combinados y el agua de las trampas de agua se deben titular usando la solución de NaOH hasta alcanzar el punto final (rojo a amarillo) del rojo de metilo. Se deben registrar el volumen total de la solución de NaOH usada en la titulación, y el volumen agregado originalmente a las trampas de agua. 9.11.5.1.11 Los procedimientos de los numerales 9.11.5.1.1 a 9.11.5.1.10 se deben repetir con dos probetas adicionales. 9.11.5.2 Método 2 9.11.5.2.1 Se debe adicionar agua a cada trampa de agua, hasta un mínimo de 100 mm (4 pulgadas) por encima del nivel de salida de burbujas.
  • 117.
    NORMA TÉCNICA COLOMBIANANTC 5786 107 9.11.5.2.2 El tubo de combustión se debe colocar en el horno, ubicado éste en el extremo de salida de aire del tubo de combustión (véase la Figura 35a.). Las trampas de agua deben estar conectadas al tubo de combustión, y el tubo al flujo de aire variable. La tasa de flujo de aire se debe ajustar de (100 a 125) ml/min ((6,1 a 7,6) pulgada3 /pulgada). La medición de flujo de aire se debe hacer después de la última trampa de agua. Las trampas de agua se deben desconectar del tubo de combustión y el termopar se debe insertar en el tubo de combustión en el punto medio del horno. Es necesario asegurarse de que no haya fugas en el sistema de aire. NOTA La presencia de fugas se puede verificar mediante la aplicación de una solución jabonosa en las uniones. 9.11.5.2.3 Con el aire fluyendo, se debe ajustar el control del horno para obtener una temperatura del aire dentro del tubo de combustión, de 800 °C ± 10 °C. El termopar se debe retirar después de que la temperatura dentro del tubo se haya estabilizado. NOTA El control de temperatura es crítico para lograr resultados de ensayo reproducibles. 9.11.5.2.4 En el extremo de salida se debe insertar un tapón de lana de cerámica de aproximadamente 25 mm (1 pulgada) de ajuste sin holgura, en el tubo de combustión, en una posición justo a la entrada del horno. El recipiente de combustión que contiene la probeta se debe insertar a través del extremo de salida del tubo de combustión, y se debe colocar justo antes de la entrada del horno. Las trampas de agua se deben reconectar. NOTA El tapón atrapará los productos de la combustión sólidos e impedirá su arrastre a las trampas de agua. El residuo, que puede contener gases ácidos adheridos, se quemará en la última etapa (véase la Figura 35 c). 9.11.5.2.5 El flujo de aire al tubo de combustión se debe desconectar. 9.11.5.2.6 La cinta de calentamiento se debe enrollar alrededor del tubo de vidrio que conecta el tubo de combustión a la primera trampa de agua, y alrededor del tubo de combustión, una longitud aproximada de 100 mm (4 pulgadas) (véase la Figura 35 c). La potencia de la cinta de calentamiento se debe ajustar para mantener una temperatura mínima de 150 °C en la superficie del tubo de vidrio durante el ensayo; 9.11.5.2.7 La probeta se debe pesar con aproximación a 0,001 g y se debe registrar la masa. El recipiente de combustión que contiene la probeta se debe insertar a través del extremo de entrada del tubo de combustión, y se debe colocar justo antes de la entrada del horno (véase la Figura 35 b). 9.11.5.2.8 El flujo de aire se debe reconectar al tubo de combustión, manteniendo la tasa de flujo inicial. 9.11.5.2.9 El horno se debe mover en seis pasos a lo largo del tubo de combustión, para colocar la probeta en el centro del horno (véase la Figura 35 b). Los primeros tres movimientos deben ser de aproximadamente 25 mm (1 pulgada) cada uno, con tres movimientos adicionales para colocar la probeta en el centro del horno. Los intervalos de tiempo entre movimientos deben ser de 1 min. 9.11.5.2.10 El calentamiento se debe mantener durante 10 min adicionales. La cinta de calentamiento se debe retirar y el horno se debe mover hacia el extremo de descarga del tubo, para quemar cualquier depósito (véase la Figura 34c). El movimiento del horno a lo largo del tubo se debe lograr en un paso, y el horno debe permanecer en su lugar otros 5 min. El flujo de aire y el horno se pueden apagar en este momento. 9.11.5.2.11 Las trampas de agua se deben desconectar y se debe mezclar su contenido.
  • 118.
    NORMA TÉCNICA COLOMBIANANTC 5786 108 9.11.5.2.12 El contenido de las trampas de agua se debe combinar en un matraz volumétrico de 1 L. La parte interior de las trampas de agua y las conexiones del sistema se deben lavar con agua. El agua de enjuague se debe agregar al matraz volumétrico. El volumen del matraz se debe incrementar con precisión a 1 L agregando agua. 9.11.5.2.13 La medición de pH se debe hacer en la solución tomada del matraz de 1 L. 9.11.5.2.14 Los procedimientos de los numerales 9.11.5.2.1 a 9.11.5.2.13 se deben repetir con dos probetas adicionales. 9.11.6 Resultados y cálculos 9.11.6.1 Método 1 9.11.6.1.1 La cantidad de gas ácido producido se debe expresar como porcentaje de cloruro de hidrógeno. La cantidad se debe calcular como sigue: m V m KNV emitidoácidogas 3650 10 , % x x xx == en donde V = volumen total de la solución de NaOH, ml N = normalidad de la solución de NaOH K = peso equivalente del gas ácido; para HCl, K = 36,5 m = masa de la muestra de ensayo pesada en el recipiente de combustión, pesada a 0,001 g 9.11.6.1.2 Después de los cálculos, se deben promediar las tres determinaciones. Si cualquier resultado individual es diferente del promedio en más del 10 %, se deben ensayar probetas adicionales. Se permite ensayar máximo tres probetas adicionales. Si cualquier resultado individual sigue siendo diferente del promedio en más del 10 %, el ensayo se debe considerar no válido. 9.11.6.2 Método 2 9.11.6.2.1 Después de las mediciones de pH se deben promediar las tres determinaciones. Si cualquier resultado individual es diferente del promedio en más del 10 %, se deben ensayar probetas adicionales. Se permite ensayar máximo tres probetas adicionales. Si cualquier resultado individual sigue siendo diferente del promedio en más del 10 %, el ensayo se debe considerar no válido. 9.11.6.2.2 Si se encuentra que el valor promedio del pH es superior a 4,0, ningún resultado individual debe ser diferente del valor promedio en más del 20 %. Se permite ensayar máximo tres probetas adicionales. Si cualquier resultado individual sigue siendo diferente del promedio en más del 20 %, el ensayo se debe considerar no válido. NOTA Para el propósito de este procedimiento, la equivalencia entre el porcentaje de gas ácido como HCl y pH se ilustra en el Anexo I, usando 0,5 g de material y 1 L de agua.
  • 119.
    NORMA TÉCNICA COLOMBIANANTC 5786 109 9.11.7 Reporte El reporte debe incluir como mínimo la cantidad promedio de gas ácido emitido. Tabla 1. Factores de ajuste para resistencia de conductores (Véase el numeral 3.4.5.1) Factor de multiplicación para ajuste de la resistencia aTemperatura de conductor 25 °C (77 °F) 20 °C (68 °F) °C °F Cobre Aluminio y aluminio recubierto de cobre Cobre Aluminio y aluminio recubierto de cobre 10 50,0 1,061 1,063 1,041 1,042 11 51,8 1,057 1,059 1,037 1,038 12 53,6 1,053 1,054 1,033 1,033 13 55,4 1,048 1,050 1,028 1,029 14 57,2 1,044 1,045 1,024 1,024 15 59,0 1,040 1,041 1,020 1,020 16 60,8 1,036 1,037 1,016 1,016 17 62,6 1,032 1,033 1,012 1,012 18 64,4 1,028 1,028 1,008 1,008 19 66,2 1,024 1,024 1,004 1,004 20 68,0 1,020 1,020 1,000 1,000 21 69,8 1,016 1,016 0,996 0,996 22 71,6 1,012 1,012 0,992 0,992 23 73,4 1,008 1,008 0,989 0,988 24 75,2 1,004 1,004 0,985 0,984 25 77,0 1,000 1,000 0,981 0,980 26 78,8 0,996 0,996 0,977 0,976 27 80,6 0,992 0,992 0,973 0,972 28 82,4 0,989 0,989 0,970 0,969 29 84,2 0,985 0,985 0,966 0,965 30 86,0 0,981 0,981 0,962 0,961 31 87,8 0,977 0,977 0,958 0,957 32 89,6 0,974 0,973 0,955 0,954 33 91,4 0,970 0,970 0,951 0,950 34 93,2 0,967 0,966 0,948 0,947 35 95,0 0,963 0,962 0,944 0,943 Tabla 2. Tasa de separación de las mordazas de la máquina de tensión (Véase el numeral 3.5.1.4) Material conductor Tasa de separación de las mordazas, mm/s (pulgada/s) Cobre blando recocido (recubierto y no recubierto) Aleaciones de aluminio serie 8000 Otros metales y otros temples de cobre Sin exceder 5 (0,2) 0,4 (0,02) 1 (0,04)
  • 120.
    NORMA TÉCNICA COLOMBIANANTC 5786 110 Tabla 3. Variaciones de temperatura (Véase el numeral 4.2.3, literal (i) Intervalo de temperatura establecido, °C Variación máxima en la temperatura establecida, ± °C ≤ 180 > 180 a 300 > 300 a 400 > 400 a 500 2 3 4 5 Tabla 4. Temperatura de ensayo para valores nominales de temperatura seca de materiales nuevos Valores nominales de temperatura (°C) 60 75 80 90 105 125 150 180 200 250 Temperatura de envejecimiento (°C) 67 82 87 97 113 133 158 189 209 260 Tabla 5. Cables de menos de 13 mm de diámetro (0,51 pulgadas de diámetro) (Véase el numeral 9.6.4.3) Diámetro del cable mm (pulgadas) Desde Pero inferior a Número de probetas en cada haz Número de haces en la bandeja 3 (0,12) 5 (0,20) 6 (0,24) 9 (0,35) 11 (0,43) 3 (0,12) 5 (0,20) 6 (0,24) 9 (0,35) 11 (0,43) 13 (0,51) 19 19 7 3 3 3 13 8 9 10 8 7 Tabla 6. Cables de 13 mm (0,51 pulgadas de diámetro) o de diámetro mayor (Véase el numeral 9.6.4.3) Diámetro del cable mm (pulgadas) Desde Pero inferior a Número de probetas en la bandeja 13 (0,51) 15 (0,59) 19 (0,75) 21 (0,83) 26 (1,0) 28 (1,1) 39 (1,5) 52 (2,0) 73 (2,9) 15 (0,59) 19 (0,75) 21 (0,83) 26 (1,0) 28 (1,1) 39 (1,5) 52 (2,0) 73 (2,9) 120 (4,7) 11 9 8 7 6 5 4 3 2
  • 121.
    NORMA TÉCNICA COLOMBIANANTC 5786 111 Tabla 7. Conversión del porcentaje de transmitancia a la densidad óptica específica (Véanse los numerales 9.9.6.1 y 9.9.6.2) % T 0 1 2 3 4 5 6 7 8 9Parámetros e intervalo de transmitancia (T) Densidad óptica específica (D) 90 80 70 6 13 20 5 12 20 5 11 19 4 11 18 4 10 17 3 9 16 2 9 16 2 8 15 1 7 14 1 7 14 60 50 40 29 40 53 28 39 51 27 37 50 26 36 48 26 35 47 25 34 46 24 33 45 23 32 43 22 31 42 21 30 41 Multiplicador 100 con filtro ND-2 100 al 10 % T 30 20 10 69 92 132 67 89 127 65 87 122 64 84 117 62 82 113 60 79 109 59 77 105 57 75 102 55 73 98 54 71 95 90 x 10-1 80 70 138 145 152 137 144 152 137 143 151 136 143 150 136 142 149 135 141 148 134 141 148 134 140 147 133 139 146 133 139 146 60 50 40 161 172 185 160 171 183 159 169 182 158 168 180 158 167 179 157 166 178 156 165 177 155 164 175 154 163 174 153 162 173 Multiplicador 10 con filtro ND-2 10 al 1 % T 30 20 10 201 224 264 199 221 259 197 219 254 196 216 249 194 214 245 192 211 241 191 209 237 189 207 234 187 205 230 186 203 227 90 x10-2 80 70 270 277 284 269 276 284 269 275 283 268 275 282 268 274 281 267 273 280 266 273 280 266 272 279 265 271 278 265 271 278 60 50 40 293 304 317 292 303 315 291 301 314 290 300 312 290 299 311 289 298 310 288 297 309 287 296 307 286 295 306 285 294 305 Multiplicador 1 con filtro ND-2 1 al 0,1 % T 30 20 10 333 356 396 331 353 391 329 351 386 328 348 381 326 346 377 324 343 373 323 341 369 321 339 366 319 337 362 318 335 359 Continúa…
  • 122.
    NORMA TÉCNICA COLOMBIANANTC 5786 112 Tabla 7. (Final) % T 0 1 2 3 4 5 6 7 8 9Parámetros e intervalo de transmitancia (T) Densidad óptica específica (D) 90 x 10-3 80 70 402 409 416 401 408 416 401 407 415 400 407 414 400 406 413 399 405 412 398 405 412 398 404 411 397 403 410 397 403 410 60 50 40 425 436 449 424 435 447 423 433 446 422 432 444 422 431 443 421 430 442 420 429 441 419 428 439 418 427 438 417 426 437 Multiplicador 0,1 con filtro ND-2 0,1 al 0,01 % T 30 20 10 465 488 528 463 485 523 461 483 518 460 480 513 458 478 509 456 475 505 455 473 501 453 471 498 451 469 494 450 467 491 90 x 10-4 80 70 534 541 548 533 540 548 533 539 547 532 539 546 532 538 545 531 537 544 530 537 544 530 536 543 529 535 542 529 535 542 60 50 40 557 568 581 556 567 579 555 565 578 554 564 576 554 563 575 553 562 574 552 561 573 551 560 571 550 559 570 549 558 569 Multiplicador 1 sin filtro ND-2 0,01 al 0,001 % T 30 20 10 597 620 660 595 617 655 593 615 650 592 612 645 590 610 641 588 607 637 587 605 633 585 603 630 583 601 626 582 599 623 90 x 10-5 80 70 666 673 680 665 672 680 665 671 679 664 671 678 664 670 677 663 669 676 662 669 676 662 668 675 661 667 674 661 667 674 60 50 40 689 700 713 688 699 711 687 697 710 686 696 708 686 695 707 685 694 706 684 693 705 683 692 703 682 691 702 681 690 701 Multiplicador 0,1 sin filtro ND-2 0,001 al 0,00001 % T 30 20 10 00 729 752 792 - 727 749 787 924 725 747 782 885 724 744 777 861 722 742 773 845 720 739 769 832 719 737 765 821 717 735 762 812 715 733 758 805 714 731 755 798 Un ciclo Posición 0 Posición 1 Posición 2 Posición 3 Posición 4 Probeta Mordaz/prensa de tornillo Base metálica Mandriles Figura 1. Fatiga por flexión (Véase el numeral 3.5.3.2)
  • 123.
    NORMA TÉCNICA COLOMBIANANTC 5786 113 Guía No. 1 Guía No. 2 Guía No. 15 Termopares A B B A B A C D D C D C Corriente constante de 40 A ± 0,5 A 60 Hz Figura 2. Conexión de las guías (receptáculos dobles)
  • 124.
    NORMA TÉCNICA COLOMBIANANTC 5786 114 Termopares Base de terminal Figura 3. Detalle de la conexión de las guías (receptáculos dobles) (Véanse los numerales 3.6.2 y 3.6.4.1)
  • 125.
    NORMA TÉCNICA COLOMBIANANTC 5786 115 † Los tornillos terminales en cada base terminal se deben conectar por medio de conductores ACM que están colocados bajo la cabeza del tornillo en dirección opuesta. 2,59 7,67 8,486,35 45,24 49,61 + 3 - 0 B 6,35 2,36 88° 90° R 1,59 C A 5,16 10,31 26,75 + 0 - 0,2530,05 R 0,79 R 0,79 3,18 1,58 2,92 2,77 0,00 0,51 75° 8,71 R 1,59 R 0,51 7,92 30° 25° 3,96 1,59 11,94 13,72 1,98 Ø 4,83 12,70 0,76 ± 0,03 0,89 6,35 21,41 0,79 R 1,59 6,35 2,77 3,96 11.35 11,74 42,44 45° R 0,79 R 1,59 20° 3,18 R 1,59 R 3,97 Estos bordes son afilados 3,96 1,19 R 1,59 R 0,66 0,94 Ø 3,56-3,66 (2) Agujeros para horadar 2,360,79 6,356,60 R 1,59 1,27 1,02 0,33 3,96 0,25 0,31 Debe ser afilado Sección B - B Sección C Escala 10 : 1 Sección A - A R 0,79 A B NOTA 1 Se han omitido las dimensiones de los contactos utilizados para recibir las patas de una clavija NOTA 2 Las dimensiones están dadas en milímetros. Figura 4. Base de terminal (latón 70/30) (Véanse los numerales 3.6.2 y 3.6.4.2)
  • 126.
    NORMA TÉCNICA COLOMBIANANTC 5786 116 2,39 ± 0,07 mm 7,75 mm 7,37 mm 0,38 mm 1,52 mm R 0,25 mm Ø 7,14 mm 11° 4,14 mm 3,99 mm O.D. 3,63 mm 3,55 mm P.D. 1,27 mm Ø 8,89 mm 1,57 mm Figura 5. Descripción del tornillo (Véase el numeral 3.6.2) d Figura 6. Sección anular tomada del aislamiento (Véase el numeral 4.2.5.1.1)
  • 127.
    NORMA TÉCNICA COLOMBIANANTC 5786 117 Separación longitudinal Centro del alambre Separación transversal Cadenas no escalonadas Separación longitudinal Centro del alambre Separación transversal Cadenas escalonadas Figura 7. Configuración de la cadena tipo perla. Vista superior (Véase el numeral 6.7.2, literal c) Conectado al circuito de ensayo Buje Placa no conductora Franela Soporte Probeta de ensayo Figura 8. Guía para el ensayo de arco por flexión (Véase el numeral 6.9.4.1)
  • 128.
    NORMA TÉCNICA COLOMBIANANTC 5786 118 El otro conductor del circuito no está conectado al circuito Dispositivo de protección adecuado Probeta Conductor de circuito (con la rotura) Alimentación 120 ± 2 V, 60 Hz El conductor de puesta a tierra (en donde sea aplicable) no está conectado al circuito Lámpara de neón de 120 V Amperímetro Resistencia variable Figura 9. Diagrama del circuito eléctrico para el ensayo de arco por flexión (Véase el numeral 6.9.4.3) Cordón de 3048 mm (120 pulgadas) de longitud OHMS 1000V Conductor de puesta a tierra (verde o verde y amarillo) Conductor de circuito (negro o cualquier otro color diferente de blanco, PVC natural, gris, verde o verde y amarillo Conductor de circuito blanco o azul claro 120 V 48 - 62 Hz Circuito para cordón en un equipo de 120 Voltios G Figura 10. Circuito para la medición de corriente de fuga de c.a de cada conductor de circuito a conductor de puesta a tierra (Véase el numeral 6.11.4.1)
  • 129.
    NORMA TÉCNICA COLOMBIANANTC 5786 119 Conductor de puesta a tierra (verde o verde y amarillo) Conductor de circuito (negro o cualquier otro color diferente de blanco, PVC natural, gris, verde o verde y amarillo) Conductor de circuito blanco o azul claro 120 V 48 - 62 Hz Circuito para cordón en un equipo de 120 Voltios G Lámina metálica enrollada en un cordón de 3048 mm (120 pulgadas) de longitud OHMS 1000 V Figura 11. Circuito para la medición de corriente de fuga de c.a de cada conductor de circuito a la chaqueta (Véase el numeral 6.11.4.2) Peso Sección reducida (pie) Espécimen redondo Espécimen rectangular Figura 12. Equipo para el ensayo de deformación (Véase el numeral 7.7.2)
  • 130.
    NORMA TÉCNICA COLOMBIANANTC 5786 120 9 8 6 2 1 3 4 5 7 1. Ensamble de agarre superior 2. Probeta 3. Ensamble de agarre inferior 4. Receptáculo para pesos 5. Pesos agregados 6. Escala graduada 7. Base de acero 8. Soporte vertical 9. Brazo de soporte Figura 13. Equipo para elongación y cedencia gradual por calor (Véase el numeral 7.8.2)
  • 131.
    NORMA TÉCNICA COLOMBIANANTC 5786 121 533,4 mm (21 pulgadas) 635 mm (25 pulgadas) 330,2 mm (13 pulgadas) Motor de c.a. de 1 4 hp Rueda de transmisión Barra de acoplamiento Tela de esmeril Placa de soporte de la placa Barras de guía Cilindro Soporte del cojinete R 88,9 mm (3,5 pulgadas) Peso Probeta Placa de base Mordaza de la probeta 233,4 mm (9,1875 pulgadas) NOTA Esta figura representa un aparato típico. Las dimensiones se sugieren únicamente, a menos que se especifique en el numeral del ensayo. Figura 14. Equipo para el ensayo de abrasión (Véase el numeral 7.9.2)
  • 132.
    NORMA TÉCNICA COLOMBIANANTC 5786 122 685,8 mm (2 pies 3 pulgadas) 63,5 mm (2,5 pulgadas) Base 19,1 mm 0,75 pulgadas Mordaza neumática Soporte de la mordaza Porta cuerda Vástago Collarín de soporte de la cuerda Cuerda 63,5 mm (2,5 pulgadas) Peso Polea Espaciador Soporte de la polea Collarín de soporte del vástago/mordaza Soporte del eje Collarín de soporte del vástago 25,4 mm (1 pulgada) NOTA Esta figura representa el equipo típico. Las dimensiones son sugerencias solamente, a menos que se especifique en el numeral de ensayo. Figura 15. Equipo para el ensayo de impacto (Véase el numeral 7.11.2)
  • 133.
    NORMA TÉCNICA COLOMBIANANTC 5786 123 342,9 mm (13,5 pulgadas) 38,1 mm (1,5 pulgadas) 101,6 mm (4 pulgadas) 838,2 mm (33 pulgadas) 45° 431,1 mm (16,97 pulgadas) 217,5 mm (8,5625 pulgadas) 47 mm (2 pulgadas) 202,8 mm (8 pulgadas) 25,4 mm (1 pulgada) Mordaza conectada al circuito de ensayo Yunque Probeta R 9,5 mm (0,375 pulgadas) Masa de impacto Tubo hueco 19,1 mm (0,75 pulgadas) I.D. Cuerda Roldana de giro NOTA Esta figura representa un aparato típico. Las dimensiones son sugerencias solamente, a menos que se especifique en el numeral de ensayo. Figura 16. Equipo para el ensayo de impacto oblicuo (Véase el numeral 7.12.2)
  • 134.
    NORMA TÉCNICA COLOMBIANANTC 5786 124 Figura 17. Equipo para el ensayo de resistencia mecánica (Véase el numeral 7.18.2)
  • 135.
    NORMA TÉCNICA COLOMBIANANTC 5786 125 50 mm (2 pulgadas) 50 mm (2 pulgadas) 2 conductores 3 conductores Figura 18. Preparación de probetas paralelas de multiconductores para el ensayo de tensión mecánica del aislamiento (Véase el numeral 7.20.3.2) Tope para mordaza Probeta Mordaza en el extremo de la probeta Alambre (no probeta) Peso Poleas (ranura circular) en montaje que va y viene horizontalmente Tope para mordaza Mordaza en el extremo de la probeta Alambre (no probeta) Peso Figura 19. Equipo para ensayo de flexión de cordones con pantalla (Véanse los numerales 7.21.1.2 y 7.21.4.2)
  • 136.
    NORMA TÉCNICA COLOMBIANANTC 5786 126 137 mm (5,375 pulgadas)51 mm (2 pulgadas) 279 mm (11 pulgadas) 83 mm (3,25 pulgadas) 129 mm (5,0625 pulgadas) 76 mm (3 pulgadas) 20° Punto central del quemador 38 mm (1,5 pulgadas) 38 mm (1,5 pulgadas) Placa metálica 1,6 mm de espesor (1 16 de pulgada) 83 mm (3,25 pulgadas) Cuña de madera Figura 20. Bloque de ángulo (Véase el numeral 9.1.3, literal b) NOTA Esta figura representa un aparato típico. Las dimensiones son sugerencias solamente, a menos que se especifique en el numeral de ensayo. La bisagra es opcional. Punto medio de la muestra Soporte de la muestra separados 230 mm o (9 pulgadas) 20° Cilindro del quemador 40 mm o (19 16 pulgadas) 230 - 240 mm (9 - 91 2 pulgadas) de la superficie superior del algodón Muestra de 250 mm o (10 pulgadas) NOTA Esta figura representa un aparato típico. Las dimensiones son sugerencias solamente, a menos que se especifique en el numeral de ensayo. Figura 21. Aplicación de la llama sobre la probeta horizontal (Véase el numeral 9.1.5.3)
  • 137.
    NORMA TÉCNICA COLOMBIANANTC 5786 127 Base del aparatoManija Bloque de ángulo a 20° Cono azul interno Llama Probeta Indicador de llama Pantalla 600 mm (23,625 pulgadas) 20 mm (0,75 pulgadas) 250 mm (9,875 pulgadas) 238 mm (9,375 pulgadas) 175 mm (6,875) 350 mm (13,75 pulgadas) NOTA 1 Esta figura representa un aparato típico. Las dimensiones son sugerencias solamente, a menos que se especifique en el numeral de ensayo. La manija es opcional. NOTA 2 No hay pantalla para el ensayo de llama vertical/VW-1/FV-2 NOTA 3 No hay indicador de bandera para el ensayo de partículas encendidas. Figura 22. Aplicación de la llama sobre la probeta vertical (Véanse los numerales 9.2.5.4, 9.3.5.2 y 9.4.5.2)
  • 138.
    NORMA TÉCNICA COLOMBIANANTC 5786 128 Dimensiones en milímetros 2020 2130 2230 595 712 100 55 802 910 802 Estructura metálica Ø 420 Extractor Figura 23. Cámara para el ensayo de propagación del fuego (Véase el numeral 9.8.3.1, literal a)
  • 139.
    NORMA TÉCNICA COLOMBIANANTC 5786 129 Dimensiones en milímetros Extractor Cabina Chimenea Horno en su posición alta Horno en su posición baja Barra de acero inoxidable Entrada de aire 2360 310 30 ± 1 Espécimen con longitud 1600 mm Entrada de aire Quemadores Figura 24. Detalle 1 de las dimensiones de la cámara para el ensayo de propagación del fuego (Véase el numeral 9.8.3.1, literal a)
  • 140.
    NORMA TÉCNICA COLOMBIANANTC 5786 130 Dimensiones en milímetros 1600 310 800 ± 3 30 ± 1 220 10 ± 1 100 500 1090 2200 Gancho de sujeción Espécimen Chimenea Quemadores Horno en su posición alta Tubo metálico Gancho de sujeción Barra de acero inoxidable Horno en su posición baja 35 ± 1 Figura 25. Detalle 2 de las dimensiones de la cámara para el ensayo de propagación del fuego (Véase el numeral 9.8.3.1, literal a)
  • 141.
    NORMA TÉCNICA COLOMBIANANTC 5786 131 Dimensiones en mm E 30 ± 1 Horno en posición alta Tornillo fijado de los Quemadores E D O Longitud del cono azul 20 ± 5 d = 15 ± 5 d = 15 ± 5 D = Es el diámetro del espécimen O = Es el eje común de simetria de la chimenea y el espécimen E = Es la distancia entre los ejes de las llamas d = Es el diámetro de las llamas O Figura 26. Quemadores para el ensayo de propagación del fuego (Véase el numeral 9.8.3.1, literal a)
  • 142.
    NORMA TÉCNICA COLOMBIANANTC 5786 132 Dimensiones en milímetros 10 ± 1 Ranuras 40 ± 2 90 ± 3 120 a 125 120°120° 40 Ranura Asa Soporte a la estructura Figura 27. Chimenea metálica de la cámara de ensayo de propagación del fuego (Véase el numeral 9.8.3.1, literal a)
  • 143.
    NORMA TÉCNICA COLOMBIANANTC 5786 133 Dimensiones en mm. 203500 Arandela de material refractario Varilla de acero Tuerca Arandela de acero Tubo de acero inoxidable Interior relleno de material refractario Termopar Figura 28. Tubo de acero inoxidable de la cámara de ensayo de propagación del fuego (Véase el numeral 9.8.3.1, literal a)
  • 144.
    NORMA TÉCNICA COLOMBIANANTC 5786 134 Dimensiones en mm 25 ± 1 50 ± 1 2,5 25 Termopar aislado de óxido de Magnesio y acero inoxidable de 22 mm de diámetro soldado al interior de la barra Barra de cobre ennegrecida Figura 29. Barra de cobre para calibración de temperatura en el ensayo de propagación del fuego (Véase el numeral 9.8.3.1, literal a)
  • 145.
    NORMA TÉCNICA COLOMBIANANTC 5786 135 Dimensiones en mm O 15 ± 515 ± 5 D P Convenciones: 0 = eje común de simetría entre la chimenea y el horno P = plano de simetría de las válvulas D = diámetro de la probeta Figura 30. Disposición de la probeta entre quemadores usados en la cámara de ensayo de propagación del fuego (Véase el numeral 9.8.4, literal b)
  • 146.
    NORMA TÉCNICA COLOMBIANANTC 5786 136 1 2 3 5 4 6 6 8 97 10 Arranque 12 3 4 5 12 Convenciones: 1. Tanque de aire 2. Regulador de presión del gas 3. Manguera de silicio 4. Manguera flexible o vidrio 5. Controlador de flujo para una medición de 0 a 200 ml/min 6. Conectores 7. Tubo de combustión 8. Horno tubular 9. Recipiente de combustión de porcelana 10. Cinta de calentamiento para evitar que el gas ácido se condense 11. Variac o reóstato conectado a la cinta de calentamiento 12. Trampas de agua Continúa…. Figura 31. Sistema de combustión para el ensayo de emisión de gases halógenos ácidos (Véanse los numerales 9.10.3, 9.10.5.1 y 9.11.3)
  • 147.
    NORMA TÉCNICA COLOMBIANANTC 5786 137 N DE F H G J C A B L M K Convenciones: A: Conexión entre la unión circular y de borosilicato B: Elementos de unión macho y hembra* C: Mordaza para unión D: Porción de tubo que sobresale del horno, de 30 a 50 mm E: Porción del tubo dentro del horno (longitud del horno) F: Longitud del tubo de diámetro inferior (100 a 120 mm) G: Diámetro interior, 13 mm H: Diámetro exterior, 17 mm I: Diámetro exterior, 25 mm J: Diámetro interior, 19 mm K: Elementos de unión macho y hembra* L: Mordazas para unión nro. 35 M: Conexión entre la unión circular y de borosilicato N: Longitud de la conexión de borosilicato, 50 a 100 mm * Se han encontrado adecuados elementos de unión 29/9 y 25/25 para B y K, respectivamente. Figura 31. (Final) (Véanse los numerales 9.10.3, 9.10.5.1 y 9.11.3)
  • 148.
    NORMA TÉCNICA COLOMBIANANTC 5786 138 mV ml ml utilizados Punto de equivalencia Figura 32. Gráfico de titulación típico (Véase el numeral 9.10.6.1) mV ml Figura 33. Gráfico de titulación de un blanco (Véanse los numerales 9.10.6.1 y 9.10.6.3)
  • 149.
    NORMA TÉCNICA COLOMBIANANTC 5786 139 Horno Recipiente de combustión Cinta de calentamiento Suministro de aire Tubo de combustión Trampas de agua (a) Posición al comienzo del ensayo Recipiente de combustión Cinta de calentamiento Trampas de agua (b) Posición durante el ensayo Cinta de calentamiento Trampas de agua (c) Posición para quemar completamente el residuo Horno Tubo de combustión Suministro de aire Recipiente de combustión Horno Tubo de combustión Suministro de aire Figura 34. Equipo de ensayo de producción de gas ácido. Método 1 (Véanse los numerales 9.11.5.1.2, 9.11.5.1.5, 9.11.5.1.6, y 9.11.5.1.7)
  • 150.
    NORMA TÉCNICA COLOMBIANANTC 5786 140 Cinta de calentamiento Trampas de agua (a) Posición al comienzo del ensayo Recipiente de combustión Cinta de calentamiento Trampas de agua (b) Posición durante el ensayo Cinta de calentamiento Trampas de agua (c) Posición para quemar completamente el residuo Horno Suministro de aire Recipiente de combustión Tubo de combustión Horno Suministro de aire Tapón de lana de cerámica Tapón de lana de cerámica Tubo de combustión Tapón de lana de cerámica Recipiente de combustión Tubo de combustión Suministro de aire Figura 35 Equipo de ensayo de producción de gas ácido. Método 2 (Véanse los numerales 9.11.5.2.2, 9.11.5.2.4, 9.11.5.2.6, 9.11.5.2.7, 9.11.5.2.9 y 9.11.5.2.10)
  • 151.
    NORMA TÉCNICA COLOMBIANANTC 5786 141 ANEXO A (Informativo) RETIRO DEL AISLAMIENTO DEL CONDUCTOR PARA PROBETAS TUBULARES (Véase el numeral 4.2.4.2.2) NOTA Este anexo no es parte obligatoria de esta norma, pero está escrito en este lenguaje para permitir su adopción si alguien deseara hacerlo. A.1 MÉTODO 1: CONDUCTORES TRENZADOS Los alambres individuales de conductor se deben retirar del aislamiento por medio de pinzas, sin dañar la probeta. A.2 MÉTODO 2: CONDUCTORES TRENZADOS O SÓLIDOS A.2.1 Se debe cortar una muestra de 150 mm (6 pulgadas) de conductor aislado, y se deben retirar 12,7 mm (0,5 pulgadas) de su aislamiento, en ambos extremos. A.2.2 Para evitar mellas en la probeta, cualquier aspereza del conductor se debe limar en un extremo del conductor aislado. A.2.3 El otro extremo del conductor con aislamiento se debe insertar en el orificio de una placa metálica de un calibrador de brocas (o equivalente) y asegurarse de que el orificio tenga un tamaño suficiente para que el conductor se mueva libremente, pero sin que el aislamiento pueda pasar a través de él. A.2.4 El conductor con aislamiento insertado en la placa metálica se deben asegurar en una prensa de tornillo, y el aislamiento se debe retirar del conductor halando suavemente la placa junto con el aislamiento, de la prensa de tornillo. Se debe hacer este procedimiento suavemente para impedir que el aislamiento se “arrugue" A.2.5 Después de retirar el conductor, la probeta de aislamiento se debe dejar reposar durante 30 min antes de llevar a cabo el ensayo, para cerciorarse de que el calor producido en la probeta se haya podido disipar y se haya relajado cualquier esfuerzo en ella. A.2.6 Para facilitar el retiro del aislamiento, el conductor se puede estirar previamente.
  • 152.
    NORMA TÉCNICA COLOMBIANANTC 5786 142 ANEXO B (Informativo) DETERMINACIÓN DE LA DENSIDAD (Véase el numeral 4.2.5.1.2) NOTA Este anexo no es parte obligatoria de esta norma, pero está escrito en este lenguaje para permitir su adopción si alguien deseara hacerlo. B.1 La densidad de una probeta se debe determinar a dos lugares decimales usando el método de desplazamiento, con una balanza de precisión de un tipo que da una lectura directa de la densidad (gravitómetro de Young) o requiere cálculo. Todo el equipo, el agua, el alcohol etílico y la probeta deben estar a la misma temperatura (cualquier temperatura ambiente conveniente) durante todo el procedimiento. B.2 De la muestra terminada se debe cortar una longitud limpia de 250 mm (10 pulgadas) adyacente a la usada para la preparación de las probetas para la determinación de las propiedades físicas, y se debe retirar cualquier conductor, cubierta y separador. Para reducir la posibilidad de que quede aire atrapado en los orificios, la longitud se debe cortar paralela a su eje longitudinal. Todas las superficies de la muestra cortadas deben ser lisas. B.3 Las probetas se deben cortar en longitudes de 50 mm (2 pulgadas). Se debe usar como probeta una sola longitud, si pesa 5 g ó más. Se deben usar varias longitudes como probeta, cuando una sola longitud pesa menos de 5 g. Una sola longitud o un haz de longitudes se debe amarrar en su centro con alambre de un diámetro no superior a 0,127 mm (0,0050 pulgadas, 36 AWG) y se debe suspender mediante el alambre, del brazo de pesaje de la balanza. B.4 Cuando se usa un gravitómetro de Young, los pesos del brazo se deben ajustar para llevar el puntero a la marca de infinito en la escala. Un vaso de precipitados u otro recipiente de boca ancha se debe llenar con alcohol etílico y colocar en la plataforma del instrumento. La probeta se debe levantar por el alambre y sumergir completamente en el alcohol, luego retirarla de éste y enjuagarla con agua destilada o desmineralizada que esté prácticamente libre de aire. El recipiente de alcohol se debe retirar y reemplazar por otro recipiente similar lleno con agua destilada o desmineralizada prácticamente libre de aire. La probeta se debe levantar de nuevo por el alambre y sumergir completamente en el agua. El alcohol etílico actúa como agente humectante y ayuda a evitar que se peguen burbujas de aire a la probeta o alambre mientras estos se encuentran en el agua. Sin embargo, cualquier burbuja que quede se debe eliminar frotando las burbujas con un alambre fino, o agitando la probeta. Ni el alambre suspendido ni la probeta deben tocar el recipiente. El vibrador del instrumento se debe activar para ayudar a que la balanza alcance equilibrio. Una vez que se ha alcanzado equilibrio, la densidad se debe leer a dos lugares decimales directamente de la escala. B.5 Cuando se usa una balanza diferente de un gravitómetro de Young, el peso W1 en el aire de la probeta sin el alambre de suspensión se debe determinar con aproximación a 5 mg. Un vaso de precipitados u otro recipiente de boca ancha se debe llenar con alcohol etílico y colocar en una plataforma de soporte estacionaria debajo del brazo de pesaje de la balanza. La probeta se debe elevar mediante el alambre y sumergir completamente en el alcohol, luego retirarla de éste y enjuagarla con agua destilada o desmineralizada que esté prácticamente libre de aire. El recipiente de alcohol se debe retirar y reemplazar por otro recipiente similar lleno con agua destilada o desmineralizada prácticamente libre de aire. La probeta se debe levantar de nuevo mediante el alambre y sumergir completamente en el agua. El alcohol etílico actúa como agente humectante y ayuda a evitar que se peguen a la probeta o alambre
  • 153.
    NORMA TÉCNICA COLOMBIANANTC 5786 143 burbujas de aire mientras estos están aún en el agua. Sin embargo, cualquier burbuja que quede se debe eliminar frotándola con un alambre fino, o agitando la probeta. Ni el alambre suspendido ni la probeta deben tocar el recipiente. El peso W2 en el agua de la probeta sumergida completamente y su alambre de suspensión sumergido parcialmente se deben determinar con aproximación a 5 mg. El punto en el cual el alambre toca la superficie del agua se debe marcar en el alambre y la probeta se debe retirar del agua y del alambre. El alambre se debe entonces reemplazar en el agua a la profundidad de la marca y su peso W3 se debe determinar con exactitud. La densidad de la probeta se debe calcular a dos lugares decimales por medio de la siguiente fórmula: 321 1 WWW W D −− =
  • 154.
    NORMA TÉCNICA COLOMBIANANTC 5786 144 ANEXO C (Informativo) CÁLCULO DE LA MUESTRA PARA LA DETERMINACIÓN DE LA ELONGACIÓN ÚLTIMA O RESISTENCIA A LA TENSIÓN EN 300 d (Véase el numeral 4.3.5.2) C.1 ELONGACIÓN EJEMPLO Elongación después de 90 días = 200 %, después de 120 = 150 %, después de 150 días = 100 % Al elaborar el gráfico x/y usando los valores anteriores y la necesidad de restar 90 días del comienzo, da x1 = 90 – 90 = 0 x2 = 120 – 90 = 30 x3 = 150 – 90 = 60 y1 = ln(200) = 5,29832 Y2 = ln(150) = 5,01064 Y3 = ln(100) = 4,60517 Usando el análisis de regresión lineal de cuadrados mínimos, y convirtiendo a una ecuación lineal (Y = B + RT) se obtiene R = −0,0115525 y B = 5,31795 Usando esta ecuación y resolviéndola para la elongación a 300 días (Y300 = 2,8919) se obtiene una elongación de 18,03 % (falla). C.2 RESISTENCIA A LA TENSIÓN EJEMPLO Resistencia a la tensión después de 90 días = 13,79 MPa (2 000 libra fuerza/pulgada2 ), después de 120 = 12,41 MPa (1 800 libra fuerza/pulgada2 ), después de 150 días = 11,03 MPa (1 600 libra fuerza/pulgada2 ) Construyendo el gráfico x/y usando los valores anteriores y la necesidad de restar 90 días del comienzo, da x1 = 90 – 90 = 0 x2 = 120 – 90 = 30 x3 = 150 – 90 = 60 y1 = ln(13,79) = 2,62355 (ln(2 000) = 7,6009) y2 = ln(12,41) = 2,51820 (ln(1 800) = 7,4955) y3 = ln(11,03) = 2,40041 (ln(1 600) = 7,3778)
  • 155.
    NORMA TÉCNICA COLOMBIANANTC 5786 145 Usando el análisis de regresión lineal de cuadrados mínimos, y convirtiendo a una ecuación lineal (Y = B + RT) se obtiene R = -0,00372 y B = 2,62563 (R = −0,003719 y B = 7,60297) Usando esta ecuación y resolviéndola para resistencia a la tensión a 300 días (Y300 = 1,84442) se obtiene 6,32 MPa (pasa).
  • 156.
    NORMA TÉCNICA COLOMBIANANTC 5786 146 ANEXO D (Normativo) ESTABLECIMIENTO DE PARÁMETROS Y REQUISITOS PARA EL ENSAYO DE ENVEJECIMIENTO A CORTO PLAZO EN HORNO DE AIRE FORZADO (Véase el numeral 4.3.5.6) D.1 Después de establecer el valor nominal de temperatura de un nuevo material, se debe llevar a cabo el ensayo de envejecimiento a corto plazo en horno con circulación forzada de aire. Cuando se hayan recolectado suficientes datos, el material se debe adicionar a la norma apropiada, incluido un ensayo de envejecimiento a corto plazo en horno con circulación forzada de aire, común a esa familia de materiales, y la evaluación de los valores nominales de temperatura no debe tener una duración mayor de la necesaria para ese material. Las directrices para determinar los parámetros y requisitos del ensayo de envejecimiento a corto plazo en horno con circulación forzada de aire deben estar de acuerdo con los literales D.2 a D.4. D.2 Escoja la temperatura y duración para el ensayo, de los parámetros presentados en la Tabla D.1, para el valor nominal de temperatura del material. D.3 Usando probetas de la misma fuente (carrete, caja de cartón, etc.) usada para determinar el valor nominal de temperatura del material, determine la retención de la elongación última y la resistencia a la tensión bajo las condiciones escogidas en la Tabla D.1. Reste el 15 % de los valores de retención obtenidos, y redondee con aproximación al 5 %. Si los valores son el 35 % o superiores, ajuste estos valores como los requisitos para este material. D.4 Si cualquiera de los valores es inferior al 35 %, se debe considerar que el valor es demasiado bajo para un ensayo confiable. En este caso, escoja la temperatura y duración del ensayo para la siguiente temperatura nominal más baja, como se ilustra en la Tabla D.1, y determine los requisitos de elongación última y la resistencia a la tensión como se describen en el literal D.3. Tabla D.1 Parámetros para el ensayo de envejecimiento a corto plazo en horno con circulación forzada de aire (Véanse los numerales D.2 – D.4) Valores nominales de temperatura (°C) 60 75 80 90 105 125 150 180 200 250 Temperatura de envejecimiento (°C ± 2 °C) 100 100 113 121 136 158 180 * * * Tiempo de envejecimiento (d) 7 10 7 7 7 7 7 * * * * La temperatura de envejecimiento y tiempos para estas temperaturas están en desarrollo
  • 157.
    NORMA TÉCNICA COLOMBIANANTC 5786 147 ANEXO E (Normativo) DETERMINACIÓN DEL FACTOR DE CORRECCIÓN DE TEMPERATURA (Véase el numeral 6.4.5) E.1 Si el ensayo para resistencia de aislamiento a 15 °C se lleva a cabo en agua o aire a una temperatura diferente de 15 °C, (véase el numeral 6.4.1), el factor de corrección de temperatura (F) a que se hace referencia en la fórmula del numeral 6.5 se debe determinar usando el coeficiente para 1 °C, como se determina de acuerdo con el método del literal E.2. E.2 El coeficiente para 1 °C se debe determinar para un material aislante dado, como sigue: a) Se deben seleccionar tres muestras como representativas del material que se estudia. Las muestras deben tener una longitud suficiente para obtener los valores de resistencia de aislamiento dentro del intervalo calibrado del equipo de medición a la temperatura más baja del baño de agua. b) Las tres muestras se deben sumergir en un baño de agua equipado con medios de calentamiento, enfriamiento y circulación, con los extremos de las muestras extendidos al menos 0,6 m (2 pies) sobre la superficie del agua y preparados adecuadamente para que haya un mínimo de fuga. Las muestras se deben dejar en agua a temperatura ambiente durante 16 h antes de ajustar el baño de temperatura a 10 °C, o antes de transferir las muestras a un baño a una temperatura de ensayo de 10 °C. c) La resistencia del conductor se debe medir a intervalos adecuados hasta que permanezca sin alteración al menos durante 5 min. El aislamiento estará entonces a la temperatura del baño, leída en el termómetro del baño. La resistencia de aislamiento se debe medir entonces usando uno de los métodos del numeral 6.4.1. d) Cada una de las tres muestras se debe exponer a temperaturas sucesivas del agua de 10 °C, 16 °C, 22 °C, 28 °C, y 35 °C y luego de 28 °C, 22 °C, 16 °C, y 10 °C. Las lecturas de resistencia de aislamiento se deben tomar a cada temperatura después de que se ha alcanzado equilibrio de acuerdo con el literal (c). e) Los dos grupos de lecturas tomadas a la misma temperatura se deben promediar, y junto con la lectura a 35 °C, se deben graficar en una escala semilogarítmica. Si la curva resultante es una línea recta, el coeficiente de 1 °C se calcula de la siguiente manera: Coeficiente para 1 °C = Amtilog [(log [IR10/IR35])/25] en donde α = base del logaritmo El factor de corrección de temperatura se debe leer de la Tabla E.1 bajo el título apropiado “coeficiente para 1°". La resistencia de aislamiento a 15 °C para un material particular se calcula entonces como sigue:
  • 158.
    NORMA TÉCNICA COLOMBIANANTC 5786 148 IR15 = IRx x Factor de Corrección de Temperatura en donde IRx = resistencia de aislamiento a X °C f) Si la curva resultante no es una línea recta, los factores de corrección de temperatura se deben calcular dividiendo la resistencia de aislamiento a 15 ° C por los valores de resistencia de aislamiento leídos de la curva de IR a intervalos de 0,5 °, y estos factores de corrección de temperatura se deben graficar. La resistencia de aislamiento a 15 °C para un material particular se calcula entonces como sigue: IR15 = IRx x Factor de corrección de temperatura en donde IRx = resistencia de aislamiento a X °C El factor de corrección de temperatura se debe leer directamente de los valores graficados. Tabla E.1. Factor de corrección de temperatura de la resistencia de aislamiento (Véase el literal E.2) Coeficiente para 1 °CTemperatura °C 1,04 1,06 1,08 1,10 1,12 1,14 1,16 1,18 1,20 1,22 5,0 0,68 0,56 0,46 0,39 0,32 0,27 0,23 0,19 0,16 0,14 5,5 0,69 0,57 0,48 0,40 0,34 0,29 0,24 0,21 0,18 0,15 6,0 0,70 0,59 0,50 0,42 0,36 0,31 0,26 0,23 0,19 0,17 6,5 0,72 0,61 0,54 0,44 0,38 0,33 0,28 0,24 0,21 0,18 7,0 0,73 0,63 0,56 0,47 0,40 0,35 0,31 0,27 0,23 0,20 7,5 0,75 0,65 0,58 0,49 0,43 0,37 0,33 0,29 0,25 0,23 8,0 0,76 0,67 0,61 0,51 0,45 0,40 0,35 0,31 0,28 0,25 8,5 0,77 0,68 0,62 0,54 0,48 0,43 0,38 0,34 0,31 0,27 9,0 0,79 0,70 0,63 0,56 0,51 0,46 0,41 0,37 0,33 0,30 9,5 0,81 0,73 0,65 0,59 0,54 0,49 0,44 0,40 0,37 0,33 10,0 0,82 0,75 0,68 0,62 0,57 0,52 0,48 0,44 0,40 0,37 10,5 0,84 0,77 0,71 0,65 0,60 0,55 0,51 0,47 0,44 0,41 11,0 0,85 0,79 0,74 0,68 0,64 0,59 0,55 0,52 0,48 0,45 11,5 0,87 0,82 0,76 0,72 0,67 0,63 0,59 0,56 0,53 0,50 12,0 0,89 0,84 0,79 0,75 0,71 0,67 0,64 0,61 0,58 0,55 12,5 0,91 0,86 0,82 0,79 0,75 0,72 0,69 0,66 0,63 0,61 13,0 0,92 0,89 0,86 0,83 0,80 0,77 0,74 0,72 0,69 0,67 13,5 0,94 0,92 0,89 0,87 0,84 0,82 0,80 0,78 0,76 0,74 14,0 0,96 0,94 0,93 0,91 0,89 0,88 0,86 0,85 0,83 0,82 14,5 0,98 0,97 0,96 0,95 0,94 0,94 0,93 0,92 0,91 0,91 15,0 1,00 1,00 1,00 1,00 1,00 1,00 1,00 1,00 1,00 1,00 15,5 1,02 1,03 1,04 1,05 1,06 1,07 1,08 1,09 1,10 1,10 16,0 1,04 1,06 1,08 1,10 1,12 1,14 1,16 1,18 1,20 1,22 16,5 1,06 1,09 1,12 1,15 1,19 1,22 1,25 1,28 1,31 1,35 17,0 1,08 1,12 1,17 1,21 1,25 1,30 1,35 1,39 1,44 1,49 17,5 1,10 1,16 1,21 1,27 1,33 1,39 1,45 1,51 1,58 1,64 18,0 1,12 1,19 1,26 1,33 1,40 1,48 1,56 1,64 1,73 1,82 Continúa…
  • 159.
    NORMA TÉCNICA COLOMBIANANTC 5786 149 Tabla E.1. (Final) Coeficiente para 1 °CTemperatura °C 1,04 1,06 1,08 1,10 1,12 1,14 1,16 1,18 1,20 1,22 18,5 1,15 1,23 1,31 1,40 1,49 1,58 1,68 1,78 1,89 2,01 19,0 1,17 1,26 1,36 1,46 1,57 1,69 1,81 1,94 2,07 2,22 19,5 1,19 1,30 1,41 1,54 1,67 1,80 1,95 2,11 2,27 2,45 20,0 1,22 1,34 1,47 1,61 1,76 1,93 2,10 2,29 2,49 2,70 20,5 1,24 1,38 1,53 1,69 1,87 2,06 2,26 2,49 2,73 2,99 21,0 1,27 1,42 1,59 1,77 1,97 2,19 2,44 2,70 2,99 3,30 21,5 1,29 1,46 1,65 1,86 2,09 2,34 2,62 2,93 3,27 3,64 22,0 1,32 1,50 1,71 1,95 2,21 2,50 2,83 3,19 3,58 4,02 22,5 1,34 1,55 1,78 2,04 2,34 2,67 3,04 3,46 3,93 4,44 23,0 1,37 1,59 1,85 2,14 2,48 2,85 3,28 3,76 4,30 4,91 23,5 1,40 1,64 1,92 2,25 2,62 3,05 3,53 4,08 4,71 5,42 24,0 1,42 1,69 2,00 2,36 2,77 3,35 3,80 4,44 5,16 5,99 24,5 1,45 1,74 2,08 2,47 2,93 3,47 4,10 4,82 5,65 6,61 25,0 1,48 1,79 2,16 2,59 3,11 3,71 4,41 5,23 6,19 7,30 25,5 1,51 1,84 2,24 2,72 3,29 3,96 4,75 5,69 6,78 8,07 26,0 1,54 1,90 2,33 2,85 3,48 4,23 5,12 6,18 7,43 8,91 26,5 1,57 1,95 2,42 2,99 3,68 4,51 5,51 6,71 8,14 9,84 27,0 1,60 2,01 2,52 3,14 3,90 4,82 5,94 7,29 8,92 10,87 27,5 1,63 2,07 2,62 3,29 4,12 5,14 6,39 7,92 9,77 12,01 28,0 1,67 2,13 2,72 3,45 4,36 5,49 6,89 8,60 10,70 13,26 28,5 1,70 2,20 2,83 3,62 4,62 5,86 7,42 9,34 11,72 14,65 29,0 1,73 2,26 2,94 3,80 4,89 6,26 7,99 10,15 12,84 16,18 29,5 1,77 2,33 3,05 3,98 5,17 6,69 8,60 11,02 14,06 17,87 30,0 1,80 2,40 3,17 4,18 5,47 7,14 9,27 11,97 15,41 19,74 30,5 1,84 2,47 3,30 4,38 5,79 7,62 9,98 13,01 16,88 21,81 31,0 1,87 2,54 3,43 4,59 6,13 8,14 10,75 14,13 18,49 24,09 31,5 1,91 2,62 3,56 4,82 6,49 8,69 11,58 15,35 20,25 26,60 32,0 1,95 2,69 3,70 5,05 6,87 9,28 12,47 16,67 22,19 29,38 32,5 1,99 2,77 3,85 5,30 7,27 9,90 13,43 18,11 24,30 32,46 33,0 2,03 2,85 4,00 5,56 7,69 10,58 14,46 19,67 26,62 35,85 33,5 2,07 2,94 4,15 5,83 8,14 11,29 15,58 21,37 29,16 39,60 34,0 2,11 3,03 4,32 6,12 8,61 12,06 16,78 23,21 31,95 43,74 34,5 2,15 3,12 4,49 6,41 9,11 12,87 18,07 25,22 35,00 48,31 35,0 2,19 3,21 4,66 6,73 9,65 13,74 19,46 27,39 38,34 53,36
  • 160.
    NORMA TÉCNICA COLOMBIANANTC 5786 150 ANEXO F (Normativo) PROCEDIMIENTO Y CÁLCULOS PARA DETERMINAR EL GRADO DE COBERTURA DE LOS RECUBRIMIENTOS FIBROSOS (Véanse los numerales 5.1.4 y 5.1.5) F.1 El número de hilos por mm (pulgada) se debe medir en tres lugares que estén separados al menos 50 mm (2 pulgadas) en cualquier sección de 300 mm (12 pulgadas) en el 1 m (3 pies) central de una probeta de 1,5 m (5 pies) del alambre recubierto de malla. El promedio de las tres determinaciones se debe tomar como el número de hilos por mm (pulgada) para esa probeta. Los valores del diámetro T de los hilos se ilustran en la Tabla F.1. Tabla F.1 Diámetro de los hilos (Véase el numeral F.1) Diámetro de hilos, T Tamaño y trama de hilos mm pulgada 12/1 14/1 36/2 20/1 25/1 30/1 36/1 25/2 30/2 40/2 26/1 60/2 26/2 50/2 0,28 0,25 0,23 0,20 0,18 0,18 0,15 0,011 0,010 0,009 0,008 0,007 0,007 0,006 El ángulo de paso se debe determinar por medio de cualquiera de las siguientes fórmulas que sea aplicable: ( ) K DTN A mmmm 425 2 , tan + = π o ( ) K DTN A pulgadaspulgadas tan + = 2π en donde A = ángulo de paso N = número de hilos por mm (pulgadas) T = diámetro de un extremo del hilo, mm (pulgadas) D = diámetro nominal (calculado), mm (pulgadas) sobre el aislamiento para monoconductores, como se indica en la Tabla F.2; al calcular el diámetro, D, bajo la malla general sobre cables con conductores múltiples, el promedio de los diámetros de los conductores individuales terminados se debe multiplicar por los siguientes factores: Ensambles de pares trenzados sin relleno; 1,64 Ensambles de pares trenzados con relleno; 2,00 Ensambles de tres conductores: 2,15 Ensambles de cuatro conductores: 2,41 K = número de portadores en una dirección
  • 161.
    NORMA TÉCNICA COLOMBIANANTC 5786 151 Tabla F.2 Diámetro nominal sobre el aislamiento (Véase el literal F.2) Espesor del aislamiento Diámetro nominal DCalibre AWG del conductor Cableado mm Pulgadas mm Pulgadas 20 18 18 18 18 18 18 16 16 16 14 Cableado Sólido Cableado Cableado Cableado Sólido Cableado Cableado Sólido Cableado Cableado 0,58 0,38 0,38 0,51 0,58 0,76 0,76 0,51 0,76 0,76 1,14 0,023 0,015 0,015 0,020 0,023 0,030 0,030 0,020 0,030 0,030 0,045 2,18 1,78 1,98 2,34 2,39 2,54 2,74 2,57 2,82 3,05 4,27 0,086 0,070 0,078 0,092 0,094 0,100 0,108 0,101 0,111 0,120 0,168 F.2 La siguiente es la fórmula para determinar el número mínimo aceptable de hilos por unidad de ancho para las mallas usadas más comúnmente, que son tejidas sobre una enmalladora de 16 portadores: ( ) ⎟⎟ ⎟ ⎠ ⎞ ⎜⎜ ⎜ ⎝ ⎛ ⎥ ⎦ ⎤ ⎢ ⎣ ⎡ + −⎥ ⎦ ⎤ ⎢ ⎣ ⎡ == 22 2100 10 mmmmmm DT K ET Q NcmporHilos π o ( ) ⎟ ⎟ ⎟ ⎠ ⎞ ⎜ ⎜ ⎜ ⎝ ⎛ ⎥ ⎥ ⎦ ⎤ ⎢ ⎢ ⎣ ⎡ + − ⎥ ⎥ ⎦ ⎤ ⎢ ⎢ ⎣ ⎡ == 22 2100 pulgadaspulgadaspulgadas pulgada DT K ET Q NporHilos π en donde N = número de hilos por unidad de longitud E = número de extremos por hilo Q = porcentaje de cobertura F.3 Si la fórmula del literal F.2 arroja un valor que da como resultado un ángulo de malla menor que el mínimo aceptable, el valor se debe recalcular por medio de cualquiera de las siguientes fórmulas, la que sea aplicable ( )mmmm DT AK NcmporHilos + == 2 425 π tan, o ( )pulgadaspulgadas tan pulgada DT AK NporHilos + == 2π
  • 162.
    NORMA TÉCNICA COLOMBIANANTC 5786 152 ANEXO G (Normativo) CÁLCULO DE LA COBERTURA DEL BLINDAJE (ENVOLTURAS Y TRENZAS) (Véase el numeral 5.2.4) G.1 La cobertura se debe determinar usando las siguientes fórmulas, según sean aplicables: a) Para trenzas % cobertura = 100 (2F – F2 ) en donde: F = NCd/(2Lseno a) en donde N = número de alambres por portador C = número de portadores d = diámetro de alambres individuales L = paso de alambres a = ángulo de trenza con el eje del núcleo subyacente, con una tangente del ángulo igual a: NOTA Las dimensiones pueden ser en mm o en pulgadas, siempre y cuando sean consistentes en todo el cálculo. tan(a) = π(D + d)/L en donde D = diámetro del núcleo bajo la pantalla NOTA Las dimensiones pueden ser en mm o en pulgadas, siempre y cuando sean consistentes en todo el cálculo. b) para envolturas % de cobertura = 100 F en donde F = NCd/(Lseno a) en donde N = número de alambres por portador C = número de portadores d = diámetro de alambres con vueltas individuales L = paso de alambres a = ángulo de vuelta con el eje del núcleo subyacente, con una tangente del ángulo igual a:
  • 163.
    NORMA TÉCNICA COLOMBIANANTC 5786 153 NOTA Las dimensiones pueden ser en mm o en pulgadas, siempre y cuando sean consistentes en todo el cálculo. tan(a) = π(D + d)/L en donde D = diámetro del núcleo bajo la envoltura NOTA Las dimensiones pueden ser en mm o en pulgadas, siempre y cuando sean consistentes en todo el cálculo. G.2 Al calcular D (el diámetro del ensamble de conductores bajo la envoltura o trenza que tiene conductores aislados del mismo calibre), el diámetro de uno de los conductores aislados se debe multiplicar por el factor dado en la Tabla G.1. El diámetro de un conductor aislado individual se debe determinar usando el diámetro nominal del conductor y el espesor promedio del aislamiento, y la cubierta sobre el aislamiento, si se usa una, como se especifica en esta norma. Tabla G.1 Factores de multiplicación para el cálculo del diámetro del ensamble de conductores debajo de la trenza (véase el literal G.2). Número de conductores Factor de multiplicación Número de conductores Factor de multiplicación 2 (sin rellenos) 1,64 11 4,00 2 (con rellenos) 2,00 12 4,15 3 2,15 13 4,24 4 2,41 14 4,41 5 2,70 15 4,55 6 3,00 16 4,70 7 3,00 17 4,86 8 3,31 18 5,00 9 3,62 19 5,00 10 3,93 - -
  • 164.
    NORMA TÉCNICA COLOMBIANANTC 5786 154 ANEXO H (Normativo) CERRAMIENTO PARA EL ENSAYO Y CONDUCTO DE ESCAPE (Véase el numeral 9.6.3) H.1 CERRAMIENTO PARA EL ENSAYO El cerramiento en el que se ensayan los cables debe ser como se ilustra en la Figura H.1. Se permiten otros cerramientos si se demuestra que brindan resultados equivalentes y tienen un tamaño (por ejemplo, un cubo de 2,4 m (8 pies)), de manera que el volumen interno del cerramiento, exceptuando la campana piramidal, no sea inferior a 14,5 m3 (512 pies3 ) ni mayor de 36 m3 (1 272 pies3 ), el área del suelo no sea inferior a 6 m2 (64 pies2 ) ni mayor de 9 m2 (97 pies2 ), y el movimiento máximo del aire dentro del cerramiento cumpla con el literal H.4.2. Las paredes de la estructura deben ser de concreto con una densidad de 1 700 kg/m3 (106 libras/pies3 ) ± 5 % y una conductividad térmica k a 21,1 °C (70,0 °F) de 0,055 W/m·K) (0,38 Btu·pulgada/(h·pie2 °F)) ± 5 %, con la superficie interior pintada de negro mate. Los materiales de construcción alternativos deben cumplir la intención de este requisito si se cumplen las dos siguientes condiciones: a) La conductividad térmica general, basada en una temperatura de pared interior de 37,8 °C (100.0 °F) y una temperatura del aire exterior de 23,9 °C (75 °F), debe ser de (0,072 ± 0,043) W/(m·K) ((0,50 ± 0,30) Btu · pulgadas/(h·pie2 ·°F))). b) Los materiales de construcción deben soportar altas temperaturas y llama abierta en el cerramiento de ensayo. El cerramiento de ensayo debe contener una puerta de acceso, construida habitualmente de acero, ubicada como se ilustra en la Figura H.1. La puerta debe estar equipada con una ventana de vidrio armado. Una campana de acero inoxidable en forma de pirámide truncada y una caja de recolección, cada una formada como se ilustra en la Figura H.1, deben estar ubicadas en la parte superior de las paredes del encerramiento. Como empaque entre la campana y las paredes se debe usar pelusa de algodón comprimible inorgánico. El cerramiento para ensayo de cables también debe estar ubicado en una edificación de ensayo que tenga orificios para la descarga de productos de la combustión, y también medios para la toma de aire fresco. H.2 CONDUCTO DE ESCAPE H.2.1 El escape conectado a la cámara impelente en la campana debe constar de un conducto de 405 mm (tamaño comercial 16 pulgadas), como se ilustra en la Figura H.1. H.2.2 Un tabique construido de una placa de acero de 3,2 mm (0,125 pulgadas) nominales se debe suspender horizontalmente 2,95 m (116 pulgadas) ± 3 % por encima del piso sobre el centro de la bandeja, mediante cadenas o cables unidos a las esquinas del tabique y conectados a la campana (véase la Figura H.1)
  • 165.
    NORMA TÉCNICA COLOMBIANANTC 5786 155 H.3 VENTILADOR DE ESCAPE Se debe conectar un ventilador de escape al conducto de escape, para mantener las tasas de flujo descritas en el numeral 9.6.3, literal (b) (véase la Figura H.2) H.4 MEDICIONES DE LA VELOCIDAD DEL AIRE H.4.1 Dentro del conducto de escape La velocidad se debe calcular como sigue: V = 0,806 x ΔP x TK (m/s) o V = 2,644 x ΔP x TK (pie/s) en donde ΔP = caída de presión medida por el transductor de presión (manómetro), mm Hg TK = temperatura en el conducto, medida por un termopar, K La velocidad en el conducto de escape se debe determinar midiendo la presión diferencial en la trayectoria del flujo con la sonda bidireccional que se ilustra en la Figura H.3. La sonda se debe conectar a un manómetro electrónico o a un sistema de medición equivalente. La sonda debe constar de un cilindro de acero inoxidable con un diafragma sólido en el centro, que divida la sonda en dos cámaras. La sonda debe tener una longitud nominal del doble del diámetro externo del cilindro, con una longitud mínima de 25,4 mm (1,0 pulgada) y una longitud máxima de 51 mm (2,0 pulgadas). Las tomas de presión (tubos) a cada lado del diafragma deben sostener la probeta dentro del conducto y están conectadas al transductor de presión por medio de tubería flexible. NOTA Se recomienda disponer de medios para retirar la sonda y hacerle limpieza periódica. El eje de la probeta debe estar localizado en la línea central del conducto un mínimo de 4 m (13,3 pies) aguas abajo de la última vuelta en el conducto (véase la Figura H.1), para asegurar una velocidad de flujo prácticamente uniforme a través de la sección transversal del conducto. Se permite colocar la sonda en otro lugar, si se demuestra que se obtienen resultados equivalentes. La temperatura del gas de escape se debe medir aproximadamente a 152 mm (6 pulgadas) aguas arriba de la sonda, desde la línea central del conducto, usando el termopar. H.4.2 Dentro del encerramiento El movimiento máximo del aire dentro del cerramiento, solamente con la toma del cerramiento y con el escape abiertos, el ventilador encendido y el quemador apagado, no debe exceder 1 m/s (3,3 pies/s), medidos en cada una de las siguientes áreas por medio de un anemómetro con aleta manual; a) en el piso del cerramiento en la posición ocupada por el quemador durante el ensayo; y
  • 166.
    NORMA TÉCNICA COLOMBIANANTC 5786 156 b) 1,5 m (4,9 pies) sobre el piso del cerramiento en la posición ocupada por la bandeja portacables durante el ensayo. H.5 EQUIPO DE MEDICIÓN DE HUMO El equipo de medición (fotómetro) debe estar compuesto por una fuente de luz y una celda fotoeléctrica montada en una sección horizontal del conducto de escape en un punto en el cual el sistema está precedido por un tramo recto de conducto que mide al menos doce diámetros de conducto ó 4,88 m (16 pies) de longitud. Esto es con el fin de asegurar una velocidad de flujo prácticamente uniforme a través de la sección transversal del conducto. El haz de luz se debe dirigir horizontalmente a través del diámetro del conducto. Una celda fotoeléctrica cuya salida es directamente proporcional a la cantidad de luz recibida, debe estar montada en dirección opuesta a la fuente de luz. El haz de luz debe pasar a través de aberturas redondas de 76 mm (3 pulgadas) de diámetro en lados opuestos del conducto. El haz de luz resultante debe estar centrado en la celda fotoeléctrica. La distancia entre las lentes de la fuente de luz y las lentes de las celdas fotoeléctricas debe ser de 914 ± 51 mm (36 ± 2 pulgadas). La celda fotoeléctrica debe estar conectada a un sistema de adquisición de datos digitales con una precisión dentro de ± 1 por ciento. Las mediciones de luz y presión se deben hacer cada 5 s. Los datos se deben procesar en un registro continuo de valores de oscurecimiento de humo, a partir de los cuales se debe calcular la densidad óptica. NOTA 1 Se ha encontrado adecuado para este propósito un faro transparente de un vehículo, con haz sellado de 12 V (parte nro. 4405) General Electric modelo 4405. También es aceptable un equipo equivalente. NOTA 2 Una celda fotoeléctrica de Weston Instruments, celda fotrónica No. 856-9901013BB, se ha encontrado adecuada para este propósito. También es aceptable un equipo equivalente.
  • 167.
    NORMA TÉCNICA COLOMBIANANTC 5786 157 9 1295 mm ± 25 mm 1143 mm ± 25 mm 2438 mm ± 25 mm 2438 mm ± 25 mm 2438 mm ± 25 mm 2438 mm ± 25 mm 3353 mm ± 25 mm 1295 mm ± 25 mm 1143 mm ± 25 mm 559 mm ± 6 mm 559 mm ± 6 mm 914 mm ± 6 mm 343 mm ± 6 mm 305 mm ± 6 mm 1295 mm ± 25 mm 1143 mm ± 25 mm 1 2 3 4 5 6 3 10 8 1 3 457 mm ± 25 mm 11 7 7 3353 mm ± 25 mm 16 14 15 4880 mm (192 pulgadas) 4000 mm (157,5 pulgadas) min. 12 13 Convenciones: 1. Cerramiento. Si se usan bloques de concreto, deben medir 203 mm de altura x 406 mm de longitud x 152 mm de espesor (8 x 16 x 6 pulgadas) nominales 2. Puertas con marco de acero con ventanas de vidrio armado, para acceso y observación. El tamaño de la puerta debe ser 0,9 x 2,1 m (36 x 84 pulgadas) 3. Ventana(s) de observación de vidrio armado con marco de acero de 457 mm (18 pulgadas) nominales cuadradas, ubicadas en una pared posterior de la cámara 4. Una campana de acero inoxidable en forma de pirámide truncada, cada lado con una pendiente de 40° 5. Caja de recolección con un conducto de escape centrado en un lado. La caja debe ser un cubo que mida 914 mm (36 pulgadas) de lado 6. Bandeja montada verticalmente en el centro del encerramiento 7. Aberturas de toma de aire 8. Tabique de acero de 610 x 610 mm (24 x 24 pulgadas) y 3,2 mm (0,125 pulgadas) de espesor nominales 9. Conducto de 405 mm (16 pulgadas) de diámetro interno 10. Iluminación opcional 11. Calibre de altura de llama (opcional) 12. Sonda de temperatura (Tipo K con un revestimiento de inconel) 13. Sonda de velocidad bidireccional 14. Celda fotoeléctrica y fuente de luz (para la medición de la densidad del humo) 15. Gabinete(s) de control (para sonda de velocidad bidireccional, termopar, fuente de luz y celda fotoeléctrica) 16. Quemador de cinta Figura H.1 Cerramiento para el ensayo de llama y conducto de escape (Véanse los numerales 9.6.3, 9.6.5.2, 9.6.5.3, H.1, H.2.1, H.2.2, y H.4.1)
  • 168.
    NORMA TÉCNICA COLOMBIANANTC 5786 158 Chimenea Conducto de 16 pulgadas Gases de escape Campana Cámara de ensayo de llama Cables de muestra Quemador de cinta Puerta Piso Pared externa Ventilador de tiro inducido Figura H.2. Montaje típico de un ventilador de tiro inducido (Véanse los numerales 9.6.3 y H.3) 44 mm (1,750 pulgadas) 1,83 mm (0,072 pulgadas) 0,91 mm (0,036 pulgadas) 22 mm (0,875 pulgadas) 7,26 mm (0,286 pulgadas) Longitud variable 4,70 mm (0,185 pulgadas) Soldar Figura H.3 Sonda bidireccional (Véanse los numerales 9.6.3 y H.4.1)
  • 169.
    NORMA TÉCNICA COLOMBIANANTC 5786 159 300 mm (12 pulgadas) 2440 mm (96 pulgadas) 76 mm (3 pulgadas) 25 mm (1 pulgada) 230 mm (9 pulgadas) Puntos de soldadura 13 mm (1 2 pulgada) NOTA Una bandeja de acero tipo escalera, de acuerdo con el documento CAN/CSA-C22.2 No. 126.1 ó NEMA VE 1, ó NMX-J-498-ANCE, que esté limpia y libre de residuos y remanentes se debe montar en posición vertical en forma segura. La bandeja debe medir 300 mm (12 pulgadas) de ancho x 76 mm (3 pulgadas) de profundidad x 2 440 mm (96 pulgadas) de longitud y debe tener canaletas como se indica a continuación y como se ilustra en esta figura: a) Cada canaleta debe medir 25 mm (1 pulgada) aproximadamente en dirección paralela a la longitud de la bandeja y aproximadamente 13 mm (1/2 de pulgada) en la dirección de profundidad de la bandeja. b) Las canaletas deben estar separadas aproximadamente 230 mm (9 pulgadas) (medidas entre centros). c) Las canaletas se deben soldar por puntos a las barandas laterales. Figura H.4. Bandeja portacable de acero (Véase el numeral 9.6.3) 81 orificios 80 orificios 81 orificios 257 mm (10 1 8 de pulgada) 5 mm (3 16 de pulgada) 3,2 mm (1 8 de pulgada) NOTA 1 Todas las dimensiones son nominales. NOTA 2 Los agujeros se deben centrar en la placa y deben medir 1,35 mm (0,052 pulgadas (broca No. 55) de diámetro. Figura H.5 Agujeros del quemador (Véase el numeral 9.6.3)
  • 170.
    NORMA TÉCNICA COLOMBIANANTC 5786 160 2440 mm (96 pulgadas) mínimo Longitudes de los cables alambre amarrado a canaletas de la bandeja portacables Bandeja portacables Quemador 76 mm (3 pulgadas) 305 mm (12 pulgadas) 20° Base de la bandeja 152 mm (6 pulgadas) máximoBase de la bandeja 152 mm (6 pulgadas) máximo 2440 mm (96 pulgadas) mínimo 457 mm (18 pulgadas) 76 mm (3 pulgadas) Quemador Bandeja portacables Longitudes de los cables alambre amarrado a canaletas de la bandeja portacables Método 1. Horizontal Método 2. En ángulo NOTA La base de la bandeja (opcional) es 152 mm (6 pulgada) de altura máxima. Figura H.6 Detalles de colocación del quemador (Véanse los numerales 9.6.5.2 y 9.6.5.3) Quemador Propano líquido Aire comprimido Válvula de bola Regulador Válvula de aguja Fluidómetro Mezclador venturi NOTA La base de la bandeja (opcional) es 152 mm (6 pulgada) de altura máxima. Figura H.7. Esquema del tren de gases (Véase el numeral 9.6.3)
  • 171.
    NORMA TÉCNICA COLOMBIANANTC 5786 161 150 mm (6 pulgadas) 2440 mm (96 pulgadas) Probeta Bandeja portacables Amarres de alambre en cada probeta en cuatro lugares ubicados a igual distancia 100 mm (4 pulgadas) máximo Método 1 de carga (usando solamente 150 mm centrales (6 pulgadas)) Método 2 de carga (diámetro de cable > 13 mm (0,51 pulgadas) (usando el ancho solamente)) Método 2 de carga (diámetro de cable < 13 mm (0,51 pulgadas) (usando el ancho completo con haces)) 2440 mm (96 pulgadas) Probeta Bandeja portacables Amarres de alambre en cada probeta en cuatro lugares ubicados a igual distancia 100 mm (4 pulgadas) máximo 2440 mm (96 pulgadas) Probeta (en haz) Bandeja portacables Amarres de alambre en cada haz en cada canaleta 100 mm (4 pulgadas) máximo Figura H.8 Bandeja portacables (Véanse los numerales 9.6.4.2 y 9.6.4.3)
  • 172.
    NORMA TÉCNICA COLOMBIANANTC 5786 162 5,000 10,00 15,00 20,00 Tiempo (min) 3,50 4,00 4,50 5,00 5,50 6,00 6,50m/s Figura H.9 Gráfico típico de velocidad de escape (Véase el numeral 9.6.6.1) Tasa de flujo de escape
  • 173.
    NORMA TÉCNICA COLOMBIANANTC 5786 163 ANEXO I (Informativo) CONVERSIÓN DEL pH A GAS ÁCIDO (como % de HCl) Y GAS ÁCIDO (como % de HCl) A pH (Véase el numeral 9.11.6.2.2) Tabla I.1. Conversión del pH a gas ácido (como % de HCl) y gas ácido (como % de HCl) a pH pH a gas ácido pH a gas ácido gas ácido a pH gas ácido a pH pH % gas ácido pH % gas ácido % gas ácido pH % gas ácido pH 0,1 5792,2 3,6 1,8 0,1 4,86 3,5 3,32 0,2 4600,9 3,7 1,5 0,2 4,56 3,6 3,31 0,3 3654,7 3,8 1,2 0,3 4,39 3,7 3,29 0,4 2903,0 3,9 0,9 0,4 4,26 3,8 3,28 0,5 2305,9 4,0 0,73 0,5 4,16 3,9 3,27 0,6 1831,7 4,1 0,58 0,6 4,08 4,0 3,26 0,7 1454,9 4,2 0,46 0,7 4,02 4,1 3,25 0,8 1155,7 4,3 0,37 0,8 3,96 4,2 3,24 0,9 918,0 4,4 0,29 0,9 3,91 4,3 3,23 1,0 729,2 4,5 0,23 1,0 3,86 4,4 3,22 1,1 579,2 4,6 0,18 1,1 3,82 4,5 3,21 1,2 460,1 4,7 0,15 1,2 3,78 4,6 3,20 1,3 365,5 4,5 0,12 1,3 3,75 4,7 3,19 1,4 290,3 4,9 0,09 1,4 3,72 4,5 3,18 1,5 230,6 5,0 0,07 1,5 3,69 4,9 3,17 1,6 183,2 5,1 0,08 1,6 3,66 5,0 3,16 1,7 145,5 5,2 0,05 1,7 3,63 5,1 3,16 1,8 115,6 5,3 0,04 1,8 3,61 5,2 3,15 1,9 91,8 5,4 0,03 1,9 3,58 5,3 3,14 2,0 72,9 5,5 0,02 2,0 3,56 5,4 3,13 2,1 57,9 5,6 0,018 2,1 3,54 5,5 3,12 2,2 46,0 5,7 0,015 2,2 3,52 5,6 3,11 2,3 38,5 5,8 0,012 2,3 3,50 5,7 3,11 2,4 29,0 5,9 0,009 2,4 3,48 5,8 3,10 2,5 23,1 6,0 0,007 2,5 3,46 5,9 3,09 2,6 18,3 6,1 0,008 2,6 3,45 6,0 3,06 2,7 14,5 6,2 0,005 2,7 3,43 6,1 3,06 2,8 11,6 6,3 0,004 2,8 3,42 6,2 3,07 2,9 9,2 6,4 0,0029 2,9 3,40 6,3 3,06 3,0 7,3 6,5 0,0023 3,0 3,39 6,4 3,06 3,1 5,8 6,6 0,0018 3,1 3,37 6,5 3,05 3,2 4,6 6,7 0,0015 3,2 3,36 6,6 3,04 3,3 3,7 6,8 0,0012 3,3 3,34 6,7 3,04 3,4 2,9 6,9 0,0009 3,4 3,33 6,8 3,03 3,5 2,3 7,0 0,0007 3,5 3,32 6,9 3,02
  • 174.
    NORMA TÉCNICA COLOMBIANANTC 5786 164 NOTA Las siguientes ecuaciones dan orientación acerca de cómo hacer los cálculos: [ ] [ ] [ ] 1004636 x x molgMw gmácidoGas pH HCL polymer /, % log−= [ ] [ ] [ ]gm xmolgMwx ácidoGas polymer HCL pH 100463610 /, % − =
  • 175.
    NORMA TÉCNICA COLOMBIANANTC 5786 165 ANEXO J (Informativo) CORRELACIÓN DE LOS MÉTODOS DE ENSAYO DE ALAMBRE Y CABLE NMX CON LA NORMA UL 2556/CSA C22.2 No. 2556 NOTA NMX-J-556-ANCE está organizada con la misma numeración que la UL 2556/CSA C22.2 No. 2556. En donde existe un método de ensayo estándar NMX separado, NMX-J-556-ANCE hace referencia a una norma NMX separada que especifica el método de ensayo armonizado. Tabla J.1 Correlación del ensayo UL 2556/CSA C22.2 No. 2556 con las normas NMX Método de ensayo UL 2556/CSA C22.2 No. 2556 Norma NMX Diámetro del conductor Método de área de sección transversal por masa (peso) Método de área de sección transversal por diámetro Resistencia de CC Propiedades físicas de los conductores Resistencia máxima a la tracción y elongación a la rotura Resistencia última Fatiga por flexión Ciclado térmico a alta corriente para conductores de aluminio Espesor Propiedades físicas (elongación última y resistencia a la tensión) Envejecimiento a corto plazo en horno de aire forzado Resistencia al aceite Resistencia a la gasolina Intemperie (resistencia a la luz solar) Valor nominal de temperatura seca de materiales nuevos (ensayo de envejecimiento a largo plazo) Contenido de negro de carbón Cobertura de mallas fibrosas Cobertura del blindaje (vueltas y mallas) Saturación Continuidad Resistencia del dieléctrico a la tensión Ruptura del dieléctrico Resistencia de aislamiento Capacitancia y permitividad relativa Factor de estabilidad Chispa Ensayo de arco normal Ensayo de arco por flexión Resistencia de la chaqueta Ensayo de corriente de fuga a c.a Penetración de materiales extruidos Choque térmico Resistencia al choque térmico Retracción Doblado en frío Impacto en frío Deformación 3.1 3.2 3.3 3.4 3.5 3.5.1 3.5.2 3.5.3 3.6 4.1 4.2 4.2.8.2 4.2.8.3 4.2.8.4 4.2.8.5 4.3 4.4 5.1 5.2 5.3 6.1 6.2 6.3 6.4 6.5 6.6 6.7 6.8 6.9 6.10 6.11 7.1 7.2 7.3 7.4 7.5 7.6 7.7 NMX-J-066-ANCE NMX-J-129-ANCE NMX-J-066-ANCE NMX-J-212-ANCE NMX-J-312-ANCE NMX-J-312-ANCE NMX-J-556-ANCE NMX-J-556-ANCE NMX-J-556-ANCE NMX-J-177-ANCE NMX-J-556-ANCE* NMX-J-186-ANCE NMX-J-194-ANCE NMX-J-556-ANCE NMX-J-553-ANCE NMX-J-556-ANCE NMX-J-437-ANCE NMX-J-556-ANCE NMX-J-556-ANCE NMX-J-556-ANCE NMX-J-556-ANCE NMX-J-293-ANCE NMX-J-556-ANCE NMX-J-294-ANCE NMX-J-040-ANCE NMX-J-205-ANCE NMX-J-473-ANCE NMX-J-556-ANCE NMX-J-556-ANCE NMX-J-556-ANCE NMX-J-556-ANCE NMX-J-556-ANCE NMX-J-190-ANCE NMX-J-556-ANCE NMX-J-556-ANCE NMX-J-193-ANCE NMX-J-556-ANCE NMX-J-191-ANCE Continúa…
  • 176.
    NORMA TÉCNICA COLOMBIANANTC 5786 166 Método de ensayo UL 2556/CSA C22.2 No. 2556 Norma NMX Elongación y cedencia gradual por calor Resistencia a la abrasión Resistencia al aplastamiento Resistencia al impacto Ruptura dieléctrica después de impacto oblicuo Flexibilidad a temperatura ambiente después de envejecimiento Flexibilidad de la cinta separadora bajo la chaqueta Hinchazón y ampollamiento cuando se sumerge en líquido Durabilidad de la impresión con tinta Recubrimiento de color Resistencia mecánica Ensayo de flexión en conductores cubiertos de nailon Tensión mecánica del aislamiento Flexión de cables con pantalla Corrosión del cobre Llama horizontal FT2/FH Partículas encendidas (goteo) FT1 FV-2/VW-1 FV-1/llama vertical Llama de bandeja vertical Método 1. Bandeja vertical Llama de bandeja vertical Método 2 – FT4 Humo limitado ST1 Propagación del fuego/RPI Emisión de humo Emisión de gases halógenos ácidos Emisión de gases ácidos Retiro del aislamiento del conductor para probetas tubulares Determinación de la densidad 7.8 7.9 7.10 7.11 7.12 7.13 7.14 7.15 7.16 7.17 7.18 7.19 7.20 7.21 8.1 9.1 9.2 9.3 9.4 9.5 9.6.4.2 9.6.4.3 9.7 9.8 9.9 9.10 9.11 Anexo A Anexo B NMX-J-432-ANCE NMX-J-556-ANCE NMX-J-556-ANCE NMX-J-556-ANCE NMX-J-556-ANCE NMX-J-189-ANCE NMX-J-556-ANCE NMX-J-556-ANCE NMX-J-556-ANCE NMX-J-556-ANCE NMX-J-556-ANCE NMX-J-5S6-ANCE NMX-J-556-ANCE NMX-J-556-ANCE NMX-J-556-ANCE NMX-J- 192-ANCE NMX-J-556-ANCE NMX-J-556-ANCE NMX-J- 192-ANCE NMX-J- 192-ANCE NMX-J-556-ANCE NMX-J-498-ANCE NMX-J-556-ANCE NMX-J-093-ANCE NMX-J-4 7 4-ANCE NMX-J-472-ANCE NMX-J-556-ANCE NMX-J-178-ANCE NMX-J-178-ANCE Cálculo para la determinación de la elongación última o resistencia a la tensión en 300 d Anexo C NMX-J-556-ANCE Parámetros y requisitos para el ensayo de envejecimiento a corto plazo en horno con circulación forzada de aire Anexo D NMX-J-556-ANCE Determinación del factor de corrección de temperatura Anexo E NMX-J-294-ANCE Procedimiento y cálculos para determinar el grado de cobertura de los recubrimientos fibrosos. Anexo F NMX-J-556-ANCE Cálculo de cobertura del blindaje Anexo G NMX-J-556-ANCE * Numerales 4.2.1 - 4.2.3 y referencia a NMX-J-178-ANCE
  • 177.
    NORMA TÉCNICA COLOMBIANANTC 5786 167 DOCUMENTO DE REFERENCIA UNDERWRITERS LABORATORIES. Wire and Cable Test Methods. Northbrook, UL: 2007. 202 p. il. (UL 2556)