Incrustar presentación
Descargado 168 veces





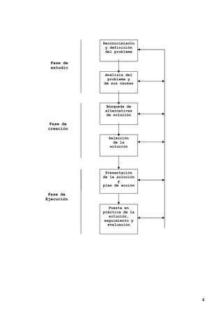
Este documento describe los métodos específicos de la tecnología, incluyendo el proyecto tecnológico y el análisis de productos. Explica que la tecnología surge para satisfacer las necesidades de la sociedad a través del desarrollo de productos tecnológicos. Propone que la relación entre demanda social y producto tecnológico puede enfocarse ya sea desde la demanda mediante un proyecto tecnológico, o desde el producto mediante un análisis. Finalmente, presenta un método general



