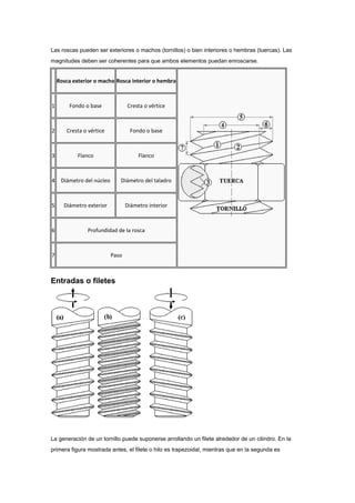
Términos de las roscas de tornillo

  Rosca de Tornillo Un borde de sección uniforme con la forma de hélice sobre la superficie
                              externa o interna de un cilindro.

Rosca externa una rosca en el exterior de un elemento, por ejemplo en un eje.

Rosca interna una rosca en el interior de un elemento, por ejemplo en un orificio.

Diámetro mayor El diámetro mas grande de una rosca de tornillo (tanto para roscas internas
como para externas).

Diametro menor




           Símbolos de roscado más comunes              Denominación usual       Otras


     American Petroleum Institute                                  API
     British Association                                            BA
     International Standards Organisation                          ISO
     Rosca para bicicletas                                          C
     Rosca Edison                                                   E
     Rosca de filetes redondos                                      Rd
     Rosca de filetes trapesoidales                                 Tr
     Rosca para tubos blindados                                     PG               Pr
     Rosca Whitworth de paso normal                                BSW               W
     Rosca Whitworth de paso fino                                   BSF
     Rosca Whitworth cilíndrica para tubos                         BSPT           KR
     Rosca Whitworth                                               BSP             R
     Rosca Métrica paso normal                                       M             SI
     Rosca Métrica paso fino                                         M            SIF
     Rosca Americana Unificada p. normal                           UNC          NC, USS
     Rosca Americana Unificada p. fino                             UNF          NF, SAE
     Rosca Americana Unificada p.exrafino                          UNEF          NEF
     Rosca Americana Cilíndrica para tubos                         NPS
     Rosca Americana Cónica para tubos                             NPT           ASTP
Rosca Americana paso especial                                UNS                 NS
      Rosca Americana Cilíndrica "dryseal" para tubos              NPSF
      Rosca Americana Cónica "dryseal" para tubos                  NPTF

Es posible crear una rosca con dimensiones no estándares, pero siempre es recomendable
usar roscas normalizadas para adquirirlas en ferreterías y facilitar la ubicación de los repuestos.
La fabricación y el mecanizado de piezas especiales aumenta el costo de cualquier diseño, por
lo tanto se recomienda el uso de las piezas que están en plaza.

Se han destacado solamente las roscas métricas, unificadas y withworth por ser las más
utilizadas, pero existen muchas roscas importantes para usos especiales. Le entregan a
continuación las tablas detalladas de estas tres familias de roscas para las series fina y basta.

         METRICA PASO                   METRICA PASO                       METRICA PASO
             FINO                           FINO                             NORMAL

         Medida Nominal                 Medida Nominal                     Medida Nominal
                                            Dext x   paso                    Dext x    paso
           Dext x paso
                                      M       25 x   1.5               M       1.6 x   0.35
     M      2.5 x 0.35                M       25 x   2                 M       1.7 x   0.35
     M                                M       26 x   1.5               M         2x    0.4
              3 x 0.35
                                      M       27 x   1                 M       2.2 x   0.45
     M                                M       27 x   1.5               M       2.3 x   0.4
             3.5 x 0.35
                                      M       27 x   2                 M       2.5 x   0.45
     M        4 x 0.5                 M       28 x   1                 M       2.6 x   0.45
     M                                M       28 x   1.5               M         3x    0.5
              5 x 0.5
                                      M       28 x   2                 M         3x    0.6
     M                                M       30 x   1                 M       3.5 x   0.6
              6 x 0.75
                                      M       30 x   1.5               M         4x    0.7
     M        7 x 0.75                M       30 x   2                 M         4x    0.75
     M                                M       32 x   1.5               M       4.5 x   0.75
              8 x 0.75
                                      M       32 x   2                 M         5x    0.75
     M                                M       33 x   1.5               M         5x    0.8
              8x 1
                                      M       33 x   2                 M         5x    0.9
     M        9 x 0.75                M       34 x   1.5               M         5x    1
     M                                M       35 x   1.5               M       5.5 x   0.9
              9x 1
                                      M       35 x   2                 M         6x    1
     M                                M       36 x   2                 M         7x    1
             10 x 0.75
                                      M       36 x   3                 M         8x    1.25
     M       10 x 1                   M       38 x   1.5               M         9x    1.25
     M                                M       38 x   2                 M        10 x   1.5
             10 x 1.25                M       39 x   1.5               M        11 x   1.5
     M                                M       39 x   2                 M        12 x   1.75
             11 x -
                                      M       39 x   3                 M        14 x   2
     M                                M       40 x   1.5               M        16 x   2
             11 x 0.75
                                      M       40 x   2                 M        18 x   2.5
     M       12 x 1                   M       40 x   3                 M        20 x   2.5
     M                                M       42 x   2                 M        22 x   2.5
             12 x 1
                                      M       42 x   3                 M        24 x   3
M   45 x   1.5            M       27 x   3
M    12 x 1.25                  M   45 x   2              M       30 x   3.5
M                               M   45 x   3              M       33 x   3.5
     13 x 1.5
                                M   48 x   2              M       36 x   4
M                               M   48 x   3              M       39 x   4
     14 x 1
                                M   50 x   2              M       42 x   4.5
M    14 x 1                     M   50 x   3              M       45 x   4.5
M                               M   52 x   2              M       48 x   5
     14 x 1.25
                                M   52 x   3              M       52 x   5
M    15 x 1
M    15 x 1.5
M    16 x 1
M    16 x 1.5
M    17 x 1.5
M    17 x 1
M    18 x 1.5
M    18 x 1
M    20 x 1.5
M    20 x 1
M    22 x 1.5
M    22 x 1
M    24 x 1.5
M    24 x 1
M    24 x 1.5
M    25 x 1
M    25 x 1.5



      UNIFICADA PASO                                 UNIFICADA PASO
          NORMAL                                           FINO
       Medida Nominal
              -   Nº H/''                             Medida Nominal
    4 (.112") -   40      UNC
                                                        Dext - Nº H/''
    5 (.125") -   40      UNC
                                                 Nº 0 (.060'') - 80    UNC
    6 (.138") -   32      UNC
                                                 Nº 1 (.073") - 72     UNC
8 (.164") - 32         UNC   Nº    2    (.086")   -   64   UNC
10 (.190") - 24         UNC   Nº    3    (.099")   -   56   UNC
12 (.216") - 24         UNC   Nº    4    (.112")   -   48   UNC
       1/4" - 20        UNC   Nº    5    (.125")   -   44   UNC
     5/16" - 18         UNC   Nº    6    (.138")   -   40   UNC
                              Nº    8    (.164")   -   36   UNC
       3/8" - 16        UNC
                              Nº   10    (.190")   -   32   UNC
     7/16" - 14         UNC
                              Nº   12    (.216")   -   28   UNC
       1/2" - 13        UNC
                                           1/4'' - 28       UNC
     9/16" - 12         UNC
                                          5/16'' - 24       UNC
       5/8" - 11        UNC
                                           3/8'' - 24       UNC
       3/4" - 10        UNC
                                          7/16'' - 20       UNC
       7/8" - 9         UNC
                                           1/2'' - 20       UNC
        1" - 8          UNC
                                          9/16'' - 18       UNC
     1"1/8" - 7         UNC
                                           5/8'' - 18       UNC
     1"1/4" - 7         UNC
                                           3/4'' - 16       UNC
     1"3/8" - 6         UNC
                                           7/8'' - 14       UNC
     1"1/2" - 6         UNC
                                             1'' - 12       UNC
     1"3/4" - 5         UNC
                                         1''1/8'' - 12      UNC
       2" - 4 1/2       UNC
                                         1''1/4'' 4 12      UNC
       2" - 4 1/2       UNC
                                         1''3/4'' 4 12      UNC
     2"1/2" - 4         UNC
                                        1''1/12'' - 12      UNC
     2"3/4 - 4          UNC
        3" - 4          UNC




    WHITWORTH PASO                 WHITWORTH PASO
        NORMAL                          FINO

     Medida Nominal                     Medida Nominal

          Dext - Nº H/''                     Dext - Nº H/''
W                              BFS
         1/16 '' - 60                        3/16'' - 32
W                              BFS
          3/32'' - 48                        7/32'' - 28
W                              BFS
           1/8'' - 40                         1/4'' - 26
W                              BFS
          5/32'' - 32                        9/32'' - 26
W                              BFS
          3/16'' - 24                        5/16'' - 22
W                              BFS
          7/32'' - 24                         3/8'' - 20
W                              BFS
           1/4'' - 20                        7/16'' - 18
W                                                 BFS
                     5/16'' - 18                                       1/2'' - 16
           W                                                 BFS
                      3/8'' - 16                                      9/16'' - 16
           W                                                 BFS
                     7/16'' - 14                                       5/8'' - 14
           W                                                 BFS
                      1/2'' - 12                                     11/16'' - 14
           W                                                 BFS
                     9/16'' - 12                                       3/4'' - 12
           W                                                 BFS
                      5/8'' - 11                                     13/16'' - 12
           W                                                 BFS
                      3/4'' - 10                                       7/8'' - 11
           W                                                 BFS
                      7/8'' - 9                                           1'' - 10
           W                                                 BFS
                         1'' - 8                                     1''1/8'' - 9
           W                                                 BFS
                    1''1/8'' - 7                                     1''1/4'' - 9
           W                                                 BFS
                    1''1/4'' - 7                                     1''3/8'' - 8
           W                                                 BFS
                    1''3/8'' - 6                                     1''1/2'' - 8
           W                                                 BFS
                    1''1/2'' - 6                                     1''5/8'' - 8
           W                                                 BFS
                    1''5/8'' - 5                                     1''3/4'' - 7
           W                                                 BFS
                  1''3/4'0'    5                                          2''   7
           W                                                 BFS
                    1''7/8''   4                                     2''1/4''   6
           W                                                 BFS
                         2'' - 4                                     2''1/2'' - 6
           W                                                 BFS
                    2''1/4'' - 4                                     2''3/4'' - 6
           W                                                 BFS
                    2''1/2'' - 4                                          3'' - 5
           W        2''3/4'' - 3
           W             3'' - 3




Con respecto al sentido de giro, en la designación se indica "izq" si es una rosca de sentido
izquierdo, no se indica nada si es de sentido derecho. De forma similar, si tiene más de una
entrada se indica "2 ent" o "3 ent". Si no se indica nada al respecto, se subentiende que se trata
de una rosca de una entrada y de sentido de avance derecho.

En roscas de fabricación norteamericana, se agregan más símbolos para informar el grado de
ajuste y tratamientos especiales
Para proceder a la fabricación de una rosca se pueden seguir al menos tres caminos: forjar la
rosca a través de peines, tornearla o maquinarla usando machos y terrajas. La figura siguiente
muestra el proceso de fabricación de una rosca interior utilizando una broca para perforar el
diámetro interior y un macho para cortar el hilo en la pared de la perforación. Los machos son
utilizados para formar hilos interiores, mientras que las terrajas son utilizadas para roscas
exteriores.




RETENSION DE TUERCAS

Como una unión depende tanto del perno como de la tuerca, se han desarrollo distintos
métodos para bloquear la salida accidental de la tuerca. La figura siguiente muestra la
utilización de una tuerca auxiliar (contratuerca) para producir una presión sobre la cara superior
de la tuerca principal. Se muestra también el uso de arandelas elásticas (golillas de presión)
que se ubican entre la tuerca y la pieza, o entre la tuerca y una arandela plana; el objetivo es
provocar un mayor roce en la cara inferior de la tuerca.
Otra forma de inmovilizar la tuerca es colocar un pasador de aletas en el perno, que debe
sacarse para poder remover la tuerca. Esta solución requiere de una perforación en el perno.
Pueden utilizarse tuercas especiales que tienen cortes para alojar el seguro (tuercas
almenadas).




Una deformación local de la tuerca provocada por la inserción de un perno de menor tamaño
provoca un mayor ajuste y asegura la unión. Finalmente, pueden utilizarse arandelas
deformables que se doblan sobre la tuerca, evitando que ésta gire y se suelte.

                                     Pasador de aleta

                           D nominal                   Largo
                              0,6                 de     4 a 12
                               0,8                de     5 a 16
                               1,0                de     6 a 20
                               1,2                de     8 a 25
                               1,6                de     8 a 32
                               2,0                de 10 a 40
                               2,5                de 12 a 50
                               3,2                de 17 a 63
UNI 1336




Las normas de prueba de pernos indican cargarlo contra su propio hilo, sin utilizar una probeta
representativa. Esto genera un valor llamado carga de prueba, la cual puede utilizarse para
diseñar en reemplazo de la resistencia a la fluencia. Se adjuntan las marcas con que se indica
el grado de resistencia de los pernos, para las normas SAE, ASTM y Métrica. Se adjunta
también la tabla de marcas de los productos American Screw.



                              Marcado de pernos de acero grado SAE

Número de grado       Rango            Carga          Esfuerzo                                     Marcado de
                                                                                Material
     SAE        deldiámetro [inch] deprueba [kpsi] deruptura [kpsi]                                 lacabeza




                  ¼ - 1½ ¼ - ¾ 7/8-                                   Acero de bajo carbono ó
      12                                 55 33              74 60
                        1½                                            acero al carbono




                                                                      Acero al carbono, Templado
       5           ¼ - 1 11/8 - 1½      85 74           120 105       y
                                                                      Revenido




                                                                      Acero de bajo carbono
      5.2               ¼-1               85                120       martensítico, Templado y
                                                                      Revenido




                                                                      Acero al carbono aleado,
       7               ¼ - 1½            105                133
                                                                      Templado y Revenido
8              ¼ - 1½             120              150        Acero al carbono aleado,
                                                                     Templado y Revenido




      8.2              ¼-1               120              150        Acero de bajo carbono
                                                                     martensítico, Templado y
                                                                     Revenido




                          Marcas para pernos de acero grado ASTM

                         Rango            Carga          Esfuerzo                                Marcado de
Designación ASTM                                                               Material
                   deldiámetro [inch] deprueba [kpsi] deruptura [kpsi]                            lacabeza




     A307               ¼a4                                              Acero de bajo carbono




                                                                               Acero al
   A325 tipo 1      ½ a 1 11/8 a 1½       85 74           120 105         carbono,Templado y
                                                                               Revenido




                                                                            Acero de bajo
   A325 tipo 2     ½ a 1 11/8 a 1½        85 74           120 105        carbonomartensítico,
                                                                         Templado yRevenido




                                                                                 Acero
   A325 tipo 3     ½ a 1 11/8 a 1½        85 74           120 105        recubierto,Templado y
                                                                               Revenido
Acero aleado, Templado
A354 grado BC
                                                                         y Revenido




                                                                   Acero aleado, Templado
A354 grado BD        ¼a4               120            150
                                                                         y Revenido




                                                                          Acero al
                ¼ a 1 11/8 a 1½1¾
    A449                             85 74 55      120 105 90        carbono,Templado y
                       a3                                                 Revenido




                                                                   Acero aleado, Templado
 A490 tipo 1        ½ a 1½             120            150
                                                                         y Revenido




                                                                            Acero
 A490 tipo 3                                                        recubierto,Templado y
                                                                          Revenido




           Propiedades mecánicas de elementos roscados de clase métrica

                Rango del          Carga         Esfuerzo                                   Marcado de
   Clase                                                                  Material           lacabeza
                diámetro       deprueba [MPa] deruptura [MPa]



                                                                Acero de bajo carbono ó
    4.6          M5 - M36           225             400
                                                                acero al carbono
Acero de bajo carbono ó
    4.8         M1.6 - M16         310          420
                                                           acero al carbono




                                                           Acero de bajo carbono ó
    5.8         M5 - M24           380          520
                                                           acero al carbono




                                                           Acero al carbono, Templado
    8.8         M16 - M36          600          830        y
                                                           Revenido




                                                           Acero al carbono, Templado
    9.8         M1.6 - M16         650          900        y
                                                           Revenido




                                                           Acero de bajo carbono
   10.9         M5 - M36           830         1040        martensítico, Templado y
                                                           Revenido




                                                           Acero aleado, Templado y
   12.9         M1.6 - M36         970         1220
                                                           Revenido




          MARCAS DE GRADOS DE RESISTENCIA PERNOS DE ACERO

 MARCA A.S.          ESPECIFICACION
                                                                  Resistencia a la     Límite de
                                            ALGUNOS USOS
  GRADO                                                               tracción          fluencia      DUREZA
                                            RECOMENDADOS          mínima[Kg/mm   2] mínima[Kg/mm 2]
RESISTENCIA   SAEgrado ISOclase     ASTM

                                           Para requerimientos
                                           menores de
                                           resistencia,
                                           metalmecánica,                                               53 -
                             3,6                                        34               20
                                           motores eléctricos,                                         70 Rb
                                           línea blanca.
                                           electrónica, usos
                                           generales.
Para requerimientos de
                                                    resistencia media,
                                                    construcción de
                  J429grado                         máquinas livianas,
                                         A307gradoA                                                         70 -
                  1¼ " a 1 ½     4,6                automotriz (piezas no            42          23
                                             yB                                                            95 Rb
                       "                            afectas a fuertes
                                                    tensiones), máquinas
                                                    agrícolas, estructuras
                                                    livianas.

                                                      Para requerimientos de
                                                      alta resistencia a la
                                                      tracción, ruedas de
                                                      vehículos, partes de                                  22 -
                                 8,8           A449                                  80          64
                                                      motores de tracción,                                 32 Rc
                                                      cajas de cambio,
                                                      máquinas
                                                      herramientas, matrices

                                                      Para requerimientos de
                                                      alta resistencia a la                                 Hasta
                                                      tracción y otros,             Hasta       Hasta      1 φ 23 -
                                                      especialmente para          1 φ 85 de   1 φ 65 de   35 Rc de
                                               A325   juntas estructurales
                                                                                   11/8 a 1    11/8 a 1    11/8 a 1
                                                      exigidas
                                                      mecánicamente. Debe          ½φ 74       ½φ 57      ½φ 19 -
     TIPO 1                                           trabajar con TU y golilla                             31 Rc
                                                      de la misma calidad

                                                      Para requerimientos de
                                                      alta resistencia a la
                                                      tracción y alta                                       32 -
                                               A490   temperatura. Debe             105          81
                                                                                                           38Rc
                                                      trabajar con TU y golilla
                                                      de la misma calidad

                                                      Para requerimientos de
                                                      alta resistencia a la
                                                      tracción, flexión,
                                                      cizalle, etc.                                         31 -
                       8        10,9                  Culata de motores,            105          88
                                                                                                           38Rc
                                                      paquete de resortes,
                                                      pernos para ruedas
    GRADO 8                                           vehículos pesados,
                                                      bielas, etc.

Fuente: Catálogo de productos American Screw




Este antiguo método se basa en una hélice cilíndrica o cónica y un filete triangular, rectangular,
trapezoidal o redondo que se fabrica tanto en el eje como en el orificio que pretenden unirse.

Los elementos básicos de una rosca o hilo son el diámetro exterior, el diámetro interior, el paso,
el tipo de hilo, el sentido de avance, la cantidad de en-tradas y el ajuste. Los diámetros interior
y exterior limitan la zona roscada; el paso es el desplazamiento axial al dar una vuelta sobre la
hélice; el tipo de hilo es determinado por el tipo de filete y el paso, existiendo un gran número
de hilos estandarizados. El sentido de avance puede ser derecho o izquierdo. Esto significa que
una rosca derecha avanza axialmente al girarla de acuerdo a la ley de la mano derecha. En
una rosca izquierda esta ley no se cumple. El sentido de avance izquierdo se usa
principalmente por seguridad, como en las válvulas de balones de gas.




La cantidad de entradas indican cuántas hélices están presentes. Generalmente sólo hay una
hélice presente. Por ejemplo si se desea unir una tuerca a un perno, se tiene una oportunidad
por vuelta, o sea, una entrada; en tapas de frascos y bebidas se desea una colocación fácil y
se utilizan 3, 4 o más entradas, es decir 3, 4 o más hélices presentes. Esto necesariamente
aumenta el paso, lo cual no es conveniente en un elemento que debe permanecer unido.




                     http://www.google.com/imgres?
um=1&hl=es&rlz=1C1RNRA_enPA507PA507&biw=1366&bih=600&tbm=i
sch&tbnid=WYdKKzYqjhSqkM:&imgrefurl=http://enciclopedia.us.es/index.
php/Tornillo&docid=QnqmFVwF0DFpWM&imgurl=http://enciclopedia.us.es
                   /images/c/cf/Tornillo_(Representaci
%2525C3%2525B3n).png&w=557&h=177&ei=I56rUO6ZGcrB0AGly4GgD
g&zoom=1&iact=hc&vpx=926&vpy=151&dur=1233&hovh=126&hovw=39
9&tx=227&ty=105&sig=101252931234688603879&page=1&tbnh=85&tbnw
=269&start=0&ndsp=19&ved=1t:429,r:6,s:0,i:84




   http://www.bibliocad.com/biblioteca/bulon-cabeza-hexagonal--parafuso-
                         sextavado-com-furo_13123
http://www2.ing.puc.cl/~icm2312/apuntes/uniones/union1.html

http://enciclopedia.us.es/index.php/Tornillo

Tornillo




Un tornillo es un elemento mecánico comúnmente empleado para la unión desmontable de distintas
piezas, aunque también se utiliza como elemento de transmisión. Básicamente es un cilindro con
rosca helicoidal y cabeza, frecuentemente acompañado de la correspondiente tuerca.

                      Índice
                      [ocultar]


    •    1 Orígenes históricos

    •    2 Roscas
o   2.1 Nomenclatura

                       o   2.2 Entradas o filetes

                       o   2.3 Sentido de la rosca

                       o   2.4 Roscas normalizadas,

                           tipos y designación

                       o   2.5 Usos

                       o   2.6 Dibujos de roscas

     •     3 Cabezas


Orígenes históricos

Los primeros antecedentes de la utilización de roscas se remontan al tornillo de Arquímedes,
desarrollado por el sabio griego alrededor del 300 adC, que ya se empleaba en aquella época
profusamente en el valle del Nilo para la elevación de agua.


Durante el Renacimiento las roscas comienzan a emplearse como elementos de fijación en relojes,
máquinas de guerra y en otras construcciones mecánicas diversas. Leonardo da Vinci desarrolla por
entonces métodos para el tallado de roscas, sin embargo, éstas seguirán fabricándose a mano y sin
ninguna clase de normalización hasta bien entrada la Revolución industrial.


En 1841, el ingeniero inglés Joseph Whitworth definió la rosca que lleva su nombre. William
Sellers hizo otro tanto en los Estados Unidos el año 1864. Esta situación se prolongó hasta que la
organización ISO define, a mediados de siglo XX, el sistema de rosca métrica adoptado actualmente
en prácticamente todos los países. En los EE.UU. se sigue empleando la norma de la Sociedad de
Ingenieros de Automoción (Society of Automotive Engineers, SAE). Actualmente, estas roscas se
definen como Unified National, en sus tres variantes:


              UNC = Unified National Coarse = paso americano normal.

              UNF = Unified National Fine = paso americano fino.

              UNEF = Unified National Extra Fine = paso americano extrafino.

En todas ellas se mantienen los diámetros exteriores y varía el número de hilos de rosca por
pulgada.

Roscas
Nomenclatura
Las roscas pueden ser exteriores o machos (tornillos) o bien interiores o hembras (tuercas). Las
magnitudes deben ser coherentes para que ambos elementos puedan enroscarse.


    Rosca exterior o macho Rosca interior o hembra



1       Fondo o base              Cresta o vértice



2      Cresta o vértice            Fondo o base



3           Flanco                     Flanco



4    Diámetro del núcleo      Diámetro del taladro



5     Diámetro exterior           Diámetro interior



6              Profundidad de la rosca



7                          Paso



Entradas o filetes




La generación de un tornillo puede suponerse arrollando un filete alrededor de un cilindro. En la
primera figura mostrada antes, el filete o hilo es trapezoidal, mientras que en la segunda es
triangular. En cualquier caso, si la hélice que describe el filete tiene un paso suficientemente grande
(a), dejará espacio para arrollar sobre el cilindro otro filete, con lo que se obtiene una rosca de doble
entrada (b), o triple si los filetes añadidos son dos. Para determinar el número de entradas de un
tornillo, basta apoyar un rotulador en el flanco y girarlo hasta marcar una vuelta completa, de forma
que el filete correspondiente quede coloreado; si en medio queda otro sin colorear, será de dos
entradas, si quedan dos, de tres entradas y así sucesivamente.


El incremento del número de entradas no modifica el paso del tornillo pero con ello se consigue que
la superficie de contacto entre el tornillo y la tuerca se incremente de modo que se podrá aplicar una
mayor fuerza (par) de apriete y se obtendrá una unión más estanca. Nótese que no es estrictamente
necesario que exista un espacio entre dos filetes consecutivos igual o mayor que la base de los
mismos para que se pueda intercalar una segunda entrada; en este caso el resultado será
simplemente una disminución de la profundidad de la rosca.

Sentido de la rosca

En función del movimiento relativo entre el tornillo y la tuerca, existen tornillos (y roscas) a
derechas que son aquellos que al girarlos en el sentido contrario al de las agujas del reloj salen de
la tuerca y desenroscan (a), y a izquierdas, que son aquellos en los que al girar el tornillo en el
sentido contrario al de las agujas del reloj, entra en la tuerca enroscándose (c). Las roscas
empleadas son comúnmente a derechas.




Roscas normalizadas, tipos y designación

            Rosca triangular.

              1. Métrica: M Ø (diámetro exterior de la rosca Ø en milímetros).

              2.   Métrica fina: M Øxp (paso p en mm).
1. Witworth: Ø" (diámetro exterior de la rosca Ø en pulgadas).

              2.   Witworth fina: W Øxp (paso p en pulgadas).

              3.   Witworth de tubo: R Ø" (diámetro nominal del tubo Ø en pulgadas).

            Rosca trapezoidal: Tr Øxp (diámetro exterior de la rosca &Oslash y paso p en mm).

            Rosca redonda: Rd Øxp (diámetro exterior de la rosca &Oslash y paso p en
             pulgadas).
Usos

Las roscas triangulares se emplean en tornillos de fijación; el truncamiento del filete facilita las
operaciones de desmontaje pero disminuye la estanqueidad de la unión. Las roscas finas (con paso
menor que el normal) se emplean cuando la longitud de la unión atornillada es pequeña, por ejemplo
en uniones en paredes delgadas de tubos; también pueden emplearse ciando se quiere evitar el
aflojamiento de la unión, ya que el mayor número de filetes de contacto entre el tornillo y la tuerca
incrementa el rozamiento.


Para el enroscado de tubos se emplean las llamadas roscas de gas derivadas del sistema
Witworth, caracterizadas por una elevada estanqueidad (el filete no está truncado) y una relación
profundidad/diámetro pequeña para no debilitar la pared del tubo.


Para tornillos de transmisión se usan roscas trapezoidales simétricas o en forma de diente de sierra
(asimétricos) en aquellos casos en los que la fuerza aplicada tenga un sólo sentido. Estas últimas
tiene una aplicación muy remarcable en tornillos destinados a fijaciones sobre plásticos.


Las roscas redondas, a pesar de sus buenas cualidades mecánicas se emplea poco debido a su
dificultad de fabricación, y por ende, elevado precio. Se usa en aplicaciones en los que la unión haya
de soportar impactos.

Dibujos de roscas

Las crestas vistas se representan con trazo continuo grueso y los fondos con trazo fino. En vistas
ocultas, ambas se trazan con trazo fino discontinuo. En las secciones, el rayado se prolonga hasta la
cresta. En vista frontal, la línea de fondo abarcará aproximadamente 3/4 de circunferencia para
evitar errores de interpretación. En los dibujos conjuntos, las líneas de la rosca macho (tornillo)
prevalecen sobre las de la rosca hembra (tuerca).
Cabezas

El diseño de las cabezas de los tornillos lejos de manifestar el capricho de los fabricantes, responde,
en general a dos necesidades. Por un lado, conseguir la superficie adecuada de apoyo para
laherramienta de apriete de forma tal que se pueda alzanzar la fuerza necesaria, sin que la cabeza
se rompa o deforme. Por otro, necesidades de seguridad implican (incluso en reglamentos oficiales
de obligado cumplimiento) que ciertos dispositivos requieran herramientas especiales para la
apertura, lo que exige que el tornillo (si éste es el medio elegido para asegurar el cierre) no pueda
desenroscarse con un destornillador convencional, con lo que se dificulta que personal no
autorizado acceda al interior.




Así, se tienen cabezas de distintas formas: hexagonal (a), redonda (b), cilíndrica (d, g), avellanada
(c, e, f); combinadas con distintos sistemas de apriete: hexagonal (a) o cuadrada para llave inglesa,
ranura o entalla (b, c, d) y philips (f) para destornillador, agujero hexagonal (e) para llave Allen,
moleteado (g) para apriete manual, etc.

Términos de las roscas de tornillo

  • 1.
    Términos de lasroscas de tornillo Rosca de Tornillo Un borde de sección uniforme con la forma de hélice sobre la superficie externa o interna de un cilindro. Rosca externa una rosca en el exterior de un elemento, por ejemplo en un eje. Rosca interna una rosca en el interior de un elemento, por ejemplo en un orificio. Diámetro mayor El diámetro mas grande de una rosca de tornillo (tanto para roscas internas como para externas). Diametro menor Símbolos de roscado más comunes Denominación usual Otras American Petroleum Institute API British Association BA International Standards Organisation ISO Rosca para bicicletas C Rosca Edison E Rosca de filetes redondos Rd Rosca de filetes trapesoidales Tr Rosca para tubos blindados PG Pr Rosca Whitworth de paso normal BSW W Rosca Whitworth de paso fino BSF Rosca Whitworth cilíndrica para tubos BSPT KR Rosca Whitworth BSP R Rosca Métrica paso normal M SI Rosca Métrica paso fino M SIF Rosca Americana Unificada p. normal UNC NC, USS Rosca Americana Unificada p. fino UNF NF, SAE Rosca Americana Unificada p.exrafino UNEF NEF Rosca Americana Cilíndrica para tubos NPS Rosca Americana Cónica para tubos NPT ASTP
  • 2.
    Rosca Americana pasoespecial UNS NS Rosca Americana Cilíndrica "dryseal" para tubos NPSF Rosca Americana Cónica "dryseal" para tubos NPTF Es posible crear una rosca con dimensiones no estándares, pero siempre es recomendable usar roscas normalizadas para adquirirlas en ferreterías y facilitar la ubicación de los repuestos. La fabricación y el mecanizado de piezas especiales aumenta el costo de cualquier diseño, por lo tanto se recomienda el uso de las piezas que están en plaza. Se han destacado solamente las roscas métricas, unificadas y withworth por ser las más utilizadas, pero existen muchas roscas importantes para usos especiales. Le entregan a continuación las tablas detalladas de estas tres familias de roscas para las series fina y basta. METRICA PASO METRICA PASO METRICA PASO FINO FINO NORMAL Medida Nominal Medida Nominal Medida Nominal Dext x paso Dext x paso Dext x paso M 25 x 1.5 M 1.6 x 0.35 M 2.5 x 0.35 M 25 x 2 M 1.7 x 0.35 M M 26 x 1.5 M 2x 0.4 3 x 0.35 M 27 x 1 M 2.2 x 0.45 M M 27 x 1.5 M 2.3 x 0.4 3.5 x 0.35 M 27 x 2 M 2.5 x 0.45 M 4 x 0.5 M 28 x 1 M 2.6 x 0.45 M M 28 x 1.5 M 3x 0.5 5 x 0.5 M 28 x 2 M 3x 0.6 M M 30 x 1 M 3.5 x 0.6 6 x 0.75 M 30 x 1.5 M 4x 0.7 M 7 x 0.75 M 30 x 2 M 4x 0.75 M M 32 x 1.5 M 4.5 x 0.75 8 x 0.75 M 32 x 2 M 5x 0.75 M M 33 x 1.5 M 5x 0.8 8x 1 M 33 x 2 M 5x 0.9 M 9 x 0.75 M 34 x 1.5 M 5x 1 M M 35 x 1.5 M 5.5 x 0.9 9x 1 M 35 x 2 M 6x 1 M M 36 x 2 M 7x 1 10 x 0.75 M 36 x 3 M 8x 1.25 M 10 x 1 M 38 x 1.5 M 9x 1.25 M M 38 x 2 M 10 x 1.5 10 x 1.25 M 39 x 1.5 M 11 x 1.5 M M 39 x 2 M 12 x 1.75 11 x - M 39 x 3 M 14 x 2 M M 40 x 1.5 M 16 x 2 11 x 0.75 M 40 x 2 M 18 x 2.5 M 12 x 1 M 40 x 3 M 20 x 2.5 M M 42 x 2 M 22 x 2.5 12 x 1 M 42 x 3 M 24 x 3
  • 3.
    M 45 x 1.5 M 27 x 3 M 12 x 1.25 M 45 x 2 M 30 x 3.5 M M 45 x 3 M 33 x 3.5 13 x 1.5 M 48 x 2 M 36 x 4 M M 48 x 3 M 39 x 4 14 x 1 M 50 x 2 M 42 x 4.5 M 14 x 1 M 50 x 3 M 45 x 4.5 M M 52 x 2 M 48 x 5 14 x 1.25 M 52 x 3 M 52 x 5 M 15 x 1 M 15 x 1.5 M 16 x 1 M 16 x 1.5 M 17 x 1.5 M 17 x 1 M 18 x 1.5 M 18 x 1 M 20 x 1.5 M 20 x 1 M 22 x 1.5 M 22 x 1 M 24 x 1.5 M 24 x 1 M 24 x 1.5 M 25 x 1 M 25 x 1.5 UNIFICADA PASO UNIFICADA PASO NORMAL FINO Medida Nominal - Nº H/'' Medida Nominal 4 (.112") - 40 UNC Dext - Nº H/'' 5 (.125") - 40 UNC Nº 0 (.060'') - 80 UNC 6 (.138") - 32 UNC Nº 1 (.073") - 72 UNC
  • 4.
    8 (.164") -32 UNC Nº 2 (.086") - 64 UNC 10 (.190") - 24 UNC Nº 3 (.099") - 56 UNC 12 (.216") - 24 UNC Nº 4 (.112") - 48 UNC 1/4" - 20 UNC Nº 5 (.125") - 44 UNC 5/16" - 18 UNC Nº 6 (.138") - 40 UNC Nº 8 (.164") - 36 UNC 3/8" - 16 UNC Nº 10 (.190") - 32 UNC 7/16" - 14 UNC Nº 12 (.216") - 28 UNC 1/2" - 13 UNC 1/4'' - 28 UNC 9/16" - 12 UNC 5/16'' - 24 UNC 5/8" - 11 UNC 3/8'' - 24 UNC 3/4" - 10 UNC 7/16'' - 20 UNC 7/8" - 9 UNC 1/2'' - 20 UNC 1" - 8 UNC 9/16'' - 18 UNC 1"1/8" - 7 UNC 5/8'' - 18 UNC 1"1/4" - 7 UNC 3/4'' - 16 UNC 1"3/8" - 6 UNC 7/8'' - 14 UNC 1"1/2" - 6 UNC 1'' - 12 UNC 1"3/4" - 5 UNC 1''1/8'' - 12 UNC 2" - 4 1/2 UNC 1''1/4'' 4 12 UNC 2" - 4 1/2 UNC 1''3/4'' 4 12 UNC 2"1/2" - 4 UNC 1''1/12'' - 12 UNC 2"3/4 - 4 UNC 3" - 4 UNC WHITWORTH PASO WHITWORTH PASO NORMAL FINO Medida Nominal Medida Nominal Dext - Nº H/'' Dext - Nº H/'' W BFS 1/16 '' - 60 3/16'' - 32 W BFS 3/32'' - 48 7/32'' - 28 W BFS 1/8'' - 40 1/4'' - 26 W BFS 5/32'' - 32 9/32'' - 26 W BFS 3/16'' - 24 5/16'' - 22 W BFS 7/32'' - 24 3/8'' - 20 W BFS 1/4'' - 20 7/16'' - 18
  • 5.
    W BFS 5/16'' - 18 1/2'' - 16 W BFS 3/8'' - 16 9/16'' - 16 W BFS 7/16'' - 14 5/8'' - 14 W BFS 1/2'' - 12 11/16'' - 14 W BFS 9/16'' - 12 3/4'' - 12 W BFS 5/8'' - 11 13/16'' - 12 W BFS 3/4'' - 10 7/8'' - 11 W BFS 7/8'' - 9 1'' - 10 W BFS 1'' - 8 1''1/8'' - 9 W BFS 1''1/8'' - 7 1''1/4'' - 9 W BFS 1''1/4'' - 7 1''3/8'' - 8 W BFS 1''3/8'' - 6 1''1/2'' - 8 W BFS 1''1/2'' - 6 1''5/8'' - 8 W BFS 1''5/8'' - 5 1''3/4'' - 7 W BFS 1''3/4'0' 5 2'' 7 W BFS 1''7/8'' 4 2''1/4'' 6 W BFS 2'' - 4 2''1/2'' - 6 W BFS 2''1/4'' - 4 2''3/4'' - 6 W BFS 2''1/2'' - 4 3'' - 5 W 2''3/4'' - 3 W 3'' - 3 Con respecto al sentido de giro, en la designación se indica "izq" si es una rosca de sentido izquierdo, no se indica nada si es de sentido derecho. De forma similar, si tiene más de una entrada se indica "2 ent" o "3 ent". Si no se indica nada al respecto, se subentiende que se trata de una rosca de una entrada y de sentido de avance derecho. En roscas de fabricación norteamericana, se agregan más símbolos para informar el grado de ajuste y tratamientos especiales
  • 6.
    Para proceder ala fabricación de una rosca se pueden seguir al menos tres caminos: forjar la rosca a través de peines, tornearla o maquinarla usando machos y terrajas. La figura siguiente muestra el proceso de fabricación de una rosca interior utilizando una broca para perforar el diámetro interior y un macho para cortar el hilo en la pared de la perforación. Los machos son utilizados para formar hilos interiores, mientras que las terrajas son utilizadas para roscas exteriores. RETENSION DE TUERCAS Como una unión depende tanto del perno como de la tuerca, se han desarrollo distintos métodos para bloquear la salida accidental de la tuerca. La figura siguiente muestra la utilización de una tuerca auxiliar (contratuerca) para producir una presión sobre la cara superior de la tuerca principal. Se muestra también el uso de arandelas elásticas (golillas de presión) que se ubican entre la tuerca y la pieza, o entre la tuerca y una arandela plana; el objetivo es provocar un mayor roce en la cara inferior de la tuerca.
  • 7.
    Otra forma deinmovilizar la tuerca es colocar un pasador de aletas en el perno, que debe sacarse para poder remover la tuerca. Esta solución requiere de una perforación en el perno. Pueden utilizarse tuercas especiales que tienen cortes para alojar el seguro (tuercas almenadas). Una deformación local de la tuerca provocada por la inserción de un perno de menor tamaño provoca un mayor ajuste y asegura la unión. Finalmente, pueden utilizarse arandelas deformables que se doblan sobre la tuerca, evitando que ésta gire y se suelte. Pasador de aleta D nominal Largo 0,6 de 4 a 12 0,8 de 5 a 16 1,0 de 6 a 20 1,2 de 8 a 25 1,6 de 8 a 32 2,0 de 10 a 40 2,5 de 12 a 50 3,2 de 17 a 63
  • 8.
    UNI 1336 Las normasde prueba de pernos indican cargarlo contra su propio hilo, sin utilizar una probeta representativa. Esto genera un valor llamado carga de prueba, la cual puede utilizarse para diseñar en reemplazo de la resistencia a la fluencia. Se adjuntan las marcas con que se indica el grado de resistencia de los pernos, para las normas SAE, ASTM y Métrica. Se adjunta también la tabla de marcas de los productos American Screw. Marcado de pernos de acero grado SAE Número de grado Rango Carga Esfuerzo Marcado de Material SAE deldiámetro [inch] deprueba [kpsi] deruptura [kpsi] lacabeza ¼ - 1½ ¼ - ¾ 7/8- Acero de bajo carbono ó 12 55 33 74 60 1½ acero al carbono Acero al carbono, Templado 5 ¼ - 1 11/8 - 1½ 85 74 120 105 y Revenido Acero de bajo carbono 5.2 ¼-1 85 120 martensítico, Templado y Revenido Acero al carbono aleado, 7 ¼ - 1½ 105 133 Templado y Revenido
  • 9.
    8 ¼ - 1½ 120 150 Acero al carbono aleado, Templado y Revenido 8.2 ¼-1 120 150 Acero de bajo carbono martensítico, Templado y Revenido Marcas para pernos de acero grado ASTM Rango Carga Esfuerzo Marcado de Designación ASTM Material deldiámetro [inch] deprueba [kpsi] deruptura [kpsi] lacabeza A307 ¼a4 Acero de bajo carbono Acero al A325 tipo 1 ½ a 1 11/8 a 1½ 85 74 120 105 carbono,Templado y Revenido Acero de bajo A325 tipo 2 ½ a 1 11/8 a 1½ 85 74 120 105 carbonomartensítico, Templado yRevenido Acero A325 tipo 3 ½ a 1 11/8 a 1½ 85 74 120 105 recubierto,Templado y Revenido
  • 10.
    Acero aleado, Templado A354grado BC y Revenido Acero aleado, Templado A354 grado BD ¼a4 120 150 y Revenido Acero al ¼ a 1 11/8 a 1½1¾ A449 85 74 55 120 105 90 carbono,Templado y a3 Revenido Acero aleado, Templado A490 tipo 1 ½ a 1½ 120 150 y Revenido Acero A490 tipo 3 recubierto,Templado y Revenido Propiedades mecánicas de elementos roscados de clase métrica Rango del Carga Esfuerzo Marcado de Clase Material lacabeza diámetro deprueba [MPa] deruptura [MPa] Acero de bajo carbono ó 4.6 M5 - M36 225 400 acero al carbono
  • 11.
    Acero de bajocarbono ó 4.8 M1.6 - M16 310 420 acero al carbono Acero de bajo carbono ó 5.8 M5 - M24 380 520 acero al carbono Acero al carbono, Templado 8.8 M16 - M36 600 830 y Revenido Acero al carbono, Templado 9.8 M1.6 - M16 650 900 y Revenido Acero de bajo carbono 10.9 M5 - M36 830 1040 martensítico, Templado y Revenido Acero aleado, Templado y 12.9 M1.6 - M36 970 1220 Revenido MARCAS DE GRADOS DE RESISTENCIA PERNOS DE ACERO MARCA A.S. ESPECIFICACION Resistencia a la Límite de ALGUNOS USOS GRADO tracción fluencia DUREZA RECOMENDADOS mínima[Kg/mm 2] mínima[Kg/mm 2] RESISTENCIA SAEgrado ISOclase ASTM Para requerimientos menores de resistencia, metalmecánica, 53 - 3,6 34 20 motores eléctricos, 70 Rb línea blanca. electrónica, usos generales.
  • 12.
    Para requerimientos de resistencia media, construcción de J429grado máquinas livianas, A307gradoA 70 - 1¼ " a 1 ½ 4,6 automotriz (piezas no 42 23 yB 95 Rb " afectas a fuertes tensiones), máquinas agrícolas, estructuras livianas. Para requerimientos de alta resistencia a la tracción, ruedas de vehículos, partes de 22 - 8,8 A449 80 64 motores de tracción, 32 Rc cajas de cambio, máquinas herramientas, matrices Para requerimientos de alta resistencia a la Hasta tracción y otros, Hasta Hasta 1 φ 23 - especialmente para 1 φ 85 de 1 φ 65 de 35 Rc de A325 juntas estructurales 11/8 a 1 11/8 a 1 11/8 a 1 exigidas mecánicamente. Debe ½φ 74 ½φ 57 ½φ 19 - TIPO 1 trabajar con TU y golilla 31 Rc de la misma calidad Para requerimientos de alta resistencia a la tracción y alta 32 - A490 temperatura. Debe 105 81 38Rc trabajar con TU y golilla de la misma calidad Para requerimientos de alta resistencia a la tracción, flexión, cizalle, etc. 31 - 8 10,9 Culata de motores, 105 88 38Rc paquete de resortes, pernos para ruedas GRADO 8 vehículos pesados, bielas, etc. Fuente: Catálogo de productos American Screw Este antiguo método se basa en una hélice cilíndrica o cónica y un filete triangular, rectangular, trapezoidal o redondo que se fabrica tanto en el eje como en el orificio que pretenden unirse. Los elementos básicos de una rosca o hilo son el diámetro exterior, el diámetro interior, el paso, el tipo de hilo, el sentido de avance, la cantidad de en-tradas y el ajuste. Los diámetros interior y exterior limitan la zona roscada; el paso es el desplazamiento axial al dar una vuelta sobre la hélice; el tipo de hilo es determinado por el tipo de filete y el paso, existiendo un gran número de hilos estandarizados. El sentido de avance puede ser derecho o izquierdo. Esto significa que una rosca derecha avanza axialmente al girarla de acuerdo a la ley de la mano derecha. En
  • 13.
    una rosca izquierdaesta ley no se cumple. El sentido de avance izquierdo se usa principalmente por seguridad, como en las válvulas de balones de gas. La cantidad de entradas indican cuántas hélices están presentes. Generalmente sólo hay una hélice presente. Por ejemplo si se desea unir una tuerca a un perno, se tiene una oportunidad por vuelta, o sea, una entrada; en tapas de frascos y bebidas se desea una colocación fácil y se utilizan 3, 4 o más entradas, es decir 3, 4 o más hélices presentes. Esto necesariamente aumenta el paso, lo cual no es conveniente en un elemento que debe permanecer unido. http://www.google.com/imgres? um=1&hl=es&rlz=1C1RNRA_enPA507PA507&biw=1366&bih=600&tbm=i sch&tbnid=WYdKKzYqjhSqkM:&imgrefurl=http://enciclopedia.us.es/index. php/Tornillo&docid=QnqmFVwF0DFpWM&imgurl=http://enciclopedia.us.es /images/c/cf/Tornillo_(Representaci %2525C3%2525B3n).png&w=557&h=177&ei=I56rUO6ZGcrB0AGly4GgD g&zoom=1&iact=hc&vpx=926&vpy=151&dur=1233&hovh=126&hovw=39 9&tx=227&ty=105&sig=101252931234688603879&page=1&tbnh=85&tbnw
  • 14.
    =269&start=0&ndsp=19&ved=1t:429,r:6,s:0,i:84 http://www.bibliocad.com/biblioteca/bulon-cabeza-hexagonal--parafuso- sextavado-com-furo_13123 http://www2.ing.puc.cl/~icm2312/apuntes/uniones/union1.html http://enciclopedia.us.es/index.php/Tornillo Tornillo Un tornillo es un elemento mecánico comúnmente empleado para la unión desmontable de distintas piezas, aunque también se utiliza como elemento de transmisión. Básicamente es un cilindro con rosca helicoidal y cabeza, frecuentemente acompañado de la correspondiente tuerca. Índice [ocultar] • 1 Orígenes históricos • 2 Roscas
  • 15.
    o 2.1 Nomenclatura o 2.2 Entradas o filetes o 2.3 Sentido de la rosca o 2.4 Roscas normalizadas, tipos y designación o 2.5 Usos o 2.6 Dibujos de roscas • 3 Cabezas Orígenes históricos Los primeros antecedentes de la utilización de roscas se remontan al tornillo de Arquímedes, desarrollado por el sabio griego alrededor del 300 adC, que ya se empleaba en aquella época profusamente en el valle del Nilo para la elevación de agua. Durante el Renacimiento las roscas comienzan a emplearse como elementos de fijación en relojes, máquinas de guerra y en otras construcciones mecánicas diversas. Leonardo da Vinci desarrolla por entonces métodos para el tallado de roscas, sin embargo, éstas seguirán fabricándose a mano y sin ninguna clase de normalización hasta bien entrada la Revolución industrial. En 1841, el ingeniero inglés Joseph Whitworth definió la rosca que lleva su nombre. William Sellers hizo otro tanto en los Estados Unidos el año 1864. Esta situación se prolongó hasta que la organización ISO define, a mediados de siglo XX, el sistema de rosca métrica adoptado actualmente en prácticamente todos los países. En los EE.UU. se sigue empleando la norma de la Sociedad de Ingenieros de Automoción (Society of Automotive Engineers, SAE). Actualmente, estas roscas se definen como Unified National, en sus tres variantes:  UNC = Unified National Coarse = paso americano normal.  UNF = Unified National Fine = paso americano fino.  UNEF = Unified National Extra Fine = paso americano extrafino. En todas ellas se mantienen los diámetros exteriores y varía el número de hilos de rosca por pulgada. Roscas Nomenclatura
  • 16.
    Las roscas puedenser exteriores o machos (tornillos) o bien interiores o hembras (tuercas). Las magnitudes deben ser coherentes para que ambos elementos puedan enroscarse. Rosca exterior o macho Rosca interior o hembra 1 Fondo o base Cresta o vértice 2 Cresta o vértice Fondo o base 3 Flanco Flanco 4 Diámetro del núcleo Diámetro del taladro 5 Diámetro exterior Diámetro interior 6 Profundidad de la rosca 7 Paso Entradas o filetes La generación de un tornillo puede suponerse arrollando un filete alrededor de un cilindro. En la primera figura mostrada antes, el filete o hilo es trapezoidal, mientras que en la segunda es
  • 17.
    triangular. En cualquiercaso, si la hélice que describe el filete tiene un paso suficientemente grande (a), dejará espacio para arrollar sobre el cilindro otro filete, con lo que se obtiene una rosca de doble entrada (b), o triple si los filetes añadidos son dos. Para determinar el número de entradas de un tornillo, basta apoyar un rotulador en el flanco y girarlo hasta marcar una vuelta completa, de forma que el filete correspondiente quede coloreado; si en medio queda otro sin colorear, será de dos entradas, si quedan dos, de tres entradas y así sucesivamente. El incremento del número de entradas no modifica el paso del tornillo pero con ello se consigue que la superficie de contacto entre el tornillo y la tuerca se incremente de modo que se podrá aplicar una mayor fuerza (par) de apriete y se obtendrá una unión más estanca. Nótese que no es estrictamente necesario que exista un espacio entre dos filetes consecutivos igual o mayor que la base de los mismos para que se pueda intercalar una segunda entrada; en este caso el resultado será simplemente una disminución de la profundidad de la rosca. Sentido de la rosca En función del movimiento relativo entre el tornillo y la tuerca, existen tornillos (y roscas) a derechas que son aquellos que al girarlos en el sentido contrario al de las agujas del reloj salen de la tuerca y desenroscan (a), y a izquierdas, que son aquellos en los que al girar el tornillo en el sentido contrario al de las agujas del reloj, entra en la tuerca enroscándose (c). Las roscas empleadas son comúnmente a derechas. Roscas normalizadas, tipos y designación  Rosca triangular. 1. Métrica: M Ø (diámetro exterior de la rosca Ø en milímetros). 2. Métrica fina: M Øxp (paso p en mm).
  • 18.
    1. Witworth: Ø"(diámetro exterior de la rosca Ø en pulgadas). 2. Witworth fina: W Øxp (paso p en pulgadas). 3. Witworth de tubo: R Ø" (diámetro nominal del tubo Ø en pulgadas).  Rosca trapezoidal: Tr Øxp (diámetro exterior de la rosca &Oslash y paso p en mm).  Rosca redonda: Rd Øxp (diámetro exterior de la rosca &Oslash y paso p en pulgadas). Usos Las roscas triangulares se emplean en tornillos de fijación; el truncamiento del filete facilita las operaciones de desmontaje pero disminuye la estanqueidad de la unión. Las roscas finas (con paso menor que el normal) se emplean cuando la longitud de la unión atornillada es pequeña, por ejemplo en uniones en paredes delgadas de tubos; también pueden emplearse ciando se quiere evitar el aflojamiento de la unión, ya que el mayor número de filetes de contacto entre el tornillo y la tuerca incrementa el rozamiento. Para el enroscado de tubos se emplean las llamadas roscas de gas derivadas del sistema Witworth, caracterizadas por una elevada estanqueidad (el filete no está truncado) y una relación profundidad/diámetro pequeña para no debilitar la pared del tubo. Para tornillos de transmisión se usan roscas trapezoidales simétricas o en forma de diente de sierra (asimétricos) en aquellos casos en los que la fuerza aplicada tenga un sólo sentido. Estas últimas tiene una aplicación muy remarcable en tornillos destinados a fijaciones sobre plásticos. Las roscas redondas, a pesar de sus buenas cualidades mecánicas se emplea poco debido a su dificultad de fabricación, y por ende, elevado precio. Se usa en aplicaciones en los que la unión haya de soportar impactos. Dibujos de roscas Las crestas vistas se representan con trazo continuo grueso y los fondos con trazo fino. En vistas ocultas, ambas se trazan con trazo fino discontinuo. En las secciones, el rayado se prolonga hasta la cresta. En vista frontal, la línea de fondo abarcará aproximadamente 3/4 de circunferencia para evitar errores de interpretación. En los dibujos conjuntos, las líneas de la rosca macho (tornillo) prevalecen sobre las de la rosca hembra (tuerca).
  • 19.
    Cabezas El diseño delas cabezas de los tornillos lejos de manifestar el capricho de los fabricantes, responde, en general a dos necesidades. Por un lado, conseguir la superficie adecuada de apoyo para laherramienta de apriete de forma tal que se pueda alzanzar la fuerza necesaria, sin que la cabeza se rompa o deforme. Por otro, necesidades de seguridad implican (incluso en reglamentos oficiales de obligado cumplimiento) que ciertos dispositivos requieran herramientas especiales para la apertura, lo que exige que el tornillo (si éste es el medio elegido para asegurar el cierre) no pueda desenroscarse con un destornillador convencional, con lo que se dificulta que personal no autorizado acceda al interior. Así, se tienen cabezas de distintas formas: hexagonal (a), redonda (b), cilíndrica (d, g), avellanada (c, e, f); combinadas con distintos sistemas de apriete: hexagonal (a) o cuadrada para llave inglesa, ranura o entalla (b, c, d) y philips (f) para destornillador, agujero hexagonal (e) para llave Allen, moleteado (g) para apriete manual, etc.