Ing. Luis Fernando Calderón Alvarado
Ing. Luis Fernando Calderón Alvarado
Diseño de bocatomas
Diseño de bocatomas
Población de diseño
Para efectuar el desarrollo de un
acueducto de abastecimiento de agua
potable, es necesario determinar la
población futura de la localidad, vereda
o ciudad, en las cuales de deben
distinguir si existen zonas comerciales o
industriales. Con un calculo de
proyección de 20 a 40 años, según la
tasa de crecimiento poblacional.
ESTIMACIÓN DE LA POBLACIÓN
CENSOS DENSIDADES ACTUALES Y FUTURAS
METODOS PARA HALLAR LA DENSIDAD DE POBLACION
• Método Aritmético.
• Método geométrico.
• Método exponencial.
• Método estadístico.
• Método grafico.
• Método de áreas y densidades.
CAUDALES DE DISEÑO
CAUDAL MEDIO DIARIO
𝑄
𝑚𝑑=
𝑝∗𝑑𝑏𝑟𝑢𝑡𝑎
86400
CAUDAL MAXIMO DIARIO
𝑄𝑀𝐷=𝑄𝑚𝑑∗𝑘1
CAUDAL MAXIMO HORARIO
𝑄𝑀ℎ=𝑄𝑀𝐷∗𝐾2
CALCULO DE REJILLA DE BOCATOMA
GARZON AÑO 1970
Con estudios DANE, se establecio que la
población en ese año era de 14250
habitantes y que se proyecto para un
periodo de 30 años, para abastecer a
una población futura de 41500
habitantes.
Caudal de diseño 0,75
𝑚3
𝑠
Desarrollo
• CAUDAL DE DISEÑO : 𝑸 = 𝟎, 𝟕𝟓
𝒎𝟑
𝒔
• CAUDAL MEDIO : 𝑸
𝐦𝐢𝐧 =𝟏,𝟐𝟔
𝒎𝟑
𝒔
• CAUDAL MÁXIMO : 𝑸
𝒎𝒂𝒙 =𝟓,𝟎
𝒎𝟑
𝒔
𝑸 = 𝟏, 𝟖𝟒𝑳𝑯 ൗ
𝟑
𝟐
La bocatoma y la garganta de la bocatoma se diseñan como un
vertedero rectangular, cuya ecuación corresponde a:
Desarrollo
• CAUDAL DE DISEÑO : 𝑸 = 𝟎, 𝟕𝟓
𝒎𝟑
𝒔
• CAUDAL MINIMO : 𝑸
𝐦𝐢𝐧 = 𝟎,𝟐𝟓
𝒎𝟑
𝒔
• CAUDAL MÁXIMO : 𝑸
𝒎𝒂𝒙 =𝟓,𝟎
𝒎𝟑
𝒔
𝑸 = 𝟏, 𝟖𝟒𝑳𝑯 ൗ
𝟑
𝟐
La bocatoma y la garganta de la bocatoma se diseñan como un
vertedero rectangular, cuya ecuación corresponde a:
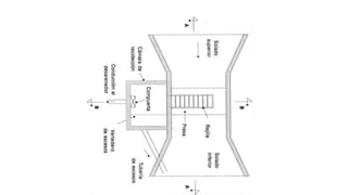
CAJILLA DE INSPECCIÓN
L=Longitud
L=Longitud
H=Altura nivel agua
H=Altura del agua antes de la rejilla
L=Longitud
H=Altura nivel agua
La bocatoma y la garganta de la bocatoma se diseñan como
un vertedero rectangular, cuya ecuación corresponde a:
Donde asumimos el valor de L que debe ser mayor o igual a
0,7. Con el fin de determinar el valor de la lámina de agua
para las condiciones de diseño, se despeja el valor de H, sí el
Qd = 750 LPH y se asume un L= 4,0 metros.:
𝑸 = 𝟏, 𝟖𝟒𝑯𝑳 ൗ
𝟑
𝟐 .: 𝑯 = (
𝑸
𝟏.𝟖𝟒∗𝑳
)
𝟐
𝟑
𝑯 = (
𝟎. 𝟕𝟓𝟎𝒎𝟑/𝒔𝒆𝒈
𝟏. 𝟖𝟒 ∗ 𝟒, 𝟎𝒎
)
𝟐
𝟑 = 𝟎. 𝟐𝟏𝟖 𝒎
L=Longitud
H=Altura nivel agua
L=4,0 metros
H=0,218 metros
A causa de la existencia de las contracciones laterales, se debe hacer
la correspondiente corrección de la longitud de vertimiento, según lo
indicado por la ecuación:
Lʼ = L -0.1 n*H
A causa de la existencia de las contracciones laterales, se debe hacer
la correspondiente corrección de la longitud de vertimiento, según lo
indicado por la ecuación:
Donde n es el número de contracciones
Lʼ = 4,0 - 0.1 * 2 * 0.218 = 3.96 m
Lʼ = L -0.1 n*H
L=4,0 metros
H=0,218 metros
La velocidad del agua al pasar sobre la rejilla será de:
0.3 m/s<1.125m/s<3m/s
Q = V*A .: 𝑽 =
𝑸
𝐀
.: 𝑽𝒓 =
𝑸
𝐋´∗𝐇
=
L=4,0 metros
H=0,218 metros
La velocidad del agua al pasar sobre la rejilla será de:
Dicha velocidad deberá estar entre 0,3 y 3 m/s, de esta manera,
pueden aplicarse las ecuaciones de H. Babbit o de chorro para
determinar el ancho del canal colector.
0.3 m/s < 0,87m/s < 3,0m/s
Q = V * A .: 𝑽 =
𝑸
𝐀
.: 𝑽𝒓 =
𝑸
𝐋´∗𝐇
=
𝟎,𝟕𝟓
𝟑,𝟗𝟔∗𝟎,𝟐𝟏𝟖
𝑽𝒓 =
𝟎. 𝟕𝟓𝟎 𝑴𝟑/𝑺𝒆𝒈
𝟑. 𝟗𝟔𝐦 ∗ 𝟎. 𝟐𝟏𝟖 𝐦
= 𝟎, 𝟖𝟕 Τ
𝒎 𝒔
CANAL COLECTOR
Para el diseño de esta obra utilizamos las ecuaciones de alcance de
chorro, con las cuales podemos determinar el ancho del canal
colector, de la siguiente manera:
CANAL COLECTOR
Para el diseño de esta obra utilizamos las ecuaciones de alcance de
chorro, con las cuales podemos determinar el ancho del canal
colector, de la siguiente manera:
CANAL COLECTOR
Para el diseño de esta obra utilizamos las ecuaciones de alcance de
chorro, con las cuales podemos determinar el ancho del canal
colector, de la siguiente manera:
𝑿𝒔 = 𝟎. 𝟑𝟔 ∗ 𝟎. 𝟖𝟕
𝟒
𝟕 + 𝟎. 𝟔𝟎 ∗ 𝟎. 𝟐𝟏𝟖
𝟒
𝟕 = 𝟎. 𝟓𝟖𝟑𝒎
𝑿𝒊 = 𝟎. 𝟏𝟖 ∗ 𝟎. 𝟖𝟕
𝟒
𝟕 + 𝟎. 𝟕𝟒 ∗ 𝟎. 𝟐𝟏𝟖
𝟑
𝟒 = 𝟎. 𝟒𝟕𝟔𝒎
𝑩 = 𝟎. 𝟓𝟖𝟑 + 𝟎. 𝟏𝟎 = 𝟎. 𝟔𝟖𝟑 𝒎 ≈ 0,70 m
DISEÑO DE LA REJILLA
Como consideramos que las barras de la rejilla se colocarán
perpendiculares a la presa, y por lo tanto en la dirección del flujo,
se considera que el área neta de la rejilla se puede determinar con
la siguiente expresión:
A𝒏 = 𝐚 ∗ 𝐁 ∗ 𝐍
A𝒏 = Á𝐫𝐞𝐚 𝐧𝐞𝐭𝐚
a = Separación barrotes
B = Ancho canal colector
N = Número de espacios
LONGITUD DE LA REJILLA Y NÚMERO DE ESPACIOS
Se adoptan barrotes de 1", con una separación entre ellos de 5 cms.
Por otra parte, se asume una velocidad entre barrotes igual a 0,6m/s.
𝑨𝒏 =
𝑸
𝟎. 𝟗𝑽𝒃
𝑨𝒏 =
𝟎. 𝟕𝟓𝟎 𝒎𝟑/𝒔𝒆𝒈
𝟎. 𝟗 ∗ 𝟎. 𝟔 𝒎/𝒔𝒆𝒈
𝑨𝒏 = 𝟏. 𝟔𝟔𝟕 𝒎𝟐
A𝒏 = 𝐚 ∗ 𝐁 ∗ 𝐍
1, 𝟔𝟕 = 𝟎, 𝟎𝟓 ∗ 𝟎, 𝟕𝟎 ∗ 𝐍
N =
𝟏,𝟔𝟕
𝟎,𝟎𝟓∗𝟎,𝟕𝟎
N = 47,7 ≈ 48 espacios
A𝒏 = 𝐚 ∗ 𝐁 ∗ 𝐍
A𝒏 = Á𝐫𝐞𝐚 𝐧𝐞𝐭𝐚
a = Separación barrotes
B = Ancho canal colector
N = Número de espacios
𝑨𝒏 =
𝑸
𝟎. 𝟗 𝑽𝒃
𝑨𝒏 = Á𝒓𝒆𝒂 𝒏𝒆𝒕𝒂
Q = Caudal
Vb = Velocidad barrotes
N N N N
Mín=0,40m
N
Mín=0,70m
B
Ø = b
Lr = Longitud de la rejilla
LONGITUD DE LA REJILLA Y NÚMERO DE ESPACIOS
𝑨𝒕 = 𝑩 ∗ 𝑳𝒓
𝑳𝒓 = (𝒂 ∗ 𝑵) + (𝒃 ∗ 𝑵 − 𝟏)
𝐋𝐫 = 𝟎, 𝟎𝟓 ∗ 𝟒𝟖 + 𝟎, 𝟎𝟐𝟓𝟒 ∗ 𝟒𝟕
𝐋𝐫 = 𝟑, 𝟓𝟗 𝒎𝒆𝒕𝒓𝒐𝒔.
𝑳𝒓 =
𝒂 + 𝒃
𝒂 ∗ 𝑩
𝑨𝒏𝒆𝒕𝒂 =
𝟎, 𝟎𝟓 + 𝟎, 𝟎𝟐𝟓𝟒
𝟎, 𝟎𝟓 ∗ 𝟎, 𝟕𝟎
∗ 𝟏. 𝟔𝟔𝟕 𝒎𝟐
𝑳𝒓 = 𝟑, 𝟓𝟗 𝒎 ≈ 𝟑, 𝟔𝟎 𝒎𝒆𝒕𝒓𝒐𝒔
Otra forma de calcular Lr:
A𝒏 = 𝐚 ∗ 𝐁 ∗ 𝐍
A𝒏 = Á𝐫𝐞𝐚 𝐧𝐞𝐭𝐚
a = Separación barrotes
B = Ancho canal colector
N = Número de espacios
𝑨𝒏 =
𝑸
𝟎. 𝟗 𝑽𝒃
𝑨𝒏 = Á𝒓𝒆𝒂 𝒏𝒆𝒕𝒂
Q = Caudal
Vb = Velocidad barrotes
N N N N
Mín=0,40m
N
Mín=0,70m
B
Ø = b
Lr = Longitud de la rejilla
a
Cámara de
recolección
Se recalcula el Área Neta y la Longitud de la Rejilla
Se recalcula porque se adoptan 48 orificios con lo que calculamos
las condiciones finales de nuestra rejilla.
An = a * B * N
An = 0.05*0.70*48=1.68m2
Velocidad entre barrotes;
Vb=
𝑸
𝟎.𝟗𝑨𝒏
=
𝟎.𝟕𝟓
𝟎.𝟗∗𝟏.𝟔𝟖
= 𝟎, 𝟒𝟗𝟔 ≈ 𝟎, 𝟓𝟎
𝒎
𝒔𝒆𝒈
NIVELES EN EL CANAL COLECTOR:
Si se supone que todo el volumen de agua se capta al inicio del
canal, se puede obtener el nivel de la lámina aguas arriba por
medio del análisis de cantidad de movimiento en el canal:
En donde:
ho = Profundidad aguas arriba (m)
he = Profundidad aguas abajo (m)
hc = Profundidad crítica (m)
i = Pendiente del fondo del canal
g = Aceleración de la gravedad (m/s2)
Le = Longitud del canal
ℎ𝑒 = ℎ𝑐 =
α ∗ Q2
9.81 ∗ B2
1
3
La altura del agua aguas abajo:
ℎ𝑒 = ℎ𝑐 =
α ∗ Q2
9.81 ∗ B2
1
3
=
𝟏 ∗ 𝟎. 𝟕𝟓𝟐
𝟗. 𝟖𝟏 ∗ 𝟎. 𝟕𝟎𝟐
𝟏
𝟑
= 𝟎. 𝟒𝟖𝟗 𝒎
Longitud del canal
L canal = L canal + espesor del muro
L canal = 3,60 + 0,30 = 3,90 m
La altura del agua aguas arriba, se asume una pendiente i = 3%:
𝒉𝒐 = [ ൩
𝟐 𝟎. 𝟒𝟖𝟗 𝟐
+ 𝟎. 𝟒𝟖𝟗 −
𝟎. 𝟎𝟑 ∗ 𝟑. 𝟗𝟎
𝟑
𝟐
𝟏
𝟐
−
𝟐
𝟑
∗ 𝟎. 𝟎𝟑 ∗ 𝟑. 𝟗𝟎 = 𝟎. 𝟕𝟐𝒎
La altura total de los muros del canal colector es:
BL: borde libre se asume de 0.30 m
𝑯𝒐 = 𝒉𝒐 + 𝑩𝒍
Por lo tanto: 𝑯𝒐 = 𝟎. 𝟕𝟐 + 𝟎. 𝟑𝟎 = 𝟏, 𝟎𝟐 𝒎
𝑯𝒆 = 𝑯𝒐 + 𝒊𝑳𝒄
𝑯𝒆 = 𝟏, 𝟎𝟐 + 𝟎. 𝟎𝟑 ∗ 𝟑. 𝟗𝟎 = 𝟏. 𝟏𝟑𝟕 𝒎
Ho=1,02 metros
He=1,137 metros
La velocidad del agua al final del canal es:
𝑽𝒆 =
𝑸
𝑩𝒉𝒄
𝑽𝒆 =
𝟎. 𝟕𝟓
𝟎. 𝟕𝟎 ∗ 𝟎. 𝟒𝟖𝟗
= 𝟐. 𝟏𝟗 Τ
𝒎
𝒔
B
hc
𝟎. 𝟑 Τ
𝒎 𝒔 < 𝟐. 𝟏𝟗 Τ
𝒎 𝒔 < 𝟑 Τ
𝒎 𝒔
DISEÑO DE LA CÁMARA DE RECOLECCIÓN
Nuevamente, se emplean las ecuaciones del alcance de chorro,
sustituyendo los términos de la condición de entrada a la cámara
de recolección:
Por facilidad de acceso y mantenimiento, se adopta una cámara de 1,50 m.
𝑿𝒔 = 𝟎. 𝟑𝟔 ∗ 𝟐, 𝟏𝟗
𝟒
𝟕 + 𝟎. 𝟔𝟎 ∗ 𝟎. 𝟒𝟖𝟗
𝟒
𝟕 = 𝟎. 𝟗𝟔𝒎
𝑿𝒊 = 𝟎. 𝟏𝟖 ∗ 𝟐, 𝟏𝟗
𝟒
𝟕 + 𝟎. 𝟕𝟒 ∗ 𝟎. 𝟒𝟖𝟗
𝟑
𝟒 = 𝟎. 𝟕𝟕 𝒎
𝑩 = 𝟎. 𝟗𝟔 + 𝟎. 𝟑𝟎 = 𝟏, 𝟐𝟔 𝒎 ≈ 1,50 m
B cámara=1,50 metros
CÁLCULO DE LA ALTURA DE LOS MUROS DE
CONTENCIÓN:
Tomando el Q máximo del río de Q = 5,5 m3/seg
𝐻 =
𝑄
1,84𝐿
2
3
=
5,50
1,84 ∗ 4,0
2
3
= 0.823 𝑚
Dejando un borde libre de 40cm, la altura total de los
muros será igual a 1,223 m ≈ 1,25 m
CÁLCULO DEL CAUDAL DE EXCESO:
𝑸𝒄𝒂𝒑 = 𝑪𝒅 𝑨𝒏𝒆𝒕𝒂 𝟐𝒈𝑯
En donde:
Qcap = Caudal a través de la rejilla (m³ /s)
Cd = Coeficiente de descarga (0,3)
Aneta = Área neta de la rejilla (m²)
H = Altura de la lámina de agua sobre la rejilla (m)
𝑸𝒆𝒙𝒄𝒆𝒔𝒐𝒔 = 𝑸𝒄𝒂𝒑𝒕𝒂𝒅𝒐 − 𝑸𝒅𝒊𝒔𝒆ñ𝒐
Cálculo del caudal de excesos:
La calculamos usando el caudal de diseño o caudal medio del río,
caudal medio 1,26 m3/seg.
𝑯 =
𝑸
𝟏, 𝟖𝟒𝑳
𝟐
𝟑
=
𝟏, 𝟐𝟔
𝟏, 𝟖𝟒 ∗ 𝟒, 𝟎
𝟐
𝟑
= 𝟎. 𝟑𝟎𝟖𝒎
𝑸𝒄𝒂𝒑 = 𝑪𝒅 𝑨𝒏𝒆𝒕𝒂 𝟐𝒈𝑯 = 𝟎, 𝟑 ∗ 𝟏. 𝟔𝟖 𝟐 ∗ 𝟗, 𝟖𝟏 ∗ 𝟎, 𝟑𝟎𝟖 = 𝟏. 𝟐𝟒𝒎𝟑
/𝒔
𝑸𝒆𝒙𝒄𝒆𝒔𝒐𝒔 = 𝑸𝒄𝒂𝒑𝒕𝒂𝒅𝒐 − 𝑸𝒅𝒊𝒔𝒆ñ𝒐
𝑸𝒆𝒙𝒄𝒆𝒔𝒐 = 𝟏. 𝟐𝟒 − 𝟎, 𝟕𝟓 = 𝟎. 𝟒𝟗 𝒎𝟑/𝒔
Cálculo del caudal de excesos:
Las condiciones en el vertedero de excesos serán:
𝑯𝒆𝒙𝒄 =
𝑸 𝒆𝒙𝒄
𝟏, 𝟖𝟒 𝑩𝒄𝒂𝒎𝒂𝒓𝒂
𝟐
𝟑
=
𝟎. 𝟒𝟗
𝟏, 𝟖𝟒 ∗ 𝟏, 𝟓
𝟐
𝟑
= 𝟎. 𝟑𝟏𝟔𝒎
𝑽𝒆𝒙𝒄𝒆𝒔𝒐 =
𝑸𝒆𝒙𝒄
𝑯𝒆𝒙𝒄 ∗ 𝑩𝒄𝒂𝒎𝒂𝒓𝒂
=
𝟎. 𝟒𝟗
𝟎, 𝟑𝟏𝟔 ∗ 𝟏, 𝟓
= 𝟏. 𝟎𝟑𝟒𝒎/𝒔
𝑿𝒔 = 𝟎, 𝟑𝟔(𝟏, 𝟎𝟑𝟒)
𝟐
𝟑+𝟎, 𝟔𝟎(𝟎, 𝟑𝟏𝟔)
𝟒
𝟕= 𝟎. 𝟔𝟕𝟗 𝒎
BOCATOMAS - DISEÑO..pdf
BOCATOMAS - DISEÑO..pdf

BOCATOMAS - DISEÑO..pdf

  • 1.
    Ing. Luis FernandoCalderón Alvarado
  • 2.
    Ing. Luis FernandoCalderón Alvarado Diseño de bocatomas
  • 3.
  • 4.
    Población de diseño Paraefectuar el desarrollo de un acueducto de abastecimiento de agua potable, es necesario determinar la población futura de la localidad, vereda o ciudad, en las cuales de deben distinguir si existen zonas comerciales o industriales. Con un calculo de proyección de 20 a 40 años, según la tasa de crecimiento poblacional.
  • 5.
    ESTIMACIÓN DE LAPOBLACIÓN CENSOS DENSIDADES ACTUALES Y FUTURAS
  • 6.
    METODOS PARA HALLARLA DENSIDAD DE POBLACION • Método Aritmético. • Método geométrico. • Método exponencial. • Método estadístico. • Método grafico. • Método de áreas y densidades.
  • 7.
    CAUDALES DE DISEÑO CAUDALMEDIO DIARIO 𝑄 𝑚𝑑= 𝑝∗𝑑𝑏𝑟𝑢𝑡𝑎 86400 CAUDAL MAXIMO DIARIO 𝑄𝑀𝐷=𝑄𝑚𝑑∗𝑘1 CAUDAL MAXIMO HORARIO 𝑄𝑀ℎ=𝑄𝑀𝐷∗𝐾2
  • 8.
    CALCULO DE REJILLADE BOCATOMA GARZON AÑO 1970 Con estudios DANE, se establecio que la población en ese año era de 14250 habitantes y que se proyecto para un periodo de 30 años, para abastecer a una población futura de 41500 habitantes. Caudal de diseño 0,75 𝑚3 𝑠
  • 9.
    Desarrollo • CAUDAL DEDISEÑO : 𝑸 = 𝟎, 𝟕𝟓 𝒎𝟑 𝒔 • CAUDAL MEDIO : 𝑸 𝐦𝐢𝐧 =𝟏,𝟐𝟔 𝒎𝟑 𝒔 • CAUDAL MÁXIMO : 𝑸 𝒎𝒂𝒙 =𝟓,𝟎 𝒎𝟑 𝒔 𝑸 = 𝟏, 𝟖𝟒𝑳𝑯 ൗ 𝟑 𝟐 La bocatoma y la garganta de la bocatoma se diseñan como un vertedero rectangular, cuya ecuación corresponde a:
  • 10.
    Desarrollo • CAUDAL DEDISEÑO : 𝑸 = 𝟎, 𝟕𝟓 𝒎𝟑 𝒔 • CAUDAL MINIMO : 𝑸 𝐦𝐢𝐧 = 𝟎,𝟐𝟓 𝒎𝟑 𝒔 • CAUDAL MÁXIMO : 𝑸 𝒎𝒂𝒙 =𝟓,𝟎 𝒎𝟑 𝒔 𝑸 = 𝟏, 𝟖𝟒𝑳𝑯 ൗ 𝟑 𝟐 La bocatoma y la garganta de la bocatoma se diseñan como un vertedero rectangular, cuya ecuación corresponde a:
  • 13.
  • 15.
  • 16.
    H=Altura del aguaantes de la rejilla
  • 17.
  • 18.
    La bocatoma yla garganta de la bocatoma se diseñan como un vertedero rectangular, cuya ecuación corresponde a: Donde asumimos el valor de L que debe ser mayor o igual a 0,7. Con el fin de determinar el valor de la lámina de agua para las condiciones de diseño, se despeja el valor de H, sí el Qd = 750 LPH y se asume un L= 4,0 metros.: 𝑸 = 𝟏, 𝟖𝟒𝑯𝑳 ൗ 𝟑 𝟐 .: 𝑯 = ( 𝑸 𝟏.𝟖𝟒∗𝑳 ) 𝟐 𝟑 𝑯 = ( 𝟎. 𝟕𝟓𝟎𝒎𝟑/𝒔𝒆𝒈 𝟏. 𝟖𝟒 ∗ 𝟒, 𝟎𝒎 ) 𝟐 𝟑 = 𝟎. 𝟐𝟏𝟖 𝒎
  • 19.
  • 20.
  • 21.
    A causa dela existencia de las contracciones laterales, se debe hacer la correspondiente corrección de la longitud de vertimiento, según lo indicado por la ecuación: Lʼ = L -0.1 n*H
  • 23.
    A causa dela existencia de las contracciones laterales, se debe hacer la correspondiente corrección de la longitud de vertimiento, según lo indicado por la ecuación: Donde n es el número de contracciones Lʼ = 4,0 - 0.1 * 2 * 0.218 = 3.96 m Lʼ = L -0.1 n*H
  • 24.
  • 25.
    La velocidad delagua al pasar sobre la rejilla será de: 0.3 m/s<1.125m/s<3m/s Q = V*A .: 𝑽 = 𝑸 𝐀 .: 𝑽𝒓 = 𝑸 𝐋´∗𝐇 =
  • 26.
  • 27.
    La velocidad delagua al pasar sobre la rejilla será de: Dicha velocidad deberá estar entre 0,3 y 3 m/s, de esta manera, pueden aplicarse las ecuaciones de H. Babbit o de chorro para determinar el ancho del canal colector. 0.3 m/s < 0,87m/s < 3,0m/s Q = V * A .: 𝑽 = 𝑸 𝐀 .: 𝑽𝒓 = 𝑸 𝐋´∗𝐇 = 𝟎,𝟕𝟓 𝟑,𝟗𝟔∗𝟎,𝟐𝟏𝟖 𝑽𝒓 = 𝟎. 𝟕𝟓𝟎 𝑴𝟑/𝑺𝒆𝒈 𝟑. 𝟗𝟔𝐦 ∗ 𝟎. 𝟐𝟏𝟖 𝐦 = 𝟎, 𝟖𝟕 Τ 𝒎 𝒔
  • 28.
    CANAL COLECTOR Para eldiseño de esta obra utilizamos las ecuaciones de alcance de chorro, con las cuales podemos determinar el ancho del canal colector, de la siguiente manera:
  • 29.
    CANAL COLECTOR Para eldiseño de esta obra utilizamos las ecuaciones de alcance de chorro, con las cuales podemos determinar el ancho del canal colector, de la siguiente manera:
  • 30.
    CANAL COLECTOR Para eldiseño de esta obra utilizamos las ecuaciones de alcance de chorro, con las cuales podemos determinar el ancho del canal colector, de la siguiente manera: 𝑿𝒔 = 𝟎. 𝟑𝟔 ∗ 𝟎. 𝟖𝟕 𝟒 𝟕 + 𝟎. 𝟔𝟎 ∗ 𝟎. 𝟐𝟏𝟖 𝟒 𝟕 = 𝟎. 𝟓𝟖𝟑𝒎 𝑿𝒊 = 𝟎. 𝟏𝟖 ∗ 𝟎. 𝟖𝟕 𝟒 𝟕 + 𝟎. 𝟕𝟒 ∗ 𝟎. 𝟐𝟏𝟖 𝟑 𝟒 = 𝟎. 𝟒𝟕𝟔𝒎 𝑩 = 𝟎. 𝟓𝟖𝟑 + 𝟎. 𝟏𝟎 = 𝟎. 𝟔𝟖𝟑 𝒎 ≈ 0,70 m
  • 31.
    DISEÑO DE LAREJILLA Como consideramos que las barras de la rejilla se colocarán perpendiculares a la presa, y por lo tanto en la dirección del flujo, se considera que el área neta de la rejilla se puede determinar con la siguiente expresión: A𝒏 = 𝐚 ∗ 𝐁 ∗ 𝐍 A𝒏 = Á𝐫𝐞𝐚 𝐧𝐞𝐭𝐚 a = Separación barrotes B = Ancho canal colector N = Número de espacios
  • 32.
    LONGITUD DE LAREJILLA Y NÚMERO DE ESPACIOS Se adoptan barrotes de 1", con una separación entre ellos de 5 cms. Por otra parte, se asume una velocidad entre barrotes igual a 0,6m/s. 𝑨𝒏 = 𝑸 𝟎. 𝟗𝑽𝒃 𝑨𝒏 = 𝟎. 𝟕𝟓𝟎 𝒎𝟑/𝒔𝒆𝒈 𝟎. 𝟗 ∗ 𝟎. 𝟔 𝒎/𝒔𝒆𝒈 𝑨𝒏 = 𝟏. 𝟔𝟔𝟕 𝒎𝟐 A𝒏 = 𝐚 ∗ 𝐁 ∗ 𝐍 1, 𝟔𝟕 = 𝟎, 𝟎𝟓 ∗ 𝟎, 𝟕𝟎 ∗ 𝐍 N = 𝟏,𝟔𝟕 𝟎,𝟎𝟓∗𝟎,𝟕𝟎 N = 47,7 ≈ 48 espacios
  • 33.
    A𝒏 = 𝐚∗ 𝐁 ∗ 𝐍 A𝒏 = Á𝐫𝐞𝐚 𝐧𝐞𝐭𝐚 a = Separación barrotes B = Ancho canal colector N = Número de espacios 𝑨𝒏 = 𝑸 𝟎. 𝟗 𝑽𝒃 𝑨𝒏 = Á𝒓𝒆𝒂 𝒏𝒆𝒕𝒂 Q = Caudal Vb = Velocidad barrotes N N N N Mín=0,40m N Mín=0,70m B Ø = b Lr = Longitud de la rejilla
  • 34.
    LONGITUD DE LAREJILLA Y NÚMERO DE ESPACIOS 𝑨𝒕 = 𝑩 ∗ 𝑳𝒓 𝑳𝒓 = (𝒂 ∗ 𝑵) + (𝒃 ∗ 𝑵 − 𝟏) 𝐋𝐫 = 𝟎, 𝟎𝟓 ∗ 𝟒𝟖 + 𝟎, 𝟎𝟐𝟓𝟒 ∗ 𝟒𝟕 𝐋𝐫 = 𝟑, 𝟓𝟗 𝒎𝒆𝒕𝒓𝒐𝒔. 𝑳𝒓 = 𝒂 + 𝒃 𝒂 ∗ 𝑩 𝑨𝒏𝒆𝒕𝒂 = 𝟎, 𝟎𝟓 + 𝟎, 𝟎𝟐𝟓𝟒 𝟎, 𝟎𝟓 ∗ 𝟎, 𝟕𝟎 ∗ 𝟏. 𝟔𝟔𝟕 𝒎𝟐 𝑳𝒓 = 𝟑, 𝟓𝟗 𝒎 ≈ 𝟑, 𝟔𝟎 𝒎𝒆𝒕𝒓𝒐𝒔 Otra forma de calcular Lr:
  • 35.
    A𝒏 = 𝐚∗ 𝐁 ∗ 𝐍 A𝒏 = Á𝐫𝐞𝐚 𝐧𝐞𝐭𝐚 a = Separación barrotes B = Ancho canal colector N = Número de espacios 𝑨𝒏 = 𝑸 𝟎. 𝟗 𝑽𝒃 𝑨𝒏 = Á𝒓𝒆𝒂 𝒏𝒆𝒕𝒂 Q = Caudal Vb = Velocidad barrotes N N N N Mín=0,40m N Mín=0,70m B Ø = b Lr = Longitud de la rejilla a Cámara de recolección
  • 36.
    Se recalcula elÁrea Neta y la Longitud de la Rejilla Se recalcula porque se adoptan 48 orificios con lo que calculamos las condiciones finales de nuestra rejilla. An = a * B * N An = 0.05*0.70*48=1.68m2 Velocidad entre barrotes; Vb= 𝑸 𝟎.𝟗𝑨𝒏 = 𝟎.𝟕𝟓 𝟎.𝟗∗𝟏.𝟔𝟖 = 𝟎, 𝟒𝟗𝟔 ≈ 𝟎, 𝟓𝟎 𝒎 𝒔𝒆𝒈
  • 38.
    NIVELES EN ELCANAL COLECTOR: Si se supone que todo el volumen de agua se capta al inicio del canal, se puede obtener el nivel de la lámina aguas arriba por medio del análisis de cantidad de movimiento en el canal: En donde: ho = Profundidad aguas arriba (m) he = Profundidad aguas abajo (m) hc = Profundidad crítica (m) i = Pendiente del fondo del canal g = Aceleración de la gravedad (m/s2) Le = Longitud del canal ℎ𝑒 = ℎ𝑐 = α ∗ Q2 9.81 ∗ B2 1 3
  • 40.
    La altura delagua aguas abajo: ℎ𝑒 = ℎ𝑐 = α ∗ Q2 9.81 ∗ B2 1 3 = 𝟏 ∗ 𝟎. 𝟕𝟓𝟐 𝟗. 𝟖𝟏 ∗ 𝟎. 𝟕𝟎𝟐 𝟏 𝟑 = 𝟎. 𝟒𝟖𝟗 𝒎 Longitud del canal L canal = L canal + espesor del muro L canal = 3,60 + 0,30 = 3,90 m
  • 41.
    La altura delagua aguas arriba, se asume una pendiente i = 3%: 𝒉𝒐 = [ ൩ 𝟐 𝟎. 𝟒𝟖𝟗 𝟐 + 𝟎. 𝟒𝟖𝟗 − 𝟎. 𝟎𝟑 ∗ 𝟑. 𝟗𝟎 𝟑 𝟐 𝟏 𝟐 − 𝟐 𝟑 ∗ 𝟎. 𝟎𝟑 ∗ 𝟑. 𝟗𝟎 = 𝟎. 𝟕𝟐𝒎
  • 42.
    La altura totalde los muros del canal colector es: BL: borde libre se asume de 0.30 m 𝑯𝒐 = 𝒉𝒐 + 𝑩𝒍 Por lo tanto: 𝑯𝒐 = 𝟎. 𝟕𝟐 + 𝟎. 𝟑𝟎 = 𝟏, 𝟎𝟐 𝒎 𝑯𝒆 = 𝑯𝒐 + 𝒊𝑳𝒄 𝑯𝒆 = 𝟏, 𝟎𝟐 + 𝟎. 𝟎𝟑 ∗ 𝟑. 𝟗𝟎 = 𝟏. 𝟏𝟑𝟕 𝒎
  • 43.
  • 44.
    La velocidad delagua al final del canal es: 𝑽𝒆 = 𝑸 𝑩𝒉𝒄 𝑽𝒆 = 𝟎. 𝟕𝟓 𝟎. 𝟕𝟎 ∗ 𝟎. 𝟒𝟖𝟗 = 𝟐. 𝟏𝟗 Τ 𝒎 𝒔 B hc 𝟎. 𝟑 Τ 𝒎 𝒔 < 𝟐. 𝟏𝟗 Τ 𝒎 𝒔 < 𝟑 Τ 𝒎 𝒔
  • 46.
    DISEÑO DE LACÁMARA DE RECOLECCIÓN Nuevamente, se emplean las ecuaciones del alcance de chorro, sustituyendo los términos de la condición de entrada a la cámara de recolección:
  • 47.
    Por facilidad deacceso y mantenimiento, se adopta una cámara de 1,50 m. 𝑿𝒔 = 𝟎. 𝟑𝟔 ∗ 𝟐, 𝟏𝟗 𝟒 𝟕 + 𝟎. 𝟔𝟎 ∗ 𝟎. 𝟒𝟖𝟗 𝟒 𝟕 = 𝟎. 𝟗𝟔𝒎 𝑿𝒊 = 𝟎. 𝟏𝟖 ∗ 𝟐, 𝟏𝟗 𝟒 𝟕 + 𝟎. 𝟕𝟒 ∗ 𝟎. 𝟒𝟖𝟗 𝟑 𝟒 = 𝟎. 𝟕𝟕 𝒎 𝑩 = 𝟎. 𝟗𝟔 + 𝟎. 𝟑𝟎 = 𝟏, 𝟐𝟔 𝒎 ≈ 1,50 m
  • 48.
  • 50.
    CÁLCULO DE LAALTURA DE LOS MUROS DE CONTENCIÓN: Tomando el Q máximo del río de Q = 5,5 m3/seg 𝐻 = 𝑄 1,84𝐿 2 3 = 5,50 1,84 ∗ 4,0 2 3 = 0.823 𝑚 Dejando un borde libre de 40cm, la altura total de los muros será igual a 1,223 m ≈ 1,25 m
  • 51.
    CÁLCULO DEL CAUDALDE EXCESO: 𝑸𝒄𝒂𝒑 = 𝑪𝒅 𝑨𝒏𝒆𝒕𝒂 𝟐𝒈𝑯 En donde: Qcap = Caudal a través de la rejilla (m³ /s) Cd = Coeficiente de descarga (0,3) Aneta = Área neta de la rejilla (m²) H = Altura de la lámina de agua sobre la rejilla (m) 𝑸𝒆𝒙𝒄𝒆𝒔𝒐𝒔 = 𝑸𝒄𝒂𝒑𝒕𝒂𝒅𝒐 − 𝑸𝒅𝒊𝒔𝒆ñ𝒐
  • 52.
    Cálculo del caudalde excesos: La calculamos usando el caudal de diseño o caudal medio del río, caudal medio 1,26 m3/seg. 𝑯 = 𝑸 𝟏, 𝟖𝟒𝑳 𝟐 𝟑 = 𝟏, 𝟐𝟔 𝟏, 𝟖𝟒 ∗ 𝟒, 𝟎 𝟐 𝟑 = 𝟎. 𝟑𝟎𝟖𝒎 𝑸𝒄𝒂𝒑 = 𝑪𝒅 𝑨𝒏𝒆𝒕𝒂 𝟐𝒈𝑯 = 𝟎, 𝟑 ∗ 𝟏. 𝟔𝟖 𝟐 ∗ 𝟗, 𝟖𝟏 ∗ 𝟎, 𝟑𝟎𝟖 = 𝟏. 𝟐𝟒𝒎𝟑 /𝒔 𝑸𝒆𝒙𝒄𝒆𝒔𝒐𝒔 = 𝑸𝒄𝒂𝒑𝒕𝒂𝒅𝒐 − 𝑸𝒅𝒊𝒔𝒆ñ𝒐 𝑸𝒆𝒙𝒄𝒆𝒔𝒐 = 𝟏. 𝟐𝟒 − 𝟎, 𝟕𝟓 = 𝟎. 𝟒𝟗 𝒎𝟑/𝒔
  • 53.
    Cálculo del caudalde excesos: Las condiciones en el vertedero de excesos serán: 𝑯𝒆𝒙𝒄 = 𝑸 𝒆𝒙𝒄 𝟏, 𝟖𝟒 𝑩𝒄𝒂𝒎𝒂𝒓𝒂 𝟐 𝟑 = 𝟎. 𝟒𝟗 𝟏, 𝟖𝟒 ∗ 𝟏, 𝟓 𝟐 𝟑 = 𝟎. 𝟑𝟏𝟔𝒎 𝑽𝒆𝒙𝒄𝒆𝒔𝒐 = 𝑸𝒆𝒙𝒄 𝑯𝒆𝒙𝒄 ∗ 𝑩𝒄𝒂𝒎𝒂𝒓𝒂 = 𝟎. 𝟒𝟗 𝟎, 𝟑𝟏𝟔 ∗ 𝟏, 𝟓 = 𝟏. 𝟎𝟑𝟒𝒎/𝒔 𝑿𝒔 = 𝟎, 𝟑𝟔(𝟏, 𝟎𝟑𝟒) 𝟐 𝟑+𝟎, 𝟔𝟎(𝟎, 𝟑𝟏𝟔) 𝟒 𝟕= 𝟎. 𝟔𝟕𝟗 𝒎