DISENO Y CALCULO DE TANQUES DE ALMACENAMIENTO (API 650)
1
INSTITUTOPOLITECNICONACIONAL
ESCUELASUPERIORDEINGENIERIAMECANICA
YELECTRICA
UNIDADAZCAPOTZALCO
TESI S CURRI CULAR
QUE PARA OBTENER EL TITULO DE :
INGENIERO MECANICO
P R E S E N T A N :
GUILLERMOGUSTAVO CARREÑOVAZQUEZ
JOSEFERNANDO HERNANDEZLUNA
MEXICO.DF. 2008
“DISEÑO Y CALCULO DE UN TANQUE DE ALMACENAMIENTO
PARA NAFTA CON DIAMETRO DE 70ft X 30ft DE ALTURA.
BAJO LA NORMA API 650”
DISENO Y CALCULO DE TANQUES DE ALMACENAMIENTO (API 650)
2
JUSTIFICACIÓN.
Debido al aumento de la industria petrolera ha exigido la construcción de tanques de
almacenamiento atmosférico tipo cilíndrico con una operación confiable, eficiente y
segura durante su vida útil regidos por la norma API-650.
OBJETIVO.
El presente trabajo tiene por objeto describir, de una manera práctica y sencilla, el
método diseño, montaje y construcción de tanques cilíndricos verticales para
almacenamiento de combustible apropiados para obtener óptimos resultados y así logra
una correcta operación de los mismos. Por lo que el procedimiento aplica para: tanques
de acero, que descansan sobre una base de cimentación, para almacenamiento de crudo,
que llenen los requisitos de seguridad, que sean económicos, y que puedan construirse en
cualquier tamaño para satisfacer la demanda de la industria y esta orientado para que los
diseñadores, constructores y montadores obtengan resultados satisfactorios dentro de las
tolerancias permisibles para este tipo de trabajo y que indica la normatividad descrita en
el código A.P.I. 650.
DISENO Y CALCULO DE TANQUES DE ALMACENAMIENTO (API 650)
3
INTRODUCCIÓN.
La expansión de la industria petrolera ha exigido la construcción de tanques de
almacenamiento atmosférico tipo cilíndrico, en los que se reciben los diferentes
productos derivados del petróleo así como las materias primas que se procesan en
refinerías o complejos petroquímicos, requiriendo de una avanzada tecnología que
permita garantizar una operación confiable, eficiente y segura durante el tiempo de
servicio para el cual se ha diseñado el tanque.
Para lograr lo anterior se requiere que el diseño y procedimientos de fabricación y
montaje de tanques de almacenamiento se apeguen a las normas y códigos aplicables que
permita llevar un control de calidad que asegure la correcta geometría y funcionamiento
del tanque durante su operación y vida útil.
Los tanques de almacenamiento empleados en la industria petrolera están gobernados,
desde su diseño, fabricación, montaje, pruebas y operación por el código API-650 que
contiene todos los aspectos que deben cumplirse tanto por el diseñador como por los
fabricantes, montadores y operadores.
DISENO Y CALCULO DE TANQUES DE ALMACENAMIENTO (API 650)
4
CONTENIDO.
CAPÍTULO.
1. GENERALIDADES.
1.1.- Definición de conceptos.
1.2.- Tipos de tanques de almacenamiento.
1.3.- Tipos de techos.
1.4.- Materiales a emplear.
1.5.- Soldadura en tanques de almacenamiento.
1.6.- Boquillas en tanques de almacenamiento.
1.7.- Entradas de hombre y accesorios.
1.8.- Escaleras y plataformas.
2. NORMATIVIDAD.
2.1.- Códigos aplicables.
2.2.- Códigos A.S.T.M.
2.3.- Códigos A.S.M.E.
2.4.- Reglamento de la N.F.P.A.
2.5.- Standard A.P.I. 650.
2.6.- Normas de seguridad y medio ambiente.
3. CÁLCULOS.
3.1.- Consideraciones de diseño.
3.2.- Diseño y cálculo del fondo.
3.3.- Diseño y cálculo del cuerpo.
3.4.- Diseño y cálculo del techo.
3.5.- Memoria de cálculo.
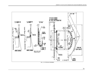
4. DIBUJOS DE REFERENCIA.
4.1.- Arreglo general
4.2.- Detalle de Columnas
4.3.- Detalle de boquillas
4.4.- Detalle del cuerpo
4.5.- Detalle del techo
4.6.- Detalle del fondo
DISENO Y CALCULO DE TANQUES DE ALMACENAMIENTO (API 650)
5
ÍNDICE
CAPÍTULO.
1.- GENERALIDADES ___________________________________________
1.1.- Definición de conceptos______________________________
1.2.- Tipos de tanques de almacenamiento____________________
1.3.- Tipos de techos_____________________________________
1.3.1.- Techo fijo_________________________________________
1.3.2.- Techo flotante______________________________________
1.3.3.- Sin techo__________________________________________
1.4.- Materiales a emplear ________________________________
1.4.1.- Materiales para soldadura_____________________________
1.5.- Soldadura en tanques de almacenamiento ________________
1.5.1.- Juntas verticales del cuerpo ___________________________
1.5.2.- Juntas horizontales__________________________________
1.5.3.- Soldaduras de fondo_________________________________
1.5.3.1.- Soldadura a traslape _________________________________
1.5.3.2.- Soldadura a tope____________________________________
1.5.4.- Juntas de la placa anular de fondo ______________________
1.5.5.- Juntas del cuerpo-fondo ______________________________
1.5.6.- Juntas para anillos anulares ___________________________
1.5.7.- Juntas del techo y perfil de coronamiento ________________
1.5.8.- Recomendaciones para procedimientos de soldaduras ______
1.6.- Boquillas en tanques de almacenamiento_________________
1.6.1.- Boquillas en la pared del tanque________________________
1.6.2.- Boquillas en el techo ________________________________
1.7.- Entradas de hombre y accesorios_______________________
1.7.1.- Entradas de hombre horizontales y verticales_____________
1.7.2.- Venteos___________________________________________
1.7.3.- Drenes y sumideros _________________________________
1.8.- Escaleras y plataformas ______________________________
1.8.1.- Requerimientos para plataformas y pasillos_______________
1.8.2.- Requerimientos para escaleras_________________________
2.- NORMATIVIDAD ____________________________________________
2.1.- Códigos aplicables __________________________________
2.1.1.- Normas del instituto americano del petróleo ______________
2.1.2.- Otras normas aplicables ______________________________
2.2.- Códigos A.S.T.M.___________________________________
2.3.- Códigos A.S.M.E.___________________________________
2.4.- Reglamento de la N.F.P.A.____________________________
2.5.- Standard A.P.I. 650__________________________________
Páginas.
8
9
10
10
11
11
11
11
13
14
16
17
17
17
17
18
18
19
20
21
22
22
28
30
30
31
31
43
44
44
46
47
47
48
49
49
50
50
DISENO Y CALCULO DE TANQUES DE ALMACENAMIENTO (API 650)
6
CAPÍTULO. Páginas.
2.5.1.- Apartados empleados________________________________
2.5.1.1.- Materiales_________________________________________
2.5.1.2.- Montaje___________________________________________
2.5.1.3.- Soldadura _________________________________________
2.5.1.4.- Radiografiado de soldadura ___________________________
2.5.1.5.- Piso______________________________________________
2.5.1.6.- Anillos de la envolvente______________________________
2.5.1.7.- Esfuerzos permisibles________________________________
2.5.1.8.- Conexiones y accesorios______________________________
2.5.1.9.- Techo ____________________________________________
2.5.1.10.- Baranda de techo ___________________________________
2.5.1.11.- Plataforma ________________________________________
2.5.1.12.- Pintura ___________________________________________
2.5.1.13.- Protección por sobrellenado___________________________
2.5.1.14.- Protección catódica__________________________________
2.5.1.15.- Elemento receptor de rayo ____________________________
2.6.- Normas de seguridad y medio ambiente _________________
2.6.1.- Normas de seguridad ________________________________
2.6.2.- Normas ambientales_________________________________
3.- CÁLCULOS _________________________________________________
3.1.- Consideraciones de diseño ___________________________
3.2.- Diseño y cálculo del fondo____________________________
3.3.- Diseño y cálculo del cuerpo___________________________
3.3.1.- Cálculo de espesores del cuerpo por el método de un pie ____
3.4.- Diseño y cálculo del techo ____________________________
3.4.1.- Diseño y cálculo de techo tipo domo ___________________
3.5.- Memoria de cálculo _________________________________
3.5.1.- Cálculo de espesores ________________________________
3.5.2.- Cálculo de placas de cuerpo __________________________
3.5.3.- Cálculo de placas de fondo y techo _____________________
3.5.4.- Cálculo de refuerzos de apertura _______________________
3.5.4.1.- Cálculo de boquilla N-1 _____________________________
3.5.4.2.- Cálculo de boquilla N-2 _____________________________
3.5.4.3.- Cálculo de boquilla N-3 _____________________________
3.5.4.4.- Cálculo de boquilla N-4 _____________________________
3.5.4.5.- Cálculo de boquilla N-5 _____________________________
3.5.4.6.- Cálculo de boquilla N-6 _____________________________
3.5.4.7.- Cálculo de boquilla N-7 _____________________________
3.5.5.- Cálculo de placa de choque ___________________________
3.5.5.1.- Análisis de soldadura _______________________________
3.5.6.- Selección del rompe vortex ___________________________
51
51
52
52
52
52
53
53
53
54
54
54
55
55
55
55
56
56
57
58
59
59
61
62
63
63
64
65
67
69
72
72
76
79
82
86
89
92
95
97
98
DISENO Y CALCULO DE TANQUES DE ALMACENAMIENTO (API 650)
7
CAPÍTULO.
3.5.7.- Cálculo del dique de protección________________________
3.5.7.1.- Diseño del dique de proyección________________________
3.5.8.- Cálculo de la estructura interior _______________________
3.5.9.- Cálculos de los tornillos del cartabón ___________________
3.5.9.1.- Cálculo de la soldadura ______________________________
3.5.9.2.- Dimensionamiento y análisis de las placas del cartabón _____
4.- DIBUJOS DE REFERENCIA ___________________________________
4.1.- Arreglo general _____________________________________
4.2.- Detalle de Columnas _________________________________
4.3.- Detalle de boquillas__________________________________
4.4.- Detalle del cuerpo ___________________________________
4.5.- Detalle del techo ____________________________________
4.6.- Detalle del fondo ___________________________________
98
99
103
106
107
109
111
112
113
114
115
116
117
DISENO Y CALCULO DE TANQUES DE ALMACENAMIENTO (API 650)
8
CAPÍTULO 1
GENERALIDADES.
DISENO Y CALCULO DE TANQUES DE ALMACENAMIENTO (API 650)
9
1.1. DEFINICIÓN DE CONCEPTOS
A continuación, definiremos los conceptos más empleados en la presente investigación,
con la finalidad de facilitar su comprensión:
BOQUILLA.- Orificio practicado en un tanque para la entrada y/o salida de un
fluido o la instalación de un instrumento de medición, generalmente son bridadas
o roscadas.
BRIDA.- Accesorio para acoplamiento de tuberías, que facilita el armado y
desarmado de las mismas.
CARGA HIDROSTÁTICA.- La presión ejercida por un líquido en reposo.
CARGA MUERTA.- La fuerza debida al peso propio de los elementos a
considerar.
CARGA VIVA.- La fuerza ejercida por cuerpos externos, tales como: nieve,
lluvia, viento, personas y/o objetos en tránsito, etc.
CÓDIGO.- Conjunto de mandatos dictados por una autoridad competente.
CORROSIÓN.- Desgaste no deseado, originado por la reacción química entre el
fluido contenido y/o procesado y el material de construcción del equipo en
contacto con el mismo.
EFICIENCIA DE JUNTAS SOLDADAS.- Valor numérico dado por el Código o
Estándar correspondiente (Grado de Confiabilidad).
ESTÁNDAR.- Sugerencias para la fabricación y diseño, originadas por la
experiencia.
NORMA.- Conjunto de reglas para el dimensionamiento y cálculo de accesorios.
PRESIÓN ATMOSFÉRICA.- Es la producida por el peso del aire y su valor
depende de la altura del sitio indicado sobre el nivel del mar.
PRESIÓN DE DISEÑO.- Es la presión manométrica considerada para efectuar
los cálculos.
PRESIÓN DE OPERACIÓN.- Presión manométrica a la cual estará sometido el
tanque en condiciones normales de trabajo.
DISENO Y CALCULO DE TANQUES DE ALMACENAMIENTO (API 650)
10
PRESIÓN DE PRUEBA.- Valor de la presión manométrica que sirva para realizar
la prueba hidrostática o neumática.
RECIPIENTE.- Depósito cerrado que aloja un fluido a una presión manométrica
diferente a la atmosférica, ya sea positiva o negativa.
TANQUE.- Depósito diseñado para almacenar o procesar fluidos, generalmente a
presión atmosférica o presión internas relativamente bajas.
1.2. TIPOS DE TANQUES DE ALMACENAMIENTO.
Los tanques de almacenamiento se usan como depósitos para contener una reserva
suficiente de algún producto para su uso posterior y/o comercialización. Los tanques de
almacenamiento, se clasifican en:
Cilíndricos Horizontales.
Cilíndricos Verticales de Fondo Plano.
Los Tanques Cilíndricos Horizontales, generalmente son de volúmenes relativamente
bajos, debido a que presentan problemas por fallas de corte y flexión.
Por lo general, se usan para almacenar volúmenes pequeños. Los Tanques Cilíndricos
Verticales de Fondo Plano nos permiten almacenar grandes cantidades volumétricas con
un costo bajo. Con la limitante que solo se pueden usar a presión atmosférica o presiones
internas relativamente pequeñas.
Estos tipos de tanques se clasifican en:
De techo fijo.
De techo flotante.
Sin techo.
En esta obra sólo trataremos los tanques de techo fijo (autosoportado y soportado por
estructura) y tanques sin techo. Los de techo flotante no se tratarán a fondo debido a que
el diseño de los sistemas de flotación están patentados y solamente los titulares de esas
patentes pueden divulgar información al respecto.
1.3. TIPOS DE TECHOS.
DISENO Y CALCULO DE TANQUES DE ALMACENAMIENTO (API 650)
11
De acuerdo al estándar A.P.I. 650, clasificaremos los tanques de acuerdo al tipo de techo,
lo que nos proporcionará el servicio recomendable para éstos.
1.3.1. TECHO FIJO.
Se emplean para contener productos no volátiles o de bajo contenido de ligeros (no
inflamables) como son: agua, diesel, asfalto, petróleo crudo, etc. Debido a que al
disminuir la columna del fluido, se va generando una cámara de aire que facilita la
evaporación del fluido, lo que es altamente peligroso.
Los techos fijos se clasifican en:
Techos autosoportados.
Techos soportados.
1.3.2. TECHO FLOTANTE.
Se emplea para almacenar productos con alto contenido de volátiles como son: alcohol,
gasolinas y combustibles en general.
Este tipo de techo fue desarrollado para reducir o anular la cámara de aire, o espacio libre
entre el espejo del líquido y el techo, además de proporcionar un medio aislante para la
superficie del líquido, reducir la velocidad de transferencia de calor al producto
almacenado durante los periodos en que la temperatura ambiental es alta, evitando así la
formación de gases (su evaporación), y consecuentemente, la contaminación del ambiente
y, al mismo tiempo se reducen los riesgos al almacenar productos inflamables.
1.3.3. SIN TECHO.
Se usan para almacenar productos en los cuales no es importante que éste se contamine o
que se evapore a la atmósfera como el caso del agua cruda, residual, contra incendios,
etc. El diseño de este tipo de tanques requiere de un cálculo especial del anillo de
coronamiento.
1.4. MATERIALES A EMPLEAR.
Para el mejor diseño, cálculo y manufactura de tanques de almacenamiento es importante
seleccionar el material adecuado dentro de la variedad de aceros que existen en el
DISENO Y CALCULO DE TANQUES DE ALMACENAMIENTO (API 650)
12
mercado, por lo que a continuación listamos los materiales más usados con su aplicación
y la tabla 1.1. muestra la agrupación de los mismos.
ESTÁNDAR A.S.T.M. (AMERICAN SOCIETY FOR TESTING AND MATERIALS).
A-36.- ACERO ESTRUCTURAL.
Sólo para espesores iguales o menores de 38 mm. (1 ½ pulg.). Este material es aceptable
y usado en los perfiles, ya sean comerciales o ensamblados de los elementos estructurales
del tanque.
A-131.- ACERO ESTRUCTURAL.
GRADO A para espesor menor o igual a 12.7 mm (1/2 pulg.)
GRADO B para espesor menor o igual a 25.4 mm. (1 pulg.)
GRADO C para espesores iguales o menores a 38 mm. (1-1/2 pulg.)
GRADO EH36 para espesores iguales o menores a 44.5 mm. (1-3/4 pulg.)
A-283.- PLACAS DE ACERO AL CARBÓN CON MEDIO Y BAJO
ESFUERZO A LA TENSIÓN.
GRADO C Para espesores iguales o menores a 25 mm. (1 pulg.).
Este material es el más socorrido, porque se puede emplear tanto para perfiles
estructurales como para la pared, techo, fondo y accesorios del tanque.
A-285.- PLACA DE ACERO AL CARBÓN CON MEDIO Y BAJO ESFUERZO
A LA TENSIÓN.
GRADO C Para espesores iguales o menores de 25.4 mm. (1 pulg.). Es el material
recomendable para la construcción del tanque (cuerpo, fondo, techo y accesorios
principales), el cual no es recomendable para elementos estructurales debido a que
tiene un costo relativamente alto comparado con los anteriores.
A-516.- PLACA DE ACERO AL CARBÓN PARA TEMPERATURAS DE
SERVICIO MODERADO.
GRADOS 55, 60, 65 y 70. Para espesores iguales o menores a 38mm. (1-1/2
pulg.). Este material es de alta calidad y, consecuentemente, de un costo elevado,
por lo que se recomienda su uso en casos en que se requiera de un esfuerzo a la
tensión alta, que justifique el costo.
A-53.- GRADOS A Y B. PARA TUBERÍA EN GENERAL.
A-106.-GRADOS A Y B. TUBOS DE ACERO AL CARBÓN SIN COSTURA
PARA SERVICIOS DE ALTA TEMPERATURA.
DISENO Y CALCULO DE TANQUES DE ALMACENAMIENTO (API 650)
13
En el mercado nacional, es fácil la adquisición de cualquiera de estos dos
materiales, por lo que puede usarse indistintamente, ya que ambos cumplen
satisfactoriamente con los requerimientos exigidos por el estándar y la diferencia
no es significativa en sus propiedades y costos.
A-105.- FORJA DE ACERO AL CARBÓN PARA ACCESORIOS DE
ACOPLAMIENTO DE TUBERÍAS.
A-181.- FORJA DE ACERO AL CARBÓN PARA USOS EN GENERAL.
A-193.- GRADO B7. MATERIAL PARA TORNILLOS SOMETIDOS A ALTA
TEMPERATURA Y DE ALTA RESISTENCIA, MENORES A 64MM. (2-1/2
(PULG.), DE DIÁMETRO.
A-194.- GRADO 2H. MATERIAL PARA TUERCAS A ALTA
TEMPERATURA Y DE ALTA RESISTENCIA.
A-307.- GRADO B. MATERIAL DE TORNILLOS Y TUERCAS PARA USOS
GENERALES.
1.4.1. MATERIALES PARA SOLDADURA.
Para el soldado de materiales con un esfuerzo mínimo a la tensión menor de 5625 Kg
/cm2
(80000 lb/pulg2
), los electrodos de arco manual deben estar hechos de materiales
cuya clasificación sea AWS: E-60XX y E70XX.
Para soldado de materiales con un esfuerzo mínimo a la tensión de 5625- 5976 Kg /cm2
(80000-85000 lb/pulg2
), el material del electrodo de arco manual debe ser E80XX-CX.
También podrán ser usados otros materiales que sean recomendados por otros Estándares,
Códigos o Normas como: A.S.T.M., A.P.I., C.S.A. (Canadian Standar for
Standardization).
TABLA 1.1. GRUPOS DE MATERIALES.
DISENO Y CALCULO DE TANQUES DE ALMACENAMIENTO (API 650)
14
TABLA 1.1. GRUPOS DE MATERIALES (CONTINUACIÓN).
NOTAS:
Todo lo especificado, nombrado y referido por A.S.T.M. excepto G40.21 que está
especificado por el Estándar de la Asociación Canadiense, Re 42, Fe 44 y Fe 52
especificado y contenido en ISO 630 y los grados 37, 41 y 44 especificados por el
Estándar Nacional Americano.
1. Debe ser semimuerto y muerto.
2. Espesor menor o igual a 12.7 mm (1/2 pulg.).
3. Máximo contenido de magnesio de 1.5%.
4. Espesor menor o igual a 19.5 mm (3/4 pulg.) cuando el rolado es controlado.
5. Contenido de manganeso de 0.8% a 1.2%, haciendo análisis de calor en todos los
espesores.
6. Espesores menores o iguales a 25.4 mm (1 pulg.).
7. Debe ser muerto.
8. Debe ser semimuerto y de grano fino.
9. Debe ser normalizado.
DISENO Y CALCULO DE TANQUES DE ALMACENAMIENTO (API 650)
15
10. Debe ser tratado térmicamente, con un máximo de carbón de 0.02% y un máximo
de manganeso de 1.6%.
1.5. SOLDADURAS EN TANQUES DE ALMACENAMIENTO.
Al efectuar el diseño se deberán preparar procedimientos específicos de soldadura para
cada caso.
Los procedimientos de soldadura serán presentados para su aprobación y estudio antes de
aplicar cualquier cordón de soldadura para cada caso en particular. Este procedimiento
debe indicar la preparación de los elementos a soldar, así como la temperatura a la que se
deberá precalentar tanto el material de aporte (electrodo, si lo hubiera), como los
materiales a unir.
Todas las soldaduras serán aplicadas mediante el proceso de arco eléctrico B sumergido,
arco con gas inerte o electrodos recubiertos. Estos procesos pueden ser manuales o
automáticos. En cualquiera de los dos casos, deberán tener penetración completa,
eliminando la escoria dejada al aplicar un cordón de soldadura antes de aplicar sobre éste
el siguiente cordón.
Las soldaduras típicas entre elementos, se muestran en las figuras 1.1. y 1.2. La cara
ancha de las juntas en “V” y en “U” podrán estar en el exterior o en el interior del cuerpo
del tanque dependiendo de la facilidad que se tenga para realizar el soldado de la misma.
El tanque deberá ser diseñado de tal forma que todos los cordones de soldadura sean
verticales, horizontales y paralelos, para el cuerpo y fondo, en el caso del techo, podrán
ser radiales y/o circunferenciales.
DISENO Y CALCULO DE TANQUES DE ALMACENAMIENTO (API 650)
16
FIG. 1.1. DETALLES TIPICOS DE SOLDADURAS LONGITUDINALES.
DISENO Y CALCULO DE TANQUES DE ALMACENAMIENTO (API 650)
17
FIG. 1.2. DETALLES TIPÍCOS DE SOLDADURAS CIRCUNFERENCIALES.
1.5.1. JUNTAS VERTICALES DEL CUERPO.
A) Las juntas verticales deberán ser de penetración y fusión completa, lo cual se
podrá lograr con soldadura doble, de tal forma que se obtenga la misma calidad del metal
depositado en el interior y el exterior de las partes soldadas para cumplir con los
requerimientos del procedimiento de soldaduras.
B) Las juntas verticales no deberán ser colineales, pero deben ser paralelas entre sí en
una distancia mínima de 5 veces el espesor de la placa (5t).
DISENO Y CALCULO DE TANQUES DE ALMACENAMIENTO (API 650)
18
1.5.2. JUNTAS HORIZONTALES.
A) Las juntas horizontales, deberán ser de penetración y fusión completa, excepto la
que se realiza entre el ángulo de coronamiento y el cuerpo, la cual puede ser unida por
doble soldadura a traslape, cumplimiento con el procedimiento de soldadura.
B) A menos que otra cosa sea especificada, la junta a tope con o sin bisel entre las
placas del cuerpo, deberán tener una línea de centros o fibra media común.
1.5.3. SOLDADURA DEL FONDO.
1.5.3.1. SOLDADURAS A TRASLAPE.
Las placas del fondo deberán ser rectangulares y estar escuadradas. El traslape tendrá un
ancho de, por lo menos, 32mm. (1-1/4 pulg.). Para todas las juntas las uniones de dos o
tres placas, como máximo que estén soldadas, guardarán una distancia mínima de
305mm. (1 pie) con respecto a cualquier otra junta y/o a la pared del tanque. Cuando se
use placa anular, la distancia mínima a cualquier cordón de soldadura del interior del
tanque o del fondo, será de 610mm. (2 pie).
Las placas del fondo serán soldadas con un filete continuo a lo largo de toda la unión. A
menos que se use un anillo anular, las placas del fondo llevarán bayonetas para un mejor
asiente de la placa del cuerpo que son apoyadas sobre el fondo de acuerdo a la siguiente
figura 1.3.
1.5.3.2. SOLDADURAS A TOPE.
Las placas del fondo deberán tener sus cantos preparados para recibir el cordón de
soldadura, ya sea escuadrando éstas o con biseles en “V”. Si se utilizan biseles en “V”, la
raíz de la abertura no deberá ser mayor a 6.3 mm. (1/4 pulg). Las placas del fondo
deberán tener punteada una placa de respaldo de 3.2 mm. (1/8 pulg) de espesor o mayor
que la abertura entre placas, pudiéndose usar un separador para conservar el espacio entre
las placas (Ver figura 1.3).
Cuando se realicen juntas entre tres placas en el fondo del tanque, éstas deberán
conservar una distancia mínima de 305 mm. (1 pie) entre sí y/o con respecto a la pared
del tanque.
DISENO Y CALCULO DE TANQUES DE ALMACENAMIENTO (API 650)
19
FIG. 1.3. DETALLES TÍPICOS DE SOLDADURA DEL FONDO.
1.5.4. JUNTAS DE LA PLACA ANULAR DEL FONDO.
La junta radial del fondo de la placa anular deberá ser soldada con las mismas
características de la soldadura a tope y tener penetración y fusión completa. El material
de la placa anular será de las mismas características que el material del fondo.
1.5.5. JUNTA DEL CUERPO-FONDO.
A) Para espesores de placa del fondo o de placas anulares que sean de 12.7mm. (1/2
pulg.) o menores son incluir corrosión, la unión entre el fondo y el canto de las placas del
cuerpo tendrá que ser hecha con un filete continuo de soldadura que descanse de ambos
lados de la placa del cuerpo (Ver Figura 1.4).
El tamaño de cada cordón, sin tomar en cuenta la corrosión permisible, no será mayor
que 12.7mm. (1/2”) y no menor que el espesor nominal de la más delgada de las placas a
unir, o menor que los valores de la tabla siguiente.
TABLA 1.2. VALORES MINIMOS DE CORDON.
MAXIMO ESPESOR DEL
TANQUE (mm).
DIMENSION MINIMA
DEL FILETE (mm).
4.76
> 4.76 - 19.05
> 19.05 - 31.75
> 31.75 - 44.45
4.76
6.35
7.93
9.52
DISENO Y CALCULO DE TANQUES DE ALMACENAMIENTO (API 650)
20
B) Para placas anulares de un espesor mayor de 12.7 mm. (1/2 pulg), la junta soldada
deberá ser de una dimensión tal que la pierna del filete o la profundidad del bisel más la
pierna del filete de una soldadura combinada sean del mismo espesor que la placa anular.
C) El filete entre cuerpo y fondo para materiales en los grupos IV, IVA, V ó VI debe
realizarse con un mínimo de dos cordones de soldadura (Ver Tabla 1.1).
FIG. 1.4. PREPARACIÓN DE MATERIAL A SOLDAR ENTRE CUERPO-FONDO.
1.5.6. JUNTAS PARA ANILLOS ANULARES.
A) Las soldaduras para unir secciones anulares que conformen todo el anillo
tendrán penetración y fusión completa.
B) Se usarán soldaduras continuas para todas las juntas que por su localización
puedan ser objeto de corrosión por exceso de humedad o que puedan causar oxidaciones
en la pared del tanque.
DISENO Y CALCULO DE TANQUES DE ALMACENAMIENTO (API 650)
21
1.5.7. JUNTAS DEL TECHO Y PERFIL DE CORONAMIENTO.
A) Las placas del techo deberán soldarse a traslape por el lado superior con un filete
continuo igual al espesor de las mismas (Ver Figura 1.5).
B) Las placas del techo serán soldadas al perfil de coronamiento del tanque con un
filete continuo por el lado superior únicamente y el tamaño del filete será igual al espesor
más delgado (Ver Figura 1.5).
FIG. 1.5. DETALLES TÍPICOS DE SOLDADURA DEL TECHO.
C) Las secciones que conformen el perfil de coronamiento para techos
autosoportados estarán unidas por cordones de soldadura que tengan penetración y fusión
completa.
DISENO Y CALCULO DE TANQUES DE ALMACENAMIENTO (API 650)
22
D) Como una opción del fabricante para techos autosoportados, del tipo domo y
sombrilla, las placas perimetrales del techo podrán tener un doblez horizontal, a fin de
que descansen las placas en el perfil de coronamiento.
1.5.8. RECOMENDACIONES PARA PROCEDIMIENTOS DE SOLDADURAS.
Uno de los factores determinantes para el proceso de soldadura son las dilataciones
térmicas porque, al soldar las placas de acero del fondo, casco y techo, se presentan
deformaciones, debido a que el incremento de temperatura es del orden de 2204 °C a
13870°C (4000 °F a 2500 °F) dependiendo del proceso que se utilice.
Como el coeficiente de expansión o contracción térmica del material es del orden de
0.01651 mm para cada 38°C (100°F) se encogerá 1.6 mm. (1/16 pulg). Por tanto, si
sumamos estas contracciones al diámetro del fondo para tanques de grandes dimensiones
o las que se requieran en el casco de un tanque, la magnitud ya es considerable.
Debido a ello, nos vemos obligados a considerar un procedimiento de soldadura que
permita evitar las deformaciones que se presentan, recomendando que la secuencia de
soldado se inicie en el centro del tanque y avance hacia la periferia del fondo, soldando
juntas longitudinales y, a continuación, las placas del anillo anular, si éstas existieran,
dejando pendientes las soldaduras transversales del fondo, mismas que serán terminadas
cuando se haya avanzando en las soldaduras del primer anillo del casco.
Las pequeñas deformaciones que se permitan en el primer anillo deben ser las mínimas
dentro de las tolerancias permitidas por el estándar, de lo contrario, se reflejarán en los
últimos anillos, pero amplificando más o menos diez veces, por lo que las soldaduras
verticales del casco deben ser alternadas y por el procedimiento de retroceso para obtener
una verticalidad y circularidad aceptable.
El procedimiento debe llevar un estricto control de las dimensiones del casco, a medida
que se van montando las placas de cada anillo, pero tomando en cuenta que las últimas
soldaduras de cierre deberán ser siempre a una hora tal del día que se tenga la misma
temperatura medida directamente sobre la superficie del material, a fin de controlar la
expansión térmica que en grandes tanques puede llegar a ser del orden de 38mm. (1 ½
pulg). Por supuesto que se usarán todos los herrajes que requiera el procedimiento con el
objeto de mantener correctas las dimensiones y llevando un registro minucioso de las
mismas para decidir, en el momento, oportuno, las correcciones pertinentes, debido a
alguna desviación fuera de tolerancia. También se recomienda dejar una placa del primer
anillo sin soldar para ser utilizada como puerta, la cual sólo se removerá en caso
absolutamente necesario para acceso de material o equipo, con la condición de que esté
hecha la primera soldadura horizontal, excepto tres pies, mínimo a cada lado de dicha
puerta y que lateralmente se tengan instaladas canales de refuerzo de 304.8 mm (12 pulg)
de longitud. Para su terminación, se seguirá el método explicado para las placas
principales.
DISENO Y CALCULO DE TANQUES DE ALMACENAMIENTO (API 650)
23
Para aplicar la soldadura de filete entre el primer anillo y la placa anular o la placa del
fondo, se debe precalentar una longitud de 304.8 mm. (12 pulg.) hacia arriba del primer
anillo a una temperatura de 100 °C a 150 °C.
Las soldaduras de traslape de las placas del techo sólo se harán por la parte exterior y
solamente donde existan zonas de flexión se recomendarán puntos de soldadura a cada
304.8 mm. (12 pulg.) en su parte interior, porque la doble soldadura es más perjudicial
que benéfica, ya que, por el tipo de soldadura a realizar (posición sobre cabeza), será muy
difícil evitar el socavado que reduce el espesor de la placa.
Con el fin de verificar si una soldadura ha sido bien aplicada, se utilizarán varias formas
de inspección. Entre ellas están el radiografiado, la prueba de líquidos penetrantes y, en
ocasiones, el ultrasonido. La prueba más comúnmente utilizada es la de radiografiado, la
cual puede ser total o por puntos.
También es necesario realizar pruebas de dureza en las soldaduras horizontales y
verticales que se efectúan durante la construcción del tanque y, muy especialmente, en las
soldaduras reparadas, así como también en las zonas cercanas a estos cordones.
1.6. BOQUILLAS EN TANQUES DE ALMACENAMIENTO.
Todos los tanques de almacenamiento deberán estar provistos de boquillas, a
continuación se enlistan las mínimas requeridas que deberán ser instaladas en los tanques
de almacenamiento.
1.- Entrada (s) de producto (s).
2.- Salida (s) de producto (s).
3.- Drene (con o sin sumidero).
4.- Venteo (s).
5.- Entrada (s) de hombre.
6.- Conexiones para indicador y/o control de nivel.
1.6.1. BOQUILLAS EN LAS PAREDES DEL TANQUE.
Las boquillas bridadas y/o roscadas, podrán ser de acuerdo a las Figuras 1.6. y 1.7. y
Tablas 1.2.1., 1.2.2. y 1.2.3. o tipo SLIP ON, WELDING NECK, LAP JOINT y tipo
PAD de un rango de 10.5 Kg./cm2
cuando el usuario así lo solicite.
Todas las boquillas de 76 mm (3 pulg.) de diámetro y mayores deberán contar con una
placa de refuerzo de acuerdo a lo especificado en la Tabla 1.2.3., con el fin de absorber la
concentración de esfuerzos debidos a la perforación hecha al tanque y/o a los esfuerzos
DISENO Y CALCULO DE TANQUES DE ALMACENAMIENTO (API 650)
24
producidos por la carga que presenta la línea de la boquilla en cuestión, la cual contará
con un barreno de 6.3 mm (1/4 pulg.) de diámetro roscado con cuerda NPT para boquillas
menores de 356 mm (14pulg.) de diámetro nominal y con dos barrenos para boquillas
mayores, con la finalidad de que por ellos salga la acumulación de gases al realizar la
soldadura y para que, posteriormente, se realice una prueba de hermeticidad.
FIGURA 1.6. BOQUILLAS BRIDADAS DEL CUERPO.
NOTAS:
1. tw deberá ser menor que el espesor del tubo cedula 160.
2. t min. Deberá ser de 10 mm o del espesor de alguna de las partes soldadas, la que
resulte menor.
3. Ver normas para coples reglamentados utilizados en las boquillas del cuerpo.
4. Boquillas de 3 pulg o mayores llevan placa de refuerzo.
DISENO Y CALCULO DE TANQUES DE ALMACENAMIENTO (API 650)
25
5. El desbaste en los detalles de soldadura pueden variar de aquellos mostrados solo
cuando el comprador este de acuerdo.
6. El espesor (n) designado para la soldadura será el espesor nominal del tubo (ver
tabla 1.3.1 a 1.3.3).
Las dimensiones y detalles especificados en las figuras y tablas son para boquillas
instaladas con sus ejes perpendiculares a las placas del tanque. Cuando las boquillas son
instaladas con un ángulo diferente de 90º respecto a las placas del tanque en el plano
horizontal, estarán provistas de una placa de refuerzo que tenga un ancho de acuerdo a lo
especificado en las tablas 1.2.3. (W o Do), que se incrementa de acuerdo al corte de las
placas del tanque por pasar de circular a elíptica cuando se realiza una instalación
angular.
En el caso de que sean boquillas de 76 mm. (3 pulg.) de diámetro (o menores), que
tengan un servicio exclusivo de instrumentación o que no presenten carga debida a la
línea, podrán colocarse en un ángulo no mayor de 15º con respecto al plano vertical y no
llevarán una placa de refuerzo.
DISENO Y CALCULO DE TANQUES DE ALMACENAMIENTO (API 650)
26
FIG. 1.7. (a) DETALLES DE BOQUILLAS BRIDADAS.
FIG. 1.7. (b) DETALLES DE BOQUILLAS BRIDADAS.
NOTAS:
1. Las soldaduras indicadas deberán realizarse en taller o en campo.
2. Ver dimensión reglamentada de soldadura.
TABLA 1.3.1. DIMENSIONES PARA BRIDAS DE BOQUILLAS.
DISENO Y CALCULO DE TANQUES DE ALMACENAMIENTO (API 650)
27
NOTAS:
Las dimensiones y características de las bridas slip-on y welding-neck con diámetro de
38 a 508 mm (1 ½ a 20 pulg.) y la de 610 mm (24 pulg.) son idénticas a lo especificado
en ANSI B16.5 para clase 150 en bridas de acero. Las dimensiones y características para
bridas con diámetros de 762, 914, 1067, y 1219 mm (30, 36, 42, y 48 pulg.) están
unificadas con ANSI B16.1 para clase 125 de bridas de acero forjado; las dimensiones de
las bridas mayores pueden estar conforme a ANSI/API 605.
Bl = Diámetro interior del tubo.
E = Diámetro exterior del tubo + 2n.
El = Diámetro exterior del tubo.
TABLA 1.3.2. DIMENSIONES PARA CUELLOS DE BOQUILLAS, TUBOS, PLACAS Y SOLDADURAS.
DISENO Y CALCULO DE TANQUES DE ALMACENAMIENTO (API 650)
28
NOTAS:
1. Si el espesor de la placa de refuerzo en el cuerpo es mayor que el requerido,
servirá de aporte para soportar la carga hidrostática del fluido, el exceso de
espesor en la placa, incluyendo la distancia vertical, ambas arriba y abajo de la
línea de centros de la boquilla en el cuerpo del tanque, igual a la dimensión
vertical de la boquilla en el cuerpo del tanque deberán ser consideradas como
aporte de refuerzo y el espesor T de la placa de refuerzo de la boquilla podrá ser
reducido según corresponda. En ese caso, la soldadura de refuerzo y de
aseguramiento deberán estar conforme a los límites de diseño de los refuerzos en
la abertura del cuerpo especificado.
2. Esta columna se aplica a boquillas bridadas con diámetro de 1,219 a 660mm. (48
a 26 pulg.) consultar materiales.
TABLA 1.3.3. DIMENSIONES PARA CUELLOS DE BOQUILLAS.
DISENO Y CALCULO DE TANQUES DE ALMACENAMIENTO (API 650)
29
NOTAS:
1. Para tubos extra reforzados en tamaños menores y hasta 305 mm (12 pulg.),
consulte el estándar API 5L. Para tamaños mayores que 305 mm (12 pulg.), a
610mm (24 pulg.), consulte la última edición del ASTM A53 ó A106 para otros
espesores de pared.
2. El ancho de la placa del cuerpo deberá ser lo suficientemente grande para
contener la placa de refuerzo.
3. Las boquillas deberán estar localizadas a la mínima distancia, pero debe cumplir
con los límites requeridos, a menos que otra cosa se especifique por el usuario
4. Las dimensiones HN dadas en esta tabla, son sólo para diseños correspondientes a
tanques ensamblados en taller.
5. Ver tabla 1.3.2. columna 2.
6. Las boquillas roscadas mayores de 76 mm (3 pulg) de diámetro requieren placa de
refuerzo.
7. Las boquillas bridadas o roscadas de 51 mm (2 pulg) de diámetro menor no
requieren placa de refuerzo (De); será el diámetro de la boquilla en el cuerpo y la
soldadura (A), será como se especifica en la tabla 1.3.2. columna 6. Las placas de
refuerzo pueden ser usadas, aún cuando no sean necesarias.
1.6.2. BOQUILLAS EN EL TECHO.
Las boquillas del techo pueden estar conforme a las Figuras 1.8. y 1.9. y Tablas 1.4.1. y
1.4.2. o a bridas SLIP-ON y WELDING NECK, las cuales están de acuerdo con los
requerimientos de la clase 10.5 Kg/cm2
para bridas forjadas de acero al carbón de cara
realzada en ANSI B16.5. Las bridas tipo anillo serán conforme a todas las dimensiones
de las bridas SLIP-ON, excepto en la extensión del HUB, que puede ser omitido. Las
boquillas bridadas o roscadas con diámetro de 152 mm (6 pulg) y menores no requieren
placa de refuerzo, a menos que así lo solicite el usuario.
Se recomienda que todas las boquillas no sean mayores de 305 mm (12 pulg) de
diámetro, excepto las entradas hombre.
Los sumideros y conexiones en el fondo tendrán particular atención para el relleno y
compactación del suelo para prevenir asentamientos irregulares del tanque, así como para
las conexiones y soportes, que tendrán que ser calculadas para confirmar la resistencia del
arreglo contra las cargas estáticas y dinámicas, así como de flexión y esfuerzos
permisibles.
Las conexiones y arreglos mostrados pueden variar para llevar a cabo la utilidad y
servicio de los mismos, por lo que el usuario aprobará dichos arreglos que el fabricante
proporcionará.
DISENO Y CALCULO DE TANQUES DE ALMACENAMIENTO (API 650)
30
TABLA 1.4.1. DIMENSIONES PARA BOQUILLAS BRIDADAS EN EL TECHO (mm).
TABLA 1.4.2. DIMENSIONES PARA BOQUILLAS ROSCADAS Y COPLES EN EL TECHO (mm).
NOTA:
Las placas de refuerzo no se requieren para boquillas iguales o menores de 152mm (6
pulg.) de diámetro, a menos de que así se especifique.
DISENO Y CALCULO DE TANQUES DE ALMACENAMIENTO (API 650)
31
FIG. 1.8. BOQUILLAS BRIDADAS DEL TECHO.
NOTA:
Cuando la boquilla del techo sea usada como venteo, el cuello no tendrá proyección
interna.
FIG. 1.9. BOQUILLAS ROSCADAS DEL TECHO.
DISENO Y CALCULO DE TANQUES DE ALMACENAMIENTO (API 650)
32
NOTAS:
1. Para boquillas roscadas ver requerimientos anteriores (fig. 1.6).
2. Para boquillas usadas como venteos, el cuello no llevará proyección exterior.
1.7. ENTRADA HOMBRE Y ACCESORIOS.
1.7.1. ENTRADAS HOMBRE HORIZONTALES Y VERTICALES.
Los tanques de almacenamiento contarán, por lo menos con una entrada hombre en el
cuerpo o en el techo con la finalidad de poder realizar limpieza, revisiones o reparaciones
en el interior del tanque. Los registros que se coloquen en la pared del tanque deberán
estar acorde con las figuras 1.10., 1.11. y tablas 1.5.1., 1.5.2., 1.5.3., 1.5.4. y 1.5.5. (o, en
su defecto, con las Tablas 1.3.).
Las entradas hombre contarán con una placa de refuerzo según lo muestra la figura, la
cual tendrá dos barrenos de 6.3 mm. de diámetro con cuerda NPT para prueba, quedando
éstos sobre las líneas de centro verticales u horizontales y abiertos a la atmósfera. En caso
de que la entrada hombre se encuentre localizada en el techo, se habilitará de acuerdo a la
Figura 1.12. y Tabla 1.6.
1.7.2. VENTEOS.
Los tanques de almacenamiento contarán con una boquilla exclusiva para venteo, la que
tendrá que ser diseñada y calculada, con la finalidad de que dentro del tanque no se
genere presión interna al ser llenado o vaciado, el cual debe colocarse de ser posible, en
la parte más alta del tanque.
1.7.3. DRENES Y SUMIDEROS.
Los tanques de almacenamiento también deberán contar con una boquilla por lo menos
para el drenado de lodos, la cual podrá estar al ras del fondo, dirigidas a un sumidero o
por debajo del tanque, como se muestran en las Figuras 1.14., 1.15., 1.16. y Tablas 1.8.,
1.9.
Los sumideros y conexiones en el fondo tendrán particular atención para el relleno y
compactación del suelo para prevenir asentamientos irregulares del tanque, así como para
DISENO Y CALCULO DE TANQUES DE ALMACENAMIENTO (API 650)
33
las conexiones y soportes, que tendrán que ser calculadas para confirmar la resistencia del
arreglo contra las cargas estáticas y dinámicas, así como de flexión y esfuerzos
permisibles.
Las conexiones y arreglos mostrados pueden variar para llevar a cabo la utilidad y
servicio de los mismos, por lo que el usuario aprobará dichos arreglos que el fabricante
proporcionará.
DISENO Y CALCULO DE TANQUES DE ALMACENAMIENTO (API 650)
34
FIG. 1.10. ENTRADA HOMBRE.
DISENO Y CALCULO DE TANQUES DE ALMACENAMIENTO (API 650)
35
NOTAS:
1. Bajo otro caso especificado el material del empaque puede ser de fibra.
2. El asiento del empaque podrá ser maquinado con un ancho de 19 mm.
3. Ver tablas No. 1.5.1 para tipos de fibras y métodos de sujeción para cuellos de
registros intercambiables.
4. Ver tablas de 1.5.2 a 1.5.5.
5. El tamaño de la soldadura será igual al espesor mínimo de las partes a unir.
6. Las boquillas mostradas en la fig. 1.11 pueden ser sustituidas por registros de 508
mm en diámetro y largo.
7. Las soldaduras indicadas pueden ser en taller o en campo.
FIG. 1.11. DETALLES PARA ENTRADAS-HOMBRE Y BOQUILLAS.
NOTAS:
1. El corte del cuerpo deberá hacerse con preescisión, de tal forma que la distancia
R+T quede dentro de la tolerancia 1/8 pulg para mayor precisión, un corte
preeliminar deberá hacerse para el diámetro interior del registro-hombre y usar este
corte para localizar el corte final. R deberá ser el radio actual en vez de ser el radio
interior aproximado en la esquina.
2. Ver tabla 3.3.2., columna 3 para el corte, el cual no debe ser menor que el diámetro
exterior del cuello, mas ½ pulg.
3. Para el mínimo espaciamiento entre soldaduras de conexiones abiertas el tamaño de
la soldadura deberá ser mayor que A (tabla 3.9 basa en espesor) o n (espesor mínimo
del cuello, tabla 1.3).
DISENO Y CALCULO DE TANQUES DE ALMACENAMIENTO (API 650)
36
4. Otros detalles permisibles se muestran en la figura 1.7. del estándar API 620. el área
del refuerzo deberá estar de acuerdo.
5. La dimensión y el tamaño de la soldadura que no se muestran serán los mismos que
aquellos dados en la figura 3-4 de la norma referida.
6. Los detalles de soldadura pueden variar de aquellos mostrados si el comprador esta
de acuerdo.
7. Las soldaduras indicadas deberán ser de taller o de campo.
TABLA 1.5.1. ESPESOR DEL CUELLO, TAPA PLANA Y BRIDA DE LA ENTRADA DE HOMBRE (mm.).
NOTA:
Presión hidrostática debida a la columna de agua.
TABLA 1.5.2. DIMENSIONES DE ENTRADAS DE HOMBRE DE 508mm. (mm.).
DISENO Y CALCULO DE TANQUES DE ALMACENAMIENTO (API 650)
37
NOTAS:
El diámetro del círculo de barrenos es de 667mm. (26.25 pulg.), diámetro exterior de la
cubierta 730mm. (28 ¾ pulg.).
1. Si la placa usada en el cuerpo es más gruesa que el espesor requerido para estar
sometido éste a carga hidrostática del producto, el exceso de espesor en la placa,
considerando las distancias verticales tanto arriba como abajo de la línea de centros
de la abertura en la placa del tanque igual a la dimensión de la abertura en el cuerpo
del tanque, puede ser considerada como un refuerzo y el espesor o de la placa de
refuerzo del registro decrecerá en proporción. En ese caso, el refuerzo, como la
soldadura de aseguramiento, deberá estar conforme a los límites para refuerzos de
boquillas del cuerpo.
2. El refuerzo deberá ser agregado si el espesor del cuello es menor al que se muestra
en la columna. El espesor mínimo del cuello deberá ser el espesor de la placa del
cuerpo o el espesor permisible al terminado de la boquilla atornillable (ver tabla
1.5.1.) el que sea más delgado, pero en ningún caso el espesor del cuello deberá ser
menor al espesor indicado en la columna 7. Si el espesor del cuello del registro es
mayor que el requerido, la placa del refuerzo podrá ser más delgada de acuerdo con
los límites especificados.
TABLA 1.5.3 DIMENSIONES DE ENTRADAS HOMBRE DE 610 mm. (mm).
DISENO Y CALCULO DE TANQUES DE ALMACENAMIENTO (API 650)
38
NOTAS:
El diámetro del círculo de barrenos es de 68mm. (30.25 pulg.), diámetro anterior de la
cubierta 832mm. (32 ¾ pulg.).
1. Si la placa usada en el cuerpo es más gruesa que el espesor requerido para estar
sometido éste a carga hidrostática del producto, el exceso de espesor en la placa,
considerando las distancias verticales, tanto arriba como abajo de la línea de centros
de la abertura en la placa del tanque igual a la dimensión de la abertura en el cuerpo
del tanque, puede ser considerada como un refuerzo y el espesor (T) de a placa de
refuerzo, del registro decrecerá en proporción. En ese caso, el refuerzo, como la
soldadura de aseguramiento, deberá estar conforme a los límites para refuerzos de
boquillas del cuerpo.
2. El refuerzo deberá ser agregado si el espesor del cuello es menor a el que se muestra
en la columna. El espesor mínimo del cuello deberá ser el espesor de la placa del
cuerpo o el espesor permisible al terminado de la boquilla atornillable (ver Tabla
1.5.1.), el que sea más delgado, pero en ningún caso el espesor del cuello deberá ser
menor al espesor indicado en la columna 7. Si el espesor del cuello del registro es
mayor que el requerido, la placa del refuerzo podrá ser más delgada de acuerdo con
los límites especificados.
3.
TABLA 1.5.4 DIMENSIONES DE ENTRADAS HOMBRE DE 762 mm.(mm.).
DISENO Y CALCULO DE TANQUES DE ALMACENAMIENTO (API 650)
39
NOTAS:
El diámetro del los barrenos es de 921mm. (36.25 pulg.) y el diámetro exterior de la
cubierta de 984mm. (38 ¾ pulg.)
1. Si la placa usada en el cuerpo es más gruesa que el espesor requerido para estar éste
sometido a carga hidrostática del producto, exceso de espesor en la placa,
considerando las distancias verticales tanto arriba como abajo de la línea de centros
de la abertura en la placa del tanque igual a la dimensión de la abertura en el cuerpo
del tanque, puede ser considerada como un refuerzo y el espesor de la placas de
refuerzo del registro decrecerá en proporción. En ese caso, el refuerzo, como la
soldadura de aseguramiento, deberá estar conforme a los límites para refuerzos de
boquillas del cuerpo.
2. El refuerzo deberá ser agregado si el espesor del cuello es menor al que se muestra
en la columna. El espesor mínimo del cuello deberá ser el espesor de la placa del
cuerpo; el espesor permisible al terminado de la boquilla atornillable (ver Tabla
1.5.1.) el que sea más delgado, pero en ningún caso el espesor del cuello deberá ser
menor al espesor indicado en la columna 7. Si el espesor del cuello del registro es
mayor que el requerido, la placa del refuerzo podrá ser más delgada de acuerdo con
los límites especificados.
TABLA 1.5.5. DIMENSIONES DE ENTRADAS HOMRE DE 914mm. (mm.).
DISENO Y CALCULO DE TANQUES DE ALMACENAMIENTO (API 650)
40
NOTAS:
El diámetro de los barrenos es de 1073 mm. (42.25 pulg.) y el diámetro exterior de la
cubierta de 1136 mm. (44 ¾ pulg.)
1. Si la placa usada en el cuerpo es más gruesa que el espesor requerido para estar
sometido éste a carga hidrostática del producto, el exceso de espesor en la placa,
considerando las distancias verticales tanto arriba como abajo de la línea de centros
de la abertura en la placa del tanque igual a la dimensión de la abertura en el cuerpo
del tanque puede ser considerada como un refuerzo y el espesor de la placa de
refuerzo del registro decrecerá en proporción. En ese caso, el refuerzo como la
soldadura de aseguramiento deberá estar conforme a los límites para refuerzos de
boquillas del cuerpo.
2. El refuerzo deberá ser agregado si el espesor del cuello es menor a el que se muestra
en la columna. El espesor mínimo del cuello deberá ser el espesor de la placa del
cuerpo o el espesor permisible al terminado de la boquilla atornillable (ver Tabla
1.5.1.) el que sea más delgado, pero en ningún caso el espesor del cuello deberá ser
menor al espesor indicado en la columna 7. Si el espesor del cuello del registro es
mayor que el requerido, la placa del refuerzo podrá ser más delgada de acuerdo con
los límites especificados.
TABLA 1.6. DIMENSIONES PARA ENTRADAS HOMBRE SOBRE EL TECHO.
NOTA:
Ver figura 1.12.
TABLA 1.7. VENTEO.
DISENO Y CALCULO DE TANQUES DE ALMACENAMIENTO (API 650)
41
TABLA 1.8. DIMENSIONES PARA SUMIDEROS (mm.)
NOTA:
Ver figura 1.14.
TABLA 1.9. CONEXIONES POR DEBAJO DEL FONDO.
NOTA:
Para los diámetros no mostrados, o la extensión de cualquier dimensión pueden ser usadas a
previo diseño.
1. Aplica a la Figura 1.15., para tanques con una altura iguales o mayor de 19500 mm.
(64 pies) usar placas de 19.05 mm. (3/4 pulg.) y nunca un espesor menor que el de
la placa anular.
2. Otros componentes o secciones podrán tener soportes para cargas externas.
DISENO Y CALCULO DE TANQUES DE ALMACENAMIENTO (API 650)
42
FIG. 1.12. ENTRADA-HOMBRE EN TECHO.
FIG. 1.13. VENTEO.
DISENO Y CALCULO DE TANQUES DE ALMACENAMIENTO (API 650)
43
FIG. 1.14. SUMIDERO.
NOTAS:
1. Un agujero deberá estar cortado en la placa del fondo que deberá coincidir con la
cimentación antes de colocar el fondo.
2. Puesto en su lugar el sumidero, el suelo será compactado.
3. El sumidero siempre esta instalado en el fondo.
DISENO Y CALCULO DE TANQUES DE ALMACENAMIENTO (API 650)
44
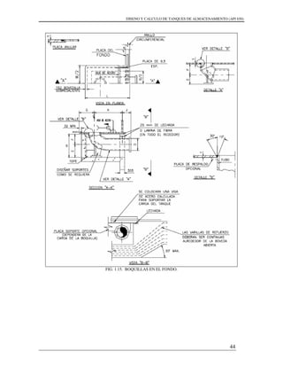
FIG. 1.15. BOQUILLAS EN EL FONDO.
DISENO Y CALCULO DE TANQUES DE ALMACENAMIENTO (API 650)
45
FIG. 1.16. BOQUILLAS EN EL FONDO.
NOTA:
Si se usa placa anular deberá colocarse una placa completa sobre la bóveda.
1.8. ESCALERAS Y PLATAFORMAS.
Las escaleras, plataformas y barandales tienen la finalidad de situar al personal que así lo
requiera en una zona del tanque que necesite de constante mantenimiento o supervisión,
generalmente sobre el techo donde se localizan diversas boquillas y la entrada hombre,
además de brindar protección y seguridad al personal.
DISENO Y CALCULO DE TANQUES DE ALMACENAMIENTO (API 650)
46
1.8.1. REQUERIMIENTOS PARA PLATAFORMAS Y PASILLOS (ESPECIFICADO POR
A.P.I. 650).
1. Todos los componentes deberán ser metálicos.
2. El ancho mínimo del piso será de 610mm. (24 pulg.).
3. Todo el piso deberá ser de material antiderrapante.
4. La altura del barandal a partir del piso será de 1,067mm. (42 pulg.).
5. La altura mínima del rodapié será de 76mm. (3 pulg.).
6. El máximo espacio entre el suelo y la parte inferior del espesor de la placa del
pasillo será de 6.35mm. (1/4 pulg.).
7. La altura del barandal central será aproximadamente la mitad de la distancia desde
lo alto del pasillo a la parte superior del barandal.
8. La distancia máxima entre los postes del barandal deberá ser de 1168mm. (46
pulg.).
9. La estructura completa tendrá que ser capaz de soportar una carga viva concentrada
de 453 Kg. (1,000 lb), aplicada en cualquier dirección y en cualquier punto del
barandal.
10. Los pasamanos estarán en ambos lados de la plataforma, y estarán interrumpidos
donde sea necesario para un acceso.
11. Cualquier espacio mayor de 152mm. (6 pulg.) entre el tanque y la plataforma deberá
tener piso.
12. Los corredores de los tanques que se extienden de un lado al otro del suelo o a otra
estructura deberán estar soportados de tal manera que tenga un movimiento relativo
libre de las estructuras unidas por los corredores; ésta puede estar acompañada por
una firme atadura del corredor a los tanques, además del uso de una junta corrediza
o de dilatación en el puente de contacto entre el corredor y el otro tanque (este
método permite que en caso de que un tanque sufra ruptura o algún movimiento
brusco, el otro no resulte dañado).
1.8.2. REQUERIMIENTOS PARA ESCALERAS. (ESPECIFICADO POR A.P.I. 650).
1. Todas las partes de la escalera serán metálicas.
2. El ancho mínimo de las escaleras será de 610mm. (24 pulg.).
3. El ángulo máximo entre las escaleras y una línea horizontal será de 50º.
4. El ancho mínimo de los peldaños será de 203mm. (8 pulg.). La elevación será
uniforme a todo lo largo de la escalera.
5. Los peldaños deberán estar hechos de rejilla o material antiderrapante.
6. La superior de la reja deberá estar unida al pasamano de la plataforma sin margen y
la altura medida verticalmente desde el nivel del peldaño hasta el borde del mismo
de 762 a 864 mm. (30 pulg. a 34 pulg.).
7. La distancia máxima entre los postes de la rejilla medidos a lo largo de la elevación
de 2,438mm. (96 pulg.).
DISENO Y CALCULO DE TANQUES DE ALMACENAMIENTO (API 650)
47
8. La estructura completa será capaz de soportar una carga viva concentrada de 453
Kg. (1,000 lb), y la estructura del pasamanos deberá ser capaz de soportar una carga
de 90Kg. (200 lb), aplicada en cualquier dirección y punto del barandal.
9. Los pasamanos deberán estar colocados en ambos lados de las escaleras rectas;
éstos serán colocados también en ambos lados de las escaleras circulares cuando el
claro entre cuerpo-tanque y los largueros de la escalera excedan 203mm. (8 pulg.).
10. Las escaleras circunferenciales estarán completamente soportadas en el cuerpo del
tanque y los finales de los largueros apoyados en el piso.
DISENO Y CALCULO DE TANQUES DE ALMACENAMIENTO (API 650)
48
CAPÍTULO 2
NORMATIVIDAD
DISENO Y CALCULO DE TANQUES DE ALMACENAMIENTO (API 650)
49
2.1. CÓDIGOS APLICABLES.
En los Estados Unidos de Norteamérica y en muchos otros países del mundo, incluyendo el
nuestro, el diseño y cálculo de tanques de almacenamiento, se basa en la publicación que
realiza el "Instituto Americano del Petróleo", al que esta institución designa como
"STANDAR A.P.I. 650", para tanques de almacenamiento a presión atmosférica y
"STANDAR A.P.I. 620", para tanques de almacenamiento sometidos a presiones internas
cercanas a 1 Kg /cm2 (14 lb / pulg2
).
Sin embargo, en nuestro país comúnmente estos tanques de almacenamiento se diseñan
según normas API que hacen referencia a los materiales fijados por las normas ASTM
(American Society for Testing Materials), se siguen las normas de seguridad dadas por
NFPA (National Fire Protection Association), y también se toman en cuenta las
reglamentaciones de la ASME (American Society of Mechanical Engineers).
Estos estándares cubren el diseño, fabricación, inspección, montaje, ensayos y
mantenimiento de los mismos y fueron desarrollados para el almacenaje de productos de la
industria petrolera y petroquímica, pero su aceptación ha sido aplicada al almacenaje de
numerosos productos en otras industrias. Si bien estas normas cubren muchos aspectos, no
todos están contemplados, razón por la que existen otras normas complementarias a las
mismas.
2.1.1. NORMAS DEL INSTITUTO AMERICANO DEL PETROLEO.
Para el cálculo, diseño y construcción de de tanques de almacenamiento de combustible
existen varias Normas y Códigos que regulan y establecen los parámetro que se deben
seguir para que dichos equipos cumplan con las especificaciones establecidas, pero las más
difundidas y empleadas en las industrias de procesos son las del American Petroleum
Institute (API).
API Standard 620: Es aplicable a grandes tanques horizontales o verticales
soldados en el campo, aéreos que operan a presiones en el espacio vapor menores a
2.5 psi y a temperaturas no superiores a 93°C.
API Standard 650: Es aplicable a grandes tanques horizontales o verticales
soldados en el campo, aéreos que operan a presiones en el espacio vapor menores a
1.5 psi y a temperaturas no superiores a 121°C.
API Specification 5L: Es aplicable para el uso adecuado de las tuberías de gas,
agua y petróleo tanto en la industria del petróleo como en la de gas natural. Cubre
especificaciones sobre tuberías de acero soldado y sin costura, incluyendo las de
peso normal, regular y especial y las tuberías de línea roscadas extra resistentes y
sin rosca, a igual que las de línea de enchufe y esponja.
DISENO Y CALCULO DE TANQUES DE ALMACENAMIENTO (API 650)
50
API Specification 12D: Es aplicable a tanques horizontales o verticales soldados
en el campo para almacenaje de líquidos de producción y con capacidades
estandarizadas entre 75 y 1500 m3.
API Specification 12F: Es aplicable a tanques horizontales o verticales soldados
en taller para almacenaje de líquidos de producción y con capacidades
estandarizadas entre 13.5 y 75 m3.
API Standard 653: Es aplicable a la inspección, reparación, alteración desmontaje
y reconstrucción de tanques horizontales o verticales, basándose en las
recomendaciones del STD API 650. Recomienda también la aplicación de las
técnicas de ensayos no destructivos aplicables
2.1.2 OTRAS NORMAS APLICABLES.
Además de las normas y códigos mencionados anteriormente existen algunas otras que las
respaldan, complementan y ayudan cuando se requieren variaciones o cambios mínimos en
las consideraciones de diseño. Estas normas son:
ASME, Boiler and Pressure Vessel Code, Section VIII y X: Es aplicable para el
diseño de diferentes recipientes y tanques tanto cilíndricos, esféricos como de
sección rectangular. Se trata de los estándares más reconocidos mundialmente en
este campo de aplicación.
Código ASME Sección IX: “Qualification Standard for Welding and Brazing
Procedures, Welders, Brazers, and Welding and Brazing Operators” Se encarga de
que los Soldadores, operadores y los Procedimientos de Soldaduras que se utilizan
estén de acuerdo a los requerimientos de las distintas Secciones de ASME Código
de Construcción Recipientes de Presión y de ASME B31 Código para Cañerías de
Presión.
Underwriters Laboratories (UL) Standard UL 142: Es aplicable a tanques de
acero de diferentes diseños soldados en taller para almacenaje de líquidos
inflamables y combustibles.
British Standard (BS) 2594: Es aplicable a tanques cilíndricos horizontales de
acero al carbono soldados.
BS 4994: Comprende las especificaciones para el diseño y construcción de
recipientes y tanques en plásticos reforzados.
DISENO Y CALCULO DE TANQUES DE ALMACENAMIENTO (API 650)
51
BS 6374: comprende las especificaciones para el recubrimiento de recipientes y
tanques con materiales poliméricos.
ASTM D 3299 / 4021 / 4097: Comprende las especificaciones para tanques
plásticos reforzados con fibra de vidrio.
Las normas, códigos y especificaciones presentadas anteriormente están aprobadas por el
ANSI (Instituto Nacional Americano de Normalización) que es una organización voluntaria
compuesta por corporativas, organismos del gobierno y otros miembros que coordinan las
actividades relacionadas con estándares, aprueban los estándares nacionales de los EE.UU.
y desarrollan posiciones en nombre de los Estados Unidos ante organizaciones
internacionales de estándares. El A.N.S.I. es miembro de la I.E.C. (Comisión Electrotécnica
Internacional), y la Organización Internacional para la Normalización
2.2. CÓDIGO A.S.T.M.
La A.S.T.M. (American Society for Testing and Materials) se encarga de desarrollar los
estándares de las características y eficiencia de los materiales, productos, suministros de
servicios y métodos de prueba en casi todas las industrias, con un casi monopolio en las
industrias petrolera y petroquímica.
La norma A.P.I. 650 se basa en estos estandares para especificar todo lo relacionado con los
materias que se deben utilizar como son; tipo de material, espesores mínimos, condiciones
de rolado, temperaturas de trabajo, esfuerzos permisibles, etc.
2.3. CÓDIGO A.S.M.E.
El standard A.P.I. 650 se auxilia del Código A.S.M.E. (American Society of Mechanical
Engineers) sección IX para dar los alineamientos que han de seguirse en la unión y/o
soldado de materiales.
El Código A.S.M.E. sección IX, establece que toda junta soldada deberá realizarse
mediante un procedimiento de soldadura de acuerdo a la clasificación de la junta y que,
además, el operador deberá contar con un certificado que lo acredite como soldador
calificado, el cual le permite realizar cierto tipo de soldaduras de acuerdo con la
clasificación de ésta. Una vez realizada la soldadura o soldaduras, éstas se someterán a
pruebas y ensayos como: ultrasonido, radiografiado, líquidos penetrantes, dureza, etc.,
donde la calidad de la soldadura es responsabilidad del fabricante.
DISENO Y CALCULO DE TANQUES DE ALMACENAMIENTO (API 650)
52
Los procedimientos de soldadura a emplear deberán seguir los lineamientos de las planillas
WPS o WPQ del Código ASME Sección IX, al igual que los soldadores deberán estar
calificados para los procedimientos de soldadura que se emplearán.
2.4. REGLAMENTACIÓN N.F.P.A.
Debido a la naturaleza de los líquidos que se pueden almacenar en los tanques, es necesario
contar con procesos y sistemas de seguridad para evitar posibles incendios o explosiones.
Dichos procesos y sistemas de seguridad están dados por la N.F.P.A. (National Fire
Protection Association) la cual es la fuente principal mundial para el desarrollo y
diseminación de conocimiento sobre seguridad contra incendios y de vida.
El sistema de desarrollo de los códigos y normas de la NFPA es un proceso abierto basado
en el consenso que ha producido algunos de los mas referenciados materiales en la industria
de la protección contra incendios, incluyendo el Código Eléctrico Nacional, el Código de
Seguridad Humana, el Código de Prevención de Fuego, y el Código Nacional de Alarmas
de Incendios.
La N.F.P.A. desarrolla, publica y difunde más de 300 códigos y normas consensuadas con
la intención de minimizar la posibilidad y consecuencias de incendios y otros tipos de
riesgos. Prácticamente cada edificio, proceso, servicio, diseño e instalación en la sociedad
de hoy día, se ve afectado por los documentos de la N.F.P.A.
2.5. STANDARD A.P.I. 650.
El presente trabajo estará basado principalmente en el estándar A.P.I. 650, el cual, sólo
cubre aquellos tanques en los cuales se almacenan fluidos líquidos y están construidos de
acero con el fondo uniformemente soportado por una cama de arena, grava, concreto,
asfalto, etc, diseñados para soportar una presión de operación atmosférica o presiones
internas que no excedan el peso del techo por unidad de área y una temperatura de
operación no mayor de 93 °C (200 °F), y que no se usen para servicios de refrigeración.
Este estándar cubre el diseño y cálculo de los elementos constitutivos del tanque. En lista
de los materiales de fabricación, se sugieren secuencias en la erección del tanque,
recomendación de procedimientos de soldaduras, pruebas e inspecciones, así como
lineamientos para su operación.
A continuación, se muestra la tabla 2.1 con los diferentes requerimientos de diversos
estándares para la fabricación de tanques de almacenamiento.
DISENO Y CALCULO DE TANQUES DE ALMACENAMIENTO (API 650)
53
TABLA 2.1. REQUERIMIENTOS DE DIVERSOS ESTÁNDARES PARA TANQUES DE FONDO PLANO.
* NS = Sin Especificación CA = Corrosión Permisible RT = Temperatura Ambiente
NOTA.
1. La temperatura puede ser elevada hasta 260 °C cuando se cumplen ciertas
especificaciones del material y requerimientos de diseño adicionales.
2. Este espesor aplica para tanques con diámetros menores a 6.096 m.
3. Este espesor aplica para tanques con diámetros entre 6.096 m. y 36.57 m.
4. El espesor mínimo de cualquier placa es 4.76 mm. + corrosión.
5. Para espesores mayores de 50.8 mm. se deben cumplir algunos requerimientos
especiales
6. Para techos cónicos, el espesor de placa puede ser calibre No. 7.
2.5.1. APARTADOS EMPLEADOS.
Como ya se dijo anteriormente, el presente trabajo se basa principalmente en la norma
A.P.I. 650. A continuación se mencionan los apartados utilizados dentro de cada proceso,
también se especificara cuando se tome en consideración alguna otra norma diferente al
Stándard A.P.I. 650.
2.5.1.1. MATERIALES.
Las especificaciones para materiales se han extraído de la norma A.P.I. 650, sección 2
“Materiales”, páginas 2-1, 2-2, 2-3. Allí se pueden encontrar los tipos de planchas y aceros
que se recomienda ocupar en la construcción del tanque.
DISENO Y CALCULO DE TANQUES DE ALMACENAMIENTO (API 650)
54
2.5.1.2. MONTAJE.
Se realizará siguiendo las prescripciones de la norma A.P.I. 650, sección 5 "Construcción",
Se cumplirán estrictamente las tolerancias mencionadas en el apartado 5.5. donde se
especifica todo lo relacionado con las tolerancias de dimensiones como son: Medidas,
Cimientos, plumbness, roundness, Desviación local.
2.5.1.3. SOLDADURA.
Se tomara en cuenta lo especificado en la norma A.P.I. 650, sección 2 página 2-8, sección 3
apartado 3.1 y la sección 7 “Procedimientos de soldadura y Certificación de soldadores”,
que se refieren a lo relacionado con los tipos y procedimientos de soldaduras, así como
también de los soldadores.
Se recurrirá, además, al Código A.S.M.E. sección IX el cual especifica que la soldadura se
realizará de acuerdo a la clasificación de la junta. También establece las condiciones que
deben tener los soldadores para realizar este trabajo.
2.5.1.4. RADIOGRAFIADO DE SOLDADURA.
La norma A.P.I. 650 en su apartado 6.1 describe el método de radiografiado que debe
hacerse a la soldadura utilizada para la unión de las placas del tanque. La ASME B 31.3.
hará el control radiográfico de las soldaduras de las cañerías.
2.5.1.5. PISO.
Se aplicará la norma A.P.I. 650, sección 3, apartado 3.4 “Placas de fondo” y 3.4 “Placas
anulares de fondo” en estos se especifican los espesores mínimos y tipos de materiales a
utilizar en las placas de fondo y del primer anillo del tanque, además de la circularidad de
las mismas.
DISENO Y CALCULO DE TANQUES DE ALMACENAMIENTO (API 650)
55
2.5.1.6. ANILLOS DE LA ENVOLVENTE.
Se tomara en cuenta la norma A.P.I. 650 sección 3 apartado 3.6.4.1 y 3.6.1.1 para designar
los espesores de lasa placas de los añillos de la envolvente y del armazón. La tabla 3-1 del
A.P.I. 650 se toman los espesores mínimos de la placa de refuerzo. El ancho mínimo de la
placa anular se toma del apartado 3.5.2. de la norma referida.
2.5.1.7. ESFUERZOS PERMISIBLES.
En lo que respecta a los esfuerzos permisibles, la norma A.P.I. 650 los especifica en el
apéndice P y el apartado 3.6.2. y en la figura 3-2 donde se especifican los valores de
corrosión permisible y esfuerzos permisibles.
En lo referente alas cargas, la norma lo establece en la sección 3 apartado 3.2. que muestra
las consideraciones de cargas externas, factores de diseño, presiones externas, capacidad
del tanque y medidas de protección necesarias.
2.5.1.8. CONEXIONES Y ACCESORIOS.
La norma A.P.I. 650 recomienda la ubicación de los accesorios en las hojas de
especificación L3 a L5. el paso de hombre en la envolvente se colocan según el apartado
3.7.5. y el paso de hombre en el techo según el apartado H.6.5.1.
Lo especifica en la sección 3, apartado 3.7.6., figura 3-5. establecen las condiciones de los
tipos conexiones como son: Entradas y Salidas del Producto, para Toma de Temperatura,
Toma de Presión y para Caja de Espuma.
El apartado 3.8.6. figura 3-16 de la norma establece el tipo de brida que se deberá utilizar
para la Purga de Fondo y su sumidero interior correspondiente.
En lo que se refiere al tipo de brida que se deberá utilizar para la conexión de Venteo, el
apartado a utilizar es el 3.8.5. figura 3-14 de la norma. Para Venteos de emergencia los
cálculos serán realizados según los requerimientos del A.P.I. 2000.
Una alternativa para determinar las dimensiones y espesores mínimos para los cuellos de
boquillas es utilizar el apartado 5L de la norma A.P.I. 650 y los apartados A53 o A106 de la
norma A.S.T.M. y para las dimensiones para bridas de boquillas se pueden utilizar los
apartados B16.5 y B16.1 de la norma A.N.S.I. que se refieren a la clase 150 en acero y 125
en acero forjado respectivamente.
DISENO Y CALCULO DE TANQUES DE ALMACENAMIENTO (API 650)
56
La Puerta de Limpieza estará regulada de acuerdo al apartado 3.7.7. figuras 3-9 y 3-10 de la
norma A.P.I. 650.
Se utilizará el apartado H.6.6. de la norma A.P.I. 650 para lo relacionado con la Boca Saca-
muestras.
El apartado 3.8.9. de la norma A.P.I. 650 establece las condiciones de las escaleras
exteriores, mientras que las escaleras interiores se instalarán según el apartado H. 6.1.
2.5.1.9. TECHO.
Los apartados 3.5.4, 3.5.4.6, 3.10 y 3.10.6. de la norma A.P.I. 650 establecen las
designaciones para la construcción del techo, así como de la pendiente del mismo. En el
apéndice G se muestran alternativas de construcción del techo como son la posibilidad de
cambiar el material de acero por aluminio.
La unión soldada entre el techo y el Angulo superior del costado se realizará conforme al
apartado 3.10.7. Y las cargas por viento estarán verificadas por el apartado 3.11.
2.5.1.10. BARANDA DEL TECHO.
El tanque deberá estar provisto de una baranda perimetral con superficie antiderrapante que
debe cumplir con las especificaciones de la tabla 3-19 de la norma A.P.I. 650.
2.5.1.11. PLATAFORMAS.
La plataforma deberá tener baranda en ambos lados del tipo de la descrita en el apartado
4.8.1. y cumplir con lo especificado en la tabla 3-19. de la norma A.P.I.. 650.
Estos apartados establecen la posición con respecto a la inclinación del techo y la posición
de los accesorios del techo, también el tipo de material del que deben ser y la superficie que
deben tener.
DISENO Y CALCULO DE TANQUES DE ALMACENAMIENTO (API 650)
57
2.5.1.12. PINTURA.
El tanque se pintará del lado exterior teniendo en cuenta la especificación GS 2300
GENERAL SPECIFICATION FOR SHOP, FIELD AND MAINTENANCE PAINTING,
tabla 2300-6, en la página 38.
2.5.1.13. PROTECCIÓN POR SOBRE LLENADO.
Estas medidas de seguridad que se toman de acuerdo al apéndice H.6.3. El contratista
deberá suministrar e instalar apropiados dispositivos para evitar el sobre llenado del tanque
por encima del nivel de líquido de diseño, por ejemplo una alarma de alto nivel.
2.5.1.14. PROTECCIÓN CATÓDICA.
Si se requiere de instalación de protección catódica interna es imprescindible que el tanque
esté aislado eléctricamente mediante juntas dieléctricas del resto de las instalaciones
vinculadas al tanque.
Se deberá cumplir la norma NACE RP 0575-2001, "Internal Cathodic Protection Systems
in Oil- Treating Vessels" Se utilizarán ánodos galvánicos de aleación de aluminio
distribuidos uniformemente sobre el fondo del tanque, fijados al mismo de modo que sea
posible el monitoreo de corriente. Se colocará un electrodo de referencia para efectuar
dicho monitoreo (ver páginas 4 y 5 de la norma de referencia). Los ánodos serán fijados al
tanque a través de una estación de testeo de forma de poder monitorear (página 11, sección
7.2.1 de la norma de referencia).
2.5.1.15. ELEMENTO RECEPTOR DE RAYO.
La norma API 2003 y la NFPA 780 especifican que un tanque de almacenamiento de
hidrocarburos puede ser utilizado como elemento receptor del rayo cuando el tanque tenga
un espesor, como mínimo, de aproximadamente 5 milímetros. siempre y cuando no exista
corrosión, fisuras o debilitamiento del espesor que pueda, ante la circulación de la corriente
del rayo, permitir la penetración del arco eléctrico producido por el rayo al momento de
golpear los tanques de almacenamiento.
DISENO Y CALCULO DE TANQUES DE ALMACENAMIENTO (API 650)
58
2.6. NORMAS DE SEGURIDAD Y MEDIO AMBIENTE.
2.6.1. NORMAS DE SEGURIDAD.
Este tipo de construcciones requiere de normas de seguridad bastante estrictas puesto que
se trabaja con productos derivados del petróleo que son altamente contaminantes y
peligrosos por que pueden producir explosiones.
El calculo, diseño, construcción, operación y mantenimiento de estos dispositivos están
regidos por los estándares de la API, NFPA y BSI, entre los que encontramos:
BS EN 1127-1: Atmósferas explosivas, prevención y protección.
BS 5908: Código de prácticas para precaución de fuego en la industria química.
BS 6713, parte 4: Sistemas de protección contra explosiones.
BS 6759: Válvulas de seguridad.
API Std 2000: Venteo atmosférico y a baja presión de tanques de almacenaje.
API RP 520: Selección, dimensionado e instalación de dispositivos de alivio de
presión en refinerías.
API RP 526: Válvulas de seguridad y alivio bridadas.
API RP 527: Tensión de asiento para válvulas de seguridad.
NFPA 68: Guía para venteo y deflagración.
NFPA 30: Código de Líquidos Inflamables y Combustibles.
NFPA 69: Estándar Sobre sistemas de Prevención de Explosiones.
NFPA 491: guía de reacciones químicas peligrosas.
NFPA 7:. Código Eléctrico Nacional.
NFPA 77: Electricidad estática.
DISENO Y CALCULO DE TANQUES DE ALMACENAMIENTO (API 650)
59
2.6.2. NORMAS AMBIENTALES.
Los tanques de almacenaje pueden contener productos volátiles capaces de producir
emisiones gaseosas contaminantes para el medio ambiente, entre ellos los llamados Volatile
Organic Compound (VOCs) que es preciso medir y controlar. A los fines de reglamentar el
control de estas emisiones la Environmental Protection Agency (EPA) de USA estableció el
estándar siguiente y un software para su cálculo.
EPA 40 CFR, Part 60: Subparts K, Ka y Kb, titulado: “ Standars for performance
for storage vessels for petroleum liquids”.
TANKS, versión 4.09 software (EPA): el programa calcula las emisiones de los
tanques basado en el standard API 42 sobre: “ Compilación de contaminantes del
aire provenientes del almacenaje de líquidos orgánicos”.
EPA 450/3-81-003: VOC emissions from volatile organics liquid storage tanks API
y el Canadian Petroleum Products Institute presentan los siguientes estándares para
el calculo de las pérdidas por evaporación.
API 2517: Evaporative losses from external floating roof tanks.
API 2518: Evaporative losses from fixed roof tanks.
API 2519: Evaporative losses from internal floating roof tanks.
EPS-5/AP/3-1990: Canadian emissions inventory of common air contaminants.
DISENO Y CALCULO DE TANQUES DE ALMACENAMIENTO (API 650)
60
CAPÍTULO 3
CÁLCULOS
DISENO Y CALCULO DE TANQUES DE ALMACENAMIENTO (API 650)
61
3.1. CONSIDERACIONES DE DISEÑO.
Para el diseño y cálculo de tanques de almacenamiento, el usuario deberá proporcionar los
datos y la información necesaria para llevar a cabo el proyecto. La información mínima
requerida (condiciones de operación y de diseño) es: volumen, temperatura, peso específico
del líquido, corrosión permisible, etc. Dado que es el que conoce con exactitud las
características del fluido que desea almacenar y el lugar de instalación del tanque, por lo
que el fabricante no deberá
suponer estas condiciones, y si así fuera, el fabricante tiene la obligación de informar al
usuario, quien tiene la responsabilidad de autorizar o no las condiciones expuestas por la
compañía constructora.
Así también el usuario establecerá la magnitud y dirección de las cargas externas que
pudieran ocasionar deformaciones en el tanque, con el fin de diseñar los elementos
involucrados con este.
El sobre espesor por corrosión que especificará el usuario se incluirá en cuerpo, fondo,
techo y estructura, y sólo se agrega al final del cálculo de cada uno de los elementos del
tanque, debido a que la agresividad química no es lo mismo para el fluido en estado líquido
o gaseoso y en algunos casos hasta para los lodos.
El usuario podrá especificar el material a utilizar en el tanque, así como el de sus
componentes. El fabricante y/o diseñador podrá sugerir los materiales recomendables en
cada caso para que el usuario los apruebe.
El fabricante tiene la obligación de cumplir con todas las especificaciones y Normas que
marca el estándar y que acuerde con el usuario, las cuales serán supervisadas y evaluadas
por el personal que designe el usuario.
3.2. DISEÑO DEL FONDO.
El diseño del fondo de los tanques de almacenamiento depende de las siguientes
consideraciones:
Los cimientos usados para soportar el tanque, el método que se utilizará para desalojar el
producto almacenado, el grado de sedimentación de sólidos en suspensión, la corrosión del
fondo y el tamaño del tanque. Lo que nos conduce al uso de un fondo plano, donde la
resistencia permisible del suelo deberá ser por lo menos de 1,465 Kg/cm2
(3,000 lb / pie2
).
Los fondos de tanques de almacenamiento cilíndricos verticales son generalmente
fabricados de placas de acero con un espesor menor al usado en el cuerpo. Esto es posible
para el fondo, porque se encuentra soportado por una base de concreto, arena o asfalto, los
DISENO Y CALCULO DE TANQUES DE ALMACENAMIENTO (API 650)
62
cuales soportarán el peso de la columna del producto; además, la función del fondo es
lograr la hermeticidad para que el producto no se filtre por la base.
Teóricamente, una placa delgada de metal calibre 16 o menor es capaz de soportar la
flexión y la carga de compresión que se genera en la periferia del fondo por el peso del
cuerpo que descansa sobre esta sección, pero para prevenir deformaciones al soldar, se
usarán placas que tengan un espesor mínimo nominal de 6.3mm. (1/4 pulg.), 49.8 Kg /m2
(10.2 lb / pie2
) excluyendo cualquier corrosión permisible especificada por el usuario.
El fondo tendrá que ser de un diámetro mayor que el diámetro exterior del tanque, por lo
menos, 51mm. (2 pulg.) más en el ancho del filete de soldadura de la unión entre cuerpo y
el fondo. Las placas con las que se habilite el fondo deberán tener preferentemente un
ancho de 1,829mm. (72 pulg.) con una longitud comercial que el fabricante obtenga en el
mercado, la cual pueda manejar en su taller o en campo sin problemas.
El cuerpo del tanque puede estar soportado directamente por el fondo o por una placa
anular.
Generalmente los fondos se forman con placas traslapadas, esto se hace con el fin de
absorber las deformaciones sufridas por el fondo si las placas fueran soldadas al tope.
El espesor nominal de la placa está en referencia a la construcción del tanque. El espesor
especificado está basado en los requerimientos de erección.
Será conveniente utilizar las placas más largas disponibles en el mercado para construir el
fondo, ya que resultan ser las más económicas, cuyas dimensiones son; 1,829 mm. ó 2,438
mm. (6 ú 8 pies) de ancho por 6,096 mm. 9,144 mm.(20 ó 30 pies) de largo. Si las placas
del fondo descansan simétricamente en relación a las líneas de centros del tanque, el
número de placas empleadas en la fabricación del fondo se reduce al mínimo. Esto es una
gran ventaja, porque las placas pueden estar a escuadrada y cortadas en grupos de 4 placas,
en cambio, si están simétricas a un solo eje, sólo dos placas serán a escuadrada y cortadas al
mismo tiempo. Un fondo asimétrico a lo largo de ambas líneas de centros, ocasiona mayor
número de placas de diferentes tamaños formando el fondo.
El fondo se deberá calcular utilizando las siguientes ecuaciones.
.............................................................Ec. 1
Donde:
A = Área del fondo.
D = Diámetro del tanque.
.............................................................Ec. 2
4
2
D
Afondo
π
=
bhAPL =
DISENO Y CALCULO DE TANQUES DE ALMACENAMIENTO (API 650)
63
Donde:
APL = Área de placa del fondo.
b = Base de la palca.
h = Altura de la palca.
..................................................Ec. 3
Donde:
APL = Área de placa del fondo.
AFondo = Área del fondo.
3.3. DISEÑO DEL CUERPO.
El espesor de la pared del cuerpo requerido para resistir la carga hidrostática será mayor
que el calculado por condiciones de diseño o por condiciones de prueba hidrostática, pero
en ningún caso será menor a lo que se muestra en la tabla 3.1.
TABLA 3.1. ESPESOR REQUERIDO DE PARED DEL CUERPO.
El espesor de la pared por condición de diseño, se calcula con base al nivel del líquido,
tomando la densidad relativa del fluido establecido por el usuario. El espesor por
condiciones de prueba hidrostática se obtiene considerando el mismo nivel de diseño, pero
ahora utilizando la densidad relativa del agua.
Cuando sea posible, el tanque podrá ser llenado con agua para la prueba hidrostática, pero
si esto no es posible y el cálculo del espesor por condiciones de prueba hidrostática es
mayor que el calculado por condiciones de diseño, deberá usarse el obtenido por
condiciones de prueba hidrostática.
El esfuerzo calculado de la carga hidrostática para cada anillo no deberá ser mayor que el
permitido por el material y su espesor no será menor que el de los anillos subsecuentes.
El esfuerzo máximo permisible de diseño (Sd) y de prueba hidrostática (St), se muestra en
la tabla 3.2, recomendado por el estándar API 650 en el diseño de tanques de
almacenamiento.
PL
fondo
sPL
A
A
No =´
DISENO Y CALCULO DE TANQUES DE ALMACENAMIENTO (API 650)
64
TABLA 3.2. MATERIALES MÁS COMUNES Y ESFUERZOS PERMISIBLES (kg/cm2
).
3.3.1. CÁLCULO DE ESPESORES DEL CUERPO POR EL MÉTODO DE UN PIE.
Con este método se calcula el espesor requerido de la pared del tanque, por condiciones de
diseño y de prueba hidrostática, considerando una sección transversal ubicada a 304.8 mm.
(1 pie) por debajo de la unión de cada anillo. Este método sólo es aplicable en tanques con
un diámetro igual o menor a 60,960 mm. (200pies).
Las ecuación utilizada por este método es:
..............................................Ec. 4
Donde:
t = Espesor de placa del cuerpo.
H = Altura del tanque.
D = Diámetro del tanque.
G = Gravedad especifica del fluido.
E = Eficiencia de soldadura.
CA = Corrosión permisible.
( )
CAE
GDH
t
+
−
=
21000
16.2
DISENO Y CALCULO DE TANQUES DE ALMACENAMIENTO (API 650)
65
3.4. DISEÑO DEL TECHO.
Como se mencionó anteriormente, los tanques de almacenamiento pueden clasificarse por
el tipo de cubierta en:
De techos fijos, de techos flotantes y sin techo. Dentro de los techos fijos tenemos tres
tipos: cónicos, de domo y de sombrilla, los cuales pueden ser autosoportados o soportados
por estructura (para el caso de techos cónicos de tanques de gran diámetro).
El techo cónico es una cubierta con la forma y superficie de un cono recto. El tipo domo es
un casquete esférico, y el de tipo sombrilla, es un polígono regular curvado por el eje
vertical.
Los techos autosoportados ya sean tipo cónico o domo tiene la característica de estar
apoyados únicamente en su periferia, calculados y diseñados para que su forma geométrica,
en combinación con el espesor mínimo requerido, absorban la carga generada por su propio
peso más las cargas vivas, a diferencia de los techos soportados que contarán con una
estructura que admita dichas cargas.
Independientemente de la forma o el método de soporte, los techos son diseñados para
soportar una carga viva de por lo menos, 1.76 Kg /cm2
(25 lb /pie2
) más la carga muerta
ocasionada por el mismo.
Las placas del techo tendrán un espesor mínimo nominal de 4.7 mm. (3/16 pulg.) o lámina
calibre 7. Un espesor mayor puede ser requerido para el caso de techos autosoportados, la
corrosión permisible puede ser incluida al espesor calculado a menos que el usuario
especifique su exclusión, lo que es válido también a los techos soportados.
Todos los miembros estructurales internos y externos de techos soportados tendrán un
espesor mínimo nominal de 4.32 mm. (0.17 pulg) en cualquier componente de estos. La
inclusión de corrosión de la corrosión permisible será acordada entre el usuario y el
fabricante.
Las placas del techo se sujetarán al ángulo superior del tanque (anillo de coronamiento),
con un cordón de soldadura continuo sólo por la parte superior, aunque éste sea soportado.
3.4.1. DISEÑO DEL TECHO TIPO DOMO.
Los techos tipo domo se caracterizan por ser un casquete esférico el cual está formado por
placas soldadas a traslape o a tope. Este tipo de tapas son poco usuales debido a que tienen
un proceso de fabricación muy laborioso ya que cada placa y segmento tienen que formarse
con el radio de curvatura, incrementado de esta manera su costo y complejidad.
DISENO Y CALCULO DE TANQUES DE ALMACENAMIENTO (API 650)
66
Los techos de tipo sombrilla son una variedad del tipo domo el cual solo conserva la
curvatura sobre el eje vertical ya que sobre el eje circunferencial tiene semejanza con el
tipo cónico. Las tapas por lo general se fabrican a partir de gajos para facilitar la curvatura
de las placas.
Este tipo de tapas deberán estar diseñadas bajo los siguientes requerimientos.
..................................................................Ec. 5
Donde:
t = Espesor de placa del techo.
R = Radio de curvatura (min 0.8D y max 1.2D).
...............................................................Ec. 6
Donde:
A = Área de sección de soporte.
D = Diámetro del tanque.
R = Radio de curvatura.
3.5. MEMORIA DE CÁLCULO.
Memoria de cálculo para tanque de 20,000 barriles para almacenamiento de nafta.
TABLA 3.3. BASES DE DISEÑO.
Producto Nafta
Densidad relativa del producto 0.8
Código de diseño API-650
Tipo de techo Cónico
Diámetro interior 70’
Altura total 30’ + 14.28´ del techo
Material del cuerpo SA-285-C
200
R
t =
1500
DR
A =
DISENO Y CALCULO DE TANQUES DE ALMACENAMIENTO (API 650)
67
3.5.1. CÁLCULO DE ESPESORES.
1° Paso: SELECCIÓN DE LA PLACA.
TABLA 3.4. PLACAS COMERCIALES.
Placas comerciales (20-40 °C)
4´ x 4´ - 4´ x 8´ - 4´ x 10´
6´ x 8´
8´ x 8´ - 8´ x 10´ - 8´ x 12´
10´ x 10´ - 10´ x 12´
PL´s 10’x12’
Se eligió usar placas de 10’x12’ por ser las de mayor área.
2° Paso: SELECCIÓN DEL MATERIAL DE LAS PLACAS.
Mat. SA-285-C Acero al carbono para recipientes a presión según ASTM.
3° Paso: EFICIENCIA DE SOLDADURA.
E= 0.85
Se manejará una eficiencia de junta de 0.85 por que estará radiografiada por zonas.
4° Paso: LÍQUIDO A ALMACENAR.
Nafta G = 0.8 ≈ 1
La densidad relativa del líquido a almacenar en ningún caso deberá ser menor de 1.0.
5° Paso: ESPESORES DE CADA CINTURÓN.
( )
CAE
GDH
t
+
−
=
21000
16.2
( )( )( )
( )
"
16
6358.00625.00.295
16
1
85.021000
7011306.2
1 ≅=+=+
−
=At
DISENO Y CALCULO DE TANQUES DE ALMACENAMIENTO (API 650)
68
6° Paso: FONDO DEL TANQUE.
Se mantiene el mismo espesor del primer cinturón para que la soldadura no se deslice y se
pueda soportar.
tFONDO= tA1
tFONDO= 6/16
7° Paso: ESPESOR DEL TECHO TIPO CONO.
El ángulo de inclinación del techo no deberá ser menor de 9.28° ni mayor de 37°, por esta
razón se utilizará un ángulo de inclinación de 22°.
*Este espesor está dentro del rango permitido pues no es mayor de 1/2”
ni menor de 3/16”.
8° Paso: ÁREA DE SECCIÓN DE ÁNGULO DE SOPORTE EXTERIOR.
( )( )( )
( )
( )( )( )
( )
"
4
1
16
3154.00625.00.0917
16
1
85.021000
7011106.2
"
16
5256.00625.00.193
16
1
85.021000
7011206.2
3
2
≅≅=+=+
−
=
≅=+=+
−
=
A
A
t
t
"
2
147.0
22400
70
400
22
min ≅=
°
=
=
°=
sen
t
sen
D
t
θ
θ
( )
2
2
2
2
2
2
129.28
lg1
54.2
lg266.3
lg36.4
223000
70
3000
cm
p
cm
p
p
sen
A
sen
D
A
=





=
°
=
=
θ
DISENO Y CALCULO DE TANQUES DE ALMACENAMIENTO (API 650)
69
L 102x6 mm. 4”x4”x5/8”
3.5.2. CÁLCULO DE PLACAS DEL CUERPO.
Como ya se mencionó, se van a utilizar placas de 10’ x 12’ las cuales llevarán una sercha
de 5” ocasionada por el rolado de la paca, los detalles se muestran en la figura 3.1.
FIG. 3.1. DIMENSIÓN DE LA SERCHA.
1° Paso: PERÍMETRO DEL CUERPO.
2° Paso: LONGITUD REAL DE PLACA.
LRPL= Loriginal – sercha
3° Paso: NÚMERO DE PLACAS.
( ) ´91.21970 ==
=
π
π
P
DP
´58.11
12
5´12 =−=RPLL
( ) "88.11120.99´
"
16
6de´1899.18
58.11
91.219
PL´S.
PL´S.
=+
≈==
=
SPLNo
L
P
No
RPL
DISENO Y CALCULO DE TANQUES DE ALMACENAMIENTO (API 650)
70
4° Paso: LONGITUD DE SOLDADURA.
5° Paso: AJUSTE DE PLACAS DE CADA CINTURÓN.
Long. sold – excedente de PL
1.125 - 11.88 = 10.75”
6° Paso: DEFINICIÓN DEL NÚMERO DE PLACAS REALES.
7° Paso: DEFINIR EL RESTO DE LOS CINTURONES.
18 PL´s de 10’ x 12’x 6/16”
1 PL de 10’ x 11.10 ´x 6/16”
18 PL´s de 10’ x 12’x 5/16”
1 PL de 10’ x 11.10´ x 5/16”
18 PL´s de 10’ x 12’x 1/4”
1 PL de 10’ x 11.10´ x 1/4”
8° Paso: CÁLCULO DE PESOS.
1er. Cinturón (6/16”).
18 x 154 x 12 = 33264 lb
1 x 154 x 11.10 = 1709.4 lb
33264 + 1709.4 = 34973.4 lb
2° cinturón (5/16”).
18 x 128 x 12 = 27648 lb
1 x 128 x 11.1 = 1420.8 lb
27648 + 1420.8 = 29068.8 lb
3° cinturón (1/4”).
18 x 102 x 12 = 22032 lb
1 x 102 x 11.1 = 1132.2 lb
22032 + 1132.2 = 23164.2 lb
18 PL’s de 10’ x 12 ’x 6/16 ”
1 PL de 10’ x 11.10´ x 6/16”
( )
( ) "187.1
16
119Sold
16
1No.PL´SSold
==
=
Long
Long
DISENO Y CALCULO DE TANQUES DE ALMACENAMIENTO (API 650)
71
Peso total.
Wt = 34973.4 + 29.068.8 + 23164.2 = 87206.4 lb
3.5.3. CÁLCULO DE PLACAS DE FONDO Y TECHO.
Para calcular las placas que irán en el fondo es necesario considerar el diámetro exterior de
del fondo puesto que al diámetro del cuerpo se le agregará 3” con el fin de poder aplicar la
soldadura que unirá el primer cinturón con el fondo tanto por el interior como por el
exterior. En la figura 3.2 se muestra el valor del diámetro exterior del fondo.
FIG. 3.2. DIAMETRO EXTERIOR DEL FONDO.
1° Paso: ÁREA DE FONDO.
2° Paso: ÁREA DE PLACA.
3° Paso: NÚMERO DE PLACAS.
( ) 2
2
2
ft99.3875
4
70.25
4
D
==
=
π
π
fondo
fondo
A
A
( ) 2
1201012
h
ftA
bA
PL
PL
==
=
PL´s29.32
120
99.3875
.
.
==
=
PLNo
A
A
PLNo
PL
fondo
DISENO Y CALCULO DE TANQUES DE ALMACENAMIENTO (API 650)
72
4° Paso: PERÍMETRO DE SOLDADURA.
P= 2b+2h
P= 2(12)+2(10)=44´
5° Paso: DEFINIR NUMERO DE PLACAS POR LÍNEA.
*El numero de placas se obtendrá por medio de dibujo*
6° Paso: ESPECIFICACIÓN.
32 x 10’x 12’x 6/16”
7° Paso: CÁLCULO DE PESO.
En lo que respecta a los cálculos del techo del tanque será necesario especificar las
dimensiones que tendrá el cono, tales como diámetro y altura, esto se debe a que el cono
estará soportado por un ángulo soldado en la parte externa del ultimo cinturón del cuerpo
del tanque, por lo cual su diámetro será mayor que el del tanque. El diagrama de dicho
arreglo se presenta a continuación en la figura 3.3.
FIG. 3.3. COLOCACIÓN DEL TECHO.
( )
( ) lbW
lbW
ft
lb
W
FONDO
PL
59136184832
184812154
154
==
==
=
DISENO Y CALCULO DE TANQUES DE ALMACENAMIENTO (API 650)
73
1° Paso: DIÁMETRO REAL.
2° Paso: DIMENSIONAMIENTO DEL CONO.
3° Paso: ÁREA DEL CONO.
Alateral = π x l
Alateral = π (35.35) (38.13) = 4234.54 ft2
3° Paso: NÚMERO DE PLACAS DEL CONO.
4° Paso: DEFINIR NÚMERO DE PLACAS POR LÍNEA.
*El numero de placas se definirá por dibujo*
5° Paso: ESPECIFICACIÓN.
35 x 10’x 12’x 1/2”
6° Paso: CÁLCULO DE PESO.
( ) ´708.70"5.8´70"1/44270´
PL)ultimaEsp.Ang.(21
=+=++=
++=
R
R
D
LongDD
( ) ( ) ´13.3828.1435.35
´28.1422tan35.35tan
´35.35
2
708.70
2
22
22
=+=
+=
=°==
===
l
yxl
xy
D
x R
θ
PL´s35.28
120
4234.54
PL´s.
A
A
PL´s.
PL
lateral
==
=
No
No
( )
( ) lbW
lbW
ft
lb
W
TECHO
PL
42840122435
122412102
102
==
==
=
DISENO Y CALCULO DE TANQUES DE ALMACENAMIENTO (API 650)
74
3.5.4. CÁLCULO DE REFUERZOS DE APERTURA.
Debido a la ubicación de las diferentes boquillas con las que contará el tanque de
almacenamiento, las condiciones de presión hidrostática varían en forma directa a la altura,
por lo que es necesario determinar cada una de las diferentes presiones para poder iniciar
con los cálculos correspondientes.
Las boquillas con lasque estará provisto el tanque de almacenamiento serán:
1. Registro Pasa-Hombre (cuerpo).
2. Registro Pasa-Hombre (techo).
3. Entrada del producto.
4. Salida del producto.
5. Drene.
6. Venteo.
7. Registro Pasa-Hombre.
FIG. 3.4. POSICIONAMIENTO DE BOQUILLAS.
3.5.4.1. CÁLCULO DE BOQUILLA N-1.
Material:
SA-181
ST= 60000 PSI
DISENO Y CALCULO DE TANQUES DE ALMACENAMIENTO (API 650)
75
Material tubo:
SA-53-B
ST= 16100 PSI
DNOM = 609 mm = 24”
"313.11
2
626.22
2
"626.22int
"0.24
0.687"t
int
ext
===
=
=
=
D
r
D
D
1° Paso: PRESIÓN DE OPERACIÓN.
( )( ) Psi
ft
lbft
ft
lbP
fth
ft
lb
ghP
838.696.986268.045.47
26
45.47
231
3
==





=
=
=
=
ρ
ρ
2° Paso: PRESIÓN DE DISEÑO.
3° Paso: ESPESOR DEL RECIPIENTE BASE.
( )
( ) ( )
"
16
11"06.10625.0996.0"
16
1
"996.0
838.366.0115700
420838.36
6.0
≅=+=+=
=
−
=
−
=
r
r
tt
PSE
PR
t
4° Paso: ESPESOR DEL TUBO BASE.
( )
( ) ( )
"084.00625.01059.2"
16
1
"1059.2
383.366.0116100
313.11838.36
6.0
2
2
=+=+=
=
−
=
−
=
−
−
xtt
x
PSE
PR
t
rnn
rn
PSIP
PSIPP
PSI
O
838.3630838.6
30
300PSi O
=+=
+=
<
DISENO Y CALCULO DE TANQUES DE ALMACENAMIENTO (API 650)
76
Como tn < t por lo tanto tn = 0.687”
5° Paso: ÁREA DE REFUERZO REQUERIDO.
( ) 2
lg535.22996.0626.22 pdtrAREQ ===
6° Paso: ÁREA DE REFUERZO EVALUADA.
A1 = Área de exceso en el recipiente (se selecciona la mayor).
( ) ( )
( )( ) ( )( ) 2
1
2
1
lg232.0
16
11687.0996.0
16
1122
lg504.1996.0
16
11626.22
pttntrtA
ptrtdA
=+−=+−=
=−=−=
A2 = Área de exceso en el boquilla (se selecciona la menor).
( ) ( )( )
( ) ( )( ) 23
2
23
2
lg344.21061.4687.0687.055
lg625.31061.4687.0
16
1155
ptrntntnA
ptrntntA
=×−=−=
=×−=−=
−
−
A3 = Proyección al interior (se selecciona la h menor).
( )
( )
( ) ( )( ) 2
3 lg887.1374.12687.02
"374.1687.022
"125.2
16
1122
phtnA
tnh
th
===
===
===
A4 = Área de soldadura exterior (se selecciona el espesor menor).
Espesor de placa =
16
11 ”
Espesor de tubo = 0.687”
( ) ( ) 222
4
16
1
lg389.0624.0soldadurademínimaBase
"624.00625.0687.0-tnsoldadurademínimaBase
pA ===
=−==
A5 = Área de soldadura interior (se selecciona el espesor menor).
Espesor de placa =
16
11 ”
Espesor de tubo = 0.687”
DISENO Y CALCULO DE TANQUES DE ALMACENAMIENTO (API 650)
77
( ) ( ) 222
5
16
1
lg389.0624.0soldadurademínimaBase
"624.00625.0687.0-tnsoldadurademínimaBase
pA ===
=−==
7° Paso: ÁREA DE REFUERZO EVALUADA.
2
521
lg513.6389.0389.0887.1344.2504.1
...
pA
AAAA
RE
RE
=++++=
++∑=
8° Paso: ÁREA DE REFUERZO REAL.
2
lg022.16513.6535.22 pAAA REREQRreal =−=−=
"079.39079.1524
"539.7
2
079.15
2
"079.15
16
11
022.16
=+=+=
==
===
=
bDDext
b
h
A
b
bhA
EXTREF
FIG. 3.5. DETALLE DE BOQUILLA.
DISENO Y CALCULO DE TANQUES DE ALMACENAMIENTO (API 650)
78
3.5.4.2. CÁLCULO DE BOQUILLA N-2.
Material:
SA-181
ST= 60000 PSI
Material tubo:
SA-53-B
ST= 16100 PSI
DNOM = 609 mm = 24”
"313.11
2
626.22
2
"626.22int
"0.24
0.687"t
int
ext
===
=
=
=
D
r
D
D
1° Paso: PRESIÓN DE OPERACIÓN.
*Debido a que la presión de vapor de la Nafta es menor que la presión de vapor
agua, se tomará como presión de operación esta ultima.
P = 17.54 mmHg = 0.339 Psi
2° Paso: PRESIÓN DE DISEÑO.
3° Paso: ESPESOR DEL RECIPIENTE BASE.
( )
( ) ( )
"
8
7"875.00625.0812.0"
16
1
"812.0
339.306.0115700
420339.30
6.0
≅=+=+=
=
−
=
−
=
r
r
tt
PSE
PR
t
PSIP
PSIPP
PSI
O
339.3030339.0
30
300PSi O
=+=
+=
<
DISENO Y CALCULO DE TANQUES DE ALMACENAMIENTO (API 650)
79
4° Paso: ESPESOR DEL TUBO BASE.
( )
( ) ( )
"084.00625.01013.2"
16
1
"1013.2
339.306.0116100
313.11339.30
6.0
2
2
=+=+=
=
−
=
−
=
−
−
xtt
x
PSE
PR
t
rnn
rn
Como tn < t por lo tanto tn = 0.687”
5° Paso: ÁREA DE REFUERZO REQUERIDO.
( ) 2
lg37.18812.0626.22 pdtrAREQ ===
6° Paso: ÁREA DE REFUERZO EVALUADA.
A1 = Área de exceso en el recipiente (se selecciona la mayor).
( ) ( )
( )( ) ( )( ) 2
1
2
1
lg196.0
8
7687.0812.0
8
722
lg425.1812.0
8
7626.22
pttntrtA
ptrtdA
=+−=+−=
=−=−=
A2 = Área de exceso en el boquilla (se selecciona la menor).
( ) ( )( )
( ) ( )( ) 23
2
23
2
lg371.31079.3687.0687.055
lg989.21079.3687.0
8
755
ptrntntnA
ptrntntA
=×−=−=
=×−=−=
−
−
A3 = Proyección al interior (se selecciona la h menor).
( )
( )
( ) ( )( ) 2
3 lg887.1374.12687.02
"374.1687.022
"75.1
8
722
phtnA
tnh
th
===
===
===
A4 = Área de soldadura exterior (se selecciona el espesor menor).
Espesor de placa =
8
7 ”
Espesor de tubo = 0.687”
( ) ( ) 222
4
16
1
lg389.0624.0soldadurademínimaBase
"624.00625.0687.0-tnsoldadurademínimaBase
pA ===
=−==
DISENO Y CALCULO DE TANQUES DE ALMACENAMIENTO (API 650)
80
A5 = Área de soldadura interior (se selecciona el espesor menor).
Espesor de placa =
8
7 ”
Espesor de tubo = 0.687”
( ) ( ) 222
5
16
1
lg389.0624.0soldadurademínimaBase
"624.00625.0687.0-tnsoldadurademínimaBase
pA ===
=−==
7° Paso: ÁREA DE REFUERZO EVALUADA.
2
521
lg079.7389.0389.0887.1989.2425.1
...
pA
AAAA
RE
RE
=++++=
++∑=
8° Paso: ÁREA DE REFUERZO REAL.
2
lg291.11079.737.18 pAAA REREQRreal =−=−=
"904.36904.1224
"452.6
2
904.12
2
"904.12
8
7
291.11
=+=+=
==
===
=
bDDext
b
h
A
b
bhA
EXTREF
DISENO Y CALCULO DE TANQUES DE ALMACENAMIENTO (API 650)
81
FIG. 3.6. DETALLE DE BOQUILLA.
3.5.4.4. CÁLCULO DE BOQUILLA N-3.
Material recipiente:
SA-285-C
SR=15700 PSI
Material tubo:
SA-53-B
ST= 16100 PSI
DNOM = 102 mm = 4”
013.2
2
026.4
2
"026.4int
"500.4
0.237"t
int
ext
===
=
=
=
D
r
D
D
DISENO Y CALCULO DE TANQUES DE ALMACENAMIENTO (API 650)
82
1° Paso: PRESIÓN DE OPERACIÓN.
( )( ) Psi
ft
lbft
ft
lbP
fth
ft
lb
ghP
263.096.3718.045.47
1
45.47
231
3
==





=
=
=
=
ρ
ρ
2° Paso: PRESIÓN DE DISEÑO.
3° Paso: ESPESOR DEL RECIPIENTE BASE.
( )
( ) ( )
"
8
7"873.00625.0810.0"
16
1
"810.0
263.306.0115700
420263.30
6.0
≅=+=+=
=
−
=
−
=
r
r
tt
PSE
PR
t
4° Paso: ESPESOR DEL TUBO BASE.
( )
( ) ( )
"066.00625.010788.3"
16
1
"10788.3
263.306.0116100
013.2263.30
6.0
3
3
=+=+=
=
−
=
−
=
−
−
xtt
x
PSE
PR
t
rnn
rn
Como tn < t por lo tanto tn = 0.237”
5° Paso: ÁREA DE REFUERZO REQUERIDO.
( ) 2
lg26.3810.0026.4 pdtrAREQ ===
6° Paso: ÁREA DE REFUERZO EVALUADA.
A1 = Área de exceso en el recipiente (se selecciona la mayor).
PSIP
PSIPP
PSI
O
263.3030263.0
30
300PSi O
=+=
+=
<
DISENO Y CALCULO DE TANQUES DE ALMACENAMIENTO (API 650)
83
( ) ( )
( )( ) ( )( ) 2
1
2
1
lg144.0
8
7237.0810.0
8
722
lg261.0810.0
8
7026.4
pttntrtA
ptrtdA
=+−=+−=
=−=−=
A2 = Área de exceso en el boquilla (se selecciona la menor).
( ) ( )( )
( ) ( )( ) 23
2
23
2
lg276.010788.3237.0237.055
lg02.110788.3237.0
8
755
ptrntntnA
ptrntntA
=×−=−=
=×−=−=
−
−
A3 = Proyección al interior (se selecciona la h menor).
( )
( )
( ) ( )( ) 2
3 lg224.0474.02237.02
"474.0237.022
"75.1
8
722
phtnA
tnh
th
===
===
===
A4 = Área de soldadura exterior (se selecciona el espesor menor).
Espesor de placa =
8
7 ”
Espesor de tubo = 0.237”
( ) ( ) 222
4
16
1
lg03.0174.0soldadurademínimaBase
174.00625.0237.0-tnsoldadurademínimaBase
pA ===
=−==
A5 = Área de soldadura interior (se selecciona el espesor menor).
Espesor de placa =
8
7 ”
Espesor de tubo = 0.237”
( ) ( ) 222
5
16
1
lg03.0174.0soldadurademínimaBase
174.00625.0237.0-tnsoldadurademínimaBase
pA ===
=−==
7° Paso: ÁREA DE REFUERZO EVALUADA.
2
521
lg821.0030.0030.0224.0276.0261.0
...
pA
AAAA
RE
RE
=++++=
++∑=
DISENO Y CALCULO DE TANQUES DE ALMACENAMIENTO (API 650)
84
8° Paso: ÁREA DE REFUERZO REAL.
2
lg439.2821.026.3 pAAA REREQRreal =−=−=
"287.7787.25.4
"393.1
2
787.2
2
"787.2
8
7
439.2
=+=+=
==
===
=
bDDext
b
h
A
b
bhA
EXTREF
FIG. 3.7. DETALLE DE BOQUILLA.
3.5.4.3. CÁLCULO DE BOQUILLA N-4.
Material recipiente:
SA-285-C
SR=15700 PSI
Material tubo:
SA-53-B
ST= 16100 PSI
DNOM = 102 mm = 4”
DISENO Y CALCULO DE TANQUES DE ALMACENAMIENTO (API 650)
85
013.2
2
026.4
2
"026.4int
"500.4
0.237"t
int
ext
===
=
=
=
D
r
D
D
1° Paso: PRESIÓN DE OPERACIÓN.
( )( ) Psi
ft
lbft
ft
lbP
fth
ft
lb
ghP
627.784.1100298.045.47
29
45.47
231
3
==





=
=
=
=
ρ
ρ
2° Paso: PRESIÓN DE DISEÑO.
3° Paso: ESPESOR DEL RECIPIENTE BASE.
( )
( ) ( )
"
16
110625.0008.1"
16
1
"008.1
627.376.0115700
420627.37
6.0
=+=+=
=
−
=
−
=
r
r
tt
PSE
PR
t
4° Paso: ESPESOR DEL TUBO BASE.
( )
( ) ( )
"067.00672.010711.4"
16
1
"10711.4
627.376.0116100
013.2627.37
6.0
3
3
=+=+=
=
−
=
−
=
−
−
xtt
x
PSE
PR
t
rnn
rn
Como tn < t por lo tanto tn = 0.237”
PSIP
PSIPP
PSI
O
627.3730627.7
30
300PSi O
=+=
+=
<
DISENO Y CALCULO DE TANQUES DE ALMACENAMIENTO (API 650)
86
5° Paso: ÁREA DE REFUERZO REQUERIDO.
( ) 2
lg058.4008.1026.4 pdtrAREQ ===
6° Paso: ÁREA DE REFUERZO EVALUADA.
A1 = Área de exceso en el recipiente (se selecciona la mayor).
( ) ( )
( )( ) ( )( ) 2
1
2
1
lg118.0
16
11237.0008.1
16
1122
lg219.0008.1
16
11026.4
pttntrtA
ptrtdA
=+−=+−=
=−=−=
A2 = Área de exceso en el boquilla (se selecciona la menor).
( ) ( )( )
( ) ( )( ) 23
2
23
2
lg275.010711.4237.0237.055
lg234.110711.4237.0
16
1155
ptrntntnA
ptrntntA
=×−=−=
=×−=−=
−
−
A3 = Proyección al interior (se selecciona la h menor).
( )
( )
( ) ( )( ) 2
3 lg224.0474.02237.02
"474.0237.022
"125.2
16
1122
phtnA
tnh
th
===
===
===
A4 = Área de soldadura exterior (se selecciona el espesor menor).
Espesor de placa = 1
16
1 ”
Espesor de tubo = 0.237”
( ) ( ) 222
4
16
1
lg03.0174.0soldadurademínimaBase
174.00625.0237.0-tnsoldadurademínimaBase
pA ===
=−==
A5 = Área de soldadura interior (se selecciona el espesor menor).
Espesor de placa = 1
16
1 ”
Espesor de tubo = 0.237”
( ) ( ) 222
5
16
1
lg03.0174.0soldadurademínimaBase
174.00625.0237.0-tnsoldadurademínimaBase
pA ===
=−==
DISENO Y CALCULO DE TANQUES DE ALMACENAMIENTO (API 650)
87
7° Paso: ÁREA DE REFUERZO EVALUADA.
2
521
lg778.0030.0030.0224.0275.0219.0
...
pA
AAAA
RE
RE
=++++=
++∑=
8° Paso: ÁREA DE REFUERZO REAL.
2
lg28.3778.0058.4 pAAA REREQRreal =−=−=
"587.7087.35.4
"54.1
2
087.3
2
"087.3
16
11
28.3
=+=+=
==
===
=
bDDext
b
h
A
b
bhA
EXTREF
FIG. 3.8. DETALLE DE BOQUILLA.
DISENO Y CALCULO DE TANQUES DE ALMACENAMIENTO (API 650)
88
3.5.4.5. CÁLCULO DE BOQUILLA N-5.
Material recipiente:
SA-285-C
SR=15700 PSI
Material tubo:
SA-53-B
ST= 16100 PSI
DNOM = 76 mm = 3”
534.1
2
"068.3
2
"068.3int
"500.3
0.216t
int
ext
===
=
=
=
D
r
D
D
1° Paso: PRESIÓN DE OPERACIÓN.
( )( ) Psi
ft
lbft
ft
lbP
fth
ft
lb
ghP
627.784.1100298.045.47
29
45.47
231
3
==





=
=
=
=
ρ
ρ
2° Paso: PRESIÓN DE DISEÑO.
3° Paso: ESPESOR DEL RECIPIENTE BASE.
( )
( ) ( )
"
16
110625.0008.1"
16
1
"008.1
627.376.0115700
420627.37
6.0
=+=+=
=
−
=
−
=
r
r
tt
PSE
PR
t
PSIP
PSIPP
PSI
O
627.3730627.7
30
300PSi O
=+=
+=
<
DISENO Y CALCULO DE TANQUES DE ALMACENAMIENTO (API 650)
89
4° Paso: ESPESOR DEL TUBO BASE.
( )
( ) ( )
"063.00625.01059.3"
16
1
"1059.3
627.376.0116100
534.1627.37
6.0
3
3
=+=+=
=
−
=
−
=
−
−
xtt
x
PSE
PR
t
rnn
rn
Como tn < t por lo tanto tn = 0.216”
5° Paso: ÁREA DE REFUERZO REQUERIDO.
( ) 2
lg092.3008.1068.3 pdtrAREQ ===
6° Paso: ÁREA DE REFUERZO EVALUADA.
A1 = Área de exceso en el recipiente (se selecciona la mayor).
( ) ( )
( )( ) ( )( ) 2
1
2
1
lg139.0
16
11216.0008.1
16
1122
lg167.0008.1
16
11068.3
pttntrtA
ptrtdA
=+−=+−=
=−=−=
A2 = Área de exceso en el boquilla (se selecciona la menor).
( ) ( )( )
( ) ( )( ) 23
2
23
2
lg228.010711.4216.0216.055
lg122.110711.4216.0
16
1155
ptrntntnA
ptrntntA
=×−=−=
=×−=−=
−
−
A3 = Proyección al interior (se selecciona la h menor).
( )
( )
( ) ( )( ) 2
3 lg186.0432.02216.02
"432.0216.022
"125.2
16
1122
phtnA
tnh
th
===
===
===
A4 = Área de soldadura exterior (se selecciona el espesor menor).
Espesor de placa =
16
11 ”
Espesor de tubo = 0.216”
( ) ( ) 222
4
16
1
lg023.0153.0soldadurademínimaBase
"153.00625.0216.0-tnsoldadurademínimaBase
pA ===
=−==
DISENO Y CALCULO DE TANQUES DE ALMACENAMIENTO (API 650)
90
A5 = Área de soldadura interior (se selecciona el espesor menor).
Espesor de placa =
16
11 ”
Espesor de tubo = 0.216”
( ) ( ) 222
5
16
1
lg023.0153.0soldadurademínimaBase
"153.00625.0216.0-tnsoldadurademínimaBase
pA ===
=−==
7° Paso: ÁREA DE REFUERZO EVALUADA.
2
521
lg627.0023.0023.0186.0228.0167.0
...
pA
AAAA
RE
RE
=++++=
++∑=
8° Paso: ÁREA DE REFUERZO REAL.
2
lg465.2627.0092.3 pAAA REREQRreal =−=−=
"82.532.25.3
"16.1
2
32.2
2
"32.2
16
11
465.2
=+=+=
==
===
=
bDDext
b
h
A
b
bhA
EXTREF
DISENO Y CALCULO DE TANQUES DE ALMACENAMIENTO (API 650)
91
FIG. 3.9. DETALLE DE BOQUILLA.
3.5.4.6. CÁLCULO DE BOQUILLA N-6.
Material recipiente:
SA-285-C
SR=15700 PSI
Material tubo:
SA-53-B
ST= 16100 PSI
DNOM = 152 mm = 6”
"0325.3
2
065.6
"065.6int
"625.6
0.280t
ext
==
=
=
=
r
D
D
DISENO Y CALCULO DE TANQUES DE ALMACENAMIENTO (API 650)
92
1° Paso: PRESIÓN DE OPERACIÓN.
*Debido a que la presión de vapor de la Nafta es menor que la presión de vapor
agua, se tomará como presión de operación esta ultima.
P = 17.54 mmHg = 0.339 Psi
2° Paso: PRESIÓN DE DISEÑO.
3° Paso: ESPESOR DEL RECIPIENTE BASE.
( )
( ) ( )
"
8
7"875.00625.0812.0"
16
1
"812.0
339.306.0115700
420339.30
6.0
≅=+=+=
=
−
=
−
=
r
r
tt
PSE
PR
t
4° Paso: ESPESOR DEL TUBO BASE.
( )
( ) ( )
"068.00625.010719.5"
16
1
"10719.5
339.306.0116100
032.3339.30
6.0
3
3
=+=+=
=
−
=
−
=
−
−
xtt
x
PSE
PR
t
rn
rn
Como tn < tnr por lo tanto tn = 0.280”
5° Paso: ÁREA DE REFUERZO REQUERIDO.
( ) 2
lg924.4812.0065.6 pdtrAREQ ===
6° Paso: ÁREA DE REFUERZO EVALUADA.
A1 = Área de exceso en el recipiente (se selecciona la mayor).
( ) ( )
( )( ) ( )( ) 2
1
2
1
lg145.0
8
7280.0812.0
8
722
lg382.0812.0
8
7065.6
pttntrtA
ptrtdA
=+−=+−=
=−=−=
A2 = Área de exceso en el boquilla (se selecciona la menor).
PSIP
PSIPP
PSI
O
339.3030339.0
30
300PSi O
=+=
+=
<
DISENO Y CALCULO DE TANQUES DE ALMACENAMIENTO (API 650)
93
( ) ( )( )
( ) ( )( ) 23
2
23
2
lg383.010719.5280.0280.055
lg199.110719.5280.0
8
755
ptrntntnA
ptrntntA
=×−=−=
=×−=−=
−
−
A3 = Área de soldadura exterior (se selecciona el espesor menor).
Espesor de placa =
8
7 ”
Espesor de tubo = 0.280”
( ) ( ) 222
3
16
1
lg116.0342.0soldadurademínimaBase
"342.00625.0280.0-tnsoldaduradeinimamBase
pA ===
=−==+
7° Paso: ÁREA DE REFUERZO EVALUADA.
2
21
lg881.0116.0383.0382.0
3
pA
AAAA
RE
RE
=++=
++∑=
8° Paso: ÁREA DE REFUERZO REAL.
2
lg043.4881.0924.4 pAAA REREQRreal =−=−=
"245.1162.4625.6
"31.2
2
62.4
2
"62.4
8
7
043.4
=+=+=
==
===
=
bDDext
b
h
A
b
bhA
EXTREF
DISENO Y CALCULO DE TANQUES DE ALMACENAMIENTO (API 650)
94
FIG. 3.10. DETALLE DE BOQUILLA.
3.5.4.7. CÁLCULO DE BOQUILLA N-7.
Material recipiente:
SA-285-C
SR=15700 PSI
Material tubo:
SA-53-B
ST= 16100 PSI
DNOM = 102 mm = 4”
013.2
2
026.4
2
"026.4int
"500.4
0.237"t
int
ext
===
=
=
=
D
r
D
D
DISENO Y CALCULO DE TANQUES DE ALMACENAMIENTO (API 650)
95
1° Paso: PRESIÓN DE OPERACIÓN.
( )( ) Psi
ft
lbft
ft
lbP
fth
ft
lb
ghP
364.788.1062288.045.47
28
45.47
231
3
==





=
=
=
=
ρ
ρ
2° Paso: PRESIÓN DE DISEÑO.
3° Paso: ESPESOR DEL RECIPIENTE BASE.
( )
( ) ( )
"
16
110625.01"
16
1
"1
364.376.0115700
420364.37
6.0
=+=+=
=
−
=
−
=
r
r
tt
PSE
PR
t
4° Paso: ESPESOR DEL TUBO BASE.
( )
( ) ( )
"067.00625.010678.4"
16
1
"10678.4
364.376.0116100
013.2364.37
6.0
3
3
=+=+=
=
−
=
−
=
−
−
xtt
x
PSE
PR
t
rnn
rn
Como tn < t por lo tanto tn = 0.237”
5° Paso: ÁREA DE REFUERZO REQUERIDO.
( ) 2
lg026.41026.4 pdtrAREQ ===
6° Paso: ÁREA DE REFUERZO EVALUADA.
A1 = Área de exceso en el recipiente (se selecciona la mayor).
PSIP
PSIPP
PSI
O
364.3730364.7
30
300PSi O
=+=
+=
<
DISENO Y CALCULO DE TANQUES DE ALMACENAMIENTO (API 650)
96
( ) ( )
( )( ) ( )( ) 2
1
2
1
lg162.0
16
11237.01
16
1122
lg251.01
16
11026.4
pttntrtA
ptrtdA
=+−=+−=
=−=−=
A2 = Área de exceso en el boquilla (se selecciona la menor).
( ) ( )( )
( ) ( )( ) 23
2
23
2
lg275.010678.4237.0237.055
lg234.110678.4237.0
16
1155
ptrntntnA
ptrntntA
=×−=−=
=×−=−=
−
−
A3 = Proyección al interior (se selecciona la h menor).
( )
( )
( ) ( )( ) 2
3 lg224.0474.02237.02
"474.0237.022
"125.2
16
1122
phtnA
tnh
th
===
===
===
A4 = Área de soldadura exterior (se selecciona el espesor menor).
Espesor de placa =
16
11 ”
Espesor de tubo = 0.237”
( ) ( ) 222
4
16
1
lg03.0174.0soldadurademínimaBase
174.00625.0237.0-tnsoldadurademínimaBase
pA ===
=−==
A5 = Área de soldadura interior (se selecciona el espesor menor).
Espesor de placa =
8
7 ”
Espesor de tubo = 0.237”
( ) ( ) 222
5
16
1
lg03.0174.0soldadurademínimaBase
174.00625.0237.0-tnsoldadurademínimaBase
pA ===
=−==
7° Paso: ÁREA DE REFUERZO EVALUADA.
2
521
lg81.0030.0030.0224.0275.0251.0
...
pA
AAAA
RE
RE
=++++=
++∑=
DISENO Y CALCULO DE TANQUES DE ALMACENAMIENTO (API 650)
97
8° Paso: ÁREA DE REFUERZO REAL.
2
lg216.381.0026.4 pAAA REREQRreal =−=−=
"52.7026.35.4
"51.1
2
026.3
2
"026.3
16
11
216.3
=+=+=
==
===
=
bDDext
b
h
A
b
bhA
EXTREF
FIG. 3.11. DETALLE DE BOQUILLA.
3.5.5. CÁLCULO DE PLACA DE CHOQUE.
TABLA 3.4. CRITERIOS DE TIPO DE SUSTANCIA.
DISENO Y CALCULO DE TANQUES DE ALMACENAMIENTO (API 650)
98
*se selecciono la opción 3.
Datos de la boquilla N-3.
"237.0
"5.4
"026.4
"4
=
=
=
=
t
D
D
D
EXT
INT
NOM
( ) 2
22
22
lg73.12
4
026.4
4
lg
7.274000
"14)70(2.02.0
"5032.5)026.4(25.1
25.1
"1
4
026.4
4
p
D
A
p
lb
ft
lbP
D
D
DD
D
Hpp
INT
INT
REC
PLcho
INTPLcho
INT
===
==
===
≅==
=
===
ππ
l
lg*68.4936)14(62.352
62.352)73.12(7.27
plbFM
lbPAF
===
===
l
( )
"
4
3
61.0
)10(15700
)68.4936(12
12
5
2
68.4936
15700 3
≅==
=
=
t
t
t
I
Mc
σ
DISENO Y CALCULO DE TANQUES DE ALMACENAMIENTO (API 650)
99
3.5.5.1 ANÁLISIS DE SOLDADURA.
W = PL "5"
4
3 × = 29.8
ft
lb
( )
( ) 2
22
lg08.12
3
5
)5(
4
3
3
lg5.11)5(2
4
32
p
d
bdSw
pAw
=+





=+=
=+=
( ) ( ) ( ) lg
83.40966.40866.303.4
lg
66.408
08.12
68.4936
lg
66.30
5.11
62.352
lg
3.4
5.11
46.49
222
22
p
lbW
WbWsWW
p
lbWb
p
lbWs
p
lbW
Aw
P
W
T
T
=++=
++=
==
==
==
=
"
4
1
lg042.0
9600
83.409
min =
====
b
p
f
W
bW T
( ) lbft
ft
lbW
pies
p
pie
p
46.4966.18.29
66.1
lg12
1
lg20
==
=





DISENO Y CALCULO DE TANQUES DE ALMACENAMIENTO (API 650)
100
3.5.6. SELECCIÓN DEL ROMPE VORTEX.
Se selecciono el siguiente rompe vortex de entre los diferentes tipos recomendados ya que
cumple con las características deseadas.
FIG. 3.12. ROMPE VORTEX.
3.5.7. CÁLCULO DEL DIQUE DE PROTECCIÓN.
El dique de protección se calculará en base al diámetro exterior del dique de protección, el
cual será propuesto para poder realizar dicho cálculo. También se tomará en consideración
volumen total del tanque más un 10%.
1° Paso: VOLUMEN DEL TANQUE.
V=10,000 barriles
3
3
56145
1
6145.5
000,10 ft
barril
ft
barriles =





10% V = 0.1 (56145 ft3
) = 5614.5 ft3
DISENO Y CALCULO DE TANQUES DE ALMACENAMIENTO (API 650)
101
2° Paso: PROPONER DIÁMETRO DEL DIQUE.
Tomando como referencia el diámetro del tanque que es de 70´ se propone el diámetro del
dique de protección que tendrá un valor de 80´.
DD = 80´
3° Paso: CÁLCULAR ALTURA DEL DIQUE.
4
2
D
A
hAV
⋅
=
∗=
π
Sustituyendo el área
( )
( )
fth
D
V
h
hD
V
211.1
80
5.56144
4
4
2
2
2
≈==
⋅
∗
=
∗⋅
=
π
π
π
FIG. 3.13. DIQUE DE PROTECCIÓN.
3.5.7.1 DISEÑO DEL DIQUE DE PROTECCIÓN.
Datos:
Corona = 25 cm
P= 10 Ton/m2
Rt= 20 Ton/m2
DISENO Y CALCULO DE TANQUES DE ALMACENAMIENTO (API 650)
102
f´s = 1400 Kg/cm2
f´c = 210 Kg/cm2
j = 0.874
R = 15.486 Kg/cm2
1° Paso: CARGA TOTAL.
( ) .11000100001.11.1 kgkgPPT ===
2° Paso: ÁREA DE CIMENTACIÓN.
2
55.0
20000
11000
m
kg
kg
R
P
A
T
T
T ===
3° Paso: LONGITUD DE ZAPATA.
*Nota: para el análisis solo se tomara una porción del total de la longitud de la zapata (1m).
m
m
m
m
A
L 55.0
00.1
55.0
00.1
2
===
4° Paso: CÁLCULO DEL VUELO.
m
mmCL
V 15.0
2
25.055.20
2
=
−
=
−
=
5° Paso: ESFUERZO FLEXIONANTE.
28181.18181
55.0
10000
m
kg
m
kg
A
P
W ===
6° Paso: MOMENTO FLEXIONANTE.
( ) ( )
mKg
m
m
kg
VW
M −=== 5454.204
2
15.08181.18181
2
2
22
cmKgM −= 5.20454
7° Paso: PERALTE DE ZAPATA.
( )
cmcm
cm
cm
kg
cmKg
Rb
M
d 463.3
100486.15
5.20454
2
≈=
−
==
DISENO Y CALCULO DE TANQUES DE ALMACENAMIENTO (API 650)
103
8° Paso: PERALTE TOTAL DE ZAPATA.
*Nota: Con fines de cubrir los esfuerzos que se presentan en el calculo de zapatas se toma
el doble del peralte de “d” y tomando que el recubrimiento en zapatas es de 5 cm como
mínimo.
( ) cmdd 8422" ===
cmcmcmcmdh 13585" =+=+=
9° Paso: CÁLCULO DE DISTANCIA d´.
mmmdtVd 02.013.015.0´ =−=−=
10° Paso: CÁLCULO DE CORTANTE EN d´.
kg
m
kgmWdV 63.3638181.1818102.0´´ 2 =



==
11° Paso: ESFUERZO CORTANTE.
( ) 2279.0
13100
63.363´
cm
kg
cmcm
kg
bh
V
===υ
12° Paso: ESFUERZO ADMISIBLE.
22 202499.421029.0´29.0
cm
kg
cm
kgcfadm ===υ
*Si
22 279.02024.4
cm
kg
cm
kg
adm
>
> υυ
13° Paso: CÁLCULO DE ÁREA POR ESFUERZO FLEXIONANTE.
( )( )
2
2
089.2
8874.01400
5.20454
´
cm
cm
cm
kg
cmkg
sjdf
M
As =
−
==
14° Paso: NÚMERO DE VARILLAS.
DISENO Y CALCULO DE TANQUES DE ALMACENAMIENTO (API 650)
104
TABLA 3.5. DATOS DE VARILLA SELECCIONADA.
.var657.5
375.0
089.2
. 2
2
illas
cm
cm
as
As
No Varillas ≈===
15° Paso: DISTANCIA DE SEPARACIÓN.
cm
illasNo
S
Varillas
1766.16
var6
100
.
100
≈===
16° Paso: VERIFICACIÓN POR ADHERENCIA.
kg
m
kgmVWV 272.27278181.1818115.0" 2 =



==
( ) cmcmillaso
PerimetroNoo VARILLAS
8.48.0var6
.
==Σ
=Σ
( )( ) 2261.81
8874.08.4
27.2727"
cm
kg
cmcm
kg
ojd
V
==
Σ
=µ
22
2
489.185
25.0
2102.3´2.3
cm
kg
cm
cm
kg
D
cf
adm ===µ
*Si µµ >adm
17° Paso: CÁLCULO DE ACERO POR TEMPERATURA.
( )( )( ) 2
88.0810055.0002.0002.0 cmcmcmLhAt ===
17° Paso: NÚMERO DE VARILLAS.
*Se propone una varilla de ¼”.
.var3346.2
375.0
88.0
. 2
2
illas
cm
cm
as
At
No vARILLAS ≈===
18° Paso: DISTANCIA DE SEPARACIÓN.
cmcm
illas
cm
No
L
S
vARILLAS
1933.18
var3
55
.
≈===
Varilla Diámetro nominal
(cm)
Área Nominal.
(cm2
)
Perímetro Nominal
(cm).
(1/4”) 0.25 0.375 0.8
DISENO Y CALCULO DE TANQUES DE ALMACENAMIENTO (API 650)
105
FIG. 3.14. DETALLE DE ZAPATA.
3.5.8. CÀLCULOS DE LA ESTRUCTURA INTERIOR.
1° Paso: CÁLCULO DE ÁREAS.
( )
2
2
22
1201210
46.3848
4
70
4
ftA
ft
D
A
Placa
F
=×=
===
ππ
2° Paso: NÚMERO DE PLACAS DEL FONDO.
PL´s3307.32
120
46.3848
A
A
PL´sNo.
PL
F
≅===
3° Paso: NÚMERO DE PLACAS DEL FONDO.
Placas3313.32
120
94.3855
120
94.3855
57.3cos
46.3848
cos
57.3
2
≅===
=
°
==
°=
T
T
F
T
A
A
ft
A
A
PL
θ
θ
4° Paso: PESO DE LAS PLACAS.
( ) lb
ft
lbWPL 184812128
ft
lb154W
=



=
=
DISENO Y CALCULO DE TANQUES DE ALMACENAMIENTO (API 650)
106
5° Paso: PESO TOTAL.
( ) lblbWTecho 60984331536 ==
6° Paso: PRESIÓN GENERADA.
2
2
25
81.15
94.3855
50688
ft
lbP
ft
lb
A
W
P
G
Techo
Techo
G
<
≅==
7° Paso: PROPONER VIGA SOPORTE.
lg7874.0
lg186.2
lg892.3
lg79.53
lg1891.0
ft
lb1210"
4
4
pr
pI
pr
pI
pAlma
IR
yy
yy
xx
xx
=
=
=
=
=
×
( )( )
2
lg
98.424
79.53
512381
p
lb
I
Mc
===σ
( )
Dis
Dis
p
lbSy
σσ
σ
<
=== 2
lg
21600360006.06.0
8° Paso: COLUMNAS.
( )
( )( )
TantoloPor
18.297
7874.0
123065.0
1.126
36000
102922 622
SRCc
r
KL
SR
Sy
E
Cc
yy
<
===
=
×
==
ππ
DISENO Y CALCULO DE TANQUES DE ALMACENAMIENTO (API 650)
107
( )
( )
( )( )
( )
ft
lb1210"IR
CargalariasatisfactoEsFa
220
80.2464
80.2464
7874.0200
1230
6.1
297.1823
102912
200
6.1
SR23
12
2
62
2
2
×
>∴
=
=
−=






−





 ×
=




−






=
REQ
REQ
F
LbF
LbFa
Lb
r
l
E
Fa
ππ
FIG. 3.15. DETALLE DE DIAGRAMAS DE MOMENTO Y CORTANTE
DISENO Y CALCULO DE TANQUES DE ALMACENAMIENTO (API 650)
108
3.5.9 CÁLCULO DE LOS TORNILLOS DEL CARTABON.
Los cartabones utilizados soportarán las carga de 315.33 lb que es generada por la viga de
soporte.
FIG. 3.16. ESQUEMA DEL CARTABON.
"
4
1=Barrenoφ
( ) lg
18.1935137.633.315
p
lbFdM ===
FIG. 3.17. DISTANCIAS ENTRE BARRENOS.
1° Paso: CÁLCULO POR CARGA.
( ) ( ) ( ) 222222
lg43.4743.3425.06
55.52
6
33.315
tronillosdeNo.
pyxr
lb
Fy
Ry
=+=+∑=∑
===
315.33 LB 315.33 LB
DISENO Y CALCULO DE TANQUES DE ALMACENAMIENTO (API 650)
109
2° Paso: CÁLCULO POR MOMENTO.
( )
( ) lb
r
Mx
Ry
lb
r
My
Rx
2.10
43.47
25.018.1935
94.139
43.47
43.318.1935
2
2
==
∑
=
==
∑
=
3° Paso: CÁLCULO DE CARGAS TOTALES.
( ) ( ) lbR
lbRy
lbRx
T
T
T
36.15375.6294.139
75.625.522.10
94.139
22
=+=
=+=
=
4° Paso: COMPROBACIÓN DEL DIÁMETRO.
( )
( )
lg074.0
17500
36.15322
p
P
D ===
ππτ
3.5.9.1 . CÁLCULO DE LA SOLDADURA.
FIG. 3.18. DIAGRAMA DE SOLDADURA DEL CARTABON.
DATOS:
DISENO Y CALCULO DE TANQUES DE ALMACENAMIENTO (API 650)
110
1° Paso: CÁLCULO DE Aw Y Sw.
( ) ( )
( ) ( ) 2
22
lg57.34
3
87.7
87.777.1
3
lg78.1987.7277.12
p
d
bdSw
PAw
SUP =+=+=
=+=
2° Paso: CÁLCULO DE W, Ws, Wb Y WT.
( ) ( ) lg·19.5897.5594.15
lg·97.55
57.34
18.1935
lg·94.15
78.19
33.315
22
plbW
plb
Sw
M
Ws
plb
Aw
V
Wb
T =+=
===
===
3° Paso: ESPESOR MÍNIMO DE SOLDADURA.
''
16
3
''
16
5
''
16
1''1006.6
9600
19.58 3
=
=
≅×==== −
SoldaduradeMinimoFileteelEntonces
tunTenemosComo
W
bw
PLACA
T
τ
3.5.9.2 . DIMENSIONAMIENTO Y ANÁLISIS DE LAS PLACAS DEL CARTABON.
lg87.7
lg77.1
lg
18.1935
33.315
lg
16
5
16
1
4
1
lg
4
1
pd
pb
p
lbM
lbV
pD
pD
Barreno
Tornillo
=
=
=
=
=+=
=
DISENO Y CALCULO DE TANQUES DE ALMACENAMIENTO (API 650)
111
CÁLCULO DEL MOMENTO DE LA PLACA 1
FIG. 3.19. PLACA DEL CARTABON.
DATOS:
( )
lg.1607
2
3125.0
94.433.315
"
4
1
"81.485.325.125.1
85.3
Psi17500
plbFdM
D
rh
r
Tornillo
=





+==
=
===
=
=τ
1° Paso: CÁLCULO POR CARGA.
( ) ( ) 22222
lg06.4"425.12
66.157
2
33.315
tronillosdeNo.
pyxr
lb
Fy
Ry
==+∑=∑
===
2° Paso: CÁLCULO POR MOMENTO.
( ) lb
r
Mx
Ry
lb
r
My
Rx
03.564
06.4
425.11607
0
2
2
==
∑
=
=
∑
=
315.33 LB
DISENO Y CALCULO DE TANQUES DE ALMACENAMIENTO (API 650)
112
FIG. 3.20. DISTANCIA ENTRE BARRENOS.
3° Paso: CÁLCULOS DE CARGAS TOTALES.
( ) lbR
lbRy
lbRx
T
T
T
69.72169.721
69.72103.56466.157
0
2
==
=+=
=
4° Paso: COMPROBACIÓN DEL DIÁMETRO.
( )
( )
"
4
1lg22.0
17500
69.72142
≅=== p
P
D
ππτ
CÁLCULO DEL MOMENTO EN LA PLACA 2.
FIG. 3.21. PLACA DEL CARTABON.
( )
lg635.2995
25.094.45.081.433.315
plbM
FdM
⋅=
++−==
315.33 lb
DISENO Y CALCULO DE TANQUES DE ALMACENAMIENTO (API 650)
113
CAPÍTULO 4
DIBUJOS DE
REFERENCIA
DISENO Y CALCULO DE TANQUES DE ALMACENAMIENTO (API 650)
114
DISENO Y CALCULO DE TANQUES DE ALMACENAMIENTO (API 650)
115
DISENO Y CALCULO DE TANQUES DE ALMACENAMIENTO (API 650)
116
DISENO Y CALCULO DE TANQUES DE ALMACENAMIENTO (API 650)
117
DISENO Y CALCULO DE TANQUES DE ALMACENAMIENTO (API 650)
118
DISENO Y CALCULO DE TANQUES DE ALMACENAMIENTO (API 650)
119
DISENO Y CALCULO DE TANQUES DE ALMACENAMIENTO (API 650)
120
CONCLUSIONES
DISENO Y CALCULO DE TANQUES DE ALMACENAMIENTO (API 650)
121
Los estudios realizados indican que el proyecto es técnicamente viable, ya que el lugar
donde será ubicado, posee todas las características necesarias para obtener resultados
positivos en el diseño y armado del tanque, y al mismo tiempo poder satisfacer las
necesidades del cliente.
El tanque diseñado en la presente tesis basado en el estándar API-650 cumple con las
necesidades; capacidad para 20, 000 barriles; trabajando bajo los rangos de temperatura
especificados sin ningún problema y cumpliendo con las normas bajo las cuales se rigen los
tanques de almacenamiento.
Al trabajar el diseño del tanque bajo normas utilizadas en el país y en el extranjero,
unificamos los resultados, colocando el tanque en competencia con cualquier otro diseño
que compañías ya establecidas pudieran diseñar.
La optimización del material fue seleccionado de acuerdo a la norma ASTM, mostrando en
la lista de materiales las placas a utilizar, pero recordando en este momento, que se pude
utilizar sobrante de cuerpo, fondo y techo para la construcción de placas de choque, rompe
remolinos y cartabones.
DISENO Y CALCULO DE TANQUES DE ALMACENAMIENTO (API 650)
122
BIBLIOGRAFÍA
DISENO Y CALCULO DE TANQUES DE ALMACENAMIENTO (API 650)
123
1. DISEÑO Y CÁLCULO DE TANQUES DE ALMACENAMIENTO.
DYCTA.
www.leon.com.mx
2.-NORMA A.P.I.
3. CÓDIGO A.S.M.E.
4. MANUAL DE RECIPIENTES A PRESIÓN: DISEÑO Y CÁLCULO.
Maguesy Eugene F.
Edit. LIMUSA.
DISENO Y CALCULO DE TANQUES DE ALMACENAMIENTO (API 650)
124
ANEXOS
DISENO Y CALCULO DE TANQUES DE ALMACENAMIENTO (API 650)
125
A. LISTA DE MATERIALES.
No Descripción Parte Material Cantidad
1 PLACA 10´x 12´x 6/16” CUERPO SA-285-C 18
2 PLACA 10´x 11.10´x 6/16” CUERPO SA-285-C 1
3 PLACA 10´x 12´x 5/16” CUERPO SA-285-C 18
4 PLACA 10´x 11.10´x 5/16” CUERPO SA-285-C 1
5 PLACA 10´x 12´x 1/4” CUERPO SA-285-C 18
6 PLACA 10´x 11.10´x 1/4” CUERPO SA-285-C 1
7 PLACA 10´x 12´x 3/16” FONDO SA-285-C 32
8 PLACA 10´x 12´x 1/2” TECHO SA-285-C 35
9 BRIDA Ø24” Nom.-150#R.F.S.O CUERPO SA-181-I 1
10 TUBO Ø 24” Nom.Ced.40 CUERPO SA-53-B 1
11 BRIDA Ø24” Nom.-150#R.F.S.O TECHO SA-181-I 1
12 TUBO Ø24” Nom.Ced.40 TECHO SA-53-B 1
13 BRIDA Ø4” Nom.-150#R.F.S.O CUERPO SA-285-C 1
14 TUBO Ø4” Nom.Ced.40 CUERPO SA-53-B 1
15 BRIDA Ø4” Nom.-150#R.F.S.O CUERPO SA-285-C 1
16 TUBO Ø4” Nom.Ced.40 CUERPO SA-53-B 1
17 BRIDA Ø3” Nom.-150#R.F.S.O CUERPO SA-285-C 1
18 TUBO Ø3”Nom.Ced.40 CUERPO SA-53-B 1
19 TUBO Ø6”Nom.Ced.40 TECHO SA-53-B 1
20 CODO Ø6”Nom.Ced.40 BOQUILLA N-6 SA-53-B 2
21 BRIDA Ø4”Nom.-150#R.F.S.O CUERPO SA-285-C 1
22 TUBO Ø4”Nom.Ced.40 CUERPO SA-53-B 1
23 PLACA ¾” x 6” x 18” PLACA CHOQUE
(N-3)
SA-285-C 1
24 REDONDO Ø3/16” x 2” x 1/16” PLACA CHOQUE
(N-3)
SA-36 4
25 VARILLA Ø1/4” DIQUE SA-36 6
26 VARILLA Ø1/4” DIQUE SA-36 3
27 ANGULO 4” x 4” x 5/8” TECHO SA-36 4200
28 COLUMNA IR 102 x 12” lb/ft TECHO SA-36 12
29 VIGAS IR 102” x 12” lb/ft TECHO SA-36 5
30 LARGERO INT. C 152 x 15.63 kg/m TECHO SA-36 20
31 LARGERO EXT. C 152 x 15.63 kg/m TECHO SA-36 40
32 PLACA UNION PL 10.6” x 5.11” x ¼” LARGUERO EXT. SA-36 40
33 PLACA BASE PL 30.39” x 30.39” x ¼” COLUMNA SA-36 6
34 PLACA BASE C 254 x 29.59 kg/m COLUMNA SA-36 18
35 PLACA SOPORTE PL 13.8” x 10.6” x
¼”
COLUMNA
CENTRAL
SA-36 1
36 PLACA SOPORTE PL 9.84” x ¼” COLUMNA
CENTRAL
SA-36 1
37 PLACA SOPORTE PL 110.4” x 12” x
¼”
COLUMNA
LATERAL
SA-36 5
38 CARTABON PL 1.77” x 7.87” X 7/16” COLUMNA SA-285-C 36
DISENO Y CALCULO DE TANQUES DE ALMACENAMIENTO (API 650)
126

calculo de tanque

  • 1.
    DISENO Y CALCULODE TANQUES DE ALMACENAMIENTO (API 650) 1 INSTITUTOPOLITECNICONACIONAL ESCUELASUPERIORDEINGENIERIAMECANICA YELECTRICA UNIDADAZCAPOTZALCO TESI S CURRI CULAR QUE PARA OBTENER EL TITULO DE : INGENIERO MECANICO P R E S E N T A N : GUILLERMOGUSTAVO CARREÑOVAZQUEZ JOSEFERNANDO HERNANDEZLUNA MEXICO.DF. 2008 “DISEÑO Y CALCULO DE UN TANQUE DE ALMACENAMIENTO PARA NAFTA CON DIAMETRO DE 70ft X 30ft DE ALTURA. BAJO LA NORMA API 650”
  • 2.
    DISENO Y CALCULODE TANQUES DE ALMACENAMIENTO (API 650) 2 JUSTIFICACIÓN. Debido al aumento de la industria petrolera ha exigido la construcción de tanques de almacenamiento atmosférico tipo cilíndrico con una operación confiable, eficiente y segura durante su vida útil regidos por la norma API-650. OBJETIVO. El presente trabajo tiene por objeto describir, de una manera práctica y sencilla, el método diseño, montaje y construcción de tanques cilíndricos verticales para almacenamiento de combustible apropiados para obtener óptimos resultados y así logra una correcta operación de los mismos. Por lo que el procedimiento aplica para: tanques de acero, que descansan sobre una base de cimentación, para almacenamiento de crudo, que llenen los requisitos de seguridad, que sean económicos, y que puedan construirse en cualquier tamaño para satisfacer la demanda de la industria y esta orientado para que los diseñadores, constructores y montadores obtengan resultados satisfactorios dentro de las tolerancias permisibles para este tipo de trabajo y que indica la normatividad descrita en el código A.P.I. 650.
  • 3.
    DISENO Y CALCULODE TANQUES DE ALMACENAMIENTO (API 650) 3 INTRODUCCIÓN. La expansión de la industria petrolera ha exigido la construcción de tanques de almacenamiento atmosférico tipo cilíndrico, en los que se reciben los diferentes productos derivados del petróleo así como las materias primas que se procesan en refinerías o complejos petroquímicos, requiriendo de una avanzada tecnología que permita garantizar una operación confiable, eficiente y segura durante el tiempo de servicio para el cual se ha diseñado el tanque. Para lograr lo anterior se requiere que el diseño y procedimientos de fabricación y montaje de tanques de almacenamiento se apeguen a las normas y códigos aplicables que permita llevar un control de calidad que asegure la correcta geometría y funcionamiento del tanque durante su operación y vida útil. Los tanques de almacenamiento empleados en la industria petrolera están gobernados, desde su diseño, fabricación, montaje, pruebas y operación por el código API-650 que contiene todos los aspectos que deben cumplirse tanto por el diseñador como por los fabricantes, montadores y operadores.
  • 4.
    DISENO Y CALCULODE TANQUES DE ALMACENAMIENTO (API 650) 4 CONTENIDO. CAPÍTULO. 1. GENERALIDADES. 1.1.- Definición de conceptos. 1.2.- Tipos de tanques de almacenamiento. 1.3.- Tipos de techos. 1.4.- Materiales a emplear. 1.5.- Soldadura en tanques de almacenamiento. 1.6.- Boquillas en tanques de almacenamiento. 1.7.- Entradas de hombre y accesorios. 1.8.- Escaleras y plataformas. 2. NORMATIVIDAD. 2.1.- Códigos aplicables. 2.2.- Códigos A.S.T.M. 2.3.- Códigos A.S.M.E. 2.4.- Reglamento de la N.F.P.A. 2.5.- Standard A.P.I. 650. 2.6.- Normas de seguridad y medio ambiente. 3. CÁLCULOS. 3.1.- Consideraciones de diseño. 3.2.- Diseño y cálculo del fondo. 3.3.- Diseño y cálculo del cuerpo. 3.4.- Diseño y cálculo del techo. 3.5.- Memoria de cálculo. 4. DIBUJOS DE REFERENCIA. 4.1.- Arreglo general 4.2.- Detalle de Columnas 4.3.- Detalle de boquillas 4.4.- Detalle del cuerpo 4.5.- Detalle del techo 4.6.- Detalle del fondo
  • 5.
    DISENO Y CALCULODE TANQUES DE ALMACENAMIENTO (API 650) 5 ÍNDICE CAPÍTULO. 1.- GENERALIDADES ___________________________________________ 1.1.- Definición de conceptos______________________________ 1.2.- Tipos de tanques de almacenamiento____________________ 1.3.- Tipos de techos_____________________________________ 1.3.1.- Techo fijo_________________________________________ 1.3.2.- Techo flotante______________________________________ 1.3.3.- Sin techo__________________________________________ 1.4.- Materiales a emplear ________________________________ 1.4.1.- Materiales para soldadura_____________________________ 1.5.- Soldadura en tanques de almacenamiento ________________ 1.5.1.- Juntas verticales del cuerpo ___________________________ 1.5.2.- Juntas horizontales__________________________________ 1.5.3.- Soldaduras de fondo_________________________________ 1.5.3.1.- Soldadura a traslape _________________________________ 1.5.3.2.- Soldadura a tope____________________________________ 1.5.4.- Juntas de la placa anular de fondo ______________________ 1.5.5.- Juntas del cuerpo-fondo ______________________________ 1.5.6.- Juntas para anillos anulares ___________________________ 1.5.7.- Juntas del techo y perfil de coronamiento ________________ 1.5.8.- Recomendaciones para procedimientos de soldaduras ______ 1.6.- Boquillas en tanques de almacenamiento_________________ 1.6.1.- Boquillas en la pared del tanque________________________ 1.6.2.- Boquillas en el techo ________________________________ 1.7.- Entradas de hombre y accesorios_______________________ 1.7.1.- Entradas de hombre horizontales y verticales_____________ 1.7.2.- Venteos___________________________________________ 1.7.3.- Drenes y sumideros _________________________________ 1.8.- Escaleras y plataformas ______________________________ 1.8.1.- Requerimientos para plataformas y pasillos_______________ 1.8.2.- Requerimientos para escaleras_________________________ 2.- NORMATIVIDAD ____________________________________________ 2.1.- Códigos aplicables __________________________________ 2.1.1.- Normas del instituto americano del petróleo ______________ 2.1.2.- Otras normas aplicables ______________________________ 2.2.- Códigos A.S.T.M.___________________________________ 2.3.- Códigos A.S.M.E.___________________________________ 2.4.- Reglamento de la N.F.P.A.____________________________ 2.5.- Standard A.P.I. 650__________________________________ Páginas. 8 9 10 10 11 11 11 11 13 14 16 17 17 17 17 18 18 19 20 21 22 22 28 30 30 31 31 43 44 44 46 47 47 48 49 49 50 50
  • 6.
    DISENO Y CALCULODE TANQUES DE ALMACENAMIENTO (API 650) 6 CAPÍTULO. Páginas. 2.5.1.- Apartados empleados________________________________ 2.5.1.1.- Materiales_________________________________________ 2.5.1.2.- Montaje___________________________________________ 2.5.1.3.- Soldadura _________________________________________ 2.5.1.4.- Radiografiado de soldadura ___________________________ 2.5.1.5.- Piso______________________________________________ 2.5.1.6.- Anillos de la envolvente______________________________ 2.5.1.7.- Esfuerzos permisibles________________________________ 2.5.1.8.- Conexiones y accesorios______________________________ 2.5.1.9.- Techo ____________________________________________ 2.5.1.10.- Baranda de techo ___________________________________ 2.5.1.11.- Plataforma ________________________________________ 2.5.1.12.- Pintura ___________________________________________ 2.5.1.13.- Protección por sobrellenado___________________________ 2.5.1.14.- Protección catódica__________________________________ 2.5.1.15.- Elemento receptor de rayo ____________________________ 2.6.- Normas de seguridad y medio ambiente _________________ 2.6.1.- Normas de seguridad ________________________________ 2.6.2.- Normas ambientales_________________________________ 3.- CÁLCULOS _________________________________________________ 3.1.- Consideraciones de diseño ___________________________ 3.2.- Diseño y cálculo del fondo____________________________ 3.3.- Diseño y cálculo del cuerpo___________________________ 3.3.1.- Cálculo de espesores del cuerpo por el método de un pie ____ 3.4.- Diseño y cálculo del techo ____________________________ 3.4.1.- Diseño y cálculo de techo tipo domo ___________________ 3.5.- Memoria de cálculo _________________________________ 3.5.1.- Cálculo de espesores ________________________________ 3.5.2.- Cálculo de placas de cuerpo __________________________ 3.5.3.- Cálculo de placas de fondo y techo _____________________ 3.5.4.- Cálculo de refuerzos de apertura _______________________ 3.5.4.1.- Cálculo de boquilla N-1 _____________________________ 3.5.4.2.- Cálculo de boquilla N-2 _____________________________ 3.5.4.3.- Cálculo de boquilla N-3 _____________________________ 3.5.4.4.- Cálculo de boquilla N-4 _____________________________ 3.5.4.5.- Cálculo de boquilla N-5 _____________________________ 3.5.4.6.- Cálculo de boquilla N-6 _____________________________ 3.5.4.7.- Cálculo de boquilla N-7 _____________________________ 3.5.5.- Cálculo de placa de choque ___________________________ 3.5.5.1.- Análisis de soldadura _______________________________ 3.5.6.- Selección del rompe vortex ___________________________ 51 51 52 52 52 52 53 53 53 54 54 54 55 55 55 55 56 56 57 58 59 59 61 62 63 63 64 65 67 69 72 72 76 79 82 86 89 92 95 97 98
  • 7.
    DISENO Y CALCULODE TANQUES DE ALMACENAMIENTO (API 650) 7 CAPÍTULO. 3.5.7.- Cálculo del dique de protección________________________ 3.5.7.1.- Diseño del dique de proyección________________________ 3.5.8.- Cálculo de la estructura interior _______________________ 3.5.9.- Cálculos de los tornillos del cartabón ___________________ 3.5.9.1.- Cálculo de la soldadura ______________________________ 3.5.9.2.- Dimensionamiento y análisis de las placas del cartabón _____ 4.- DIBUJOS DE REFERENCIA ___________________________________ 4.1.- Arreglo general _____________________________________ 4.2.- Detalle de Columnas _________________________________ 4.3.- Detalle de boquillas__________________________________ 4.4.- Detalle del cuerpo ___________________________________ 4.5.- Detalle del techo ____________________________________ 4.6.- Detalle del fondo ___________________________________ 98 99 103 106 107 109 111 112 113 114 115 116 117
  • 8.
    DISENO Y CALCULODE TANQUES DE ALMACENAMIENTO (API 650) 8 CAPÍTULO 1 GENERALIDADES.
  • 9.
    DISENO Y CALCULODE TANQUES DE ALMACENAMIENTO (API 650) 9 1.1. DEFINICIÓN DE CONCEPTOS A continuación, definiremos los conceptos más empleados en la presente investigación, con la finalidad de facilitar su comprensión: BOQUILLA.- Orificio practicado en un tanque para la entrada y/o salida de un fluido o la instalación de un instrumento de medición, generalmente son bridadas o roscadas. BRIDA.- Accesorio para acoplamiento de tuberías, que facilita el armado y desarmado de las mismas. CARGA HIDROSTÁTICA.- La presión ejercida por un líquido en reposo. CARGA MUERTA.- La fuerza debida al peso propio de los elementos a considerar. CARGA VIVA.- La fuerza ejercida por cuerpos externos, tales como: nieve, lluvia, viento, personas y/o objetos en tránsito, etc. CÓDIGO.- Conjunto de mandatos dictados por una autoridad competente. CORROSIÓN.- Desgaste no deseado, originado por la reacción química entre el fluido contenido y/o procesado y el material de construcción del equipo en contacto con el mismo. EFICIENCIA DE JUNTAS SOLDADAS.- Valor numérico dado por el Código o Estándar correspondiente (Grado de Confiabilidad). ESTÁNDAR.- Sugerencias para la fabricación y diseño, originadas por la experiencia. NORMA.- Conjunto de reglas para el dimensionamiento y cálculo de accesorios. PRESIÓN ATMOSFÉRICA.- Es la producida por el peso del aire y su valor depende de la altura del sitio indicado sobre el nivel del mar. PRESIÓN DE DISEÑO.- Es la presión manométrica considerada para efectuar los cálculos. PRESIÓN DE OPERACIÓN.- Presión manométrica a la cual estará sometido el tanque en condiciones normales de trabajo.
  • 10.
    DISENO Y CALCULODE TANQUES DE ALMACENAMIENTO (API 650) 10 PRESIÓN DE PRUEBA.- Valor de la presión manométrica que sirva para realizar la prueba hidrostática o neumática. RECIPIENTE.- Depósito cerrado que aloja un fluido a una presión manométrica diferente a la atmosférica, ya sea positiva o negativa. TANQUE.- Depósito diseñado para almacenar o procesar fluidos, generalmente a presión atmosférica o presión internas relativamente bajas. 1.2. TIPOS DE TANQUES DE ALMACENAMIENTO. Los tanques de almacenamiento se usan como depósitos para contener una reserva suficiente de algún producto para su uso posterior y/o comercialización. Los tanques de almacenamiento, se clasifican en: Cilíndricos Horizontales. Cilíndricos Verticales de Fondo Plano. Los Tanques Cilíndricos Horizontales, generalmente son de volúmenes relativamente bajos, debido a que presentan problemas por fallas de corte y flexión. Por lo general, se usan para almacenar volúmenes pequeños. Los Tanques Cilíndricos Verticales de Fondo Plano nos permiten almacenar grandes cantidades volumétricas con un costo bajo. Con la limitante que solo se pueden usar a presión atmosférica o presiones internas relativamente pequeñas. Estos tipos de tanques se clasifican en: De techo fijo. De techo flotante. Sin techo. En esta obra sólo trataremos los tanques de techo fijo (autosoportado y soportado por estructura) y tanques sin techo. Los de techo flotante no se tratarán a fondo debido a que el diseño de los sistemas de flotación están patentados y solamente los titulares de esas patentes pueden divulgar información al respecto. 1.3. TIPOS DE TECHOS.
  • 11.
    DISENO Y CALCULODE TANQUES DE ALMACENAMIENTO (API 650) 11 De acuerdo al estándar A.P.I. 650, clasificaremos los tanques de acuerdo al tipo de techo, lo que nos proporcionará el servicio recomendable para éstos. 1.3.1. TECHO FIJO. Se emplean para contener productos no volátiles o de bajo contenido de ligeros (no inflamables) como son: agua, diesel, asfalto, petróleo crudo, etc. Debido a que al disminuir la columna del fluido, se va generando una cámara de aire que facilita la evaporación del fluido, lo que es altamente peligroso. Los techos fijos se clasifican en: Techos autosoportados. Techos soportados. 1.3.2. TECHO FLOTANTE. Se emplea para almacenar productos con alto contenido de volátiles como son: alcohol, gasolinas y combustibles en general. Este tipo de techo fue desarrollado para reducir o anular la cámara de aire, o espacio libre entre el espejo del líquido y el techo, además de proporcionar un medio aislante para la superficie del líquido, reducir la velocidad de transferencia de calor al producto almacenado durante los periodos en que la temperatura ambiental es alta, evitando así la formación de gases (su evaporación), y consecuentemente, la contaminación del ambiente y, al mismo tiempo se reducen los riesgos al almacenar productos inflamables. 1.3.3. SIN TECHO. Se usan para almacenar productos en los cuales no es importante que éste se contamine o que se evapore a la atmósfera como el caso del agua cruda, residual, contra incendios, etc. El diseño de este tipo de tanques requiere de un cálculo especial del anillo de coronamiento. 1.4. MATERIALES A EMPLEAR. Para el mejor diseño, cálculo y manufactura de tanques de almacenamiento es importante seleccionar el material adecuado dentro de la variedad de aceros que existen en el
  • 12.
    DISENO Y CALCULODE TANQUES DE ALMACENAMIENTO (API 650) 12 mercado, por lo que a continuación listamos los materiales más usados con su aplicación y la tabla 1.1. muestra la agrupación de los mismos. ESTÁNDAR A.S.T.M. (AMERICAN SOCIETY FOR TESTING AND MATERIALS). A-36.- ACERO ESTRUCTURAL. Sólo para espesores iguales o menores de 38 mm. (1 ½ pulg.). Este material es aceptable y usado en los perfiles, ya sean comerciales o ensamblados de los elementos estructurales del tanque. A-131.- ACERO ESTRUCTURAL. GRADO A para espesor menor o igual a 12.7 mm (1/2 pulg.) GRADO B para espesor menor o igual a 25.4 mm. (1 pulg.) GRADO C para espesores iguales o menores a 38 mm. (1-1/2 pulg.) GRADO EH36 para espesores iguales o menores a 44.5 mm. (1-3/4 pulg.) A-283.- PLACAS DE ACERO AL CARBÓN CON MEDIO Y BAJO ESFUERZO A LA TENSIÓN. GRADO C Para espesores iguales o menores a 25 mm. (1 pulg.). Este material es el más socorrido, porque se puede emplear tanto para perfiles estructurales como para la pared, techo, fondo y accesorios del tanque. A-285.- PLACA DE ACERO AL CARBÓN CON MEDIO Y BAJO ESFUERZO A LA TENSIÓN. GRADO C Para espesores iguales o menores de 25.4 mm. (1 pulg.). Es el material recomendable para la construcción del tanque (cuerpo, fondo, techo y accesorios principales), el cual no es recomendable para elementos estructurales debido a que tiene un costo relativamente alto comparado con los anteriores. A-516.- PLACA DE ACERO AL CARBÓN PARA TEMPERATURAS DE SERVICIO MODERADO. GRADOS 55, 60, 65 y 70. Para espesores iguales o menores a 38mm. (1-1/2 pulg.). Este material es de alta calidad y, consecuentemente, de un costo elevado, por lo que se recomienda su uso en casos en que se requiera de un esfuerzo a la tensión alta, que justifique el costo. A-53.- GRADOS A Y B. PARA TUBERÍA EN GENERAL. A-106.-GRADOS A Y B. TUBOS DE ACERO AL CARBÓN SIN COSTURA PARA SERVICIOS DE ALTA TEMPERATURA.
  • 13.
    DISENO Y CALCULODE TANQUES DE ALMACENAMIENTO (API 650) 13 En el mercado nacional, es fácil la adquisición de cualquiera de estos dos materiales, por lo que puede usarse indistintamente, ya que ambos cumplen satisfactoriamente con los requerimientos exigidos por el estándar y la diferencia no es significativa en sus propiedades y costos. A-105.- FORJA DE ACERO AL CARBÓN PARA ACCESORIOS DE ACOPLAMIENTO DE TUBERÍAS. A-181.- FORJA DE ACERO AL CARBÓN PARA USOS EN GENERAL. A-193.- GRADO B7. MATERIAL PARA TORNILLOS SOMETIDOS A ALTA TEMPERATURA Y DE ALTA RESISTENCIA, MENORES A 64MM. (2-1/2 (PULG.), DE DIÁMETRO. A-194.- GRADO 2H. MATERIAL PARA TUERCAS A ALTA TEMPERATURA Y DE ALTA RESISTENCIA. A-307.- GRADO B. MATERIAL DE TORNILLOS Y TUERCAS PARA USOS GENERALES. 1.4.1. MATERIALES PARA SOLDADURA. Para el soldado de materiales con un esfuerzo mínimo a la tensión menor de 5625 Kg /cm2 (80000 lb/pulg2 ), los electrodos de arco manual deben estar hechos de materiales cuya clasificación sea AWS: E-60XX y E70XX. Para soldado de materiales con un esfuerzo mínimo a la tensión de 5625- 5976 Kg /cm2 (80000-85000 lb/pulg2 ), el material del electrodo de arco manual debe ser E80XX-CX. También podrán ser usados otros materiales que sean recomendados por otros Estándares, Códigos o Normas como: A.S.T.M., A.P.I., C.S.A. (Canadian Standar for Standardization). TABLA 1.1. GRUPOS DE MATERIALES.
  • 14.
    DISENO Y CALCULODE TANQUES DE ALMACENAMIENTO (API 650) 14 TABLA 1.1. GRUPOS DE MATERIALES (CONTINUACIÓN). NOTAS: Todo lo especificado, nombrado y referido por A.S.T.M. excepto G40.21 que está especificado por el Estándar de la Asociación Canadiense, Re 42, Fe 44 y Fe 52 especificado y contenido en ISO 630 y los grados 37, 41 y 44 especificados por el Estándar Nacional Americano. 1. Debe ser semimuerto y muerto. 2. Espesor menor o igual a 12.7 mm (1/2 pulg.). 3. Máximo contenido de magnesio de 1.5%. 4. Espesor menor o igual a 19.5 mm (3/4 pulg.) cuando el rolado es controlado. 5. Contenido de manganeso de 0.8% a 1.2%, haciendo análisis de calor en todos los espesores. 6. Espesores menores o iguales a 25.4 mm (1 pulg.). 7. Debe ser muerto. 8. Debe ser semimuerto y de grano fino. 9. Debe ser normalizado.
  • 15.
    DISENO Y CALCULODE TANQUES DE ALMACENAMIENTO (API 650) 15 10. Debe ser tratado térmicamente, con un máximo de carbón de 0.02% y un máximo de manganeso de 1.6%. 1.5. SOLDADURAS EN TANQUES DE ALMACENAMIENTO. Al efectuar el diseño se deberán preparar procedimientos específicos de soldadura para cada caso. Los procedimientos de soldadura serán presentados para su aprobación y estudio antes de aplicar cualquier cordón de soldadura para cada caso en particular. Este procedimiento debe indicar la preparación de los elementos a soldar, así como la temperatura a la que se deberá precalentar tanto el material de aporte (electrodo, si lo hubiera), como los materiales a unir. Todas las soldaduras serán aplicadas mediante el proceso de arco eléctrico B sumergido, arco con gas inerte o electrodos recubiertos. Estos procesos pueden ser manuales o automáticos. En cualquiera de los dos casos, deberán tener penetración completa, eliminando la escoria dejada al aplicar un cordón de soldadura antes de aplicar sobre éste el siguiente cordón. Las soldaduras típicas entre elementos, se muestran en las figuras 1.1. y 1.2. La cara ancha de las juntas en “V” y en “U” podrán estar en el exterior o en el interior del cuerpo del tanque dependiendo de la facilidad que se tenga para realizar el soldado de la misma. El tanque deberá ser diseñado de tal forma que todos los cordones de soldadura sean verticales, horizontales y paralelos, para el cuerpo y fondo, en el caso del techo, podrán ser radiales y/o circunferenciales.
  • 16.
    DISENO Y CALCULODE TANQUES DE ALMACENAMIENTO (API 650) 16 FIG. 1.1. DETALLES TIPICOS DE SOLDADURAS LONGITUDINALES.
  • 17.
    DISENO Y CALCULODE TANQUES DE ALMACENAMIENTO (API 650) 17 FIG. 1.2. DETALLES TIPÍCOS DE SOLDADURAS CIRCUNFERENCIALES. 1.5.1. JUNTAS VERTICALES DEL CUERPO. A) Las juntas verticales deberán ser de penetración y fusión completa, lo cual se podrá lograr con soldadura doble, de tal forma que se obtenga la misma calidad del metal depositado en el interior y el exterior de las partes soldadas para cumplir con los requerimientos del procedimiento de soldaduras. B) Las juntas verticales no deberán ser colineales, pero deben ser paralelas entre sí en una distancia mínima de 5 veces el espesor de la placa (5t).
  • 18.
    DISENO Y CALCULODE TANQUES DE ALMACENAMIENTO (API 650) 18 1.5.2. JUNTAS HORIZONTALES. A) Las juntas horizontales, deberán ser de penetración y fusión completa, excepto la que se realiza entre el ángulo de coronamiento y el cuerpo, la cual puede ser unida por doble soldadura a traslape, cumplimiento con el procedimiento de soldadura. B) A menos que otra cosa sea especificada, la junta a tope con o sin bisel entre las placas del cuerpo, deberán tener una línea de centros o fibra media común. 1.5.3. SOLDADURA DEL FONDO. 1.5.3.1. SOLDADURAS A TRASLAPE. Las placas del fondo deberán ser rectangulares y estar escuadradas. El traslape tendrá un ancho de, por lo menos, 32mm. (1-1/4 pulg.). Para todas las juntas las uniones de dos o tres placas, como máximo que estén soldadas, guardarán una distancia mínima de 305mm. (1 pie) con respecto a cualquier otra junta y/o a la pared del tanque. Cuando se use placa anular, la distancia mínima a cualquier cordón de soldadura del interior del tanque o del fondo, será de 610mm. (2 pie). Las placas del fondo serán soldadas con un filete continuo a lo largo de toda la unión. A menos que se use un anillo anular, las placas del fondo llevarán bayonetas para un mejor asiente de la placa del cuerpo que son apoyadas sobre el fondo de acuerdo a la siguiente figura 1.3. 1.5.3.2. SOLDADURAS A TOPE. Las placas del fondo deberán tener sus cantos preparados para recibir el cordón de soldadura, ya sea escuadrando éstas o con biseles en “V”. Si se utilizan biseles en “V”, la raíz de la abertura no deberá ser mayor a 6.3 mm. (1/4 pulg). Las placas del fondo deberán tener punteada una placa de respaldo de 3.2 mm. (1/8 pulg) de espesor o mayor que la abertura entre placas, pudiéndose usar un separador para conservar el espacio entre las placas (Ver figura 1.3). Cuando se realicen juntas entre tres placas en el fondo del tanque, éstas deberán conservar una distancia mínima de 305 mm. (1 pie) entre sí y/o con respecto a la pared del tanque.
  • 19.
    DISENO Y CALCULODE TANQUES DE ALMACENAMIENTO (API 650) 19 FIG. 1.3. DETALLES TÍPICOS DE SOLDADURA DEL FONDO. 1.5.4. JUNTAS DE LA PLACA ANULAR DEL FONDO. La junta radial del fondo de la placa anular deberá ser soldada con las mismas características de la soldadura a tope y tener penetración y fusión completa. El material de la placa anular será de las mismas características que el material del fondo. 1.5.5. JUNTA DEL CUERPO-FONDO. A) Para espesores de placa del fondo o de placas anulares que sean de 12.7mm. (1/2 pulg.) o menores son incluir corrosión, la unión entre el fondo y el canto de las placas del cuerpo tendrá que ser hecha con un filete continuo de soldadura que descanse de ambos lados de la placa del cuerpo (Ver Figura 1.4). El tamaño de cada cordón, sin tomar en cuenta la corrosión permisible, no será mayor que 12.7mm. (1/2”) y no menor que el espesor nominal de la más delgada de las placas a unir, o menor que los valores de la tabla siguiente. TABLA 1.2. VALORES MINIMOS DE CORDON. MAXIMO ESPESOR DEL TANQUE (mm). DIMENSION MINIMA DEL FILETE (mm). 4.76 > 4.76 - 19.05 > 19.05 - 31.75 > 31.75 - 44.45 4.76 6.35 7.93 9.52
  • 20.
    DISENO Y CALCULODE TANQUES DE ALMACENAMIENTO (API 650) 20 B) Para placas anulares de un espesor mayor de 12.7 mm. (1/2 pulg), la junta soldada deberá ser de una dimensión tal que la pierna del filete o la profundidad del bisel más la pierna del filete de una soldadura combinada sean del mismo espesor que la placa anular. C) El filete entre cuerpo y fondo para materiales en los grupos IV, IVA, V ó VI debe realizarse con un mínimo de dos cordones de soldadura (Ver Tabla 1.1). FIG. 1.4. PREPARACIÓN DE MATERIAL A SOLDAR ENTRE CUERPO-FONDO. 1.5.6. JUNTAS PARA ANILLOS ANULARES. A) Las soldaduras para unir secciones anulares que conformen todo el anillo tendrán penetración y fusión completa. B) Se usarán soldaduras continuas para todas las juntas que por su localización puedan ser objeto de corrosión por exceso de humedad o que puedan causar oxidaciones en la pared del tanque.
  • 21.
    DISENO Y CALCULODE TANQUES DE ALMACENAMIENTO (API 650) 21 1.5.7. JUNTAS DEL TECHO Y PERFIL DE CORONAMIENTO. A) Las placas del techo deberán soldarse a traslape por el lado superior con un filete continuo igual al espesor de las mismas (Ver Figura 1.5). B) Las placas del techo serán soldadas al perfil de coronamiento del tanque con un filete continuo por el lado superior únicamente y el tamaño del filete será igual al espesor más delgado (Ver Figura 1.5). FIG. 1.5. DETALLES TÍPICOS DE SOLDADURA DEL TECHO. C) Las secciones que conformen el perfil de coronamiento para techos autosoportados estarán unidas por cordones de soldadura que tengan penetración y fusión completa.
  • 22.
    DISENO Y CALCULODE TANQUES DE ALMACENAMIENTO (API 650) 22 D) Como una opción del fabricante para techos autosoportados, del tipo domo y sombrilla, las placas perimetrales del techo podrán tener un doblez horizontal, a fin de que descansen las placas en el perfil de coronamiento. 1.5.8. RECOMENDACIONES PARA PROCEDIMIENTOS DE SOLDADURAS. Uno de los factores determinantes para el proceso de soldadura son las dilataciones térmicas porque, al soldar las placas de acero del fondo, casco y techo, se presentan deformaciones, debido a que el incremento de temperatura es del orden de 2204 °C a 13870°C (4000 °F a 2500 °F) dependiendo del proceso que se utilice. Como el coeficiente de expansión o contracción térmica del material es del orden de 0.01651 mm para cada 38°C (100°F) se encogerá 1.6 mm. (1/16 pulg). Por tanto, si sumamos estas contracciones al diámetro del fondo para tanques de grandes dimensiones o las que se requieran en el casco de un tanque, la magnitud ya es considerable. Debido a ello, nos vemos obligados a considerar un procedimiento de soldadura que permita evitar las deformaciones que se presentan, recomendando que la secuencia de soldado se inicie en el centro del tanque y avance hacia la periferia del fondo, soldando juntas longitudinales y, a continuación, las placas del anillo anular, si éstas existieran, dejando pendientes las soldaduras transversales del fondo, mismas que serán terminadas cuando se haya avanzando en las soldaduras del primer anillo del casco. Las pequeñas deformaciones que se permitan en el primer anillo deben ser las mínimas dentro de las tolerancias permitidas por el estándar, de lo contrario, se reflejarán en los últimos anillos, pero amplificando más o menos diez veces, por lo que las soldaduras verticales del casco deben ser alternadas y por el procedimiento de retroceso para obtener una verticalidad y circularidad aceptable. El procedimiento debe llevar un estricto control de las dimensiones del casco, a medida que se van montando las placas de cada anillo, pero tomando en cuenta que las últimas soldaduras de cierre deberán ser siempre a una hora tal del día que se tenga la misma temperatura medida directamente sobre la superficie del material, a fin de controlar la expansión térmica que en grandes tanques puede llegar a ser del orden de 38mm. (1 ½ pulg). Por supuesto que se usarán todos los herrajes que requiera el procedimiento con el objeto de mantener correctas las dimensiones y llevando un registro minucioso de las mismas para decidir, en el momento, oportuno, las correcciones pertinentes, debido a alguna desviación fuera de tolerancia. También se recomienda dejar una placa del primer anillo sin soldar para ser utilizada como puerta, la cual sólo se removerá en caso absolutamente necesario para acceso de material o equipo, con la condición de que esté hecha la primera soldadura horizontal, excepto tres pies, mínimo a cada lado de dicha puerta y que lateralmente se tengan instaladas canales de refuerzo de 304.8 mm (12 pulg) de longitud. Para su terminación, se seguirá el método explicado para las placas principales.
  • 23.
    DISENO Y CALCULODE TANQUES DE ALMACENAMIENTO (API 650) 23 Para aplicar la soldadura de filete entre el primer anillo y la placa anular o la placa del fondo, se debe precalentar una longitud de 304.8 mm. (12 pulg.) hacia arriba del primer anillo a una temperatura de 100 °C a 150 °C. Las soldaduras de traslape de las placas del techo sólo se harán por la parte exterior y solamente donde existan zonas de flexión se recomendarán puntos de soldadura a cada 304.8 mm. (12 pulg.) en su parte interior, porque la doble soldadura es más perjudicial que benéfica, ya que, por el tipo de soldadura a realizar (posición sobre cabeza), será muy difícil evitar el socavado que reduce el espesor de la placa. Con el fin de verificar si una soldadura ha sido bien aplicada, se utilizarán varias formas de inspección. Entre ellas están el radiografiado, la prueba de líquidos penetrantes y, en ocasiones, el ultrasonido. La prueba más comúnmente utilizada es la de radiografiado, la cual puede ser total o por puntos. También es necesario realizar pruebas de dureza en las soldaduras horizontales y verticales que se efectúan durante la construcción del tanque y, muy especialmente, en las soldaduras reparadas, así como también en las zonas cercanas a estos cordones. 1.6. BOQUILLAS EN TANQUES DE ALMACENAMIENTO. Todos los tanques de almacenamiento deberán estar provistos de boquillas, a continuación se enlistan las mínimas requeridas que deberán ser instaladas en los tanques de almacenamiento. 1.- Entrada (s) de producto (s). 2.- Salida (s) de producto (s). 3.- Drene (con o sin sumidero). 4.- Venteo (s). 5.- Entrada (s) de hombre. 6.- Conexiones para indicador y/o control de nivel. 1.6.1. BOQUILLAS EN LAS PAREDES DEL TANQUE. Las boquillas bridadas y/o roscadas, podrán ser de acuerdo a las Figuras 1.6. y 1.7. y Tablas 1.2.1., 1.2.2. y 1.2.3. o tipo SLIP ON, WELDING NECK, LAP JOINT y tipo PAD de un rango de 10.5 Kg./cm2 cuando el usuario así lo solicite. Todas las boquillas de 76 mm (3 pulg.) de diámetro y mayores deberán contar con una placa de refuerzo de acuerdo a lo especificado en la Tabla 1.2.3., con el fin de absorber la concentración de esfuerzos debidos a la perforación hecha al tanque y/o a los esfuerzos
  • 24.
    DISENO Y CALCULODE TANQUES DE ALMACENAMIENTO (API 650) 24 producidos por la carga que presenta la línea de la boquilla en cuestión, la cual contará con un barreno de 6.3 mm (1/4 pulg.) de diámetro roscado con cuerda NPT para boquillas menores de 356 mm (14pulg.) de diámetro nominal y con dos barrenos para boquillas mayores, con la finalidad de que por ellos salga la acumulación de gases al realizar la soldadura y para que, posteriormente, se realice una prueba de hermeticidad. FIGURA 1.6. BOQUILLAS BRIDADAS DEL CUERPO. NOTAS: 1. tw deberá ser menor que el espesor del tubo cedula 160. 2. t min. Deberá ser de 10 mm o del espesor de alguna de las partes soldadas, la que resulte menor. 3. Ver normas para coples reglamentados utilizados en las boquillas del cuerpo. 4. Boquillas de 3 pulg o mayores llevan placa de refuerzo.
  • 25.
    DISENO Y CALCULODE TANQUES DE ALMACENAMIENTO (API 650) 25 5. El desbaste en los detalles de soldadura pueden variar de aquellos mostrados solo cuando el comprador este de acuerdo. 6. El espesor (n) designado para la soldadura será el espesor nominal del tubo (ver tabla 1.3.1 a 1.3.3). Las dimensiones y detalles especificados en las figuras y tablas son para boquillas instaladas con sus ejes perpendiculares a las placas del tanque. Cuando las boquillas son instaladas con un ángulo diferente de 90º respecto a las placas del tanque en el plano horizontal, estarán provistas de una placa de refuerzo que tenga un ancho de acuerdo a lo especificado en las tablas 1.2.3. (W o Do), que se incrementa de acuerdo al corte de las placas del tanque por pasar de circular a elíptica cuando se realiza una instalación angular. En el caso de que sean boquillas de 76 mm. (3 pulg.) de diámetro (o menores), que tengan un servicio exclusivo de instrumentación o que no presenten carga debida a la línea, podrán colocarse en un ángulo no mayor de 15º con respecto al plano vertical y no llevarán una placa de refuerzo.
  • 26.
    DISENO Y CALCULODE TANQUES DE ALMACENAMIENTO (API 650) 26 FIG. 1.7. (a) DETALLES DE BOQUILLAS BRIDADAS. FIG. 1.7. (b) DETALLES DE BOQUILLAS BRIDADAS. NOTAS: 1. Las soldaduras indicadas deberán realizarse en taller o en campo. 2. Ver dimensión reglamentada de soldadura. TABLA 1.3.1. DIMENSIONES PARA BRIDAS DE BOQUILLAS.
  • 27.
    DISENO Y CALCULODE TANQUES DE ALMACENAMIENTO (API 650) 27 NOTAS: Las dimensiones y características de las bridas slip-on y welding-neck con diámetro de 38 a 508 mm (1 ½ a 20 pulg.) y la de 610 mm (24 pulg.) son idénticas a lo especificado en ANSI B16.5 para clase 150 en bridas de acero. Las dimensiones y características para bridas con diámetros de 762, 914, 1067, y 1219 mm (30, 36, 42, y 48 pulg.) están unificadas con ANSI B16.1 para clase 125 de bridas de acero forjado; las dimensiones de las bridas mayores pueden estar conforme a ANSI/API 605. Bl = Diámetro interior del tubo. E = Diámetro exterior del tubo + 2n. El = Diámetro exterior del tubo. TABLA 1.3.2. DIMENSIONES PARA CUELLOS DE BOQUILLAS, TUBOS, PLACAS Y SOLDADURAS.
  • 28.
    DISENO Y CALCULODE TANQUES DE ALMACENAMIENTO (API 650) 28 NOTAS: 1. Si el espesor de la placa de refuerzo en el cuerpo es mayor que el requerido, servirá de aporte para soportar la carga hidrostática del fluido, el exceso de espesor en la placa, incluyendo la distancia vertical, ambas arriba y abajo de la línea de centros de la boquilla en el cuerpo del tanque, igual a la dimensión vertical de la boquilla en el cuerpo del tanque deberán ser consideradas como aporte de refuerzo y el espesor T de la placa de refuerzo de la boquilla podrá ser reducido según corresponda. En ese caso, la soldadura de refuerzo y de aseguramiento deberán estar conforme a los límites de diseño de los refuerzos en la abertura del cuerpo especificado. 2. Esta columna se aplica a boquillas bridadas con diámetro de 1,219 a 660mm. (48 a 26 pulg.) consultar materiales. TABLA 1.3.3. DIMENSIONES PARA CUELLOS DE BOQUILLAS.
  • 29.
    DISENO Y CALCULODE TANQUES DE ALMACENAMIENTO (API 650) 29 NOTAS: 1. Para tubos extra reforzados en tamaños menores y hasta 305 mm (12 pulg.), consulte el estándar API 5L. Para tamaños mayores que 305 mm (12 pulg.), a 610mm (24 pulg.), consulte la última edición del ASTM A53 ó A106 para otros espesores de pared. 2. El ancho de la placa del cuerpo deberá ser lo suficientemente grande para contener la placa de refuerzo. 3. Las boquillas deberán estar localizadas a la mínima distancia, pero debe cumplir con los límites requeridos, a menos que otra cosa se especifique por el usuario 4. Las dimensiones HN dadas en esta tabla, son sólo para diseños correspondientes a tanques ensamblados en taller. 5. Ver tabla 1.3.2. columna 2. 6. Las boquillas roscadas mayores de 76 mm (3 pulg) de diámetro requieren placa de refuerzo. 7. Las boquillas bridadas o roscadas de 51 mm (2 pulg) de diámetro menor no requieren placa de refuerzo (De); será el diámetro de la boquilla en el cuerpo y la soldadura (A), será como se especifica en la tabla 1.3.2. columna 6. Las placas de refuerzo pueden ser usadas, aún cuando no sean necesarias. 1.6.2. BOQUILLAS EN EL TECHO. Las boquillas del techo pueden estar conforme a las Figuras 1.8. y 1.9. y Tablas 1.4.1. y 1.4.2. o a bridas SLIP-ON y WELDING NECK, las cuales están de acuerdo con los requerimientos de la clase 10.5 Kg/cm2 para bridas forjadas de acero al carbón de cara realzada en ANSI B16.5. Las bridas tipo anillo serán conforme a todas las dimensiones de las bridas SLIP-ON, excepto en la extensión del HUB, que puede ser omitido. Las boquillas bridadas o roscadas con diámetro de 152 mm (6 pulg) y menores no requieren placa de refuerzo, a menos que así lo solicite el usuario. Se recomienda que todas las boquillas no sean mayores de 305 mm (12 pulg) de diámetro, excepto las entradas hombre. Los sumideros y conexiones en el fondo tendrán particular atención para el relleno y compactación del suelo para prevenir asentamientos irregulares del tanque, así como para las conexiones y soportes, que tendrán que ser calculadas para confirmar la resistencia del arreglo contra las cargas estáticas y dinámicas, así como de flexión y esfuerzos permisibles. Las conexiones y arreglos mostrados pueden variar para llevar a cabo la utilidad y servicio de los mismos, por lo que el usuario aprobará dichos arreglos que el fabricante proporcionará.
  • 30.
    DISENO Y CALCULODE TANQUES DE ALMACENAMIENTO (API 650) 30 TABLA 1.4.1. DIMENSIONES PARA BOQUILLAS BRIDADAS EN EL TECHO (mm). TABLA 1.4.2. DIMENSIONES PARA BOQUILLAS ROSCADAS Y COPLES EN EL TECHO (mm). NOTA: Las placas de refuerzo no se requieren para boquillas iguales o menores de 152mm (6 pulg.) de diámetro, a menos de que así se especifique.
  • 31.
    DISENO Y CALCULODE TANQUES DE ALMACENAMIENTO (API 650) 31 FIG. 1.8. BOQUILLAS BRIDADAS DEL TECHO. NOTA: Cuando la boquilla del techo sea usada como venteo, el cuello no tendrá proyección interna. FIG. 1.9. BOQUILLAS ROSCADAS DEL TECHO.
  • 32.
    DISENO Y CALCULODE TANQUES DE ALMACENAMIENTO (API 650) 32 NOTAS: 1. Para boquillas roscadas ver requerimientos anteriores (fig. 1.6). 2. Para boquillas usadas como venteos, el cuello no llevará proyección exterior. 1.7. ENTRADA HOMBRE Y ACCESORIOS. 1.7.1. ENTRADAS HOMBRE HORIZONTALES Y VERTICALES. Los tanques de almacenamiento contarán, por lo menos con una entrada hombre en el cuerpo o en el techo con la finalidad de poder realizar limpieza, revisiones o reparaciones en el interior del tanque. Los registros que se coloquen en la pared del tanque deberán estar acorde con las figuras 1.10., 1.11. y tablas 1.5.1., 1.5.2., 1.5.3., 1.5.4. y 1.5.5. (o, en su defecto, con las Tablas 1.3.). Las entradas hombre contarán con una placa de refuerzo según lo muestra la figura, la cual tendrá dos barrenos de 6.3 mm. de diámetro con cuerda NPT para prueba, quedando éstos sobre las líneas de centro verticales u horizontales y abiertos a la atmósfera. En caso de que la entrada hombre se encuentre localizada en el techo, se habilitará de acuerdo a la Figura 1.12. y Tabla 1.6. 1.7.2. VENTEOS. Los tanques de almacenamiento contarán con una boquilla exclusiva para venteo, la que tendrá que ser diseñada y calculada, con la finalidad de que dentro del tanque no se genere presión interna al ser llenado o vaciado, el cual debe colocarse de ser posible, en la parte más alta del tanque. 1.7.3. DRENES Y SUMIDEROS. Los tanques de almacenamiento también deberán contar con una boquilla por lo menos para el drenado de lodos, la cual podrá estar al ras del fondo, dirigidas a un sumidero o por debajo del tanque, como se muestran en las Figuras 1.14., 1.15., 1.16. y Tablas 1.8., 1.9. Los sumideros y conexiones en el fondo tendrán particular atención para el relleno y compactación del suelo para prevenir asentamientos irregulares del tanque, así como para
  • 33.
    DISENO Y CALCULODE TANQUES DE ALMACENAMIENTO (API 650) 33 las conexiones y soportes, que tendrán que ser calculadas para confirmar la resistencia del arreglo contra las cargas estáticas y dinámicas, así como de flexión y esfuerzos permisibles. Las conexiones y arreglos mostrados pueden variar para llevar a cabo la utilidad y servicio de los mismos, por lo que el usuario aprobará dichos arreglos que el fabricante proporcionará.
  • 34.
    DISENO Y CALCULODE TANQUES DE ALMACENAMIENTO (API 650) 34 FIG. 1.10. ENTRADA HOMBRE.
  • 35.
    DISENO Y CALCULODE TANQUES DE ALMACENAMIENTO (API 650) 35 NOTAS: 1. Bajo otro caso especificado el material del empaque puede ser de fibra. 2. El asiento del empaque podrá ser maquinado con un ancho de 19 mm. 3. Ver tablas No. 1.5.1 para tipos de fibras y métodos de sujeción para cuellos de registros intercambiables. 4. Ver tablas de 1.5.2 a 1.5.5. 5. El tamaño de la soldadura será igual al espesor mínimo de las partes a unir. 6. Las boquillas mostradas en la fig. 1.11 pueden ser sustituidas por registros de 508 mm en diámetro y largo. 7. Las soldaduras indicadas pueden ser en taller o en campo. FIG. 1.11. DETALLES PARA ENTRADAS-HOMBRE Y BOQUILLAS. NOTAS: 1. El corte del cuerpo deberá hacerse con preescisión, de tal forma que la distancia R+T quede dentro de la tolerancia 1/8 pulg para mayor precisión, un corte preeliminar deberá hacerse para el diámetro interior del registro-hombre y usar este corte para localizar el corte final. R deberá ser el radio actual en vez de ser el radio interior aproximado en la esquina. 2. Ver tabla 3.3.2., columna 3 para el corte, el cual no debe ser menor que el diámetro exterior del cuello, mas ½ pulg. 3. Para el mínimo espaciamiento entre soldaduras de conexiones abiertas el tamaño de la soldadura deberá ser mayor que A (tabla 3.9 basa en espesor) o n (espesor mínimo del cuello, tabla 1.3).
  • 36.
    DISENO Y CALCULODE TANQUES DE ALMACENAMIENTO (API 650) 36 4. Otros detalles permisibles se muestran en la figura 1.7. del estándar API 620. el área del refuerzo deberá estar de acuerdo. 5. La dimensión y el tamaño de la soldadura que no se muestran serán los mismos que aquellos dados en la figura 3-4 de la norma referida. 6. Los detalles de soldadura pueden variar de aquellos mostrados si el comprador esta de acuerdo. 7. Las soldaduras indicadas deberán ser de taller o de campo. TABLA 1.5.1. ESPESOR DEL CUELLO, TAPA PLANA Y BRIDA DE LA ENTRADA DE HOMBRE (mm.). NOTA: Presión hidrostática debida a la columna de agua. TABLA 1.5.2. DIMENSIONES DE ENTRADAS DE HOMBRE DE 508mm. (mm.).
  • 37.
    DISENO Y CALCULODE TANQUES DE ALMACENAMIENTO (API 650) 37 NOTAS: El diámetro del círculo de barrenos es de 667mm. (26.25 pulg.), diámetro exterior de la cubierta 730mm. (28 ¾ pulg.). 1. Si la placa usada en el cuerpo es más gruesa que el espesor requerido para estar sometido éste a carga hidrostática del producto, el exceso de espesor en la placa, considerando las distancias verticales tanto arriba como abajo de la línea de centros de la abertura en la placa del tanque igual a la dimensión de la abertura en el cuerpo del tanque, puede ser considerada como un refuerzo y el espesor o de la placa de refuerzo del registro decrecerá en proporción. En ese caso, el refuerzo, como la soldadura de aseguramiento, deberá estar conforme a los límites para refuerzos de boquillas del cuerpo. 2. El refuerzo deberá ser agregado si el espesor del cuello es menor al que se muestra en la columna. El espesor mínimo del cuello deberá ser el espesor de la placa del cuerpo o el espesor permisible al terminado de la boquilla atornillable (ver tabla 1.5.1.) el que sea más delgado, pero en ningún caso el espesor del cuello deberá ser menor al espesor indicado en la columna 7. Si el espesor del cuello del registro es mayor que el requerido, la placa del refuerzo podrá ser más delgada de acuerdo con los límites especificados. TABLA 1.5.3 DIMENSIONES DE ENTRADAS HOMBRE DE 610 mm. (mm).
  • 38.
    DISENO Y CALCULODE TANQUES DE ALMACENAMIENTO (API 650) 38 NOTAS: El diámetro del círculo de barrenos es de 68mm. (30.25 pulg.), diámetro anterior de la cubierta 832mm. (32 ¾ pulg.). 1. Si la placa usada en el cuerpo es más gruesa que el espesor requerido para estar sometido éste a carga hidrostática del producto, el exceso de espesor en la placa, considerando las distancias verticales, tanto arriba como abajo de la línea de centros de la abertura en la placa del tanque igual a la dimensión de la abertura en el cuerpo del tanque, puede ser considerada como un refuerzo y el espesor (T) de a placa de refuerzo, del registro decrecerá en proporción. En ese caso, el refuerzo, como la soldadura de aseguramiento, deberá estar conforme a los límites para refuerzos de boquillas del cuerpo. 2. El refuerzo deberá ser agregado si el espesor del cuello es menor a el que se muestra en la columna. El espesor mínimo del cuello deberá ser el espesor de la placa del cuerpo o el espesor permisible al terminado de la boquilla atornillable (ver Tabla 1.5.1.), el que sea más delgado, pero en ningún caso el espesor del cuello deberá ser menor al espesor indicado en la columna 7. Si el espesor del cuello del registro es mayor que el requerido, la placa del refuerzo podrá ser más delgada de acuerdo con los límites especificados. 3. TABLA 1.5.4 DIMENSIONES DE ENTRADAS HOMBRE DE 762 mm.(mm.).
  • 39.
    DISENO Y CALCULODE TANQUES DE ALMACENAMIENTO (API 650) 39 NOTAS: El diámetro del los barrenos es de 921mm. (36.25 pulg.) y el diámetro exterior de la cubierta de 984mm. (38 ¾ pulg.) 1. Si la placa usada en el cuerpo es más gruesa que el espesor requerido para estar éste sometido a carga hidrostática del producto, exceso de espesor en la placa, considerando las distancias verticales tanto arriba como abajo de la línea de centros de la abertura en la placa del tanque igual a la dimensión de la abertura en el cuerpo del tanque, puede ser considerada como un refuerzo y el espesor de la placas de refuerzo del registro decrecerá en proporción. En ese caso, el refuerzo, como la soldadura de aseguramiento, deberá estar conforme a los límites para refuerzos de boquillas del cuerpo. 2. El refuerzo deberá ser agregado si el espesor del cuello es menor al que se muestra en la columna. El espesor mínimo del cuello deberá ser el espesor de la placa del cuerpo; el espesor permisible al terminado de la boquilla atornillable (ver Tabla 1.5.1.) el que sea más delgado, pero en ningún caso el espesor del cuello deberá ser menor al espesor indicado en la columna 7. Si el espesor del cuello del registro es mayor que el requerido, la placa del refuerzo podrá ser más delgada de acuerdo con los límites especificados. TABLA 1.5.5. DIMENSIONES DE ENTRADAS HOMRE DE 914mm. (mm.).
  • 40.
    DISENO Y CALCULODE TANQUES DE ALMACENAMIENTO (API 650) 40 NOTAS: El diámetro de los barrenos es de 1073 mm. (42.25 pulg.) y el diámetro exterior de la cubierta de 1136 mm. (44 ¾ pulg.) 1. Si la placa usada en el cuerpo es más gruesa que el espesor requerido para estar sometido éste a carga hidrostática del producto, el exceso de espesor en la placa, considerando las distancias verticales tanto arriba como abajo de la línea de centros de la abertura en la placa del tanque igual a la dimensión de la abertura en el cuerpo del tanque puede ser considerada como un refuerzo y el espesor de la placa de refuerzo del registro decrecerá en proporción. En ese caso, el refuerzo como la soldadura de aseguramiento deberá estar conforme a los límites para refuerzos de boquillas del cuerpo. 2. El refuerzo deberá ser agregado si el espesor del cuello es menor a el que se muestra en la columna. El espesor mínimo del cuello deberá ser el espesor de la placa del cuerpo o el espesor permisible al terminado de la boquilla atornillable (ver Tabla 1.5.1.) el que sea más delgado, pero en ningún caso el espesor del cuello deberá ser menor al espesor indicado en la columna 7. Si el espesor del cuello del registro es mayor que el requerido, la placa del refuerzo podrá ser más delgada de acuerdo con los límites especificados. TABLA 1.6. DIMENSIONES PARA ENTRADAS HOMBRE SOBRE EL TECHO. NOTA: Ver figura 1.12. TABLA 1.7. VENTEO.
  • 41.
    DISENO Y CALCULODE TANQUES DE ALMACENAMIENTO (API 650) 41 TABLA 1.8. DIMENSIONES PARA SUMIDEROS (mm.) NOTA: Ver figura 1.14. TABLA 1.9. CONEXIONES POR DEBAJO DEL FONDO. NOTA: Para los diámetros no mostrados, o la extensión de cualquier dimensión pueden ser usadas a previo diseño. 1. Aplica a la Figura 1.15., para tanques con una altura iguales o mayor de 19500 mm. (64 pies) usar placas de 19.05 mm. (3/4 pulg.) y nunca un espesor menor que el de la placa anular. 2. Otros componentes o secciones podrán tener soportes para cargas externas.
  • 42.
    DISENO Y CALCULODE TANQUES DE ALMACENAMIENTO (API 650) 42 FIG. 1.12. ENTRADA-HOMBRE EN TECHO. FIG. 1.13. VENTEO.
  • 43.
    DISENO Y CALCULODE TANQUES DE ALMACENAMIENTO (API 650) 43 FIG. 1.14. SUMIDERO. NOTAS: 1. Un agujero deberá estar cortado en la placa del fondo que deberá coincidir con la cimentación antes de colocar el fondo. 2. Puesto en su lugar el sumidero, el suelo será compactado. 3. El sumidero siempre esta instalado en el fondo.
  • 44.
    DISENO Y CALCULODE TANQUES DE ALMACENAMIENTO (API 650) 44 FIG. 1.15. BOQUILLAS EN EL FONDO.
  • 45.
    DISENO Y CALCULODE TANQUES DE ALMACENAMIENTO (API 650) 45 FIG. 1.16. BOQUILLAS EN EL FONDO. NOTA: Si se usa placa anular deberá colocarse una placa completa sobre la bóveda. 1.8. ESCALERAS Y PLATAFORMAS. Las escaleras, plataformas y barandales tienen la finalidad de situar al personal que así lo requiera en una zona del tanque que necesite de constante mantenimiento o supervisión, generalmente sobre el techo donde se localizan diversas boquillas y la entrada hombre, además de brindar protección y seguridad al personal.
  • 46.
    DISENO Y CALCULODE TANQUES DE ALMACENAMIENTO (API 650) 46 1.8.1. REQUERIMIENTOS PARA PLATAFORMAS Y PASILLOS (ESPECIFICADO POR A.P.I. 650). 1. Todos los componentes deberán ser metálicos. 2. El ancho mínimo del piso será de 610mm. (24 pulg.). 3. Todo el piso deberá ser de material antiderrapante. 4. La altura del barandal a partir del piso será de 1,067mm. (42 pulg.). 5. La altura mínima del rodapié será de 76mm. (3 pulg.). 6. El máximo espacio entre el suelo y la parte inferior del espesor de la placa del pasillo será de 6.35mm. (1/4 pulg.). 7. La altura del barandal central será aproximadamente la mitad de la distancia desde lo alto del pasillo a la parte superior del barandal. 8. La distancia máxima entre los postes del barandal deberá ser de 1168mm. (46 pulg.). 9. La estructura completa tendrá que ser capaz de soportar una carga viva concentrada de 453 Kg. (1,000 lb), aplicada en cualquier dirección y en cualquier punto del barandal. 10. Los pasamanos estarán en ambos lados de la plataforma, y estarán interrumpidos donde sea necesario para un acceso. 11. Cualquier espacio mayor de 152mm. (6 pulg.) entre el tanque y la plataforma deberá tener piso. 12. Los corredores de los tanques que se extienden de un lado al otro del suelo o a otra estructura deberán estar soportados de tal manera que tenga un movimiento relativo libre de las estructuras unidas por los corredores; ésta puede estar acompañada por una firme atadura del corredor a los tanques, además del uso de una junta corrediza o de dilatación en el puente de contacto entre el corredor y el otro tanque (este método permite que en caso de que un tanque sufra ruptura o algún movimiento brusco, el otro no resulte dañado). 1.8.2. REQUERIMIENTOS PARA ESCALERAS. (ESPECIFICADO POR A.P.I. 650). 1. Todas las partes de la escalera serán metálicas. 2. El ancho mínimo de las escaleras será de 610mm. (24 pulg.). 3. El ángulo máximo entre las escaleras y una línea horizontal será de 50º. 4. El ancho mínimo de los peldaños será de 203mm. (8 pulg.). La elevación será uniforme a todo lo largo de la escalera. 5. Los peldaños deberán estar hechos de rejilla o material antiderrapante. 6. La superior de la reja deberá estar unida al pasamano de la plataforma sin margen y la altura medida verticalmente desde el nivel del peldaño hasta el borde del mismo de 762 a 864 mm. (30 pulg. a 34 pulg.). 7. La distancia máxima entre los postes de la rejilla medidos a lo largo de la elevación de 2,438mm. (96 pulg.).
  • 47.
    DISENO Y CALCULODE TANQUES DE ALMACENAMIENTO (API 650) 47 8. La estructura completa será capaz de soportar una carga viva concentrada de 453 Kg. (1,000 lb), y la estructura del pasamanos deberá ser capaz de soportar una carga de 90Kg. (200 lb), aplicada en cualquier dirección y punto del barandal. 9. Los pasamanos deberán estar colocados en ambos lados de las escaleras rectas; éstos serán colocados también en ambos lados de las escaleras circulares cuando el claro entre cuerpo-tanque y los largueros de la escalera excedan 203mm. (8 pulg.). 10. Las escaleras circunferenciales estarán completamente soportadas en el cuerpo del tanque y los finales de los largueros apoyados en el piso.
  • 48.
    DISENO Y CALCULODE TANQUES DE ALMACENAMIENTO (API 650) 48 CAPÍTULO 2 NORMATIVIDAD
  • 49.
    DISENO Y CALCULODE TANQUES DE ALMACENAMIENTO (API 650) 49 2.1. CÓDIGOS APLICABLES. En los Estados Unidos de Norteamérica y en muchos otros países del mundo, incluyendo el nuestro, el diseño y cálculo de tanques de almacenamiento, se basa en la publicación que realiza el "Instituto Americano del Petróleo", al que esta institución designa como "STANDAR A.P.I. 650", para tanques de almacenamiento a presión atmosférica y "STANDAR A.P.I. 620", para tanques de almacenamiento sometidos a presiones internas cercanas a 1 Kg /cm2 (14 lb / pulg2 ). Sin embargo, en nuestro país comúnmente estos tanques de almacenamiento se diseñan según normas API que hacen referencia a los materiales fijados por las normas ASTM (American Society for Testing Materials), se siguen las normas de seguridad dadas por NFPA (National Fire Protection Association), y también se toman en cuenta las reglamentaciones de la ASME (American Society of Mechanical Engineers). Estos estándares cubren el diseño, fabricación, inspección, montaje, ensayos y mantenimiento de los mismos y fueron desarrollados para el almacenaje de productos de la industria petrolera y petroquímica, pero su aceptación ha sido aplicada al almacenaje de numerosos productos en otras industrias. Si bien estas normas cubren muchos aspectos, no todos están contemplados, razón por la que existen otras normas complementarias a las mismas. 2.1.1. NORMAS DEL INSTITUTO AMERICANO DEL PETROLEO. Para el cálculo, diseño y construcción de de tanques de almacenamiento de combustible existen varias Normas y Códigos que regulan y establecen los parámetro que se deben seguir para que dichos equipos cumplan con las especificaciones establecidas, pero las más difundidas y empleadas en las industrias de procesos son las del American Petroleum Institute (API). API Standard 620: Es aplicable a grandes tanques horizontales o verticales soldados en el campo, aéreos que operan a presiones en el espacio vapor menores a 2.5 psi y a temperaturas no superiores a 93°C. API Standard 650: Es aplicable a grandes tanques horizontales o verticales soldados en el campo, aéreos que operan a presiones en el espacio vapor menores a 1.5 psi y a temperaturas no superiores a 121°C. API Specification 5L: Es aplicable para el uso adecuado de las tuberías de gas, agua y petróleo tanto en la industria del petróleo como en la de gas natural. Cubre especificaciones sobre tuberías de acero soldado y sin costura, incluyendo las de peso normal, regular y especial y las tuberías de línea roscadas extra resistentes y sin rosca, a igual que las de línea de enchufe y esponja.
  • 50.
    DISENO Y CALCULODE TANQUES DE ALMACENAMIENTO (API 650) 50 API Specification 12D: Es aplicable a tanques horizontales o verticales soldados en el campo para almacenaje de líquidos de producción y con capacidades estandarizadas entre 75 y 1500 m3. API Specification 12F: Es aplicable a tanques horizontales o verticales soldados en taller para almacenaje de líquidos de producción y con capacidades estandarizadas entre 13.5 y 75 m3. API Standard 653: Es aplicable a la inspección, reparación, alteración desmontaje y reconstrucción de tanques horizontales o verticales, basándose en las recomendaciones del STD API 650. Recomienda también la aplicación de las técnicas de ensayos no destructivos aplicables 2.1.2 OTRAS NORMAS APLICABLES. Además de las normas y códigos mencionados anteriormente existen algunas otras que las respaldan, complementan y ayudan cuando se requieren variaciones o cambios mínimos en las consideraciones de diseño. Estas normas son: ASME, Boiler and Pressure Vessel Code, Section VIII y X: Es aplicable para el diseño de diferentes recipientes y tanques tanto cilíndricos, esféricos como de sección rectangular. Se trata de los estándares más reconocidos mundialmente en este campo de aplicación. Código ASME Sección IX: “Qualification Standard for Welding and Brazing Procedures, Welders, Brazers, and Welding and Brazing Operators” Se encarga de que los Soldadores, operadores y los Procedimientos de Soldaduras que se utilizan estén de acuerdo a los requerimientos de las distintas Secciones de ASME Código de Construcción Recipientes de Presión y de ASME B31 Código para Cañerías de Presión. Underwriters Laboratories (UL) Standard UL 142: Es aplicable a tanques de acero de diferentes diseños soldados en taller para almacenaje de líquidos inflamables y combustibles. British Standard (BS) 2594: Es aplicable a tanques cilíndricos horizontales de acero al carbono soldados. BS 4994: Comprende las especificaciones para el diseño y construcción de recipientes y tanques en plásticos reforzados.
  • 51.
    DISENO Y CALCULODE TANQUES DE ALMACENAMIENTO (API 650) 51 BS 6374: comprende las especificaciones para el recubrimiento de recipientes y tanques con materiales poliméricos. ASTM D 3299 / 4021 / 4097: Comprende las especificaciones para tanques plásticos reforzados con fibra de vidrio. Las normas, códigos y especificaciones presentadas anteriormente están aprobadas por el ANSI (Instituto Nacional Americano de Normalización) que es una organización voluntaria compuesta por corporativas, organismos del gobierno y otros miembros que coordinan las actividades relacionadas con estándares, aprueban los estándares nacionales de los EE.UU. y desarrollan posiciones en nombre de los Estados Unidos ante organizaciones internacionales de estándares. El A.N.S.I. es miembro de la I.E.C. (Comisión Electrotécnica Internacional), y la Organización Internacional para la Normalización 2.2. CÓDIGO A.S.T.M. La A.S.T.M. (American Society for Testing and Materials) se encarga de desarrollar los estándares de las características y eficiencia de los materiales, productos, suministros de servicios y métodos de prueba en casi todas las industrias, con un casi monopolio en las industrias petrolera y petroquímica. La norma A.P.I. 650 se basa en estos estandares para especificar todo lo relacionado con los materias que se deben utilizar como son; tipo de material, espesores mínimos, condiciones de rolado, temperaturas de trabajo, esfuerzos permisibles, etc. 2.3. CÓDIGO A.S.M.E. El standard A.P.I. 650 se auxilia del Código A.S.M.E. (American Society of Mechanical Engineers) sección IX para dar los alineamientos que han de seguirse en la unión y/o soldado de materiales. El Código A.S.M.E. sección IX, establece que toda junta soldada deberá realizarse mediante un procedimiento de soldadura de acuerdo a la clasificación de la junta y que, además, el operador deberá contar con un certificado que lo acredite como soldador calificado, el cual le permite realizar cierto tipo de soldaduras de acuerdo con la clasificación de ésta. Una vez realizada la soldadura o soldaduras, éstas se someterán a pruebas y ensayos como: ultrasonido, radiografiado, líquidos penetrantes, dureza, etc., donde la calidad de la soldadura es responsabilidad del fabricante.
  • 52.
    DISENO Y CALCULODE TANQUES DE ALMACENAMIENTO (API 650) 52 Los procedimientos de soldadura a emplear deberán seguir los lineamientos de las planillas WPS o WPQ del Código ASME Sección IX, al igual que los soldadores deberán estar calificados para los procedimientos de soldadura que se emplearán. 2.4. REGLAMENTACIÓN N.F.P.A. Debido a la naturaleza de los líquidos que se pueden almacenar en los tanques, es necesario contar con procesos y sistemas de seguridad para evitar posibles incendios o explosiones. Dichos procesos y sistemas de seguridad están dados por la N.F.P.A. (National Fire Protection Association) la cual es la fuente principal mundial para el desarrollo y diseminación de conocimiento sobre seguridad contra incendios y de vida. El sistema de desarrollo de los códigos y normas de la NFPA es un proceso abierto basado en el consenso que ha producido algunos de los mas referenciados materiales en la industria de la protección contra incendios, incluyendo el Código Eléctrico Nacional, el Código de Seguridad Humana, el Código de Prevención de Fuego, y el Código Nacional de Alarmas de Incendios. La N.F.P.A. desarrolla, publica y difunde más de 300 códigos y normas consensuadas con la intención de minimizar la posibilidad y consecuencias de incendios y otros tipos de riesgos. Prácticamente cada edificio, proceso, servicio, diseño e instalación en la sociedad de hoy día, se ve afectado por los documentos de la N.F.P.A. 2.5. STANDARD A.P.I. 650. El presente trabajo estará basado principalmente en el estándar A.P.I. 650, el cual, sólo cubre aquellos tanques en los cuales se almacenan fluidos líquidos y están construidos de acero con el fondo uniformemente soportado por una cama de arena, grava, concreto, asfalto, etc, diseñados para soportar una presión de operación atmosférica o presiones internas que no excedan el peso del techo por unidad de área y una temperatura de operación no mayor de 93 °C (200 °F), y que no se usen para servicios de refrigeración. Este estándar cubre el diseño y cálculo de los elementos constitutivos del tanque. En lista de los materiales de fabricación, se sugieren secuencias en la erección del tanque, recomendación de procedimientos de soldaduras, pruebas e inspecciones, así como lineamientos para su operación. A continuación, se muestra la tabla 2.1 con los diferentes requerimientos de diversos estándares para la fabricación de tanques de almacenamiento.
  • 53.
    DISENO Y CALCULODE TANQUES DE ALMACENAMIENTO (API 650) 53 TABLA 2.1. REQUERIMIENTOS DE DIVERSOS ESTÁNDARES PARA TANQUES DE FONDO PLANO. * NS = Sin Especificación CA = Corrosión Permisible RT = Temperatura Ambiente NOTA. 1. La temperatura puede ser elevada hasta 260 °C cuando se cumplen ciertas especificaciones del material y requerimientos de diseño adicionales. 2. Este espesor aplica para tanques con diámetros menores a 6.096 m. 3. Este espesor aplica para tanques con diámetros entre 6.096 m. y 36.57 m. 4. El espesor mínimo de cualquier placa es 4.76 mm. + corrosión. 5. Para espesores mayores de 50.8 mm. se deben cumplir algunos requerimientos especiales 6. Para techos cónicos, el espesor de placa puede ser calibre No. 7. 2.5.1. APARTADOS EMPLEADOS. Como ya se dijo anteriormente, el presente trabajo se basa principalmente en la norma A.P.I. 650. A continuación se mencionan los apartados utilizados dentro de cada proceso, también se especificara cuando se tome en consideración alguna otra norma diferente al Stándard A.P.I. 650. 2.5.1.1. MATERIALES. Las especificaciones para materiales se han extraído de la norma A.P.I. 650, sección 2 “Materiales”, páginas 2-1, 2-2, 2-3. Allí se pueden encontrar los tipos de planchas y aceros que se recomienda ocupar en la construcción del tanque.
  • 54.
    DISENO Y CALCULODE TANQUES DE ALMACENAMIENTO (API 650) 54 2.5.1.2. MONTAJE. Se realizará siguiendo las prescripciones de la norma A.P.I. 650, sección 5 "Construcción", Se cumplirán estrictamente las tolerancias mencionadas en el apartado 5.5. donde se especifica todo lo relacionado con las tolerancias de dimensiones como son: Medidas, Cimientos, plumbness, roundness, Desviación local. 2.5.1.3. SOLDADURA. Se tomara en cuenta lo especificado en la norma A.P.I. 650, sección 2 página 2-8, sección 3 apartado 3.1 y la sección 7 “Procedimientos de soldadura y Certificación de soldadores”, que se refieren a lo relacionado con los tipos y procedimientos de soldaduras, así como también de los soldadores. Se recurrirá, además, al Código A.S.M.E. sección IX el cual especifica que la soldadura se realizará de acuerdo a la clasificación de la junta. También establece las condiciones que deben tener los soldadores para realizar este trabajo. 2.5.1.4. RADIOGRAFIADO DE SOLDADURA. La norma A.P.I. 650 en su apartado 6.1 describe el método de radiografiado que debe hacerse a la soldadura utilizada para la unión de las placas del tanque. La ASME B 31.3. hará el control radiográfico de las soldaduras de las cañerías. 2.5.1.5. PISO. Se aplicará la norma A.P.I. 650, sección 3, apartado 3.4 “Placas de fondo” y 3.4 “Placas anulares de fondo” en estos se especifican los espesores mínimos y tipos de materiales a utilizar en las placas de fondo y del primer anillo del tanque, además de la circularidad de las mismas.
  • 55.
    DISENO Y CALCULODE TANQUES DE ALMACENAMIENTO (API 650) 55 2.5.1.6. ANILLOS DE LA ENVOLVENTE. Se tomara en cuenta la norma A.P.I. 650 sección 3 apartado 3.6.4.1 y 3.6.1.1 para designar los espesores de lasa placas de los añillos de la envolvente y del armazón. La tabla 3-1 del A.P.I. 650 se toman los espesores mínimos de la placa de refuerzo. El ancho mínimo de la placa anular se toma del apartado 3.5.2. de la norma referida. 2.5.1.7. ESFUERZOS PERMISIBLES. En lo que respecta a los esfuerzos permisibles, la norma A.P.I. 650 los especifica en el apéndice P y el apartado 3.6.2. y en la figura 3-2 donde se especifican los valores de corrosión permisible y esfuerzos permisibles. En lo referente alas cargas, la norma lo establece en la sección 3 apartado 3.2. que muestra las consideraciones de cargas externas, factores de diseño, presiones externas, capacidad del tanque y medidas de protección necesarias. 2.5.1.8. CONEXIONES Y ACCESORIOS. La norma A.P.I. 650 recomienda la ubicación de los accesorios en las hojas de especificación L3 a L5. el paso de hombre en la envolvente se colocan según el apartado 3.7.5. y el paso de hombre en el techo según el apartado H.6.5.1. Lo especifica en la sección 3, apartado 3.7.6., figura 3-5. establecen las condiciones de los tipos conexiones como son: Entradas y Salidas del Producto, para Toma de Temperatura, Toma de Presión y para Caja de Espuma. El apartado 3.8.6. figura 3-16 de la norma establece el tipo de brida que se deberá utilizar para la Purga de Fondo y su sumidero interior correspondiente. En lo que se refiere al tipo de brida que se deberá utilizar para la conexión de Venteo, el apartado a utilizar es el 3.8.5. figura 3-14 de la norma. Para Venteos de emergencia los cálculos serán realizados según los requerimientos del A.P.I. 2000. Una alternativa para determinar las dimensiones y espesores mínimos para los cuellos de boquillas es utilizar el apartado 5L de la norma A.P.I. 650 y los apartados A53 o A106 de la norma A.S.T.M. y para las dimensiones para bridas de boquillas se pueden utilizar los apartados B16.5 y B16.1 de la norma A.N.S.I. que se refieren a la clase 150 en acero y 125 en acero forjado respectivamente.
  • 56.
    DISENO Y CALCULODE TANQUES DE ALMACENAMIENTO (API 650) 56 La Puerta de Limpieza estará regulada de acuerdo al apartado 3.7.7. figuras 3-9 y 3-10 de la norma A.P.I. 650. Se utilizará el apartado H.6.6. de la norma A.P.I. 650 para lo relacionado con la Boca Saca- muestras. El apartado 3.8.9. de la norma A.P.I. 650 establece las condiciones de las escaleras exteriores, mientras que las escaleras interiores se instalarán según el apartado H. 6.1. 2.5.1.9. TECHO. Los apartados 3.5.4, 3.5.4.6, 3.10 y 3.10.6. de la norma A.P.I. 650 establecen las designaciones para la construcción del techo, así como de la pendiente del mismo. En el apéndice G se muestran alternativas de construcción del techo como son la posibilidad de cambiar el material de acero por aluminio. La unión soldada entre el techo y el Angulo superior del costado se realizará conforme al apartado 3.10.7. Y las cargas por viento estarán verificadas por el apartado 3.11. 2.5.1.10. BARANDA DEL TECHO. El tanque deberá estar provisto de una baranda perimetral con superficie antiderrapante que debe cumplir con las especificaciones de la tabla 3-19 de la norma A.P.I. 650. 2.5.1.11. PLATAFORMAS. La plataforma deberá tener baranda en ambos lados del tipo de la descrita en el apartado 4.8.1. y cumplir con lo especificado en la tabla 3-19. de la norma A.P.I.. 650. Estos apartados establecen la posición con respecto a la inclinación del techo y la posición de los accesorios del techo, también el tipo de material del que deben ser y la superficie que deben tener.
  • 57.
    DISENO Y CALCULODE TANQUES DE ALMACENAMIENTO (API 650) 57 2.5.1.12. PINTURA. El tanque se pintará del lado exterior teniendo en cuenta la especificación GS 2300 GENERAL SPECIFICATION FOR SHOP, FIELD AND MAINTENANCE PAINTING, tabla 2300-6, en la página 38. 2.5.1.13. PROTECCIÓN POR SOBRE LLENADO. Estas medidas de seguridad que se toman de acuerdo al apéndice H.6.3. El contratista deberá suministrar e instalar apropiados dispositivos para evitar el sobre llenado del tanque por encima del nivel de líquido de diseño, por ejemplo una alarma de alto nivel. 2.5.1.14. PROTECCIÓN CATÓDICA. Si se requiere de instalación de protección catódica interna es imprescindible que el tanque esté aislado eléctricamente mediante juntas dieléctricas del resto de las instalaciones vinculadas al tanque. Se deberá cumplir la norma NACE RP 0575-2001, "Internal Cathodic Protection Systems in Oil- Treating Vessels" Se utilizarán ánodos galvánicos de aleación de aluminio distribuidos uniformemente sobre el fondo del tanque, fijados al mismo de modo que sea posible el monitoreo de corriente. Se colocará un electrodo de referencia para efectuar dicho monitoreo (ver páginas 4 y 5 de la norma de referencia). Los ánodos serán fijados al tanque a través de una estación de testeo de forma de poder monitorear (página 11, sección 7.2.1 de la norma de referencia). 2.5.1.15. ELEMENTO RECEPTOR DE RAYO. La norma API 2003 y la NFPA 780 especifican que un tanque de almacenamiento de hidrocarburos puede ser utilizado como elemento receptor del rayo cuando el tanque tenga un espesor, como mínimo, de aproximadamente 5 milímetros. siempre y cuando no exista corrosión, fisuras o debilitamiento del espesor que pueda, ante la circulación de la corriente del rayo, permitir la penetración del arco eléctrico producido por el rayo al momento de golpear los tanques de almacenamiento.
  • 58.
    DISENO Y CALCULODE TANQUES DE ALMACENAMIENTO (API 650) 58 2.6. NORMAS DE SEGURIDAD Y MEDIO AMBIENTE. 2.6.1. NORMAS DE SEGURIDAD. Este tipo de construcciones requiere de normas de seguridad bastante estrictas puesto que se trabaja con productos derivados del petróleo que son altamente contaminantes y peligrosos por que pueden producir explosiones. El calculo, diseño, construcción, operación y mantenimiento de estos dispositivos están regidos por los estándares de la API, NFPA y BSI, entre los que encontramos: BS EN 1127-1: Atmósferas explosivas, prevención y protección. BS 5908: Código de prácticas para precaución de fuego en la industria química. BS 6713, parte 4: Sistemas de protección contra explosiones. BS 6759: Válvulas de seguridad. API Std 2000: Venteo atmosférico y a baja presión de tanques de almacenaje. API RP 520: Selección, dimensionado e instalación de dispositivos de alivio de presión en refinerías. API RP 526: Válvulas de seguridad y alivio bridadas. API RP 527: Tensión de asiento para válvulas de seguridad. NFPA 68: Guía para venteo y deflagración. NFPA 30: Código de Líquidos Inflamables y Combustibles. NFPA 69: Estándar Sobre sistemas de Prevención de Explosiones. NFPA 491: guía de reacciones químicas peligrosas. NFPA 7:. Código Eléctrico Nacional. NFPA 77: Electricidad estática.
  • 59.
    DISENO Y CALCULODE TANQUES DE ALMACENAMIENTO (API 650) 59 2.6.2. NORMAS AMBIENTALES. Los tanques de almacenaje pueden contener productos volátiles capaces de producir emisiones gaseosas contaminantes para el medio ambiente, entre ellos los llamados Volatile Organic Compound (VOCs) que es preciso medir y controlar. A los fines de reglamentar el control de estas emisiones la Environmental Protection Agency (EPA) de USA estableció el estándar siguiente y un software para su cálculo. EPA 40 CFR, Part 60: Subparts K, Ka y Kb, titulado: “ Standars for performance for storage vessels for petroleum liquids”. TANKS, versión 4.09 software (EPA): el programa calcula las emisiones de los tanques basado en el standard API 42 sobre: “ Compilación de contaminantes del aire provenientes del almacenaje de líquidos orgánicos”. EPA 450/3-81-003: VOC emissions from volatile organics liquid storage tanks API y el Canadian Petroleum Products Institute presentan los siguientes estándares para el calculo de las pérdidas por evaporación. API 2517: Evaporative losses from external floating roof tanks. API 2518: Evaporative losses from fixed roof tanks. API 2519: Evaporative losses from internal floating roof tanks. EPS-5/AP/3-1990: Canadian emissions inventory of common air contaminants.
  • 60.
    DISENO Y CALCULODE TANQUES DE ALMACENAMIENTO (API 650) 60 CAPÍTULO 3 CÁLCULOS
  • 61.
    DISENO Y CALCULODE TANQUES DE ALMACENAMIENTO (API 650) 61 3.1. CONSIDERACIONES DE DISEÑO. Para el diseño y cálculo de tanques de almacenamiento, el usuario deberá proporcionar los datos y la información necesaria para llevar a cabo el proyecto. La información mínima requerida (condiciones de operación y de diseño) es: volumen, temperatura, peso específico del líquido, corrosión permisible, etc. Dado que es el que conoce con exactitud las características del fluido que desea almacenar y el lugar de instalación del tanque, por lo que el fabricante no deberá suponer estas condiciones, y si así fuera, el fabricante tiene la obligación de informar al usuario, quien tiene la responsabilidad de autorizar o no las condiciones expuestas por la compañía constructora. Así también el usuario establecerá la magnitud y dirección de las cargas externas que pudieran ocasionar deformaciones en el tanque, con el fin de diseñar los elementos involucrados con este. El sobre espesor por corrosión que especificará el usuario se incluirá en cuerpo, fondo, techo y estructura, y sólo se agrega al final del cálculo de cada uno de los elementos del tanque, debido a que la agresividad química no es lo mismo para el fluido en estado líquido o gaseoso y en algunos casos hasta para los lodos. El usuario podrá especificar el material a utilizar en el tanque, así como el de sus componentes. El fabricante y/o diseñador podrá sugerir los materiales recomendables en cada caso para que el usuario los apruebe. El fabricante tiene la obligación de cumplir con todas las especificaciones y Normas que marca el estándar y que acuerde con el usuario, las cuales serán supervisadas y evaluadas por el personal que designe el usuario. 3.2. DISEÑO DEL FONDO. El diseño del fondo de los tanques de almacenamiento depende de las siguientes consideraciones: Los cimientos usados para soportar el tanque, el método que se utilizará para desalojar el producto almacenado, el grado de sedimentación de sólidos en suspensión, la corrosión del fondo y el tamaño del tanque. Lo que nos conduce al uso de un fondo plano, donde la resistencia permisible del suelo deberá ser por lo menos de 1,465 Kg/cm2 (3,000 lb / pie2 ). Los fondos de tanques de almacenamiento cilíndricos verticales son generalmente fabricados de placas de acero con un espesor menor al usado en el cuerpo. Esto es posible para el fondo, porque se encuentra soportado por una base de concreto, arena o asfalto, los
  • 62.
    DISENO Y CALCULODE TANQUES DE ALMACENAMIENTO (API 650) 62 cuales soportarán el peso de la columna del producto; además, la función del fondo es lograr la hermeticidad para que el producto no se filtre por la base. Teóricamente, una placa delgada de metal calibre 16 o menor es capaz de soportar la flexión y la carga de compresión que se genera en la periferia del fondo por el peso del cuerpo que descansa sobre esta sección, pero para prevenir deformaciones al soldar, se usarán placas que tengan un espesor mínimo nominal de 6.3mm. (1/4 pulg.), 49.8 Kg /m2 (10.2 lb / pie2 ) excluyendo cualquier corrosión permisible especificada por el usuario. El fondo tendrá que ser de un diámetro mayor que el diámetro exterior del tanque, por lo menos, 51mm. (2 pulg.) más en el ancho del filete de soldadura de la unión entre cuerpo y el fondo. Las placas con las que se habilite el fondo deberán tener preferentemente un ancho de 1,829mm. (72 pulg.) con una longitud comercial que el fabricante obtenga en el mercado, la cual pueda manejar en su taller o en campo sin problemas. El cuerpo del tanque puede estar soportado directamente por el fondo o por una placa anular. Generalmente los fondos se forman con placas traslapadas, esto se hace con el fin de absorber las deformaciones sufridas por el fondo si las placas fueran soldadas al tope. El espesor nominal de la placa está en referencia a la construcción del tanque. El espesor especificado está basado en los requerimientos de erección. Será conveniente utilizar las placas más largas disponibles en el mercado para construir el fondo, ya que resultan ser las más económicas, cuyas dimensiones son; 1,829 mm. ó 2,438 mm. (6 ú 8 pies) de ancho por 6,096 mm. 9,144 mm.(20 ó 30 pies) de largo. Si las placas del fondo descansan simétricamente en relación a las líneas de centros del tanque, el número de placas empleadas en la fabricación del fondo se reduce al mínimo. Esto es una gran ventaja, porque las placas pueden estar a escuadrada y cortadas en grupos de 4 placas, en cambio, si están simétricas a un solo eje, sólo dos placas serán a escuadrada y cortadas al mismo tiempo. Un fondo asimétrico a lo largo de ambas líneas de centros, ocasiona mayor número de placas de diferentes tamaños formando el fondo. El fondo se deberá calcular utilizando las siguientes ecuaciones. .............................................................Ec. 1 Donde: A = Área del fondo. D = Diámetro del tanque. .............................................................Ec. 2 4 2 D Afondo π = bhAPL =
  • 63.
    DISENO Y CALCULODE TANQUES DE ALMACENAMIENTO (API 650) 63 Donde: APL = Área de placa del fondo. b = Base de la palca. h = Altura de la palca. ..................................................Ec. 3 Donde: APL = Área de placa del fondo. AFondo = Área del fondo. 3.3. DISEÑO DEL CUERPO. El espesor de la pared del cuerpo requerido para resistir la carga hidrostática será mayor que el calculado por condiciones de diseño o por condiciones de prueba hidrostática, pero en ningún caso será menor a lo que se muestra en la tabla 3.1. TABLA 3.1. ESPESOR REQUERIDO DE PARED DEL CUERPO. El espesor de la pared por condición de diseño, se calcula con base al nivel del líquido, tomando la densidad relativa del fluido establecido por el usuario. El espesor por condiciones de prueba hidrostática se obtiene considerando el mismo nivel de diseño, pero ahora utilizando la densidad relativa del agua. Cuando sea posible, el tanque podrá ser llenado con agua para la prueba hidrostática, pero si esto no es posible y el cálculo del espesor por condiciones de prueba hidrostática es mayor que el calculado por condiciones de diseño, deberá usarse el obtenido por condiciones de prueba hidrostática. El esfuerzo calculado de la carga hidrostática para cada anillo no deberá ser mayor que el permitido por el material y su espesor no será menor que el de los anillos subsecuentes. El esfuerzo máximo permisible de diseño (Sd) y de prueba hidrostática (St), se muestra en la tabla 3.2, recomendado por el estándar API 650 en el diseño de tanques de almacenamiento. PL fondo sPL A A No =´
  • 64.
    DISENO Y CALCULODE TANQUES DE ALMACENAMIENTO (API 650) 64 TABLA 3.2. MATERIALES MÁS COMUNES Y ESFUERZOS PERMISIBLES (kg/cm2 ). 3.3.1. CÁLCULO DE ESPESORES DEL CUERPO POR EL MÉTODO DE UN PIE. Con este método se calcula el espesor requerido de la pared del tanque, por condiciones de diseño y de prueba hidrostática, considerando una sección transversal ubicada a 304.8 mm. (1 pie) por debajo de la unión de cada anillo. Este método sólo es aplicable en tanques con un diámetro igual o menor a 60,960 mm. (200pies). Las ecuación utilizada por este método es: ..............................................Ec. 4 Donde: t = Espesor de placa del cuerpo. H = Altura del tanque. D = Diámetro del tanque. G = Gravedad especifica del fluido. E = Eficiencia de soldadura. CA = Corrosión permisible. ( ) CAE GDH t + − = 21000 16.2
  • 65.
    DISENO Y CALCULODE TANQUES DE ALMACENAMIENTO (API 650) 65 3.4. DISEÑO DEL TECHO. Como se mencionó anteriormente, los tanques de almacenamiento pueden clasificarse por el tipo de cubierta en: De techos fijos, de techos flotantes y sin techo. Dentro de los techos fijos tenemos tres tipos: cónicos, de domo y de sombrilla, los cuales pueden ser autosoportados o soportados por estructura (para el caso de techos cónicos de tanques de gran diámetro). El techo cónico es una cubierta con la forma y superficie de un cono recto. El tipo domo es un casquete esférico, y el de tipo sombrilla, es un polígono regular curvado por el eje vertical. Los techos autosoportados ya sean tipo cónico o domo tiene la característica de estar apoyados únicamente en su periferia, calculados y diseñados para que su forma geométrica, en combinación con el espesor mínimo requerido, absorban la carga generada por su propio peso más las cargas vivas, a diferencia de los techos soportados que contarán con una estructura que admita dichas cargas. Independientemente de la forma o el método de soporte, los techos son diseñados para soportar una carga viva de por lo menos, 1.76 Kg /cm2 (25 lb /pie2 ) más la carga muerta ocasionada por el mismo. Las placas del techo tendrán un espesor mínimo nominal de 4.7 mm. (3/16 pulg.) o lámina calibre 7. Un espesor mayor puede ser requerido para el caso de techos autosoportados, la corrosión permisible puede ser incluida al espesor calculado a menos que el usuario especifique su exclusión, lo que es válido también a los techos soportados. Todos los miembros estructurales internos y externos de techos soportados tendrán un espesor mínimo nominal de 4.32 mm. (0.17 pulg) en cualquier componente de estos. La inclusión de corrosión de la corrosión permisible será acordada entre el usuario y el fabricante. Las placas del techo se sujetarán al ángulo superior del tanque (anillo de coronamiento), con un cordón de soldadura continuo sólo por la parte superior, aunque éste sea soportado. 3.4.1. DISEÑO DEL TECHO TIPO DOMO. Los techos tipo domo se caracterizan por ser un casquete esférico el cual está formado por placas soldadas a traslape o a tope. Este tipo de tapas son poco usuales debido a que tienen un proceso de fabricación muy laborioso ya que cada placa y segmento tienen que formarse con el radio de curvatura, incrementado de esta manera su costo y complejidad.
  • 66.
    DISENO Y CALCULODE TANQUES DE ALMACENAMIENTO (API 650) 66 Los techos de tipo sombrilla son una variedad del tipo domo el cual solo conserva la curvatura sobre el eje vertical ya que sobre el eje circunferencial tiene semejanza con el tipo cónico. Las tapas por lo general se fabrican a partir de gajos para facilitar la curvatura de las placas. Este tipo de tapas deberán estar diseñadas bajo los siguientes requerimientos. ..................................................................Ec. 5 Donde: t = Espesor de placa del techo. R = Radio de curvatura (min 0.8D y max 1.2D). ...............................................................Ec. 6 Donde: A = Área de sección de soporte. D = Diámetro del tanque. R = Radio de curvatura. 3.5. MEMORIA DE CÁLCULO. Memoria de cálculo para tanque de 20,000 barriles para almacenamiento de nafta. TABLA 3.3. BASES DE DISEÑO. Producto Nafta Densidad relativa del producto 0.8 Código de diseño API-650 Tipo de techo Cónico Diámetro interior 70’ Altura total 30’ + 14.28´ del techo Material del cuerpo SA-285-C 200 R t = 1500 DR A =
  • 67.
    DISENO Y CALCULODE TANQUES DE ALMACENAMIENTO (API 650) 67 3.5.1. CÁLCULO DE ESPESORES. 1° Paso: SELECCIÓN DE LA PLACA. TABLA 3.4. PLACAS COMERCIALES. Placas comerciales (20-40 °C) 4´ x 4´ - 4´ x 8´ - 4´ x 10´ 6´ x 8´ 8´ x 8´ - 8´ x 10´ - 8´ x 12´ 10´ x 10´ - 10´ x 12´ PL´s 10’x12’ Se eligió usar placas de 10’x12’ por ser las de mayor área. 2° Paso: SELECCIÓN DEL MATERIAL DE LAS PLACAS. Mat. SA-285-C Acero al carbono para recipientes a presión según ASTM. 3° Paso: EFICIENCIA DE SOLDADURA. E= 0.85 Se manejará una eficiencia de junta de 0.85 por que estará radiografiada por zonas. 4° Paso: LÍQUIDO A ALMACENAR. Nafta G = 0.8 ≈ 1 La densidad relativa del líquido a almacenar en ningún caso deberá ser menor de 1.0. 5° Paso: ESPESORES DE CADA CINTURÓN. ( ) CAE GDH t + − = 21000 16.2 ( )( )( ) ( ) " 16 6358.00625.00.295 16 1 85.021000 7011306.2 1 ≅=+=+ − =At
  • 68.
    DISENO Y CALCULODE TANQUES DE ALMACENAMIENTO (API 650) 68 6° Paso: FONDO DEL TANQUE. Se mantiene el mismo espesor del primer cinturón para que la soldadura no se deslice y se pueda soportar. tFONDO= tA1 tFONDO= 6/16 7° Paso: ESPESOR DEL TECHO TIPO CONO. El ángulo de inclinación del techo no deberá ser menor de 9.28° ni mayor de 37°, por esta razón se utilizará un ángulo de inclinación de 22°. *Este espesor está dentro del rango permitido pues no es mayor de 1/2” ni menor de 3/16”. 8° Paso: ÁREA DE SECCIÓN DE ÁNGULO DE SOPORTE EXTERIOR. ( )( )( ) ( ) ( )( )( ) ( ) " 4 1 16 3154.00625.00.0917 16 1 85.021000 7011106.2 " 16 5256.00625.00.193 16 1 85.021000 7011206.2 3 2 ≅≅=+=+ − = ≅=+=+ − = A A t t " 2 147.0 22400 70 400 22 min ≅= ° = = °= sen t sen D t θ θ ( ) 2 2 2 2 2 2 129.28 lg1 54.2 lg266.3 lg36.4 223000 70 3000 cm p cm p p sen A sen D A =      = ° = = θ
  • 69.
    DISENO Y CALCULODE TANQUES DE ALMACENAMIENTO (API 650) 69 L 102x6 mm. 4”x4”x5/8” 3.5.2. CÁLCULO DE PLACAS DEL CUERPO. Como ya se mencionó, se van a utilizar placas de 10’ x 12’ las cuales llevarán una sercha de 5” ocasionada por el rolado de la paca, los detalles se muestran en la figura 3.1. FIG. 3.1. DIMENSIÓN DE LA SERCHA. 1° Paso: PERÍMETRO DEL CUERPO. 2° Paso: LONGITUD REAL DE PLACA. LRPL= Loriginal – sercha 3° Paso: NÚMERO DE PLACAS. ( ) ´91.21970 == = π π P DP ´58.11 12 5´12 =−=RPLL ( ) "88.11120.99´ " 16 6de´1899.18 58.11 91.219 PL´S. PL´S. =+ ≈== = SPLNo L P No RPL
  • 70.
    DISENO Y CALCULODE TANQUES DE ALMACENAMIENTO (API 650) 70 4° Paso: LONGITUD DE SOLDADURA. 5° Paso: AJUSTE DE PLACAS DE CADA CINTURÓN. Long. sold – excedente de PL 1.125 - 11.88 = 10.75” 6° Paso: DEFINICIÓN DEL NÚMERO DE PLACAS REALES. 7° Paso: DEFINIR EL RESTO DE LOS CINTURONES. 18 PL´s de 10’ x 12’x 6/16” 1 PL de 10’ x 11.10 ´x 6/16” 18 PL´s de 10’ x 12’x 5/16” 1 PL de 10’ x 11.10´ x 5/16” 18 PL´s de 10’ x 12’x 1/4” 1 PL de 10’ x 11.10´ x 1/4” 8° Paso: CÁLCULO DE PESOS. 1er. Cinturón (6/16”). 18 x 154 x 12 = 33264 lb 1 x 154 x 11.10 = 1709.4 lb 33264 + 1709.4 = 34973.4 lb 2° cinturón (5/16”). 18 x 128 x 12 = 27648 lb 1 x 128 x 11.1 = 1420.8 lb 27648 + 1420.8 = 29068.8 lb 3° cinturón (1/4”). 18 x 102 x 12 = 22032 lb 1 x 102 x 11.1 = 1132.2 lb 22032 + 1132.2 = 23164.2 lb 18 PL’s de 10’ x 12 ’x 6/16 ” 1 PL de 10’ x 11.10´ x 6/16” ( ) ( ) "187.1 16 119Sold 16 1No.PL´SSold == = Long Long
  • 71.
    DISENO Y CALCULODE TANQUES DE ALMACENAMIENTO (API 650) 71 Peso total. Wt = 34973.4 + 29.068.8 + 23164.2 = 87206.4 lb 3.5.3. CÁLCULO DE PLACAS DE FONDO Y TECHO. Para calcular las placas que irán en el fondo es necesario considerar el diámetro exterior de del fondo puesto que al diámetro del cuerpo se le agregará 3” con el fin de poder aplicar la soldadura que unirá el primer cinturón con el fondo tanto por el interior como por el exterior. En la figura 3.2 se muestra el valor del diámetro exterior del fondo. FIG. 3.2. DIAMETRO EXTERIOR DEL FONDO. 1° Paso: ÁREA DE FONDO. 2° Paso: ÁREA DE PLACA. 3° Paso: NÚMERO DE PLACAS. ( ) 2 2 2 ft99.3875 4 70.25 4 D == = π π fondo fondo A A ( ) 2 1201012 h ftA bA PL PL == = PL´s29.32 120 99.3875 . . == = PLNo A A PLNo PL fondo
  • 72.
    DISENO Y CALCULODE TANQUES DE ALMACENAMIENTO (API 650) 72 4° Paso: PERÍMETRO DE SOLDADURA. P= 2b+2h P= 2(12)+2(10)=44´ 5° Paso: DEFINIR NUMERO DE PLACAS POR LÍNEA. *El numero de placas se obtendrá por medio de dibujo* 6° Paso: ESPECIFICACIÓN. 32 x 10’x 12’x 6/16” 7° Paso: CÁLCULO DE PESO. En lo que respecta a los cálculos del techo del tanque será necesario especificar las dimensiones que tendrá el cono, tales como diámetro y altura, esto se debe a que el cono estará soportado por un ángulo soldado en la parte externa del ultimo cinturón del cuerpo del tanque, por lo cual su diámetro será mayor que el del tanque. El diagrama de dicho arreglo se presenta a continuación en la figura 3.3. FIG. 3.3. COLOCACIÓN DEL TECHO. ( ) ( ) lbW lbW ft lb W FONDO PL 59136184832 184812154 154 == == =
  • 73.
    DISENO Y CALCULODE TANQUES DE ALMACENAMIENTO (API 650) 73 1° Paso: DIÁMETRO REAL. 2° Paso: DIMENSIONAMIENTO DEL CONO. 3° Paso: ÁREA DEL CONO. Alateral = π x l Alateral = π (35.35) (38.13) = 4234.54 ft2 3° Paso: NÚMERO DE PLACAS DEL CONO. 4° Paso: DEFINIR NÚMERO DE PLACAS POR LÍNEA. *El numero de placas se definirá por dibujo* 5° Paso: ESPECIFICACIÓN. 35 x 10’x 12’x 1/2” 6° Paso: CÁLCULO DE PESO. ( ) ´708.70"5.8´70"1/44270´ PL)ultimaEsp.Ang.(21 =+=++= ++= R R D LongDD ( ) ( ) ´13.3828.1435.35 ´28.1422tan35.35tan ´35.35 2 708.70 2 22 22 =+= += =°== === l yxl xy D x R θ PL´s35.28 120 4234.54 PL´s. A A PL´s. PL lateral == = No No ( ) ( ) lbW lbW ft lb W TECHO PL 42840122435 122412102 102 == == =
  • 74.
    DISENO Y CALCULODE TANQUES DE ALMACENAMIENTO (API 650) 74 3.5.4. CÁLCULO DE REFUERZOS DE APERTURA. Debido a la ubicación de las diferentes boquillas con las que contará el tanque de almacenamiento, las condiciones de presión hidrostática varían en forma directa a la altura, por lo que es necesario determinar cada una de las diferentes presiones para poder iniciar con los cálculos correspondientes. Las boquillas con lasque estará provisto el tanque de almacenamiento serán: 1. Registro Pasa-Hombre (cuerpo). 2. Registro Pasa-Hombre (techo). 3. Entrada del producto. 4. Salida del producto. 5. Drene. 6. Venteo. 7. Registro Pasa-Hombre. FIG. 3.4. POSICIONAMIENTO DE BOQUILLAS. 3.5.4.1. CÁLCULO DE BOQUILLA N-1. Material: SA-181 ST= 60000 PSI
  • 75.
    DISENO Y CALCULODE TANQUES DE ALMACENAMIENTO (API 650) 75 Material tubo: SA-53-B ST= 16100 PSI DNOM = 609 mm = 24” "313.11 2 626.22 2 "626.22int "0.24 0.687"t int ext === = = = D r D D 1° Paso: PRESIÓN DE OPERACIÓN. ( )( ) Psi ft lbft ft lbP fth ft lb ghP 838.696.986268.045.47 26 45.47 231 3 ==      = = = = ρ ρ 2° Paso: PRESIÓN DE DISEÑO. 3° Paso: ESPESOR DEL RECIPIENTE BASE. ( ) ( ) ( ) " 16 11"06.10625.0996.0" 16 1 "996.0 838.366.0115700 420838.36 6.0 ≅=+=+= = − = − = r r tt PSE PR t 4° Paso: ESPESOR DEL TUBO BASE. ( ) ( ) ( ) "084.00625.01059.2" 16 1 "1059.2 383.366.0116100 313.11838.36 6.0 2 2 =+=+= = − = − = − − xtt x PSE PR t rnn rn PSIP PSIPP PSI O 838.3630838.6 30 300PSi O =+= += <
  • 76.
    DISENO Y CALCULODE TANQUES DE ALMACENAMIENTO (API 650) 76 Como tn < t por lo tanto tn = 0.687” 5° Paso: ÁREA DE REFUERZO REQUERIDO. ( ) 2 lg535.22996.0626.22 pdtrAREQ === 6° Paso: ÁREA DE REFUERZO EVALUADA. A1 = Área de exceso en el recipiente (se selecciona la mayor). ( ) ( ) ( )( ) ( )( ) 2 1 2 1 lg232.0 16 11687.0996.0 16 1122 lg504.1996.0 16 11626.22 pttntrtA ptrtdA =+−=+−= =−=−= A2 = Área de exceso en el boquilla (se selecciona la menor). ( ) ( )( ) ( ) ( )( ) 23 2 23 2 lg344.21061.4687.0687.055 lg625.31061.4687.0 16 1155 ptrntntnA ptrntntA =×−=−= =×−=−= − − A3 = Proyección al interior (se selecciona la h menor). ( ) ( ) ( ) ( )( ) 2 3 lg887.1374.12687.02 "374.1687.022 "125.2 16 1122 phtnA tnh th === === === A4 = Área de soldadura exterior (se selecciona el espesor menor). Espesor de placa = 16 11 ” Espesor de tubo = 0.687” ( ) ( ) 222 4 16 1 lg389.0624.0soldadurademínimaBase "624.00625.0687.0-tnsoldadurademínimaBase pA === =−== A5 = Área de soldadura interior (se selecciona el espesor menor). Espesor de placa = 16 11 ” Espesor de tubo = 0.687”
  • 77.
    DISENO Y CALCULODE TANQUES DE ALMACENAMIENTO (API 650) 77 ( ) ( ) 222 5 16 1 lg389.0624.0soldadurademínimaBase "624.00625.0687.0-tnsoldadurademínimaBase pA === =−== 7° Paso: ÁREA DE REFUERZO EVALUADA. 2 521 lg513.6389.0389.0887.1344.2504.1 ... pA AAAA RE RE =++++= ++∑= 8° Paso: ÁREA DE REFUERZO REAL. 2 lg022.16513.6535.22 pAAA REREQRreal =−=−= "079.39079.1524 "539.7 2 079.15 2 "079.15 16 11 022.16 =+=+= == === = bDDext b h A b bhA EXTREF FIG. 3.5. DETALLE DE BOQUILLA.
  • 78.
    DISENO Y CALCULODE TANQUES DE ALMACENAMIENTO (API 650) 78 3.5.4.2. CÁLCULO DE BOQUILLA N-2. Material: SA-181 ST= 60000 PSI Material tubo: SA-53-B ST= 16100 PSI DNOM = 609 mm = 24” "313.11 2 626.22 2 "626.22int "0.24 0.687"t int ext === = = = D r D D 1° Paso: PRESIÓN DE OPERACIÓN. *Debido a que la presión de vapor de la Nafta es menor que la presión de vapor agua, se tomará como presión de operación esta ultima. P = 17.54 mmHg = 0.339 Psi 2° Paso: PRESIÓN DE DISEÑO. 3° Paso: ESPESOR DEL RECIPIENTE BASE. ( ) ( ) ( ) " 8 7"875.00625.0812.0" 16 1 "812.0 339.306.0115700 420339.30 6.0 ≅=+=+= = − = − = r r tt PSE PR t PSIP PSIPP PSI O 339.3030339.0 30 300PSi O =+= += <
  • 79.
    DISENO Y CALCULODE TANQUES DE ALMACENAMIENTO (API 650) 79 4° Paso: ESPESOR DEL TUBO BASE. ( ) ( ) ( ) "084.00625.01013.2" 16 1 "1013.2 339.306.0116100 313.11339.30 6.0 2 2 =+=+= = − = − = − − xtt x PSE PR t rnn rn Como tn < t por lo tanto tn = 0.687” 5° Paso: ÁREA DE REFUERZO REQUERIDO. ( ) 2 lg37.18812.0626.22 pdtrAREQ === 6° Paso: ÁREA DE REFUERZO EVALUADA. A1 = Área de exceso en el recipiente (se selecciona la mayor). ( ) ( ) ( )( ) ( )( ) 2 1 2 1 lg196.0 8 7687.0812.0 8 722 lg425.1812.0 8 7626.22 pttntrtA ptrtdA =+−=+−= =−=−= A2 = Área de exceso en el boquilla (se selecciona la menor). ( ) ( )( ) ( ) ( )( ) 23 2 23 2 lg371.31079.3687.0687.055 lg989.21079.3687.0 8 755 ptrntntnA ptrntntA =×−=−= =×−=−= − − A3 = Proyección al interior (se selecciona la h menor). ( ) ( ) ( ) ( )( ) 2 3 lg887.1374.12687.02 "374.1687.022 "75.1 8 722 phtnA tnh th === === === A4 = Área de soldadura exterior (se selecciona el espesor menor). Espesor de placa = 8 7 ” Espesor de tubo = 0.687” ( ) ( ) 222 4 16 1 lg389.0624.0soldadurademínimaBase "624.00625.0687.0-tnsoldadurademínimaBase pA === =−==
  • 80.
    DISENO Y CALCULODE TANQUES DE ALMACENAMIENTO (API 650) 80 A5 = Área de soldadura interior (se selecciona el espesor menor). Espesor de placa = 8 7 ” Espesor de tubo = 0.687” ( ) ( ) 222 5 16 1 lg389.0624.0soldadurademínimaBase "624.00625.0687.0-tnsoldadurademínimaBase pA === =−== 7° Paso: ÁREA DE REFUERZO EVALUADA. 2 521 lg079.7389.0389.0887.1989.2425.1 ... pA AAAA RE RE =++++= ++∑= 8° Paso: ÁREA DE REFUERZO REAL. 2 lg291.11079.737.18 pAAA REREQRreal =−=−= "904.36904.1224 "452.6 2 904.12 2 "904.12 8 7 291.11 =+=+= == === = bDDext b h A b bhA EXTREF
  • 81.
    DISENO Y CALCULODE TANQUES DE ALMACENAMIENTO (API 650) 81 FIG. 3.6. DETALLE DE BOQUILLA. 3.5.4.4. CÁLCULO DE BOQUILLA N-3. Material recipiente: SA-285-C SR=15700 PSI Material tubo: SA-53-B ST= 16100 PSI DNOM = 102 mm = 4” 013.2 2 026.4 2 "026.4int "500.4 0.237"t int ext === = = = D r D D
  • 82.
    DISENO Y CALCULODE TANQUES DE ALMACENAMIENTO (API 650) 82 1° Paso: PRESIÓN DE OPERACIÓN. ( )( ) Psi ft lbft ft lbP fth ft lb ghP 263.096.3718.045.47 1 45.47 231 3 ==      = = = = ρ ρ 2° Paso: PRESIÓN DE DISEÑO. 3° Paso: ESPESOR DEL RECIPIENTE BASE. ( ) ( ) ( ) " 8 7"873.00625.0810.0" 16 1 "810.0 263.306.0115700 420263.30 6.0 ≅=+=+= = − = − = r r tt PSE PR t 4° Paso: ESPESOR DEL TUBO BASE. ( ) ( ) ( ) "066.00625.010788.3" 16 1 "10788.3 263.306.0116100 013.2263.30 6.0 3 3 =+=+= = − = − = − − xtt x PSE PR t rnn rn Como tn < t por lo tanto tn = 0.237” 5° Paso: ÁREA DE REFUERZO REQUERIDO. ( ) 2 lg26.3810.0026.4 pdtrAREQ === 6° Paso: ÁREA DE REFUERZO EVALUADA. A1 = Área de exceso en el recipiente (se selecciona la mayor). PSIP PSIPP PSI O 263.3030263.0 30 300PSi O =+= += <
  • 83.
    DISENO Y CALCULODE TANQUES DE ALMACENAMIENTO (API 650) 83 ( ) ( ) ( )( ) ( )( ) 2 1 2 1 lg144.0 8 7237.0810.0 8 722 lg261.0810.0 8 7026.4 pttntrtA ptrtdA =+−=+−= =−=−= A2 = Área de exceso en el boquilla (se selecciona la menor). ( ) ( )( ) ( ) ( )( ) 23 2 23 2 lg276.010788.3237.0237.055 lg02.110788.3237.0 8 755 ptrntntnA ptrntntA =×−=−= =×−=−= − − A3 = Proyección al interior (se selecciona la h menor). ( ) ( ) ( ) ( )( ) 2 3 lg224.0474.02237.02 "474.0237.022 "75.1 8 722 phtnA tnh th === === === A4 = Área de soldadura exterior (se selecciona el espesor menor). Espesor de placa = 8 7 ” Espesor de tubo = 0.237” ( ) ( ) 222 4 16 1 lg03.0174.0soldadurademínimaBase 174.00625.0237.0-tnsoldadurademínimaBase pA === =−== A5 = Área de soldadura interior (se selecciona el espesor menor). Espesor de placa = 8 7 ” Espesor de tubo = 0.237” ( ) ( ) 222 5 16 1 lg03.0174.0soldadurademínimaBase 174.00625.0237.0-tnsoldadurademínimaBase pA === =−== 7° Paso: ÁREA DE REFUERZO EVALUADA. 2 521 lg821.0030.0030.0224.0276.0261.0 ... pA AAAA RE RE =++++= ++∑=
  • 84.
    DISENO Y CALCULODE TANQUES DE ALMACENAMIENTO (API 650) 84 8° Paso: ÁREA DE REFUERZO REAL. 2 lg439.2821.026.3 pAAA REREQRreal =−=−= "287.7787.25.4 "393.1 2 787.2 2 "787.2 8 7 439.2 =+=+= == === = bDDext b h A b bhA EXTREF FIG. 3.7. DETALLE DE BOQUILLA. 3.5.4.3. CÁLCULO DE BOQUILLA N-4. Material recipiente: SA-285-C SR=15700 PSI Material tubo: SA-53-B ST= 16100 PSI DNOM = 102 mm = 4”
  • 85.
    DISENO Y CALCULODE TANQUES DE ALMACENAMIENTO (API 650) 85 013.2 2 026.4 2 "026.4int "500.4 0.237"t int ext === = = = D r D D 1° Paso: PRESIÓN DE OPERACIÓN. ( )( ) Psi ft lbft ft lbP fth ft lb ghP 627.784.1100298.045.47 29 45.47 231 3 ==      = = = = ρ ρ 2° Paso: PRESIÓN DE DISEÑO. 3° Paso: ESPESOR DEL RECIPIENTE BASE. ( ) ( ) ( ) " 16 110625.0008.1" 16 1 "008.1 627.376.0115700 420627.37 6.0 =+=+= = − = − = r r tt PSE PR t 4° Paso: ESPESOR DEL TUBO BASE. ( ) ( ) ( ) "067.00672.010711.4" 16 1 "10711.4 627.376.0116100 013.2627.37 6.0 3 3 =+=+= = − = − = − − xtt x PSE PR t rnn rn Como tn < t por lo tanto tn = 0.237” PSIP PSIPP PSI O 627.3730627.7 30 300PSi O =+= += <
  • 86.
    DISENO Y CALCULODE TANQUES DE ALMACENAMIENTO (API 650) 86 5° Paso: ÁREA DE REFUERZO REQUERIDO. ( ) 2 lg058.4008.1026.4 pdtrAREQ === 6° Paso: ÁREA DE REFUERZO EVALUADA. A1 = Área de exceso en el recipiente (se selecciona la mayor). ( ) ( ) ( )( ) ( )( ) 2 1 2 1 lg118.0 16 11237.0008.1 16 1122 lg219.0008.1 16 11026.4 pttntrtA ptrtdA =+−=+−= =−=−= A2 = Área de exceso en el boquilla (se selecciona la menor). ( ) ( )( ) ( ) ( )( ) 23 2 23 2 lg275.010711.4237.0237.055 lg234.110711.4237.0 16 1155 ptrntntnA ptrntntA =×−=−= =×−=−= − − A3 = Proyección al interior (se selecciona la h menor). ( ) ( ) ( ) ( )( ) 2 3 lg224.0474.02237.02 "474.0237.022 "125.2 16 1122 phtnA tnh th === === === A4 = Área de soldadura exterior (se selecciona el espesor menor). Espesor de placa = 1 16 1 ” Espesor de tubo = 0.237” ( ) ( ) 222 4 16 1 lg03.0174.0soldadurademínimaBase 174.00625.0237.0-tnsoldadurademínimaBase pA === =−== A5 = Área de soldadura interior (se selecciona el espesor menor). Espesor de placa = 1 16 1 ” Espesor de tubo = 0.237” ( ) ( ) 222 5 16 1 lg03.0174.0soldadurademínimaBase 174.00625.0237.0-tnsoldadurademínimaBase pA === =−==
  • 87.
    DISENO Y CALCULODE TANQUES DE ALMACENAMIENTO (API 650) 87 7° Paso: ÁREA DE REFUERZO EVALUADA. 2 521 lg778.0030.0030.0224.0275.0219.0 ... pA AAAA RE RE =++++= ++∑= 8° Paso: ÁREA DE REFUERZO REAL. 2 lg28.3778.0058.4 pAAA REREQRreal =−=−= "587.7087.35.4 "54.1 2 087.3 2 "087.3 16 11 28.3 =+=+= == === = bDDext b h A b bhA EXTREF FIG. 3.8. DETALLE DE BOQUILLA.
  • 88.
    DISENO Y CALCULODE TANQUES DE ALMACENAMIENTO (API 650) 88 3.5.4.5. CÁLCULO DE BOQUILLA N-5. Material recipiente: SA-285-C SR=15700 PSI Material tubo: SA-53-B ST= 16100 PSI DNOM = 76 mm = 3” 534.1 2 "068.3 2 "068.3int "500.3 0.216t int ext === = = = D r D D 1° Paso: PRESIÓN DE OPERACIÓN. ( )( ) Psi ft lbft ft lbP fth ft lb ghP 627.784.1100298.045.47 29 45.47 231 3 ==      = = = = ρ ρ 2° Paso: PRESIÓN DE DISEÑO. 3° Paso: ESPESOR DEL RECIPIENTE BASE. ( ) ( ) ( ) " 16 110625.0008.1" 16 1 "008.1 627.376.0115700 420627.37 6.0 =+=+= = − = − = r r tt PSE PR t PSIP PSIPP PSI O 627.3730627.7 30 300PSi O =+= += <
  • 89.
    DISENO Y CALCULODE TANQUES DE ALMACENAMIENTO (API 650) 89 4° Paso: ESPESOR DEL TUBO BASE. ( ) ( ) ( ) "063.00625.01059.3" 16 1 "1059.3 627.376.0116100 534.1627.37 6.0 3 3 =+=+= = − = − = − − xtt x PSE PR t rnn rn Como tn < t por lo tanto tn = 0.216” 5° Paso: ÁREA DE REFUERZO REQUERIDO. ( ) 2 lg092.3008.1068.3 pdtrAREQ === 6° Paso: ÁREA DE REFUERZO EVALUADA. A1 = Área de exceso en el recipiente (se selecciona la mayor). ( ) ( ) ( )( ) ( )( ) 2 1 2 1 lg139.0 16 11216.0008.1 16 1122 lg167.0008.1 16 11068.3 pttntrtA ptrtdA =+−=+−= =−=−= A2 = Área de exceso en el boquilla (se selecciona la menor). ( ) ( )( ) ( ) ( )( ) 23 2 23 2 lg228.010711.4216.0216.055 lg122.110711.4216.0 16 1155 ptrntntnA ptrntntA =×−=−= =×−=−= − − A3 = Proyección al interior (se selecciona la h menor). ( ) ( ) ( ) ( )( ) 2 3 lg186.0432.02216.02 "432.0216.022 "125.2 16 1122 phtnA tnh th === === === A4 = Área de soldadura exterior (se selecciona el espesor menor). Espesor de placa = 16 11 ” Espesor de tubo = 0.216” ( ) ( ) 222 4 16 1 lg023.0153.0soldadurademínimaBase "153.00625.0216.0-tnsoldadurademínimaBase pA === =−==
  • 90.
    DISENO Y CALCULODE TANQUES DE ALMACENAMIENTO (API 650) 90 A5 = Área de soldadura interior (se selecciona el espesor menor). Espesor de placa = 16 11 ” Espesor de tubo = 0.216” ( ) ( ) 222 5 16 1 lg023.0153.0soldadurademínimaBase "153.00625.0216.0-tnsoldadurademínimaBase pA === =−== 7° Paso: ÁREA DE REFUERZO EVALUADA. 2 521 lg627.0023.0023.0186.0228.0167.0 ... pA AAAA RE RE =++++= ++∑= 8° Paso: ÁREA DE REFUERZO REAL. 2 lg465.2627.0092.3 pAAA REREQRreal =−=−= "82.532.25.3 "16.1 2 32.2 2 "32.2 16 11 465.2 =+=+= == === = bDDext b h A b bhA EXTREF
  • 91.
    DISENO Y CALCULODE TANQUES DE ALMACENAMIENTO (API 650) 91 FIG. 3.9. DETALLE DE BOQUILLA. 3.5.4.6. CÁLCULO DE BOQUILLA N-6. Material recipiente: SA-285-C SR=15700 PSI Material tubo: SA-53-B ST= 16100 PSI DNOM = 152 mm = 6” "0325.3 2 065.6 "065.6int "625.6 0.280t ext == = = = r D D
  • 92.
    DISENO Y CALCULODE TANQUES DE ALMACENAMIENTO (API 650) 92 1° Paso: PRESIÓN DE OPERACIÓN. *Debido a que la presión de vapor de la Nafta es menor que la presión de vapor agua, se tomará como presión de operación esta ultima. P = 17.54 mmHg = 0.339 Psi 2° Paso: PRESIÓN DE DISEÑO. 3° Paso: ESPESOR DEL RECIPIENTE BASE. ( ) ( ) ( ) " 8 7"875.00625.0812.0" 16 1 "812.0 339.306.0115700 420339.30 6.0 ≅=+=+= = − = − = r r tt PSE PR t 4° Paso: ESPESOR DEL TUBO BASE. ( ) ( ) ( ) "068.00625.010719.5" 16 1 "10719.5 339.306.0116100 032.3339.30 6.0 3 3 =+=+= = − = − = − − xtt x PSE PR t rn rn Como tn < tnr por lo tanto tn = 0.280” 5° Paso: ÁREA DE REFUERZO REQUERIDO. ( ) 2 lg924.4812.0065.6 pdtrAREQ === 6° Paso: ÁREA DE REFUERZO EVALUADA. A1 = Área de exceso en el recipiente (se selecciona la mayor). ( ) ( ) ( )( ) ( )( ) 2 1 2 1 lg145.0 8 7280.0812.0 8 722 lg382.0812.0 8 7065.6 pttntrtA ptrtdA =+−=+−= =−=−= A2 = Área de exceso en el boquilla (se selecciona la menor). PSIP PSIPP PSI O 339.3030339.0 30 300PSi O =+= += <
  • 93.
    DISENO Y CALCULODE TANQUES DE ALMACENAMIENTO (API 650) 93 ( ) ( )( ) ( ) ( )( ) 23 2 23 2 lg383.010719.5280.0280.055 lg199.110719.5280.0 8 755 ptrntntnA ptrntntA =×−=−= =×−=−= − − A3 = Área de soldadura exterior (se selecciona el espesor menor). Espesor de placa = 8 7 ” Espesor de tubo = 0.280” ( ) ( ) 222 3 16 1 lg116.0342.0soldadurademínimaBase "342.00625.0280.0-tnsoldaduradeinimamBase pA === =−==+ 7° Paso: ÁREA DE REFUERZO EVALUADA. 2 21 lg881.0116.0383.0382.0 3 pA AAAA RE RE =++= ++∑= 8° Paso: ÁREA DE REFUERZO REAL. 2 lg043.4881.0924.4 pAAA REREQRreal =−=−= "245.1162.4625.6 "31.2 2 62.4 2 "62.4 8 7 043.4 =+=+= == === = bDDext b h A b bhA EXTREF
  • 94.
    DISENO Y CALCULODE TANQUES DE ALMACENAMIENTO (API 650) 94 FIG. 3.10. DETALLE DE BOQUILLA. 3.5.4.7. CÁLCULO DE BOQUILLA N-7. Material recipiente: SA-285-C SR=15700 PSI Material tubo: SA-53-B ST= 16100 PSI DNOM = 102 mm = 4” 013.2 2 026.4 2 "026.4int "500.4 0.237"t int ext === = = = D r D D
  • 95.
    DISENO Y CALCULODE TANQUES DE ALMACENAMIENTO (API 650) 95 1° Paso: PRESIÓN DE OPERACIÓN. ( )( ) Psi ft lbft ft lbP fth ft lb ghP 364.788.1062288.045.47 28 45.47 231 3 ==      = = = = ρ ρ 2° Paso: PRESIÓN DE DISEÑO. 3° Paso: ESPESOR DEL RECIPIENTE BASE. ( ) ( ) ( ) " 16 110625.01" 16 1 "1 364.376.0115700 420364.37 6.0 =+=+= = − = − = r r tt PSE PR t 4° Paso: ESPESOR DEL TUBO BASE. ( ) ( ) ( ) "067.00625.010678.4" 16 1 "10678.4 364.376.0116100 013.2364.37 6.0 3 3 =+=+= = − = − = − − xtt x PSE PR t rnn rn Como tn < t por lo tanto tn = 0.237” 5° Paso: ÁREA DE REFUERZO REQUERIDO. ( ) 2 lg026.41026.4 pdtrAREQ === 6° Paso: ÁREA DE REFUERZO EVALUADA. A1 = Área de exceso en el recipiente (se selecciona la mayor). PSIP PSIPP PSI O 364.3730364.7 30 300PSi O =+= += <
  • 96.
    DISENO Y CALCULODE TANQUES DE ALMACENAMIENTO (API 650) 96 ( ) ( ) ( )( ) ( )( ) 2 1 2 1 lg162.0 16 11237.01 16 1122 lg251.01 16 11026.4 pttntrtA ptrtdA =+−=+−= =−=−= A2 = Área de exceso en el boquilla (se selecciona la menor). ( ) ( )( ) ( ) ( )( ) 23 2 23 2 lg275.010678.4237.0237.055 lg234.110678.4237.0 16 1155 ptrntntnA ptrntntA =×−=−= =×−=−= − − A3 = Proyección al interior (se selecciona la h menor). ( ) ( ) ( ) ( )( ) 2 3 lg224.0474.02237.02 "474.0237.022 "125.2 16 1122 phtnA tnh th === === === A4 = Área de soldadura exterior (se selecciona el espesor menor). Espesor de placa = 16 11 ” Espesor de tubo = 0.237” ( ) ( ) 222 4 16 1 lg03.0174.0soldadurademínimaBase 174.00625.0237.0-tnsoldadurademínimaBase pA === =−== A5 = Área de soldadura interior (se selecciona el espesor menor). Espesor de placa = 8 7 ” Espesor de tubo = 0.237” ( ) ( ) 222 5 16 1 lg03.0174.0soldadurademínimaBase 174.00625.0237.0-tnsoldadurademínimaBase pA === =−== 7° Paso: ÁREA DE REFUERZO EVALUADA. 2 521 lg81.0030.0030.0224.0275.0251.0 ... pA AAAA RE RE =++++= ++∑=
  • 97.
    DISENO Y CALCULODE TANQUES DE ALMACENAMIENTO (API 650) 97 8° Paso: ÁREA DE REFUERZO REAL. 2 lg216.381.0026.4 pAAA REREQRreal =−=−= "52.7026.35.4 "51.1 2 026.3 2 "026.3 16 11 216.3 =+=+= == === = bDDext b h A b bhA EXTREF FIG. 3.11. DETALLE DE BOQUILLA. 3.5.5. CÁLCULO DE PLACA DE CHOQUE. TABLA 3.4. CRITERIOS DE TIPO DE SUSTANCIA.
  • 98.
    DISENO Y CALCULODE TANQUES DE ALMACENAMIENTO (API 650) 98 *se selecciono la opción 3. Datos de la boquilla N-3. "237.0 "5.4 "026.4 "4 = = = = t D D D EXT INT NOM ( ) 2 22 22 lg73.12 4 026.4 4 lg 7.274000 "14)70(2.02.0 "5032.5)026.4(25.1 25.1 "1 4 026.4 4 p D A p lb ft lbP D D DD D Hpp INT INT REC PLcho INTPLcho INT === == === ≅== = === ππ l lg*68.4936)14(62.352 62.352)73.12(7.27 plbFM lbPAF === === l ( ) " 4 3 61.0 )10(15700 )68.4936(12 12 5 2 68.4936 15700 3 ≅== = = t t t I Mc σ
  • 99.
    DISENO Y CALCULODE TANQUES DE ALMACENAMIENTO (API 650) 99 3.5.5.1 ANÁLISIS DE SOLDADURA. W = PL "5" 4 3 × = 29.8 ft lb ( ) ( ) 2 22 lg08.12 3 5 )5( 4 3 3 lg5.11)5(2 4 32 p d bdSw pAw =+      =+= =+= ( ) ( ) ( ) lg 83.40966.40866.303.4 lg 66.408 08.12 68.4936 lg 66.30 5.11 62.352 lg 3.4 5.11 46.49 222 22 p lbW WbWsWW p lbWb p lbWs p lbW Aw P W T T =++= ++= == == == = " 4 1 lg042.0 9600 83.409 min = ==== b p f W bW T ( ) lbft ft lbW pies p pie p 46.4966.18.29 66.1 lg12 1 lg20 == =     
  • 100.
    DISENO Y CALCULODE TANQUES DE ALMACENAMIENTO (API 650) 100 3.5.6. SELECCIÓN DEL ROMPE VORTEX. Se selecciono el siguiente rompe vortex de entre los diferentes tipos recomendados ya que cumple con las características deseadas. FIG. 3.12. ROMPE VORTEX. 3.5.7. CÁLCULO DEL DIQUE DE PROTECCIÓN. El dique de protección se calculará en base al diámetro exterior del dique de protección, el cual será propuesto para poder realizar dicho cálculo. También se tomará en consideración volumen total del tanque más un 10%. 1° Paso: VOLUMEN DEL TANQUE. V=10,000 barriles 3 3 56145 1 6145.5 000,10 ft barril ft barriles =      10% V = 0.1 (56145 ft3 ) = 5614.5 ft3
  • 101.
    DISENO Y CALCULODE TANQUES DE ALMACENAMIENTO (API 650) 101 2° Paso: PROPONER DIÁMETRO DEL DIQUE. Tomando como referencia el diámetro del tanque que es de 70´ se propone el diámetro del dique de protección que tendrá un valor de 80´. DD = 80´ 3° Paso: CÁLCULAR ALTURA DEL DIQUE. 4 2 D A hAV ⋅ = ∗= π Sustituyendo el área ( ) ( ) fth D V h hD V 211.1 80 5.56144 4 4 2 2 2 ≈== ⋅ ∗ = ∗⋅ = π π π FIG. 3.13. DIQUE DE PROTECCIÓN. 3.5.7.1 DISEÑO DEL DIQUE DE PROTECCIÓN. Datos: Corona = 25 cm P= 10 Ton/m2 Rt= 20 Ton/m2
  • 102.
    DISENO Y CALCULODE TANQUES DE ALMACENAMIENTO (API 650) 102 f´s = 1400 Kg/cm2 f´c = 210 Kg/cm2 j = 0.874 R = 15.486 Kg/cm2 1° Paso: CARGA TOTAL. ( ) .11000100001.11.1 kgkgPPT === 2° Paso: ÁREA DE CIMENTACIÓN. 2 55.0 20000 11000 m kg kg R P A T T T === 3° Paso: LONGITUD DE ZAPATA. *Nota: para el análisis solo se tomara una porción del total de la longitud de la zapata (1m). m m m m A L 55.0 00.1 55.0 00.1 2 === 4° Paso: CÁLCULO DEL VUELO. m mmCL V 15.0 2 25.055.20 2 = − = − = 5° Paso: ESFUERZO FLEXIONANTE. 28181.18181 55.0 10000 m kg m kg A P W === 6° Paso: MOMENTO FLEXIONANTE. ( ) ( ) mKg m m kg VW M −=== 5454.204 2 15.08181.18181 2 2 22 cmKgM −= 5.20454 7° Paso: PERALTE DE ZAPATA. ( ) cmcm cm cm kg cmKg Rb M d 463.3 100486.15 5.20454 2 ≈= − ==
  • 103.
    DISENO Y CALCULODE TANQUES DE ALMACENAMIENTO (API 650) 103 8° Paso: PERALTE TOTAL DE ZAPATA. *Nota: Con fines de cubrir los esfuerzos que se presentan en el calculo de zapatas se toma el doble del peralte de “d” y tomando que el recubrimiento en zapatas es de 5 cm como mínimo. ( ) cmdd 8422" === cmcmcmcmdh 13585" =+=+= 9° Paso: CÁLCULO DE DISTANCIA d´. mmmdtVd 02.013.015.0´ =−=−= 10° Paso: CÁLCULO DE CORTANTE EN d´. kg m kgmWdV 63.3638181.1818102.0´´ 2 =    == 11° Paso: ESFUERZO CORTANTE. ( ) 2279.0 13100 63.363´ cm kg cmcm kg bh V ===υ 12° Paso: ESFUERZO ADMISIBLE. 22 202499.421029.0´29.0 cm kg cm kgcfadm ===υ *Si 22 279.02024.4 cm kg cm kg adm > > υυ 13° Paso: CÁLCULO DE ÁREA POR ESFUERZO FLEXIONANTE. ( )( ) 2 2 089.2 8874.01400 5.20454 ´ cm cm cm kg cmkg sjdf M As = − == 14° Paso: NÚMERO DE VARILLAS.
  • 104.
    DISENO Y CALCULODE TANQUES DE ALMACENAMIENTO (API 650) 104 TABLA 3.5. DATOS DE VARILLA SELECCIONADA. .var657.5 375.0 089.2 . 2 2 illas cm cm as As No Varillas ≈=== 15° Paso: DISTANCIA DE SEPARACIÓN. cm illasNo S Varillas 1766.16 var6 100 . 100 ≈=== 16° Paso: VERIFICACIÓN POR ADHERENCIA. kg m kgmVWV 272.27278181.1818115.0" 2 =    == ( ) cmcmillaso PerimetroNoo VARILLAS 8.48.0var6 . ==Σ =Σ ( )( ) 2261.81 8874.08.4 27.2727" cm kg cmcm kg ojd V == Σ =µ 22 2 489.185 25.0 2102.3´2.3 cm kg cm cm kg D cf adm ===µ *Si µµ >adm 17° Paso: CÁLCULO DE ACERO POR TEMPERATURA. ( )( )( ) 2 88.0810055.0002.0002.0 cmcmcmLhAt === 17° Paso: NÚMERO DE VARILLAS. *Se propone una varilla de ¼”. .var3346.2 375.0 88.0 . 2 2 illas cm cm as At No vARILLAS ≈=== 18° Paso: DISTANCIA DE SEPARACIÓN. cmcm illas cm No L S vARILLAS 1933.18 var3 55 . ≈=== Varilla Diámetro nominal (cm) Área Nominal. (cm2 ) Perímetro Nominal (cm). (1/4”) 0.25 0.375 0.8
  • 105.
    DISENO Y CALCULODE TANQUES DE ALMACENAMIENTO (API 650) 105 FIG. 3.14. DETALLE DE ZAPATA. 3.5.8. CÀLCULOS DE LA ESTRUCTURA INTERIOR. 1° Paso: CÁLCULO DE ÁREAS. ( ) 2 2 22 1201210 46.3848 4 70 4 ftA ft D A Placa F =×= === ππ 2° Paso: NÚMERO DE PLACAS DEL FONDO. PL´s3307.32 120 46.3848 A A PL´sNo. PL F ≅=== 3° Paso: NÚMERO DE PLACAS DEL FONDO. Placas3313.32 120 94.3855 120 94.3855 57.3cos 46.3848 cos 57.3 2 ≅=== = ° == °= T T F T A A ft A A PL θ θ 4° Paso: PESO DE LAS PLACAS. ( ) lb ft lbWPL 184812128 ft lb154W =    = =
  • 106.
    DISENO Y CALCULODE TANQUES DE ALMACENAMIENTO (API 650) 106 5° Paso: PESO TOTAL. ( ) lblbWTecho 60984331536 == 6° Paso: PRESIÓN GENERADA. 2 2 25 81.15 94.3855 50688 ft lbP ft lb A W P G Techo Techo G < ≅== 7° Paso: PROPONER VIGA SOPORTE. lg7874.0 lg186.2 lg892.3 lg79.53 lg1891.0 ft lb1210" 4 4 pr pI pr pI pAlma IR yy yy xx xx = = = = = × ( )( ) 2 lg 98.424 79.53 512381 p lb I Mc ===σ ( ) Dis Dis p lbSy σσ σ < === 2 lg 21600360006.06.0 8° Paso: COLUMNAS. ( ) ( )( ) TantoloPor 18.297 7874.0 123065.0 1.126 36000 102922 622 SRCc r KL SR Sy E Cc yy < === = × == ππ
  • 107.
    DISENO Y CALCULODE TANQUES DE ALMACENAMIENTO (API 650) 107 ( ) ( ) ( )( ) ( ) ft lb1210"IR CargalariasatisfactoEsFa 220 80.2464 80.2464 7874.0200 1230 6.1 297.1823 102912 200 6.1 SR23 12 2 62 2 2 × >∴ = = −=       −       × =     −       = REQ REQ F LbF LbFa Lb r l E Fa ππ FIG. 3.15. DETALLE DE DIAGRAMAS DE MOMENTO Y CORTANTE
  • 108.
    DISENO Y CALCULODE TANQUES DE ALMACENAMIENTO (API 650) 108 3.5.9 CÁLCULO DE LOS TORNILLOS DEL CARTABON. Los cartabones utilizados soportarán las carga de 315.33 lb que es generada por la viga de soporte. FIG. 3.16. ESQUEMA DEL CARTABON. " 4 1=Barrenoφ ( ) lg 18.1935137.633.315 p lbFdM === FIG. 3.17. DISTANCIAS ENTRE BARRENOS. 1° Paso: CÁLCULO POR CARGA. ( ) ( ) ( ) 222222 lg43.4743.3425.06 55.52 6 33.315 tronillosdeNo. pyxr lb Fy Ry =+=+∑=∑ === 315.33 LB 315.33 LB
  • 109.
    DISENO Y CALCULODE TANQUES DE ALMACENAMIENTO (API 650) 109 2° Paso: CÁLCULO POR MOMENTO. ( ) ( ) lb r Mx Ry lb r My Rx 2.10 43.47 25.018.1935 94.139 43.47 43.318.1935 2 2 == ∑ = == ∑ = 3° Paso: CÁLCULO DE CARGAS TOTALES. ( ) ( ) lbR lbRy lbRx T T T 36.15375.6294.139 75.625.522.10 94.139 22 =+= =+= = 4° Paso: COMPROBACIÓN DEL DIÁMETRO. ( ) ( ) lg074.0 17500 36.15322 p P D === ππτ 3.5.9.1 . CÁLCULO DE LA SOLDADURA. FIG. 3.18. DIAGRAMA DE SOLDADURA DEL CARTABON. DATOS:
  • 110.
    DISENO Y CALCULODE TANQUES DE ALMACENAMIENTO (API 650) 110 1° Paso: CÁLCULO DE Aw Y Sw. ( ) ( ) ( ) ( ) 2 22 lg57.34 3 87.7 87.777.1 3 lg78.1987.7277.12 p d bdSw PAw SUP =+=+= =+= 2° Paso: CÁLCULO DE W, Ws, Wb Y WT. ( ) ( ) lg·19.5897.5594.15 lg·97.55 57.34 18.1935 lg·94.15 78.19 33.315 22 plbW plb Sw M Ws plb Aw V Wb T =+= === === 3° Paso: ESPESOR MÍNIMO DE SOLDADURA. '' 16 3 '' 16 5 '' 16 1''1006.6 9600 19.58 3 = = ≅×==== − SoldaduradeMinimoFileteelEntonces tunTenemosComo W bw PLACA T τ 3.5.9.2 . DIMENSIONAMIENTO Y ANÁLISIS DE LAS PLACAS DEL CARTABON. lg87.7 lg77.1 lg 18.1935 33.315 lg 16 5 16 1 4 1 lg 4 1 pd pb p lbM lbV pD pD Barreno Tornillo = = = = =+= =
  • 111.
    DISENO Y CALCULODE TANQUES DE ALMACENAMIENTO (API 650) 111 CÁLCULO DEL MOMENTO DE LA PLACA 1 FIG. 3.19. PLACA DEL CARTABON. DATOS: ( ) lg.1607 2 3125.0 94.433.315 " 4 1 "81.485.325.125.1 85.3 Psi17500 plbFdM D rh r Tornillo =      +== = === = =τ 1° Paso: CÁLCULO POR CARGA. ( ) ( ) 22222 lg06.4"425.12 66.157 2 33.315 tronillosdeNo. pyxr lb Fy Ry ==+∑=∑ === 2° Paso: CÁLCULO POR MOMENTO. ( ) lb r Mx Ry lb r My Rx 03.564 06.4 425.11607 0 2 2 == ∑ = = ∑ = 315.33 LB
  • 112.
    DISENO Y CALCULODE TANQUES DE ALMACENAMIENTO (API 650) 112 FIG. 3.20. DISTANCIA ENTRE BARRENOS. 3° Paso: CÁLCULOS DE CARGAS TOTALES. ( ) lbR lbRy lbRx T T T 69.72169.721 69.72103.56466.157 0 2 == =+= = 4° Paso: COMPROBACIÓN DEL DIÁMETRO. ( ) ( ) " 4 1lg22.0 17500 69.72142 ≅=== p P D ππτ CÁLCULO DEL MOMENTO EN LA PLACA 2. FIG. 3.21. PLACA DEL CARTABON. ( ) lg635.2995 25.094.45.081.433.315 plbM FdM ⋅= ++−== 315.33 lb
  • 113.
    DISENO Y CALCULODE TANQUES DE ALMACENAMIENTO (API 650) 113 CAPÍTULO 4 DIBUJOS DE REFERENCIA
  • 114.
    DISENO Y CALCULODE TANQUES DE ALMACENAMIENTO (API 650) 114
  • 115.
    DISENO Y CALCULODE TANQUES DE ALMACENAMIENTO (API 650) 115
  • 116.
    DISENO Y CALCULODE TANQUES DE ALMACENAMIENTO (API 650) 116
  • 117.
    DISENO Y CALCULODE TANQUES DE ALMACENAMIENTO (API 650) 117
  • 118.
    DISENO Y CALCULODE TANQUES DE ALMACENAMIENTO (API 650) 118
  • 119.
    DISENO Y CALCULODE TANQUES DE ALMACENAMIENTO (API 650) 119
  • 120.
    DISENO Y CALCULODE TANQUES DE ALMACENAMIENTO (API 650) 120 CONCLUSIONES
  • 121.
    DISENO Y CALCULODE TANQUES DE ALMACENAMIENTO (API 650) 121 Los estudios realizados indican que el proyecto es técnicamente viable, ya que el lugar donde será ubicado, posee todas las características necesarias para obtener resultados positivos en el diseño y armado del tanque, y al mismo tiempo poder satisfacer las necesidades del cliente. El tanque diseñado en la presente tesis basado en el estándar API-650 cumple con las necesidades; capacidad para 20, 000 barriles; trabajando bajo los rangos de temperatura especificados sin ningún problema y cumpliendo con las normas bajo las cuales se rigen los tanques de almacenamiento. Al trabajar el diseño del tanque bajo normas utilizadas en el país y en el extranjero, unificamos los resultados, colocando el tanque en competencia con cualquier otro diseño que compañías ya establecidas pudieran diseñar. La optimización del material fue seleccionado de acuerdo a la norma ASTM, mostrando en la lista de materiales las placas a utilizar, pero recordando en este momento, que se pude utilizar sobrante de cuerpo, fondo y techo para la construcción de placas de choque, rompe remolinos y cartabones.
  • 122.
    DISENO Y CALCULODE TANQUES DE ALMACENAMIENTO (API 650) 122 BIBLIOGRAFÍA
  • 123.
    DISENO Y CALCULODE TANQUES DE ALMACENAMIENTO (API 650) 123 1. DISEÑO Y CÁLCULO DE TANQUES DE ALMACENAMIENTO. DYCTA. www.leon.com.mx 2.-NORMA A.P.I. 3. CÓDIGO A.S.M.E. 4. MANUAL DE RECIPIENTES A PRESIÓN: DISEÑO Y CÁLCULO. Maguesy Eugene F. Edit. LIMUSA.
  • 124.
    DISENO Y CALCULODE TANQUES DE ALMACENAMIENTO (API 650) 124 ANEXOS
  • 125.
    DISENO Y CALCULODE TANQUES DE ALMACENAMIENTO (API 650) 125 A. LISTA DE MATERIALES. No Descripción Parte Material Cantidad 1 PLACA 10´x 12´x 6/16” CUERPO SA-285-C 18 2 PLACA 10´x 11.10´x 6/16” CUERPO SA-285-C 1 3 PLACA 10´x 12´x 5/16” CUERPO SA-285-C 18 4 PLACA 10´x 11.10´x 5/16” CUERPO SA-285-C 1 5 PLACA 10´x 12´x 1/4” CUERPO SA-285-C 18 6 PLACA 10´x 11.10´x 1/4” CUERPO SA-285-C 1 7 PLACA 10´x 12´x 3/16” FONDO SA-285-C 32 8 PLACA 10´x 12´x 1/2” TECHO SA-285-C 35 9 BRIDA Ø24” Nom.-150#R.F.S.O CUERPO SA-181-I 1 10 TUBO Ø 24” Nom.Ced.40 CUERPO SA-53-B 1 11 BRIDA Ø24” Nom.-150#R.F.S.O TECHO SA-181-I 1 12 TUBO Ø24” Nom.Ced.40 TECHO SA-53-B 1 13 BRIDA Ø4” Nom.-150#R.F.S.O CUERPO SA-285-C 1 14 TUBO Ø4” Nom.Ced.40 CUERPO SA-53-B 1 15 BRIDA Ø4” Nom.-150#R.F.S.O CUERPO SA-285-C 1 16 TUBO Ø4” Nom.Ced.40 CUERPO SA-53-B 1 17 BRIDA Ø3” Nom.-150#R.F.S.O CUERPO SA-285-C 1 18 TUBO Ø3”Nom.Ced.40 CUERPO SA-53-B 1 19 TUBO Ø6”Nom.Ced.40 TECHO SA-53-B 1 20 CODO Ø6”Nom.Ced.40 BOQUILLA N-6 SA-53-B 2 21 BRIDA Ø4”Nom.-150#R.F.S.O CUERPO SA-285-C 1 22 TUBO Ø4”Nom.Ced.40 CUERPO SA-53-B 1 23 PLACA ¾” x 6” x 18” PLACA CHOQUE (N-3) SA-285-C 1 24 REDONDO Ø3/16” x 2” x 1/16” PLACA CHOQUE (N-3) SA-36 4 25 VARILLA Ø1/4” DIQUE SA-36 6 26 VARILLA Ø1/4” DIQUE SA-36 3 27 ANGULO 4” x 4” x 5/8” TECHO SA-36 4200 28 COLUMNA IR 102 x 12” lb/ft TECHO SA-36 12 29 VIGAS IR 102” x 12” lb/ft TECHO SA-36 5 30 LARGERO INT. C 152 x 15.63 kg/m TECHO SA-36 20 31 LARGERO EXT. C 152 x 15.63 kg/m TECHO SA-36 40 32 PLACA UNION PL 10.6” x 5.11” x ¼” LARGUERO EXT. SA-36 40 33 PLACA BASE PL 30.39” x 30.39” x ¼” COLUMNA SA-36 6 34 PLACA BASE C 254 x 29.59 kg/m COLUMNA SA-36 18 35 PLACA SOPORTE PL 13.8” x 10.6” x ¼” COLUMNA CENTRAL SA-36 1 36 PLACA SOPORTE PL 9.84” x ¼” COLUMNA CENTRAL SA-36 1 37 PLACA SOPORTE PL 110.4” x 12” x ¼” COLUMNA LATERAL SA-36 5 38 CARTABON PL 1.77” x 7.87” X 7/16” COLUMNA SA-285-C 36
  • 126.
    DISENO Y CALCULODE TANQUES DE ALMACENAMIENTO (API 650) 126