2013
SISTEMAS ARTIFICIALES
        TRABAJO PRÁCTICO




              ALUMNO: MARTIN EZEQUIEL ROMERO
              PROF. JORGE O. LOPEZ
Instrumentación y Control
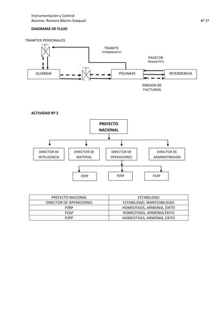
Alumno: Romero Martin Ezequiel                                                                     4º 1º

ACTIVIDAD Nº 1



                                                                           SOCIEDAD ARGENTINA



                       PREFECTURA BARRANQUERAS



                                                            DIVISION
                                                          OPERACIONES
                                                                      NTENDENCIA
                                                GUARDIA
          DIVISION
         LOGISTICA
                                                           POLINAVE


                                   DIVISION
                                 INTELIGENCIA




                                                                                   MINISTERIO DE
                                                                                    SEGURIDAD




             SISTEMA                     PREFECTURA
                                         BARANQUERAS
             LIMITES                     AMBITO ARGENTINO
             ENTORNO                     SOCIEDAD ARGENTINA,
                                         MINISTERIO DE SEGURIDAD
Instrumentación y Control
  Alumno: Romero Martin Ezequiel                                                         4º 1º

  DIAGRAMA DE FLUJO

TRAMITES PERSONALES

                                         TRAMITE
                                        TERMINADO
                                                                PAGO DE
                                                                TRAMITES


     GUARDIA                                      POLINAVE                 INTENDENCIA

                                                             EMISION DE
                                                             FACTURAS




  ACTIVIDAD Nº 2

                                       PREFECTO
                                       NACIONAL



      DIRECTOR DE        DIRECTOR DE        DIRECTOR DE              DIRECTOR DE
      INTELIGENCIA        MATERIAL          OPERACIONES            ADMINISTRACION




                             PZPP              PZRP                PZAP




             PREFECTO NACIONAL                              ESTABILIDAD
          DIRECTOR DE OPERACIONES                   ESTABILIDAD, MANTEABILIDAD
                    PZRP                            HOMEOTASIS, ARMONIA, ÉXITO
                    PZAP                            HOMEOTASIS, ARMONIA,ÉXITO
                    PZPP                            HOMEOTASIS, ARMONIA, EXITO

Sistema artificial act 1 y 2

  • 1.
    2013 SISTEMAS ARTIFICIALES TRABAJO PRÁCTICO ALUMNO: MARTIN EZEQUIEL ROMERO PROF. JORGE O. LOPEZ
  • 2.
    Instrumentación y Control Alumno:Romero Martin Ezequiel 4º 1º ACTIVIDAD Nº 1 SOCIEDAD ARGENTINA PREFECTURA BARRANQUERAS DIVISION OPERACIONES NTENDENCIA GUARDIA DIVISION LOGISTICA POLINAVE DIVISION INTELIGENCIA MINISTERIO DE SEGURIDAD SISTEMA PREFECTURA BARANQUERAS LIMITES AMBITO ARGENTINO ENTORNO SOCIEDAD ARGENTINA, MINISTERIO DE SEGURIDAD
  • 3.
    Instrumentación y Control Alumno: Romero Martin Ezequiel 4º 1º DIAGRAMA DE FLUJO TRAMITES PERSONALES TRAMITE TERMINADO PAGO DE TRAMITES GUARDIA POLINAVE INTENDENCIA EMISION DE FACTURAS ACTIVIDAD Nº 2 PREFECTO NACIONAL DIRECTOR DE DIRECTOR DE DIRECTOR DE DIRECTOR DE INTELIGENCIA MATERIAL OPERACIONES ADMINISTRACION PZPP PZRP PZAP PREFECTO NACIONAL ESTABILIDAD DIRECTOR DE OPERACIONES ESTABILIDAD, MANTEABILIDAD PZRP HOMEOTASIS, ARMONIA, ÉXITO PZAP HOMEOTASIS, ARMONIA,ÉXITO PZPP HOMEOTASIS, ARMONIA, EXITO