INTRODUCCION A LA
TERMODINÁMICA
TERMODINÁMICA
La termodinámica
es el estudio de las
relaciones de
energía que
involucran
calor, trabajo
mecánico y otros
aspectos de
energía y
transferencia de
calor.
Calefacción central
ESTADO TERMODINÁMICO
El ESTADO de un sistema termodinámico se
determina mediante cuatro factores:
• Presión absoluta P en pascales
• Temperatura T en Kelvin
• Volumen V en metros cúbicos
• Número de moles, n, del gas que realiza
trabajo
UN SISTEMA TERMODINÁMICO
 Un sistema es un entorno cerrado en
el que puede tener lugar transferencia
de calor. (Por ejemplo, el gas, las
paredes y el cilindro de un motor de
automóvil.)
Trabajo realizado
sobre el gas o
trabajo realizado
por el gas
LA PRIMERA LEY DE LA
TERMODINÁMICA:
• La entrada neta de calor en un sistema es
igual al cambio en energía interna del
sistema más el trabajo realizado POR el
sistema.
Q = U + W final - inicial)
• Por el contrario, el trabajo realizado SOBRE
un sistema es igual al cambio en energía
interna más la pérdida de calor en el
proceso.
APLICACIÓN DE LA PRIMERA
LEY DE LA TERMODINÁMICA
Ejemplo 1: En la figura, el gas
absorbe 400 J de calor y al
mismo tiempo realiza 120 J de
trabajo sobre el pistón. ¿Cuál
es el cambio en energía
interna del sistema?
Q = U + W
Aplique primera ley:
Qin
400 J
Wout =120 J
Ejemplo 1 (Cont.): Aplique la primera ley
U = +280 J
Qin
400 J
Wout =120 J
U = Q - W
= (+400 J) - (+120 J)
= +280 J
W es positivo: +120 J (trabajo SALE)
Q = U + W
U = Q - W
Q es positivo: +400 J (calor
ENTRA)
Ejemplo 1 (Cont.): Aplique la primera ley
U = +280 J
Los 400 J de energía
térmica de entrada se usan
para realizar 120 J de
trabajo externo, aumenta la
energía interna del sistema
en 280 J
Qin
400 J
Wout =120 J
El aumento en
energía interna es:
La energía se conserva:
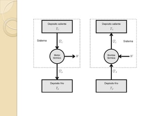
Segunda ley de la termodinámica:
Es imposible construir una
máquina que, al operar en un
ciclo, no produzca efectos distintos
a la extracción de calor de un
depósito y la realización de una
cantidad equivalente de trabajo.Dep. frío TC
Máquin
a
Dep. caliente TH
Qhot
Qcold
Wout
No sólo no puede ganar (1a ley); ¡ni
siquiera puede empatar (2a ley)!
La eficiencia de una máquina térmica:
e = 1 -
QC
QH
e = 1 -
TC
TH
El coeficiente de rendimiento de un refrigerador:
C C
in H C
Q Q
K
W Q Q
TERCERA LEY DE LA
TERMODINÁMICA:
 La evidencia experimental también muestra
que la entropía de todas las sustancias
cristalinas puras se acerca al mismo límite
que la capacidad calorífica: S0 cuando T→0
 La 3ª Ley expresa que la entropía de todos
los sustancias perfectamente cristalinas y
puras es la misma a T=0; a esta única
constante, S0, se le da el valor de cero
Entropía de la 3ª ley
 Dado que la entropía de una sustancia
es cero a 0 K, la entropía a cualquiera
otra temperatura se puede calcular con
la ecuación:
dT
T
C
STS
T
p
0
0)(
LEY CERO
TERMODINÁMICA:
«Dos sistemas que están en equilibrio
térmico con un tercero, están en equilibrio
térmico entre si». Los que están en
equilibrio térmico entre si, mantienen la
misma temperatura, y los sistemas que
no están en equilibrio térmico entre si
mantienen distintas temperaturas.
Introduccion a la termodinamica

Introduccion a la termodinamica

  • 1.
  • 2.
    TERMODINÁMICA La termodinámica es elestudio de las relaciones de energía que involucran calor, trabajo mecánico y otros aspectos de energía y transferencia de calor. Calefacción central
  • 3.
    ESTADO TERMODINÁMICO El ESTADOde un sistema termodinámico se determina mediante cuatro factores: • Presión absoluta P en pascales • Temperatura T en Kelvin • Volumen V en metros cúbicos • Número de moles, n, del gas que realiza trabajo
  • 4.
    UN SISTEMA TERMODINÁMICO Un sistema es un entorno cerrado en el que puede tener lugar transferencia de calor. (Por ejemplo, el gas, las paredes y el cilindro de un motor de automóvil.) Trabajo realizado sobre el gas o trabajo realizado por el gas
  • 5.
    LA PRIMERA LEYDE LA TERMODINÁMICA: • La entrada neta de calor en un sistema es igual al cambio en energía interna del sistema más el trabajo realizado POR el sistema. Q = U + W final - inicial) • Por el contrario, el trabajo realizado SOBRE un sistema es igual al cambio en energía interna más la pérdida de calor en el proceso.
  • 6.
    APLICACIÓN DE LAPRIMERA LEY DE LA TERMODINÁMICA Ejemplo 1: En la figura, el gas absorbe 400 J de calor y al mismo tiempo realiza 120 J de trabajo sobre el pistón. ¿Cuál es el cambio en energía interna del sistema? Q = U + W Aplique primera ley: Qin 400 J Wout =120 J
  • 7.
    Ejemplo 1 (Cont.):Aplique la primera ley U = +280 J Qin 400 J Wout =120 J U = Q - W = (+400 J) - (+120 J) = +280 J W es positivo: +120 J (trabajo SALE) Q = U + W U = Q - W Q es positivo: +400 J (calor ENTRA)
  • 8.
    Ejemplo 1 (Cont.):Aplique la primera ley U = +280 J Los 400 J de energía térmica de entrada se usan para realizar 120 J de trabajo externo, aumenta la energía interna del sistema en 280 J Qin 400 J Wout =120 J El aumento en energía interna es: La energía se conserva:
  • 9.
    Segunda ley dela termodinámica: Es imposible construir una máquina que, al operar en un ciclo, no produzca efectos distintos a la extracción de calor de un depósito y la realización de una cantidad equivalente de trabajo.Dep. frío TC Máquin a Dep. caliente TH Qhot Qcold Wout No sólo no puede ganar (1a ley); ¡ni siquiera puede empatar (2a ley)!
  • 10.
    La eficiencia deuna máquina térmica: e = 1 - QC QH e = 1 - TC TH El coeficiente de rendimiento de un refrigerador: C C in H C Q Q K W Q Q
  • 11.
    TERCERA LEY DELA TERMODINÁMICA:  La evidencia experimental también muestra que la entropía de todas las sustancias cristalinas puras se acerca al mismo límite que la capacidad calorífica: S0 cuando T→0  La 3ª Ley expresa que la entropía de todos los sustancias perfectamente cristalinas y puras es la misma a T=0; a esta única constante, S0, se le da el valor de cero
  • 12.
    Entropía de la3ª ley  Dado que la entropía de una sustancia es cero a 0 K, la entropía a cualquiera otra temperatura se puede calcular con la ecuación: dT T C STS T p 0 0)(
  • 14.
    LEY CERO TERMODINÁMICA: «Dos sistemasque están en equilibrio térmico con un tercero, están en equilibrio térmico entre si». Los que están en equilibrio térmico entre si, mantienen la misma temperatura, y los sistemas que no están en equilibrio térmico entre si mantienen distintas temperaturas.