Temas tratados en esta clase:
                                                                               1
                 •   Objetivos de las clases prácticas
                 •   Introducción a AutoCAD®
                 •   Gestión de dibujos
                 •   Modos de visualización
                 •   Ayudas al diseño



1. Objetivo de las clases prácticas
      El objetivo de las clases prácticas es el aprendizaje de una herramienta de
CAD (en nuestro caso AutoCAD®) orientada al dibujo 2D (2 dimensiones). De esta
forma, al finalizar el cuatrimestre, deberemos ser capaces de poder realizar
cualquier diseño 2D que nos propongan.

      Este curso se va a organizar en dos partes: teoría y prácticas. Al principio de
cada clase, se expondrá toda la teoría necesaria para realizar las prácticas
propuestas.

      Al final del cuatrimestre, se valorarán los conocimientos adquiridos mediante
un examen práctico individual.

         IMPORTANTE:
         Cuando aparezca el símbolo      en un recuadro, significa que
         es una información MUY IMPORTANTE PARA EL ALUMNO.
         Leerla cuidadosamente y si se tiene alguna duda preguntar al
         profesor que imparte la asignatura.



        Estos apuntes no pretenden ser exhaustivos ni representativos de todas las
        opciones que presenta AutoCAD®, sino un resumen a modo de guía de los temas
        explicados. El día del examen, se podrá pedir todo lo explicado en clase aunque NO
        ESTE CONTENIDO EN ESTE DOCUMENTO.

        Aunque el alumno sea experto en AutoCAD, se recomienda encarecidamente que
        asista a las clases prácticas, para comprobar in situ el progreso de la asignatura.




                                                                                          1
2. Introducción a AutoCAD®
2.1. Entorno gráfico
      AutoCAD® es una aplicación basada en un entorno gráfico. Cuando
arrancamos el programa nos va a permitir crear un archivo de diseño nuevo o abrir
uno ya existente.

       Una vez dentro de AutoCAD®, nos va a aparecer un conjunto de elementos
distribuidos de forma similar a como se muestra a continuación:




 1 Barra de menús: Permiten acceder a los comandos de AutoCAD® que contienen.
Pueden contener submenús.

 2 Barras de herramientas: Posibilitan el acceder a cada una de las órdenes de
AutoCAD® de una forma más rápida. Algunos de los botones contienen una
pequeña flecha en su esquina inferior derecha: eso quiere decir que a su vez
contienen otra barra de botones desplegable. Para abrirla basta con hacer clic con
el botón izquierdo del ratón sobre el icono y mantener el botón pulsado. AutoCAD®
posee muchas de estas barras, por lo que tan sólo se visualizan por defecto un
pequeño número de ellas. Para visualizar una barra de herramientas, haz clic con el
botón derecho del ratón sobre cualquiera de las barras de herramientas. Se
presentará un menú contextual donde podremos escoger la barra de herramientas
que queramos activar o desactivar. Las barras de herramientas no tienen por qué
estar ancladas en la ventana de AutoCAD®. Pueden ser situadas de forma flotante.
Para ello, haz clic sobre el borde de la barra de herramientas o sobre las dos líneas
verticales que hay a la izquierda de la barra, y manteniendo el botón del ratón
pulsado, mueve el cursor hacia el interior de la ventana gráfica. La barra de

                                                                                   2
herramientas se convertirá en una ventana flotante. Si deseas llevarla de nuevo a
su posición original, haz clic y mantén pulsado sobre la barra de títulos de la
ventana de la barra de botones (la zona de color azul) y llévala de nuevo a su
ubicación original. Verás que cambia de forma de nuevo.

 3 Área de dibujo: Es el espacio en el que realizarás el dibujo, donde trabajaremos.
En AutoCAD® se pueden tener activas simultáneamente varias de estas ventanas.

 4 Icono del SCP: SCP significa "sistema de coordenadas personales". Representa
la ubicación de los ejes X, Y, Z en nuestro dibujo. Es fundamental para el trabajo
en tres dimensiones.

 5 Pestañas de selección de modelo y planos: Son unas pequeñas lengüetas que
nos permiten seleccionar el área de trabajo donde estamos creando nuestro modelo
(espacio modelo) y el área de trazado de planos (espacio papel o layout). Podremos
realizar tantos planos o presentaciones como deseemos a partir de un dibujo de
AutoCAD®.

 6 Barras de desplazamiento: Sirven para mover horizontal y verticalmente el
dibujo. Apenas se utilizan, ya que normalmente usaremos el zoom y los
desplazamientos.

 7 Ventana de líneas de comando: Se trata de una ventana de texto en la que
podremos introducir comandos de AutoCAD® desde el teclado, y que servirá
también para que AutoCAD® nos pida información sobre datos o acciones. Cada
una de las acciones que AutoCAD® puede realizar tiene asociada un comando, y de
hecho hay órdenes que tan sólo pueden ser introducidas mediante dicho comando.

 8 Barra de estado: Sirve para visualizar las coordenadas de la posición actual del
cursor, para obtener una breve ayuda sobre comandos, y también tiene una serie
de botones cuyo uso se explicará más adelante.

 9 Ventanas de diálogo o de edición: En algunos momentos AutoCAD® presentará
ventanas adicionales desde donde realizaremos las opciones propias del comando
que hayamos ejecutado.


2.2. Tipos de ficheros de dibujo
      Los tipos de archivos básicos con los que trabaja AutoCAD® son los que se
describen a continuación:
   • DWG: El predeterminado y de trabajo de AutoCAD®. Siempre que no se
       indique lo contrario, se utilizará para guardar los trabajos.
   • DXF: Utilizado para intercambio entre programas, ya que es un formato
       “universal”. Para poder grabar en este formato deberemos seleccionarlo
       previamente en la ventana “Guardar dibujo como” en el desplegable
       “Archivos de tipo”.
   • DWF: Para visualizar dibujos en Internet, ocupan poco. Necesita un
       programa especial que se instala en nuestro navegador de Internet. No los
       utilizaremos

        Podrá requerirse la presentación de las prácticas o el fichero del examen de la
        asignatura en cualquiera de los formatos arriba indicados. Es muy importante que
        el alumno conozca como realizar las operaciones de necesarias para guardar sus
        diseños en cualquiera de dichos formatos.



                                                                                       3
2.3. Introducción de comandos
     Como en todas las aplicaciones de CAD, existen varias formas de introducir
órdenes en AutoCAD®:
   1. Desde la ventana de comandos. Se puede introducir una orden tecleando su
      nombre en la ventana de comandos tras el texto Comando: y pulsando a
      continuación la tecla [Enter]. El programa irá solicitando los datos que
      requiera en función de la orden indicada.




   2. Desde los menús desplegables. También se puede introducir la orden
      desplegando el menú en el que se encuentra y haciendo clic sobre la misma.
      Se observa como en la línea Comando: aparece la orden escrita y se solicitan
      los datos que la misma requiere.




   3. Desde los botones de la barra de herramientas. Otra opción para introducir
      una orden es haciendo clic sobre su correspondiente botón en una barra de
      herramientas. Igual que ocurría anteriormente la orden aparecerá escrita en
      la línea Comando: y en ella se solicitan los datos que se precisan.




   Se acceda a la orden de una u otra manera, los pasos siguientes son los
mismos, estableciéndose la comunicación con el programa a través de la Ventana
de Comandos, la cual no habrá que perder de vista ya que en ella se indican los
datos que se precisan en cada momento.


2.4. Salir de AutoCAD
    Para salir del programa no hay más que acceder a la opción Salir del menú
Archivo. También es posible salir del programa haciendo clic sobre el botón
Cerrar     situado en la esquina superior derecha de la ventana del programa.

    Si los cambios realizados en el dibujo se han almacenado el programa se
cerrará y si no es así se mostrará el mismo cuadro de diálogo, pudiendo o no
guardar los cambios realizados.




                                                                                4
3. Gestión de dibujos
3.1. Iniciar una sesión en AutoCAD
     Al iniciar una sesión con AutoCAD, sobre la ventana del documento aparece el
cuadro de diálogo que muestra la figura siguiente:




      Para comenzar a dibujar habrá que pulsar sobre uno de los botones situados
en la parte superior izquierda del cuadro, seleccionar una de las opciones del
cuadro central y pulsar la tecla Aceptar. Las opciones que se presentan son:
   • Abrir un dibujo. Permite abrir un dibujo que ha sido guardado anteriormente.
   • Parámetros por defecto. Permite crear un nuevo dibujo partiendo de cero.
      Presenta en la ventana central dos opciones: inglés y métrico, siendo esta
      última la que se utilizará en este curso.

Los siguientes botones NO se explicarán durante este curso:
   • Utilizar una plantilla. Permite crear un dibujo a partir de una plantilla
       previamente definida y guardada. Al seleccionar esta opción se presentan en
       el cuadro central una serie de plantillas que podrán seleccionarse sin más
       que hacer clic sobre una de ellas.
   • Utilizar un asistente. Permite crear un nuevo dibujo guiado paso a paso por
       una serie de solicitudes que va formulando un asistente.

3.2. Crear un nuevo dibujo
      Como se ha descrito en el punto anterior, cuando iniciamos AutoCAD® nos
debería aparecer la ventana antes descrita. Si no aparece, puede ser porque se ha
optado por una configuración estándar en el Aula de CAD o porque alguien lo ha
modificado. En cualquier caso, podríamos crear un nuevo fichero de dibujo de las
siguientes formas:
   1. Menú Archivo        Nuevo… (Ctrl-U)
   2. Pulsando el botón de la barra de herramientas NORMAL

   El cuadro que se presenta en este caso es muy parecido al anterior, no estando
accesible la opción abrir un dibujo.

3.3. Guardar un dibujo nuevo
     Mientras se está trabajando en un dibujo, los cambios que se realizan sobre el




                                                                                 5
mismo se van almacenando con el nombre DibujoNNN.dwg en la memoria RAM del
ordenador. Esta memoria es un soporte de almacenamiento muy rápido pero tiene




                                                                      4
el inconveniente de ser volátil, al apagar el ordenador los datos que almacena se
pierden, por lo que para poder conservar el dibujo realizado y poder utilizarlo en
posteriores ocasiones, es preciso guardar el mismo en el disco duro del ordenador (o
bien otro dispositivo). Los pasos a seguir para guardar el dibujo son:
    1. Al acceder a la orden (se presenta el siguiente cuadro de diálogo) de las
       siguientes formas:
        • Menú Archivo           Guardar (Ctrl-G)
       • Pulsando el botón de la barra de herramientas NORMAL




   2. En el cuadro de lista Guardar en: seleccionar el directorio en el cual se va a
      guardar el archivo.
   3. Escribir el nombre que se quiere para el dibujo en el cuadro de texto Nombre
      de archivo, no será preciso ponerle la extensión .DWG ya que AutoCAD® se
      la añade automáticamente.
   4. Hacer clic sobre el botón Guardar. El dibujo tal y como está en este momento
      queda almacenado en la ubicación indicada, pudiendo seguir trabajando en
      el mismo. La Barra de título muestra el nombre asignado al dibujo.

        ¡MUY IMPORTANTE!. Tanto el día del examen, como si se entregan ejercicios
        puntuables a lo largo del curso, se puede requerir por parte del profesor que
        imparte la asignatura que el formato del fichero que se debe entregar no sea el
        estándar DWG, sino que sea DXF (formato universal de intercambio). Para ello,
        antes de dar el botón GUARDAR, se deberá seleccionar de la lista Archivos de
        tipo: el que se haya solicitado. De no hacerlo así, la práctica o el examen
        entregado no se podrá corregir y tendrá puntuación 0.




                                                                                      6
3.4. Abrir un dibujo
     Para seguir trabajando en un dibujo guardado anteriormente hay que
proceder a abrir el mismo. Se puede abrir un dibujo al iniciar una sesión con
AutoCAD® (opción Abrir un dibujo, del cuadro de diálogo que se presenta al
comenzar una sesión) o bien hacerlo una vez se ha iniciado la sesión, siendo los
pasos a seguir similares en ambos casos:
   1. Menú Archivo          Abrir… (Crtl-A)
   2. Pulsando el botón de la barra de herramientas NORMAL

   Al acceder a la orden se presenta el cuadro de diálogo que muestra la figura
siguiente:




    En el cuadro de lista Buscar en: seleccionar la unidad o carpeta en la cual se
encuentra el archivo y seleccionar a continuación el mismo en el cuadro central, o
bien teclear su nombre en el cuadro de texto Nombre de archivo. En la sección
Vista preliminar, a la derecha del cuadro, se mostrará una imagen del dibujo
seleccionado. Finalmente hacer clic sobre el botón Abrir.




                                                                                7
4. Modos de visualización
       AutoCAD® tiene una serie de ordenes encaminadas a la cómoda
visualización de nuestro dibujo. En este punto tan solo vamos a ver la orden Zoom.

            En la barra estándar tenemos las órdenes básicas de Visualización,
            incluido un menú de botones desplegables con las opciones de Zoom.
            Una forma muy sencilla de llegar a todas las opciones de zoom es
            mediante la ventana de comandos, escribiendo Z.




4.1. Encuadre en tiempo real
    Para poder acceder a este comando se podrán utilizar uno de los siguientes
métodos:
  1. Menú Ver       Encuadre      Tiempo Real
  2. Ventana de comandos: encuadre

   3. Caja de herramientas ESTANDAR

Para encuadrar mediante arrastre

   1. Acceder al comando ENCUADRE
   2. Cuando aparezca el cursor en forma de mano, arrastre la vista manteniendo
      pulsado el botó n mientras desplaza el dispositivo señalador.

Si utiliza un ratón con rueda, mantenga pulsado el botón de rueda y desplace el
ratón.

4.2. Zoom en tiempo real
    Para poder acceder a este comando se podrán utilizar uno de los siguientes
métodos:
  1. Menú Ver       Zoom      Tiempo Real
  2. Ventana de comandos: zoom

   3. Caja de herramientas NORMAL

Para ampliar o reducir mediante arrastre

   1. Acceder al comando.
   2. Mantenga pulsado el botón del dispositivo señalador y arrastre verticalmente
      para Ampliar y reducir.
   3. Pulse INTRO, ESC o pulse con el botón derecho para salir.

4.3. Zoom Ventana
    Para poder acceder a este comando se podrán utilizar uno de los siguientes
métodos:
  1. Menú Ver       Zoom      Ventana
  2. Ventana de comandos: zoom seleccionar v


                                                                                 8
3. Caja de herramientas NORMAL

Para ampliar o reducir un área mediante la definición de sus contornos

   1. Acceder al comando
   2. Especifique una esquina del á rea rectangular que desea ver.
   3. Precise la esquina opuesta.

La opción Ventana se elige automáticamente al especificar un punto
inmediatamente después de escribir el comando ZOOM en la ventana de comandos.

4.4. Zoom Dinámico
    Para poder acceder a este comando se podrán utilizar uno de los siguientes
métodos:
  1. Menú Ver       Zoom      Dinámico
  2. Ventana de comandos: zoom seleccionar d

   3. Caja de herramientas NORMAL

Para aumentar la zona encuadrada de proporciones iguales a la ventana de
trabajo.

   1. Acceda al comando
   2. Aparece en la zona de trabajo una ventana que puedes mover con el ratón.
   3. Botón izquierdo: Conmuta entre aumentar/disminuir el recuadro y lo
      permite centrar.
   4. Botón derecho: Se hace el zoom

4.5. Zoom Ampliar
    Para poder acceder a este comando se podrán utilizar uno de los siguientes
métodos:
  1. Menú Ver       Zoom      Ampliar
  2. Ventana de comandos: zoom seleccionar f

   3. Caja de herramientas NORMAL

Amplia el dibujo respecto a un factor de escala que puede ser modificado en la
ventana de comandos.

4.6. Zoom Reducir
    Para poder acceder a este comando se podrán utilizar uno de los siguientes
métodos:
  1. Menú Ver       Zoom      Reducir
  2. Ventana de comandos: zoom seleccionar f

   3. Caja de herramientas NORMAL

Reduce el dibujo respecto a un factor de escala que puede ser modificado en la
ventana de comandos.

4.7. Zoom Todo
    Para poder acceder a este comando se podrán utilizar uno de los siguientes
métodos:

                                                                             9
1. Menú Ver      Zoom      Todo
   2. Ventana de comandos: zoom seleccionar t

   3. Caja de herramientas NORMAL

Para visualizar el área de los límites de la rejilla ampliando o reduciendo

   1. Acceda al comando con uno de los métodos anteriormente citados.

   Los límites de la rejilla de dibujo llenan la ventana gráfica actual o el área de
dibujo. Si hay algún objeto fuera de los límites de la rejilla, también es incluido.

4.8. Zoom Extensión
    Para poder acceder a este comando se podrán utilizar uno de los siguientes
métodos:
  1. Menú Ver       Zoom      Extensión
  2. Ventana de comandos: zoom seleccionar e

   3. Caja de herramientas NORMAL

Para mostrar las extensiones de dibujo mediante el zoom

   1. Acceda al comando con uno de los métodos anteriormente citados.

   Todos los objetos del dibujo se visualizan con el mayor tamaño posible en la
ventana gráfica actual o en el área de dibujo.




                                                                                 10
5. Ayudas al diseño
5.1. Coordenadas por teclado
      Para introducir datos precisos, se pueden emplear varios métodos de
introducción de datos en el sistema de coordenadas.

      Cuando un comando le solicite un punto, éste puede designarse con el
dispositivo señalador o especificarse mediante valores de coordenadas en la ventana
de comandos. Las coordenadas 2D pueden definirse como cartesianas (X,Y) o como
polares (distancia, ángulo).

       AutoCAD® se organiza como un sistema tridimensional de coordenadas
cartesianas. Para este primer cuatrimestre obviaremos la dimensión Z y nos
quedaremos con que estamos trabajando en el plano XY de la siguiente forma:
                                                  Y


                                                               8,5



                              –4,2

                                     -X



                                                  -Y
                                                       (0,0)
      AutoCAD® muestra la posición actual del cursor como coordenada en la
barra de estado situada en la parte inferior de la ventana de AutoCAD®.



Dentro de AutoCAD® existen dos sistemas de representación de los puntos en el
plano:
   1. Coordenadas cartesianas. Los sistemas de coordenadas cartesianas tienen
       tres ejes, X, Y y Z. Cuando se escriben valores para estas coordenadas, se
       indica la distancia de un punto (en unidades) y su sentido (+ o –) a lo largo
       de los ejes X, Y y Z con respecto al origen del sistema de coordenadas (0,0,0).
       En un espacio bidimensional, los puntos se representan en el plano XY,
       denominado también plano de construcción. Este plano es similar a una hoja
       de papel cuadriculado. El valor X de una coordenada cartesiana especifica la
       distancia horizontal y el valor Y la vertical. El punto de origen (0,0) es el
       punto de intersección de los dos ejes.
   2. Coordenadas polares. Las coordenadas polares definen un punto mediante
       una distancia y un ángulo. Tanto con coordenadas cartesianas como con las
       polares, se pueden introducir coordenadas absolutas basadas en el origen
       (0,0) o coordenadas relativas basadas en el último punto especificado.


5.1.1 Introducción de coordenadas cartesianas
      Para utilizar valores de coordenadas a fin de designar un punto, introduzca
un valor de X y uno de Y separados por una coma (X,Y). El valor de X es la
distancia positiva o negativa, en unidades, en el eje horizontal. El valor de Y es la
distancia positiva o negativa, en unidades, en el eje vertical.

       Los valores de coordenadas absolutas están basados en el origen (0,0), el
lugar donde los ejes X e Y se intersecan. Se deben utilizar este tipo de coordenadas

                                                                                   11
cuando se conozcan los valores de X e Y precisos del punto. Por ejemplo, 3,4 define
un punto a 3 unidades en el eje X y a 4 unidades en el eje Y desde el origen.

       Las coordenadas relativas se basan en el último punto precisado. Se deben
utilizar cuando se conozca la ubicación de un punto en relación con el punto
anterior. Para indicar coordenadas relativas, preceda los valores de coordenadas
con una arroba (@). Por ejemplo, @3,4 determina un punto a 3 unidades en el eje X
y a 4 unidades en el eje Y desde el último punto designado.

       Por ejemplo, para dibujar una línea que comience en un valor X de –2, un
valor Y de 1, y un extremo en 3,4, escriba las siguientes entradas en la línea de
comando:
           Desde el punto: -2,1
           Hasta el punto: 3,4




       Otro ejemplo sería dibujar una línea cuyo punto final está a 5 unidades en la
dirección X y a 0 unidades en la dirección Y desde el punto inicial en la ubicación
de coordenada absoluta -2,1.
           Desde el punto: -2,1
           Al punto: @5,0




5.1.2 Introducción de coordenadas cartesianas
      Para especificar coordenadas polares, se debe indicar una distancia y un
ángulo separados por un corchete agudo (<). Por ejemplo, para designar un punto
separado por una unidad del punto anterior y a un ángulo de 45 grados, escriba
@1<45.




                                                                                 12
Por defecto, los ángulos aumentan en sentido contrario a las agujas del reloj
y disminuyen en el sentido de las agujas del reloj. Por tanto, para desplazarse en el
sentido de las agujas del reloj deberá indicar un ángulo negativo. Por ejemplo,
escribir 1<315 equivale a escribir 1<-45.

      Las coordenadas polares son absolutas (medidas desde el origen) o relativas
al punto anterior. Para indicar coordenadas relativas, preceda la coordenada con
una arroba (@).

       El siguiente ejemplo ilustra una línea dibujada con coordenadas polares
utilizando el valor por defecto de dirección del ángulo.
           Desde el punto: 0,0
           Hasta el punto: 4<120
           Hasta el punto: 5<30




      En el ejemplo siguiente se muestra una línea dibujada con coordenadas
polares relativas.
           Hasta el punto: @3<45




5.2. Referencia a Objetos
      En lugar de escribir las coordenadas, es posible indicar puntos relacionados
con objetos existentes tales como extremos de líneas o puntos centrales de círculos.

       De esta forma, la referencia a objetos limita la especificación de puntos a
emplazamientos exactos (tales como un punto medio o una intersección) en objetos
existentes. La referencia a objetos es una forma rápida de emplazar con exactitud
un punto en un objeto sin tener que conocer sus coordenadas ni dibujar líneas
auxiliares. Siempre que se solicite un punto, se puede especificar una referencia a
objetos.

                                                                                  13
5.2.1 Activación/Desactivación
     Existen diversas formas de activar y desactivar las referencias a objetos.
Cuando se solicite un punto, puede hacer lo siguiente:
  • Pulsar la tecla MAYÚS y hacer clic con el botón derecho del ratón para
     mostrar el menú contextual de referencia a objetos.
  • Hacer clic en un botón de referencia a objetos de la barra de herramientas
     Referencia a objetos (se muestra pulsado el botón derecho del ratón en
     cualquier caja de herramientas y seleccionando REFERENCIA A OBJETOS).
  • Introducir el nombre de una referencia a objetos en la línea de comando.
   •   Hacer clic en el botón REFENT de la barra de estado.


5.2.2 Modos de referencia a objetos
      La forma más sencilla de utilizar la referencia a objetos es tener activado el
AutoSnap. Con esta herramienta, AutoCAD® va a reconocer aquellos que
previamente le hayamos indicado. En cualquier caso, a continuación se
enumerarán los modos de los que disponemos para ayudarnos en nuestros diseños:




     Punto Final. Fuerza el cursor al punto final más cercano de objetos como líneas
o arcos.


   Punto Medio. Fuerza el cursor al punto medio de objetos como líneas o arcos.


    Intersección. Fuerza el cursor al punto de intersección de objetos como líneas,
arcos etc.

     Intersección Ficticia. Incluye dos modos de referencia diferentes: Intersección
ficticia e Intersección ficticia extendida. Una intersección ficticia, fuerza el cursor a
la intersección de dos objetos que no se cruzan en el espacio tridimensional pero
que parecen hacerlo en pantalla. Una Intersección ficticia extendida fuerza el cursor
a la intersección imaginaria de dos objetos que parecían cortarse al alargarlos en
sus direcciones naturales.

    Extensión. Para tomar como referencia la extensión (o ‘alargamiento’) de una
línea o arco. Seleccionamos la línea o arco que queremos extender y luego el punto
requerido.

   Centro. Fuerza el cursor al centro de un arco, círculo o elipse.

     Cuadrante. Fuerza el cursor al cuadrante más cercano de un arco, circulo o
elipse (los punto a 0, 90, 180 y 270 grados).

    Tangente. Fuerza el cursor al punto de un círculo o arco que, al conectarlo al
ultimo punto, formará una línea tangente a dicho objeto.
                                                                                      14
Perpendicular. Fuerza el cursor al punto de un objeto que esta alineado normal
o perpendicularmente con otro objeto o con una extensión imaginaria del mismo.
Perpendicular puede utilizarse con objetos como líneas, círculos, elipses, arcos, etc.

   Paralelo. Permite dibujar líneas paralelas a otras.

     Inserción. Fuerza el cursor al punto de inserción de un bloque, forma, texto,
atributo.

    Cercano. Fuerza el cursor a un objeto de punto o a la ubicación en otro tipo de
objeto más cercano al punto especificado.


   Ninguno. Desactiva las referencias a objetos activadas. También puede utilizarse
para desactivar las referencias a objetos implícitas para un punto.

     Parámetros de referencia a objetos. Desde aquí podremos configurar las
referencias desde la ventana de configuración Parámetros de Dibujo. Por ejemplo,
en la solapa de Referencia a Objetos podremos seleccionar las referencias que
queremos que aparezcan por defecto sin necesidad de especificarlas. Si apretamos
Opciones tendremos una configuración avanzada desde donde podremos cambiar
cosas como el tamaño del punto de mira, etc.




                                                                                   15
6. Prácticas propuestas
6.1. Referencia a Objetos
   Utilizando la Referencia a Objetos, realizar las siguientes figuras:




                                                                          16
6.2. Coordenadas por teclado
      Utilizando la introducción de datos mediante coordenadas por teclado, realizar
la siguiente figura:

                                                2                 2




                     6




                                                              4




                                                                               4
                                               10,4
                                           (


                                                )




                                                      6

               1,1                   8,2
           (

               )




                                 (

                                     )




                                                                                   17
Temas tratados en esta clase:
                                                2
          •   DIBUJO de objetos 2D
          •   Ayudas al diseño (continuación)
          •   Métodos de selección de objetos
          •   MODIFICACION de objetos
          •   Corrección de errores



1. DIBUJO de objetos 2D




                                                    1
1.1. Comando LINEA
     Para poder dibujar una línea se podrán utilizar uno de los siguientes métodos
de selección del comando:
   1. Menú Dibujo         Línea
   2. Ventana de comandos: linea

   3. Caja de herramientas DIBUJO

   Con LINEA, se puede crear una serie de segmentos de línea contiguos. Se puede
editar cada segmento de línea separado de los demás segmentos de una serie.
Puede crear una secuencia de segmentos de línea de manera que se junten el
primer y último segmento de dicha secuencia.

   Para introducir los extremos de cada línea con precisión, es posible hacer lo
siguiente:
   • Introducir los valores de las coordenadas para un extremo, utilizado
       coordenadas absolutas o relativas.
   • Especificar una referencia a objeto relativa a un objeto existente. Por
       ejemplo, puede especificar el centro de un círculo como un extremo de la
       línea.
   • Introducir un punto al azar, si no queremos ubicarla en ninguna posición en
       concreto.

Para dibujar una línea

   1. Acceder a la orden LINEA
   2. Designe el punto inicial. Puede utilizar el dispositivo señalador o indicar
      valores de coordenadas en la línea de comando.
   3. Complete el primer segmento de la línea especificando su punto final.
   4. Para deshacer el segmento de línea anterior durante la ejecución del
      comando LINEA, escriba h o haga clic en Deshacer en la barra de
      herramientas.
   5. Especifique los puntos finales de cualquier segmento de línea adicional.
   6. Pulse INTRO para finalizar o c para cerrar una serie de segmentos de línea.
      Para comenzar una nueva línea en el punto final de la última línea dibujada,
      ejecute de nuevo el comando LINEA y pulse INTRO en la solicitud Precise
      punto inicial.

1.2. Comando POLILINEA
    Para poder dibujar una polilínea se podrán utilizar uno de los siguientes
métodos:
  1. Menú Dibujo       Polilínea
  2. Ventana de comandos: polilinea

   3. Caja de herramientas DIBUJO

       Una polilínea es una secuencia de líneas conectadas, creadas como un único
objeto. Puede crear segmentos de línea rectos, segmentos de arco o una
combinación de ambos.

      Las líneas multisegmentadas proporcionan opciones de edición que no
están disponibles para líneas simples. Por ejemplo, puede ajustar su grosor y
curvatura. Después de crear una polilínea, se puede editar o descomponer a fin de
convertirla en segmentos de línea o de arco simples


                                                                                 2
1.3. Comando POLIGONO
    Para poder dibujar un polígono se podrán utilizar uno de los siguientes
métodos:
  1. Menú Dibujo       Polígono
  2. Ventana de comandos: poligono

   3. Caja de herramientas DIBUJO

   Los polígonos son polilíneas cerradas con lados de igual longitud (entre 3
y 1024). Crear polígonos es un modo muy simple de dibujar cuadrados, triángulos
equiláteros, octágonos, etc.

       Existen tres formas distintas de crear polígonos, en función de la información
de la que dispongamos:
    1. Especificar el radio cuando se conoce la distancia entre el centro del polígono
       y el punto final de cada lado (inscrito).
    2. Especificar el radio cuando se conoce la distancia entre el centro del polígono
       y el punto medio de cada lado (circunscritos).
    3. Especificar la longitud de un lado y el lugar donde se va a situar (según
       lado).

Para dibujar un polígono circunscrito

   1.   Seleccionamos la orden POLIGONO.
   2.   En la línea de comando, escriba el número de lados.
   3.   Especifique el centro del polígono (1).
   4.   Escriba c para especificar un polígono circunscrito alrededor de un círculo.
   5.   Defina la longitud del radio (2).




Para dibujar un polígono mediante la especificación de un lado

   1.   Seleccionamos la orden POLIGONO.
   2.   En la línea de comando, escriba el número de lados.
   3.   Escriba a de Arista.
   4.   Especifique el punto inicial de un segmento de polígono.
   5.   Designe el punto final del segmento de polígono.




Para dibujar un polígono inscrito

                                                                                       3
1. Seleccionamos la orden POLIGONO.
   2. En la línea de comando, escriba el número de lados.
   3. Especifica el centro del polígono.
   4. Escriba i para especificar un polígono inscrito dentro de un círculo de
      puntos especificados.
   5. Defina la longitud del radio.




1.4. Comando RECTANGULO
    Para poder dibujar un rectángulo se podrán utilizar uno de los siguientes
métodos:
  1. Menú Dibujo       Rectángulo
  2. Ventana de comandos: rectang
   3. Caja de herramientas DIBUJO

Para dibujar un rectángulo

   1. Seleccionamos la orden RECTANGULO
   2. Precise la primera esquina del rectángulo.
   3. Precise la otra esquina del rectángulo (esquina opuesta).


1.5. Comando ARCO
     Para poder dibujar un arco se podrán utilizar uno de los siguientes métodos
descritos a continuación:
   1. Menú Dibujo         Arco
   2. Ventana de comandos: arco
   3. Caja de herramientas DIBUJO

Se pueden crear arcos de múltiples maneras; todos ellos dibujados en sentido
contrario a las agujas del reloj desde el punto inicial al punto final (esta es la
situación por defecto, aunque se puede configurar para que trabaje al contrario).
Podemos ver todas las opciones desplegando el menú Dibujo                     Arco. Por
identificar algunas, podemos dibuja un arco de las siguientes maneras:
    1. Dibujo de arcos especificando tres puntos
    2. Dibujo de arcos especificando el inicio, el centro y el fin
    3. Dibujo de arcos precisando el inicio, el centro, y el ángulo
    4. Dibujo de arcos especificando el punto inicial, el centro y la longitud
    5. Dibujo de arcos especificando el punto inicial, el final y la dirección o el radio

Para dibujar un arco especificando tres puntos

   1. En el menú Dibujo, haga clic en Arco           3 puntos.

                                                                                       4
2. Designe el punto inicial.
   3. Designe un punto del arco.
   4. Designe el punto final.

Para dibujar un arco haciendo uso de un punto inicial, un centro y un punto
final

   1.   En el menú Dibujo, haga clic en Arco      Inicio, Centro, Fin.
   2.   Designe un punto inicial.
   3.   Especifique el centro.
   4.   Designe el punto final.


1.6. Comando CIRCULO
    Para poder dibujar un círculo se podrán utilizar uno de los siguientes
métodos:
  1. Menú Dibujo      Círculo
  2. Ventana de comandos: circulo
   3. Caja de herramientas DIBUJO

   Se pueden crear círculos de distintas formas. El método por defecto consiste en
especificar el centro y el radio. En la ilustración se muestran otras tres formas de
dibujar un círculo.




Para dibujar un círculo especificando el centro y el radio o el diámetro

   1. En el menú Dibujo, haga clic en Círculo           Centro, Radio o
      Centro, Diámetro.
   2. Especifique el centro.
   3. Especifique el radio o el diámetro.

Para crear un círculo que forme tangente con dos objetos

   1. En el menú Dibujo, haga clic en Círculo               Tan, Tan, Radio. El
      comando inicia el modo de referencia a objetos Tangente.
   2. Designe el primer objeto con el que desea formar la tangente.
   3. Elija el segundo objeto que vaya a formar tangente con el círculo dibujado.
   4. Especifique el radio del círculo.


                                                                                  5
1.7. Comando NUBE DE REVISION
      Para poder dibujar una nube de revisión se podrán utilizar uno de los
siguientes métodos:
   1. Menú Dibujo       Nube de revisión
   2. Ventana de comandos: nuberev

   3. Caja de herramientas DIBUJO

    Si revisa o corrige dibujos, su productividad puede aumentar utilizando la
función de nubes de revisión para destacar las marcas de revisión que introduzca.
NUBEREV crea una polilínea de arcos secuenciales para crear un objeto con forma
de nube. Puede seleccionar un estilo para la nube de revisión: Normal o Caligrafía.
Si selecciona Caligrafía, la nube de revisión tendrá el mismo aspecto que tendría si
se hubiera dibujado con un lápiz de caligrafía.

1.8. Comando ELIPSE
    Para poder dibujar una elipse se podrán utilizar uno de los siguientes
métodos:
  1. Menú Dibujo      Elípse
  2. Ventana de comandos: elipse
   3. Caja de herramientas DIBUJO

    La forma de una elipse viene determinada por dos ejes que definen su longitud y
su grosor. El eje más largo se denomina eje mayor, mientras que el más corto recibe
el nombre de eje menor.




Para dibujar una elipse real haciendo         uso de los puntos finales y de la
distancia

   1.   En el menú Dibujo, haga clic en Elipse          Ejes, Fin.
   2.   Especifique el primer punto final del primer eje (1).
   3.   Defina el segundo punto final del primer eje (2).
   4.   Arrastre el dispositivo señ alador lejos del punto medio y haga clic para
        seleccionar una distancia (3) que sea la mitad de la longitud del segundo eje.




                                                                                     6
2. Ayudas al diseño
2.1. Referencia a Objetos
      En lugar de escribir las coordenadas, es posible indicar puntos relacionados
con objetos existentes tales como extremos de líneas o puntos centrales de círculos.

       De esta forma, la referencia a objetos limita la especificación de puntos a
emplazamientos exactos (tales como un punto medio o una intersección) en objetos
existentes. La referencia a objetos es una forma rápida de emplazar con exactitud
un punto en un objeto sin tener que conocer sus coordenadas ni dibujar líneas
auxiliares. Siempre que se solicite un punto, se puede especificar una referencia a
objetos.


2.1.1 Activación/Desactivación
     Existen diversas formas de activar y desactivar las referencias a objetos.
Cuando se solicite un punto, puede hacer lo siguiente:
  • Pulsar la tecla MAYÚS y hacer clic con el botón derecho del ratón para
     mostrar el menú contextual de referencia a objetos.
  • Hacer clic en un botón de referencia a objetos de la barra de herramientas
     Referencia a objetos (se muestra pulsado el botón derecho del ratón en
     cualquier caja de herramientas y seleccionando REFERENCIA A OBJETOS).
  • Introducir el nombre de una referencia a objetos en la línea de comando.
   •   Hacer clic en el botón REFENT de la barra de estado.


2.1.2 Modos de referencia a objetos
      La forma más sencilla de utilizar la referencia a objetos es tener activado el
AutoSnap. Con esta herramienta, AutoCAD® va a reconocer aquellos que
previamentele hayamos      indicado. En cualquier caso, a continuación se
enumerarán los modos de los que disponemos para ayudarnos en nuestros diseños:




     Punto Final. Fuerza el cursor al punto final más cercano de objetos como líneas
o arcos.


   Punto Medio. Fuerza el cursor al punto medio de objetos como líneas o arcos.


    Intersección. Fuerza el cursor al punto de intersección de objetos como líneas,
arcos etc.

     Intersección Ficticia. Incluye dos modos de referencia diferentes: Intersección
ficticia e Intersección ficticia extendida. Una intersección ficticia, fuerza el cursor a
la intersección de dos objetos que no se cruzan en el espacio tridimensional pero
que parecen hacerlo en pantalla. Una Intersección ficticia extendida fuerza el cursor
a la intersección imaginaria de dos objetos que parecían cortarse al alargarlos en
sus direcciones naturales.

                                                                                       7
Extensión. Para tomar como referencia la extensión (o ‘alargamiento’) de una
línea o arco. Seleccionamos la línea o arco que queremos extender y luego el punto
requerido.

   Centro. Fuerza el cursor al centro de un arco, círculo o elipse.

     Cuadrante. Fuerza el cursor al cuadrante más cercano de un arco, circulo o
elipse (los punto a 0, 90, 180 y 270 grados).

    Tangente. Fuerza el cursor al punto de un circulo o arco que, al conectarlo al
ultimo punto, formará una línea tangente a dicho objeto.

    Perpendicular. Fuerza el cursor al punto de un objeto que esta alineado normal
o perpendicularmente con otro objeto o con una extensión imaginaria del mismo.
Perpendicular puede utilizarse con objetos como líneas, círculos, elipses, arcos, etc.

   Paralelo. Permite dibujar líneas paralelas a otras.

     Inserción. Fuerza el cursor al punto de inserción de un bloque, forma, texto,
atributo.

    Cercano. Fuerza el cursor a un objeto de punto o a la ubicación en otro tipo de
objeto más cercano al punto especificado.


   Ninguno. Desactiva las referencias a objetos activadas. También puede utilizarse
para desactivar las referencias a objetos implícitas para un punto.

     Parámetros de referencia a objetos. Desde aquí podremos configurar las
referencias desde la ventana de configuración Parámetros de Dibujo. Por ejemplo,
en la solapa de Referencia a Objetos podremos seleccionar las referencias que
queremos que aparezcan por defecto sin necesidad de especificarlas. Si apretamos
Opciones tendremos una configuración avanzada desde donde podremos cambiar
cosas como el tamaño del punto de mira, etc.




                                                                                    8
2.1.3 Rastreo
       Una de las herramientas de dibujo más potente de AutoCAD® se llama
rastreo. Para poder disfrutar de todas las posibilidades del rastreo, activa en la
barra de estado los botones [POLAR], [REFERENT] y [RASTREO].




       Realizar rastreos es un nuevo sistema para situar puntos de referencias
temporales y situarte a partir de ellos. Intenta ( y consigue) evitar utilizar
coordenadas relativas desde el teclado ( es decir, escribir @). Si desplazamos el
cursor sobre un punto de referencia a objeto (punto final, medio, etc.) para
precisarlo temporalmente sin hacer clic sobre él, nos aparece un pequeño signo de
adición (+). Ya tenemos ese punto seleccionado como referencia. Podemos
seleccionar más de uno. Tras precisar un punto, las rutas de alineación horizontal
y vertical (o polar relativas) al punto aparecen a medida que desplaza el cursor
sobre las rutas de dibujo. Nos aparece una pequeña leyenda superpuesta que nos
indica la distancia y dirección respecto a ese punto referenciado. Algo tal como:




       Queremos dibujar una línea cogiendo como referencia el punto final de otra.
Nos acercamos al punto final (2) hasta que se active al cruz (+). Nos aparece la ruta
de alineación y si nos movemos en horizontal o vertical nos indica la distancia
respecto al punto (2) del punto donde estamos (3). En este caso, solo necesitamos
escribir la distancia, sin @ pues ya tenemos referencia (2), y sin preocuparnos del
signo, pues ya indicamos la dirección al situarnos a la derecha de (2). Si hemos
activado una referencia de rastreo podemos desactivarla acercándonos de nuevo a
ella hasta que el signo (+) desaparece.

Veamos otro ejemplo:
   1. Queremos dibujar una línea desde un punto hasta donde intersecarían las
      otras dos. Para ello hacemos un clic para entrar el primer punto, después de
      activar la orden línea.




   2. Nos acercamos al punto final de la otra línea sin hacer clic con el botón del
      ratón. Aparecerá una cruz en el punto final y si nos movemos verticalmente
      hacia abajo aparecerá la leyenda [Extensión: distancia < ángulo].




                                                                                   9
3. Nos acercamos luego al otro punto final hasta que aparezca otra cruz y nos
      movemos en horizontal. De nuevo aparece el rastreo.




   4. Buscamos el punto de intersección entre la vertical y la horizontal del rastreo
      hasta que aparezca [intersección].Ya lo tenemos, solo tenemos que hacer clic
      y ya está... Ni una sola @, ni una sola línea auxiliar, ni un solo clic, muy
      rápidamente.




2.1.4 Rastreo Polar
        Utilizamos el rastreo polar para rastrear con el cursor a lo largo de rutas de
alineación temporales definidas mediante ángulos polares asociados a puntos
iniciales y finales de un comando.




      Puede utilizar el rastreo polar para realizar un rastreo a lo largo de
incrementos de ángulos polares de 90, 60, 45, 30, 22.5, 18, 15, 10 y 5 grados,
pudiendo precisar otros ángulos.




                                                                                   10
Por lo tanto podremos hacer líneas en los ángulos determinados. Si, por ejemplo,
tenemos activado el rastreo polar en ángulos de 90, podremos hacer horizontales y
verticales escribiendo solo la distancia de esa línea.




Vemos que aparece una línea semi-infinita indicando la distancia y el ángulo. Como
en el rastreo, solo necesitamos especificar la distancia ya que el sentido y dirección
son conocidos. Si queremos una línea de 80, solo escribiremos 80 y [Enter].

     Para configurar el Rastreo polar volvemos a la ventana de Parámetros de
Dibujo y seleccionamos la pestaña [Rastro Polar].




      Desde aquí podemos activar también el rastreo polar (recordemos que lo
podemos hacer desde la barra de estado más fácilmente o por F10). En esta
ventana vamos a poder personalizar:
   1. Parámetros de ángulo polar. Establece los ángulos que se utilizan con el
      rastreo polar.
         • Incrementar ángulo. Establece el ángulo de incremento polar que se
             utiliza para visualizar las rutas de alineación de rastreo polar. Se
             puede indicar cualquier ángulo o seleccionar en la lista un ángulo
             común de 90, 60, 45, 30, 22.5, 18, 15, 10 y 5 grados.
         • Ángulos adicionales. Hace que los ángulos adicionales de la lista
             estén disponibles para el rastreo polar.
   2. Parámetros rastreo de referencia a objetos. Establece las opciones para el
      rastreo de referencia a objetos, no sólo para el rastreo polar.

                                                                                   11
•   Rastreo ortogonal sólo. Muestra sólo las rutas de referencia a
     objetos ortogonales (horizontal/vertical) para los puntos de referencia
     a objetos adquiridos cuando el rastreo de referencia a objetos está
     activado.
 •   Rastreo con parámetros de ángulo polar. Permite al cursor
     rastrear a lo largo de cualquier ruta de rastreo de ángulo polar para
     los puntos de referencia a objetos adquiridos si el rastreo de referencia
     a objetos está activado mientras se precisan puntos.

La combinación de Referencia a objetos, Rastreo y Rastreo Polar es una
herramienta imprescindible en AutoCAD® que tiene que estar siempre activada
para aprovechar toda su potencia.




                                                                           12
3. Selección de elementos
    Para trabajar con cualquier herramienta de CAD, es básico saber cómo
podemos seleccionar los objetos dibujados en nuestro proyecto, para poder hacer
las operaciones deseadas. AutoCAD® presenta una serie de métodos de selección;
alguno de los cuales explicaremos a continuación.

    Cabe destacar que existen métodos directos de selección que no necesitamos
indicar implícitamente y otro que es necesario. Nos vamos a centrar en el primer
grupo, ya que para las prácticas propuestas no necesitaremos más.

   En cualquier caso, cuando necesitemos seleccionar objetos para editarlos, nos
aparecerá normalmente en la ventana de comandos, la petición:

     Designe objetos:

Si queremos saber cuales son todos, escribiremos ?; y nos aparecerá:
     Requiere un punto o Ventana / Último / Captura / PRISMA / TODOS
     / Borde / polígonOV / PolígonOC / Grupo / Añadir / Suprimir /
     Múltiple / Previo / Deshacer / Auto / Unico:

     Evidentemente, no necesitamos cada vez que queramos utilizar uno de estos
métodos llamar a esta lista de opciones, solo deberemos poner la letra
correspondiente (la mayúscula en las opciones) dentro de la petición de designar
objetos.

Métodos directos

       Existen cuatro métodos básicos que no necesitamos indicar a la hora de
seleccionar elementos:
    1. Designación directa. Vemos que por defecto nuestro típico cursor en pantalla
       se convierte en un cuadro de designación. Podremos seleccionar
       directamente un objeto pinchando sobre cualquiera de las partes que lo
       forman.
    2. Ventana: Método clásico de designación por ventana, donde introduciremos
       una esquina de la ventana y la opuesta; teniendo en cuenta que en este
       método haremos la selección de izquierda a derecha, por lo que sólo
       seleccionaremos los objetos que estén totalmente incluidos dentro de esta
       ventana. El recuadro que aparece es de línea continua.




   3. Captura: Método clásico de designación por ventana, donde introduciremos
      una esquina de la ventana y la opuesta; teniendo en cuenta que en este
      método haremos la selección de derecha a izquierda, por lo que
      seleccionaremos los objetos que se crucen con esta ventana, aunque no
      estén totalmente dentro de ésta. Se distingue a simple vista de la Ventana
      porque las líneas son discontinuas.


                                                                                13
4.    Selección total. En el menú Edición       Seleccionar todo (Ctrl-E)
        podemos seleccionar todos los elementos de nuestro dibujo; para poder
        realizar alguna operación con ellos.

Métodos indirectos

     Los demás métodos necesitan ser especificados. Les nombraremos de forma
resumida, ya que, cómo indicamos anteriormente, no se usarán para las prácticas:
   • Prisma. Otra manera de llamar a los métodos de Captura o Ventana.
      Introducimos un recuadro que será uno o otro según si va de izquierda a
      derecha o viceversa.
   • Todos. Selecciona todos los objetos del dibujo que no estén en capas
      inutilizadas
   • Borde. Designa todos los objetos que cruzan o atraviesan un borde o línea de
      selección. Muy útil cuando tenemos muchos objetos.
   • PolígonOV. Designa los objetos que están completamente dentro de un
      polígono definido por puntos. Este polígono puede tener cualquier forma,
      siempre que sus lados no se toquen ni se crucen. AutoCAD® dibuja el último
      segmento del polígono de forma que permanezca cerrado en todo momento.
   • PolígonOC. Designa los objetos que están dentro y cruzan un polígono que se
      define precisando puntos. Este polígono puede tener cualquier forma,
      siempre que sus lados no se toquen ni se crucen. AutoCAD® dibuja el último
      segmento del polígono de forma que permanezca cerrado en todo momento.
   • Grupo. Designa todos los objetos de un grupo determinado, introduciendo su
      nombre.
   • Añadir / Suprimir. Conmutamos entre modos de añadir o Suprimir objetos a
      la selección, mediante cualquiera de los métodos.
   • Múltiple. Precisa varios puntos sin resaltar los objetos, lo cual agiliza el
      proceso de designación cuando se trata de objetos complejos. El método
      Múltiple también designa dos elementos que se intersecan si el punto de
      intersección se precisa dos veces.
   • Previo. Selecciona el último conjunto de designación. El conjunto de
      designación anterior (Previo) se suprime mediante operaciones que eliminan
      objetos del dibujo. AutoCAD® mantiene un registro donde queda constancia
      de si cada conjunto de selección se ha precisado en espacio modelo o en
      espacio papel. Si cambia de espacio, se ignora el conjunto de selección
      Previo.
   • Último. Designa el último objeto visible creado.
   • Auto. Cambia a la designación automática: al señalar un objeto éste se
      designa. Cuando se señala un área vacía dentro o fuera de un objeto, se crea
      la primera esquina de un prisma rectangular definido mediante el método
      Prisma. Por lo tanto, Auto y Añadir son los métodos por defecto.
   • Único. Selecciona el primer objeto o conjunto de objetos designado, en lugar
      de presentar otras solicitudes para realizar más designaciones.
   • Deshacer. Cancela la designación del último objeto incorporado.


                                                                               14
4. MODIFICACIÓN de objetos
    AutoCAD® permite modificar fácilmente el tamaño, la forma y la ubicación de
los distintos objetos. Puede escribir un comando primero y después designar los
objetos que desee modificar o puede designar los objetos primero y después
introducir un comando para modificarlos.




        Dentro de las      opciones de modificación de objetos existen dos
fundamentales que nos van a ser de gran ayuda a la hora de realizar los dibujos
iniciales. Estas son Borrar y Recortar.

4.1. Comando BORRAR
      La operación de borrado de objetos se puede realizar de dos formas distintas,
tal y como se explica a continuación. En cualquier caso, para acceder al comando,
lo podremos hacer mediante:
    1. Menú Modificar         Borrar
    2. Ventana de comandos: borra

   3. Caja de herramientas MODIFICAR

  BORRA funciona con todos los métodos de designación de objetos disponibles. Se
pueden suprimir objetos del dibujo de varias formas, entre las que se encuentran:
  • Borrarlos mediante BORRA

                                                                                15
• Pulsar la tecla SUPR una vez seleccionados.

Para borrar un objeto (método 1)

   1. Acceder al comando BORRAR usando alguna de los métodos antes
      indicados.
   2. En la solicitud Designe objetos, use un método de selección para designar
      los objetos que se van a borrar
   3. Pulse INTRO para terminar el comando.

Para borrar un objeto (método 2)

   1. Designe objetos, usando un método de selección para designar los objetos
      que se van a borrar
   2. Acceder al comando BORRAR usando alguna de las maneras antes indicada.


4.2. Comando RECORTAR
     La operación de recorte de objetos consiste en eliminar partes de elementos ya
dibujados, con respecto a otros (elementos de corte). Para acceder al comando, lo
podremos hacer mediante:
   1. Menú Modificar         Recortar
   2. Ventana de comandos: recorta
   3. Caja de herramientas MODIFICAR

Para recortar un o varios objetos

   1. Acceder al comando RECORTAR usando alguna de los métodos antes
      indicados.
   2. En la solicitud Designe objetos, use un método de selección para designar
      los objetos que van a definir el contorno de corte.
   3. Pulse INTRO para terminar la selección de elementos.
   4. Vaya pulsando con el botón izquierdo del ratón sobre las partes de los
      elementos que queremos recortar.
   5. Pulse INTRO o ESC para terminar con el comando.




                                                                                16
5. Corrección de errores
    Se puede realizar el seguimiento de las acciones más recientes utilizando uno
de los diferentes métodos existentes.

5.1. Deshacer una sola acción
      El método más sencillo de hacer un seguimiento es utilizar DESHACER de la
barra de herramientas Estándar, o el comando H para deshacer una sola acción.
Muchos comandos incluyen su propia opción H (Deshacer) de manera que puede
corregir los errores sin salir del comando. Por ejemplo, cuando esté creando líneas y
polilíneas, escriba h para deshacer el último segmento.

En cualquier caso, para acceder al comando, lo podremos hacer mediante:
   1. Menú Edición         Deshacer
   2. Ventana de comandos: Deshacer

   3. Caja de herramientas NORMAL

5.2. Inversión del efecto de Deshacer
      Es posible invertir el efecto de una sola ejecución del comando H o DESHACER
utilizando REHACER inmediatamente después de utilizar H o DESHACER.

En cualquier caso, para acceder al comando, lo podremos hacer mediante:
   1. Menú Edición         Rehacer
   2. Ventana de comandos: Rehacer
   3. Caja de herramientas NORMAL




                                                                                  17
6. Prácticas propuestas
6.1. Símbolos
      Utilizando la referencia a objetos, el recorte y el borrado de elementos, realizar
los siguientes símbolos:


   Dibujo con Elementos Auxiliares           Dibujo con Elementos Auxiliares




                                                                       80
                                                           80



           Dibujo Resultante                      Dibujo Resultante




                                                                                     18
6.2. Pieza Sencilla
      Utilizando la referencia a objetos, el recorte y el borrado de elementos, realizar
la siguiente figura:
                       Dibujo con Elementos Auxiliares

                                          55
                12,5
                27,5




                                 Dibujo Resultante




                                                                                     19
6.3. Trama
      Utilizando la referencia a objetos, el recorte y el borrado de elementos, realizar
la siguiente trama:
                     Dibujo con Elementos Auxiliares




                        R30




                              Dibujo Resultante




                                                                                     20
Temas tratados en esta clase:
                                                                       3
                •   Ejercicios propuestos



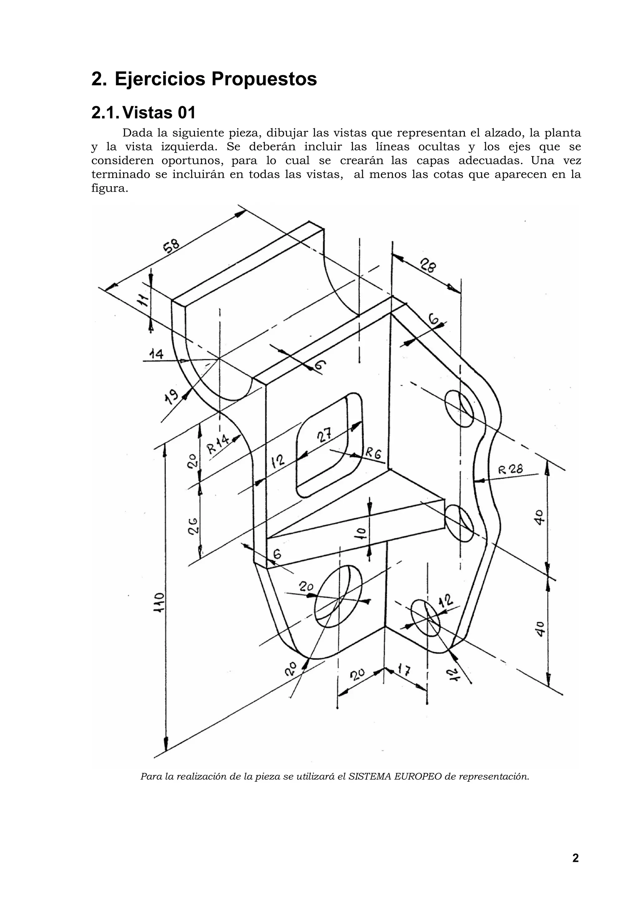
1. Ejercicios propuestos
1.1. Pieza
     Dibujar la siguiente pieza tiendo en cuenta que los centros de todos los
agujeros se encuentran situados en los vértices de un triángulo equilátero de lado
100 unidades.

       Para realizar la práctica se hace indispensable utilizar la herramienta de
recorte de elementos y el traceo.

      Solo se dibujarán las líneas de trazo grueso, pudiéndose utilizar todas los
elementos auxiliares que necesitemos.



                         100

                                                                              20




                                                                      80




                                                                                   2
1.2. Trama
      Utilizando todas las herramientas aprendidas hasta el momento, realizar la
siguiente trama. Es importante tener paciencia a la hora de recortar todos los
elementos que no son necesarios.

                Elementos Auxiliares para realizar la trama




                                                         180
                             Dibujo Resultante




                                                                              2
1.3. Pieza 2
      Utilizando todas las herramientas aprendidas hasta el momento, realizar la
siguiente pieza. Utilizar todos los elementos auxiliares que se necesiten. Una vez
completada la pieza, se deberán borrar todos los elementos auxiliares utilizados.




                                         30
 100




                         20
 20




                                         20
                                         20
 30




                                         40
 30




                   30           30                                      20




                                                                                3
1.4. Pivote
      Utilizando todas las herramientas aprendidas hasta el momento, dibujar el
siguiente pivote. Utilizar todos los elementos auxiliares que se necesiten. Una vez
completada la pieza, se deberán borrar todos los elementos auxiliares utilizados.




                235
                40
                40
                40




                                         50
                                        110
                                        150




                                                                                 4
Temas tratados en esta clase:
                                                                       4
                   • Métodos de selección de objetos
                   • MODIFICACION de objetos


1. Selección de elementos
    Para trabajar con cualquier herramienta de CAD, es básico saber cómo
podemos seleccionar los objetos dibujados en nuestro proyecto, para poder hacer
las operaciones deseadas. AutoCAD® presenta una serie de métodos de selección;
alguno de los cuales explicaremos a continuación.

    Cabe destacar que existen métodos directos de selección que no necesitamos
indicar implícitamente y otro que es necesario. Nos vamos a centrar en el primer
grupo, ya que para las prácticas propuestas no necesitaremos más.

   En cualquier caso, cuando necesitemos seleccionar objetos para editarlos, nos
aparecerá normalmente en la ventana de comandos, la petición:

     Designe objetos:

Si queremos saber cuales son todos, escribiremos ?; y nos aparecerá:
     Requiere un punto o Ventana / Último / Captura / PRISMA / TODOS
     / Borde / polígonOV / PolígonOC / Grupo / Añadir / Suprimir /
     Múltiple / Previo / Deshacer / Auto / Unico:

     Evidentemente, no necesitamos cada vez que queramos utilizar uno de estos
métodos llamar a esta lista de opciones, solo deberemos poner la letra
correspondiente (la mayúscula en las opciones) dentro de la petición de designar
objetos.

Métodos directos

       Existen cuatro métodos básicos que no necesitamos indicar a la hora de
seleccionar elementos:
    1. Designación directa. Vemos que por defecto nuestro típico cursor en pantalla
       se convierte en un cuadro de designación. Podremos seleccionar
       directamente un objeto pinchando sobre cualquiera de las partes que lo
       forman.
    2. Ventana: Método clásico de designación por ventana, donde introduciremos
       una esquina de la ventana y la opuesta; teniendo en cuenta que en este
       método haremos la selección de izquierda a derecha, por lo que sólo
       seleccionaremos los objetos que estén totalmente incluidos dentro de esta
       ventana. El recuadro que aparece es de línea continua.




                                                                                 2
3. Captura: Método clásico de designación por ventana, donde introduciremos
      una esquina de la ventana y la opuesta; teniendo en cuenta que en este
      método haremos la selección de derecha a izquierda, por lo que
      seleccionaremos los objetos que se crucen con esta ventana, aunque no
      estén totalmente dentro de ésta. Se distingue a simple vista de la Ventana
      porque las líneas son discontinuas.




   4. Selección total. En el menú Edición Æ Seleccionar todo (Ctrl-E) podemos
      seleccionar todos los elementos de nuestro dibujo; para poder realizar alguna
      operación con ellos.

Métodos indirectos

     Los demás métodos necesitan ser especificados. Les nombraremos de forma
resumida, ya que, cómo indicamos anteriormente, no se usarán para las prácticas:
   • Prisma. Otra manera de llamar a los métodos de Captura o Ventana.
      Introducimos un recuadro que será uno o otro según si va de izquierda a
      derecha o viceversa.
   • Todos. Selecciona todos los objetos del dibujo que no estén en capas
      inutilizadas
   • Borde. Designa todos los objetos que cruzan o atraviesan un borde o línea de
      selección. Muy útil cuando tenemos muchos objetos.
   • PolígonOV. Designa los objetos que están completamente dentro de un
      polígono definido por puntos. Este polígono puede tener cualquier forma,
      siempre que sus lados no se toquen ni se crucen. AutoCAD® dibuja el último
      segmento del polígono de forma que permanezca cerrado en todo momento.
   • PolígonOC. Designa los objetos que están dentro y cruzan un polígono que se
      define precisando puntos. Este polígono puede tener cualquier forma,
      siempre que sus lados no se toquen ni se crucen. AutoCAD® dibuja el último
      segmento del polígono de forma que permanezca cerrado en todo momento.
   • Grupo. Designa todos los objetos de un grupo determinado, introduciendo su
      nombre.
   • Añadir / Suprimir. Conmutamos entre modos de añadir o Suprimir objetos a
      la selección, mediante cualquiera de los métodos.
   • Múltiple. Precisa varios puntos sin resaltar los objetos, lo cual agiliza el
      proceso de designación cuando se trata de objetos complejos. El método



                                                                                 1
Múltiple también designa dos elementos que se intersecan si el punto de
    intersección se precisa dos veces.
•   Previo. Selecciona el último conjunto de designación. El conjunto de
    designación anterior (Previo) se suprime mediante operaciones que eliminan
    objetos del dibujo. AutoCAD® mantiene un registro donde queda constancia
    de si cada conjunto de selección se ha precisado en espacio modelo o en
    espacio papel. Si cambia de espacio, se ignora el conjunto de selección
    Previo.
•   Último. Designa el último objeto visible creado.
•   Auto. Cambia a la designación automática: al señalar un objeto éste se
    designa. Cuando se señala un área vacía dentro o fuera de un objeto, se crea
    la primera esquina de un prisma rectangular definido mediante el método
    Prisma. Por lo tanto, Auto y Añadir son los métodos por defecto.
•   Único. Selecciona el primer objeto o conjunto de objetos designado, en lugar
    de presentar otras solicitudes para realizar más designaciones.
•   Deshacer. Cancela la designación del último objeto incorporado.




                                                                              4
2. MODIFICACIÓN de objetos
    AutoCAD® permite modificar fácilmente el tamaño, la forma y la ubicación de
los distintos objetos. Puede escribir un comando primero y después designar los
objetos que desee modificar o puede designar los objetos primero y después
introducir un comando para modificarlos.




2.1. Comando BORRAR
      La operación de borrado de objetos se puede realizar de dos formas distintas,
tal y como se explica a continuación. En cualquier caso, para acceder al comando,
lo podremos hacer mediante:
    1. Menú Modificar Æ Borrar
    2. Ventana de comandos: borra

   3. Caja de herramientas MODIFICAR

  BORRA funciona con todos los métodos de designación de objetos disponibles. Se
pueden suprimir objetos del dibujo de varias formas, entre las que se encuentran:
  • Borrarlos mediante BORRA




                                                                                 3
• Pulsar la tecla SUPR una vez seleccionados.




                                                4
Para borrar un objeto (método 1)

   1. Acceder al comando BORRAR usando alguna de las maneras antes indicada.
   2. En la solicitud Designe objetos, use un método de selección para designar
      los objetos que se van a borrar
   3. Pulse INTRO para terminar el comando.

Para borrar un objeto (método 2)

   1. Designe objetos, usando un método de selección para designar los objetos
      que se van a borrar
   2. Acceder al comando BORRAR usando alguna de las maneras antes indicada.


2.2. Comando COPIAR
     Se pueden duplicar objetos a una distancia determinada del original. Si lo
desea, puede especificar la distancia y la dirección por medio de dos puntos, un
punto de origen (1) y un punto de destino (2), denominados punto base y segundo
punto de desplazamiento respectivamente. Estos puntos pueden situarse en
cualquier parte del dibujo.

     A la operación de copiado de objetos se puede acceder indistintamente de
varias formas:
   1. Menú Modificar Æ Copiar
   2. Ventana de comandos: copia

   3. Caja de herramientas MODIFICAR

 Para copiar uno o varios objetos

   1.   Acceder al comando COPIAR usando alguna de las maneras antes indicada.
   2.   Designar los objetos que desee copiar.
   3.   Precisar el punto base.
   4.   Designar el segundo punto de desplazamiento.




 Para copiar uno o varios objetos varias veces

   1.   Acceder al comando COPIAR usando alguna de las maneras antes indicada.
   2.   Designar los objetos que desee copiar.
   3.   Escribir m (Múltiple) en la ventana de comandos.
   4.   Precisar el punto base.
   5.   Designar el segundo punto de desplazamiento.
   6.   Precisar el siguiente punto de desplazamiento.
   7.   Seguir insertando copias o pulsar la tecla INTRO para terminar el comando.




                                                                                     5
2.3. Comando SIMETRIA
     El procedimiento de reflexión de objetos en simetría sirve para crear imágenes
simétricas de los objetos. Resulta útil para crear objetos simétricos, ya que puede
dibujar rápidamente la mitad del objeto y después reflejarlo en vez de dibujar el
objeto entero.

     Se pasa de un objeto a otro sobre un eje denominado eje de simetría para
crear una imagen reflejada. Para especificar este eje de simetría temporalmente,
indique dos puntos. Puede elegir entre borrar o mantener los objetos originales.

     A la operación de simetría de objetos se puede acceder indistintamente de
varias formas:
   1. Menú Modificar Æ Simetria
   2. Ventana de comandos: simetria
   3. Caja de herramientas MODIFICAR

Para realizar la simetría de elementos

   1. Acceder al comando SIMETRIA usando alguna de las maneras antes
      indicada.
   2. Designar los objetos de los cuales queremos realizar una simetría.
   3. Introducir un primer punto A
   4. Introducir un segundo punto B. Los puntos A y B definen un eje de simetría
      a partir del cual obtenemos los objetos reflejados.
   5. Pulse INTRO para conservar los objetos originales o escriba s para borrarlos.


2.4. Comando EQUIDISTANCIA (desfase)
     La equidistancia crea un nuevo objeto cuya forma es paralela a la forma de un
objeto designado. Al desfasar un círculo o arco se crea un círculo o arco mayor o
menor, dependiendo de qué lado se especifique para realizar el desfase.




     Una técnica de dibujo muy eficaz es desfasar objetos y, después, recortar o
alargar sus extremos.



                                                                                  6
Se pueden desfasar
   • Líneas
   • Arcos
   • Círculos
   • Elipses
   • Polilíneas 2D

     A la operación de equidistancia de objetos se puede acceder indistintamente
de varias formas:
   1. Menú Modificar Æ Equidistancia
   2. Ventana de comandos: EQDIST

   3. Caja de herramientas MODIFICAR

Para desfasar un objeto mediante la precisión de una distancia

   1. Acceder al comando EQUIDISTANCIA usando alguna de las maneras antes
      indicada.
   2. Precisar la distancia de desplazamiento. Escribir un valor o utilizar el
      dispositivo señalador.
   3. Designar el objeto que desee desfasar.
   4. Precisar un punto en el lado en el que desea situar los nuevos objetos.
   5. Designar otro objeto para desplazarlo o pulse la tecla INTRO para terminar el
      comando.

 Para desfasar un objeto a través de un punto

   1. Acceder al comando EQUIDISTANCIA usando alguna de las maneras antes
      indicada.
   2. Escriba p de Punto a atravesar.
   3. Designe el objeto que desee desfasar.
   4. Designe el punto a atravesar.
   5. Designe otro objeto para desplazarlo o pulse la tecla INTRO para terminar el
      comando.

2.5. Comando MOVER
      Se pueden mover objetos a una distancia determinada del original. Si lo desea,
puede especificar la distancia y la dirección por medio de dos puntos, un punto de
origen (1) y un punto de destino (2), denominados punto base y segundo punto de
desplazamiento respectivamente. Estos puntos pueden situarse en cualquier parte
del dibujo.

     A la operación de copiado de objetos se puede acceder indistintamente de
varias formas:
   1. Caja de herramientas MODIFICAR

Para mover uno o varios objetos

                                                                                  7
1.   Acceder al comando MOVER usando alguna de las formas antes indicada.
   2.   Designar los objetos que desee mover.
   3.   Precisar el punto base.
   4.   Designar el segundo punto de desplazamiento.

2.6. Comando RECORTAR
     La operación de recorte de objetos consiste en eliminar partes de elementos ya
dibujados, con respecto a otros (aristas de corte). Es importante saber distinguir
entre borrar y recortar:
         • Borrar = eliminar objeto completo
         • Recortar = eliminar parte de un objeto (respecto a otro)

      Cuando se recortan varios objetos, los diversos métodos de selección facilitan
la elección de las aristas de corte actuales y de los objetos que desea cortar. En el
siguiente ejemplo, las aristas de corte se designan haciendo uso de un cuadro de
selección de captura.




      Se puede acceder al comando de recorte de objetos mediante alguno de los
siguientes métodos:
   1. Menú Modificar Æ Recortar
   2. Ventana de comandos: recorta
   3. Caja de herramientas MODIFICAR

Para recortar uno o varios objetos

   1. Acceder al comando RECORTAR usando alguna de las maneras antes
      indicada.
   2. En la solicitud Designe objetos, use un método de selección para designar
      los objetos que van a definir el contorno de corte.
   3. Pulsar INTRO para terminar la selección de elementos.
   4. Pulsar con el botón izquierdo del ratón sobre las partes de los elementos que
      queremos recortar.
   5. Pulsar INTRO para terminar el comando

2.7. Comando ALARGAR
      El alargamiento funciona de la misma forma que el recorte. Con AutoCAD
podrá alargar objetos de modo que éstos finalicen precisamente en las aristas de
los contornos definidas por otros objetos. En el ejercicio siguiente podrá extender
las líneas de forma precisa a un círculo, que actúa como arista del contorno.




                                                                                   8
Es posible alargar objetos sin salir de comando RECORTA. Mantenga
pulsada la tecla MAYÚS y seleccione los objetos que desee alargar.

      Se puede acceder al comando de alargar de objetos mediante alguno de los
siguientes métodos:
   1. Menú Modificar Æ Alargar
   2. Ventana de comandos: alarga
   3. Caja de herramientas MODIFICAR

Para recortar uno o varios objetos

   1. Acceder al comando ALARGAR usando alguna de las formas antes indicada.
   2. En la solicitud Designe objetos, use un método de selección para designar
      los objetos que van a definir el contorno.
   3. Pulsar INTRO para terminar la selección de elementos.
   4. Pulsar con el botón izquierdo del ratón sobre las partes de los elementos que
      queremos alargar.
   5. Pulsar INTRO para terminar el comando

2.8. Comando CHAFLAN
      El uso del comando CHAFLAN es una forma rápida de crear una línea entre
dos líneas no paralelas. Normalmente se utiliza para representar un borde biselado
en una esquina.

      Con el método de distancia podrá precisar en qué medida deben recortarse o
alargarse las líneas. El método ángulo le permite precisar la longitud del chaflán y
el ángulo que forma con la primera línea. Puede preservar los objetos tal y como
figuraban antes de achaflanarlos o recortarlos o extenderlos a la línea del chaflán.




      Se puede acceder al comando de recorte de objetos mediante alguno de los
siguientes métodos:
   1. Menú Modificar Æ Chaflan
   2. Ventana de comandos: chaflan
   3. Caja de herramientas MODIFICAR




                                                                                  9
Para establecer distancias entre chaflanes

   1.   Acceder al comando CHAFLAN usando alguna de las formas antes indicada.
   2.   Escribir d (Distancia).
   3.   Escribir la distancia del primer chaflán.
   4.   Escribir la distancia del segundo chaflán.
   5.   Designar las líneas que desee achaflanar.

Para achaflanar precisando la longitud y ángulo del chaflán

   1.   Acceder al comando CHAFLAN usando alguna de las formas antes indicada.
   2.   Escribir an (Ángulo).
   3.   Escribir la distancia desde la esquina para achaflanar en la primera línea.
   4.   Indicar ángulo del chaflán.
   5.   Designar la primera línea. A continuación, seleccionar la segunda línea.

Para achaflanar un objeto sin recortarlo

   1.   Acceder al comando CHAFLAN usando alguna de las formas antes indicada.
   2.   Escribir r (Recortar).
   3.   Escribir d (Desactivar recortar).
   4.   Designar los objetos que desee achaflanar.

2.9. Comando EMPALME
      El proceso de empalme entre dos objetos conlleva su conexión con un arco
tangente a ambos de un radio específico. Una esquina interior se denomina
empalme y una esquina exterior se denomina redondeo. Se pueden empalmar entre
otros: arcos, círculos, elipses, líneas y polilíneas.




      El comando EMPALME se puede utilizar para crear con facilidad un arco con
un radio específico que sea tangente a dos objetos seleccionados. Con la opción
Múltiple puede empalmar varios conjuntos de objetos sin abandonar el comando.

     Según las posiciones que se especifiquen, puede haber más de un empalme
entre los objetos seleccionados. Dependerá de los puntos que marquemos, para
controlar la posición del empalme.




                                                                                  10
Se puede acceder al comando de recorte de objetos mediante alguno de los
siguientes métodos:
   1. Menú Modificar Æ Recortar
   2. Ventana de comandos: recorta
   3. Caja de herramientas MODIFICAR

Para definir el radio del empalme
   1. Acceder al comando EMPALME usando alguna de las formas antes indicada.
   2. Escribir ra (Radio).
   3. Definir el radio del empalme.
   4. Designar los objetos que desee empalmar.

Para empalmar un objeto sin recortarlo

   1. Acceder al comando EMPALME usando alguna de las formas antes indicada.
   2. Si fuese necesario, escriba r (Recortar) y después d (Desactivar recortar).
   3. Designe los objetos que desee empalmar.

2.10. Comando DESCOMPONER
     Puede descomponer un objeto compuesto, como una polilínea, un rectángulo,
un polígono, etc.; para convertirlo en elementos individuales.

      Se puede acceder al comando de recorte de objetos mediante alguno de los
siguientes métodos:
   1. Menú Modificar Æ Descomponer
   2. Ventana de comandos: descomp
   3. Caja de herramientas MODIFICAR

Para descomponer un objeto

   1. Acceder al comando DESCOMPONER usando alguna de las formas antes
      indicada.
   2. Designar los objetos que desee descomponer.
   3. Para la mayoría de los objetos, la descomposición no tiene un efecto visible.




                                                                                 11
3. Ejercicios propuestos
3.1. Pieza
      Dibujar la siguiente pieza teniendo en cuenta que todos los empalmes se han
realizado con un radio de 2,5 unidades. Usar preferiblemente las herramientas de
copiar, equidistancia y empalme.




                 8


                                                               45




                               25




                                                                              12
3.2. Pieza 2
     Dibujar la siguiente pieza teniendo en cuenta que se aconseja utilizar las
herramientas de simetría y traceo.




                                      Ø50




                                                                     108
          40
  42




                                       98




                                                                             13
3.3. Señalización
      Dibujar el siguiente panel de señalización, teniendo en cuenta que se aconseja
utilizar las herramientas de polígono, equidistancia y mover.




                                                                    65
                                                                         3
                                                                             5
     10




                                         150




                                                                                  14
3.4. Pieza 3
     Dibujar la siguiente pieza teniendo en cuenta que se aconseja utilizar las
herramientas de empalme, tangencias de círculos y recortar.




                                        15x45°
                                                 Ø120




                                                         210




                                                                             262,5
                                 37,5            Ø150




                                                 Ø120
                                  260




                                                                             442,5
     180




                                                    60




                                                                             15
3.5. Trama
     Dibujar la siguiente trama teniendo en cuenta que se aconseja utilizar las
herramientas de equidistancia y recortar.




                                          500




                                                                          30




                                                                               17
3.6. Trama 2
     Dibujar la siguiente trama teniendo en cuenta que se aconseja utilizar las
herramientas de equidistancia y recortar.




                                   600




                                                                          300




                                                                                16
Temas tratados en esta clase:
                                                                       5
                   • Métodos de selección de objetos
                   • MODIFICACION de objetos (cont.)



1. Selección de elementos
    Para trabajar con cualquier herramienta de CAD, es básico saber cómo
podemos seleccionar los objetos dibujados en nuestro proyecto, para poder hacer
las operaciones deseadas. AutoCAD® presenta una serie de métodos de selección;
alguno de los cuales explicaremos a continuación.

    Cabe destacar que existen métodos directos de selección que no necesitamos
indicar implícitamente y otro que es necesario. Nos vamos a centrar en el primer
grupo, ya que para las prácticas propuestas no necesitaremos más.

   En cualquier caso, cuando necesitemos seleccionar objetos para editarlos, nos
aparecerá normalmente en la ventana de comandos, la petición:

     Designe objetos:

Si queremos saber cuales son todos, escribiremos ?; y nos aparecerá:
     Requiere un punto o Ventana / Último / Captura / PRISMA / TODOS
     / Borde / polígonOV / PolígonOC / Grupo / Añadir / Suprimir /
     Múltiple / Previo / Deshacer / Auto / Unico:

     Evidentemente, no necesitamos cada vez que queramos utilizar uno de estos
métodos llamar a esta lista de opciones, solo deberemos poner la letra
correspondiente (la mayúscula en las opciones) dentro de la petición de designar
objetos.

Métodos directos

       Existen cuatro métodos básicos que no necesitamos indicar a la hora de
seleccionar elementos:
    1. Designación directa. Vemos que por defecto nuestro típico cursor en pantalla
       se convierte en un cuadro de designación. Podremos seleccionar
       directamente un objeto pinchando sobre cualquiera de las partes que lo
       forman.
    2. Ventana: Método clásico de designación por ventana, donde introduciremos
       una esquina de la ventana y la opuesta; teniendo en cuenta que en este
       método haremos la selección de izquierda a derecha, por lo que sólo
       seleccionaremos los objetos que estén totalmente incluidos dentro de esta
       ventana. El recuadro que aparece es de línea continua.



                                                                                 1
3. Captura: Método clásico de designación por ventana, donde introduciremos
      una esquina de la ventana y la opuesta; teniendo en cuenta que en este
      método haremos la selección de derecha a izquierda, por lo que
      seleccionaremos los objetos que se crucen con esta ventana, aunque no
      estén totalmente dentro de ésta. Se distingue a simple vista de la Ventana
      porque las líneas son discontinuas.




   4. Selección total. En el menú Edición Æ Seleccionar todo (Ctrl-E) podemos
      seleccionar todos los elementos de nuestro dibujo; para poder realizar alguna
      operación con ellos.

Métodos indirectos

     Los demás métodos necesitan ser especificados. Les nombraremos de forma
resumida, ya que, cómo indicamos anteriormente, no se usarán para las prácticas:
   • Prisma. Otra manera de llamar a los métodos de Captura o Ventana.
      Introducimos un recuadro que será uno o otro según si va de izquierda a
      derecha o viceversa.
   • Todos. Selecciona todos los objetos del dibujo que no estén en capas
      inutilizadas
   • Borde. Designa todos los objetos que cruzan o atraviesan un borde o línea de
      selección. Muy útil cuando tenemos muchos objetos.
   • PolígonOV. Designa los objetos que están completamente dentro de un
      polígono definido por puntos. Este polígono puede tener cualquier forma,
      siempre que sus lados no se toquen ni se crucen. AutoCAD® dibuja el último
      segmento del polígono de forma que permanezca cerrado en todo momento.
   • PolígonOC. Designa los objetos que están dentro y cruzan un polígono que se
      define precisando puntos. Este polígono puede tener cualquier forma,
      siempre que sus lados no se toquen ni se crucen. AutoCAD® dibuja el último
      segmento del polígono de forma que permanezca cerrado en todo momento.
   • Grupo. Designa todos los objetos de un grupo determinado, introduciendo su
      nombre.
   • Añadir / Suprimir. Conmutamos entre modos de añadir o Suprimir objetos a
      la selección, mediante cualquiera de los métodos.
   • Múltiple. Precisa varios puntos sin resaltar los objetos, lo cual agiliza el
      proceso de designación cuando se trata de objetos complejos. El método



                                                                                 2
Múltiple también designa dos elementos que se intersecan si el punto de
    intersección se precisa dos veces.
•   Previo. Selecciona el último conjunto de designación. El conjunto de
    designación anterior (Previo) se suprime mediante operaciones que eliminan
    objetos del dibujo. AutoCAD® mantiene un registro donde queda constancia
    de si cada conjunto de selección se ha precisado en espacio modelo o en
    espacio papel. Si cambia de espacio, se ignora el conjunto de selección
    Previo.
•   Último. Designa el último objeto visible creado.
•   Auto. Cambia a la designación automática: al señalar un objeto éste se
    designa. Cuando se señala un área vacía dentro o fuera de un objeto, se crea
    la primera esquina de un prisma rectangular definido mediante el método
    Prisma. Por lo tanto, Auto y Añadir son los métodos por defecto.
•   Único. Selecciona el primer objeto o conjunto de objetos designado, en lugar
    de presentar otras solicitudes para realizar más designaciones.
•   Deshacer. Cancela la designación del último objeto incorporado.




                                                                              3
2. MODIFICACIÓN de objetos
    AutoCAD® permite modificar fácilmente el tamaño, la forma y la ubicación de
los distintos objetos. Puede escribir un comando primero y después designar los
objetos que desee modificar o puede designar los objetos primero y después
introducir un comando para modificarlos.




2.1. Comando MATRIZ
      Se pueden crear copias de objetos en un patrón rectangular o polar (circular)
denominado matriz. En las matrices rectangulares, podrá controlar el número de
filas y columnas y la distancia que debe mediar entre ellas. En el caso de las
matrices polares, podrá controlar el número de copias del objeto y si las copias
pueden girarse. Para crear muchos objetos con el mismo espaciado, es más rápido
utilizar una matriz que copiarlos manualmente.




                                                                                 4
Para poder llevar a cabo la operación de matriz de objetos se puede acceder al
comando de las siguientes formas:
   1. Menú Modificar Æ Matriz
   2. Ventana de comandos: matriz

   3. Caja de herramientas MODIFICAR

Creación de matrices rectangulares

       AutoCAD construye una matriz rectangular a lo largo de la línea base
definida por el ángulo de rotación de resolución actual. Por defecto, dicho ángulo
viene definido con el valor cero, lo que supone que las filas y columnas de una
matriz rectangular sean ortogonales con respecto a los ejes X e Y.

      Una vez ejecutado el comando matriz aparecerá una ventana de diálogo
indicando los parámetros que podemos seleccionar para obtener un resultado:




                                                                                  5
Creación de matrices polares

       Al crear una matriz polar, dicha matriz se dibuja en el sentido de las agujas
del reloj o en el contrario, según introduzca un valor negativo o positivo para los
grados cubiertos.




       El radio de la matriz viene determinado por la distancia existente desde el
centro especificado a un punto de referencia, o base, situado en el último objeto
designado. Puede utilizar el punto de referencia establecido por defecto
(normalmente un punto arbitrario que coincide con un punto del modo de
referencia a objetos) o especificar un nuevo punto base para que se utilice como
punto de referencia.

      Una vez ejecutado el comando matriz aparecerá una ventana de diálogo
indicando los parámetros que podemos seleccionar para obtener un resultado:




                                                                                  6
2.2. Comando GIRAR
     Puede girar objetos en torno a un punto especificado. Para determinar el
ángulo de rotación, escriba un valor de ángulo o especifique un segundo punto.

     Para poder llevar a cabo la operación de girar objetos se puede acceder al
comando de las siguientes formas:
   1. Menú Modificar Æ Girar
   2. Ventana de comandos: giro
   3. Caja de herramientas MODIFICAR

Giro de un objeto con un ángulo especificado

   1. Accedemos a la herramienta de GIRAR por cualquier de los métodos
      anteriores.
   2. Seleccionamos los elementos que queremos girar
   3. Introducimos el punto de referencia (centro de giro)
   4. Si queremos mantener los objetos seleccionados inicialmente marcaremos
      COPIA (introducir una C en la ventana de comandos)
   5. Introducimos el ángulo de giro
   6. Los elementos se girarán respecto al punto de referencia y en sentido
      antihorario (sino le hemos especificado lo contrario).


2.3. Comando ESCALA
     La escala permite aumentar o reducir el tamaño de uno o varios objetos, pero
sin alterar sus proporciones. Podrá atribuirle una escala especificando un punto
base y una longitud, que se utilizará como factor de escala en función de las
unidades de dibujo actuales o introduciendo un factor de escala. AutoCAD permite
especificar la longitud actual del objeto o asignarle una nueva.

      La escala modifica el tamaño de todas las cotas del objeto designado. Un
factor de escala superior al valor 1 amplía el objeto. Un factor de escala inferior al
valor 1 lo reduce.




     También se puede aplicar una escala según una referencia. La atribución de
una escala mediante referencia utiliza una medida existente como base para el
nuevo tamaño. Para atribuir una escala atendiendo a una referencia, especifique la
escala actual y, a continuación, defina la nueva longitud de la escala. Así pues, si
un lado del objeto tiene una longitud de 4.8 unidades y desea ampliarlo a 7.5
unidades, utilice 4.8 como longitud de referencia y 7.5 como la nueva longitud.

     Para poder llevar a cabo la operación de matriz de objetos se puede acceder al
comando de las siguientes formas:
   1. Menú Modificar Æ Escala
   2. Ventana de comandos: escala
   3. Caja de herramientas MODIFICAR


                                                                                    7
Escalar un objeto mediante un factor de escala

   1. Accedemos a la herramienta de ESCALA por cualquier de los métodos
      anteriores.
   2. Seleccionamos los objetos que queremos escalar
   3. Introducimos un punto de referencia para el escalado
   4. Introducimos el factor de escala
   5. Pulsamos INTRO.




           Y


            y3
                                          (x3,y3)

            y1
                                          (x1,y1)          (x2,y2)
         y3/2
         y1/2



                          x1/2    x2/2   x1              x2
           PR                                                 X

 Este ejemplo muestra como escalar un objeto (rectángulo) aplicando una escala 1:2




                                                                                     8
3. Prácticas propuestas
3.1. Giros
     La pieza representa una palanca que gira sobre su eje mayor (el centro de la
circunferencia de diámetro 40 unidades). Dibujar dicha palanca y los giros
indicados.

                            90               180
             160




                                                                               9
3.2. Matrices
      Siguiendo los pasos que se indican, realizar la composición que se muestra en
lo siguientes dibujos.




                                                     15




                                                15
                                                          Factor Escala 3:2




                                                                                 10
11
3.3. Tangencias
     Aplicando todos los métodos de tangencias conocidos, realizar los siguientes
dibujos.


                    118

                    60




                                      43
                                      24
                                      40




                    78




                   78
108




                   30




                   43
45




                   92




                                                                               12
Temas tratados en esta clase:
                                                                         6
                 •   Propiedades de los objetos
                 •   Capas
                 •   Sombreado
                 •   Prácticas Propuestas



1. Propiedades de los objetos
      Las capas son superposiciones transparentes en las cuales se organizan y se
agrupan distintos tipos de datos del dibujo. Los objetos que se crean tienen
propiedades comunes como, por ejemplo, colores, tipos de línea y grosores de línea.
Un objeto puede recibir estas propiedades de la capa en la que se dibuja, o bien
tenerlas asignadas de forma específica. El color contribuye a diferenciar elementos
similares en los dibujos, mientras que los tipos de línea sirven para distinguir
fácilmente elementos de dibujo distintos, como líneas de centro y ocultas. Los
grosores de línea representan el tamaño o tipo de un objeto por su grosor, lo que
mejora la calidad del dibujo y su legibilidad. La organización de las capas y de los
objetos que incluyen facilita la gestión de la información de los dibujos.




1.1. Visualización y modificación de las propiedades
      Todos los objetos que se dibujan tienen propiedades. Algunas propiedades son
generales y se aplican a la mayoría de los objetos; por ejemplo, capa, color, tipo de
línea y estilo de trazado. Otras propiedades son específicas para cada tipo de objeto;
por ejemplo, las propiedades de un círculo incluyen el radio y el á rea, mientras que
las de una línea incluyen la longitud y el ángulo.

     La mayor parte de las propiedades generales pueden asignarse a un objeto por
capa o directamente al objeto.
   • Cuando se establece el valor POR CAPA en una propiedad, el objeto obtiene
      el mismo valor que la capa en la que se dibuja.
   • Si una propiedad tiene asignado un valor específico, éste prevalece sobre el
      valor asignado en la capa.

   Por otro lado, es posible visualizar las propiedades actuales y modificar las
propiedades de cualquier objeto de un dibujo de las siguientes maneras:
   • Paleta Propiedades para consultar y cambiar los parámetros de las
      propiedades del objeto. La paleta Propiedades muestra los parámetros
      actuales de las propiedades del objeto o del conjunto de objetos seleccionado.


                                                                                    1
Puede modificar todas las propiedades que admitan cambios indicando un
       nuevo valor:
         9 Si hay más de un objeto seleccionado, la paleta Propiedades muestra
             únicamente las propiedades comunes de todos los objetos del conjunto
             de selección.
         9 Si no hay objetos seleccionados, la paleta Propiedades muestra
             únicamente las propiedades generales de la capa actual, el nombre de
             la tabla de estilos de trazado asociada a la capa y las propiedades de la
             vista.
   •   Modificación de los parámetros en el Control de capas de la barra de
       herramientas Capas y los controles Color, Tipo de línea, Grosor de línea y
       Estilo de trazado en la barra de herramientas Propiedades.

Para visualizar las propiedades de un único objeto

   1. Designe un objeto.
   2. Haga clic con el botón derecho en el dibujo y elija Propiedades en el menú
      contextual.
   3. Esta paleta muestra las propiedades de los objetos seleccionados. También
      puede hacer doble clic en un objeto para que se muestre la paleta
      Propiedades (si no se ha tocado la configuración por defecto).

Para cambiar las propiedades de los objetos en la paleta Propiedades
   1. Designar uno o varios objetos.
   2. Haga clic con el botón derecho en el dibujo y elija Propiedades en el menú
      contextual.
   3. En la paleta Propiedades, utilizar la barra de desplazamiento junto a la barra
      de título para desplazarse por la lista de propiedades. Puede hacer clic en la
      flecha situada a la derecha de cada categoría para expandir o contraer la
      lista.
   4. Seleccionar el valor que quiere modificar. Los cambios se hacen efectivos en
      el momento.
   5. Para deshacer un cambio, haga clic con el botón derecho en una zona vacía
      de la paleta Propiedades y, en el menú contextual, haga clic en Deshacer.
   6. Pulse ESC para cancelar la selección.

1.2. Copia de propiedades de un objeto a otro
     Se pueden copiar algunas o todas las propiedades de un objeto a otros objetos
mediante el botón Igualar propiedades. Es posible copiar propiedades como el color,
la capa, el tipo de línea, la escala de tipo de línea, el grosor de línea y el estilo de
trazado, entre otras.

     Por defecto, todas las propiedades aplicables se copian automáticamente
desde el objeto que se designe en primer lugar a los otros objetos.

     Para poder llevar a cabo la operación de igualar propiedades de objetos se
puede acceder al comando de las siguientes formas:
   1. Ventana de comandos: igualarprop

   2. Caja de herramientas ESTANDAR

Para copiar propiedades de un objeto a otros

   1. Acceder al comando por alguno de los métodos anteriores.
   2. Designe el objeto cuyas propiedades desee copiar.


                                                                                      2
3. Seleccione los objetos a los que aplicará   las propiedades seleccionadas y
   pulse INTRO.




                                                                             3
2. Capas
2.1. Introducción
    Las capas son superposiciones transparentes en las cuales se organizan y se
agrupan distintos tipos de datos del dibujo. Las capas son equivalentes a las hojas
transparentes que se utilizan en el diseño sobre papel. Las capas son la
herramienta organizativa principal en AutoCAD®: se utilizan para agrupar
información por función y para imponer el tipo de línea, el color y otras normas.




       Mediante la creación de capas, es posible asociar tipos similares de objetos
asignándolos a la misma capa. Por ejemplo, se pueden poner líneas auxiliares,
texto, cotas y cuadros de rotulación en diferentes capas. De esta forma podrá
controlar:
   • Si los objetos que hay en una capa son visibles en cualquier ventana gráfica.
   • Qué color se asigna a todos los objetos de una capa.
   • Qué tipo y grosor de línea predeterminados se asignan a todos los objetos de
       una capa.
   • Si los objetos de una capa pueden modificarse.

   Todos los dibujos incluyen una capa denominada 0. La capa 0 no se puede
suprimir ni cambiar de nombre. Esta capa cumple dos funciones:
   • Garantizar que todos los dibujos incluyen al menos una capa
   • Proporcionar una capa especial relacionada con el control de colores en
      bloques

        Se recomienda crear varias capas nuevas para organizar el dibujo en lugar de realizar
        todo el dibujo en la capa 0.




2.2. Control de Capas




      Para poder llevar a cabo el control de capas se puede acceder al comando de
las siguientes formas:
    1. Ventana de comandos: capa

   2. Caja de herramientas CAPAS

                                                                                            4
Para convertir la capa designada en la actual

   1. Acceder al comando CAPAS según uno de los métodos antes indicados.
   2. Haga clic en el nombre de capa que desee utilizar.

Para convertir la capa de un objeto designado en la actual

   1. En la barra de herramientas CAPAS, haga clic en el icono Fijar como actual
      la capa del objeto


   2. Designar un objeto.
   3. La capa del objeto designado se convertirá en la actual.

Para activar o desactivar una capa

   1. Acceder al comando CAPAS según uno de los métodos antes indicados.
   2. Haga clic en la bombilla del nombre de la capa que desee activar o
      desactivar. Si la bombilla está amarilla, la capa está activada.


2.3. Creación de capas con nombre
     Puede crear una capa con un nombre para cada agrupación conceptual (por
ejemplo, paredes o cotas) y asignar propiedades comunes a esas capas. Al agrupar
objetos en capas, puede controlar su presentación y efectuar cambios de forma
rápida y eficaz.

     El número de capas que se pueden crear en un dibujo y el número de objetos
que se pueden crear en cada capa es prácticamente ilimitado. Normalmente, las
capas se asignan a cada agrupación conceptual (como, por ejemplo, muros o cotas).
Pueden tener nombres alfanuméricos de más de 255 caracteres de longitud. En
muchos casos, los nombres de capa elegidos vienen impuestos por las normas de la
empresa, la industria o el cliente.

     El Administrador de propiedades de capas ordena las capas alfabéticamente
por el nombre. Si va a organizar un esquema de capas propio, elija los nombres

                                                                               5
cuidadosamente. Si se utilizan prefijos comunes para nombrar capas que tengan
componentes de dibujo relacionados, podrá n incluirse caracteres comodín en los
filtros de nombres de capa cuando sea necesario encontrar esas capas
rápidamente.

Para crear una nueva capa

   1. Acceder al comando CAPAS según uno de los métodos antes indicados
   2. En el Administrador de propiedades de capas hacer clic en el botón Nueva
      capa. Se añadirá automáticamente un nombre de capa, como CAPA1, a la
      lista de capas.
   3. Escribir un nombre de capa nuevo sobre el nombre de capa resaltado. Los
      nombres de capa no pueden incluir espacios en blanco.
   4. Para cambiar las propiedades, haga clic en los iconos. Al hacer clic en Color,
      Tipo línea, Grosor de línea o Estilo de trazado, aparece un cuadro de diálogo.
   5. (Opcional) Hacer clic en la columna Descripción e introduzca un texto.
   6. Hacer clic en Aplicar para guardar los cambios o en Aceptar para guardar y
      cerrar.

Para suprimir una capa no utilizada

   1. Acceder al comando CAPAS según uno de los métodos antes indicados
   2. En el Administrador de propiedades de capas, seleccione la capa y haga clic
      en el botón Suprimir capa. Las capas que tienen objetos asignados a ellas no
      se pueden suprimir hasta que dichos objetos se asignen a otra capa diferente
      o se supriman. Las capas 0 y DEFPOINTS y la capa actual no se pueden
      eliminar.
   3. Hacer clic en Aplicar para guardar los cambios o en Aceptar para guardar y
      cerrar. Se suprime la capa seleccionada.




                                                                                  6
3. Sombreados




      Para poder llevar a cabo el sombreado de objetos se puede acceder al comando
de las siguientes formas:
    1. Ventana de comandos: sombrea

    2. Caja de herramientas DIBUJO

Una vez ejecutado el comando, nos aparecerá una cuadro de diálogo desde donde
podemos:

Caja Tipo y Patrón

•   Tipo. Establece el tipo de patrón.
    9 Predefinido. Especifica un patrón de AutoCAD® predefinido.
    9 Definido por el usuario. Crea un patrón de líneas basado en el tipo de línea
       actual del dibujo. Es posible determinar el ángulo y el interlineado del patrón
       definido por el usuario.
    9 Personalizada. Especifica un patrón definido en cualquier archivo PAT
        personalizado que se haya añadido a la ruta de búsqueda de AutoCAD®.
•   Patrón. Desde dónde podemos seleccionar el tipo de patrón o estilo de
    sombreado que aplicaremos. Podemos seleccionarlos mediante el menú
    desplegable o, si hacemos clic sobre el botón [...] o sobre Muestra, desde
    una ventana que nos presenta un dibujo de los tipos de sombreado.

Caja Angulo y Escala

•   Escala. Amplía o reduce un patrón de sombreado predefinido o personalizado.
    Esta opción se encuentra únicamente disponible si se ha establecido Tipo en
    Predefinido o Personalizada.


                                                                                    7
•   Ángulo. Define un ángulo para el patrón de sombreado en relación con el eje X
    del SCP (Sistema de Coordenadas Personalizadas) actual.
•   Intervalo. Especifica el interlineado en un patrón definido por el usuario.
    Esta opción sólo se encuentra disponible si se ha establecido Tipo en Definido
    por el usuario.

Caja Opciones

•   Asociativo. El sombreado se presentará como un solo elemento.
•   Crear sombreados independientes. El sombreado se realizará como líneas
    independientes editables por separado.

Caja Contornos

•   Designar Puntos. Determina un contorno a partir de objetos existentes
    que forman un área cerrada. El procedimiento que seguirá AutoCAD®
    para detectar los objetos al utilizar esta opción dependerá del Método de
    detección de islas seleccionado:




    Mientras precisamos los puntos, podemos hacer clic con el botón derecho en el
    área de dibujo en cualquier momento para ver un menú contextual.
    Podemos deshacer la última o todas las precisiones de puntos, cambiar
    el método de selección, cambiar el estilo de detección de islas o realizar
    una vista preliminar del sombreado.
•   Seleccionar    objetos. Seleccionamos los objetos que nos servirán de
    contorno a sombrear.




Caja Islas

•   Estilo de detección de islas. Precisa el método usado para sombrear
    objetos dentro del contorno de sombreado más externo.
    9 Normal. Sombrea hacia dentro desde el contorno exterior. Si AutoCAD® se
       encuentra con una intersección interna, desactiva el sombreado hasta que
       encuentra otra intersección. De este modo, se sombrean las áreas
       separadas desde la parte externa del área sombreada mediante un número
       impar de intersecciones, mientras que se dejan sin sombrear las áreas
       separadas por un número par de intersecciones.




                                                                                8
9    Exterior. Sombrea hacia dentro desde el contorno exterior. AutoCAD®
         desactiva el sombreado si encuentra una intersección interna y no lo
         vuelve a activar. Puesto que este proceso empieza desde ambos extremos de
         cada línea de sombreado, AutoCAD® sólo sombrea el nivel más externo
         de la estructura, dejando el blanco la estructura interna.




    9 Ignorar. Ignora todos los objetos internos y sombrea a través de los
      mismos.




Caja Conservación de contornos

•   Tipo de objeto. Permite determinar si se desean conservar o no los
    contornos como objetos, así como el tipo de objeto que AutoCAD®
    aplicará a dichos objetos.
    9 Retener contornos. Añade los objetos de contorno temporales al dibujo.
    9 Tipo de objeto. Controla el tipo del nuevo objeto de contorno. AutoCAD® crea
       el contorno como una región o polilínea. Esta opción sólo se encuentra
       disponible si se ha seleccionado Mantener contornos.

Varios

•   Heredar propiedades. Aplica las propiedades de un sombreado existente
    que deberemos seleccionar.
•   Previsualizar. Presentación preliminar del sombreado antes de validarlo
    definitivamente




                                                                                9
4. Prácticas propuestas
4.1. Pieza 01
      Utilizando todos los comandos y herramientas vistas hasta el momento,
realizar la siguiente pieza, teniendo en cuenta los siguientes parámetros de
configuración:

  •   Capas. Se deberán crear las siguientes capas:
       1. PIEZA. Capa donde se dibujará el contorno de la pieza. Utilizar en esta
          capa el color verde y grosor de línea 0,30.
       2. EJES. Capa donde se dibujarán los ejes. Utilizar en esta capa el color
          rojo y estilo de línea TRAZO_Y_PUNTO2.

  •   Sombreado. Se deberán configurar el sombreado de la siguiente forma:
       1. Tipo: Definido por el usuario
       2. Angulo: 45º
       3. Intervalo: 5 unidades

                                     Ø54
                                     Ø24




                                                                        80
                                                                   20
                                                                   20
        3




                                     Ø48
                                     Ø52




                                      94


                                                                               10
4.2. Pieza 02
      Utilizando todos los comandos y herramientas vistas hasta el momento,
realizar la siguiente pieza, teniendo en cuenta los siguientes parámetros de
configuración:

  •   Capas. Se deberán crear las siguientes capas:
       1. PIEZA. Capa donde se dibujará el contorno de la pieza. Utilizar en esta
          capa el color verde y grosor de línea 0,30.
       2. EJES. Capa donde se dibujarán los ejes. Utilizar en esta capa el color rojo
          y estilo de línea TRAZO_Y_PUNTO2.
       3. OCULTAS. Capa donde se dibujarán las líneas ocultas. Utilizar en esta
          capa el color rojo y estilo de línea TRAZOS2.

  •   Sombreado. Se deberán configurar el sombreado de la siguiente forma:
       1. Tipo: Definido por el usuario
       2. Angulo: 45º
       3. Intervalo: 3 unidades


                                      Ø50




                                                                    40
                                                                    15
         10




                                       70
                                                                         60
                                                                              80




                                      110
                                      130
                                                                                   11
4.3. Polea
      Utilizando todos los comandos y herramientas vistas hasta el momento,
realizar la siguiente polea, teniendo en cuenta los siguientes parámetros de
configuración:

  •   Capas. Se deberán crear las siguientes capas:
       1. PIEZA. Capa donde se dibujará el contorno de la pieza. Utilizar en esta
          capa el color verde y grosor de línea 0,30.
       2. EJES. Capa donde se dibujarán los ejes. Utilizar en esta capa el color rojo
          y estilo de línea TRAZO_Y_PUNTO2.
       3. OCULTAS. Capa donde se dibujarán las líneas ocultas. Utilizar en esta
          capa el color rojo y estilo de línea TRAZOS2.

  •   Sombreado. Se deberán configurar el sombreado de la siguiente forma:
       1. Tipo: Definido por el usuario
       2. Angulo: 45º
       3. Intervalo: 3 unidades

                                         Ø70
                                         Ø45
                 25




                                                                5



                                         Ø30
                                         Ø55
                                         Ø80




                                                                                   12
Temas tratados en esta clase:
                                                                                  7
                      • Ejercicios Propuestos



1. Ejercicios Propuestos
1.1. Pieza 01
     Dibujar la siguiente pieza,            teniendo en cuenta           estos parámetros de
configuración:
       •   Capas. Se deberán crear las siguientes capas:
            1. PIEZA. Capa donde se dibujará el contorno de la pieza. Utilizar en esta capa el
               color verde y grosor de línea 0,30.
            2. EJES. Capa donde se dibujarán los ejes. Utilizar en esta capa el color rojo y
               estilo de línea TRAZO_Y_PUNTO2.
            3. OCULTAS. Capa donde se dibujarán las líneas ocultas. Utilizar en esta capa el
               color rojo y estilo de línea TRAZOS2.
       •   Sombreado. Se deberán configurar el sombreado de la siguiente forma:
            1. Tipo: Definido por el usuario
            2. Angulo: 45º
            3. Intervalo: 5 unidades
                                           70




                                                                   120
 125




                                           75




                        100                230




                                                                                            1
1.2. Bisagra
     Dibujar la bisagra,       teniendo en cuenta los siguientes parámetros de
configuración:
   •   Capas. Se deberán crear las siguientes capas:
        1. PIEZA. Capa donde se dibujará el contorno de la pieza. Utilizar en esta capa el
           color verde y grosor de línea 0,30.
        2. EJES. Capa donde se dibujarán los ejes. Utilizar en esta capa el color rojo y
           estilo de línea TRAZO_Y_PUNTO2.
        3. OCULTAS. Capa donde se dibujarán las líneas ocultas. Utilizar en esta capa el
           color rojo y estilo de línea TRAZOS2.
   •   Sombreado. Se deberán configurar el sombreado de la siguiente forma:
        1. Tipo: Definido por el usuario
        2. Angulo: 45º
        3. Intervalo: 3 unidades
                          10
       120

             100
       20




                                          30

                        Ø30
                                                                   20




                               30




                                                                                        2
1.3. Pieza 02
     Dibujar la           pieza,         teniendo    en   cuenta   los siguientes    parámetros    de
configuración:
  •         Capas. Se deberán crear las siguientes capas:
             1. PIEZA. Capa donde se dibujará el contorno de la pieza. Utilizar en esta capa el
                color verde y grosor de línea 0,30.
             2. EJES. Capa donde se dibujarán los ejes. Utilizar en esta capa el color rojo y
                estilo de línea TRAZO_Y_PUNTO2.
             3. OCULTAS. Capa donde se dibujarán las líneas ocultas. Utilizar en esta capa el
                color rojo y estilo de línea TRAZOS2.
  •         Sombreado. Se deberán configurar el sombreado de la siguiente forma:
             1. Tipo: Definido por el usuario
             2. Angulo: 45º
             3. Intervalo: 3 unidades

              Para la realización de la línea quebrada que delimita el sombreado se deberá utilizar el
              comando BOCETO. Como ocurrirá muchas veces durante vuestra vida profesional, si no
              conocéis como se utiliza un comando, deberéis recurrir a la ayuda ( Menú ? ).


                                         60

                          20             18         22




                7                                           7
      Ø24




                                   Ø16




                                                                                                   41
                                    20




                                                            85




                                                                                                         110
                    Ø18




                                         24         18                              42




                                                                                                     3
1.4. Casquillo
     Dibujar el casquillo, teniendo en cuenta los siguientes parámetros de
configuración:
  •   Capas. Se deberán crear las siguientes capas:
       1. PIEZA. Capa donde se dibujará el contorno de la pieza. Utilizar en esta capa el
          color verde y grosor de línea 0,30.
       2. EJES. Capa donde se dibujarán los ejes. Utilizar en esta capa el color rojo y
          estilo de línea TRAZO_Y_PUNTO2.
       3. OCULTAS. Capa donde se dibujarán las líneas ocultas. Utilizar en esta capa el
          color rojo y estilo de línea TRAZOS2.
  •   Sombreado. Se deberán configurar el sombreado de la siguiente forma:
       1. Tipo: Definido por el usuario
       2. Angulo: 45º
       3. Intervalo: 3 unidades
                                             Ø50
              45
        60




                                             130
         10




                                                                                       4
1.5. Soporte
     Dibujar el sopoorte, teniendo en cuenta los siguientes parámetros de
configuración:
  •   Capas. Se deberán crear las siguientes capas:
       1. PIEZA. Capa donde se dibujará el contorno de la pieza. Utilizar en esta capa el
          color verde y grosor de línea 0,30.
       2. EJES. Capa donde se dibujarán los ejes. Utilizar en esta capa el color rojo y
          estilo de línea TRAZO_Y_PUNTO2.
       3. OCULTAS. Capa donde se dibujarán las líneas ocultas. Utilizar en esta capa el
          color rojo y estilo de línea TRAZOS2.
  •   Sombreado. Se deberán configurar el sombreado de la siguiente forma:
       1. Tipo: Definido por el usuario
       2. Angulo: 45º
       3. Intervalo: 3 unidades




                                                                                    100
                                   20




                                                                                          150
                        40



                              20




                                                          200




                                                                                                5
Temas tratados en esta clase:
                                                                          8
                 • Bloques
                 • Acotaciones
                 • Ejercicios Propuestos



1. Bloques
     Un bloque se forma a partir de uno o varios objetos combinados para crear un
único objeto. Los bloques le ayudan a volver a utilizar objetos en el mismo dibujo o
en otros distintos.


1.1. Creación de bloques
      Los bloques se crean asociando objetos y asignándoles un nombre. Tras
definir un bloque en un dibujo, puede insertar una referencia a bloque en el dibujo
tantas veces como sea necesario. Use este método para crear bloques rápidamente.

      Cada definición de bloque incluye un nombre, uno o más objetos y los valores
de coordenadas del punto base que se utilizarán para insertar el bloque. El punto
base se utiliza como referencia para emplazar el bloque en el lugar en que se ha
insertado. Supongamos, por ejemplo que se especifica el punto de base en la
esquina inferior izquierda de un objeto del bloque; posteriormente, al insertar el
bloque, se le solicita un punto de inserción. El punto base del bloque se alinea con
el punto de inserción que se especifique.

Para definir un bloque para el dibujo actual

   1. Cree los objetos que desee utilizar en la definición del bloque.
   2. En el menú Dibujo, haga clic en Bloque          Crear. También se puede

      pulsar al botón       de la barra de herramientas DIBUJO.
   3. En el cuadro de diálogo Definición de bloque, escriba el nombre del bloque en
      la casilla Nombre.
   4. En Objetos, seleccione Convertir en bloque. Si desea que los objetos originales
      empleados para crear la definición de bloque permanezcan en el dibujo,
      compruebe que la opción Suprimir no está seleccionada. Si lo está, los
      objetos originales se borrarán del dibujo.
   5. Haga clic en Designar objetos.
   6. Utilice el ratón para designar los objetos que se van a incluir en la definición
      de bloque. Pulse INTRO para concluir la selección de objetos.
   7. En el cuadro de diálogo Definición de bloque, en la sección Punto base,
      especifique el punto de inserción del bloque utilizando uno de estos métodos:
      • Haga clic en Designar punto para especificar un punto con el dispositivo
         ratón.

                                                                                     1
• Escriba los valores de las coordenadas X,Y,Z del punto.
   8. En la casilla Descripción, escriba una descripción para la definición de
      bloque.
   9. Haga clic en Aceptar. El bloque quedará definido entonces en el dibujo actual
      y se podrá insertar en cualquier momento.

1.2. Inserción de bloques
      Cuando inserta un bloque, debe determinar su ubicación, factor de escala y
ángulo de rotación. Puede especificar la escala de una referencia a bloque utilizando
valores X, Y y Z diferentes. Al insertar un bloque se crea un objeto denominado
referencia a bloque, ya que hace referencia a una definición de bloque almacenada
en su dibujo actual.




Para insertar un bloque definido en el dibujo actual

   1. En el menú Insertar, haga clic en Bloque. También se puede pulsar al
      botón       de la barra de herramientas DIBUJO.
   2. En el cuadro de diálogo Insertar, en el nombre del bloque, seleccione un
      nombre de una lista de definiciones de bloque.
   3. Si desea utilizar el ratón para especificar el punto de inserción, la escala y la
      rotación, seleccione Especificar en pantalla. En caso contrario, escriba
      valores en las casillas Punto de inserción, Escala y Rotación.
   4. Si desea que los objetos del bloque se inserten como objetos individuales en
      lugar que como un bloque único, seleccione Descomponer.
   5. Haga clic en Aceptar.


1.3. Modificación de bloques
      El usuario puede modificar las definiciones de bloque o las referencias a
bloque que ya se hayan insertado en el dibujo. Es posible redefinir las definiciones
de bloque en el dibujo actual. La redefinición de una definición de bloque afecta a
las inserciones previas y futuras del bloque en el dibujo actual.

1.3.1 Modificación de una definición de bloque en el dibujo actual
      Para modificar una definición de bloque, siga el procedimiento empleado para
crear una definición de bloque nuevo, pero escriba el nombre de la definición de
bloque existente. Esta acción reemplaza la definición de bloque existente, por lo que
todas las referencias a ese bloque se actualizan inmediatamente para reflejar la
nueva definición.

       Para ahorrar tiempo, puede insertar y descomponer un duplicado del bloque
original y luego utilizar los objetos resultantes para crear la nueva definición de
bloque.

                                                                                     2
1.3.2 Desensamblaje de una referencia a bloque (Descomponer)
      Si necesita modificar por separado uno o más objetos incluidos en un bloque,
puede desensamblar, o descomponer, la referencia a bloque en sus componentes.
Después de realizar los cambios, puede:
   • Crear una nueva definición de bloque
   • Redefinir la definición de bloque existente
   • No combinar los componentes para utilizarlos en otra ocasión

   Puede descomponer automáticamente referencias a bloque a medida que las
inserta seleccionando la opción Descomponer en el cuadro de diálogo Insertar.

Para descomponer una referencia a bloque

   1. En el menú Modificar, haga clic en Descomponer. También puede pulsar el
      botón     en la caja de herramientas DIBUJO.
   2. Seleccione el bloque que desee descomponer y pulse INTRO.

    La referencia a bloque se desensambla en sus componentes; no obstante, la
definición de bloque todavía existe en el dibujo y se podrá insertar posteriormente.

1.4. Eliminación de definiciones de bloque
      Para reducir el tamaño de un dibujo, es posible suprimir definiciones de
bloque que no se utilicen. Puede eliminar una referencia a bloque de su dibujo
borrándola; sin embargo, la definición de bloque permanecerá en la tabla de
definición de bloque del dibujo. Para suprimir definiciones de bloque no utilizadas y
reducir el tamaño del dibujo, utilice LIMPIA en cualquier momento durante su
sesión de dibujo.

      Antes de limpiar una definición de bloque, se deben borrar todas las
referencias.

Para suprimir una definición de bloque

   1. En el menú Archivo, haga clic en Ayudas al dibujo                     Limpiar.
      El cuadro de diálogo Limpiar muestra una vista en árbol de objetos con
      nombre que se pueden limpiar.
   2. Para limpiar bloques, utilice uno de los métodos siguientes:
      • Para limpiar todos los bloques sin referencia, seleccione Bloques.
      • Para limpiar bloques específicos, haga doble clic en Bloques para ampliar
         la vista en árbol. Designe los bloques que desea limpiar.
      Si el elemento que desea limpiar no aparece en la lista, seleccione Ver objetos
      que no se puedan limpiar.
   3. Se le pedirá que confirme cada elemento de la lista. Si no desea confirmar
      cada limpieza, desactive la opción Confirmar cada objeto a limpiar.
   4. Haga clic en Limpiar. Para confirmar la limpieza de cada elemento, responda
      a la petición eligiendo Sí o No o Sí a todo si ha designado más de un
      elemento.
   5. Seleccione más elementos que desee limpiar o haga clic Cerrar.




                                                                                   3
2. Acotaciones
2.1. Información general de las acotaciones
      Las cotas muestran las medidas de los objetos, las distancias o ángulos entre
objetos o la distancia de una característica desde el origen que se especifique.
AutoCAD® proporciona tres tipos básicos de cotas: lineal, radial y angular. Las
acotaciones pueden ser horizontales, verticales, alineadas, giradas, coordenadas, de
líneas de base o continuas.




       Se pueden acotar objetos, tales como líneas, arcos, círculos y segmentos de
polilínea, o la distancia entre ubicaciones de puntos.

       AutoCAD® ubica las cotas en la capa actual. Cada cota asume el estilo de
cota actual, que controla características tales como el estilo del extremo de cota, la
posición del texto y las tolerancias laterales. Con distintos estilos de cota se pueden
realizar modificaciones simples a un estilo de cota base para los diferentes tipos de
cota.


2.2. Partes de una cota
      Las cotas se componen de varios elementos bien diferenciados: texto de cota,
líneas de cota, extremos de la cota y líneas de referencia.




      El texto de cota es una cadena de texto que normalmente indica el valor de la
medición, aunque puede incluir, además, prefijos, sufijos y tolerancias.

      Una línea de cota indica la dirección y la extensión de una cota. En las cotas
angulares, la línea de cota es un arco.

                                                                                     4
Los extremos de cota, también llamados símbolos de terminación, se
muestran en cada extremo de la línea de cota. Es posible precisar diferentes
tamaños y formas para los extremos o extremidades de cota.

       Las líneas de referencia, también llamadas líneas de proyección o de
referencia, se extienden desde la característica a la línea de cota.

      Una marca de centro es una pequeña cruz que indica el centro de un círculo
o de un arco.

       Las líneas de centro son líneas discontinuas que indican el centro de un
círculo o de un arco.

2.3. Personalización estilos de cota
     A la hora de introducir cotas en el dibujo, lo primero que deberíamos hacer es
personalizar las cotas en función de las características propias de los objetos que
estamos dibujando.

      Personalizar completamente el estilo de las cotas es algo muy complejo, ya que
AutoCAD® ofrecen decenas de opciones, normas y variables. En nuestro caso,
vamos a conocer los conceptos básicos para realizar cambios puntuales en los
estilos de cota. No es el objetivo de esta clase ver todos y cada uno de los
parámetros que las componen. Los métodos que tenemos para acceder a los estilos
de cota son:
    1. Menú Acotar Æ Estilo
    2. Ventana de comandos: ACOESTIL
   3. Caja de herramientas ACOTAR

   Una vez ejecutado el comando, nos aparece una ventana de diálogo
(Administrador de estilos de cota), seleccionamos el estilo que queremos modificar y
pulsamos el botón Modificar, lo cual hará que nos aparezca otra ventana de diálogo
donde podemos cambiar los valores para las cotas.

2.3.1 Líneas




                                                                                  5
2.3.2 Símbolos y flechas




2.3.3 Texto




                           6
2.3.4 Ajustar




       La escala de una cota afecta al tamaño de la geometría de cota relativa con
respecto a los objetos del dibujo. La escala de las cotas se aplica a tamaños
concretos como, por ejemplo, la altura del texto o el tamaño de las flechas, y a
desfases como, por ejemplo, al desfase de las líneas de referencia. Estos tamaños y
desfases deben definirse con valores que representen su tamaño de impresión real.
La escala de acotación no aplica el factor de escala global a las tolerancias,
longitudes, coordenadas o ángulos medidos. La determinación de la escala de cota
depende de có mo se presente el dibujo.

2.3.5 Unidades Principales




                                                                                 7
3. Ejercicios Propuestos
3.1. Señalización de tráfico
     Crear los bloques correspondientes a las flechas, e insertarlos en el dibujo
creando el esquema que aparece debajo de ellas.




                                                                                8
3.2. Acotación
     Dada la siguiente pieza, dibujar las vistas que representan el alzado, la planta
y la vista izquierda. Se deberán incluir las líneas ocultas y los ejes que se
consideren oportunos, para lo cual se crearán las capas adecuadas.

     Una vez terminado se incluirán en todas las vistas,               al menos las cotas que
aparecen en la figura.




Para la realización de la pieza se utilizará el SISTEMA EUROPEO de representación. De forma resumida
tendremos:




      (A) Vista de frente o alzado
       (B) Vista superior o planta
 (C) Vista derecha o lateral derecha
(D) Vista izquierda o lateral izquierda
             (E) Vista inferior
            (F) Vista posterior




                                                                                                  9
3.3. Simbología
3.3.1 Industrial
     Crear los bloques correspondientes a una válvula, bomba, centrifugadora y
tanque, e insertarlos en el dibujo creando el esquema que aparece a su derecha.




3.3.2 Simbología informática
      Crear los bloques correspondientes al ordenador, impresora y conexión, e
insertarlos en el dibujo creando el esquema que aparece a su derecha.




                                                                             10
3.3.3 Electricidad
      Crear los bloques correspondientes al ordenador, impresora y conexión, e
insertarlos en el dibujo creando el esquema que aparece a su derecha.




                                                                            11
Temas tratados en esta clase:
                                                                9
                     • Resumen Sistema Europeo Representación
                     • Ejercicios Propuestos (Vistas)



1. Resumen Sistema Europeo de Representación
    Para la realización de la pieza se utilizará el SISTEMA EUROPEO de
representación. De forma resumida tendremos:




              (A) Vista de frente o alzado
               (B) Vista superior o planta
         (C) Vista derecha o lateral derecha
        (D) Vista izquierda o lateral izquierda
                     (E) Vista inferior
                    (F) Vista posterior




                                                                     1
2. Ejercicios Propuestos
2.1. Vistas 01
      Dada la siguiente pieza, dibujar las vistas que representan el alzado, la planta
y la vista izquierda. Se deberán incluir las líneas ocultas y los ejes que se
consideren oportunos, para lo cual se crearán las capas adecuadas. Una vez
terminado se incluirán en todas las vistas, al menos las cotas que aparecen en la
figura.




        Para la realización de la pieza se utilizará el SISTEMA EUROPEO de representación.




                                                                                             2
2.2. Vistas 02
      Dada la siguiente pieza, dibujar las vistas que representan el alzado, la planta
y la vista derecha. Se deberán incluir las líneas ocultas y los ejes que se consideren
oportunos, para lo cual se crearán las capas adecuadas. Una vez terminado se
incluirán en todas las vistas, al menos las cotas que aparecen en la figura.




        Para la realización de la pieza se utilizará el SISTEMA EUROPEO de representación.




                                                                                             3
2.3. Vistas 03
      Dada la siguiente pieza, dibujar las vistas que representan el alzado, la planta
y la vista izquierda. Se deberán incluir las líneas ocultas y los ejes que se
consideren oportunos, para lo cual se crearán las capas adecuadas. Una vez
terminado se incluirán en todas las vistas, al menos las cotas que aparecen en la
figura.




        Para la realización de la pieza se utilizará el SISTEMA EUROPEO de representación.




                                                                                             4

Introduccion autocad

  • 1.
    Temas tratados enesta clase: 1 • Objetivos de las clases prácticas • Introducción a AutoCAD® • Gestión de dibujos • Modos de visualización • Ayudas al diseño 1. Objetivo de las clases prácticas El objetivo de las clases prácticas es el aprendizaje de una herramienta de CAD (en nuestro caso AutoCAD®) orientada al dibujo 2D (2 dimensiones). De esta forma, al finalizar el cuatrimestre, deberemos ser capaces de poder realizar cualquier diseño 2D que nos propongan. Este curso se va a organizar en dos partes: teoría y prácticas. Al principio de cada clase, se expondrá toda la teoría necesaria para realizar las prácticas propuestas. Al final del cuatrimestre, se valorarán los conocimientos adquiridos mediante un examen práctico individual. IMPORTANTE: Cuando aparezca el símbolo en un recuadro, significa que es una información MUY IMPORTANTE PARA EL ALUMNO. Leerla cuidadosamente y si se tiene alguna duda preguntar al profesor que imparte la asignatura. Estos apuntes no pretenden ser exhaustivos ni representativos de todas las opciones que presenta AutoCAD®, sino un resumen a modo de guía de los temas explicados. El día del examen, se podrá pedir todo lo explicado en clase aunque NO ESTE CONTENIDO EN ESTE DOCUMENTO. Aunque el alumno sea experto en AutoCAD, se recomienda encarecidamente que asista a las clases prácticas, para comprobar in situ el progreso de la asignatura. 1
  • 2.
    2. Introducción aAutoCAD® 2.1. Entorno gráfico AutoCAD® es una aplicación basada en un entorno gráfico. Cuando arrancamos el programa nos va a permitir crear un archivo de diseño nuevo o abrir uno ya existente. Una vez dentro de AutoCAD®, nos va a aparecer un conjunto de elementos distribuidos de forma similar a como se muestra a continuación: 1 Barra de menús: Permiten acceder a los comandos de AutoCAD® que contienen. Pueden contener submenús. 2 Barras de herramientas: Posibilitan el acceder a cada una de las órdenes de AutoCAD® de una forma más rápida. Algunos de los botones contienen una pequeña flecha en su esquina inferior derecha: eso quiere decir que a su vez contienen otra barra de botones desplegable. Para abrirla basta con hacer clic con el botón izquierdo del ratón sobre el icono y mantener el botón pulsado. AutoCAD® posee muchas de estas barras, por lo que tan sólo se visualizan por defecto un pequeño número de ellas. Para visualizar una barra de herramientas, haz clic con el botón derecho del ratón sobre cualquiera de las barras de herramientas. Se presentará un menú contextual donde podremos escoger la barra de herramientas que queramos activar o desactivar. Las barras de herramientas no tienen por qué estar ancladas en la ventana de AutoCAD®. Pueden ser situadas de forma flotante. Para ello, haz clic sobre el borde de la barra de herramientas o sobre las dos líneas verticales que hay a la izquierda de la barra, y manteniendo el botón del ratón pulsado, mueve el cursor hacia el interior de la ventana gráfica. La barra de 2
  • 3.
    herramientas se convertiráen una ventana flotante. Si deseas llevarla de nuevo a su posición original, haz clic y mantén pulsado sobre la barra de títulos de la ventana de la barra de botones (la zona de color azul) y llévala de nuevo a su ubicación original. Verás que cambia de forma de nuevo. 3 Área de dibujo: Es el espacio en el que realizarás el dibujo, donde trabajaremos. En AutoCAD® se pueden tener activas simultáneamente varias de estas ventanas. 4 Icono del SCP: SCP significa "sistema de coordenadas personales". Representa la ubicación de los ejes X, Y, Z en nuestro dibujo. Es fundamental para el trabajo en tres dimensiones. 5 Pestañas de selección de modelo y planos: Son unas pequeñas lengüetas que nos permiten seleccionar el área de trabajo donde estamos creando nuestro modelo (espacio modelo) y el área de trazado de planos (espacio papel o layout). Podremos realizar tantos planos o presentaciones como deseemos a partir de un dibujo de AutoCAD®. 6 Barras de desplazamiento: Sirven para mover horizontal y verticalmente el dibujo. Apenas se utilizan, ya que normalmente usaremos el zoom y los desplazamientos. 7 Ventana de líneas de comando: Se trata de una ventana de texto en la que podremos introducir comandos de AutoCAD® desde el teclado, y que servirá también para que AutoCAD® nos pida información sobre datos o acciones. Cada una de las acciones que AutoCAD® puede realizar tiene asociada un comando, y de hecho hay órdenes que tan sólo pueden ser introducidas mediante dicho comando. 8 Barra de estado: Sirve para visualizar las coordenadas de la posición actual del cursor, para obtener una breve ayuda sobre comandos, y también tiene una serie de botones cuyo uso se explicará más adelante. 9 Ventanas de diálogo o de edición: En algunos momentos AutoCAD® presentará ventanas adicionales desde donde realizaremos las opciones propias del comando que hayamos ejecutado. 2.2. Tipos de ficheros de dibujo Los tipos de archivos básicos con los que trabaja AutoCAD® son los que se describen a continuación: • DWG: El predeterminado y de trabajo de AutoCAD®. Siempre que no se indique lo contrario, se utilizará para guardar los trabajos. • DXF: Utilizado para intercambio entre programas, ya que es un formato “universal”. Para poder grabar en este formato deberemos seleccionarlo previamente en la ventana “Guardar dibujo como” en el desplegable “Archivos de tipo”. • DWF: Para visualizar dibujos en Internet, ocupan poco. Necesita un programa especial que se instala en nuestro navegador de Internet. No los utilizaremos Podrá requerirse la presentación de las prácticas o el fichero del examen de la asignatura en cualquiera de los formatos arriba indicados. Es muy importante que el alumno conozca como realizar las operaciones de necesarias para guardar sus diseños en cualquiera de dichos formatos. 3
  • 4.
    2.3. Introducción decomandos Como en todas las aplicaciones de CAD, existen varias formas de introducir órdenes en AutoCAD®: 1. Desde la ventana de comandos. Se puede introducir una orden tecleando su nombre en la ventana de comandos tras el texto Comando: y pulsando a continuación la tecla [Enter]. El programa irá solicitando los datos que requiera en función de la orden indicada. 2. Desde los menús desplegables. También se puede introducir la orden desplegando el menú en el que se encuentra y haciendo clic sobre la misma. Se observa como en la línea Comando: aparece la orden escrita y se solicitan los datos que la misma requiere. 3. Desde los botones de la barra de herramientas. Otra opción para introducir una orden es haciendo clic sobre su correspondiente botón en una barra de herramientas. Igual que ocurría anteriormente la orden aparecerá escrita en la línea Comando: y en ella se solicitan los datos que se precisan. Se acceda a la orden de una u otra manera, los pasos siguientes son los mismos, estableciéndose la comunicación con el programa a través de la Ventana de Comandos, la cual no habrá que perder de vista ya que en ella se indican los datos que se precisan en cada momento. 2.4. Salir de AutoCAD Para salir del programa no hay más que acceder a la opción Salir del menú Archivo. También es posible salir del programa haciendo clic sobre el botón Cerrar situado en la esquina superior derecha de la ventana del programa. Si los cambios realizados en el dibujo se han almacenado el programa se cerrará y si no es así se mostrará el mismo cuadro de diálogo, pudiendo o no guardar los cambios realizados. 4
  • 5.
    3. Gestión dedibujos 3.1. Iniciar una sesión en AutoCAD Al iniciar una sesión con AutoCAD, sobre la ventana del documento aparece el cuadro de diálogo que muestra la figura siguiente: Para comenzar a dibujar habrá que pulsar sobre uno de los botones situados en la parte superior izquierda del cuadro, seleccionar una de las opciones del cuadro central y pulsar la tecla Aceptar. Las opciones que se presentan son: • Abrir un dibujo. Permite abrir un dibujo que ha sido guardado anteriormente. • Parámetros por defecto. Permite crear un nuevo dibujo partiendo de cero. Presenta en la ventana central dos opciones: inglés y métrico, siendo esta última la que se utilizará en este curso. Los siguientes botones NO se explicarán durante este curso: • Utilizar una plantilla. Permite crear un dibujo a partir de una plantilla previamente definida y guardada. Al seleccionar esta opción se presentan en el cuadro central una serie de plantillas que podrán seleccionarse sin más que hacer clic sobre una de ellas. • Utilizar un asistente. Permite crear un nuevo dibujo guiado paso a paso por una serie de solicitudes que va formulando un asistente. 3.2. Crear un nuevo dibujo Como se ha descrito en el punto anterior, cuando iniciamos AutoCAD® nos debería aparecer la ventana antes descrita. Si no aparece, puede ser porque se ha optado por una configuración estándar en el Aula de CAD o porque alguien lo ha modificado. En cualquier caso, podríamos crear un nuevo fichero de dibujo de las siguientes formas: 1. Menú Archivo Nuevo… (Ctrl-U) 2. Pulsando el botón de la barra de herramientas NORMAL El cuadro que se presenta en este caso es muy parecido al anterior, no estando accesible la opción abrir un dibujo. 3.3. Guardar un dibujo nuevo Mientras se está trabajando en un dibujo, los cambios que se realizan sobre el 5
  • 6.
    mismo se vanalmacenando con el nombre DibujoNNN.dwg en la memoria RAM del ordenador. Esta memoria es un soporte de almacenamiento muy rápido pero tiene 4
  • 7.
    el inconveniente deser volátil, al apagar el ordenador los datos que almacena se pierden, por lo que para poder conservar el dibujo realizado y poder utilizarlo en posteriores ocasiones, es preciso guardar el mismo en el disco duro del ordenador (o bien otro dispositivo). Los pasos a seguir para guardar el dibujo son: 1. Al acceder a la orden (se presenta el siguiente cuadro de diálogo) de las siguientes formas: • Menú Archivo Guardar (Ctrl-G) • Pulsando el botón de la barra de herramientas NORMAL 2. En el cuadro de lista Guardar en: seleccionar el directorio en el cual se va a guardar el archivo. 3. Escribir el nombre que se quiere para el dibujo en el cuadro de texto Nombre de archivo, no será preciso ponerle la extensión .DWG ya que AutoCAD® se la añade automáticamente. 4. Hacer clic sobre el botón Guardar. El dibujo tal y como está en este momento queda almacenado en la ubicación indicada, pudiendo seguir trabajando en el mismo. La Barra de título muestra el nombre asignado al dibujo. ¡MUY IMPORTANTE!. Tanto el día del examen, como si se entregan ejercicios puntuables a lo largo del curso, se puede requerir por parte del profesor que imparte la asignatura que el formato del fichero que se debe entregar no sea el estándar DWG, sino que sea DXF (formato universal de intercambio). Para ello, antes de dar el botón GUARDAR, se deberá seleccionar de la lista Archivos de tipo: el que se haya solicitado. De no hacerlo así, la práctica o el examen entregado no se podrá corregir y tendrá puntuación 0. 6
  • 9.
    3.4. Abrir undibujo Para seguir trabajando en un dibujo guardado anteriormente hay que proceder a abrir el mismo. Se puede abrir un dibujo al iniciar una sesión con AutoCAD® (opción Abrir un dibujo, del cuadro de diálogo que se presenta al comenzar una sesión) o bien hacerlo una vez se ha iniciado la sesión, siendo los pasos a seguir similares en ambos casos: 1. Menú Archivo Abrir… (Crtl-A) 2. Pulsando el botón de la barra de herramientas NORMAL Al acceder a la orden se presenta el cuadro de diálogo que muestra la figura siguiente: En el cuadro de lista Buscar en: seleccionar la unidad o carpeta en la cual se encuentra el archivo y seleccionar a continuación el mismo en el cuadro central, o bien teclear su nombre en el cuadro de texto Nombre de archivo. En la sección Vista preliminar, a la derecha del cuadro, se mostrará una imagen del dibujo seleccionado. Finalmente hacer clic sobre el botón Abrir. 7
  • 10.
    4. Modos devisualización AutoCAD® tiene una serie de ordenes encaminadas a la cómoda visualización de nuestro dibujo. En este punto tan solo vamos a ver la orden Zoom. En la barra estándar tenemos las órdenes básicas de Visualización, incluido un menú de botones desplegables con las opciones de Zoom. Una forma muy sencilla de llegar a todas las opciones de zoom es mediante la ventana de comandos, escribiendo Z. 4.1. Encuadre en tiempo real Para poder acceder a este comando se podrán utilizar uno de los siguientes métodos: 1. Menú Ver Encuadre Tiempo Real 2. Ventana de comandos: encuadre 3. Caja de herramientas ESTANDAR Para encuadrar mediante arrastre 1. Acceder al comando ENCUADRE 2. Cuando aparezca el cursor en forma de mano, arrastre la vista manteniendo pulsado el botó n mientras desplaza el dispositivo señalador. Si utiliza un ratón con rueda, mantenga pulsado el botón de rueda y desplace el ratón. 4.2. Zoom en tiempo real Para poder acceder a este comando se podrán utilizar uno de los siguientes métodos: 1. Menú Ver Zoom Tiempo Real 2. Ventana de comandos: zoom 3. Caja de herramientas NORMAL Para ampliar o reducir mediante arrastre 1. Acceder al comando. 2. Mantenga pulsado el botón del dispositivo señalador y arrastre verticalmente para Ampliar y reducir. 3. Pulse INTRO, ESC o pulse con el botón derecho para salir. 4.3. Zoom Ventana Para poder acceder a este comando se podrán utilizar uno de los siguientes métodos: 1. Menú Ver Zoom Ventana 2. Ventana de comandos: zoom seleccionar v 8
  • 11.
    3. Caja deherramientas NORMAL Para ampliar o reducir un área mediante la definición de sus contornos 1. Acceder al comando 2. Especifique una esquina del á rea rectangular que desea ver. 3. Precise la esquina opuesta. La opción Ventana se elige automáticamente al especificar un punto inmediatamente después de escribir el comando ZOOM en la ventana de comandos. 4.4. Zoom Dinámico Para poder acceder a este comando se podrán utilizar uno de los siguientes métodos: 1. Menú Ver Zoom Dinámico 2. Ventana de comandos: zoom seleccionar d 3. Caja de herramientas NORMAL Para aumentar la zona encuadrada de proporciones iguales a la ventana de trabajo. 1. Acceda al comando 2. Aparece en la zona de trabajo una ventana que puedes mover con el ratón. 3. Botón izquierdo: Conmuta entre aumentar/disminuir el recuadro y lo permite centrar. 4. Botón derecho: Se hace el zoom 4.5. Zoom Ampliar Para poder acceder a este comando se podrán utilizar uno de los siguientes métodos: 1. Menú Ver Zoom Ampliar 2. Ventana de comandos: zoom seleccionar f 3. Caja de herramientas NORMAL Amplia el dibujo respecto a un factor de escala que puede ser modificado en la ventana de comandos. 4.6. Zoom Reducir Para poder acceder a este comando se podrán utilizar uno de los siguientes métodos: 1. Menú Ver Zoom Reducir 2. Ventana de comandos: zoom seleccionar f 3. Caja de herramientas NORMAL Reduce el dibujo respecto a un factor de escala que puede ser modificado en la ventana de comandos. 4.7. Zoom Todo Para poder acceder a este comando se podrán utilizar uno de los siguientes métodos: 9
  • 12.
    1. Menú Ver Zoom Todo 2. Ventana de comandos: zoom seleccionar t 3. Caja de herramientas NORMAL Para visualizar el área de los límites de la rejilla ampliando o reduciendo 1. Acceda al comando con uno de los métodos anteriormente citados. Los límites de la rejilla de dibujo llenan la ventana gráfica actual o el área de dibujo. Si hay algún objeto fuera de los límites de la rejilla, también es incluido. 4.8. Zoom Extensión Para poder acceder a este comando se podrán utilizar uno de los siguientes métodos: 1. Menú Ver Zoom Extensión 2. Ventana de comandos: zoom seleccionar e 3. Caja de herramientas NORMAL Para mostrar las extensiones de dibujo mediante el zoom 1. Acceda al comando con uno de los métodos anteriormente citados. Todos los objetos del dibujo se visualizan con el mayor tamaño posible en la ventana gráfica actual o en el área de dibujo. 10
  • 13.
    5. Ayudas aldiseño 5.1. Coordenadas por teclado Para introducir datos precisos, se pueden emplear varios métodos de introducción de datos en el sistema de coordenadas. Cuando un comando le solicite un punto, éste puede designarse con el dispositivo señalador o especificarse mediante valores de coordenadas en la ventana de comandos. Las coordenadas 2D pueden definirse como cartesianas (X,Y) o como polares (distancia, ángulo). AutoCAD® se organiza como un sistema tridimensional de coordenadas cartesianas. Para este primer cuatrimestre obviaremos la dimensión Z y nos quedaremos con que estamos trabajando en el plano XY de la siguiente forma: Y 8,5 –4,2 -X -Y (0,0) AutoCAD® muestra la posición actual del cursor como coordenada en la barra de estado situada en la parte inferior de la ventana de AutoCAD®. Dentro de AutoCAD® existen dos sistemas de representación de los puntos en el plano: 1. Coordenadas cartesianas. Los sistemas de coordenadas cartesianas tienen tres ejes, X, Y y Z. Cuando se escriben valores para estas coordenadas, se indica la distancia de un punto (en unidades) y su sentido (+ o –) a lo largo de los ejes X, Y y Z con respecto al origen del sistema de coordenadas (0,0,0). En un espacio bidimensional, los puntos se representan en el plano XY, denominado también plano de construcción. Este plano es similar a una hoja de papel cuadriculado. El valor X de una coordenada cartesiana especifica la distancia horizontal y el valor Y la vertical. El punto de origen (0,0) es el punto de intersección de los dos ejes. 2. Coordenadas polares. Las coordenadas polares definen un punto mediante una distancia y un ángulo. Tanto con coordenadas cartesianas como con las polares, se pueden introducir coordenadas absolutas basadas en el origen (0,0) o coordenadas relativas basadas en el último punto especificado. 5.1.1 Introducción de coordenadas cartesianas Para utilizar valores de coordenadas a fin de designar un punto, introduzca un valor de X y uno de Y separados por una coma (X,Y). El valor de X es la distancia positiva o negativa, en unidades, en el eje horizontal. El valor de Y es la distancia positiva o negativa, en unidades, en el eje vertical. Los valores de coordenadas absolutas están basados en el origen (0,0), el lugar donde los ejes X e Y se intersecan. Se deben utilizar este tipo de coordenadas 11
  • 14.
    cuando se conozcanlos valores de X e Y precisos del punto. Por ejemplo, 3,4 define un punto a 3 unidades en el eje X y a 4 unidades en el eje Y desde el origen. Las coordenadas relativas se basan en el último punto precisado. Se deben utilizar cuando se conozca la ubicación de un punto en relación con el punto anterior. Para indicar coordenadas relativas, preceda los valores de coordenadas con una arroba (@). Por ejemplo, @3,4 determina un punto a 3 unidades en el eje X y a 4 unidades en el eje Y desde el último punto designado. Por ejemplo, para dibujar una línea que comience en un valor X de –2, un valor Y de 1, y un extremo en 3,4, escriba las siguientes entradas en la línea de comando: Desde el punto: -2,1 Hasta el punto: 3,4 Otro ejemplo sería dibujar una línea cuyo punto final está a 5 unidades en la dirección X y a 0 unidades en la dirección Y desde el punto inicial en la ubicación de coordenada absoluta -2,1. Desde el punto: -2,1 Al punto: @5,0 5.1.2 Introducción de coordenadas cartesianas Para especificar coordenadas polares, se debe indicar una distancia y un ángulo separados por un corchete agudo (<). Por ejemplo, para designar un punto separado por una unidad del punto anterior y a un ángulo de 45 grados, escriba @1<45. 12
  • 15.
    Por defecto, losángulos aumentan en sentido contrario a las agujas del reloj y disminuyen en el sentido de las agujas del reloj. Por tanto, para desplazarse en el sentido de las agujas del reloj deberá indicar un ángulo negativo. Por ejemplo, escribir 1<315 equivale a escribir 1<-45. Las coordenadas polares son absolutas (medidas desde el origen) o relativas al punto anterior. Para indicar coordenadas relativas, preceda la coordenada con una arroba (@). El siguiente ejemplo ilustra una línea dibujada con coordenadas polares utilizando el valor por defecto de dirección del ángulo. Desde el punto: 0,0 Hasta el punto: 4<120 Hasta el punto: 5<30 En el ejemplo siguiente se muestra una línea dibujada con coordenadas polares relativas. Hasta el punto: @3<45 5.2. Referencia a Objetos En lugar de escribir las coordenadas, es posible indicar puntos relacionados con objetos existentes tales como extremos de líneas o puntos centrales de círculos. De esta forma, la referencia a objetos limita la especificación de puntos a emplazamientos exactos (tales como un punto medio o una intersección) en objetos existentes. La referencia a objetos es una forma rápida de emplazar con exactitud un punto en un objeto sin tener que conocer sus coordenadas ni dibujar líneas auxiliares. Siempre que se solicite un punto, se puede especificar una referencia a objetos. 13
  • 16.
    5.2.1 Activación/Desactivación Existen diversas formas de activar y desactivar las referencias a objetos. Cuando se solicite un punto, puede hacer lo siguiente: • Pulsar la tecla MAYÚS y hacer clic con el botón derecho del ratón para mostrar el menú contextual de referencia a objetos. • Hacer clic en un botón de referencia a objetos de la barra de herramientas Referencia a objetos (se muestra pulsado el botón derecho del ratón en cualquier caja de herramientas y seleccionando REFERENCIA A OBJETOS). • Introducir el nombre de una referencia a objetos en la línea de comando. • Hacer clic en el botón REFENT de la barra de estado. 5.2.2 Modos de referencia a objetos La forma más sencilla de utilizar la referencia a objetos es tener activado el AutoSnap. Con esta herramienta, AutoCAD® va a reconocer aquellos que previamente le hayamos indicado. En cualquier caso, a continuación se enumerarán los modos de los que disponemos para ayudarnos en nuestros diseños: Punto Final. Fuerza el cursor al punto final más cercano de objetos como líneas o arcos. Punto Medio. Fuerza el cursor al punto medio de objetos como líneas o arcos. Intersección. Fuerza el cursor al punto de intersección de objetos como líneas, arcos etc. Intersección Ficticia. Incluye dos modos de referencia diferentes: Intersección ficticia e Intersección ficticia extendida. Una intersección ficticia, fuerza el cursor a la intersección de dos objetos que no se cruzan en el espacio tridimensional pero que parecen hacerlo en pantalla. Una Intersección ficticia extendida fuerza el cursor a la intersección imaginaria de dos objetos que parecían cortarse al alargarlos en sus direcciones naturales. Extensión. Para tomar como referencia la extensión (o ‘alargamiento’) de una línea o arco. Seleccionamos la línea o arco que queremos extender y luego el punto requerido. Centro. Fuerza el cursor al centro de un arco, círculo o elipse. Cuadrante. Fuerza el cursor al cuadrante más cercano de un arco, circulo o elipse (los punto a 0, 90, 180 y 270 grados). Tangente. Fuerza el cursor al punto de un círculo o arco que, al conectarlo al ultimo punto, formará una línea tangente a dicho objeto. 14
  • 17.
    Perpendicular. Fuerza elcursor al punto de un objeto que esta alineado normal o perpendicularmente con otro objeto o con una extensión imaginaria del mismo. Perpendicular puede utilizarse con objetos como líneas, círculos, elipses, arcos, etc. Paralelo. Permite dibujar líneas paralelas a otras. Inserción. Fuerza el cursor al punto de inserción de un bloque, forma, texto, atributo. Cercano. Fuerza el cursor a un objeto de punto o a la ubicación en otro tipo de objeto más cercano al punto especificado. Ninguno. Desactiva las referencias a objetos activadas. También puede utilizarse para desactivar las referencias a objetos implícitas para un punto. Parámetros de referencia a objetos. Desde aquí podremos configurar las referencias desde la ventana de configuración Parámetros de Dibujo. Por ejemplo, en la solapa de Referencia a Objetos podremos seleccionar las referencias que queremos que aparezcan por defecto sin necesidad de especificarlas. Si apretamos Opciones tendremos una configuración avanzada desde donde podremos cambiar cosas como el tamaño del punto de mira, etc. 15
  • 18.
    6. Prácticas propuestas 6.1.Referencia a Objetos Utilizando la Referencia a Objetos, realizar las siguientes figuras: 16
  • 19.
    6.2. Coordenadas porteclado Utilizando la introducción de datos mediante coordenadas por teclado, realizar la siguiente figura: 2 2 6 4 4 10,4 ( ) 6 1,1 8,2 ( ) ( ) 17
  • 21.
    Temas tratados enesta clase: 2 • DIBUJO de objetos 2D • Ayudas al diseño (continuación) • Métodos de selección de objetos • MODIFICACION de objetos • Corrección de errores 1. DIBUJO de objetos 2D 1
  • 22.
    1.1. Comando LINEA Para poder dibujar una línea se podrán utilizar uno de los siguientes métodos de selección del comando: 1. Menú Dibujo Línea 2. Ventana de comandos: linea 3. Caja de herramientas DIBUJO Con LINEA, se puede crear una serie de segmentos de línea contiguos. Se puede editar cada segmento de línea separado de los demás segmentos de una serie. Puede crear una secuencia de segmentos de línea de manera que se junten el primer y último segmento de dicha secuencia. Para introducir los extremos de cada línea con precisión, es posible hacer lo siguiente: • Introducir los valores de las coordenadas para un extremo, utilizado coordenadas absolutas o relativas. • Especificar una referencia a objeto relativa a un objeto existente. Por ejemplo, puede especificar el centro de un círculo como un extremo de la línea. • Introducir un punto al azar, si no queremos ubicarla en ninguna posición en concreto. Para dibujar una línea 1. Acceder a la orden LINEA 2. Designe el punto inicial. Puede utilizar el dispositivo señalador o indicar valores de coordenadas en la línea de comando. 3. Complete el primer segmento de la línea especificando su punto final. 4. Para deshacer el segmento de línea anterior durante la ejecución del comando LINEA, escriba h o haga clic en Deshacer en la barra de herramientas. 5. Especifique los puntos finales de cualquier segmento de línea adicional. 6. Pulse INTRO para finalizar o c para cerrar una serie de segmentos de línea. Para comenzar una nueva línea en el punto final de la última línea dibujada, ejecute de nuevo el comando LINEA y pulse INTRO en la solicitud Precise punto inicial. 1.2. Comando POLILINEA Para poder dibujar una polilínea se podrán utilizar uno de los siguientes métodos: 1. Menú Dibujo Polilínea 2. Ventana de comandos: polilinea 3. Caja de herramientas DIBUJO Una polilínea es una secuencia de líneas conectadas, creadas como un único objeto. Puede crear segmentos de línea rectos, segmentos de arco o una combinación de ambos. Las líneas multisegmentadas proporcionan opciones de edición que no están disponibles para líneas simples. Por ejemplo, puede ajustar su grosor y curvatura. Después de crear una polilínea, se puede editar o descomponer a fin de convertirla en segmentos de línea o de arco simples 2
  • 23.
    1.3. Comando POLIGONO Para poder dibujar un polígono se podrán utilizar uno de los siguientes métodos: 1. Menú Dibujo Polígono 2. Ventana de comandos: poligono 3. Caja de herramientas DIBUJO Los polígonos son polilíneas cerradas con lados de igual longitud (entre 3 y 1024). Crear polígonos es un modo muy simple de dibujar cuadrados, triángulos equiláteros, octágonos, etc. Existen tres formas distintas de crear polígonos, en función de la información de la que dispongamos: 1. Especificar el radio cuando se conoce la distancia entre el centro del polígono y el punto final de cada lado (inscrito). 2. Especificar el radio cuando se conoce la distancia entre el centro del polígono y el punto medio de cada lado (circunscritos). 3. Especificar la longitud de un lado y el lugar donde se va a situar (según lado). Para dibujar un polígono circunscrito 1. Seleccionamos la orden POLIGONO. 2. En la línea de comando, escriba el número de lados. 3. Especifique el centro del polígono (1). 4. Escriba c para especificar un polígono circunscrito alrededor de un círculo. 5. Defina la longitud del radio (2). Para dibujar un polígono mediante la especificación de un lado 1. Seleccionamos la orden POLIGONO. 2. En la línea de comando, escriba el número de lados. 3. Escriba a de Arista. 4. Especifique el punto inicial de un segmento de polígono. 5. Designe el punto final del segmento de polígono. Para dibujar un polígono inscrito 3
  • 24.
    1. Seleccionamos laorden POLIGONO. 2. En la línea de comando, escriba el número de lados. 3. Especifica el centro del polígono. 4. Escriba i para especificar un polígono inscrito dentro de un círculo de puntos especificados. 5. Defina la longitud del radio. 1.4. Comando RECTANGULO Para poder dibujar un rectángulo se podrán utilizar uno de los siguientes métodos: 1. Menú Dibujo Rectángulo 2. Ventana de comandos: rectang 3. Caja de herramientas DIBUJO Para dibujar un rectángulo 1. Seleccionamos la orden RECTANGULO 2. Precise la primera esquina del rectángulo. 3. Precise la otra esquina del rectángulo (esquina opuesta). 1.5. Comando ARCO Para poder dibujar un arco se podrán utilizar uno de los siguientes métodos descritos a continuación: 1. Menú Dibujo Arco 2. Ventana de comandos: arco 3. Caja de herramientas DIBUJO Se pueden crear arcos de múltiples maneras; todos ellos dibujados en sentido contrario a las agujas del reloj desde el punto inicial al punto final (esta es la situación por defecto, aunque se puede configurar para que trabaje al contrario). Podemos ver todas las opciones desplegando el menú Dibujo Arco. Por identificar algunas, podemos dibuja un arco de las siguientes maneras: 1. Dibujo de arcos especificando tres puntos 2. Dibujo de arcos especificando el inicio, el centro y el fin 3. Dibujo de arcos precisando el inicio, el centro, y el ángulo 4. Dibujo de arcos especificando el punto inicial, el centro y la longitud 5. Dibujo de arcos especificando el punto inicial, el final y la dirección o el radio Para dibujar un arco especificando tres puntos 1. En el menú Dibujo, haga clic en Arco 3 puntos. 4
  • 25.
    2. Designe elpunto inicial. 3. Designe un punto del arco. 4. Designe el punto final. Para dibujar un arco haciendo uso de un punto inicial, un centro y un punto final 1. En el menú Dibujo, haga clic en Arco Inicio, Centro, Fin. 2. Designe un punto inicial. 3. Especifique el centro. 4. Designe el punto final. 1.6. Comando CIRCULO Para poder dibujar un círculo se podrán utilizar uno de los siguientes métodos: 1. Menú Dibujo Círculo 2. Ventana de comandos: circulo 3. Caja de herramientas DIBUJO Se pueden crear círculos de distintas formas. El método por defecto consiste en especificar el centro y el radio. En la ilustración se muestran otras tres formas de dibujar un círculo. Para dibujar un círculo especificando el centro y el radio o el diámetro 1. En el menú Dibujo, haga clic en Círculo Centro, Radio o Centro, Diámetro. 2. Especifique el centro. 3. Especifique el radio o el diámetro. Para crear un círculo que forme tangente con dos objetos 1. En el menú Dibujo, haga clic en Círculo Tan, Tan, Radio. El comando inicia el modo de referencia a objetos Tangente. 2. Designe el primer objeto con el que desea formar la tangente. 3. Elija el segundo objeto que vaya a formar tangente con el círculo dibujado. 4. Especifique el radio del círculo. 5
  • 26.
    1.7. Comando NUBEDE REVISION Para poder dibujar una nube de revisión se podrán utilizar uno de los siguientes métodos: 1. Menú Dibujo Nube de revisión 2. Ventana de comandos: nuberev 3. Caja de herramientas DIBUJO Si revisa o corrige dibujos, su productividad puede aumentar utilizando la función de nubes de revisión para destacar las marcas de revisión que introduzca. NUBEREV crea una polilínea de arcos secuenciales para crear un objeto con forma de nube. Puede seleccionar un estilo para la nube de revisión: Normal o Caligrafía. Si selecciona Caligrafía, la nube de revisión tendrá el mismo aspecto que tendría si se hubiera dibujado con un lápiz de caligrafía. 1.8. Comando ELIPSE Para poder dibujar una elipse se podrán utilizar uno de los siguientes métodos: 1. Menú Dibujo Elípse 2. Ventana de comandos: elipse 3. Caja de herramientas DIBUJO La forma de una elipse viene determinada por dos ejes que definen su longitud y su grosor. El eje más largo se denomina eje mayor, mientras que el más corto recibe el nombre de eje menor. Para dibujar una elipse real haciendo uso de los puntos finales y de la distancia 1. En el menú Dibujo, haga clic en Elipse Ejes, Fin. 2. Especifique el primer punto final del primer eje (1). 3. Defina el segundo punto final del primer eje (2). 4. Arrastre el dispositivo señ alador lejos del punto medio y haga clic para seleccionar una distancia (3) que sea la mitad de la longitud del segundo eje. 6
  • 27.
    2. Ayudas aldiseño 2.1. Referencia a Objetos En lugar de escribir las coordenadas, es posible indicar puntos relacionados con objetos existentes tales como extremos de líneas o puntos centrales de círculos. De esta forma, la referencia a objetos limita la especificación de puntos a emplazamientos exactos (tales como un punto medio o una intersección) en objetos existentes. La referencia a objetos es una forma rápida de emplazar con exactitud un punto en un objeto sin tener que conocer sus coordenadas ni dibujar líneas auxiliares. Siempre que se solicite un punto, se puede especificar una referencia a objetos. 2.1.1 Activación/Desactivación Existen diversas formas de activar y desactivar las referencias a objetos. Cuando se solicite un punto, puede hacer lo siguiente: • Pulsar la tecla MAYÚS y hacer clic con el botón derecho del ratón para mostrar el menú contextual de referencia a objetos. • Hacer clic en un botón de referencia a objetos de la barra de herramientas Referencia a objetos (se muestra pulsado el botón derecho del ratón en cualquier caja de herramientas y seleccionando REFERENCIA A OBJETOS). • Introducir el nombre de una referencia a objetos en la línea de comando. • Hacer clic en el botón REFENT de la barra de estado. 2.1.2 Modos de referencia a objetos La forma más sencilla de utilizar la referencia a objetos es tener activado el AutoSnap. Con esta herramienta, AutoCAD® va a reconocer aquellos que previamentele hayamos indicado. En cualquier caso, a continuación se enumerarán los modos de los que disponemos para ayudarnos en nuestros diseños: Punto Final. Fuerza el cursor al punto final más cercano de objetos como líneas o arcos. Punto Medio. Fuerza el cursor al punto medio de objetos como líneas o arcos. Intersección. Fuerza el cursor al punto de intersección de objetos como líneas, arcos etc. Intersección Ficticia. Incluye dos modos de referencia diferentes: Intersección ficticia e Intersección ficticia extendida. Una intersección ficticia, fuerza el cursor a la intersección de dos objetos que no se cruzan en el espacio tridimensional pero que parecen hacerlo en pantalla. Una Intersección ficticia extendida fuerza el cursor a la intersección imaginaria de dos objetos que parecían cortarse al alargarlos en sus direcciones naturales. 7
  • 28.
    Extensión. Para tomarcomo referencia la extensión (o ‘alargamiento’) de una línea o arco. Seleccionamos la línea o arco que queremos extender y luego el punto requerido. Centro. Fuerza el cursor al centro de un arco, círculo o elipse. Cuadrante. Fuerza el cursor al cuadrante más cercano de un arco, circulo o elipse (los punto a 0, 90, 180 y 270 grados). Tangente. Fuerza el cursor al punto de un circulo o arco que, al conectarlo al ultimo punto, formará una línea tangente a dicho objeto. Perpendicular. Fuerza el cursor al punto de un objeto que esta alineado normal o perpendicularmente con otro objeto o con una extensión imaginaria del mismo. Perpendicular puede utilizarse con objetos como líneas, círculos, elipses, arcos, etc. Paralelo. Permite dibujar líneas paralelas a otras. Inserción. Fuerza el cursor al punto de inserción de un bloque, forma, texto, atributo. Cercano. Fuerza el cursor a un objeto de punto o a la ubicación en otro tipo de objeto más cercano al punto especificado. Ninguno. Desactiva las referencias a objetos activadas. También puede utilizarse para desactivar las referencias a objetos implícitas para un punto. Parámetros de referencia a objetos. Desde aquí podremos configurar las referencias desde la ventana de configuración Parámetros de Dibujo. Por ejemplo, en la solapa de Referencia a Objetos podremos seleccionar las referencias que queremos que aparezcan por defecto sin necesidad de especificarlas. Si apretamos Opciones tendremos una configuración avanzada desde donde podremos cambiar cosas como el tamaño del punto de mira, etc. 8
  • 29.
    2.1.3 Rastreo Una de las herramientas de dibujo más potente de AutoCAD® se llama rastreo. Para poder disfrutar de todas las posibilidades del rastreo, activa en la barra de estado los botones [POLAR], [REFERENT] y [RASTREO]. Realizar rastreos es un nuevo sistema para situar puntos de referencias temporales y situarte a partir de ellos. Intenta ( y consigue) evitar utilizar coordenadas relativas desde el teclado ( es decir, escribir @). Si desplazamos el cursor sobre un punto de referencia a objeto (punto final, medio, etc.) para precisarlo temporalmente sin hacer clic sobre él, nos aparece un pequeño signo de adición (+). Ya tenemos ese punto seleccionado como referencia. Podemos seleccionar más de uno. Tras precisar un punto, las rutas de alineación horizontal y vertical (o polar relativas) al punto aparecen a medida que desplaza el cursor sobre las rutas de dibujo. Nos aparece una pequeña leyenda superpuesta que nos indica la distancia y dirección respecto a ese punto referenciado. Algo tal como: Queremos dibujar una línea cogiendo como referencia el punto final de otra. Nos acercamos al punto final (2) hasta que se active al cruz (+). Nos aparece la ruta de alineación y si nos movemos en horizontal o vertical nos indica la distancia respecto al punto (2) del punto donde estamos (3). En este caso, solo necesitamos escribir la distancia, sin @ pues ya tenemos referencia (2), y sin preocuparnos del signo, pues ya indicamos la dirección al situarnos a la derecha de (2). Si hemos activado una referencia de rastreo podemos desactivarla acercándonos de nuevo a ella hasta que el signo (+) desaparece. Veamos otro ejemplo: 1. Queremos dibujar una línea desde un punto hasta donde intersecarían las otras dos. Para ello hacemos un clic para entrar el primer punto, después de activar la orden línea. 2. Nos acercamos al punto final de la otra línea sin hacer clic con el botón del ratón. Aparecerá una cruz en el punto final y si nos movemos verticalmente hacia abajo aparecerá la leyenda [Extensión: distancia < ángulo]. 9
  • 30.
    3. Nos acercamosluego al otro punto final hasta que aparezca otra cruz y nos movemos en horizontal. De nuevo aparece el rastreo. 4. Buscamos el punto de intersección entre la vertical y la horizontal del rastreo hasta que aparezca [intersección].Ya lo tenemos, solo tenemos que hacer clic y ya está... Ni una sola @, ni una sola línea auxiliar, ni un solo clic, muy rápidamente. 2.1.4 Rastreo Polar Utilizamos el rastreo polar para rastrear con el cursor a lo largo de rutas de alineación temporales definidas mediante ángulos polares asociados a puntos iniciales y finales de un comando. Puede utilizar el rastreo polar para realizar un rastreo a lo largo de incrementos de ángulos polares de 90, 60, 45, 30, 22.5, 18, 15, 10 y 5 grados, pudiendo precisar otros ángulos. 10
  • 31.
    Por lo tantopodremos hacer líneas en los ángulos determinados. Si, por ejemplo, tenemos activado el rastreo polar en ángulos de 90, podremos hacer horizontales y verticales escribiendo solo la distancia de esa línea. Vemos que aparece una línea semi-infinita indicando la distancia y el ángulo. Como en el rastreo, solo necesitamos especificar la distancia ya que el sentido y dirección son conocidos. Si queremos una línea de 80, solo escribiremos 80 y [Enter]. Para configurar el Rastreo polar volvemos a la ventana de Parámetros de Dibujo y seleccionamos la pestaña [Rastro Polar]. Desde aquí podemos activar también el rastreo polar (recordemos que lo podemos hacer desde la barra de estado más fácilmente o por F10). En esta ventana vamos a poder personalizar: 1. Parámetros de ángulo polar. Establece los ángulos que se utilizan con el rastreo polar. • Incrementar ángulo. Establece el ángulo de incremento polar que se utiliza para visualizar las rutas de alineación de rastreo polar. Se puede indicar cualquier ángulo o seleccionar en la lista un ángulo común de 90, 60, 45, 30, 22.5, 18, 15, 10 y 5 grados. • Ángulos adicionales. Hace que los ángulos adicionales de la lista estén disponibles para el rastreo polar. 2. Parámetros rastreo de referencia a objetos. Establece las opciones para el rastreo de referencia a objetos, no sólo para el rastreo polar. 11
  • 32.
    Rastreo ortogonal sólo. Muestra sólo las rutas de referencia a objetos ortogonales (horizontal/vertical) para los puntos de referencia a objetos adquiridos cuando el rastreo de referencia a objetos está activado. • Rastreo con parámetros de ángulo polar. Permite al cursor rastrear a lo largo de cualquier ruta de rastreo de ángulo polar para los puntos de referencia a objetos adquiridos si el rastreo de referencia a objetos está activado mientras se precisan puntos. La combinación de Referencia a objetos, Rastreo y Rastreo Polar es una herramienta imprescindible en AutoCAD® que tiene que estar siempre activada para aprovechar toda su potencia. 12
  • 33.
    3. Selección deelementos Para trabajar con cualquier herramienta de CAD, es básico saber cómo podemos seleccionar los objetos dibujados en nuestro proyecto, para poder hacer las operaciones deseadas. AutoCAD® presenta una serie de métodos de selección; alguno de los cuales explicaremos a continuación. Cabe destacar que existen métodos directos de selección que no necesitamos indicar implícitamente y otro que es necesario. Nos vamos a centrar en el primer grupo, ya que para las prácticas propuestas no necesitaremos más. En cualquier caso, cuando necesitemos seleccionar objetos para editarlos, nos aparecerá normalmente en la ventana de comandos, la petición: Designe objetos: Si queremos saber cuales son todos, escribiremos ?; y nos aparecerá: Requiere un punto o Ventana / Último / Captura / PRISMA / TODOS / Borde / polígonOV / PolígonOC / Grupo / Añadir / Suprimir / Múltiple / Previo / Deshacer / Auto / Unico: Evidentemente, no necesitamos cada vez que queramos utilizar uno de estos métodos llamar a esta lista de opciones, solo deberemos poner la letra correspondiente (la mayúscula en las opciones) dentro de la petición de designar objetos. Métodos directos Existen cuatro métodos básicos que no necesitamos indicar a la hora de seleccionar elementos: 1. Designación directa. Vemos que por defecto nuestro típico cursor en pantalla se convierte en un cuadro de designación. Podremos seleccionar directamente un objeto pinchando sobre cualquiera de las partes que lo forman. 2. Ventana: Método clásico de designación por ventana, donde introduciremos una esquina de la ventana y la opuesta; teniendo en cuenta que en este método haremos la selección de izquierda a derecha, por lo que sólo seleccionaremos los objetos que estén totalmente incluidos dentro de esta ventana. El recuadro que aparece es de línea continua. 3. Captura: Método clásico de designación por ventana, donde introduciremos una esquina de la ventana y la opuesta; teniendo en cuenta que en este método haremos la selección de derecha a izquierda, por lo que seleccionaremos los objetos que se crucen con esta ventana, aunque no estén totalmente dentro de ésta. Se distingue a simple vista de la Ventana porque las líneas son discontinuas. 13
  • 34.
    4. Selección total. En el menú Edición Seleccionar todo (Ctrl-E) podemos seleccionar todos los elementos de nuestro dibujo; para poder realizar alguna operación con ellos. Métodos indirectos Los demás métodos necesitan ser especificados. Les nombraremos de forma resumida, ya que, cómo indicamos anteriormente, no se usarán para las prácticas: • Prisma. Otra manera de llamar a los métodos de Captura o Ventana. Introducimos un recuadro que será uno o otro según si va de izquierda a derecha o viceversa. • Todos. Selecciona todos los objetos del dibujo que no estén en capas inutilizadas • Borde. Designa todos los objetos que cruzan o atraviesan un borde o línea de selección. Muy útil cuando tenemos muchos objetos. • PolígonOV. Designa los objetos que están completamente dentro de un polígono definido por puntos. Este polígono puede tener cualquier forma, siempre que sus lados no se toquen ni se crucen. AutoCAD® dibuja el último segmento del polígono de forma que permanezca cerrado en todo momento. • PolígonOC. Designa los objetos que están dentro y cruzan un polígono que se define precisando puntos. Este polígono puede tener cualquier forma, siempre que sus lados no se toquen ni se crucen. AutoCAD® dibuja el último segmento del polígono de forma que permanezca cerrado en todo momento. • Grupo. Designa todos los objetos de un grupo determinado, introduciendo su nombre. • Añadir / Suprimir. Conmutamos entre modos de añadir o Suprimir objetos a la selección, mediante cualquiera de los métodos. • Múltiple. Precisa varios puntos sin resaltar los objetos, lo cual agiliza el proceso de designación cuando se trata de objetos complejos. El método Múltiple también designa dos elementos que se intersecan si el punto de intersección se precisa dos veces. • Previo. Selecciona el último conjunto de designación. El conjunto de designación anterior (Previo) se suprime mediante operaciones que eliminan objetos del dibujo. AutoCAD® mantiene un registro donde queda constancia de si cada conjunto de selección se ha precisado en espacio modelo o en espacio papel. Si cambia de espacio, se ignora el conjunto de selección Previo. • Último. Designa el último objeto visible creado. • Auto. Cambia a la designación automática: al señalar un objeto éste se designa. Cuando se señala un área vacía dentro o fuera de un objeto, se crea la primera esquina de un prisma rectangular definido mediante el método Prisma. Por lo tanto, Auto y Añadir son los métodos por defecto. • Único. Selecciona el primer objeto o conjunto de objetos designado, en lugar de presentar otras solicitudes para realizar más designaciones. • Deshacer. Cancela la designación del último objeto incorporado. 14
  • 35.
    4. MODIFICACIÓN deobjetos AutoCAD® permite modificar fácilmente el tamaño, la forma y la ubicación de los distintos objetos. Puede escribir un comando primero y después designar los objetos que desee modificar o puede designar los objetos primero y después introducir un comando para modificarlos. Dentro de las opciones de modificación de objetos existen dos fundamentales que nos van a ser de gran ayuda a la hora de realizar los dibujos iniciales. Estas son Borrar y Recortar. 4.1. Comando BORRAR La operación de borrado de objetos se puede realizar de dos formas distintas, tal y como se explica a continuación. En cualquier caso, para acceder al comando, lo podremos hacer mediante: 1. Menú Modificar Borrar 2. Ventana de comandos: borra 3. Caja de herramientas MODIFICAR BORRA funciona con todos los métodos de designación de objetos disponibles. Se pueden suprimir objetos del dibujo de varias formas, entre las que se encuentran: • Borrarlos mediante BORRA 15
  • 36.
    • Pulsar latecla SUPR una vez seleccionados. Para borrar un objeto (método 1) 1. Acceder al comando BORRAR usando alguna de los métodos antes indicados. 2. En la solicitud Designe objetos, use un método de selección para designar los objetos que se van a borrar 3. Pulse INTRO para terminar el comando. Para borrar un objeto (método 2) 1. Designe objetos, usando un método de selección para designar los objetos que se van a borrar 2. Acceder al comando BORRAR usando alguna de las maneras antes indicada. 4.2. Comando RECORTAR La operación de recorte de objetos consiste en eliminar partes de elementos ya dibujados, con respecto a otros (elementos de corte). Para acceder al comando, lo podremos hacer mediante: 1. Menú Modificar Recortar 2. Ventana de comandos: recorta 3. Caja de herramientas MODIFICAR Para recortar un o varios objetos 1. Acceder al comando RECORTAR usando alguna de los métodos antes indicados. 2. En la solicitud Designe objetos, use un método de selección para designar los objetos que van a definir el contorno de corte. 3. Pulse INTRO para terminar la selección de elementos. 4. Vaya pulsando con el botón izquierdo del ratón sobre las partes de los elementos que queremos recortar. 5. Pulse INTRO o ESC para terminar con el comando. 16
  • 37.
    5. Corrección deerrores Se puede realizar el seguimiento de las acciones más recientes utilizando uno de los diferentes métodos existentes. 5.1. Deshacer una sola acción El método más sencillo de hacer un seguimiento es utilizar DESHACER de la barra de herramientas Estándar, o el comando H para deshacer una sola acción. Muchos comandos incluyen su propia opción H (Deshacer) de manera que puede corregir los errores sin salir del comando. Por ejemplo, cuando esté creando líneas y polilíneas, escriba h para deshacer el último segmento. En cualquier caso, para acceder al comando, lo podremos hacer mediante: 1. Menú Edición Deshacer 2. Ventana de comandos: Deshacer 3. Caja de herramientas NORMAL 5.2. Inversión del efecto de Deshacer Es posible invertir el efecto de una sola ejecución del comando H o DESHACER utilizando REHACER inmediatamente después de utilizar H o DESHACER. En cualquier caso, para acceder al comando, lo podremos hacer mediante: 1. Menú Edición Rehacer 2. Ventana de comandos: Rehacer 3. Caja de herramientas NORMAL 17
  • 38.
    6. Prácticas propuestas 6.1.Símbolos Utilizando la referencia a objetos, el recorte y el borrado de elementos, realizar los siguientes símbolos: Dibujo con Elementos Auxiliares Dibujo con Elementos Auxiliares 80 80 Dibujo Resultante Dibujo Resultante 18
  • 39.
    6.2. Pieza Sencilla Utilizando la referencia a objetos, el recorte y el borrado de elementos, realizar la siguiente figura: Dibujo con Elementos Auxiliares 55 12,5 27,5 Dibujo Resultante 19
  • 40.
    6.3. Trama Utilizando la referencia a objetos, el recorte y el borrado de elementos, realizar la siguiente trama: Dibujo con Elementos Auxiliares R30 Dibujo Resultante 20
  • 41.
    Temas tratados enesta clase: 3 • Ejercicios propuestos 1. Ejercicios propuestos 1.1. Pieza Dibujar la siguiente pieza tiendo en cuenta que los centros de todos los agujeros se encuentran situados en los vértices de un triángulo equilátero de lado 100 unidades. Para realizar la práctica se hace indispensable utilizar la herramienta de recorte de elementos y el traceo. Solo se dibujarán las líneas de trazo grueso, pudiéndose utilizar todas los elementos auxiliares que necesitemos. 100 20 80 2
  • 42.
    1.2. Trama Utilizando todas las herramientas aprendidas hasta el momento, realizar la siguiente trama. Es importante tener paciencia a la hora de recortar todos los elementos que no son necesarios. Elementos Auxiliares para realizar la trama 180 Dibujo Resultante 2
  • 43.
    1.3. Pieza 2 Utilizando todas las herramientas aprendidas hasta el momento, realizar la siguiente pieza. Utilizar todos los elementos auxiliares que se necesiten. Una vez completada la pieza, se deberán borrar todos los elementos auxiliares utilizados. 30 100 20 20 20 20 30 40 30 30 30 20 3
  • 44.
    1.4. Pivote Utilizando todas las herramientas aprendidas hasta el momento, dibujar el siguiente pivote. Utilizar todos los elementos auxiliares que se necesiten. Una vez completada la pieza, se deberán borrar todos los elementos auxiliares utilizados. 235 40 40 40 50 110 150 4
  • 45.
    Temas tratados enesta clase: 4 • Métodos de selección de objetos • MODIFICACION de objetos 1. Selección de elementos Para trabajar con cualquier herramienta de CAD, es básico saber cómo podemos seleccionar los objetos dibujados en nuestro proyecto, para poder hacer las operaciones deseadas. AutoCAD® presenta una serie de métodos de selección; alguno de los cuales explicaremos a continuación. Cabe destacar que existen métodos directos de selección que no necesitamos indicar implícitamente y otro que es necesario. Nos vamos a centrar en el primer grupo, ya que para las prácticas propuestas no necesitaremos más. En cualquier caso, cuando necesitemos seleccionar objetos para editarlos, nos aparecerá normalmente en la ventana de comandos, la petición: Designe objetos: Si queremos saber cuales son todos, escribiremos ?; y nos aparecerá: Requiere un punto o Ventana / Último / Captura / PRISMA / TODOS / Borde / polígonOV / PolígonOC / Grupo / Añadir / Suprimir / Múltiple / Previo / Deshacer / Auto / Unico: Evidentemente, no necesitamos cada vez que queramos utilizar uno de estos métodos llamar a esta lista de opciones, solo deberemos poner la letra correspondiente (la mayúscula en las opciones) dentro de la petición de designar objetos. Métodos directos Existen cuatro métodos básicos que no necesitamos indicar a la hora de seleccionar elementos: 1. Designación directa. Vemos que por defecto nuestro típico cursor en pantalla se convierte en un cuadro de designación. Podremos seleccionar directamente un objeto pinchando sobre cualquiera de las partes que lo forman. 2. Ventana: Método clásico de designación por ventana, donde introduciremos una esquina de la ventana y la opuesta; teniendo en cuenta que en este método haremos la selección de izquierda a derecha, por lo que sólo seleccionaremos los objetos que estén totalmente incluidos dentro de esta ventana. El recuadro que aparece es de línea continua. 2
  • 46.
    3. Captura: Métodoclásico de designación por ventana, donde introduciremos una esquina de la ventana y la opuesta; teniendo en cuenta que en este método haremos la selección de derecha a izquierda, por lo que seleccionaremos los objetos que se crucen con esta ventana, aunque no estén totalmente dentro de ésta. Se distingue a simple vista de la Ventana porque las líneas son discontinuas. 4. Selección total. En el menú Edición Æ Seleccionar todo (Ctrl-E) podemos seleccionar todos los elementos de nuestro dibujo; para poder realizar alguna operación con ellos. Métodos indirectos Los demás métodos necesitan ser especificados. Les nombraremos de forma resumida, ya que, cómo indicamos anteriormente, no se usarán para las prácticas: • Prisma. Otra manera de llamar a los métodos de Captura o Ventana. Introducimos un recuadro que será uno o otro según si va de izquierda a derecha o viceversa. • Todos. Selecciona todos los objetos del dibujo que no estén en capas inutilizadas • Borde. Designa todos los objetos que cruzan o atraviesan un borde o línea de selección. Muy útil cuando tenemos muchos objetos. • PolígonOV. Designa los objetos que están completamente dentro de un polígono definido por puntos. Este polígono puede tener cualquier forma, siempre que sus lados no se toquen ni se crucen. AutoCAD® dibuja el último segmento del polígono de forma que permanezca cerrado en todo momento. • PolígonOC. Designa los objetos que están dentro y cruzan un polígono que se define precisando puntos. Este polígono puede tener cualquier forma, siempre que sus lados no se toquen ni se crucen. AutoCAD® dibuja el último segmento del polígono de forma que permanezca cerrado en todo momento. • Grupo. Designa todos los objetos de un grupo determinado, introduciendo su nombre. • Añadir / Suprimir. Conmutamos entre modos de añadir o Suprimir objetos a la selección, mediante cualquiera de los métodos. • Múltiple. Precisa varios puntos sin resaltar los objetos, lo cual agiliza el proceso de designación cuando se trata de objetos complejos. El método 1
  • 47.
    Múltiple también designados elementos que se intersecan si el punto de intersección se precisa dos veces. • Previo. Selecciona el último conjunto de designación. El conjunto de designación anterior (Previo) se suprime mediante operaciones que eliminan objetos del dibujo. AutoCAD® mantiene un registro donde queda constancia de si cada conjunto de selección se ha precisado en espacio modelo o en espacio papel. Si cambia de espacio, se ignora el conjunto de selección Previo. • Último. Designa el último objeto visible creado. • Auto. Cambia a la designación automática: al señalar un objeto éste se designa. Cuando se señala un área vacía dentro o fuera de un objeto, se crea la primera esquina de un prisma rectangular definido mediante el método Prisma. Por lo tanto, Auto y Añadir son los métodos por defecto. • Único. Selecciona el primer objeto o conjunto de objetos designado, en lugar de presentar otras solicitudes para realizar más designaciones. • Deshacer. Cancela la designación del último objeto incorporado. 4
  • 48.
    2. MODIFICACIÓN deobjetos AutoCAD® permite modificar fácilmente el tamaño, la forma y la ubicación de los distintos objetos. Puede escribir un comando primero y después designar los objetos que desee modificar o puede designar los objetos primero y después introducir un comando para modificarlos. 2.1. Comando BORRAR La operación de borrado de objetos se puede realizar de dos formas distintas, tal y como se explica a continuación. En cualquier caso, para acceder al comando, lo podremos hacer mediante: 1. Menú Modificar Æ Borrar 2. Ventana de comandos: borra 3. Caja de herramientas MODIFICAR BORRA funciona con todos los métodos de designación de objetos disponibles. Se pueden suprimir objetos del dibujo de varias formas, entre las que se encuentran: • Borrarlos mediante BORRA 3
  • 49.
    • Pulsar latecla SUPR una vez seleccionados. 4
  • 50.
    Para borrar unobjeto (método 1) 1. Acceder al comando BORRAR usando alguna de las maneras antes indicada. 2. En la solicitud Designe objetos, use un método de selección para designar los objetos que se van a borrar 3. Pulse INTRO para terminar el comando. Para borrar un objeto (método 2) 1. Designe objetos, usando un método de selección para designar los objetos que se van a borrar 2. Acceder al comando BORRAR usando alguna de las maneras antes indicada. 2.2. Comando COPIAR Se pueden duplicar objetos a una distancia determinada del original. Si lo desea, puede especificar la distancia y la dirección por medio de dos puntos, un punto de origen (1) y un punto de destino (2), denominados punto base y segundo punto de desplazamiento respectivamente. Estos puntos pueden situarse en cualquier parte del dibujo. A la operación de copiado de objetos se puede acceder indistintamente de varias formas: 1. Menú Modificar Æ Copiar 2. Ventana de comandos: copia 3. Caja de herramientas MODIFICAR Para copiar uno o varios objetos 1. Acceder al comando COPIAR usando alguna de las maneras antes indicada. 2. Designar los objetos que desee copiar. 3. Precisar el punto base. 4. Designar el segundo punto de desplazamiento. Para copiar uno o varios objetos varias veces 1. Acceder al comando COPIAR usando alguna de las maneras antes indicada. 2. Designar los objetos que desee copiar. 3. Escribir m (Múltiple) en la ventana de comandos. 4. Precisar el punto base. 5. Designar el segundo punto de desplazamiento. 6. Precisar el siguiente punto de desplazamiento. 7. Seguir insertando copias o pulsar la tecla INTRO para terminar el comando. 5
  • 52.
    2.3. Comando SIMETRIA El procedimiento de reflexión de objetos en simetría sirve para crear imágenes simétricas de los objetos. Resulta útil para crear objetos simétricos, ya que puede dibujar rápidamente la mitad del objeto y después reflejarlo en vez de dibujar el objeto entero. Se pasa de un objeto a otro sobre un eje denominado eje de simetría para crear una imagen reflejada. Para especificar este eje de simetría temporalmente, indique dos puntos. Puede elegir entre borrar o mantener los objetos originales. A la operación de simetría de objetos se puede acceder indistintamente de varias formas: 1. Menú Modificar Æ Simetria 2. Ventana de comandos: simetria 3. Caja de herramientas MODIFICAR Para realizar la simetría de elementos 1. Acceder al comando SIMETRIA usando alguna de las maneras antes indicada. 2. Designar los objetos de los cuales queremos realizar una simetría. 3. Introducir un primer punto A 4. Introducir un segundo punto B. Los puntos A y B definen un eje de simetría a partir del cual obtenemos los objetos reflejados. 5. Pulse INTRO para conservar los objetos originales o escriba s para borrarlos. 2.4. Comando EQUIDISTANCIA (desfase) La equidistancia crea un nuevo objeto cuya forma es paralela a la forma de un objeto designado. Al desfasar un círculo o arco se crea un círculo o arco mayor o menor, dependiendo de qué lado se especifique para realizar el desfase. Una técnica de dibujo muy eficaz es desfasar objetos y, después, recortar o alargar sus extremos. 6
  • 53.
    Se pueden desfasar • Líneas • Arcos • Círculos • Elipses • Polilíneas 2D A la operación de equidistancia de objetos se puede acceder indistintamente de varias formas: 1. Menú Modificar Æ Equidistancia 2. Ventana de comandos: EQDIST 3. Caja de herramientas MODIFICAR Para desfasar un objeto mediante la precisión de una distancia 1. Acceder al comando EQUIDISTANCIA usando alguna de las maneras antes indicada. 2. Precisar la distancia de desplazamiento. Escribir un valor o utilizar el dispositivo señalador. 3. Designar el objeto que desee desfasar. 4. Precisar un punto en el lado en el que desea situar los nuevos objetos. 5. Designar otro objeto para desplazarlo o pulse la tecla INTRO para terminar el comando. Para desfasar un objeto a través de un punto 1. Acceder al comando EQUIDISTANCIA usando alguna de las maneras antes indicada. 2. Escriba p de Punto a atravesar. 3. Designe el objeto que desee desfasar. 4. Designe el punto a atravesar. 5. Designe otro objeto para desplazarlo o pulse la tecla INTRO para terminar el comando. 2.5. Comando MOVER Se pueden mover objetos a una distancia determinada del original. Si lo desea, puede especificar la distancia y la dirección por medio de dos puntos, un punto de origen (1) y un punto de destino (2), denominados punto base y segundo punto de desplazamiento respectivamente. Estos puntos pueden situarse en cualquier parte del dibujo. A la operación de copiado de objetos se puede acceder indistintamente de varias formas: 1. Caja de herramientas MODIFICAR Para mover uno o varios objetos 7
  • 54.
    1. Acceder al comando MOVER usando alguna de las formas antes indicada. 2. Designar los objetos que desee mover. 3. Precisar el punto base. 4. Designar el segundo punto de desplazamiento. 2.6. Comando RECORTAR La operación de recorte de objetos consiste en eliminar partes de elementos ya dibujados, con respecto a otros (aristas de corte). Es importante saber distinguir entre borrar y recortar: • Borrar = eliminar objeto completo • Recortar = eliminar parte de un objeto (respecto a otro) Cuando se recortan varios objetos, los diversos métodos de selección facilitan la elección de las aristas de corte actuales y de los objetos que desea cortar. En el siguiente ejemplo, las aristas de corte se designan haciendo uso de un cuadro de selección de captura. Se puede acceder al comando de recorte de objetos mediante alguno de los siguientes métodos: 1. Menú Modificar Æ Recortar 2. Ventana de comandos: recorta 3. Caja de herramientas MODIFICAR Para recortar uno o varios objetos 1. Acceder al comando RECORTAR usando alguna de las maneras antes indicada. 2. En la solicitud Designe objetos, use un método de selección para designar los objetos que van a definir el contorno de corte. 3. Pulsar INTRO para terminar la selección de elementos. 4. Pulsar con el botón izquierdo del ratón sobre las partes de los elementos que queremos recortar. 5. Pulsar INTRO para terminar el comando 2.7. Comando ALARGAR El alargamiento funciona de la misma forma que el recorte. Con AutoCAD podrá alargar objetos de modo que éstos finalicen precisamente en las aristas de los contornos definidas por otros objetos. En el ejercicio siguiente podrá extender las líneas de forma precisa a un círculo, que actúa como arista del contorno. 8
  • 55.
    Es posible alargarobjetos sin salir de comando RECORTA. Mantenga pulsada la tecla MAYÚS y seleccione los objetos que desee alargar. Se puede acceder al comando de alargar de objetos mediante alguno de los siguientes métodos: 1. Menú Modificar Æ Alargar 2. Ventana de comandos: alarga 3. Caja de herramientas MODIFICAR Para recortar uno o varios objetos 1. Acceder al comando ALARGAR usando alguna de las formas antes indicada. 2. En la solicitud Designe objetos, use un método de selección para designar los objetos que van a definir el contorno. 3. Pulsar INTRO para terminar la selección de elementos. 4. Pulsar con el botón izquierdo del ratón sobre las partes de los elementos que queremos alargar. 5. Pulsar INTRO para terminar el comando 2.8. Comando CHAFLAN El uso del comando CHAFLAN es una forma rápida de crear una línea entre dos líneas no paralelas. Normalmente se utiliza para representar un borde biselado en una esquina. Con el método de distancia podrá precisar en qué medida deben recortarse o alargarse las líneas. El método ángulo le permite precisar la longitud del chaflán y el ángulo que forma con la primera línea. Puede preservar los objetos tal y como figuraban antes de achaflanarlos o recortarlos o extenderlos a la línea del chaflán. Se puede acceder al comando de recorte de objetos mediante alguno de los siguientes métodos: 1. Menú Modificar Æ Chaflan 2. Ventana de comandos: chaflan 3. Caja de herramientas MODIFICAR 9
  • 56.
    Para establecer distanciasentre chaflanes 1. Acceder al comando CHAFLAN usando alguna de las formas antes indicada. 2. Escribir d (Distancia). 3. Escribir la distancia del primer chaflán. 4. Escribir la distancia del segundo chaflán. 5. Designar las líneas que desee achaflanar. Para achaflanar precisando la longitud y ángulo del chaflán 1. Acceder al comando CHAFLAN usando alguna de las formas antes indicada. 2. Escribir an (Ángulo). 3. Escribir la distancia desde la esquina para achaflanar en la primera línea. 4. Indicar ángulo del chaflán. 5. Designar la primera línea. A continuación, seleccionar la segunda línea. Para achaflanar un objeto sin recortarlo 1. Acceder al comando CHAFLAN usando alguna de las formas antes indicada. 2. Escribir r (Recortar). 3. Escribir d (Desactivar recortar). 4. Designar los objetos que desee achaflanar. 2.9. Comando EMPALME El proceso de empalme entre dos objetos conlleva su conexión con un arco tangente a ambos de un radio específico. Una esquina interior se denomina empalme y una esquina exterior se denomina redondeo. Se pueden empalmar entre otros: arcos, círculos, elipses, líneas y polilíneas. El comando EMPALME se puede utilizar para crear con facilidad un arco con un radio específico que sea tangente a dos objetos seleccionados. Con la opción Múltiple puede empalmar varios conjuntos de objetos sin abandonar el comando. Según las posiciones que se especifiquen, puede haber más de un empalme entre los objetos seleccionados. Dependerá de los puntos que marquemos, para controlar la posición del empalme. 10
  • 57.
    Se puede accederal comando de recorte de objetos mediante alguno de los siguientes métodos: 1. Menú Modificar Æ Recortar 2. Ventana de comandos: recorta 3. Caja de herramientas MODIFICAR Para definir el radio del empalme 1. Acceder al comando EMPALME usando alguna de las formas antes indicada. 2. Escribir ra (Radio). 3. Definir el radio del empalme. 4. Designar los objetos que desee empalmar. Para empalmar un objeto sin recortarlo 1. Acceder al comando EMPALME usando alguna de las formas antes indicada. 2. Si fuese necesario, escriba r (Recortar) y después d (Desactivar recortar). 3. Designe los objetos que desee empalmar. 2.10. Comando DESCOMPONER Puede descomponer un objeto compuesto, como una polilínea, un rectángulo, un polígono, etc.; para convertirlo en elementos individuales. Se puede acceder al comando de recorte de objetos mediante alguno de los siguientes métodos: 1. Menú Modificar Æ Descomponer 2. Ventana de comandos: descomp 3. Caja de herramientas MODIFICAR Para descomponer un objeto 1. Acceder al comando DESCOMPONER usando alguna de las formas antes indicada. 2. Designar los objetos que desee descomponer. 3. Para la mayoría de los objetos, la descomposición no tiene un efecto visible. 11
  • 58.
    3. Ejercicios propuestos 3.1.Pieza Dibujar la siguiente pieza teniendo en cuenta que todos los empalmes se han realizado con un radio de 2,5 unidades. Usar preferiblemente las herramientas de copiar, equidistancia y empalme. 8 45 25 12
  • 59.
    3.2. Pieza 2 Dibujar la siguiente pieza teniendo en cuenta que se aconseja utilizar las herramientas de simetría y traceo. Ø50 108 40 42 98 13
  • 60.
    3.3. Señalización Dibujar el siguiente panel de señalización, teniendo en cuenta que se aconseja utilizar las herramientas de polígono, equidistancia y mover. 65 3 5 10 150 14
  • 61.
    3.4. Pieza 3 Dibujar la siguiente pieza teniendo en cuenta que se aconseja utilizar las herramientas de empalme, tangencias de círculos y recortar. 15x45° Ø120 210 262,5 37,5 Ø150 Ø120 260 442,5 180 60 15
  • 62.
    3.5. Trama Dibujar la siguiente trama teniendo en cuenta que se aconseja utilizar las herramientas de equidistancia y recortar. 500 30 17
  • 63.
    3.6. Trama 2 Dibujar la siguiente trama teniendo en cuenta que se aconseja utilizar las herramientas de equidistancia y recortar. 600 300 16
  • 65.
    Temas tratados enesta clase: 5 • Métodos de selección de objetos • MODIFICACION de objetos (cont.) 1. Selección de elementos Para trabajar con cualquier herramienta de CAD, es básico saber cómo podemos seleccionar los objetos dibujados en nuestro proyecto, para poder hacer las operaciones deseadas. AutoCAD® presenta una serie de métodos de selección; alguno de los cuales explicaremos a continuación. Cabe destacar que existen métodos directos de selección que no necesitamos indicar implícitamente y otro que es necesario. Nos vamos a centrar en el primer grupo, ya que para las prácticas propuestas no necesitaremos más. En cualquier caso, cuando necesitemos seleccionar objetos para editarlos, nos aparecerá normalmente en la ventana de comandos, la petición: Designe objetos: Si queremos saber cuales son todos, escribiremos ?; y nos aparecerá: Requiere un punto o Ventana / Último / Captura / PRISMA / TODOS / Borde / polígonOV / PolígonOC / Grupo / Añadir / Suprimir / Múltiple / Previo / Deshacer / Auto / Unico: Evidentemente, no necesitamos cada vez que queramos utilizar uno de estos métodos llamar a esta lista de opciones, solo deberemos poner la letra correspondiente (la mayúscula en las opciones) dentro de la petición de designar objetos. Métodos directos Existen cuatro métodos básicos que no necesitamos indicar a la hora de seleccionar elementos: 1. Designación directa. Vemos que por defecto nuestro típico cursor en pantalla se convierte en un cuadro de designación. Podremos seleccionar directamente un objeto pinchando sobre cualquiera de las partes que lo forman. 2. Ventana: Método clásico de designación por ventana, donde introduciremos una esquina de la ventana y la opuesta; teniendo en cuenta que en este método haremos la selección de izquierda a derecha, por lo que sólo seleccionaremos los objetos que estén totalmente incluidos dentro de esta ventana. El recuadro que aparece es de línea continua. 1
  • 66.
    3. Captura: Métodoclásico de designación por ventana, donde introduciremos una esquina de la ventana y la opuesta; teniendo en cuenta que en este método haremos la selección de derecha a izquierda, por lo que seleccionaremos los objetos que se crucen con esta ventana, aunque no estén totalmente dentro de ésta. Se distingue a simple vista de la Ventana porque las líneas son discontinuas. 4. Selección total. En el menú Edición Æ Seleccionar todo (Ctrl-E) podemos seleccionar todos los elementos de nuestro dibujo; para poder realizar alguna operación con ellos. Métodos indirectos Los demás métodos necesitan ser especificados. Les nombraremos de forma resumida, ya que, cómo indicamos anteriormente, no se usarán para las prácticas: • Prisma. Otra manera de llamar a los métodos de Captura o Ventana. Introducimos un recuadro que será uno o otro según si va de izquierda a derecha o viceversa. • Todos. Selecciona todos los objetos del dibujo que no estén en capas inutilizadas • Borde. Designa todos los objetos que cruzan o atraviesan un borde o línea de selección. Muy útil cuando tenemos muchos objetos. • PolígonOV. Designa los objetos que están completamente dentro de un polígono definido por puntos. Este polígono puede tener cualquier forma, siempre que sus lados no se toquen ni se crucen. AutoCAD® dibuja el último segmento del polígono de forma que permanezca cerrado en todo momento. • PolígonOC. Designa los objetos que están dentro y cruzan un polígono que se define precisando puntos. Este polígono puede tener cualquier forma, siempre que sus lados no se toquen ni se crucen. AutoCAD® dibuja el último segmento del polígono de forma que permanezca cerrado en todo momento. • Grupo. Designa todos los objetos de un grupo determinado, introduciendo su nombre. • Añadir / Suprimir. Conmutamos entre modos de añadir o Suprimir objetos a la selección, mediante cualquiera de los métodos. • Múltiple. Precisa varios puntos sin resaltar los objetos, lo cual agiliza el proceso de designación cuando se trata de objetos complejos. El método 2
  • 67.
    Múltiple también designados elementos que se intersecan si el punto de intersección se precisa dos veces. • Previo. Selecciona el último conjunto de designación. El conjunto de designación anterior (Previo) se suprime mediante operaciones que eliminan objetos del dibujo. AutoCAD® mantiene un registro donde queda constancia de si cada conjunto de selección se ha precisado en espacio modelo o en espacio papel. Si cambia de espacio, se ignora el conjunto de selección Previo. • Último. Designa el último objeto visible creado. • Auto. Cambia a la designación automática: al señalar un objeto éste se designa. Cuando se señala un área vacía dentro o fuera de un objeto, se crea la primera esquina de un prisma rectangular definido mediante el método Prisma. Por lo tanto, Auto y Añadir son los métodos por defecto. • Único. Selecciona el primer objeto o conjunto de objetos designado, en lugar de presentar otras solicitudes para realizar más designaciones. • Deshacer. Cancela la designación del último objeto incorporado. 3
  • 68.
    2. MODIFICACIÓN deobjetos AutoCAD® permite modificar fácilmente el tamaño, la forma y la ubicación de los distintos objetos. Puede escribir un comando primero y después designar los objetos que desee modificar o puede designar los objetos primero y después introducir un comando para modificarlos. 2.1. Comando MATRIZ Se pueden crear copias de objetos en un patrón rectangular o polar (circular) denominado matriz. En las matrices rectangulares, podrá controlar el número de filas y columnas y la distancia que debe mediar entre ellas. En el caso de las matrices polares, podrá controlar el número de copias del objeto y si las copias pueden girarse. Para crear muchos objetos con el mismo espaciado, es más rápido utilizar una matriz que copiarlos manualmente. 4
  • 69.
    Para poder llevara cabo la operación de matriz de objetos se puede acceder al comando de las siguientes formas: 1. Menú Modificar Æ Matriz 2. Ventana de comandos: matriz 3. Caja de herramientas MODIFICAR Creación de matrices rectangulares AutoCAD construye una matriz rectangular a lo largo de la línea base definida por el ángulo de rotación de resolución actual. Por defecto, dicho ángulo viene definido con el valor cero, lo que supone que las filas y columnas de una matriz rectangular sean ortogonales con respecto a los ejes X e Y. Una vez ejecutado el comando matriz aparecerá una ventana de diálogo indicando los parámetros que podemos seleccionar para obtener un resultado: 5
  • 70.
    Creación de matricespolares Al crear una matriz polar, dicha matriz se dibuja en el sentido de las agujas del reloj o en el contrario, según introduzca un valor negativo o positivo para los grados cubiertos. El radio de la matriz viene determinado por la distancia existente desde el centro especificado a un punto de referencia, o base, situado en el último objeto designado. Puede utilizar el punto de referencia establecido por defecto (normalmente un punto arbitrario que coincide con un punto del modo de referencia a objetos) o especificar un nuevo punto base para que se utilice como punto de referencia. Una vez ejecutado el comando matriz aparecerá una ventana de diálogo indicando los parámetros que podemos seleccionar para obtener un resultado: 6
  • 71.
    2.2. Comando GIRAR Puede girar objetos en torno a un punto especificado. Para determinar el ángulo de rotación, escriba un valor de ángulo o especifique un segundo punto. Para poder llevar a cabo la operación de girar objetos se puede acceder al comando de las siguientes formas: 1. Menú Modificar Æ Girar 2. Ventana de comandos: giro 3. Caja de herramientas MODIFICAR Giro de un objeto con un ángulo especificado 1. Accedemos a la herramienta de GIRAR por cualquier de los métodos anteriores. 2. Seleccionamos los elementos que queremos girar 3. Introducimos el punto de referencia (centro de giro) 4. Si queremos mantener los objetos seleccionados inicialmente marcaremos COPIA (introducir una C en la ventana de comandos) 5. Introducimos el ángulo de giro 6. Los elementos se girarán respecto al punto de referencia y en sentido antihorario (sino le hemos especificado lo contrario). 2.3. Comando ESCALA La escala permite aumentar o reducir el tamaño de uno o varios objetos, pero sin alterar sus proporciones. Podrá atribuirle una escala especificando un punto base y una longitud, que se utilizará como factor de escala en función de las unidades de dibujo actuales o introduciendo un factor de escala. AutoCAD permite especificar la longitud actual del objeto o asignarle una nueva. La escala modifica el tamaño de todas las cotas del objeto designado. Un factor de escala superior al valor 1 amplía el objeto. Un factor de escala inferior al valor 1 lo reduce. También se puede aplicar una escala según una referencia. La atribución de una escala mediante referencia utiliza una medida existente como base para el nuevo tamaño. Para atribuir una escala atendiendo a una referencia, especifique la escala actual y, a continuación, defina la nueva longitud de la escala. Así pues, si un lado del objeto tiene una longitud de 4.8 unidades y desea ampliarlo a 7.5 unidades, utilice 4.8 como longitud de referencia y 7.5 como la nueva longitud. Para poder llevar a cabo la operación de matriz de objetos se puede acceder al comando de las siguientes formas: 1. Menú Modificar Æ Escala 2. Ventana de comandos: escala 3. Caja de herramientas MODIFICAR 7
  • 72.
    Escalar un objetomediante un factor de escala 1. Accedemos a la herramienta de ESCALA por cualquier de los métodos anteriores. 2. Seleccionamos los objetos que queremos escalar 3. Introducimos un punto de referencia para el escalado 4. Introducimos el factor de escala 5. Pulsamos INTRO. Y y3 (x3,y3) y1 (x1,y1) (x2,y2) y3/2 y1/2 x1/2 x2/2 x1 x2 PR X Este ejemplo muestra como escalar un objeto (rectángulo) aplicando una escala 1:2 8
  • 73.
    3. Prácticas propuestas 3.1.Giros La pieza representa una palanca que gira sobre su eje mayor (el centro de la circunferencia de diámetro 40 unidades). Dibujar dicha palanca y los giros indicados. 90 180 160 9
  • 74.
    3.2. Matrices Siguiendo los pasos que se indican, realizar la composición que se muestra en lo siguientes dibujos. 15 15 Factor Escala 3:2 10
  • 75.
  • 76.
    3.3. Tangencias Aplicando todos los métodos de tangencias conocidos, realizar los siguientes dibujos. 118 60 43 24 40 78 78 108 30 43 45 92 12
  • 77.
    Temas tratados enesta clase: 6 • Propiedades de los objetos • Capas • Sombreado • Prácticas Propuestas 1. Propiedades de los objetos Las capas son superposiciones transparentes en las cuales se organizan y se agrupan distintos tipos de datos del dibujo. Los objetos que se crean tienen propiedades comunes como, por ejemplo, colores, tipos de línea y grosores de línea. Un objeto puede recibir estas propiedades de la capa en la que se dibuja, o bien tenerlas asignadas de forma específica. El color contribuye a diferenciar elementos similares en los dibujos, mientras que los tipos de línea sirven para distinguir fácilmente elementos de dibujo distintos, como líneas de centro y ocultas. Los grosores de línea representan el tamaño o tipo de un objeto por su grosor, lo que mejora la calidad del dibujo y su legibilidad. La organización de las capas y de los objetos que incluyen facilita la gestión de la información de los dibujos. 1.1. Visualización y modificación de las propiedades Todos los objetos que se dibujan tienen propiedades. Algunas propiedades son generales y se aplican a la mayoría de los objetos; por ejemplo, capa, color, tipo de línea y estilo de trazado. Otras propiedades son específicas para cada tipo de objeto; por ejemplo, las propiedades de un círculo incluyen el radio y el á rea, mientras que las de una línea incluyen la longitud y el ángulo. La mayor parte de las propiedades generales pueden asignarse a un objeto por capa o directamente al objeto. • Cuando se establece el valor POR CAPA en una propiedad, el objeto obtiene el mismo valor que la capa en la que se dibuja. • Si una propiedad tiene asignado un valor específico, éste prevalece sobre el valor asignado en la capa. Por otro lado, es posible visualizar las propiedades actuales y modificar las propiedades de cualquier objeto de un dibujo de las siguientes maneras: • Paleta Propiedades para consultar y cambiar los parámetros de las propiedades del objeto. La paleta Propiedades muestra los parámetros actuales de las propiedades del objeto o del conjunto de objetos seleccionado. 1
  • 78.
    Puede modificar todaslas propiedades que admitan cambios indicando un nuevo valor: 9 Si hay más de un objeto seleccionado, la paleta Propiedades muestra únicamente las propiedades comunes de todos los objetos del conjunto de selección. 9 Si no hay objetos seleccionados, la paleta Propiedades muestra únicamente las propiedades generales de la capa actual, el nombre de la tabla de estilos de trazado asociada a la capa y las propiedades de la vista. • Modificación de los parámetros en el Control de capas de la barra de herramientas Capas y los controles Color, Tipo de línea, Grosor de línea y Estilo de trazado en la barra de herramientas Propiedades. Para visualizar las propiedades de un único objeto 1. Designe un objeto. 2. Haga clic con el botón derecho en el dibujo y elija Propiedades en el menú contextual. 3. Esta paleta muestra las propiedades de los objetos seleccionados. También puede hacer doble clic en un objeto para que se muestre la paleta Propiedades (si no se ha tocado la configuración por defecto). Para cambiar las propiedades de los objetos en la paleta Propiedades 1. Designar uno o varios objetos. 2. Haga clic con el botón derecho en el dibujo y elija Propiedades en el menú contextual. 3. En la paleta Propiedades, utilizar la barra de desplazamiento junto a la barra de título para desplazarse por la lista de propiedades. Puede hacer clic en la flecha situada a la derecha de cada categoría para expandir o contraer la lista. 4. Seleccionar el valor que quiere modificar. Los cambios se hacen efectivos en el momento. 5. Para deshacer un cambio, haga clic con el botón derecho en una zona vacía de la paleta Propiedades y, en el menú contextual, haga clic en Deshacer. 6. Pulse ESC para cancelar la selección. 1.2. Copia de propiedades de un objeto a otro Se pueden copiar algunas o todas las propiedades de un objeto a otros objetos mediante el botón Igualar propiedades. Es posible copiar propiedades como el color, la capa, el tipo de línea, la escala de tipo de línea, el grosor de línea y el estilo de trazado, entre otras. Por defecto, todas las propiedades aplicables se copian automáticamente desde el objeto que se designe en primer lugar a los otros objetos. Para poder llevar a cabo la operación de igualar propiedades de objetos se puede acceder al comando de las siguientes formas: 1. Ventana de comandos: igualarprop 2. Caja de herramientas ESTANDAR Para copiar propiedades de un objeto a otros 1. Acceder al comando por alguno de los métodos anteriores. 2. Designe el objeto cuyas propiedades desee copiar. 2
  • 79.
    3. Seleccione losobjetos a los que aplicará las propiedades seleccionadas y pulse INTRO. 3
  • 80.
    2. Capas 2.1. Introducción Las capas son superposiciones transparentes en las cuales se organizan y se agrupan distintos tipos de datos del dibujo. Las capas son equivalentes a las hojas transparentes que se utilizan en el diseño sobre papel. Las capas son la herramienta organizativa principal en AutoCAD®: se utilizan para agrupar información por función y para imponer el tipo de línea, el color y otras normas. Mediante la creación de capas, es posible asociar tipos similares de objetos asignándolos a la misma capa. Por ejemplo, se pueden poner líneas auxiliares, texto, cotas y cuadros de rotulación en diferentes capas. De esta forma podrá controlar: • Si los objetos que hay en una capa son visibles en cualquier ventana gráfica. • Qué color se asigna a todos los objetos de una capa. • Qué tipo y grosor de línea predeterminados se asignan a todos los objetos de una capa. • Si los objetos de una capa pueden modificarse. Todos los dibujos incluyen una capa denominada 0. La capa 0 no se puede suprimir ni cambiar de nombre. Esta capa cumple dos funciones: • Garantizar que todos los dibujos incluyen al menos una capa • Proporcionar una capa especial relacionada con el control de colores en bloques Se recomienda crear varias capas nuevas para organizar el dibujo en lugar de realizar todo el dibujo en la capa 0. 2.2. Control de Capas Para poder llevar a cabo el control de capas se puede acceder al comando de las siguientes formas: 1. Ventana de comandos: capa 2. Caja de herramientas CAPAS 4
  • 81.
    Para convertir lacapa designada en la actual 1. Acceder al comando CAPAS según uno de los métodos antes indicados. 2. Haga clic en el nombre de capa que desee utilizar. Para convertir la capa de un objeto designado en la actual 1. En la barra de herramientas CAPAS, haga clic en el icono Fijar como actual la capa del objeto 2. Designar un objeto. 3. La capa del objeto designado se convertirá en la actual. Para activar o desactivar una capa 1. Acceder al comando CAPAS según uno de los métodos antes indicados. 2. Haga clic en la bombilla del nombre de la capa que desee activar o desactivar. Si la bombilla está amarilla, la capa está activada. 2.3. Creación de capas con nombre Puede crear una capa con un nombre para cada agrupación conceptual (por ejemplo, paredes o cotas) y asignar propiedades comunes a esas capas. Al agrupar objetos en capas, puede controlar su presentación y efectuar cambios de forma rápida y eficaz. El número de capas que se pueden crear en un dibujo y el número de objetos que se pueden crear en cada capa es prácticamente ilimitado. Normalmente, las capas se asignan a cada agrupación conceptual (como, por ejemplo, muros o cotas). Pueden tener nombres alfanuméricos de más de 255 caracteres de longitud. En muchos casos, los nombres de capa elegidos vienen impuestos por las normas de la empresa, la industria o el cliente. El Administrador de propiedades de capas ordena las capas alfabéticamente por el nombre. Si va a organizar un esquema de capas propio, elija los nombres 5
  • 82.
    cuidadosamente. Si seutilizan prefijos comunes para nombrar capas que tengan componentes de dibujo relacionados, podrá n incluirse caracteres comodín en los filtros de nombres de capa cuando sea necesario encontrar esas capas rápidamente. Para crear una nueva capa 1. Acceder al comando CAPAS según uno de los métodos antes indicados 2. En el Administrador de propiedades de capas hacer clic en el botón Nueva capa. Se añadirá automáticamente un nombre de capa, como CAPA1, a la lista de capas. 3. Escribir un nombre de capa nuevo sobre el nombre de capa resaltado. Los nombres de capa no pueden incluir espacios en blanco. 4. Para cambiar las propiedades, haga clic en los iconos. Al hacer clic en Color, Tipo línea, Grosor de línea o Estilo de trazado, aparece un cuadro de diálogo. 5. (Opcional) Hacer clic en la columna Descripción e introduzca un texto. 6. Hacer clic en Aplicar para guardar los cambios o en Aceptar para guardar y cerrar. Para suprimir una capa no utilizada 1. Acceder al comando CAPAS según uno de los métodos antes indicados 2. En el Administrador de propiedades de capas, seleccione la capa y haga clic en el botón Suprimir capa. Las capas que tienen objetos asignados a ellas no se pueden suprimir hasta que dichos objetos se asignen a otra capa diferente o se supriman. Las capas 0 y DEFPOINTS y la capa actual no se pueden eliminar. 3. Hacer clic en Aplicar para guardar los cambios o en Aceptar para guardar y cerrar. Se suprime la capa seleccionada. 6
  • 83.
    3. Sombreados Para poder llevar a cabo el sombreado de objetos se puede acceder al comando de las siguientes formas: 1. Ventana de comandos: sombrea 2. Caja de herramientas DIBUJO Una vez ejecutado el comando, nos aparecerá una cuadro de diálogo desde donde podemos: Caja Tipo y Patrón • Tipo. Establece el tipo de patrón. 9 Predefinido. Especifica un patrón de AutoCAD® predefinido. 9 Definido por el usuario. Crea un patrón de líneas basado en el tipo de línea actual del dibujo. Es posible determinar el ángulo y el interlineado del patrón definido por el usuario. 9 Personalizada. Especifica un patrón definido en cualquier archivo PAT personalizado que se haya añadido a la ruta de búsqueda de AutoCAD®. • Patrón. Desde dónde podemos seleccionar el tipo de patrón o estilo de sombreado que aplicaremos. Podemos seleccionarlos mediante el menú desplegable o, si hacemos clic sobre el botón [...] o sobre Muestra, desde una ventana que nos presenta un dibujo de los tipos de sombreado. Caja Angulo y Escala • Escala. Amplía o reduce un patrón de sombreado predefinido o personalizado. Esta opción se encuentra únicamente disponible si se ha establecido Tipo en Predefinido o Personalizada. 7
  • 84.
    Ángulo. Define un ángulo para el patrón de sombreado en relación con el eje X del SCP (Sistema de Coordenadas Personalizadas) actual. • Intervalo. Especifica el interlineado en un patrón definido por el usuario. Esta opción sólo se encuentra disponible si se ha establecido Tipo en Definido por el usuario. Caja Opciones • Asociativo. El sombreado se presentará como un solo elemento. • Crear sombreados independientes. El sombreado se realizará como líneas independientes editables por separado. Caja Contornos • Designar Puntos. Determina un contorno a partir de objetos existentes que forman un área cerrada. El procedimiento que seguirá AutoCAD® para detectar los objetos al utilizar esta opción dependerá del Método de detección de islas seleccionado: Mientras precisamos los puntos, podemos hacer clic con el botón derecho en el área de dibujo en cualquier momento para ver un menú contextual. Podemos deshacer la última o todas las precisiones de puntos, cambiar el método de selección, cambiar el estilo de detección de islas o realizar una vista preliminar del sombreado. • Seleccionar objetos. Seleccionamos los objetos que nos servirán de contorno a sombrear. Caja Islas • Estilo de detección de islas. Precisa el método usado para sombrear objetos dentro del contorno de sombreado más externo. 9 Normal. Sombrea hacia dentro desde el contorno exterior. Si AutoCAD® se encuentra con una intersección interna, desactiva el sombreado hasta que encuentra otra intersección. De este modo, se sombrean las áreas separadas desde la parte externa del área sombreada mediante un número impar de intersecciones, mientras que se dejan sin sombrear las áreas separadas por un número par de intersecciones. 8
  • 85.
    9 Exterior. Sombrea hacia dentro desde el contorno exterior. AutoCAD® desactiva el sombreado si encuentra una intersección interna y no lo vuelve a activar. Puesto que este proceso empieza desde ambos extremos de cada línea de sombreado, AutoCAD® sólo sombrea el nivel más externo de la estructura, dejando el blanco la estructura interna. 9 Ignorar. Ignora todos los objetos internos y sombrea a través de los mismos. Caja Conservación de contornos • Tipo de objeto. Permite determinar si se desean conservar o no los contornos como objetos, así como el tipo de objeto que AutoCAD® aplicará a dichos objetos. 9 Retener contornos. Añade los objetos de contorno temporales al dibujo. 9 Tipo de objeto. Controla el tipo del nuevo objeto de contorno. AutoCAD® crea el contorno como una región o polilínea. Esta opción sólo se encuentra disponible si se ha seleccionado Mantener contornos. Varios • Heredar propiedades. Aplica las propiedades de un sombreado existente que deberemos seleccionar. • Previsualizar. Presentación preliminar del sombreado antes de validarlo definitivamente 9
  • 86.
    4. Prácticas propuestas 4.1.Pieza 01 Utilizando todos los comandos y herramientas vistas hasta el momento, realizar la siguiente pieza, teniendo en cuenta los siguientes parámetros de configuración: • Capas. Se deberán crear las siguientes capas: 1. PIEZA. Capa donde se dibujará el contorno de la pieza. Utilizar en esta capa el color verde y grosor de línea 0,30. 2. EJES. Capa donde se dibujarán los ejes. Utilizar en esta capa el color rojo y estilo de línea TRAZO_Y_PUNTO2. • Sombreado. Se deberán configurar el sombreado de la siguiente forma: 1. Tipo: Definido por el usuario 2. Angulo: 45º 3. Intervalo: 5 unidades Ø54 Ø24 80 20 20 3 Ø48 Ø52 94 10
  • 87.
    4.2. Pieza 02 Utilizando todos los comandos y herramientas vistas hasta el momento, realizar la siguiente pieza, teniendo en cuenta los siguientes parámetros de configuración: • Capas. Se deberán crear las siguientes capas: 1. PIEZA. Capa donde se dibujará el contorno de la pieza. Utilizar en esta capa el color verde y grosor de línea 0,30. 2. EJES. Capa donde se dibujarán los ejes. Utilizar en esta capa el color rojo y estilo de línea TRAZO_Y_PUNTO2. 3. OCULTAS. Capa donde se dibujarán las líneas ocultas. Utilizar en esta capa el color rojo y estilo de línea TRAZOS2. • Sombreado. Se deberán configurar el sombreado de la siguiente forma: 1. Tipo: Definido por el usuario 2. Angulo: 45º 3. Intervalo: 3 unidades Ø50 40 15 10 70 60 80 110 130 11
  • 88.
    4.3. Polea Utilizando todos los comandos y herramientas vistas hasta el momento, realizar la siguiente polea, teniendo en cuenta los siguientes parámetros de configuración: • Capas. Se deberán crear las siguientes capas: 1. PIEZA. Capa donde se dibujará el contorno de la pieza. Utilizar en esta capa el color verde y grosor de línea 0,30. 2. EJES. Capa donde se dibujarán los ejes. Utilizar en esta capa el color rojo y estilo de línea TRAZO_Y_PUNTO2. 3. OCULTAS. Capa donde se dibujarán las líneas ocultas. Utilizar en esta capa el color rojo y estilo de línea TRAZOS2. • Sombreado. Se deberán configurar el sombreado de la siguiente forma: 1. Tipo: Definido por el usuario 2. Angulo: 45º 3. Intervalo: 3 unidades Ø70 Ø45 25 5 Ø30 Ø55 Ø80 12
  • 89.
    Temas tratados enesta clase: 7 • Ejercicios Propuestos 1. Ejercicios Propuestos 1.1. Pieza 01 Dibujar la siguiente pieza, teniendo en cuenta estos parámetros de configuración: • Capas. Se deberán crear las siguientes capas: 1. PIEZA. Capa donde se dibujará el contorno de la pieza. Utilizar en esta capa el color verde y grosor de línea 0,30. 2. EJES. Capa donde se dibujarán los ejes. Utilizar en esta capa el color rojo y estilo de línea TRAZO_Y_PUNTO2. 3. OCULTAS. Capa donde se dibujarán las líneas ocultas. Utilizar en esta capa el color rojo y estilo de línea TRAZOS2. • Sombreado. Se deberán configurar el sombreado de la siguiente forma: 1. Tipo: Definido por el usuario 2. Angulo: 45º 3. Intervalo: 5 unidades 70 120 125 75 100 230 1
  • 90.
    1.2. Bisagra Dibujar la bisagra, teniendo en cuenta los siguientes parámetros de configuración: • Capas. Se deberán crear las siguientes capas: 1. PIEZA. Capa donde se dibujará el contorno de la pieza. Utilizar en esta capa el color verde y grosor de línea 0,30. 2. EJES. Capa donde se dibujarán los ejes. Utilizar en esta capa el color rojo y estilo de línea TRAZO_Y_PUNTO2. 3. OCULTAS. Capa donde se dibujarán las líneas ocultas. Utilizar en esta capa el color rojo y estilo de línea TRAZOS2. • Sombreado. Se deberán configurar el sombreado de la siguiente forma: 1. Tipo: Definido por el usuario 2. Angulo: 45º 3. Intervalo: 3 unidades 10 120 100 20 30 Ø30 20 30 2
  • 91.
    1.3. Pieza 02 Dibujar la pieza, teniendo en cuenta los siguientes parámetros de configuración: • Capas. Se deberán crear las siguientes capas: 1. PIEZA. Capa donde se dibujará el contorno de la pieza. Utilizar en esta capa el color verde y grosor de línea 0,30. 2. EJES. Capa donde se dibujarán los ejes. Utilizar en esta capa el color rojo y estilo de línea TRAZO_Y_PUNTO2. 3. OCULTAS. Capa donde se dibujarán las líneas ocultas. Utilizar en esta capa el color rojo y estilo de línea TRAZOS2. • Sombreado. Se deberán configurar el sombreado de la siguiente forma: 1. Tipo: Definido por el usuario 2. Angulo: 45º 3. Intervalo: 3 unidades Para la realización de la línea quebrada que delimita el sombreado se deberá utilizar el comando BOCETO. Como ocurrirá muchas veces durante vuestra vida profesional, si no conocéis como se utiliza un comando, deberéis recurrir a la ayuda ( Menú ? ). 60 20 18 22 7 7 Ø24 Ø16 41 20 85 110 Ø18 24 18 42 3
  • 92.
    1.4. Casquillo Dibujar el casquillo, teniendo en cuenta los siguientes parámetros de configuración: • Capas. Se deberán crear las siguientes capas: 1. PIEZA. Capa donde se dibujará el contorno de la pieza. Utilizar en esta capa el color verde y grosor de línea 0,30. 2. EJES. Capa donde se dibujarán los ejes. Utilizar en esta capa el color rojo y estilo de línea TRAZO_Y_PUNTO2. 3. OCULTAS. Capa donde se dibujarán las líneas ocultas. Utilizar en esta capa el color rojo y estilo de línea TRAZOS2. • Sombreado. Se deberán configurar el sombreado de la siguiente forma: 1. Tipo: Definido por el usuario 2. Angulo: 45º 3. Intervalo: 3 unidades Ø50 45 60 130 10 4
  • 93.
    1.5. Soporte Dibujar el sopoorte, teniendo en cuenta los siguientes parámetros de configuración: • Capas. Se deberán crear las siguientes capas: 1. PIEZA. Capa donde se dibujará el contorno de la pieza. Utilizar en esta capa el color verde y grosor de línea 0,30. 2. EJES. Capa donde se dibujarán los ejes. Utilizar en esta capa el color rojo y estilo de línea TRAZO_Y_PUNTO2. 3. OCULTAS. Capa donde se dibujarán las líneas ocultas. Utilizar en esta capa el color rojo y estilo de línea TRAZOS2. • Sombreado. Se deberán configurar el sombreado de la siguiente forma: 1. Tipo: Definido por el usuario 2. Angulo: 45º 3. Intervalo: 3 unidades 100 20 150 40 20 200 5
  • 94.
    Temas tratados enesta clase: 8 • Bloques • Acotaciones • Ejercicios Propuestos 1. Bloques Un bloque se forma a partir de uno o varios objetos combinados para crear un único objeto. Los bloques le ayudan a volver a utilizar objetos en el mismo dibujo o en otros distintos. 1.1. Creación de bloques Los bloques se crean asociando objetos y asignándoles un nombre. Tras definir un bloque en un dibujo, puede insertar una referencia a bloque en el dibujo tantas veces como sea necesario. Use este método para crear bloques rápidamente. Cada definición de bloque incluye un nombre, uno o más objetos y los valores de coordenadas del punto base que se utilizarán para insertar el bloque. El punto base se utiliza como referencia para emplazar el bloque en el lugar en que se ha insertado. Supongamos, por ejemplo que se especifica el punto de base en la esquina inferior izquierda de un objeto del bloque; posteriormente, al insertar el bloque, se le solicita un punto de inserción. El punto base del bloque se alinea con el punto de inserción que se especifique. Para definir un bloque para el dibujo actual 1. Cree los objetos que desee utilizar en la definición del bloque. 2. En el menú Dibujo, haga clic en Bloque Crear. También se puede pulsar al botón de la barra de herramientas DIBUJO. 3. En el cuadro de diálogo Definición de bloque, escriba el nombre del bloque en la casilla Nombre. 4. En Objetos, seleccione Convertir en bloque. Si desea que los objetos originales empleados para crear la definición de bloque permanezcan en el dibujo, compruebe que la opción Suprimir no está seleccionada. Si lo está, los objetos originales se borrarán del dibujo. 5. Haga clic en Designar objetos. 6. Utilice el ratón para designar los objetos que se van a incluir en la definición de bloque. Pulse INTRO para concluir la selección de objetos. 7. En el cuadro de diálogo Definición de bloque, en la sección Punto base, especifique el punto de inserción del bloque utilizando uno de estos métodos: • Haga clic en Designar punto para especificar un punto con el dispositivo ratón. 1
  • 95.
    • Escriba losvalores de las coordenadas X,Y,Z del punto. 8. En la casilla Descripción, escriba una descripción para la definición de bloque. 9. Haga clic en Aceptar. El bloque quedará definido entonces en el dibujo actual y se podrá insertar en cualquier momento. 1.2. Inserción de bloques Cuando inserta un bloque, debe determinar su ubicación, factor de escala y ángulo de rotación. Puede especificar la escala de una referencia a bloque utilizando valores X, Y y Z diferentes. Al insertar un bloque se crea un objeto denominado referencia a bloque, ya que hace referencia a una definición de bloque almacenada en su dibujo actual. Para insertar un bloque definido en el dibujo actual 1. En el menú Insertar, haga clic en Bloque. También se puede pulsar al botón de la barra de herramientas DIBUJO. 2. En el cuadro de diálogo Insertar, en el nombre del bloque, seleccione un nombre de una lista de definiciones de bloque. 3. Si desea utilizar el ratón para especificar el punto de inserción, la escala y la rotación, seleccione Especificar en pantalla. En caso contrario, escriba valores en las casillas Punto de inserción, Escala y Rotación. 4. Si desea que los objetos del bloque se inserten como objetos individuales en lugar que como un bloque único, seleccione Descomponer. 5. Haga clic en Aceptar. 1.3. Modificación de bloques El usuario puede modificar las definiciones de bloque o las referencias a bloque que ya se hayan insertado en el dibujo. Es posible redefinir las definiciones de bloque en el dibujo actual. La redefinición de una definición de bloque afecta a las inserciones previas y futuras del bloque en el dibujo actual. 1.3.1 Modificación de una definición de bloque en el dibujo actual Para modificar una definición de bloque, siga el procedimiento empleado para crear una definición de bloque nuevo, pero escriba el nombre de la definición de bloque existente. Esta acción reemplaza la definición de bloque existente, por lo que todas las referencias a ese bloque se actualizan inmediatamente para reflejar la nueva definición. Para ahorrar tiempo, puede insertar y descomponer un duplicado del bloque original y luego utilizar los objetos resultantes para crear la nueva definición de bloque. 2
  • 96.
    1.3.2 Desensamblaje deuna referencia a bloque (Descomponer) Si necesita modificar por separado uno o más objetos incluidos en un bloque, puede desensamblar, o descomponer, la referencia a bloque en sus componentes. Después de realizar los cambios, puede: • Crear una nueva definición de bloque • Redefinir la definición de bloque existente • No combinar los componentes para utilizarlos en otra ocasión Puede descomponer automáticamente referencias a bloque a medida que las inserta seleccionando la opción Descomponer en el cuadro de diálogo Insertar. Para descomponer una referencia a bloque 1. En el menú Modificar, haga clic en Descomponer. También puede pulsar el botón en la caja de herramientas DIBUJO. 2. Seleccione el bloque que desee descomponer y pulse INTRO. La referencia a bloque se desensambla en sus componentes; no obstante, la definición de bloque todavía existe en el dibujo y se podrá insertar posteriormente. 1.4. Eliminación de definiciones de bloque Para reducir el tamaño de un dibujo, es posible suprimir definiciones de bloque que no se utilicen. Puede eliminar una referencia a bloque de su dibujo borrándola; sin embargo, la definición de bloque permanecerá en la tabla de definición de bloque del dibujo. Para suprimir definiciones de bloque no utilizadas y reducir el tamaño del dibujo, utilice LIMPIA en cualquier momento durante su sesión de dibujo. Antes de limpiar una definición de bloque, se deben borrar todas las referencias. Para suprimir una definición de bloque 1. En el menú Archivo, haga clic en Ayudas al dibujo Limpiar. El cuadro de diálogo Limpiar muestra una vista en árbol de objetos con nombre que se pueden limpiar. 2. Para limpiar bloques, utilice uno de los métodos siguientes: • Para limpiar todos los bloques sin referencia, seleccione Bloques. • Para limpiar bloques específicos, haga doble clic en Bloques para ampliar la vista en árbol. Designe los bloques que desea limpiar. Si el elemento que desea limpiar no aparece en la lista, seleccione Ver objetos que no se puedan limpiar. 3. Se le pedirá que confirme cada elemento de la lista. Si no desea confirmar cada limpieza, desactive la opción Confirmar cada objeto a limpiar. 4. Haga clic en Limpiar. Para confirmar la limpieza de cada elemento, responda a la petición eligiendo Sí o No o Sí a todo si ha designado más de un elemento. 5. Seleccione más elementos que desee limpiar o haga clic Cerrar. 3
  • 97.
    2. Acotaciones 2.1. Informacióngeneral de las acotaciones Las cotas muestran las medidas de los objetos, las distancias o ángulos entre objetos o la distancia de una característica desde el origen que se especifique. AutoCAD® proporciona tres tipos básicos de cotas: lineal, radial y angular. Las acotaciones pueden ser horizontales, verticales, alineadas, giradas, coordenadas, de líneas de base o continuas. Se pueden acotar objetos, tales como líneas, arcos, círculos y segmentos de polilínea, o la distancia entre ubicaciones de puntos. AutoCAD® ubica las cotas en la capa actual. Cada cota asume el estilo de cota actual, que controla características tales como el estilo del extremo de cota, la posición del texto y las tolerancias laterales. Con distintos estilos de cota se pueden realizar modificaciones simples a un estilo de cota base para los diferentes tipos de cota. 2.2. Partes de una cota Las cotas se componen de varios elementos bien diferenciados: texto de cota, líneas de cota, extremos de la cota y líneas de referencia. El texto de cota es una cadena de texto que normalmente indica el valor de la medición, aunque puede incluir, además, prefijos, sufijos y tolerancias. Una línea de cota indica la dirección y la extensión de una cota. En las cotas angulares, la línea de cota es un arco. 4
  • 98.
    Los extremos decota, también llamados símbolos de terminación, se muestran en cada extremo de la línea de cota. Es posible precisar diferentes tamaños y formas para los extremos o extremidades de cota. Las líneas de referencia, también llamadas líneas de proyección o de referencia, se extienden desde la característica a la línea de cota. Una marca de centro es una pequeña cruz que indica el centro de un círculo o de un arco. Las líneas de centro son líneas discontinuas que indican el centro de un círculo o de un arco. 2.3. Personalización estilos de cota A la hora de introducir cotas en el dibujo, lo primero que deberíamos hacer es personalizar las cotas en función de las características propias de los objetos que estamos dibujando. Personalizar completamente el estilo de las cotas es algo muy complejo, ya que AutoCAD® ofrecen decenas de opciones, normas y variables. En nuestro caso, vamos a conocer los conceptos básicos para realizar cambios puntuales en los estilos de cota. No es el objetivo de esta clase ver todos y cada uno de los parámetros que las componen. Los métodos que tenemos para acceder a los estilos de cota son: 1. Menú Acotar Æ Estilo 2. Ventana de comandos: ACOESTIL 3. Caja de herramientas ACOTAR Una vez ejecutado el comando, nos aparece una ventana de diálogo (Administrador de estilos de cota), seleccionamos el estilo que queremos modificar y pulsamos el botón Modificar, lo cual hará que nos aparezca otra ventana de diálogo donde podemos cambiar los valores para las cotas. 2.3.1 Líneas 5
  • 99.
    2.3.2 Símbolos yflechas 2.3.3 Texto 6
  • 100.
    2.3.4 Ajustar La escala de una cota afecta al tamaño de la geometría de cota relativa con respecto a los objetos del dibujo. La escala de las cotas se aplica a tamaños concretos como, por ejemplo, la altura del texto o el tamaño de las flechas, y a desfases como, por ejemplo, al desfase de las líneas de referencia. Estos tamaños y desfases deben definirse con valores que representen su tamaño de impresión real. La escala de acotación no aplica el factor de escala global a las tolerancias, longitudes, coordenadas o ángulos medidos. La determinación de la escala de cota depende de có mo se presente el dibujo. 2.3.5 Unidades Principales 7
  • 101.
    3. Ejercicios Propuestos 3.1.Señalización de tráfico Crear los bloques correspondientes a las flechas, e insertarlos en el dibujo creando el esquema que aparece debajo de ellas. 8
  • 102.
    3.2. Acotación Dada la siguiente pieza, dibujar las vistas que representan el alzado, la planta y la vista izquierda. Se deberán incluir las líneas ocultas y los ejes que se consideren oportunos, para lo cual se crearán las capas adecuadas. Una vez terminado se incluirán en todas las vistas, al menos las cotas que aparecen en la figura. Para la realización de la pieza se utilizará el SISTEMA EUROPEO de representación. De forma resumida tendremos: (A) Vista de frente o alzado (B) Vista superior o planta (C) Vista derecha o lateral derecha (D) Vista izquierda o lateral izquierda (E) Vista inferior (F) Vista posterior 9
  • 103.
    3.3. Simbología 3.3.1 Industrial Crear los bloques correspondientes a una válvula, bomba, centrifugadora y tanque, e insertarlos en el dibujo creando el esquema que aparece a su derecha. 3.3.2 Simbología informática Crear los bloques correspondientes al ordenador, impresora y conexión, e insertarlos en el dibujo creando el esquema que aparece a su derecha. 10
  • 104.
    3.3.3 Electricidad Crear los bloques correspondientes al ordenador, impresora y conexión, e insertarlos en el dibujo creando el esquema que aparece a su derecha. 11
  • 105.
    Temas tratados enesta clase: 9 • Resumen Sistema Europeo Representación • Ejercicios Propuestos (Vistas) 1. Resumen Sistema Europeo de Representación Para la realización de la pieza se utilizará el SISTEMA EUROPEO de representación. De forma resumida tendremos: (A) Vista de frente o alzado (B) Vista superior o planta (C) Vista derecha o lateral derecha (D) Vista izquierda o lateral izquierda (E) Vista inferior (F) Vista posterior 1
  • 106.
    2. Ejercicios Propuestos 2.1.Vistas 01 Dada la siguiente pieza, dibujar las vistas que representan el alzado, la planta y la vista izquierda. Se deberán incluir las líneas ocultas y los ejes que se consideren oportunos, para lo cual se crearán las capas adecuadas. Una vez terminado se incluirán en todas las vistas, al menos las cotas que aparecen en la figura. Para la realización de la pieza se utilizará el SISTEMA EUROPEO de representación. 2
  • 107.
    2.2. Vistas 02 Dada la siguiente pieza, dibujar las vistas que representan el alzado, la planta y la vista derecha. Se deberán incluir las líneas ocultas y los ejes que se consideren oportunos, para lo cual se crearán las capas adecuadas. Una vez terminado se incluirán en todas las vistas, al menos las cotas que aparecen en la figura. Para la realización de la pieza se utilizará el SISTEMA EUROPEO de representación. 3
  • 108.
    2.3. Vistas 03 Dada la siguiente pieza, dibujar las vistas que representan el alzado, la planta y la vista izquierda. Se deberán incluir las líneas ocultas y los ejes que se consideren oportunos, para lo cual se crearán las capas adecuadas. Una vez terminado se incluirán en todas las vistas, al menos las cotas que aparecen en la figura. Para la realización de la pieza se utilizará el SISTEMA EUROPEO de representación. 4