PRODUCCION DE CEMENTO HS CON CLINKER TIPO V Y
                        PUZOLANAS ACTIVADAS
                                      Ing. Julio A. Luján Túpez
                                   Cementos Pacasmayo S.A.A.


El presente trabajo describe las pruebas de investigación efectuadas para la obtención de cemento
HS a partir de clinker Tipo V y puzolana activadas




   1. INTRODUCCCION

La presencia de ambientes agresivos con altas concentraciones de Sulfatos y cloruros así como la
existencia de agregados reactivos como una única fuente de abastecimiento en diversas zonas del
norte del país nos plantearon la necesidad de producir un cemento con las cualidades que puedan
ser utilizadas en la elaboración de concreto que tenga como principal atributo la durabilidad.

La Historia nos brinda una alternativa ante este problema, la cultura romana nos ha legado vestigios
que demuestran plenamente lo que constituye uno de los atributos principales que buscamos,
Durabilidad, así tenemos al Panteón de Roma construido por Agripa Año 27 antes de Cristo
utilizando un hormigón preparado con puzolanas, cal y áridos ligeros. (1)




         Figura N° 1 Panteón de Roma construido por Agripa Año 27 antes de Cristo.
2.- DURABILIDAD
La durabilidad es una propiedad de los materiales que se define como su capacidad para resistir
las acciones del medioambiente, la meteorización, ataques físicos, químicos, la abrasión u otros
procesos de deterioro durante el ciclo de vida para el cual fue proyectado con mínimo
mantenimiento. Un hormigón durable conservará su forma, calidad y funcionalidad originales al
estar expuestos al medio ambiente (2,3)
En la presente investigación nos centraremos principalmente en los relacionado a los ataques
químicos.


2.1 Ataque Químico por Sulfatos


Diferentes compuestos de sulfato que se encuentran en la naturaleza en forma de sales o
disueltos en agua atacan los constituyentes del cemento.
Uno de los efectos más estudiados del ataque por sulfatos es la formación de etringita a partir
de sulfatos y aluminatos


          3CaO . Al 2 O3 + 3(CaSO 4 .2 H 2 O ) + 26 H 2 O → 3CaO . Al 2 O 3 .3CaSO 4 .32 H 2 O


La etringita causa un incremento de la pasta, que al encontrarse en estado endurecido produce
una fisuración progresiva con incremento de porosidad y la consiguiente disminución de la
resistencia. (3)
Otra reacción importante a considerar es la presencia de sales de Magnesio pues ocasiona un
doble efecto destructivo pues no solamente forma etringita y yeso sino además otras especies
químicas como la brucita Mg(OH)2 y ocasiona el reemplazo del Ca por Mg en el gel C-S-H
generando un compuesto que no tiene propiedades ligantes, destruyendo la estructura, fenómeno
que muchos autores indican es la reacción más común en fenómenos de ataque agresivos en el
campo(4).




                                                                                                 2
2.2 Exposición al Agua de Mar
El cemento en contacto con agua de mar sufre un deterioro que combina efectos químicos como
físicos , los iones atacan los productos de hidratación , facilitan la reacción álcali agregado , la
cristalización de sales en la zona de mareas y la corrosión de armaduras y otros efectos físicos
como la acción de las olas y objetos flotantes.
En la figura N° 2 se muestra un esquema del efecto del agua de mar sobre un pilar de hormigón
armado (2)




Figura N° 2 Esquema del Ataque típico del agua de mar sobre un pilar semisumergido
Fuente: E. F. Irassair ,2001 El Ataque químico al Hormigón AATH Durabilidad del Hormigón Estructural




2.3 Ataque por Acidos
El cemento es un material altamente alcalino (pH=12.7) que presenta un pobre desempeño
frente al contacto permanente o frecuente con ambientes ácidos.
Durante el ataque ácido, los iones H+ lixivian al hidróxido de Calcio en el cemento, cuando la
concentración de ácido es alta ataca los compuestos silico calcáreos hidratados


                                                                                                       3
descomponiéndolo en un gel de sílice sin resistencia y originando la formación de compuestos
solubles de calcio, de acuerdo con las siguientes reacciones. (2)




Por tal razón en ambientes con pH ácidos menores a 6.0, debe protegerse utilizando
recubrimientos especiales. En ambientes con ácidos débiles presentan mejor performance los
cementos adicionados que presentan puzolana y escoria de alto horno en su composición.
Para 4,5 < pH < 6.0 los cementos aluminosos presentan buena performance.
En general independientemente de su composición, ningún cemento puede soportar durante
mucho tiempo inmerso en agua pH menores a 3.0 (3)


2.4 Reacción Alcali Agregado
La reacción álcali – agregado es un fenómeno por el cual los álcalis Na2O y K2O del cemento o
provenientes del medio que ingresan al hormigón desde el exterior a través del agua reaccionan
con algunos componentes que pueden estar presentes en agregados reactivos ocasionando
expansiones internas anormales que pueden producir fisuración, agrietamientos o pérdida de
resistencia.
La reacción álcali agregado puede ser de 2 tipos:
Reacción Alcali- Sílice (RAS) reacción entre álcalis y sílice amorfa de agregados reactivos
Reacción Alcali- Carbonato(RAC) reacción entre álcalis y compuestos carbónicos presentes en
agregados calizos o dolomíticos (2)
Algunos estudios han demostrado que las zeolitas naturales presentan la propiedad de inhibir
las reacciones álcali agregado principalmente por intercambio ionico (4)




3.- PROCEDIMIENTO EXPERIMENTAL.
Considerando la necesidad de obtener un cemento de alta durabilidad y excelente performance
frente al ataque de sulfatos se diseñaron inicialmente pruebas experimentales de Laboratorio
considerando Clinker Tipo V por su bajo contenido en C3A, Puzolana cruda y Puzolana
calcinada materiales que contienen zeolita en su composición, a fin de evaluar su viabilidad.
Los resultados obtenidos de las pruebas de laboratorio se resumen en la tabla N° 1.




                                                                                                4
Tabla N° Pruebas físicas Laboratorio - Molien da Conjunta Clinker Tipo V+ Puzolana
           1




Como se puede observar en la Tabla N° 1 , el cemento preparado con puzolana calcinada presentó
mejor performance cumpliendo las exigencias de norma pero aún por debajo de la resistencias
iniciales obtenidas comparadas con el cemento Tipo V a edades de 1,3,7 días.
Se observó además que cuando se empleaba puzolana calcinada la demanda de agua se reducía
drásticamente, factor importante a considerar cuando se busca la durabilidad del cemento como
atributo principal.
Considerando los resultados se decidió dirigir la investigación a la utilización de puzolanas
calcinadas optimizando además la temperatura de activación



3.1 Activación Térmica de Puzolanas

La activación térmica permite mejorar las propiedades de puzolanas, así como activar arcillas y
caolines al incrementar su superficie específica y activar especies químicas por eliminación del
agua de cristalización.
Algunos estudios concluyeron que la temperatura de activación óptima se encontraba cerca de los
800°C temperatura sobre la cual el efecto era contraproducente (4,5)
Con la finalidad de optimizar la temperatura de calcinación específica para la puzolanas se efectuó
la activación a diferentes temperaturas 500°C , 700°C y 800°C luego se prepararon moliendas de
laboratorio de cemento para la puzolana obtenida a cada temperatura.
Los resultados obtenidos se adjuntan en la Tabla N° 2




                                                                                                      5
Tabla N°2 Pruebas de Optimización de Temperatura de Activación de Puzolanas




Como se observa en la Tabla N° 2 los mejores resultados en resistencia a la compresión a
diferentes edades se observó con puzolana activada a 700°C , efectuando la determinación del
modelo matemático tomando como referencia la resistencia a edad de 28 días se estableció como
temperatura óptima 672°C . Cabe mencionar que se estableció que debería evitarse exceder la
temperatura de 750°C pues sobre este punto el efecto es contraproducente. Figura N°3




3.2 Pruebas Molienda Industrial

Determinada la optimización de la temperatura se procedió a efectuar pruebas de molienda
industrial. Las pruebas se efectuaron en molino de bolas de 2 cámaras con separador de alta
eficiencia O´sepa,


                                                                                                6
Se utilizó en la composición Clinker Tipo V, Puzolana Calcinada , Arcilla Calcinada y yeso , los
análisis químicos de los materiales se detallan en el Anexo N° 1

Los resultados de los ensayos físicos efectuados a las moliendas evaluadas se detallan en la Tabla
N° 3

Tabla N°3 Análisis Químico Materias Primas – Molienda Industrial Cemento HS




Como podemos observar el mejor diseño obtenido fue la prueba constituida por un mix de
puzolanas y arcillas calcinadas , los valores de resistencia a la compresión obtenidos cumplen
ampliamente con los requerimientos exigidos por la norma ASTM C-1157 2008a-HS (6)
Así también se pudo observar que presentó una menor demanda de agua respecto al diseño que
presentaba únicamente puzolana calcinada en su composición.
Con el diseño de Cemento HS producido se efectuaron las siguientes evaluaciones a fin de
determinar su propiedades y atributos de durabilidad.


3.3 Atributos de Cemento HS

3.3.1 Resistencia a los Sulfatos

Con la finalidad de evaluar su resistencia a los sulfatos se efectuó la determinación de este atributo
siguiendo los siguientes métodos:

Método de Expansión en barras de Mortero – ASTM C 1012

Para esta evaluación se prepararon barras de mortero de acuerdo con el método ASTM C-1012, el
cual consiste en sumergir barras de mortero en solución de Na2SO4 y evaluar las variaciones en el
cambio en la longitud de las barras a través del tiempo.

                                                                                                         7
Los resultados obtenidos se detallan en el Tabla N° 4


Tabla N° 4 Pruebas de resistencia a los Sulfatos- Expansión de barras de Mortero
                    ASTM C-1012




La norma ASTM C-1157 establece que el valor máximo de expansión permisible a edad de 180 días
para cemento HS debe ser menor de 0.05 % , como se observa el cemento HS producido cumple
con este requisito.
La norma establece que de alcanzarse el requisito exigido a 6 meses ya no será requerido el valor a
1 año. El requisito de expansión máxima exigido a 1 año es de 0.1 %

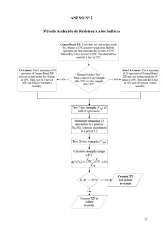
Método Acelerado de Resistencia a los Sulfatos (P.K .Metha)

Diversos autores señalan que la prueba de cambio en Longitud en barras de mortero no reproduce
las condiciones reales del medio al que esta expuesto el cemento en obra y por tal razón proponen
método alternativos que relacionan el efecto del ataque de los sulfatos con pérdidas en la resistencia
debido a las fisuraciones y deterioro de la estructura, uno de estos métodos fue establecido por P.K.
Metha
El método acelerado de resistencia a los Sulfatos establecido por Metha consiste en preparar
especimenes cúbicos de 50 mm de mortero de acuerdo con la norma ASTM C-109, efectuar curado
acelerado en solución saturada de Ca(OH)2 a 50 ºC por 7 días, para evaluar sus valores de
resistencia a la compresión y luego sumergir los especimenes en una solución al 4% Na2SO4
manteniendo el pH 7.2 por 28 días luego de lo cual se evalúa la resistencia. (7)
El procedimiento detallado utilizado se adjunta en el Anexo N° 2
Si la pérdida de resistencia es menor al 25 % se puede concluir que el cemento presenta resistencia
a los sulfatos, de acuerdo con la ecuación siguiente:




                                                                                                      8
Los resultados de la evaluación efectuada se detallan en el Tabla N° 5

Tabla N° 5. Prueba Acelerada de Resistencia a los Sulfatos – Método Metha




Como podemos observar después de 28 días no se presentó disminución alguna de resistencia en los
especímenes por el contrario continuaron incrementando su resistencia demostrando ampliamente el
atributo de resistencia a los sulfatos

3.2 Resistencia al Agua de Mar

Con la finalidad de establecer la performance del cemento HS en agua de mar se prepararon
especimenes cúbicos de cemento HS y cemento Tipo V y clinker Tipo V con puzolana calcinada
como muestras testigo, se sumergieron en agua de mar y se determinó su resistencia a la
compresión a diferentes edades hasta 180 días




             Figura N° 4 . Especímenes Cúbicos de 50 mm curados en agua de mar




                                                                                               9
Los resultados obtenidos demostraron que el cemento HS (mix puzolana arcilla calcinada) presento
la mejor performance cumpliendo ampliamente las normas Tabla N° 6


Tabla N° 6 Resistencia a la compresión de especímenes cúbicos –Cemento HS sumergidos en
          agua de mar




Es importante observar que el cemento Tipo V no obstante los niveles bajos en C3A, no alcanzó los
requerimientos mínimos de resistencia establecidos por las normas ASTM C-1157




Figura N° 5 Resistencia a la compresión a diferentes edades – curados en agua de mar




                                                                                               10
3.3 Resistencia al Ataque de Sulfatos en Medios Acidos

Con la finalidad de establecer la resistencia a los sulfatos en medios ácidos, se efectuó prueba
experimental realizando una variación del método propuesto por P.K.Metha , controlando el pH de
la solución al 4% de Na2SO4 a pH =4.0 con H2SO4
Los especímenes cúbicos expuestos a pH = 4.0 después de efectuadas la evaluación visualmente no
presentaban deterioro ni figuraciones Fig N°6




   Fig N °6 Espécimen Cúbico 50 mm Cemento HS después de 28 días de tratamiento ácido
                                      PH=4.0


Los resultados de la evaluación de resistencia a la compresión se detallan en la Tabla N° 7

Tabla N° 7 Prueba Acelerada de Resistencia a los Sulfatos en medios Acidos pH=4.0
                                (adaptación Metha)




Como podemos observar después de la exposición en medio ácido se determinó una reducción de
4.89 % del valor de resistencia, considerando el mismo criterio de P.K. Metha como límite de
aceptación una pérdida máxima del 25 % podemos concluir que le cemento HS presenta una
excelente performance a resistencia a los sulfatos en medios ácidos pH =4.0
                                                                                                   11
3.4 Resistencia Reacción alcali- agregado.

Con la finalidad de evaluar si el cemento HS producido cumple con la opción R – Baja reactividad a
los agregados reactivos se envió muestras de cemento a los laboratorios de ARPL a fin de efectuar
la evaluación de la Reactividad Alcali-Agregado de acuerdo con la norma ASTM C-227.
Los resultados obtenidos se muestran en la Tabla N° 8


Tabla N° 8 Pruebas de Evaluación Reactividad Alcali-Agregado ASTM C-227




Como podemos observar los valores de expansión obtenidos cumplieron ampliamente con las
exigencias señaladas en la norma por tanto el cemento evaluado es un cemento HS(R).



5. CONCLUSIONES

5.1 El cemento HS tiene excelentes propiedades de Resistencia a los Sulfatos
5.2 El cemento HS tiene la capacidad de soportar el ataque Sulfatos de medios altamente agresivos
    a pH ácidos (pH=4.0)
5.3 El cemento HS presenta buena performance para la resistencia al agua de mar.
5.4 El cemento HS es un cemento de baja reactividad con agregados silice- reactivos, cumple con
    la Opción R , puede usarse en obras que presentan agregados reactivos




                                                                                                12
6. REFERENCIAS

6.1 Fernández Cánovas Manuel “Durabilidad del Hormigón en Ambiente Marino” Universidad
    Politécnica de Madrid, España 2004 pp 1-23 .

6.2 Becker Edgardo “Durabilidad del Hormigón Cementos LOMA NEGRA C.I.A.S.A. Argentina.
    www.lomanegra.com.ar

6.3 American Concrete Institute Guía para la Durabilidad del Hormigón ACI 201.2R-01

6.4 Shondeep L Sarkar/ S.N.Ghosh “Mineral Admixtures in Cement And Concrete” Volume 4
    Akademia Books International New Dehli India 1993 pp 396-466

6.5 S.N. Ghosh “Cement and Concrete Science & Technology” Volume 1 Akademia Books
    International New Dehli India 1991 pp 314-345

6.6 ASTM International , “Annual Book of ASTM Standards 2008 Section Four Construction”
    Volume 4.01 Cement ;Lime; Gypsum ASTM C1157-08a Standard Performance for Hydraulic
    Cement USA 2009

6.7 Monteiro Paulo, Roesler Jeffery, Kurtis Kimberly , Harvey John “Accelerated test for
    Measuring Sulfate Resistance of Hydraulic Cements for Caltrans LLPRS Program” Institute of
    Trasnportation Studies. University of California - Pavement Research Center April 2000

6.8 ASTM International , “Annual Book of ASTM Standards 2008 Section Four Construction”
    Volume 4.01 Cement ;Lime; Gypsum ASTM C1012-04 Standard Test Method for Length
    Change of Hydraulic-Cement Mortars Exposed to a Sulfate Solution pp 513-518 USA 2008

6.9 ASTM International , “Annual Book of ASTM Standards 2006 Section Four Construction”
    Volume 04.02 Concrete an Aggregates ASTM C227-03 Standard Test Methods for Potential
    Alkali Reactivity of Cement Aggregate Combinations (Mortar-Bar Method) pp 152-156 USA
    2008

6.10 ASTM International , “Annual Book of ASTM Standards 2006 Section Four Construction”
     Volume 4.01 Cement; Lime; Gypsum ASTM C109/109M-07 Standard Test Methods for
     Compresive Strength of Hydraulic Cement Mortars(Using 2- inch or 50 mm Cube Specimens)
     pp 78-86 USA 2008




                                                                                             13
ANEXO 1

Análisis Químico Materias Primas – Molienda Industrial Cemento HS




                                                                    14
ANEXO N° 2


Método Acelerado de Resistencia a los Sulfatos




                                                 15

Produccion de cemento HS

  • 1.
    PRODUCCION DE CEMENTOHS CON CLINKER TIPO V Y PUZOLANAS ACTIVADAS Ing. Julio A. Luján Túpez Cementos Pacasmayo S.A.A. El presente trabajo describe las pruebas de investigación efectuadas para la obtención de cemento HS a partir de clinker Tipo V y puzolana activadas 1. INTRODUCCCION La presencia de ambientes agresivos con altas concentraciones de Sulfatos y cloruros así como la existencia de agregados reactivos como una única fuente de abastecimiento en diversas zonas del norte del país nos plantearon la necesidad de producir un cemento con las cualidades que puedan ser utilizadas en la elaboración de concreto que tenga como principal atributo la durabilidad. La Historia nos brinda una alternativa ante este problema, la cultura romana nos ha legado vestigios que demuestran plenamente lo que constituye uno de los atributos principales que buscamos, Durabilidad, así tenemos al Panteón de Roma construido por Agripa Año 27 antes de Cristo utilizando un hormigón preparado con puzolanas, cal y áridos ligeros. (1) Figura N° 1 Panteón de Roma construido por Agripa Año 27 antes de Cristo.
  • 2.
    2.- DURABILIDAD La durabilidades una propiedad de los materiales que se define como su capacidad para resistir las acciones del medioambiente, la meteorización, ataques físicos, químicos, la abrasión u otros procesos de deterioro durante el ciclo de vida para el cual fue proyectado con mínimo mantenimiento. Un hormigón durable conservará su forma, calidad y funcionalidad originales al estar expuestos al medio ambiente (2,3) En la presente investigación nos centraremos principalmente en los relacionado a los ataques químicos. 2.1 Ataque Químico por Sulfatos Diferentes compuestos de sulfato que se encuentran en la naturaleza en forma de sales o disueltos en agua atacan los constituyentes del cemento. Uno de los efectos más estudiados del ataque por sulfatos es la formación de etringita a partir de sulfatos y aluminatos 3CaO . Al 2 O3 + 3(CaSO 4 .2 H 2 O ) + 26 H 2 O → 3CaO . Al 2 O 3 .3CaSO 4 .32 H 2 O La etringita causa un incremento de la pasta, que al encontrarse en estado endurecido produce una fisuración progresiva con incremento de porosidad y la consiguiente disminución de la resistencia. (3) Otra reacción importante a considerar es la presencia de sales de Magnesio pues ocasiona un doble efecto destructivo pues no solamente forma etringita y yeso sino además otras especies químicas como la brucita Mg(OH)2 y ocasiona el reemplazo del Ca por Mg en el gel C-S-H generando un compuesto que no tiene propiedades ligantes, destruyendo la estructura, fenómeno que muchos autores indican es la reacción más común en fenómenos de ataque agresivos en el campo(4). 2
  • 3.
    2.2 Exposición alAgua de Mar El cemento en contacto con agua de mar sufre un deterioro que combina efectos químicos como físicos , los iones atacan los productos de hidratación , facilitan la reacción álcali agregado , la cristalización de sales en la zona de mareas y la corrosión de armaduras y otros efectos físicos como la acción de las olas y objetos flotantes. En la figura N° 2 se muestra un esquema del efecto del agua de mar sobre un pilar de hormigón armado (2) Figura N° 2 Esquema del Ataque típico del agua de mar sobre un pilar semisumergido Fuente: E. F. Irassair ,2001 El Ataque químico al Hormigón AATH Durabilidad del Hormigón Estructural 2.3 Ataque por Acidos El cemento es un material altamente alcalino (pH=12.7) que presenta un pobre desempeño frente al contacto permanente o frecuente con ambientes ácidos. Durante el ataque ácido, los iones H+ lixivian al hidróxido de Calcio en el cemento, cuando la concentración de ácido es alta ataca los compuestos silico calcáreos hidratados 3
  • 4.
    descomponiéndolo en ungel de sílice sin resistencia y originando la formación de compuestos solubles de calcio, de acuerdo con las siguientes reacciones. (2) Por tal razón en ambientes con pH ácidos menores a 6.0, debe protegerse utilizando recubrimientos especiales. En ambientes con ácidos débiles presentan mejor performance los cementos adicionados que presentan puzolana y escoria de alto horno en su composición. Para 4,5 < pH < 6.0 los cementos aluminosos presentan buena performance. En general independientemente de su composición, ningún cemento puede soportar durante mucho tiempo inmerso en agua pH menores a 3.0 (3) 2.4 Reacción Alcali Agregado La reacción álcali – agregado es un fenómeno por el cual los álcalis Na2O y K2O del cemento o provenientes del medio que ingresan al hormigón desde el exterior a través del agua reaccionan con algunos componentes que pueden estar presentes en agregados reactivos ocasionando expansiones internas anormales que pueden producir fisuración, agrietamientos o pérdida de resistencia. La reacción álcali agregado puede ser de 2 tipos: Reacción Alcali- Sílice (RAS) reacción entre álcalis y sílice amorfa de agregados reactivos Reacción Alcali- Carbonato(RAC) reacción entre álcalis y compuestos carbónicos presentes en agregados calizos o dolomíticos (2) Algunos estudios han demostrado que las zeolitas naturales presentan la propiedad de inhibir las reacciones álcali agregado principalmente por intercambio ionico (4) 3.- PROCEDIMIENTO EXPERIMENTAL. Considerando la necesidad de obtener un cemento de alta durabilidad y excelente performance frente al ataque de sulfatos se diseñaron inicialmente pruebas experimentales de Laboratorio considerando Clinker Tipo V por su bajo contenido en C3A, Puzolana cruda y Puzolana calcinada materiales que contienen zeolita en su composición, a fin de evaluar su viabilidad. Los resultados obtenidos de las pruebas de laboratorio se resumen en la tabla N° 1. 4
  • 5.
    Tabla N° Pruebasfísicas Laboratorio - Molien da Conjunta Clinker Tipo V+ Puzolana 1 Como se puede observar en la Tabla N° 1 , el cemento preparado con puzolana calcinada presentó mejor performance cumpliendo las exigencias de norma pero aún por debajo de la resistencias iniciales obtenidas comparadas con el cemento Tipo V a edades de 1,3,7 días. Se observó además que cuando se empleaba puzolana calcinada la demanda de agua se reducía drásticamente, factor importante a considerar cuando se busca la durabilidad del cemento como atributo principal. Considerando los resultados se decidió dirigir la investigación a la utilización de puzolanas calcinadas optimizando además la temperatura de activación 3.1 Activación Térmica de Puzolanas La activación térmica permite mejorar las propiedades de puzolanas, así como activar arcillas y caolines al incrementar su superficie específica y activar especies químicas por eliminación del agua de cristalización. Algunos estudios concluyeron que la temperatura de activación óptima se encontraba cerca de los 800°C temperatura sobre la cual el efecto era contraproducente (4,5) Con la finalidad de optimizar la temperatura de calcinación específica para la puzolanas se efectuó la activación a diferentes temperaturas 500°C , 700°C y 800°C luego se prepararon moliendas de laboratorio de cemento para la puzolana obtenida a cada temperatura. Los resultados obtenidos se adjuntan en la Tabla N° 2 5
  • 6.
    Tabla N°2 Pruebasde Optimización de Temperatura de Activación de Puzolanas Como se observa en la Tabla N° 2 los mejores resultados en resistencia a la compresión a diferentes edades se observó con puzolana activada a 700°C , efectuando la determinación del modelo matemático tomando como referencia la resistencia a edad de 28 días se estableció como temperatura óptima 672°C . Cabe mencionar que se estableció que debería evitarse exceder la temperatura de 750°C pues sobre este punto el efecto es contraproducente. Figura N°3 3.2 Pruebas Molienda Industrial Determinada la optimización de la temperatura se procedió a efectuar pruebas de molienda industrial. Las pruebas se efectuaron en molino de bolas de 2 cámaras con separador de alta eficiencia O´sepa, 6
  • 7.
    Se utilizó enla composición Clinker Tipo V, Puzolana Calcinada , Arcilla Calcinada y yeso , los análisis químicos de los materiales se detallan en el Anexo N° 1 Los resultados de los ensayos físicos efectuados a las moliendas evaluadas se detallan en la Tabla N° 3 Tabla N°3 Análisis Químico Materias Primas – Molienda Industrial Cemento HS Como podemos observar el mejor diseño obtenido fue la prueba constituida por un mix de puzolanas y arcillas calcinadas , los valores de resistencia a la compresión obtenidos cumplen ampliamente con los requerimientos exigidos por la norma ASTM C-1157 2008a-HS (6) Así también se pudo observar que presentó una menor demanda de agua respecto al diseño que presentaba únicamente puzolana calcinada en su composición. Con el diseño de Cemento HS producido se efectuaron las siguientes evaluaciones a fin de determinar su propiedades y atributos de durabilidad. 3.3 Atributos de Cemento HS 3.3.1 Resistencia a los Sulfatos Con la finalidad de evaluar su resistencia a los sulfatos se efectuó la determinación de este atributo siguiendo los siguientes métodos: Método de Expansión en barras de Mortero – ASTM C 1012 Para esta evaluación se prepararon barras de mortero de acuerdo con el método ASTM C-1012, el cual consiste en sumergir barras de mortero en solución de Na2SO4 y evaluar las variaciones en el cambio en la longitud de las barras a través del tiempo. 7
  • 8.
    Los resultados obtenidosse detallan en el Tabla N° 4 Tabla N° 4 Pruebas de resistencia a los Sulfatos- Expansión de barras de Mortero ASTM C-1012 La norma ASTM C-1157 establece que el valor máximo de expansión permisible a edad de 180 días para cemento HS debe ser menor de 0.05 % , como se observa el cemento HS producido cumple con este requisito. La norma establece que de alcanzarse el requisito exigido a 6 meses ya no será requerido el valor a 1 año. El requisito de expansión máxima exigido a 1 año es de 0.1 % Método Acelerado de Resistencia a los Sulfatos (P.K .Metha) Diversos autores señalan que la prueba de cambio en Longitud en barras de mortero no reproduce las condiciones reales del medio al que esta expuesto el cemento en obra y por tal razón proponen método alternativos que relacionan el efecto del ataque de los sulfatos con pérdidas en la resistencia debido a las fisuraciones y deterioro de la estructura, uno de estos métodos fue establecido por P.K. Metha El método acelerado de resistencia a los Sulfatos establecido por Metha consiste en preparar especimenes cúbicos de 50 mm de mortero de acuerdo con la norma ASTM C-109, efectuar curado acelerado en solución saturada de Ca(OH)2 a 50 ºC por 7 días, para evaluar sus valores de resistencia a la compresión y luego sumergir los especimenes en una solución al 4% Na2SO4 manteniendo el pH 7.2 por 28 días luego de lo cual se evalúa la resistencia. (7) El procedimiento detallado utilizado se adjunta en el Anexo N° 2 Si la pérdida de resistencia es menor al 25 % se puede concluir que el cemento presenta resistencia a los sulfatos, de acuerdo con la ecuación siguiente: 8
  • 9.
    Los resultados dela evaluación efectuada se detallan en el Tabla N° 5 Tabla N° 5. Prueba Acelerada de Resistencia a los Sulfatos – Método Metha Como podemos observar después de 28 días no se presentó disminución alguna de resistencia en los especímenes por el contrario continuaron incrementando su resistencia demostrando ampliamente el atributo de resistencia a los sulfatos 3.2 Resistencia al Agua de Mar Con la finalidad de establecer la performance del cemento HS en agua de mar se prepararon especimenes cúbicos de cemento HS y cemento Tipo V y clinker Tipo V con puzolana calcinada como muestras testigo, se sumergieron en agua de mar y se determinó su resistencia a la compresión a diferentes edades hasta 180 días Figura N° 4 . Especímenes Cúbicos de 50 mm curados en agua de mar 9
  • 10.
    Los resultados obtenidosdemostraron que el cemento HS (mix puzolana arcilla calcinada) presento la mejor performance cumpliendo ampliamente las normas Tabla N° 6 Tabla N° 6 Resistencia a la compresión de especímenes cúbicos –Cemento HS sumergidos en agua de mar Es importante observar que el cemento Tipo V no obstante los niveles bajos en C3A, no alcanzó los requerimientos mínimos de resistencia establecidos por las normas ASTM C-1157 Figura N° 5 Resistencia a la compresión a diferentes edades – curados en agua de mar 10
  • 11.
    3.3 Resistencia alAtaque de Sulfatos en Medios Acidos Con la finalidad de establecer la resistencia a los sulfatos en medios ácidos, se efectuó prueba experimental realizando una variación del método propuesto por P.K.Metha , controlando el pH de la solución al 4% de Na2SO4 a pH =4.0 con H2SO4 Los especímenes cúbicos expuestos a pH = 4.0 después de efectuadas la evaluación visualmente no presentaban deterioro ni figuraciones Fig N°6 Fig N °6 Espécimen Cúbico 50 mm Cemento HS después de 28 días de tratamiento ácido PH=4.0 Los resultados de la evaluación de resistencia a la compresión se detallan en la Tabla N° 7 Tabla N° 7 Prueba Acelerada de Resistencia a los Sulfatos en medios Acidos pH=4.0 (adaptación Metha) Como podemos observar después de la exposición en medio ácido se determinó una reducción de 4.89 % del valor de resistencia, considerando el mismo criterio de P.K. Metha como límite de aceptación una pérdida máxima del 25 % podemos concluir que le cemento HS presenta una excelente performance a resistencia a los sulfatos en medios ácidos pH =4.0 11
  • 12.
    3.4 Resistencia Reacciónalcali- agregado. Con la finalidad de evaluar si el cemento HS producido cumple con la opción R – Baja reactividad a los agregados reactivos se envió muestras de cemento a los laboratorios de ARPL a fin de efectuar la evaluación de la Reactividad Alcali-Agregado de acuerdo con la norma ASTM C-227. Los resultados obtenidos se muestran en la Tabla N° 8 Tabla N° 8 Pruebas de Evaluación Reactividad Alcali-Agregado ASTM C-227 Como podemos observar los valores de expansión obtenidos cumplieron ampliamente con las exigencias señaladas en la norma por tanto el cemento evaluado es un cemento HS(R). 5. CONCLUSIONES 5.1 El cemento HS tiene excelentes propiedades de Resistencia a los Sulfatos 5.2 El cemento HS tiene la capacidad de soportar el ataque Sulfatos de medios altamente agresivos a pH ácidos (pH=4.0) 5.3 El cemento HS presenta buena performance para la resistencia al agua de mar. 5.4 El cemento HS es un cemento de baja reactividad con agregados silice- reactivos, cumple con la Opción R , puede usarse en obras que presentan agregados reactivos 12
  • 13.
    6. REFERENCIAS 6.1 FernándezCánovas Manuel “Durabilidad del Hormigón en Ambiente Marino” Universidad Politécnica de Madrid, España 2004 pp 1-23 . 6.2 Becker Edgardo “Durabilidad del Hormigón Cementos LOMA NEGRA C.I.A.S.A. Argentina. www.lomanegra.com.ar 6.3 American Concrete Institute Guía para la Durabilidad del Hormigón ACI 201.2R-01 6.4 Shondeep L Sarkar/ S.N.Ghosh “Mineral Admixtures in Cement And Concrete” Volume 4 Akademia Books International New Dehli India 1993 pp 396-466 6.5 S.N. Ghosh “Cement and Concrete Science & Technology” Volume 1 Akademia Books International New Dehli India 1991 pp 314-345 6.6 ASTM International , “Annual Book of ASTM Standards 2008 Section Four Construction” Volume 4.01 Cement ;Lime; Gypsum ASTM C1157-08a Standard Performance for Hydraulic Cement USA 2009 6.7 Monteiro Paulo, Roesler Jeffery, Kurtis Kimberly , Harvey John “Accelerated test for Measuring Sulfate Resistance of Hydraulic Cements for Caltrans LLPRS Program” Institute of Trasnportation Studies. University of California - Pavement Research Center April 2000 6.8 ASTM International , “Annual Book of ASTM Standards 2008 Section Four Construction” Volume 4.01 Cement ;Lime; Gypsum ASTM C1012-04 Standard Test Method for Length Change of Hydraulic-Cement Mortars Exposed to a Sulfate Solution pp 513-518 USA 2008 6.9 ASTM International , “Annual Book of ASTM Standards 2006 Section Four Construction” Volume 04.02 Concrete an Aggregates ASTM C227-03 Standard Test Methods for Potential Alkali Reactivity of Cement Aggregate Combinations (Mortar-Bar Method) pp 152-156 USA 2008 6.10 ASTM International , “Annual Book of ASTM Standards 2006 Section Four Construction” Volume 4.01 Cement; Lime; Gypsum ASTM C109/109M-07 Standard Test Methods for Compresive Strength of Hydraulic Cement Mortars(Using 2- inch or 50 mm Cube Specimens) pp 78-86 USA 2008 13
  • 14.
    ANEXO 1 Análisis QuímicoMaterias Primas – Molienda Industrial Cemento HS 14
  • 15.
    ANEXO N° 2 MétodoAcelerado de Resistencia a los Sulfatos 15