NORMA TÉCNICA NTP 833.924
PERUANA 2009
Comisión de Normalización y de Fiscalización de Barreras Comerciales No Arancelarias - INDECOPI
Calle de La Prosa 138, San Borja (Lima 41) Apartado 145 Lima, Perú
GUÍA PARA EL DISEÑO CURRICULAR DE
PROGRAMAS EDUCATIVOS, DENTRO DE UN
SISTEMA DE GESTIÓN DE LA CALIDAD, EN UNA
ORGANIZACIÓN EDUCATIVA
GUIDES FOR THE CURRICULUM DEVELOPMENT OF EDUCATIONAL PROGRAMS INSIDE OF
A QUALITY MANAGEMENT SYSTEM, IN AN EDUCATIONAL ORGANIZATION
2009-05-13
1ª Edición
R.013-2009/INDECOPI-CNB. Publicada el 2009-05-23 Precio basado en 18 páginas
I.C.S.: 03.120.10 ESTA NORMA ES RECOMENDABLE
Descriptores: Guía, diseño curricular, programas educativos, sistema de gestión de calidad, organización
educativa
i
ÍNDICE
página
ÍNDICE i
PREFACIO ii
INTRODUCCIÓN iv
1. OBJETO 1
2. REFERENCIAS NORMATIVAS 1
3. CAMPO DE APLICACIÓN 2
4. DEFINICIONES 2
5. PROCESO DE DISEÑO CURRICULAR DE PROGRAMAS 5
EDUCATIVOS DENTRO UN SISTEMA DE GESTIÓN DE LA
CALIDAD, EN UNA ORGANIZACIÓN EDUCATIVA
6. ANTECEDENTES 8
ANEXOS
ANEXO A 9
ANEXO B 12
ANEXO C 13
ANEXO D 14
ANEXO E 15
ANEXO F 16
ANEXO G 17
FIGURAS
FIGURA 1 18
FIGURA 2 19
ii
PREFACIO
A.1 La presente Norma Técnica ha sido elaborada por el Comité Técnico de
Normalización de Gestión y aseguramiento de la calidad, Subcomité de Calidad en el
sector educación, mediante el Sistema 2 u Ordinario, durante los meses de abril de 2007
a diciembre de 2008, utilizando como antecedentes a los documentos que se mencionan
en el capítulo correspondiente.
A.2 El Comité Técnico de Normalización de Gestión y aseguramiento de la
calidad presentó a la Comisión de Normalización y de Fiscalización de Barreras
Comerciales No Arancelarias -CNB-, con fecha 2008-12-30, el PNTP 833.924:2008,
para su revisión y aprobación, siendo sometido a la etapa de Discusión Pública el 2009-
03-13. No habiéndose presentado observaciones fue oficializado como Norma Técnica
Peruana NTP 833.924:2009 GUÍA PARA EL DISEÑO CURRICULAR DE
PROGRAMAS EDUCATIVOS, DENTRO DE UN SISTEMA DE GESTIÓN DE
LA CALIDAD, EN UNA ORGANIZACIÓN EDUCATIVA, 1ª Edición, el 23 de
mayo de 2009.
A.3 La presente Norma Técnica Peruana ha sido estructurado de acuerdo a
las Guías Peruanas GP 001:1995 y GP 002:1995.
B. INSTITUCIONES QUE PARTICIPARON EN LA ELABORACIÓN
DE LA NORMA TÉCNICA PERUANA
Secretaría INDECOPI
Presidente Erasmo Zorrilla Trizano
Secretaria Susana Segovia Valer
Coordinador Guillermo Salas Donohue
ENTIDAD REPRESENTANTE
Consorcio de Centros Educativos Mario Amorós Terrones
Católicos del Perú
Consultora Mirtha Olivares del Carpio
iii
Instituto Superior Tecnológico Carmen Luz Arce Cavero
“José Pardo” Elsa Baldeón Astuhuamán
ASMAC - Consultora Dora Panduro Vásquez
Universidad de Lima Bertha Díaz Garay
Universidad Privada Norbert Wiener Víctor Luís Izaguirre Pasquel
iv
INTRODUCCIÓN
El diseño curricular es uno de los procesos más importantes del servicio educativo.
En nuestro país el diseño de los programas educativos no es actualizado
permanentemente y por lo tanto, en la mayoría de los casos, no están acorde con la
modernidad.
Generalmente en la elaboración del diseño curricular, no se tiene en cuenta los
requerimientos de los clientes ni responde a la demanda y necesidades sociales; estando
en muchos casos obsoletos.
La presente guía contiene una serie de lineamientos para el diseño curricular de un
programa educativo o la mejora de éste, así como para su control, revisión, verificación
y validación dentro de un sistema de gestión de la calidad.
---oooOooo---
NORMA TÉCNICA NTP 833.924
PERUANA 1 de 18
GUÍA PARA EL DISEÑO CURRICULAR DE
PROGRAMAS EDUCATIVOS DENTRO DE UN
SISTEMA DE GESTIÓN DE LA CALIDAD, EN UNA
ORGANIZACIÓN EDUCATIVA
1. OBJETO
La presente Norma Técnica Peruana establece orientaciones para facilitar a las
instituciones educativas el diseño de una currícula acorde con un Sistema de Gestión de la
Calidad.
2. REFERENCIAS NORMATIVAS
Las siguientes normas contienen disposiciones que al ser citadas en este texto, constituyen
requisitos de esta Norma Técnica Peruana. Las ediciones indicadas estaban en vigencia en
el momento de esta publicación. Como toda norma, está sujeta a revisión, se recomienda a
aquellos que realicen acuerdo en base a ellas, analicen la conveniencia de usar las
ediciones recientes de las normas citadas seguidamente. El Organismo Peruano de
Normalización posee, en todo momento, la información de las Normas Técnicas Peruanas
vigentes.
2.1 Normas Técnicas Peruanas
2.1.1 NTP 833.920:2003 GUÍA DE APLICACIÓN DE LA NORMA
NTP-ISO 9001:2001 EN EL SECTOR
EDUCACIÓN
2.1.2 NTP 833.921:2004 GUÍA DE INDICADORES DE GESTIÓN DE
LA CALIDAD EN EL SECTOR
EDUCACIÓN
NORMA TÉCNICA NTP 833.924
PERUANA 2 de 18
2.1.3 NTP 833.922:2005 GUÍA PARA LA APLICACIÓN DE UN
DIAGNÓSTICO A UN SISTEMA DE
GESTIÓN DE LA CALIDAD EN UNA
ORGANIZACIÓN EDUCATIVA.
2.1.4 NTP 833.923:2006 GUÍA PARA LA IMPLANTACIÓN DE UN
SISTEMA DE GESTIÓN DE LA CALIDAD,
EN UNA ORGANIZACIÓN EDUCATIVA
2.1.5 NTP-ISO 9000:2007 SISTEMAS DE GESTION DE LA CALIDAD.
Fundamentos y vocabulario
2.1.6 NTP-ISO 9001:2009 SISTEMAS DE GESTION DE LA CALIDAD.
Requisitos
3. CAMPO DE APLICACIÓN
Esta Norma Técnica Peruana se aplica a cualquier institución educativa, ya sea de
educación básica o educación superior (universitaria y no universitaria).
4. DEFINICIONES
4.1 requisito: Necesidad o expectativa establecida, generalmente implícita u
obligatoria (NTP-ISO 9000).
4.2 diseño y desarrollo: Conjunto de procesos que transforma los requisitos en
características específicadas o en la especificación de un producto, proceso o sistema
(NTP-ISO 9000).
4.3 diseño curricular: Proceso mediante el cual se elabora el Plan Curricular
de un Programa Educativo con participación de los grupos de interés (según corresponda),
teniendo como información de entrada los requisitos de los clientes y partes interesadas,
entre otros elementos.
NORMA TÉCNICA NTP 833.924
PERUANA 3 de 18
4.4 competencia
- Atributos personales y aptitud demostrados para aplicar conocimientos y
habilidades (NTP-ISO 9000).
- Conjunto de capacidades cognoscitivas, habilidades, destrezas psicomotoras
y actitudes que posee una persona (NTP 833.923)
4.5 cliente: Organización o persona que recibe un producto (NTP-ISO
9000:2005). Para la presente NTP, el término producto se refiere al servicio educativo que
brinda una organización educativa.
Se consideran clientes a:
- Educandos o estudiantes (en general para todos los niveles y modalidades
del sistema educativo);
- Padres de familia y/o apoderados (Nivel de Educación Básica);
- Promotores (en general para todos los niveles y modalidades del sistema
educativo, según corresponda);
- Empleadores (Nivel de Educación Superior No Universitaria y
Universitaria);
- Organizaciones públicas o privadas que contratan los servicios educativos
(Nivel de Educación Superior No Universitaria y Universitaria);
4.6 parte interesada: Persona o grupo que tiene un interés en el desempeño o
éxito de una organización (NTP-ISO 9000).
Para la presente NTP:
- El Estado;
- La Sociedad;
NORMA TÉCNICA NTP 833.924
PERUANA 4 de 18
- Para la Educación Básica Regular:
- Personal Directivo y Jerárquico.
- Personal Docente.
- Personal administrativo y de servicio.
- Promotores.
- Egresados.
- Colegios profesionales.
- Expertos - Asesores.
- Para la Educación Superior No Universitaria:
- Personal Directivo y Jerárquico.
- Personal Docente.
- Personal administrativo y de servicio.
- Promotores.
- Egresados.
- Colegios profesionales.
- Expertos - Asesores.
- Para la Educación Superior Universitaria:
- Personal Directivo y Jerárquico.
- Personal Docente.
- Personal administrativo y de servicio.
- Promotores.
- Egresados.
- Colegios profesionales.
- Expertos - Asesores.
4.7 revisión: Actividad emprendida para asegurar la conveniencia, adecuación
y eficacia del tema objeto de la revisión, para alcanzar unos objetivos establecidos (NTP-
ISO 9000).
4.8 verificación: Confirmación mediante la aportación de evidencia objetiva de
que se han cumplido los requisitos especificados (NTP-ISO 9000).
4.9 validación: Confirmación mediante la aportación de evidencia objetiva, de
que se han cumplido los requisitos para una utilización o aplicación específica prevista
(NTP-ISO 9000).
NORMA TÉCNICA NTP 833.924
PERUANA 5 de 18
5. PROCESO DE DISEÑO CURRICULAR DE PROGRAMAS
EDUCATIVOS DENTRO DE UN SISTEMA DE GESTIÓN DE LA CALIDAD, EN
UNA ORGANIZACIÓN EDUCATIVA
5.1 Diseño curricular: Es un proceso mediante el cual se transforman las
necesidades de los clientes (Véase el capítulo 4) y otros elementos de entrada en un nuevo
plan curricular (plan de estudios, malla curricular, programas curriculares, sílabos,
contenidos, capacidades, valores, perfiles, necesidad de recursos, etc.).
Principales características de un Diseño Curricular
- Fundamento teórico: Es recomendable que el diseño curricular deba
basarse en información actualizada sobre aspectos epistemológicos, científicos,
tecnológicos, metodológicos, sociales, entre otros; en cuya elaboración participen
especialistas del nivel y campo educativo correspondiente.
- Participación global: En la elaboración del currículum se debe considerar
la opinión tanto de los usuarios del servicio educativo como de las partes interesadas.
- Flexibilidad: El diseño curricular debe configurarse de tal manera que
pueda ser actualizado sin mayores problemas. En la actualidad los conocimientos y
tecnologías cambian permanentemente y por ello el diseño curricular debe
actualizarse con cierta frecuencia.
- Metodología: Debe señalarse la metodología de aprendizaje-enseñanza a
realizar que favorezca el desarrollo de las capacidades, destrezas, habilidades,
valores y actitudes.
5.2 Etapas del diseño curricular:
A continuación se describe en forma general, cada una de las etapas del diseño curricular:
- Determinación de necesidades: Es la etapa inicial del proceso para
determinar las necesidades de diseñar nuevos planes curriculares o actualizar los
vigentes. Se deben considerar para ello diversas informaciones, las cuales, según los
niveles educativos están consideradas en el Anexo A de la presente NTP.
NORMA TÉCNICA NTP 833.924
PERUANA 6 de 18
- Planificación de diseño curricular: La organización educativa debe
planificar y controlar el diseño curricular. En la planificación se debe considerar las
etapas del Diseño, el control del Diseño y los responsables del mismo.
- Determinación de los elementos de entrada: En esta etapa, en base a la
determinación de necesidades, se establecen los requisitos del cliente, los cuales se
convierten en elementos de entrada del diseño. También se deben considerar los
requisitos legales correspondientes.
- Elaboración del diseño curricular: Es la etapa en la cual mediante la
participación de los diferentes niveles de la organización educativa, se desarrolla el
diseño curricular.
- Aplicación del diseño curricular: Una vez, concluída la etapa de
elaboración y aprobación del Diseño Curricular o su actualización, se aplica, previa
capacitación al personal directamente involucrado en su implementación.
En el Anexo B adjunto se muestra un diagrama de flujo que incluye las etapas diseño
curricular y su control.
5.3 Control del diseño
A fin de controlar el diseño curricular la organización educativa debe determinar.
- La revisión, verificación y validación en cada etapa del diseño curricular.
- Control de cambios al diseño curricular.
- Los responsables en cada etapa del diseño curricular.
A continuación describiremos cada una de las etapas del control de diseño:
- Revisión
Se deben realizar revisiones sistemáticas del diseño curricular de acuerdo con lo
planificado a fin de:
a) Evaluar la capacidad de los resultados del diseño curricular para cumplir
con las necesidades de los clientes.
NORMA TÉCNICA NTP 833.924
PERUANA 7 de 18
b) Identificar cualquier problema y proponer las acciones necesarias.
Los responsables del diseño deben ser representantes de cada una de las funciones
relacionadas con las etapas del diseño curricular. Se deben mantener registros de los
resultados del diseño curricular Anexo C.
- Verificación: Se debe asegurar que los resultados del diseño curricular,
cumplen con los requisitos establecidos en los elementos de entrada. Se deben
mantener registros de los resultados de la verificación y cualquier acción que sea
necesaria (Anexo D).
- Validación: Debe validarse el diseño curricular a fin de asegurarse que el
diseño curricular resultante, sea capaz de satisfacer los requisitos establecidos
(Anexo E).
- Control de cambios del diseño curricular: Los cambios del Diseño
Curricular deben identificarse y mantener registros de la revisión, verificación y
validación. Antes de aprobarse para su aplicación se debe incluir la evaluación del
efecto de los cambios realizados. Debe existir un registro de los cambios (Anexo F).
- Personal responsable en cada etapa del diseño curricular: Para cada
etapa del diseño curricular se debe establecer el personal responsable de cada
actividad (Anexo G).
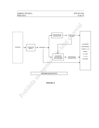
En las Figuras 1 y 2 que se anexan a la presente NTP, se grafica el alcance de los
resultados que se pretende obtener con la aplicación de la presente NTP.
6. ANTECEDENTES
6.1 NTP-ISO 9000:2007 SISTEMAS DE GESTION DE LA CALIDAD.
Fundamentos y vocabulario
6.2 NTP 833.923:2006 Guía para la implantación de un sistema de
gestión de la calidad en una organización
educativa
NORMA TÉCNICA NTP 833.924
PERUANA 8 de 18
ANEXO A
(INFORMATIVO)
DISEÑO CURRICULAR EN LA EDUCACIÓN BÁSICA (Incluye
Inicial, Primaria y Secundaria)
ELEMENTOS DE PROCESO ELEMENTOS DE
ENTRADA SALIDA
DISEÑO
CURRICULAR
INTERNOS
- Proyecto educativo institucional.
- Enfoque pedagógico.
- Plan curricular del Centro.
- Objetivos educacionales.
- Resultados de revisiones y
validaciones del diseño curricular
vigente (indicadores).
- Perfil del ingresante.
- Perfil del egresado.
- Informe de opinión de docentes.
- Informe de opinión de padres de
familia y análisis del nivel de
satisfacción.
- Informe de opinión de estudiantes
y análisis del nivel de satisfacción.
- Perfil de competencias de los
profesores de nivel, grado y área.
EXTERNOS
- Proyecto Educativo Nacional
(PEN).
- Lineamientos del Diseño
Curricular Nacional (DCN).
- Plan de desarrollo local y regional.
- Opinión de expertos.
- Normas legales aplicables.
PLAN CURRICULAR
(NUEVO O ACTUALIZADO)
ASPECTOS ACADÉMICOS
- Objetivos educacionales.
- Perfil del ingresante.
- Perfil del egresado.
- Plan de estudios.
- Programación curricular
diversificada.
- Estrategias de aprendizaje –
enseñanza.
- Indicadores de logro.
- Sistema de evaluación.
ASPECTOS ADMINISTRAVOS
- Plan de implementación del
nuevo diseño curricular
(capacitación y monitoreo),
normas y reglamentos internos,
entre otros).
- Preparación y capacitación de
los docentes.
- Sistema de indicadores e
instrumentos para revisión y
validación.
- Plan de revisión.
- Plan de verificación.
- Plan de validación.
ASPECTOS LOGÍSTICOS
- Infraestructura.
- Equipos.
- Materiales.
OTROS
- Diagnóstico del nivel
educativo.
- Análisis prospectivo del nivel
educativo.
NORMA TÉCNICA NTP 833.924
PERUANA 9 de 18
DISEÑO CURRICULAR EN LA EDUCACIÓN SUPERIOR NO
UNIVERSITARIA
ELEMENTOS DE PROCESO ELEMENTOS DE
ENTRADA SALIDA
DISEÑO
CURRICULAR
INTERNOS
- Proyecto estratégico de la
institución educativa.
- Plan estratégico de la carrera.
- Modelo educativo.
- Plan curricular vigente.
- Objetivos educaciones actuales.
- Resultados de revisiones y
validaciones del diseño curricular
vigente (indicadores).
- Perfil del ingresante.
- Perfil del egresado.
- Informe de opinión de docentes.
- Informe de opinión de estudiantes
y análisis del nivel de satisfacción.
- Perfil de competencias de los
docentes.
EXTERNOS
- Perfil de egreso de la educación
secundaria.
- Plan Estratégico Nacional.
- Plan de desarrollo local y
regional..
- Diagnóstico y análisis prospectivo
del campo ocupacional.
- Análisis prospectivo de la carrera.
- Opinión de los egresados.
- Opinión de los empleadores.
- Opinión del colegio profesional.
- Opinión de expertos.
- Situación de los competidores.
- Normas legales aplicables.
PLAN CURRICULAR
(NUEVO O ACTUALIZADO)
ASPECTOS ACADÉMICOS
- Objetivos educacionales.
- Perfil del ingresante.
- Perfil del egresado.
- Plan de estudios.
- Sumillas y contenidos (sílabo).
- Estrategias de aprendizaje.
- Estrategias de enseñanza.
- Sistema de evaluación.
ASPECTOS ADMINISTRAVOS
- Plan de implementación del
nuevo diseño curricular
- Perfil de competencias de los
docentes.
- Seguimiento de egresados.
- Sistema de indicadores e
instrumentos para revisión,
verificación y validación.
- Plan de revisión.
- Plan de verificación.
- Plan de validación.
ASPECTOS LOGÍSTICOS
- Infraestructura.
- Equipos.
- Materiales.
OTROS
- Diagnóstico de la especialidad.
- Análisis prospectivo del campo
ocupacional.
NORMA TÉCNICA NTP 833.924
PERUANA 10 de 18
DISEÑO CURRICULAR EN LA EDUCACIÓN SUPERIOR
UNIVERSITARIA
ELEMENTOS DE PROCESO ELEMENTOS DE
ENTRADA SALIDA
DISEÑO
CURRICULAR
INTERNOS
- Proyecto estratégico de la
institución educativa.
- Plan estratégico de la carrera.
- Modelo educativo.
- Plan curricular vigente.
- Objetivos educaciones.
- Resultados de revisiones,
verificaciones y validaciones
del diseño curricular vigente
(indicadores).
- Perfil del ingresante.
- Perfil del egresado.
- Informe de opinión de docentes.
- Informe de opinión de
estudiantes y análisis del nivel de
satisfacción.
- Perfil de competencias de los
docentes.
EXTERNOS
- Perfil del egresado de la
educación secundaria.
- Perfil del egresado de la
educación superior no
universitaria.
- Análisis de tendencias en la
educación superior universitaria.
- Plan Estratégico Nacional.
- Plan de desarrollo local y
regional.
- Diagnóstico y análisis
prospectivo del campo
ocupacional.
- Análisis prospectivo de la
carrera.
- Opinión de los egresados.
- Opinión de los empleadores.
- Opinión del colegio profesional.
- Opinión de expertos.
- Situación de los competidores.
- Normas legales aplicables
PLAN CURRICULAR
(NUEVO O ACTUALIZADO)
ASPECTOS ACADÉMICOS
- Objetivos educacionales.
- Perfil del ingresante.
- Perfil del egresado.
- Plan de estudios.
- Malla curricular.
- Sumillas y contenidos (sílabo).
- Estrategias de aprendizaje.
- Estrategias de enseñanza.
- Sistema de evaluación.
ASPECTOS ADMINISTRAVOS
- Plan de implementación del
nuevo diseño curricular.
- Perfil de competencias de los
docentes.
- Seguimiento de egresados.
- Sistema de indicadores e
instrumentos para revisión,
verificación y validación.
- Plan de revisión.
- Plan de verificación.
- Plan de validación.
ASPECTOS LOGÍSTICOS
- Infraestructura.
- Equipos.
- Materiales.
OTROS
- Diagnóstico de la carrera.
- Análisis prospectivo de la
carrera.
- Análisis prospectivo del campo
ocupacional.
NORMA TÉCNICA NTP 833.924
PERUANA 11 de 18
ANEXO B
(INFORMATIVO)
PROCESO DEL DISEÑO CURRICULAR
DETERMINACIÓN DE LOS
ELEMENTOS DE ENTRADA
INICIO
DETERMINACIÓN DE
LAS NECESIDADES
PROCEDE
DISEÑO
CURRICULAR
PLANIFICACIÓN
DEL DISEÑO
CURRICULAR
REVISIÓN
NO
FIN
ELABORACIÓN DEL DISEÑO
CURRICULAR
VERIFICACIÓN
SI
APROBADO
NO
VUELVE A LA ETAPA
DONDE SE DETECTÓ
LA NO CONFORMIDAD
SI
APROBADO
VALIDACIÓN
SI
RESULTADOS DEL
DISEÑO CURRICULAR
APROBADO
NO
NO
ActualizacióndelDiseñoCurricular
APLICACIÓN
NORMA TÉCNICA NTP 833.924
PERUANA 12 de 18
ANEXO C
(INFORMATIVO)
REVISIÓN DEL DISEÑO CURRICULAR
Etapas Comentario
Revisión
efectuada
por
Fecha Firma
Determinación de los
elementos de entrada
Elaboración del Plan
Curricular
Resultado del Diseño
(Plan Curricular)
Revisión del Diseño
NORMA TÉCNICA NTP 833.924
PERUANA 13 de 18
ANEXO D
(INFORMATIVO)
VERIFICACIÓN DEL DISEÑO CURRICULAR
Están contenidos
en el Plan
Curricular
Requisitos de los
Elementos
De Entrada
Si No
Capítulo del Plan
Curricular donde se
incluye el requisito
Observaciones
Firma Responsables: Fecha ______________
……………………………………………….
……………………………………………….
……………………………………………….
……………………………………………….
……………………………………………….
……………………………………………….
NORMA TÉCNICA NTP 833.924
PERUANA 14 de 18
ANEXO E
(INFORMATIVO)
VALIDACIÓN DEL DISEÑO CURRICULAR
Diseño Curricular elaborado
satisface los requisitos stablecidos
Requisitos de los
Elementos
de Entrada Si No
Observaciones
Firma Responsables: Fecha ______________
……………………………………………….
……………………………………………….
……………………………………………….
……………………………………………….
……………………………………………….
……………………………………………….
NORMA TÉCNICA NTP 833.924
PERUANA 15 de 18
ANEXO F
(INFORMATIVO)
CONTROL DE CAMBIOS EN EL DISEÑO
CURRICULAR
Revisión Verificación ValidaciónCambios
realizados al
Diseño
Sustento del
Cambio a
Realizarse
Si No Si No Si No
Evaluación de
los Resultados
al Cambio
____________
Comité Interno Fecha _______________
NORMA TÉCNICA NTP 833.924
PERUANA 16 de 18
ANEXO G
(INFORMATIVO)
PERSONAL RESPONSABLE DE LA DETERMINACIÓN
DE LOS ELEMENTOS DE ENTRADA, REVISIÓN,
VERIFICACIÓN, VALIDACIÓN Y CAMBIOS DEL
DISEÑO CURRICULAR
Etapas Responsable Firma Fecha
Determinación de los
elementos de entrada
Elaboración del Plan
curricular
Resultados del Diseño
(Plan Curricular)
Revisión del Diseño
Verificación del
Diseño
Validación del Diseño
Cambios del Diseño
NORMATÉCNICANTP833.924
PERUANA17de18
EDUCACIÓN
INICIAL
EDUCACIÓN
SECUNDARIA
EDUCACIÓN
PRIMARIA
EDUCACIÓN
SUPERIOR NO
UNIVERSITARIA
FAMILIA
HOGAR
EDUCACIÓN
SUPERIOR
UNIVERSITARIA
FIGURA 1
ELEMENTOS DE
ENTRADA
. Perfil de egreso de
la educación inicial.
. Elementos de entrada
para el nivel.
ELEMENTOS DE
ENTRADA
. Perfil de egreso de
la educación primaria.
. Elementos de entrada
para el nivel.
ELEMENTOS DE
ENTRADA
. Perfil de egreso de la
educación secundaria.
. Elementos de entrada
para el nivel.
ELEMENTOS DE
ENTRADA
. Perfil de egreso de la
educación secundaria.
. Elementos de entrada
para el nivel.
ELEMENTOS DE
ENTRADA
. Perfil de egreso de la
educación secundaria
y/o educación superior
no universitaria.
. Elementos de entrada
para el nivel.
FORMACIÓN INTEGRAL DE LA PERSONA
DESARROLLO DE COMPETENCIAS
CONTEXTO LABORAL (Local, Nacional e Internacional)
DESARROLLO DE COMPETENCIAS
FIGURA Nº 1. Elementos de Entrada para las Diferentes Etapas del Sistema Educativo Nacional: A) Educación Básica Regular (inicial,
primaria y secundaria) y b) Educación Superior (universitaria y no universitaria). Los elementos de entrada para el diseño curricular deben
ser definidos de manera específica para cada etapa y según las características de sus diversas modalidades.
NORMA TÉCNICA NTP 833.924
PERUANA 18 de 18
FIGURA 2
FORMACIÓN
BÁSICA
PROFESIONAL
TÉCNICO
PROFESIONAL
UNIVERSITARIO
EDUCACIÓN NO
UNIVERSITARIA
CIUDADANO
RESPONSABLE
APORTA A LA
FAMILIA,
AL PAÍS
Y A LA
SOCIEDAD
EGRESADO
EDUCACIÓN
UNIVERSITARIA
(pre y post grado)
PERSONA
SISTEMA EDUCATIVO

DISEÑO CURRICULAR

  • 1.
    NORMA TÉCNICA NTP833.924 PERUANA 2009 Comisión de Normalización y de Fiscalización de Barreras Comerciales No Arancelarias - INDECOPI Calle de La Prosa 138, San Borja (Lima 41) Apartado 145 Lima, Perú GUÍA PARA EL DISEÑO CURRICULAR DE PROGRAMAS EDUCATIVOS, DENTRO DE UN SISTEMA DE GESTIÓN DE LA CALIDAD, EN UNA ORGANIZACIÓN EDUCATIVA GUIDES FOR THE CURRICULUM DEVELOPMENT OF EDUCATIONAL PROGRAMS INSIDE OF A QUALITY MANAGEMENT SYSTEM, IN AN EDUCATIONAL ORGANIZATION 2009-05-13 1ª Edición R.013-2009/INDECOPI-CNB. Publicada el 2009-05-23 Precio basado en 18 páginas I.C.S.: 03.120.10 ESTA NORMA ES RECOMENDABLE Descriptores: Guía, diseño curricular, programas educativos, sistema de gestión de calidad, organización educativa
  • 2.
    i ÍNDICE página ÍNDICE i PREFACIO ii INTRODUCCIÓNiv 1. OBJETO 1 2. REFERENCIAS NORMATIVAS 1 3. CAMPO DE APLICACIÓN 2 4. DEFINICIONES 2 5. PROCESO DE DISEÑO CURRICULAR DE PROGRAMAS 5 EDUCATIVOS DENTRO UN SISTEMA DE GESTIÓN DE LA CALIDAD, EN UNA ORGANIZACIÓN EDUCATIVA 6. ANTECEDENTES 8 ANEXOS ANEXO A 9 ANEXO B 12 ANEXO C 13 ANEXO D 14 ANEXO E 15 ANEXO F 16 ANEXO G 17 FIGURAS FIGURA 1 18 FIGURA 2 19
  • 3.
    ii PREFACIO A.1 La presenteNorma Técnica ha sido elaborada por el Comité Técnico de Normalización de Gestión y aseguramiento de la calidad, Subcomité de Calidad en el sector educación, mediante el Sistema 2 u Ordinario, durante los meses de abril de 2007 a diciembre de 2008, utilizando como antecedentes a los documentos que se mencionan en el capítulo correspondiente. A.2 El Comité Técnico de Normalización de Gestión y aseguramiento de la calidad presentó a la Comisión de Normalización y de Fiscalización de Barreras Comerciales No Arancelarias -CNB-, con fecha 2008-12-30, el PNTP 833.924:2008, para su revisión y aprobación, siendo sometido a la etapa de Discusión Pública el 2009- 03-13. No habiéndose presentado observaciones fue oficializado como Norma Técnica Peruana NTP 833.924:2009 GUÍA PARA EL DISEÑO CURRICULAR DE PROGRAMAS EDUCATIVOS, DENTRO DE UN SISTEMA DE GESTIÓN DE LA CALIDAD, EN UNA ORGANIZACIÓN EDUCATIVA, 1ª Edición, el 23 de mayo de 2009. A.3 La presente Norma Técnica Peruana ha sido estructurado de acuerdo a las Guías Peruanas GP 001:1995 y GP 002:1995. B. INSTITUCIONES QUE PARTICIPARON EN LA ELABORACIÓN DE LA NORMA TÉCNICA PERUANA Secretaría INDECOPI Presidente Erasmo Zorrilla Trizano Secretaria Susana Segovia Valer Coordinador Guillermo Salas Donohue ENTIDAD REPRESENTANTE Consorcio de Centros Educativos Mario Amorós Terrones Católicos del Perú Consultora Mirtha Olivares del Carpio
  • 4.
    iii Instituto Superior TecnológicoCarmen Luz Arce Cavero “José Pardo” Elsa Baldeón Astuhuamán ASMAC - Consultora Dora Panduro Vásquez Universidad de Lima Bertha Díaz Garay Universidad Privada Norbert Wiener Víctor Luís Izaguirre Pasquel
  • 5.
    iv INTRODUCCIÓN El diseño curriculares uno de los procesos más importantes del servicio educativo. En nuestro país el diseño de los programas educativos no es actualizado permanentemente y por lo tanto, en la mayoría de los casos, no están acorde con la modernidad. Generalmente en la elaboración del diseño curricular, no se tiene en cuenta los requerimientos de los clientes ni responde a la demanda y necesidades sociales; estando en muchos casos obsoletos. La presente guía contiene una serie de lineamientos para el diseño curricular de un programa educativo o la mejora de éste, así como para su control, revisión, verificación y validación dentro de un sistema de gestión de la calidad. ---oooOooo---
  • 6.
    NORMA TÉCNICA NTP833.924 PERUANA 1 de 18 GUÍA PARA EL DISEÑO CURRICULAR DE PROGRAMAS EDUCATIVOS DENTRO DE UN SISTEMA DE GESTIÓN DE LA CALIDAD, EN UNA ORGANIZACIÓN EDUCATIVA 1. OBJETO La presente Norma Técnica Peruana establece orientaciones para facilitar a las instituciones educativas el diseño de una currícula acorde con un Sistema de Gestión de la Calidad. 2. REFERENCIAS NORMATIVAS Las siguientes normas contienen disposiciones que al ser citadas en este texto, constituyen requisitos de esta Norma Técnica Peruana. Las ediciones indicadas estaban en vigencia en el momento de esta publicación. Como toda norma, está sujeta a revisión, se recomienda a aquellos que realicen acuerdo en base a ellas, analicen la conveniencia de usar las ediciones recientes de las normas citadas seguidamente. El Organismo Peruano de Normalización posee, en todo momento, la información de las Normas Técnicas Peruanas vigentes. 2.1 Normas Técnicas Peruanas 2.1.1 NTP 833.920:2003 GUÍA DE APLICACIÓN DE LA NORMA NTP-ISO 9001:2001 EN EL SECTOR EDUCACIÓN 2.1.2 NTP 833.921:2004 GUÍA DE INDICADORES DE GESTIÓN DE LA CALIDAD EN EL SECTOR EDUCACIÓN
  • 7.
    NORMA TÉCNICA NTP833.924 PERUANA 2 de 18 2.1.3 NTP 833.922:2005 GUÍA PARA LA APLICACIÓN DE UN DIAGNÓSTICO A UN SISTEMA DE GESTIÓN DE LA CALIDAD EN UNA ORGANIZACIÓN EDUCATIVA. 2.1.4 NTP 833.923:2006 GUÍA PARA LA IMPLANTACIÓN DE UN SISTEMA DE GESTIÓN DE LA CALIDAD, EN UNA ORGANIZACIÓN EDUCATIVA 2.1.5 NTP-ISO 9000:2007 SISTEMAS DE GESTION DE LA CALIDAD. Fundamentos y vocabulario 2.1.6 NTP-ISO 9001:2009 SISTEMAS DE GESTION DE LA CALIDAD. Requisitos 3. CAMPO DE APLICACIÓN Esta Norma Técnica Peruana se aplica a cualquier institución educativa, ya sea de educación básica o educación superior (universitaria y no universitaria). 4. DEFINICIONES 4.1 requisito: Necesidad o expectativa establecida, generalmente implícita u obligatoria (NTP-ISO 9000). 4.2 diseño y desarrollo: Conjunto de procesos que transforma los requisitos en características específicadas o en la especificación de un producto, proceso o sistema (NTP-ISO 9000). 4.3 diseño curricular: Proceso mediante el cual se elabora el Plan Curricular de un Programa Educativo con participación de los grupos de interés (según corresponda), teniendo como información de entrada los requisitos de los clientes y partes interesadas, entre otros elementos.
  • 8.
    NORMA TÉCNICA NTP833.924 PERUANA 3 de 18 4.4 competencia - Atributos personales y aptitud demostrados para aplicar conocimientos y habilidades (NTP-ISO 9000). - Conjunto de capacidades cognoscitivas, habilidades, destrezas psicomotoras y actitudes que posee una persona (NTP 833.923) 4.5 cliente: Organización o persona que recibe un producto (NTP-ISO 9000:2005). Para la presente NTP, el término producto se refiere al servicio educativo que brinda una organización educativa. Se consideran clientes a: - Educandos o estudiantes (en general para todos los niveles y modalidades del sistema educativo); - Padres de familia y/o apoderados (Nivel de Educación Básica); - Promotores (en general para todos los niveles y modalidades del sistema educativo, según corresponda); - Empleadores (Nivel de Educación Superior No Universitaria y Universitaria); - Organizaciones públicas o privadas que contratan los servicios educativos (Nivel de Educación Superior No Universitaria y Universitaria); 4.6 parte interesada: Persona o grupo que tiene un interés en el desempeño o éxito de una organización (NTP-ISO 9000). Para la presente NTP: - El Estado; - La Sociedad;
  • 9.
    NORMA TÉCNICA NTP833.924 PERUANA 4 de 18 - Para la Educación Básica Regular: - Personal Directivo y Jerárquico. - Personal Docente. - Personal administrativo y de servicio. - Promotores. - Egresados. - Colegios profesionales. - Expertos - Asesores. - Para la Educación Superior No Universitaria: - Personal Directivo y Jerárquico. - Personal Docente. - Personal administrativo y de servicio. - Promotores. - Egresados. - Colegios profesionales. - Expertos - Asesores. - Para la Educación Superior Universitaria: - Personal Directivo y Jerárquico. - Personal Docente. - Personal administrativo y de servicio. - Promotores. - Egresados. - Colegios profesionales. - Expertos - Asesores. 4.7 revisión: Actividad emprendida para asegurar la conveniencia, adecuación y eficacia del tema objeto de la revisión, para alcanzar unos objetivos establecidos (NTP- ISO 9000). 4.8 verificación: Confirmación mediante la aportación de evidencia objetiva de que se han cumplido los requisitos especificados (NTP-ISO 9000). 4.9 validación: Confirmación mediante la aportación de evidencia objetiva, de que se han cumplido los requisitos para una utilización o aplicación específica prevista (NTP-ISO 9000).
  • 10.
    NORMA TÉCNICA NTP833.924 PERUANA 5 de 18 5. PROCESO DE DISEÑO CURRICULAR DE PROGRAMAS EDUCATIVOS DENTRO DE UN SISTEMA DE GESTIÓN DE LA CALIDAD, EN UNA ORGANIZACIÓN EDUCATIVA 5.1 Diseño curricular: Es un proceso mediante el cual se transforman las necesidades de los clientes (Véase el capítulo 4) y otros elementos de entrada en un nuevo plan curricular (plan de estudios, malla curricular, programas curriculares, sílabos, contenidos, capacidades, valores, perfiles, necesidad de recursos, etc.). Principales características de un Diseño Curricular - Fundamento teórico: Es recomendable que el diseño curricular deba basarse en información actualizada sobre aspectos epistemológicos, científicos, tecnológicos, metodológicos, sociales, entre otros; en cuya elaboración participen especialistas del nivel y campo educativo correspondiente. - Participación global: En la elaboración del currículum se debe considerar la opinión tanto de los usuarios del servicio educativo como de las partes interesadas. - Flexibilidad: El diseño curricular debe configurarse de tal manera que pueda ser actualizado sin mayores problemas. En la actualidad los conocimientos y tecnologías cambian permanentemente y por ello el diseño curricular debe actualizarse con cierta frecuencia. - Metodología: Debe señalarse la metodología de aprendizaje-enseñanza a realizar que favorezca el desarrollo de las capacidades, destrezas, habilidades, valores y actitudes. 5.2 Etapas del diseño curricular: A continuación se describe en forma general, cada una de las etapas del diseño curricular: - Determinación de necesidades: Es la etapa inicial del proceso para determinar las necesidades de diseñar nuevos planes curriculares o actualizar los vigentes. Se deben considerar para ello diversas informaciones, las cuales, según los niveles educativos están consideradas en el Anexo A de la presente NTP.
  • 11.
    NORMA TÉCNICA NTP833.924 PERUANA 6 de 18 - Planificación de diseño curricular: La organización educativa debe planificar y controlar el diseño curricular. En la planificación se debe considerar las etapas del Diseño, el control del Diseño y los responsables del mismo. - Determinación de los elementos de entrada: En esta etapa, en base a la determinación de necesidades, se establecen los requisitos del cliente, los cuales se convierten en elementos de entrada del diseño. También se deben considerar los requisitos legales correspondientes. - Elaboración del diseño curricular: Es la etapa en la cual mediante la participación de los diferentes niveles de la organización educativa, se desarrolla el diseño curricular. - Aplicación del diseño curricular: Una vez, concluída la etapa de elaboración y aprobación del Diseño Curricular o su actualización, se aplica, previa capacitación al personal directamente involucrado en su implementación. En el Anexo B adjunto se muestra un diagrama de flujo que incluye las etapas diseño curricular y su control. 5.3 Control del diseño A fin de controlar el diseño curricular la organización educativa debe determinar. - La revisión, verificación y validación en cada etapa del diseño curricular. - Control de cambios al diseño curricular. - Los responsables en cada etapa del diseño curricular. A continuación describiremos cada una de las etapas del control de diseño: - Revisión Se deben realizar revisiones sistemáticas del diseño curricular de acuerdo con lo planificado a fin de: a) Evaluar la capacidad de los resultados del diseño curricular para cumplir con las necesidades de los clientes.
  • 12.
    NORMA TÉCNICA NTP833.924 PERUANA 7 de 18 b) Identificar cualquier problema y proponer las acciones necesarias. Los responsables del diseño deben ser representantes de cada una de las funciones relacionadas con las etapas del diseño curricular. Se deben mantener registros de los resultados del diseño curricular Anexo C. - Verificación: Se debe asegurar que los resultados del diseño curricular, cumplen con los requisitos establecidos en los elementos de entrada. Se deben mantener registros de los resultados de la verificación y cualquier acción que sea necesaria (Anexo D). - Validación: Debe validarse el diseño curricular a fin de asegurarse que el diseño curricular resultante, sea capaz de satisfacer los requisitos establecidos (Anexo E). - Control de cambios del diseño curricular: Los cambios del Diseño Curricular deben identificarse y mantener registros de la revisión, verificación y validación. Antes de aprobarse para su aplicación se debe incluir la evaluación del efecto de los cambios realizados. Debe existir un registro de los cambios (Anexo F). - Personal responsable en cada etapa del diseño curricular: Para cada etapa del diseño curricular se debe establecer el personal responsable de cada actividad (Anexo G). En las Figuras 1 y 2 que se anexan a la presente NTP, se grafica el alcance de los resultados que se pretende obtener con la aplicación de la presente NTP. 6. ANTECEDENTES 6.1 NTP-ISO 9000:2007 SISTEMAS DE GESTION DE LA CALIDAD. Fundamentos y vocabulario 6.2 NTP 833.923:2006 Guía para la implantación de un sistema de gestión de la calidad en una organización educativa
  • 13.
    NORMA TÉCNICA NTP833.924 PERUANA 8 de 18 ANEXO A (INFORMATIVO) DISEÑO CURRICULAR EN LA EDUCACIÓN BÁSICA (Incluye Inicial, Primaria y Secundaria) ELEMENTOS DE PROCESO ELEMENTOS DE ENTRADA SALIDA DISEÑO CURRICULAR INTERNOS - Proyecto educativo institucional. - Enfoque pedagógico. - Plan curricular del Centro. - Objetivos educacionales. - Resultados de revisiones y validaciones del diseño curricular vigente (indicadores). - Perfil del ingresante. - Perfil del egresado. - Informe de opinión de docentes. - Informe de opinión de padres de familia y análisis del nivel de satisfacción. - Informe de opinión de estudiantes y análisis del nivel de satisfacción. - Perfil de competencias de los profesores de nivel, grado y área. EXTERNOS - Proyecto Educativo Nacional (PEN). - Lineamientos del Diseño Curricular Nacional (DCN). - Plan de desarrollo local y regional. - Opinión de expertos. - Normas legales aplicables. PLAN CURRICULAR (NUEVO O ACTUALIZADO) ASPECTOS ACADÉMICOS - Objetivos educacionales. - Perfil del ingresante. - Perfil del egresado. - Plan de estudios. - Programación curricular diversificada. - Estrategias de aprendizaje – enseñanza. - Indicadores de logro. - Sistema de evaluación. ASPECTOS ADMINISTRAVOS - Plan de implementación del nuevo diseño curricular (capacitación y monitoreo), normas y reglamentos internos, entre otros). - Preparación y capacitación de los docentes. - Sistema de indicadores e instrumentos para revisión y validación. - Plan de revisión. - Plan de verificación. - Plan de validación. ASPECTOS LOGÍSTICOS - Infraestructura. - Equipos. - Materiales. OTROS - Diagnóstico del nivel educativo. - Análisis prospectivo del nivel educativo.
  • 14.
    NORMA TÉCNICA NTP833.924 PERUANA 9 de 18 DISEÑO CURRICULAR EN LA EDUCACIÓN SUPERIOR NO UNIVERSITARIA ELEMENTOS DE PROCESO ELEMENTOS DE ENTRADA SALIDA DISEÑO CURRICULAR INTERNOS - Proyecto estratégico de la institución educativa. - Plan estratégico de la carrera. - Modelo educativo. - Plan curricular vigente. - Objetivos educaciones actuales. - Resultados de revisiones y validaciones del diseño curricular vigente (indicadores). - Perfil del ingresante. - Perfil del egresado. - Informe de opinión de docentes. - Informe de opinión de estudiantes y análisis del nivel de satisfacción. - Perfil de competencias de los docentes. EXTERNOS - Perfil de egreso de la educación secundaria. - Plan Estratégico Nacional. - Plan de desarrollo local y regional.. - Diagnóstico y análisis prospectivo del campo ocupacional. - Análisis prospectivo de la carrera. - Opinión de los egresados. - Opinión de los empleadores. - Opinión del colegio profesional. - Opinión de expertos. - Situación de los competidores. - Normas legales aplicables. PLAN CURRICULAR (NUEVO O ACTUALIZADO) ASPECTOS ACADÉMICOS - Objetivos educacionales. - Perfil del ingresante. - Perfil del egresado. - Plan de estudios. - Sumillas y contenidos (sílabo). - Estrategias de aprendizaje. - Estrategias de enseñanza. - Sistema de evaluación. ASPECTOS ADMINISTRAVOS - Plan de implementación del nuevo diseño curricular - Perfil de competencias de los docentes. - Seguimiento de egresados. - Sistema de indicadores e instrumentos para revisión, verificación y validación. - Plan de revisión. - Plan de verificación. - Plan de validación. ASPECTOS LOGÍSTICOS - Infraestructura. - Equipos. - Materiales. OTROS - Diagnóstico de la especialidad. - Análisis prospectivo del campo ocupacional.
  • 15.
    NORMA TÉCNICA NTP833.924 PERUANA 10 de 18 DISEÑO CURRICULAR EN LA EDUCACIÓN SUPERIOR UNIVERSITARIA ELEMENTOS DE PROCESO ELEMENTOS DE ENTRADA SALIDA DISEÑO CURRICULAR INTERNOS - Proyecto estratégico de la institución educativa. - Plan estratégico de la carrera. - Modelo educativo. - Plan curricular vigente. - Objetivos educaciones. - Resultados de revisiones, verificaciones y validaciones del diseño curricular vigente (indicadores). - Perfil del ingresante. - Perfil del egresado. - Informe de opinión de docentes. - Informe de opinión de estudiantes y análisis del nivel de satisfacción. - Perfil de competencias de los docentes. EXTERNOS - Perfil del egresado de la educación secundaria. - Perfil del egresado de la educación superior no universitaria. - Análisis de tendencias en la educación superior universitaria. - Plan Estratégico Nacional. - Plan de desarrollo local y regional. - Diagnóstico y análisis prospectivo del campo ocupacional. - Análisis prospectivo de la carrera. - Opinión de los egresados. - Opinión de los empleadores. - Opinión del colegio profesional. - Opinión de expertos. - Situación de los competidores. - Normas legales aplicables PLAN CURRICULAR (NUEVO O ACTUALIZADO) ASPECTOS ACADÉMICOS - Objetivos educacionales. - Perfil del ingresante. - Perfil del egresado. - Plan de estudios. - Malla curricular. - Sumillas y contenidos (sílabo). - Estrategias de aprendizaje. - Estrategias de enseñanza. - Sistema de evaluación. ASPECTOS ADMINISTRAVOS - Plan de implementación del nuevo diseño curricular. - Perfil de competencias de los docentes. - Seguimiento de egresados. - Sistema de indicadores e instrumentos para revisión, verificación y validación. - Plan de revisión. - Plan de verificación. - Plan de validación. ASPECTOS LOGÍSTICOS - Infraestructura. - Equipos. - Materiales. OTROS - Diagnóstico de la carrera. - Análisis prospectivo de la carrera. - Análisis prospectivo del campo ocupacional.
  • 16.
    NORMA TÉCNICA NTP833.924 PERUANA 11 de 18 ANEXO B (INFORMATIVO) PROCESO DEL DISEÑO CURRICULAR DETERMINACIÓN DE LOS ELEMENTOS DE ENTRADA INICIO DETERMINACIÓN DE LAS NECESIDADES PROCEDE DISEÑO CURRICULAR PLANIFICACIÓN DEL DISEÑO CURRICULAR REVISIÓN NO FIN ELABORACIÓN DEL DISEÑO CURRICULAR VERIFICACIÓN SI APROBADO NO VUELVE A LA ETAPA DONDE SE DETECTÓ LA NO CONFORMIDAD SI APROBADO VALIDACIÓN SI RESULTADOS DEL DISEÑO CURRICULAR APROBADO NO NO ActualizacióndelDiseñoCurricular APLICACIÓN
  • 17.
    NORMA TÉCNICA NTP833.924 PERUANA 12 de 18 ANEXO C (INFORMATIVO) REVISIÓN DEL DISEÑO CURRICULAR Etapas Comentario Revisión efectuada por Fecha Firma Determinación de los elementos de entrada Elaboración del Plan Curricular Resultado del Diseño (Plan Curricular) Revisión del Diseño
  • 18.
    NORMA TÉCNICA NTP833.924 PERUANA 13 de 18 ANEXO D (INFORMATIVO) VERIFICACIÓN DEL DISEÑO CURRICULAR Están contenidos en el Plan Curricular Requisitos de los Elementos De Entrada Si No Capítulo del Plan Curricular donde se incluye el requisito Observaciones Firma Responsables: Fecha ______________ ………………………………………………. ………………………………………………. ………………………………………………. ………………………………………………. ………………………………………………. ……………………………………………….
  • 19.
    NORMA TÉCNICA NTP833.924 PERUANA 14 de 18 ANEXO E (INFORMATIVO) VALIDACIÓN DEL DISEÑO CURRICULAR Diseño Curricular elaborado satisface los requisitos stablecidos Requisitos de los Elementos de Entrada Si No Observaciones Firma Responsables: Fecha ______________ ………………………………………………. ………………………………………………. ………………………………………………. ………………………………………………. ………………………………………………. ……………………………………………….
  • 20.
    NORMA TÉCNICA NTP833.924 PERUANA 15 de 18 ANEXO F (INFORMATIVO) CONTROL DE CAMBIOS EN EL DISEÑO CURRICULAR Revisión Verificación ValidaciónCambios realizados al Diseño Sustento del Cambio a Realizarse Si No Si No Si No Evaluación de los Resultados al Cambio ____________ Comité Interno Fecha _______________
  • 21.
    NORMA TÉCNICA NTP833.924 PERUANA 16 de 18 ANEXO G (INFORMATIVO) PERSONAL RESPONSABLE DE LA DETERMINACIÓN DE LOS ELEMENTOS DE ENTRADA, REVISIÓN, VERIFICACIÓN, VALIDACIÓN Y CAMBIOS DEL DISEÑO CURRICULAR Etapas Responsable Firma Fecha Determinación de los elementos de entrada Elaboración del Plan curricular Resultados del Diseño (Plan Curricular) Revisión del Diseño Verificación del Diseño Validación del Diseño Cambios del Diseño
  • 22.
    NORMATÉCNICANTP833.924 PERUANA17de18 EDUCACIÓN INICIAL EDUCACIÓN SECUNDARIA EDUCACIÓN PRIMARIA EDUCACIÓN SUPERIOR NO UNIVERSITARIA FAMILIA HOGAR EDUCACIÓN SUPERIOR UNIVERSITARIA FIGURA 1 ELEMENTOSDE ENTRADA . Perfil de egreso de la educación inicial. . Elementos de entrada para el nivel. ELEMENTOS DE ENTRADA . Perfil de egreso de la educación primaria. . Elementos de entrada para el nivel. ELEMENTOS DE ENTRADA . Perfil de egreso de la educación secundaria. . Elementos de entrada para el nivel. ELEMENTOS DE ENTRADA . Perfil de egreso de la educación secundaria. . Elementos de entrada para el nivel. ELEMENTOS DE ENTRADA . Perfil de egreso de la educación secundaria y/o educación superior no universitaria. . Elementos de entrada para el nivel. FORMACIÓN INTEGRAL DE LA PERSONA DESARROLLO DE COMPETENCIAS CONTEXTO LABORAL (Local, Nacional e Internacional) DESARROLLO DE COMPETENCIAS FIGURA Nº 1. Elementos de Entrada para las Diferentes Etapas del Sistema Educativo Nacional: A) Educación Básica Regular (inicial, primaria y secundaria) y b) Educación Superior (universitaria y no universitaria). Los elementos de entrada para el diseño curricular deben ser definidos de manera específica para cada etapa y según las características de sus diversas modalidades.
  • 23.
    NORMA TÉCNICA NTP833.924 PERUANA 18 de 18 FIGURA 2 FORMACIÓN BÁSICA PROFESIONAL TÉCNICO PROFESIONAL UNIVERSITARIO EDUCACIÓN NO UNIVERSITARIA CIUDADANO RESPONSABLE APORTA A LA FAMILIA, AL PAÍS Y A LA SOCIEDAD EGRESADO EDUCACIÓN UNIVERSITARIA (pre y post grado) PERSONA SISTEMA EDUCATIVO