ESQUEMAS
        NEUMÁTICOS




                  POR
ING. ALEJANDRO ORLANDO HUAPAYA BAUTISTA
Neumática proviene de la palabra griega
“Pneuma” que significa “abierto” o “soplo”.




                    AOHB                      2
La neumática es la técnica que se dedica
al estudio y aplicación del aire comprimido
(aire a presión) en la automatización de
los distintos campos de la fabricación.




                    AOHB                      3
En la actualidad, la necesidad de
automatizar la producción no afecta
únicamente a las grandes y medianas
empresas, sino también a las pequeñas y
micros empresas dedicadas al sector
industrial.


                  AOHB                    4
La industria artesanal se ve obligada a
desarrollar  métodos      de   producción
racionales que excluyan el trabajo manual
y no dependan de la habilidad humana.




                   AOHB                     5
La fuerza muscular y la habilidad humana
deben sustituirse por la fuerza y precisión
mecánica.




                    AOHB                      6
La “fuerza neumática” puede realizar
muchas      funciones     mejor y  más
rápidamente, de forma más regular y
sobre todo durante más tiempo sin sufrir
los efectos de la fatiga.




                   AOHB                    7
Relación entre los costos de trabajo
obtenidos por diferentes formas de
energía:


ELÉCTRICA   HIDRÁULICA      NEUMÁTICA   HUMANA

   1            4              10        500



                     AOHB                        8
VENTAJAS DE LOS
SISTEMAS NEUMÁTICOS
• El aire no cuesta.
• La compresibilidad del aire permite
  almacenar energía.
• La baja viscosidad del aire (produce
  pocas pérdidas) permite que se puedan
  usar velocidades de 10-40 m/s frente a
  la hidráulica, 2-10 m/s.


                   AOHB                    10
• Se pueden lograr altas velocidades en
  los elementos de trabajo (hasta 3 m/s
  en los cilindros.
• Debido a la compresibilidad del aire es
  fácil controlar y evitar movimientos
  bruscos.
• No requiere de tuberías de retorno
  como en la oleohidráulica.


                   AOHB                     11
• Se pueden hacer circuitos lógicos.
• Fácil regulación del caudal y de la
  presión.




                 AOHB                   12
DESVENTAJAS DE LOS
SISTEMAS NEUMÁTICOS
• Por razones económicas se limita la
  presión de trabajo hasta un máximo de
  25 bares (normalmente se trabaja con
  presiones máximas de 6-10 bares.
• Se pueden alcanzar fuerzas máximas
  de hasta 30 000 N.



                  AOHB                    14
• La baja viscosidad del aire hace que su
  efecto de amortiguamiento sea baja.
• La energía portante del aire no se
  puede usar en su mayor parte.




                   AOHB                     15
• Se presentan problemas en la
  instalación, como ruidos molestos,
  fugas, condensación y formación de
  hielo.
• El costo como energía es muy caro en
  comparación con la eléctrica (es diez
  veces más caro).



                  AOHB                    16
ELEMENTOS DE UNA
INSTALACIÓN NEUMÁTICA
PRODUCCIÓN Y TRATAMIENTO DE        CIRCUITO DE UTILIZACIÓN
                  AIRE               1. TOMA DE AIRE.
1. COMPRESOR.                        2. PURGA AUTOMÁTICA.
2. MOTOR ELÉCTRICO.                  3. UNIDAD DE MANTENIMIENTO.
3. PRESOSTATO.                       4. VÁLVULA DIRECCIONAL.
4. VÁLVULA ANTIRETORNO.              5. ACTUADOR.
5. DEPÓSITO.                         6. CONTROLADORES DE VELOCIDAD.
6. MANÓMETRO.
7. PURGA AUTOMÁTICA.
8. VÁLVULA DE SEGURIDAD.
9. SECADOR DE AIRE REFRIGERADO.
10. FILTRO DE LÍNEA.
                                  AOHB                                18
TIPOS DE COMPRESORES
Compresores alternativos




COMPRESOR DE    COMPRESOR DE PISTÓN   COMPRESOR DE
PISTÓN DE UNA      DE DOS ETAPAS       DIAFRAGMA
    ETAPA
                         AOHB                        20
Compresores rotativos




               COMPRESOR DE   TURBO COMPRESOR
COMPRESOR DE                       RADIAL
  PALETAS        TORNILLO

                  AOHB                          21
COMPONENTES BÁSICOS DE UN
   CIRCUITO NEUMÁTICO
AIRE                VÁLVULA TUBERÍA
        COMPRESOR     DE            ACTUADOR
LIBRE               CONTROL




                     AOHB                      23
Cilindro


                                 Válvulas reguladoras de
                                 caudal y de cierre




   Válvula
distribuidora




                           Unidad de
                          mantenimiento




                   AOHB                                    24
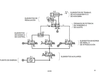
ESTRUCTURA DE UN
SISTEMA NEUMÁTICO
• Fuente de energía o abastecimiento de
  energía.
• Elementos auxiliares.
• Elementos emisores de señal o de
  introducción.
• Elementos de mando o de control.
• Órganos de potencia, de ajuste o de
  gobierno.
• Elementos de regulación.
• Elementos de accionamiento, de trabajo
  o de maniobra.
                   AOHB                    26
REPRESENTACIÓN ESQUEMÁTICA
  DE UN SISTEMA NEUMÁTICO
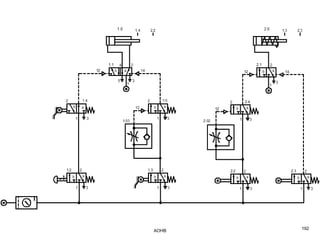
AOHB   28
REPRESENTACIÓN DE UN SISTEMA
        NEUMÁTICO
AOHB   30
VÁLVULAS DE CONTROL
• V.    distribuidoras,   direccionales,   de
  distribución o de vías.
• V. de bloqueo, antirretorno o de retención.
• V. de presión.
• V. de flujo.
• V. de cierre o de estanqueidad.
• V. temporizadoras.
• Unidad de mantenimiento.


                     AOHB                       32
VÁLVULAS
DISTRIBUIDORAS
Llamadas también direccionales, de
distribución o de vías, estas válvulas
controlan la dirección del flujo.
Son elementos de control que actúan
sobre el caudal, dándole el inicio,
deteniéndolo, cambiando su dirección,
distribuyéndolo o uniéndolo.


                  AOHB                   34
REPRESENTACIÓN DE LAS
VÁLVULAS DISTRIBUIDORAS
La    representación   que     se     utiliza
corresponde a la norma ISO 1219.
Se trata de una representación que refleja
la función y el funcionamiento de las
válvulas de una manera significativa.




                     AOHB                       36
Cada posición que puede adoptar una
válvula distribuidora se representa por
medio de un cuadrado.




El número de cuadrados yuxtapuestos
indica  el  número       de      posibles
POSICIONES de la válvula distribuidora.

                   AOHB                     37
El funcionamiento de cada posición se
representa esquemáticamente en el
interior de cada casilla.
Las líneas representan los conductos
internos de la válvula. Las flechas, el
sentido exclusivo o prioritario de
circulación del fluido.




                AOHB                      38
Las posiciones de cierre dentro de las
casillas se representan mediante líneas
transversales.




                  AOHB                    39
La unión de conductos internos   se
representa mediante un punto.




                AOHB                  40
Las conexiones externas (entradas y
salidas) se representan por medio de
trazos unidos a la casilla que esquematiza
la posición de reposo inicial (VÍAS). Las
uniones con los actuadores figuran en la
parte superior y la alimentación de aire
comprimido y el escape en la inferior.




                    AOHB                     41
Si la válvula es de tres posiciones, la
intermedia es, en principio, la de reposo.




                    AOHB                     42
Por posición de reposo se entiende, en el
caso de válvulas con dispositivo de
reposición automática, aquella posición
que ocupa cuando sobre la válvula no se
ejerce ninguna acción.




                   AOHB                     43
Los conductos de escape a través de un
conducto se representan con un triángulo
ligeramente separado del símbolo de la
válvula.




                   AOHB                    44
Los conductos de escape sin empalme de
tubo, es decir cuando el aire se evacua
directamente     a    la  atmósfera    se
representan mediante un triángulo unido al
símbolo de la válvula.




                    AOHB                     45
Designación de las
   conexiones
CONDUCTOS            ANTIGUA        ISO, CETOP, DIN, VDI

Alimentación de presión        P                     1

Conductos de trabajo      A, B, C, ...         2, 4, 6, ...

Escapes                   R, S, T, ...          3, 5, 7

Conductos de pilotaje     Z, Y, X, ...       12, 14, 16, ...


          ANTIGUA                              ISO




                              AOHB                              47
Designación de las
válvulas distribuidoras
Las válvulas distribuidoras se designan
 por su número de vías o conexiones con el
 exterior y el de posiciones posibles,
 separadas por una barra.


                 v/p
Número de vías         Número de posiciones


                    AOHB                     49
Por ejemplo, una válvula 3/2 significa que
tiene tres conexiones con el exterior (una
con un actuador, otra la alimentación y la
tercera el escape) y que puede ocupar dos
posiciones diferentes.




                    AOHB                     50
Válvulas distribuidoras




     Válvula 2/2        Válvula 3/2        Válvula 4/2          Válvula 5/2   Válvula 5/3




                   NA


NA
                   NC


NC




                                               AOHB                                         51
VÁLVULA DISTRIBUIDORA 2/2 NORMALMENTE
               CERRADA




                 AOHB                   52
VÁLVULA DISTRIBUIDORA 3/2 CERRADA EN
        POSICIÓN DE REPOSO




                AOHB                   53
VÁLVULA DISTRIBUIDORA 3/2 ABIERTA EN
        POSICIÓN DE REPOSO




                AOHB                   54
VÁLVULA DISTRIBUIDORA 3/2 ACCIONADA
         NEUMÁTICAMENTE




                AOHB                  55
VÁLVULA DISTRIBUIDORA 4/2




           AOHB             56
VÁLVULA DISTRIBUIDORA 5/2 DE DISCO FLOTANTE




                                              57
VÁLVULA DISTRIBUIDORA 5/2 DE CORREDERA




                                         58
VÁLVULA
DISTRIBUIDORA
    5/3 DE
 CORREDERA




                59
Vías y posiciones
Válvula de 3 vías y 2 posiciones, normalmente
cerrada 3/2 con accionamiento por pulsador y
              retorno por muelle




                     AOHB                       61
Válvula de 4 vías y 2 posiciones, 4/2 con
accionamiento por rodillo y retorno por muelle




                     AOHB                        62
Válvula 5/2 biestable con
accionamiento neumático




           AOHB             63
Electroválvula 5/2 biestable




             AOHB              64
Accionamientos de las
válvulas distribuidoras
Las válvulas pueden ser accionadas de
diferentes maneras, incluso pueden
accionarse de manera distinta en un
sentido u otro.
El accionamiento puede ser manual,
mecánico, neumático o eléctrico.




                 AOHB                   66
El accionamiento manual se hace
mediante pulsador, palanca o pedal.
El mecánico se efectúa por medio de una
leva, muelle o rodillo; éste puede ser
normal o escamoteable, es decir si sólo
actúa cuando se desplaza el rodillo en un
sentido mientras que en el otro se retrae.



                    AOHB                     67
En el accionamiento neumático se utiliza
aire comprimido del mismo circuito o de
otro auxiliar para maniobrar la posición de
la válvula.




                    AOHB                      68
Generalmente se necesita una presión
mínima del aire (presión mínima de
pilotaje o de mando) para poder accionar
la válvula.
Dicha presión se especifica en los
catálogos en función de la presión de
trabajo del circuito.



                   AOHB                    69
El accionamiento eléctrico se efectúa con
la fuerza que se provoca al hacer pasar
una corriente eléctrica alrededor de una
bobina con un núcleo de hierro
desplazable en su interior.




                   AOHB                     70
El accionamiento eléctrico tiene muchas
ventajas frente al resto de accionamientos
y da lugar a una tecnología conocida como
Electroneumática.




                    AOHB                     71
Representación de los
  accionamientos
Los accionamientos se representan en las
líneas laterales de los cuadrados extremos
que simbolizan las válvulas, mediante un
pequeño símbolo.
En las siguientes diapositivas se
representan los más significativos.



                    AOHB                     73
AOHB   74
AOHB   75
Ejemplos de accionamientos
de las válvulas distribuidoras
3/2 NC con pulsador y retorno por muelle


                  AOHB                     77
4/2 con pulsador y retorno por muelle


                 AOHB                   78
5/2 pilotada biestable

         AOHB            79
VÁLVULAS DE BLOQUEO
Llamadas        también     válvulas
antirretorno o de retención, son
aquellas que impiden el paso de aire
en un sentido y lo dejan libre en el
sentido contrario.




                AOHB                   81
Las más empleadas son las siguientes:
• Válvula de retención
• Válvula selectora (módulo O)
• Válvula estranguladora con retención
• Válvula de escape rápido
• Válvula de simultaneidad (módulo Y)


                  AOHB                   82
Válvulas de retención
Las válvulas antirretorno impiden el
paso absolutamente en un sentido,
mientras que en el sentido contrario
el aire circula con una perdida de
presión mínima.




                AOHB                   84
La obturación en un sentido puede
obtenerse mediante un cono, una
bola, un disco o una membrana que
apoya sobre un asiento.




               AOHB                 85
VÁLVULA ANTIRRETORNO




        AOHB           86
Válvula selectora
Permite el paso del aire cuando éste
procede de uno u otro conducto.
Esta válvula tiene dos entradas 12 y
14, y una salida.




                AOHB                   88
Cuando el aire comprimido entra por
la entrada 12, la bola obtura la
entrada 14, y el aire circula de 12
hacia 2.




                AOHB                  89
También cuando el aire llega por 14
se obtura la conexión 12 y pasa de
14 hacia 2.




                AOHB                  90
Por otra parte, cuando el aire
regresa, es decir procede de 2,
cuando se elimina el aire de un
cilindro o una válvula, la bola
permanece en la posición en que se
encontraba permitiendo su paso
hacia 12 ó 14.



               AOHB                  91
VÁLVULA SELECTORA




       AOHB         92
Esta válvula se denomina también
“elemento O (OR)”; aísla las señales
emitidas por dos válvulas de
señalización desde diversos lugares
e impide que el aire escape por una
segunda válvula de señalización.




                AOHB                   93
Se utiliza también cuando se desea
mandar un cilindro o una válvula de
gobierno desde dos o más puntos.




                AOHB                  94
Válvula estranguladora con
         retención
VÁLVULA ESTRANGULADORA CON
         RETENCIÓN




            AOHB             96
Válvula de escape rápido
Se trata de un válvula que evacua el
aire de manera rápida hacia la
atmósfera.




                AOHB                   98
Esta válvula permite elevar la
velocidad de los émbolos de los
cilindros.
Con ella se ahorran largos tiempos
de retorno, especialmente si se trata
de cilindros de simple efecto.



                 AOHB                   99
La válvula tiene una conexión de
alimentación 1 y otra de escape 3,
que pueden cerrarse.
Cuando el aire procede de la
alimentación se cierra 3 y pasa
hacia 2.
Si el aire procede de 2 se cierra 1 y
el aire se dirige directamente a 3.


                 AOHB                   100
Se recomienda montar esta válvula
directamente sobre el cilindro o lo
más cerca posible de éste con el fin
de mejorar su efecto.




                AOHB                   101
La velocidad de retorno del vástago
de un cilindro de simple efecto o la
de un cilindro de doble efecto en
cualquiera de sus dos sentidos
puede ser incrementada por medio
de una válvula de escape rápido.



                AOHB                   102
VÁLVULA DE ESCAPE RÁPIDO




          AOHB             103
Válvula de simultaneidad
Ésta válvula tan solo se abre cuando
recibe señales simultáneas de dos
lugares diferentes.




                AOHB                   105
Ésta válvula tiene dos entradas 12 y
14, y una salida 2. El aire
comprimido         puede       pasar
únicamente cuando hay presión en
ambas entradas.




                AOHB                   106
Una única señal de entrada en 12 ó
14 interrumpe el flujo, en razón del
desequilibrio de fuerzas que actúan
sobre la pieza móvil.




                AOHB                   107
Cuando       las     señales      están
desplazadas cronológicamente, la
última es la que llega a la salida 2.




                  AOHB                    108
Si las señales de entrada son de
una presión distinta, la mayor cierra
la válvula y la menor se dirige hacia
la salida 2.




                 AOHB                   109
VÁLVULA DE SIMULTANEIDAD




           AOHB            110
Esta válvula se denomina también
módulo “Y” o función lógica “AND”.
Se utiliza principalmente en mandos
de enclavamiento, funciones de
control y operaciones lógicas.




                AOHB                  111
Se emplea si se desea que un
cilindro sea maniobrado cuando se
reciban señales de aire comprimido
simultáneas desde dos puntos
diferentes.




                AOHB                 112
Es el caso que interesa por
cuestiones de seguridad, para que el
operario tenga ocupadas sus dos
manos al accionar un elemento que
pudiera dañarlas.




                 AOHB                  113
VÁLVULAS DE FLUJO
Antiguamente llamadas válvulas de
caudal, ya que actúan de modo
preferente sobre el caudal.
La acción sobre el caudal (flujo), se
limita exclusivamente al caudal
circulante.



                 AOHB                   115
Válvula reguladora de caudal
VÁLVULA REGULADORA DE CAUDAL




             AOHB              117
VÁLVULAS DE PRESIÓN
AOHB   119
Estas         válvulas        influyen
principalmente sobre la presión, o
están condicionadas por el valor que
tome aquélla. Entre ellas destacan
las siguientes:
• Válvulas reguladoras de presión
• Válvulas limitadoras de presión
• Válvulas de secuencia.


                 AOHB                    120
Válvula reguladora presión
Tiene la misión de mantener
constante la presión en su salida
independientemente de la presión
que exista a la entrada.




               AOHB                 122
Tienen como finalidad fundamental
obtener una presión invariable en los
elementos         de         trabajo,
independientemente        de      las
fluctuaciones de la presión que
normalmente se producen en la red
de distribución.



                 AOHB                   123
La presión de entrada mínima debe
ser siempre, obviamente, superior a
la exigida a la salida.




                AOHB                  124
Existen dos tipos, una con orificio de
escape a la atmósfera y otra sin él,
con las características que a
continuación se explican.




                 AOHB                    125
Válvula reguladora presión con
       orificio de escape
Esta válvula consta de una
membrana con un orificio en su
parte central presionada por un
muelle cuya fuerza puede graduarse
desde el exterior; además dispone
de un estrechamiento en su parte
superior que se modifica al ser
desplazado un vástago por la
membrana, siendo a su vez retenido
por un muelle.
               AOHB                  127
La regulación de la presión se
consigue de la manera siguiente. Si
la presión de salida es superior a la
definida, actúa sobre la membrana
oprimiendo el muelle y deja el paso
del aire hacia el exterior a través del
orificio de escape.



                  AOHB                    128
Cuando se alcanza la presión de
consigna, la membrana regresa a su
posición normal cerrando el escape.
El estrechamiento de la parte
superior tiene como finalidad
producir la pérdida de carga
necesaria entre la entrada y la
salida.


                AOHB                  129
El muelle que dispone esta válvula
auxiliar tiene por objeto atenuar las
oscilaciones excesivas.




                 AOHB                   130
VÁLVULA REGULADORA DE PRESIÓN CON
        ORIFICIO DE ESCAPE




               AOHB                 131
Válvula reguladora presión sin
      orificio de escape
La válvula sin orificio de escape es
esencialmente igual a la anterior con
la diferencia que al no disponer de
un orificio de escape a la atmósfera
cuando       se      produce      una
sobrepresión, es necesario que se
consuma el aire para reducir la
presión al valor de consigna.


                 AOHB                   133
VÁLVULA REGULADORA DE PRESIÓN SIN
        ORIFICIO DE ESCAPE




               AOHB                 134
Válvula limitadora de presión
También llamada válvula de alivio,
sobrepresión o de seguridad, es una
válvula similar a la válvula
reguladora de presión, la diferencia
estriba en su utilidad.




                AOHB                   136
Mientras     que       las   válvulas
reguladoras de presión se utilizan
para    proteger     los   elementos
neumáticos, las válvulas limitadoras
de presión se emplean para limitar la
presión de toda la red.



                 AOHB                   137
No admiten que la presión en el
sistema sobrepase un valor máximo
admisible.




               AOHB                 138
Al alcanzar en la entrada de la
válvula el valor máximo de presión,
se abre la salida y el aire sale a la
atmósfera.
La válvula permanece abierta, hasta
que el muelle incorporado, una vez
alcanzada la presión ajustada en
función de la característica del
muelle, cierre el paso.


                 AOHB                   139
VÁLVULA LIMITADORA DE PRESIÓN




             AOHB               140
Válvula de secuencia
Su funcionamiento es muy similar al
de la válvula limitadora de presión,
la diferencia estriba que en vez de
salir el aire a la atmósfera al
alcanzarse la presión de consigna,
deja pasar el aire para realizar un
determinado cometido.



                AOHB                   142
El aire no circula de 1 (P) hacia la
salida 2 (A), mientras que en el
conducto de mando 12 (Y) no se
alcanza una presión de consigna.
Un émbolo de mando abre el paso
de 1 hacia 2.




                AOHB                   143
Estas válvulas se montan en
mandos neumáticos que actúan
cuando se precisa una presión fija
para un fenómeno de conmutación.




               AOHB                  144
VÁLVULA DE SECUENCIA




         AOHB          145
VÁLVULAS TEMPORIZADORAS
El temporizador neumático, es una
unidad formada por tres elementos
básicos:
• Una válvula direccional
• Una válvula reguladora de caudal
  unidireccional
• Un acumulador



               AOHB                  147
VÁLVULA TEMPORIZADORA
 NORMALMENTE ABIERTA




         AOHB           148
La regulación del tiempo se logra
estrangulando el paso del fluido que
llaga por la línea 12 (Z) al
acumulador.




                AOHB                   149
Cuando la cantidad de aire que ha
ingresado al acumulador genera una
presión suficiente para vencer el
resorte, se acciona la válvula
direccional para bloquear la señal de
presión y establecer comunicación
entre 2 (A) y 3 (R).



                 AOHB                   150
Cuando la línea 12 (Z) se pone en
descarga, el fluido sale del
acumulador a través del conducto
que en primera instancia cerraba la
membrana flexible (antirretorno) en
lugar de seguir por la estrangulación
ya que esto significa un mayor
esfuerzo.


                 AOHB                   151
VÁLVULA TEMPORIZADORA NORMALMENTE
             CERRADA




               AOHB                 152
UNIDAD DE
MANTENIMIENTO
La     unidad     de   mantenimiento
representa una combinación de los
siguientes elementos:
• Filtro de aire comprimido
• Regulador de presión
• Lubricador de aire comprimido




                AOHB                   154
Símbolo ISO
              155
   AOHB
FILTRO




         156
  AOHB
VÁLVULA REGULADORA DE PRESIÓN




                                157
             AOHB
LUBRICADOR




             158
    AOHB
ACTUADORES
AOHB   160
Cilindros de simple efecto
AOHB   162
Cilindros de doble efecto
AOHB   164
Métodos de fijación de
     Cilindros
AOHB   166
Aplicaciones de los cilindros
Expulsión de una pieza mecanizada por movimiento
       oscilatorio hacia una rampa de caída




                      AOHB                         168
Verificación de tapas en línea de producción




                     AOHB                      169
Distribución y dosificación de un determinado volumen
mediante introducción de una cuchara en un depósito




                         AOHB                           170
Accionamiento
       neumático lineal de una
       puerta de dos batientes




AOHB                             171
Fresado doble con aproximación automática de
                 las fresas




                     AOHB                      172
Desplazamiento automático de una sierra de disco




                      AOHB                         173
Sujeción automática de piezas en máquina de taladrar




                        AOHB                           174
Cambio de sentido de piezas en una cinta transportadora




                          AOHB                            175
Transporte de cajas a distinto nivel con giro simultáneo




                          AOHB                             176
Distribución de piezas a dos puntos distintos




                    AOHB                        177
Elevador con cilindros neumáticos para puestos de montaje




                           AOHB                             178
Avance indirecto de un husillo de taladrar por medio de
                   un cilindro lineal




                          AOHB                            179
Mesa giratoria de producción automatizada




                  AOHB                      180
Normas aplicadas a los
esquemas neumáticos
NORMA                 SIGNIFICADO
 ISO    International    Standard      Organization
        (Organización Internacional de Normas)
CETOP   Comité Européen des Transmissions
        Oléohydrauliques      et    Pneumatiques
        (Asociación Europea de Transmisiones
        Oleo hidráulicas y Neumáticas)
 DIN    Deutsches Institur für Normung (Instituto
        Alemán de Normalización)



                      AOHB                        182
NORMA                 SIGNIFICADO
 VDI    Verein Deutscher Ingenieure (Asociación
        Alemana de Ingenieros)
 UNE    Una Norma Española
        En neumática, la ISO 1219 es equivalente a
        la UNE 101 149-86




                     AOHB                        183
REALIZACIÓN DEL
ESQUEMA NEUMÁTICO
NIVEL               COMPONENTE                                       EJEMPLOS
 6º     Elementos de trabajo                    Cilindros, motores neumáticos
 5º     Elementos de regulación de velocidad    Reguladores de caudal unidireccional
 4º     Elementos de potencia                   Válvula distribuidora para el cilindro
 3º     Elementos de tratamiento de señal       Selectores de función “O” e “Y”
 2º     Elementos de entrada de señal           Microválvulas de acc. manual, final de carrera
 1º     Fuente de alimentación de energía       Unidad de mantenimiento




                                               AOHB                                              185
NUMERACIÓN DE LOS
   ELEMENTOS
1. Los elementos de trabajo, de accionamiento o
   de maniobra van numerados por este orden:
     1.0, 2.0, 3.0, ...
2. Los elementos de potencia, distribuidores
   principales, de ajuste, de gobierno u órganos
   de potencia llevan la designación:
     1.1, 2.1, 3.1, ...



                          AOHB                     187
3. Los captadores de señal, emisores de señal,
de introducción o captadores de información se
nombran con:

 - Los que intervienen en la salida del vástago
   (pares):
           1.2, 1.4, 1.6, ...
           2.2, 2.4, 2.6, ...
           3.2, 3.4, 3.6, …
           …

                       AOHB                       188
- Los que intervienen en el retroceso del
  vástago (impares):
         1.3, 1.5, 1.7, …
         2.3, 2.5, 2.7, …
         3.3, 3.5, 3,7, …
         …



                  AOHB                      189
4. Los elementos de regulación de velocidad:

 - Los que intervienen en la salida del vástago
  (pares):
     1.02, 2.02, 3.02, …
 - Los que intervienen en el retroceso del
   vástago (impares):
     1.03, 2.03, 3.03, …



                     AOHB                         190
5. Los elementos auxiliares de producción y
   tratamiento de aire:
     0.1, 0.2, 0.3, ...




                      AOHB                    191
AOHB   192
CIRCUITOS NEUMÁTICOS
       BÁSICOS
CONTROL DE UN CILINDRO DE SIMPLE EFECTO
            CON VÁLVULA 2/2




                  AOHB                    194
CONTROL DE UN CILINDRO DE SIMPLE EFECTO
            CON VÁLVULA 3/2




                  AOHB                    195
REGULACIÓN DE LA VELOCIDAD DE UN
   CILINDRO DE SIMPLE EFECTO




               AOHB                196
CONTROL DE UN CILINDRO DE DOBLE EFECTO
            CON VÁLVULA 5/2




                 AOHB                    197
CONTROL MANUAL DE UN CILINDRO DE DOBLE EFECTO




                     AOHB                   198
ACCIONAMIENTO MANUAL Y RETORNO
AUTOMÁTICO DE UN CILINDRO DE DOBLE EFECTO




                   AOHB                     199
CONTROL AUTOMÁTICO DE UN CILINDRO DE
           DOBLE EFECTO




                 AOHB                  200
TIPOS DE REPRESENTACIÓN DE
   ESQUEMAS NEUMÁTICOS
Hay tres tipos de representaciones de los
esquemas neumáticos:
1. Esquemas de situación o de disposición
2. Diagramas de funcionamiento
3. Esquema del sistema neumático



                   AOHB                     202
Esquemas de situación
ESQUEMAS DE SITUACIÓN O DISPOSICIÓN




Muestran la ubicación de los elementos
con los que se trabaja y el proceso que se
está realizando.
Deben ser sencillos y limitarse a lo
esencial.



                    AOHB                     204
Ejemplo de un esquema
     de situación
Se requiere diseñar un sistema elevador-
empujador de cajas de maderas, para
elevar cajas de madera conteniendo
productos frágiles a un segundo nivel, con
un cilindro de simple efecto, y luego
desplazarlas       hacia    una      cinta
transportadora de rodillos mediante otro
cilindro de simple efecto.


                    AOHB                     206
Esquema de situación del sistema elevador-empujador de las
                     cajas de madera




                                                     207
                                                           207
Diagrama de
funcionamiento
DIAGRAMA DE FUNCIONAMIENTO




Estos diagramas a su vez pueden ser:
a. Diagramas espacio-fase.
b. Diagramas espacio-tiempo.
c. Diagramas espacio-fase-tiempo.




                   AOHB                209
Diagrama espacio-fase
DIAGRAMA ESPACIO-FASE




Representa la posición de cada elemento
de mando y/o trabajo respecto a los
demás, en las fases de conmutación.




                  AOHB                    211
Ejemplo de un diagrama
     espacio-fase
Diagrama espacio-fase del sistema elevador-empujador de
                   cajas de madera




                          AOHB                       213
Diagrama espacio-tiempo
DIAGRAMA ESPACIO-TIEMPO




Representa la posición de cada elemento
de mando y/o trabajo respecto a los
demás, en función del tiempo.




                  AOHB                    215
Diagrama espacio-fase-tiempo
DIAGRAMA ESPACIO-FASE-TIEMPO




Representa la posición de cada elemento
de mando y/o trabajo respecto a las fases
de conmutación y tiempo.




                   AOHB                     217
Esquema del sistema
    neumático
ESQUEMA DEL SISTEMA NEUMÁTICO




La elaboración de estos esquemas se
realiza con el uso de los símbolos de la
norma ISO 1219.




                   AOHB                    219
ESQUEMA DEL SISTEMA NEUMÁTICO



Se debe tener presente las siguientes reglas:
1. El desarrollo del esquema se realiza de
   abajo hacia arriba, en el sentido del flujo de
   energía, continuándose la representación
   de los diferentes elementos de mando de
   izquierda a derecha.


                       AOHB                     220
ESQUEMA DEL SISTEMA NEUMÁTICO




2. La designación de los elementos se hace
   de acuerdo a la nomenclatura numérica de
   los elementos presentes en el esquema
   neumático.




                    AOHB                  221
ESQUEMA DEL SISTEMA NEUMÁTICO




3. La numeración se hace en sentido
   contrario al flujo de energía, manteniendo
   el índice del eslabón de mando al que
   pertenece.




                     AOHB                   222
Ejemplo de un sistema
     neumático



                        223
Esquema del sistema elevador-empujador de cajas
                  de madera




                                                  224
                      AOHB                              224
GRACIAS


   AOHB   225

Esquemas neumáticos huapaya

  • 1.
    ESQUEMAS NEUMÁTICOS POR ING. ALEJANDRO ORLANDO HUAPAYA BAUTISTA
  • 2.
    Neumática proviene dela palabra griega “Pneuma” que significa “abierto” o “soplo”. AOHB 2
  • 3.
    La neumática esla técnica que se dedica al estudio y aplicación del aire comprimido (aire a presión) en la automatización de los distintos campos de la fabricación. AOHB 3
  • 4.
    En la actualidad,la necesidad de automatizar la producción no afecta únicamente a las grandes y medianas empresas, sino también a las pequeñas y micros empresas dedicadas al sector industrial. AOHB 4
  • 5.
    La industria artesanalse ve obligada a desarrollar métodos de producción racionales que excluyan el trabajo manual y no dependan de la habilidad humana. AOHB 5
  • 6.
    La fuerza musculary la habilidad humana deben sustituirse por la fuerza y precisión mecánica. AOHB 6
  • 7.
    La “fuerza neumática”puede realizar muchas funciones mejor y más rápidamente, de forma más regular y sobre todo durante más tiempo sin sufrir los efectos de la fatiga. AOHB 7
  • 8.
    Relación entre loscostos de trabajo obtenidos por diferentes formas de energía: ELÉCTRICA HIDRÁULICA NEUMÁTICA HUMANA 1 4 10 500 AOHB 8
  • 9.
  • 10.
    • El aireno cuesta. • La compresibilidad del aire permite almacenar energía. • La baja viscosidad del aire (produce pocas pérdidas) permite que se puedan usar velocidades de 10-40 m/s frente a la hidráulica, 2-10 m/s. AOHB 10
  • 11.
    • Se puedenlograr altas velocidades en los elementos de trabajo (hasta 3 m/s en los cilindros. • Debido a la compresibilidad del aire es fácil controlar y evitar movimientos bruscos. • No requiere de tuberías de retorno como en la oleohidráulica. AOHB 11
  • 12.
    • Se puedenhacer circuitos lógicos. • Fácil regulación del caudal y de la presión. AOHB 12
  • 13.
  • 14.
    • Por razoneseconómicas se limita la presión de trabajo hasta un máximo de 25 bares (normalmente se trabaja con presiones máximas de 6-10 bares. • Se pueden alcanzar fuerzas máximas de hasta 30 000 N. AOHB 14
  • 15.
    • La bajaviscosidad del aire hace que su efecto de amortiguamiento sea baja. • La energía portante del aire no se puede usar en su mayor parte. AOHB 15
  • 16.
    • Se presentanproblemas en la instalación, como ruidos molestos, fugas, condensación y formación de hielo. • El costo como energía es muy caro en comparación con la eléctrica (es diez veces más caro). AOHB 16
  • 17.
  • 18.
    PRODUCCIÓN Y TRATAMIENTODE CIRCUITO DE UTILIZACIÓN AIRE 1. TOMA DE AIRE. 1. COMPRESOR. 2. PURGA AUTOMÁTICA. 2. MOTOR ELÉCTRICO. 3. UNIDAD DE MANTENIMIENTO. 3. PRESOSTATO. 4. VÁLVULA DIRECCIONAL. 4. VÁLVULA ANTIRETORNO. 5. ACTUADOR. 5. DEPÓSITO. 6. CONTROLADORES DE VELOCIDAD. 6. MANÓMETRO. 7. PURGA AUTOMÁTICA. 8. VÁLVULA DE SEGURIDAD. 9. SECADOR DE AIRE REFRIGERADO. 10. FILTRO DE LÍNEA. AOHB 18
  • 19.
  • 20.
    Compresores alternativos COMPRESOR DE COMPRESOR DE PISTÓN COMPRESOR DE PISTÓN DE UNA DE DOS ETAPAS DIAFRAGMA ETAPA AOHB 20
  • 21.
    Compresores rotativos COMPRESOR DE TURBO COMPRESOR COMPRESOR DE RADIAL PALETAS TORNILLO AOHB 21
  • 22.
    COMPONENTES BÁSICOS DEUN CIRCUITO NEUMÁTICO
  • 23.
    AIRE VÁLVULA TUBERÍA COMPRESOR DE ACTUADOR LIBRE CONTROL AOHB 23
  • 24.
    Cilindro Válvulas reguladoras de caudal y de cierre Válvula distribuidora Unidad de mantenimiento AOHB 24
  • 25.
  • 26.
    • Fuente deenergía o abastecimiento de energía. • Elementos auxiliares. • Elementos emisores de señal o de introducción. • Elementos de mando o de control. • Órganos de potencia, de ajuste o de gobierno. • Elementos de regulación. • Elementos de accionamiento, de trabajo o de maniobra. AOHB 26
  • 27.
    REPRESENTACIÓN ESQUEMÁTICA DE UN SISTEMA NEUMÁTICO
  • 28.
  • 29.
    REPRESENTACIÓN DE UNSISTEMA NEUMÁTICO
  • 30.
  • 31.
  • 32.
    • V. distribuidoras, direccionales, de distribución o de vías. • V. de bloqueo, antirretorno o de retención. • V. de presión. • V. de flujo. • V. de cierre o de estanqueidad. • V. temporizadoras. • Unidad de mantenimiento. AOHB 32
  • 33.
  • 34.
    Llamadas también direccionales,de distribución o de vías, estas válvulas controlan la dirección del flujo. Son elementos de control que actúan sobre el caudal, dándole el inicio, deteniéndolo, cambiando su dirección, distribuyéndolo o uniéndolo. AOHB 34
  • 35.
  • 36.
    La representación que se utiliza corresponde a la norma ISO 1219. Se trata de una representación que refleja la función y el funcionamiento de las válvulas de una manera significativa. AOHB 36
  • 37.
    Cada posición quepuede adoptar una válvula distribuidora se representa por medio de un cuadrado. El número de cuadrados yuxtapuestos indica el número de posibles POSICIONES de la válvula distribuidora. AOHB 37
  • 38.
    El funcionamiento decada posición se representa esquemáticamente en el interior de cada casilla. Las líneas representan los conductos internos de la válvula. Las flechas, el sentido exclusivo o prioritario de circulación del fluido. AOHB 38
  • 39.
    Las posiciones decierre dentro de las casillas se representan mediante líneas transversales. AOHB 39
  • 40.
    La unión deconductos internos se representa mediante un punto. AOHB 40
  • 41.
    Las conexiones externas(entradas y salidas) se representan por medio de trazos unidos a la casilla que esquematiza la posición de reposo inicial (VÍAS). Las uniones con los actuadores figuran en la parte superior y la alimentación de aire comprimido y el escape en la inferior. AOHB 41
  • 42.
    Si la válvulaes de tres posiciones, la intermedia es, en principio, la de reposo. AOHB 42
  • 43.
    Por posición dereposo se entiende, en el caso de válvulas con dispositivo de reposición automática, aquella posición que ocupa cuando sobre la válvula no se ejerce ninguna acción. AOHB 43
  • 44.
    Los conductos deescape a través de un conducto se representan con un triángulo ligeramente separado del símbolo de la válvula. AOHB 44
  • 45.
    Los conductos deescape sin empalme de tubo, es decir cuando el aire se evacua directamente a la atmósfera se representan mediante un triángulo unido al símbolo de la válvula. AOHB 45
  • 46.
  • 47.
    CONDUCTOS ANTIGUA ISO, CETOP, DIN, VDI Alimentación de presión P 1 Conductos de trabajo A, B, C, ... 2, 4, 6, ... Escapes R, S, T, ... 3, 5, 7 Conductos de pilotaje Z, Y, X, ... 12, 14, 16, ... ANTIGUA ISO AOHB 47
  • 48.
  • 49.
    Las válvulas distribuidorasse designan por su número de vías o conexiones con el exterior y el de posiciones posibles, separadas por una barra. v/p Número de vías Número de posiciones AOHB 49
  • 50.
    Por ejemplo, unaválvula 3/2 significa que tiene tres conexiones con el exterior (una con un actuador, otra la alimentación y la tercera el escape) y que puede ocupar dos posiciones diferentes. AOHB 50
  • 51.
    Válvulas distribuidoras Válvula 2/2 Válvula 3/2 Válvula 4/2 Válvula 5/2 Válvula 5/3 NA NA NC NC AOHB 51
  • 52.
    VÁLVULA DISTRIBUIDORA 2/2NORMALMENTE CERRADA AOHB 52
  • 53.
    VÁLVULA DISTRIBUIDORA 3/2CERRADA EN POSICIÓN DE REPOSO AOHB 53
  • 54.
    VÁLVULA DISTRIBUIDORA 3/2ABIERTA EN POSICIÓN DE REPOSO AOHB 54
  • 55.
    VÁLVULA DISTRIBUIDORA 3/2ACCIONADA NEUMÁTICAMENTE AOHB 55
  • 56.
  • 57.
    VÁLVULA DISTRIBUIDORA 5/2DE DISCO FLOTANTE 57
  • 58.
  • 59.
    VÁLVULA DISTRIBUIDORA 5/3 DE CORREDERA 59
  • 60.
  • 61.
    Válvula de 3vías y 2 posiciones, normalmente cerrada 3/2 con accionamiento por pulsador y retorno por muelle AOHB 61
  • 62.
    Válvula de 4vías y 2 posiciones, 4/2 con accionamiento por rodillo y retorno por muelle AOHB 62
  • 63.
    Válvula 5/2 biestablecon accionamiento neumático AOHB 63
  • 64.
  • 65.
  • 66.
    Las válvulas puedenser accionadas de diferentes maneras, incluso pueden accionarse de manera distinta en un sentido u otro. El accionamiento puede ser manual, mecánico, neumático o eléctrico. AOHB 66
  • 67.
    El accionamiento manualse hace mediante pulsador, palanca o pedal. El mecánico se efectúa por medio de una leva, muelle o rodillo; éste puede ser normal o escamoteable, es decir si sólo actúa cuando se desplaza el rodillo en un sentido mientras que en el otro se retrae. AOHB 67
  • 68.
    En el accionamientoneumático se utiliza aire comprimido del mismo circuito o de otro auxiliar para maniobrar la posición de la válvula. AOHB 68
  • 69.
    Generalmente se necesitauna presión mínima del aire (presión mínima de pilotaje o de mando) para poder accionar la válvula. Dicha presión se especifica en los catálogos en función de la presión de trabajo del circuito. AOHB 69
  • 70.
    El accionamiento eléctricose efectúa con la fuerza que se provoca al hacer pasar una corriente eléctrica alrededor de una bobina con un núcleo de hierro desplazable en su interior. AOHB 70
  • 71.
    El accionamiento eléctricotiene muchas ventajas frente al resto de accionamientos y da lugar a una tecnología conocida como Electroneumática. AOHB 71
  • 72.
  • 73.
    Los accionamientos serepresentan en las líneas laterales de los cuadrados extremos que simbolizan las válvulas, mediante un pequeño símbolo. En las siguientes diapositivas se representan los más significativos. AOHB 73
  • 74.
  • 75.
  • 76.
    Ejemplos de accionamientos delas válvulas distribuidoras
  • 77.
    3/2 NC conpulsador y retorno por muelle AOHB 77
  • 78.
    4/2 con pulsadory retorno por muelle AOHB 78
  • 79.
  • 80.
  • 81.
    Llamadas también válvulas antirretorno o de retención, son aquellas que impiden el paso de aire en un sentido y lo dejan libre en el sentido contrario. AOHB 81
  • 82.
    Las más empleadasson las siguientes: • Válvula de retención • Válvula selectora (módulo O) • Válvula estranguladora con retención • Válvula de escape rápido • Válvula de simultaneidad (módulo Y) AOHB 82
  • 83.
  • 84.
    Las válvulas antirretornoimpiden el paso absolutamente en un sentido, mientras que en el sentido contrario el aire circula con una perdida de presión mínima. AOHB 84
  • 85.
    La obturación enun sentido puede obtenerse mediante un cono, una bola, un disco o una membrana que apoya sobre un asiento. AOHB 85
  • 86.
  • 87.
  • 88.
    Permite el pasodel aire cuando éste procede de uno u otro conducto. Esta válvula tiene dos entradas 12 y 14, y una salida. AOHB 88
  • 89.
    Cuando el airecomprimido entra por la entrada 12, la bola obtura la entrada 14, y el aire circula de 12 hacia 2. AOHB 89
  • 90.
    También cuando elaire llega por 14 se obtura la conexión 12 y pasa de 14 hacia 2. AOHB 90
  • 91.
    Por otra parte,cuando el aire regresa, es decir procede de 2, cuando se elimina el aire de un cilindro o una válvula, la bola permanece en la posición en que se encontraba permitiendo su paso hacia 12 ó 14. AOHB 91
  • 92.
  • 93.
    Esta válvula sedenomina también “elemento O (OR)”; aísla las señales emitidas por dos válvulas de señalización desde diversos lugares e impide que el aire escape por una segunda válvula de señalización. AOHB 93
  • 94.
    Se utiliza tambiéncuando se desea mandar un cilindro o una válvula de gobierno desde dos o más puntos. AOHB 94
  • 95.
  • 96.
    VÁLVULA ESTRANGULADORA CON RETENCIÓN AOHB 96
  • 97.
  • 98.
    Se trata deun válvula que evacua el aire de manera rápida hacia la atmósfera. AOHB 98
  • 99.
    Esta válvula permiteelevar la velocidad de los émbolos de los cilindros. Con ella se ahorran largos tiempos de retorno, especialmente si se trata de cilindros de simple efecto. AOHB 99
  • 100.
    La válvula tieneuna conexión de alimentación 1 y otra de escape 3, que pueden cerrarse. Cuando el aire procede de la alimentación se cierra 3 y pasa hacia 2. Si el aire procede de 2 se cierra 1 y el aire se dirige directamente a 3. AOHB 100
  • 101.
    Se recomienda montaresta válvula directamente sobre el cilindro o lo más cerca posible de éste con el fin de mejorar su efecto. AOHB 101
  • 102.
    La velocidad deretorno del vástago de un cilindro de simple efecto o la de un cilindro de doble efecto en cualquiera de sus dos sentidos puede ser incrementada por medio de una válvula de escape rápido. AOHB 102
  • 103.
    VÁLVULA DE ESCAPERÁPIDO AOHB 103
  • 104.
  • 105.
    Ésta válvula tansolo se abre cuando recibe señales simultáneas de dos lugares diferentes. AOHB 105
  • 106.
    Ésta válvula tienedos entradas 12 y 14, y una salida 2. El aire comprimido puede pasar únicamente cuando hay presión en ambas entradas. AOHB 106
  • 107.
    Una única señalde entrada en 12 ó 14 interrumpe el flujo, en razón del desequilibrio de fuerzas que actúan sobre la pieza móvil. AOHB 107
  • 108.
    Cuando las señales están desplazadas cronológicamente, la última es la que llega a la salida 2. AOHB 108
  • 109.
    Si las señalesde entrada son de una presión distinta, la mayor cierra la válvula y la menor se dirige hacia la salida 2. AOHB 109
  • 110.
  • 111.
    Esta válvula sedenomina también módulo “Y” o función lógica “AND”. Se utiliza principalmente en mandos de enclavamiento, funciones de control y operaciones lógicas. AOHB 111
  • 112.
    Se emplea sise desea que un cilindro sea maniobrado cuando se reciban señales de aire comprimido simultáneas desde dos puntos diferentes. AOHB 112
  • 113.
    Es el casoque interesa por cuestiones de seguridad, para que el operario tenga ocupadas sus dos manos al accionar un elemento que pudiera dañarlas. AOHB 113
  • 114.
  • 115.
    Antiguamente llamadas válvulasde caudal, ya que actúan de modo preferente sobre el caudal. La acción sobre el caudal (flujo), se limita exclusivamente al caudal circulante. AOHB 115
  • 116.
  • 117.
    VÁLVULA REGULADORA DECAUDAL AOHB 117
  • 118.
  • 119.
    AOHB 119
  • 120.
    Estas válvulas influyen principalmente sobre la presión, o están condicionadas por el valor que tome aquélla. Entre ellas destacan las siguientes: • Válvulas reguladoras de presión • Válvulas limitadoras de presión • Válvulas de secuencia. AOHB 120
  • 121.
  • 122.
    Tiene la misiónde mantener constante la presión en su salida independientemente de la presión que exista a la entrada. AOHB 122
  • 123.
    Tienen como finalidadfundamental obtener una presión invariable en los elementos de trabajo, independientemente de las fluctuaciones de la presión que normalmente se producen en la red de distribución. AOHB 123
  • 124.
    La presión deentrada mínima debe ser siempre, obviamente, superior a la exigida a la salida. AOHB 124
  • 125.
    Existen dos tipos,una con orificio de escape a la atmósfera y otra sin él, con las características que a continuación se explican. AOHB 125
  • 126.
    Válvula reguladora presióncon orificio de escape
  • 127.
    Esta válvula constade una membrana con un orificio en su parte central presionada por un muelle cuya fuerza puede graduarse desde el exterior; además dispone de un estrechamiento en su parte superior que se modifica al ser desplazado un vástago por la membrana, siendo a su vez retenido por un muelle. AOHB 127
  • 128.
    La regulación dela presión se consigue de la manera siguiente. Si la presión de salida es superior a la definida, actúa sobre la membrana oprimiendo el muelle y deja el paso del aire hacia el exterior a través del orificio de escape. AOHB 128
  • 129.
    Cuando se alcanzala presión de consigna, la membrana regresa a su posición normal cerrando el escape. El estrechamiento de la parte superior tiene como finalidad producir la pérdida de carga necesaria entre la entrada y la salida. AOHB 129
  • 130.
    El muelle quedispone esta válvula auxiliar tiene por objeto atenuar las oscilaciones excesivas. AOHB 130
  • 131.
    VÁLVULA REGULADORA DEPRESIÓN CON ORIFICIO DE ESCAPE AOHB 131
  • 132.
    Válvula reguladora presiónsin orificio de escape
  • 133.
    La válvula sinorificio de escape es esencialmente igual a la anterior con la diferencia que al no disponer de un orificio de escape a la atmósfera cuando se produce una sobrepresión, es necesario que se consuma el aire para reducir la presión al valor de consigna. AOHB 133
  • 134.
    VÁLVULA REGULADORA DEPRESIÓN SIN ORIFICIO DE ESCAPE AOHB 134
  • 135.
  • 136.
    También llamada válvulade alivio, sobrepresión o de seguridad, es una válvula similar a la válvula reguladora de presión, la diferencia estriba en su utilidad. AOHB 136
  • 137.
    Mientras que las válvulas reguladoras de presión se utilizan para proteger los elementos neumáticos, las válvulas limitadoras de presión se emplean para limitar la presión de toda la red. AOHB 137
  • 138.
    No admiten quela presión en el sistema sobrepase un valor máximo admisible. AOHB 138
  • 139.
    Al alcanzar enla entrada de la válvula el valor máximo de presión, se abre la salida y el aire sale a la atmósfera. La válvula permanece abierta, hasta que el muelle incorporado, una vez alcanzada la presión ajustada en función de la característica del muelle, cierre el paso. AOHB 139
  • 140.
    VÁLVULA LIMITADORA DEPRESIÓN AOHB 140
  • 141.
  • 142.
    Su funcionamiento esmuy similar al de la válvula limitadora de presión, la diferencia estriba que en vez de salir el aire a la atmósfera al alcanzarse la presión de consigna, deja pasar el aire para realizar un determinado cometido. AOHB 142
  • 143.
    El aire nocircula de 1 (P) hacia la salida 2 (A), mientras que en el conducto de mando 12 (Y) no se alcanza una presión de consigna. Un émbolo de mando abre el paso de 1 hacia 2. AOHB 143
  • 144.
    Estas válvulas semontan en mandos neumáticos que actúan cuando se precisa una presión fija para un fenómeno de conmutación. AOHB 144
  • 145.
  • 146.
  • 147.
    El temporizador neumático,es una unidad formada por tres elementos básicos: • Una válvula direccional • Una válvula reguladora de caudal unidireccional • Un acumulador AOHB 147
  • 148.
  • 149.
    La regulación deltiempo se logra estrangulando el paso del fluido que llaga por la línea 12 (Z) al acumulador. AOHB 149
  • 150.
    Cuando la cantidadde aire que ha ingresado al acumulador genera una presión suficiente para vencer el resorte, se acciona la válvula direccional para bloquear la señal de presión y establecer comunicación entre 2 (A) y 3 (R). AOHB 150
  • 151.
    Cuando la línea12 (Z) se pone en descarga, el fluido sale del acumulador a través del conducto que en primera instancia cerraba la membrana flexible (antirretorno) en lugar de seguir por la estrangulación ya que esto significa un mayor esfuerzo. AOHB 151
  • 152.
  • 153.
  • 154.
    La unidad de mantenimiento representa una combinación de los siguientes elementos: • Filtro de aire comprimido • Regulador de presión • Lubricador de aire comprimido AOHB 154
  • 155.
    Símbolo ISO 155 AOHB
  • 156.
    FILTRO 156 AOHB
  • 157.
    VÁLVULA REGULADORA DEPRESIÓN 157 AOHB
  • 158.
    LUBRICADOR 158 AOHB
  • 159.
  • 160.
    AOHB 160
  • 161.
  • 162.
    AOHB 162
  • 163.
  • 164.
    AOHB 164
  • 165.
  • 166.
    AOHB 166
  • 167.
  • 168.
    Expulsión de unapieza mecanizada por movimiento oscilatorio hacia una rampa de caída AOHB 168
  • 169.
    Verificación de tapasen línea de producción AOHB 169
  • 170.
    Distribución y dosificaciónde un determinado volumen mediante introducción de una cuchara en un depósito AOHB 170
  • 171.
    Accionamiento neumático lineal de una puerta de dos batientes AOHB 171
  • 172.
    Fresado doble conaproximación automática de las fresas AOHB 172
  • 173.
    Desplazamiento automático deuna sierra de disco AOHB 173
  • 174.
    Sujeción automática depiezas en máquina de taladrar AOHB 174
  • 175.
    Cambio de sentidode piezas en una cinta transportadora AOHB 175
  • 176.
    Transporte de cajasa distinto nivel con giro simultáneo AOHB 176
  • 177.
    Distribución de piezasa dos puntos distintos AOHB 177
  • 178.
    Elevador con cilindrosneumáticos para puestos de montaje AOHB 178
  • 179.
    Avance indirecto deun husillo de taladrar por medio de un cilindro lineal AOHB 179
  • 180.
    Mesa giratoria deproducción automatizada AOHB 180
  • 181.
    Normas aplicadas alos esquemas neumáticos
  • 182.
    NORMA SIGNIFICADO ISO International Standard Organization (Organización Internacional de Normas) CETOP Comité Européen des Transmissions Oléohydrauliques et Pneumatiques (Asociación Europea de Transmisiones Oleo hidráulicas y Neumáticas) DIN Deutsches Institur für Normung (Instituto Alemán de Normalización) AOHB 182
  • 183.
    NORMA SIGNIFICADO VDI Verein Deutscher Ingenieure (Asociación Alemana de Ingenieros) UNE Una Norma Española En neumática, la ISO 1219 es equivalente a la UNE 101 149-86 AOHB 183
  • 184.
  • 185.
    NIVEL COMPONENTE EJEMPLOS 6º Elementos de trabajo Cilindros, motores neumáticos 5º Elementos de regulación de velocidad Reguladores de caudal unidireccional 4º Elementos de potencia Válvula distribuidora para el cilindro 3º Elementos de tratamiento de señal Selectores de función “O” e “Y” 2º Elementos de entrada de señal Microválvulas de acc. manual, final de carrera 1º Fuente de alimentación de energía Unidad de mantenimiento AOHB 185
  • 186.
  • 187.
    1. Los elementosde trabajo, de accionamiento o de maniobra van numerados por este orden: 1.0, 2.0, 3.0, ... 2. Los elementos de potencia, distribuidores principales, de ajuste, de gobierno u órganos de potencia llevan la designación: 1.1, 2.1, 3.1, ... AOHB 187
  • 188.
    3. Los captadoresde señal, emisores de señal, de introducción o captadores de información se nombran con: - Los que intervienen en la salida del vástago (pares): 1.2, 1.4, 1.6, ... 2.2, 2.4, 2.6, ... 3.2, 3.4, 3.6, … … AOHB 188
  • 189.
    - Los queintervienen en el retroceso del vástago (impares): 1.3, 1.5, 1.7, … 2.3, 2.5, 2.7, … 3.3, 3.5, 3,7, … … AOHB 189
  • 190.
    4. Los elementosde regulación de velocidad: - Los que intervienen en la salida del vástago (pares): 1.02, 2.02, 3.02, … - Los que intervienen en el retroceso del vástago (impares): 1.03, 2.03, 3.03, … AOHB 190
  • 191.
    5. Los elementosauxiliares de producción y tratamiento de aire: 0.1, 0.2, 0.3, ... AOHB 191
  • 192.
    AOHB 192
  • 193.
  • 194.
    CONTROL DE UNCILINDRO DE SIMPLE EFECTO CON VÁLVULA 2/2 AOHB 194
  • 195.
    CONTROL DE UNCILINDRO DE SIMPLE EFECTO CON VÁLVULA 3/2 AOHB 195
  • 196.
    REGULACIÓN DE LAVELOCIDAD DE UN CILINDRO DE SIMPLE EFECTO AOHB 196
  • 197.
    CONTROL DE UNCILINDRO DE DOBLE EFECTO CON VÁLVULA 5/2 AOHB 197
  • 198.
    CONTROL MANUAL DEUN CILINDRO DE DOBLE EFECTO AOHB 198
  • 199.
    ACCIONAMIENTO MANUAL YRETORNO AUTOMÁTICO DE UN CILINDRO DE DOBLE EFECTO AOHB 199
  • 200.
    CONTROL AUTOMÁTICO DEUN CILINDRO DE DOBLE EFECTO AOHB 200
  • 201.
    TIPOS DE REPRESENTACIÓNDE ESQUEMAS NEUMÁTICOS
  • 202.
    Hay tres tiposde representaciones de los esquemas neumáticos: 1. Esquemas de situación o de disposición 2. Diagramas de funcionamiento 3. Esquema del sistema neumático AOHB 202
  • 203.
  • 204.
    ESQUEMAS DE SITUACIÓNO DISPOSICIÓN Muestran la ubicación de los elementos con los que se trabaja y el proceso que se está realizando. Deben ser sencillos y limitarse a lo esencial. AOHB 204
  • 205.
    Ejemplo de unesquema de situación
  • 206.
    Se requiere diseñarun sistema elevador- empujador de cajas de maderas, para elevar cajas de madera conteniendo productos frágiles a un segundo nivel, con un cilindro de simple efecto, y luego desplazarlas hacia una cinta transportadora de rodillos mediante otro cilindro de simple efecto. AOHB 206
  • 207.
    Esquema de situacióndel sistema elevador-empujador de las cajas de madera 207 207
  • 208.
  • 209.
    DIAGRAMA DE FUNCIONAMIENTO Estosdiagramas a su vez pueden ser: a. Diagramas espacio-fase. b. Diagramas espacio-tiempo. c. Diagramas espacio-fase-tiempo. AOHB 209
  • 210.
  • 211.
    DIAGRAMA ESPACIO-FASE Representa laposición de cada elemento de mando y/o trabajo respecto a los demás, en las fases de conmutación. AOHB 211
  • 212.
    Ejemplo de undiagrama espacio-fase
  • 213.
    Diagrama espacio-fase delsistema elevador-empujador de cajas de madera AOHB 213
  • 214.
  • 215.
    DIAGRAMA ESPACIO-TIEMPO Representa laposición de cada elemento de mando y/o trabajo respecto a los demás, en función del tiempo. AOHB 215
  • 216.
  • 217.
    DIAGRAMA ESPACIO-FASE-TIEMPO Representa laposición de cada elemento de mando y/o trabajo respecto a las fases de conmutación y tiempo. AOHB 217
  • 218.
  • 219.
    ESQUEMA DEL SISTEMANEUMÁTICO La elaboración de estos esquemas se realiza con el uso de los símbolos de la norma ISO 1219. AOHB 219
  • 220.
    ESQUEMA DEL SISTEMANEUMÁTICO Se debe tener presente las siguientes reglas: 1. El desarrollo del esquema se realiza de abajo hacia arriba, en el sentido del flujo de energía, continuándose la representación de los diferentes elementos de mando de izquierda a derecha. AOHB 220
  • 221.
    ESQUEMA DEL SISTEMANEUMÁTICO 2. La designación de los elementos se hace de acuerdo a la nomenclatura numérica de los elementos presentes en el esquema neumático. AOHB 221
  • 222.
    ESQUEMA DEL SISTEMANEUMÁTICO 3. La numeración se hace en sentido contrario al flujo de energía, manteniendo el índice del eslabón de mando al que pertenece. AOHB 222
  • 223.
    Ejemplo de unsistema neumático 223
  • 224.
    Esquema del sistemaelevador-empujador de cajas de madera 224 AOHB 224
  • 225.
    GRACIAS AOHB 225