Mecánica de fluidos
Prof.: Ing. Deivis Medina Seijas
EJERCICIOS PROPUESTOS DE MANOMETRIA
El agua dentro del recipiente se presuriza con aire y la presión se mide con un manómetro de
varios fluidos como se muestra en la figura. Determine la presión manométrica del aire en el
recipiente si ℎ1=0,20 m, ℎ2=0,30, ℎ3=0,43 m. Considere las densidades del agua el aceite y
el mercurio como; 1000 kg/m3, 850kg/m3, 13600 kg/m3 respectivamente.
El manómetro que se muestra a continuación contiene tres líquidos, cuando P1 es 10 Kpa
(lectura manométrica). Determine la altura de columna de aceite (distancia entre c y d).
Utilice g=9,81 m/s2, la densidad relativa del mercurio es (𝜌𝑅) 13,6, y la del aceite es 0,88.
Mecánica de fluidos
Prof.: Ing. Deivis Medina Seijas
Mecánica de fluidos
Prof.: Ing. Deivis Medina Seijas
Mecánica de fluidos
Prof.: Ing. Deivis Medina Seijas
Mecánica de fluidos
Prof.: Ing. Deivis Medina Seijas
Mecánica de fluidos
Prof.: Ing. Deivis Medina Seijas
Un medidor y un manómetro están conectados a un tanque de aceite medio, el medidor arroja
una lectura de 123, 39 Kpa, la cual es la presión en el punto A (nivel del fluido). Ya que el
tanque está totalmente cerrado y no se puede ver el nivel de aceite. Según la lectura del
manómetro cual puede ser el volumen de aceite que se estima contiene el tanque? Considere
la densidad relativa del mercurio 13,6, la densidad del agua 1000 kg/m3, la densidad relativa
del aceite 0,861. El tanque tiene un diámetro 3,00 mts.
Aire
Mecánica de fluidos
Prof.: Ing. Deivis Medina Seijas
El punto A está a 53 cm por debajo de la superficie libre del líquido, de densidad relativa
1.25 en el recipiente ¿cuál es la presión manométrica en A si el mercurio asciende 34.30 cm
en el tubo?
El depósito de la figura contiene un aceite de densidad relativa 0.750. Determinar la lectura
del manómetro A en Pa.
Mecánica de fluidos
Prof.: Ing. Deivis Medina Seijas
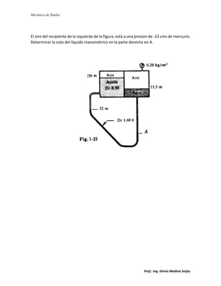
El aire del recipiente de la izquierda de la figura, está a una presion de -23 cms de mercurio.
Determinar la cota del líquido manométrico en la parte derecha en A.

Guia de ejercicios (manometria)

  • 1.
    Mecánica de fluidos Prof.:Ing. Deivis Medina Seijas EJERCICIOS PROPUESTOS DE MANOMETRIA El agua dentro del recipiente se presuriza con aire y la presión se mide con un manómetro de varios fluidos como se muestra en la figura. Determine la presión manométrica del aire en el recipiente si ℎ1=0,20 m, ℎ2=0,30, ℎ3=0,43 m. Considere las densidades del agua el aceite y el mercurio como; 1000 kg/m3, 850kg/m3, 13600 kg/m3 respectivamente. El manómetro que se muestra a continuación contiene tres líquidos, cuando P1 es 10 Kpa (lectura manométrica). Determine la altura de columna de aceite (distancia entre c y d). Utilice g=9,81 m/s2, la densidad relativa del mercurio es (𝜌𝑅) 13,6, y la del aceite es 0,88.
  • 2.
    Mecánica de fluidos Prof.:Ing. Deivis Medina Seijas
  • 3.
    Mecánica de fluidos Prof.:Ing. Deivis Medina Seijas
  • 4.
    Mecánica de fluidos Prof.:Ing. Deivis Medina Seijas
  • 5.
    Mecánica de fluidos Prof.:Ing. Deivis Medina Seijas
  • 6.
    Mecánica de fluidos Prof.:Ing. Deivis Medina Seijas Un medidor y un manómetro están conectados a un tanque de aceite medio, el medidor arroja una lectura de 123, 39 Kpa, la cual es la presión en el punto A (nivel del fluido). Ya que el tanque está totalmente cerrado y no se puede ver el nivel de aceite. Según la lectura del manómetro cual puede ser el volumen de aceite que se estima contiene el tanque? Considere la densidad relativa del mercurio 13,6, la densidad del agua 1000 kg/m3, la densidad relativa del aceite 0,861. El tanque tiene un diámetro 3,00 mts. Aire
  • 7.
    Mecánica de fluidos Prof.:Ing. Deivis Medina Seijas El punto A está a 53 cm por debajo de la superficie libre del líquido, de densidad relativa 1.25 en el recipiente ¿cuál es la presión manométrica en A si el mercurio asciende 34.30 cm en el tubo? El depósito de la figura contiene un aceite de densidad relativa 0.750. Determinar la lectura del manómetro A en Pa.
  • 8.
    Mecánica de fluidos Prof.:Ing. Deivis Medina Seijas El aire del recipiente de la izquierda de la figura, está a una presion de -23 cms de mercurio. Determinar la cota del líquido manométrico en la parte derecha en A.