LAZOS DE CONTROL Ing. Jorge Estrada L. Ing. Antonio Vences E.
LAZOS DE CONTROL En los inicios de la era industrial, el control de los procesos se llevo a cabo mediante tanteos basados en la intuición y la experiencia acumulada. Mas tarde, el mercado exigió mayor calidad en las piezas fabricadas, lo que condujo al desarrollo de teorías para explicar el funcionamiento del proceso.
DEFINICIONES Variable controlada : es el flujo, nivel, temp. presión, etc. del proceso que queremos controlar. (variable del proceso PV) Variable manipulada : es la presión (3-15 psi), corriente (4-20mA) (variable de control CV). Elem. Prim. de Med .: Son los medidores de campo, básculas, Med. de flujo, Med. de nivel. Elem. Final de Med .: válvulas, variadores de veloc., solenoides, etc..
DEFINICIONES Rango : limites de medición de un instrumento o transmisor. Span : diferencia entre el max. y min. del rango del instrumento (casi siempre igual). Set-poit : es el valor al que tiene que llegar la variable del proceso
TIPOS DE CONTROL Existen algunos tipos de control para procesos industriales, de los mas usados son: El control todo-nada (de dos posiciones) El control de lazo abierto El control de lazo cerrado (PID)
CONTROL TODO - NADA En este tipo de control, el elemento final de control se mueve rápidamente entre una de dos posiciones fijas a la otra, para un valor único de la variable controlada
CONTROL TODO - NADA
CONTROL LAZO ABIERTO En el control de lazo abierto, se puede identificar porque no tiene un elemento de medición en la  salida del proceso. Por lo tanto no puede verificar si se llego al set-point que se quiere. (No tienen realimentación) Ejemplos: Lavadoras, tostador de pan, semáforos, dosificadores, LDC, hornos de microondas, etc..
CONTROL LAZO ABIERTO
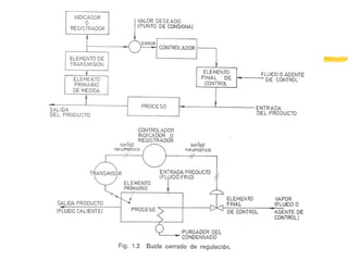
CONTROL DE LAZO CERRADO Este tipo de control, incluye dentro de sus elementos al medidor de la variable del proceso, para que su señal sea comparada con el set-poit. Se le llama control de lazo cerrado, porque el elemento primario de medición siempre esta viendo la variable del proceso y le indica al controlador las variaciones que esta teniendo este para que envíe la salida necesaria al elemento final y así lleve al proceso a los valores deseados (set-point).
El lazo de control cerrado típico, esta  formado por el proceso, el Elemento Primario  de Medición, el controlador y el Elemento Final. CONTROL DE LAZO CERRADO
 
El controlador permite al proceso cumplir con su objetivo de transformación del material y realiza dos funciones esenciales: Compara la variable medida con la de referencia o deseada (set-point) para determinar el error. Estabiliza el funcionamiento dinámico del lazo de control mediante circuitos especiales para reducir o eliminar el error. CONTROL DE LAZO CERRADO
CONTROL DE LAZO CERRADO
CONTROL DE LAZO CERRADO La figura anterior muestra un intercambiador de calor operado manualmente. El operador nota la Temp. con la mano Izq. y acciona la válvula de vapor para mantener el agua a la Tem.  deseada. Suponiendo que hay un aumento en el caudal de agua de entrada, el vapor actual no alcanza a calentar el mayor flujo de agua. Cuando el operador nota la disminución en la Temp. del agua de salida, debe calcular cuantas vueltas debe girar la válvula del vapor y en que sentido. El operador debe esperar un tiempo para determinar si el giro fue el correcto y así determina si debe de girar de nuevo o no. En el caso de que aun exista diferencia en la Temp. deseada de nuevo actuará, y así hasta que el error sea cero (variable del proceso - set-point  = 0). El operador logra el control en un tiempo determinado actuando a prueba y error, siempre y cuando no cambien las condiciones del proceso.
CONTROL DE LAZO CERRADO Partiendo del control manual anterior, es como  surgió el control: P roporcional -  I ntegral -  D erivativo
CONTROL DE LAZO CERRADO CONTROLADOR  PROPORCIONAL El controlador proporcional ajusta la salida de la variable de control (CV) de una manera que es proporcional al error presente
CONTROL DE LAZO CERRADO CONTROLADOR  PROPORCIONAL La relación de ganancia proporcional entre la variable de control  CV  y el error  E , depende del ancho de banda en el cual el controlador esta trabajan- do Ejem.: Si el controlador solo requie- re ejecutar control de 90 a 150 F, con el set-point en 120 F, solo controlara un rango de 60 F (150-90) sobre el rango total de 120 F (180-60). La ban- da proporcional  (PB) es un porcentaje del rango completo de la variable del proceso  PB=  PV(max)- PV(min)  PV(maxrang)-PV(minrang)
CONTROL DE LAZO CERRADO CONTROLADOR  PROPORCIONAL La ganancia del controlador (Kp) indica que tan sensible es el controlador al error.  La banda proporcional (PB) también indica esta sensibilidad ya que la ganancia y la banda están relacionadas. Kp=   1  y  PB=   1  PB  Kp
CONTROL DE LAZO CERRADO CONTROLADOR  PROPORCIONAL La ganancia proporcional del sistema de Temp. anterior  esta definido por que tanto cambia la salida de la variable de control por cada % de error en la banda de control. Asi pues, la variable de control (CV) cambiara 2% por cada 1% de error.
CONTROL DE LAZO CERRADO CONTROLADOR  INTEGRAL El controlador Integral proporciona una salida cuya relación de cambio es proporcional a la desviación del error. Esto quiere decir, que si el error es muy grande, los cambios en la salida del controlador serán rápidos y viceversa
CONTROL DE LAZO CERRADO CONTROLADOR  INTEGRAL La ganancia de un Ctrl. Integral esta definida por la ecuacion: Ki=  %de Cambio de CV por sec.. %error sobre rango completo Por ejem. Un valor de Ki=0.5 1/sec, indica que el controlador obtendra una ganancia de 0.5% es su salida por cada 1% de error presente. El valor que se introduce directamente al controlador es: T=   1  .   De tal manera que el valor que colocamos es en seg. Ki El controlador integral también se le llama  de acción de reset  porque automáticamente resetea el error a cero en el tiempo.
CONTROL DE LAZO CERRADO CONTROLADOR  DERIVATIVO La salida de un controlador Derivativo, es proporcional a la relación de cambio del error en el sistema. Este tipo de control nunca se usa solo, esto es debido a que los cambios que provoca son muy grandes en la salida del controlador, ya sea con error positivo o negativo
CONTROL DE LAZO CERRADO CTRL.  PROP-INTEG (PI) Este tipo de controlador tiene un tiempo rápido de respuesta con la acción proporcional y elimina el error residual con la acción integral.
CONTROL DE LAZO CERRADO CTRL.  PROP-INTEG (PI) De esta fig.:el valor de Ti es 1 (a), después de 1 min., la KpE se repite igual. En (b), con un tiempo integral de Ti=.333, indica que el termino KpE se repetirá 3 veces en un min..
CONTROL DE LAZO CERRADO CONTROLADOR  P.I.D. El controlador proporcional-integral-derivativo (PID), combina las acciones de los tres controladores. Este controlador puede usarse en casi todos los procesos que involucren retardos y tiempos muertos. El PID elimina el offset del controlador proporcional, a través de su acción integral y suprime las oscilaciones  con su acción derivativa. Cuando se ajusta correctamente el PID regulara suavemente  la respuesta de cualquier proceso.
CONTROL DE LAZO CERRADO AJUSTE DE UN  P.I.D. Existen algunos procedimientos para ajustar un PID, que depen-den del proceso que se quiere regular. La finalidad es ajustarlo de tal forma que al provocar un disturbio el controlador lleve al proceso a la estabilidad (PV=SP) en el menor tiempo posible o el permitido por el proceso.
CONTROL DE LAZO CERRADO

Lazo De Control

  • 1.
    LAZOS DE CONTROLIng. Jorge Estrada L. Ing. Antonio Vences E.
  • 2.
    LAZOS DE CONTROLEn los inicios de la era industrial, el control de los procesos se llevo a cabo mediante tanteos basados en la intuición y la experiencia acumulada. Mas tarde, el mercado exigió mayor calidad en las piezas fabricadas, lo que condujo al desarrollo de teorías para explicar el funcionamiento del proceso.
  • 3.
    DEFINICIONES Variable controlada: es el flujo, nivel, temp. presión, etc. del proceso que queremos controlar. (variable del proceso PV) Variable manipulada : es la presión (3-15 psi), corriente (4-20mA) (variable de control CV). Elem. Prim. de Med .: Son los medidores de campo, básculas, Med. de flujo, Med. de nivel. Elem. Final de Med .: válvulas, variadores de veloc., solenoides, etc..
  • 4.
    DEFINICIONES Rango :limites de medición de un instrumento o transmisor. Span : diferencia entre el max. y min. del rango del instrumento (casi siempre igual). Set-poit : es el valor al que tiene que llegar la variable del proceso
  • 5.
    TIPOS DE CONTROLExisten algunos tipos de control para procesos industriales, de los mas usados son: El control todo-nada (de dos posiciones) El control de lazo abierto El control de lazo cerrado (PID)
  • 6.
    CONTROL TODO -NADA En este tipo de control, el elemento final de control se mueve rápidamente entre una de dos posiciones fijas a la otra, para un valor único de la variable controlada
  • 7.
  • 8.
    CONTROL LAZO ABIERTOEn el control de lazo abierto, se puede identificar porque no tiene un elemento de medición en la salida del proceso. Por lo tanto no puede verificar si se llego al set-point que se quiere. (No tienen realimentación) Ejemplos: Lavadoras, tostador de pan, semáforos, dosificadores, LDC, hornos de microondas, etc..
  • 9.
  • 10.
    CONTROL DE LAZOCERRADO Este tipo de control, incluye dentro de sus elementos al medidor de la variable del proceso, para que su señal sea comparada con el set-poit. Se le llama control de lazo cerrado, porque el elemento primario de medición siempre esta viendo la variable del proceso y le indica al controlador las variaciones que esta teniendo este para que envíe la salida necesaria al elemento final y así lleve al proceso a los valores deseados (set-point).
  • 11.
    El lazo decontrol cerrado típico, esta formado por el proceso, el Elemento Primario de Medición, el controlador y el Elemento Final. CONTROL DE LAZO CERRADO
  • 12.
  • 13.
    El controlador permiteal proceso cumplir con su objetivo de transformación del material y realiza dos funciones esenciales: Compara la variable medida con la de referencia o deseada (set-point) para determinar el error. Estabiliza el funcionamiento dinámico del lazo de control mediante circuitos especiales para reducir o eliminar el error. CONTROL DE LAZO CERRADO
  • 14.
  • 15.
    CONTROL DE LAZOCERRADO La figura anterior muestra un intercambiador de calor operado manualmente. El operador nota la Temp. con la mano Izq. y acciona la válvula de vapor para mantener el agua a la Tem. deseada. Suponiendo que hay un aumento en el caudal de agua de entrada, el vapor actual no alcanza a calentar el mayor flujo de agua. Cuando el operador nota la disminución en la Temp. del agua de salida, debe calcular cuantas vueltas debe girar la válvula del vapor y en que sentido. El operador debe esperar un tiempo para determinar si el giro fue el correcto y así determina si debe de girar de nuevo o no. En el caso de que aun exista diferencia en la Temp. deseada de nuevo actuará, y así hasta que el error sea cero (variable del proceso - set-point = 0). El operador logra el control en un tiempo determinado actuando a prueba y error, siempre y cuando no cambien las condiciones del proceso.
  • 16.
    CONTROL DE LAZOCERRADO Partiendo del control manual anterior, es como surgió el control: P roporcional - I ntegral - D erivativo
  • 17.
    CONTROL DE LAZOCERRADO CONTROLADOR PROPORCIONAL El controlador proporcional ajusta la salida de la variable de control (CV) de una manera que es proporcional al error presente
  • 18.
    CONTROL DE LAZOCERRADO CONTROLADOR PROPORCIONAL La relación de ganancia proporcional entre la variable de control CV y el error E , depende del ancho de banda en el cual el controlador esta trabajan- do Ejem.: Si el controlador solo requie- re ejecutar control de 90 a 150 F, con el set-point en 120 F, solo controlara un rango de 60 F (150-90) sobre el rango total de 120 F (180-60). La ban- da proporcional (PB) es un porcentaje del rango completo de la variable del proceso PB= PV(max)- PV(min) PV(maxrang)-PV(minrang)
  • 19.
    CONTROL DE LAZOCERRADO CONTROLADOR PROPORCIONAL La ganancia del controlador (Kp) indica que tan sensible es el controlador al error. La banda proporcional (PB) también indica esta sensibilidad ya que la ganancia y la banda están relacionadas. Kp= 1 y PB= 1 PB Kp
  • 20.
    CONTROL DE LAZOCERRADO CONTROLADOR PROPORCIONAL La ganancia proporcional del sistema de Temp. anterior esta definido por que tanto cambia la salida de la variable de control por cada % de error en la banda de control. Asi pues, la variable de control (CV) cambiara 2% por cada 1% de error.
  • 21.
    CONTROL DE LAZOCERRADO CONTROLADOR INTEGRAL El controlador Integral proporciona una salida cuya relación de cambio es proporcional a la desviación del error. Esto quiere decir, que si el error es muy grande, los cambios en la salida del controlador serán rápidos y viceversa
  • 22.
    CONTROL DE LAZOCERRADO CONTROLADOR INTEGRAL La ganancia de un Ctrl. Integral esta definida por la ecuacion: Ki= %de Cambio de CV por sec.. %error sobre rango completo Por ejem. Un valor de Ki=0.5 1/sec, indica que el controlador obtendra una ganancia de 0.5% es su salida por cada 1% de error presente. El valor que se introduce directamente al controlador es: T= 1 . De tal manera que el valor que colocamos es en seg. Ki El controlador integral también se le llama de acción de reset porque automáticamente resetea el error a cero en el tiempo.
  • 23.
    CONTROL DE LAZOCERRADO CONTROLADOR DERIVATIVO La salida de un controlador Derivativo, es proporcional a la relación de cambio del error en el sistema. Este tipo de control nunca se usa solo, esto es debido a que los cambios que provoca son muy grandes en la salida del controlador, ya sea con error positivo o negativo
  • 24.
    CONTROL DE LAZOCERRADO CTRL. PROP-INTEG (PI) Este tipo de controlador tiene un tiempo rápido de respuesta con la acción proporcional y elimina el error residual con la acción integral.
  • 25.
    CONTROL DE LAZOCERRADO CTRL. PROP-INTEG (PI) De esta fig.:el valor de Ti es 1 (a), después de 1 min., la KpE se repite igual. En (b), con un tiempo integral de Ti=.333, indica que el termino KpE se repetirá 3 veces en un min..
  • 26.
    CONTROL DE LAZOCERRADO CONTROLADOR P.I.D. El controlador proporcional-integral-derivativo (PID), combina las acciones de los tres controladores. Este controlador puede usarse en casi todos los procesos que involucren retardos y tiempos muertos. El PID elimina el offset del controlador proporcional, a través de su acción integral y suprime las oscilaciones con su acción derivativa. Cuando se ajusta correctamente el PID regulara suavemente la respuesta de cualquier proceso.
  • 27.
    CONTROL DE LAZOCERRADO AJUSTE DE UN P.I.D. Existen algunos procedimientos para ajustar un PID, que depen-den del proceso que se quiere regular. La finalidad es ajustarlo de tal forma que al provocar un disturbio el controlador lleve al proceso a la estabilidad (PV=SP) en el menor tiempo posible o el permitido por el proceso.
  • 28.