IES AZORÍN


1. Dibuja las vistas de las piezas de la derecha. Colorea cada cara de la
   perspectiva y su vista correspondiente con un mismo color.

    ALZADO     PERFIL IZQUIERDO




                                                                            1


    PLANTA




      ALZADO                PERFIL IZQUIERDO




                                                                            2


      PLANTA




      ALZADO                PERFIL IZQUIERDO




                                                                            3



      PLANTA




CARLOS DE LA ROSA SÁNCHEZ                  CHARLIEBRAWN2001@YAHOO.ES
IES AZORÍN

2. Dibuja las vistas de las piezas de la derecha.



      PERFIL DERECHO      ALZADO




                                                                1

                          PLANTA




      PERFIL DERECHO      ALZADO



                                                                2


                          PLANTA




        ALZADO           PERFIL IZQUIERDO




                                                                3



         PLANTA




CARLOS DE LA ROSA SÁNCHEZ           CHARLIEBRAWN2001@YAHOO.ES
IES AZORÍN


3. Dibuja las vistas de las piezas de la derecha. Elije el punto de vista
   más adecuado.


                                                    1




                                                    2




                                                    3




CARLOS DE LA ROSA SÁNCHEZ        CHARLIEBRAWN2001@YAHOO.ES
IES AZORÍN



  4. Dibuja las tres vistas principales de las siguientes piezas:

                        1                                    2




                         3                                    4




                         5                                    6




                         7                                    8




CARLOS DE LA ROSA SÁNCHEZ       CHARLIEBRAWN2001@YAHOO.ES
IES AZORÍN


  5. Dibuja las vistas de las siguientes piezas respetando las
     dimensiones que se indican.




CARLOS DE LA ROSA SÁNCHEZ      CHARLIEBRAWN2001@YAHOO.ES
IES AZORÍN


  6. Dibuja las vistas de las piezas siguientes, aplicando la escala que
     se indica junto a ellas. Acótalas correctamente.

                                                             A
                                                             DIBUJAR A
                                                             ESCALA 1:2




                                                             B
                                                             DIBUJAR A
                                                             ESCALA 2:1




CARLOS DE LA ROSA SÁNCHEZ      CHARLIEBRAWN2001@YAHOO.ES
IES AZORÍN


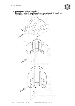
  7. EJERCICIOS DE AMPLIACIÓN.
     Dibuja las vistas de las piezas siguientes, aplicando la escala que
     se indica junto a ellas. Acótalas correctamente.




CARLOS DE LA ROSA SÁNCHEZ      CHARLIEBRAWN2001@YAHOO.ES

vistas en diédrico

  • 1.
    IES AZORÍN 1. Dibujalas vistas de las piezas de la derecha. Colorea cada cara de la perspectiva y su vista correspondiente con un mismo color. ALZADO PERFIL IZQUIERDO 1 PLANTA ALZADO PERFIL IZQUIERDO 2 PLANTA ALZADO PERFIL IZQUIERDO 3 PLANTA CARLOS DE LA ROSA SÁNCHEZ CHARLIEBRAWN2001@YAHOO.ES
  • 2.
    IES AZORÍN 2. Dibujalas vistas de las piezas de la derecha. PERFIL DERECHO ALZADO 1 PLANTA PERFIL DERECHO ALZADO 2 PLANTA ALZADO PERFIL IZQUIERDO 3 PLANTA CARLOS DE LA ROSA SÁNCHEZ CHARLIEBRAWN2001@YAHOO.ES
  • 3.
    IES AZORÍN 3. Dibujalas vistas de las piezas de la derecha. Elije el punto de vista más adecuado. 1 2 3 CARLOS DE LA ROSA SÁNCHEZ CHARLIEBRAWN2001@YAHOO.ES
  • 4.
    IES AZORÍN 4. Dibuja las tres vistas principales de las siguientes piezas: 1 2 3 4 5 6 7 8 CARLOS DE LA ROSA SÁNCHEZ CHARLIEBRAWN2001@YAHOO.ES
  • 5.
    IES AZORÍN 5. Dibuja las vistas de las siguientes piezas respetando las dimensiones que se indican. CARLOS DE LA ROSA SÁNCHEZ CHARLIEBRAWN2001@YAHOO.ES
  • 6.
    IES AZORÍN 6. Dibuja las vistas de las piezas siguientes, aplicando la escala que se indica junto a ellas. Acótalas correctamente. A DIBUJAR A ESCALA 1:2 B DIBUJAR A ESCALA 2:1 CARLOS DE LA ROSA SÁNCHEZ CHARLIEBRAWN2001@YAHOO.ES
  • 7.
    IES AZORÍN 7. EJERCICIOS DE AMPLIACIÓN. Dibuja las vistas de las piezas siguientes, aplicando la escala que se indica junto a ellas. Acótalas correctamente. CARLOS DE LA ROSA SÁNCHEZ CHARLIEBRAWN2001@YAHOO.ES