TRAZO, REPLANTEO Y NIVELACIÓN
TRAZADO Y REPLANTEO
INTRODUCCION
Que hacer antes de proceder al trazado:
• Debe comprobarse si la forma y medida de
lotes obtenido en plano coincide con las
reales obtenidas en el terreno.
Pero si se trata de terrenos pequeños la
constatación es posible efectuarla con
implementos simples ( winchas, cordeles,
estacas).
Si se trata de terrenos de gran extensión,
este trabajo demanda la intervención de
topógrafo y uso de equipo adecuado.
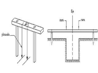
1.-TRAZAR - REPLANTEO
Es el proceso o la operación que tiene por
objeto de trasladar fielmente la
información de los planos al terreno.
Consiste en la ubicación de los ejes de la
edificación, dimensiones y formas
indicadas en los planos que integran la
documentación técnica de la obra.
 Físicamente los ejes se ubican mediante
dos puntos que se materializan con vallas
de madera ( balizas), las que pueden ser
aisladas o corridas o bien con pintura en
muros vecinos.
 Los puntos se ubican fuera del área de
construcción.
El replanteo sobre el lote consiste en pasar las
medidas arquitectónicas al terreno, es decir
marcarlo al tamaño natural según las
indicaciones de los planos, mediante trazos y
marcas sobre el terreno.
Estas marcas se hacen por medio de estacas,
hilo o nylon tensado y mojones de
concreto
El replanteo se realiza inicialmente sobre el lote
y después sobre las placas de la construcción
para marcar el piso de la construcción con las
medidas reales de los muros, los ductos
hidráulicos, los conductos eléctricos y las
puertas dibujados en los planos
arquitectónicos.
Una vez realizada la limpieza del terreno , Lo
primero es trazar todo lo relacionado con las
excavaciones, es decir, la planta de los cimientos,
zapatas y en algunos casos sótano, de acuerdo
con los planos aprobados.
En el plano de cimentación, los ejes de un sentido
se señalan con letras empezando con “A” y los ejes
del sentido perpendicular al primero con
números, empezando con “ 1 ”.
Cuando hay ejes muy próximos o de característica
similares, como en el caso de muros contiguas, se
puede usar las mismas letras para señalarlos,
diferenciando una de ellas con una tilde por
ejemplo C' y C'.
2.-ELEMENTOS INDISPENSABLES PARA EL TRAZO
Cinta numérica de acero (> 20 m.)
Cordel
Estacas de madera : 5 Cm. X 5Cm. de sección y 25
Cm. de longitud mínima, terminado en punta en
uno de sus extremos para clavarse en el terreno y
fijar puntos en el extremo saliente.
Estacas o cuartones y tablas para conformar las
balizas.
Comba, martillo, clavos, plomada, serrucho,
nivel de mano, escuadras, yeso o cal y otros(pico,
lampa, carretilla, agregados, cemento, etc.
ESTACAS DE MADERA
MARTILLO O COMBA
PLOMADA
NIVEL
ESCUADRA
2.-LAS ETAPAS DEL TRAZO Y REPLANTEO
1.- trazo de ejes de la edificación
Se usa el plano de ejes, donde se indica los
límites de propiedad.
El eje se delinea para facilitar el replanteo de
los cimientos sobre el terreno, el cual se
utiliza como guía para apertura de las
zanjas.
Debe realizarse con personal competente y
adecuado uso de instrumentos.
a.-Terreno libre.
Se utiliza estacas de madera o fierro, para marcar
los ejes, fijada con mezcla, la que define un
punto del alineamiento.
 Se ubican las estacas a una distancia de 0,50 m
del borde de la zanja a excavar.
Posteriormente se emplea una baliza, la que
tiene al pie de ésta la estaca anteriormente
colocada.
Todas las balizas deben estar a un mismo nivel y
en línea recta.
b.-Terreno cerrado por edificaciones contiguas.
c.-Situaciones mixtas, es decir libre en algunos
frentes y cerrado por edificaciones en otros.
Cuando existen edificaciones contiguas se
marcan en los muros existentes los ejes mediante
líneas verticales.
Luego se traza una línea horizontal que indique
un nivel determinado , así se forma un punto de
encuentro de las dos líneas que sirven de centro
para trazar un círculo dividido en cuatro partes
que se pintan iguales dos a dos en sentido
opuesto, notándose claramente la línea vertical
del eje y la línea horizontal del nivel.
3.-BALIZA
 Una baliza es un objeto señalizador,
utilizado para indicar un lugar geográfico
o una situación.
 Es importante que las balizas se
construyan de un material adecuado.
 Que su anclaje sea firme y que se
encuentre debidamente alineadas y
niveladas.
 Que su ubicación no estorbe el proceso
constructivo.
Las balizas pueden ser :
3.1.-BALIZA AISLADAS
 Se ejecutan clavando dos estacas en cada
extremo de la línea que constituye un eje a
una distancia equivalente como mínimo
una vez y media al ancho del cimiento.
 Por su extremo superior se une con una
tabla horizontal a unos 0,40 m. del suelo.
 Sobre la tabla se marca el eje del cimiento
o zapata con una muesca o un clavo,
pintando además la letra o número que le
corresponde según el plano de ejes o trazo.
Es preferible usar la muesca (Hueco hecho
en una cosa para encajar otra), pues el
espesor de los clavos y la vuelta que el
cordel les da, origina un desplazamiento
en el eje que hace perder exactitud.
3.2.- BALIZAS DE ESQUINA O DOBLE
Cuando forma ángulos.
3.3.- BALIZAS CORRIDAS
Cuando hay que marcar varios ejes es
mejor construir balizas corridas, es decir
una especie de cerco de madera.
4.-TRAZO DE EXCAVACIÓN
 Utiliza el plano de cimentación donde se señala
los ejes de los muros y columnas, además de otras
líneas notables.
 Emplea como referencia a las balizas y no
requiere de mayor precisión.
 Una vez que se han tendido los hilos de los ejes,
procédase a marcar el ancho de la zanja que se va
a excavar para la cimentación.
 Ésta zanja tendrá 10 cm. de más a cada lado con
respecto al ancho de la base de la cimentación.
 Cuando se trata de cimientos colindantes
con otros terrenos o construcciones, la
zanja se marcará de un solo lado del hilo.
 Finalizada esta operación y retirando los
cordeles se dará comienzo a la excavación.
 Las excavaciones se pagan por metro
cubico y dependiendo de la dificultad que
presente el terreno para ser atacado y del
medio utilizado para su ejecución.
5.-TRAZO DE CIMIENTOS
Partiendo del eje hacia los lados , se
mide el ancho del cimiento, señalado
sobre la baliza con otros clavos
equidistante del eje.
Luego se tiende cordeles en las marcas
que fijan el ancho de los Cimientos ( de
una baliza a otra).
Cordeles que permitirán, recurrir a la
plomada.
Efectuar la marcación sobre el terreno
(con yeso, puzolana o cal) definiendo el
ancho de los Cimientos.
La excavación para cimentación se
llevará hasta la profundidad
establecida por el estudio de suelos
respectivo.
Una vez efectuado las excavaciones de
los cimientos, las estacas se
substituyen por tiras de madera
colocadas a ambos lados de la
excavación llamada niveletas.
6.-TRAZO DE ZAPATAS O ENSANCHE DE CIMIENTOS
Definen la ubicación de columnas o placas.
Se marcan en el terreno los dos ejes perpendiculares
entre si que definen su posición.
 Luego se miden a cada lado la mitad del ancho y
largo, marcándose con yeso, o cal el perímetro de la
zapata para iniciar la excavación.
Una zapata es una ampliación de la base de una
columna o muro que tiene por objeto transmitir la
carga al subsuelo a una presión adecuada.
Una zapata (a veces llamada poyo) es un tipo de
cimentación superficial (normalmente aislada), que
puede ser empleada en terrenos razonablemente
homogéneos y de resistencias a compresión media o
alta.
• A las zapatas que soportan una sola columna se
llaman individuales o zapatas aisladas.
• A La zapata que se construye debajo de un muro se
llama zapata corrida o zapata continua.
• Si una zapata soporta varias columnas se llama
zapata combinada.
 Comparar los planos de arquitectura( plano de
trazo o ejes) con los de estructuras(planos de
cimentación), ya que existen casos en que no se
corresponde entre sí, es decir, los ejes no
coinciden, sea por error del proyectista o
dibujante.
 Tener presente que el plano de arquitectura( plano
de trazo o ejes), es el que manda.
1. Terreno compactado
2. Armadura inferior de la zapata
3. Calzo de apoyo de parrilla
separador P.V.C. o mortero)
4. Junta de hormigonado.
5. Armadura del pilar o acero
6. Hormigón de limpieza 5/10 cm.
ZAPATA1.- TRAZADO Y
REPLANTEO
2.- EXCAVACION
3.- PERFILADO Y
LIMPIEZA DE LA ZANJA
4.- CONSTRUCCION
DEL SOLADO
5.- TRAZO PARA
UBICAR LAS
COLUMNAS
7.- COLOCAMOS LAS
ARMADURAS
DE LAS COLUMNAS
FIJANDOLOS
CON PRESICION
6.- COLOCAMOS LA
PARRILLA DE LA ZAPATA
8.- COLOCADO DEL
CONCRETO EN
CAPAS Y LOGRANDO SU
MAXIMA
DENSIDAD (VIBRADO).
7.-REPLANTÉO DE ELEMENTOS ESTRUCTURALES
(Columnas, Placas y Muros)
 Una vez excavada la zanja o zapata a la
profundidad necesaria , se ejecuta un solado de
concreto pobre ( e= 2” o 3” ).
 Sobre éste solado se traza primero los ejes y
luego la sección de la columna.
 Ésta sección servirá para que una vez puesto la
malla de acero de la zapata, se pueda colocar el
fierro de la columna exactamente en su posición,
sujetándose encima de la excavación con un
marco de madera, de manera de centrar el fierro
de la columna, para su posterior vaciado.
 Una vez vaciado la zapata, se traza nuevamente
sobre ésta la sección de la columna para proceder
al encofrado.
8.-NIVELACIÓN
 Nivelación es el procedimiento mediante el cual
se determina:
A) El desnivel existente entre dos (o mas), hechos
físicos existentes entre sí.
B) La relación entre uno (o mas), hechos físicos y
un plano de referencia.
 Al mismo tiempo en que se realiza el trazo, se
procede a la colocación de niveles o cotas de los
pisos terminados de todas las superficie que tengan
relación con la primera planta del edificio.
 Para ello se asigna como nivel ±0,00 generalmente a
la vereda más próxima al ingreso de la edificación.
 A partir del nivel ± 0,00 los niveles más altos se
designan con el signo (+) y los niveles más bajos con
el signo (-).
 En viviendas el piso terminado está generalmente a +
0.15 m sobre el nivel de la vereda.
9.-MOVIMIENTO DE TIERRAS
El movimiento de tierra consiste en trasladar una
parte de la superficie de la tierra de un lugar a otro.
 Es crear una forma y condición física deseada.
En ocasiones el material que se mueve puede ser
desechado como desperdicio.
Debido a la gran variedad de suelos existentes y de
trabajo que deben efectuarse en ellos, se ha
desarrollado una amplia variedad de equipos y
métodos para ese fin.
Es la extracción de tierra en lugares que entorpecen la
construcción de vías y reposicionarla en un espacio
que no incomode a ningún involucrado de la
Construcción.
15.-RELLENOS EN EDIFICACIONES
 Los rellenos se efectúan generalmente para alcanzar
niveles sobre los cuales se vaciará el falso piso.
 Nunca debe cimentarse sobre rellenos.
 Debe ponerse especial atención en el material de
relleno y el método de compactación.
 El material más adecuado es el afirmado (2” a 4” y
contenido de finos entre 8 % a 12 %) .
 Este material (afirmado) es fácil de compactar y
formar terraplenes con muy buenas cualidades
resistentes.
 Es fundamental realizar el relleno en capas cuyo
espesor varíe entre 15 a 20 cm.
16.-COMPACTACIÓN
 El método de Compactación consiste en reducir al
mínimo los posibles espacios vacíos entre las
partículas del suelo.
 Los rellenos sobre los cuales se va a edificar,
necesitan un proceso de compactación y evitar un
asentamiento en condiciones de servicio.
 El método de Compactación a usar depende del tipo
de suelo( en suelos granulados: vibración; en los
cohesivos: amasamiento).
 La compactación de los suelos debe tener un
contenido óptimo de humedad, de modo que el agua
actúe como lubricante.
 El exceso de agua es perjudicial porque ocupa
espacios que se volverán vacíos luego de su
evaporación.
Usa los siguientes equipos generalmente:
Compactadora vibratoria y rodillo.
Talud
Talud se define como la pendiente de un
muro.
Talud es cualesquiera superficie inclinada
respecto a la horizontal que hayan de
adoptar permanentemente las estructuras
de tierra.
La que es más gruesa en el fondo que en la
parte superior de éste, de modo que así
resista la presión de la tierra.
Los taludes deben soportar esfuerzos que
tienden a volcarse, desmoronarse, haciendo
deslizar la tierra .
TALUD NATURAL
El Talud Natural se produce de forma natural,
sin intervención humana.
 El talud Natural se denomina Talud de ladera
natural o simplemente Ladera.
TALUD ARTIFICIAL
Cuando los taludes son hechos por el hombre.
Se denominan cortes o taludes artificiales, según
la génesis de su formación.
11.-TALUDES EN EXCAVACIONES
Generalmente se pueden realizar excavaciones con
una profundidad menor o igual a 1,50 m. sin necesidad
de entibar.
 Sin embargo a profundidades mayores es necesario
entibar si se desea tener taludes verticales.
 El entibado para las excavaciones será de materiales
aceptados por la Interventora.
(Entibar :Colocación provisional de maderos o tablas
para sostener la tierra en las excavaciones).
 Las excavaciones serán entibadas cuando sea necesario:
1. Para prevenir el deslizamiento de material.
2. Impedir daño a la obra.
3. Proporcionar condiciones seguras de trabajo .
4. Facilitar el avance del mismo.
12.-NORMAS DE SEGURIDAD EN EXCAVACIONES
Entibar si se tiene zanjas > 1,50 m de profundidad.
No acumular material de excavación menos de 1.0 m
del borde de la zanja.
El ancho de la zanja debe guardar relación con la
profundidad.
Usar calzaduras si se va a excavar bajo
cimentaciones vecinas.
Humedecer el área a excavar si se tiene presencia
de arena.
Proteger las excavaciones profundas contra
rodadura de material y caída de personas.
ANCHO MÍNIMO PROFUNDIDAD MÁXIMA
0,40 1.00
0,60 1,50
0,75 2,00
0.80 3,00
1.00 4,00
CALZADURA
ENTIBAR
CALZADURAS :
 Es un sistema de soporte lateral.
 Es un muro de contención levantado
cuando se hace una excavación.
 Las calzaduras son estructuras
provisionales que se diseñan y
construyen para sostener las
cimentaciones vecinas y el suelo de la
pared expuesta, producto de las
excavaciones efectuadas.
13.-TIPOS DE EXCAVACIONES
1.-EXCAVACIÓN MANUAL:
 Se entenderá por excavación manual en general,
el excavar y quitar la tierra u otros materiales
según las indicaciones de planos arquitectónicos
o estructurales y de detalle, sin el uso de
maquinaria , y para volúmenes de menor
cuantía, que no se puedan ejecutar por medios
mecánicos.
 Se realiza con la lampa cuando el material está
suelto y requiere de un pico cuando se trata de
disgregar material .
 El rendimiento que se puede alcanzar depende
del tipo de terreno, presencia de agua,
profundidad de la zanja, etc.
EXCAVACION MANUAL
EXCAVACIÓN
ESCALONADA
A tiro de pala
Excavación con plataforma
2.-EXCAVACIÓN MECÁNICA
 La energía utilizada se concentra en la punta del
útil o útiles de la máquina en contacto con la
roca, de modo que supera la resistencia de la roca
a su penetración y la resistencia a tracción y
cizallamiento.
Los equipos más utilizados en la construcción de
edificaciones son: el cargador frontal y la
retroexcavadora.
En construcciones más grandes se utiliza
excavadora (neumática o sobre orugas), el
tractor, motoniveladora, compactadora, etc.
Los rendimientos de los equipos depende del
modelo, marca y condiciones de trabajo.
CARGADOR FRONTAL
RETROEXCAVADORA
EXCAVADORA SOBRE ORUGAS
MOTONIVELADORA
COMPACTADO
RA
14.-ACARREO DE MATERIALES
El acarreo consiste en el transporte de materiales desde los
sitios de excavación o producción, hasta los sitios de
disposición o aplicación.
El acarreo de materiales se dividen en dos grandes
rubros:
1.- ACARREO A MANO
Es el que se utiliza la mano de obra como principal agente
motor.
2.-ACARREO CON EQUIPO MECÁNICO
Es el acarreo cuya fuerza motriz es un motor.
 El método a emplear se elige según el volumen de material
y la distancia a transportar.
 Los medios más adecuado son la carretilla o buguie en
distancias cortas y de volquetes en distancias largas.
 Muchas veces no se presupuesta esta partida por falta de
un análisis adecuado del proyecto.
CAPACIDAD PORTANTE EN CIMENTACION
•Se denomina capacidad portante a la capacidad
del terreno para soportar las cargas aplicadas
sobre él.
•Técnicamente la capacidad portante es la
máxima presión media de contacto entre la
cimentación y el terreno tal que no se produzcan
un fallo por cortante del suelo o un asentamiento
diferencial excesivo.
•La capacidad portante del terreno aumenta,
como regla general, según aumenta la
profundidad de la cimentación.
•La capacidad portante del suelo depende de su
composición.
CAPACIDAD PORTANTE –MÉTODOS PRÁCTICOS
PROCEDIMIENTO 01
Se basa en una propiedad física:
Si un cuerpo pesado cae en tierra con alguna
violencia, la zona inmediata al choque percibirá
una sacudida cuya onda será mayor cuanto menor
sea la capacidad de resistencia del terreno.
Basándonos en este principio, un cubo lleno de
agua y un pisón corriente nos ayudará a saber con
que clase de terreno hemos de tratar.
 Si el cubo lo depositamos en el suelo, una vez
realizada la excavación y a su alrededor
apisonamos en el terreno repetidas veces con
golpes bruscos y secos.
Observaremos:
 Si se trata de un
terreno compacto
y duro, este
permanecerá
inalterable y , por
lo tanto, el agua
continuará
inmóvil.
 Si se trata de un
terreno poco
consistente y más
aun, si tuviera
concavidades, la
onda expansiva se
trasmitirá al cubo, y
el agua se pondría en
movimiento, al igual
que cuando
arrojamos una
piedra a un
estanque.
PROCEDIMIENTO 02
Se basa en la observación física.
 Una vez realizada la excavación y obtener
los niveles indicados en planos.
 Observar el tipo de material y clasificarlo,
teniendo en cuenta que si obtenemos grava
arenosa (Hormigón) es un material
recomendable para cimentar.
 Así mismo valiéndose de un retazo de
varilla de ½, que tiene una sección de 1 cm²,
presionamos contra el suelo (Aplicamos
una carga o fuerza), y apreciamos la
resistencia y rechazo a introducirse ésta
varilla en el suelo.
PROCEDIMIENTO 03
Método de la mesa:
 Se cava un pozo de 1,80 m por 1,80 m o más de lado y
de profundidad igual a la cota de fundación.
 Se aplana el piso del pozo, sin apisonarlo.
 En el fondo del mismo se coloca una mesa robusta de
1,4 m. de largo x 1 m. de ancho y de 0,6 m. de altura.
 La sección de las patas de la mesa es de de 7,1 cm. x 7,1
cm. por lado a fin de tener una superficie de contacto
de 200 cm²(4x50cm²) con el suelo.
 La mesa se nivela, teniendo a mano chapitas de
hierro de 7,1 cm. x 7,1 cm. por lado y 1 mm. de espesor
que se coloca debajo de las patas para así conseguir
la mesa a nivel.
 Al costado de ella se clava una regla sobre la cual se
marca con un lápiz la altura de la mesa.
 Se empieza a cargarla con todo cuidado, con
bolsas de cemento, previamente pesadas,
distribuidas uniformemente sobre la mesa.
 Se carga con 200Kgr. Y se deja así durante media
hora. Si no se nota ningún hundimiento se agrega
otros 200Kgr. Y se vuelve a esperar media hora.
 No presentándose en la mesa ningún
hundimiento. Se vuelve a cargar 200Kgr. Y así
sucesivamente hasta producir un hundimiento de
2 a 3 cm.( que se observa en la regla).
 Se divide la carga total por la superficie de las
patas, es decir, 200 cm² y este resultado se vuelve
a dividir por 8 o 10 (Coeficiente de seguridad).
 Si el terreno que ha de ocupar la edificación, es
grande este ensayo se hará en 3 o 4 puntos
diferentes.
 Para terrenos chicos será conveniente hacer dos
ensayos en lugares distintos.
 EJEMPLO : Carga total 2400Kgr.
Resistencia específica del terreno( Carga de
trabajo).
Clases de terrenos Resistencia
de trabajo
Kg/cm2.
Potencia mínima
de la
capa m.
Terrenos buenos y resistentes
Piedra
Tosca
Arcillas compactas y secas
Grava, arena, compactas y secas
Greda compacta y secas
De 20 a 30
Hasta 6
Hasta 3
Hasta 4
Hasta 3
1.0
1.0
1.5
1.5
1.5
Terrenos medianos
Terrenos húmedos
Arena (de aluvión)
Arcilla flojas
Hasta 1.5
Hasta 1.0
De 1.0 a 1.5
2.0
2.0
2.0
Terrenos malos y compresibles
Tierra vegetal
Tierra de relleno
Arena de médanos (dunas)
Hasta 0.70
Hasta 0.40
Hasta 0.50
-
-
-
La siguiente tabla dá idea de la potencia conforme al terreno:
La siguiente tabla dá idea de la potencia conforme al terreno

Dinamica de suelos_3

  • 1.
    TRAZO, REPLANTEO YNIVELACIÓN TRAZADO Y REPLANTEO INTRODUCCION Que hacer antes de proceder al trazado: • Debe comprobarse si la forma y medida de lotes obtenido en plano coincide con las reales obtenidas en el terreno. Pero si se trata de terrenos pequeños la constatación es posible efectuarla con implementos simples ( winchas, cordeles, estacas). Si se trata de terrenos de gran extensión, este trabajo demanda la intervención de topógrafo y uso de equipo adecuado.
  • 2.
    1.-TRAZAR - REPLANTEO Esel proceso o la operación que tiene por objeto de trasladar fielmente la información de los planos al terreno. Consiste en la ubicación de los ejes de la edificación, dimensiones y formas indicadas en los planos que integran la documentación técnica de la obra.  Físicamente los ejes se ubican mediante dos puntos que se materializan con vallas de madera ( balizas), las que pueden ser aisladas o corridas o bien con pintura en muros vecinos.  Los puntos se ubican fuera del área de construcción.
  • 3.
    El replanteo sobreel lote consiste en pasar las medidas arquitectónicas al terreno, es decir marcarlo al tamaño natural según las indicaciones de los planos, mediante trazos y marcas sobre el terreno. Estas marcas se hacen por medio de estacas, hilo o nylon tensado y mojones de concreto El replanteo se realiza inicialmente sobre el lote y después sobre las placas de la construcción para marcar el piso de la construcción con las medidas reales de los muros, los ductos hidráulicos, los conductos eléctricos y las puertas dibujados en los planos arquitectónicos.
  • 8.
    Una vez realizadala limpieza del terreno , Lo primero es trazar todo lo relacionado con las excavaciones, es decir, la planta de los cimientos, zapatas y en algunos casos sótano, de acuerdo con los planos aprobados. En el plano de cimentación, los ejes de un sentido se señalan con letras empezando con “A” y los ejes del sentido perpendicular al primero con números, empezando con “ 1 ”. Cuando hay ejes muy próximos o de característica similares, como en el caso de muros contiguas, se puede usar las mismas letras para señalarlos, diferenciando una de ellas con una tilde por ejemplo C' y C'.
  • 10.
    2.-ELEMENTOS INDISPENSABLES PARAEL TRAZO Cinta numérica de acero (> 20 m.) Cordel Estacas de madera : 5 Cm. X 5Cm. de sección y 25 Cm. de longitud mínima, terminado en punta en uno de sus extremos para clavarse en el terreno y fijar puntos en el extremo saliente. Estacas o cuartones y tablas para conformar las balizas. Comba, martillo, clavos, plomada, serrucho, nivel de mano, escuadras, yeso o cal y otros(pico, lampa, carretilla, agregados, cemento, etc.
  • 11.
    ESTACAS DE MADERA MARTILLOO COMBA PLOMADA NIVEL
  • 12.
  • 13.
    2.-LAS ETAPAS DELTRAZO Y REPLANTEO 1.- trazo de ejes de la edificación Se usa el plano de ejes, donde se indica los límites de propiedad. El eje se delinea para facilitar el replanteo de los cimientos sobre el terreno, el cual se utiliza como guía para apertura de las zanjas. Debe realizarse con personal competente y adecuado uso de instrumentos.
  • 14.
    a.-Terreno libre. Se utilizaestacas de madera o fierro, para marcar los ejes, fijada con mezcla, la que define un punto del alineamiento.  Se ubican las estacas a una distancia de 0,50 m del borde de la zanja a excavar. Posteriormente se emplea una baliza, la que tiene al pie de ésta la estaca anteriormente colocada. Todas las balizas deben estar a un mismo nivel y en línea recta.
  • 18.
    b.-Terreno cerrado poredificaciones contiguas. c.-Situaciones mixtas, es decir libre en algunos frentes y cerrado por edificaciones en otros. Cuando existen edificaciones contiguas se marcan en los muros existentes los ejes mediante líneas verticales. Luego se traza una línea horizontal que indique un nivel determinado , así se forma un punto de encuentro de las dos líneas que sirven de centro para trazar un círculo dividido en cuatro partes que se pintan iguales dos a dos en sentido opuesto, notándose claramente la línea vertical del eje y la línea horizontal del nivel.
  • 22.
    3.-BALIZA  Una balizaes un objeto señalizador, utilizado para indicar un lugar geográfico o una situación.  Es importante que las balizas se construyan de un material adecuado.  Que su anclaje sea firme y que se encuentre debidamente alineadas y niveladas.  Que su ubicación no estorbe el proceso constructivo. Las balizas pueden ser :
  • 23.
    3.1.-BALIZA AISLADAS  Seejecutan clavando dos estacas en cada extremo de la línea que constituye un eje a una distancia equivalente como mínimo una vez y media al ancho del cimiento.  Por su extremo superior se une con una tabla horizontal a unos 0,40 m. del suelo.  Sobre la tabla se marca el eje del cimiento o zapata con una muesca o un clavo, pintando además la letra o número que le corresponde según el plano de ejes o trazo.
  • 26.
    Es preferible usarla muesca (Hueco hecho en una cosa para encajar otra), pues el espesor de los clavos y la vuelta que el cordel les da, origina un desplazamiento en el eje que hace perder exactitud. 3.2.- BALIZAS DE ESQUINA O DOBLE Cuando forma ángulos. 3.3.- BALIZAS CORRIDAS Cuando hay que marcar varios ejes es mejor construir balizas corridas, es decir una especie de cerco de madera.
  • 28.
    4.-TRAZO DE EXCAVACIÓN Utiliza el plano de cimentación donde se señala los ejes de los muros y columnas, además de otras líneas notables.  Emplea como referencia a las balizas y no requiere de mayor precisión.  Una vez que se han tendido los hilos de los ejes, procédase a marcar el ancho de la zanja que se va a excavar para la cimentación.  Ésta zanja tendrá 10 cm. de más a cada lado con respecto al ancho de la base de la cimentación.
  • 29.
     Cuando setrata de cimientos colindantes con otros terrenos o construcciones, la zanja se marcará de un solo lado del hilo.  Finalizada esta operación y retirando los cordeles se dará comienzo a la excavación.  Las excavaciones se pagan por metro cubico y dependiendo de la dificultad que presente el terreno para ser atacado y del medio utilizado para su ejecución.
  • 31.
    5.-TRAZO DE CIMIENTOS Partiendodel eje hacia los lados , se mide el ancho del cimiento, señalado sobre la baliza con otros clavos equidistante del eje. Luego se tiende cordeles en las marcas que fijan el ancho de los Cimientos ( de una baliza a otra). Cordeles que permitirán, recurrir a la plomada. Efectuar la marcación sobre el terreno (con yeso, puzolana o cal) definiendo el ancho de los Cimientos.
  • 32.
    La excavación paracimentación se llevará hasta la profundidad establecida por el estudio de suelos respectivo. Una vez efectuado las excavaciones de los cimientos, las estacas se substituyen por tiras de madera colocadas a ambos lados de la excavación llamada niveletas.
  • 38.
    6.-TRAZO DE ZAPATASO ENSANCHE DE CIMIENTOS Definen la ubicación de columnas o placas. Se marcan en el terreno los dos ejes perpendiculares entre si que definen su posición.  Luego se miden a cada lado la mitad del ancho y largo, marcándose con yeso, o cal el perímetro de la zapata para iniciar la excavación. Una zapata es una ampliación de la base de una columna o muro que tiene por objeto transmitir la carga al subsuelo a una presión adecuada. Una zapata (a veces llamada poyo) es un tipo de cimentación superficial (normalmente aislada), que puede ser empleada en terrenos razonablemente homogéneos y de resistencias a compresión media o alta.
  • 39.
    • A laszapatas que soportan una sola columna se llaman individuales o zapatas aisladas. • A La zapata que se construye debajo de un muro se llama zapata corrida o zapata continua. • Si una zapata soporta varias columnas se llama zapata combinada.  Comparar los planos de arquitectura( plano de trazo o ejes) con los de estructuras(planos de cimentación), ya que existen casos en que no se corresponde entre sí, es decir, los ejes no coinciden, sea por error del proyectista o dibujante.  Tener presente que el plano de arquitectura( plano de trazo o ejes), es el que manda.
  • 45.
    1. Terreno compactado 2.Armadura inferior de la zapata 3. Calzo de apoyo de parrilla separador P.V.C. o mortero) 4. Junta de hormigonado. 5. Armadura del pilar o acero 6. Hormigón de limpieza 5/10 cm.
  • 46.
    ZAPATA1.- TRAZADO Y REPLANTEO 2.-EXCAVACION 3.- PERFILADO Y LIMPIEZA DE LA ZANJA 4.- CONSTRUCCION DEL SOLADO 5.- TRAZO PARA UBICAR LAS COLUMNAS 7.- COLOCAMOS LAS ARMADURAS DE LAS COLUMNAS FIJANDOLOS CON PRESICION 6.- COLOCAMOS LA PARRILLA DE LA ZAPATA 8.- COLOCADO DEL CONCRETO EN CAPAS Y LOGRANDO SU MAXIMA DENSIDAD (VIBRADO).
  • 47.
    7.-REPLANTÉO DE ELEMENTOSESTRUCTURALES (Columnas, Placas y Muros)  Una vez excavada la zanja o zapata a la profundidad necesaria , se ejecuta un solado de concreto pobre ( e= 2” o 3” ).  Sobre éste solado se traza primero los ejes y luego la sección de la columna.  Ésta sección servirá para que una vez puesto la malla de acero de la zapata, se pueda colocar el fierro de la columna exactamente en su posición, sujetándose encima de la excavación con un marco de madera, de manera de centrar el fierro de la columna, para su posterior vaciado.  Una vez vaciado la zapata, se traza nuevamente sobre ésta la sección de la columna para proceder al encofrado.
  • 55.
    8.-NIVELACIÓN  Nivelación esel procedimiento mediante el cual se determina: A) El desnivel existente entre dos (o mas), hechos físicos existentes entre sí. B) La relación entre uno (o mas), hechos físicos y un plano de referencia.  Al mismo tiempo en que se realiza el trazo, se procede a la colocación de niveles o cotas de los pisos terminados de todas las superficie que tengan relación con la primera planta del edificio.  Para ello se asigna como nivel ±0,00 generalmente a la vereda más próxima al ingreso de la edificación.  A partir del nivel ± 0,00 los niveles más altos se designan con el signo (+) y los niveles más bajos con el signo (-).  En viviendas el piso terminado está generalmente a + 0.15 m sobre el nivel de la vereda.
  • 58.
    9.-MOVIMIENTO DE TIERRAS Elmovimiento de tierra consiste en trasladar una parte de la superficie de la tierra de un lugar a otro.  Es crear una forma y condición física deseada. En ocasiones el material que se mueve puede ser desechado como desperdicio. Debido a la gran variedad de suelos existentes y de trabajo que deben efectuarse en ellos, se ha desarrollado una amplia variedad de equipos y métodos para ese fin. Es la extracción de tierra en lugares que entorpecen la construcción de vías y reposicionarla en un espacio que no incomode a ningún involucrado de la Construcción.
  • 61.
    15.-RELLENOS EN EDIFICACIONES Los rellenos se efectúan generalmente para alcanzar niveles sobre los cuales se vaciará el falso piso.  Nunca debe cimentarse sobre rellenos.  Debe ponerse especial atención en el material de relleno y el método de compactación.  El material más adecuado es el afirmado (2” a 4” y contenido de finos entre 8 % a 12 %) .  Este material (afirmado) es fácil de compactar y formar terraplenes con muy buenas cualidades resistentes.  Es fundamental realizar el relleno en capas cuyo espesor varíe entre 15 a 20 cm.
  • 63.
    16.-COMPACTACIÓN  El métodode Compactación consiste en reducir al mínimo los posibles espacios vacíos entre las partículas del suelo.  Los rellenos sobre los cuales se va a edificar, necesitan un proceso de compactación y evitar un asentamiento en condiciones de servicio.  El método de Compactación a usar depende del tipo de suelo( en suelos granulados: vibración; en los cohesivos: amasamiento).  La compactación de los suelos debe tener un contenido óptimo de humedad, de modo que el agua actúe como lubricante.  El exceso de agua es perjudicial porque ocupa espacios que se volverán vacíos luego de su evaporación. Usa los siguientes equipos generalmente: Compactadora vibratoria y rodillo.
  • 65.
    Talud Talud se definecomo la pendiente de un muro. Talud es cualesquiera superficie inclinada respecto a la horizontal que hayan de adoptar permanentemente las estructuras de tierra. La que es más gruesa en el fondo que en la parte superior de éste, de modo que así resista la presión de la tierra. Los taludes deben soportar esfuerzos que tienden a volcarse, desmoronarse, haciendo deslizar la tierra .
  • 67.
    TALUD NATURAL El TaludNatural se produce de forma natural, sin intervención humana.  El talud Natural se denomina Talud de ladera natural o simplemente Ladera. TALUD ARTIFICIAL Cuando los taludes son hechos por el hombre. Se denominan cortes o taludes artificiales, según la génesis de su formación.
  • 76.
    11.-TALUDES EN EXCAVACIONES Generalmentese pueden realizar excavaciones con una profundidad menor o igual a 1,50 m. sin necesidad de entibar.  Sin embargo a profundidades mayores es necesario entibar si se desea tener taludes verticales.  El entibado para las excavaciones será de materiales aceptados por la Interventora. (Entibar :Colocación provisional de maderos o tablas para sostener la tierra en las excavaciones).  Las excavaciones serán entibadas cuando sea necesario: 1. Para prevenir el deslizamiento de material. 2. Impedir daño a la obra. 3. Proporcionar condiciones seguras de trabajo . 4. Facilitar el avance del mismo.
  • 77.
    12.-NORMAS DE SEGURIDADEN EXCAVACIONES Entibar si se tiene zanjas > 1,50 m de profundidad. No acumular material de excavación menos de 1.0 m del borde de la zanja. El ancho de la zanja debe guardar relación con la profundidad. Usar calzaduras si se va a excavar bajo cimentaciones vecinas. Humedecer el área a excavar si se tiene presencia de arena. Proteger las excavaciones profundas contra rodadura de material y caída de personas.
  • 79.
    ANCHO MÍNIMO PROFUNDIDADMÁXIMA 0,40 1.00 0,60 1,50 0,75 2,00 0.80 3,00 1.00 4,00
  • 80.
  • 81.
    CALZADURAS :  Esun sistema de soporte lateral.  Es un muro de contención levantado cuando se hace una excavación.  Las calzaduras son estructuras provisionales que se diseñan y construyen para sostener las cimentaciones vecinas y el suelo de la pared expuesta, producto de las excavaciones efectuadas.
  • 85.
    13.-TIPOS DE EXCAVACIONES 1.-EXCAVACIÓNMANUAL:  Se entenderá por excavación manual en general, el excavar y quitar la tierra u otros materiales según las indicaciones de planos arquitectónicos o estructurales y de detalle, sin el uso de maquinaria , y para volúmenes de menor cuantía, que no se puedan ejecutar por medios mecánicos.  Se realiza con la lampa cuando el material está suelto y requiere de un pico cuando se trata de disgregar material .  El rendimiento que se puede alcanzar depende del tipo de terreno, presencia de agua, profundidad de la zanja, etc.
  • 86.
    EXCAVACION MANUAL EXCAVACIÓN ESCALONADA A tirode pala Excavación con plataforma
  • 87.
    2.-EXCAVACIÓN MECÁNICA  Laenergía utilizada se concentra en la punta del útil o útiles de la máquina en contacto con la roca, de modo que supera la resistencia de la roca a su penetración y la resistencia a tracción y cizallamiento. Los equipos más utilizados en la construcción de edificaciones son: el cargador frontal y la retroexcavadora. En construcciones más grandes se utiliza excavadora (neumática o sobre orugas), el tractor, motoniveladora, compactadora, etc. Los rendimientos de los equipos depende del modelo, marca y condiciones de trabajo.
  • 88.
  • 89.
  • 90.
  • 91.
  • 92.
  • 93.
    14.-ACARREO DE MATERIALES Elacarreo consiste en el transporte de materiales desde los sitios de excavación o producción, hasta los sitios de disposición o aplicación. El acarreo de materiales se dividen en dos grandes rubros: 1.- ACARREO A MANO Es el que se utiliza la mano de obra como principal agente motor. 2.-ACARREO CON EQUIPO MECÁNICO Es el acarreo cuya fuerza motriz es un motor.  El método a emplear se elige según el volumen de material y la distancia a transportar.  Los medios más adecuado son la carretilla o buguie en distancias cortas y de volquetes en distancias largas.  Muchas veces no se presupuesta esta partida por falta de un análisis adecuado del proyecto.
  • 96.
    CAPACIDAD PORTANTE ENCIMENTACION •Se denomina capacidad portante a la capacidad del terreno para soportar las cargas aplicadas sobre él. •Técnicamente la capacidad portante es la máxima presión media de contacto entre la cimentación y el terreno tal que no se produzcan un fallo por cortante del suelo o un asentamiento diferencial excesivo. •La capacidad portante del terreno aumenta, como regla general, según aumenta la profundidad de la cimentación. •La capacidad portante del suelo depende de su composición.
  • 97.
    CAPACIDAD PORTANTE –MÉTODOSPRÁCTICOS PROCEDIMIENTO 01 Se basa en una propiedad física: Si un cuerpo pesado cae en tierra con alguna violencia, la zona inmediata al choque percibirá una sacudida cuya onda será mayor cuanto menor sea la capacidad de resistencia del terreno. Basándonos en este principio, un cubo lleno de agua y un pisón corriente nos ayudará a saber con que clase de terreno hemos de tratar.  Si el cubo lo depositamos en el suelo, una vez realizada la excavación y a su alrededor apisonamos en el terreno repetidas veces con golpes bruscos y secos. Observaremos:
  • 99.
     Si setrata de un terreno compacto y duro, este permanecerá inalterable y , por lo tanto, el agua continuará inmóvil.
  • 100.
     Si setrata de un terreno poco consistente y más aun, si tuviera concavidades, la onda expansiva se trasmitirá al cubo, y el agua se pondría en movimiento, al igual que cuando arrojamos una piedra a un estanque.
  • 101.
    PROCEDIMIENTO 02 Se basaen la observación física.  Una vez realizada la excavación y obtener los niveles indicados en planos.  Observar el tipo de material y clasificarlo, teniendo en cuenta que si obtenemos grava arenosa (Hormigón) es un material recomendable para cimentar.  Así mismo valiéndose de un retazo de varilla de ½, que tiene una sección de 1 cm², presionamos contra el suelo (Aplicamos una carga o fuerza), y apreciamos la resistencia y rechazo a introducirse ésta varilla en el suelo.
  • 102.
    PROCEDIMIENTO 03 Método dela mesa:  Se cava un pozo de 1,80 m por 1,80 m o más de lado y de profundidad igual a la cota de fundación.  Se aplana el piso del pozo, sin apisonarlo.  En el fondo del mismo se coloca una mesa robusta de 1,4 m. de largo x 1 m. de ancho y de 0,6 m. de altura.  La sección de las patas de la mesa es de de 7,1 cm. x 7,1 cm. por lado a fin de tener una superficie de contacto de 200 cm²(4x50cm²) con el suelo.  La mesa se nivela, teniendo a mano chapitas de hierro de 7,1 cm. x 7,1 cm. por lado y 1 mm. de espesor que se coloca debajo de las patas para así conseguir la mesa a nivel.  Al costado de ella se clava una regla sobre la cual se marca con un lápiz la altura de la mesa.
  • 103.
     Se empiezaa cargarla con todo cuidado, con bolsas de cemento, previamente pesadas, distribuidas uniformemente sobre la mesa.  Se carga con 200Kgr. Y se deja así durante media hora. Si no se nota ningún hundimiento se agrega otros 200Kgr. Y se vuelve a esperar media hora.  No presentándose en la mesa ningún hundimiento. Se vuelve a cargar 200Kgr. Y así sucesivamente hasta producir un hundimiento de 2 a 3 cm.( que se observa en la regla).  Se divide la carga total por la superficie de las patas, es decir, 200 cm² y este resultado se vuelve a dividir por 8 o 10 (Coeficiente de seguridad).
  • 104.
     Si elterreno que ha de ocupar la edificación, es grande este ensayo se hará en 3 o 4 puntos diferentes.  Para terrenos chicos será conveniente hacer dos ensayos en lugares distintos.  EJEMPLO : Carga total 2400Kgr. Resistencia específica del terreno( Carga de trabajo).
  • 106.
    Clases de terrenosResistencia de trabajo Kg/cm2. Potencia mínima de la capa m. Terrenos buenos y resistentes Piedra Tosca Arcillas compactas y secas Grava, arena, compactas y secas Greda compacta y secas De 20 a 30 Hasta 6 Hasta 3 Hasta 4 Hasta 3 1.0 1.0 1.5 1.5 1.5 Terrenos medianos Terrenos húmedos Arena (de aluvión) Arcilla flojas Hasta 1.5 Hasta 1.0 De 1.0 a 1.5 2.0 2.0 2.0 Terrenos malos y compresibles Tierra vegetal Tierra de relleno Arena de médanos (dunas) Hasta 0.70 Hasta 0.40 Hasta 0.50 - - - La siguiente tabla dá idea de la potencia conforme al terreno: La siguiente tabla dá idea de la potencia conforme al terreno

Notas del editor

  • #47 7.- COLOCAMOS LAS ARMADURAS DE LAS COLUMNAS FIJANDOLOS7.- COLOCAMOS LAS ARMADURAS DE LAS COLUMNAS FIJANDOLOS