REPÚBLICA BOLIVARIANA DE VENEZUELA
INSTITUTO UNIVERSITARIO POLITÉCNICO
“SANTIAGO MARIÑO”
ESCUELA DE INGENIERÍA ELECTRÓNICA
Tarea 3: Simplificación de diagrama de
bloque / función de transferencia
Asesor: Autor:
Ing. Mariangela Pollonais Grelyse Valdez
Teoría de Control C.I: 26.228.040
Maturín, febrero de 2017
1. Obtenga la función de transferencia de cada uno de los
siguientes circuitos, considerandolatensiónUe(t)comoentradayla
tensión Ms(t) como salida.
Circuito Nº 1:
Para las condiciones iniciales iguala cero del circuito en el
dominio del tiempo:
𝒖 𝒆( 𝒕) = 𝑽𝑹 + 𝑽𝑪
𝒎( 𝒕) = 𝑽𝑪
Siendo Voltaje del capacitor
𝟏
𝒄
∫ 𝒊 𝒅𝒕 obtenemosque:
𝒖 𝒆( 𝒕) = 𝒊( 𝒕) 𝑹 +
𝟏
𝒄
∫ 𝒊( 𝒕) 𝒅𝒕
𝒎( 𝒕) =
𝟏
𝒄
∫ 𝒊( 𝒕) 𝒅𝒕
Llevandoestá ecuación al dominio de Laplace:
𝑼𝒆( 𝒔) = 𝒊( 𝒔) 𝑹+
𝟏
𝒔𝑪
∗ 𝒊( 𝒔) ≈ 𝒊( 𝒔) 𝑹+
𝒊( 𝒔)
𝒔𝑪
𝑼𝒆( 𝒔) = 𝒊( 𝒔)(𝑹 +
𝟏
𝒔𝑪
) ≫≫≫
𝒊( 𝒔)( 𝑹𝒔𝑪 + 𝟏)
𝒔𝑪
𝑴( 𝒔) =
𝒊( 𝒔)
𝒔𝑪
≫≫≫ 𝒊( 𝒔) = 𝒔𝑪 𝑴( 𝒔)
Sustituyendonos queda:
𝑼𝒆( 𝒔) =
𝒔𝑪 𝑴( 𝒔)( 𝑹𝒔𝑪 + 𝟏)
𝒔𝑪
= 𝑴( 𝒔) ( 𝑹𝒔𝑪 + 𝟏)
𝑴( 𝒔)
𝑼𝒆( 𝒔)
=
1
𝑅𝑠𝐶 + 1
Circuito Nº 2:
Para las condiciones iniciales tendremos que:
−𝑢𝑒( 𝑡) = 𝑉𝑅 + 𝑉𝐿
Recordemosque el voltaje de la bobina (VL)Está dado por L
di/dt
𝑢𝑒 = 𝑖( 𝑡) 𝑅 + 𝐿
𝑑𝑖( 𝑡)
𝑑𝑡
𝑚( 𝑡) = 𝐿
𝑑𝑖( 𝑡)
𝑑𝑡
En el dominio de la frecuencia se expresa de la siguiente
manera:
𝑈𝑒( 𝑠) = 𝐼( 𝑠) 𝑅 + 𝐼( 𝑠) 𝑆𝐿 = 𝐼𝑠(𝑅 + 𝑆𝐿)
𝑀( 𝑠) = 𝐼( 𝑠) 𝑆𝐿
𝑀( 𝑠)
𝑈𝑒( 𝑠)
=
𝑆𝐿. 𝐼𝑠
𝐼𝑠 (𝑅 + 𝑆𝐿)
=
𝑠𝐿
𝑅 + 𝑠𝐿
Circuito Nº 3:
Dadas las condiciones iniciales tendremos que:
𝑢𝑒( 𝑡) = 𝑉𝐿 + 𝑉𝑅 + 𝑉𝐶
𝑢𝑒( 𝑡) = 𝐿
𝑑𝑖
𝑑𝑡
+ 𝐼. 𝑅 +
1
𝐶
∫ 𝐼 ( 𝑡) 𝑑𝑡
𝑈𝑒( 𝑡) = 𝑉𝐶
𝑀( 𝑡) =
1
𝑐
∫ 𝐼 ( 𝑡) 𝑑𝑡
Aplicando la Place
𝑈𝑒( 𝑠) = 𝑆𝐿. 𝐼( 𝑠) + 𝐼( 𝑠) 𝑅 + 𝐼𝑠 .
1
𝑆𝑐
𝑀( 𝑠) = 𝐼𝑠 .
1
𝑆𝑐
𝑀( 𝑠)
𝑈𝑒(𝑠)
=
1
𝑆𝑐
∗ 𝐼(𝑠)
𝐼( 𝑠) (𝑆2 + 𝐿𝐶 + 𝑅𝑆𝐶 + 1)
𝑆𝑐
𝑀( 𝑠)
𝑈𝑒(𝑠)
=
1
𝑆2 + 𝐿𝐶 + 𝑅𝑆𝐶 + 1
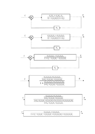
2. Obtenga la función de transferencia de los siguientes sistemas
cuyos diagramas de bloques son:
Primera simplificación:
Por ultimo tendríamos que la función de transferencia es:
Segunda Simplificación:
La función de transferencia obtenida es:

Simplificacion de bloques

  • 1.
    REPÚBLICA BOLIVARIANA DEVENEZUELA INSTITUTO UNIVERSITARIO POLITÉCNICO “SANTIAGO MARIÑO” ESCUELA DE INGENIERÍA ELECTRÓNICA Tarea 3: Simplificación de diagrama de bloque / función de transferencia Asesor: Autor: Ing. Mariangela Pollonais Grelyse Valdez Teoría de Control C.I: 26.228.040 Maturín, febrero de 2017
  • 2.
    1. Obtenga lafunción de transferencia de cada uno de los siguientes circuitos, considerandolatensiónUe(t)comoentradayla tensión Ms(t) como salida. Circuito Nº 1: Para las condiciones iniciales iguala cero del circuito en el dominio del tiempo: 𝒖 𝒆( 𝒕) = 𝑽𝑹 + 𝑽𝑪 𝒎( 𝒕) = 𝑽𝑪 Siendo Voltaje del capacitor 𝟏 𝒄 ∫ 𝒊 𝒅𝒕 obtenemosque: 𝒖 𝒆( 𝒕) = 𝒊( 𝒕) 𝑹 + 𝟏 𝒄 ∫ 𝒊( 𝒕) 𝒅𝒕 𝒎( 𝒕) = 𝟏 𝒄 ∫ 𝒊( 𝒕) 𝒅𝒕 Llevandoestá ecuación al dominio de Laplace: 𝑼𝒆( 𝒔) = 𝒊( 𝒔) 𝑹+ 𝟏 𝒔𝑪 ∗ 𝒊( 𝒔) ≈ 𝒊( 𝒔) 𝑹+ 𝒊( 𝒔) 𝒔𝑪 𝑼𝒆( 𝒔) = 𝒊( 𝒔)(𝑹 + 𝟏 𝒔𝑪 ) ≫≫≫ 𝒊( 𝒔)( 𝑹𝒔𝑪 + 𝟏) 𝒔𝑪 𝑴( 𝒔) = 𝒊( 𝒔) 𝒔𝑪 ≫≫≫ 𝒊( 𝒔) = 𝒔𝑪 𝑴( 𝒔)
  • 3.
    Sustituyendonos queda: 𝑼𝒆( 𝒔)= 𝒔𝑪 𝑴( 𝒔)( 𝑹𝒔𝑪 + 𝟏) 𝒔𝑪 = 𝑴( 𝒔) ( 𝑹𝒔𝑪 + 𝟏) 𝑴( 𝒔) 𝑼𝒆( 𝒔) = 1 𝑅𝑠𝐶 + 1 Circuito Nº 2: Para las condiciones iniciales tendremos que: −𝑢𝑒( 𝑡) = 𝑉𝑅 + 𝑉𝐿 Recordemosque el voltaje de la bobina (VL)Está dado por L di/dt 𝑢𝑒 = 𝑖( 𝑡) 𝑅 + 𝐿 𝑑𝑖( 𝑡) 𝑑𝑡 𝑚( 𝑡) = 𝐿 𝑑𝑖( 𝑡) 𝑑𝑡 En el dominio de la frecuencia se expresa de la siguiente manera: 𝑈𝑒( 𝑠) = 𝐼( 𝑠) 𝑅 + 𝐼( 𝑠) 𝑆𝐿 = 𝐼𝑠(𝑅 + 𝑆𝐿) 𝑀( 𝑠) = 𝐼( 𝑠) 𝑆𝐿 𝑀( 𝑠) 𝑈𝑒( 𝑠) = 𝑆𝐿. 𝐼𝑠 𝐼𝑠 (𝑅 + 𝑆𝐿) = 𝑠𝐿 𝑅 + 𝑠𝐿 Circuito Nº 3:
  • 4.
    Dadas las condicionesiniciales tendremos que: 𝑢𝑒( 𝑡) = 𝑉𝐿 + 𝑉𝑅 + 𝑉𝐶 𝑢𝑒( 𝑡) = 𝐿 𝑑𝑖 𝑑𝑡 + 𝐼. 𝑅 + 1 𝐶 ∫ 𝐼 ( 𝑡) 𝑑𝑡 𝑈𝑒( 𝑡) = 𝑉𝐶 𝑀( 𝑡) = 1 𝑐 ∫ 𝐼 ( 𝑡) 𝑑𝑡 Aplicando la Place 𝑈𝑒( 𝑠) = 𝑆𝐿. 𝐼( 𝑠) + 𝐼( 𝑠) 𝑅 + 𝐼𝑠 . 1 𝑆𝑐 𝑀( 𝑠) = 𝐼𝑠 . 1 𝑆𝑐 𝑀( 𝑠) 𝑈𝑒(𝑠) = 1 𝑆𝑐 ∗ 𝐼(𝑠) 𝐼( 𝑠) (𝑆2 + 𝐿𝐶 + 𝑅𝑆𝐶 + 1) 𝑆𝑐 𝑀( 𝑠) 𝑈𝑒(𝑠) = 1 𝑆2 + 𝐿𝐶 + 𝑅𝑆𝐶 + 1 2. Obtenga la función de transferencia de los siguientes sistemas cuyos diagramas de bloques son: Primera simplificación:
  • 7.
    Por ultimo tendríamosque la función de transferencia es: Segunda Simplificación:
  • 9.
    La función detransferencia obtenida es: