12 Resistencia de materiales. Problemas resueltos 
Problema 1.1 
Determinar los diagramas de esfuerzos en la estructura de la figura. 
600 2 2 
  ˜   
600 2 2 
F 
H 
F 
A 
Resolución: 
a) Descomposición de la fuerza exterior aplicada en el extremo de la barra BE. 
b) Cálculo de las reacciones. 
Tomamos momentos respecto al punto C: 
¦Mc   0 Ÿ 6 600 3 600 2 800 0 100 
N = -33,3 N 
3 
 
RAV ˜  ˜  ˜    Ÿ RAV    
Suma de fuerzas verticales y horizontales: 
N 
600 1900 
3 
¦ FV   0 Ÿ RAV  600  RCV   0 Ÿ 100    RCV 
  3 
¦FH   0 Ÿ RAH   600 N 
600 N 
2 
600 N 
2 
  ˜   
V 
Ejes globales 
B 
C 
E 
D 
600 2 N 
45o 
3 m 3 m 2 m 
2 m 
800 Nm 
A 
B 
C 
E 
D 
600 N 
600 N 
RAV 
RAH RCV 
800 Nm
1 Diagramas de esfuerzos 13 
c) Cálculo de momentos en los tramos AB y BC. 
( )   ˜    100 ˜      M x RAV x x M A MB 
TramoAB: 0 100 Nm 
3 
Tramo BC: 
Diagramas. 
M x R x x 
( )   ˜  600(  3)  600 ˜ 
2 
   ˜     
B 
M 
A B C D 
100 
Equilibrio del nudo B. 
6 600 3 600 2 800 Nm 
100 
100 
3 
3 0 1200 1100 Nm 
3 
   ˜  ˜  ˜    
C 
AV 
M 
600 N 
600 N 
- 
600 N 
600 N 
1900 N 
3 
B 
100/3 N 
B 
E 
+ 
A B C D 
600 N 
A B C D 
B 
E 
- 
- 
+ 
1200 N·m 
-100 N·m 
-800 N·m 
B 
E 
+ 
600 N 
1900 
3 
N 
- 
N 
T 
M 
1100 N·m 
- 
N 
3
14 Resistencia de materiales. Problemas resueltos 
Problema 1.2 
Determinar los diagramas de esfuerzos en la viga de la figura, apoyada en los extremos y sometida a 
una carga repartida triangular. 
A B 
Resolución: 
a) Cálculo de la reacciones. 
1600 6   
6 m 
Resultante de la carga 4800 N 
2 
˜ 
Q   . 
4800 N 
A B 
RA RB 
4 m 2 m 
R R 
   
¦ 
6 m 
0 6 4800 4 
A B 
4800 4 
1600 N 
3200 N 
6 
4800 
  
  
˜ 
  
  Ÿ ˜   ˜ 
B 
A 
A B 
R 
R 
M R 
x 
1600 N 
m 
T 
6
1 Diagramas de esfuerzos 15 
b) Cálculo de los esfuerzos de sección. 
A B 
L = 6 m 
d[ 
Sección situada a una distancia x del apoyo A: 
T: 
[ [ [ 
2 
x x 
1600 1600 1600 
   ³   ³ 
T q d d 
0 0 
x 
0 
2 
1600 1600 
12 
ª 
1600 1600 
   ˜ 
6 2 
6 
º 
T x 
   »¼ 
«¬ 
[ 
M: 
x x 
1600 1600 1600
³ ˜    ³ ˜  
M x q x d x x d 
[ [ [ [ [ 
0 0 
x 
0 
1600 1600 
6 6 
ª 
1600 1600 
2 3 
§ 
M x x 
   ˜  
6 2 3 
§ 
1600 1600 
§ 
   ˜  
6 2 3 
6 
· 
· 
· 
º 
3 3 3 
M x x x x x 
˜    ¸¸ 
¹ 
¨¨ 
© 
¸¸¹ 
¨¨© 
¨¨© 
»»¼ 
««¬ 
¸¸¹ 
[ [ 
x 
1600 N 
m 
1600 N 3200 N 
[ x-[
16 Resistencia de materiales. Problemas resueltos 
c) Diagramas. 
d) Punto de Mmáx 
A T 
  Ÿ   
M 
T x x 
     o     
3,46 3695 Nm 
0 
0 1600 1600 
1600 3,46 1600 
12 
12 3,46 m 
12 
2 
máx 
2 
  ˜  ˜   
w 
w 
M 
T T 
x 
1600 N 
3695 Nm 
3200 N 
- 
M 
+ 
+
1 Diagramas de esfuerzos 17 
Problema 1.3 
Determinar los diagramas de esfuerzos del pórtico inclinado de la figura. 
Resolución: 
200 2 N 
400 2 N 
45q 
Para el cálculo de las reacciones, planteamos las ecuaciones de la estática. 
F R R 
RAH 
0 200 2 0 
  Ÿ     
V AV C 
F R 
0 400 2 N 
  Ÿ   
H AH 
M R R 
0 4 400 2 2 200 2 2 0 300 2 N 
  Ÿ ˜  ˜  ˜   Ÿ   
¦¦¦ 
A C C 
2 m 
2 m 2 m 
C 
B 
A 
200 2 
400 2 
C 
B 
A 
RAV RC
18 Resistencia de materiales. Problemas resueltos 
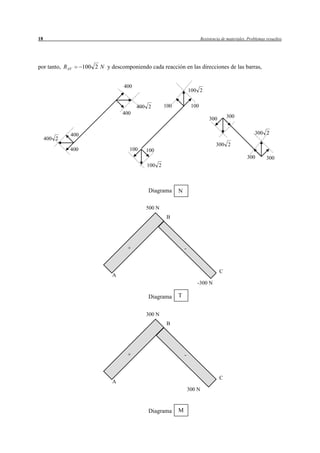
por tanto, RAV   100 2 N y descomponiendo cada reacción en las direcciones de las barras, 
400 2 
Diagrama 
Diagrama 
Diagrama 
400 
400 
400 
400 
400 2 
100 100 
100 100 
100 2 
100 2 
300 300 
300 300 
300 2 
300 2 
N 
+ - 
C 
A 
B 
500 N 
-300 N 
T 
+ - 
C 
A 
B 
300 N 
300 N 
M
1 Diagramas de esfuerzos 19 
x + 
M = 300 · x 
0 
  
600 2 Nm 
  
B 
A 
M 
B 
M 
M = 300 · x’ 
0 
  
600 2 Nm 
  
C 
M 
B 
M 
A 
Método alternativo para hallar las reacciones: resolución gráfica. 
Para que las tres fuerzas estén en equilibrio, sus líneas de acción deben cruzarse en punto O (ya que 
0 0 ¦M   ). A partir de la línea de acción vertical de RC, se obtiene O. 
C 
B 
300 N 
x’ 
+ 
200 2 
G 
400 2 
C 
B 
RA 
RC 
F 
RA 
G RC 
F 
// OA 
// OC
20 Resistencia de materiales. Problemas resueltos 
Problema 1.4 
Determinar los diagramas de esfuerzos en la viga de la figura. 
p = 600 
N 
ml 
4000 N 3000 N 
Resolución: 
Cálculo de las reacciones: 
M R R 
: 4000 2 600 6 3 6 3000 8 4467 N 
6133 N 
: 4000 600 6 3000 0 
˜  ˜ ˜  ˜  ˜ Ÿ   
  
   ˜    
¦ 
¦ 
B C C 
B 
V B C 
R 
F R R 
Diagrama de momentos flectores: 
Tramo AB: 
M x 
4000 
     
   ˜ 
M A MB 
0 8000 Nm 
Tramo BC:
M x x x 
4000 6133 2 600 2 
8000 Nm 6000 Nm 
2 
2 
      
 
   ˜  ˜   ˜ 
MB MC 
Tramo CD:
M x x x x 
4000 6133 2 600 6 5 4467 8 
     
   ˜  ˜   ˜ ˜   ˜  
MC 6000 Nm MD 
0 
Diagrama de esfuerzos cortantes. 
Tramo AB: 
4000 N 
      
   
TA TB 
4000 N 4000 N 
T 
P1 
A 
B C P2 D 
a = 2 m L = 6 m b = 2 m
1 Diagramas de esfuerzos 21 
Tramo BC:
T x x 
     ˜  
TB TC 
4000 6133 600 2 
     
2133 N 1467 N 
Tramo CD: 
4000 6133 3600 4467 
    
      
TC TD 
3000 N 3000 N 
T 
T 
El diagrama de momentos flectores pasa por un mínimo relativo en el punto E, donde la tangente es 
horizontal, o sea: 
    0 :  4000  6133  600 ˜   2
0 Ÿ   5,35m 
M 
w 
w 
T xE xE 
x 
ME = -4208 Nm 
D 
-8000 
-6000 
2133 
-4000 -4000 
3000 3000 
-1467 
M 
( Nm ) 
( N ) 
- 
- 
- 
+ 
+ 
E 
xE 
A 
B C 
a = 2 m L = 6 m b = 2 m
22 Resistencia de materiales. Problemas resueltos 
Problema 1.5 
En la viga en voladizo de la figura, calcular las reacciones en el empotramiento y dibujar los 
diagramas de esfuerzos cortantes y de momentos flectores en toda la viga. 
Resolución: 
4 KN 
0,5m 
5 KN/m 
1 m 2 m 1 m 
a) Reacciones en el empotramiento. 
Comenzaremos por buscar el sistema de fuerzas que ejerce el empotramiento, dibujamos el diagrama 
de sólido libre y obligamos al equilibrio. Sumando fuerzas y tomando momentos obtenemos: 
¿¾½ 
  
4 KN 
0.5m 
14 KN 
   ˜  ˜    ˜ 
4 0,5 10 2 22 KN m 
E 
M 
E 
F 
4 KN 
2 m 
0.5m 
FE 
10 KN 
ME 
Reacciones que ejerce el empotramiento sobre la viga. 
1 m 2 m 
FE 
ME 
5 KN/m

176976937 vigas

  • 1.
    12 Resistencia demateriales. Problemas resueltos Problema 1.1 Determinar los diagramas de esfuerzos en la estructura de la figura. 600 2 2 ˜ 600 2 2 F H F A Resolución: a) Descomposición de la fuerza exterior aplicada en el extremo de la barra BE. b) Cálculo de las reacciones. Tomamos momentos respecto al punto C: ¦Mc 0 Ÿ 6 600 3 600 2 800 0 100 N = -33,3 N 3 RAV ˜ ˜ ˜ Ÿ RAV Suma de fuerzas verticales y horizontales: N 600 1900 3 ¦ FV 0 Ÿ RAV 600 RCV 0 Ÿ 100 RCV 3 ¦FH 0 Ÿ RAH 600 N 600 N 2 600 N 2 ˜ V Ejes globales B C E D 600 2 N 45o 3 m 3 m 2 m 2 m 800 Nm A B C E D 600 N 600 N RAV RAH RCV 800 Nm
  • 2.
    1 Diagramas deesfuerzos 13 c) Cálculo de momentos en los tramos AB y BC. ( ) ˜ 100 ˜ M x RAV x x M A MB TramoAB: 0 100 Nm 3 Tramo BC: Diagramas. M x R x x ( ) ˜ 600( 3) 600 ˜ 2 ˜ B M A B C D 100 Equilibrio del nudo B. 6 600 3 600 2 800 Nm 100 100 3 3 0 1200 1100 Nm 3 ˜ ˜ ˜ C AV M 600 N 600 N - 600 N 600 N 1900 N 3 B 100/3 N B E + A B C D 600 N A B C D B E - - + 1200 N·m -100 N·m -800 N·m B E + 600 N 1900 3 N - N T M 1100 N·m - N 3
  • 3.
    14 Resistencia demateriales. Problemas resueltos Problema 1.2 Determinar los diagramas de esfuerzos en la viga de la figura, apoyada en los extremos y sometida a una carga repartida triangular. A B Resolución: a) Cálculo de la reacciones. 1600 6 6 m Resultante de la carga 4800 N 2 ˜ Q . 4800 N A B RA RB 4 m 2 m R R ¦ 6 m 0 6 4800 4 A B 4800 4 1600 N 3200 N 6 4800 ˜ Ÿ ˜ ˜ B A A B R R M R x 1600 N m T 6
  • 4.
    1 Diagramas deesfuerzos 15 b) Cálculo de los esfuerzos de sección. A B L = 6 m d[ Sección situada a una distancia x del apoyo A: T: [ [ [ 2 x x 1600 1600 1600 ³ ³ T q d d 0 0 x 0 2 1600 1600 12 ª 1600 1600 ˜ 6 2 6 º T x »¼ «¬ [ M: x x 1600 1600 1600
  • 6.
    ³ ˜ ³ ˜ M x q x d x x d [ [ [ [ [ 0 0 x 0 1600 1600 6 6 ª 1600 1600 2 3 § M x x ˜ 6 2 3 § 1600 1600 § ˜ 6 2 3 6 · · · º 3 3 3 M x x x x x ˜ ¸¸ ¹ ¨¨ © ¸¸¹ ¨¨© ¨¨© »»¼ ««¬ ¸¸¹ [ [ x 1600 N m 1600 N 3200 N [ x-[
  • 7.
    16 Resistencia demateriales. Problemas resueltos c) Diagramas. d) Punto de Mmáx A T Ÿ M T x x o 3,46 3695 Nm 0 0 1600 1600 1600 3,46 1600 12 12 3,46 m 12 2 máx 2 ˜ ˜ w w M T T x 1600 N 3695 Nm 3200 N - M + +
  • 8.
    1 Diagramas deesfuerzos 17 Problema 1.3 Determinar los diagramas de esfuerzos del pórtico inclinado de la figura. Resolución: 200 2 N 400 2 N 45q Para el cálculo de las reacciones, planteamos las ecuaciones de la estática. F R R RAH 0 200 2 0 Ÿ V AV C F R 0 400 2 N Ÿ H AH M R R 0 4 400 2 2 200 2 2 0 300 2 N Ÿ ˜ ˜ ˜ Ÿ ¦¦¦ A C C 2 m 2 m 2 m C B A 200 2 400 2 C B A RAV RC
  • 9.
    18 Resistencia demateriales. Problemas resueltos por tanto, RAV 100 2 N y descomponiendo cada reacción en las direcciones de las barras, 400 2 Diagrama Diagrama Diagrama 400 400 400 400 400 2 100 100 100 100 100 2 100 2 300 300 300 300 300 2 300 2 N + - C A B 500 N -300 N T + - C A B 300 N 300 N M
  • 10.
    1 Diagramas deesfuerzos 19 x + M = 300 · x 0 600 2 Nm B A M B M M = 300 · x’ 0 600 2 Nm C M B M A Método alternativo para hallar las reacciones: resolución gráfica. Para que las tres fuerzas estén en equilibrio, sus líneas de acción deben cruzarse en punto O (ya que 0 0 ¦M ). A partir de la línea de acción vertical de RC, se obtiene O. C B 300 N x’ + 200 2 G 400 2 C B RA RC F RA G RC F // OA // OC
  • 11.
    20 Resistencia demateriales. Problemas resueltos Problema 1.4 Determinar los diagramas de esfuerzos en la viga de la figura. p = 600 N ml 4000 N 3000 N Resolución: Cálculo de las reacciones: M R R : 4000 2 600 6 3 6 3000 8 4467 N 6133 N : 4000 600 6 3000 0 ˜ ˜ ˜ ˜ ˜ Ÿ ˜ ¦ ¦ B C C B V B C R F R R Diagrama de momentos flectores: Tramo AB: M x 4000 ˜ M A MB 0 8000 Nm Tramo BC:
  • 13.
    M x xx 4000 6133 2 600 2 8000 Nm 6000 Nm 2 2 ˜ ˜ ˜ MB MC Tramo CD:
  • 16.
    M x xx x 4000 6133 2 600 6 5 4467 8 ˜ ˜ ˜ ˜ ˜ MC 6000 Nm MD 0 Diagrama de esfuerzos cortantes. Tramo AB: 4000 N TA TB 4000 N 4000 N T P1 A B C P2 D a = 2 m L = 6 m b = 2 m
  • 17.
    1 Diagramas deesfuerzos 21 Tramo BC:
  • 18.
    T x x ˜ TB TC 4000 6133 600 2 2133 N 1467 N Tramo CD: 4000 6133 3600 4467 TC TD 3000 N 3000 N T T El diagrama de momentos flectores pasa por un mínimo relativo en el punto E, donde la tangente es horizontal, o sea: 0 : 4000 6133 600 ˜ 2
  • 19.
    0 Ÿ 5,35m M w w T xE xE x ME = -4208 Nm D -8000 -6000 2133 -4000 -4000 3000 3000 -1467 M ( Nm ) ( N ) - - - + + E xE A B C a = 2 m L = 6 m b = 2 m
  • 20.
    22 Resistencia demateriales. Problemas resueltos Problema 1.5 En la viga en voladizo de la figura, calcular las reacciones en el empotramiento y dibujar los diagramas de esfuerzos cortantes y de momentos flectores en toda la viga. Resolución: 4 KN 0,5m 5 KN/m 1 m 2 m 1 m a) Reacciones en el empotramiento. Comenzaremos por buscar el sistema de fuerzas que ejerce el empotramiento, dibujamos el diagrama de sólido libre y obligamos al equilibrio. Sumando fuerzas y tomando momentos obtenemos: ¿¾½ 4 KN 0.5m 14 KN ˜ ˜ ˜ 4 0,5 10 2 22 KN m E M E F 4 KN 2 m 0.5m FE 10 KN ME Reacciones que ejerce el empotramiento sobre la viga. 1 m 2 m FE ME 5 KN/m