Tema: Administración Financiera
Subtema; Apalancamiento Operativo o Palanca de
Operación
Objetivo: Que el alumno pueda cuantificar el riesgo de
operación, al utilizar los costos fijos de una empresa.
Apalancamiento:
APALANCAMIENTO.
Se denomina apalancamiento en el ámbito financiero
empresarial, a la estrategia que se utiliza para
incrementar las utilidades de tal forma que se
superen las utilidades que se obtienen con el capital
propio.
APALANCAMIENTO OPERATIVO
“Habilidad del administrador financiero en la utilización de
los costos fijos para aprovechar al máximo los resultados
de .os cambios en las ventas sobre las utilidades de
operación” El apalancamiento de operación se presenta
en empresas con elevados costos fijos y bajos costos
variables, como consecuencia del establecimiento de
procesos de producción altamente automatizados.
Una empresa vende sus productos a $ 10.00 por
unidad; sus costos variables de operación de $ 5.00
por unidad; sus costos fijos totales son de $ 25.00.
Presentar un cuadro con ventas de 5, 10 (BASE) y
15 unidades; tomando como base la venta de 10
unidades, tendremos:
Caso “A” Base Caso“B”
Unidades Vendidas 5 10 15
Ventas Netas (UV x CV) $ 50.00 $ 100.00 $ 150.00
Menos Costo Variables (UV x CV) $ 25.00 $ 50.00 $ 75.00
Contribución Marginal $ 25.00 $ 50.00 $ 75.00
Menos: Costos Fijos Totales $ 25.00 $ 25.00 $ 25.00
Unidad de Operación $ - $ 25.00 $ 50.00
Niveles de Utilidad de Operación - 100 % Base + 100 %
Apalancamiento de Operación 200 %
Niveles de Ventas (uns) - 50 % Base + 50 %
Una empresa vende sus productos a $ 10.00 por unidad; sus costos
variables de operación de $ 5.00 por unidad; sus costos fijos totales
son de $ 25.00. Presentar un cuadro con ventas de 5, 10 (BASE) y 15
unidades; tomando como base la venta de 10 unidades, tendremos:
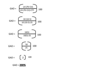
GAO =
UV (PV-CV)
UV (PV-CV)-CTF 100
GAO =
10 (10-5)
10 (10-5)-25 100
GAO =
10(5)
10(5)-25 100
GAO =
50
25
100
GAO = 2 100
GAO = 200%
Para calcular los porcentajes en los niveles de ventas, utilidades:
Caso “A” Caso “B”
Cifra parcial menos cifra base
Cifra base x 100
NUO =
0 - 25
25
X 100
NUO = -1 x 100
NUO = - 100%
NUO = 1 x 100
NUO = + 100%
Nivel de Utilidad de Operación
Nivel de Ventas
Caso “A” Caso “B”
NUO =
- 25
25
X 100
NUO =
50 - 25
25
X 100
NUO =
25
25
X 100
NV =
5 - 10
10
X 100
NV = - .50 x 100
NV = - 50%
NV =
- 5
10
X 100
NV =
15 - 10
10
X 100
NV = .50 x 100
NV = + 50 %
NV =
5
10
X 100
Comprobación Caso “A”
GAO =
GAO
GAO
Disminución de utilidades en %
Disminución de Ventas netas en%
GAO =
-100%
-50%
100
2 100
200%
GAO =
GAO
GAO
Aumento de utilidades en %
Aumento de Ventas netas en%
GAO =
-100%
-50%
100
2 100
200%
Comprobación Caso “B”
Comprobación Caso “A”
GAO =
GAO
GAO
Disminución de Util. De Oper.
%Disminución de Util. netas en%
GAO =
-100%
-50%
100
2 100
200%
GAO =
GAO
GAO
Aumento de utilidades en %
Aumento de Ventas netas en%
GAO =
-100%
-50%
100
2 100
200%
Comprobación Caso “B”
GAO =
UV (PV-CV)
UV (PV-CV)-CTF 100
GAO =
10 (10-5)
10 (10-5)-25 100
GAO =
10(5)
10(5)-25 100
GAO =
50
25
100
GAO = 2 100
GAO = 200%
Para calcular los porcentajes
en los niveles de ventas,
utilidades:
Niveles de ventas Caso “A”
GAO =
5-10
10
100
GAO =
-5
10
100
GAO =(-.50)x100
GAO =-50%
Niveles de ventas Caso “B”
GAO =
15-10
10
100
GAO =
5
10
100
GAO =(.50)x100
GAO =50%
Cifra parcial menos cifra base
Cifra base x 100
Niveles de UTILIDAD Caso “A”
GAO =
0-25
25
X 100
GAO =
.25
25
X 100
GAO = -1x100
GAO =--100%
Niveles de UTILIDAD Caso “B”
GAO =
50-25
25
X 100
GAO =
25
25
X 100
GAO = 1x100
GAO = 100%
Para calcular los porcentajes en los niveles de utilidad de operación , utilidades
netas:
Nivel de Utilidad de Operación
Cifra parcial menos cifra base
Cifra base x 100
Nivel de Utilidad Neta
NUN =
10’000,000.00 -20’000,000.00
20’000,000.00
x 100
NUN = - .50 x 100
NUN = - 50%
NUN =
- 10’000,000.00
20’000,000.00
x 100
NUO = - 1 x 100
NUO = - 100%
Nivel de Utilidad Neta Caso “B”
NUN =
30’000,000.00 -20’000,000.00
20’000,000.00
x 100
NUN =
10’000,000.00
20’000,000.00
x 100
NUN = .50 x 100
NUN = + 50%
NUO=
0.00 -6’000,000.00
6’000,000.00
x 100
NUO =
- 6’000,000.00
6’000,000.00
x 100
Nivel de Utilidad de
Operación Caso “B”
NUO = 1 x 100
NUO = + 100%
NUO =
12’000,000.00 - 6’000,000.00
6’000,000.00
x 100
NUO =
6’000,000.00
6’000,000.00
x 100
Caso “A” Caso “B”
Caso “A” Caso “B”
Para calcular los porcentajes en los niveles de utilidad de operación , utilidades
netas:
Nivel de Utilidad de Operación
Cifra parcial menos cifra base
Cifra base x 100
Nivel de Utilidad por Acción
NUN =
0 - 600.00
600.00
x 100
NUN = - .50 x 100
NUN = - 50%
NUN =
- 10’000,000.00
20’000,000.00
x 100
NUO = - 1 x 100
NUO = - 100%
Nivel de Utilidad Neta Caso “B”
NUN =
30’000,000.00 -20’000,000.00
20’000,000.00
x 100
NUN =
10’000,000.00
20’000,000.00
x 100
NUN = .50 x 100
NUN = + 50%
NUO=
0.00 -6’000,000.00
6’000,000.00
x 100
NUO =
- 6’000,000.00
6’000,000.00
x 100
Nivel de Utilidad de
Operación Caso “B”
NUO = 1 x 100
NUO = + 100%
NUO =
12’000,000.00 - 6’000,000.00
6’000,000.00
x 100
NUO =
6’000,000.00
6’000,000.00
x 100
Caso “A” Caso “B”
Caso “A” Caso “B”
Comprobación Caso “A”
GAO =
Disminución de Util. De Oper. En %
Dismin. Util. por Acc netas en%
GAO =
Aumento de Util de Opera. en %
Aumento Util. por Acc. netas en%
GAO =
+100%
+ 50%
100
2 100
200%
Comprobación Caso “B”
GAO =
GAO =
GAO =
-100%
-50%
100
2 100
200%
GAO =
GAO =
GAO =
UV (PV-CV)
UV (PV-CV)-CTF 100
GAO =
10 (10-5)
10 (10-5)-25 100
GAO =
10(5)
10(5)-25 100
GAO =
50
25
100
GAO = 2 100
GAO = 200%
Para calcular los porcentajes
en los niveles de ventas,
utilidades:
Niveles de ventas Caso “A”
GAO =
5-10
10
100
GAO =
-5
10
100
GAO =(-.50)x100
GAO =-50%
Niveles de ventas Caso “B”
GAO =
15-10
10
100
GAO =
5
10
100
GAO =(.50)x100
GAO =50%
Cifra parcial menos cifra base
Cifra base x 100
Niveles de UTILIDAD Caso “A”
NU =
0-25
25
X 100
NU =
.25
25
X 100
NU = -1x100
NU =--100%
Niveles de UTILIDAD Caso “B”
NU =
50-25
25
X 100
NU =
25
25
X 100
NU = 1x100
NU = 100%
Caso “A” Base Caso “B”
Unidades Vendidas 5 10 15
Ventas Netas ( UV x PV ) $ 50.00 $ 100.00 $ 150.00
Menos: Costo Variables ( UV x CV ) $ 25.00 $ 50.00 $ 75.00
Igual a: Contribución Marginal (VN – CV) $ 25.00 $ 50.00 $ 75.00
Menos: Costos Fijos Totales $ 25.00 $ 25.00 $ 25.00
Igual a: Utilidad de Operación $ - $ 25.00 $ 50.00
? Niveles de Utilidad - 100% Base + 100%
? Apalancamiento de Operación (Sobre BASE) 200%
? Niveles de Ventas - 50% Base + 50%
Conclusiones ( se redactan al final del caso) :
Caso “A”: Una disminución del 50 % en las ventas ( de 10 a 5
unidades) produce una disminución del 100 % en las utilidades
de operación ( de $ 25 a $ 0)
Caso “B”: Una aumento del 50 % en las ventas ( de 10 a 15
unidades) produce un aumento del 100 % en las utilidades de
operación ( de $ 25 a $ 50)

Apalancamiento operativo ejemplo

  • 1.
    Tema: Administración Financiera Subtema;Apalancamiento Operativo o Palanca de Operación Objetivo: Que el alumno pueda cuantificar el riesgo de operación, al utilizar los costos fijos de una empresa. Apalancamiento:
  • 2.
    APALANCAMIENTO. Se denomina apalancamientoen el ámbito financiero empresarial, a la estrategia que se utiliza para incrementar las utilidades de tal forma que se superen las utilidades que se obtienen con el capital propio.
  • 3.
    APALANCAMIENTO OPERATIVO “Habilidad deladministrador financiero en la utilización de los costos fijos para aprovechar al máximo los resultados de .os cambios en las ventas sobre las utilidades de operación” El apalancamiento de operación se presenta en empresas con elevados costos fijos y bajos costos variables, como consecuencia del establecimiento de procesos de producción altamente automatizados.
  • 4.
    Una empresa vendesus productos a $ 10.00 por unidad; sus costos variables de operación de $ 5.00 por unidad; sus costos fijos totales son de $ 25.00. Presentar un cuadro con ventas de 5, 10 (BASE) y 15 unidades; tomando como base la venta de 10 unidades, tendremos:
  • 5.
    Caso “A” BaseCaso“B” Unidades Vendidas 5 10 15 Ventas Netas (UV x CV) $ 50.00 $ 100.00 $ 150.00 Menos Costo Variables (UV x CV) $ 25.00 $ 50.00 $ 75.00 Contribución Marginal $ 25.00 $ 50.00 $ 75.00 Menos: Costos Fijos Totales $ 25.00 $ 25.00 $ 25.00 Unidad de Operación $ - $ 25.00 $ 50.00 Niveles de Utilidad de Operación - 100 % Base + 100 % Apalancamiento de Operación 200 % Niveles de Ventas (uns) - 50 % Base + 50 % Una empresa vende sus productos a $ 10.00 por unidad; sus costos variables de operación de $ 5.00 por unidad; sus costos fijos totales son de $ 25.00. Presentar un cuadro con ventas de 5, 10 (BASE) y 15 unidades; tomando como base la venta de 10 unidades, tendremos:
  • 6.
    GAO = UV (PV-CV) UV(PV-CV)-CTF 100 GAO = 10 (10-5) 10 (10-5)-25 100 GAO = 10(5) 10(5)-25 100 GAO = 50 25 100 GAO = 2 100 GAO = 200%
  • 7.
    Para calcular losporcentajes en los niveles de ventas, utilidades: Caso “A” Caso “B” Cifra parcial menos cifra base Cifra base x 100 NUO = 0 - 25 25 X 100 NUO = -1 x 100 NUO = - 100% NUO = 1 x 100 NUO = + 100% Nivel de Utilidad de Operación Nivel de Ventas Caso “A” Caso “B” NUO = - 25 25 X 100 NUO = 50 - 25 25 X 100 NUO = 25 25 X 100 NV = 5 - 10 10 X 100 NV = - .50 x 100 NV = - 50% NV = - 5 10 X 100 NV = 15 - 10 10 X 100 NV = .50 x 100 NV = + 50 % NV = 5 10 X 100
  • 10.
    Comprobación Caso “A” GAO= GAO GAO Disminución de utilidades en % Disminución de Ventas netas en% GAO = -100% -50% 100 2 100 200% GAO = GAO GAO Aumento de utilidades en % Aumento de Ventas netas en% GAO = -100% -50% 100 2 100 200% Comprobación Caso “B”
  • 11.
    Comprobación Caso “A” GAO= GAO GAO Disminución de Util. De Oper. %Disminución de Util. netas en% GAO = -100% -50% 100 2 100 200% GAO = GAO GAO Aumento de utilidades en % Aumento de Ventas netas en% GAO = -100% -50% 100 2 100 200% Comprobación Caso “B”
  • 12.
    GAO = UV (PV-CV) UV(PV-CV)-CTF 100 GAO = 10 (10-5) 10 (10-5)-25 100 GAO = 10(5) 10(5)-25 100 GAO = 50 25 100 GAO = 2 100 GAO = 200% Para calcular los porcentajes en los niveles de ventas, utilidades: Niveles de ventas Caso “A” GAO = 5-10 10 100 GAO = -5 10 100 GAO =(-.50)x100 GAO =-50% Niveles de ventas Caso “B” GAO = 15-10 10 100 GAO = 5 10 100 GAO =(.50)x100 GAO =50% Cifra parcial menos cifra base Cifra base x 100 Niveles de UTILIDAD Caso “A” GAO = 0-25 25 X 100 GAO = .25 25 X 100 GAO = -1x100 GAO =--100% Niveles de UTILIDAD Caso “B” GAO = 50-25 25 X 100 GAO = 25 25 X 100 GAO = 1x100 GAO = 100%
  • 13.
    Para calcular losporcentajes en los niveles de utilidad de operación , utilidades netas: Nivel de Utilidad de Operación Cifra parcial menos cifra base Cifra base x 100 Nivel de Utilidad Neta NUN = 10’000,000.00 -20’000,000.00 20’000,000.00 x 100 NUN = - .50 x 100 NUN = - 50% NUN = - 10’000,000.00 20’000,000.00 x 100 NUO = - 1 x 100 NUO = - 100% Nivel de Utilidad Neta Caso “B” NUN = 30’000,000.00 -20’000,000.00 20’000,000.00 x 100 NUN = 10’000,000.00 20’000,000.00 x 100 NUN = .50 x 100 NUN = + 50% NUO= 0.00 -6’000,000.00 6’000,000.00 x 100 NUO = - 6’000,000.00 6’000,000.00 x 100 Nivel de Utilidad de Operación Caso “B” NUO = 1 x 100 NUO = + 100% NUO = 12’000,000.00 - 6’000,000.00 6’000,000.00 x 100 NUO = 6’000,000.00 6’000,000.00 x 100 Caso “A” Caso “B” Caso “A” Caso “B”
  • 14.
    Para calcular losporcentajes en los niveles de utilidad de operación , utilidades netas: Nivel de Utilidad de Operación Cifra parcial menos cifra base Cifra base x 100 Nivel de Utilidad por Acción NUN = 0 - 600.00 600.00 x 100 NUN = - .50 x 100 NUN = - 50% NUN = - 10’000,000.00 20’000,000.00 x 100 NUO = - 1 x 100 NUO = - 100% Nivel de Utilidad Neta Caso “B” NUN = 30’000,000.00 -20’000,000.00 20’000,000.00 x 100 NUN = 10’000,000.00 20’000,000.00 x 100 NUN = .50 x 100 NUN = + 50% NUO= 0.00 -6’000,000.00 6’000,000.00 x 100 NUO = - 6’000,000.00 6’000,000.00 x 100 Nivel de Utilidad de Operación Caso “B” NUO = 1 x 100 NUO = + 100% NUO = 12’000,000.00 - 6’000,000.00 6’000,000.00 x 100 NUO = 6’000,000.00 6’000,000.00 x 100 Caso “A” Caso “B” Caso “A” Caso “B”
  • 15.
    Comprobación Caso “A” GAO= Disminución de Util. De Oper. En % Dismin. Util. por Acc netas en% GAO = Aumento de Util de Opera. en % Aumento Util. por Acc. netas en% GAO = +100% + 50% 100 2 100 200% Comprobación Caso “B” GAO = GAO = GAO = -100% -50% 100 2 100 200% GAO = GAO =
  • 16.
    GAO = UV (PV-CV) UV(PV-CV)-CTF 100 GAO = 10 (10-5) 10 (10-5)-25 100 GAO = 10(5) 10(5)-25 100 GAO = 50 25 100 GAO = 2 100 GAO = 200% Para calcular los porcentajes en los niveles de ventas, utilidades: Niveles de ventas Caso “A” GAO = 5-10 10 100 GAO = -5 10 100 GAO =(-.50)x100 GAO =-50% Niveles de ventas Caso “B” GAO = 15-10 10 100 GAO = 5 10 100 GAO =(.50)x100 GAO =50% Cifra parcial menos cifra base Cifra base x 100 Niveles de UTILIDAD Caso “A” NU = 0-25 25 X 100 NU = .25 25 X 100 NU = -1x100 NU =--100% Niveles de UTILIDAD Caso “B” NU = 50-25 25 X 100 NU = 25 25 X 100 NU = 1x100 NU = 100%
  • 17.
    Caso “A” BaseCaso “B” Unidades Vendidas 5 10 15 Ventas Netas ( UV x PV ) $ 50.00 $ 100.00 $ 150.00 Menos: Costo Variables ( UV x CV ) $ 25.00 $ 50.00 $ 75.00 Igual a: Contribución Marginal (VN – CV) $ 25.00 $ 50.00 $ 75.00 Menos: Costos Fijos Totales $ 25.00 $ 25.00 $ 25.00 Igual a: Utilidad de Operación $ - $ 25.00 $ 50.00 ? Niveles de Utilidad - 100% Base + 100% ? Apalancamiento de Operación (Sobre BASE) 200% ? Niveles de Ventas - 50% Base + 50% Conclusiones ( se redactan al final del caso) : Caso “A”: Una disminución del 50 % en las ventas ( de 10 a 5 unidades) produce una disminución del 100 % en las utilidades de operación ( de $ 25 a $ 0) Caso “B”: Una aumento del 50 % en las ventas ( de 10 a 15 unidades) produce un aumento del 100 % en las utilidades de operación ( de $ 25 a $ 50)